AIRBUS A 320
INSTRUMENT LANDING
SYSTEM
(INCLUDING CAT II / CAT IIIA)
/USPR/ - ETS, HYDERABAD 2
• LANDING IS AN IMPORTANT PHASE OF THE
FLIGHT.
• WHEN THE AIRCRAFT IS APPROACHING
THE AIRPORT, THE AIRCRAFT TAKES A
PATH IN LINE WITH THE RUNWAY AND FROM
A CERTAIN DISTANCE BEGINS TO DESCEND
UNTIL IT TOUCHES GROUND AT A POINT
NEAR THE RUNWAY THRESHOLD.
• WHEN THE VISIBILITY IS GOOD, WHETHER
IN A DAY OR NIGHT, THE LANDING IS
CARRIED OUT BY VISUAL OBSERVATION OF
RUNWAY MARKINGS AND RUNWAY LIGHTS.
/USPR/ - ETS, HYDERABAD 3
• THE LANDING IS THEN PERFORMED UNDER
VISUAL FLIGHT RULES (VFR) CONDITIONS.
• USUALLY THIS IS DONE WHEN THERE IS A
HORIZONTAL VISIBILITY OF ABOUT 5 KM
OR MORE AND THE VERTICAL VISIBILITY
OF 300 METERS OR MORE.
• WHEN THESE CONDITIONS ARE NOT
SATISFIED, THE LANDING IS DONE UNDER
INSTRUMENT FLIGHT RULES (IFR)
CONDITIONS.
/USPR/ - ETS, HYDERABAD 5
• SPECIAL RADIO AIDS ARE LOCATED IN THE
AIRPORTS TO ENABLE THE AIRCRAFT TO
EXECUTE LANDINGS IN IFR CONDITIONS
UNDER BAD VISIBILITY.
• SUCH AIDS GIVE THE AIRCRAFT ITS EXACT
POSITION IN RELATION TO A DESIRED PATH
OF DESCENT.
• THIS MEANS THAT THE GUIDANCE
REGARDING THE DEVIATION OF THE
AIRCRAFT IN THE HORIZONTAL AND
VERTICAL PLANES IS GIVEN.
/USPR/ - ETS, HYDERABAD 6
• THE GUIDANCE GIVEN ARE LEFT / RIGHT
GUIDANCE WHICH HELPS THE AIRCRAFT
TO FOLLOW THE CENTERLINE OF THE
RUNWAY AND UP / DOWN GUIDANCE TO
FOLLOW A PARTICULAR GLIDE PATH FOR
SMOOTH TOUCH DOWN.
• THE INSTRUMENT LANDING SYSTEM
COMPRISES OF THE UNITS LOCALISER
AND GLIDE SLOPE.
• THE LOCALISER DEFINES THE CENTERLINE
OF THE RUNWAY AND THE GLIDESLOPE
DEFINES THE TOUCH DOWN ANGLE.
• THE INTERSECTION OF THESE TWO GIVES
THE APPROACH PATH.
/USPR/ - ETS, HYDERABAD 7
/USPR/ - ETS, HYDERABAD 8
/USPR/ - ETS, HYDERABAD 9
• THE LOCALISER OPERATES IN THE VHF BAND
(108 - 110 MHZ.) AND RADIATES TWO LOBES,
ONE WITH A PREDOMINANT MODULATION OF
90 HZ AND THE OTHER WITH A PREDOMINANT
MODULATION OF 150 HZ.
• ALONG THE CENTERLINE OF THE RUNWAY,
BOTH THE SIGNALS ARE EQUAL.
• THE LOCALISER TRANSMITTER AND ANTENNA
ARE LOCATED AT ABOUT 1000 FEET AT THE
OTHER END OF THE RUNWAY.
/USPR/ - ETS, HYDERABAD 10
• THE GLIDESLOPE OPERATES IN THE UHF BAND
(329 - 335 MHZ.) AND THE OPERATING PRINCIPLE
IS SAME AS LOCALISER, BUT GIVES VERTICAL
GUIDANCE.
• THE TRANSMITTER AND ANTENNA ARE LOCATED
AT THE SIDE OF THE RUNWAY AT ABOUT 1000
FEET FROM THE TOUCHDOWN POINT.
• TO FIND OUT THE RANGE FROM THE RUNWAY,
MARKER INSTALLATIONS ARE USED.
• MARKERS RADIATE FAN SHAPED VERTICAL
RADIATION PATTERN UPWARDS IN 75 MHZ
FREQUENCY WITH IDENTIFICATION SIGNALS
MODULATED IN IT.
/USPR/ - ETS, HYDERABAD 11
NEED FOR HIGHER CATEGORIES OF
INSTRUMENT LANDING SYSTEMS
• THE INSTRUMENT LANDING SYSTEMS INSTALLED
IN SOME OF THE AIRPORTS IN INDIA MEET THE
CATEGORY I LEVEL REQUIREMENTS.
• IN BAD WEATHER CONDITIONS, WHEN RVR IS
BELOW 600 METERS, AIRCRAFT CANNOT LAND OR
TAKE OFF USING SUCH AIRPORTS.
• HENCE, IT IS NECESSARY TO DEVELOP THE
CAPABILITY TO OPERATE FLIGHTS IN ALL
WEATHER CONDITIONS.
/USPR/ - ETS, HYDERABAD 12
DIFFERENT ASPECTS
INVOLVED IN ILS ARE
• AIRBORNE EQUIPMENT
• AIRCRAFT MAINTENANCE
• NON VISUAL AIDS (ILS FACILITY)
• VISUAL AIDS (RUNWAY MARKINGS AND
LIGHTING SYSTEMS)
• AIRFIELD MAINTENANCE
• ATC PROCEDURES and
• FLIGHT CREW PROCEDURES
/USPR/ - ETS, HYDERABAD 13
/USPR/ - ETS, HYDERABAD 14
/USPR/ - ETS, HYDERABAD 15
CAT II DEFINITION
A PRECISION INSTRUMENT
APPROACH AND LANDING WITH
- DECISION HEIGHT
LOWER THAN 200 FEET BUT NOT
LOWER THAN 100 FEET AND
- RUNWAY VISUAL RANGE
NOT LESS THAN 350 METERS
/USPR/ - ETS, HYDERABAD 16
/USPR/ - ETS, HYDERABAD 17
CAT III A DEFINITION
A PRECISION INSTRUMENT APPROACH AND
LANDING WITH
• A DECISION HEIGHT
LOWER THAN 100 FEET BUT NOT LOWER
THAN 50 FEET AND
• RUNWAY VISUAL RANGE
NOT LESS THAN 200 METERS
/USPR/ - ETS, HYDERABAD 18
/USPR/ - ETS, HYDERABAD 19
CAT III B DEFINITION
A PRECISION INSTRUMENT APPROACH AND
LANDING WITH
• NO DECISION HEIGHT OR DECISION HEIGHT
LOWER THAN 50 FEET and
• RUNWAY VISUAL RANGE LESS THAN 200
METERS BUT NOT LESS THAN 50 METERS
/USPR/ - ETS, HYDERABAD 20
CAT III C DEFINITION
A PRECISION INSTRUMENT
APPROACH AND LANDING WITH
• NO DECISION HEIGHT and
• NO RUNWAY VISUAL RANGE
LIMITATIONS
/USPR/ - ETS, HYDERABAD 21
AUTOMATIC LANDING SYSTEM
• AUTOMATIC LANDING SYSTEM IS
ONLY AN EQUIPMENT (OR GROUP OF
EQUIPMENT) PROVIDING AUTO
CONTROL OF THE AIRCRAFT DURING
APPROACH AND LANDING AND IT IS
NOT RELATED TO WEATHER
CONDITIONS.
/USPR/ - ETS, HYDERABAD 22
CAT II HAS OPTIONAL
AUTOLAND
• CAT II WEATHER MINIMA IS
ESTABLISHED TO PROVIDE
SUFFICIENT VISUAL REFERENCE AT
DH TO PERMIT A MANUAL LANDING.
• HOWEVER, AUTOMATIC LANDING
CAN ALSO BE DONE IN CAT II
/USPR/ - ETS, HYDERABAD 23
IN CAT III, AUTO LANDING IS
A MUST
• IN CAT III, WEATHER MINIMA DO NOT
PROVIDE SUFFICIENT VISUAL
REFERENCES TO ALLOW MANUAL
LANDING.
• THE MINIMA ONLY PERMIT THE PILOT TO
DECIDE TO LAND IN THE TOUCH DOWN
ZONE AND TO ENSURE SAFETY DURING
ROLL OUT.
• AS CAT III DOES NOT PROVIDE A
SUFFICIENT VISUAL REFERENCE,
AUTOMATIC LANDING SYSTEM IS
MANDATORY.
/USPR/ - ETS, HYDERABAD 24
DECISION HEIGHT
• DECISION HEIGHT IS THE SPECIFIED
HEIGHT IN THE PRECISION APPROACH, AT
WHICH A GO AROUND MUST BE INITIATED
UNLESS ADEQUATE VISUAL REFERENCE
HAS BEEN ESTABLISHED TO CONTINUE
THE APPROACH.
• DH IS MEASURED BY MEANS OF RADIO
ALTIMETER FOR CAT II / CAT III
OPERATIONS
/USPR/ - ETS, HYDERABAD 25
/USPR/ - ETS, HYDERABAD 26
VISUAL REFERENCE
• THE REQUIRED VISUAL REFERENCE
MEANS, THE VISUAL AIDS OF THE SECTION
OF THE RUNWAY OR OF THE APPROACH
AREA, that means,
• FOR CAT II / CAT III OPERATIONS, A PILOT
MAY NOT CONTINUE APPROACH BELOW
DH, UNLESS A VISUAL REFERENCE
CONTAINING NOT LESS THAN THREE
SEGMENT OF THE ANY CATEGORY OF THE
LIGHTS IS OBTAINED.
/USPR/ - ETS, HYDERABAD 27
DECESION HEIGHT
• FOR CAT II OPERATIONS THE DH IS IN
BETWEEN 200 FEET AND 100 FEET.
• FOR CAT III OPERATIONS WITH DH,
THE DH IS IN BETWEEN 100 FEET AND
50 FEET.
• NORMALLY, THE DH MINIMUM IS
MENTIONED FOR REFERENCE
/USPR/ - ETS, HYDERABAD 28
ALERT HEIGHT
• ALERT HEIGHT IS THE HEIGHT
ABOVE THE RUNWAY, DEFINED FOR
CAT III OPERATIONS WITH FAIL
OPERATIONAL AUTOMATIC
LANDING SYSTEM.
• DH DEPENDS UPON VISIBILITY
CONDITIONS AND AH DEPENDS
UPON SERVICEABILITY OF
EQUIPMENT.
/USPR/ - ETS, HYDERABAD 29
ALERT HEIGHT
• ABOVE AH, A CAT III APPROACH WOULD
BE DISCONTINUED AND GO AROUND IS
INITIATED IF A FAILURE IS OCCURRED IN
ONE OF THE REDUNDANT PARTS OF THE
AUTOMATIC LANDING SYSTEM OR IN
THE RELEVANT GROUND EQUIPMENT.
• BELOW AH, APPROACH MAY BE
CONTINUED EXCEPT WHEN AUTO LAND
WARNING IS TRIGGERED
/USPR/ - ETS, HYDERABAD 30
FAIL OPERATIONAL AUTO
LANDING SYSTEM
• AN AUTOMATIC LANDING SYSTEM IS FAIL
OPERATIONAL, IF IN THE EVENT OF A
FAILURE BELOW ALERT HEIGHT, THE
REMAINING PART OF THE AUTOMATIC
LANDING SYSTEM ALLOWS THE AIRCRAFT
TO COMPLETE THE APPROACH, FLARE
AND LANDING
• IN AIRBUS A 320 AIRCRAFT, "CAT III DUAL"
IS FAIL OPERATIONAL LANDING SYSTEM.
/USPR/ - ETS, HYDERABAD 31
FAIL PASSIVE AUTO
LANDING SYSTEM
• IN THIS TYPE OF LANDING SYSTEM, IN THE EVENT
OF A FAILURE, THERE IS NO SIGNIFICANT
DEVIATION OF AIRCRAFT TRIM OR DEVIATION OF
FLIGHT PATH OR ATTITUDE, BUT THE LANDING IS
NOT COMPLETED AUTOMATICALLY.
• WITH THE FAIL PASSIVE AUTOMATIC LANDING
SYSTEM, THE PILOT ASSUMES CONTROL OF THE
AIRCRAFT AFTER A FAILURE.
• IN AIRBUS A 320 AIRCRAFT, "CAT III SINGLE" IS FAIL
PASSIVE AUTOMATIC LANDING SYSTEM.
/USPR/ - ETS, HYDERABAD 32
PROTECTION BY FMGC IN
A 320 AIRCRAFT
• BELOW 100 FEET RADIO ALTITUDE, THE
FMGC FREEZES THE LANDING CAPABILITY,
UNTIL LAND MODE IS DISENGAGED OR
BOTH AUTOPILOTS ARE OFF.
• THEREFORE, A FAILURE BELOW 100 FEET
DOES NOT CHANGE THE CATEGORY OF THE
LANDING SYSTEM
/USPR/ - ETS, HYDERABAD 33
RUNWAY VISUAL RANGE
• RVR IS THE RANGE OVER WHICH A PILOT
OF AN AIRCRAFT ON THE CENTERLINE OF
THE RUNWAY CAN SEE THE RUNWAY
SURFACE MARKINGS OR THE LIGHTS
DELINEATING THE RUNWAY OR
IDENTIFYING ITS CENTERLINE.
• CAT II / CAT III OPERATIONS REQUIRE
RAPIDLY UPDATED AND RELIABLE
REPORTS OF THE VISIBILITY CONDITIONS
WHICH A PILOT MAY EXPECT TO
ENCOUNTER IN THE TOUCHDOWN ZONE
AND ALONG THE RUNWAY.
/USPR/ - ETS, HYDERABAD 34
RUNWAY VISUAL RANGE
RVR
/USPR/ - ETS, HYDERABAD 35
SLANT VISUAL RANGE (SVR)
• RVR IS NOT SLANT VISUAL RANGE (SVR).
SVR IS THE RANGE OVER WHICH A PILOT
OF AN AIRCRAFT IN THE FINAL STAGES OF
APPROACH OR LANDING CAN SEE THE
MARKINGS OR THE LIGHT ON THE RUNWAY.
• SVR IS NOT MEASURED AS THE PILOT
HIMSELF CAN SEE FROM THE HEIGHT.
/USPR/ - ETS, HYDERABAD 36
SLANT VISUAL RANGE
/USPR/ - ETS, HYDERABAD 37
/USPR/ - ETS, HYDERABAD 38
TRANSMISSOMETERS
• RVR MEASUREMENTS ARE
MEASURED BY A SYSTEM OF
CALIBRATED TRANSMISSOMETERS
AND IT ACCOUNTS FOR THE EFFECTS
OF AMBIENT LIGHT AND THE
INTENSITY OF RUNWAY LIGHTS.
/USPR/ - ETS, HYDERABAD 39
/USPR/ - ETS, HYDERABAD 40
LOCATIONS OF
TRANSMISSOMETERS
• TRANSMISSOMETERS ARE STRATEGICALLY
LOCATED AND PROVIDE RVR MEASUREMENTS
ASSOCIATED WITH THREE BASIC PORTIONS OF
THE RUNWAY
• THE TOUCH DOWN ZONE (TDZ)
• THE MID RUNWAY PORTION (MID) AND
• THE ROLL OUT PORTION OR THE STOP END
/USPR/ - ETS, HYDERABAD 41
REQUIREMENTS OF RVRs
• FOR CAT II /CAT III A OPERATIONS
TOUCHDOWN ZONE RVR OR MID RVR
MEASUREMENT IS SUFFICIENT.
• BUT FOR CAT III B OPERATIONS, BOTH
TOUCHDOWN ZONE AND MID RVR ARE
MANDATORY AND ROLL OUT PORTION RVR
IS RECOMMENDATORY
/USPR/ - ETS, HYDERABAD 42
TRANSMISSOMETRS
INSTALLATION
• RVR DEFINITION CONSIDERS PILOT’S EYE
TO BE AT 15 FEET ABOVE THE RUNWAY
SURFACE. THE LIGHT PATH FROM THE
RUNWAY MARKINGS (AT 0 FEET) TO THE
PILOT’S EYE (15 FEET) HAS A MEAN HEIGHT
OF 7.5 FEET.
• HENCE, TRANSMISSIOMETERS ARE
LOCATED AT 6 TO 10 FEET HEIGHT ABOVE
THE RUNWAY.
/USPR/ - ETS, HYDERABAD 43
RUNWAY REQUIREMENTS
THE MARKINGS NECESSARY FOR CAT II / CAT
III OPERATIONS ARE
• RUNWAY CENTERLINE MARKINGS
• RUNWAY THRESHOLD MARKINGS
• TOUCHDOWN ZONE MARKINGS AND
• TAXI HOLDING POSITION MARKINGS
RUNWAY MARKINGS ARE WHITE IN COLOUR
TAXIWAY MARKINGS ARE YELLOW IN COLOUR
/USPR/ - ETS, HYDERABAD 44
VARIOUS LIGHTS INSTALLED
IN RUNWAYS
• RUNWAY THRESHOLD LIGHTS
• RUNWAY END LIGHTS
• RUNWAY EDGE LIGHTS
• RUNWAY CENTERLINE LIGHTS
• TOUCHDOWN ZONE LIGHTS
• APPROACH LIGHTS
• TAXIWAY CENTERLINE LIGHTS
• STOP BARS AND
• TAXI HOLDING POSITION LIGHTS
/USPR/ - ETS, HYDERABAD 45
INTERFERENCE TO ILS
SIGNALS
• ANY LARGE REFLECTING OBJECTS, INCLUDING
VEHICLES, AIRCRAFT AND FIXED STRUCTURES
WITHIN THE RADIATED SIGNAL COVERAGE, WILL
POTENTIALLY CAUSE INTERFERENCE TO ILS
SIGNALS.
• THE AREAS WITHIN WHICH DEGRADABLE
INTERFERENCE TO THE ILS SIGNALS OCCUR DUE
TO MOVEMENT ON THE GROUND IS DIVIDED INTO
TWO TYPES.
• ILS CRITICAL AREA AND ILS SENSITIVE AREA
/USPR/ - ETS, HYDERABAD 46
/USPR/ - ETS, HYDERABAD 47
CRITICAL AREAS
• IT IS AN AREA OF DEFINED DIMENSIONS
ABOUT THE LOCALISER AND THE GLIDEPATH
ANTENNAS WHERE VEHICLES, INCLUDING
AIRCRAFT, ARE EXCLUDED DURING ALL ILS
OPERATIONS
• THE CRITICAL AREA IS PROTECTED
BECAUSE THE PRESENCE OF VEHICLES AND
/ OR AIRCRAFT INSIDE THESE BOUNDARIES
WILL CAUSE UNACCEPTABLE DISTURBANCE
TO THE ILS SIGNALS IN SPACE.
/USPR/ - ETS, HYDERABAD 48
SENSITIVE AREAS
• IT IS AN AREA EXTENDING BEYOND THE
CRITICAL AREA WHERE THE PARKING AND /
OR MOVEMENT OF VEHICLES, INCLUDING
AIRCRAFT IS CONTROLLED TO PREVENT
THE POSSIBILITY OF UNACCEPTABLE
INTERFERENCE TO THE ILS SIGNALS
DURING ILS OPERATIONS.
• THE SIZE OF A SENSITIVE AREA DEPENDS
UPON A NUMBER OF FACTORS INCLUDING
THE TYPE OF ILS ANTENNA, THE
TOPOGRAPHY AND THE SIZE AND
ORIENTATION OF MOVING OBJECTS.
/USPR/ - ETS, HYDERABAD 49
BETTER ANTENNAS
• MODERN DESIGNS OF LOCALISER
AND GLIDESLOPE ANTENNAS CAN BE
VERY EFFECTIVE IN REDUCING THE
DISTURBANCE POSSIBILITIES AND
HENCE THE EXTENT OF SENSITIVE
AREAS.
/USPR/ - ETS, HYDERABAD 50
/USPR/ - ETS, HYDERABAD 51
AIRBUS A 320 INSTRUMENT LANDING
SYSTEM
• THE FUNCTION OF ILS IS TO MEASURE THE
DEVIATIONS BETWEEN AIRCRAFT FLIGHT PATH AND
– GLIDE SLOPE
– RUNWAY ALIGNMENT PLANE (LOCALISER)
• THE LOCALISER OPERATES IN THE FREQUENCY
RANGE FROM 108 MHz TO 111.95 MHz.
• THE GLIDE SLOPE OPERATES IN THE FREQUENCY
RANGE 328.6 MHz TO 335.4 MHz.
• THERE ARE TWO SIMILAR AND INDEPENDENT
SYSTEMS
/USPR/ - ETS, HYDERABAD 52
THE COMPONENTS AND THEIR
LOCATION
• ILS 1 RECEIVER 95 VU
• ILS 2 RECEIVER 96 VU
• LOCALISER ANTENNA 110 AL DOOR
• GLIDE SLOPE ANTENNA 110 AL DOOR
• EFIS CONTROL SECTION ILS PB (2)
• MASTER CAUTION LIGHTS
• AUDIO CONTROL PANELS
• RADIO MANAGEMENT PANELS
• MCDU 1 AND 2
• FMGC 1 AND 2
• FLIGHT WARNING COMPUTERS, DISPLAY MANAGEMENT
COMPUTERS AND DISPLAY UNITS
• CFDIU
/USPR/ - ETS, HYDERABAD 53
/USPR/ - ETS, HYDERABAD 54
ANTENNAS
• LOCALISER ANTENNA
– THE ANTENNA IS CAPABLE OF RECEIVING IN THE
FREQUENCY RANGE OF 108 TO 112 MHz.
– IT IS A FOLDED HALF LOOP TYPE DRIVEN BY
CAPACITIVE COUPLING
– IT HAS TWO RF CONNECTORS USED TO FEED BOTH
ILS RECEIVERS ON ONE SIDE.
• GLIDE SLOPE ANTENNA
– THE ANTENNA IS CAPABLE OF RECEIVING IN THE
FREQUENCY RANGE OF 329 TO 335 MHz.
– THE TYPE OF THE ANTENNA IS SAME AS LOCALISER
ANTENNA
– IT HAS TWO INDEPENDENT CONNECTORS TO
CONNECT TO BOTH THE ILS RECEIVERS.
/USPR/ - ETS, HYDERABAD 55
/USPR/ - ETS, HYDERABAD 56
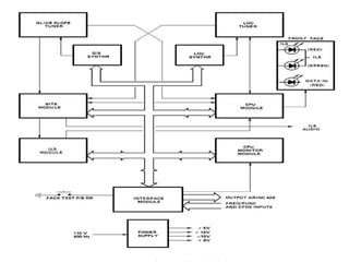
ILS RECEIVER
• AT THE FACE OF THE RECIEVER, THERE
ARE THREE LEDs. THEY ARE ILS FAIL (RED),
ILS PASS (GREEN) AND DATA IN (RED) AND
A TEST SWITCH.
• ILS FAIL INDICATES INTERNAL FAILURE
• DATA IN INDICATES NO CONTROL INPUT OR
INCORRECT ARINC 429 INPUT FORMAT
• ILS PASS INDICATES THE SYSTEM IS O.K.
• BACK SIDE THERE ARE THREE
CONNECTORS FOR ATE INTERFACE,
SYSTEM INTERCONNECTIONS AND POWER
SUPPLY
/USPR/ - ETS, HYDERABAD 57
/USPR/ - ETS, HYDERABAD 58
INSIDE THE RECEIVER
• THE ILS RECEIVER INCLUDES
– A LOCALISER TUNER
– A GLIDE SLOPE TUNER
– A BITE MODULE
– AN ILS MODULE
– A CPU MODULE
– A CPU MONITOR MODULE
– A DATA INTERFACE MODULE AND
– POWER SUPPLY MODULES
/USPR/ - ETS, HYDERABAD 59
/USPR/ - ETS, HYDERABAD 60
LOCALISER TUNER
– IT RECEIVES AND DEMODULATES THE SIGNAL
FROM ONE OF THE 40 CHANNELS.
– IT INCLUDES A PRE SELECTOR
• TUNED TO SELECTED LOCALISER CHANNEL BY THE
TUNING VOLTAGE PROVIDED BY THE CPU MODULE
– MIXER
• SUBTRACTS THE LOCAL OSCILLATOR FREQUENCY FROM
THE PRESELECTOR LOCALISER SIGNAL TO PRODUCE
18.1 MHz IF SIGNAL.
– TWO IF AMPLIFIERS AND THE SECOND ONE IS A
THREE STAGE AMPLIFIER
– AN ENVELOPE DETECTOR, WHICH DETECTS THE
LOW FREQUENCY ENVELOPE OF THE RECEIVED
SIGNAL.
/USPR/ - ETS, HYDERABAD 61
GLIDE SLOPE TUNER
• IT RECEIVES AND DEMODULATES THE
SIGNALS FROM ONE OF THE 40 CHANNELS
AND COUPLED WITH THE LOCALISER
FREQUENCIES.
• IT HAS
– A PRESELECTOR
– A MIXER (IF IS 30.2 MHz)
– TWO IF AMPLIFIERS AND
– AN ENVELOPE DETECTOR
/USPR/ - ETS, HYDERABAD 62
BITE MODULE AND ILS MODULE
• BITE MODULE GENERATES 90 Hz AND
150 Hz TEST COMPOSITE SIGNALS
DURING THE TEST SEQUENCE.
• THE ILS MODULE PROCESSES THE
GLIDE SLOPE AND LOCALISER
COMPOSITE SIGNALS. ITS CIRCUITS
SEPARATE THE 90 Hz AND 150 Hz FROM
EACH COMPOSITE SIGNAL AND
GENERATES A DC VOLTAGE
PROPORTIONAL TO THE MODULATION
LEVEL OF EACH TONE.
/USPR/ - ETS, HYDERABAD 63
CPU MODULE AND CPU
MONITOR MODULE
• CPU MODULE PERFORMS THE PRIMARY CONTROL,
TIMING AND LOGIC COMPUTATIONS REQUIRED FOR
THE RECEIVER OPERATION (IT HAS A 80C85
MICROPROCESSOR)
• CPU MONITOR MODULE READS THE ANALOG
LOCALISER AND GLIDESLOPE TONES FROM THE ILS
MODULE, CONVERTS THEM INTO DIGITAL,
COMPUTES THE GLIDESLOPE AND LOCALISER
COURSE DEVIATION IN DDM AND COMPARES ITS
COMPUTATIONS WITH THE PRIMARY CPU
COMPUTATIONS TRANSMITTED ON THE ARINC 429
BUS.
/USPR/ - ETS, HYDERABAD 64
DATA INTERFACE AND POWER
SUPPLY MODULES
• DATA INTERFACE MODULE GIVES BOTHWAY ARINC 429
COMMUNICATION PATH BETWEEN RECEIVER, CONTROL
UNIT AND DISPLAY UNITS. IT ALSO RECEIVES THE
RECEIVER TUNING DATA AND CONTROL DISCRETES.
• THE POWER SUPPLY MODULE HAS TWO SUB MODULES.
– THE CONTROL MODULE WHICH HAS THE MAJOR RECTIFIER
ASSEMBLY AND
– OUTPUT MODULE WHICH DEVELOPES THE DC REGULATED
OUTPUTS FROM THE DC VOLTAGES SUPPLIED BY THE CONTROL
MODULE.
– IT DEVELOPS THE OUTPUTS + 5 VDC, +15 VDC, - 15 VDC AND +8
VDC
– A POWER MONITOR OUTPUT IS ALSO DEVELOPED AND APPLIED
TO A VOLTAGE CPMAPARATOR IN THE CPU MODULE.
/USPR/ - ETS, HYDERABAD 65
/USPR/ - ETS, HYDERABAD 66
AIRBUS A320 AUTO LANDING
SYSTEM
THERE ARE TWO TYPES OF “APPROACH”
AVAILABLE IN A 320
• ILS APPROACH: (LAND MODE):
APPROACH IS PERFORMED ON THE ILS
BEAM (GLIDESLOPE AND LOCALISER)
• FMS APPROACH: GUIDANCE IS
PERFORMED FROM A THEORETICAL
PATH COMPUTED BY FMGC
/USPR/ - ETS, HYDERABAD 67
/USPR/ - ETS, HYDERABAD 68
ILS APPROACH HAS THE
PRIORITY
• THE TYPE OF APPROACH IS SELECTED
THROUGH MCDU. THE SELECTION OF AN
ILS FREQUENCY ON RMP FORCES THE
SELECTION OF ILS APPROACH,
WHATEVER BE THE SELECTION MADE
ON MCDU
• ILS APPROACH CAN BE SELECTED IMPLICITLY
THROUGH FLIGHT PLAN DEFINITION OR
EXPLICITLY BY SELECTING A FREQUENCY AND
RUNWAY HEADING BY MEANS OF MCDU OR
RMP
/USPR/ - ETS, HYDERABAD 69
ILS APPROACH
• THE ILS MODE OF APPROACH PROVIDES
THE CAPTURE AND TRACK OF ILS BEAM
(LOC. AND GLIDE) AND ENSURES THE
FUNCTIONS ALIGNMENT, FLARE, AND
ROLL OUT
• ILS MODE IS AVAILABLE FOR THE AP
AND FD. IT ENABLES LANDINGS TO BE
PERFORMED FOR CAT III OPERATIONS
• THEREFORE, THE SELECTION OF LAND
MODE AUTHORIZES THE ENGAGEMENT
OF SECOND AP.
/USPR/ - ETS, HYDERABAD 70
ILS APPROACH
• THE ARMING OF LAND MODE BY APPR
PUSHBUTTON ON FCU ENABLES THE
LOC. AND GLIDE MODE TO BE ARMED IN
THE LATERAL AND LONGITUDINAL AXES.
• THE SUPPORT MODES ACTIVE IN THESE
AXES REMAIN ENGAGED UNTIL THE LOC
AND GLIDE BEAMS ARE CAPTURED.
• SWITCHING TO LOC. CPT AND G/S. CPT
MODES OCCURS WHEN THE CAPTURE
CONDITIONS ARE MET.
/USPR/ - ETS, HYDERABAD 71
ILS APPROACH
• WHEN THE AIRCRAFT IS STABILIZED ON
THE LOC. AND GLIDE BEAMS, THE LOC.
TRACK AND GLIDE TRACK MODES ARE
ACTIVATED.
• THE AP / FD GUIDES THE AIRCRAFT
ALONG THE ILS BEAM TO 30 FEET.
• AT THIS ALTITUDE, THE LAND MODE
PROVIDES THE ALIGNMENT ON THE
RUNWAY CENTERLINE ON THE YAW AXIS
AND FLARE ON THE PITCH AXIS.
/USPR/ - ETS, HYDERABAD 72
ILS APPROACH
• THE LAND TRACK MODE HAS TWO SUB
MODES, ALIGN AND ROLL OUT
• ALIGN MODE ENGAGES PROVIDED BOTH
FACS ARE OPERATIONAL. BELOW 100
FEET, LOSS OF FACS DOES NOT CAUSE
AP / FD DISENGAGEMENT OR LOSS OF
LAND TRACK MODE.
• ROLL OUT SUB MODE IS ENGAGED AT
TOUCHDOWN AND PROVIDES GUIDANCE
ON THE RUNWAY CENTERLINE.
/USPR/ - ETS, HYDERABAD 73
FMGC PROTECTIONS
• WHEN THE AIRCRAFT REACHES 700
FEET RADIO ALTITUDE WITH APPR MODE
ARMED OR ENGAGED, THE ILS
FREQUENCY, AND COURSE ARE FROZEN
IN THE RECEIVER.
• THIS FUNCTION IS AVAILABLE (ILS TUNE
INHIBIT) WHEN AT LEAST ONE AP / FD IS
ENGAGED. ANY ATTEMPT TO CHANGE
ILS FREQUENCY OR COURSE THROUGH
MCDU OR RMP DOES NOT AFFECT THE
RECEIVER
/USPR/ - ETS, HYDERABAD 74
ILS APPROACH
• FOR CAT III APPROACH AUTO CALL
OUT OF RADIO ALTITUDE IS
MANDATORY AND AUTO THRUST
MUST BE IN SPEED MODE.
• CALLOUT “RETARD” COMES AT 20
FEET FOR MANUAL LANDING AND
AT 10 FEET FOR AUTOLANDING.
/USPR/ - ETS, HYDERABAD 75
AUTO PILOT
DISENGAGEMENT
• AUTOPILOTS ARE TO BE DISENGAGED
AT 80 FEET FOR MANUAL LANDING AND
AT THE END OF ROLL OUT FOR
AUTOLANDING.
• OTHERWISE THE AP WILL STEER THE
AIRCRAFT BACK TO THE LOCALISER
WHEN THE NOSE WHEEL STEERING IS
RELEASED.
/USPR/ - ETS, HYDERABAD 76
INDICATIONS OF ILS
SELECTION OF LAND MODE IS INDICATED BY
ILLUMINATION OF “APPR” PUSHBUTTON IN FCU
AND BY VARIOUS INDICATIONS ON FMA
SECTION OF PFD.
• DURING THE ARMING PHASE
CYAN “G/S” AND CYAN “LOC” CORRESPONDING
TO LONGITUDINAL AND LATERAL MODES
RESPECTIVELY. ACTIVE SUPPORT MODES ARE
SHOWN IN GREEN UNTIL LOC OR GLIDE
CAPTURE IS EFFECTIVE
/USPR/ - ETS, HYDERABAD 77
ILS INDICATIONS
DURING THE CAPTURE PHASE
• GREEN “LOC*” AND GREEN “GLIDE*” AND THE
CORRESPONDING SUPPORT MODES ARE DISENGAGED
AND THEIR INDICATIONS ARE CANCELLED.
DURING THE TRACK PHASE
• THE INDICATIONS ARE “LOC” AND “GLIDE” IN GREEN
COLOUR.
• BELOW 400 FEET, GREEN “LAND” INDICATION REPLACES
THESE INDICATIONS AND APPEARS ON THE LATERAL
AND LONGITUDINAL SECTIONS OF INDICATIONS.
/USPR/ - ETS, HYDERABAD 78
ILS INDICATIONS
DURING FLARE PHASE
• THE GREEN “LAND” INDICATION IS REPLACED BY GREEN
“FLARE” INDICATION
DURING ROLL OUT PHASE
• GREEN “ROLL OUT” INDICATION REPLACES THE
“FLARE” INDICATION.
• IN ADDITION, THE LANDING CAPABILITY IS DISPLAYED
ON THE PFD, AS SOON AS LAND MODE IS SELECTED AS “
CAT 1, CAT 2, CAT 3 SINGLE, CAT 3 DUAL”
/USPR/ - ETS, HYDERABAD 79
/USPR/ - ETS, HYDERABAD 80
LAND TEST
• THE PURPOSE OF THIS TEST, WHICH IS DONE
THROUGH MCDU, IS TO VERIFY THE
CAPABILITY OF THE INVOLVED SYSTEMS TO
PERFORM CAT III FAIL OPERATIONAL (CAT III
DUAL) AUTOMATIC LANDING.
• IT ALSO TESTS THE TAKEOVER PRIORITY
PUSHBUTTONS, THE A/THR INSTINCTIVE
DISCONNECT PUSHBUTTONS AND THE
WARNINGS ASSOCIATED TO AUTOMATIC
LANDING.
• THE LAND TEST FUNCTION IS PERFORMED IN
THE FIDS.
/USPR/ - ETS, HYDERABAD 81
PREREQUISITE OF LAND
TEST
• ALL THE CBS PERTAINING TO AUTO FLT AT 49 VU AND
121 VU ARE CLOSED
• AIRCRAFT ELE. POWER IS ENERGIZED (21-41-00)
• EIS START PROCEDURE IS DONE (31-60-00)
• 3 ADIRS ARE ALIGNED (34-10-00)
• AIRCRAFT HYDRAULIC SYSTEMS ARE PRESSURIZED (29-
23-00,29-10-00)
• ON 50 VU, ENGFADEC GND PWR 1&2 PUSH BUTTONS
ARE PUT TO ON
• ON 402 VU, ASKID &NW SW IS PUT TO ON
• ON MCDU SYSTEM REPORT/TEST PAGE IS BROUGHT (31-
32-00) AND
• LINE KEY ADJACENT TO AFS IS PRESSED.
/USPR/ - ETS, HYDERABAD 82
/USPR/ - ETS, HYDERABAD 83
/USPR/ - ETS, HYDERABAD 84
LAND TEST
• WHEN LAND TEST IS SELECTED ON THE MCDU,
FIDS CONFORMS THE GROUND CONDITION AND
SENDS SIGNALS TO THE FOUR FMGC BITES
(FG1 COM, MON, FG2 COM, MON).
• EACH BITE SENDS REQUEST SIGNAL TO THE
OPERATIONAL SOFTWARE AND THE ANSWER IS
GENERATED WHICH IS SENT BACK TO FIDS TO
AUTHORIZE THE LAND TEST INITIATION.
• IF THE FOUR ANSWERS (ACCEPTATION) ARE
NOT RECEIVED BY FIDS, THE LAND TEST
REFUSED MESSAGE IS DISPLAYED ON THE
FIRST TEST PAGE.
/USPR/ - ETS, HYDERABAD 85
LAND TEST
• IF THE TEST EXECUTION REQUEST IS
AUTHORIZED, THE FIDS GENERATES
DIFFERENT PAGES TO BE DISPLAYED ON THE
MCDU AND DIALOGUES WITH THE FOUR BITES
TO PERFORM THE TEST.
• THE TEST CONSISTS IN CHECKING THE
CORRECT OPERATIONS OF THE SYSTEMS
INSIDE AND OUTSIDE THE AUTO FLIGHT
SYSTEM AND INVOLVED IN CAT III AUTOMATIC
LANDING SYSTEM. (CORRECT OPERATION OF
BITES, CORRECT SYSTEM RECEPTION, SELF
TEST RESULTS AND INTERCONNECTION
VALIDITY)
/USPR/ - ETS, HYDERABAD 86
AFTER THE LAND TEST
• HYDRAULIC POWERS ARE DEPRESSURIZED
• THE THRUST CONTROL LEVERS ARE PUT TO IDLE STOP
POSITION
• THE ENG/FADEC GND PWR 1&2 PUSHBUTTONS ON 50 VU
ARE PRESSED.(ON LEGENDS GO OFF)
• THE RAD NAV MODE KEY IS PRESSED ON MCDU AND THE
ILS FREQUENCY AND COURSE ARE CLEARED
• IN 23VU FLT CTL PANEL FAC PUSH BUTTON IS PUSHED
(OFF LEGEND GOES OFF)
• IN 24 VU THE ELAC PUSH BUTTON IS PUSHED (OFF
LEGEND GOES OFF)
• ADIRS STOP PROCEDURES ARE DONE (34-10-00)
• EIS STOP PROCEDURES ARE DONE (31-60-00) AND
• ELECTRICAL POWER IS DEENERGISED.
/USPR/ - ETS, HYDERABAD 87
/USPR/ - ETS, HYDERABAD 88
POWER SUPPLY
• THE POWER SUPPLY REQUIRED FOR
THE ILS RECEIVER ARE SUPPLIED
FROM:
– ILS 1 401 XP AND
– ILS 2 204 XP
/USPR/ - ETS, HYDERABAD 89
/USPR/ - ETS, HYDERABAD 90
ILS 1 ILS 2
• ILS 1 IS DISPLAYED ON PFD 1
AND ND 2,
• ILS 2 IS DISPLAYED ON PFD 2
AND ND 1.
/USPR/ - ETS, HYDERABAD 91
THE ILS PB ON THE EFIS
CONTROL PANEL ENABLES THE
PILOTS TO SWITCH ON AN ILS
DISPLAY.. DEVIATION IS
DISPLAYED ONLY IF ILS
RECEPTION IS VALID
ILS INDICATIONS
GS LOC
/USPR/ - ETS, HYDERABAD 92
THE ILS DISPLAY INCLUDES
INDICATIONS FOR:
• LOCALIZER,
• FRONT COURSE,
• GLIDE SLOPE,
• INFORMATION.
ILS INDICATIONS
GS ONE SIDE ½
DEGREE (0.175
ddm)
LOC. ONE SIDE
2.5 DEGREES
(0.155 ddm)
OM MM IM
/USPR/ - ETS, HYDERABAD 93
ROSE MODE
/USPR/ - ETS, HYDERABAD 94
LOCALIZER DEVIATION
BAR
ILS COURSE POINTER
ND
ROSE ILS MODE
SELECTED ILS
INFORMATION
GLIDE DEVIAITON
LOC. DEVIATION EACH DOT 0.8 DEGREES AND GS DEVIATION
EACH DOT 0.4 DEGREES
/USPR/ - ETS, HYDERABAD 95
MOVES ON A SCALE
LATERALLY WITH
RESPECT TO THE
COURSE POINTER.
ND
ROSE ILS MODE
LOCALIZER DEVIATION BAR
/USPR/ - ETS, HYDERABAD 96
POINTS TO THE
SELECTED ILS COURSE.
ND
ROSE ILS MODE
ILS COURSE POINTER
/USPR/ - ETS, HYDERABAD 97
ND
ROSE ILS MODE
MOVES ON A
VERTICAL SCALE.
GLIDE DEVIAITON
/USPR/ - ETS, HYDERABAD 98
ND
ROSE ILS MODE
- ILS FREQUENCY
- ILS SELECTED COURSE
• ILS IDENTIFICATION
SELECTED ILS
INFORMATION
/USPR/ - ETS, HYDERABAD 99
SINGLE ILS RECEIVER FAILURE
• BOTH AP AND FD REMAIN ENGAGED.
• AUTOMATIC SWITCHING TAKES
PLACE TO REMAINING ILS RECEIVER
• THE LANDING CAPABILITY IS
DEGRADED TO CAT 1
• NAV ILS 1(2) FAULT DISPLAY IN THE E /
WD ASSOCIATED WITH MASTER
CAUTION AND SINGLE CHIME.
/USPR/ - ETS, HYDERABAD 100
DUAL ILS RECEIVER FAILURE
• AUTOMATIC GUIDANCE IS LOST
• AP DISENGAGED AND REVERSION TO
THE BASIC MODE (HDG VS OR TRK FPA)
• ONE OF THE APs CAN BE REENGAGED
IN THE BASIC MODES
• RED LOC. AND GS FLAGS ARE
DISPLAYED ON PFDs AND NDs
• AUTOLAND WARNING IS ACTIVATD
BELOW 200 FEET RA
• NO ILS AUDIO IS AVAILABLE.
• THE E / WD MESSAGE, MASTER CAUTION
AND SINGLE CHIME ARE AVAILABLE.
/USPR/ - ETS, HYDERABAD 101
ILS GROUND TRANSMITTER
FAILURE
• THE AUTOMATIC LANDING IS LOST.
• THE FD BARS FLASH ON PFD
• THE LOC AND GLIDES SCALES FLASH
• THE INDECES OF LOC. AND GS ARE
REMOVED FROM PFD AND ND
• NO RED LOC. OR GS WARNING FLAG
AND
• AUTOLAND WARNING BELOW 200 FEET
RA
/USPR/ - ETS, HYDERABAD 102
/USPR/ - ETS, HYDERABAD 103
TUNING THE ILS
• IN NORMAL OPERATION, FMGC TUNES THE ILS
RECEIVER AUTOMATICALLY, WITH EACH FMGC
CONTROLLING ITS OWN RECEIVERS. IF ONE FMGC
FAILS, THE EXISTING ONE CONTROLS BOTH SIDES.
• MCDU CAN BE USED TO OVERRIDE THE FMGC’S
AUTOMATIC SELECTION AND TUNING OF NAV AIDS.
• IF BOTH FMGCs FAIL, THE RMPs ( 1 OR 2)CAN BE USED
TO TUNE BOTH THE ILS.
• BELOW 700 FEET RA, ILS RECEIVES A TUNE INHIBIT
SIGNAL FROM FMGC. CHANGING THE FREQUENCY OR
COURSE IS NOT POSSIBLE.
/USPR/ - ETS, HYDERABAD 104
/USPR/ - ETS, HYDERABAD 105
/USPR/ - ETS, HYDERABAD 106

A320 ILS (CAT II inc.).ppt

  • 1.
    AIRBUS A 320 INSTRUMENTLANDING SYSTEM (INCLUDING CAT II / CAT IIIA)
  • 2.
    /USPR/ - ETS,HYDERABAD 2 • LANDING IS AN IMPORTANT PHASE OF THE FLIGHT. • WHEN THE AIRCRAFT IS APPROACHING THE AIRPORT, THE AIRCRAFT TAKES A PATH IN LINE WITH THE RUNWAY AND FROM A CERTAIN DISTANCE BEGINS TO DESCEND UNTIL IT TOUCHES GROUND AT A POINT NEAR THE RUNWAY THRESHOLD. • WHEN THE VISIBILITY IS GOOD, WHETHER IN A DAY OR NIGHT, THE LANDING IS CARRIED OUT BY VISUAL OBSERVATION OF RUNWAY MARKINGS AND RUNWAY LIGHTS.
  • 3.
    /USPR/ - ETS,HYDERABAD 3 • THE LANDING IS THEN PERFORMED UNDER VISUAL FLIGHT RULES (VFR) CONDITIONS. • USUALLY THIS IS DONE WHEN THERE IS A HORIZONTAL VISIBILITY OF ABOUT 5 KM OR MORE AND THE VERTICAL VISIBILITY OF 300 METERS OR MORE. • WHEN THESE CONDITIONS ARE NOT SATISFIED, THE LANDING IS DONE UNDER INSTRUMENT FLIGHT RULES (IFR) CONDITIONS.
  • 5.
    /USPR/ - ETS,HYDERABAD 5 • SPECIAL RADIO AIDS ARE LOCATED IN THE AIRPORTS TO ENABLE THE AIRCRAFT TO EXECUTE LANDINGS IN IFR CONDITIONS UNDER BAD VISIBILITY. • SUCH AIDS GIVE THE AIRCRAFT ITS EXACT POSITION IN RELATION TO A DESIRED PATH OF DESCENT. • THIS MEANS THAT THE GUIDANCE REGARDING THE DEVIATION OF THE AIRCRAFT IN THE HORIZONTAL AND VERTICAL PLANES IS GIVEN.
  • 6.
    /USPR/ - ETS,HYDERABAD 6 • THE GUIDANCE GIVEN ARE LEFT / RIGHT GUIDANCE WHICH HELPS THE AIRCRAFT TO FOLLOW THE CENTERLINE OF THE RUNWAY AND UP / DOWN GUIDANCE TO FOLLOW A PARTICULAR GLIDE PATH FOR SMOOTH TOUCH DOWN. • THE INSTRUMENT LANDING SYSTEM COMPRISES OF THE UNITS LOCALISER AND GLIDE SLOPE. • THE LOCALISER DEFINES THE CENTERLINE OF THE RUNWAY AND THE GLIDESLOPE DEFINES THE TOUCH DOWN ANGLE. • THE INTERSECTION OF THESE TWO GIVES THE APPROACH PATH.
  • 7.
    /USPR/ - ETS,HYDERABAD 7
  • 8.
    /USPR/ - ETS,HYDERABAD 8
  • 9.
    /USPR/ - ETS,HYDERABAD 9 • THE LOCALISER OPERATES IN THE VHF BAND (108 - 110 MHZ.) AND RADIATES TWO LOBES, ONE WITH A PREDOMINANT MODULATION OF 90 HZ AND THE OTHER WITH A PREDOMINANT MODULATION OF 150 HZ. • ALONG THE CENTERLINE OF THE RUNWAY, BOTH THE SIGNALS ARE EQUAL. • THE LOCALISER TRANSMITTER AND ANTENNA ARE LOCATED AT ABOUT 1000 FEET AT THE OTHER END OF THE RUNWAY.
  • 10.
    /USPR/ - ETS,HYDERABAD 10 • THE GLIDESLOPE OPERATES IN THE UHF BAND (329 - 335 MHZ.) AND THE OPERATING PRINCIPLE IS SAME AS LOCALISER, BUT GIVES VERTICAL GUIDANCE. • THE TRANSMITTER AND ANTENNA ARE LOCATED AT THE SIDE OF THE RUNWAY AT ABOUT 1000 FEET FROM THE TOUCHDOWN POINT. • TO FIND OUT THE RANGE FROM THE RUNWAY, MARKER INSTALLATIONS ARE USED. • MARKERS RADIATE FAN SHAPED VERTICAL RADIATION PATTERN UPWARDS IN 75 MHZ FREQUENCY WITH IDENTIFICATION SIGNALS MODULATED IN IT.
  • 11.
    /USPR/ - ETS,HYDERABAD 11 NEED FOR HIGHER CATEGORIES OF INSTRUMENT LANDING SYSTEMS • THE INSTRUMENT LANDING SYSTEMS INSTALLED IN SOME OF THE AIRPORTS IN INDIA MEET THE CATEGORY I LEVEL REQUIREMENTS. • IN BAD WEATHER CONDITIONS, WHEN RVR IS BELOW 600 METERS, AIRCRAFT CANNOT LAND OR TAKE OFF USING SUCH AIRPORTS. • HENCE, IT IS NECESSARY TO DEVELOP THE CAPABILITY TO OPERATE FLIGHTS IN ALL WEATHER CONDITIONS.
  • 12.
    /USPR/ - ETS,HYDERABAD 12 DIFFERENT ASPECTS INVOLVED IN ILS ARE • AIRBORNE EQUIPMENT • AIRCRAFT MAINTENANCE • NON VISUAL AIDS (ILS FACILITY) • VISUAL AIDS (RUNWAY MARKINGS AND LIGHTING SYSTEMS) • AIRFIELD MAINTENANCE • ATC PROCEDURES and • FLIGHT CREW PROCEDURES
  • 13.
    /USPR/ - ETS,HYDERABAD 13
  • 14.
    /USPR/ - ETS,HYDERABAD 14
  • 15.
    /USPR/ - ETS,HYDERABAD 15 CAT II DEFINITION A PRECISION INSTRUMENT APPROACH AND LANDING WITH - DECISION HEIGHT LOWER THAN 200 FEET BUT NOT LOWER THAN 100 FEET AND - RUNWAY VISUAL RANGE NOT LESS THAN 350 METERS
  • 16.
    /USPR/ - ETS,HYDERABAD 16
  • 17.
    /USPR/ - ETS,HYDERABAD 17 CAT III A DEFINITION A PRECISION INSTRUMENT APPROACH AND LANDING WITH • A DECISION HEIGHT LOWER THAN 100 FEET BUT NOT LOWER THAN 50 FEET AND • RUNWAY VISUAL RANGE NOT LESS THAN 200 METERS
  • 18.
    /USPR/ - ETS,HYDERABAD 18
  • 19.
    /USPR/ - ETS,HYDERABAD 19 CAT III B DEFINITION A PRECISION INSTRUMENT APPROACH AND LANDING WITH • NO DECISION HEIGHT OR DECISION HEIGHT LOWER THAN 50 FEET and • RUNWAY VISUAL RANGE LESS THAN 200 METERS BUT NOT LESS THAN 50 METERS
  • 20.
    /USPR/ - ETS,HYDERABAD 20 CAT III C DEFINITION A PRECISION INSTRUMENT APPROACH AND LANDING WITH • NO DECISION HEIGHT and • NO RUNWAY VISUAL RANGE LIMITATIONS
  • 21.
    /USPR/ - ETS,HYDERABAD 21 AUTOMATIC LANDING SYSTEM • AUTOMATIC LANDING SYSTEM IS ONLY AN EQUIPMENT (OR GROUP OF EQUIPMENT) PROVIDING AUTO CONTROL OF THE AIRCRAFT DURING APPROACH AND LANDING AND IT IS NOT RELATED TO WEATHER CONDITIONS.
  • 22.
    /USPR/ - ETS,HYDERABAD 22 CAT II HAS OPTIONAL AUTOLAND • CAT II WEATHER MINIMA IS ESTABLISHED TO PROVIDE SUFFICIENT VISUAL REFERENCE AT DH TO PERMIT A MANUAL LANDING. • HOWEVER, AUTOMATIC LANDING CAN ALSO BE DONE IN CAT II
  • 23.
    /USPR/ - ETS,HYDERABAD 23 IN CAT III, AUTO LANDING IS A MUST • IN CAT III, WEATHER MINIMA DO NOT PROVIDE SUFFICIENT VISUAL REFERENCES TO ALLOW MANUAL LANDING. • THE MINIMA ONLY PERMIT THE PILOT TO DECIDE TO LAND IN THE TOUCH DOWN ZONE AND TO ENSURE SAFETY DURING ROLL OUT. • AS CAT III DOES NOT PROVIDE A SUFFICIENT VISUAL REFERENCE, AUTOMATIC LANDING SYSTEM IS MANDATORY.
  • 24.
    /USPR/ - ETS,HYDERABAD 24 DECISION HEIGHT • DECISION HEIGHT IS THE SPECIFIED HEIGHT IN THE PRECISION APPROACH, AT WHICH A GO AROUND MUST BE INITIATED UNLESS ADEQUATE VISUAL REFERENCE HAS BEEN ESTABLISHED TO CONTINUE THE APPROACH. • DH IS MEASURED BY MEANS OF RADIO ALTIMETER FOR CAT II / CAT III OPERATIONS
  • 25.
    /USPR/ - ETS,HYDERABAD 25
  • 26.
    /USPR/ - ETS,HYDERABAD 26 VISUAL REFERENCE • THE REQUIRED VISUAL REFERENCE MEANS, THE VISUAL AIDS OF THE SECTION OF THE RUNWAY OR OF THE APPROACH AREA, that means, • FOR CAT II / CAT III OPERATIONS, A PILOT MAY NOT CONTINUE APPROACH BELOW DH, UNLESS A VISUAL REFERENCE CONTAINING NOT LESS THAN THREE SEGMENT OF THE ANY CATEGORY OF THE LIGHTS IS OBTAINED.
  • 27.
    /USPR/ - ETS,HYDERABAD 27 DECESION HEIGHT • FOR CAT II OPERATIONS THE DH IS IN BETWEEN 200 FEET AND 100 FEET. • FOR CAT III OPERATIONS WITH DH, THE DH IS IN BETWEEN 100 FEET AND 50 FEET. • NORMALLY, THE DH MINIMUM IS MENTIONED FOR REFERENCE
  • 28.
    /USPR/ - ETS,HYDERABAD 28 ALERT HEIGHT • ALERT HEIGHT IS THE HEIGHT ABOVE THE RUNWAY, DEFINED FOR CAT III OPERATIONS WITH FAIL OPERATIONAL AUTOMATIC LANDING SYSTEM. • DH DEPENDS UPON VISIBILITY CONDITIONS AND AH DEPENDS UPON SERVICEABILITY OF EQUIPMENT.
  • 29.
    /USPR/ - ETS,HYDERABAD 29 ALERT HEIGHT • ABOVE AH, A CAT III APPROACH WOULD BE DISCONTINUED AND GO AROUND IS INITIATED IF A FAILURE IS OCCURRED IN ONE OF THE REDUNDANT PARTS OF THE AUTOMATIC LANDING SYSTEM OR IN THE RELEVANT GROUND EQUIPMENT. • BELOW AH, APPROACH MAY BE CONTINUED EXCEPT WHEN AUTO LAND WARNING IS TRIGGERED
  • 30.
    /USPR/ - ETS,HYDERABAD 30 FAIL OPERATIONAL AUTO LANDING SYSTEM • AN AUTOMATIC LANDING SYSTEM IS FAIL OPERATIONAL, IF IN THE EVENT OF A FAILURE BELOW ALERT HEIGHT, THE REMAINING PART OF THE AUTOMATIC LANDING SYSTEM ALLOWS THE AIRCRAFT TO COMPLETE THE APPROACH, FLARE AND LANDING • IN AIRBUS A 320 AIRCRAFT, "CAT III DUAL" IS FAIL OPERATIONAL LANDING SYSTEM.
  • 31.
    /USPR/ - ETS,HYDERABAD 31 FAIL PASSIVE AUTO LANDING SYSTEM • IN THIS TYPE OF LANDING SYSTEM, IN THE EVENT OF A FAILURE, THERE IS NO SIGNIFICANT DEVIATION OF AIRCRAFT TRIM OR DEVIATION OF FLIGHT PATH OR ATTITUDE, BUT THE LANDING IS NOT COMPLETED AUTOMATICALLY. • WITH THE FAIL PASSIVE AUTOMATIC LANDING SYSTEM, THE PILOT ASSUMES CONTROL OF THE AIRCRAFT AFTER A FAILURE. • IN AIRBUS A 320 AIRCRAFT, "CAT III SINGLE" IS FAIL PASSIVE AUTOMATIC LANDING SYSTEM.
  • 32.
    /USPR/ - ETS,HYDERABAD 32 PROTECTION BY FMGC IN A 320 AIRCRAFT • BELOW 100 FEET RADIO ALTITUDE, THE FMGC FREEZES THE LANDING CAPABILITY, UNTIL LAND MODE IS DISENGAGED OR BOTH AUTOPILOTS ARE OFF. • THEREFORE, A FAILURE BELOW 100 FEET DOES NOT CHANGE THE CATEGORY OF THE LANDING SYSTEM
  • 33.
    /USPR/ - ETS,HYDERABAD 33 RUNWAY VISUAL RANGE • RVR IS THE RANGE OVER WHICH A PILOT OF AN AIRCRAFT ON THE CENTERLINE OF THE RUNWAY CAN SEE THE RUNWAY SURFACE MARKINGS OR THE LIGHTS DELINEATING THE RUNWAY OR IDENTIFYING ITS CENTERLINE. • CAT II / CAT III OPERATIONS REQUIRE RAPIDLY UPDATED AND RELIABLE REPORTS OF THE VISIBILITY CONDITIONS WHICH A PILOT MAY EXPECT TO ENCOUNTER IN THE TOUCHDOWN ZONE AND ALONG THE RUNWAY.
  • 34.
    /USPR/ - ETS,HYDERABAD 34 RUNWAY VISUAL RANGE RVR
  • 35.
    /USPR/ - ETS,HYDERABAD 35 SLANT VISUAL RANGE (SVR) • RVR IS NOT SLANT VISUAL RANGE (SVR). SVR IS THE RANGE OVER WHICH A PILOT OF AN AIRCRAFT IN THE FINAL STAGES OF APPROACH OR LANDING CAN SEE THE MARKINGS OR THE LIGHT ON THE RUNWAY. • SVR IS NOT MEASURED AS THE PILOT HIMSELF CAN SEE FROM THE HEIGHT.
  • 36.
    /USPR/ - ETS,HYDERABAD 36 SLANT VISUAL RANGE
  • 37.
    /USPR/ - ETS,HYDERABAD 37
  • 38.
    /USPR/ - ETS,HYDERABAD 38 TRANSMISSOMETERS • RVR MEASUREMENTS ARE MEASURED BY A SYSTEM OF CALIBRATED TRANSMISSOMETERS AND IT ACCOUNTS FOR THE EFFECTS OF AMBIENT LIGHT AND THE INTENSITY OF RUNWAY LIGHTS.
  • 39.
    /USPR/ - ETS,HYDERABAD 39
  • 40.
    /USPR/ - ETS,HYDERABAD 40 LOCATIONS OF TRANSMISSOMETERS • TRANSMISSOMETERS ARE STRATEGICALLY LOCATED AND PROVIDE RVR MEASUREMENTS ASSOCIATED WITH THREE BASIC PORTIONS OF THE RUNWAY • THE TOUCH DOWN ZONE (TDZ) • THE MID RUNWAY PORTION (MID) AND • THE ROLL OUT PORTION OR THE STOP END
  • 41.
    /USPR/ - ETS,HYDERABAD 41 REQUIREMENTS OF RVRs • FOR CAT II /CAT III A OPERATIONS TOUCHDOWN ZONE RVR OR MID RVR MEASUREMENT IS SUFFICIENT. • BUT FOR CAT III B OPERATIONS, BOTH TOUCHDOWN ZONE AND MID RVR ARE MANDATORY AND ROLL OUT PORTION RVR IS RECOMMENDATORY
  • 42.
    /USPR/ - ETS,HYDERABAD 42 TRANSMISSOMETRS INSTALLATION • RVR DEFINITION CONSIDERS PILOT’S EYE TO BE AT 15 FEET ABOVE THE RUNWAY SURFACE. THE LIGHT PATH FROM THE RUNWAY MARKINGS (AT 0 FEET) TO THE PILOT’S EYE (15 FEET) HAS A MEAN HEIGHT OF 7.5 FEET. • HENCE, TRANSMISSIOMETERS ARE LOCATED AT 6 TO 10 FEET HEIGHT ABOVE THE RUNWAY.
  • 43.
    /USPR/ - ETS,HYDERABAD 43 RUNWAY REQUIREMENTS THE MARKINGS NECESSARY FOR CAT II / CAT III OPERATIONS ARE • RUNWAY CENTERLINE MARKINGS • RUNWAY THRESHOLD MARKINGS • TOUCHDOWN ZONE MARKINGS AND • TAXI HOLDING POSITION MARKINGS RUNWAY MARKINGS ARE WHITE IN COLOUR TAXIWAY MARKINGS ARE YELLOW IN COLOUR
  • 44.
    /USPR/ - ETS,HYDERABAD 44 VARIOUS LIGHTS INSTALLED IN RUNWAYS • RUNWAY THRESHOLD LIGHTS • RUNWAY END LIGHTS • RUNWAY EDGE LIGHTS • RUNWAY CENTERLINE LIGHTS • TOUCHDOWN ZONE LIGHTS • APPROACH LIGHTS • TAXIWAY CENTERLINE LIGHTS • STOP BARS AND • TAXI HOLDING POSITION LIGHTS
  • 45.
    /USPR/ - ETS,HYDERABAD 45 INTERFERENCE TO ILS SIGNALS • ANY LARGE REFLECTING OBJECTS, INCLUDING VEHICLES, AIRCRAFT AND FIXED STRUCTURES WITHIN THE RADIATED SIGNAL COVERAGE, WILL POTENTIALLY CAUSE INTERFERENCE TO ILS SIGNALS. • THE AREAS WITHIN WHICH DEGRADABLE INTERFERENCE TO THE ILS SIGNALS OCCUR DUE TO MOVEMENT ON THE GROUND IS DIVIDED INTO TWO TYPES. • ILS CRITICAL AREA AND ILS SENSITIVE AREA
  • 46.
    /USPR/ - ETS,HYDERABAD 46
  • 47.
    /USPR/ - ETS,HYDERABAD 47 CRITICAL AREAS • IT IS AN AREA OF DEFINED DIMENSIONS ABOUT THE LOCALISER AND THE GLIDEPATH ANTENNAS WHERE VEHICLES, INCLUDING AIRCRAFT, ARE EXCLUDED DURING ALL ILS OPERATIONS • THE CRITICAL AREA IS PROTECTED BECAUSE THE PRESENCE OF VEHICLES AND / OR AIRCRAFT INSIDE THESE BOUNDARIES WILL CAUSE UNACCEPTABLE DISTURBANCE TO THE ILS SIGNALS IN SPACE.
  • 48.
    /USPR/ - ETS,HYDERABAD 48 SENSITIVE AREAS • IT IS AN AREA EXTENDING BEYOND THE CRITICAL AREA WHERE THE PARKING AND / OR MOVEMENT OF VEHICLES, INCLUDING AIRCRAFT IS CONTROLLED TO PREVENT THE POSSIBILITY OF UNACCEPTABLE INTERFERENCE TO THE ILS SIGNALS DURING ILS OPERATIONS. • THE SIZE OF A SENSITIVE AREA DEPENDS UPON A NUMBER OF FACTORS INCLUDING THE TYPE OF ILS ANTENNA, THE TOPOGRAPHY AND THE SIZE AND ORIENTATION OF MOVING OBJECTS.
  • 49.
    /USPR/ - ETS,HYDERABAD 49 BETTER ANTENNAS • MODERN DESIGNS OF LOCALISER AND GLIDESLOPE ANTENNAS CAN BE VERY EFFECTIVE IN REDUCING THE DISTURBANCE POSSIBILITIES AND HENCE THE EXTENT OF SENSITIVE AREAS.
  • 50.
    /USPR/ - ETS,HYDERABAD 50
  • 51.
    /USPR/ - ETS,HYDERABAD 51 AIRBUS A 320 INSTRUMENT LANDING SYSTEM • THE FUNCTION OF ILS IS TO MEASURE THE DEVIATIONS BETWEEN AIRCRAFT FLIGHT PATH AND – GLIDE SLOPE – RUNWAY ALIGNMENT PLANE (LOCALISER) • THE LOCALISER OPERATES IN THE FREQUENCY RANGE FROM 108 MHz TO 111.95 MHz. • THE GLIDE SLOPE OPERATES IN THE FREQUENCY RANGE 328.6 MHz TO 335.4 MHz. • THERE ARE TWO SIMILAR AND INDEPENDENT SYSTEMS
  • 52.
    /USPR/ - ETS,HYDERABAD 52 THE COMPONENTS AND THEIR LOCATION • ILS 1 RECEIVER 95 VU • ILS 2 RECEIVER 96 VU • LOCALISER ANTENNA 110 AL DOOR • GLIDE SLOPE ANTENNA 110 AL DOOR • EFIS CONTROL SECTION ILS PB (2) • MASTER CAUTION LIGHTS • AUDIO CONTROL PANELS • RADIO MANAGEMENT PANELS • MCDU 1 AND 2 • FMGC 1 AND 2 • FLIGHT WARNING COMPUTERS, DISPLAY MANAGEMENT COMPUTERS AND DISPLAY UNITS • CFDIU
  • 53.
    /USPR/ - ETS,HYDERABAD 53
  • 54.
    /USPR/ - ETS,HYDERABAD 54 ANTENNAS • LOCALISER ANTENNA – THE ANTENNA IS CAPABLE OF RECEIVING IN THE FREQUENCY RANGE OF 108 TO 112 MHz. – IT IS A FOLDED HALF LOOP TYPE DRIVEN BY CAPACITIVE COUPLING – IT HAS TWO RF CONNECTORS USED TO FEED BOTH ILS RECEIVERS ON ONE SIDE. • GLIDE SLOPE ANTENNA – THE ANTENNA IS CAPABLE OF RECEIVING IN THE FREQUENCY RANGE OF 329 TO 335 MHz. – THE TYPE OF THE ANTENNA IS SAME AS LOCALISER ANTENNA – IT HAS TWO INDEPENDENT CONNECTORS TO CONNECT TO BOTH THE ILS RECEIVERS.
  • 55.
    /USPR/ - ETS,HYDERABAD 55
  • 56.
    /USPR/ - ETS,HYDERABAD 56 ILS RECEIVER • AT THE FACE OF THE RECIEVER, THERE ARE THREE LEDs. THEY ARE ILS FAIL (RED), ILS PASS (GREEN) AND DATA IN (RED) AND A TEST SWITCH. • ILS FAIL INDICATES INTERNAL FAILURE • DATA IN INDICATES NO CONTROL INPUT OR INCORRECT ARINC 429 INPUT FORMAT • ILS PASS INDICATES THE SYSTEM IS O.K. • BACK SIDE THERE ARE THREE CONNECTORS FOR ATE INTERFACE, SYSTEM INTERCONNECTIONS AND POWER SUPPLY
  • 57.
    /USPR/ - ETS,HYDERABAD 57
  • 58.
    /USPR/ - ETS,HYDERABAD 58 INSIDE THE RECEIVER • THE ILS RECEIVER INCLUDES – A LOCALISER TUNER – A GLIDE SLOPE TUNER – A BITE MODULE – AN ILS MODULE – A CPU MODULE – A CPU MONITOR MODULE – A DATA INTERFACE MODULE AND – POWER SUPPLY MODULES
  • 59.
    /USPR/ - ETS,HYDERABAD 59
  • 60.
    /USPR/ - ETS,HYDERABAD 60 LOCALISER TUNER – IT RECEIVES AND DEMODULATES THE SIGNAL FROM ONE OF THE 40 CHANNELS. – IT INCLUDES A PRE SELECTOR • TUNED TO SELECTED LOCALISER CHANNEL BY THE TUNING VOLTAGE PROVIDED BY THE CPU MODULE – MIXER • SUBTRACTS THE LOCAL OSCILLATOR FREQUENCY FROM THE PRESELECTOR LOCALISER SIGNAL TO PRODUCE 18.1 MHz IF SIGNAL. – TWO IF AMPLIFIERS AND THE SECOND ONE IS A THREE STAGE AMPLIFIER – AN ENVELOPE DETECTOR, WHICH DETECTS THE LOW FREQUENCY ENVELOPE OF THE RECEIVED SIGNAL.
  • 61.
    /USPR/ - ETS,HYDERABAD 61 GLIDE SLOPE TUNER • IT RECEIVES AND DEMODULATES THE SIGNALS FROM ONE OF THE 40 CHANNELS AND COUPLED WITH THE LOCALISER FREQUENCIES. • IT HAS – A PRESELECTOR – A MIXER (IF IS 30.2 MHz) – TWO IF AMPLIFIERS AND – AN ENVELOPE DETECTOR
  • 62.
    /USPR/ - ETS,HYDERABAD 62 BITE MODULE AND ILS MODULE • BITE MODULE GENERATES 90 Hz AND 150 Hz TEST COMPOSITE SIGNALS DURING THE TEST SEQUENCE. • THE ILS MODULE PROCESSES THE GLIDE SLOPE AND LOCALISER COMPOSITE SIGNALS. ITS CIRCUITS SEPARATE THE 90 Hz AND 150 Hz FROM EACH COMPOSITE SIGNAL AND GENERATES A DC VOLTAGE PROPORTIONAL TO THE MODULATION LEVEL OF EACH TONE.
  • 63.
    /USPR/ - ETS,HYDERABAD 63 CPU MODULE AND CPU MONITOR MODULE • CPU MODULE PERFORMS THE PRIMARY CONTROL, TIMING AND LOGIC COMPUTATIONS REQUIRED FOR THE RECEIVER OPERATION (IT HAS A 80C85 MICROPROCESSOR) • CPU MONITOR MODULE READS THE ANALOG LOCALISER AND GLIDESLOPE TONES FROM THE ILS MODULE, CONVERTS THEM INTO DIGITAL, COMPUTES THE GLIDESLOPE AND LOCALISER COURSE DEVIATION IN DDM AND COMPARES ITS COMPUTATIONS WITH THE PRIMARY CPU COMPUTATIONS TRANSMITTED ON THE ARINC 429 BUS.
  • 64.
    /USPR/ - ETS,HYDERABAD 64 DATA INTERFACE AND POWER SUPPLY MODULES • DATA INTERFACE MODULE GIVES BOTHWAY ARINC 429 COMMUNICATION PATH BETWEEN RECEIVER, CONTROL UNIT AND DISPLAY UNITS. IT ALSO RECEIVES THE RECEIVER TUNING DATA AND CONTROL DISCRETES. • THE POWER SUPPLY MODULE HAS TWO SUB MODULES. – THE CONTROL MODULE WHICH HAS THE MAJOR RECTIFIER ASSEMBLY AND – OUTPUT MODULE WHICH DEVELOPES THE DC REGULATED OUTPUTS FROM THE DC VOLTAGES SUPPLIED BY THE CONTROL MODULE. – IT DEVELOPS THE OUTPUTS + 5 VDC, +15 VDC, - 15 VDC AND +8 VDC – A POWER MONITOR OUTPUT IS ALSO DEVELOPED AND APPLIED TO A VOLTAGE CPMAPARATOR IN THE CPU MODULE.
  • 65.
    /USPR/ - ETS,HYDERABAD 65
  • 66.
    /USPR/ - ETS,HYDERABAD 66 AIRBUS A320 AUTO LANDING SYSTEM THERE ARE TWO TYPES OF “APPROACH” AVAILABLE IN A 320 • ILS APPROACH: (LAND MODE): APPROACH IS PERFORMED ON THE ILS BEAM (GLIDESLOPE AND LOCALISER) • FMS APPROACH: GUIDANCE IS PERFORMED FROM A THEORETICAL PATH COMPUTED BY FMGC
  • 67.
    /USPR/ - ETS,HYDERABAD 67
  • 68.
    /USPR/ - ETS,HYDERABAD 68 ILS APPROACH HAS THE PRIORITY • THE TYPE OF APPROACH IS SELECTED THROUGH MCDU. THE SELECTION OF AN ILS FREQUENCY ON RMP FORCES THE SELECTION OF ILS APPROACH, WHATEVER BE THE SELECTION MADE ON MCDU • ILS APPROACH CAN BE SELECTED IMPLICITLY THROUGH FLIGHT PLAN DEFINITION OR EXPLICITLY BY SELECTING A FREQUENCY AND RUNWAY HEADING BY MEANS OF MCDU OR RMP
  • 69.
    /USPR/ - ETS,HYDERABAD 69 ILS APPROACH • THE ILS MODE OF APPROACH PROVIDES THE CAPTURE AND TRACK OF ILS BEAM (LOC. AND GLIDE) AND ENSURES THE FUNCTIONS ALIGNMENT, FLARE, AND ROLL OUT • ILS MODE IS AVAILABLE FOR THE AP AND FD. IT ENABLES LANDINGS TO BE PERFORMED FOR CAT III OPERATIONS • THEREFORE, THE SELECTION OF LAND MODE AUTHORIZES THE ENGAGEMENT OF SECOND AP.
  • 70.
    /USPR/ - ETS,HYDERABAD 70 ILS APPROACH • THE ARMING OF LAND MODE BY APPR PUSHBUTTON ON FCU ENABLES THE LOC. AND GLIDE MODE TO BE ARMED IN THE LATERAL AND LONGITUDINAL AXES. • THE SUPPORT MODES ACTIVE IN THESE AXES REMAIN ENGAGED UNTIL THE LOC AND GLIDE BEAMS ARE CAPTURED. • SWITCHING TO LOC. CPT AND G/S. CPT MODES OCCURS WHEN THE CAPTURE CONDITIONS ARE MET.
  • 71.
    /USPR/ - ETS,HYDERABAD 71 ILS APPROACH • WHEN THE AIRCRAFT IS STABILIZED ON THE LOC. AND GLIDE BEAMS, THE LOC. TRACK AND GLIDE TRACK MODES ARE ACTIVATED. • THE AP / FD GUIDES THE AIRCRAFT ALONG THE ILS BEAM TO 30 FEET. • AT THIS ALTITUDE, THE LAND MODE PROVIDES THE ALIGNMENT ON THE RUNWAY CENTERLINE ON THE YAW AXIS AND FLARE ON THE PITCH AXIS.
  • 72.
    /USPR/ - ETS,HYDERABAD 72 ILS APPROACH • THE LAND TRACK MODE HAS TWO SUB MODES, ALIGN AND ROLL OUT • ALIGN MODE ENGAGES PROVIDED BOTH FACS ARE OPERATIONAL. BELOW 100 FEET, LOSS OF FACS DOES NOT CAUSE AP / FD DISENGAGEMENT OR LOSS OF LAND TRACK MODE. • ROLL OUT SUB MODE IS ENGAGED AT TOUCHDOWN AND PROVIDES GUIDANCE ON THE RUNWAY CENTERLINE.
  • 73.
    /USPR/ - ETS,HYDERABAD 73 FMGC PROTECTIONS • WHEN THE AIRCRAFT REACHES 700 FEET RADIO ALTITUDE WITH APPR MODE ARMED OR ENGAGED, THE ILS FREQUENCY, AND COURSE ARE FROZEN IN THE RECEIVER. • THIS FUNCTION IS AVAILABLE (ILS TUNE INHIBIT) WHEN AT LEAST ONE AP / FD IS ENGAGED. ANY ATTEMPT TO CHANGE ILS FREQUENCY OR COURSE THROUGH MCDU OR RMP DOES NOT AFFECT THE RECEIVER
  • 74.
    /USPR/ - ETS,HYDERABAD 74 ILS APPROACH • FOR CAT III APPROACH AUTO CALL OUT OF RADIO ALTITUDE IS MANDATORY AND AUTO THRUST MUST BE IN SPEED MODE. • CALLOUT “RETARD” COMES AT 20 FEET FOR MANUAL LANDING AND AT 10 FEET FOR AUTOLANDING.
  • 75.
    /USPR/ - ETS,HYDERABAD 75 AUTO PILOT DISENGAGEMENT • AUTOPILOTS ARE TO BE DISENGAGED AT 80 FEET FOR MANUAL LANDING AND AT THE END OF ROLL OUT FOR AUTOLANDING. • OTHERWISE THE AP WILL STEER THE AIRCRAFT BACK TO THE LOCALISER WHEN THE NOSE WHEEL STEERING IS RELEASED.
  • 76.
    /USPR/ - ETS,HYDERABAD 76 INDICATIONS OF ILS SELECTION OF LAND MODE IS INDICATED BY ILLUMINATION OF “APPR” PUSHBUTTON IN FCU AND BY VARIOUS INDICATIONS ON FMA SECTION OF PFD. • DURING THE ARMING PHASE CYAN “G/S” AND CYAN “LOC” CORRESPONDING TO LONGITUDINAL AND LATERAL MODES RESPECTIVELY. ACTIVE SUPPORT MODES ARE SHOWN IN GREEN UNTIL LOC OR GLIDE CAPTURE IS EFFECTIVE
  • 77.
    /USPR/ - ETS,HYDERABAD 77 ILS INDICATIONS DURING THE CAPTURE PHASE • GREEN “LOC*” AND GREEN “GLIDE*” AND THE CORRESPONDING SUPPORT MODES ARE DISENGAGED AND THEIR INDICATIONS ARE CANCELLED. DURING THE TRACK PHASE • THE INDICATIONS ARE “LOC” AND “GLIDE” IN GREEN COLOUR. • BELOW 400 FEET, GREEN “LAND” INDICATION REPLACES THESE INDICATIONS AND APPEARS ON THE LATERAL AND LONGITUDINAL SECTIONS OF INDICATIONS.
  • 78.
    /USPR/ - ETS,HYDERABAD 78 ILS INDICATIONS DURING FLARE PHASE • THE GREEN “LAND” INDICATION IS REPLACED BY GREEN “FLARE” INDICATION DURING ROLL OUT PHASE • GREEN “ROLL OUT” INDICATION REPLACES THE “FLARE” INDICATION. • IN ADDITION, THE LANDING CAPABILITY IS DISPLAYED ON THE PFD, AS SOON AS LAND MODE IS SELECTED AS “ CAT 1, CAT 2, CAT 3 SINGLE, CAT 3 DUAL”
  • 79.
    /USPR/ - ETS,HYDERABAD 79
  • 80.
    /USPR/ - ETS,HYDERABAD 80 LAND TEST • THE PURPOSE OF THIS TEST, WHICH IS DONE THROUGH MCDU, IS TO VERIFY THE CAPABILITY OF THE INVOLVED SYSTEMS TO PERFORM CAT III FAIL OPERATIONAL (CAT III DUAL) AUTOMATIC LANDING. • IT ALSO TESTS THE TAKEOVER PRIORITY PUSHBUTTONS, THE A/THR INSTINCTIVE DISCONNECT PUSHBUTTONS AND THE WARNINGS ASSOCIATED TO AUTOMATIC LANDING. • THE LAND TEST FUNCTION IS PERFORMED IN THE FIDS.
  • 81.
    /USPR/ - ETS,HYDERABAD 81 PREREQUISITE OF LAND TEST • ALL THE CBS PERTAINING TO AUTO FLT AT 49 VU AND 121 VU ARE CLOSED • AIRCRAFT ELE. POWER IS ENERGIZED (21-41-00) • EIS START PROCEDURE IS DONE (31-60-00) • 3 ADIRS ARE ALIGNED (34-10-00) • AIRCRAFT HYDRAULIC SYSTEMS ARE PRESSURIZED (29- 23-00,29-10-00) • ON 50 VU, ENGFADEC GND PWR 1&2 PUSH BUTTONS ARE PUT TO ON • ON 402 VU, ASKID &NW SW IS PUT TO ON • ON MCDU SYSTEM REPORT/TEST PAGE IS BROUGHT (31- 32-00) AND • LINE KEY ADJACENT TO AFS IS PRESSED.
  • 82.
    /USPR/ - ETS,HYDERABAD 82
  • 83.
    /USPR/ - ETS,HYDERABAD 83
  • 84.
    /USPR/ - ETS,HYDERABAD 84 LAND TEST • WHEN LAND TEST IS SELECTED ON THE MCDU, FIDS CONFORMS THE GROUND CONDITION AND SENDS SIGNALS TO THE FOUR FMGC BITES (FG1 COM, MON, FG2 COM, MON). • EACH BITE SENDS REQUEST SIGNAL TO THE OPERATIONAL SOFTWARE AND THE ANSWER IS GENERATED WHICH IS SENT BACK TO FIDS TO AUTHORIZE THE LAND TEST INITIATION. • IF THE FOUR ANSWERS (ACCEPTATION) ARE NOT RECEIVED BY FIDS, THE LAND TEST REFUSED MESSAGE IS DISPLAYED ON THE FIRST TEST PAGE.
  • 85.
    /USPR/ - ETS,HYDERABAD 85 LAND TEST • IF THE TEST EXECUTION REQUEST IS AUTHORIZED, THE FIDS GENERATES DIFFERENT PAGES TO BE DISPLAYED ON THE MCDU AND DIALOGUES WITH THE FOUR BITES TO PERFORM THE TEST. • THE TEST CONSISTS IN CHECKING THE CORRECT OPERATIONS OF THE SYSTEMS INSIDE AND OUTSIDE THE AUTO FLIGHT SYSTEM AND INVOLVED IN CAT III AUTOMATIC LANDING SYSTEM. (CORRECT OPERATION OF BITES, CORRECT SYSTEM RECEPTION, SELF TEST RESULTS AND INTERCONNECTION VALIDITY)
  • 86.
    /USPR/ - ETS,HYDERABAD 86 AFTER THE LAND TEST • HYDRAULIC POWERS ARE DEPRESSURIZED • THE THRUST CONTROL LEVERS ARE PUT TO IDLE STOP POSITION • THE ENG/FADEC GND PWR 1&2 PUSHBUTTONS ON 50 VU ARE PRESSED.(ON LEGENDS GO OFF) • THE RAD NAV MODE KEY IS PRESSED ON MCDU AND THE ILS FREQUENCY AND COURSE ARE CLEARED • IN 23VU FLT CTL PANEL FAC PUSH BUTTON IS PUSHED (OFF LEGEND GOES OFF) • IN 24 VU THE ELAC PUSH BUTTON IS PUSHED (OFF LEGEND GOES OFF) • ADIRS STOP PROCEDURES ARE DONE (34-10-00) • EIS STOP PROCEDURES ARE DONE (31-60-00) AND • ELECTRICAL POWER IS DEENERGISED.
  • 87.
    /USPR/ - ETS,HYDERABAD 87
  • 88.
    /USPR/ - ETS,HYDERABAD 88 POWER SUPPLY • THE POWER SUPPLY REQUIRED FOR THE ILS RECEIVER ARE SUPPLIED FROM: – ILS 1 401 XP AND – ILS 2 204 XP
  • 89.
    /USPR/ - ETS,HYDERABAD 89
  • 90.
    /USPR/ - ETS,HYDERABAD 90 ILS 1 ILS 2 • ILS 1 IS DISPLAYED ON PFD 1 AND ND 2, • ILS 2 IS DISPLAYED ON PFD 2 AND ND 1.
  • 91.
    /USPR/ - ETS,HYDERABAD 91 THE ILS PB ON THE EFIS CONTROL PANEL ENABLES THE PILOTS TO SWITCH ON AN ILS DISPLAY.. DEVIATION IS DISPLAYED ONLY IF ILS RECEPTION IS VALID ILS INDICATIONS GS LOC
  • 92.
    /USPR/ - ETS,HYDERABAD 92 THE ILS DISPLAY INCLUDES INDICATIONS FOR: • LOCALIZER, • FRONT COURSE, • GLIDE SLOPE, • INFORMATION. ILS INDICATIONS GS ONE SIDE ½ DEGREE (0.175 ddm) LOC. ONE SIDE 2.5 DEGREES (0.155 ddm) OM MM IM
  • 93.
    /USPR/ - ETS,HYDERABAD 93 ROSE MODE
  • 94.
    /USPR/ - ETS,HYDERABAD 94 LOCALIZER DEVIATION BAR ILS COURSE POINTER ND ROSE ILS MODE SELECTED ILS INFORMATION GLIDE DEVIAITON LOC. DEVIATION EACH DOT 0.8 DEGREES AND GS DEVIATION EACH DOT 0.4 DEGREES
  • 95.
    /USPR/ - ETS,HYDERABAD 95 MOVES ON A SCALE LATERALLY WITH RESPECT TO THE COURSE POINTER. ND ROSE ILS MODE LOCALIZER DEVIATION BAR
  • 96.
    /USPR/ - ETS,HYDERABAD 96 POINTS TO THE SELECTED ILS COURSE. ND ROSE ILS MODE ILS COURSE POINTER
  • 97.
    /USPR/ - ETS,HYDERABAD 97 ND ROSE ILS MODE MOVES ON A VERTICAL SCALE. GLIDE DEVIAITON
  • 98.
    /USPR/ - ETS,HYDERABAD 98 ND ROSE ILS MODE - ILS FREQUENCY - ILS SELECTED COURSE • ILS IDENTIFICATION SELECTED ILS INFORMATION
  • 99.
    /USPR/ - ETS,HYDERABAD 99 SINGLE ILS RECEIVER FAILURE • BOTH AP AND FD REMAIN ENGAGED. • AUTOMATIC SWITCHING TAKES PLACE TO REMAINING ILS RECEIVER • THE LANDING CAPABILITY IS DEGRADED TO CAT 1 • NAV ILS 1(2) FAULT DISPLAY IN THE E / WD ASSOCIATED WITH MASTER CAUTION AND SINGLE CHIME.
  • 100.
    /USPR/ - ETS,HYDERABAD 100 DUAL ILS RECEIVER FAILURE • AUTOMATIC GUIDANCE IS LOST • AP DISENGAGED AND REVERSION TO THE BASIC MODE (HDG VS OR TRK FPA) • ONE OF THE APs CAN BE REENGAGED IN THE BASIC MODES • RED LOC. AND GS FLAGS ARE DISPLAYED ON PFDs AND NDs • AUTOLAND WARNING IS ACTIVATD BELOW 200 FEET RA • NO ILS AUDIO IS AVAILABLE. • THE E / WD MESSAGE, MASTER CAUTION AND SINGLE CHIME ARE AVAILABLE.
  • 101.
    /USPR/ - ETS,HYDERABAD 101 ILS GROUND TRANSMITTER FAILURE • THE AUTOMATIC LANDING IS LOST. • THE FD BARS FLASH ON PFD • THE LOC AND GLIDES SCALES FLASH • THE INDECES OF LOC. AND GS ARE REMOVED FROM PFD AND ND • NO RED LOC. OR GS WARNING FLAG AND • AUTOLAND WARNING BELOW 200 FEET RA
  • 102.
    /USPR/ - ETS,HYDERABAD 102
  • 103.
    /USPR/ - ETS,HYDERABAD 103 TUNING THE ILS • IN NORMAL OPERATION, FMGC TUNES THE ILS RECEIVER AUTOMATICALLY, WITH EACH FMGC CONTROLLING ITS OWN RECEIVERS. IF ONE FMGC FAILS, THE EXISTING ONE CONTROLS BOTH SIDES. • MCDU CAN BE USED TO OVERRIDE THE FMGC’S AUTOMATIC SELECTION AND TUNING OF NAV AIDS. • IF BOTH FMGCs FAIL, THE RMPs ( 1 OR 2)CAN BE USED TO TUNE BOTH THE ILS. • BELOW 700 FEET RA, ILS RECEIVES A TUNE INHIBIT SIGNAL FROM FMGC. CHANGING THE FREQUENCY OR COURSE IS NOT POSSIBLE.
  • 104.
    /USPR/ - ETS,HYDERABAD 104
  • 105.
    /USPR/ - ETS,HYDERABAD 105
  • 106.
    /USPR/ - ETS,HYDERABAD 106