Embed presentation









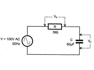
The document provides instructions to calculate various values for an RC series circuit, including: (1) the capacitive reactance of 53.1 ohms, (2) the total impedance of 72.94 ohms, (3) the current of 1.37 amps, (4) a voltage drop across the resistor of 68.5 volts and across the capacitor of 72.75 volts, (5) a phase angle between the current and applied voltage of cos^-1(0.6855), and (6) to draw the phasor diagram showing the relationship between the current and voltage.








