РЕСПУБЛИКА КАЗАХСТАН
(19) KZ (13) B (11) 28972
(51) F04D 29/22 (2006.01)
F04D 29/28 (2006.01)
B29C 45/14 (2006.01)
F01D 5/28 (2006.01)
КОМИТЕТ ПО ПРАВАМ
ИНТЕЛЛЕКТУАЛЬНОЙ СОБСТВЕННОСТИ
МИНИСТЕРСТВА ЮСТИЦИИ РЕСПУБЛИКИ КАЗАХСТАН
ОПИСАНИЕ ИЗОБРЕТЕНИЯ
К ПАТЕНТУ
(21) 2012/1557.1
(22) 22.11.2010
(45) 15.09.2014, бюл. №9
(31) СО2009А000050
(32) 23.11.2009
(33) IT
(85) 24.05.2012
(86) PCT/US2010/057626, 22.11.2010
(72) ГАИННОЦЦИ, Массимо (IT);
ДЖИОВАННЕТТИ, Иакопо (IT); МАССИНИ,
Андреа (IT); АКСЕЛЬ, Булент (US); ЛАНАУД,
Кристоф (DE); О'ФЛИНН, Джулиан (DE); ФИНН,
Скотт (US)
(73) НУОВО ПИНЬОНЕ С.П.А. (IT)
(74) Тагбергенова Модангуль Маруповна;
Тагбергенова Алма Таишевна; Касабекова Найля
Ертисовна
(56) US 2006/0291996 A1, 28.12.2006
US 5449273 A, 12.09.1995
US 2009/0142196 A1, 04.06.2009
US 4676722 A, 30.06.1987
US 6854960 B2, 15.02.2005
RU 2239100 C2, 27.10.2004
(54) ПРЕСС-ФОРМА ДЛЯ ЦЕНТРОБЕЖНОГО
РАБОЧЕГО КОЛЕСА, ВСТАВКИ ДЛЯ ПРЕСС-
ФОРМЫ И СПОСОБ ИЗГОТОВЛЕНИЯ
ЦЕНТРОБЕЖНОГО РАБОЧЕГО КОЛЕСА
(57) Предложена пресс-форма для создания
центробежного рабочего колеса для турбомашины,
отличающаяся тем, что она содержит по меньшей
мере одну кольцевую вставку (110), выполненную с
возможностью воспроизведения кольцевой сборки
аэродинамических направляющих устройств (13)
готового рабочего колеса, причем указанная
кольцевая вставка (110) используется для
формирования аэродинамических направляющих
устройств (13) так, что она может быть легко
удалена из указанной пресс-формы в процессе
формирования.
(19)KZ(13)B(11)28972
28972
2
28972
3
28972
4
28972
5
28972
6
28972
7
28972
8
28972
9
28972
10
28972
11
28972
12
28972
13
28972
14
28972
15
28972
16
28972
17
28972
18
28972
19
28972
20
28972
21
28972
22
28972
23
28972
24
28972
25
28972
26
28972
27
28972
28
28972
29
ФОРМУЛА ИЗОБРЕТЕНИЯ
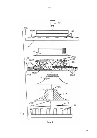
1. Пресс-форма для создания центробежного
рабочего колеса для турбомашины, содержащая
кольцевую вставку (110), содержащую вставки (200)
для создания аэродинамических направляющих
устройств, воспроизводящие аэродинамические
направляющие устройства (13) готового рабочего
колеса, отличающаяся тем, что содержит
профилированные элементы (19, 20), выполненные
с возможностью присоединения на наружной
поверхности каждой из указанных вставок (200) для
создания аэродинамического направляющего
устройства, причем указанные профилированные
элементы (19, 20) выполнены с возможностью
противодействия эрозионному воздействию рабочей
текучей среды во время работы готового рабочего
колеса.
2. Пресс-форма по п.1, отличающаяся тем, что
кольцевая вставка (110) выполнена из цельной
детали или путем соединения друг с другом
нескольких деталей.
3. Пресс-форма по меньшей мере по п.1,
отличающаяся тем, что содержит по меньшей мере
один из следующих элементов:
пластину (113) основания, имеющую
внутреннюю сторону (113А), выполненную с
возможностью воспроизведения задней поверхности
готового рабочего колеса, и наружную сторону
(113В), по существу противоположную указанной
внутренней стороне (113А),
верхнее кольцо (115), имеющее внутреннюю
сторону (115А), выполненную с возможностью
воспроизведения передней поверхности готового
рабочего колеса, и наружную сторону (115В), по
существу противоположную указанной внутренней
стороне (115А),
28972
30
внутренний центральный элемент (21),
расположенный под указанной кольцевой вставкой
(110) и поверх указанной пластины (113) основания.
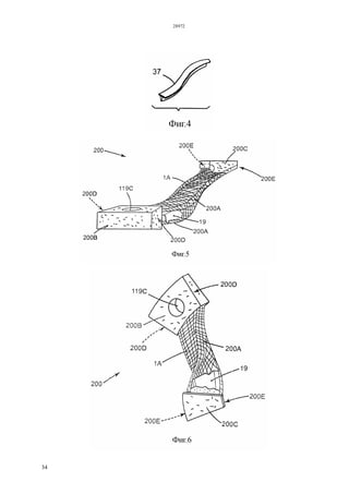
4. Вставка (200) для создания аэродинамического
направляющего устройства, выполненная с
возможностью воспроизведения по меньшей мере
одного аэродинамического направляющего
устройства (13) готового центробежного рабочего
колеса, отличающаяся тем, что содержит по
меньшей мере один из следующих элементов:
центральную область (200А), выполненную с
возможностью воспроизведения по существу
указанного аэродинамического направляющего
устройства (13), и
противоположные профилированные оконечные
области (200В, 200С), выполненные с
возможностью соединения с оконечными областями
(200В, 200С) соседней вставки (200) для создания
направляющего устройства, с формированием
кольцевой вставки (110),
профилированный элемент (19, 20),
выполненный с возможностью присоединения на
наружной поверхности указанной вставки для
создания аэродинамического направляющего
устройства, причем указанные профилированные
элементы (19, 20) выполнены с возможностью
противодействия эрозионному воздействию рабочей
текучей среды во время работы готового рабочего
колеса.
5. Вставка по меньшей мере по п.4,
отличающаяся тем, что выполнена из цельной
детали или из двух или большего количества
деталей.
6. Вставка по меньшей мере по п.4,
отличающаяся тем, что выполнена из
растворимого материала, хрупкого материала,
переформуемого материала или твердого материала,
который может быть извлечен несколькими
частями.
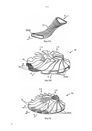
7. Способ создания центробежного рабочего
колеса для турбомашины, включающий
изготовление кольцевой вставки (110), содержащей
вставки (200) для создания аэродинамических
направляющих устройств, воспроизводящие
аэродинамические направляющие устройства (13)
готового рабочего колеса, отличающийся тем, что
включает по меньшей мере один из следующих
этапов:
присоединение по меньшей мере
профилированного элемента (19, 20) на наружной
поверхности каждой указанной вставки (200) для
создания аэродинамического направляющего
устройства до размещения на ней по меньшей мере
одного тканевого элемента (1А, 1В, 1С),
изготовление первого тканевого элемента (1А),
выполненного с возможностью присоединения
вокруг каждой из указанных вставок (200) для
создания аэродинамического направляющего
устройства,
изготовление второго тканевого элемента (1В),
выполненного с возможностью присоединения на
верхней стенке каждой из указанных вставок (200)
для создания аэродинамических направляющих
устройств и на нижней стенке соседних вставок
(200) для создания аэродинамических
направляющих устройств,
изготовление третьего тканевого элемента (1С),
выполненного с возможностью непрерывного
формирования лопаток (15) между указанными
вставками (200) для создания аэродинамических
направляющих устройств.
28972
31
28972
32
28972
33
28972
34
28972
35
28972
36
28972
37
28972
38
28972
39
Верстка Ж. Жомартбек
Корректор Р. Шалабаев

28972p

  • 1.
    РЕСПУБЛИКА КАЗАХСТАН (19) KZ(13) B (11) 28972 (51) F04D 29/22 (2006.01) F04D 29/28 (2006.01) B29C 45/14 (2006.01) F01D 5/28 (2006.01) КОМИТЕТ ПО ПРАВАМ ИНТЕЛЛЕКТУАЛЬНОЙ СОБСТВЕННОСТИ МИНИСТЕРСТВА ЮСТИЦИИ РЕСПУБЛИКИ КАЗАХСТАН ОПИСАНИЕ ИЗОБРЕТЕНИЯ К ПАТЕНТУ (21) 2012/1557.1 (22) 22.11.2010 (45) 15.09.2014, бюл. №9 (31) СО2009А000050 (32) 23.11.2009 (33) IT (85) 24.05.2012 (86) PCT/US2010/057626, 22.11.2010 (72) ГАИННОЦЦИ, Массимо (IT); ДЖИОВАННЕТТИ, Иакопо (IT); МАССИНИ, Андреа (IT); АКСЕЛЬ, Булент (US); ЛАНАУД, Кристоф (DE); О'ФЛИНН, Джулиан (DE); ФИНН, Скотт (US) (73) НУОВО ПИНЬОНЕ С.П.А. (IT) (74) Тагбергенова Модангуль Маруповна; Тагбергенова Алма Таишевна; Касабекова Найля Ертисовна (56) US 2006/0291996 A1, 28.12.2006 US 5449273 A, 12.09.1995 US 2009/0142196 A1, 04.06.2009 US 4676722 A, 30.06.1987 US 6854960 B2, 15.02.2005 RU 2239100 C2, 27.10.2004 (54) ПРЕСС-ФОРМА ДЛЯ ЦЕНТРОБЕЖНОГО РАБОЧЕГО КОЛЕСА, ВСТАВКИ ДЛЯ ПРЕСС- ФОРМЫ И СПОСОБ ИЗГОТОВЛЕНИЯ ЦЕНТРОБЕЖНОГО РАБОЧЕГО КОЛЕСА (57) Предложена пресс-форма для создания центробежного рабочего колеса для турбомашины, отличающаяся тем, что она содержит по меньшей мере одну кольцевую вставку (110), выполненную с возможностью воспроизведения кольцевой сборки аэродинамических направляющих устройств (13) готового рабочего колеса, причем указанная кольцевая вставка (110) используется для формирования аэродинамических направляющих устройств (13) так, что она может быть легко удалена из указанной пресс-формы в процессе формирования. (19)KZ(13)B(11)28972
  • 2.
  • 3.
  • 4.
  • 5.
  • 6.
  • 7.
  • 8.
  • 9.
  • 10.
  • 11.
  • 12.
  • 13.
  • 14.
  • 15.
  • 16.
  • 17.
  • 18.
  • 19.
  • 20.
  • 21.
  • 22.
  • 23.
  • 24.
  • 25.
  • 26.
  • 27.
  • 28.
  • 29.
    28972 29 ФОРМУЛА ИЗОБРЕТЕНИЯ 1. Пресс-формадля создания центробежного рабочего колеса для турбомашины, содержащая кольцевую вставку (110), содержащую вставки (200) для создания аэродинамических направляющих устройств, воспроизводящие аэродинамические направляющие устройства (13) готового рабочего колеса, отличающаяся тем, что содержит профилированные элементы (19, 20), выполненные с возможностью присоединения на наружной поверхности каждой из указанных вставок (200) для создания аэродинамического направляющего устройства, причем указанные профилированные элементы (19, 20) выполнены с возможностью противодействия эрозионному воздействию рабочей текучей среды во время работы готового рабочего колеса. 2. Пресс-форма по п.1, отличающаяся тем, что кольцевая вставка (110) выполнена из цельной детали или путем соединения друг с другом нескольких деталей. 3. Пресс-форма по меньшей мере по п.1, отличающаяся тем, что содержит по меньшей мере один из следующих элементов: пластину (113) основания, имеющую внутреннюю сторону (113А), выполненную с возможностью воспроизведения задней поверхности готового рабочего колеса, и наружную сторону (113В), по существу противоположную указанной внутренней стороне (113А), верхнее кольцо (115), имеющее внутреннюю сторону (115А), выполненную с возможностью воспроизведения передней поверхности готового рабочего колеса, и наружную сторону (115В), по существу противоположную указанной внутренней стороне (115А),
  • 30.
    28972 30 внутренний центральный элемент(21), расположенный под указанной кольцевой вставкой (110) и поверх указанной пластины (113) основания. 4. Вставка (200) для создания аэродинамического направляющего устройства, выполненная с возможностью воспроизведения по меньшей мере одного аэродинамического направляющего устройства (13) готового центробежного рабочего колеса, отличающаяся тем, что содержит по меньшей мере один из следующих элементов: центральную область (200А), выполненную с возможностью воспроизведения по существу указанного аэродинамического направляющего устройства (13), и противоположные профилированные оконечные области (200В, 200С), выполненные с возможностью соединения с оконечными областями (200В, 200С) соседней вставки (200) для создания направляющего устройства, с формированием кольцевой вставки (110), профилированный элемент (19, 20), выполненный с возможностью присоединения на наружной поверхности указанной вставки для создания аэродинамического направляющего устройства, причем указанные профилированные элементы (19, 20) выполнены с возможностью противодействия эрозионному воздействию рабочей текучей среды во время работы готового рабочего колеса. 5. Вставка по меньшей мере по п.4, отличающаяся тем, что выполнена из цельной детали или из двух или большего количества деталей. 6. Вставка по меньшей мере по п.4, отличающаяся тем, что выполнена из растворимого материала, хрупкого материала, переформуемого материала или твердого материала, который может быть извлечен несколькими частями. 7. Способ создания центробежного рабочего колеса для турбомашины, включающий изготовление кольцевой вставки (110), содержащей вставки (200) для создания аэродинамических направляющих устройств, воспроизводящие аэродинамические направляющие устройства (13) готового рабочего колеса, отличающийся тем, что включает по меньшей мере один из следующих этапов: присоединение по меньшей мере профилированного элемента (19, 20) на наружной поверхности каждой указанной вставки (200) для создания аэродинамического направляющего устройства до размещения на ней по меньшей мере одного тканевого элемента (1А, 1В, 1С), изготовление первого тканевого элемента (1А), выполненного с возможностью присоединения вокруг каждой из указанных вставок (200) для создания аэродинамического направляющего устройства, изготовление второго тканевого элемента (1В), выполненного с возможностью присоединения на верхней стенке каждой из указанных вставок (200) для создания аэродинамических направляющих устройств и на нижней стенке соседних вставок (200) для создания аэродинамических направляющих устройств, изготовление третьего тканевого элемента (1С), выполненного с возможностью непрерывного формирования лопаток (15) между указанными вставками (200) для создания аэродинамических направляющих устройств.
  • 31.
  • 32.
  • 33.
  • 34.
  • 35.
  • 36.
  • 37.
  • 38.
  • 39.