(19) BY (11) 10740
(13) U
(46) 2015.08.30
(51) МПК
H 02B 15/02 (2006.01)
ОПИСАНИЕ
ПОЛЕЗНОЙ
МОДЕЛИ К
ПАТЕНТУ
(12)
РЕСПУБЛИКА БЕЛАРУСЬ
НАЦИОНАЛЬНЫЙ ЦЕНТР
ИНТЕЛЛЕКТУАЛЬНОЙ
СОБСТВЕННОСТИ
(54) ДИСПЕТЧЕРСКИЙ МНЕМОНИЧЕСКИЙ ЩИТ И ПАССИВНЫЙ
ПЕРЕКЛЮЧАТЕЛЬ ДЛЯ НЕГО
(21) Номер заявки: u 20140404
(22) 2014.11.11
(71) Заявитель: Малоштан Алексей Ива-
нович (BY)
(72) Авторы: Вербик Александр Геннадье-
вич (BY); Малоштан Алексей Ивано-
вич (BY); Пятахин Петр Андреевич
(RU); Якубенко Сергей Анатольевич
(BY)
(73) Патентообладатель: Малоштан Алек-
сей Иванович (BY)
(57)
1. Диспетчерский мнемонический щит отображения информации преимущественно
состояния и регулировки энергогазопневмосистем, содержащий закрепленные на каркасе,
соединенные между собой в раму-основание монтажные блоки ячеек и укрепленную на
ней лицевую панель, собранную из лицевых элементов щита с отображаемой на ней ин-
формацией, при этом часть лицевых элементов выполнена с отверстиями для размещения
электрических или механических устройств в ячейках, в частности пассивных переключа-
телей, а также замковые элементы для закрепления этих устройств и монтажных блоков
ячеек между собой, отличающийся тем, что монтажный блок ячеек выполнен в виде со-
товой конструкции из вертикальных и горизонтальных стенок, образующих ячейки квад-
ратной формы, в местах пересечения которых выполнены выступающие с обратной
стороны сотовой конструкции втулки, а по левой, верхней и правой сторонам монтажного
блока ячеек - консоли с выполненными заодно с ними элементами соединения сопрягае-
мых монтажных блоков ячеек, соответствующих друг другу попарно, нижние ряды -
верхним, левые - правым, при этом левые и правые консоли смещены относительно друг
друга на одну ячейку.
Фиг. 1
BY10740U2015.08.30
BY 10740 U 2015.08.30
2
2. Диспетчерский мнемонический щит по п. 1, отличающийся тем, что монтажный
блок сотовой конструкции имеет 6×7 ячеек с возможностью образования дополнительных
ячеек с трех сторон при соединении концевых консолей - 8×8 ячеек.
3. Диспетчерский мнемонический щит по п. 1, отличающийся тем, что не менее шес-
ти концов верхних консолей имеют выступающие штыри, а соответствующие им втулки,
расположенные в местах пересечения нижнего ряда ячеек сотовой конструкции, имеют
сквозные, ответные штырям отверстия с прорезью по глубине ячеек сотовой конструкции,
при этом на концах консолей левой стороны монтажного блока ячеек и в местах пересече-
ния концевой вертикальной стенки с горизонтальными расположены втулки со сквозными
отверстиями, усеченные сверху на половину глубины ячеек сотовой конструкции, а на
концах консолей правого вертикального ряда и в местах пересечения концевой вертикаль-
ной стенки с горизонтальными расположены ответные им штыри.
4. Диспетчерский мнемонический щит по п. 3, отличающийся тем, что не менее трех
штырей, расположенных в местах пересечения правой концевой вертикальной стенки с
горизонтальными, и штыри на правых консолях выполнены заодно с глухими цилиндри-
ческими втулками, образующими снизу лицевой панели ступень на половину глубины
ячейки сотовой конструкции.
5. Диспетчерский мнемонический щит по п. 3, отличающийся тем, что не менее шес-
ти прорезей на втулках, расположенных в местах пересечения нижнего ряда ячеек сотовой
конструкции, расположены снизу, а прорезь на крайней левой втулке - слева.
6. Диспетчерский мнемонический щит, по п. 1, отличающийся тем, что втулки, рас-
положенные в местах пересечения стенок ячеек сотовой конструкции с лицевой стороны
блока, - глухие, а с обратной стороны имеют прямоугольное гнездо.
7. Диспетчерский мнемонический щит по п. 1, отличающийся тем, что элементы со-
единения сопрягаемых монтажных блоков ячеек, соответствующих друг другу, выполне-
ны с конусными сопрягаемыми поверхностями.
8. Диспетчерский мнемонический щит по п. 1, отличающийся тем, что лицевой эле-
мент щита выполнен в виде прямоугольной крышки с буртиком по периметру с обратной
стороны и попарно расположенными замковыми элементами для закрепления лицевого
элемента в ячейке монтажного блока в виде выступающих над буртиком двух противоле-
жащих друг другу консолей с зацепами, а для закрепления электрических или механиче-
ских устройств внутри лицевого элемента - в виде выступающих над буртиком двух
противолежащих плоских пружинистых консолей с прямоугольным и Т-образным отвер-
стиями.
9. Диспетчерский мнемонический щит по одному из пп. 1-8, отличающийся тем, что
на плоской поверхности лицевых элементов нанесена графическая информация в виде ри-
сунка фрагмента мнемосхемы посредством 2-D принтера.
10. Пассивный переключатель для диспетчерского мнемонического щита, содержащий
поворотный пассивный индикатор, выполненный в виде вала с четырьмя гранями, осями
вращения на торцах, плоским флажком, выступающим через окошко лицевого элемента
ячейки лицевой панели диспетчерского мнемонического щита, и замковые элементы, от-
личающийся тем, что четырехгранный вал образован в виде двух взаимно пересекаю-
щихся под прямым углом параллелепипедов, снаружи вала и заодно с ним выполнен
корпусной элемент с двумя расположенными под прямым углом прямоугольными стен-
ками, при этом плоский флажок установлен вдоль биссектрисы прямого угла, направление
которой совпадает с направлением плоскости вала, а на торце одного из параллелепипедов
вала выполнен сферообразный выступ.
11. Пассивный переключатель по п. 10, отличающийся тем, что прямоугольные стен-
ки поворотного корпусного элемента пассивного индикатора соединены между собой ду-
гообразной стенкой.
BY 10740 U 2015.08.30
3
12. Пассивный переключатель по одному из пп. 10, 11, отличающийся тем, что кор-
пусной элемент с валом установлен в цилиндрических пазах на прямоугольных вставках,
сопрягаемых с замковыми элементами лицевого элемента, посредством ответных высту-
пов, расположенных на противоположных сторонах вставок, с пазами, выполненными на
плоских пружинистых консолях лицевого элемента щита, при этом над цилиндрическими
пазами выполнены фиксирующие фигурные пазы.
(56)
1. RU 13275, МПК H 02B 15/02, 2000 (прототип по п. 1).
2. RU 13275, МПК H 02B 15/02, 2000 (прототип по п. 10).
Полезная модель относятся к электрооборудованию, в частности касаются конструк-
ции диспетчерского мнемонического щита, служащего для отображения мнемосхемы, и
могут найти применение главным образом на предприятиях энергетической промышлен-
ности, но могут быть использованы и в других отраслях народного хозяйства, например в
химической промышленности, на предприятиях агропромышленного комплекса и других,
где необходимо отслеживать текущее состояние энергогазопневмосистем и осуществлять
запуск управляющих команд.
В настоящее время находят широкое применение диспетчерские мнемонические щиты
отображения технологического процесса, имеющие ячеистое строение наборной панели,
что позволяет просто и быстро ее собрать из желаемых мнемонических знаков в соответ-
ствии с необходимой схемой, отражающей процесс, легко ее модернизировать, вводить
изменения, обусловленные изменениями самого технологического процесса.
Такие сборные диспетчерские мнемонические щиты благодаря высокому уровню ин-
дустриализации позволяют существенно сократить время монтажа щита на объекте и
обеспечивают удобство корректировки информационного содержания.
Известен диспетчерский мнемонический щит отображения информации, преимущест-
венно состояния и регулировки энергогазопневмосистем, содержащий раму-основание и
укрепленную на ней лицевую панель с отображаемой на ней информацией с активными и
пассивными лицевыми элементами, а также боковые панели, рама-основание выполнена в
виде рамки из групп кубических ячеек, образующих упорядоченные ряды и колонки, а со-
единение каждой группы ячеек (преимущественно 4×4) с близлежащими группами (рам-
ками) в секцию и секций между собой осуществлено при помощи расположенных на
соприкасающихся боковых плоскостях продольных желобков, направленных вдоль боко-
вой стороны ячейки и имеющих сечение в форме утопленного ласточкина хвоста, причем
соединение поверхностей сопрягаемых групп ячеек (рамок) выполнено при помощи
вставляемого с тыльной стороны щита внутрь желобков шплинта, имеющего сечение в
виде двух выступающих ласточкиных хвостов, при этом лицевая и тыльные стороны каж-
дой ячейки открытые, а боковые стороны каждой снабжены прямоугольными окнами,
служащими для зацепления с имеющими клиновидные выступы зацепами противолежа-
щих друг другу пружинящих язычков мозаичной лицевой панели, закрывающей ячейку
спереди, и панельными боковыми мозаичными крышками, закрывающими набор секций
сбоку [1].
Основным недостатком известной конструкции является сложность выполнения фик-
сирующих узлов отдельных монтажных блоков рамок между собой при помощи шплинта
с поперечным сечением в виде двойного ласточкина хвоста.
Учитывая большие площади монтируемых для разных нужд диспетчерских мнемони-
ческих щитов, а также малый размер отдельных монтажных блоков рамок, состоящих из
4×4 ячеек, наличие нескольких фиксирующих узлов на каждой стороне монтажного блока,
BY 10740 U 2015.08.30
4
необходимо большое количество шплинтов и такое же количество операций по их монта-
жу, что увеличивает себестоимость, а также время монтажа известного диспетчерского
мнемонического щита.
Закрепление замковых устройств активных и пассивных элементов внутри ячеек ли-
цевой панели путем терморазвальцовки задней крышки ячейки не только усложняет кон-
струкцию, но и требует применения специального оборудования, участия высококвали-
фицированных специалистов. Кроме того, следует иметь в виду, что терморазвальцовка
является вредным для здоровья производством.
Технологическая линия производства элементов известного щита включает в себя уча-
сток нанесения трафаретных изображений, что необходимо при нанесении фрагментов
мнемосхем методом шелкографии. Это требует не только специального оборудования, но
и создания большого количества трафаретов, наличия дополнительных производственных
площадей.
Таким образом, недостатками прототипа являются высокая конструктивная слож-
ность, сложность при обслуживании и эксплуатации, приводящая к необходимости ис-
пользования специального оборудования и привлечения высококвалифицированного
персонала, а также высокая себестоимость изготовления и монтажа.
Известен пассивный переключатель для диспетчерского мнемонического щита, со-
стоящий из лицевой панели с окошком, двух противолежащих друг другу внутренних
плоских консолей с клиновидными зацепами, несколько стержневых стоек, на которых
надета своими отверстиями и закреплена терморазвальцовкой задняя крышка, которая
имеет окно с расположенным в нем пружинящим плоским язычком. Между лицевой пане-
лью и задней крышкой расположен поворотный пассивный индикатор, выполненный в
виде четырехгранного вала с осями вращения на торцах и плоским флажком на лицевом
элементе, служащим продолжением одного из ребер четырехгранного вала. Плоский фла-
жок выступает через окошко лицевого элемента наружу, а ребро вала, противоположное
флажку, взаимодействует с язычком в окне задней крышки и фиксирует флажок в двух
положениях [2].
Закрепление терморазвальцовкой задней крышки ячейки не только усложняет конст-
рукцию, но и требует применения специального оборудования, участия высококвалифи-
цированных специалистов. Кроме того, терморазвальцовка является вредным для
здоровья производством.
Недостатками прототипа являются высокая сложность при обслуживании и эксплуа-
тации, приводящая к необходимости привлечения высококвалифицированного персонала,
и, как следствие, высокая себестоимость изготовления и монтажа.
Предложенная полезная модель направлена на решение технической задачи упроще-
ния конструкции диспетчерского мнемонического щита и пассивного переключателя для
него, снижения себестоимости, сокращения и упрощения процесса монтажа.
Поставленная задача достигается тем, что в известном диспетчерском мнемоническом
щите отображения информации преимущественно состояния и регулировки энерго-
газопневмосистем, содержащем закрепленные на каркасе, соединенные между собой в
раму-основание монтажные блоки ячеек и укрепленную на ней лицевую панель, собран-
ную из лицевых элементов щита с отображаемой на ней информацией, при этом часть ли-
цевых элементов выполнена с отверстиями для размещения электрических или
механических устройств в ячейках, в частности пассивных переключателей, а также зам-
ковые элементы для закрепления этих устройств и монтажных блоков ячеек между собой,
монтажный блок ячеек выполнен в виде сотовой конструкции из вертикальных и горизон-
тальных стенок, образующих ячейки квадратной формы, в местах пересечения которых
выполнены выступающие с обратной стороны сотовой конструкции втулки, а по левой,
верхней и правой сторонам монтажного блока ячеек - консоли с выполненными заодно с
ними элементами соединения сопрягаемых монтажных блоков ячеек, соответствующих
BY 10740 U 2015.08.30
5
друг другу попарно, нижние ряды - верхним, левые - правым, при этом левые и правые
консоли смещены относительно друг друга на одну ячейку.
Монтажный блок сотовой конструкции имеет 6×7 ячеек с возможностью образования
дополнительных ячеек с трех сторон при соединении концевых консолей - 8×8 ячеек.
Не менее шести концов верхних консолей имеют выступающие штыри, а соответст-
вующие им втулки, расположенные в местах пересечения нижнего ряда ячеек сотовой
конструкции, имеют сквозные, ответные штырям отверстия с прорезью по глубине ячеек
сотовой конструкции, при этом на концах консолей левой стороны монтажного блока яче-
ек и в местах пересечения концевой вертикальной стенки с горизонтальными расположе-
ны втулки со сквозными отверстиями, усеченные сверху на половину глубины ячеек
сотовой конструкции, а на концах консолей правого вертикального ряда и в местах пере-
сечения концевой вертикальной стенки с горизонтальными расположены ответные им
штыри.
Не менее трех штырей, расположенных в местах пересечения правой концевой верти-
кальной стенки с горизонтальными, и штыри на правых консолях выполнены заодно с
глухими цилиндрическими втулками, образующими снизу лицевой панели ступень на по-
ловину глубины ячейки сотовой конструкции.
Не менее шести прорезей на втулках, расположенных в местах пересечения нижнего
ряда ячеек сотовой конструкции, расположены снизу, а прорезь на крайней левой втулке -
слева.
Втулки, расположенные в местах пересечения стенок ячеек сотовой конструкции с
лицевой стороны блока, - глухие, а с обратной стороны имеют прямоугольное гнездо.
Элементы соединения сопрягаемых монтажных блоков ячеек, соответствующих друг
другу, выполнены с конусными сопрягаемыми поверхностями.
Лицевой элемент щита выполнен в виде прямоугольной крышки с буртиком по пери-
метру с обратной стороны и попарно расположенными замковыми элементами для закре-
пления лицевого элемента в ячейке монтажного блока в виде выступающих над буртиком
двух противолежащих друг другу консолей с зацепами, а для закрепления электрических
или механических устройств внутри лицевого элемента - в виде выступающих над бурти-
ком двух противолежащих плоских пружинистых консолей с прямоугольным и Т-образ-
ным отверстиями.
На плоской поверхности лицевых элементов нанесена графическая информация в виде
рисунка фрагмента мнемосхемы посредством 2-D принтера.
Поставленная задача достигается тем, что в известном пассивном переключателе для
диспетчерского мнемонического щита, содержащем поворотный пассивный индикатор,
выполненный в виде вала с четырьмя гранями, осями вращения на торцах и плоским
флажком, выступающим через окошко лицевого элемента ячейки лицевой панели диспет-
черского мнемонического щита, и замковые элементы, четырехгранный вал образован в
виде двух взаимно пересекающихся под прямым углом параллелепипедов, снаружи вала и
заодно с ним выполнен корпусной элемент с двумя расположенными под прямым углом
прямоугольными стенками, при этом плоский флажок установлен вдоль биссектрисы
прямого угла, направление которой совпадает с направлением плоскости вала, а на торце
одного из параллелепипедов вала выполнен сферообразный выступ.
Прямоугольные стенки поворотного корпусного элемента пассивного индикатора со-
единены между собой дугообразной стенкой.
Корпусной элемент с валом установлен в цилиндрических пазах на прямоугольных
вставках, сопрягаемых с замковыми элементами лицевого элемента посредством ответных
выступов, расположенных на противоположных сторонах вставок, с пазами, выполнен-
ными на плоских пружинистых консолях лицевого элемента щита, при этом над цилинд-
рическими пазами выполнены фиксирующие фигурные пазы.
BY 10740 U 2015.08.30
6
Выполнение монтажного блока ячеек в виде предложенной сотовой конструкции из
вертикальных и горизонтальных стенок с консолями по левой, верхней и правой сторо-
нам, имеющих выполненные заодно с ними элементы для соединения сопрягаемых мон-
тажных блоков (преимущественно 8×8), значительно упрощает конструкцию диспетчер-
ского мнемонического щита, его монтаж и обслуживание, а следовательно, снижает
себестоимость производства и эксплуатации.
Выполнение лицевого элемента щита в виде прямоугольной крышки с буртиком по
периметру с обратной стороны и попарно расположенными замковыми элементами обес-
печивает возможность закрепления лицевого элемента при помощи противолежащих друг
другу консолей с зацепами и закрепления активных и пассивных лицевых элементов в ви-
де электрических или механических устройств внутри лицевого элемента в прямоуголь-
ных и Т-образных отверстиях в двух противолежащих плоских пружинистых консолях.
Нанесение графической информация в виде рисунка фрагмента мнемосхемы посред-
ством 2-D принтера на плоской поверхности лицевых элементов упрощает технологию
производства и снижает себестоимость этих элементов. Производить операцию нанесения
можно одновременно на нескольких десятках лицевых элементов, в том числе и на офис-
ном оборудовании.
Выполнение пассивного переключателя в виде предложенной конструкции корпусно-
го элемента с валом, имеющим сферические выступы, установленного в цилиндрических
пазах на прямоугольных вставках, имеющих фиксирующие фигурные пазы, а с другой
стороны сопрягаемых с прямоугольными и Т-образными отверстиями в пружинистых
консолях лицевых элементов, позволяет мягко фиксировать поворотный пассивный инди-
катор и одновременно надежно и быстро его закреплять или заменять. При монтаже не
требуется применения специального оборудования и специалистов высокой квалифика-
ции. Для монтажа пассивного переключателя предложенного диспетчерского мнемониче-
ского щита могут быть привлечены неквалифицированные работники, в том числе с
ограниченными возможностями.
Предложенная полезная модель поясняется фигурами (аксонометрия).
Фиг. 1 - диспетчерский мнемонический щит, фрагмент лицевой панели;
фиг. 2 - соединение трех монтажных блоков ячеек;
фиг. 3 - соединение монтажных блоков ячеек, верх-низ;
фиг. 4 - соединение монтажных блоков ячеек, лево-право;
фиг. 5 - монтажный блок ячеек, обратная сторона;
фиг. 6 - диспетчерский мнемонический щит, фрагмент соединения с вертикальной
опорой, обратная сторона;
фиг. 7 - лицевой элемент щита, обратная сторона;
фиг. 8 - пассивный переключатель в сборе;
фиг. 9 - пассивный переключатель, соединение с лицевым элементом ячейки.
Диспетчерский мнемонический щит отображения информации преимущественно со-
стояния и регулировки энергогазопневмосистем содержит мозаичное наборное поле - ли-
цевую панель 1 с активными и пассивными лицевыми элементами.
Лицевая панель 1 с отображаемой на ней информацией собрана из состыкованных ли-
цевых элементов 2 щита, легко устанавливаемых в ячейках 3 квадратной формы, монтаж-
ных блоков ячеек 4 с нанесенными на них мнемоническими обозначениями оборудования
управляемого объекта, без мнемонических обозначений, сочетающих нанесенные мнемо-
нические обозначения с элементами оптической и электрической сигнализации, механи-
ческие устройства и так далее (фиг. 1, 2). Фронтальный размер базового лицевого
элемента 2 щита, предпочтительно 40×40 мм (может быть 25×25 мм), позволяет размес-
тить мнемосхему любого размера. Лицевые элементы 2 щита дают возможность опера-
тивно изменять мнемосхемы энергетических объектов, а также компоновку всей
BY 10740 U 2015.08.30
7
мнемосхемы щита в процессе эксплуатации путем смены или перемещения отдельных
элементов, переноса фрагментов мнемосхем по лицевой панели 1 щита.
Конструкция щита позволяет размещать его как в незначительных по площади дис-
петчерских залах, так и в больших помещениях гидроэлектростанций и др. в зависимости
от потребностей заказчика.
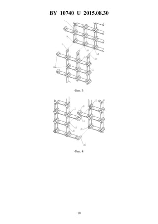
Лицевая панель 1 щита представляет собой монтажный блок ячеек 4 (пластмассовую
решетку), выполненный в виде сотовой конструкции из вертикальных 5 и горизонтальных
стенок 6, образующих ячейки 3 квадратной формы, в местах пересечения которых выпол-
нены втулки 7, выступающие с обратной стороны сотовой конструкции монтажного блока
ячеек 4 (фиг. 3, 4). Втулки 7, расположенные в местах пересечения стенок 5, 6 ячеек 3 со-
товой конструкции монтажного блока ячеек 4, с лицевой стороны - глухие, а с обратной
стороны имеют прямоугольное гнездо 8 (фиг. 5).
По левой, верхней и правой сторонам монтажного блока ячеек 4 имеются консоли 9 с
выполненными заодно с ними элементами соединения 10, 11 и 12, 13 сопрягаемых мон-
тажных блоков ячеек 4, соответствующих друг другу попарно, нижние ряды - верхним 10,
11, левые - правым 12, 13. Элементы соединения 10, 11, 12, 13 выполнены с конусными
сопрягаемыми поверхностями. Левые и правые консоли 9 смещены относительно друг
друга на одну ячейку.
Таким образом, монтажный блок ячеек 4 сотовой конструкции имеет 6×7 ячеек с воз-
можностью образования дополнительных ячеек с трех сторон, а при соединении концевых
консолей 9 количество ячеек составляет 8×8.
Часть концов (шесть) верхних консолей имеет элементы соединения, выполненные в
виде выступающих штырей 11, а соответствующие им элементы соединения, выполнен-
ные в виде втулок 10, расположенные в местах пересечения нижнего ряда ячеек сотовой
конструкции монтажного блока ячеек 4, имеют сквозные, ответные штырям отверстия с
прорезью 14, расположенной снизу по глубине ячеек сотовой конструкции монтажного
блока ячеек 4. При этом верхняя крайняя левая консоль 15 обрезана, т.е. выполнена без
штыря.
На концах консолей 9 левой стороны монтажного блока ячеек 4 и в местах пересече-
ния концевой вертикальной стенки 5 с горизонтальными 6 расположены втулки со сквоз-
ными отверстиями элементов соединения 12, усеченные сверху на половину глубины
ячеек 3 сотовой конструкции монтажного блока ячеек 4. На концах консолей 9 правого
вертикального ряда и в местах пересечения концевой вертикальной стенки 5 с горизон-
тальными 6 расположены ответные им штыри 13. При этом не менее четырех штырей 13
элементов соединения, расположенных в местах пересечения правой концевой вертикаль-
ной 5 стенки с горизонтальными 6 стенками, и штыри 13 на правых консолях 9 выполне-
ны заодно с глухими цилиндрическими втулками 16, снизу которых выполнена ступень
высотой, равной половине глубины ячейки сотовой конструкции монтажного блока ячеек
4, а нижний правый штырь 17 не имеет такой ступени, при этом прорезь 18 на крайней ле-
вой втулке 10 нижнего ряда расположена слева.
Рама-основание 19 из монтажных блоков ячеек 4 закреплена на несущей основе дис-
петчерского мнемонического щита - вертикальных опорах 20, выполненных в виде полых
перфорированных труб. На опорах 20 выполнены отверстия 21, 22, предназначенные для
крепежных элементов 23, 24, причем отверстие 21, расположенное на стороне крепления,
меньшего диаметра, чем отверстие 22, предназначенное для прохождения отверточного
инструмента (фиг. 6).
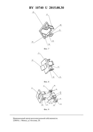
Лицевой элемент 2 щита (фиг. 7) выполнен в виде прямоугольной крышки 25 с бурти-
ком 26 по периметру с обратной стороны и попарно расположенными замковыми элемен-
тами 27, 28. При этом замковые элементы 27 выполнены в виде консолей с зацепами 29, а
замковые элементы 28 выполнены в виде плоских пружинистых консолей, имеющих пря-
моугольные 30 и Т-образные 31 отверстия.
BY 10740 U 2015.08.30
8
Лицевую панель 1 набирают из отдельных лицевых элементов 2, которые снимаются и
крепятся в любой точке монтажного блока ячеек 4 щита при помощи зацепов 29 замковых
элементов 27.
Для закрепления электрических или механических устройств внутри лицевого элемен-
та 2 используют два замковых элемента 28, имеющих прямоугольные 30 и Т-образные 31
отверстия. Пример такого закрепления, в частности, пассивного переключателя приведен
на фиг. 8.
Часть лицевых элементов 2 выполнена с отверстиями 32 (фиг. 8) для размещения элек-
трических или механических устройств в ячейках 3.
Пассивный переключатель для диспетчерского мнемонического щита включает пово-
ротный пассивный индикатор 33, содержащий вал 34, образованный двумя взаимно пере-
секающимися под прямым углом параллелепипедами 35, при этом на торцах одного из
параллелепипедов 35 вала 34 выполнен по крайней мере один сферообразный выступ 36
(фиг. 9).
При этом снаружи вала 34 и заодно с ним выполнен корпусной элемент с двумя рас-
положенными под прямым углом прямоугольными стенками 37, соединенными между
собой дугообразной стенкой 38, плоским флажком 39, выступающим через окошко 32 на
лицевую сторону лицевого элемента 2, при этом плоский флажок 39 установлен вдоль
биссектрисы прямого угла, направление которой совпадает с направлением плоскости ва-
ла 34. Вал 34 пассивного индикатора 33 взаимодействует с цилиндрическими пазами 40,
выполненными на прямоугольных вставках 41, имеющих с другой своей стороны выступы
42, 43, а сферообразные выступы 36 на торцах параллелепипеда 35 взаимодействуют с
фиксирующими фигурными пазами 44, выполненными на прямоугольных вставках 41 со
стороны цилиндрических пазов 40.
Сборку диспетчерского мнемонического щита осуществляют следующим образом.
Предварительно на плоской поверхности лицевых элементов 2 наносят графическую
информацию в соответствии с исходной мнемосхемой в виде рисунка фрагмента мнемо-
схемы. Поверхность лицевой панели 1, собранной из лицевых элементов 2 с отображае-
мой на ней информацией, сделана матовой (шагреневой). Таким образом, устранен эффект
"бликов". Графические образы и надписи на базовых лицевых элементах 2 наносятся ме-
тодом печати на 2-D принтере стойкими матовыми эмалями различных цветов из палитры
промышленного стандарта RAL-K5. Для четкости восприятия все графические элементы
имеют абрис. Оборудование позволяет одновременно обслужить от 40 до 100 лицевых
элементов, в том числе с неодинаковыми мнемоническими изображениями.
Монтажные блоки ячеек 4 собираются между собой в раму-основание 19 путем со-
единения соответствующих элементов соединения 10, 11 и 12, 13 сопрягаемых монтаж-
ных блоков ячеек 4. Консоли 9, не задействованные в сборке, обрезают. Конусность
сопрягаемых поверхностей 10, 11, 12, 13 обеспечивает надежность соединений и позволя-
ет при необходимости выполнить изгиб рамы-основания 19. Соединенная между собой в
раму-основание 19 монолитная конструкция из монтажных блоков ячеек 4 закрепляется
на несущей основе диспетчерского мнемонического щита - вертикальных опорах 20, вы-
полненных в виде полых перфорированных труб, которые крепятся к полу при помощи
анкерных соединений (не показано).
Пассивные лицевые элементы 2 с нанесенной на них мнемосхемой контролируемого
объекта устанавливают и фиксируют с помощью зацепов 29 в ячейках 3 монтажного бло-
ка ячеек 4.
Сборку пассивного переключателя для диспетчерского мнемонического щита осуще-
ствляют следующим образом.
Корпусной элемент пассивного индикатора 33 с валом 34 устанавливают в цилиндри-
ческих пазах 40 и фиксирующих фигурных пазах 44 прямоугольных вставок 41 и закреп-
BY 10740 U 2015.08.30
9
ляют посредством ответных выступов 42, 43 в соответствующих им отверстиях 30, 31
замковых элементов 28 лицевого элемента 2.
При этом плоский флажок 39 выступает через окошко 32 на лицевую сторону лицево-
го элемента 2.
Активные лицевые элементы 2, предназначенные для отображения состояний контро-
лируемого оборудования, вывода на щит данных измерений и выдачи со щита команд
управления, предварительно собирают в отверстиях 30, 31 замковых элементов 28 лице-
вых элементов 2 и затем устанавливают в монтажные блоки ячеек 4 согласно мнемосхемы
контролируемого объекта.
Таким образом, предложенная полезная модель позволяет значительно упростить кон-
струкцию, а также монтаж и обслуживание, а следовательно, снижает себестоимость про-
изводства и эксплуатации диспетчерского мнемонического щита и пассивного
переключателя для него за счет совмещения крепежных замковых элементов отдельных
блоков с самими блоками, а также совмещения на лицевых элементах щита отдельных
замковых элементов соединения различных устройств и самих лицевых элементов.
Применение 2-D принтера для нанесения графических элементов значительно упро-
щает технологию производства и снижает себестоимость щита в целом.
Применение предложенного пассивного переключателя не требует специального обо-
рудования и специалистов высокой квалификации при его монтаже.
Фиг. 2
BY 10740 U 2015.08.30
10
Фиг. 3
Фиг. 4
BY 10740 U 2015.08.30
11
Фиг. 5
Фиг. 6
BY 10740 U 2015.08.30
12
Фиг. 7
Фиг. 8
Фиг. 9
Национальный центр интеллектуальной собственности.
220034, г. Минск, ул. Козлова, 20.

10740

  • 1.
    (19) BY (11)10740 (13) U (46) 2015.08.30 (51) МПК H 02B 15/02 (2006.01) ОПИСАНИЕ ПОЛЕЗНОЙ МОДЕЛИ К ПАТЕНТУ (12) РЕСПУБЛИКА БЕЛАРУСЬ НАЦИОНАЛЬНЫЙ ЦЕНТР ИНТЕЛЛЕКТУАЛЬНОЙ СОБСТВЕННОСТИ (54) ДИСПЕТЧЕРСКИЙ МНЕМОНИЧЕСКИЙ ЩИТ И ПАССИВНЫЙ ПЕРЕКЛЮЧАТЕЛЬ ДЛЯ НЕГО (21) Номер заявки: u 20140404 (22) 2014.11.11 (71) Заявитель: Малоштан Алексей Ива- нович (BY) (72) Авторы: Вербик Александр Геннадье- вич (BY); Малоштан Алексей Ивано- вич (BY); Пятахин Петр Андреевич (RU); Якубенко Сергей Анатольевич (BY) (73) Патентообладатель: Малоштан Алек- сей Иванович (BY) (57) 1. Диспетчерский мнемонический щит отображения информации преимущественно состояния и регулировки энергогазопневмосистем, содержащий закрепленные на каркасе, соединенные между собой в раму-основание монтажные блоки ячеек и укрепленную на ней лицевую панель, собранную из лицевых элементов щита с отображаемой на ней ин- формацией, при этом часть лицевых элементов выполнена с отверстиями для размещения электрических или механических устройств в ячейках, в частности пассивных переключа- телей, а также замковые элементы для закрепления этих устройств и монтажных блоков ячеек между собой, отличающийся тем, что монтажный блок ячеек выполнен в виде со- товой конструкции из вертикальных и горизонтальных стенок, образующих ячейки квад- ратной формы, в местах пересечения которых выполнены выступающие с обратной стороны сотовой конструкции втулки, а по левой, верхней и правой сторонам монтажного блока ячеек - консоли с выполненными заодно с ними элементами соединения сопрягае- мых монтажных блоков ячеек, соответствующих друг другу попарно, нижние ряды - верхним, левые - правым, при этом левые и правые консоли смещены относительно друг друга на одну ячейку. Фиг. 1 BY10740U2015.08.30
  • 2.
    BY 10740 U2015.08.30 2 2. Диспетчерский мнемонический щит по п. 1, отличающийся тем, что монтажный блок сотовой конструкции имеет 6×7 ячеек с возможностью образования дополнительных ячеек с трех сторон при соединении концевых консолей - 8×8 ячеек. 3. Диспетчерский мнемонический щит по п. 1, отличающийся тем, что не менее шес- ти концов верхних консолей имеют выступающие штыри, а соответствующие им втулки, расположенные в местах пересечения нижнего ряда ячеек сотовой конструкции, имеют сквозные, ответные штырям отверстия с прорезью по глубине ячеек сотовой конструкции, при этом на концах консолей левой стороны монтажного блока ячеек и в местах пересече- ния концевой вертикальной стенки с горизонтальными расположены втулки со сквозными отверстиями, усеченные сверху на половину глубины ячеек сотовой конструкции, а на концах консолей правого вертикального ряда и в местах пересечения концевой вертикаль- ной стенки с горизонтальными расположены ответные им штыри. 4. Диспетчерский мнемонический щит по п. 3, отличающийся тем, что не менее трех штырей, расположенных в местах пересечения правой концевой вертикальной стенки с горизонтальными, и штыри на правых консолях выполнены заодно с глухими цилиндри- ческими втулками, образующими снизу лицевой панели ступень на половину глубины ячейки сотовой конструкции. 5. Диспетчерский мнемонический щит по п. 3, отличающийся тем, что не менее шес- ти прорезей на втулках, расположенных в местах пересечения нижнего ряда ячеек сотовой конструкции, расположены снизу, а прорезь на крайней левой втулке - слева. 6. Диспетчерский мнемонический щит, по п. 1, отличающийся тем, что втулки, рас- положенные в местах пересечения стенок ячеек сотовой конструкции с лицевой стороны блока, - глухие, а с обратной стороны имеют прямоугольное гнездо. 7. Диспетчерский мнемонический щит по п. 1, отличающийся тем, что элементы со- единения сопрягаемых монтажных блоков ячеек, соответствующих друг другу, выполне- ны с конусными сопрягаемыми поверхностями. 8. Диспетчерский мнемонический щит по п. 1, отличающийся тем, что лицевой эле- мент щита выполнен в виде прямоугольной крышки с буртиком по периметру с обратной стороны и попарно расположенными замковыми элементами для закрепления лицевого элемента в ячейке монтажного блока в виде выступающих над буртиком двух противоле- жащих друг другу консолей с зацепами, а для закрепления электрических или механиче- ских устройств внутри лицевого элемента - в виде выступающих над буртиком двух противолежащих плоских пружинистых консолей с прямоугольным и Т-образным отвер- стиями. 9. Диспетчерский мнемонический щит по одному из пп. 1-8, отличающийся тем, что на плоской поверхности лицевых элементов нанесена графическая информация в виде ри- сунка фрагмента мнемосхемы посредством 2-D принтера. 10. Пассивный переключатель для диспетчерского мнемонического щита, содержащий поворотный пассивный индикатор, выполненный в виде вала с четырьмя гранями, осями вращения на торцах, плоским флажком, выступающим через окошко лицевого элемента ячейки лицевой панели диспетчерского мнемонического щита, и замковые элементы, от- личающийся тем, что четырехгранный вал образован в виде двух взаимно пересекаю- щихся под прямым углом параллелепипедов, снаружи вала и заодно с ним выполнен корпусной элемент с двумя расположенными под прямым углом прямоугольными стен- ками, при этом плоский флажок установлен вдоль биссектрисы прямого угла, направление которой совпадает с направлением плоскости вала, а на торце одного из параллелепипедов вала выполнен сферообразный выступ. 11. Пассивный переключатель по п. 10, отличающийся тем, что прямоугольные стен- ки поворотного корпусного элемента пассивного индикатора соединены между собой ду- гообразной стенкой.
  • 3.
    BY 10740 U2015.08.30 3 12. Пассивный переключатель по одному из пп. 10, 11, отличающийся тем, что кор- пусной элемент с валом установлен в цилиндрических пазах на прямоугольных вставках, сопрягаемых с замковыми элементами лицевого элемента, посредством ответных высту- пов, расположенных на противоположных сторонах вставок, с пазами, выполненными на плоских пружинистых консолях лицевого элемента щита, при этом над цилиндрическими пазами выполнены фиксирующие фигурные пазы. (56) 1. RU 13275, МПК H 02B 15/02, 2000 (прототип по п. 1). 2. RU 13275, МПК H 02B 15/02, 2000 (прототип по п. 10). Полезная модель относятся к электрооборудованию, в частности касаются конструк- ции диспетчерского мнемонического щита, служащего для отображения мнемосхемы, и могут найти применение главным образом на предприятиях энергетической промышлен- ности, но могут быть использованы и в других отраслях народного хозяйства, например в химической промышленности, на предприятиях агропромышленного комплекса и других, где необходимо отслеживать текущее состояние энергогазопневмосистем и осуществлять запуск управляющих команд. В настоящее время находят широкое применение диспетчерские мнемонические щиты отображения технологического процесса, имеющие ячеистое строение наборной панели, что позволяет просто и быстро ее собрать из желаемых мнемонических знаков в соответ- ствии с необходимой схемой, отражающей процесс, легко ее модернизировать, вводить изменения, обусловленные изменениями самого технологического процесса. Такие сборные диспетчерские мнемонические щиты благодаря высокому уровню ин- дустриализации позволяют существенно сократить время монтажа щита на объекте и обеспечивают удобство корректировки информационного содержания. Известен диспетчерский мнемонический щит отображения информации, преимущест- венно состояния и регулировки энергогазопневмосистем, содержащий раму-основание и укрепленную на ней лицевую панель с отображаемой на ней информацией с активными и пассивными лицевыми элементами, а также боковые панели, рама-основание выполнена в виде рамки из групп кубических ячеек, образующих упорядоченные ряды и колонки, а со- единение каждой группы ячеек (преимущественно 4×4) с близлежащими группами (рам- ками) в секцию и секций между собой осуществлено при помощи расположенных на соприкасающихся боковых плоскостях продольных желобков, направленных вдоль боко- вой стороны ячейки и имеющих сечение в форме утопленного ласточкина хвоста, причем соединение поверхностей сопрягаемых групп ячеек (рамок) выполнено при помощи вставляемого с тыльной стороны щита внутрь желобков шплинта, имеющего сечение в виде двух выступающих ласточкиных хвостов, при этом лицевая и тыльные стороны каж- дой ячейки открытые, а боковые стороны каждой снабжены прямоугольными окнами, служащими для зацепления с имеющими клиновидные выступы зацепами противолежа- щих друг другу пружинящих язычков мозаичной лицевой панели, закрывающей ячейку спереди, и панельными боковыми мозаичными крышками, закрывающими набор секций сбоку [1]. Основным недостатком известной конструкции является сложность выполнения фик- сирующих узлов отдельных монтажных блоков рамок между собой при помощи шплинта с поперечным сечением в виде двойного ласточкина хвоста. Учитывая большие площади монтируемых для разных нужд диспетчерских мнемони- ческих щитов, а также малый размер отдельных монтажных блоков рамок, состоящих из 4×4 ячеек, наличие нескольких фиксирующих узлов на каждой стороне монтажного блока,
  • 4.
    BY 10740 U2015.08.30 4 необходимо большое количество шплинтов и такое же количество операций по их монта- жу, что увеличивает себестоимость, а также время монтажа известного диспетчерского мнемонического щита. Закрепление замковых устройств активных и пассивных элементов внутри ячеек ли- цевой панели путем терморазвальцовки задней крышки ячейки не только усложняет кон- струкцию, но и требует применения специального оборудования, участия высококвали- фицированных специалистов. Кроме того, следует иметь в виду, что терморазвальцовка является вредным для здоровья производством. Технологическая линия производства элементов известного щита включает в себя уча- сток нанесения трафаретных изображений, что необходимо при нанесении фрагментов мнемосхем методом шелкографии. Это требует не только специального оборудования, но и создания большого количества трафаретов, наличия дополнительных производственных площадей. Таким образом, недостатками прототипа являются высокая конструктивная слож- ность, сложность при обслуживании и эксплуатации, приводящая к необходимости ис- пользования специального оборудования и привлечения высококвалифицированного персонала, а также высокая себестоимость изготовления и монтажа. Известен пассивный переключатель для диспетчерского мнемонического щита, со- стоящий из лицевой панели с окошком, двух противолежащих друг другу внутренних плоских консолей с клиновидными зацепами, несколько стержневых стоек, на которых надета своими отверстиями и закреплена терморазвальцовкой задняя крышка, которая имеет окно с расположенным в нем пружинящим плоским язычком. Между лицевой пане- лью и задней крышкой расположен поворотный пассивный индикатор, выполненный в виде четырехгранного вала с осями вращения на торцах и плоским флажком на лицевом элементе, служащим продолжением одного из ребер четырехгранного вала. Плоский фла- жок выступает через окошко лицевого элемента наружу, а ребро вала, противоположное флажку, взаимодействует с язычком в окне задней крышки и фиксирует флажок в двух положениях [2]. Закрепление терморазвальцовкой задней крышки ячейки не только усложняет конст- рукцию, но и требует применения специального оборудования, участия высококвалифи- цированных специалистов. Кроме того, терморазвальцовка является вредным для здоровья производством. Недостатками прототипа являются высокая сложность при обслуживании и эксплуа- тации, приводящая к необходимости привлечения высококвалифицированного персонала, и, как следствие, высокая себестоимость изготовления и монтажа. Предложенная полезная модель направлена на решение технической задачи упроще- ния конструкции диспетчерского мнемонического щита и пассивного переключателя для него, снижения себестоимости, сокращения и упрощения процесса монтажа. Поставленная задача достигается тем, что в известном диспетчерском мнемоническом щите отображения информации преимущественно состояния и регулировки энерго- газопневмосистем, содержащем закрепленные на каркасе, соединенные между собой в раму-основание монтажные блоки ячеек и укрепленную на ней лицевую панель, собран- ную из лицевых элементов щита с отображаемой на ней информацией, при этом часть ли- цевых элементов выполнена с отверстиями для размещения электрических или механических устройств в ячейках, в частности пассивных переключателей, а также зам- ковые элементы для закрепления этих устройств и монтажных блоков ячеек между собой, монтажный блок ячеек выполнен в виде сотовой конструкции из вертикальных и горизон- тальных стенок, образующих ячейки квадратной формы, в местах пересечения которых выполнены выступающие с обратной стороны сотовой конструкции втулки, а по левой, верхней и правой сторонам монтажного блока ячеек - консоли с выполненными заодно с ними элементами соединения сопрягаемых монтажных блоков ячеек, соответствующих
  • 5.
    BY 10740 U2015.08.30 5 друг другу попарно, нижние ряды - верхним, левые - правым, при этом левые и правые консоли смещены относительно друг друга на одну ячейку. Монтажный блок сотовой конструкции имеет 6×7 ячеек с возможностью образования дополнительных ячеек с трех сторон при соединении концевых консолей - 8×8 ячеек. Не менее шести концов верхних консолей имеют выступающие штыри, а соответст- вующие им втулки, расположенные в местах пересечения нижнего ряда ячеек сотовой конструкции, имеют сквозные, ответные штырям отверстия с прорезью по глубине ячеек сотовой конструкции, при этом на концах консолей левой стороны монтажного блока яче- ек и в местах пересечения концевой вертикальной стенки с горизонтальными расположе- ны втулки со сквозными отверстиями, усеченные сверху на половину глубины ячеек сотовой конструкции, а на концах консолей правого вертикального ряда и в местах пере- сечения концевой вертикальной стенки с горизонтальными расположены ответные им штыри. Не менее трех штырей, расположенных в местах пересечения правой концевой верти- кальной стенки с горизонтальными, и штыри на правых консолях выполнены заодно с глухими цилиндрическими втулками, образующими снизу лицевой панели ступень на по- ловину глубины ячейки сотовой конструкции. Не менее шести прорезей на втулках, расположенных в местах пересечения нижнего ряда ячеек сотовой конструкции, расположены снизу, а прорезь на крайней левой втулке - слева. Втулки, расположенные в местах пересечения стенок ячеек сотовой конструкции с лицевой стороны блока, - глухие, а с обратной стороны имеют прямоугольное гнездо. Элементы соединения сопрягаемых монтажных блоков ячеек, соответствующих друг другу, выполнены с конусными сопрягаемыми поверхностями. Лицевой элемент щита выполнен в виде прямоугольной крышки с буртиком по пери- метру с обратной стороны и попарно расположенными замковыми элементами для закре- пления лицевого элемента в ячейке монтажного блока в виде выступающих над буртиком двух противолежащих друг другу консолей с зацепами, а для закрепления электрических или механических устройств внутри лицевого элемента - в виде выступающих над бурти- ком двух противолежащих плоских пружинистых консолей с прямоугольным и Т-образ- ным отверстиями. На плоской поверхности лицевых элементов нанесена графическая информация в виде рисунка фрагмента мнемосхемы посредством 2-D принтера. Поставленная задача достигается тем, что в известном пассивном переключателе для диспетчерского мнемонического щита, содержащем поворотный пассивный индикатор, выполненный в виде вала с четырьмя гранями, осями вращения на торцах и плоским флажком, выступающим через окошко лицевого элемента ячейки лицевой панели диспет- черского мнемонического щита, и замковые элементы, четырехгранный вал образован в виде двух взаимно пересекающихся под прямым углом параллелепипедов, снаружи вала и заодно с ним выполнен корпусной элемент с двумя расположенными под прямым углом прямоугольными стенками, при этом плоский флажок установлен вдоль биссектрисы прямого угла, направление которой совпадает с направлением плоскости вала, а на торце одного из параллелепипедов вала выполнен сферообразный выступ. Прямоугольные стенки поворотного корпусного элемента пассивного индикатора со- единены между собой дугообразной стенкой. Корпусной элемент с валом установлен в цилиндрических пазах на прямоугольных вставках, сопрягаемых с замковыми элементами лицевого элемента посредством ответных выступов, расположенных на противоположных сторонах вставок, с пазами, выполнен- ными на плоских пружинистых консолях лицевого элемента щита, при этом над цилинд- рическими пазами выполнены фиксирующие фигурные пазы.
  • 6.
    BY 10740 U2015.08.30 6 Выполнение монтажного блока ячеек в виде предложенной сотовой конструкции из вертикальных и горизонтальных стенок с консолями по левой, верхней и правой сторо- нам, имеющих выполненные заодно с ними элементы для соединения сопрягаемых мон- тажных блоков (преимущественно 8×8), значительно упрощает конструкцию диспетчер- ского мнемонического щита, его монтаж и обслуживание, а следовательно, снижает себестоимость производства и эксплуатации. Выполнение лицевого элемента щита в виде прямоугольной крышки с буртиком по периметру с обратной стороны и попарно расположенными замковыми элементами обес- печивает возможность закрепления лицевого элемента при помощи противолежащих друг другу консолей с зацепами и закрепления активных и пассивных лицевых элементов в ви- де электрических или механических устройств внутри лицевого элемента в прямоуголь- ных и Т-образных отверстиях в двух противолежащих плоских пружинистых консолях. Нанесение графической информация в виде рисунка фрагмента мнемосхемы посред- ством 2-D принтера на плоской поверхности лицевых элементов упрощает технологию производства и снижает себестоимость этих элементов. Производить операцию нанесения можно одновременно на нескольких десятках лицевых элементов, в том числе и на офис- ном оборудовании. Выполнение пассивного переключателя в виде предложенной конструкции корпусно- го элемента с валом, имеющим сферические выступы, установленного в цилиндрических пазах на прямоугольных вставках, имеющих фиксирующие фигурные пазы, а с другой стороны сопрягаемых с прямоугольными и Т-образными отверстиями в пружинистых консолях лицевых элементов, позволяет мягко фиксировать поворотный пассивный инди- катор и одновременно надежно и быстро его закреплять или заменять. При монтаже не требуется применения специального оборудования и специалистов высокой квалифика- ции. Для монтажа пассивного переключателя предложенного диспетчерского мнемониче- ского щита могут быть привлечены неквалифицированные работники, в том числе с ограниченными возможностями. Предложенная полезная модель поясняется фигурами (аксонометрия). Фиг. 1 - диспетчерский мнемонический щит, фрагмент лицевой панели; фиг. 2 - соединение трех монтажных блоков ячеек; фиг. 3 - соединение монтажных блоков ячеек, верх-низ; фиг. 4 - соединение монтажных блоков ячеек, лево-право; фиг. 5 - монтажный блок ячеек, обратная сторона; фиг. 6 - диспетчерский мнемонический щит, фрагмент соединения с вертикальной опорой, обратная сторона; фиг. 7 - лицевой элемент щита, обратная сторона; фиг. 8 - пассивный переключатель в сборе; фиг. 9 - пассивный переключатель, соединение с лицевым элементом ячейки. Диспетчерский мнемонический щит отображения информации преимущественно со- стояния и регулировки энергогазопневмосистем содержит мозаичное наборное поле - ли- цевую панель 1 с активными и пассивными лицевыми элементами. Лицевая панель 1 с отображаемой на ней информацией собрана из состыкованных ли- цевых элементов 2 щита, легко устанавливаемых в ячейках 3 квадратной формы, монтаж- ных блоков ячеек 4 с нанесенными на них мнемоническими обозначениями оборудования управляемого объекта, без мнемонических обозначений, сочетающих нанесенные мнемо- нические обозначения с элементами оптической и электрической сигнализации, механи- ческие устройства и так далее (фиг. 1, 2). Фронтальный размер базового лицевого элемента 2 щита, предпочтительно 40×40 мм (может быть 25×25 мм), позволяет размес- тить мнемосхему любого размера. Лицевые элементы 2 щита дают возможность опера- тивно изменять мнемосхемы энергетических объектов, а также компоновку всей
  • 7.
    BY 10740 U2015.08.30 7 мнемосхемы щита в процессе эксплуатации путем смены или перемещения отдельных элементов, переноса фрагментов мнемосхем по лицевой панели 1 щита. Конструкция щита позволяет размещать его как в незначительных по площади дис- петчерских залах, так и в больших помещениях гидроэлектростанций и др. в зависимости от потребностей заказчика. Лицевая панель 1 щита представляет собой монтажный блок ячеек 4 (пластмассовую решетку), выполненный в виде сотовой конструкции из вертикальных 5 и горизонтальных стенок 6, образующих ячейки 3 квадратной формы, в местах пересечения которых выпол- нены втулки 7, выступающие с обратной стороны сотовой конструкции монтажного блока ячеек 4 (фиг. 3, 4). Втулки 7, расположенные в местах пересечения стенок 5, 6 ячеек 3 со- товой конструкции монтажного блока ячеек 4, с лицевой стороны - глухие, а с обратной стороны имеют прямоугольное гнездо 8 (фиг. 5). По левой, верхней и правой сторонам монтажного блока ячеек 4 имеются консоли 9 с выполненными заодно с ними элементами соединения 10, 11 и 12, 13 сопрягаемых мон- тажных блоков ячеек 4, соответствующих друг другу попарно, нижние ряды - верхним 10, 11, левые - правым 12, 13. Элементы соединения 10, 11, 12, 13 выполнены с конусными сопрягаемыми поверхностями. Левые и правые консоли 9 смещены относительно друг друга на одну ячейку. Таким образом, монтажный блок ячеек 4 сотовой конструкции имеет 6×7 ячеек с воз- можностью образования дополнительных ячеек с трех сторон, а при соединении концевых консолей 9 количество ячеек составляет 8×8. Часть концов (шесть) верхних консолей имеет элементы соединения, выполненные в виде выступающих штырей 11, а соответствующие им элементы соединения, выполнен- ные в виде втулок 10, расположенные в местах пересечения нижнего ряда ячеек сотовой конструкции монтажного блока ячеек 4, имеют сквозные, ответные штырям отверстия с прорезью 14, расположенной снизу по глубине ячеек сотовой конструкции монтажного блока ячеек 4. При этом верхняя крайняя левая консоль 15 обрезана, т.е. выполнена без штыря. На концах консолей 9 левой стороны монтажного блока ячеек 4 и в местах пересече- ния концевой вертикальной стенки 5 с горизонтальными 6 расположены втулки со сквоз- ными отверстиями элементов соединения 12, усеченные сверху на половину глубины ячеек 3 сотовой конструкции монтажного блока ячеек 4. На концах консолей 9 правого вертикального ряда и в местах пересечения концевой вертикальной стенки 5 с горизон- тальными 6 расположены ответные им штыри 13. При этом не менее четырех штырей 13 элементов соединения, расположенных в местах пересечения правой концевой вертикаль- ной 5 стенки с горизонтальными 6 стенками, и штыри 13 на правых консолях 9 выполне- ны заодно с глухими цилиндрическими втулками 16, снизу которых выполнена ступень высотой, равной половине глубины ячейки сотовой конструкции монтажного блока ячеек 4, а нижний правый штырь 17 не имеет такой ступени, при этом прорезь 18 на крайней ле- вой втулке 10 нижнего ряда расположена слева. Рама-основание 19 из монтажных блоков ячеек 4 закреплена на несущей основе дис- петчерского мнемонического щита - вертикальных опорах 20, выполненных в виде полых перфорированных труб. На опорах 20 выполнены отверстия 21, 22, предназначенные для крепежных элементов 23, 24, причем отверстие 21, расположенное на стороне крепления, меньшего диаметра, чем отверстие 22, предназначенное для прохождения отверточного инструмента (фиг. 6). Лицевой элемент 2 щита (фиг. 7) выполнен в виде прямоугольной крышки 25 с бурти- ком 26 по периметру с обратной стороны и попарно расположенными замковыми элемен- тами 27, 28. При этом замковые элементы 27 выполнены в виде консолей с зацепами 29, а замковые элементы 28 выполнены в виде плоских пружинистых консолей, имеющих пря- моугольные 30 и Т-образные 31 отверстия.
  • 8.
    BY 10740 U2015.08.30 8 Лицевую панель 1 набирают из отдельных лицевых элементов 2, которые снимаются и крепятся в любой точке монтажного блока ячеек 4 щита при помощи зацепов 29 замковых элементов 27. Для закрепления электрических или механических устройств внутри лицевого элемен- та 2 используют два замковых элемента 28, имеющих прямоугольные 30 и Т-образные 31 отверстия. Пример такого закрепления, в частности, пассивного переключателя приведен на фиг. 8. Часть лицевых элементов 2 выполнена с отверстиями 32 (фиг. 8) для размещения элек- трических или механических устройств в ячейках 3. Пассивный переключатель для диспетчерского мнемонического щита включает пово- ротный пассивный индикатор 33, содержащий вал 34, образованный двумя взаимно пере- секающимися под прямым углом параллелепипедами 35, при этом на торцах одного из параллелепипедов 35 вала 34 выполнен по крайней мере один сферообразный выступ 36 (фиг. 9). При этом снаружи вала 34 и заодно с ним выполнен корпусной элемент с двумя рас- положенными под прямым углом прямоугольными стенками 37, соединенными между собой дугообразной стенкой 38, плоским флажком 39, выступающим через окошко 32 на лицевую сторону лицевого элемента 2, при этом плоский флажок 39 установлен вдоль биссектрисы прямого угла, направление которой совпадает с направлением плоскости ва- ла 34. Вал 34 пассивного индикатора 33 взаимодействует с цилиндрическими пазами 40, выполненными на прямоугольных вставках 41, имеющих с другой своей стороны выступы 42, 43, а сферообразные выступы 36 на торцах параллелепипеда 35 взаимодействуют с фиксирующими фигурными пазами 44, выполненными на прямоугольных вставках 41 со стороны цилиндрических пазов 40. Сборку диспетчерского мнемонического щита осуществляют следующим образом. Предварительно на плоской поверхности лицевых элементов 2 наносят графическую информацию в соответствии с исходной мнемосхемой в виде рисунка фрагмента мнемо- схемы. Поверхность лицевой панели 1, собранной из лицевых элементов 2 с отображае- мой на ней информацией, сделана матовой (шагреневой). Таким образом, устранен эффект "бликов". Графические образы и надписи на базовых лицевых элементах 2 наносятся ме- тодом печати на 2-D принтере стойкими матовыми эмалями различных цветов из палитры промышленного стандарта RAL-K5. Для четкости восприятия все графические элементы имеют абрис. Оборудование позволяет одновременно обслужить от 40 до 100 лицевых элементов, в том числе с неодинаковыми мнемоническими изображениями. Монтажные блоки ячеек 4 собираются между собой в раму-основание 19 путем со- единения соответствующих элементов соединения 10, 11 и 12, 13 сопрягаемых монтаж- ных блоков ячеек 4. Консоли 9, не задействованные в сборке, обрезают. Конусность сопрягаемых поверхностей 10, 11, 12, 13 обеспечивает надежность соединений и позволя- ет при необходимости выполнить изгиб рамы-основания 19. Соединенная между собой в раму-основание 19 монолитная конструкция из монтажных блоков ячеек 4 закрепляется на несущей основе диспетчерского мнемонического щита - вертикальных опорах 20, вы- полненных в виде полых перфорированных труб, которые крепятся к полу при помощи анкерных соединений (не показано). Пассивные лицевые элементы 2 с нанесенной на них мнемосхемой контролируемого объекта устанавливают и фиксируют с помощью зацепов 29 в ячейках 3 монтажного бло- ка ячеек 4. Сборку пассивного переключателя для диспетчерского мнемонического щита осуще- ствляют следующим образом. Корпусной элемент пассивного индикатора 33 с валом 34 устанавливают в цилиндри- ческих пазах 40 и фиксирующих фигурных пазах 44 прямоугольных вставок 41 и закреп-
  • 9.
    BY 10740 U2015.08.30 9 ляют посредством ответных выступов 42, 43 в соответствующих им отверстиях 30, 31 замковых элементов 28 лицевого элемента 2. При этом плоский флажок 39 выступает через окошко 32 на лицевую сторону лицево- го элемента 2. Активные лицевые элементы 2, предназначенные для отображения состояний контро- лируемого оборудования, вывода на щит данных измерений и выдачи со щита команд управления, предварительно собирают в отверстиях 30, 31 замковых элементов 28 лице- вых элементов 2 и затем устанавливают в монтажные блоки ячеек 4 согласно мнемосхемы контролируемого объекта. Таким образом, предложенная полезная модель позволяет значительно упростить кон- струкцию, а также монтаж и обслуживание, а следовательно, снижает себестоимость про- изводства и эксплуатации диспетчерского мнемонического щита и пассивного переключателя для него за счет совмещения крепежных замковых элементов отдельных блоков с самими блоками, а также совмещения на лицевых элементах щита отдельных замковых элементов соединения различных устройств и самих лицевых элементов. Применение 2-D принтера для нанесения графических элементов значительно упро- щает технологию производства и снижает себестоимость щита в целом. Применение предложенного пассивного переключателя не требует специального обо- рудования и специалистов высокой квалификации при его монтаже. Фиг. 2
  • 10.
    BY 10740 U2015.08.30 10 Фиг. 3 Фиг. 4
  • 11.
    BY 10740 U2015.08.30 11 Фиг. 5 Фиг. 6
  • 12.
    BY 10740 U2015.08.30 12 Фиг. 7 Фиг. 8 Фиг. 9 Национальный центр интеллектуальной собственности. 220034, г. Минск, ул. Козлова, 20.