UNIT -2
NEXT GENERATION IP
1
prepared by J.A.Suthar
prepared by J.A.Suthar 2
IPv4 IPv6
IPv4 addresses are 32 bit length. IPv6 addresses are 128 bit length.
IPv4 addresses are binary numbers represented in
decimals.
IPv6 addresses are binary numbers represented
in hexadecimals.
IPSec support is only optional. Inbuilt IPSec support.
Fragmentation is done by sender and forwarding
routers.
Fragmentation is done only by sender.
No packet flow identification.
Packet flow identification is available within the IPv6
header using the Flow Label field.
Checksum field is available in IPv4 header No checksum field in IPv6 header.
Options fields are available in IPv4 header.
No option fields, but IPv6 Extension headers are
available.
Address Resolution Protocol (ARP) is available to
map IPv4 addresses to MAC addresses.
Address Resolution Protocol (ARP) is replaced with a
function of Neighbor Discovery Protocol (NDP).
Internet Group Management Protocol (IGMP) is used to
manage multicast group membership.
IGMP is replaced with Multicast Listener Discovery
(MLD) messages.
Broadcast messages are available.
Broadcast messages are not available. Instead a link-
local scope "All nodes" multicast IPv6 address (FF02::1)
is used for broadcast similar functionality.
Manual configuration (Static) of IPv4 addresses or
DHCP (Dynamic configuration) is required to
configure IPv4 addresses.
Auto-configuration of addresses is available.
• IPv4 Advantages
• Connectionless Protocol and Best effort based.
• Addresses are easier to remember.
• Existing networks are already using it.
• Classfull and classless addressing.
• Millions of addresses are wasted.
• Planning for excessive growth was not foreseen, addresses are running out.
• IPv6 Advantages:
• No more NAT (Network Address Translation)
• Auto-configuration
• No more private address collisions
• Better multicast routing
• Simpler header format
• Simplified, more efficient routing
• Built-in authentication and privacy support
• Flexible options and extensions
• Easier administration (say good-bye to DHCP)
• Large address space.
• Enhanced QoS.
• Efficient routing
• Built in security.
• Larger addresses harder to remember.
• Transition takes time and is not always smooth.
• Not always usable some machines have to be replaced.
19.3
19.4
Why IPv6? IPv4 IPv6
IPv6 has more
addresses 4.3 billion addresses 340 trillion trillion trillion addresses
IPv6 networks are
easier and cheaper
to manage
Networks must be configured manually or
with DHCP. IPv4 has had many overlays to
handle Internet growth, which demand
increasing maintenance efforts.
IPv6 networks provide autoconfiguration
capabilities. They are simpler, flatter and
more manageable for large installations.
IPv6 restores end-
to-end
transparency
Widespread use of NAT devices means that
a single NAT address can mask thousands
of non-routable addresses, making end-to-
end integrity unachievable.
Direct addressing is possible due to vast
address space – the need for network
address translation devices is effectively
eliminated.
IPv6 has improved
security features
Security is dependent on applications –
IPv4 was not designed with security in
mind.
IPSEC is built into the IPv6 protocol, usable
with a suitable key infrastructure.
IPv6 has improved
mobility
capabilities
Relatively constrained network topologies
restrict mobility and interoperability
capabilities in the IPv4 Internet.
IPv6 provides interoperability and mobility
capabilities which are already widely
embedded in network devices.
IPv6 encourages
innovation
IPv4 was designed as a transport and
communications medium, and increasingly
any work on IPv4 is to find ways around the
constraints.
Given the numbers of addresses, scalability
and flexibility of IPv6, its potential for
triggering innovation and assisting
collaboration is unbounded.
19.5
IPv6 ADDRESSES
Despite all short-term solutions, address depletion is
still a long-term problem for the Internet. This and other
problems in the IP protocol itself have been the
motivation for IPv6.
Structure
Address Space
Topics discussed in this section:
19.6
An IPv6 address is 128 bits long.
Note
19.7
Figure 19.14 IPv6 address in binary and hexadecimal colon notation
19.8
Figure 19.15 Abbreviated IPv6 addresses
19.9
Expand the address 0:15::1:12:1213 to its original.
Example 19.11
Solution
We first need to align the left side of the double colon to the
left of the original pattern and the right side of the double
colon to the right of the original pattern to find how many
0s we need to replace the double colon.
This means that the original address is.
19.10
Table 19.5 Type prefixes for IPv6 addresses
19.11
Table 19.5 Type prefixes for IPv6 addresses (continued)
prepared by J.A.Suthar 12
prepared by J.A.Suthar 13
prepared by J.A.Suthar 14
prepared by J.A.Suthar 15
prepared by J.A.Suthar 16
prepared by J.A.Suthar 17
ADDRESS SPACE ALLOCATION
• Like the address space of IPv4 , the address
space of IPv6 is divided into several blocks of
varying size and each block allocated for
special purpose.
prepared by J.A.Suthar 18
IPv6 Addressing 19
Global Unicast Addresses
• Equivalent to public IPv4 addresses.
• Globally routable and reachable on the IPv6 portion of the Internet.
• Unlike the current IPv4-based Internet, which is a mixture of both flat and
hierarchical routing, the IPv6-based Internet has been designed from its
foundation to support efficient, hierarchical addressing and routing.
• The scope, the portion of the IPv6 internetwork over which the address is
unique, of a global unicast address is the entire IPv6 Internet.
• Global scoped communication are identified by high-level 3 bits set to 001
(2000::/3)
prepared by J.A.Suthar 20
IPv6 Addressing 21
Global Unicast Address
• Each aggregatable global unicast IPv6 address has three parts:
• Fixed portion set to 001 – The three high-order bits are set to 001. The
address prefix for currently assigned global addresses is 2000::/3.
• Global Routing Prefix – Site Prefix
– Site prefix assigned to an organization (leaf site) by a provider should
be at least a /48 prefix = 45 + high-order bits (001).
– /48 prefix represents the high-order 48-bit of the network prefix.
– prefix assigned to the organization is part of the provider’s prefix.
• Subnet-id - Site
– With one /48 prefix allocated to an organization by a provider, it is
possible for that organization to enable up to 65,535 subnets
(assignment of 64-bit’s prefix to subnets).
– The organization can use bits 49 to 64 (16-bit) of the prefix received
for subnetting.
• Interface-id – Host
– The host part uses each node’s interface identifier.
– This part of the IPv6 address, which represents the address’s low-
order 64-bit, is called the interface ID.
IPv6 Addressing 22
Special IPv6 Addresses
• The following are special IPv6 addresses:
• Unspecified address
– unspecified address (0:0:0:0:0:0:0:0 or ::) is only used to indicate the
absence of an address.
– equivalent to the IPv4 unspecified address of 0.0.0.0.
– used as a source address for packets attempting to verify the
uniqueness of a tentative address.
– never assigned to an interface or used as a destination address.
• Loopback address
– The loopback address (0:0:0:0:0:0:0:1 or ::1) is used to identify a
loopback interface, enabling a node to send packets to itself.
– It is equivalent to the IPv4 loopback address of 127.0.0.1.
– Packets addressed to the loopback address must never be sent on a
link or forwarded by an IPv6 router.
prepared by J.A.Suthar 23
• Compatible address is an address of 96 bits
of zero followed by 32bits of IPv4 address. It is
used when computer using IPv6 wants to send
a message to another computer using IPv6.
• Mapped address is used when a computer
already migrated to version 6 wants to send
an address to computer still using version 4.
prepared by J.A.Suthar 24
AUTOCONFIGURATION
• In IPv6, DHCP protocol can still be used to
allocate an IPv6 address to a host, but a host
can also configure itself.
prepared by J.A.Suthar 25
• Process:
1. Host create link local address for it self.
• this is done by 10 bit prefix(1111 1110 10 ) adding 54
zeros, adding 64 bit interface identifier.
2. Host then test to see this link local address is unique
and not used by other host.
• If any host using this address the process fail and
DHCP auto configure host by itself.
3. If process 2 is passed, but still needs a global unicast
address. Host sends router solicitation message to
local router and got the address.
prepared by J.A.Suthar 26
RENUMBERING
• To allow sites to change the service provider,
renumbering of prefix(n) was built in to ipv6
addressing.
• A router to which site is connected can
advertise a new prefix and let the sites use the
old prefix for short time. So, site have two
prefix.
prepared by J.A.Suthar 27
20.28
IPv6
The network layer protocol in the TCP/IP protocol suite
is currently IPv4. Although IPv4 is well designed, data
communication has evolved since the inception of IPv4
in the 1970s. IPv4 has some deficiencies that make it
unsuitable for the fast-growing Internet.
Advantages
Packet Format
Extension Headers
Topics discussed in this section:
• Better header format: options are separated
by based header.
• New Options: allow additional functionalities
• Allowance for Extension: if new technologies
or applications are there.
• Support for resource allocation: Two new
fields are added, traffic class and flow label
• Support for more security: Encryption and
authentication provided .
prepared by J.A.Suthar 29
20.30
Figure 20.15 IPv6 datagram header and payload
prepared by J.A.Suthar 31
prepared by J.A.Suthar 32
prepared by J.A.Suthar 33
prepared by J.A.Suthar 34
prepared by J.A.Suthar 35
prepared by J.A.Suthar 36
prepared by J.A.Suthar 37
prepared by J.A.Suthar 38
prepared by J.A.Suthar 39
prepared by J.A.Suthar 40
prepared by J.A.Suthar 41
prepared by J.A.Suthar 42
prepared by J.A.Suthar 43
prepared by J.A.Suthar 44
prepared by J.A.Suthar 45
IPv6 HEADER
19.46
20.47
Figure 20.16 Format of an IPv6 datagram
20.48
Table 20.6 Next header codes for IPv6
20.49
Table 20.7 Priorities for congestion-controlled traffic
20.50
Table 20.8 Priorities for noncongestion-controlled traffic
20.51
Table 20.9 Comparison between IPv4 and IPv6 packet headers
20.52
Figure 20.17 Extension header types
• Hop by Hop Option: used when source
need to pass information to all routers visited
by datagram
• Pad1 : (1 byte) designed for alignment
purpose. If an options falls short of
requirement of exactly 1 byte.
• PadN: similar to Pad1 , when 2 or more bytes
are needed.
• Jumbo Payload : maximum size of payload is
65,535bytes but any longer payload is
required, we can use this payload.
prepared by J.A.Suthar 53
• Destination option: is used when source
needs to pass information to the destination
only.
• Source Routing : combines concepts of
strict source route and loose source options of
IPV4.
• Fragmentations: packet size >= MTU then
source must use a Path MTU Discovery
technique to find the smallest MTU supported
by n/w , or it fragment datagram into a size of
1280 bytes or smaller.
prepared by J.A.Suthar 54
• Encrypted Security Payload: It is an
extension that provides confidentiality and
guards against eavesdropping.
• Authentication: it validates the messages
and ensure the integrity of data.
prepared by J.A.Suthar 55
20.56
Table 20.10 Comparison between IPv4 options and IPv6 extension headers
prepared by J.A.Suthar 57
21.58
ICMPv6
We discussed IPv6 in Chapter 20. Another protocol that
has been modified in version 6 of the TCP/IP protocol
suite is ICMP (ICMPv6). This new version follows the
same strategy and purposes of version 4.
Error Reporting
Query
Topics discussed in this section:
21.59
Figure 21.23 Comparison of network layers in version 4 and version 6
21.60
Table 21.3 Comparison of error-reporting messages in ICMPv4 and ICMPv6
• Informational Messages: Echo request - reply
messages.
• This messages designed to check whether two
devices in the internet can communicate with
each other.
prepared by J.A.Suthar 61
• Neighbor-Discovery Messages:
• ND and IND used by node for three main
purposes:
• 1. Hosts uses the ND protocol to find routers
in neighborhood that will forward packets for
them.
• 2. Nodes use the ND protocol to find the link-
layer addresses of neighbors(same network).
• 3. Nodes use the Inverse neighbor discovery
protocol to find the IPv6 addresses of
neighbors.
prepared by J.A.Suthar 62
• Group Membership Messages:
• Multicast listener protocol v2:
Membership query message: general, group –
specific and group and source specific.
-this message is sent by router to find active
group member in the network.
Membership report message
-the format of message in MLDv2 is exactly
same as the one IGMPv3 expect size of fields.
prepared by J.A.Suthar 63
21.64
Table 21.4 Comparison of query messages in ICMPv4 and ICMPv6
20.65
TRANSITION FROM IPv4 TO IPv6
Because of the huge number of systems on the Internet,
the transition from IPv4 to IPv6 cannot happen
suddenly. It takes a considerable amount of time before
every system in the Internet can move from IPv4 to
IPv6. The transition must be smooth to prevent any
problems between IPv4 and IPv6 systems.
Dual Stack
Tunneling
Header Translation
Topics discussed in this section:
20.66
Figure 20.18 Three transition strategies
20.67
Figure 20.19 Dual stack
• To determine which version to use when
sending a packet to a destination, the source
host queries the DNS.
• If DNS returns an IPv4 address, the source
host sends IPv4 packet and if DNS returns an
IPv6 address, the source host sends an IPv6
packet.`
prepared by J.A.Suthar 68
20.69
Figure 20.20 Tunneling strategy
• Tunneling is a strategy used when two
computers using IPv6 want to communicate
with each other and the packet must pass
through a region that uses IPv4.
• To pass through region , IPv6 packet must
have encapsulated in IPv4 packet when it
enters into region, and it leaves its capsule
when it exits the region.
prepared by J.A.Suthar 70
20.71
Figure 20.21 Header translation strategy
• Header translation is necessary when the
majority of the internet has moved to IPv6 but
some systems still use IPv4.
• The sender want to use IPv6, but the receiver
does not understand IPv6.
• In this case, header format must be totally
changed through header translation. The
header of IPv6 packet is converted to an IPv4
header.
prepared by J.A.Suthar 72
20.73
Table 20.11 Header translation
USE OF IP ADDRESS
• During transition a host may need to use two
addresses, IPv4 and IPv6.
• When the transition is complete, IPV4
addresses should disappear.
• The DNS servers need to be ready to map a
host name to either address type during the
transition, but the IPv4 directory will
disappear after all hosts in the world have
migrated IPv6.
prepared by J.A.Suthar 74

UNIT-2.pptx

  • 1.
    UNIT -2 NEXT GENERATIONIP 1 prepared by J.A.Suthar
  • 2.
    prepared by J.A.Suthar2 IPv4 IPv6 IPv4 addresses are 32 bit length. IPv6 addresses are 128 bit length. IPv4 addresses are binary numbers represented in decimals. IPv6 addresses are binary numbers represented in hexadecimals. IPSec support is only optional. Inbuilt IPSec support. Fragmentation is done by sender and forwarding routers. Fragmentation is done only by sender. No packet flow identification. Packet flow identification is available within the IPv6 header using the Flow Label field. Checksum field is available in IPv4 header No checksum field in IPv6 header. Options fields are available in IPv4 header. No option fields, but IPv6 Extension headers are available. Address Resolution Protocol (ARP) is available to map IPv4 addresses to MAC addresses. Address Resolution Protocol (ARP) is replaced with a function of Neighbor Discovery Protocol (NDP). Internet Group Management Protocol (IGMP) is used to manage multicast group membership. IGMP is replaced with Multicast Listener Discovery (MLD) messages. Broadcast messages are available. Broadcast messages are not available. Instead a link- local scope "All nodes" multicast IPv6 address (FF02::1) is used for broadcast similar functionality. Manual configuration (Static) of IPv4 addresses or DHCP (Dynamic configuration) is required to configure IPv4 addresses. Auto-configuration of addresses is available.
  • 3.
    • IPv4 Advantages •Connectionless Protocol and Best effort based. • Addresses are easier to remember. • Existing networks are already using it. • Classfull and classless addressing. • Millions of addresses are wasted. • Planning for excessive growth was not foreseen, addresses are running out. • IPv6 Advantages: • No more NAT (Network Address Translation) • Auto-configuration • No more private address collisions • Better multicast routing • Simpler header format • Simplified, more efficient routing • Built-in authentication and privacy support • Flexible options and extensions • Easier administration (say good-bye to DHCP) • Large address space. • Enhanced QoS. • Efficient routing • Built in security. • Larger addresses harder to remember. • Transition takes time and is not always smooth. • Not always usable some machines have to be replaced. 19.3
  • 4.
    19.4 Why IPv6? IPv4IPv6 IPv6 has more addresses 4.3 billion addresses 340 trillion trillion trillion addresses IPv6 networks are easier and cheaper to manage Networks must be configured manually or with DHCP. IPv4 has had many overlays to handle Internet growth, which demand increasing maintenance efforts. IPv6 networks provide autoconfiguration capabilities. They are simpler, flatter and more manageable for large installations. IPv6 restores end- to-end transparency Widespread use of NAT devices means that a single NAT address can mask thousands of non-routable addresses, making end-to- end integrity unachievable. Direct addressing is possible due to vast address space – the need for network address translation devices is effectively eliminated. IPv6 has improved security features Security is dependent on applications – IPv4 was not designed with security in mind. IPSEC is built into the IPv6 protocol, usable with a suitable key infrastructure. IPv6 has improved mobility capabilities Relatively constrained network topologies restrict mobility and interoperability capabilities in the IPv4 Internet. IPv6 provides interoperability and mobility capabilities which are already widely embedded in network devices. IPv6 encourages innovation IPv4 was designed as a transport and communications medium, and increasingly any work on IPv4 is to find ways around the constraints. Given the numbers of addresses, scalability and flexibility of IPv6, its potential for triggering innovation and assisting collaboration is unbounded.
  • 5.
    19.5 IPv6 ADDRESSES Despite allshort-term solutions, address depletion is still a long-term problem for the Internet. This and other problems in the IP protocol itself have been the motivation for IPv6. Structure Address Space Topics discussed in this section:
  • 6.
    19.6 An IPv6 addressis 128 bits long. Note
  • 7.
    19.7 Figure 19.14 IPv6address in binary and hexadecimal colon notation
  • 8.
  • 9.
    19.9 Expand the address0:15::1:12:1213 to its original. Example 19.11 Solution We first need to align the left side of the double colon to the left of the original pattern and the right side of the double colon to the right of the original pattern to find how many 0s we need to replace the double colon. This means that the original address is.
  • 10.
    19.10 Table 19.5 Typeprefixes for IPv6 addresses
  • 11.
    19.11 Table 19.5 Typeprefixes for IPv6 addresses (continued)
  • 12.
  • 13.
  • 14.
  • 15.
  • 16.
  • 17.
  • 18.
    ADDRESS SPACE ALLOCATION •Like the address space of IPv4 , the address space of IPv6 is divided into several blocks of varying size and each block allocated for special purpose. prepared by J.A.Suthar 18
  • 19.
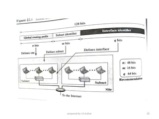
    IPv6 Addressing 19 GlobalUnicast Addresses • Equivalent to public IPv4 addresses. • Globally routable and reachable on the IPv6 portion of the Internet. • Unlike the current IPv4-based Internet, which is a mixture of both flat and hierarchical routing, the IPv6-based Internet has been designed from its foundation to support efficient, hierarchical addressing and routing. • The scope, the portion of the IPv6 internetwork over which the address is unique, of a global unicast address is the entire IPv6 Internet. • Global scoped communication are identified by high-level 3 bits set to 001 (2000::/3)
  • 20.
  • 21.
    IPv6 Addressing 21 GlobalUnicast Address • Each aggregatable global unicast IPv6 address has three parts: • Fixed portion set to 001 – The three high-order bits are set to 001. The address prefix for currently assigned global addresses is 2000::/3. • Global Routing Prefix – Site Prefix – Site prefix assigned to an organization (leaf site) by a provider should be at least a /48 prefix = 45 + high-order bits (001). – /48 prefix represents the high-order 48-bit of the network prefix. – prefix assigned to the organization is part of the provider’s prefix. • Subnet-id - Site – With one /48 prefix allocated to an organization by a provider, it is possible for that organization to enable up to 65,535 subnets (assignment of 64-bit’s prefix to subnets). – The organization can use bits 49 to 64 (16-bit) of the prefix received for subnetting. • Interface-id – Host – The host part uses each node’s interface identifier. – This part of the IPv6 address, which represents the address’s low- order 64-bit, is called the interface ID.
  • 22.
    IPv6 Addressing 22 SpecialIPv6 Addresses • The following are special IPv6 addresses: • Unspecified address – unspecified address (0:0:0:0:0:0:0:0 or ::) is only used to indicate the absence of an address. – equivalent to the IPv4 unspecified address of 0.0.0.0. – used as a source address for packets attempting to verify the uniqueness of a tentative address. – never assigned to an interface or used as a destination address. • Loopback address – The loopback address (0:0:0:0:0:0:0:1 or ::1) is used to identify a loopback interface, enabling a node to send packets to itself. – It is equivalent to the IPv4 loopback address of 127.0.0.1. – Packets addressed to the loopback address must never be sent on a link or forwarded by an IPv6 router.
  • 23.
  • 24.
    • Compatible addressis an address of 96 bits of zero followed by 32bits of IPv4 address. It is used when computer using IPv6 wants to send a message to another computer using IPv6. • Mapped address is used when a computer already migrated to version 6 wants to send an address to computer still using version 4. prepared by J.A.Suthar 24
  • 25.
    AUTOCONFIGURATION • In IPv6,DHCP protocol can still be used to allocate an IPv6 address to a host, but a host can also configure itself. prepared by J.A.Suthar 25
  • 26.
    • Process: 1. Hostcreate link local address for it self. • this is done by 10 bit prefix(1111 1110 10 ) adding 54 zeros, adding 64 bit interface identifier. 2. Host then test to see this link local address is unique and not used by other host. • If any host using this address the process fail and DHCP auto configure host by itself. 3. If process 2 is passed, but still needs a global unicast address. Host sends router solicitation message to local router and got the address. prepared by J.A.Suthar 26
  • 27.
    RENUMBERING • To allowsites to change the service provider, renumbering of prefix(n) was built in to ipv6 addressing. • A router to which site is connected can advertise a new prefix and let the sites use the old prefix for short time. So, site have two prefix. prepared by J.A.Suthar 27
  • 28.
    20.28 IPv6 The network layerprotocol in the TCP/IP protocol suite is currently IPv4. Although IPv4 is well designed, data communication has evolved since the inception of IPv4 in the 1970s. IPv4 has some deficiencies that make it unsuitable for the fast-growing Internet. Advantages Packet Format Extension Headers Topics discussed in this section:
  • 29.
    • Better headerformat: options are separated by based header. • New Options: allow additional functionalities • Allowance for Extension: if new technologies or applications are there. • Support for resource allocation: Two new fields are added, traffic class and flow label • Support for more security: Encryption and authentication provided . prepared by J.A.Suthar 29
  • 30.
    20.30 Figure 20.15 IPv6datagram header and payload
  • 31.
  • 32.
  • 33.
  • 34.
  • 35.
  • 36.
  • 37.
  • 38.
  • 39.
  • 40.
  • 41.
  • 42.
  • 43.
  • 44.
  • 45.
  • 46.
  • 47.
    20.47 Figure 20.16 Formatof an IPv6 datagram
  • 48.
    20.48 Table 20.6 Nextheader codes for IPv6
  • 49.
    20.49 Table 20.7 Prioritiesfor congestion-controlled traffic
  • 50.
    20.50 Table 20.8 Prioritiesfor noncongestion-controlled traffic
  • 51.
    20.51 Table 20.9 Comparisonbetween IPv4 and IPv6 packet headers
  • 52.
  • 53.
    • Hop byHop Option: used when source need to pass information to all routers visited by datagram • Pad1 : (1 byte) designed for alignment purpose. If an options falls short of requirement of exactly 1 byte. • PadN: similar to Pad1 , when 2 or more bytes are needed. • Jumbo Payload : maximum size of payload is 65,535bytes but any longer payload is required, we can use this payload. prepared by J.A.Suthar 53
  • 54.
    • Destination option:is used when source needs to pass information to the destination only. • Source Routing : combines concepts of strict source route and loose source options of IPV4. • Fragmentations: packet size >= MTU then source must use a Path MTU Discovery technique to find the smallest MTU supported by n/w , or it fragment datagram into a size of 1280 bytes or smaller. prepared by J.A.Suthar 54
  • 55.
    • Encrypted SecurityPayload: It is an extension that provides confidentiality and guards against eavesdropping. • Authentication: it validates the messages and ensure the integrity of data. prepared by J.A.Suthar 55
  • 56.
    20.56 Table 20.10 Comparisonbetween IPv4 options and IPv6 extension headers
  • 57.
  • 58.
    21.58 ICMPv6 We discussed IPv6in Chapter 20. Another protocol that has been modified in version 6 of the TCP/IP protocol suite is ICMP (ICMPv6). This new version follows the same strategy and purposes of version 4. Error Reporting Query Topics discussed in this section:
  • 59.
    21.59 Figure 21.23 Comparisonof network layers in version 4 and version 6
  • 60.
    21.60 Table 21.3 Comparisonof error-reporting messages in ICMPv4 and ICMPv6
  • 61.
    • Informational Messages:Echo request - reply messages. • This messages designed to check whether two devices in the internet can communicate with each other. prepared by J.A.Suthar 61
  • 62.
    • Neighbor-Discovery Messages: •ND and IND used by node for three main purposes: • 1. Hosts uses the ND protocol to find routers in neighborhood that will forward packets for them. • 2. Nodes use the ND protocol to find the link- layer addresses of neighbors(same network). • 3. Nodes use the Inverse neighbor discovery protocol to find the IPv6 addresses of neighbors. prepared by J.A.Suthar 62
  • 63.
    • Group MembershipMessages: • Multicast listener protocol v2: Membership query message: general, group – specific and group and source specific. -this message is sent by router to find active group member in the network. Membership report message -the format of message in MLDv2 is exactly same as the one IGMPv3 expect size of fields. prepared by J.A.Suthar 63
  • 64.
    21.64 Table 21.4 Comparisonof query messages in ICMPv4 and ICMPv6
  • 65.
    20.65 TRANSITION FROM IPv4TO IPv6 Because of the huge number of systems on the Internet, the transition from IPv4 to IPv6 cannot happen suddenly. It takes a considerable amount of time before every system in the Internet can move from IPv4 to IPv6. The transition must be smooth to prevent any problems between IPv4 and IPv6 systems. Dual Stack Tunneling Header Translation Topics discussed in this section:
  • 66.
    20.66 Figure 20.18 Threetransition strategies
  • 67.
  • 68.
    • To determinewhich version to use when sending a packet to a destination, the source host queries the DNS. • If DNS returns an IPv4 address, the source host sends IPv4 packet and if DNS returns an IPv6 address, the source host sends an IPv6 packet.` prepared by J.A.Suthar 68
  • 69.
  • 70.
    • Tunneling isa strategy used when two computers using IPv6 want to communicate with each other and the packet must pass through a region that uses IPv4. • To pass through region , IPv6 packet must have encapsulated in IPv4 packet when it enters into region, and it leaves its capsule when it exits the region. prepared by J.A.Suthar 70
  • 71.
    20.71 Figure 20.21 Headertranslation strategy
  • 72.
    • Header translationis necessary when the majority of the internet has moved to IPv6 but some systems still use IPv4. • The sender want to use IPv6, but the receiver does not understand IPv6. • In this case, header format must be totally changed through header translation. The header of IPv6 packet is converted to an IPv4 header. prepared by J.A.Suthar 72
  • 73.
  • 74.
    USE OF IPADDRESS • During transition a host may need to use two addresses, IPv4 and IPv6. • When the transition is complete, IPV4 addresses should disappear. • The DNS servers need to be ready to map a host name to either address type during the transition, but the IPv4 directory will disappear after all hosts in the world have migrated IPv6. prepared by J.A.Suthar 74