HOSPITAL AND ITS ORGANISATION
INTRO AND DEF
A hospital can be defined as a complex organization or an institution
which offers health and wellbeing of the people through diagnosis,
treatment, prevention, rehabilitation, and cure by a team of qualified staff
and provides the facilities for education and research.
The qualified and trained staff includes physician, staff nurse,
dieticians, pharmacists, pathologists, radiologist, and anaesthetist, in a
hospital.
Thus, the hospital is an institution which is scientifically, systematically and
economically organized for prevention, diagnosis, and therapy of diseases
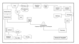
Hospital is called City within City
The operation theatre is located within the four walls of hospital, a hotel which looks
like a patient’s rooms, a dormitory for student nurses, a school for training of nurses,
dieticians, technicians, laboratories, a pharmacy, a canteen for food, laundry and linen
services, delivery services, a post office, adequate internal and external
communication system, blood bank, accounting and credit services, a reception
services, public relation department and security patrols
Hospitals that have facilities for the teaching and training of medical students;
paramedical line nursing, pathological, radiological, physiotherapy students are
called as teaching hospitals.
Such hospitals are operated by the Government or Non-government organization
or Private personnel and approved by Medical Council of India, New Delhi.
Health Care- Primary, Secondary and Tertiary
Classification of Hospitals
a) Clinically oriented
● Based on type of people (
Maternity, Pediatric, General)
● Anatomy and Physiology
(ENT, Heart, Kidney, Dental,
Skin)
● Diseases
b) Non-clinical
● Ownership and Administrative Control
● State Govt (General, ESI, Osmania,
Victoria)
● Private Trusts (Bombay hospitals,
Ramachandra)
● Municipality Corporation Panchayat
(BMC,KEM)
● Non-Govt Religion Bodies (Hindu
mission, CMC, ramakrishna Missions)
● Public Limited ( Apollo, Fortis,
Wockhardt)
Based on System of Medicine
● Ayurvedic
● Unani
● Naturopathy
● Homeopathy
● Allopathic
Functions of a Modern Hospital
1. To provide the means and methods by which medical staff can work
together in groups with the purpose of community and patient’s health care.
2. To reduce the incidences of disease through early detection and treatment.
3. To estimate the need for facilities, supplies, and equipment utilized in
hospitals and evaluate to control and maintenance of the hospital.
4. To provide a common link between the general public and policymakers.
5. To estimate the requirements for various departments and to
recommend various policies to maintain adequate and competent staff.
6. To stimulate the growth of medical sciences in which doctors and
nurses receive their education and training in large (teaching) hospitals.
7. To develop and maintain an effective system of retrieval of clinical
administrative records and reports.
8. To increase the quality and standards of medical practice.
9. To provide facilities to continue the education of all the medical professionals.
10. To participate in various safety programmes of the hospitals.
11. To initiate, utilize and participate in research projects design for
improvement of patient care and other hospital services.
12. To participate in the financial planning for the working of the hospital
Organization
Structure and
Administration of a
Hospital
Administrators are responsible to
manage the business operations
and taking care of staffing, public
relations, patient rights with the
management of budgets,
finances, and other administrative
tasks
HOSPITAL AND ITS ORGANISATION.pdf

HOSPITAL AND ITS ORGANISATION.pdf

  • 1.
    HOSPITAL AND ITSORGANISATION
  • 2.
    INTRO AND DEF Ahospital can be defined as a complex organization or an institution which offers health and wellbeing of the people through diagnosis, treatment, prevention, rehabilitation, and cure by a team of qualified staff and provides the facilities for education and research. The qualified and trained staff includes physician, staff nurse, dieticians, pharmacists, pathologists, radiologist, and anaesthetist, in a hospital. Thus, the hospital is an institution which is scientifically, systematically and economically organized for prevention, diagnosis, and therapy of diseases
  • 3.
    Hospital is calledCity within City The operation theatre is located within the four walls of hospital, a hotel which looks like a patient’s rooms, a dormitory for student nurses, a school for training of nurses, dieticians, technicians, laboratories, a pharmacy, a canteen for food, laundry and linen services, delivery services, a post office, adequate internal and external communication system, blood bank, accounting and credit services, a reception services, public relation department and security patrols Hospitals that have facilities for the teaching and training of medical students; paramedical line nursing, pathological, radiological, physiotherapy students are called as teaching hospitals. Such hospitals are operated by the Government or Non-government organization or Private personnel and approved by Medical Council of India, New Delhi.
  • 5.
    Health Care- Primary,Secondary and Tertiary
  • 6.
    Classification of Hospitals a)Clinically oriented ● Based on type of people ( Maternity, Pediatric, General) ● Anatomy and Physiology (ENT, Heart, Kidney, Dental, Skin) ● Diseases b) Non-clinical ● Ownership and Administrative Control ● State Govt (General, ESI, Osmania, Victoria) ● Private Trusts (Bombay hospitals, Ramachandra) ● Municipality Corporation Panchayat (BMC,KEM) ● Non-Govt Religion Bodies (Hindu mission, CMC, ramakrishna Missions) ● Public Limited ( Apollo, Fortis, Wockhardt)
  • 8.
    Based on Systemof Medicine ● Ayurvedic ● Unani ● Naturopathy ● Homeopathy ● Allopathic
  • 9.
    Functions of aModern Hospital 1. To provide the means and methods by which medical staff can work together in groups with the purpose of community and patient’s health care. 2. To reduce the incidences of disease through early detection and treatment. 3. To estimate the need for facilities, supplies, and equipment utilized in hospitals and evaluate to control and maintenance of the hospital. 4. To provide a common link between the general public and policymakers. 5. To estimate the requirements for various departments and to recommend various policies to maintain adequate and competent staff. 6. To stimulate the growth of medical sciences in which doctors and nurses receive their education and training in large (teaching) hospitals.
  • 10.
    7. To developand maintain an effective system of retrieval of clinical administrative records and reports. 8. To increase the quality and standards of medical practice. 9. To provide facilities to continue the education of all the medical professionals. 10. To participate in various safety programmes of the hospitals. 11. To initiate, utilize and participate in research projects design for improvement of patient care and other hospital services. 12. To participate in the financial planning for the working of the hospital
  • 11.
    Organization Structure and Administration ofa Hospital Administrators are responsible to manage the business operations and taking care of staffing, public relations, patient rights with the management of budgets, finances, and other administrative tasks