UNIT II
EMBEDDED COMPUTING
PLATFORM DESIGN
SYLLABUS
• The CPU Bus-
• Memory devices and systems–
• Designing with computing platforms –
• consumer electronics architecture –
• Platform- level performance analysis –
• Components for embedded programs-
• Models of programs-
SYLLABUS
• Assembly, linking and loading –
• Compilation techniques-
• Program level performance analysis –
• Software performance optimization –
• Program level energy and power analysis and optimization –
• Analysis and optimization of program size-
• Program validation and testing.
Basic Computing Platform
1. CPU Bus
•Bus is the mechanism by which CPU
communicates with memory and I/O
devices
Bus Organization and Protocol
•4 way handshake
DMA (Direct Memory Access)
System Bus configuration
AMBA BUS (Advanced Microcontroller Bus
Architecture)
• AMBA bus supports CPU’s, memories and peripherals integrated in a
system-on-silicon.
• AMBA specification includes 2 buses:
•
AMBA BUS
2.Memory Devices and Systems
Memory Device Organization
RANDOM ACCESS MEMORY
Types of DRAM
READ ONLY MEMORY (ROM)
Memory System Organization
• Memory chips have complex organization that allow us to make some
useful optimization.
• Memories are usually divided into several smaller memory arrays.
• Channels and Banks are the two ways to add parallelism to the
memory system.
• Channel is a connection to a group of memory components.
• Bank can perform accesses in parallel because each has its own
memory arrays and addressing logic.
3. Designing with computing platforms
Beagle Board
Evaluation Boards
Choosing a Platform
•Hardware: CPU, Bus, Memory, Input / Output Devices
•Software:
•Run Time Components: An operating system is
required to control the CPU and its multiple
processes.
•Support Components: are critical to making use of
complex hardware platforms.
4. Consumer Electronics Architecture
•Consumer electronics refers to any device
containing an electronic circuit board that is
intended for everyday use by individuals.
•TV, digital cameras, DVD, Clock, smart phones.
•Most devices select features from a common
menu.
4. Consumer Electronics Architecture
•Types of functions
•Functional Requirements: Multimedia, Data
storage and Management, Communications
•Non-functional Requirements: Battery
operated. Should be inexpensive and provide
high performance.
5. Platform level Performance Analysis
•CPU plays very important role in design.
•Since any part of system can affect total
system performance and slow down the
system platform level performance
analysis is important.
5. Platform level Performance Analysis
• Consider the simple system – Move data from memory to CPU
• Read from memory
• Transfer over the bus to the cache
• Transfer from the cache to the CPU
• The rate at which data can be moved is known as bandwidth.
Bandwidth can be increased in two ways:
• Increase the clock rate of the bus
• Increase the amount of data transferred per clock cycle
5. Platform level Performance Analysis
•Bus Bandwidth formulas
•t= TP
•t- bus cycle counts
•T – bus cycles
•P-bus cloak period
6. Components for Embedded programs
• Three components to write embedded programs
• State machine
• Circular buffer
• Queue
• State Machine: When inputs given to any kinds of
systems, the reaction of most systems can be
characterized in terms of the input received and the
current state of the system
State machine
6. Components for Embedded programs
• Circular Buffers and Stream Oriented Programming
• Circular buffer is a data structure that handles streaming
data in an efficient way.
• Signal flow graph is used to represent different types of
filtering structures.
6. Components for Embedded programs
•Queues
•Queues are used whenever data may arrive and
depart at unpredictable time or when variable
amount of data may arrive. Queues can be built in
two ways: linked list or arrays
•Circular buffer always has a fixed number of data
elements while a queue may have a varying
number of elements in it.
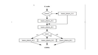
7. Models of Program
•Programs are collection of instructions to execute a
specific task.
•CDFG – control data flow graph is the fundamental
model for programs.
•A data flow graph is a model of a program with no
condition.
•Code segment with no condition have only one entry
and exit point is known as a basic block.
7. Models of Program
7. Models of Program
•In the above code ‘X’ is having two assignments
and it appears twice on the left side of an
assignment.
•Code should be rewritten in single-assignment
form, in which a variable appears only once on
the left side.
•we use two types of nodes in the graph
•round nodes denote operators
•Square nodes represent values.
• In CDFG, we have two types of nodes: decision nodes and data flow
nodes.
• Decision nodes are used to describe the control in a sequential
program.
• A data flow node encapsulates a complete data flow graph to represent
a basic block.
8. Assembly, Linking and Loading
8. Assembly, Linking and Loading
8. Assembly, Linking and Loading
•Program may be built from many files, the final step is
determining the address of instructions and data are
performed by the linker.
•Linker will produce an executable binary file.
•Loader will load the program into memory for
execution.
9. Compilation Techniques
•A compiler is a special program that
processes statements written in a particular
language and turns them into machine
language or code that a computer’s
processor uses.
10. Program Level Performance Analysis
• CPU performance is important but it will not reflect program
performance.
• The execution time of the program varies with the input data
values because those values select different execution paths
in the program.
• The execution time of an instruction in a pipeline depends
not only on that instruction but on the instruction around it
in the pipeline.
11. Software Performance Optimization
•Loop Optimization
•Cache Optimization
Loop Optimization
• Loop Unrolling- It helps expose parallelism that can be used by
later stages of compiler.
• Loop Fusion-It combines two are more loops into a single loop.
• Loop Distribution is the opposite of loop fusion that is decomposing
a single loop into multiple loops.
• Loop tiling breaks up a loop into a set of nested loops, with each
inner loop performing the operations on a subset of the data.
• Array padding adds dummy data elements to a loop in order to
change the layout of the array in the cache.
Dead Code Elimination
•Dead code is the code that can never be executed.
Dead code elimination analyzes code for
reachability and trims away dead code.
Induction Variable Elimination
Strength Reduction
• Y = X * 2
• Can use left shift instead of multiplication by 2.
Cache Optimization
• If the cache is too small, the program runs slowly.
• If the cache is too large, the power consumption is high.
• At intermediate values the execution time and power consumption
are good.
Program Level Energy And Power
Analysis And Optimization
•Fast chips run hot, and controlling power consumption is an
important element of increasing reliability and reducing system cost.
•We may be able to replace the algorithms with others that do
things in clever ways that consume less power.
•By optimizing memory accesses we may be able to significantly
reduce power.
•We may be able to turn off parts of the system—such as
subsystems of the CPU, chips in the system, and so on when we do
not need them in order to save power.
12. Analysis and Optimization of Program Size
•The memory size of program is determined by the size
of its data and instructions. Both must be considered
to minimize program size.
•Data depends on program size
•Programs have many copies of the same data.
•Eliminating duplications lead to memory utilization.
13. Program Validation and Testing
• Complex system need testing the ensure the system works correctly.
• Breaking the problem into sub problems and analyzing each sub
problems
• Two types:
• Black Box: generate tests without looking at the internal structure of the
program.
• Clear Box (White Box Test): methods generate tests based on the
program structure.
Clear Box Testing
Black Box Test

Embedded and Real Time Systems Unit II.pptx

  • 1.
  • 2.
    SYLLABUS • The CPUBus- • Memory devices and systems– • Designing with computing platforms – • consumer electronics architecture – • Platform- level performance analysis – • Components for embedded programs- • Models of programs-
  • 3.
    SYLLABUS • Assembly, linkingand loading – • Compilation techniques- • Program level performance analysis – • Software performance optimization – • Program level energy and power analysis and optimization – • Analysis and optimization of program size- • Program validation and testing.
  • 4.
  • 7.
    1. CPU Bus •Busis the mechanism by which CPU communicates with memory and I/O devices
  • 8.
    Bus Organization andProtocol •4 way handshake
  • 10.
  • 11.
  • 12.
    AMBA BUS (AdvancedMicrocontroller Bus Architecture) • AMBA bus supports CPU’s, memories and peripherals integrated in a system-on-silicon. • AMBA specification includes 2 buses: •
  • 13.
  • 15.
  • 16.
  • 17.
  • 18.
  • 19.
  • 20.
    Memory System Organization •Memory chips have complex organization that allow us to make some useful optimization. • Memories are usually divided into several smaller memory arrays. • Channels and Banks are the two ways to add parallelism to the memory system. • Channel is a connection to a group of memory components. • Bank can perform accesses in parallel because each has its own memory arrays and addressing logic.
  • 22.
    3. Designing withcomputing platforms
  • 23.
  • 24.
  • 25.
    Choosing a Platform •Hardware:CPU, Bus, Memory, Input / Output Devices •Software: •Run Time Components: An operating system is required to control the CPU and its multiple processes. •Support Components: are critical to making use of complex hardware platforms.
  • 26.
    4. Consumer ElectronicsArchitecture •Consumer electronics refers to any device containing an electronic circuit board that is intended for everyday use by individuals. •TV, digital cameras, DVD, Clock, smart phones. •Most devices select features from a common menu.
  • 27.
    4. Consumer ElectronicsArchitecture •Types of functions •Functional Requirements: Multimedia, Data storage and Management, Communications •Non-functional Requirements: Battery operated. Should be inexpensive and provide high performance.
  • 28.
    5. Platform levelPerformance Analysis •CPU plays very important role in design. •Since any part of system can affect total system performance and slow down the system platform level performance analysis is important.
  • 29.
    5. Platform levelPerformance Analysis • Consider the simple system – Move data from memory to CPU • Read from memory • Transfer over the bus to the cache • Transfer from the cache to the CPU • The rate at which data can be moved is known as bandwidth. Bandwidth can be increased in two ways: • Increase the clock rate of the bus • Increase the amount of data transferred per clock cycle
  • 30.
    5. Platform levelPerformance Analysis •Bus Bandwidth formulas •t= TP •t- bus cycle counts •T – bus cycles •P-bus cloak period
  • 31.
    6. Components forEmbedded programs • Three components to write embedded programs • State machine • Circular buffer • Queue • State Machine: When inputs given to any kinds of systems, the reaction of most systems can be characterized in terms of the input received and the current state of the system
  • 32.
  • 33.
    6. Components forEmbedded programs • Circular Buffers and Stream Oriented Programming • Circular buffer is a data structure that handles streaming data in an efficient way. • Signal flow graph is used to represent different types of filtering structures.
  • 34.
    6. Components forEmbedded programs •Queues •Queues are used whenever data may arrive and depart at unpredictable time or when variable amount of data may arrive. Queues can be built in two ways: linked list or arrays •Circular buffer always has a fixed number of data elements while a queue may have a varying number of elements in it.
  • 35.
    7. Models ofProgram •Programs are collection of instructions to execute a specific task. •CDFG – control data flow graph is the fundamental model for programs. •A data flow graph is a model of a program with no condition. •Code segment with no condition have only one entry and exit point is known as a basic block.
  • 36.
    7. Models ofProgram
  • 37.
    7. Models ofProgram •In the above code ‘X’ is having two assignments and it appears twice on the left side of an assignment. •Code should be rewritten in single-assignment form, in which a variable appears only once on the left side.
  • 39.
    •we use twotypes of nodes in the graph •round nodes denote operators •Square nodes represent values.
  • 41.
    • In CDFG,we have two types of nodes: decision nodes and data flow nodes. • Decision nodes are used to describe the control in a sequential program. • A data flow node encapsulates a complete data flow graph to represent a basic block.
  • 44.
  • 45.
  • 46.
    8. Assembly, Linkingand Loading •Program may be built from many files, the final step is determining the address of instructions and data are performed by the linker. •Linker will produce an executable binary file. •Loader will load the program into memory for execution.
  • 47.
    9. Compilation Techniques •Acompiler is a special program that processes statements written in a particular language and turns them into machine language or code that a computer’s processor uses.
  • 50.
    10. Program LevelPerformance Analysis • CPU performance is important but it will not reflect program performance. • The execution time of the program varies with the input data values because those values select different execution paths in the program. • The execution time of an instruction in a pipeline depends not only on that instruction but on the instruction around it in the pipeline.
  • 53.
    11. Software PerformanceOptimization •Loop Optimization •Cache Optimization
  • 54.
    Loop Optimization • LoopUnrolling- It helps expose parallelism that can be used by later stages of compiler. • Loop Fusion-It combines two are more loops into a single loop. • Loop Distribution is the opposite of loop fusion that is decomposing a single loop into multiple loops. • Loop tiling breaks up a loop into a set of nested loops, with each inner loop performing the operations on a subset of the data. • Array padding adds dummy data elements to a loop in order to change the layout of the array in the cache.
  • 55.
    Dead Code Elimination •Deadcode is the code that can never be executed. Dead code elimination analyzes code for reachability and trims away dead code.
  • 56.
  • 57.
    Strength Reduction • Y= X * 2 • Can use left shift instead of multiplication by 2.
  • 58.
    Cache Optimization • Ifthe cache is too small, the program runs slowly. • If the cache is too large, the power consumption is high. • At intermediate values the execution time and power consumption are good.
  • 59.
    Program Level EnergyAnd Power Analysis And Optimization •Fast chips run hot, and controlling power consumption is an important element of increasing reliability and reducing system cost. •We may be able to replace the algorithms with others that do things in clever ways that consume less power. •By optimizing memory accesses we may be able to significantly reduce power. •We may be able to turn off parts of the system—such as subsystems of the CPU, chips in the system, and so on when we do not need them in order to save power.
  • 60.
    12. Analysis andOptimization of Program Size •The memory size of program is determined by the size of its data and instructions. Both must be considered to minimize program size. •Data depends on program size •Programs have many copies of the same data. •Eliminating duplications lead to memory utilization.
  • 61.
    13. Program Validationand Testing • Complex system need testing the ensure the system works correctly. • Breaking the problem into sub problems and analyzing each sub problems • Two types: • Black Box: generate tests without looking at the internal structure of the program. • Clear Box (White Box Test): methods generate tests based on the program structure.
  • 62.
  • 63.