РЕСПУБЛИКА КАЗАХСТАН
(19) KZ (13) A4 (11) 29914
(51) A01C 11/02 (2006.01)
МИНИСТЕРСТВО ЮСТИЦИИ РЕСПУБЛИКИ КАЗАХСТАН
ОПИСАНИЕ ИЗОБРЕТЕНИЯ
К ИННОВАЦИОННОМУ ПАТЕНТУ
(21) 2014/0593.1
(22) 28.04.2014
(45) 15.06.2015, бюл. №6
(72) Хазимов Марат Жалелович; Ганеш Чандра
Бора; Хазимов Жанат Мукатович; Хазимов Канат
Мухатович; Бекмухаметов Шабден Берикболович;
Абдильдин Нурлан Кенесбекович
(73) Республиканское государственное предприятие
на праве хозяйственного ведения "Казахский
национальный аграрный университет"
Министерства образования и науки Республики
Казахстан
(56) Патент США №4156395, 1979
(54) УСТРОЙСТВО ДЛЯ ПОДАЧИ
БРИКЕТИРОВАННОЙ РАССАДЫ В
СРЕДСТВО ДЛЯ ЕЕ ПОСАДКИ
(57) Изобретение относится к
сельскохозяйственной технике, а именно к
устройствам для подачи рассады, выращенной в
кассетах, в средство для ее посадки
рассадопосадочных машин.
Задачей изобретения является создание простого
устройства для полуавтоматической подачи
брикетированной рассады в посадочный аппарат с
использованием обычных кассет для рассады со
съемным дном.
Технический результат достигаемый
изобретением заключается в упрощении
конструкции устройства, снижении ее
металлоёмкости и использовании для обеспечения
его работы обычных кассет со съемным дном.
Устройство состоит из рамы 1 на которой
смонтированы: основной транспортер 2,
предназначенный для транспортировки
брикетированной рассады к механизму ее подачи в
средство 3 для посадки, дополнительный
транспортер 4, установленный с боку основного и
предназначенный для выгрузки на него рассады из
кассет со съемным дном, шторка 5, между ними для
передачи рассады с одного транспортера на другой.
В конце основного транспортера 2 установлен
механизм подачи брикетированной рассады в
средство для ее посадки, выполненный в виде пары
6,7 вращающихся двойных створок, каждая из
которых состоит из сбрасывающего 8 и
отсекающего 9 элементов. Узлы устройства:
основной транспортер 2, дополнительный
транспортер 3, шторка (клапан) 5, вращающиеся
створки 6,7 снабжены приводом, обеспечивающим
синхронность их работы. Это может быть
механический привод с кинематической связью
между приведенными узлами 2,4,5,6,7 или
электрический или гидравлический и их
комбинация.
(19)KZ(13)A4(11)29914
29914
Изобретение относится к сельскохозяйственной
технике, а именно к устройствам для подачи
рассады выращенной в кассетах в средства для ее
посадки рассадопосадочных машин.
Известно устройство для подачи рассады к
посадочному аппарату, содержащее раму
посадочной секции, посадочный диск с радиально
установленными рассадодержателями и
подпружиненный приемный столик для рассады
взаимодействующий с рассадодержателями.
Приемный столик выполнен из прутков, закреплен
на пружинной оси и в передней части имеет рычаг,
выполненный по форме траектории движения
рабочего конца рассадодержателя. (см. Патент РФ
на полезную модель №76543, МПК АОК 11/02,
опублик. 27.09.2008 г).
В процессе работы устройства, рассада в ручную
укладывается на приемный столик, снимается с него
рассадодержателями, переносится в зону высадки и
высаживается.
Устройство обладает определенными
недостатками:
- оно ненадежно в работе из-за сложной
кинематики взаимодействующих элементов;
- в устройстве используется ручная, поштучная
укладка рассады на приемный столик, что
ограничивает производительность устройства;
- при использовании устройства для высадки
брикетированной рассады будут разрушаться
горшочки из-за динамического взаимодействия
рассадодержателей с элементами приемного
столика.
Известно устройство барабанного типа для
подачи горшечной рассады к посадочному аппарату,
широко используемое в рассадопосадочных
машинах. Например, известна рассадопосадочная
машина содержащая раму, привод, кассетницу с
посадочным материалом, подающее устройство,
стабилизатор положения рассады, сошник и
прикатывающие колеса. Подающее устройство
представляет собой барабан с раскрывающимися
полуконусами. (см. Патент РФ №2060620, МПК
А01С11/02 опубликован 27.05.1996 г.)
В процессе работы машины рассада из
кассетницы в ручную укладывается в полуконуса
подающего устройства из которых подается в
стабилизатор рассады (высаживающий рабочий
орган) и далее в лунку или борозду.
В машине осуществляется ручная подача
брикетированной рассады из кассет в полуконуса
подающего устройства. Ручная подача ограничивает
производительность подающего устройства и
машины в целом.
Известны машины с автоматической подачей
брикетированной рассады из кассет к посадочному
аппарату. Рассадопосадочная машина с рабочим
органом для автоматической подачи
брикетированной рассады к посадочному аппарату
состоит из стеллажного устройства для кассет с
рассадой, платформы для оператора, приемного
наклонного транспортера с продольными
направляющими, выполненными по дуге
окружности в зоне выталкивания рассады из ячеек
кассеты, механизма подачи кассет возвратно-
поступательного действия, механизма выстраивания
групп рассады в равномерный поток и подачи её в
вертикальном положении в сошник.
Непосредственно подача брикетированной
рассады в посадочный аппарат осуществляется
группой механизмов включающей приемный
транспортер с продольными направляющими и
механизмом выталкивания рассады из кассет
перемещаемых транспортером, механизм
выстраивания вытолкнутых из кассет групп
брикетированной рассады в равномерный поток и
подачи её в вертикальном положении в посадочный
аппарат. Эта группа механизмов работает со
специальной гибкой кассетой для выращивания
рассады. (см. Патент США №4156395, МПК
А01C 11/02, нКл.111/3, 1979 г.)
Недостаткам этой системы механизмов подачи
брикетированной рассады в посадочный аппарат
является её сложность и материалоемкость, а также
использование специальных кассет.
Задачей изобретения является создание простого
устройства для полуавтоматической подачи
брикетированной рассады в посадочный аппарат с
использованием обычных кассет для рассады со
съемным днищем.
Технический результат достигаемым
изобретением заключается в упрощении
конструкции устройства, снижении ее
металлоемкости и использовании для обеспечения
его работы обычных кассет со съемным днищем.
Указанный технический результат достигается
внесением в известное решение ряда
конструктивных изменений. Известное устройство
для подачи рассады в средство для её посадки
содержит: основной транспортер для перемещения
рассады к механизму её подачи в средство для
посадки и механизм подачи рассады в это средство.
Новым в устройстве является то, что оно снабжено
дополнительным транспортером, установленном с
боку основного, для загрузки на него рассады из
кассет и подачи её на основной транспортер и
шторкой (клапаном) между ними; механизм подачи
брикетированной рассады выполнен в виде пары
вращающихся двойных створок, каждая из которых
состоит из сбрасывающего и отсекающего
элементов. При этом основной, дополнительный
транспортер, шторка- клапан между ними и
вращающиеся двойные створки снабжены
приводом, обеспечивающим синхронность их
работы.
На фиг.1 схематично изображено устройство для
подачи брикетированной рассады в средство для её
посадки, вид сверху, на фиг.2 тоже, вид сбоку; на
фиг.3 вид А на фиг.1; на фиг.4 вид Б на фиг.2; на
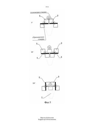
фиг.5 показан цикл подачи брикетированной
рассады в средство для её посадки.
Устройство состоит из рамы 1 на которой
смонтированы: основной транспортер 2,
предназначенный для транспортировки
брикетированной рассады к механизму ее подачи в
средство 3 для посадки, дополнительный
транспортер 4, установленный сбоку основного и
29914
предназначенный для выгрузки на него рассады из
кассет со съемным дном, шторка 5, между ними для
передачи рассады с одного транспортера на другой.
В конце основного транспортера 2 установлен
механизм подачи брикетированной рассады в
средство для ее посадки, выполненный в виде пары
6,7 вращающихся двойных створок, каждая из
которых состоит из сбрасывающего 8 и
отсекающего 9 элементов. Узлы устройства:
основной транспортер 2, дополнительный
транспортер 4, шторка (клапан) 5, вращающиеся
створки 6, 7 снабжены приводом, обеспечивающим
синхронность их работы. Это может быть
механический привод с кинематической связью
между приведенными узлами 2, 4, 5, 6, 7 или
электрический или гидравлический и их
комбинация.
Устройство работает следующим образом.
Из кассеты с брикетированной рассадой со
съемным дном рассаду выгружают на
дополнительный транспортер 4, располагая рядами
вдоль транспортера 4 (фиг.1, 2). Приводят в
движение основной транспортер 2, дополнительный
транспортер 4, двойные вращающиеся створки 6,7
состоящие из отсекающих 9 и сбрасывающих
8 элементов. Дополнительный транспортер,
перемещающийся на заданный шаг, одновременно
открывает шторку 5 и сбрасывают ряд брикетов с
рассадой на основной транспортер 2. Основной
транспортер 2 перемешает брикеты с рассадой к
вращающимся двойным створкам 6, 7, находящихся
в положении «закрыто» (фиг.5а). При подходе
брикета с рассадой к створкам 6, 7 их отсекающие
элементы 9 оказываются в положении «открыто»
(фиг.5а), а сбрасывающие элементы 8 в положении
«закрыто» и брикеты продвигаются через открытые
элементы 9 на сбрасывающие элементы 8. При
дальнейшем повороте вращающихся (фиг.5б)
створок 6, 7 сбрасывающие элементы 8, уходят из-
под брикета и он падает в средство 3 для посадки
рассады. Отсекающие элементы 9 при этом
оказываются в положении «закрыто». Далее цикл
повторяется. Таким образом в устройстве
осуществляется автоматическая подача брикетов с
рассадой в средство для посадки рассады в почву
при ручной загрузке брикетов с рассадой на
дополнительный транспортер.
Предлагаемое устройство может быть
использовано в рассадопосадочных машинах с
различными средствами для ее посадки рассады в
почву. Его использование облегчает работу
оператора рассадопосадочной машины, сокращает
число операторов на машине, повышает
производительность рассадопосадочного агрегата.
ФОРМУЛА ИЗОБРЕТЕНИЯ
Устройство для подачи брикетированной
рассады в средство для ее посадки содержащее
основной транспортер для перемещения рассады к
механизму ее подачи в средство для посадки,
отличающееся тем, что устройство снабжено
дополнительным транспортером, установленном с
боку основного, для загрузки на него рассады из
кассет и подачи на основной транспортер и шторкой
между ними; механизм подачи брикетированной
рассады выполнен в виде пары вращающихся
двойных створок, каждая из которых состоит из
отсекающего и сбрасывающего элементов, при этом
основной и дополнительный транспортеры, шторка
между ними и вращающиеся двойные створки
снабжены приводом, обеспечивающим
синхронность их работы.
29914
29914
Верстка Н.Киселева
Корректор К.Нгметжанова

29914ip

  • 1.
    РЕСПУБЛИКА КАЗАХСТАН (19) KZ(13) A4 (11) 29914 (51) A01C 11/02 (2006.01) МИНИСТЕРСТВО ЮСТИЦИИ РЕСПУБЛИКИ КАЗАХСТАН ОПИСАНИЕ ИЗОБРЕТЕНИЯ К ИННОВАЦИОННОМУ ПАТЕНТУ (21) 2014/0593.1 (22) 28.04.2014 (45) 15.06.2015, бюл. №6 (72) Хазимов Марат Жалелович; Ганеш Чандра Бора; Хазимов Жанат Мукатович; Хазимов Канат Мухатович; Бекмухаметов Шабден Берикболович; Абдильдин Нурлан Кенесбекович (73) Республиканское государственное предприятие на праве хозяйственного ведения "Казахский национальный аграрный университет" Министерства образования и науки Республики Казахстан (56) Патент США №4156395, 1979 (54) УСТРОЙСТВО ДЛЯ ПОДАЧИ БРИКЕТИРОВАННОЙ РАССАДЫ В СРЕДСТВО ДЛЯ ЕЕ ПОСАДКИ (57) Изобретение относится к сельскохозяйственной технике, а именно к устройствам для подачи рассады, выращенной в кассетах, в средство для ее посадки рассадопосадочных машин. Задачей изобретения является создание простого устройства для полуавтоматической подачи брикетированной рассады в посадочный аппарат с использованием обычных кассет для рассады со съемным дном. Технический результат достигаемый изобретением заключается в упрощении конструкции устройства, снижении ее металлоёмкости и использовании для обеспечения его работы обычных кассет со съемным дном. Устройство состоит из рамы 1 на которой смонтированы: основной транспортер 2, предназначенный для транспортировки брикетированной рассады к механизму ее подачи в средство 3 для посадки, дополнительный транспортер 4, установленный с боку основного и предназначенный для выгрузки на него рассады из кассет со съемным дном, шторка 5, между ними для передачи рассады с одного транспортера на другой. В конце основного транспортера 2 установлен механизм подачи брикетированной рассады в средство для ее посадки, выполненный в виде пары 6,7 вращающихся двойных створок, каждая из которых состоит из сбрасывающего 8 и отсекающего 9 элементов. Узлы устройства: основной транспортер 2, дополнительный транспортер 3, шторка (клапан) 5, вращающиеся створки 6,7 снабжены приводом, обеспечивающим синхронность их работы. Это может быть механический привод с кинематической связью между приведенными узлами 2,4,5,6,7 или электрический или гидравлический и их комбинация. (19)KZ(13)A4(11)29914
  • 2.
    29914 Изобретение относится ксельскохозяйственной технике, а именно к устройствам для подачи рассады выращенной в кассетах в средства для ее посадки рассадопосадочных машин. Известно устройство для подачи рассады к посадочному аппарату, содержащее раму посадочной секции, посадочный диск с радиально установленными рассадодержателями и подпружиненный приемный столик для рассады взаимодействующий с рассадодержателями. Приемный столик выполнен из прутков, закреплен на пружинной оси и в передней части имеет рычаг, выполненный по форме траектории движения рабочего конца рассадодержателя. (см. Патент РФ на полезную модель №76543, МПК АОК 11/02, опублик. 27.09.2008 г). В процессе работы устройства, рассада в ручную укладывается на приемный столик, снимается с него рассадодержателями, переносится в зону высадки и высаживается. Устройство обладает определенными недостатками: - оно ненадежно в работе из-за сложной кинематики взаимодействующих элементов; - в устройстве используется ручная, поштучная укладка рассады на приемный столик, что ограничивает производительность устройства; - при использовании устройства для высадки брикетированной рассады будут разрушаться горшочки из-за динамического взаимодействия рассадодержателей с элементами приемного столика. Известно устройство барабанного типа для подачи горшечной рассады к посадочному аппарату, широко используемое в рассадопосадочных машинах. Например, известна рассадопосадочная машина содержащая раму, привод, кассетницу с посадочным материалом, подающее устройство, стабилизатор положения рассады, сошник и прикатывающие колеса. Подающее устройство представляет собой барабан с раскрывающимися полуконусами. (см. Патент РФ №2060620, МПК А01С11/02 опубликован 27.05.1996 г.) В процессе работы машины рассада из кассетницы в ручную укладывается в полуконуса подающего устройства из которых подается в стабилизатор рассады (высаживающий рабочий орган) и далее в лунку или борозду. В машине осуществляется ручная подача брикетированной рассады из кассет в полуконуса подающего устройства. Ручная подача ограничивает производительность подающего устройства и машины в целом. Известны машины с автоматической подачей брикетированной рассады из кассет к посадочному аппарату. Рассадопосадочная машина с рабочим органом для автоматической подачи брикетированной рассады к посадочному аппарату состоит из стеллажного устройства для кассет с рассадой, платформы для оператора, приемного наклонного транспортера с продольными направляющими, выполненными по дуге окружности в зоне выталкивания рассады из ячеек кассеты, механизма подачи кассет возвратно- поступательного действия, механизма выстраивания групп рассады в равномерный поток и подачи её в вертикальном положении в сошник. Непосредственно подача брикетированной рассады в посадочный аппарат осуществляется группой механизмов включающей приемный транспортер с продольными направляющими и механизмом выталкивания рассады из кассет перемещаемых транспортером, механизм выстраивания вытолкнутых из кассет групп брикетированной рассады в равномерный поток и подачи её в вертикальном положении в посадочный аппарат. Эта группа механизмов работает со специальной гибкой кассетой для выращивания рассады. (см. Патент США №4156395, МПК А01C 11/02, нКл.111/3, 1979 г.) Недостаткам этой системы механизмов подачи брикетированной рассады в посадочный аппарат является её сложность и материалоемкость, а также использование специальных кассет. Задачей изобретения является создание простого устройства для полуавтоматической подачи брикетированной рассады в посадочный аппарат с использованием обычных кассет для рассады со съемным днищем. Технический результат достигаемым изобретением заключается в упрощении конструкции устройства, снижении ее металлоемкости и использовании для обеспечения его работы обычных кассет со съемным днищем. Указанный технический результат достигается внесением в известное решение ряда конструктивных изменений. Известное устройство для подачи рассады в средство для её посадки содержит: основной транспортер для перемещения рассады к механизму её подачи в средство для посадки и механизм подачи рассады в это средство. Новым в устройстве является то, что оно снабжено дополнительным транспортером, установленном с боку основного, для загрузки на него рассады из кассет и подачи её на основной транспортер и шторкой (клапаном) между ними; механизм подачи брикетированной рассады выполнен в виде пары вращающихся двойных створок, каждая из которых состоит из сбрасывающего и отсекающего элементов. При этом основной, дополнительный транспортер, шторка- клапан между ними и вращающиеся двойные створки снабжены приводом, обеспечивающим синхронность их работы. На фиг.1 схематично изображено устройство для подачи брикетированной рассады в средство для её посадки, вид сверху, на фиг.2 тоже, вид сбоку; на фиг.3 вид А на фиг.1; на фиг.4 вид Б на фиг.2; на фиг.5 показан цикл подачи брикетированной рассады в средство для её посадки. Устройство состоит из рамы 1 на которой смонтированы: основной транспортер 2, предназначенный для транспортировки брикетированной рассады к механизму ее подачи в средство 3 для посадки, дополнительный транспортер 4, установленный сбоку основного и
  • 3.
    29914 предназначенный для выгрузкина него рассады из кассет со съемным дном, шторка 5, между ними для передачи рассады с одного транспортера на другой. В конце основного транспортера 2 установлен механизм подачи брикетированной рассады в средство для ее посадки, выполненный в виде пары 6,7 вращающихся двойных створок, каждая из которых состоит из сбрасывающего 8 и отсекающего 9 элементов. Узлы устройства: основной транспортер 2, дополнительный транспортер 4, шторка (клапан) 5, вращающиеся створки 6, 7 снабжены приводом, обеспечивающим синхронность их работы. Это может быть механический привод с кинематической связью между приведенными узлами 2, 4, 5, 6, 7 или электрический или гидравлический и их комбинация. Устройство работает следующим образом. Из кассеты с брикетированной рассадой со съемным дном рассаду выгружают на дополнительный транспортер 4, располагая рядами вдоль транспортера 4 (фиг.1, 2). Приводят в движение основной транспортер 2, дополнительный транспортер 4, двойные вращающиеся створки 6,7 состоящие из отсекающих 9 и сбрасывающих 8 элементов. Дополнительный транспортер, перемещающийся на заданный шаг, одновременно открывает шторку 5 и сбрасывают ряд брикетов с рассадой на основной транспортер 2. Основной транспортер 2 перемешает брикеты с рассадой к вращающимся двойным створкам 6, 7, находящихся в положении «закрыто» (фиг.5а). При подходе брикета с рассадой к створкам 6, 7 их отсекающие элементы 9 оказываются в положении «открыто» (фиг.5а), а сбрасывающие элементы 8 в положении «закрыто» и брикеты продвигаются через открытые элементы 9 на сбрасывающие элементы 8. При дальнейшем повороте вращающихся (фиг.5б) створок 6, 7 сбрасывающие элементы 8, уходят из- под брикета и он падает в средство 3 для посадки рассады. Отсекающие элементы 9 при этом оказываются в положении «закрыто». Далее цикл повторяется. Таким образом в устройстве осуществляется автоматическая подача брикетов с рассадой в средство для посадки рассады в почву при ручной загрузке брикетов с рассадой на дополнительный транспортер. Предлагаемое устройство может быть использовано в рассадопосадочных машинах с различными средствами для ее посадки рассады в почву. Его использование облегчает работу оператора рассадопосадочной машины, сокращает число операторов на машине, повышает производительность рассадопосадочного агрегата. ФОРМУЛА ИЗОБРЕТЕНИЯ Устройство для подачи брикетированной рассады в средство для ее посадки содержащее основной транспортер для перемещения рассады к механизму ее подачи в средство для посадки, отличающееся тем, что устройство снабжено дополнительным транспортером, установленном с боку основного, для загрузки на него рассады из кассет и подачи на основной транспортер и шторкой между ними; механизм подачи брикетированной рассады выполнен в виде пары вращающихся двойных створок, каждая из которых состоит из отсекающего и сбрасывающего элементов, при этом основной и дополнительный транспортеры, шторка между ними и вращающиеся двойные створки снабжены приводом, обеспечивающим синхронность их работы.
  • 4.
  • 5.