HYPOTHALAMIC PITUITARY AXIS
AND ITS CLINICAL IMPLICATIONS
PRESENTED BY –Dr Manuj Shukla
MODERATOR –Dr Satish Kumar
INTRODUCTION
• Hypothalamic control of homeostasis stems from the ability of this collection of
neurons to orchestrate coordinated endocrine, autonomic, and behavioural
responses.
• Key principle –It receives sensory inputs from the external environment and
information regarding internal environment.
• The hypothalamus integrates diverse sensory and hormonal inputs and provides
coordinated responses through motor outputs to key regulatory sites.
• Hypothalamic control of the pituitary gland is an elegant system that underlies the
ability of mammals to coordinate endocrine functions that are necessary for
survival.
Anatomy –Hypothalamus
• The hypothalamus is located at the base
of the brain, below the third ventricle
and just above the optic chiasm and
pituitary gland
• The hypothalamus is bounded anteriorly
by the optic chiasm, laterally by the sulci
formed with the temporal lobes, and
posteriorly by the mammillary bodies (in
which the mammillary nuclei are
located).
• Dorsally, the hypothalamus is delineated
from the thalamus by the hypothalamic
sulcus. The smooth, rounded base of the
hypothalamus is the tuber cinereum; the
pituitary stalk descends from its central
region, which is termed the median
eminence.
• Neurosecretory cells in the hypothalamus are neurohypophysial and hypophysiotropic
cells.
Neurohypophysial cells –Magnocellular neurons of the paraventricular hypothalamic
nucleus (PVH) and supraoptic nucleus (SON). Hypophysiotropic cells –Neurons that
secrete their products into the pituitary portal vessels at the median eminence.
Anatomy –Pituitary Gland
• Pituitary gland (hypophysis) has two major parts, an anterior, epithelial lobe
or adenohypophysis, and a posterior neural lobe or neurohypophysis.
• Adenohypophysis can be subdivided into three distinct lobes, the pars distalis
(anterior lobe), pars intermedia (intermediate lobe), and pars tuberalis.
• Neurohypophysis is composed of the pars nervosa (also known as the neural
or posterior lobe), the infundibular stalk, and the median eminence.
Hypothalamic Control on Anterior Pituitary
Hypothalamic Control on Posterior Pituitary
Blood Supply
Hypothalamic neural cells synthesize specific releasing and inhibiting
hormones that are secreted directly into the portal vessels of the pituitary stalk.
Blood supply of the pituitary gland comes from the superior and inferior
hypophyseal arteries.
The hypothalamic-pituitary portal plexus provides the major blood source for
the anterior pituitary, allowing reliable transmission of hypothalamic peptide
pulses without significant systemic dilution.
The posterior pituitary is supplied by the inferior hypophyseal arteries.
In contrast to the anterior pituitary, the posterior lobe is directly innervated by
hypothalamic neurons (supraopticohypophyseal and tuberohypophyseal nerve
tracts) via the pituitary stalk.
Diagram of Blood supply of hypothalamus &
pitutary
Hormones Secreted
Other Neurotransmitters and neuromodulators secreted by hypothalamus –
• From Paraventricular nucleus :
Oxytocin ,Glutamate , Angiotensin II ,Dynorphins , Nitric Oxide , Enkephalins ,
Dopamine , Vasopressin , GABA ,etc.
• From Arcuate nucleus :
Melanocortins , Neuropeptide Y , Ghrelin , Substance P , AgRP , Opioid peptides
(Endorphins) , POMC (Pro-opiomelanocortin) , Acetylcholine , etc.
Posterior Pituitary Hormones
• Secretes ADH and oxytocin hormones synthesized in the hypothalamus released
into the neurohypophyseal capillaries that surround the gland.
• Antidiuretic hormone (ADH) -synthesized in the supraoptic nuclei.
Also known as vasopressin, acts as a water-preserving hormone.
It is released into the blood circulation to vasoconstrict and reabsorbs water from
the collecting duct in the kidney to maintain equilibrium intracellularly and
extracellularly.
• Oxytocin -synthesized in the paraventricular nuclei.
Excreted in females during the birth/pregnancy process.
Allow the uterus to contract, release milk from the breast, and is present during
ejaculation in males.
Endocrine Rhythm
• Neural structures responsible for circadian rhythms are the Suprachiasmatic
Nucleus (SCNs), paired structures in the anterior hypothalamus above the optic
chiasm.
• Most periodic changes are intrinsic -independent of the environment and driven
by biologic clock.
• Some are coordinated by external signals - light-dark changes, meal patterns,
cycles of the lunar periods, or the ratio of day length to night length.
• Pulsatile nature of hormone release from hypothalamus is critical for maintained
optimal responsiveness of the pituitary cells.
-Pulsatile secretion decreases the extent of down regulation of pituitary hormones.
-Continuous release suppresses the secretion of pituitary hormones
• GH and PRL –Maximal shortly after the onset of sleep
• Cortisol -Maximal between 2 am and 4 am.
• TSH –Lowest between 4 pm and 7 pm and maximal between 9 pm and 5 am.
• Gonadotropin -increased at night. Superimposed on the circadian cycle are
ultradian bursts of hormone secretion.
• LH –rapid, high-amplitude pulsations at night, whereas in sexually mature
individuals secretory episodes are lower in amplitude and occur throughout the
24 hours.
• Pulsatile GnRH leads to increased release of luteinizing hormone (LH) and
follicle-stimulating hormone (FSH). Continuous GnRH causes decreased LH and
FSH release.
Feedback Mechanism
• Hormonal systems form part of a feedback loop in which the controlled variable
(generally the blood hormone level or some biochemical surrogate of the
hormone) determines the rate of secretion of the hormone.
• In negative feedback systems the controlled variable inhibits hormone output, and
in positive feedback control systems it increases hormone secretion.
• Feedback control systems can be –
Closed loop –regulation entirely restricted to the interacting regulatory glands, OR
Open loop –Influenced by nervous system.
Effect of Pituitary Stalk Section
• As the pituitary stalk contains the axons of the posterior pituitary neurons, stalk
section leads to atrophy and loss of neuron function and, therefore, loss of
posterior pituitary hormones.
• While anterior pituitary, although deprived of blood from the median eminence,
continues to receive some arterial input from the inferior hypophyseal artery and,
therefore, can maintain viability and continue to respond to hypothalamic
hormones if high enough concentrations are achieved in peripheral blood.
• Serum prolactin concentrations increase after pituitary stalk division because the
lactotrophs in the anterior pituitary no longer receive inhibitory signals from the
hypothalamus.
Clinical Implications
Acromegaly and Pituitary Gigantism
• Both acromegaly and pituitary gigantism are rare disorders of growth, occurring in
anywhere between 40 to 125 per million people.
• About 95% of the cases of acromegaly and gigantism are secondary to a GH-
secreting adenoma in the pituitary gland.
• Growth hormone-releasing hormone (GHRH) secretion from a hypothalamic
adenoma or ectopic GHRH secretion from lung or pancreas neuroendocrine tumors
can also cause acromegaly.
• Pituitary gigantism occurs in adolescents and children who have growth hormone
excess before the fusion of their epiphyseal growth plates.
• Acromegaly occurs in adults who have growth hormone excess after the fusion of
their epiphyseal growth plates.
Acromegaly
• Increased size of extremities: Enlargement of
the hands and feet
• Hyperhidrosis and skin tags are present
• Acromegalic facies
• Musculoskeletal: Generalized weakness and
lethargy are common symptoms.
• Elongation of the jaw can lead to teeth
malocclusion, temporomandibular joint pain,
and a characteristic interdental separation.
• Carpal tunnel syndrome is seen in about 60%
of patients.
Gigantism
Gigantism is very rare and should be suspected
when the patient's height is 3 standard
deviations above normal mean height OR
2 standard deviations above the adjusted mean
parental height.
Explaination
The average height for men varies by country and region:
•Globally: The average height for men is 5'7.5" (171 cm).
•United States: The average height for men is 5'9".
•India: The average height for men is 5'7" (170 cm).
•Other countries: The average height for men in other countries varies,
including:
•Australia, Canada, and United Kingdom: 5'10"
•China, South Korea, and Brazil: 5'9"
•Fiji and Egypt: 5'8"
•Kenya and Mexico: 5'7"
•Afghanistan: 5'6"
•Cambodia, Indonesia, and Peru: 5'5"
Evaluation
• Biochemically -Measurement of IGF-1 level is the initial test for diagnosing
acromegaly as it is a stable molecule with a half-life of 15 hours.
Cases with elevated IGF-1 levels need to have an oral glucose tolerance test
(OGTT) with GH measurement to confirm the diagnosis of acromegaly or
gigantism.
• Imaging – Pituitary MRI :size, extent of the tumor, optic chiasmal compression,
and cavernous sinus invasion can be assessed on the MRI scan.
• Other tests:
Prolactin levels
Anterior Pituitary Hormone assessment.
Treatment
• Dopamine agonists: Cabergoline is a D2 receptor agonist that can act on the D2
receptors in somatotrophs and decrease GH secretion.
• Somatostatin receptor ligands (SRL): These mimic the action of somatostatin and
inhibit the secretion of GH.
• A second-generation somatostatin analog includes Pasireotide.
• GH receptor antagonists: The novel GH receptor antagonist pegvisomant binds to
the first binding site, preventing dimerization and post-receptor signaling.
Pegvisomant is administered at a dose of 10 to 30 mg subcutaneously every day.
• Surgical excision of the tumor is the preferred initial treatment unless the patient is
deemed unfit for surgery
• Radiation Therapy
COMPLICATIONS
Hypertension , Cardiomyopathy , Arthropathy , Colon Polyps , Hypopituitarism and
vertebral fractures.
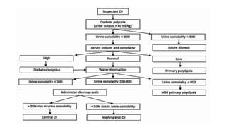
Central Diabetes Insipidus(CDI)
• Most common form of pathology secondary to low ADH secretion by the posterior
pituitary.
• Most common cause is idiopathic and is associated with the destruction of the ADH
secreting supraoptic and para-ventricular hypothalamic nuclei, most likely due to
an autoimmune process.
• Individuals with central diabetes insipidus present with polyuria, polydipsia, and
nocturia.
• These individuals can maintain their serum sodium in the high-normal range due to
the ongoing stimulation of thirst.
Treatment –
• The preferred therapy is DDAVP (Desmopressin).
• In adults, the dose is 10 mcg by nasal insufflation or 4 mcg
subcutaneously or intravenously.
• In newborns or young infants, the amount is one mcg subcutaneously
or intravenously over 20 minutes with a maximum dose of 0.4 mcg/kg.
• It is crucial to monitor hyponatremia.
Syndrome of Inappropriate Anti-Diuretic Hormone
• Occurs due to an inappropriately high serum ADH concentration in relation to
serum osmolality.
• Common causes of SIADH –
Central nervous system disorders -stroke, hemorrhage, infection, and trauma
Malignancies - small cell carcinoma of the lung
Medications -chlorpropamide, carbamazepine, cyclophosphamide, and selective
serotonin reuptake inhibitors.
Hormone administration –Vasopressin , Desmopressin and oxytocin
Hereditary SIADH
Clinical manifestations of SIADH can be due to hyponatremia and decreased ECF
osmolality-
• Earliest clinical manifestations of acute hyponatremia include nausea and malaise,
seen when the serum sodium concentration falls below 125 to 130 mEq/L
• Vomiting is an ominous sign.
• More severe and acute fall in sodium concentration, headache, lethargy,
obtundation, and eventually, seizures can occur. Coma and respiratory arrest can
occur if the serum sodium level falls below 115 to 120 mEq/L
• Chronic hyponatremia allows cerebral adaptation, and the patients remain
asymptomatic despite a serum sodium concentration below 120mmol/L.
Diagnostic Criteria
The Schwartz and Bartter Clinical Criterion
• Serum sodium less than 135mEq/L
• Serum osmolality less than 275 mOsm/kg
• Urine sodium greater than 40 mEq/L (due to ADH-mediated free water absorption
from renal collecting tubules)
• Urine osmolality greater than 100 mOsm/kg
• The absence of clinical evidence of volume depletion - normal skin turgor, blood
pressure within the reference range
• The absence of other causes of hyponatremia - adrenal insufficiency,
hypothyroidism, cardiac failure, pituitary insufficiency, renal disease with salt
wastage, hepatic disease, drugs that impair renal water excretion.
• Correction of hyponatremia by fluid restriction
Treatment
• Mild to moderate symptoms - the mainstay of the treatment is the restriction of oral
water intake with the goal of less than 800 mL/day.
• If hyponatremia is persistent, sodium chloride in the form of oral salt tablets or
intravenous saline can be given. Loop diuretics such as furosemide (20 mg twice
daily).
Rate of correction should not exceed > 8 mEq/L per 24 hours or 0.5 to 1 mEq/L per
hour.
More rapid correction can result in osmotic demyelination syndrome ("locked-in"
syndrome), causing quadriplegia.
• Vasopressin receptor antagonists -conivaptan (IV) or tolvaptan (oral) for severe
persistent SIADH -prevent ADH-mediated free water retention by antagonizing V2
receptors and correct hyponatremia.
Central Hypothyroidism
• Characterized by insufficient thyroid gland stimulation by TSH, resulting from
hypothalamic and/or pituitary dysfunction.
• Major hypothalamic causes are –
Mass lesions such as craniopharyngiomas and metastatic cancers,
Infiltrative lesions such as sarcoidosis and Langerhans cell histiocytosis,
Infections such as tuberculosis, radiation, stroke, and traumatic brain injury.
• Common cause of central hypothyroidism is a pituitary mass lesion such as a
pituitary adenoma(compresses pituitary thyrotroph cells by disrupting the
hypothalamic-pituitary portal blood flow, or by causing acute infarction).
• Clinical symptoms of hypothyroidism include lethargy, slow growth in children,
sensitivity to cold, hair loss, dry skin, constipation, sexual dysfunction, and weight
gain.
• Additional symptoms due to a possible concurrent dysregulation of other hormones
Treatment
• Principles of treatment include replacement of thyroid hormone as well as
treatment of co-existent pituitary hormone deficiencies, in particular glucocorticoid
replacement, as administration of levothyroxine in a glucocorticoid-deficient
individual may precipitate an adrenal crisis.
• Recommended initial dose of T4 (Levothyroxine)
For average term infant weighing 3–4.5 kg -10–15 μg/kg per day, or 50 μg daily,
For Elderly -around 1 mcg/kg daily
For Adults -1.6 mcg/kg daily
Functional Hypothalamic Amenorrhea
• Functional HA (FHA) is defined as HA occurring in the absence of a structural
lesion, although the terms FHA and HA are often used interchangeably.
• Caused by deficient secretion of hypothalamic gonadotrophin-releasing hormone
(GnRH), which in turn leads to failure of pituitary gonadotrophin and gonadal
steroid release.
• FHA is predominantly caused by significant weight loss, intense exercise or stress,
or a combination of such.
• The energy deficiency due to lack of adequate caloric intake in relation to exercise
levels causes decreased levels of insulin-like growth factor-1, and the high-stress
state leads to increased levels of cortisol.
• The low energy availability suppresses the hypothalamic-pituitary-ovarian axis and
diverts energy towards more vital systems.
• Consequences of HA include delayed puberty, amenorrhoea, infertility and the
effects of long-standing oestrogen deficiency on bone mineral density (BMD),
sexual and genitourinary health and potential effects on cardiovascular health.
• HA is a diagnosis of exclusion, and other important causes of amenorrhoea must
be ruled out.
• FHA is generally reversible, and usually resolves over a period of time after a
positive energy balance is restored, or the underlying stress resolves.
Treatment
• Lifestyle advice -regarding exercise/stress reduction/caloric intake.
• Psychological – Cognitive Behavioural therapy
• Hormone replacement -Combined oestrogen and progesterone for women without
menstrual recovery despite 6–12 months of nonpharmacological therapy, or in those
declining behavioural or psychological treatment.
• Assisted reproduction -Ovulation induction with exogenous gonadotrophins.
Clomiphene citrate is a selective oestrogen receptor modulator.
• Experimental treatment -Administration of twice daily recombinant leptin resulted
in ovulatory menstrual cycles in 38% of women, restored LH pulsatility and
significantly increased levels of oestradiol, IGF-1, thyroid hormone and bone-
formation markers.
Hyperprolactinemia
• Prolactin release is inhibited by the release of dopamine from the hypothalamus.
• Common causes of hyperprolactinemia include lactotroph adenomas, damage to the
dopaminergic neurons of the hypothalamus, and dopaminergic antagonist
medications such as antipsychotics.
• Symptoms:
In Pre menopausal women - infertility, headaches, oligomenorrhea, and galactorrhea.
In Post-menopausal women - rarely present with these symptoms and are only
diagnosed incidentally on head imaging or if a lactotroph adenoma grows large
enough to cause a mass effect on the optic chiasm causing visual field defects.
In men - hypogonadotropic hypogonadism, causing decreased libido, impotence,
infertility, gynecomastia, and rarely galactorrhea.
Management
• Lab Investigations -Serum prolactin - fasting mid-morning sample
Other -Thyroid function test , Renal function test , Insulin-like growth factor-1 (IGF-
1) , Adrenocorticotrophic hormone (ACTH) , Luteinizing hormone (LH) ,Follicle-
stimulating hormone (FSH) ,Testosterone/estradiol and Pregnancy test .
• Imaging - MRI of the pituitary with contrast is the preferred imaging study.
• Hook effect -falsely low concentration of prolactin.
Treatment
• Dopamine agonist therapy is recommended to decrease prolactin levels, tumor size,
and normalize gonadal function for symptomatic patients with microadenomas or
macroadenomas.
• Cabergoline and bromocriptine are commonly used dopamine agonists.
• Cabergoline is the first choice because of its efficacy and fewer side
effects. Bromocriptine is preferred during pregnancy because of more favorable
data than cabergoline.
• Surgery -Endoscopic endonasal transsphenoidal surgery is the preferred surgical
method.
Radiation therapy -Gamma knife stereotactic radiosurgery.
Hypopituitarism and Pan-hypopituitarism
• Panhypopituitarism is a type of hypopituitarism.
• Deficiency of one or multiple pituitary hormones is hypopituitarism.
• Panhypopituitarism -when there’s a deficiency in all of the pituitary hormones.
Etiology:
• Congenital – Pituitary stalk interruption syndrome , Pituitary dysplasia, Empty Sella
• Inflammatory – Tuberculosis , Lymphocytic Hypophysitis , Immunotherapy
• Infiltrative – Sarcoidosis , Hemochromatosis , Histiocytosis
• Traumatic
• Neoplastic-Pituitary adenoma , Craniopharyngioma
• Pituitary Apoplexy/ Sheehan syndrome – Medical emergency
• Pituitary stalk interruption syndrome - Characterized by triad of –
i) Thin pituitary stalk
ii) EPP gland
iii) Hypoplasia or aplasia of AP gland.
May present with either isolated GHD or Combined Pituitary Hormone Deficiency.
• Lymphocytic Hypophisitis –
Autoimmune condition ,occurs due to inflammation of the pituitary gland and/or a
sellar mass lesion with infiltration of the pituitary gland by T and B lymphocytes.
Most often in postpartum women.
• Infiltrative diseases -
Abnormal deposition of substances or immune-related processes can cause damage
and dysfunction of the pituitary gland, ultimately leading to hypopituitarism.
• Immunotherapy –
Immune checkpoint inhibitors, including cytotoxic T-lymphocytes antigen-4 (CTLA-
4), programmed cell death 1 (PD-1), and programmed cell death ligand 1 (PDL-1),
can cause hypophysitis.
Characterized by central adrenal insufficiency and rarely may lead to central
hypothyroidism or hypogonadism.
• Pituitary tumor syndromes (non functioning Pituitary adenomas)
Tumor has :
Hormonal effects – features of hormonal deficiency
Mass effect – Ophthalmoplegia , blindness ,visual field defects, headache ,
Hydrocephalus , temperature dysregulation , etc.
Stalk effect-Mass compress the portal vessels , disrupting pituitary access to
hypothalamic hormones and dopamine – hyperprolactinemia and concurrent loss of
pituitary hormones.
Pituitary apoplexy –
• Endocrine emergency
• Acute intra-pituitary hemorrhagic vascular event damaging pituitary and
surrounding sellar structures.
• It may occur-
Spontaneously in pre-existing pituitary adenoma
Postpartum –SHEEHAN Syndrome
In association with DM , HTN , Sickle cell anemia or acute Shock
• Sheehan Syndrome-
During pregnancy , hyperplastic enlargement of pituitary occurs , increasing the risk
of hemorrhage and infarction.
It leads to necrosis of the gland.
Presenting features -
• ACTH deficiency: ACTH deficiency results in adrenal insufficiency.
• TSH deficiency: TSH deficiency leads to hypothyroidism.
• Gonadotropin deficiency: Gonadotropin deficiency leads to hypogonadism.
• GH deficiency: GH deficiency in children can result in poor growth and short
stature. Although this hormonal deficiency is typically asymptomatic in adults,
some individuals may experience fatigue and weakness.
• ADH deficiency: ADH deficiency leads to diabetes insipidus, characterized by
symptoms such as polydipsia and polyuria.
Investigations-
• Initial testing involves assessing baseline levels of pituitary hormones
and hormones produced by the target glands.
• Insulin Tolerance test (ITT)– to assess deficiencies of both GH and ACTH levels.
• ACTH stimulation test – Alternate to ITT . Assesses the function of the
hypothalamic-pituitary-adrenal axis.
• Modern Combined test - Patient receives GH-releasing hormone (GHRH), cortisol-
releasing hormone (CRH), gonadotropin-releasing hormone (GnRH), and thyroid-
releasing hormone (TRH) as provocative stimuli.
The GH, TSH, ACTH, cortisol, LH, and FSH levels are measured at baseline and
specified time intervals thereafter.
(GHRH 1.0 µg/kg, CRH 1.0 µg/kg, GnRH 100 µg, and TRH 200 µg)
• Imaging – MRI with gadolinium enhancement
Treatment –
Thank you

HYPOTHALAMIC PITUITARY AXIS AND ITS CLINICAL IMPLICATIONS

  • 1.
    HYPOTHALAMIC PITUITARY AXIS ANDITS CLINICAL IMPLICATIONS PRESENTED BY –Dr Manuj Shukla MODERATOR –Dr Satish Kumar
  • 2.
    INTRODUCTION • Hypothalamic controlof homeostasis stems from the ability of this collection of neurons to orchestrate coordinated endocrine, autonomic, and behavioural responses. • Key principle –It receives sensory inputs from the external environment and information regarding internal environment. • The hypothalamus integrates diverse sensory and hormonal inputs and provides coordinated responses through motor outputs to key regulatory sites. • Hypothalamic control of the pituitary gland is an elegant system that underlies the ability of mammals to coordinate endocrine functions that are necessary for survival.
  • 3.
    Anatomy –Hypothalamus • Thehypothalamus is located at the base of the brain, below the third ventricle and just above the optic chiasm and pituitary gland • The hypothalamus is bounded anteriorly by the optic chiasm, laterally by the sulci formed with the temporal lobes, and posteriorly by the mammillary bodies (in which the mammillary nuclei are located). • Dorsally, the hypothalamus is delineated from the thalamus by the hypothalamic sulcus. The smooth, rounded base of the hypothalamus is the tuber cinereum; the pituitary stalk descends from its central region, which is termed the median eminence.
  • 5.
    • Neurosecretory cellsin the hypothalamus are neurohypophysial and hypophysiotropic cells. Neurohypophysial cells –Magnocellular neurons of the paraventricular hypothalamic nucleus (PVH) and supraoptic nucleus (SON). Hypophysiotropic cells –Neurons that secrete their products into the pituitary portal vessels at the median eminence.
  • 6.
    Anatomy –Pituitary Gland •Pituitary gland (hypophysis) has two major parts, an anterior, epithelial lobe or adenohypophysis, and a posterior neural lobe or neurohypophysis. • Adenohypophysis can be subdivided into three distinct lobes, the pars distalis (anterior lobe), pars intermedia (intermediate lobe), and pars tuberalis. • Neurohypophysis is composed of the pars nervosa (also known as the neural or posterior lobe), the infundibular stalk, and the median eminence.
  • 8.
    Hypothalamic Control onAnterior Pituitary
  • 9.
    Hypothalamic Control onPosterior Pituitary
  • 10.
    Blood Supply Hypothalamic neuralcells synthesize specific releasing and inhibiting hormones that are secreted directly into the portal vessels of the pituitary stalk. Blood supply of the pituitary gland comes from the superior and inferior hypophyseal arteries. The hypothalamic-pituitary portal plexus provides the major blood source for the anterior pituitary, allowing reliable transmission of hypothalamic peptide pulses without significant systemic dilution. The posterior pituitary is supplied by the inferior hypophyseal arteries. In contrast to the anterior pituitary, the posterior lobe is directly innervated by hypothalamic neurons (supraopticohypophyseal and tuberohypophyseal nerve tracts) via the pituitary stalk.
  • 11.
    Diagram of Bloodsupply of hypothalamus & pitutary
  • 13.
  • 14.
    Other Neurotransmitters andneuromodulators secreted by hypothalamus – • From Paraventricular nucleus : Oxytocin ,Glutamate , Angiotensin II ,Dynorphins , Nitric Oxide , Enkephalins , Dopamine , Vasopressin , GABA ,etc. • From Arcuate nucleus : Melanocortins , Neuropeptide Y , Ghrelin , Substance P , AgRP , Opioid peptides (Endorphins) , POMC (Pro-opiomelanocortin) , Acetylcholine , etc.
  • 15.
    Posterior Pituitary Hormones •Secretes ADH and oxytocin hormones synthesized in the hypothalamus released into the neurohypophyseal capillaries that surround the gland. • Antidiuretic hormone (ADH) -synthesized in the supraoptic nuclei. Also known as vasopressin, acts as a water-preserving hormone. It is released into the blood circulation to vasoconstrict and reabsorbs water from the collecting duct in the kidney to maintain equilibrium intracellularly and extracellularly. • Oxytocin -synthesized in the paraventricular nuclei. Excreted in females during the birth/pregnancy process. Allow the uterus to contract, release milk from the breast, and is present during ejaculation in males.
  • 16.
    Endocrine Rhythm • Neuralstructures responsible for circadian rhythms are the Suprachiasmatic Nucleus (SCNs), paired structures in the anterior hypothalamus above the optic chiasm. • Most periodic changes are intrinsic -independent of the environment and driven by biologic clock. • Some are coordinated by external signals - light-dark changes, meal patterns, cycles of the lunar periods, or the ratio of day length to night length. • Pulsatile nature of hormone release from hypothalamus is critical for maintained optimal responsiveness of the pituitary cells. -Pulsatile secretion decreases the extent of down regulation of pituitary hormones. -Continuous release suppresses the secretion of pituitary hormones
  • 17.
    • GH andPRL –Maximal shortly after the onset of sleep • Cortisol -Maximal between 2 am and 4 am. • TSH –Lowest between 4 pm and 7 pm and maximal between 9 pm and 5 am. • Gonadotropin -increased at night. Superimposed on the circadian cycle are ultradian bursts of hormone secretion. • LH –rapid, high-amplitude pulsations at night, whereas in sexually mature individuals secretory episodes are lower in amplitude and occur throughout the 24 hours. • Pulsatile GnRH leads to increased release of luteinizing hormone (LH) and follicle-stimulating hormone (FSH). Continuous GnRH causes decreased LH and FSH release.
  • 18.
    Feedback Mechanism • Hormonalsystems form part of a feedback loop in which the controlled variable (generally the blood hormone level or some biochemical surrogate of the hormone) determines the rate of secretion of the hormone. • In negative feedback systems the controlled variable inhibits hormone output, and in positive feedback control systems it increases hormone secretion. • Feedback control systems can be – Closed loop –regulation entirely restricted to the interacting regulatory glands, OR Open loop –Influenced by nervous system.
  • 20.
    Effect of PituitaryStalk Section • As the pituitary stalk contains the axons of the posterior pituitary neurons, stalk section leads to atrophy and loss of neuron function and, therefore, loss of posterior pituitary hormones. • While anterior pituitary, although deprived of blood from the median eminence, continues to receive some arterial input from the inferior hypophyseal artery and, therefore, can maintain viability and continue to respond to hypothalamic hormones if high enough concentrations are achieved in peripheral blood. • Serum prolactin concentrations increase after pituitary stalk division because the lactotrophs in the anterior pituitary no longer receive inhibitory signals from the hypothalamus.
  • 21.
  • 22.
    Acromegaly and PituitaryGigantism • Both acromegaly and pituitary gigantism are rare disorders of growth, occurring in anywhere between 40 to 125 per million people. • About 95% of the cases of acromegaly and gigantism are secondary to a GH- secreting adenoma in the pituitary gland. • Growth hormone-releasing hormone (GHRH) secretion from a hypothalamic adenoma or ectopic GHRH secretion from lung or pancreas neuroendocrine tumors can also cause acromegaly. • Pituitary gigantism occurs in adolescents and children who have growth hormone excess before the fusion of their epiphyseal growth plates. • Acromegaly occurs in adults who have growth hormone excess after the fusion of their epiphyseal growth plates.
  • 23.
    Acromegaly • Increased sizeof extremities: Enlargement of the hands and feet • Hyperhidrosis and skin tags are present • Acromegalic facies • Musculoskeletal: Generalized weakness and lethargy are common symptoms. • Elongation of the jaw can lead to teeth malocclusion, temporomandibular joint pain, and a characteristic interdental separation. • Carpal tunnel syndrome is seen in about 60% of patients.
  • 24.
    Gigantism Gigantism is veryrare and should be suspected when the patient's height is 3 standard deviations above normal mean height OR 2 standard deviations above the adjusted mean parental height.
  • 25.
    Explaination The average heightfor men varies by country and region: •Globally: The average height for men is 5'7.5" (171 cm). •United States: The average height for men is 5'9". •India: The average height for men is 5'7" (170 cm). •Other countries: The average height for men in other countries varies, including: •Australia, Canada, and United Kingdom: 5'10" •China, South Korea, and Brazil: 5'9" •Fiji and Egypt: 5'8" •Kenya and Mexico: 5'7" •Afghanistan: 5'6" •Cambodia, Indonesia, and Peru: 5'5"
  • 26.
    Evaluation • Biochemically -Measurementof IGF-1 level is the initial test for diagnosing acromegaly as it is a stable molecule with a half-life of 15 hours. Cases with elevated IGF-1 levels need to have an oral glucose tolerance test (OGTT) with GH measurement to confirm the diagnosis of acromegaly or gigantism. • Imaging – Pituitary MRI :size, extent of the tumor, optic chiasmal compression, and cavernous sinus invasion can be assessed on the MRI scan. • Other tests: Prolactin levels Anterior Pituitary Hormone assessment.
  • 27.
    Treatment • Dopamine agonists:Cabergoline is a D2 receptor agonist that can act on the D2 receptors in somatotrophs and decrease GH secretion. • Somatostatin receptor ligands (SRL): These mimic the action of somatostatin and inhibit the secretion of GH. • A second-generation somatostatin analog includes Pasireotide.
  • 28.
    • GH receptorantagonists: The novel GH receptor antagonist pegvisomant binds to the first binding site, preventing dimerization and post-receptor signaling. Pegvisomant is administered at a dose of 10 to 30 mg subcutaneously every day. • Surgical excision of the tumor is the preferred initial treatment unless the patient is deemed unfit for surgery • Radiation Therapy COMPLICATIONS Hypertension , Cardiomyopathy , Arthropathy , Colon Polyps , Hypopituitarism and vertebral fractures.
  • 29.
    Central Diabetes Insipidus(CDI) •Most common form of pathology secondary to low ADH secretion by the posterior pituitary. • Most common cause is idiopathic and is associated with the destruction of the ADH secreting supraoptic and para-ventricular hypothalamic nuclei, most likely due to an autoimmune process. • Individuals with central diabetes insipidus present with polyuria, polydipsia, and nocturia. • These individuals can maintain their serum sodium in the high-normal range due to the ongoing stimulation of thirst.
  • 31.
    Treatment – • Thepreferred therapy is DDAVP (Desmopressin). • In adults, the dose is 10 mcg by nasal insufflation or 4 mcg subcutaneously or intravenously. • In newborns or young infants, the amount is one mcg subcutaneously or intravenously over 20 minutes with a maximum dose of 0.4 mcg/kg. • It is crucial to monitor hyponatremia.
  • 32.
    Syndrome of InappropriateAnti-Diuretic Hormone • Occurs due to an inappropriately high serum ADH concentration in relation to serum osmolality. • Common causes of SIADH – Central nervous system disorders -stroke, hemorrhage, infection, and trauma Malignancies - small cell carcinoma of the lung Medications -chlorpropamide, carbamazepine, cyclophosphamide, and selective serotonin reuptake inhibitors. Hormone administration –Vasopressin , Desmopressin and oxytocin Hereditary SIADH
  • 33.
    Clinical manifestations ofSIADH can be due to hyponatremia and decreased ECF osmolality- • Earliest clinical manifestations of acute hyponatremia include nausea and malaise, seen when the serum sodium concentration falls below 125 to 130 mEq/L • Vomiting is an ominous sign. • More severe and acute fall in sodium concentration, headache, lethargy, obtundation, and eventually, seizures can occur. Coma and respiratory arrest can occur if the serum sodium level falls below 115 to 120 mEq/L • Chronic hyponatremia allows cerebral adaptation, and the patients remain asymptomatic despite a serum sodium concentration below 120mmol/L.
  • 34.
    Diagnostic Criteria The Schwartzand Bartter Clinical Criterion • Serum sodium less than 135mEq/L • Serum osmolality less than 275 mOsm/kg • Urine sodium greater than 40 mEq/L (due to ADH-mediated free water absorption from renal collecting tubules) • Urine osmolality greater than 100 mOsm/kg • The absence of clinical evidence of volume depletion - normal skin turgor, blood pressure within the reference range • The absence of other causes of hyponatremia - adrenal insufficiency, hypothyroidism, cardiac failure, pituitary insufficiency, renal disease with salt wastage, hepatic disease, drugs that impair renal water excretion. • Correction of hyponatremia by fluid restriction
  • 35.
    Treatment • Mild tomoderate symptoms - the mainstay of the treatment is the restriction of oral water intake with the goal of less than 800 mL/day. • If hyponatremia is persistent, sodium chloride in the form of oral salt tablets or intravenous saline can be given. Loop diuretics such as furosemide (20 mg twice daily). Rate of correction should not exceed > 8 mEq/L per 24 hours or 0.5 to 1 mEq/L per hour. More rapid correction can result in osmotic demyelination syndrome ("locked-in" syndrome), causing quadriplegia. • Vasopressin receptor antagonists -conivaptan (IV) or tolvaptan (oral) for severe persistent SIADH -prevent ADH-mediated free water retention by antagonizing V2 receptors and correct hyponatremia.
  • 36.
    Central Hypothyroidism • Characterizedby insufficient thyroid gland stimulation by TSH, resulting from hypothalamic and/or pituitary dysfunction. • Major hypothalamic causes are – Mass lesions such as craniopharyngiomas and metastatic cancers, Infiltrative lesions such as sarcoidosis and Langerhans cell histiocytosis, Infections such as tuberculosis, radiation, stroke, and traumatic brain injury. • Common cause of central hypothyroidism is a pituitary mass lesion such as a pituitary adenoma(compresses pituitary thyrotroph cells by disrupting the hypothalamic-pituitary portal blood flow, or by causing acute infarction).
  • 37.
    • Clinical symptomsof hypothyroidism include lethargy, slow growth in children, sensitivity to cold, hair loss, dry skin, constipation, sexual dysfunction, and weight gain. • Additional symptoms due to a possible concurrent dysregulation of other hormones Treatment • Principles of treatment include replacement of thyroid hormone as well as treatment of co-existent pituitary hormone deficiencies, in particular glucocorticoid replacement, as administration of levothyroxine in a glucocorticoid-deficient individual may precipitate an adrenal crisis. • Recommended initial dose of T4 (Levothyroxine) For average term infant weighing 3–4.5 kg -10–15 μg/kg per day, or 50 μg daily, For Elderly -around 1 mcg/kg daily For Adults -1.6 mcg/kg daily
  • 38.
    Functional Hypothalamic Amenorrhea •Functional HA (FHA) is defined as HA occurring in the absence of a structural lesion, although the terms FHA and HA are often used interchangeably. • Caused by deficient secretion of hypothalamic gonadotrophin-releasing hormone (GnRH), which in turn leads to failure of pituitary gonadotrophin and gonadal steroid release. • FHA is predominantly caused by significant weight loss, intense exercise or stress, or a combination of such. • The energy deficiency due to lack of adequate caloric intake in relation to exercise levels causes decreased levels of insulin-like growth factor-1, and the high-stress state leads to increased levels of cortisol. • The low energy availability suppresses the hypothalamic-pituitary-ovarian axis and diverts energy towards more vital systems.
  • 39.
    • Consequences ofHA include delayed puberty, amenorrhoea, infertility and the effects of long-standing oestrogen deficiency on bone mineral density (BMD), sexual and genitourinary health and potential effects on cardiovascular health. • HA is a diagnosis of exclusion, and other important causes of amenorrhoea must be ruled out. • FHA is generally reversible, and usually resolves over a period of time after a positive energy balance is restored, or the underlying stress resolves.
  • 40.
    Treatment • Lifestyle advice-regarding exercise/stress reduction/caloric intake. • Psychological – Cognitive Behavioural therapy • Hormone replacement -Combined oestrogen and progesterone for women without menstrual recovery despite 6–12 months of nonpharmacological therapy, or in those declining behavioural or psychological treatment. • Assisted reproduction -Ovulation induction with exogenous gonadotrophins. Clomiphene citrate is a selective oestrogen receptor modulator. • Experimental treatment -Administration of twice daily recombinant leptin resulted in ovulatory menstrual cycles in 38% of women, restored LH pulsatility and significantly increased levels of oestradiol, IGF-1, thyroid hormone and bone- formation markers.
  • 41.
    Hyperprolactinemia • Prolactin releaseis inhibited by the release of dopamine from the hypothalamus. • Common causes of hyperprolactinemia include lactotroph adenomas, damage to the dopaminergic neurons of the hypothalamus, and dopaminergic antagonist medications such as antipsychotics. • Symptoms: In Pre menopausal women - infertility, headaches, oligomenorrhea, and galactorrhea. In Post-menopausal women - rarely present with these symptoms and are only diagnosed incidentally on head imaging or if a lactotroph adenoma grows large enough to cause a mass effect on the optic chiasm causing visual field defects. In men - hypogonadotropic hypogonadism, causing decreased libido, impotence, infertility, gynecomastia, and rarely galactorrhea.
  • 42.
    Management • Lab Investigations-Serum prolactin - fasting mid-morning sample Other -Thyroid function test , Renal function test , Insulin-like growth factor-1 (IGF- 1) , Adrenocorticotrophic hormone (ACTH) , Luteinizing hormone (LH) ,Follicle- stimulating hormone (FSH) ,Testosterone/estradiol and Pregnancy test . • Imaging - MRI of the pituitary with contrast is the preferred imaging study. • Hook effect -falsely low concentration of prolactin.
  • 43.
    Treatment • Dopamine agonisttherapy is recommended to decrease prolactin levels, tumor size, and normalize gonadal function for symptomatic patients with microadenomas or macroadenomas. • Cabergoline and bromocriptine are commonly used dopamine agonists. • Cabergoline is the first choice because of its efficacy and fewer side effects. Bromocriptine is preferred during pregnancy because of more favorable data than cabergoline. • Surgery -Endoscopic endonasal transsphenoidal surgery is the preferred surgical method. Radiation therapy -Gamma knife stereotactic radiosurgery.
  • 44.
    Hypopituitarism and Pan-hypopituitarism •Panhypopituitarism is a type of hypopituitarism. • Deficiency of one or multiple pituitary hormones is hypopituitarism. • Panhypopituitarism -when there’s a deficiency in all of the pituitary hormones. Etiology: • Congenital – Pituitary stalk interruption syndrome , Pituitary dysplasia, Empty Sella • Inflammatory – Tuberculosis , Lymphocytic Hypophysitis , Immunotherapy • Infiltrative – Sarcoidosis , Hemochromatosis , Histiocytosis • Traumatic • Neoplastic-Pituitary adenoma , Craniopharyngioma • Pituitary Apoplexy/ Sheehan syndrome – Medical emergency
  • 45.
    • Pituitary stalkinterruption syndrome - Characterized by triad of – i) Thin pituitary stalk ii) EPP gland iii) Hypoplasia or aplasia of AP gland. May present with either isolated GHD or Combined Pituitary Hormone Deficiency. • Lymphocytic Hypophisitis – Autoimmune condition ,occurs due to inflammation of the pituitary gland and/or a sellar mass lesion with infiltration of the pituitary gland by T and B lymphocytes. Most often in postpartum women.
  • 46.
    • Infiltrative diseases- Abnormal deposition of substances or immune-related processes can cause damage and dysfunction of the pituitary gland, ultimately leading to hypopituitarism. • Immunotherapy – Immune checkpoint inhibitors, including cytotoxic T-lymphocytes antigen-4 (CTLA- 4), programmed cell death 1 (PD-1), and programmed cell death ligand 1 (PDL-1), can cause hypophysitis. Characterized by central adrenal insufficiency and rarely may lead to central hypothyroidism or hypogonadism.
  • 47.
    • Pituitary tumorsyndromes (non functioning Pituitary adenomas) Tumor has : Hormonal effects – features of hormonal deficiency Mass effect – Ophthalmoplegia , blindness ,visual field defects, headache , Hydrocephalus , temperature dysregulation , etc. Stalk effect-Mass compress the portal vessels , disrupting pituitary access to hypothalamic hormones and dopamine – hyperprolactinemia and concurrent loss of pituitary hormones.
  • 48.
    Pituitary apoplexy – •Endocrine emergency • Acute intra-pituitary hemorrhagic vascular event damaging pituitary and surrounding sellar structures. • It may occur- Spontaneously in pre-existing pituitary adenoma Postpartum –SHEEHAN Syndrome In association with DM , HTN , Sickle cell anemia or acute Shock • Sheehan Syndrome- During pregnancy , hyperplastic enlargement of pituitary occurs , increasing the risk of hemorrhage and infarction. It leads to necrosis of the gland.
  • 49.
    Presenting features - •ACTH deficiency: ACTH deficiency results in adrenal insufficiency. • TSH deficiency: TSH deficiency leads to hypothyroidism. • Gonadotropin deficiency: Gonadotropin deficiency leads to hypogonadism. • GH deficiency: GH deficiency in children can result in poor growth and short stature. Although this hormonal deficiency is typically asymptomatic in adults, some individuals may experience fatigue and weakness. • ADH deficiency: ADH deficiency leads to diabetes insipidus, characterized by symptoms such as polydipsia and polyuria.
  • 50.
    Investigations- • Initial testinginvolves assessing baseline levels of pituitary hormones and hormones produced by the target glands. • Insulin Tolerance test (ITT)– to assess deficiencies of both GH and ACTH levels. • ACTH stimulation test – Alternate to ITT . Assesses the function of the hypothalamic-pituitary-adrenal axis. • Modern Combined test - Patient receives GH-releasing hormone (GHRH), cortisol- releasing hormone (CRH), gonadotropin-releasing hormone (GnRH), and thyroid- releasing hormone (TRH) as provocative stimuli. The GH, TSH, ACTH, cortisol, LH, and FSH levels are measured at baseline and specified time intervals thereafter. (GHRH 1.0 µg/kg, CRH 1.0 µg/kg, GnRH 100 µg, and TRH 200 µg) • Imaging – MRI with gadolinium enhancement
  • 51.
  • 52.

Editor's Notes

  • #2 external environment (e.g., light, nociception, temperature, odorants) internal environment (e.g., blood pressure, blood osmolality, blood glucose levels). key regulatory sites - anterior pituitary gland, posterior pituitary gland, cerebral cortex, premotor and motor neurons in the brainstem and spinal cord, limbic system structures (including the amygdala, septum, hippocampus, and thalamic nuclei), and parasympathetic and sympathetic preganglionic neurons
  • #6 with the pars distalis making up the bulk of the anterior pituitary and containing all of the hormone-secreting cells of the adenohypophysis.
  • #10 Thus, posterior pituitary production of vasopressin (antidiuretic hormone [ADH]) and oxytocin is particularly sensitive to neuronal damage by lesions that affect the pituitary stalk or hypothalamus.
  • #23 Acromegalic facies -Prominent supraorbital ridge, broad nose, acne, large lips, overbite, prognathism, tongue enlargement, and coarsening of facial features form the characteristic acromegalic facies. 
  • #26  False-positive IGF-1 levels can be seen in pregnancy and adolescence, and false-negative levels may be seen with estrogen therapy. Furthermore, hepatic failure, renal failure, hypothyroidism, malnutrition, sepsis, and poorly controlled diabetes mellitus can also influence IGF-1 levels. 
  • #27 Side effects of cabergoline include dizziness, nausea, vomiting, and postural hypotension  The primary role of SRL is as an adjunct to radiation after surgery Side effects of SRL include abdominal pain, nausea, flatulence, diarrhea, and hyperglycemia.
  • #28 GH binds to its receptor on two different sites and induces dimerization, activating the post-receptor signaling mechanisms. IGF-1 and GH levels need to be measured 12 weeks after surgery. The goal is a normalization of IGF-1 and an undetectable GH level
  • #29  If their thirst is impaired or cannot be expressed, such as in children and patients with central nervous system (CNS) lesions, they will also present with hypernatremia.
  • #32 causes the water to move into the cells causing cerebral edema Signs and symptoms depend upon the rate and severity of hyponatremia and the degree of cerebral edema.
  • #35 Solution with an electrolyte concentration greater than the urine electrolyte concentration must be used (3% saline)
  • #39 These include polycystic ovarian syndrome (PCOS), premature ovarian insufficiency (which may have a genetic cause, such as Turner’s syndrome), uterine abnormalities (congenital, Asherman’s syndrome), endocrine disorders (thyroid dysfunction, Cushing’s syndrome), hyperprolactinaemia, Sheehan’s syndrome (hypopituitarism secondary to major obstetric haemorrhage) and pituitary tumours.
  • #41 Therefore, any condition that decreases the release of dopamine leads to an uninhibited excess of prolactin secretion by the lactotroph cells of the pituitary gland. Post-menopausal women are already hypogonadal and hypoestrogenic; therefore, they rarely present with these symptoms
  • #42 The peak level of prolactin is usually between 4 AM and 7 AM
  • #43 Cabergoline has a long duration of action than bromocriptine and is administered once or twice a week. Bromocriptine is administered once daily. Common side effects are nausea, vomiting, nasal stiffness, digital vasospasm, depression, and postural hypotension. High doses of dopamine agonists are associated with a risk of heart valve regurgitation
  • #46 hormonal alterations can persist even after discontinuing the medication, frequently resulting in permanent changes.
  • #47 Visual field defects – bitemporal hemianopia , scotoma.
  • #49 Adrenal insufficiency: Common symptoms include fatigue and postural hypotension. Hypothyroidism: Symptoms may include a small and soft thyroid gland, dry and coarse skin, hair thinning and alopecia, delayed tendon reflexes, cold skin with reduced sweating, and non-pitting type edema. Hypogonadism: In men, this condition can manifest as small and atrophied testes, whereas in women, it may lead to the loss of axillary and pubic hair. Diabetes insipidus: Symptoms include hypernatremia, polyuria, and diluted urine.
  • #51 Corticosteroid replacement should be initiated before the thyroid hormone replacement to prevent the risk of precipitating an adrenal crisis.