3D IMAGE GENERATION USING ADSP
The DSP processors are commonly used to handle the image
data, where the image has to be processed digitally and
accurately, such as the application like scanning systems in Bio-
medial Field.

The processor has powerful instruction sets and most of the
instructions are one cycle execution. So that the result can be
obtained much faster and efficient, which is required for Analog
signal processing.

In this project, we are generating a 3D image using ADSP (DSP)
processor. The generated Image can be rotated in 3-axis (X,Y &
Z) using flexibility of the assembly instruction set of the processor.

Initially we draw the Image in a graph sheet and take X,Y co-
ordinates of the image. This data will be input to our systems

This can be obtained from the sensor used for scanning in Real
time

The Software is developed such that it can take these data and
generates the X & Y deflection signal.

The hardware has a DSP with Boot memory. The developed
firmware will be loaded in EPROM and it will be configured as
Boot memory for DSP.

On reset the Processor loads the data (program) from the Boot
memory to its internal Program memory and starts executing the
Program.

Two DACs (Digital to Analog Converter) are used to control the X
& Y deflection of CRT. So the software controls these two DACs
and generates the Image in CRT.

We can also use a CRO as CRT in X-Y mode. The signal given to
the Channel1 of CRO may deflect the dot X-direction and
Channel2 for Y-direction.
ADSP
Adaptive Digital Signal Processing; exclusive to SGC, a DSP
technology which processes the signal to eliminate unwanted
noise and improve incoming signal


DSP
DSP stands for Digital Signal Processor. DSP chips are widely
used in sound cards, fax machines, modems, cellular phones,
high-capacity hard disks and digital TVs
DSP chips are used in sound cards for recording and playback
and speech synthesis. Other audio uses are amplifiers that
simulate concert halls and surround-sound effects for music and
home theater
Digital Signal Processing uses mathmatics to operate on a digital
signal (such as a digital audio stream) to generate some type of
altered output. DSP is used heavily in software and hardware
effects processing.
DSP chips are found on an increasing number of sound cards to
provide extra audio processing power and help relieve the
computers CPU of this type of work, much like a 3D graphics
accelerator would for rendering 3D graphics
3D IMAGE GENERATION USING ADSP


         BLOCK DIAGRAM




                        DAC 1   TO CRO
 BOOT                    8Bit    CH1
MEMORY
            PROCESSOR
               ADSP




                                 TO CRO
                        DAC 2     CH2
 DATA
                         8Bit
MEMORY
ADAPTIVE FILTER IMPLEMENTATION
The aim of the project is to develop a digital system to perform adaptive
filtering of analog signals.
Adaptive filters are used to accomplish a variety of applications,
including
1. Echo cancellation in Voice or Data signals.
2. Noise cancellation in Speech, Audio and Biomedical signal
    processing.
3. Channel equalizations in Data communication to minimize the effect
    of intersymbol interference

BASICS OF ADAPTIVE DIGITAL FILTERS
Adaptive filter can be implemented from the FIR filters. Normally, in FIR
filters, the filter coefficients are constant. But in the adaptive FIR filters,
the filter coefficients are adjusted to minimize the errors.
Thus when we employ adaptive filter for echo cancellation, the FIR filter
coefficients are adjusted in every cycle to remove the echo from the
input. Adaptive filters can be implemented using the least Mean-square
(LMS) algorithm.

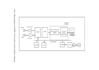
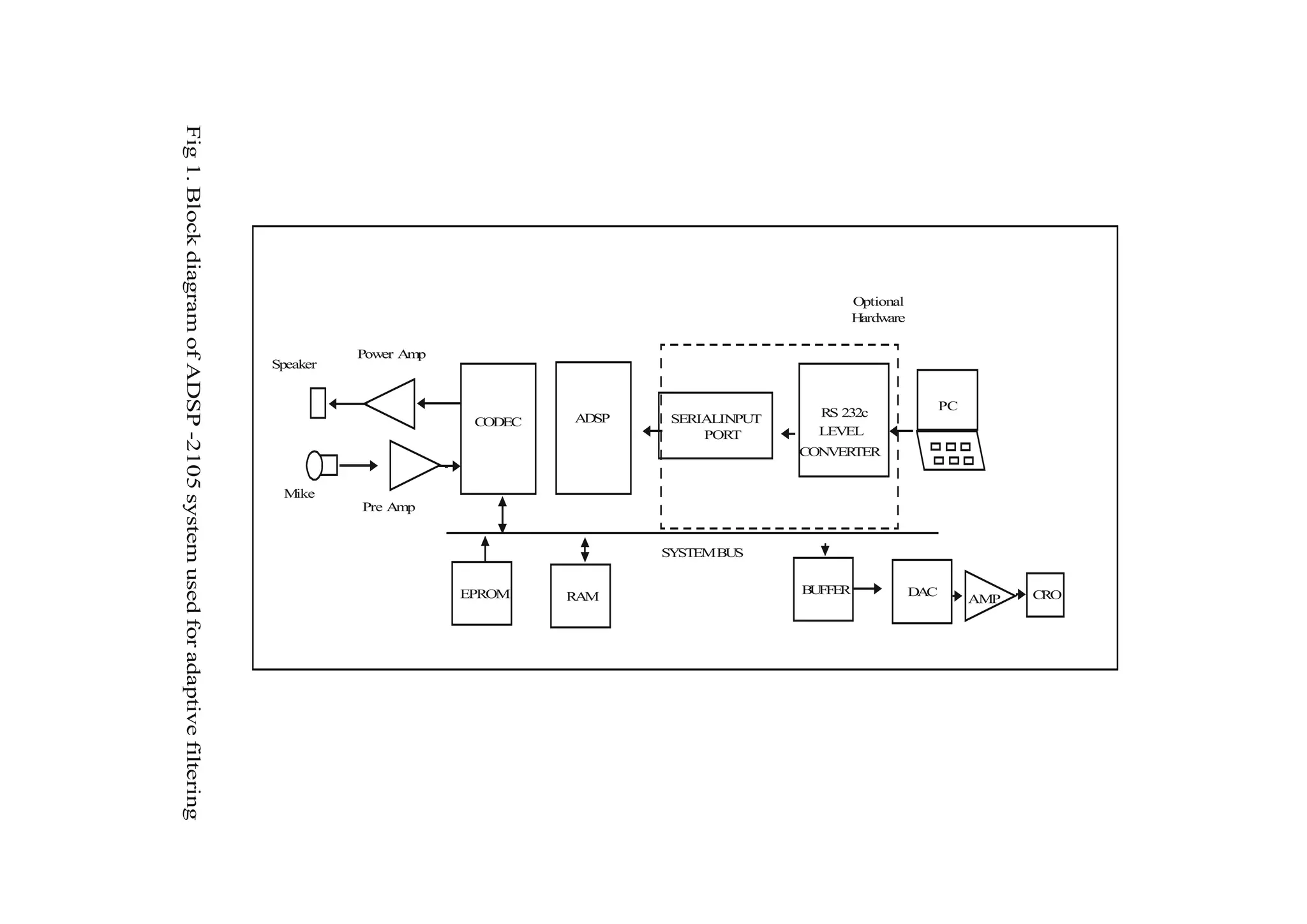
HARDWARE
The block diagram of ADSP system used for adaptive filtering is shown
in Fig.1. The system consists of ADSP as CPU, CODEC, EPROM,
RAM, Amplifier circuits, MIC and speaker. The CODEC has been used
for analog input and output.
The CODEC has been interfaced to ADSP through its serial port. The
optional hardware includes PC interfacing circuit consisting of serial
Input port and RS 232 level converter. The additional serial Input port
have been developed using buffer.

FUNCTIONING
The analog input signal from MIC are amplified and fed to CODEC. The
CODEC converts the analog signal into digital data and transfer the
data to DSP microprocessor.
The processor adds echo to the input and it will output the signal with
echo to the speaker.
The signal with echo can be stored in memory and then adaptive filter
can be introduced so as to remove the echo from the input signal.
After introducing the adaptive filter, we can hear that the echo is slowly
removed.
The adaptive filter coefficients are also output to CODEC which
converts the digital filter coefficients to analog and they can be viewed
on the CRO.

APPLICATIONS OF ADAPTIVE FILTER
    Digital Audio
    Digital Graphical Equalizer
    Noise removal
    High Speed Modems
    Noise removal in ECG signals


ADSP
Adaptive Digital Signal Processing; exclusive to SGC, a DSP
technology which processes the signal to eliminate unwanted noise
and improve incoming signal


DSP
DSP stands for Digital Signal Processor. DSP chips are widely used in
sound cards, fax machines, modems, cellular phones, high-capacity
hard disks and digital TVs
DSP chips are used in sound cards for recording and playback and
speech synthesis. Other audio uses are amplifiers that simulate
concert halls and surround-sound effects for music and home theater
Digital Signal Processing uses mathmatics to operate on a digital
signal (such as a digital audio stream) to generate some type of
altered output. DSP is used heavily in software and hardware effects
processing.
DSP chips are found on an increasing number of sound cards to
provide extra audio processing power and help relieve the computers
CPU of this type of work, much like a 3D graphics accelerator would
for rendering 3D graphics
Fig 1. Block diagram of ADSP -2105 system used for adaptive filtering




                                                                                                                                      Optional
                                                                                                                                      Hardware

                                                                                  Power Amp
                                                                        Speaker


                                                                                                                                                       PC
                                                                                                       ADSP     SERIALINPUT     RS 232c
                                                                                               CODEC
                                                                                                                    PORT        LEVEL
                                                                                                       -2105
                                                                                                                              CONVERTER


                                                                         Mike
                                                                                  Pre Amp


                                                                                                               SYSTEM BUS


                                                                                              EPROM                           B FFE
                                                                                                                               U R               DAC              CRO
                                                                                                       RAM                                                  AMP
DTMF GENERATION AND
           DETECTION
The aim of the project is to develop a digital system for generation and
detection of DTMF tones. The DTMF (Dual Tone Multifrequency) are used
in Modern push button telephones.
The push button telephones are replacing the conventional dial-pulse
signaling in telephone networks worldwide.


PRINCIPLE
The DTMF tones are sinusoid signals of standard frequencies defined by
CCITT (Consultative Committee for International Telephones and
Telegraphy).
In push-button telephones, for each digit, two tones are assigned. One
tone is chosen out of 4 Row tones and the other is chosen out of 4 column
tones.
By this combination, 16 different DTMF digits can be formed as
shown in figure below.




The DTMF tones can be easily generated or detected using DSP
microprocessor based system.
DTMF tones can be generated using function generation programs and
DTMF tones can be detected by performing FFT analysis of the signals.
The FFT of a signal will give the frequency components of the signal and
from the knowledge of frequency component, the DTMF digit can be
identified.


HARDWARE
                    BLOCK DIAGRAM OF ADSP
             DTMF GENERATION AND DETECTION




The system consists of ADSP-2105 as CPU, CODEC, EPROM, RAM,
Amplifier circuits, MIC and speaker. The CODEC has been used for
analog input and output, the CODEC has been interfaced to ADSP-2105
through its serial port.
The optional hardware includes PC interfacing circuit consisting of serial
Input port and RS 232 level converter. The additional serial Input port
have been developed using buffer.


FUNCTIONING
1. Generation
   The generation program can be permanently stored on EPROM. The
   program can be executed using the INTERRUPT key and on pressing
   the interrupt key each time, the tones of different frequencies are
   generated one by one.
   For generation of each tone, the processor determines the digital
   signal using function approximation technique and output to CODEC.
   The CODEC converts the digital signal to analog signal, which is
   amplified, and output to the speaker.
2. Detection
   For detection of DTMF tones, the DTMF detection program is
   permanently stored in another EPROM. The tone to be detected is
   input to the system through CODEC.
   The CODEC digitizes the analog signal and send the digital signal to
   ADSP-2105. The processor performs FFT operation on the signal to
   determine the frequency spectrum of the signal.
   The spectrum is output to CRO through DAC and viewed on the screen
   of CRO. From the knowledge of frequency spectrum, the input DTMF
   tone can be identified.


APPLICATIONS
     DTMF is popular in interactive control applications like
1. Telephone banking
2. Electronic Mail system
3. Interactive Telephone Answering systems
4. Railway Reservation system.


ADSP
Adaptive Digital Signal Processing; exclusive to SGC, a DSP technology
which processes the signal to eliminate unwanted noise and improve
incoming signal


DSP
DSP stands for Digital Signal Processor. DSP chips are widely used in sound
cards, fax machines, modems, cellular phones, high-capacity hard disks and
digital TVs. DSP chips are used in sound cards for recording and playback and
speech synthesis. Other audio uses are amplifiers that simulate concert halls
and surround-sound effects for music and home theater
Digital Signal Processing uses mathmatics to operate on a digital signal
(such as a digital audio stream) to generate some type of altered output.
DSP is used heavily in software and hardware effects processing.
DSP chips are found on an increasing number of sound cards to provide
extra audio processing power and help relieve the computers CPU of this
type of work, much like a 3D graphics accelerator would for rendering 3D
graphics
FFT/ SPECTRUM ANALYSER/
 HARMONIC ANALYSER / FREQUENCY
          MEASUREMENT

The aim of the project is to develop a low cost spectrum analyser
using the DSP processor ADSP. The spectrum can be viewed on the
CRO.


Principle
Any analog signal is a mixture of a number of sinusoidal signals of various
frequencies. The various sinusoidal component frequencies of a signal is
called a spectrum.
A sinusoidal signal is a      complex quantity and so it has magnitude and
phase. Hence frequency        spectrum consists of magnitude plot and phase
plot. In order to detect      the presence of a frequency component, it is
sufficient if we obtain the   magnitude spectrum alone.
Hence it is decided to compute the magnitude spectrum using ADSP
processor. The processor performs a FFT operation using radix - 4 FFT
algorithm to determine the magnitude spectrum of the signal.


DSP
DSP stands for Digital Signal Processor. DSP chips are widely used in sound
cards, fax machines, modems, cellular phones, high-capacity hard disks and
digital TVs.
DSP chips are used in sound cards for recording and playback and speech
synthesis. Other audio uses are amplifiers that simulate concert halls and
surround-sound effects for music and home theater
Digital Signal Processing uses mathmatics to operate on a digital signal
(such as a digital audio stream) to generate some type of altered output.
DSP is used heavily in software and hardware effects processing.
DSP chips are found on an increasing number of sound cards to provide
extra audio processing power and help relieve the computers CPU of this
type of work, much like a 3D graphics accelerator would for rendering 3D
graphics
Hardware
The spectrum analyser system consists of ADSP as CPU, EPROM, RAM,
CODEC and AMPLIFIER. The optional hardware includes serial Input port
and RS 232 level converter for interfacing with PC. Another optional
hardware includes 8031 based waveform generator.
The PC interface can be used to download the object codes of the
program from the PC. The analog signal whose spectrum has to be
estimated is fed to CODEC through MIC or a function generator
(Oscillator).
The CODEC digitize the analog signal and send to ADSP which performs
FFT on the digital signal. The processor output the result of FFT to
CODEC which converts the digital signal to analog. The analog signal is
amplified and displayed on the CRO. The block diagram of the system is
shown in fig.1.
The system can access the analog signal in the frequency range of 0 to
3kHz. The spectrums can be viewed as a voltage spike on the CRO
screen.
For measuring the frequency, a calibration pulse is output by ADSP which
indicates the start of the frequency scale. The divisions on the CRO
screen can be calibrated using a known single frequency signal.
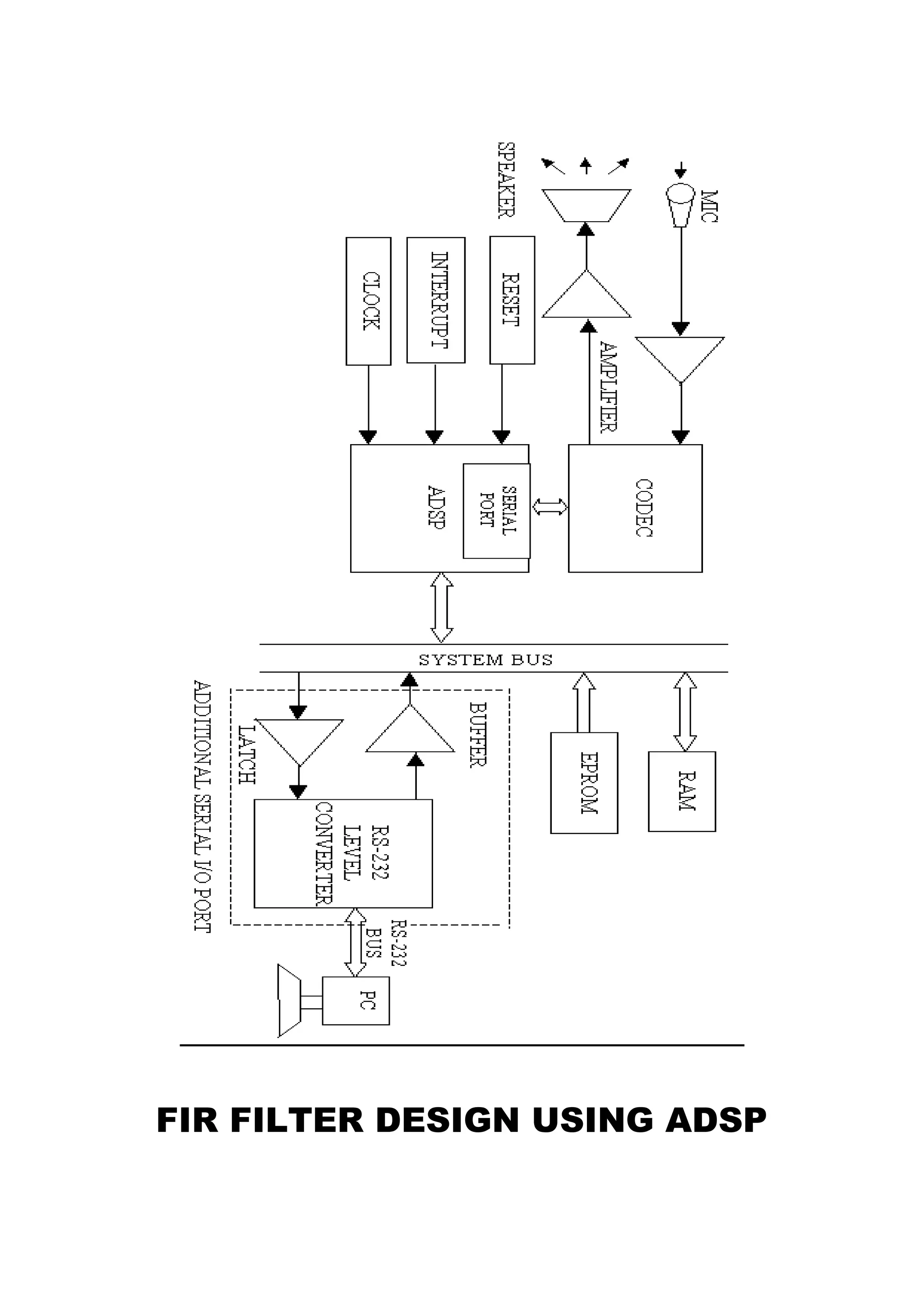
FIR FILTER DESIGN USING ADSP
AIM
The aim of this project is to design FIR filter and to implement the
algorithm using ADSP Processor. The system has four selectable
band pass filters, which is used to modify the voice/music.


HARDWARE
The FIR filter system consists of a DSP microprocessor ADSP
CODEC, EPROM, RAM, Amplifier, Mic and speaker.
The CODEC has been interfaced to ADSP processor through its
serial port.
In this system additional serial port has been developed using buffer
and latch to provide serial communication with PC serial port.
The TTL logic levels of serial port are converted to RS-232 level
using level converter, so that the system can directly communicate
with the standard serial port (com1/com2) of Personal Computer
(PC).


SOFTWARE
The system software and filter algorithm are developed in ADSP
assembly language using PC.
The assembly language programs are compiled using ASM21
assembler and converted to machine code which are either
permanently stored in EPROM or downloaded to the ADSP system
through PC serial interface.


FUNCTIONING
The analog input from the microphone is fed to CODEC. The ADSP
reads the digital signal from CODEC, performs filtering operation,
and then output the processed signal back to CODEC.
The CODEC converts the digital signal back to analog and this
analog signal is fed to the speaker. The desired band pass filter can
be selected by using the interrupt key.
APPLICATIONS
We can implement the following operations on the voice input
1. Filtering the voice on various bands
2. Changing the nature of voice using filtering

ADSP
Adaptive Digital Signal Processing; exclusive to SGC, a DSP
technology which processes the signal to eliminate unwanted noise
and improve incoming signal


DSP
DSP stands for Digital Signal Processor. DSP chips are widely used
in sound cards, fax machines, modems, cellular phones, high-
capacity hard disks and digital TVs
DSP chips are used in sound cards for recording and playback and
speech synthesis. Other audio uses are amplifiers that simulate
concert halls and surround-sound effects for music and home theater
Digital Signal Processing uses mathmatics to operate on a digital
signal (such as a digital audio stream) to generate some type of
altered output. DSP is used heavily in software and hardware effects
processing.
DSP chips are found on an increasing number of sound cards to
provide extra audio processing power and help relieve the computers
CPU of this type of work, much like a 3D graphics accelerator would
for rendering 3D graphics
FIR FILTER DESIGN USING ADSP
FUNCTION GENERATOR
The aim of the project is to develop a high precision, function generator
using DSP processor ADSP. The DSP processors are capable of
generating high precision waveforms.
In digital means of generation there is no drift in the generated
waveforms but the drift is inherent in analog systems due to
temperature coefficient of the components.


ADSP
Adaptive Digital Signal Processing; exclusive to SGC, a DSP
technology which processes the signal to eliminate unwanted noise and
improve incoming signal


DSP
DSP stands for Digital Signal Processor. DSP chips are widely used in
sound cards, fax machines, modems, cellular phones, high-capacity
hard disks and digital TVs
DSP chips are used in sound cards for recording and playback and
speech synthesis. Other audio uses are amplifiers that simulate concert
halls and surround-sound effects for music and home theater
Digital Signal Processing uses mathmatics to operate on a digital signal
(such as a digital audio stream) to generate some type of altered output.
DSP is used heavily in software and hardware effects processing.
DSP chips are found on an increasing number of sound cards to provide
extra audio processing power and help relieve the computers CPU of
this type of work, much like a 3D graphics accelerator would for
rendering 3D graphics


PRINCIPLE
Any signal to be generated can be represented by a mathematical
equation and it will be a function of the frequency of the desired signal.
For a given frequency, the function can be evaluated at finite number of
points and the signal can be represented as a set of data. These data
can be output to a DAC to generate the required analog signal.
The digital function generator using ADSP has the following
advantages.
1. Precise waveform output.
2. No drift in output due to temperature variations of the
   component.
3. Any special type of waveform can be implemented.

HARDWARE
The digital function generator consists of ADSP as CPU, EPROM, RAM,
DAC and Amplifiers. The optional hardware includes PC interface using
serial Input port and level converter. The Input port is implemented
using the buffer
If PC interface is provided, the program for generation of waveform can
be downloaded from PC. When PC interface is not available, the
program can be permanently stored in EPROM.
The program can be executed using the INTERRUPT key. When
interrupt key is pressed the ADSP starts generating the digital waveform
which is output to DAC to convert the digital signal to analog signal.
The analog signal can then be viewed on the CRO.
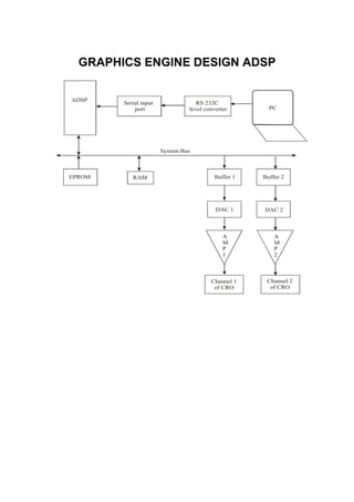
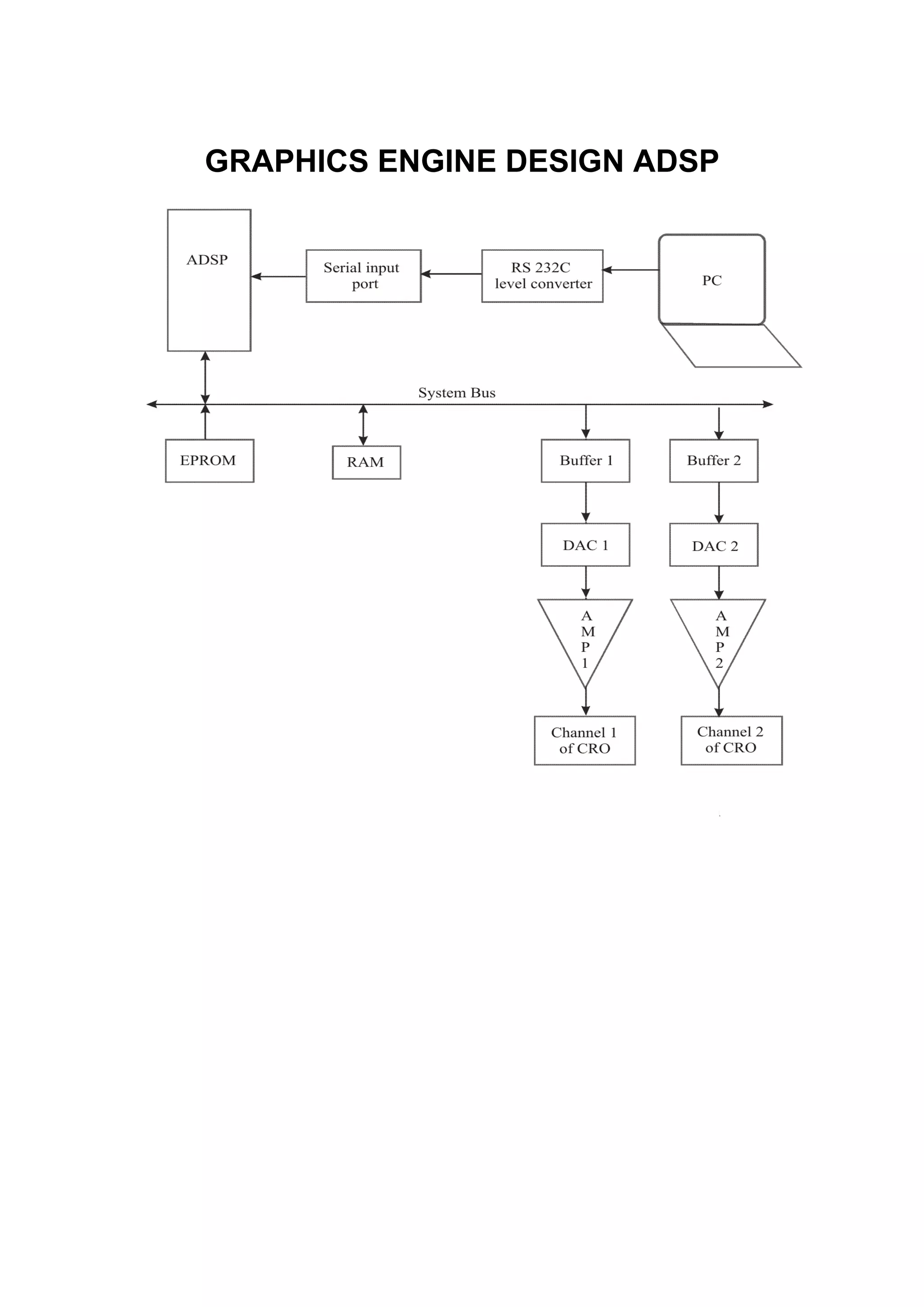
GRAPHICS ENGINE DESIGN ADSP
ADSP
Adaptive Digital Signal Processing; exclusive to SGC, a DSP
technology which processes the signal to eliminate unwanted noise
and improve incoming signal


DSP
DSP stands for Digital Signal Processor. DSP chips are widely used
in sound cards, fax machines, modems, cellular phones, high-
capacity hard disks and digital TVs
DSP chips are used in sound cards for recording and playback and
speech synthesis. Other audio uses are amplifiers that simulate
concert halls and surround-sound effects for music and home
theater
Digital Signal Processing uses mathmatics to operate on a digital
signal (such as a digital audio stream) to generate some type of
altered output. DSP is used heavily in software and hardware effects
processing.
DSP chips are found on an increasing number of sound cards to
provide extra audio processing power and help relieve the
computers CPU of this type of work, much like a 3D graphics
accelerator would for rendering 3D graphics
The objective of this project is to develop a microcomputer system to
generate various complex geometric models, symbols, images etc.
using line drawings. The system is proposed to be developed using the
DSP microcomputer ADSP.
Any complex symbol or image can be constructed using dots and lines
or curves joining the dots. This forms the basic principle of graphics
generation.
For creation or generation of any object, the object has to be defined by
dots and lines joining the dots in a three-dimensional space consisting of
x, y and z axes. These line data, point data (reference data) are used by
the assembly language program developed using ADSP instruction set
to generate the required object.
HARDWARE
The graphics engine has been designed in this project using ADSP as
CPU. The system consists of ADSP, EPROM, RAM, PC interface,
Buffer, DAC and amplifiers.
The PC interface has been developed using Serial I/O port and RS232
level converter. The output of DACS can be sent to 2 channels of CRO
to view the generated image on the CRO Screen.

FUNCTIONING
The line data and source data is downloaded from the PC to the ADSP
processor.
On pressing the IRQ2 switch on the kit the object that is created using
line data and source data can be viewed in various mode of rotation. The
zoomed object can also be viewed.


Applications
                   The concept can be used for
1. Video games

2. Ray tracking

3. Three - dimensional animation

4. Shadow casting

5. Hidden line elimination
GRAPHICS ENGINE DESIGN ADSP
IMAGE PROCESSING SYSTEM ADSP
        TWO DIMENSIONAL FILTERS
BASICS
Image processing is a visual task. An image consists of two-dimensional
array of numbers. Image processing often involves computation on large
matrices that represents digitized images.
Each element of the array represents a pixel of the image; its location in
the array corresponds to its location in the image and its value
determines the shading of the pixel.
Image processing involves processing or altering an existing image in an
desired manner.
The first step is obtaining an image with image data this is achieved
through a stand-alone application program with CIPS. (C image
processing system).


ADSP
Adaptive Digital Signal Processing; exclusive to SGC, a DSP
technology which processes the signal to eliminate unwanted noise
and improve incoming signal


DSP
DSP stands for Digital Signal Processor. DSP chips are widely used
in sound cards, fax machines, modems, cellular phones, high-
capacity hard disks and digital TVs
DSP chips are used in sound cards for recording and playback and
speech synthesis. Other audio uses are amplifiers that simulate
concert halls and surround-sound effects for music and home
theater
Digital Signal Processing uses mathmatics to operate on a digital
signal (such as a digital audio stream) to generate some type of
altered output. DSP is used heavily in software and hardware effects
processing.
DSP chips are found on an increasing number of sound cards to
provide extra audio processing power and help relieve the
computers CPU of this type of work, much like a 3D graphics
accelerator would for rendering 3D graphics


HARDWARE
This project is proposed to develop an efficient hardware to implement
the “Image Processing” algorithm.
The hardware required for image processing system have been
implemented using powerful DSP processor ADSP.
The image processing systems consists of ADSP, CODEC, EPROM,
RAM serial port and one level converter.


FUNCTIONING
The image data of the image to be processed is downloaded from the
PC to the ADSP.
The image data from the PC is processed in the ADSP processor (either
filtering or edge detection process) and than the kit on reset, the
processed image can be viewed on the VDU.


APPLICATIONS
Image processing is popular in applications like
1. Remote sensing via satellites
2. Radar
3. Sonar
IMAGE PROCESSING SYSTEM ADSP
  TWO DIMENSIONAL FILTERS
NOISE/ ECHO CANCELLOR
AIM
The aim of the project is to develop an adaptive filter to eliminate
echo/noise .The adaptive filter is implemented in ADSP based system.


THEORY
Normally, in FIR filter, the filter coefficients are constant. But in the
adaptive FIR filters, the filter coefficients will be adjusted or adapt itself
to minimize the errors.
Thus when we employ adaptive filter for echo/noise cancellation, the
FIR filter coefficients are adjusted in every cycle to remove the
echo/noise from the input. In this project Least Mean Square (LMS)
algorithm is used for adaptive filter.


HARDWARE
The physical system consists of a DSP microprocessor ADSP, CODEC,
EPROM, RAM, Amplifiers, Mic, and Speaker. The CODEC has been
interfaced to ADSP processor through its serial port.
In this system additional serial port has been developed using the buffer
and latch to provide serial communication with PC serial port.
The TTL logic levels of serial port are converted to RS-232 logic levels
using converters so that the system can directly communicate with the
standard serial port (com1/com2) of the Personal Computer (PC).


SOFTWARE
The system software and the adaptive filter LMS algorithm are
developed in ADSP assembly language using PC.
The Assembly language programs are compiled using ASM21
Assembler and converted to machine code which are either
permanently stored in EPROM or downloaded to the ADSP system
through PC serial interface.
FUNCTIONING
The analog input signal from the mic are amplified and fed to the
CODEC. The CODEC converts the analog signal into digital and
transfers the data to DSP microprocessor.
In order to demonstrate echo/noise cancellation, first processor
generates an echo/noise and mix with the input signal and the resultant
signal is output to speaker.
Then using the interrupt adaptive filter algorithm is enabled and the
combined signal is processed by the adaptive filter and the filtered
signal is output through speaker. We can observe the gradual
elimination of echo/noise.


APPLICATIONS
      The Adaptive filter is widely used in applications like
1.   Digital audio
2.   Digital graphical equalizer
3.   Noise removal in transmission channels
4.   High speed modem
5.   Echo cancellation in transmission channels.


ADSP
Adaptive Digital Signal Processing; exclusive to SGC, a DSP technology
which processes the signal to eliminate unwanted noise and improve
incoming signal


DSP
DSP stands for Digital Signal Processor. DSP chips are widely used in sound
cards, fax machines, modems, cellular phones, high-capacity hard disks and
digital TVs. DSP chips are used in sound cards for recording and playback
and speech synthesis. Other audio uses are amplifiers that simulate concert
halls and surround-sound effects for music and home theater
Digital Signal Processing uses mathmatics to operate on a digital signal (such
as a digital audio stream) to generate some type of altered output. DSP is
used heavily in software and hardware effects processing.
DSP chips are found on an increasing number of sound cards to provide extra
audio processing power and help relieve the computers CPU of this type of
work, much like a 3D graphics accelerator would for rendering 3D graphics
NOISE/ ECHO CANCELLOR
SPEECH COMPRESSION AND
   DECOMPRESSION USING ADPCM
          TECHNIQUE
BASICS
Speech coding may be defined as a digital representation of the
speech signal that provides efficient storage, transmission, recovery
and faithful reconstruction of the original speech.
The speech compression is achieved by representing each sample of
digitized data by lesser number of bits. For maintaining the voice
quality the speech sample has to be represented by 13 to 16 bits.
In compression techniques the 13 to 16 bits data is represented by
an equivalent 4 or 8 bit data. In decompression techniques the
compressed data is converted back to original data. One of the
important requirement in these techniques is that the voice quality
has to be maintained.


HARDWARE
This project is proposed to develop an efficient hardware to
implement the powerful and versatile ADPCM speech compression
and decompression algorithm.
The hardware required for speech compression and decompression
have been developed using powerful DSP processor ADSP-2105.
The speech processing system consists of ADSP - 2105, CODEC,
EPROM, RAM, Amplifier sections, mike and speakers.


FUNCTIONING
The system is ready to accept speech signal once it is reset. The
speech segment to be compressed is fed as input through
microphone. The analog speech signal is digitized by CODEC,
compressed by ADSP-2105 and stored in RAM.
The decompression process can be started by interrupting the
processor.
When the processor is interrupted, the information in memory is
fetched by the processor and decompressed and is then fed to
CODEC. The CODEC converts the digital signal to analog signal.
The analog signal is amplified and output through the speaker.


FEATURES
The speech compression and decompression techniques are
implemented in cellular phones, voice mail transmission systems and
speech recognition system.


What is ADPCM
Adaptive delta pulse code modulation. An audio compression
algorithm for digital audio based on describing level differences
between adjacent samples
Adaptive Differential Pulse Code Modulation is an audio encoding
compression technique that encodes the difference between the
predicted value of the signal instead of the absolute value of the
original waveform so that the compression efficiency is improved.
This difference is usually small and can thus be encoded in fewer bits
than the sample itself. ADPCM is used in PC sound cards, on CD-i
and CD-ROM XA discs


CODEC
Codec is an abbreviation for Coder-Decoder. It's an analog-to-digital
(A/D) and digital-to-analog (D/A) converter for translating the signals
from the outside world to digital, and back again


ADSP
Adaptive Digital Signal Processing; exclusive to SGC, a DSP
technology which processes the signal to eliminate unwanted noise
and improve incoming signal
DSP
DSP stands for Digital Signal Processor. DSP chips are widely used
in sound cards, fax machines, modems, cellular phones, high-
capacity hard disks and digital TVs
DSP chips are used in sound cards for recording and playback and
speech synthesis. Other audio uses are amplifiers that simulate
concert halls and surround-sound effects for music and home theater
Digital Signal Processing uses mathmatics to operate on a digital
signal (such as a digital audio stream) to generate some type of
altered output. DSP is used heavily in software and hardware effects
processing.
DSP chips are found on an increasing number of sound cards to
provide extra audio processing power and help relieve the computers
CPU of this type of work, much like a 3D graphics accelerator would
for rendering 3D graphics
VOICE COMPERSION USING ADSP
What is Voice Compression
The conversion of an analog voice signal into a digital signal using minimum
bandwidth, Process by which the high statistical correlation between
consecutive voice samples is used to create a variable quantizing scale.
ADPCM can encode analog voice samples into high - toll - quality digital
signals
DSP Processor are widely used for analog signal processing such as
filtering, compression of voice signal and image processing. The processor
has powerful instruction sets and most of the instructions are one cycle
execution. So that the result can be obtained much faster and efficient,
which is required for Analog signal processing.

   In this project, we are using ADSP (DSP) processor for voice
                     compression and retrieving.
This voice signal is picked up by microphone and it is amplified by the Pre-
Amplifier to 0-5V level. The amplified signal fed to CODEC. The CODEC has
an ADC (Analog Digital Converter), which receives the signal from pre-amp
and converts it in to Digital data.
The Converted digital data is encoded in serial format and transmitted to
DSP processor by the CODEC. The CODEC and DSP processor are linked
by synchronized serial port.
The processor has two memory blocks externally, Data memory and Boot
memory. On power on reset the program from the Boot memory (which is
developed and stored in EPROM) is loaded to the internal Program memory
of the processor. After the completing loading sequence it starts executing.
The program is developed such that to receive the data from CODEC and
compress it using Linear Predictive Coding (LPC).
The compressed data are stored in external data memory (DM). When the
IRQ pin is asserted the data from DM is read and expanded. The expanded
data is transmitted to the serial Port (to CODEC)
The CODEC receives the data and decodes it. The decoded data is fed to
DAC (which is build-in CODEC). And the DAC reproduces the exact analog
signal and amplified by the Audio Power Amplifier
What is ADPCM
Adaptive delta pulse code modulation. An audio compression algorithm for
digital audio based on describing level differences between adjacent
samples
Adaptive Differential Pulse Code Modulation is an audio encoding
compression technique that encodes the difference between the predicted
value of the signal instead of the absolute value of the original waveform so
that the compression efficiency is improved.
This difference is usually small and can thus be encoded in fewer bits than
the sample itself. ADPCM is used in PC sound cards, on CD-i and CD-ROM
XA discs


CODEC
Codec is an abbreviation for Coder-Decoder. It's an analog-to-digital (A/D)
and digital-to-analog (D/A) converter for translating the signals from the
outside world to digital, and back again



ADSP
Adaptive Digital Signal Processing; exclusive to SGC, a DSP technology
which processes the signal to eliminate unwanted noise and improve
incoming signal


DSP
DSP stands for Digital Signal Processor. DSP chips are widely used in
sound cards, fax machines, modems, cellular phones, high-capacity hard
disks and digital TVs
DSP chips are used in sound cards for recording and playback and speech
synthesis. Other audio uses are amplifiers that simulate concert halls and
surround-sound effects for music and home theater
Digital Signal Processing uses mathmatics to operate on a digital signal
(such as a digital audio stream) to generate some type of altered output.
DSP is used heavily in software and hardware effects processing.
DSP chips are found on an increasing number of sound cards to provide
extra audio processing power and help relieve the computers CPU of this
type of work, much like a 3D graphics accelerator would for rendering 3D
graphics
The block diagram is shown below.
                                            MIC

                                    PRE
        DATA                 ADSP   AMP
        MEMORY               2105

                             DSP
                                    CODEC

        BOOT                                  SPK
        MEMORY

                                     PWR
                                     AMP

Dsp

  • 1.
    3D IMAGE GENERATIONUSING ADSP The DSP processors are commonly used to handle the image data, where the image has to be processed digitally and accurately, such as the application like scanning systems in Bio- medial Field. The processor has powerful instruction sets and most of the instructions are one cycle execution. So that the result can be obtained much faster and efficient, which is required for Analog signal processing. In this project, we are generating a 3D image using ADSP (DSP) processor. The generated Image can be rotated in 3-axis (X,Y & Z) using flexibility of the assembly instruction set of the processor. Initially we draw the Image in a graph sheet and take X,Y co- ordinates of the image. This data will be input to our systems This can be obtained from the sensor used for scanning in Real time The Software is developed such that it can take these data and generates the X & Y deflection signal. The hardware has a DSP with Boot memory. The developed firmware will be loaded in EPROM and it will be configured as Boot memory for DSP. On reset the Processor loads the data (program) from the Boot memory to its internal Program memory and starts executing the Program. Two DACs (Digital to Analog Converter) are used to control the X & Y deflection of CRT. So the software controls these two DACs and generates the Image in CRT. We can also use a CRO as CRT in X-Y mode. The signal given to the Channel1 of CRO may deflect the dot X-direction and Channel2 for Y-direction.
  • 2.
    ADSP Adaptive Digital SignalProcessing; exclusive to SGC, a DSP technology which processes the signal to eliminate unwanted noise and improve incoming signal DSP DSP stands for Digital Signal Processor. DSP chips are widely used in sound cards, fax machines, modems, cellular phones, high-capacity hard disks and digital TVs DSP chips are used in sound cards for recording and playback and speech synthesis. Other audio uses are amplifiers that simulate concert halls and surround-sound effects for music and home theater Digital Signal Processing uses mathmatics to operate on a digital signal (such as a digital audio stream) to generate some type of altered output. DSP is used heavily in software and hardware effects processing. DSP chips are found on an increasing number of sound cards to provide extra audio processing power and help relieve the computers CPU of this type of work, much like a 3D graphics accelerator would for rendering 3D graphics
  • 3.
    3D IMAGE GENERATIONUSING ADSP BLOCK DIAGRAM DAC 1 TO CRO BOOT 8Bit CH1 MEMORY PROCESSOR ADSP TO CRO DAC 2 CH2 DATA 8Bit MEMORY
  • 4.
    ADAPTIVE FILTER IMPLEMENTATION Theaim of the project is to develop a digital system to perform adaptive filtering of analog signals. Adaptive filters are used to accomplish a variety of applications, including 1. Echo cancellation in Voice or Data signals. 2. Noise cancellation in Speech, Audio and Biomedical signal processing. 3. Channel equalizations in Data communication to minimize the effect of intersymbol interference BASICS OF ADAPTIVE DIGITAL FILTERS Adaptive filter can be implemented from the FIR filters. Normally, in FIR filters, the filter coefficients are constant. But in the adaptive FIR filters, the filter coefficients are adjusted to minimize the errors. Thus when we employ adaptive filter for echo cancellation, the FIR filter coefficients are adjusted in every cycle to remove the echo from the input. Adaptive filters can be implemented using the least Mean-square (LMS) algorithm. HARDWARE The block diagram of ADSP system used for adaptive filtering is shown in Fig.1. The system consists of ADSP as CPU, CODEC, EPROM, RAM, Amplifier circuits, MIC and speaker. The CODEC has been used for analog input and output. The CODEC has been interfaced to ADSP through its serial port. The optional hardware includes PC interfacing circuit consisting of serial Input port and RS 232 level converter. The additional serial Input port have been developed using buffer. FUNCTIONING The analog input signal from MIC are amplified and fed to CODEC. The CODEC converts the analog signal into digital data and transfer the data to DSP microprocessor. The processor adds echo to the input and it will output the signal with echo to the speaker.
  • 5.
    The signal withecho can be stored in memory and then adaptive filter can be introduced so as to remove the echo from the input signal. After introducing the adaptive filter, we can hear that the echo is slowly removed. The adaptive filter coefficients are also output to CODEC which converts the digital filter coefficients to analog and they can be viewed on the CRO. APPLICATIONS OF ADAPTIVE FILTER Digital Audio Digital Graphical Equalizer Noise removal High Speed Modems Noise removal in ECG signals ADSP Adaptive Digital Signal Processing; exclusive to SGC, a DSP technology which processes the signal to eliminate unwanted noise and improve incoming signal DSP DSP stands for Digital Signal Processor. DSP chips are widely used in sound cards, fax machines, modems, cellular phones, high-capacity hard disks and digital TVs DSP chips are used in sound cards for recording and playback and speech synthesis. Other audio uses are amplifiers that simulate concert halls and surround-sound effects for music and home theater Digital Signal Processing uses mathmatics to operate on a digital signal (such as a digital audio stream) to generate some type of altered output. DSP is used heavily in software and hardware effects processing. DSP chips are found on an increasing number of sound cards to provide extra audio processing power and help relieve the computers CPU of this type of work, much like a 3D graphics accelerator would for rendering 3D graphics
  • 6.
    Fig 1. Blockdiagram of ADSP -2105 system used for adaptive filtering Optional Hardware Power Amp Speaker PC ADSP SERIALINPUT RS 232c CODEC PORT LEVEL -2105 CONVERTER Mike Pre Amp SYSTEM BUS EPROM B FFE U R DAC CRO RAM AMP
  • 7.
    DTMF GENERATION AND DETECTION The aim of the project is to develop a digital system for generation and detection of DTMF tones. The DTMF (Dual Tone Multifrequency) are used in Modern push button telephones. The push button telephones are replacing the conventional dial-pulse signaling in telephone networks worldwide. PRINCIPLE The DTMF tones are sinusoid signals of standard frequencies defined by CCITT (Consultative Committee for International Telephones and Telegraphy). In push-button telephones, for each digit, two tones are assigned. One tone is chosen out of 4 Row tones and the other is chosen out of 4 column tones. By this combination, 16 different DTMF digits can be formed as shown in figure below. The DTMF tones can be easily generated or detected using DSP microprocessor based system. DTMF tones can be generated using function generation programs and DTMF tones can be detected by performing FFT analysis of the signals.
  • 8.
    The FFT ofa signal will give the frequency components of the signal and from the knowledge of frequency component, the DTMF digit can be identified. HARDWARE BLOCK DIAGRAM OF ADSP DTMF GENERATION AND DETECTION The system consists of ADSP-2105 as CPU, CODEC, EPROM, RAM, Amplifier circuits, MIC and speaker. The CODEC has been used for analog input and output, the CODEC has been interfaced to ADSP-2105 through its serial port. The optional hardware includes PC interfacing circuit consisting of serial Input port and RS 232 level converter. The additional serial Input port have been developed using buffer. FUNCTIONING 1. Generation The generation program can be permanently stored on EPROM. The program can be executed using the INTERRUPT key and on pressing the interrupt key each time, the tones of different frequencies are generated one by one. For generation of each tone, the processor determines the digital signal using function approximation technique and output to CODEC. The CODEC converts the digital signal to analog signal, which is amplified, and output to the speaker.
  • 9.
    2. Detection For detection of DTMF tones, the DTMF detection program is permanently stored in another EPROM. The tone to be detected is input to the system through CODEC. The CODEC digitizes the analog signal and send the digital signal to ADSP-2105. The processor performs FFT operation on the signal to determine the frequency spectrum of the signal. The spectrum is output to CRO through DAC and viewed on the screen of CRO. From the knowledge of frequency spectrum, the input DTMF tone can be identified. APPLICATIONS DTMF is popular in interactive control applications like 1. Telephone banking 2. Electronic Mail system 3. Interactive Telephone Answering systems 4. Railway Reservation system. ADSP Adaptive Digital Signal Processing; exclusive to SGC, a DSP technology which processes the signal to eliminate unwanted noise and improve incoming signal DSP DSP stands for Digital Signal Processor. DSP chips are widely used in sound cards, fax machines, modems, cellular phones, high-capacity hard disks and digital TVs. DSP chips are used in sound cards for recording and playback and speech synthesis. Other audio uses are amplifiers that simulate concert halls and surround-sound effects for music and home theater Digital Signal Processing uses mathmatics to operate on a digital signal (such as a digital audio stream) to generate some type of altered output. DSP is used heavily in software and hardware effects processing. DSP chips are found on an increasing number of sound cards to provide extra audio processing power and help relieve the computers CPU of this type of work, much like a 3D graphics accelerator would for rendering 3D graphics
  • 10.
    FFT/ SPECTRUM ANALYSER/ HARMONIC ANALYSER / FREQUENCY MEASUREMENT The aim of the project is to develop a low cost spectrum analyser using the DSP processor ADSP. The spectrum can be viewed on the CRO. Principle Any analog signal is a mixture of a number of sinusoidal signals of various frequencies. The various sinusoidal component frequencies of a signal is called a spectrum. A sinusoidal signal is a complex quantity and so it has magnitude and phase. Hence frequency spectrum consists of magnitude plot and phase plot. In order to detect the presence of a frequency component, it is sufficient if we obtain the magnitude spectrum alone. Hence it is decided to compute the magnitude spectrum using ADSP processor. The processor performs a FFT operation using radix - 4 FFT algorithm to determine the magnitude spectrum of the signal. DSP DSP stands for Digital Signal Processor. DSP chips are widely used in sound cards, fax machines, modems, cellular phones, high-capacity hard disks and digital TVs. DSP chips are used in sound cards for recording and playback and speech synthesis. Other audio uses are amplifiers that simulate concert halls and surround-sound effects for music and home theater Digital Signal Processing uses mathmatics to operate on a digital signal (such as a digital audio stream) to generate some type of altered output. DSP is used heavily in software and hardware effects processing. DSP chips are found on an increasing number of sound cards to provide extra audio processing power and help relieve the computers CPU of this type of work, much like a 3D graphics accelerator would for rendering 3D graphics
  • 11.
    Hardware The spectrum analysersystem consists of ADSP as CPU, EPROM, RAM, CODEC and AMPLIFIER. The optional hardware includes serial Input port and RS 232 level converter for interfacing with PC. Another optional hardware includes 8031 based waveform generator. The PC interface can be used to download the object codes of the program from the PC. The analog signal whose spectrum has to be estimated is fed to CODEC through MIC or a function generator (Oscillator). The CODEC digitize the analog signal and send to ADSP which performs FFT on the digital signal. The processor output the result of FFT to CODEC which converts the digital signal to analog. The analog signal is amplified and displayed on the CRO. The block diagram of the system is shown in fig.1. The system can access the analog signal in the frequency range of 0 to 3kHz. The spectrums can be viewed as a voltage spike on the CRO screen. For measuring the frequency, a calibration pulse is output by ADSP which indicates the start of the frequency scale. The divisions on the CRO screen can be calibrated using a known single frequency signal.
  • 12.
    FIR FILTER DESIGNUSING ADSP AIM The aim of this project is to design FIR filter and to implement the algorithm using ADSP Processor. The system has four selectable band pass filters, which is used to modify the voice/music. HARDWARE The FIR filter system consists of a DSP microprocessor ADSP CODEC, EPROM, RAM, Amplifier, Mic and speaker. The CODEC has been interfaced to ADSP processor through its serial port. In this system additional serial port has been developed using buffer and latch to provide serial communication with PC serial port. The TTL logic levels of serial port are converted to RS-232 level using level converter, so that the system can directly communicate with the standard serial port (com1/com2) of Personal Computer (PC). SOFTWARE The system software and filter algorithm are developed in ADSP assembly language using PC. The assembly language programs are compiled using ASM21 assembler and converted to machine code which are either permanently stored in EPROM or downloaded to the ADSP system through PC serial interface. FUNCTIONING The analog input from the microphone is fed to CODEC. The ADSP reads the digital signal from CODEC, performs filtering operation, and then output the processed signal back to CODEC. The CODEC converts the digital signal back to analog and this analog signal is fed to the speaker. The desired band pass filter can be selected by using the interrupt key.
  • 13.
    APPLICATIONS We can implementthe following operations on the voice input 1. Filtering the voice on various bands 2. Changing the nature of voice using filtering ADSP Adaptive Digital Signal Processing; exclusive to SGC, a DSP technology which processes the signal to eliminate unwanted noise and improve incoming signal DSP DSP stands for Digital Signal Processor. DSP chips are widely used in sound cards, fax machines, modems, cellular phones, high- capacity hard disks and digital TVs DSP chips are used in sound cards for recording and playback and speech synthesis. Other audio uses are amplifiers that simulate concert halls and surround-sound effects for music and home theater Digital Signal Processing uses mathmatics to operate on a digital signal (such as a digital audio stream) to generate some type of altered output. DSP is used heavily in software and hardware effects processing. DSP chips are found on an increasing number of sound cards to provide extra audio processing power and help relieve the computers CPU of this type of work, much like a 3D graphics accelerator would for rendering 3D graphics
  • 14.
  • 15.
    FUNCTION GENERATOR The aimof the project is to develop a high precision, function generator using DSP processor ADSP. The DSP processors are capable of generating high precision waveforms. In digital means of generation there is no drift in the generated waveforms but the drift is inherent in analog systems due to temperature coefficient of the components. ADSP Adaptive Digital Signal Processing; exclusive to SGC, a DSP technology which processes the signal to eliminate unwanted noise and improve incoming signal DSP DSP stands for Digital Signal Processor. DSP chips are widely used in sound cards, fax machines, modems, cellular phones, high-capacity hard disks and digital TVs DSP chips are used in sound cards for recording and playback and speech synthesis. Other audio uses are amplifiers that simulate concert halls and surround-sound effects for music and home theater Digital Signal Processing uses mathmatics to operate on a digital signal (such as a digital audio stream) to generate some type of altered output. DSP is used heavily in software and hardware effects processing. DSP chips are found on an increasing number of sound cards to provide extra audio processing power and help relieve the computers CPU of this type of work, much like a 3D graphics accelerator would for rendering 3D graphics PRINCIPLE Any signal to be generated can be represented by a mathematical equation and it will be a function of the frequency of the desired signal. For a given frequency, the function can be evaluated at finite number of points and the signal can be represented as a set of data. These data can be output to a DAC to generate the required analog signal.
  • 16.
    The digital functiongenerator using ADSP has the following advantages. 1. Precise waveform output. 2. No drift in output due to temperature variations of the component. 3. Any special type of waveform can be implemented. HARDWARE The digital function generator consists of ADSP as CPU, EPROM, RAM, DAC and Amplifiers. The optional hardware includes PC interface using serial Input port and level converter. The Input port is implemented using the buffer If PC interface is provided, the program for generation of waveform can be downloaded from PC. When PC interface is not available, the program can be permanently stored in EPROM. The program can be executed using the INTERRUPT key. When interrupt key is pressed the ADSP starts generating the digital waveform which is output to DAC to convert the digital signal to analog signal. The analog signal can then be viewed on the CRO.
  • 17.
    GRAPHICS ENGINE DESIGNADSP ADSP Adaptive Digital Signal Processing; exclusive to SGC, a DSP technology which processes the signal to eliminate unwanted noise and improve incoming signal DSP DSP stands for Digital Signal Processor. DSP chips are widely used in sound cards, fax machines, modems, cellular phones, high- capacity hard disks and digital TVs DSP chips are used in sound cards for recording and playback and speech synthesis. Other audio uses are amplifiers that simulate concert halls and surround-sound effects for music and home theater Digital Signal Processing uses mathmatics to operate on a digital signal (such as a digital audio stream) to generate some type of altered output. DSP is used heavily in software and hardware effects processing. DSP chips are found on an increasing number of sound cards to provide extra audio processing power and help relieve the computers CPU of this type of work, much like a 3D graphics accelerator would for rendering 3D graphics The objective of this project is to develop a microcomputer system to generate various complex geometric models, symbols, images etc. using line drawings. The system is proposed to be developed using the DSP microcomputer ADSP. Any complex symbol or image can be constructed using dots and lines or curves joining the dots. This forms the basic principle of graphics generation. For creation or generation of any object, the object has to be defined by dots and lines joining the dots in a three-dimensional space consisting of x, y and z axes. These line data, point data (reference data) are used by the assembly language program developed using ADSP instruction set to generate the required object.
  • 18.
    HARDWARE The graphics enginehas been designed in this project using ADSP as CPU. The system consists of ADSP, EPROM, RAM, PC interface, Buffer, DAC and amplifiers. The PC interface has been developed using Serial I/O port and RS232 level converter. The output of DACS can be sent to 2 channels of CRO to view the generated image on the CRO Screen. FUNCTIONING The line data and source data is downloaded from the PC to the ADSP processor. On pressing the IRQ2 switch on the kit the object that is created using line data and source data can be viewed in various mode of rotation. The zoomed object can also be viewed. Applications The concept can be used for 1. Video games 2. Ray tracking 3. Three - dimensional animation 4. Shadow casting 5. Hidden line elimination
  • 19.
  • 20.
    IMAGE PROCESSING SYSTEMADSP TWO DIMENSIONAL FILTERS BASICS Image processing is a visual task. An image consists of two-dimensional array of numbers. Image processing often involves computation on large matrices that represents digitized images. Each element of the array represents a pixel of the image; its location in the array corresponds to its location in the image and its value determines the shading of the pixel. Image processing involves processing or altering an existing image in an desired manner. The first step is obtaining an image with image data this is achieved through a stand-alone application program with CIPS. (C image processing system). ADSP Adaptive Digital Signal Processing; exclusive to SGC, a DSP technology which processes the signal to eliminate unwanted noise and improve incoming signal DSP DSP stands for Digital Signal Processor. DSP chips are widely used in sound cards, fax machines, modems, cellular phones, high- capacity hard disks and digital TVs DSP chips are used in sound cards for recording and playback and speech synthesis. Other audio uses are amplifiers that simulate concert halls and surround-sound effects for music and home theater Digital Signal Processing uses mathmatics to operate on a digital signal (such as a digital audio stream) to generate some type of altered output. DSP is used heavily in software and hardware effects processing.
  • 21.
    DSP chips arefound on an increasing number of sound cards to provide extra audio processing power and help relieve the computers CPU of this type of work, much like a 3D graphics accelerator would for rendering 3D graphics HARDWARE This project is proposed to develop an efficient hardware to implement the “Image Processing” algorithm. The hardware required for image processing system have been implemented using powerful DSP processor ADSP. The image processing systems consists of ADSP, CODEC, EPROM, RAM serial port and one level converter. FUNCTIONING The image data of the image to be processed is downloaded from the PC to the ADSP. The image data from the PC is processed in the ADSP processor (either filtering or edge detection process) and than the kit on reset, the processed image can be viewed on the VDU. APPLICATIONS Image processing is popular in applications like 1. Remote sensing via satellites 2. Radar 3. Sonar
  • 22.
    IMAGE PROCESSING SYSTEMADSP TWO DIMENSIONAL FILTERS
  • 23.
    NOISE/ ECHO CANCELLOR AIM Theaim of the project is to develop an adaptive filter to eliminate echo/noise .The adaptive filter is implemented in ADSP based system. THEORY Normally, in FIR filter, the filter coefficients are constant. But in the adaptive FIR filters, the filter coefficients will be adjusted or adapt itself to minimize the errors. Thus when we employ adaptive filter for echo/noise cancellation, the FIR filter coefficients are adjusted in every cycle to remove the echo/noise from the input. In this project Least Mean Square (LMS) algorithm is used for adaptive filter. HARDWARE The physical system consists of a DSP microprocessor ADSP, CODEC, EPROM, RAM, Amplifiers, Mic, and Speaker. The CODEC has been interfaced to ADSP processor through its serial port. In this system additional serial port has been developed using the buffer and latch to provide serial communication with PC serial port. The TTL logic levels of serial port are converted to RS-232 logic levels using converters so that the system can directly communicate with the standard serial port (com1/com2) of the Personal Computer (PC). SOFTWARE The system software and the adaptive filter LMS algorithm are developed in ADSP assembly language using PC. The Assembly language programs are compiled using ASM21 Assembler and converted to machine code which are either permanently stored in EPROM or downloaded to the ADSP system through PC serial interface.
  • 24.
    FUNCTIONING The analog inputsignal from the mic are amplified and fed to the CODEC. The CODEC converts the analog signal into digital and transfers the data to DSP microprocessor. In order to demonstrate echo/noise cancellation, first processor generates an echo/noise and mix with the input signal and the resultant signal is output to speaker. Then using the interrupt adaptive filter algorithm is enabled and the combined signal is processed by the adaptive filter and the filtered signal is output through speaker. We can observe the gradual elimination of echo/noise. APPLICATIONS The Adaptive filter is widely used in applications like 1. Digital audio 2. Digital graphical equalizer 3. Noise removal in transmission channels 4. High speed modem 5. Echo cancellation in transmission channels. ADSP Adaptive Digital Signal Processing; exclusive to SGC, a DSP technology which processes the signal to eliminate unwanted noise and improve incoming signal DSP DSP stands for Digital Signal Processor. DSP chips are widely used in sound cards, fax machines, modems, cellular phones, high-capacity hard disks and digital TVs. DSP chips are used in sound cards for recording and playback and speech synthesis. Other audio uses are amplifiers that simulate concert halls and surround-sound effects for music and home theater Digital Signal Processing uses mathmatics to operate on a digital signal (such as a digital audio stream) to generate some type of altered output. DSP is used heavily in software and hardware effects processing. DSP chips are found on an increasing number of sound cards to provide extra audio processing power and help relieve the computers CPU of this type of work, much like a 3D graphics accelerator would for rendering 3D graphics
  • 25.
  • 26.
    SPEECH COMPRESSION AND DECOMPRESSION USING ADPCM TECHNIQUE BASICS Speech coding may be defined as a digital representation of the speech signal that provides efficient storage, transmission, recovery and faithful reconstruction of the original speech. The speech compression is achieved by representing each sample of digitized data by lesser number of bits. For maintaining the voice quality the speech sample has to be represented by 13 to 16 bits. In compression techniques the 13 to 16 bits data is represented by an equivalent 4 or 8 bit data. In decompression techniques the compressed data is converted back to original data. One of the important requirement in these techniques is that the voice quality has to be maintained. HARDWARE This project is proposed to develop an efficient hardware to implement the powerful and versatile ADPCM speech compression and decompression algorithm. The hardware required for speech compression and decompression have been developed using powerful DSP processor ADSP-2105. The speech processing system consists of ADSP - 2105, CODEC, EPROM, RAM, Amplifier sections, mike and speakers. FUNCTIONING The system is ready to accept speech signal once it is reset. The speech segment to be compressed is fed as input through microphone. The analog speech signal is digitized by CODEC, compressed by ADSP-2105 and stored in RAM. The decompression process can be started by interrupting the processor.
  • 27.
    When the processoris interrupted, the information in memory is fetched by the processor and decompressed and is then fed to CODEC. The CODEC converts the digital signal to analog signal. The analog signal is amplified and output through the speaker. FEATURES The speech compression and decompression techniques are implemented in cellular phones, voice mail transmission systems and speech recognition system. What is ADPCM Adaptive delta pulse code modulation. An audio compression algorithm for digital audio based on describing level differences between adjacent samples Adaptive Differential Pulse Code Modulation is an audio encoding compression technique that encodes the difference between the predicted value of the signal instead of the absolute value of the original waveform so that the compression efficiency is improved. This difference is usually small and can thus be encoded in fewer bits than the sample itself. ADPCM is used in PC sound cards, on CD-i and CD-ROM XA discs CODEC Codec is an abbreviation for Coder-Decoder. It's an analog-to-digital (A/D) and digital-to-analog (D/A) converter for translating the signals from the outside world to digital, and back again ADSP Adaptive Digital Signal Processing; exclusive to SGC, a DSP technology which processes the signal to eliminate unwanted noise and improve incoming signal
  • 28.
    DSP DSP stands forDigital Signal Processor. DSP chips are widely used in sound cards, fax machines, modems, cellular phones, high- capacity hard disks and digital TVs DSP chips are used in sound cards for recording and playback and speech synthesis. Other audio uses are amplifiers that simulate concert halls and surround-sound effects for music and home theater Digital Signal Processing uses mathmatics to operate on a digital signal (such as a digital audio stream) to generate some type of altered output. DSP is used heavily in software and hardware effects processing. DSP chips are found on an increasing number of sound cards to provide extra audio processing power and help relieve the computers CPU of this type of work, much like a 3D graphics accelerator would for rendering 3D graphics
  • 29.
    VOICE COMPERSION USINGADSP What is Voice Compression The conversion of an analog voice signal into a digital signal using minimum bandwidth, Process by which the high statistical correlation between consecutive voice samples is used to create a variable quantizing scale. ADPCM can encode analog voice samples into high - toll - quality digital signals DSP Processor are widely used for analog signal processing such as filtering, compression of voice signal and image processing. The processor has powerful instruction sets and most of the instructions are one cycle execution. So that the result can be obtained much faster and efficient, which is required for Analog signal processing. In this project, we are using ADSP (DSP) processor for voice compression and retrieving. This voice signal is picked up by microphone and it is amplified by the Pre- Amplifier to 0-5V level. The amplified signal fed to CODEC. The CODEC has an ADC (Analog Digital Converter), which receives the signal from pre-amp and converts it in to Digital data. The Converted digital data is encoded in serial format and transmitted to DSP processor by the CODEC. The CODEC and DSP processor are linked by synchronized serial port. The processor has two memory blocks externally, Data memory and Boot memory. On power on reset the program from the Boot memory (which is developed and stored in EPROM) is loaded to the internal Program memory of the processor. After the completing loading sequence it starts executing. The program is developed such that to receive the data from CODEC and compress it using Linear Predictive Coding (LPC). The compressed data are stored in external data memory (DM). When the IRQ pin is asserted the data from DM is read and expanded. The expanded data is transmitted to the serial Port (to CODEC) The CODEC receives the data and decodes it. The decoded data is fed to DAC (which is build-in CODEC). And the DAC reproduces the exact analog signal and amplified by the Audio Power Amplifier
  • 30.
    What is ADPCM Adaptivedelta pulse code modulation. An audio compression algorithm for digital audio based on describing level differences between adjacent samples Adaptive Differential Pulse Code Modulation is an audio encoding compression technique that encodes the difference between the predicted value of the signal instead of the absolute value of the original waveform so that the compression efficiency is improved. This difference is usually small and can thus be encoded in fewer bits than the sample itself. ADPCM is used in PC sound cards, on CD-i and CD-ROM XA discs CODEC Codec is an abbreviation for Coder-Decoder. It's an analog-to-digital (A/D) and digital-to-analog (D/A) converter for translating the signals from the outside world to digital, and back again ADSP Adaptive Digital Signal Processing; exclusive to SGC, a DSP technology which processes the signal to eliminate unwanted noise and improve incoming signal DSP DSP stands for Digital Signal Processor. DSP chips are widely used in sound cards, fax machines, modems, cellular phones, high-capacity hard disks and digital TVs DSP chips are used in sound cards for recording and playback and speech synthesis. Other audio uses are amplifiers that simulate concert halls and surround-sound effects for music and home theater Digital Signal Processing uses mathmatics to operate on a digital signal (such as a digital audio stream) to generate some type of altered output. DSP is used heavily in software and hardware effects processing. DSP chips are found on an increasing number of sound cards to provide extra audio processing power and help relieve the computers CPU of this type of work, much like a 3D graphics accelerator would for rendering 3D graphics
  • 31.
    The block diagramis shown below. MIC PRE DATA ADSP AMP MEMORY 2105 DSP CODEC BOOT SPK MEMORY PWR AMP