Abstract of Master’s Thesis Author: Kulvik Aleksanteri Name of the
thesis: ibrational Study of Cryo I Helsinki, and Testing of Homogeneity of a
Superconducting Magnet Date: 23.4.2008 Number of pages: 60
Department: Department of Engineering Physics and Mathematics Pro-
fessorship: Tfy-3. Material Physics
Supervisor & Instructor: Matti Krusius
In the thesis, rotational aspects and vibrational analysis of Cryo I Helsinki
cryostat have been studied.
These studies were done extensively using Fourier methods. The mathe-
matics of Fourier methods have been presented, and also mathematical mod-
els of vibrations have been studied.
The main goal is to lower the noise due to various aspects that affect the
operations of the cryostat.
The second part of the work considers a superconducting magnet, and
the testing of how homogenous it was. There was a great preparation made
into building of the testing equipment.
1
Master’s Thesis
Kaarle Aleksanteri Kulvik
52664T
24th April 2008
Vibrational Study of Cryo I Helsinki, and Testing of Homogeneity of a
Superconducting Magnet
Supervisor M. Krusius
2
Contents
1 Preface 2
2 Introduction 3
3 Fourier Methods 3
4 Piezoelectric Accelerator 12
5 Low-pass filter and measurement setup 23
6 Vibrations 23
7 Torsional vibrations 40
8 Balancing rotation 49
9 Studies of the Noise of Old Rota I Cryostat 60
10 Superconducting high-homogeneity magnet for NMR mea-
surements 67
11 Superconductivity 68
12 Superconductor quenching 71
13 Nuclear Magnetic Resonance, and Imaging 73
14 Cooling of the Cryostat 75
15 Preparing the NMR measurements 79
16 Conclusions 80
1
1 Preface
Dedicated to Alexiel, Pulla and those who do not dwell amongst us anymore...
Albert, Kustaa, and Rosiel.
Solitary trees, if they grow at all, grow strong. -Winston Churchill
2
2 Introduction
This master thesis will study the vibrational, and rotational aspects of Cryo I
Helsinki, which has now been dismantled. Suggestions for bettering rotaional
cryostat have been given in length, and the methods for study have been
made clear for even a student reading this work. The second part consist
of testing a superconducting magnet. The preparations are also included, as
quite a lot of work needed to be done in order to test the magnet.
3 Fourier Methods
Fourier transformation can be seen as a tool that converts a ”signal”, or as in
this case, an output voltage into a sum of sinusoids of different frequencies,
amplitudes and phases. In general, both input and output of the fourier
transform are complex vectors, which have the same length. A frequent
difficulty in understanding Fourier transformation lies in the comprehension
of the physical meaning of the results.
The voltage versus time representation becomes magnitude versus fre-
quency in the Fourier transform.
The one dimensional Fourier series is given by the following formula
f(t) = a0 +
∞
n=1
an cos(nωt) +
∞
n=1
bn sin(nωt), (1)
where t is an independent variable which in our case represents time, and Tp
is the repetition period of the waveform. ω = 2π/Tp is the angular frequency
related to the fundamental frequency ff , by ω = 2πff . The constant a0 is
given by the formula
a0 =
1
Tp
Tp
2
−Tp
2
f(t)dt, (2)
an by
an =
2
Tp
Tp
2
−Tp
2
f(t) cos(nωt)dt, (3)
and bn by
3
bn =
2
Tp
Tp
2
−Tp
2
f(t) sin(nωt)dt. (4)
The frequencies nω are known as the nth harmonics of ω. The series may be
written in exponential form
f(t) =
∞
n=−∞
dneinωt
(5)
in which
dn =
1
Tp
Tp
2
−Tp
2
f(t)e(−inωt)
dt. (6)
is complex and |dn| has the units of voltage in our case. Negative frequencies
do not have any physical meaning rather being purely mathematical.
The two conditions for f(t) are:
1. The integral of |f(t)| from −∞ to ∞ exists 2. Any discontinuities in
f(t) are finite.
The squared modulus of a transform is referred as the energy spectrum.
|F(ω)|2
is the energy spectrum of f(t). Usually the graphs are given as the
energy spectrum versus ω.
The complex and trigonometric forms are related by the following
dn = |dn|eiφn
, (7)
where
|dn| = (a2
n + b2
n)
1/2
(8)
and
φn = − tan(bn/an), (9)
where φn is the phase angle of the nth harmonic component.
4
The series approach has to be abandoned when the waveform is not pe-
riodic for example when Tp becomes infinite. As Tp increases the spacing
between 1/Tp = ω/2π decreases to dω/2π eventually becoming zero. The
discrete variable nω becomes continuos ω, and the amplitude and phase
spectra become continuos. This means that dn → d(ω) and Tp → ∞. With
these modifications we get the normalized formula [1],
dn = F(iω) =
1
2π
−∞
∞
f(t)e(−inωt)
dt. (10)
F(iω) is the complex Fourier integral,
F(iω) = Re(iω) + iIm(iω) = |F(iω)|eiφ(ω)
, (11)
where the amplitude is given by,
|F(iω)| = (Re(iω)2
+ Im(iω)2
)
1
2
(12)
and the phase by,
φ(w) = arctan[Im(iω)/Re(iω)]. (13)
|F(iω)| has the units of V Hz−1
.
The Fourier transform (FT) has very useful properties [2]. If f(x) has the
Fourier transform F(s), then f(ax) has the Fourier transform |a|−1
F(s/a).
Its application to waveforms and spectra is well known as compression of
the time scale corrensponds to expansion of the frequency scale. If f(x)
and g(x) have the Fourier transforms F(s) and G(s), then f(x) + g(x) has
F(s) + G(s) as the FT. The FT of f(x) is F(s), then f(x − a) has the FT
e−2πias
F(s). If f(x) has the FT F(s), then f(x) cos ωx has the FT 1
2
F(s −
ω/2π) + 1
2
F(s + ω/2π). If f(x) and g(x) have FTs F(s) and G(s), then
convolution f(x) ∗ g(x) has the FT F(s)G(s). The squarred modulus of a
function versus the squarred modulus of a spectrum yields;
∞
−∞
|f(x)|2
dx =
∞
−∞
|F(s)|2
ds. (14)
If f(x) has the FT F(s) then f′
(x) has the FT i2πF(s).
It can be seen from:
5
∞
−∞
f′
(x)e−i2πxs
dx =
∞
−∞
lim
f(x + ∆x) − f(x)
∆x
e−i2πxs
dx = lim
∞
−∞
f(x + ∆x)
∆
e−i2πxs
dx − lim
∞
−∞
With these interesting properties let us turn to the discrete Fourier trans-
form (DFT) and the fast Fourier transform (FFT).
The digitalization of the analogue data requires the Fourier transforms
to be discrete. The analogue values are sampled at regular intervals and
then converted to binary representation. The operational viewpoint is that
it is irrelevant to talk about existence of values other than those given, and
those computed namely the input, and the output. Therefore we need the
mathematical theory to manipulate the actual quantified measurements.
Discreteness arises in connection with periodic functions. Discrete in-
tervals describing a periodic function may be viewed as a special case of
continuous frequency. This transform is thus regarded as equally spaced
deltafunctions multlipied by coeffients to determine their strengths.
A typical fuction x(t) of the measurement is fed through an analogue to
digital converter. It samples x(t) at a series of regularly spaced times as
seen in Figure 1. Taking the sampling interval as ∆, then the discrete value
of x(t) = xr at time t is t = r∆, and can be written as a discrete time
sequence {xr}, r = . . . , −1, 0, 1, 2, 3, . . .. We are interested in the frequency
composition of sequence {xr} by analysis obtained from a finite length of
samples.
The historical method to estimate spectra from measured data was to
estimate an appropriate correlation function first and then to FT this func-
tion to obtain the required spectrum. This approach was until late 1960’s,
and practical calculations follewed the mathematical route of spectra defined
as FTs of correlation functions. The classical methods are studied in great
detail, and there is extensive literature ( [3], [4] and [5] on this subject.
The position was changed when fast Fourier transforms (FFT) came
along. This way of calculating the FT is much more efficient and faster.
Instead of determining a correlation function, and then calculating the FT,
FFT directly estimates the original FT of the time series.
If x(t) is a periodic function with period T, then it can be written:
x(t) = a0 + 2
α
k=1
ak cos(
2πkt
T
) + bk sin(
2πkt
T
) (16)
where k ≥ 0 is an integer, and
6
Figure 1: Sampling a continuous function at regular intervals.
ak =
1
T
T
0
x(t) cos(
2πkt
T
dtbk =
1
T
T
0
x(t) sin(
2πkt
T
dt. (17)
The previous can be combined into a single equation:
Xk = ak − ibk (18)
and putting
e−i2πkt/T
= cos
2πkt
T
− i sin
2πkt
T
(19)
from we get
Xk =
1
T
T
0
x(t)e−i2πkt/T
dt. (20)
Knowing only the equally spaced samples of the continuous time series
x(t) represented by the discrete series {xr}, r = 0, 1, . . ., (N − 1), where
7
Figure 2: Calculating Fourier coefficients from a discrete series using approximation.
t = r∆, and ∆ = T/N, then the integral may be replaced approzimately by
the summation
Xk =
1
T
N−1
r=0
xre(−i2πk/T)(r∆)
∆. (21)
This is just assuming the total area under the curve in Figure 2. Putting
T = N∆ gives
Xk =
1
N r=0
N − 1xre−i2πkr/N
. (22)
This may be regarded as approximation for calculating the Fourier series.
The inverse formula for the series {xr} is
xr =
N−1
k=0
Xke2iπkr/N
. (23)
8
This can be seen
N−1
k=0
Xke2iπkr/N
=
N−1
k=0
1
N
N−1
s=0
xse−2iπks/N
e2iπkr/N
=
N−1
k=0
N−1
s=0
1
N
xse(−2iπk/N)(s−r)
(24)
and by interchanging the summation
=
N−1
s=0
N−1
k=0
e−2i(πk/N)(s−r) 1
N
xs (25)
and the exponentials all sum to zero unless s = r when the summation
equals N and hence
N−1
s=0
N−1
k=0
e−2i(πk/N)(s−r) 1
N
xs = xr. (26)
The components Xk are limited to k = 0 to N − 1 corresponding to
frequencies ωk = 2πk/T = 2πk/N∆.
DFT of the series {xr}, r = 0, 1, . . ., N − 1 is defined as
Xk =
1
N
N−1
r=0
xre−2iπkr/N
(27)
for k = 0, 1, . . ., N − 1. Calculating values of Xk for k is greater than
N − 1. Letting k = N + l then
XN+l =
1
N
N−1
r=0
xre−(2iπr/N)(N+l)
=
1
N
N−1
r=0
xre−2iπr/N
e−2iπr
= Xl. (28)
The coefficients Xk just repeat for k > N −1, so plotting | Xk | along the
frequency axis ωk = 2πk/N∆, the graph repeats periodically. It is also easy
to see that X−l = Xl (the complex conjugate) and hence | X−l |=| Xl | is
symmetrical about the zero frequency position. The unique frequency range
is | ω |≤ π/∆ rad/s. The higher frequencies are repetitions of those which
apply below π/∆ rad/s. The coefficients Xk calculated by the DFT are
correct for frequencies up to
9
ωk =
2πk
N∆
=
π
∆
(29)
where k is in the range k = 0, 1, . . ., N/2. The frequencies above π/∆
rad/s, which are present in the original signal, introduce a distortion called
aliasing. The high frequencies contribute to {xr}, and therefore distorts the
DFT coefficients for frequencies below π/∆ rad/s. When ω0 is the maximun
frequency present in x(t), then the problem can be avoided by taking the
sampling ∆ small enough so
π
∆
> ω0 (30)
or f0 = ω0/2π giving
1
2∆
> f0. (31)
This 1/2∆ Hz is called the Nyquist frequency, which is also the maximum
frequency that can be detected with particular time spacing ∆ (seconds).
Aliasing is most important when analysing measured data, and to ensure
that DFT is good the sampling frequency 1/2∆ must be high enough to
cover the full frequency range that the continuous time series operates in. If
this is not satisfied the the spectrum from equally spaced samples will differ
from the true spectrum because of aliasing. One way to ensure this is to filter
all frequencies above the frequency components above 1/2∆ before making
the DFT.
FFT is an algorithm for calculating the DFTs. For working out values of
Xk by directly calculating from the basic DFT definition for each N values
requires N2
multiplications. The aim of the FFT is to reduce the number of
operations to the order of N log2 N. The FFT therefore offers great amount
of reduction in the prosessing time, and accuracy increases as fewer round-off
errors is reduced.
FFT partitions the sequence {xr} in shorter sequences, and then combines
these to yield the full DFT. Suppose {xr}, r = 0, 1, . . ., N − 1 is a sequence
where N is an even number and this is partitioned to two shorter sequences
{yr} and {zr} where yr = x2r and zr = x2r+1, r = 0, 1, . . ., (N/2 − 1). The
DFT’s of these are
Yk =
1
N/2
N/2−1
r=0
yre−i2πkr
N/2 Zk =
1
N/2
N/2−1
r=0
zre−i2πkr
N/2 , k = 0, 1, . . ., N/2 − 1.(32)
10
Firstly we separate the odd and the even terms in {xr} getting
Xk =
1
N
N−1
r=0
xre−2iπkr/N
=
1
N
N/2−1
r=0
x2re−i2π(2r)k
N +
N/2−1
r=0
x2r+1e−i2π(2r+1)k
N =
1
N
N/2−1
r=0
yre−i2πrk
N/2 + e
from which
Xk =
1
2
Yk + e−i2πk/N
Zk , k = 0, 1, . . ., N/2 − 1. (34)
The original DFT can be obtained from Yk and Zk. If the original number
of samples is a power of 2, then the half-sequences {yr} and {zr} can be
partitioned into quarter-sequences, and so on, until the last sub-sequences
have only one term each. Yk and Zk are periodic and repeat themselves with
period N/2 so that Yk−N/2 = Yk and Zk−N/2 = Zk.
Calculating
Xk =
1
2
Yk + e−2iπk/N
Zk , k = 0, 1, . . ., N/2 − 1Xk =
1
2
Yk−N/2 + e−2iπk/N
Zk−N/2 , k = N/2, N/2 + 1
or
Xk =
1
2
Yk + e−2iπk/N
Zk Xk+N/2 =
1
2
Yk + e−2iπ(k+N/2)/N
Zk =
1
2
Yk − e−2iπk/N
Zk , k = 0, 1, . . ., N/
These are the formulas occuring in most FFT programs, and defining
W = e−2iπ/N
we obtain what is called coputational butterfly [6]. The FFT
changed the approach to digital spectral analysis when it was implemented
in 1965 ( [7] and [8]).
For general purposes Matlab’s FFT is used. It is based upon FFTW-
libraries [9]. FFTW uses several combinations of algorithms, including vari-
ation of the Cooley-Tukey algorithm, a prime factor algorithm [10], and a
split-radix algorithm [11]. The split-radix FFT requires N to be a power of
2 so the original sequence can be partitioned into two half-sequences of equal
length, and so on.
With these methods one is able to study the frequency depedence of the
input data. One should make the number of samples taken to be in the
form 2n
, where n is an integer. Even with number of samples the FFT
works quite some faster, for example a sequence that has N = 1048576 =
220
samples calculated directly with DFT compared to FFT has the ratio
11
N2
/(N log2 N) = 52428, 8. Also one should make the sampling time interval
so small that the largest frequency that can be measured is well withing the
Nyquist frequency to avoid distortion due to aliasing. Otherwise if this is
not possible then filtering should be used in the experimental setup to cut
the frequency components above the Nyquist frequency to avoid aliasing.
4 Piezoelectric Accelerator
Piezoelectric effect was found in 1880 by Jaques and Pierre Curie in crys-
talline minerals, when subjected to a mechanical force the crystal became
electrically polarized. Compression and tension generated oppositely po-
larized voltages in proportion to the force. In converse if voltage-genarating
crystal was exposed to a electric field it contracted or expanded in accordance
with the polarity and field strength. These effects were called piezoelectric
effect and inverse piezoelectric effect. Quartz and other natural crystals
are widely used today in microphones, accelerometers, and ultrasonic trans-
ducers. Their applications include smart materials for vibration control,
aerospace, and astronautical applications of flexible surfaces, and vibration
reduction in sports equipment.
Consistent with the IEEE standards of piezoelectricity [12], the transduc-
ers are made of piezoelectric materials that are linear devices whose prop-
erties are governed by a set of tensor equations. To better understand the
workings of piezoelectricity we firstly turn to making of a piezoelectric ce-
ramic crystal. A piezoelectric ceramic is a perovskite crystal composed of
a small tetravalent metal ion placed inside a larger lattice of divalent metal
ions and O2 (see Figure 3). Preparing such a ceramic, fine powders of the
component metal oxides are mixed in very specific proportions, and heated
to form a uniform powder, which is then mixed with an organic binder. The
powder turns into dense crystalline structure via specific process of heating,
and cooling.
Above the Curie temperature, each perovskite crystal exibit no dipole
moment (see Figure 4). Just below the Curie temperature each crystal has
tetragonal symmetry, and a dipole moment. Alaining these dipoles using
electrodes on the appropriate surfaces to create a strong DC electric field,
gives a net polarization. This is called poling process. After removing the
electric field most of the dipoles remain in a locked place, creating permanent
polarization and permanent elongation. The length increase of the element
is usually within the micrometer range. Tension or mechanical compression
changes the dipole moment associated with the particular element creating
a voltage. Tension perpendicular to direction of polarization or compression
12
Figure 3: Crystalline structure of a piezoelectric crystal, before and after polarization.
along the direction of polarization generates voltage of the same polarity
as the poling voltalge. Tension along the polarization or compression per-
pendicular to the direction or polarization generates an opposite voltage to
that of the poling voltage. The voltage and the compressive stress generated
applying stress to the piezoelectric crystal are linearly proportional up to a
specific stress. In this way the crystal works as a sensor. The piezoelec-
tric crystal expands and contracts when poling voltages are applied, and in
this way the use is an actuator. This way electric energy is converted into
mechanical energy. When electric fields are low, and small mechanical stress
the piezoelectric materials have a linear profile. Under high stresses and elec-
tric fields this breaks into very nonlinear behavior. Straining mechanically a
poled piezoelectric crystal makes it electrically polarized, producing an elec-
tric charge on the surface of the material. This is the direct piezoelectric
effect and it is the basis of sensory use.
The electromechanical equations for a linear piezoelectric crystal are (
[12], [13]):
εi = SE
ij σj + dmiEm (37)
13
Figure 4: Poling process: (i) Before polarization; (ii) Polarization is gained using a very
large DC electric field; (iii) The remnant polarization after removing the field.
14
Figure 5: Axis for linear piezoelectric material describing the electromechanical
equations.
Dm = dmiσi + ξσ
ikEk, (38)
where i, j = 1, 2, . . ., 6 and m, k = 1, 2, 3 are different directions in the
coordinate system shown in Figure 5. The equations are usually written in
another form when the appications involve sensory actions:
εi = §D
ij σj + gmiDm (39)
Ei = gmiσi + βσ
ikDk (40)
where σ . . . stress vector (N/m2
) ε . . . strain vector (m/m) ξ . . . (F/m) E
. . . vector of applied electric field (V/m) d . . . matrix of piezoelectric strain
constants (m/V ) S . . . matrix of compliance coefficients (m2
/N) g . . . matrix
of piezoelectric constants (m2
/C) β . . . impermitivity component (m/F) D
. . . vector of electric displacement (C/m2
)
The asumption here is that measurements of D, E, and σ are taken at
constant electric displacement, constant stress and constant electric field.
Usually the crystal is poled along axis 3, and piezoelectric crystals are
transversely isotropic. Thus the equations simplify as S11 = S22, S13 = S31 =
15
S23 = S32, S12 = S21, S44 = S55, S66 = 2(S11 −S12), and others are zero. The
non-zero piezo-electric strain constants are d31 = d32, and d15 = d24. Also
the non-zero dielectric coefficients are eσ
11 = eσ
22, and eσ
33. One can write these
in matrix form to give:








ε1
ε2
ε3
ε4
ε5
ε6








=








S11 S12 S13 0 0 0
S12 S11 S13 0 0 0
S13 S13 S33 0 0 0
0 0 0 S44
0 0 0 0 S44 0
0 0 0 0 0 2(S11 − S12)
















σ1
σ2
σ3
σ4
σ5
σ6








+








0 0 d31
0 0 d31
0 0 d33
0 d15 0
d15 0 0
0 0 0










E1
E2
E3

(41)
and


D1
D2
D3

 =


0 0 0 0 d15 0
0 0 0 d15 0 0
d31 d31 d33 0 0 0










σ1
σ2
σ3
σ4
σ5
σ6








. (42)
dij is the ratio of the strain in the j-axis to the electric field along the
i-axis, taking external stresses constant. Voltage V is apllied as Figure 6 with
the crystal beign polarized in the z-direction, generates electric field:
E3 =
V
t
. (43)
This strains the transducer, e.g.
ε1 =
∆l
l
(44)
and
∆l =
d31V l
t
. (45)
Constant d31 is usually negative as the positive electric field generates a
positive strain in z-direction. dij can also be interpreted as the ratio of short
16
circuit charge per unit area flowing between connected electrodes perpendic-
ular j to the stress applied along i. A force Fk is applied to the transducer
generates the stress
σ3 =
F
lw
(46)
resulting in the elecric charge
q = d33F (47)
flowing through the short circuit. The constant gij denotes the electric
field along i when the material is stressed along j. Force F applied in the
positive i, resulting in the voltage:
V =
g31F
w
. (48)
The other way to intepret gij is to take the ratio of strain along j to the
charge per unit area deposited on electrodes perpendicular to i. Placing an
electric charge Q on the surface electrodes (plates are on top and bottom
perpendicular to k) changes the thickness by:
∆l =
g31Q
w
. (49)
Constant Sij is the ratio of the strain in i-direction to the stress in j-
direction, given that there’s no stress along the other two directions. Direct
strains and stresses have indeces 1 to 3, and shear stresses and strains have
indeces 4 to 6. E is used to mark elastic compliace SE
ij measured with the
electrodes short-circuited, and similarly D denotes that the measurements
were done with electrods left open-circuited. SE
ij is maller than SD
ij as me-
chanical stress results in an electrical responce that can increase the resultant
strain meaning that a short circuited piezo has a smaller Young’s modulus
of elasticity than open-ciruited.
The dielectric coefficient eij is the charge per unit area along x-axis due to
applied field applied in the y-axis. Relative dielectric constant K is defined
as the ratio of the absolute permitivity of the material by the permittivity of
free space. σ in eσ
11 is the permittivity for a field applied along x-axis, when
the material is not restrained.
17
Ability of a piezoceramic to transform electrical energy to mechanical
energy and vice verca is denoted by kij. The stress or strain is j-oriented
and electrodes are perpendicular to i. Applying a force F to the crystal,
while leaving the terminals open circuited makes the device deflect like a
spring. This deflection is ∆z, and the mechanical work is:
WM =
F∆z
2
. (50)
Electric charges accumulate on the electrodes due to piezoelectric effect
amounting to the elecrical energy in the piezoelectric capacitor:
WE =
Q2
2CP
. (51)
From this we get
k33 =
WE
WM
=
Q
F∆zCp
. (52)
The coupling can be written otherwise as
k2
ij =
d2
ij
Sij
E
eσ
ij = gijdijEp, (53)
where Ep is the Young’s modulus of elasticity. Now we turn to see how the
piezoelectric sensor works on these basis, as described above. Piezoelectric
sensors offer superior signal to noise ratio, and better high-frequency noise
rejection, thus they are quite suitable for applications that involve measur-
ing low strain levels. When a piezoelectric crystal sensor is subjected to a
stress field, assuming the applied electric field is zero, the resultind electrical
displacement vector is:


D1
D2
D3

 =


0 0 0 0 d150
0 0 0 d15 0 0
d31 d31 d33 0 0 0










σ1
σ2
σ3
σ4
σ5
σ6








(54)
18
The charge generated can be determined
q = D1 D2 D3


dA1
dA2
dA3

 , (55)
where dA1, dA2 and dA3 are the differential electrode areas in the y − z,
x − z and x − y planes. The voltage generated VP is related to charge
VP =
q
CP
, (56)
where CP is the capacitator of the sensor. By measuring VP , the strain can
be calculated from the integral above. A calibrated piezoelectric accelerom-
eter is a sensor, and the voltage measured can then be used as measure or
acceleration thus this is very useful for very precise frequency analysis. Fig-
ure 6 shows a typical configuration of a piezoelectric accelerometer mounted.
Small size, and rigidness generally means that stucture’s vibrational charac-
teristics will be minimal, but the structure does often affect the vibrational
characteristics of the attached accelerometer. Accelerometer’s sensitivity is
defined as the ratio of the output signal (voltage in our case) to the acceler-
ation of its base. The major resonant frequency of the accelerometer is the
lowest frequency for which the sensitivity has a maximum. The frequency
range of use is generally taken as that region in which sensitivity does not
change significantly from the value found near 100 Hz [14] when calibrated
on a conventional shaker table. The upper limit of an accelerometer is lower
than the determined by resonance of the accelerometer alone, when the mass
of accelerometer affects the motion of the structure.
To estimate the largest frequency to be measured can be calculated using
the following model. We assume the system consisting of masses (m1, m2 and
m3), and springs (assumed massless, and their spring constants ka and ks)
as in Figure 6. Let us suppose that a sinusoidally varying mechanical force
F cos ωt, is imposed on m3 from outside the system taking the position x3 is
A3 cos ωt. The resultant motion of m1, and m2 or the varying positions x1
and x2 (Figure 7) are considered as the frequency of the drive force is varied.
After transient effects die away, the equations describing the motion of m1
and m2 under the dynamic forces are:
m1 ¨x1 + ka(x1 − x2) = 0 (57)
m2 ¨x2 + ka(x2 − x1) + ks(x2 − x3) = 0. (58)
19
Figure 6: A typical configuration of a piezoelectric accelerometer.
Figure 7: Applied force and displacements.
20
The resonance sought is the lowest value of ω at which a maximum of
(x1 − x2) occurs by varying ω. When the system is in dynamic equilibrium
and resonance is approached from below, the motions will be at the drive
frequency and in phase.
x1 = A1 cos ωt (59)
x2 = A2 cos ωt (60)
¨x1 = −A1ω2
cos ωt (61)
From this we obtain
(ka − m1ω2
)A1 − kaA2 = 0 (62)
−kaA1 + (ks + ka − m2ω2
)A2 = ksA3 (63)
Resonance occurs when A1 − A2 has a maximum value. There’s no prob-
lem due to phase considerations because resonance is approached from below
and, with no damping, x1 and x2 can be considered to be in phase with the
motion of the driving element i.e. with x3. The solution for A1 and A2 each
has the determinant of its coefficients in the denominator. Thus maximum
values of A1 and A2 occur when this determinant vanishes. An equation in
the resonant frequency ω results:
(ka − m1ω2
)(ka + ks − m2ω2
) − k2
a = 0. (64)
This can be written as quadratic in ω2
,
ω4
− [ka(
1
m1
+
1
m2
) + ks
1
m2
]ω2
+
kaks
m1m2
= 0 (65)
Now we simplify the calculations by taking new constants a = m2/m1,
r = ks/ka, and ω2
0 = ka/m1. Substituting these into the above equation and
calculating the frequency:
ω = ω2
0
[1 + 1
a
(1 + r)] − [1 + 1
a
(1 + r)]2 − 4r
a
2
. (66)
21
From this we can get the upper limit of the usable frequency. Usually this
value is given, and sometimes the relative frequency is given as ω/ω0. If this
value is not given, then one can estimate. Now in our case the measurements
on the cryostat imply that the mass of the accelerometer does not alter
the results, and the accelerometers base m2 is rigidly attached (in our case
a very strong magnet and straps) to a very large mass m3 (cryostat’s or
the supporting frame’s mass) so that m1 and ka are the only resonance-
determined parameters. These parameters are usually given, but if not it
can be relatively easy to approximate those. In this case of rigid attachment
masses m2 and m3 are combined, and taking m3 = ∞ we get
ω = ka/m1. (67)
The Nyquist frequency should be set little below this frequncy, and the all
frequencies above the Nyquist frequency should be filtered out (see next sec-
tion). Or if it is know what frequencies are to be looked for then the highest
frequency should be set according to that. Accelerometers are also subjected
to thermal-transient stimuli from stronger vibrations. Certain properties
of piezoelectric accelerometers can cause them to generate spurious output
signals in response to such thermal transients, leading to significant measure-
ment errors. Many piezoelectric crystalline materials are also pyroelectric [15]
that is, a change of temperature causes a change in the polarization charges
in the material. Pyroelectric output signals can result from a uniform or
non-uniform distribution of thermal charges within the material. In addi-
tion, mechanical strain within the piezoelectric element, resulting differential
thermal expansion of the components of an accelerometer subjected to ther-
mal transients, may generate spurious output signals. In conditions where
the accelerometer is exposed to blasts, non-uniform heating is propable. The
resultant output signal will thus include pyroelectrically generated charges
and charges produced by changes in the mechanical loading of the crystal
resulting from differential expansion of accelerometer components. This is
the reason why after rigid attaching of the piezoelectric accelerometer on the
cryostat or its frame one should wait for some time for normal conditions to
reappear. Usually the pyroelectric effect under normal stated conditions for
most piezoelectric crystals are not significant under frequencies of 3000 Hz
and amplitudes of 5 g [16]. So there should not be any problem with normal
measurements with the setup of the cryostat. However care should be taken
as to where the accelerometer is placed, e.g. it should not be placed in close
proximity of electronic devices that give strong electric fields or directly leak
heat into the surroundings.
22
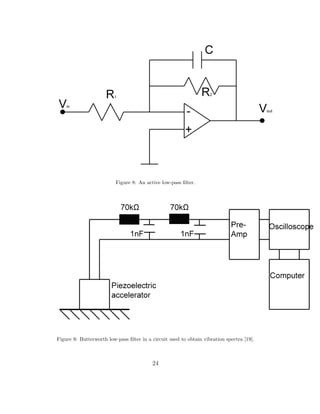
5 Low-pass filter and measurement setup
Taking into account the different frequency aspects namely the Nyquist fre-
quency, and the maximum frequency of the piezoelectric accelerometer under
which it operates, one needs to have a low-pass filter. Using this wisely will
eliminate almost all coputed aliasing, and bad signals from the crystal. Usu-
ally the window of interest lies somewhere in the region of 0 to 100 Hz, which
is easily attained by the machinery used. Ideally low-pass filters completely
eliminate all frequencies above the cut-off frequency while passing those be-
low unchanged. Real time filters approximate the ideal filter by windowing
the infinite impulse response to make a finete impulse response. Digital filter-
ing in our case is not the best solution, better is to use an electronic low-pass
filter. A second-order filter does a better job of attenuating higher frequen-
cies. There are many different types of filter circuits, with different responses
to changing frequency. A first-order filter will reduce the signal amplitude by
half every time the frequency doubles (goes up one octave). As the frequency
reach of the equipment used is so large, the low-pass filter can be relatively
simple one. One could use or build easily an active low-pass filter. In the
operational amplifier shown in the Figure 8, the cutoff frequency is defined
as
fc =
1
2πR2C
(68)
or equivalently in radians per second
ωc =
1
R2C
. (69)
The gain in the passband is −R2/R1, and the stopband drops off at −6dB
per octave, as it is a first-order filter.
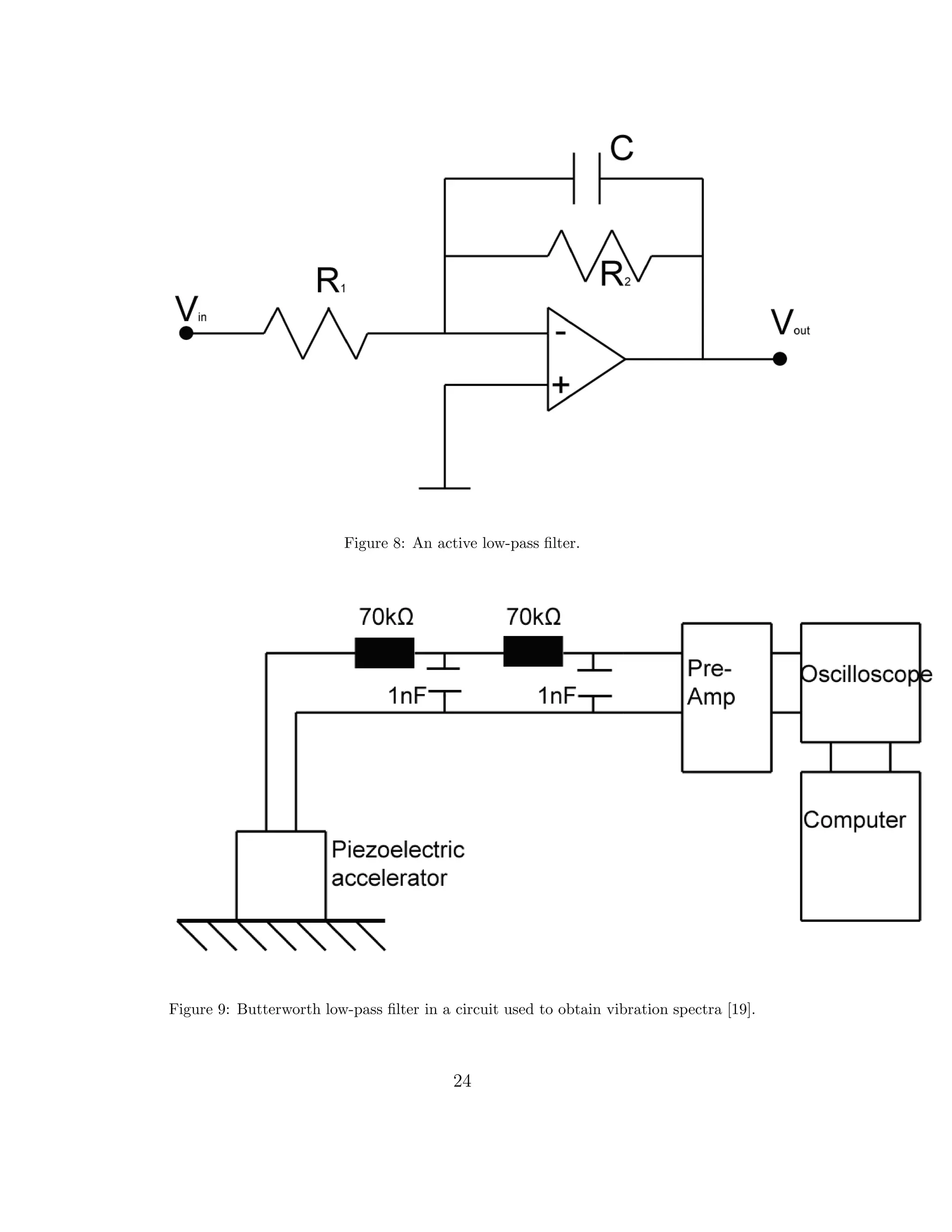
If this doesn’t work as wished one can easily build a second order (or
higher) Butterworth filter (see Figure 9 [19]), which decreases −12dB per
octave. Also the frequency responce of the Butterworth filter is maximally
flat [18] in the passband compared to Chebyschev Type I / Type II or an
elliptic filter [17].
6 Vibrations
The types of vibrations in our case can be divided into two main categories:
the unbalanced rotation of the cryostat creates harmonic oscillations and
23
Figure 8: An active low-pass filter.
Figure 9: Butterworth low-pass filter in a circuit used to obtain vibration spectra [19].
24
other noisy vibrations, and other is resulting from external vibrations e.g.
electronic devices on the cryostat, the pumps and vibrations from ground
or foundation vibrations. Torsional vibration analysis is vital for ensuring
reliable machine operation, especially as very precise measurements are made
on the large cryostat. If rotating component failures occur on the cryostat
as a result of torsional oscillations, the consequences can be catastrophic.
In the worst case, the entire machine can be wrecked as a result of large
unbalancing forces, and worse injury to human beigns might be inflicted.
The foundation and electronics vibations are easier to allocate, but are big
enough to cause problems as vibrations could affect the nuclear stage and
the demagnetization solenoid creating a heat leak there as suggested by [19].
The level of vibration in a structure can be attenuated by reducing either the
excitation or the response of the structure to that excitation or both. These
could be relocating equipment, or isolating the structure from the exciting
force. The torsional vibrations can be reduced by balancing the load on the
rotating machinery. Real structures consist of an infinite number of elestically
connected masses and have infinite number of degrees of freedom. In reality
the motion is often such that only a few coordinates is needed to describe
the motion. The vibration of some structures can be analysed using a sigle
degree of freedom. Other motions may occur, but in our case for instance
for analysing the electric and foundation vibrations other vibrations can be
dimished, and electrical devices can be measured one at the time (to see more
comprehensive study [20]. A body of mass m is free to move along a fixed
horizontal surface attached to a spring k one end fixed. Displacement of the
mass is denoted by x, so giving this initial displacement x0, and letting go
we get:
¨x +
k
m
x = 0 (70)
giving
x = A cos ωt + B sin ωt, (71)
where A and B are constants, and ω is the circular frequency. Now with
x = x0 and t = 0 gives A = x0, and ˙x = 0 and t = 0 gives
x = x0 cos
k
m
t. (72)
25
When springs are in series the total spring constant can be calculated as
the deflection at the free end, δ, experienced applying the force F is to be
the same in both cases,
δ = F/ke =
i
F/ki (73)
so that
1/ke =
i
1/ki. (74)
Similarly parallel springs give
ke =
i
ki. (75)
Let us consider a beam with m as the mass unit length, and y is the
amplitude of the deflection curve (see Figure 10) then
Tmax =
1
2
˙y2
maxdm =
1
2
ω2
y2
dm, (76)
where ω is the natural circular frequency of the beam, and Tmax is the
maximum kinetic energy.
The strain energy of the beam is the work done on the beam which is
stored as elastic energy. If the bending moment is M, and the slope of the
elastic curve is θ, the potential energy is
V =
1
2
Mdθ. (77)
Assuming the deflection of beams small
Rdθ = dx, (78)
thus
1
R
=
dθ
dx
=
d2
y
dx2
. (79)
26
Figure 10: Beam deflection.
From beam theory [21], M/I = E/R, where R is the radius of curvature
and EI is the flexural rigidity:
V =
1
2
M
R
dx =
1
2
EI
d2
y
dx2
2
dx. (80)
Now Tmax = Vmax;
ω2
=
EI d2y
dx2
2
dx
y2dm
. (81)
This expression gives the lowest natural frequency of transverse vibration
of a beam. It can be seen that to analyse the transverse vibration of a partic-
ular beam by this method requires y to be known as a function of x. In the
case of the cryostat’s frame this method can prove to be quite cumbersome.
Real structures dissipate vibration energy, so damping sometimes becomes
significant. Damping is difficult to model exactly because the mechanisms
of the structures. Using simplified models usually gain quite good results,
and can give insight to the problem. Viscous damping is a common form of
27
damping, and the viscous damping force is proportional to the first power of
the velocity across the damper, and it is always opposed to motion, so that
damping force is linearly continuous function of the velocity. Simple model
can be imagined taking a horizontal m mass attached to a spring k and a
damper c (damping force is proportional to velocity), which are both fixed.
As before we get for the equation of motion:
m¨x + c ˙x + kx = 0. (82)
Assuming solution of the form x = Xest
= 0, and substituting for roots:
s1,2 = −
c
2m
±
(c2 − 4mk)
2m
, (83)
hence
x = X1es1t
+ X2es2t
, (84)
where X1 and X2 are arbitrary constants found from initial conditions.
The dynamic behavious of the system depends opon the numerical value of
the radical, so defining critical damping cc = 2
√
km making the radical zero,
and undamped natural frequency ω = cc/2m. Defining damping ratio by
ζ = c/cc, (85)
and
s1,2 = (−ζ ± (ζ2 − 1))ω. (86)
When damping is less critical ζ < 1
s1,2 = −ζω ± i (1 − ζ2)ω (87)
so
x = Xe−ζωt
sin ( (1 − ζ2)ωt + φ). (88)
28
When ζ = 1 the damping is critical and equation x = (A + Bt)e−ωt
is
valid. Finally damping greater than critical ζ > 1 gives two negative real
values of s so that x = X1es1t
+ X2es2t
. Substituting for damping constant
a constant friction force Fd that represents dry friction (Coulomb damping)
applicaple in many mechanisms:
m¨x + kx = Fd. (89)
Getting a solution
x = A sin ωt + B cos ωt +
Fd
k
. (90)
Hence
x = (x0 +
Fd
k
cos ωt +
Fd
k
, (91)
where the oscillation ceases with | x |≤ Fd/k, and the zone x = ±Fd/k is
called the dead zone. Many real structures have both viscous and Coulomb
damping. The two damping actions are sometimes dependent of amplitude,
and if the two cannot be separated a mixture of linear and exponential decay
functions have to be found by trial and error. In most real structures separat-
ing stiffness and damping effects is often not possible. This can be modeled
using complex stiffness k∗
= k(1 + iη), where k is the static stiffness, and
η is the hysteric damping loss factor. A range of values for η can be found
for common engineering materials in basic literature ( [22]). The electronic
devices on the cryostat behave as external excitation forces usually periodic.
From previous we construct a model as taking mass m connected to a fixed
spring and viscous damper, whilst a harmonic force of circular frequency ν
and amplitude F:
m¨x + c ˙x + kx = F sin(νt). (92)
Solution can be taken as x = X sin(νt − φ), where motion lags the force
by vector φ, so substituting and using cos − sin relations we get
mXν2
sin(νt − φ + π) + cXν sin(νt − φ + π/2) + kX sin(νt − φ) = F sin(νt).
(93)
29
From this
F2
= (kX − mXν2
)2
+ (cXν)2
, (94)
or
X = F/ ((k − mν2)2 + (cν)2), (95)
and
tan(φ) = cXν/(kX − mXν2
). (96)
The steady state solution
x =
F
((k − mν2)2 + (cν)2)
sin(νt − φ), (97)
where
φ = tan−1 cν
k − mν2
. (98)
The complete solution includes the transient motion given by the com-
plementary function:
x = Ae−ζωt
sin(ω (1 − ζ2)t + α), (99)
where ω = k/m and Xs = F/k so that
X
Xs
=
1
(1 − (ν/ω)2)2 + (2ζν/ω)2
, (100)
and
φ = tan−1 2ζ(ν/ω)
1 − (ν/ω)2
. (101)
30
Figure 11: Isolating vibrating machine.
X/Xs is known as the dynamic magnification factor, where Xs is static
deflection of the system under a steady force F, and X is the dynamic ampli-
tude. The mechanical vibration arises from the large values of X/Xs, when
ν/ω has a value near unity, meaning that a small harmonic force can produce
a large amplitude of vibration. Resonance occurs when the forcing frequency
is equal to natural frequency e.g. ν/ω = 1. The max of X/Xs can be attained
from differentiating to get:
(ν/ω)(X/Xs)max = 1 − 2ζ2) ≃ 1, ζ ≈ 0, (102)
and
(X/Xs) = 1/(2ζ 1 − ζ2). (103)
For small ζ, (X/Xs)max ≃ 1/2ζ is a measure of the damping and is known
as the Q factor. The force transmitted to the foundation or supporting struc-
ture can be reduced by using flexible mountings with the correct properties.
Figure 11 shows a model of such a system.
31
The force transmitted to the foundation is the sum of the spring force
and the damper force. Thus the transmitted force is given by
FT = (kX)2 + (cνX)2. (104)
The transmissibility is given by
TR =
FT
F
=
X k2 + (cν)2
F
(105)
since
X =
F/k
(1 − ν
ω
2
)2 + 2ζ ν
ω
)2
, (106)
TR =
1 + (2ζ ν
ω
)2
1 − (ν
ω
)2 + 2ζ ν
ω
2
. (107)
Therefore the force and motion transmissibilities are the same. It can be
seen that for good isolation ( [21]) ν/ω >
√
2, hence for a low value of ω
is required which implies a low stiffness, that is a flexible mounting. In the
cryostat it is particularly important to isolate vibration sources e.g. the elec-
trical devices because vibrations transmitted to structure radiate well, and
serious heat leak problems can occur. Theoretically low stiffness isolators
are desirable to gice a low natural frequency. There are four types of spring
material commonly used for resilient mountings and vibration isolation: air,
metal, rubber, and cork. Air springs can be used for very low-frequency
suspensions: resonance frequencies as low as 1 Hz can be achieved whereas
metal springs can only be used for resonance frequencies greater than about
1.3 Hz. Metal springs can transmit high frequencies, however, so rubber
or felt pads are often used to prohibit metal-to-metal contact between the
spring and the structure. Different forms of spring element can be used as
coil, torsion, cantilever and beam. Rubber can be used in shear or compres-
sion but rarely in tension. It is important to determine the dynamic stiffness
of a rubber isolator because this is generally much greater than the static
stiffness. Rubber also possesses some inherent damping although this may
be sensitive to amplitude, frequency and temperature. Natural frequencies
32
from 5 Hz upwards can be achieved. Cork is one of the oldest materials
used for vibration isolation. It is usually used in compression and natural
frequencies of 25 Hz upwards are typical. For precise isolation systems, and
materials please refer to [23]. The above analysis is more for analysing the
vibrations due to electrical devices and the pumps, as they are consistent
usually having some periodicity giving only specific frequency peaks in fre-
quency spectrum. For external noise from the surroundings are more likely
to be random processes (as in [19]) possibly due to heavy traffic on a nearby
road or other large machinery used nearby. Collection of sample functions
x1(t), x2(t), . . . , xn(t), which make up the ensemble x(t). Normal or Gaussian
process is the most important of random processes because a wide range of
physically observed random waveforms represented by Gaussian process:
p(x) =
1
√
2πσ
e− 1
2
x−x
σ
2
, (108)
is the density function of x(t), where σ is the standard deviation of x,
and x is the mean of x. The values of σ and x may vary with time for a non-
stationary process but are independent of time if the process is stationary.
x(t) lies between −λσ and λσ, where λǫR+
taking x with probability
Prob{−λσ ≤ x(t) ≤ λσ} =
λσ
−λσ
1
√
2πσ
e(− 1
2
x2
σ2 )
dx. (109)
Probabilities with varying λ can be found for example in [24]. We now
turn to actual methods of damping the unwanted vibrations. Some reduction
can be achieved by changing the machinery generating the vibration, for ex-
ample removing the fans from electrical devices, and using static heat sinks
commercially available noting problems involved. It is desirable for the cryo-
stat and the framework to possess sufficient damping so that the response
to the expected excitation is acceptable. If damping in the structure is in-
creased the vibrations and noise, and the dynamic stresses will be reduced
directly resulting in lowered heatleak. However increasing damping might be
expensive and may require big changes in already existing buildings. Good
vibration isolation can be achvieved by supporting the vibration generator
on a flexible low-frequency mounting. Air bags or bellows are sometimes
used for very low-frequency mountings where some swaying of the supported
system is allowed. Approximate analysis shows that the natural frequency of
a body supported on bellows filled with air under pressure is inversely pro-
portional to the square root of the volume of the bellows, so that a change
33
in natural frequency can simply be affected by change in the volume of the
bellows. Greater attenuation of the exciting force at high frequencies can be
achieved by using a two-stage mounting. In this arrangement the machine
is set on flexible mountings on an inertia block, which is itself supported by
flexible mountings. This may not be expensive to install since for example
the cryostat can be used as the inertia block. Naturally, techniques used for
isolating structures from exciting forces arising in machinery and plant can
also be used for isolating delicate equipment from vibrations in the struc-
ture. Normal solution to vibrational problems is to place the cryostat on a
heavy block supported by air springs, and rotating motors placed on bellows
wrapped with isolating tape [25]. Of course increasing the mass of the block
increases the resonant frequency decreases, this might be a problem with ro-
tation. There are also active isolation systems in which the exiciting force or
moment is applied by an externally powered force or couple. The opposing
force or moment is applied by an externally powered force. The opposing
force can be produced by means such as hydraulic rams. All materials dis-
sipate energy during cyclic deformation due to molecular dislocations and
stress changes at grain boundaries. Such damping effects are non-linear and
variable within material. Some particular materials such as damping alloys
have a certain enhanced damping mechanisms. The load extension hysteresis
loops for linear materials and structures are elliptical under sinusoidal load-
ing, and increase in area according to the square of the extension. Although
the loss factor η of a material depends upon its composition, temperature,
stress and the type of loading mechanism used, an approximate value for η
can be given [26]. Pure aluminium has loss factor of 0.00002 − 0.002, and
hard rubber has 1.0. In a single or multi degree of freedom system mode
is excited into resonance, and the excitation frequency nor the natural fre-
quency can be altereded then adding a single degree of freedom can be of
use. One can consider this using a model such as in Figure 12, where K and
M are the effective stiffness and mass of the primary system.
The absorber is represented by the system with parameters k and m. The
equations of motion for the primary system:
M ¨X = −KX − k(X − x) + F sin νt (110)
and for the vibration absorber
m¨x = k(X − x), (111)
where X = X0 sin νt and x = x0 sin νt.
34
Figure 12: System with undamped vibration absorber.
It can be easily seen that
X0 =
F(k − mν2
)
∆
, (112)
and
x0 =
Fk
∆
, (113)
where ∆ = (k − mν2
)(K + k − Mν2
) − k2
, and ∆ = 0 is the frequency
equation. Now the system possess two natural frequencies, Ω1 and Ω2, but by
arranging k − mν2
= 0, X0 can be made zero. Now if (k/m) = (K/M),
the response of the primary system at its original resonance frequency can
be made zero. This is the usual tuning arrangement for undamped absorber
because the resonance problem in the primary system is only severe when
ν ⋍ K/M. When X0, x0 = −F/k, so that the force in the absorber spring,
kx0 is −F thus the absorber applies a force to the primary system which
is equal and opposite to the exciting force. Hence the body in the primary
system has a net zero exciting force acting on it and therefore zero vibration
35
amplitude. If correctly tuned ω2
= K/M = k/m, and if the mass ratio
µ = m/M, the frequency equation ∆ = 0 is ( [21], p.196)
ν
ω
4
− (2 + µ)
ν
ω
2
+ 1 = 0, (114)
hence
Ω1,2
ω
= 1 +
µ
2
± µ +
µ2
4
1/2
. (115)
For a small µ, Ω1 and Ω2 are very close to each other, and near to ω,
increasing µ gives better separation between Ω1 and Ω2. This is of impor-
tance in systems where the excitation frequency may vary e.g. µ is small,
resonances at Ω1 or Ω2 may be excited. Now:
Ω1
ω
2
= 1 +
µ
2
− µ +
µ2
4
(116)
and
Ω2
ω
2
= 1 +
µ
2
+ µ +
µ2
4
(117)
then multiplying gives
Ω1Ω2 = ω2
(118)
and
Ω1
ω
2
+
Ω2
ω
2
= 2 + µ. (119)
One can use these relations to desing an absorber, and can be used for
instance for a pump having mass of mp rotating at constant speed of ωp
rev/min, giving large unbalance vibrations. Fitting an undamped absorber
so that the natural frequency of the system is removed by 20%. We model
the pump as in Figure 13, so we get the equation of motion:
36
Figure 13: Model of a pump.
mp ¨x1 + kpx1 = F sin νt, (120)
gettin
x1 = X1
F
k1 − mpν2
, (121)
where k1 can estimated or deviced. When X1 = ∞ then ν = k1/mp,
that is resonance occurs when ν = ω = k1/m1. Assuming x2 > x1 (Figure
14) we get:
m2 ¨x2 = −k2(x2 − x1) (122)
and
mp ¨x1 = k2(x2 − x1) − k1x1 + F sin νt. (123)
37
Figure 14: Adding the absorber on the pump.
Taking x1,2 = X1,2 sin νt giving
X1(k1 + k2 − m1ν2
) − X2k2 = F (124)
and
−X1k2 + X2(k2 − m2ν2
) = 0. (125)
From this
X1 =
F(k2 − m2ν2
(k2 + k1 − mpν2)(k2 − mmν2) − k2
2
. (126)
If ν2
= k2/m2, X1 = 0 then the frequency equation is (k1+k2−mpν2
)(k2−
m2ν2
) − k2
2 = 0. Putting µ = m2/mp = k2/k1 and Ω = k2/m2 = k1/mp,
giving
ν
Ω
2
=
2 + µ
2
±
µ2 + 4µ
4
. (127)
38
From this and smallest absorber mass ν1/Ω = 0.8 as then ν2/Ω = 1.25,
which is acceptable. Thus µ = 0.2 and hence
m2 = µmp = 0.2mp, (128)
and
k2 = 2πωp. (129)
One good system is a ciscous damped absorber such as in Figure 15.
Equations of motion are:
M ¨X = F sin νt − KX − k(X − x) − c( ˙X − ˙x) (130)
and
m¨x = k(X − x) + c( ˙X − ˙x). (131)
Substituting X = X0 sin νt and x = x0 sin (νt − φ) gives, after some
manipulation,
X0 =
F (k − mν2)2 + (cν)2
((k − mν2)(K + k − Mν2) − k2)2 + (cν(K − Mν2 − mν2))2
.(132)
When c = 0 this reduces to the undamped vibration absorber. If c is
large then
X0 =
F
K − ν2(M + m)
. (133)
Response of the primary system is minimized over a wide frequency range
by choosing different c. If k = 0,
X0 =
F
√
m2ν4 + c2ν2
((K − Mν2)mν2)2 + (cν(K − Mν2 − mν2))
. (134)
When c = 0,
39
Figure 15: System with damped vibration absorber.
X0 =
F
K − Mν2
, (135)
and when c is very large,
X0 =
F
K − (M + m)ν2
. (136)
7 Torsional vibrations
Historically torsional modes in machinery were always the first to consider
and analyze, in order to avoid extreme stresses. Today torsional vibration
analysis is routinely done throughout design of rotating machines. Their ex-
istence can be discovered when using dedicated instruments [27] to measure
torsional vibrations. Torsional vibration is an oscillatory angular motion
causing twisting in the shaft of a system. Motion is rarely a concern with
torsional vibration unless it affects the function of a system. It is stresses
that affect the structural integrity and life of components and thus determine
40
the allowable magnitude of the torsional vibration. In our case the determin-
ing factor is the heat leak into the nuclear stage. The complicated system of
the cryostat can be crudely modeled to gain insight into the problem. How-
ever the torsional vibration is a complex vibration having many different
frequency components. The cryostat can be crudely taken as cylinder ro-
tating a perpendicular axis. The polar moment of inertia can be calculated
from the general fromula J = r2
dm, where r is the instanteneous radius,
and dm is the differential mass. The formula for the polar moment of inertia
of a cylinder rotating about a perpendicular axis is
J =
πd4
lγ
32g
, (137)
where J is the polar moment of inertia, γ material density, d diameter of
cylinder, l is axial length of cylinder, and g acceleration due to gravity. The
torsional stiffness is (πd4
G)/(32l), where G is rigidity modulus, and substi-
tuting d2−d1 for d gives you formula for an annulus with outer-inner diameter
d2-d1. Taking the cryostat as a circular shaft (Figure 16) is made of material
of mass density ρ and shear modulus G and has a length L, cross-sectional
area A, and polar moment of inertia as above. Let x be the coordinate along
the axis of the shaft. The shaft is subject to a time-dependent torque per
unit lenght, T(x, t). Let θ(x, t) measure the resulting torsional oscillations
where θ is chosen positive clockwise. Figure 17 shows free-body diagrams
of a differential element of the shaft at an arbitrary instant of time. The
element is of infinitesimal thickness dx and its left face is a distance x from
the left end of the shaft.
The free-body diagram of the external forces shows the time-dependent
torque loading as well as the internal torques developed in the cross sections.
The internal resisting torques are the resultant moments of the shear stress
distributions. If Tr(x, t) is the resisting torque acting on the left face of the
element, then a Taylor seris expansion truncated after the linear terms gives:
Tr(x + dx, t) = Tr(x, t) +
δTr(x, t)
δt
dx. (138)
The directions of the torques shown on the free-body diagram are consis-
tent with the choise of θ positive clockwise. Since the disk is infinitesimal,
the angular acceleration is assumed constant across the thickness. Thus the
free-body diagram of the effective forces simply shows a moment equal to the
mass moment of inertia of the disk times its angular acceleration. Summation
of moments about the center of the disk
41
Figure 16: Circular shaft subject to torsional loading.
Figure 17: Free-body diagram of the differential element of shaft at arbitrary instant.
42
M
ext
= M
eff
(139)
gives
T(x, t)dx − Tr(x, t) + Tr(x, t) +
δTr(x, t)
δx
dx = ρJdx
δ2
θ(x, t)
δt2
(140)
or
T(x, t) +
δTr(x, t)
δx
= ρJ
δ2
θ
δt2
. (141)
From mechanics of materials,
Tr(x, t) = JG
δθ(x, t)
δx
(142)
which leads to
T(x, t) + JG
δ2
θ
δx2
= ρJ
δ2
δ
δt2
. (143)
Using the following to simplify x∗
= x/L, t∗
= G/ρ(t/L), and T∗
(x∗
, t∗
) =
T(x, t)/Tm, where Tm is the maximum value of T. From these
L2
Tm
JG
T(x, t) +
δ2
θ
δx2
=
δ2
θ
δt2
, (144)
where the ∗ has been dropped from nondimensional variables. The prob-
lem formulation is completed by specifying appropriate initial conditions of
the form
θ(x, 0) = g1(x) (145)
and
δθ(x, 0)
δt
= g2(x). (146)
43
Consider
δ2
θ
δx2
=
δ2
θ
δt2
. (147)
Let us look at some cases to analyse the cryostat with the above analysis.
Firstly let us make x the length of the cryostat a unilength so that free
end is x = 1 and taking the fixed end at x = 0. The boundary condition
is θ(0, t) = 0, and ˙θ(1, t) = 0 (the derivate is in terms of x). Applying a
moment M is statically applied to the end of the shaft leading to the initial
condition θ(x, 0) = Mx/(JG) = γx. Since the shaft is released from rest
a second initial condition is ˙θ(x, 0) = 0 (the derivative is in terms of t). A
separation of variables is assumed θ(x, t) = X(x)T(t), which gives
1
X(x)
d2
X
dx2
=
1
T(t)
d2
T
dt2
. (148)
leading to
d2
T
dt2
+ λT = 0, (149)
and
d2
X
dx2
+ λX = 0, (150)
where λ is the separation constant. The solution is
T(t) = A cos
√
λt + B sin
√
λt, (151)
where A and B are arbitrary constants of integration. Similarly
T(t) = C cos
√
λx + D sin
√
λx (152)
The initial conditions give C = 0, B = 0 and the only reasonable solution
λk = [(2k − 1)
π
2
]2
k = 1, 2, . . . (153)
44
Now infinity of solutions arise corresponding to
Xk(x) = Dk sin (2k − 1)
π
2
x (154)
for any Dk. The modes are orthogonal giving
(Xk(x), Xj(x)) =
1
0
DjDk sin (2k − 1)
π
2
x sin (2j − 1)
π
2
xdx = 0 (155)
for j = k, but when k = j we get
1 = (Xk, Xk) =
D2
k
2
(156)
leading to
θ(x, t) =
∞
k=1
√
2 sin (2k − 1)
π
2
x[Ak cos (2k − 1)
π
2
t]. (157)
From the initial conditions we get the last
Ak =
4γ
√
2(−1)k+1
π2(2k − 1)2
(158)
yielding in total
θ(x, t) =
8γ
π2
∞
k=1
(−1)k+1 1
(2k − 1)2
sin((2k − 1)
π
2
x) cos((2k − 1)
π
2
t). (159)
Let us now consider a circular shaft fixed at x = 0 and has a thin disk
of mass moment of inertia I, similar to the electronics above the cryosta,
attached at x = 1. The partial differential equation governing [28]
δθ(1, t)
δx
= −β
δ2
θ(1, t)
δt2
(160)
where β = I/(ρJL). Separation of variables give:
45
dX(1)
dx
= βλX(1). (161)
The solution is
X(x) = D sin
√
λx (162)
giving
tan
√
λ =
1
β
√
λ
. (163)
There are countable but infinite values of λ, and at large k, λk approaches
((k + 1)π)2
. Let λi and λj are distinct solutions with corresponding mode
shape Xi(x) and Xj(x) respectively. The mode shapes satisfy the boundary
conditions Xi(0) = 0, Xj(0) = 0, ˙Xi(1) = βλiXi(1), and ˙Xj(1) = βλjXj(1):
d2
Xi
dx2
+ λiXi = 0 (164)
and
d2
Xj
dx2
+ λjXj = 0. (165)
Multplying the first of these by Xj(x) and integrating from 0 to 1 gives
1
0
d2
Xi
dx2
Xjdx + λi
1
0
XiXjdx = 0 (166)
and integrating by parts leads to:
Xj(1)
dXi
dx
(1) − Xj(0)
dXi
dx
(0) −
1
0
dXi
dx
dXj
dx
dx + λi
1
0
XiXjdx = 0. (167)
so that
βλiXi(1)Xj(1) −
1
0
dXi
dx
dXj
dx
dx + λi
1
0
XjXidx = 0. (168)
46
Integrating the second equation, after the multiplication by Xi(x), from
0 to 1:
βλjXj(1)Xi(1) −
1
0
dXi
dx
dXj
dx
dx + λj
1
0
XiXjdx = 0 (169)
and subtracting the last two equations leads to
(λi − λj) βXi(1)Xj(1) +
1
0
XiXjdx = 0. (170)
This implies since λi = λj
βXi(1)Xj(1) +
1
0
XiXjdx = 0 (171)
and defining scalar product of g and f by
(f, g) =
1
0
f(x)g(x)dx + βf(1)g(1) (172)
then (Xj, Xk) = 0.
The mode shape is normalized
1 = (Xk, Xk) =
1
0
D2
k sin2
( λkx)dx + D2
kβ sin2
λk = D2
k
1
0
1
2
(1 − cos(2 λkx))dx + β sin2
λk =
Little manipulation produces
Dk =
√
2(1 + β sin2
√
λ)−1/2
(174)
where λk is the kth solution.
Let us see a forced vibration example. This is similar to the problems
with the motor and the belt rotating the cryostat. We use the above model
as the cryostat and subject the thin disk to harmonic torque,
T(t) = T0 sin ωt. (175)
47
The torsional oscillations, in terms of nondimensional variables, with
θ(0, t) = 0 are
δθ
δx
(1, t) = −β
δ2
θ
δt2
(1, t) +
T0L
JG
sin ˜ωt (176)
where ˜ω = L ρ/Gω. Since the external excitation is harmonic, the
steady state response is assumed as
θ(x, t) = u(x) sin ˜ωt. (177)
This leads to
d2
u
dx2
sin ˜ωt = −˜ω2
u sin ˜ωt (178)
or
d2
dx2
+ ˜ω2
u = 0. (179)
From the boundary conditions given in the previous example and u(0) = 0
leads to
du
dx
(1) − β˜ω2
u(1) =
T0L
JG
. (180)
The solution is
u(x) =
T0L
(˜ω cos ˜ω − β˜ω2 sin ˜ω)JG
sin ˜ωx. (181)
Note that if ˜ω is equal to any of the system’s natural frequencies, the
denominator vanishes. The assumed for the solution must be modified to
account for this resonance condition. The total solution is the steady-state
solution plus the homogeneous solution, which is a summation over all free-
vibration modes. Initial conditions can then be applied to determine the
constants in the linear combination.
48
8 Balancing rotation
The unbalance of rotating machinery is the most common malfunction, even
so that any lateral vibrations are usually wrongly thought to be due to un-
balances. In our case the unbalance of the cryostat is obvious as the electric
devices, and pumping systems mounted are not symmetric, and there are
restrictions in placing them. Quite frequently, balancing procedures per-
formed on the machine, which another type of malfunction, worsens the
situation. These unbalances have been recognized for over 100 years. Bal-
ancing procedures are equally old. However during the last 25 years they
have experienced substantial improvements due to implementation of vibra-
tion measuring electronic instruments and application of computers for data
acquisition and processing. For over a century researchers have published
hundreds of papers on how to balance machines. For more advanced methods
one should consult [29]. The problem due to unbalance is easiest to identify
and correct. The unbalance causes vibrations and alternating or variable
stress in the cryostat it self and the supporting structure elements. These
vibrations are directly linked to heat leak, and thus again should be minized
as possible. The balancing problem is solved by either, relocating electronic
equipment or adding masses. After proper balancing, rotating vibrations
should be reduced in the entire range of rotational speeds, including the op-
timal operating speeds, as well as the resonance speed range. The latter is
especially important when the cryostat is operated in hihg speeds exceed-
ing the first, the second, or even higher natural modes of resocance. As the
unbalance force is proportional to the rotational frequency squared [30], the
unbalance-related grows considerably with increasing rotational speed. The
plane that is rigidly attached on the cryostat carrying the electronics can be
thought of as beign a symmetric rotor with the axis of rotation directly in
the middle. The unblance condition changes the rotor mass centerline not to
coincide with the axis of rotation. Unbalance is due to the restricted placing
of the electronic devices mounted on the plane. During rotation, the rotor
unbalance generates a centrifugal force perpendicular to the axis of rotation.
This force excites, rotor lateral vibration e.g. rotor fundamental response.
In the following presentation, the modal approach to the rotor system as a
mechanical structure, has been adopted. At the beginning, the first lateral
mode of the rotor is considered only. The lateral mode can either be rotor
bending mode or susceptibility mode. Conventionally fundamental the vibra-
tion response of the rotor at its lateral mode is due to the inertial centrifugal
exciting force, generated by unbalance. In the modal approach, limited to
the first lateral mode, the unbalance-retaled exciting force is discrete, i.e. an
average integral, lumped effect of the axially distributed unbalance in the
49
first mode. The average unbalance angular force location will be referred
to as a heavy spot. Rotors are usually similarly constrained in all lateral
directions. Therefore, they exhibit lateral vibrations in space, with two in-
separable components of motion at each specific axial section of the rotor.
These two components result in a two-dimensional orbiting motion of each
axial section. Typically, two displacement proximity transducers, mounted in
XY orthogonal configuration, will measure the lateral vibrations of the rotor
in one axial section plane. The isotropic rotor lateral synchronous motion,
as seen by the displacement transducers 90 degrees apart, will differ by 90
degrees phase angle. The rotor lateral vibrations can be observed on an oscil-
loscope in the time-base mode, and in orbital mode. The latter represents a
magnified image of the actual rotor centerline path in this section. Figure 18
illustrates the waveforms and an orbit of a slightly anisotropic rotor funda-
mental response. The angular position of the force and response vectors are
vital parameters for the balancing procedure. In practical applications, the
response phase is measured by the Keyphasor transducer ( [31], and [32]).
Keyphasor is a transducer generating a signal used in rotating for observing
a once-per-revolution event. A notch is made on the rotor, which during
rotor rotation causes the Keyphasor displacement transducer to produce an
output impulse, every time the Keyphasor notch passes under the trans-
ducer. The one-per-turn impulse signal is simultaneously received, together
with the signals from the rotor lateral displacement-observing transducers.
The Keyphasor signal is usually superimposed on the rotor lateral vibration
response time-base waveform presentation and on rotor orbits. On the os-
cilloscope display, the Keyphasor pulse is connected to the beam intensity
input (the z-axis of the oscilloscope; while the screen displays x and y axis).
The Keyphasor pulse causes modulation of the beam intensity, displaying
a bright dot, followed by a blank spot on the time-base and/or orbit plots.
The sequence bright/blank may vary for different oscilloscopes and for rotor
notch/projection routine, but is always consistent and constant for a partic-
ular oscilloscope and rotor configuration; this sequence should be checked on
rotor waveform time-base responses when the oscilloscope is first used.
The unbalance force at a constant rotational speed, Ω as seen in Figure
19 can be characterized in the following way. There’s a fixed relation to the
rotating system. The nature of the rotating period is strictly harmonic time-
base, expressed by sin Ωt, cos Ωt or eiΩt
, where t is time. When the frequency
is equal to the actual rotational speed the unbalance is rotating at the same
rate in sync with the rotor rotation. The force F is proportional to three
physical parameters namely: unbalance average, modal mass m, and square
of the rotational speed.
50
Figure 18: Rotor lateral motion measured by two displacement proximity transducers in
orthogonal orientation and the Keyphasor phase reference transducer.
51
Figure 19: Time-base waveforms of rotor response to unbalance inertia force. Note that
response lags the force by the phase difference.
52
F = mrΩ2
(182)
Force phase that is the angular orientation δ mesured in degrees or radians
from a reference angle zero marked on the rotor circumference. The unbal-
ance force causes rotor response in a form of two-dimensional orbital motion.
The harmonic time-base is expressed by a similar harmonic function as the
unbalance force and the frequency is equal to the actual rotational speed
Ω. Amplitude B is directly proportional to the amplitude of the unbalance
force, and F is inversely proportional to the rotor synchronous dynamic stiff-
ness [33]. Phase lag β represents the angle between the unbalance force vector
and response vector plus the original force phase, δ. The response always lags
the force, thus the phase moves in the direction opposite to rotation. Both
unbalance force and rotor response are characterized by the single frequency
equal to the frequency of the rotational motion. The vibrational signal read
by a pair of XY displacement transducers should, therefore, be filtered to
frequency Ω, or what is the same, to frequency describing synchronous fre-
quency of the rotor response as a multiple of one. There may exist other
frequency components in the rotor response. These possible components of
the vibrational signals are not directly useful for rotor balancing. A vector
filter can, for instance, be used for filtering of the measured signal to the first
component only. In the characterization of both the force and response, the
amplitude and phase were emphasized as two equally important parameters.
Using the complex number formalism, these two parameters can be lumped
into one the force vector and response vector correspondingly. The amplitude
will represent the length of the vector, the phase its angular orientation in
the polar plot, coordinate format. The unbalance force and rotor response
are therefore, described in a very simple way. Unbalance force is:
Fei(Ωt+δ)
= mrΩ2
ei(Ωt+δ)
(183)
and rotor fundamental response
RF = Bei(Ωt+β)
. (184)
The corresponding vectors are obtained when the periodic function of
time, eiΩt
is eliminated:
−→
F = Feiδ
= mrΩ2
ejδ
(185)
53
Figure 20: Unbalance force vector and rotor fundamental response vector in polar
coordinate format. Note conventional direction of response angle, β, lagging the force
vector in direction opposite to rotation.
and (Figure 20)
−→
RF =
−→
B = Beiβ
. (186)
The keyphasor transducer provides a very important measurement of the
rotor response phase. Since the keyphasor notch is attached to the rotor,
the keyphasor signal dot superimposed on the response waveform, represents
the meaningful angular reference system. A useful convention of coordinates
describes the angles. When the notch on the rotor is exactly under the
keyphasor transducer, the rotor section under the chosen lateral transducer
has the angle zero. In order to locate the heavy spot, looking from the driving
end of the rotor, rotate the rotor in the direction of the rotation by the angle
β. The heavy spot will then be found under the chosen lateral transducer.
This way there is no angular ambiguity, independently of the lateral probe
positions.
The rotor orbit displayed on the oscilloscope is a magnified picture of
the rotor centerline motion. The rotor fundamental response orbit, as can
be observed on the oscilloscope screen in orbital mode. Elliptical orbits are
54
due to anisotropy of the rotor support system, which is the most common
case in machinery. One Keyphasor dot on the orbit is at a constant posi-
tion, when the rotational speed is constant. It means that during its one
rotation cycle the rotor makes exactly one lateral vibration orbiting cycle.
Direction of orbiting is the same as direction of rotation called forward or-
biting. For a constant rotational speed, the orbit exhibits a stable shape
and the Keyphasor dot appears on the orbit at the same constant angular
position. The phase of the rotor fundamental response is often referred to
as the high spot. It corresponds to the location, on the rotor circumference,
which experiences the largest deflections and stretching deformations at a
specific rotational speed. Although just One-plane balancing does not have
many practical applications in machinery, it provides a meaningful general
scheme for balancing procedures. Basic equation for one plane balancing of
the rotor at any rotational speed is represented by the one mode isotropic
rotor relationship between input force vector, Feiδ
, rotor response vector,
Beiβ
and complex dynamic stiffness [34],
−→
k (Ω):
−→
k (Ω)Beiβ
= Feiδ
(187)
where
−→
k (Ω) = K − MΩ2
+ iDSΩ. (188)
The complex dynamic Stiffness represents a vector with the direct part,
kD = K − MΩ2
and quadrature part kQ = DΩ.
The rotor in Figure 18 is now defined more precisely it contains the rotor
Transfer Function [35], which is an inverse matrix of the Complex Dynamic
Stiffness,
−→
k . The inverse of the complex dynamic dtiffness is also known
receptance. The objective of balancing is to introduce to the rotor a corrective
weight of mass, mc, which would create the inertia centrifugal force vector
equal in magnitude and opposite in phase to the initial unbalance force vector.
This way, the rotor input theoretically becomes nullified and the vibrational
output results also as a zero. In practical balancing procedures, the input
vector force of the initial unbalance has therefore to be identified. Using
again the block diagram formalism, the one-plane balancing at a constant
rotational speed is illustrated in Figure 22.
Introduce the vectorial notation:
−→
F = Feiδ
and
−→
B = Beiβ
, for the
unbalance force vector and response respectively, as well as,
−→
H = 1/
−→
k for
the rotor transfer function vector. The original unbalance response at a
constant speed, Ω is:
55
Figure 21: Angular positions of unbalance force vector (heavy spot) and response vectors
at two rotational speeds and two directions of rotor rotation (a), (c), and (b), (d) and for
two locations of lateral transducers (a), (b), and (c), (d). Note that minus signs for the
angles are most often omitted and replaced by lag.
56
Figure 22: Balancing in one-plane.
−→
F
−→
H =
−→
B . (189)
In this relationship, there are two unknown vectors,
−→
H and
−→
F . The
response vector,
−→
B is measured thus its amplitude and phase are known. In
order to identify the initial unbalance force vector, it is sufficient to stop the
rotor and introduce a calibration weight of a known mass mτ at a known
radial rτ and angular δτ position into the balancing plane. When the rotor is
run again at the same constant speed, Ω, the mass mτ generates an additional
input force vector,
−→
F = mτ rτ Ω2
eiδτ
. This run is called a calibration run.
The measured rotor response vector is now
−→
B 1 = B1eiβ1
, which is different
from the response vector. For this second run, the following input/output
relationship holds true:
(
−→
F +
−→
F τ )
−→
H =
−→
B1. (190)
In the above the unknown vectors are
−→
H and
−→
F , and the others are
known. The last two equations are suffiecient to solve the one-place balancing
57
problem and calculate the unknown parameters. The unkonwn vector −
−→
F
and the corrective mass, mc are calculated, therefore, as follows:
−
−→
F = mcrcΩ2
eiδc
=
−→
F τ
−→
B
−→
B −
−→
B1
(191)
or
−
F
Ω2
= mcrceiδc
=
−→
F τ
−→
B
(
−→
B −
−→
B 1)Ω2
(192)
where rc and δc are radial and angular positions of the corrective weight
with mass mc. Note that the corrective weight is supposed to be inserted
at the same axial location on the rotor, as the calibration weight. Note also
that if the radii for the calibration and corrective weights are equal (rτ = rc)
and the original and calibration run measurements are taken at the same
rotational speed giving:
mceiδc
= mτ eiδτ
−→
B
−→
B −
−→
B1
. (193)
Finally, note that the balancing procedure does not require calculation of
the second unknown parameter, the rotor transfer function vector
−→
H provides
this vector as well:
−→
k =
1
−→
H
=
−→
F τ
−→
B 1 −
−→
B
. (194)
This synchronous dynamic stiffness vector, totally overlooked in balancing
procedures, represents a meaningful characteristic of the rotor. It should be
calculated, stored and reused, if balancing is required in the future. During
the next balancing, the old and new rotor dynamic stiffness vectors should be
compared. For a constant speed balancing, the synchronous dynamic stiffness
vector is often used in the form
−→
k /Ω2
and is known as the sensitivity vector.
The analytical solution for the corrective mass and its radius can be obtained
by splitting it into real and imaginary parts:
mcrceiδc
= mτ rτ eiδτ
Beiβ
Beiβ − B1eiβ1
= mτ rτ eiδτ
B
B − B1ei(β1−β)
(195)
58
from where
mcrc(cos δc + i sin δc) = mτ rτ (cos δτ + i sin δτ )
B
B − B1(cos (β1 − β) + i sin (β1 − β))
= mτ rτ (cos δτ + i
Now the real and imaginary parts are:
mcrc cos δc = mτ rτ B
(B − B1 cos (β − β1)) cos δτ − B1 sin (β − β1) sin δτ
B2 + B2
1 − 2BB1 cos (β − β1)
(197)
and
mcrc sin δc = mτ rτ B
(B − B1 cos (β − β1)) sin δτ + B1 sin (β − β1) cos δτ
B2 + B2
1 − BB1 cos (β − β1)
.(198)
From these we get:
mcrc = mτ rτ
B
B2 + B2
1 − 2BB1 cos (β − β1)
(199)
and
δc = δτ + arctan
B1 sin (β − β1)
B − B1 cos(β − β1)
. (200)
These represent the analytic result for the one plane balancing. This can
be done first choosing a rotational speed Ω for balancing. Next is to run the
rotor and measure its original synchronous response vector,
−→
B = Beiβ
, at the
rotational speed Ω. After this stop the rotor and choose a radial and angular
scale for plotting vectors. Draw the vector
−→
B = Beiβ
in the polar plot.
Now introduce a known calibration weight into the rotor at a convenient,
known axial, radial and angular position. Convenience consists in installing
the calibration weight in the rotor in the opposite half-plane to the original
unbalance. On the polar plot draw the corresponding calibration force vector
−→
F τ = Fτ eiβτ
= mτ rτ Ω2
eiδτ
. Run the rotor at the same speed Ω. Measure
the new rotor synchronous response vector
−→
B1 = B1eiβ1
and draw it in the
polar plot using the same scale, and then stop the rotor. Subtract vectorially
−→
B1 from
−→
B in the plot; draw a vector
−→
B −
−→
B1. Find the corrective weight
angular position as δc = δτ + θ. The angle θ is between the vectors
−→
B and
59
Figure 23: One plane balancing of a rotor using polar plot.
−→
B −
−→
B1. Since the response is proportional to the input force, the triangles
−→
B ,
−→
B1 ,
−→
B1 −
−→
B , and
−→
F ,
−→
F +
−→
F τ ,
−→
F τ are similar; they have
the same angles. Now measure on the plot the length of the vector
−→
B −
−→
B1
using the assigned scale. Next calculate the corrective mass, mc, applying
the formula:
mc = mτ
rτ B
rc
−→
B −
−→
B 1
. (201)
Finally introduce the correct weight with mass mc at the angle δc, and
radius rc to the same plane rotor as the calibration weight. This procedure
can be iterated when new equipment is added to the plane carrying the
electronics.
9 Studies of the Noise of Old Rota I Cryostat
As Rota I Cryostat was to be modified, and also partly rebuilt, rotational
characteristics were measured focusing on noise. The measurements were
60
done with all the cryostat’s electronics in place, and other set of measure-
ments were done when all the electronics were removed. The measurements
were done in the same way as previous vibrational noise measurements [36].
The measurements were done in the normal, and tangential directions from
the axis of rotation. The rotation speeds were 250, 1000, 2000, 3000 mrad/s.
The accelerometer used is a Bruel and Kjaer Accelerometer Type 4370 [37],
and Bruel and Kjaer preamplifier was used before collecting the data with
Agilent 54641 Oscilloscope [38]. The data aquired was done using TCL, and
transferred by GPIB.
The results were similar to previously done measurements [36]. The nois-
iest direction by far was the tangent of the rotation vector, this means that
the noise was rather torsional rather than back and forth swaying of the
cryostat. The 250 mrad/s speed is a problematic speed as it showed some
risen noise levels. This was propably due that some part of the cryostat
experiences its first harmonic.
In Figure 24. at 250 mrad/s some peaks in the fourier transform seemed
to be quite visible and large compared to the 1000 mrad/s case. Some of
the peaks have lowered and also disappeared at 1000 mrad/s, but the overall
noise seems to have increased at all frequencies. This is taken with all the
electronics on, and in the tangential direction. In the normal direction the
largest peaks are half to that of tangential and the overall noise is somewhat
lower at all frequencies.
As the speed was increased the noise-levels rose, but not all frequencies
seemed to be affected by this. In Figure 25. the noise-levels are additively
integrated over region up to 55 Hz at different speeds. In this tangential
noise-plot one is able to see the unbalanced increases at different frequencies.
The removal of electronics had an unexpected effect on the noiselevels.
Vibrational noise fell sharply in the measurements after the removal of the
electronics. This was probably due to the fact that load from the air bearings
was lifted, and thus removing some friction. This means that the air bearings
are experiencing their maximum load, and when the electonics are mounted
on the cryostat the friction rises.
The integration without the electronics reveals that the noise at different
speeds in the tangential directions does not vary as expected. Rather the
250 mrad/s case seems to dominate in this situation as can be seen in Figure
28. The moment of inertia has been changed, so the high noise-level at 250
mrad/s is not necessarily a first harmonic that the whole cryostat or the belt
of the rotating motor is experiencing. It could also be that motor is not
functioning perfectly at this speed.
61
0 5 10 15 20 25 30 35 40 45 50 55
0
0.5
1
1.5
2
2.5
3
3.5
x 10
4
V(10
−3
)
Tangential Noise with Electronics at 250 mrad/s
0 5 10 15 20 25 30 35 40 45 50 55
0
1
2
3
4
x 10
4
Hz
V(10
−3
)
Tangential Noise with Electronics at 1000 mrad/s
Figure 24: Two fourier spectra show measured tangential noise at rotating speeds 250
and 1000 mrad/s.
62
0 5 10 15 20 25 30 35 40 45 50
0
1
2
3
4
5
6
7
8
x 10
4
Hz
VHz(10
−3
)
Tangential Additive Noise Integral with Electronics
250
1000
2000
3000
Figure 25: The integrated additive plot shows the complexity of rising noise level at
different speeds in tangential direction.
63
0 5 10 15 20 25 30 35 40 45 50
0
0.5
1
1.5
2
2.5
x 10
4
Hz
VHz(10
−3
)
Normal Noise Additive Integral Plot with Electronics
250
1000
2000
3000
Figure 26: The integrated additive plot shows the complexity of rising noiselevel at
different speeds in normal direction.
64
0 5 10 15 20 25 30 35 40 45 50 55
0
2000
4000
6000
8000
V(10
−3
)
Tangential Noise without Electronics at 250 mrad/s
0 5 10 15 20 25 30 35 40 45 50 55
0
2000
4000
6000
8000
Hz
V(10
−3
)
Normal Noise without Electronics at 250 mrad/s
Figure 27: This plot shows how the normal and tangential directions differ taken at 250
mrad/s without electronics.
65
0 5 10 15 20 25 30 35 40 45 50 55
0
1
2
3
4
x 10
4
V(10
−3
)
Tangential Noise With Electronics at 3000 mrad/s
0 5 10 15 20 25 30 35 40 45 50 55
0
1
2
3
4
x 10
4
Hz
V(10
−3
)
Tangential Noise Without Electronics at 3000 mrad/s
Figure 28: This plot shows how the tangential noise varies with and without the
electronics taken at 3000 mrad/s.
66
0 5 10 15 20 25 30 35 40 45 50
0
2000
4000
6000
8000
10000
12000
14000
Hz
VHz(10
−3
)
Tangential Additive Noise Integration without Electronics
250
1000
2000
3000
Figure 28: Additive integration is taken without electronics in the tangential direction.
10 Superconducting high-homogeneity mag-
net for NMR measurements
Chemical analysis, and imaging of biological samples are commonly probed
using nuclear magnetic resenance methods. The samples in a magnetic field
are studied using continuous wave NMR causing the samples’s magnetic mo-
ments of the atomic nuclei to arrange in a fashion minimizing the magnetic
potential energy. The NMR frequency of the sample is changed according to
the dependent magnitude, thus the polarization field strenght is sweeped [39]
and the resulting spectrum measured gives information about the structure
Getting a good NMR signal requires the magnetic moments to be as uniform
as possible. A very homogenous field is thus a must, which requires that
the polarizing magnet is constructed with great care. The homogeneity is
defined as the relative deviation from the center point value B0:
|
∆B
B0
| = |
B − B0
B0
|. (202)
One must also take into account the space where the measurements are
to be made. They are in volume very constricted, and the sample as in our
67
case is helium is to be measured in a cylindrical cell. Solenoid magnet is
thus a very good choice for this experiment, and the field can be represented
in closed form ( [40], [41]). Increasing the coil length and optimizing the
diameter of the solenoid improves the homogeneity, which in general means
decreasing the diameter. The homogeneity is reduces when one moves axially
away from the center, and trying to reduce this short compensation coils at
both ends are placed. The most common of the compensation methods is
the sixth order end compensation [42], in which the correct choice of magnet
dimensions cancels the first five derivative terms in the expansion series of
the field. The homogeneity can also be improved using the Meissner effect,
which occurs as superconducting material is placed in a magnetic field. As
in the case of perfect diamgnet the superconductor sets up surface currents
cancelling the field within the material by opposing magnetization. The
solenoid is surrounded by superconducting material in order to force the
field lines to concentrate in center of the solenoid center [43] and also acts as
a shield for external unwanted fields. The magnet used for the measurements
was already provided [44]. The wire consist of quite fragile Super Con Inc. 18
filament NbTi inside CuNi alloy matrix [45]. As the measurements are done
notably under the critical 4.2 K temperature, there should be no problem of
proper thermalization. The dimensions of the magnet can be seen in Figure
29. The magnet was previously tested merged in liquid helium with maximun
current load of 12.5 A without quenching. The absolute value of the magnetic
field strength for the magnet was not accurately measured as the Hall probe
used by Vesa Lammela was designated to work at temperature range of −10
to 125o
C. The homogeneity of the magnet was therefore to be tested with
actual NMR-measurements.
11 Superconductivity
The phenomenon of superconductivity occurs in specific materials at ex-
tremely low temperatures. The characterization includes exactly zero elec-
trical resistance, and the Meissner effect [46]. The resistivity of the metallic
conductor gradually decreases as temperature is lowered, and drops abruptly
to zero when the material is cooled below the critical temperature. It is a
quantum mechanical phenomenon. The physical properties vary from mate-
rial to material, especially the heat capacity and the critical temperatures.
Regular conductors have a fluid of electrons moving across a heavy ionic
lattice, where the electrons constantly collide with the ions, thus dissipat-
ing phonon energy to the lattice converting into heat. The superconductor
situation differs in that the electronic fluid cannot be distinguished into in-
68
Figure 29: Number of turns on each layer, and the dimensions of the magnet.
dividual electrons, but it consists of Cooper pairs [47] caused by electrons
exchanging phonons. The Cooper pair fluid energy spectrum possesses an
energy gap amounting to a minimum energy ∆E that is needed to excite the
fluid. When ∆E is larger than the lattice thermal energy kT, there will be
no scattering by the lattice as the Cooper pari fluid is a superfluid without
phonon dissipation. The critical temperature Tc varies with the material,
and convetionally are in the range of 20K to less than 1K. The transition to
superconductivity is accompanied by changes in various physical properties.
In the normal regime the heat capacity is proportional to the temperature,
but at the transition it suffers a discontinous jump, and linearity is impaired.
At the low temperature range it varies as e−α/T
where α is some constant
varying with the material. The transition as indicated by experimental data
is of second-order, but the recent theretical improvements (which are ongo-
ing) show that within the type II regime transition is of second order and
within the type I regime first order, and the two regions are separated by a
tricritical point [48]. Considering the Gibbs free energy per unit volume g,
which is related to internal energy per unit volume u and entropy s:
g = u − Ts (203)
69
where the volume term has been neglected. The associated magnetic
energy in the presence of an applied magnetic field ¯Ba is − ¯M ·d ¯Ba, where ¯M
is the magnetic dipole moment per unit volume. A change in the free energy
is given by
dg = − ¯M · d ¯Ba − sdT. (204)
Integrating yields:
g(Ba, T) = g(0, T) −
Ba
0
¯M · d ¯Ba. (205)
For type-I-superconductor ¯M = − ¯H [50] due to the Meisness effect, and
thus the previous can be written as:
gS(Ba, T) = gS(0, T) +
Ba
0
BadBa
µ0
= gS(0, T) +
B2
a
2µ0
. (206)
We see B2
a/2µ0 as the extra magnetic energy stored in the field as resulting
from the exclusion from the superconductor. At the transition between the
superconductivity and normal state we have gS(Bc, T) = gN (0, T), where
Bc is the critical magnetic field and the magnetization of the normal state
has been neglected. The entropy difference ∆s < 0 between normal and
superconducting states can be obtained from this using s = −(δg)/δT. Now
the heat capacity per unit volume c = Tδs/δT is:
∆c =
T
µ0
Bc
d2
Bc
dT2
+
dBc
dT
2
, (207)
which shows that there is a discontinuous jump in ∆c even for Bc = 0.
As our superconducting filament behaves as convetional superconductiv-
ity the pairing can be explained by the microscopic BCS theory. The assump-
tion of the BSC theory [49] is from the assupmtion that electrons have some
attration between them overcoming the Coulomb repulsion. This attraction
in most materials is brought indirectly by the interaction between the elec-
trons and the vibrating crystal lattice as the opposite spins becoming paired.
As electron moves through a conductor nearby a positive lattice point causes
another electron with opposite spin to move into the region of higher positive
charge density held together by binding energy Eb. When Eb is higher than
70
phonon energy from oscillating atoms in the lattice, then the electron pair
will stick together, thus not experiencing resistance and describing an s-wave
superconducting state. Let us look more closely to the electron-phonon in-
teraction. Electron in a crystal with wavevector ¯k1 scatters to ¯k′
1 emitting a
phonon ¯q. Then this phonon is absorbed by a second electron ¯k2 to ¯k′
2 hence
the conservation of crystal momentum:
k1 + k2 = k′
1 + k′
2 = k0. (208)
States in the ¯k-space can interact, but are restricted by the Pauli exclusion
principle corresponding to electron energies between EF and EF + ωD, where
EF is the Fermi energy and ωD is the Debye frequency. The number of allowed
states occur when ¯k1 = −¯k2, and they are called the Cooper pairs [51]. The
transition temperature Tc is given by BSC model [52]
kBTc = 1.14 ωDe−1/V0g(EF )
, (209)
where V0 is the phonon-electron interaction strenght. In the BCS ground
state (T = 0), there is a binding energy 2∆ to the first allowed one-electron
state, in which the Cooper pairing is broken. The gap energy in conventional
superconductors are in the range of 0.2-3 meV, thus very much smaller than
EF . Next we will consider quenching mechanisms for the breaking up of the
superconducting state to normal state. It is exactly this that the Cooper
pairing is broken as some disturbance overcomes this binding energy.
12 Superconductor quenching
We will deal with the matter of quenching here, as it will be quite a impor-
tant factor affecting the work. Quenching occurs when a superconductive
filament goes to normal resistive state. There are three critical parameters
namely temperature, current density, and magnetic field affecting this behav-
ior. When one of these parameters’ critical value 1is exceeded by some phys-
ical process, superconductor becomes normal-conducting. When the cooling
power for the filament is not sufficient the zone of the normal conductor ex-
pands. Usually in a quench case the entire energy stored in the magnet is
dissipated as heat, even burning the filament. There are two main distur-
bances namaley transient and continuous, which can be again divided into
two more causes point and distributed. In the case of continuous disturbance
the steady power becomes a problem due to e.g. bad joint, or soldering. The
71
distributed disturbances are usually caused by heat leak to the cryogenic
environment. Now transient disturbances are sudden, and can be for exam-
ple caused by a breaking of a turn in a magnet due to excess Lorenz force
moving the turn by δ. In this case the work done by the magnetic field is
BJδ, where J is the current density, and this energy will heat the magnet to
normal state. Our filament is embedded in a copper matrix, which is a good
absorber and distributor of heat, thus if the copper gets good enough contact
where to dissipate the energy, the magnet can stay in superconducting state
even thought some problems persist. For example cooling of the filament by
helium is given by the adiabatic heat balance equation [53]:
ρcu(T(x, t))
I(t)2
Acu(x)
= c(T(x, t))A(x)
dT(x, t)
dt
, (210)
where ρcu is the resistivity of copper, Acu is the copper cross-section of
the composite, I is the current in the filament, T is the temperature of the
filament, and c is the heat capacity. Voltage V (t) is a function of time in the
magnet coil
V (t) = I(t)R(t) + L(I)
dI(t)
dt
−
i
Mi
dI
dt
− UP C, (211)
where I(t) is the current, R(t) is the resistance, L(I) is the self inductance,
Mi is the mutual induction of a neighboring turn or coil, and Upc is the voltage
of the power converter. Now with a good power converter, the quenching
voltage can be given:
VQt) = I(t)R(t) + LQ(t)
dI
dt
, (212)
where LQ is the partial inductance and R(t) is the resistance of the
quenching zone. Taking mutual inductance zero, we get [54]:
VQ(t) = I(t)R(t)(1 − LQ(t)/L). (213)
The quench zone thus expands as resistance and partial inductance grow.
A good power supply can detect this, and switches itself off.
72
13 Nuclear Magnetic Resonance, and Imag-
ing
Quantum mechanical magnetic proterties of atom’s nucleus can be studied
with the nuclear magnetic resonance (NMR). The pehomenon was first dis-
covered by Isidor Rabi in 1938 [?]. Neutrons and protons have spin, and the
overall spin is determined by the spin quantum number I, and non-zero spin
associates with a non-zero magnetic moment µ by
µ = γI, (214)
where, γ, is the gyromagnetic ratio. Angular momentum quantization,
and orientation is also quantized. The associated quantum number is known
as the magnetic quantum number m, and can only have values from integral
steps of I to −I thus there are 2I + 1 angular momentum states. Taking the
z component Iz:
Iz = m . (215)
The z-component of the magnetic moment is
µz = γIz = mγ . (216)
¯I2
has eigenvalues I that are either integer or half integer. This can be
meaning
(Im µx′ Im′
) = γ (Im Ix′ Im′
), (217)
where µx′ and Ix′ are components of the operators ¯µ and ¯I along the
arbitrary x′
-direction. This is based on the Wigner-Eckart equation [56]. For
simplicity we consider system of two m states +1/2 and −1/2 by numbers N+
and N−, where the total number N of spins is constant. With the propability
for transition W the absorption of energy is given:
dE
dt
= N+W ω − NW ω = ωWn, (218)
where ω is the angular frequency of the time dependent interaction (or
the frequency of an alternating field driving the transitions), and n has to be
73
zero for a net absorption. Now in a similar fashion using a alternating field
we get for the absorption energy [57]
dE
dt
= n ωW = n0 ω
W
1 + 2WT1
(219)
where T1 is the spin-lattice relaxation time, and as long as 2WT1 ≪
1 we can increase the power absorbed by increasing the amplitude of the
alternating field. Taking the alternating magnetic field as Hx(t) = Hx0 cos ωt,
and it can be broken into two rotating components with amplitude H1 in
opposite directions. They are denoted by:
¯Hr = H1(¯i cos ωt + ¯j sin tωt) (220)
and
¯HL = H1(¯i cos ωt − ¯j sin ωt). (221)
We consider only ¯HR as ¯HL is just same with negative ω. Taking ωz as
component of ω along z-axis:
¯H1 = H1(¯i cos ωzt + ¯j sin ωzt). (222)
Now the equation of motion with the static field ¯H0 = ¯kH0 is
d¯µ
dt
= ¯µ × γ[ ¯H0 + ¯H1(t)]. (223)
Now moving to a coordinate system such that the system rotates about
the z-direction at frequency ωz then:
δ¯µ
δt
= ¯µ × [¯k(ωz + γH0) +¯iγH1]. (224)
Now near resonance ωz + γH0 ≃ and by setting ωz = −ω states that in
the rotating frame moment acts as though it experiences a static magnetic
field:
¯Heff = ¯k(H0 −
ω
γ
) + H1
¯i. (225)
74
The effective field exactly when the resonance condition is fullfilled the
effective field is ¯iH1, and a magnetic moment parallel to the static field will
then precess in the y − z plane. Turning H1 on for a wave train of duration
tw so that moment precesses through an agle θ = γH1tw = π so inverting the
moment. Now if θ = π/2 the magnetic moment is turned from z-direction to
the y-direction. Turning H1 off then would make the moment remain at rest
in the rotating frame. Simple method for observing magnetic resonance can
be done with these remarks. Putting a sample in a coil, the axis of which
is perpendicular to ¯H0. Alternating field applied to the coil produces an
alternating magnetic field. Adjusting tw and H1 we can apply a π/2 pulse,
after which the excess magnetization will be perpendicular to ¯H0 precessing
at angular frequency γH0. Now the moments make alternating flux through
the coil inducing emf that may be observed. Now variations of the similar
principle can be used to make measurements using NMR. The method in
our experiment is using continuous wave method. The receiver coils are set
perpendicular to the magnetic field from the magnet. The current is sweeped
in the magnet, and the resonance signal should pick-up in our coil. The
magnitude of nmr resonace signals is proportional to the molar concentration
of the sample [58].
In our experiment the magnet is placed within a vacuum, and in the
middle of the magnet one places the sample to be measured with the pick-up
coils in perpendicular direction to the magnetic field (Figure 30)
The resonance circuit in Figure 30 is tuned for both excitation and de-
tection. At first there was no cooled preamplifier in the setup. The lock-in
amplifier measured the signal from the pick-up coils, which was locked to the
frequency of the oscillator. The oscillator was used to drive the excitation
frequency of the circuit. The magnet was supposed to be swept across to
observe NMR spectrum from the 3
He sample inside the magnet. The test-
ing was supposed to be done for 25 turns per each pick-up coil, and then
50 turns. The pick-up coils were very carefully coiled on glass piece that fit
directly on the sample tube right in the middle. The sample was place in
the center of the magnet, and thus the magnetic field from the magnet and
the pick-up coils were perpendicular. The gyromagnetic ratio of 3
He is 32.43
MHz/T [?]
14 Cooling of the Cryostat
The main purpose in our measurement is to measure the homogeneity of
the superconducting magnet, by doing NMR measurements of normal liquid
3
He, which requires temperatures below 3.19 K. The experiment is done
75
Figure 30: The setup of the NMR-measurement in our experiment.
in an insulated dewar, see Figure 30. The precooling is done using liquid
nitrogen, which boils at 77 K [59], and liquid N2 has about 60 times the
latent of heat evaporation to that of cryo-helium [60]. Liquid nitrogen is also
an order cheaper than cryo-helium. One very important property of liquid
nitrogen is that it freezes at 63 K, and this has to be taken into account,
when the next cooling phase is done with liquid 4
He. After all the equipment
is placed within the cryostat, and all the necessary preparations have been
done, liquid nitrogen is pumped into the cryostat using a metal tube. This
is done gradually as the liquid evaporates it creates pressure, and there is a
valve to let excess pressure out, but one does not want the pressure to get
much greater than 1.4 Pa in the cryostat. This is because the cool gas will
freeze the insulating rubber in the valve, thus yielding the insulation useless.
After the nitrogen cooling is over the rest of the nitrogen is pumped out
using a narrow nylon tube reaching the bottom of the cryostat. This is solely
for the purpose that the nitrogen freezes otherwise, and it has a rather large
specific heat. The cryostat setup is seen in Figure 31. The vacuum space
at this point is filled with 3
He exchange gas to hasten the cooling of sample
and the magnet. The heat of evaporation for cryo-helium is about 2.6 kJ/l
at its boiling point is 4.2 K. The 4
He used as a cryo-liquid for cooling has
76
Figure 31: The setup of the cryostat.
some precautive aspects to take into concideration. The 4
He expands very
rapidly if comes too fast into contact with the surroundings even at 77 K.
The helium should be pumped into the cryostat in a very slow paste using
the evaporating gas to cool the upper parts of the cryostat. Again if the
pressure gets too high the cool gas will escape throuhg the input line and the
emergency valve, thus the rubber insulators will freeze useless. Helium will
also freeze all the pipes and tubings in the cryostat, and one has to be careful
not to break frozen pipes, and not to touch them with bare hands. Now as
temperature of 4.2 K is reached the vacuum-space is then pumped to a close
vacuum state. It takes some time to pump, as the exchange gas as it so cold
at this point. Getting down into temperature of below boiling point of 3.19
for 3
He sample to become a liquid we need to pump the 4
He. The sample
has been pressurised to 18 Pa in order to get a good NMR signal.
The system for the continuous evaporation cryostat is given in Figure 32.
Small fraction of the 4
He liquid is sucked by a pump through a suitable
flow impedance into a small pot in the vacuum can. The liquid is expanded
through the impedance, and will arrive at a lower temperature. The fills
until level of liquid is balances the heat transferred from the helium and
the experiment with the cooling power of the refrigirator. The following
77
Figure 32: Continuously operated 4
He refrigerator.
balancing equation is obtained:
˙QHe(≃
1
2
˙nL) = ˙Qtube(h) + ˙Qext, (226)
where L is the latent heat of evaporation, and h is the height of liquid
in the pot. When the external load increases the level in the pumping tube
will drop, thus there’s a self regulation. The temperature for the refrigirator
remains quite constant, and in our case it was 1.42 K on average. The
problem is that in order to keep the vacuum can at the wanted frequency
the 4
He evaporates at a rate, that the dewar had to be filled every day. The
requirement for the impedance is:
Z =
∆P
˙V ν
, (227)
where ˙V is the volume flow rate of the medium with viscosity ν, and ∆P
is the pressure drop. In this experiment, a pre built pot was used that had
been in use, and was working properly. The design of the cryostat was such
that even when pumping on the helium pot, the helium level could be refilled.
78
For the helium level an acoustic level detection was utilized using a thin steel
tube with a thin rubber on top. The oscillation differences when submerged
into the dewar can tell the when the tube is in the cold gas compared to the
liquid. This method could only be utilized 10 cm above the vacuum can. So
resistive level detection was utilized for the lower parts of the cryostat. In
this way it was ensured that the level of helium in the dewar never dropped
below the level of the pot when temperatures below 4.2 K were needed.
15 Preparing the NMR measurements
The cryostat was meticulously built for the NMR measurements. Tests were
done for the cooling, and there were no problems for cooling. The average
temperature of 1.42 K was achieved when the pot was pumped, which was
enough for the 3
He to become a liquid under the pressure of 18 Pa. This
pressurising was done to get a good NMR-peak. The vacuum was achieved
after a few trials, and the can had to tightened a few times before there
was no leak. Also the pressurising of the sample was done accordingly, and
worked. The tesing of the magnet turned out to be quite problematic. The
magnet gave a magnetic field strength per current 8.35 mT/A. The magnet
worked properly when the vacuum can was filled with an exchange gas, and
the maximum current that the power supply gave was 9.10 A even with very
fast sweep rates of 0.3 A/s. Next the magnet was tested in vacuum con-
ditions for quite a many times, and the magnet quenched at around 2.3 A
every time, and this was invariant for the slower sweep rates. For higher the
rates the magnet queched at even lower currents than previously mentioned.
The quenching usually drove the whole superconducting magnet unusable for
a period from hour up to three hours, if no exchange gas was let in. This
also raised the temperature of the sample in the vacuum by some 1 K. Very
detailed study of the cryostat was done, and no problems were found in it.
Everything except the magnet seemed to be working properly without any
complications. The magnet was studied under a microscope or the visible
parts of the magnet. All the visible parts seemed to be in order, and no no-
ticeable defects were found. There must have been a defectious portion in the
wire like a twist or broken filament that was not broken completely, but big
enough to cause the magnet to go into normal state when in vacuum. Lam-
mela tested the magnet after building it only submerged in liquid 4
He, which
cooled the small place where the heating occurs driving the magnet normal.
This conclusion was supported as well by the fact that when exchange gas
was let into the vacuum, the magnet returned into the superconducting state
literally within seconds. As the broken part of the magnet’s filament was
79
not visible, the repair of the magnet was not possible, and the NMR-studies
could not be completed without the magnet working in the vacuum.
16 Conclusions
The first part of the work consisted of the rotational aspects of Cryo I cryo-
stat. There was a need for very precise rotation [62], and the heat noise was
to be minimized. It was apparent that some of the electronics, were giving
out vibrations at quite precise frequencies. These could be dimished with
the use of dissipating materials and methods suggested, without even that
much work. Also some of the electronics could have their fans relaplaced with
metal spikes as is done in computers, and also let the cooling be done by air
as the cryostat is rotating. This could be a little problematic for some of the
devices. Also some of the pumps gave out vibrations that could diminished
by balacing the pumps with the suggested method. Also the Fourier analysis
was done with data that was not filtered properly, and thus some aliasing
accumulated in the transformed data. This could be avoided by building a
good solid highpass filter according to the Nyquist frequency. The rotation of
the cryostat is done sometimes at quite high speeds, so the balancing of the
cryostat becomes quite important. The electronics could be placed according
to the scheme presented previously, using the one-plane method. Another
way if the electronics cannot be moved around is to place small balancing
weights on the plane carrying the electronics. The balancing method would
require two similar accelerometers, as in this case of this work only one was
available. Also a keyphasor would be needed. In the latter part of the work
a magnet was to be tested for its homogeneity. The problem was apparent
after the meticulous building of the cryostat. The magnet only worked when
it was submerged in 4
He-liquid or 3
He exchange gas. The magnet queched
every time when used in vacuum, and the experiment was thus abandoned,
with the result that the magnet is useless.
References
[1] Emmanuel C. Ifeachor and Barrie W. Jervis, ”Digital Signal Processing:
A Practical Approach”, Addison-Wesley, p. 53 (1993)
[2] Ronald N. Bracewell, The Fourier Transform and Its Applications,
McGraw-Hill, 2000, p. 130.
80
[3] Bendat, J.S. and Piersol, A.G., Measurement and Analysis of Random
Data, John Wiley, New York, 1966.
[4] Blackman, R. B. and Tukey, J. W., The Measurements of Power Spectra,
Dover, New York, 1956.
[5] Jenkins, G.M. and Watts, D. G., Spectral Analysis and its Applications,
Holden-Day, San Francisco, 1968.
[6] Newland, D. E., An introduction to Random vibrations, spectral and
wavelet analysis, Longman Scientific and Technical, Essex, 1993.
[7] Cooley, J. W., and Tukey, J. W., An Algorithm for the Machine Cal-
culation of Complex Fourier Series, Mathematics of Computation, Vol.
19, 1965, 297-301.
[8] Cooley, J. W., Lewis, P. A. W., and Welch, P. D., Historical Notes on
the Fast Fourier Transform, IEEE Trans. Audio and Electroacoustics,
Vol. AU-15, 1967, No. 2, 76-9
[9] http://www.fftw.org (February, 13, 2008)
[10] Oppenheim, A. V. and R. W. Schafer, Discrete-Time Signal Processing,
Prentice-Hall, 1989, p. 619.
[11] Rader, C. M., ”Discrete Fourier Transforms when the Number of Data
Samples Is Prime,” Proceedings of the IEEE, Vol. 56, June 1968, pp.
1107-1108.
[12] Institute of Electrical and Electronics Engineers Inc. IEEE standard on
piezoelectricity. ANSI/IEEE Std. 176-1987, 1988.
[13] C. R. Fuller, S. J. Elliot, and P. A. Nelson. Active Control of Vibration.
Academic Press, 1996.
[14] Nathan Newman, Considerations in Computing the Useful Frequency
Range of Piezoelectric Accelerometers, NBS Technical Note 487, Na-
tional Bureau of Standards, 1969.
[15] Dranetz, A. I., and Orlacchio, A. W., Chapter 16-Piezoelectric and
Piezoresistive Pickups, Book, Shock and Vibration Handbook, McGraw-
Hill, New York, 1961
[16] Carol F. Vezzetti and Paul S. Lederer, An Experimental Technique for
the Evaluation of Thermal Transient Effects on Piezoelectric Accelerom-
eters, NSB Technical Note 855, National Bureau of Standards, 1975.
81
[17] Williams, Arthur B. and Taylors, Fred J. Electronic Filter Design Hand-
book, New York: McGraw-Hill, 1988.
[18] Thomas Kugelstadt, Op Amps for Everyone, Chapter 16: Active Filter
Design Techniques, Texas Instruments, 2008
[19] Paul Michael Walmsley, Textures, Vortices and Persistent Currents in a
Slab of 3
He-A,The University of Manchester, 2003
[20] C. F. Beards, Engineering Vibration Analysis with Application to Con-
trol Systems, Edward Arnold, 1995.
[21] C. F. Beards, Structural Vibration Analysis and Damping, Edward
Arnold, New York, 1996.
[22] B. J. Lazan, Damping of Materials and Members in Structural Mechan-
ics, Pergamon, 1968.
[23] Cyril M. Harris, Harris’ Vibration Handbook, Chapters 30-33, New
York: McGraw-Hill, 2002
[24] Paul G. Hoel, Introduction to Mathematical Statistcs, Wiley Publica-
tion, 1966
[25] D. J. Cousins, S. E. May, J. H. Naish, P. M. Wamsley, A. I. Golov,
Design of a Rotating Cryostat to Minimise Vibrational Heating, Dept.
of Physics and Astronomy The Univ. of Manchester, 2003
[26] B. J. Pergamon, Damping of Materials and Members in Structural Mech-
anisms, Pergamon, 1984.
[27] A. Muszynska, Rotordynamics, Chapter 2, Taylor and Frnacis, 2005,
Minden.
[28] S. G. Kelly, Fundamentals of Mechanical Vibrations, Table 9.1, McGraw
Hill, Boston, 2000.
[29] N.F. Rieger, Vibration of Rotating Machinery, Vibration Institute,
Clarendon Hills, IL, 1982
[30] Agnieszka Muszynska, Rotodynamics, Chapter 6. Mechanical Engineer-
ing, The Ohio State University, 2005
[31] http://www.gepower.com/prod_serv/products/oc/en/bently_nevada/acc_vel.htm
8.3.2008
82
[32] http://www.gepower.com/prod_serv/products/oc/en/downloads/141587.pdf
8.3.2008
[33] http://www.imd.us/pdfs/dynamic-stiffness.pdf
13.3.2008
[34] http://www.bpb-co.com/articles/printableFiles/00understand_stiff_print.pdf
15.3.2008
[35] Ripka J.: Theory of the open end rotor spinning system. In:Rohlena V.
et al: Open-end spinning. Elsevier, Amsterdam 1975.
[36] Aleksanteri Kulvik, ”Vibrational Analysis of Rota I Cryostat”, 2003
[37] http://www.bksv.com/pdf/Bp0196.pdf
July, 31, 2003
[38] http://we.home.agilent.com/cgi-bin/bvpub/agilent/
July, 28, 2003
[39] Ruutu, Ville: NMR experiments on topological defects in 3
He superflu-
ids, Ph.D Thesis, 1996
[40] Lindell, Sihvola: Staattinen kentt¨ateoria. Otatieto, 1995.
[41] J. Vanderlinde, Classical Electromagnetic Theory, Wiley and Sons, New
York, 1993.
[42] Terrell J., Montgomery D.B,: Some Useful Information for the Design
of Air-Core Solenoids, National Magnet Laboratory MIT, 1961
[43] Brehm, J.J. Mullin: Introduction to the Structure of Matter: A Course
in Modern Physics, Wiley, 1989
[44] Vesa Lammela, Superconducting high-homogeneity magnet for low-field
NMR measurements, TKK Materiaalifysiikka, 2001
[45] SW-18 wire by Supercon Inc. 830 Turnpike, Boston Ma. USA
[46] M. Tinkham, Introduction to Superconductivity, 2nd Ed., Dover Books
on Physics (2004)
[47] L.N. Cooper: Bound Electron Pairs in a Degenerate Fermi Gas, Phys.
Rev 104(4), (1189), 1956.
83
[48] http://en.wikipedia.org/wiki/Superconductivity
13.4.2008
[49] J. Baardeen, L.N. Cooper, and J.R. Schrieffer, Microscopic Theory of
Superconductivity, Phys. Rec. 106, 162-164, 1957
[50] Stephen Elliott, The Physics and Chemistry of Solids, Wiley, 2000, p.
466
[51] Ibach and Luth, Solid State Physics, Springer-Verlag GmbH and Co.
KG, 1995, p. 230-231
[52] [51], p. 245
[53] Surendran Puthiyedath, Quenching and Protection of Superconducting
Magnets for LHC, CERN-INDIA Collaborator, BARC, Mumbai, India,
2005
[54] Martin N. Wilson, Superconducting Magnets; Oxford Science Publica-
tions, 1987
[55] Rabi, I. I., Zacharias, J. R., Millman, S. and Kusch, P. (1938). A New
Method of Measuring Nuclear Magnetic Moment. Physical Review 53,
318-318
[56] C.P. Slichter, Principles of Magnetic Resonance, Springer, 1980, p. 279
[57] [56], p. 9
[58] http://www.cem.msu.edu/~reusch/VirtTxtJml/Spectrpy/nmr/nmr1.htm
13.4.2008
[59] http://en.wikipedia.org/wiki/Liquid_nitrogen
14.4.2008
[60] F. Pobell, Matter and Methods at Low Temperatures, Springer-Verlag
1992. p. 82
[61] E . Ward , L . Hedlund , W . Kurylo , C . Wheeler , G . Cofer , M .
Dewhirst , L . Marks , Z . Vujaskovic; Proton and hyperpolarized helium
magnetic resonance imaging of radiation-induced lung injury in rats1 .
International Journal of Radiation OncologyBiologyPhysics , Volume 58
, Issue 5 , Pages 1562 - 1569
84
[62] U. Parts, V. M. Ruutu, J. H. Koivuniemi, Yu. M. Bunkov, V. V.
Dmitriev, M. Fogelstr¨om, M. Huebner, Y. Kondo, N. B. Kopnin, J.
S. Korhonen, M. Krusius, O. V. Lounasmaa, P. I. Soininen and G. E.
Volovik; Single-Vortex Nucleation in Rotating Superfluid 3
He−B, LTL
HUT 1995, Espoo
85

Master Thesis on Rotating Cryostats and FFT, DRAFT VERSION

  • 1.
    Abstract of Master’sThesis Author: Kulvik Aleksanteri Name of the thesis: ibrational Study of Cryo I Helsinki, and Testing of Homogeneity of a Superconducting Magnet Date: 23.4.2008 Number of pages: 60 Department: Department of Engineering Physics and Mathematics Pro- fessorship: Tfy-3. Material Physics Supervisor & Instructor: Matti Krusius In the thesis, rotational aspects and vibrational analysis of Cryo I Helsinki cryostat have been studied. These studies were done extensively using Fourier methods. The mathe- matics of Fourier methods have been presented, and also mathematical mod- els of vibrations have been studied. The main goal is to lower the noise due to various aspects that affect the operations of the cryostat. The second part of the work considers a superconducting magnet, and the testing of how homogenous it was. There was a great preparation made into building of the testing equipment. 1
  • 2.
    Master’s Thesis Kaarle AleksanteriKulvik 52664T 24th April 2008 Vibrational Study of Cryo I Helsinki, and Testing of Homogeneity of a Superconducting Magnet Supervisor M. Krusius 2
  • 3.
    Contents 1 Preface 2 2Introduction 3 3 Fourier Methods 3 4 Piezoelectric Accelerator 12 5 Low-pass filter and measurement setup 23 6 Vibrations 23 7 Torsional vibrations 40 8 Balancing rotation 49 9 Studies of the Noise of Old Rota I Cryostat 60 10 Superconducting high-homogeneity magnet for NMR mea- surements 67 11 Superconductivity 68 12 Superconductor quenching 71 13 Nuclear Magnetic Resonance, and Imaging 73 14 Cooling of the Cryostat 75 15 Preparing the NMR measurements 79 16 Conclusions 80 1
  • 4.
    1 Preface Dedicated toAlexiel, Pulla and those who do not dwell amongst us anymore... Albert, Kustaa, and Rosiel. Solitary trees, if they grow at all, grow strong. -Winston Churchill 2
  • 5.
    2 Introduction This masterthesis will study the vibrational, and rotational aspects of Cryo I Helsinki, which has now been dismantled. Suggestions for bettering rotaional cryostat have been given in length, and the methods for study have been made clear for even a student reading this work. The second part consist of testing a superconducting magnet. The preparations are also included, as quite a lot of work needed to be done in order to test the magnet. 3 Fourier Methods Fourier transformation can be seen as a tool that converts a ”signal”, or as in this case, an output voltage into a sum of sinusoids of different frequencies, amplitudes and phases. In general, both input and output of the fourier transform are complex vectors, which have the same length. A frequent difficulty in understanding Fourier transformation lies in the comprehension of the physical meaning of the results. The voltage versus time representation becomes magnitude versus fre- quency in the Fourier transform. The one dimensional Fourier series is given by the following formula f(t) = a0 + ∞ n=1 an cos(nωt) + ∞ n=1 bn sin(nωt), (1) where t is an independent variable which in our case represents time, and Tp is the repetition period of the waveform. ω = 2π/Tp is the angular frequency related to the fundamental frequency ff , by ω = 2πff . The constant a0 is given by the formula a0 = 1 Tp Tp 2 −Tp 2 f(t)dt, (2) an by an = 2 Tp Tp 2 −Tp 2 f(t) cos(nωt)dt, (3) and bn by 3
  • 6.
    bn = 2 Tp Tp 2 −Tp 2 f(t) sin(nωt)dt.(4) The frequencies nω are known as the nth harmonics of ω. The series may be written in exponential form f(t) = ∞ n=−∞ dneinωt (5) in which dn = 1 Tp Tp 2 −Tp 2 f(t)e(−inωt) dt. (6) is complex and |dn| has the units of voltage in our case. Negative frequencies do not have any physical meaning rather being purely mathematical. The two conditions for f(t) are: 1. The integral of |f(t)| from −∞ to ∞ exists 2. Any discontinuities in f(t) are finite. The squared modulus of a transform is referred as the energy spectrum. |F(ω)|2 is the energy spectrum of f(t). Usually the graphs are given as the energy spectrum versus ω. The complex and trigonometric forms are related by the following dn = |dn|eiφn , (7) where |dn| = (a2 n + b2 n) 1/2 (8) and φn = − tan(bn/an), (9) where φn is the phase angle of the nth harmonic component. 4
  • 7.
    The series approachhas to be abandoned when the waveform is not pe- riodic for example when Tp becomes infinite. As Tp increases the spacing between 1/Tp = ω/2π decreases to dω/2π eventually becoming zero. The discrete variable nω becomes continuos ω, and the amplitude and phase spectra become continuos. This means that dn → d(ω) and Tp → ∞. With these modifications we get the normalized formula [1], dn = F(iω) = 1 2π −∞ ∞ f(t)e(−inωt) dt. (10) F(iω) is the complex Fourier integral, F(iω) = Re(iω) + iIm(iω) = |F(iω)|eiφ(ω) , (11) where the amplitude is given by, |F(iω)| = (Re(iω)2 + Im(iω)2 ) 1 2 (12) and the phase by, φ(w) = arctan[Im(iω)/Re(iω)]. (13) |F(iω)| has the units of V Hz−1 . The Fourier transform (FT) has very useful properties [2]. If f(x) has the Fourier transform F(s), then f(ax) has the Fourier transform |a|−1 F(s/a). Its application to waveforms and spectra is well known as compression of the time scale corrensponds to expansion of the frequency scale. If f(x) and g(x) have the Fourier transforms F(s) and G(s), then f(x) + g(x) has F(s) + G(s) as the FT. The FT of f(x) is F(s), then f(x − a) has the FT e−2πias F(s). If f(x) has the FT F(s), then f(x) cos ωx has the FT 1 2 F(s − ω/2π) + 1 2 F(s + ω/2π). If f(x) and g(x) have FTs F(s) and G(s), then convolution f(x) ∗ g(x) has the FT F(s)G(s). The squarred modulus of a function versus the squarred modulus of a spectrum yields; ∞ −∞ |f(x)|2 dx = ∞ −∞ |F(s)|2 ds. (14) If f(x) has the FT F(s) then f′ (x) has the FT i2πF(s). It can be seen from: 5
  • 8.
    ∞ −∞ f′ (x)e−i2πxs dx = ∞ −∞ lim f(x +∆x) − f(x) ∆x e−i2πxs dx = lim ∞ −∞ f(x + ∆x) ∆ e−i2πxs dx − lim ∞ −∞ With these interesting properties let us turn to the discrete Fourier trans- form (DFT) and the fast Fourier transform (FFT). The digitalization of the analogue data requires the Fourier transforms to be discrete. The analogue values are sampled at regular intervals and then converted to binary representation. The operational viewpoint is that it is irrelevant to talk about existence of values other than those given, and those computed namely the input, and the output. Therefore we need the mathematical theory to manipulate the actual quantified measurements. Discreteness arises in connection with periodic functions. Discrete in- tervals describing a periodic function may be viewed as a special case of continuous frequency. This transform is thus regarded as equally spaced deltafunctions multlipied by coeffients to determine their strengths. A typical fuction x(t) of the measurement is fed through an analogue to digital converter. It samples x(t) at a series of regularly spaced times as seen in Figure 1. Taking the sampling interval as ∆, then the discrete value of x(t) = xr at time t is t = r∆, and can be written as a discrete time sequence {xr}, r = . . . , −1, 0, 1, 2, 3, . . .. We are interested in the frequency composition of sequence {xr} by analysis obtained from a finite length of samples. The historical method to estimate spectra from measured data was to estimate an appropriate correlation function first and then to FT this func- tion to obtain the required spectrum. This approach was until late 1960’s, and practical calculations follewed the mathematical route of spectra defined as FTs of correlation functions. The classical methods are studied in great detail, and there is extensive literature ( [3], [4] and [5] on this subject. The position was changed when fast Fourier transforms (FFT) came along. This way of calculating the FT is much more efficient and faster. Instead of determining a correlation function, and then calculating the FT, FFT directly estimates the original FT of the time series. If x(t) is a periodic function with period T, then it can be written: x(t) = a0 + 2 α k=1 ak cos( 2πkt T ) + bk sin( 2πkt T ) (16) where k ≥ 0 is an integer, and 6
  • 9.
    Figure 1: Samplinga continuous function at regular intervals. ak = 1 T T 0 x(t) cos( 2πkt T dtbk = 1 T T 0 x(t) sin( 2πkt T dt. (17) The previous can be combined into a single equation: Xk = ak − ibk (18) and putting e−i2πkt/T = cos 2πkt T − i sin 2πkt T (19) from we get Xk = 1 T T 0 x(t)e−i2πkt/T dt. (20) Knowing only the equally spaced samples of the continuous time series x(t) represented by the discrete series {xr}, r = 0, 1, . . ., (N − 1), where 7
  • 10.
    Figure 2: CalculatingFourier coefficients from a discrete series using approximation. t = r∆, and ∆ = T/N, then the integral may be replaced approzimately by the summation Xk = 1 T N−1 r=0 xre(−i2πk/T)(r∆) ∆. (21) This is just assuming the total area under the curve in Figure 2. Putting T = N∆ gives Xk = 1 N r=0 N − 1xre−i2πkr/N . (22) This may be regarded as approximation for calculating the Fourier series. The inverse formula for the series {xr} is xr = N−1 k=0 Xke2iπkr/N . (23) 8
  • 11.
    This can beseen N−1 k=0 Xke2iπkr/N = N−1 k=0 1 N N−1 s=0 xse−2iπks/N e2iπkr/N = N−1 k=0 N−1 s=0 1 N xse(−2iπk/N)(s−r) (24) and by interchanging the summation = N−1 s=0 N−1 k=0 e−2i(πk/N)(s−r) 1 N xs (25) and the exponentials all sum to zero unless s = r when the summation equals N and hence N−1 s=0 N−1 k=0 e−2i(πk/N)(s−r) 1 N xs = xr. (26) The components Xk are limited to k = 0 to N − 1 corresponding to frequencies ωk = 2πk/T = 2πk/N∆. DFT of the series {xr}, r = 0, 1, . . ., N − 1 is defined as Xk = 1 N N−1 r=0 xre−2iπkr/N (27) for k = 0, 1, . . ., N − 1. Calculating values of Xk for k is greater than N − 1. Letting k = N + l then XN+l = 1 N N−1 r=0 xre−(2iπr/N)(N+l) = 1 N N−1 r=0 xre−2iπr/N e−2iπr = Xl. (28) The coefficients Xk just repeat for k > N −1, so plotting | Xk | along the frequency axis ωk = 2πk/N∆, the graph repeats periodically. It is also easy to see that X−l = Xl (the complex conjugate) and hence | X−l |=| Xl | is symmetrical about the zero frequency position. The unique frequency range is | ω |≤ π/∆ rad/s. The higher frequencies are repetitions of those which apply below π/∆ rad/s. The coefficients Xk calculated by the DFT are correct for frequencies up to 9
  • 12.
    ωk = 2πk N∆ = π ∆ (29) where kis in the range k = 0, 1, . . ., N/2. The frequencies above π/∆ rad/s, which are present in the original signal, introduce a distortion called aliasing. The high frequencies contribute to {xr}, and therefore distorts the DFT coefficients for frequencies below π/∆ rad/s. When ω0 is the maximun frequency present in x(t), then the problem can be avoided by taking the sampling ∆ small enough so π ∆ > ω0 (30) or f0 = ω0/2π giving 1 2∆ > f0. (31) This 1/2∆ Hz is called the Nyquist frequency, which is also the maximum frequency that can be detected with particular time spacing ∆ (seconds). Aliasing is most important when analysing measured data, and to ensure that DFT is good the sampling frequency 1/2∆ must be high enough to cover the full frequency range that the continuous time series operates in. If this is not satisfied the the spectrum from equally spaced samples will differ from the true spectrum because of aliasing. One way to ensure this is to filter all frequencies above the frequency components above 1/2∆ before making the DFT. FFT is an algorithm for calculating the DFTs. For working out values of Xk by directly calculating from the basic DFT definition for each N values requires N2 multiplications. The aim of the FFT is to reduce the number of operations to the order of N log2 N. The FFT therefore offers great amount of reduction in the prosessing time, and accuracy increases as fewer round-off errors is reduced. FFT partitions the sequence {xr} in shorter sequences, and then combines these to yield the full DFT. Suppose {xr}, r = 0, 1, . . ., N − 1 is a sequence where N is an even number and this is partitioned to two shorter sequences {yr} and {zr} where yr = x2r and zr = x2r+1, r = 0, 1, . . ., (N/2 − 1). The DFT’s of these are Yk = 1 N/2 N/2−1 r=0 yre−i2πkr N/2 Zk = 1 N/2 N/2−1 r=0 zre−i2πkr N/2 , k = 0, 1, . . ., N/2 − 1.(32) 10
  • 13.
    Firstly we separatethe odd and the even terms in {xr} getting Xk = 1 N N−1 r=0 xre−2iπkr/N = 1 N N/2−1 r=0 x2re−i2π(2r)k N + N/2−1 r=0 x2r+1e−i2π(2r+1)k N = 1 N N/2−1 r=0 yre−i2πrk N/2 + e from which Xk = 1 2 Yk + e−i2πk/N Zk , k = 0, 1, . . ., N/2 − 1. (34) The original DFT can be obtained from Yk and Zk. If the original number of samples is a power of 2, then the half-sequences {yr} and {zr} can be partitioned into quarter-sequences, and so on, until the last sub-sequences have only one term each. Yk and Zk are periodic and repeat themselves with period N/2 so that Yk−N/2 = Yk and Zk−N/2 = Zk. Calculating Xk = 1 2 Yk + e−2iπk/N Zk , k = 0, 1, . . ., N/2 − 1Xk = 1 2 Yk−N/2 + e−2iπk/N Zk−N/2 , k = N/2, N/2 + 1 or Xk = 1 2 Yk + e−2iπk/N Zk Xk+N/2 = 1 2 Yk + e−2iπ(k+N/2)/N Zk = 1 2 Yk − e−2iπk/N Zk , k = 0, 1, . . ., N/ These are the formulas occuring in most FFT programs, and defining W = e−2iπ/N we obtain what is called coputational butterfly [6]. The FFT changed the approach to digital spectral analysis when it was implemented in 1965 ( [7] and [8]). For general purposes Matlab’s FFT is used. It is based upon FFTW- libraries [9]. FFTW uses several combinations of algorithms, including vari- ation of the Cooley-Tukey algorithm, a prime factor algorithm [10], and a split-radix algorithm [11]. The split-radix FFT requires N to be a power of 2 so the original sequence can be partitioned into two half-sequences of equal length, and so on. With these methods one is able to study the frequency depedence of the input data. One should make the number of samples taken to be in the form 2n , where n is an integer. Even with number of samples the FFT works quite some faster, for example a sequence that has N = 1048576 = 220 samples calculated directly with DFT compared to FFT has the ratio 11
  • 14.
    N2 /(N log2 N)= 52428, 8. Also one should make the sampling time interval so small that the largest frequency that can be measured is well withing the Nyquist frequency to avoid distortion due to aliasing. Otherwise if this is not possible then filtering should be used in the experimental setup to cut the frequency components above the Nyquist frequency to avoid aliasing. 4 Piezoelectric Accelerator Piezoelectric effect was found in 1880 by Jaques and Pierre Curie in crys- talline minerals, when subjected to a mechanical force the crystal became electrically polarized. Compression and tension generated oppositely po- larized voltages in proportion to the force. In converse if voltage-genarating crystal was exposed to a electric field it contracted or expanded in accordance with the polarity and field strength. These effects were called piezoelectric effect and inverse piezoelectric effect. Quartz and other natural crystals are widely used today in microphones, accelerometers, and ultrasonic trans- ducers. Their applications include smart materials for vibration control, aerospace, and astronautical applications of flexible surfaces, and vibration reduction in sports equipment. Consistent with the IEEE standards of piezoelectricity [12], the transduc- ers are made of piezoelectric materials that are linear devices whose prop- erties are governed by a set of tensor equations. To better understand the workings of piezoelectricity we firstly turn to making of a piezoelectric ce- ramic crystal. A piezoelectric ceramic is a perovskite crystal composed of a small tetravalent metal ion placed inside a larger lattice of divalent metal ions and O2 (see Figure 3). Preparing such a ceramic, fine powders of the component metal oxides are mixed in very specific proportions, and heated to form a uniform powder, which is then mixed with an organic binder. The powder turns into dense crystalline structure via specific process of heating, and cooling. Above the Curie temperature, each perovskite crystal exibit no dipole moment (see Figure 4). Just below the Curie temperature each crystal has tetragonal symmetry, and a dipole moment. Alaining these dipoles using electrodes on the appropriate surfaces to create a strong DC electric field, gives a net polarization. This is called poling process. After removing the electric field most of the dipoles remain in a locked place, creating permanent polarization and permanent elongation. The length increase of the element is usually within the micrometer range. Tension or mechanical compression changes the dipole moment associated with the particular element creating a voltage. Tension perpendicular to direction of polarization or compression 12
  • 15.
    Figure 3: Crystallinestructure of a piezoelectric crystal, before and after polarization. along the direction of polarization generates voltage of the same polarity as the poling voltalge. Tension along the polarization or compression per- pendicular to the direction or polarization generates an opposite voltage to that of the poling voltage. The voltage and the compressive stress generated applying stress to the piezoelectric crystal are linearly proportional up to a specific stress. In this way the crystal works as a sensor. The piezoelec- tric crystal expands and contracts when poling voltages are applied, and in this way the use is an actuator. This way electric energy is converted into mechanical energy. When electric fields are low, and small mechanical stress the piezoelectric materials have a linear profile. Under high stresses and elec- tric fields this breaks into very nonlinear behavior. Straining mechanically a poled piezoelectric crystal makes it electrically polarized, producing an elec- tric charge on the surface of the material. This is the direct piezoelectric effect and it is the basis of sensory use. The electromechanical equations for a linear piezoelectric crystal are ( [12], [13]): εi = SE ij σj + dmiEm (37) 13
  • 16.
    Figure 4: Polingprocess: (i) Before polarization; (ii) Polarization is gained using a very large DC electric field; (iii) The remnant polarization after removing the field. 14
  • 17.
    Figure 5: Axisfor linear piezoelectric material describing the electromechanical equations. Dm = dmiσi + ξσ ikEk, (38) where i, j = 1, 2, . . ., 6 and m, k = 1, 2, 3 are different directions in the coordinate system shown in Figure 5. The equations are usually written in another form when the appications involve sensory actions: εi = §D ij σj + gmiDm (39) Ei = gmiσi + βσ ikDk (40) where σ . . . stress vector (N/m2 ) ε . . . strain vector (m/m) ξ . . . (F/m) E . . . vector of applied electric field (V/m) d . . . matrix of piezoelectric strain constants (m/V ) S . . . matrix of compliance coefficients (m2 /N) g . . . matrix of piezoelectric constants (m2 /C) β . . . impermitivity component (m/F) D . . . vector of electric displacement (C/m2 ) The asumption here is that measurements of D, E, and σ are taken at constant electric displacement, constant stress and constant electric field. Usually the crystal is poled along axis 3, and piezoelectric crystals are transversely isotropic. Thus the equations simplify as S11 = S22, S13 = S31 = 15
  • 18.
    S23 = S32,S12 = S21, S44 = S55, S66 = 2(S11 −S12), and others are zero. The non-zero piezo-electric strain constants are d31 = d32, and d15 = d24. Also the non-zero dielectric coefficients are eσ 11 = eσ 22, and eσ 33. One can write these in matrix form to give:         ε1 ε2 ε3 ε4 ε5 ε6         =         S11 S12 S13 0 0 0 S12 S11 S13 0 0 0 S13 S13 S33 0 0 0 0 0 0 S44 0 0 0 0 S44 0 0 0 0 0 0 2(S11 − S12)                 σ1 σ2 σ3 σ4 σ5 σ6         +         0 0 d31 0 0 d31 0 0 d33 0 d15 0 d15 0 0 0 0 0           E1 E2 E3  (41) and   D1 D2 D3   =   0 0 0 0 d15 0 0 0 0 d15 0 0 d31 d31 d33 0 0 0           σ1 σ2 σ3 σ4 σ5 σ6         . (42) dij is the ratio of the strain in the j-axis to the electric field along the i-axis, taking external stresses constant. Voltage V is apllied as Figure 6 with the crystal beign polarized in the z-direction, generates electric field: E3 = V t . (43) This strains the transducer, e.g. ε1 = ∆l l (44) and ∆l = d31V l t . (45) Constant d31 is usually negative as the positive electric field generates a positive strain in z-direction. dij can also be interpreted as the ratio of short 16
  • 19.
    circuit charge perunit area flowing between connected electrodes perpendic- ular j to the stress applied along i. A force Fk is applied to the transducer generates the stress σ3 = F lw (46) resulting in the elecric charge q = d33F (47) flowing through the short circuit. The constant gij denotes the electric field along i when the material is stressed along j. Force F applied in the positive i, resulting in the voltage: V = g31F w . (48) The other way to intepret gij is to take the ratio of strain along j to the charge per unit area deposited on electrodes perpendicular to i. Placing an electric charge Q on the surface electrodes (plates are on top and bottom perpendicular to k) changes the thickness by: ∆l = g31Q w . (49) Constant Sij is the ratio of the strain in i-direction to the stress in j- direction, given that there’s no stress along the other two directions. Direct strains and stresses have indeces 1 to 3, and shear stresses and strains have indeces 4 to 6. E is used to mark elastic compliace SE ij measured with the electrodes short-circuited, and similarly D denotes that the measurements were done with electrods left open-circuited. SE ij is maller than SD ij as me- chanical stress results in an electrical responce that can increase the resultant strain meaning that a short circuited piezo has a smaller Young’s modulus of elasticity than open-ciruited. The dielectric coefficient eij is the charge per unit area along x-axis due to applied field applied in the y-axis. Relative dielectric constant K is defined as the ratio of the absolute permitivity of the material by the permittivity of free space. σ in eσ 11 is the permittivity for a field applied along x-axis, when the material is not restrained. 17
  • 20.
    Ability of apiezoceramic to transform electrical energy to mechanical energy and vice verca is denoted by kij. The stress or strain is j-oriented and electrodes are perpendicular to i. Applying a force F to the crystal, while leaving the terminals open circuited makes the device deflect like a spring. This deflection is ∆z, and the mechanical work is: WM = F∆z 2 . (50) Electric charges accumulate on the electrodes due to piezoelectric effect amounting to the elecrical energy in the piezoelectric capacitor: WE = Q2 2CP . (51) From this we get k33 = WE WM = Q F∆zCp . (52) The coupling can be written otherwise as k2 ij = d2 ij Sij E eσ ij = gijdijEp, (53) where Ep is the Young’s modulus of elasticity. Now we turn to see how the piezoelectric sensor works on these basis, as described above. Piezoelectric sensors offer superior signal to noise ratio, and better high-frequency noise rejection, thus they are quite suitable for applications that involve measur- ing low strain levels. When a piezoelectric crystal sensor is subjected to a stress field, assuming the applied electric field is zero, the resultind electrical displacement vector is:   D1 D2 D3   =   0 0 0 0 d150 0 0 0 d15 0 0 d31 d31 d33 0 0 0           σ1 σ2 σ3 σ4 σ5 σ6         (54) 18
  • 21.
    The charge generatedcan be determined q = D1 D2 D3   dA1 dA2 dA3   , (55) where dA1, dA2 and dA3 are the differential electrode areas in the y − z, x − z and x − y planes. The voltage generated VP is related to charge VP = q CP , (56) where CP is the capacitator of the sensor. By measuring VP , the strain can be calculated from the integral above. A calibrated piezoelectric accelerom- eter is a sensor, and the voltage measured can then be used as measure or acceleration thus this is very useful for very precise frequency analysis. Fig- ure 6 shows a typical configuration of a piezoelectric accelerometer mounted. Small size, and rigidness generally means that stucture’s vibrational charac- teristics will be minimal, but the structure does often affect the vibrational characteristics of the attached accelerometer. Accelerometer’s sensitivity is defined as the ratio of the output signal (voltage in our case) to the acceler- ation of its base. The major resonant frequency of the accelerometer is the lowest frequency for which the sensitivity has a maximum. The frequency range of use is generally taken as that region in which sensitivity does not change significantly from the value found near 100 Hz [14] when calibrated on a conventional shaker table. The upper limit of an accelerometer is lower than the determined by resonance of the accelerometer alone, when the mass of accelerometer affects the motion of the structure. To estimate the largest frequency to be measured can be calculated using the following model. We assume the system consisting of masses (m1, m2 and m3), and springs (assumed massless, and their spring constants ka and ks) as in Figure 6. Let us suppose that a sinusoidally varying mechanical force F cos ωt, is imposed on m3 from outside the system taking the position x3 is A3 cos ωt. The resultant motion of m1, and m2 or the varying positions x1 and x2 (Figure 7) are considered as the frequency of the drive force is varied. After transient effects die away, the equations describing the motion of m1 and m2 under the dynamic forces are: m1 ¨x1 + ka(x1 − x2) = 0 (57) m2 ¨x2 + ka(x2 − x1) + ks(x2 − x3) = 0. (58) 19
  • 22.
    Figure 6: Atypical configuration of a piezoelectric accelerometer. Figure 7: Applied force and displacements. 20
  • 23.
    The resonance soughtis the lowest value of ω at which a maximum of (x1 − x2) occurs by varying ω. When the system is in dynamic equilibrium and resonance is approached from below, the motions will be at the drive frequency and in phase. x1 = A1 cos ωt (59) x2 = A2 cos ωt (60) ¨x1 = −A1ω2 cos ωt (61) From this we obtain (ka − m1ω2 )A1 − kaA2 = 0 (62) −kaA1 + (ks + ka − m2ω2 )A2 = ksA3 (63) Resonance occurs when A1 − A2 has a maximum value. There’s no prob- lem due to phase considerations because resonance is approached from below and, with no damping, x1 and x2 can be considered to be in phase with the motion of the driving element i.e. with x3. The solution for A1 and A2 each has the determinant of its coefficients in the denominator. Thus maximum values of A1 and A2 occur when this determinant vanishes. An equation in the resonant frequency ω results: (ka − m1ω2 )(ka + ks − m2ω2 ) − k2 a = 0. (64) This can be written as quadratic in ω2 , ω4 − [ka( 1 m1 + 1 m2 ) + ks 1 m2 ]ω2 + kaks m1m2 = 0 (65) Now we simplify the calculations by taking new constants a = m2/m1, r = ks/ka, and ω2 0 = ka/m1. Substituting these into the above equation and calculating the frequency: ω = ω2 0 [1 + 1 a (1 + r)] − [1 + 1 a (1 + r)]2 − 4r a 2 . (66) 21
  • 24.
    From this wecan get the upper limit of the usable frequency. Usually this value is given, and sometimes the relative frequency is given as ω/ω0. If this value is not given, then one can estimate. Now in our case the measurements on the cryostat imply that the mass of the accelerometer does not alter the results, and the accelerometers base m2 is rigidly attached (in our case a very strong magnet and straps) to a very large mass m3 (cryostat’s or the supporting frame’s mass) so that m1 and ka are the only resonance- determined parameters. These parameters are usually given, but if not it can be relatively easy to approximate those. In this case of rigid attachment masses m2 and m3 are combined, and taking m3 = ∞ we get ω = ka/m1. (67) The Nyquist frequency should be set little below this frequncy, and the all frequencies above the Nyquist frequency should be filtered out (see next sec- tion). Or if it is know what frequencies are to be looked for then the highest frequency should be set according to that. Accelerometers are also subjected to thermal-transient stimuli from stronger vibrations. Certain properties of piezoelectric accelerometers can cause them to generate spurious output signals in response to such thermal transients, leading to significant measure- ment errors. Many piezoelectric crystalline materials are also pyroelectric [15] that is, a change of temperature causes a change in the polarization charges in the material. Pyroelectric output signals can result from a uniform or non-uniform distribution of thermal charges within the material. In addi- tion, mechanical strain within the piezoelectric element, resulting differential thermal expansion of the components of an accelerometer subjected to ther- mal transients, may generate spurious output signals. In conditions where the accelerometer is exposed to blasts, non-uniform heating is propable. The resultant output signal will thus include pyroelectrically generated charges and charges produced by changes in the mechanical loading of the crystal resulting from differential expansion of accelerometer components. This is the reason why after rigid attaching of the piezoelectric accelerometer on the cryostat or its frame one should wait for some time for normal conditions to reappear. Usually the pyroelectric effect under normal stated conditions for most piezoelectric crystals are not significant under frequencies of 3000 Hz and amplitudes of 5 g [16]. So there should not be any problem with normal measurements with the setup of the cryostat. However care should be taken as to where the accelerometer is placed, e.g. it should not be placed in close proximity of electronic devices that give strong electric fields or directly leak heat into the surroundings. 22
  • 25.
    5 Low-pass filterand measurement setup Taking into account the different frequency aspects namely the Nyquist fre- quency, and the maximum frequency of the piezoelectric accelerometer under which it operates, one needs to have a low-pass filter. Using this wisely will eliminate almost all coputed aliasing, and bad signals from the crystal. Usu- ally the window of interest lies somewhere in the region of 0 to 100 Hz, which is easily attained by the machinery used. Ideally low-pass filters completely eliminate all frequencies above the cut-off frequency while passing those be- low unchanged. Real time filters approximate the ideal filter by windowing the infinite impulse response to make a finete impulse response. Digital filter- ing in our case is not the best solution, better is to use an electronic low-pass filter. A second-order filter does a better job of attenuating higher frequen- cies. There are many different types of filter circuits, with different responses to changing frequency. A first-order filter will reduce the signal amplitude by half every time the frequency doubles (goes up one octave). As the frequency reach of the equipment used is so large, the low-pass filter can be relatively simple one. One could use or build easily an active low-pass filter. In the operational amplifier shown in the Figure 8, the cutoff frequency is defined as fc = 1 2πR2C (68) or equivalently in radians per second ωc = 1 R2C . (69) The gain in the passband is −R2/R1, and the stopband drops off at −6dB per octave, as it is a first-order filter. If this doesn’t work as wished one can easily build a second order (or higher) Butterworth filter (see Figure 9 [19]), which decreases −12dB per octave. Also the frequency responce of the Butterworth filter is maximally flat [18] in the passband compared to Chebyschev Type I / Type II or an elliptic filter [17]. 6 Vibrations The types of vibrations in our case can be divided into two main categories: the unbalanced rotation of the cryostat creates harmonic oscillations and 23
  • 26.
    Figure 8: Anactive low-pass filter. Figure 9: Butterworth low-pass filter in a circuit used to obtain vibration spectra [19]. 24
  • 27.
    other noisy vibrations,and other is resulting from external vibrations e.g. electronic devices on the cryostat, the pumps and vibrations from ground or foundation vibrations. Torsional vibration analysis is vital for ensuring reliable machine operation, especially as very precise measurements are made on the large cryostat. If rotating component failures occur on the cryostat as a result of torsional oscillations, the consequences can be catastrophic. In the worst case, the entire machine can be wrecked as a result of large unbalancing forces, and worse injury to human beigns might be inflicted. The foundation and electronics vibations are easier to allocate, but are big enough to cause problems as vibrations could affect the nuclear stage and the demagnetization solenoid creating a heat leak there as suggested by [19]. The level of vibration in a structure can be attenuated by reducing either the excitation or the response of the structure to that excitation or both. These could be relocating equipment, or isolating the structure from the exciting force. The torsional vibrations can be reduced by balancing the load on the rotating machinery. Real structures consist of an infinite number of elestically connected masses and have infinite number of degrees of freedom. In reality the motion is often such that only a few coordinates is needed to describe the motion. The vibration of some structures can be analysed using a sigle degree of freedom. Other motions may occur, but in our case for instance for analysing the electric and foundation vibrations other vibrations can be dimished, and electrical devices can be measured one at the time (to see more comprehensive study [20]. A body of mass m is free to move along a fixed horizontal surface attached to a spring k one end fixed. Displacement of the mass is denoted by x, so giving this initial displacement x0, and letting go we get: ¨x + k m x = 0 (70) giving x = A cos ωt + B sin ωt, (71) where A and B are constants, and ω is the circular frequency. Now with x = x0 and t = 0 gives A = x0, and ˙x = 0 and t = 0 gives x = x0 cos k m t. (72) 25
  • 28.
    When springs arein series the total spring constant can be calculated as the deflection at the free end, δ, experienced applying the force F is to be the same in both cases, δ = F/ke = i F/ki (73) so that 1/ke = i 1/ki. (74) Similarly parallel springs give ke = i ki. (75) Let us consider a beam with m as the mass unit length, and y is the amplitude of the deflection curve (see Figure 10) then Tmax = 1 2 ˙y2 maxdm = 1 2 ω2 y2 dm, (76) where ω is the natural circular frequency of the beam, and Tmax is the maximum kinetic energy. The strain energy of the beam is the work done on the beam which is stored as elastic energy. If the bending moment is M, and the slope of the elastic curve is θ, the potential energy is V = 1 2 Mdθ. (77) Assuming the deflection of beams small Rdθ = dx, (78) thus 1 R = dθ dx = d2 y dx2 . (79) 26
  • 29.
    Figure 10: Beamdeflection. From beam theory [21], M/I = E/R, where R is the radius of curvature and EI is the flexural rigidity: V = 1 2 M R dx = 1 2 EI d2 y dx2 2 dx. (80) Now Tmax = Vmax; ω2 = EI d2y dx2 2 dx y2dm . (81) This expression gives the lowest natural frequency of transverse vibration of a beam. It can be seen that to analyse the transverse vibration of a partic- ular beam by this method requires y to be known as a function of x. In the case of the cryostat’s frame this method can prove to be quite cumbersome. Real structures dissipate vibration energy, so damping sometimes becomes significant. Damping is difficult to model exactly because the mechanisms of the structures. Using simplified models usually gain quite good results, and can give insight to the problem. Viscous damping is a common form of 27
  • 30.
    damping, and theviscous damping force is proportional to the first power of the velocity across the damper, and it is always opposed to motion, so that damping force is linearly continuous function of the velocity. Simple model can be imagined taking a horizontal m mass attached to a spring k and a damper c (damping force is proportional to velocity), which are both fixed. As before we get for the equation of motion: m¨x + c ˙x + kx = 0. (82) Assuming solution of the form x = Xest = 0, and substituting for roots: s1,2 = − c 2m ± (c2 − 4mk) 2m , (83) hence x = X1es1t + X2es2t , (84) where X1 and X2 are arbitrary constants found from initial conditions. The dynamic behavious of the system depends opon the numerical value of the radical, so defining critical damping cc = 2 √ km making the radical zero, and undamped natural frequency ω = cc/2m. Defining damping ratio by ζ = c/cc, (85) and s1,2 = (−ζ ± (ζ2 − 1))ω. (86) When damping is less critical ζ < 1 s1,2 = −ζω ± i (1 − ζ2)ω (87) so x = Xe−ζωt sin ( (1 − ζ2)ωt + φ). (88) 28
  • 31.
    When ζ =1 the damping is critical and equation x = (A + Bt)e−ωt is valid. Finally damping greater than critical ζ > 1 gives two negative real values of s so that x = X1es1t + X2es2t . Substituting for damping constant a constant friction force Fd that represents dry friction (Coulomb damping) applicaple in many mechanisms: m¨x + kx = Fd. (89) Getting a solution x = A sin ωt + B cos ωt + Fd k . (90) Hence x = (x0 + Fd k cos ωt + Fd k , (91) where the oscillation ceases with | x |≤ Fd/k, and the zone x = ±Fd/k is called the dead zone. Many real structures have both viscous and Coulomb damping. The two damping actions are sometimes dependent of amplitude, and if the two cannot be separated a mixture of linear and exponential decay functions have to be found by trial and error. In most real structures separat- ing stiffness and damping effects is often not possible. This can be modeled using complex stiffness k∗ = k(1 + iη), where k is the static stiffness, and η is the hysteric damping loss factor. A range of values for η can be found for common engineering materials in basic literature ( [22]). The electronic devices on the cryostat behave as external excitation forces usually periodic. From previous we construct a model as taking mass m connected to a fixed spring and viscous damper, whilst a harmonic force of circular frequency ν and amplitude F: m¨x + c ˙x + kx = F sin(νt). (92) Solution can be taken as x = X sin(νt − φ), where motion lags the force by vector φ, so substituting and using cos − sin relations we get mXν2 sin(νt − φ + π) + cXν sin(νt − φ + π/2) + kX sin(νt − φ) = F sin(νt). (93) 29
  • 32.
    From this F2 = (kX− mXν2 )2 + (cXν)2 , (94) or X = F/ ((k − mν2)2 + (cν)2), (95) and tan(φ) = cXν/(kX − mXν2 ). (96) The steady state solution x = F ((k − mν2)2 + (cν)2) sin(νt − φ), (97) where φ = tan−1 cν k − mν2 . (98) The complete solution includes the transient motion given by the com- plementary function: x = Ae−ζωt sin(ω (1 − ζ2)t + α), (99) where ω = k/m and Xs = F/k so that X Xs = 1 (1 − (ν/ω)2)2 + (2ζν/ω)2 , (100) and φ = tan−1 2ζ(ν/ω) 1 − (ν/ω)2 . (101) 30
  • 33.
    Figure 11: Isolatingvibrating machine. X/Xs is known as the dynamic magnification factor, where Xs is static deflection of the system under a steady force F, and X is the dynamic ampli- tude. The mechanical vibration arises from the large values of X/Xs, when ν/ω has a value near unity, meaning that a small harmonic force can produce a large amplitude of vibration. Resonance occurs when the forcing frequency is equal to natural frequency e.g. ν/ω = 1. The max of X/Xs can be attained from differentiating to get: (ν/ω)(X/Xs)max = 1 − 2ζ2) ≃ 1, ζ ≈ 0, (102) and (X/Xs) = 1/(2ζ 1 − ζ2). (103) For small ζ, (X/Xs)max ≃ 1/2ζ is a measure of the damping and is known as the Q factor. The force transmitted to the foundation or supporting struc- ture can be reduced by using flexible mountings with the correct properties. Figure 11 shows a model of such a system. 31
  • 34.
    The force transmittedto the foundation is the sum of the spring force and the damper force. Thus the transmitted force is given by FT = (kX)2 + (cνX)2. (104) The transmissibility is given by TR = FT F = X k2 + (cν)2 F (105) since X = F/k (1 − ν ω 2 )2 + 2ζ ν ω )2 , (106) TR = 1 + (2ζ ν ω )2 1 − (ν ω )2 + 2ζ ν ω 2 . (107) Therefore the force and motion transmissibilities are the same. It can be seen that for good isolation ( [21]) ν/ω > √ 2, hence for a low value of ω is required which implies a low stiffness, that is a flexible mounting. In the cryostat it is particularly important to isolate vibration sources e.g. the elec- trical devices because vibrations transmitted to structure radiate well, and serious heat leak problems can occur. Theoretically low stiffness isolators are desirable to gice a low natural frequency. There are four types of spring material commonly used for resilient mountings and vibration isolation: air, metal, rubber, and cork. Air springs can be used for very low-frequency suspensions: resonance frequencies as low as 1 Hz can be achieved whereas metal springs can only be used for resonance frequencies greater than about 1.3 Hz. Metal springs can transmit high frequencies, however, so rubber or felt pads are often used to prohibit metal-to-metal contact between the spring and the structure. Different forms of spring element can be used as coil, torsion, cantilever and beam. Rubber can be used in shear or compres- sion but rarely in tension. It is important to determine the dynamic stiffness of a rubber isolator because this is generally much greater than the static stiffness. Rubber also possesses some inherent damping although this may be sensitive to amplitude, frequency and temperature. Natural frequencies 32
  • 35.
    from 5 Hzupwards can be achieved. Cork is one of the oldest materials used for vibration isolation. It is usually used in compression and natural frequencies of 25 Hz upwards are typical. For precise isolation systems, and materials please refer to [23]. The above analysis is more for analysing the vibrations due to electrical devices and the pumps, as they are consistent usually having some periodicity giving only specific frequency peaks in fre- quency spectrum. For external noise from the surroundings are more likely to be random processes (as in [19]) possibly due to heavy traffic on a nearby road or other large machinery used nearby. Collection of sample functions x1(t), x2(t), . . . , xn(t), which make up the ensemble x(t). Normal or Gaussian process is the most important of random processes because a wide range of physically observed random waveforms represented by Gaussian process: p(x) = 1 √ 2πσ e− 1 2 x−x σ 2 , (108) is the density function of x(t), where σ is the standard deviation of x, and x is the mean of x. The values of σ and x may vary with time for a non- stationary process but are independent of time if the process is stationary. x(t) lies between −λσ and λσ, where λǫR+ taking x with probability Prob{−λσ ≤ x(t) ≤ λσ} = λσ −λσ 1 √ 2πσ e(− 1 2 x2 σ2 ) dx. (109) Probabilities with varying λ can be found for example in [24]. We now turn to actual methods of damping the unwanted vibrations. Some reduction can be achieved by changing the machinery generating the vibration, for ex- ample removing the fans from electrical devices, and using static heat sinks commercially available noting problems involved. It is desirable for the cryo- stat and the framework to possess sufficient damping so that the response to the expected excitation is acceptable. If damping in the structure is in- creased the vibrations and noise, and the dynamic stresses will be reduced directly resulting in lowered heatleak. However increasing damping might be expensive and may require big changes in already existing buildings. Good vibration isolation can be achvieved by supporting the vibration generator on a flexible low-frequency mounting. Air bags or bellows are sometimes used for very low-frequency mountings where some swaying of the supported system is allowed. Approximate analysis shows that the natural frequency of a body supported on bellows filled with air under pressure is inversely pro- portional to the square root of the volume of the bellows, so that a change 33
  • 36.
    in natural frequencycan simply be affected by change in the volume of the bellows. Greater attenuation of the exciting force at high frequencies can be achieved by using a two-stage mounting. In this arrangement the machine is set on flexible mountings on an inertia block, which is itself supported by flexible mountings. This may not be expensive to install since for example the cryostat can be used as the inertia block. Naturally, techniques used for isolating structures from exciting forces arising in machinery and plant can also be used for isolating delicate equipment from vibrations in the struc- ture. Normal solution to vibrational problems is to place the cryostat on a heavy block supported by air springs, and rotating motors placed on bellows wrapped with isolating tape [25]. Of course increasing the mass of the block increases the resonant frequency decreases, this might be a problem with ro- tation. There are also active isolation systems in which the exiciting force or moment is applied by an externally powered force or couple. The opposing force or moment is applied by an externally powered force. The opposing force can be produced by means such as hydraulic rams. All materials dis- sipate energy during cyclic deformation due to molecular dislocations and stress changes at grain boundaries. Such damping effects are non-linear and variable within material. Some particular materials such as damping alloys have a certain enhanced damping mechanisms. The load extension hysteresis loops for linear materials and structures are elliptical under sinusoidal load- ing, and increase in area according to the square of the extension. Although the loss factor η of a material depends upon its composition, temperature, stress and the type of loading mechanism used, an approximate value for η can be given [26]. Pure aluminium has loss factor of 0.00002 − 0.002, and hard rubber has 1.0. In a single or multi degree of freedom system mode is excited into resonance, and the excitation frequency nor the natural fre- quency can be altereded then adding a single degree of freedom can be of use. One can consider this using a model such as in Figure 12, where K and M are the effective stiffness and mass of the primary system. The absorber is represented by the system with parameters k and m. The equations of motion for the primary system: M ¨X = −KX − k(X − x) + F sin νt (110) and for the vibration absorber m¨x = k(X − x), (111) where X = X0 sin νt and x = x0 sin νt. 34
  • 37.
    Figure 12: Systemwith undamped vibration absorber. It can be easily seen that X0 = F(k − mν2 ) ∆ , (112) and x0 = Fk ∆ , (113) where ∆ = (k − mν2 )(K + k − Mν2 ) − k2 , and ∆ = 0 is the frequency equation. Now the system possess two natural frequencies, Ω1 and Ω2, but by arranging k − mν2 = 0, X0 can be made zero. Now if (k/m) = (K/M), the response of the primary system at its original resonance frequency can be made zero. This is the usual tuning arrangement for undamped absorber because the resonance problem in the primary system is only severe when ν ⋍ K/M. When X0, x0 = −F/k, so that the force in the absorber spring, kx0 is −F thus the absorber applies a force to the primary system which is equal and opposite to the exciting force. Hence the body in the primary system has a net zero exciting force acting on it and therefore zero vibration 35
  • 38.
    amplitude. If correctlytuned ω2 = K/M = k/m, and if the mass ratio µ = m/M, the frequency equation ∆ = 0 is ( [21], p.196) ν ω 4 − (2 + µ) ν ω 2 + 1 = 0, (114) hence Ω1,2 ω = 1 + µ 2 ± µ + µ2 4 1/2 . (115) For a small µ, Ω1 and Ω2 are very close to each other, and near to ω, increasing µ gives better separation between Ω1 and Ω2. This is of impor- tance in systems where the excitation frequency may vary e.g. µ is small, resonances at Ω1 or Ω2 may be excited. Now: Ω1 ω 2 = 1 + µ 2 − µ + µ2 4 (116) and Ω2 ω 2 = 1 + µ 2 + µ + µ2 4 (117) then multiplying gives Ω1Ω2 = ω2 (118) and Ω1 ω 2 + Ω2 ω 2 = 2 + µ. (119) One can use these relations to desing an absorber, and can be used for instance for a pump having mass of mp rotating at constant speed of ωp rev/min, giving large unbalance vibrations. Fitting an undamped absorber so that the natural frequency of the system is removed by 20%. We model the pump as in Figure 13, so we get the equation of motion: 36
  • 39.
    Figure 13: Modelof a pump. mp ¨x1 + kpx1 = F sin νt, (120) gettin x1 = X1 F k1 − mpν2 , (121) where k1 can estimated or deviced. When X1 = ∞ then ν = k1/mp, that is resonance occurs when ν = ω = k1/m1. Assuming x2 > x1 (Figure 14) we get: m2 ¨x2 = −k2(x2 − x1) (122) and mp ¨x1 = k2(x2 − x1) − k1x1 + F sin νt. (123) 37
  • 40.
    Figure 14: Addingthe absorber on the pump. Taking x1,2 = X1,2 sin νt giving X1(k1 + k2 − m1ν2 ) − X2k2 = F (124) and −X1k2 + X2(k2 − m2ν2 ) = 0. (125) From this X1 = F(k2 − m2ν2 (k2 + k1 − mpν2)(k2 − mmν2) − k2 2 . (126) If ν2 = k2/m2, X1 = 0 then the frequency equation is (k1+k2−mpν2 )(k2− m2ν2 ) − k2 2 = 0. Putting µ = m2/mp = k2/k1 and Ω = k2/m2 = k1/mp, giving ν Ω 2 = 2 + µ 2 ± µ2 + 4µ 4 . (127) 38
  • 41.
    From this andsmallest absorber mass ν1/Ω = 0.8 as then ν2/Ω = 1.25, which is acceptable. Thus µ = 0.2 and hence m2 = µmp = 0.2mp, (128) and k2 = 2πωp. (129) One good system is a ciscous damped absorber such as in Figure 15. Equations of motion are: M ¨X = F sin νt − KX − k(X − x) − c( ˙X − ˙x) (130) and m¨x = k(X − x) + c( ˙X − ˙x). (131) Substituting X = X0 sin νt and x = x0 sin (νt − φ) gives, after some manipulation, X0 = F (k − mν2)2 + (cν)2 ((k − mν2)(K + k − Mν2) − k2)2 + (cν(K − Mν2 − mν2))2 .(132) When c = 0 this reduces to the undamped vibration absorber. If c is large then X0 = F K − ν2(M + m) . (133) Response of the primary system is minimized over a wide frequency range by choosing different c. If k = 0, X0 = F √ m2ν4 + c2ν2 ((K − Mν2)mν2)2 + (cν(K − Mν2 − mν2)) . (134) When c = 0, 39
  • 42.
    Figure 15: Systemwith damped vibration absorber. X0 = F K − Mν2 , (135) and when c is very large, X0 = F K − (M + m)ν2 . (136) 7 Torsional vibrations Historically torsional modes in machinery were always the first to consider and analyze, in order to avoid extreme stresses. Today torsional vibration analysis is routinely done throughout design of rotating machines. Their ex- istence can be discovered when using dedicated instruments [27] to measure torsional vibrations. Torsional vibration is an oscillatory angular motion causing twisting in the shaft of a system. Motion is rarely a concern with torsional vibration unless it affects the function of a system. It is stresses that affect the structural integrity and life of components and thus determine 40
  • 43.
    the allowable magnitudeof the torsional vibration. In our case the determin- ing factor is the heat leak into the nuclear stage. The complicated system of the cryostat can be crudely modeled to gain insight into the problem. How- ever the torsional vibration is a complex vibration having many different frequency components. The cryostat can be crudely taken as cylinder ro- tating a perpendicular axis. The polar moment of inertia can be calculated from the general fromula J = r2 dm, where r is the instanteneous radius, and dm is the differential mass. The formula for the polar moment of inertia of a cylinder rotating about a perpendicular axis is J = πd4 lγ 32g , (137) where J is the polar moment of inertia, γ material density, d diameter of cylinder, l is axial length of cylinder, and g acceleration due to gravity. The torsional stiffness is (πd4 G)/(32l), where G is rigidity modulus, and substi- tuting d2−d1 for d gives you formula for an annulus with outer-inner diameter d2-d1. Taking the cryostat as a circular shaft (Figure 16) is made of material of mass density ρ and shear modulus G and has a length L, cross-sectional area A, and polar moment of inertia as above. Let x be the coordinate along the axis of the shaft. The shaft is subject to a time-dependent torque per unit lenght, T(x, t). Let θ(x, t) measure the resulting torsional oscillations where θ is chosen positive clockwise. Figure 17 shows free-body diagrams of a differential element of the shaft at an arbitrary instant of time. The element is of infinitesimal thickness dx and its left face is a distance x from the left end of the shaft. The free-body diagram of the external forces shows the time-dependent torque loading as well as the internal torques developed in the cross sections. The internal resisting torques are the resultant moments of the shear stress distributions. If Tr(x, t) is the resisting torque acting on the left face of the element, then a Taylor seris expansion truncated after the linear terms gives: Tr(x + dx, t) = Tr(x, t) + δTr(x, t) δt dx. (138) The directions of the torques shown on the free-body diagram are consis- tent with the choise of θ positive clockwise. Since the disk is infinitesimal, the angular acceleration is assumed constant across the thickness. Thus the free-body diagram of the effective forces simply shows a moment equal to the mass moment of inertia of the disk times its angular acceleration. Summation of moments about the center of the disk 41
  • 44.
    Figure 16: Circularshaft subject to torsional loading. Figure 17: Free-body diagram of the differential element of shaft at arbitrary instant. 42
  • 45.
    M ext = M eff (139) gives T(x, t)dx− Tr(x, t) + Tr(x, t) + δTr(x, t) δx dx = ρJdx δ2 θ(x, t) δt2 (140) or T(x, t) + δTr(x, t) δx = ρJ δ2 θ δt2 . (141) From mechanics of materials, Tr(x, t) = JG δθ(x, t) δx (142) which leads to T(x, t) + JG δ2 θ δx2 = ρJ δ2 δ δt2 . (143) Using the following to simplify x∗ = x/L, t∗ = G/ρ(t/L), and T∗ (x∗ , t∗ ) = T(x, t)/Tm, where Tm is the maximum value of T. From these L2 Tm JG T(x, t) + δ2 θ δx2 = δ2 θ δt2 , (144) where the ∗ has been dropped from nondimensional variables. The prob- lem formulation is completed by specifying appropriate initial conditions of the form θ(x, 0) = g1(x) (145) and δθ(x, 0) δt = g2(x). (146) 43
  • 46.
    Consider δ2 θ δx2 = δ2 θ δt2 . (147) Let uslook at some cases to analyse the cryostat with the above analysis. Firstly let us make x the length of the cryostat a unilength so that free end is x = 1 and taking the fixed end at x = 0. The boundary condition is θ(0, t) = 0, and ˙θ(1, t) = 0 (the derivate is in terms of x). Applying a moment M is statically applied to the end of the shaft leading to the initial condition θ(x, 0) = Mx/(JG) = γx. Since the shaft is released from rest a second initial condition is ˙θ(x, 0) = 0 (the derivative is in terms of t). A separation of variables is assumed θ(x, t) = X(x)T(t), which gives 1 X(x) d2 X dx2 = 1 T(t) d2 T dt2 . (148) leading to d2 T dt2 + λT = 0, (149) and d2 X dx2 + λX = 0, (150) where λ is the separation constant. The solution is T(t) = A cos √ λt + B sin √ λt, (151) where A and B are arbitrary constants of integration. Similarly T(t) = C cos √ λx + D sin √ λx (152) The initial conditions give C = 0, B = 0 and the only reasonable solution λk = [(2k − 1) π 2 ]2 k = 1, 2, . . . (153) 44
  • 47.
    Now infinity ofsolutions arise corresponding to Xk(x) = Dk sin (2k − 1) π 2 x (154) for any Dk. The modes are orthogonal giving (Xk(x), Xj(x)) = 1 0 DjDk sin (2k − 1) π 2 x sin (2j − 1) π 2 xdx = 0 (155) for j = k, but when k = j we get 1 = (Xk, Xk) = D2 k 2 (156) leading to θ(x, t) = ∞ k=1 √ 2 sin (2k − 1) π 2 x[Ak cos (2k − 1) π 2 t]. (157) From the initial conditions we get the last Ak = 4γ √ 2(−1)k+1 π2(2k − 1)2 (158) yielding in total θ(x, t) = 8γ π2 ∞ k=1 (−1)k+1 1 (2k − 1)2 sin((2k − 1) π 2 x) cos((2k − 1) π 2 t). (159) Let us now consider a circular shaft fixed at x = 0 and has a thin disk of mass moment of inertia I, similar to the electronics above the cryosta, attached at x = 1. The partial differential equation governing [28] δθ(1, t) δx = −β δ2 θ(1, t) δt2 (160) where β = I/(ρJL). Separation of variables give: 45
  • 48.
    dX(1) dx = βλX(1). (161) Thesolution is X(x) = D sin √ λx (162) giving tan √ λ = 1 β √ λ . (163) There are countable but infinite values of λ, and at large k, λk approaches ((k + 1)π)2 . Let λi and λj are distinct solutions with corresponding mode shape Xi(x) and Xj(x) respectively. The mode shapes satisfy the boundary conditions Xi(0) = 0, Xj(0) = 0, ˙Xi(1) = βλiXi(1), and ˙Xj(1) = βλjXj(1): d2 Xi dx2 + λiXi = 0 (164) and d2 Xj dx2 + λjXj = 0. (165) Multplying the first of these by Xj(x) and integrating from 0 to 1 gives 1 0 d2 Xi dx2 Xjdx + λi 1 0 XiXjdx = 0 (166) and integrating by parts leads to: Xj(1) dXi dx (1) − Xj(0) dXi dx (0) − 1 0 dXi dx dXj dx dx + λi 1 0 XiXjdx = 0. (167) so that βλiXi(1)Xj(1) − 1 0 dXi dx dXj dx dx + λi 1 0 XjXidx = 0. (168) 46
  • 49.
    Integrating the secondequation, after the multiplication by Xi(x), from 0 to 1: βλjXj(1)Xi(1) − 1 0 dXi dx dXj dx dx + λj 1 0 XiXjdx = 0 (169) and subtracting the last two equations leads to (λi − λj) βXi(1)Xj(1) + 1 0 XiXjdx = 0. (170) This implies since λi = λj βXi(1)Xj(1) + 1 0 XiXjdx = 0 (171) and defining scalar product of g and f by (f, g) = 1 0 f(x)g(x)dx + βf(1)g(1) (172) then (Xj, Xk) = 0. The mode shape is normalized 1 = (Xk, Xk) = 1 0 D2 k sin2 ( λkx)dx + D2 kβ sin2 λk = D2 k 1 0 1 2 (1 − cos(2 λkx))dx + β sin2 λk = Little manipulation produces Dk = √ 2(1 + β sin2 √ λ)−1/2 (174) where λk is the kth solution. Let us see a forced vibration example. This is similar to the problems with the motor and the belt rotating the cryostat. We use the above model as the cryostat and subject the thin disk to harmonic torque, T(t) = T0 sin ωt. (175) 47
  • 50.
    The torsional oscillations,in terms of nondimensional variables, with θ(0, t) = 0 are δθ δx (1, t) = −β δ2 θ δt2 (1, t) + T0L JG sin ˜ωt (176) where ˜ω = L ρ/Gω. Since the external excitation is harmonic, the steady state response is assumed as θ(x, t) = u(x) sin ˜ωt. (177) This leads to d2 u dx2 sin ˜ωt = −˜ω2 u sin ˜ωt (178) or d2 dx2 + ˜ω2 u = 0. (179) From the boundary conditions given in the previous example and u(0) = 0 leads to du dx (1) − β˜ω2 u(1) = T0L JG . (180) The solution is u(x) = T0L (˜ω cos ˜ω − β˜ω2 sin ˜ω)JG sin ˜ωx. (181) Note that if ˜ω is equal to any of the system’s natural frequencies, the denominator vanishes. The assumed for the solution must be modified to account for this resonance condition. The total solution is the steady-state solution plus the homogeneous solution, which is a summation over all free- vibration modes. Initial conditions can then be applied to determine the constants in the linear combination. 48
  • 51.
    8 Balancing rotation Theunbalance of rotating machinery is the most common malfunction, even so that any lateral vibrations are usually wrongly thought to be due to un- balances. In our case the unbalance of the cryostat is obvious as the electric devices, and pumping systems mounted are not symmetric, and there are restrictions in placing them. Quite frequently, balancing procedures per- formed on the machine, which another type of malfunction, worsens the situation. These unbalances have been recognized for over 100 years. Bal- ancing procedures are equally old. However during the last 25 years they have experienced substantial improvements due to implementation of vibra- tion measuring electronic instruments and application of computers for data acquisition and processing. For over a century researchers have published hundreds of papers on how to balance machines. For more advanced methods one should consult [29]. The problem due to unbalance is easiest to identify and correct. The unbalance causes vibrations and alternating or variable stress in the cryostat it self and the supporting structure elements. These vibrations are directly linked to heat leak, and thus again should be minized as possible. The balancing problem is solved by either, relocating electronic equipment or adding masses. After proper balancing, rotating vibrations should be reduced in the entire range of rotational speeds, including the op- timal operating speeds, as well as the resonance speed range. The latter is especially important when the cryostat is operated in hihg speeds exceed- ing the first, the second, or even higher natural modes of resocance. As the unbalance force is proportional to the rotational frequency squared [30], the unbalance-related grows considerably with increasing rotational speed. The plane that is rigidly attached on the cryostat carrying the electronics can be thought of as beign a symmetric rotor with the axis of rotation directly in the middle. The unblance condition changes the rotor mass centerline not to coincide with the axis of rotation. Unbalance is due to the restricted placing of the electronic devices mounted on the plane. During rotation, the rotor unbalance generates a centrifugal force perpendicular to the axis of rotation. This force excites, rotor lateral vibration e.g. rotor fundamental response. In the following presentation, the modal approach to the rotor system as a mechanical structure, has been adopted. At the beginning, the first lateral mode of the rotor is considered only. The lateral mode can either be rotor bending mode or susceptibility mode. Conventionally fundamental the vibra- tion response of the rotor at its lateral mode is due to the inertial centrifugal exciting force, generated by unbalance. In the modal approach, limited to the first lateral mode, the unbalance-retaled exciting force is discrete, i.e. an average integral, lumped effect of the axially distributed unbalance in the 49
  • 52.
    first mode. Theaverage unbalance angular force location will be referred to as a heavy spot. Rotors are usually similarly constrained in all lateral directions. Therefore, they exhibit lateral vibrations in space, with two in- separable components of motion at each specific axial section of the rotor. These two components result in a two-dimensional orbiting motion of each axial section. Typically, two displacement proximity transducers, mounted in XY orthogonal configuration, will measure the lateral vibrations of the rotor in one axial section plane. The isotropic rotor lateral synchronous motion, as seen by the displacement transducers 90 degrees apart, will differ by 90 degrees phase angle. The rotor lateral vibrations can be observed on an oscil- loscope in the time-base mode, and in orbital mode. The latter represents a magnified image of the actual rotor centerline path in this section. Figure 18 illustrates the waveforms and an orbit of a slightly anisotropic rotor funda- mental response. The angular position of the force and response vectors are vital parameters for the balancing procedure. In practical applications, the response phase is measured by the Keyphasor transducer ( [31], and [32]). Keyphasor is a transducer generating a signal used in rotating for observing a once-per-revolution event. A notch is made on the rotor, which during rotor rotation causes the Keyphasor displacement transducer to produce an output impulse, every time the Keyphasor notch passes under the trans- ducer. The one-per-turn impulse signal is simultaneously received, together with the signals from the rotor lateral displacement-observing transducers. The Keyphasor signal is usually superimposed on the rotor lateral vibration response time-base waveform presentation and on rotor orbits. On the os- cilloscope display, the Keyphasor pulse is connected to the beam intensity input (the z-axis of the oscilloscope; while the screen displays x and y axis). The Keyphasor pulse causes modulation of the beam intensity, displaying a bright dot, followed by a blank spot on the time-base and/or orbit plots. The sequence bright/blank may vary for different oscilloscopes and for rotor notch/projection routine, but is always consistent and constant for a partic- ular oscilloscope and rotor configuration; this sequence should be checked on rotor waveform time-base responses when the oscilloscope is first used. The unbalance force at a constant rotational speed, Ω as seen in Figure 19 can be characterized in the following way. There’s a fixed relation to the rotating system. The nature of the rotating period is strictly harmonic time- base, expressed by sin Ωt, cos Ωt or eiΩt , where t is time. When the frequency is equal to the actual rotational speed the unbalance is rotating at the same rate in sync with the rotor rotation. The force F is proportional to three physical parameters namely: unbalance average, modal mass m, and square of the rotational speed. 50
  • 53.
    Figure 18: Rotorlateral motion measured by two displacement proximity transducers in orthogonal orientation and the Keyphasor phase reference transducer. 51
  • 54.
    Figure 19: Time-basewaveforms of rotor response to unbalance inertia force. Note that response lags the force by the phase difference. 52
  • 55.
    F = mrΩ2 (182) Forcephase that is the angular orientation δ mesured in degrees or radians from a reference angle zero marked on the rotor circumference. The unbal- ance force causes rotor response in a form of two-dimensional orbital motion. The harmonic time-base is expressed by a similar harmonic function as the unbalance force and the frequency is equal to the actual rotational speed Ω. Amplitude B is directly proportional to the amplitude of the unbalance force, and F is inversely proportional to the rotor synchronous dynamic stiff- ness [33]. Phase lag β represents the angle between the unbalance force vector and response vector plus the original force phase, δ. The response always lags the force, thus the phase moves in the direction opposite to rotation. Both unbalance force and rotor response are characterized by the single frequency equal to the frequency of the rotational motion. The vibrational signal read by a pair of XY displacement transducers should, therefore, be filtered to frequency Ω, or what is the same, to frequency describing synchronous fre- quency of the rotor response as a multiple of one. There may exist other frequency components in the rotor response. These possible components of the vibrational signals are not directly useful for rotor balancing. A vector filter can, for instance, be used for filtering of the measured signal to the first component only. In the characterization of both the force and response, the amplitude and phase were emphasized as two equally important parameters. Using the complex number formalism, these two parameters can be lumped into one the force vector and response vector correspondingly. The amplitude will represent the length of the vector, the phase its angular orientation in the polar plot, coordinate format. The unbalance force and rotor response are therefore, described in a very simple way. Unbalance force is: Fei(Ωt+δ) = mrΩ2 ei(Ωt+δ) (183) and rotor fundamental response RF = Bei(Ωt+β) . (184) The corresponding vectors are obtained when the periodic function of time, eiΩt is eliminated: −→ F = Feiδ = mrΩ2 ejδ (185) 53
  • 56.
    Figure 20: Unbalanceforce vector and rotor fundamental response vector in polar coordinate format. Note conventional direction of response angle, β, lagging the force vector in direction opposite to rotation. and (Figure 20) −→ RF = −→ B = Beiβ . (186) The keyphasor transducer provides a very important measurement of the rotor response phase. Since the keyphasor notch is attached to the rotor, the keyphasor signal dot superimposed on the response waveform, represents the meaningful angular reference system. A useful convention of coordinates describes the angles. When the notch on the rotor is exactly under the keyphasor transducer, the rotor section under the chosen lateral transducer has the angle zero. In order to locate the heavy spot, looking from the driving end of the rotor, rotate the rotor in the direction of the rotation by the angle β. The heavy spot will then be found under the chosen lateral transducer. This way there is no angular ambiguity, independently of the lateral probe positions. The rotor orbit displayed on the oscilloscope is a magnified picture of the rotor centerline motion. The rotor fundamental response orbit, as can be observed on the oscilloscope screen in orbital mode. Elliptical orbits are 54
  • 57.
    due to anisotropyof the rotor support system, which is the most common case in machinery. One Keyphasor dot on the orbit is at a constant posi- tion, when the rotational speed is constant. It means that during its one rotation cycle the rotor makes exactly one lateral vibration orbiting cycle. Direction of orbiting is the same as direction of rotation called forward or- biting. For a constant rotational speed, the orbit exhibits a stable shape and the Keyphasor dot appears on the orbit at the same constant angular position. The phase of the rotor fundamental response is often referred to as the high spot. It corresponds to the location, on the rotor circumference, which experiences the largest deflections and stretching deformations at a specific rotational speed. Although just One-plane balancing does not have many practical applications in machinery, it provides a meaningful general scheme for balancing procedures. Basic equation for one plane balancing of the rotor at any rotational speed is represented by the one mode isotropic rotor relationship between input force vector, Feiδ , rotor response vector, Beiβ and complex dynamic stiffness [34], −→ k (Ω): −→ k (Ω)Beiβ = Feiδ (187) where −→ k (Ω) = K − MΩ2 + iDSΩ. (188) The complex dynamic Stiffness represents a vector with the direct part, kD = K − MΩ2 and quadrature part kQ = DΩ. The rotor in Figure 18 is now defined more precisely it contains the rotor Transfer Function [35], which is an inverse matrix of the Complex Dynamic Stiffness, −→ k . The inverse of the complex dynamic dtiffness is also known receptance. The objective of balancing is to introduce to the rotor a corrective weight of mass, mc, which would create the inertia centrifugal force vector equal in magnitude and opposite in phase to the initial unbalance force vector. This way, the rotor input theoretically becomes nullified and the vibrational output results also as a zero. In practical balancing procedures, the input vector force of the initial unbalance has therefore to be identified. Using again the block diagram formalism, the one-plane balancing at a constant rotational speed is illustrated in Figure 22. Introduce the vectorial notation: −→ F = Feiδ and −→ B = Beiβ , for the unbalance force vector and response respectively, as well as, −→ H = 1/ −→ k for the rotor transfer function vector. The original unbalance response at a constant speed, Ω is: 55
  • 58.
    Figure 21: Angularpositions of unbalance force vector (heavy spot) and response vectors at two rotational speeds and two directions of rotor rotation (a), (c), and (b), (d) and for two locations of lateral transducers (a), (b), and (c), (d). Note that minus signs for the angles are most often omitted and replaced by lag. 56
  • 59.
    Figure 22: Balancingin one-plane. −→ F −→ H = −→ B . (189) In this relationship, there are two unknown vectors, −→ H and −→ F . The response vector, −→ B is measured thus its amplitude and phase are known. In order to identify the initial unbalance force vector, it is sufficient to stop the rotor and introduce a calibration weight of a known mass mτ at a known radial rτ and angular δτ position into the balancing plane. When the rotor is run again at the same constant speed, Ω, the mass mτ generates an additional input force vector, −→ F = mτ rτ Ω2 eiδτ . This run is called a calibration run. The measured rotor response vector is now −→ B 1 = B1eiβ1 , which is different from the response vector. For this second run, the following input/output relationship holds true: ( −→ F + −→ F τ ) −→ H = −→ B1. (190) In the above the unknown vectors are −→ H and −→ F , and the others are known. The last two equations are suffiecient to solve the one-place balancing 57
  • 60.
    problem and calculatethe unknown parameters. The unkonwn vector − −→ F and the corrective mass, mc are calculated, therefore, as follows: − −→ F = mcrcΩ2 eiδc = −→ F τ −→ B −→ B − −→ B1 (191) or − F Ω2 = mcrceiδc = −→ F τ −→ B ( −→ B − −→ B 1)Ω2 (192) where rc and δc are radial and angular positions of the corrective weight with mass mc. Note that the corrective weight is supposed to be inserted at the same axial location on the rotor, as the calibration weight. Note also that if the radii for the calibration and corrective weights are equal (rτ = rc) and the original and calibration run measurements are taken at the same rotational speed giving: mceiδc = mτ eiδτ −→ B −→ B − −→ B1 . (193) Finally, note that the balancing procedure does not require calculation of the second unknown parameter, the rotor transfer function vector −→ H provides this vector as well: −→ k = 1 −→ H = −→ F τ −→ B 1 − −→ B . (194) This synchronous dynamic stiffness vector, totally overlooked in balancing procedures, represents a meaningful characteristic of the rotor. It should be calculated, stored and reused, if balancing is required in the future. During the next balancing, the old and new rotor dynamic stiffness vectors should be compared. For a constant speed balancing, the synchronous dynamic stiffness vector is often used in the form −→ k /Ω2 and is known as the sensitivity vector. The analytical solution for the corrective mass and its radius can be obtained by splitting it into real and imaginary parts: mcrceiδc = mτ rτ eiδτ Beiβ Beiβ − B1eiβ1 = mτ rτ eiδτ B B − B1ei(β1−β) (195) 58
  • 61.
    from where mcrc(cos δc+ i sin δc) = mτ rτ (cos δτ + i sin δτ ) B B − B1(cos (β1 − β) + i sin (β1 − β)) = mτ rτ (cos δτ + i Now the real and imaginary parts are: mcrc cos δc = mτ rτ B (B − B1 cos (β − β1)) cos δτ − B1 sin (β − β1) sin δτ B2 + B2 1 − 2BB1 cos (β − β1) (197) and mcrc sin δc = mτ rτ B (B − B1 cos (β − β1)) sin δτ + B1 sin (β − β1) cos δτ B2 + B2 1 − BB1 cos (β − β1) .(198) From these we get: mcrc = mτ rτ B B2 + B2 1 − 2BB1 cos (β − β1) (199) and δc = δτ + arctan B1 sin (β − β1) B − B1 cos(β − β1) . (200) These represent the analytic result for the one plane balancing. This can be done first choosing a rotational speed Ω for balancing. Next is to run the rotor and measure its original synchronous response vector, −→ B = Beiβ , at the rotational speed Ω. After this stop the rotor and choose a radial and angular scale for plotting vectors. Draw the vector −→ B = Beiβ in the polar plot. Now introduce a known calibration weight into the rotor at a convenient, known axial, radial and angular position. Convenience consists in installing the calibration weight in the rotor in the opposite half-plane to the original unbalance. On the polar plot draw the corresponding calibration force vector −→ F τ = Fτ eiβτ = mτ rτ Ω2 eiδτ . Run the rotor at the same speed Ω. Measure the new rotor synchronous response vector −→ B1 = B1eiβ1 and draw it in the polar plot using the same scale, and then stop the rotor. Subtract vectorially −→ B1 from −→ B in the plot; draw a vector −→ B − −→ B1. Find the corrective weight angular position as δc = δτ + θ. The angle θ is between the vectors −→ B and 59
  • 62.
    Figure 23: Oneplane balancing of a rotor using polar plot. −→ B − −→ B1. Since the response is proportional to the input force, the triangles −→ B , −→ B1 , −→ B1 − −→ B , and −→ F , −→ F + −→ F τ , −→ F τ are similar; they have the same angles. Now measure on the plot the length of the vector −→ B − −→ B1 using the assigned scale. Next calculate the corrective mass, mc, applying the formula: mc = mτ rτ B rc −→ B − −→ B 1 . (201) Finally introduce the correct weight with mass mc at the angle δc, and radius rc to the same plane rotor as the calibration weight. This procedure can be iterated when new equipment is added to the plane carrying the electronics. 9 Studies of the Noise of Old Rota I Cryostat As Rota I Cryostat was to be modified, and also partly rebuilt, rotational characteristics were measured focusing on noise. The measurements were 60
  • 63.
    done with allthe cryostat’s electronics in place, and other set of measure- ments were done when all the electronics were removed. The measurements were done in the same way as previous vibrational noise measurements [36]. The measurements were done in the normal, and tangential directions from the axis of rotation. The rotation speeds were 250, 1000, 2000, 3000 mrad/s. The accelerometer used is a Bruel and Kjaer Accelerometer Type 4370 [37], and Bruel and Kjaer preamplifier was used before collecting the data with Agilent 54641 Oscilloscope [38]. The data aquired was done using TCL, and transferred by GPIB. The results were similar to previously done measurements [36]. The nois- iest direction by far was the tangent of the rotation vector, this means that the noise was rather torsional rather than back and forth swaying of the cryostat. The 250 mrad/s speed is a problematic speed as it showed some risen noise levels. This was propably due that some part of the cryostat experiences its first harmonic. In Figure 24. at 250 mrad/s some peaks in the fourier transform seemed to be quite visible and large compared to the 1000 mrad/s case. Some of the peaks have lowered and also disappeared at 1000 mrad/s, but the overall noise seems to have increased at all frequencies. This is taken with all the electronics on, and in the tangential direction. In the normal direction the largest peaks are half to that of tangential and the overall noise is somewhat lower at all frequencies. As the speed was increased the noise-levels rose, but not all frequencies seemed to be affected by this. In Figure 25. the noise-levels are additively integrated over region up to 55 Hz at different speeds. In this tangential noise-plot one is able to see the unbalanced increases at different frequencies. The removal of electronics had an unexpected effect on the noiselevels. Vibrational noise fell sharply in the measurements after the removal of the electronics. This was probably due to the fact that load from the air bearings was lifted, and thus removing some friction. This means that the air bearings are experiencing their maximum load, and when the electonics are mounted on the cryostat the friction rises. The integration without the electronics reveals that the noise at different speeds in the tangential directions does not vary as expected. Rather the 250 mrad/s case seems to dominate in this situation as can be seen in Figure 28. The moment of inertia has been changed, so the high noise-level at 250 mrad/s is not necessarily a first harmonic that the whole cryostat or the belt of the rotating motor is experiencing. It could also be that motor is not functioning perfectly at this speed. 61
  • 64.
    0 5 1015 20 25 30 35 40 45 50 55 0 0.5 1 1.5 2 2.5 3 3.5 x 10 4 V(10 −3 ) Tangential Noise with Electronics at 250 mrad/s 0 5 10 15 20 25 30 35 40 45 50 55 0 1 2 3 4 x 10 4 Hz V(10 −3 ) Tangential Noise with Electronics at 1000 mrad/s Figure 24: Two fourier spectra show measured tangential noise at rotating speeds 250 and 1000 mrad/s. 62
  • 65.
    0 5 1015 20 25 30 35 40 45 50 0 1 2 3 4 5 6 7 8 x 10 4 Hz VHz(10 −3 ) Tangential Additive Noise Integral with Electronics 250 1000 2000 3000 Figure 25: The integrated additive plot shows the complexity of rising noise level at different speeds in tangential direction. 63
  • 66.
    0 5 1015 20 25 30 35 40 45 50 0 0.5 1 1.5 2 2.5 x 10 4 Hz VHz(10 −3 ) Normal Noise Additive Integral Plot with Electronics 250 1000 2000 3000 Figure 26: The integrated additive plot shows the complexity of rising noiselevel at different speeds in normal direction. 64
  • 67.
    0 5 1015 20 25 30 35 40 45 50 55 0 2000 4000 6000 8000 V(10 −3 ) Tangential Noise without Electronics at 250 mrad/s 0 5 10 15 20 25 30 35 40 45 50 55 0 2000 4000 6000 8000 Hz V(10 −3 ) Normal Noise without Electronics at 250 mrad/s Figure 27: This plot shows how the normal and tangential directions differ taken at 250 mrad/s without electronics. 65
  • 68.
    0 5 1015 20 25 30 35 40 45 50 55 0 1 2 3 4 x 10 4 V(10 −3 ) Tangential Noise With Electronics at 3000 mrad/s 0 5 10 15 20 25 30 35 40 45 50 55 0 1 2 3 4 x 10 4 Hz V(10 −3 ) Tangential Noise Without Electronics at 3000 mrad/s Figure 28: This plot shows how the tangential noise varies with and without the electronics taken at 3000 mrad/s. 66
  • 69.
    0 5 1015 20 25 30 35 40 45 50 0 2000 4000 6000 8000 10000 12000 14000 Hz VHz(10 −3 ) Tangential Additive Noise Integration without Electronics 250 1000 2000 3000 Figure 28: Additive integration is taken without electronics in the tangential direction. 10 Superconducting high-homogeneity mag- net for NMR measurements Chemical analysis, and imaging of biological samples are commonly probed using nuclear magnetic resenance methods. The samples in a magnetic field are studied using continuous wave NMR causing the samples’s magnetic mo- ments of the atomic nuclei to arrange in a fashion minimizing the magnetic potential energy. The NMR frequency of the sample is changed according to the dependent magnitude, thus the polarization field strenght is sweeped [39] and the resulting spectrum measured gives information about the structure Getting a good NMR signal requires the magnetic moments to be as uniform as possible. A very homogenous field is thus a must, which requires that the polarizing magnet is constructed with great care. The homogeneity is defined as the relative deviation from the center point value B0: | ∆B B0 | = | B − B0 B0 |. (202) One must also take into account the space where the measurements are to be made. They are in volume very constricted, and the sample as in our 67
  • 70.
    case is heliumis to be measured in a cylindrical cell. Solenoid magnet is thus a very good choice for this experiment, and the field can be represented in closed form ( [40], [41]). Increasing the coil length and optimizing the diameter of the solenoid improves the homogeneity, which in general means decreasing the diameter. The homogeneity is reduces when one moves axially away from the center, and trying to reduce this short compensation coils at both ends are placed. The most common of the compensation methods is the sixth order end compensation [42], in which the correct choice of magnet dimensions cancels the first five derivative terms in the expansion series of the field. The homogeneity can also be improved using the Meissner effect, which occurs as superconducting material is placed in a magnetic field. As in the case of perfect diamgnet the superconductor sets up surface currents cancelling the field within the material by opposing magnetization. The solenoid is surrounded by superconducting material in order to force the field lines to concentrate in center of the solenoid center [43] and also acts as a shield for external unwanted fields. The magnet used for the measurements was already provided [44]. The wire consist of quite fragile Super Con Inc. 18 filament NbTi inside CuNi alloy matrix [45]. As the measurements are done notably under the critical 4.2 K temperature, there should be no problem of proper thermalization. The dimensions of the magnet can be seen in Figure 29. The magnet was previously tested merged in liquid helium with maximun current load of 12.5 A without quenching. The absolute value of the magnetic field strength for the magnet was not accurately measured as the Hall probe used by Vesa Lammela was designated to work at temperature range of −10 to 125o C. The homogeneity of the magnet was therefore to be tested with actual NMR-measurements. 11 Superconductivity The phenomenon of superconductivity occurs in specific materials at ex- tremely low temperatures. The characterization includes exactly zero elec- trical resistance, and the Meissner effect [46]. The resistivity of the metallic conductor gradually decreases as temperature is lowered, and drops abruptly to zero when the material is cooled below the critical temperature. It is a quantum mechanical phenomenon. The physical properties vary from mate- rial to material, especially the heat capacity and the critical temperatures. Regular conductors have a fluid of electrons moving across a heavy ionic lattice, where the electrons constantly collide with the ions, thus dissipat- ing phonon energy to the lattice converting into heat. The superconductor situation differs in that the electronic fluid cannot be distinguished into in- 68
  • 71.
    Figure 29: Numberof turns on each layer, and the dimensions of the magnet. dividual electrons, but it consists of Cooper pairs [47] caused by electrons exchanging phonons. The Cooper pair fluid energy spectrum possesses an energy gap amounting to a minimum energy ∆E that is needed to excite the fluid. When ∆E is larger than the lattice thermal energy kT, there will be no scattering by the lattice as the Cooper pari fluid is a superfluid without phonon dissipation. The critical temperature Tc varies with the material, and convetionally are in the range of 20K to less than 1K. The transition to superconductivity is accompanied by changes in various physical properties. In the normal regime the heat capacity is proportional to the temperature, but at the transition it suffers a discontinous jump, and linearity is impaired. At the low temperature range it varies as e−α/T where α is some constant varying with the material. The transition as indicated by experimental data is of second-order, but the recent theretical improvements (which are ongo- ing) show that within the type II regime transition is of second order and within the type I regime first order, and the two regions are separated by a tricritical point [48]. Considering the Gibbs free energy per unit volume g, which is related to internal energy per unit volume u and entropy s: g = u − Ts (203) 69
  • 72.
    where the volumeterm has been neglected. The associated magnetic energy in the presence of an applied magnetic field ¯Ba is − ¯M ·d ¯Ba, where ¯M is the magnetic dipole moment per unit volume. A change in the free energy is given by dg = − ¯M · d ¯Ba − sdT. (204) Integrating yields: g(Ba, T) = g(0, T) − Ba 0 ¯M · d ¯Ba. (205) For type-I-superconductor ¯M = − ¯H [50] due to the Meisness effect, and thus the previous can be written as: gS(Ba, T) = gS(0, T) + Ba 0 BadBa µ0 = gS(0, T) + B2 a 2µ0 . (206) We see B2 a/2µ0 as the extra magnetic energy stored in the field as resulting from the exclusion from the superconductor. At the transition between the superconductivity and normal state we have gS(Bc, T) = gN (0, T), where Bc is the critical magnetic field and the magnetization of the normal state has been neglected. The entropy difference ∆s < 0 between normal and superconducting states can be obtained from this using s = −(δg)/δT. Now the heat capacity per unit volume c = Tδs/δT is: ∆c = T µ0 Bc d2 Bc dT2 + dBc dT 2 , (207) which shows that there is a discontinuous jump in ∆c even for Bc = 0. As our superconducting filament behaves as convetional superconductiv- ity the pairing can be explained by the microscopic BCS theory. The assump- tion of the BSC theory [49] is from the assupmtion that electrons have some attration between them overcoming the Coulomb repulsion. This attraction in most materials is brought indirectly by the interaction between the elec- trons and the vibrating crystal lattice as the opposite spins becoming paired. As electron moves through a conductor nearby a positive lattice point causes another electron with opposite spin to move into the region of higher positive charge density held together by binding energy Eb. When Eb is higher than 70
  • 73.
    phonon energy fromoscillating atoms in the lattice, then the electron pair will stick together, thus not experiencing resistance and describing an s-wave superconducting state. Let us look more closely to the electron-phonon in- teraction. Electron in a crystal with wavevector ¯k1 scatters to ¯k′ 1 emitting a phonon ¯q. Then this phonon is absorbed by a second electron ¯k2 to ¯k′ 2 hence the conservation of crystal momentum: k1 + k2 = k′ 1 + k′ 2 = k0. (208) States in the ¯k-space can interact, but are restricted by the Pauli exclusion principle corresponding to electron energies between EF and EF + ωD, where EF is the Fermi energy and ωD is the Debye frequency. The number of allowed states occur when ¯k1 = −¯k2, and they are called the Cooper pairs [51]. The transition temperature Tc is given by BSC model [52] kBTc = 1.14 ωDe−1/V0g(EF ) , (209) where V0 is the phonon-electron interaction strenght. In the BCS ground state (T = 0), there is a binding energy 2∆ to the first allowed one-electron state, in which the Cooper pairing is broken. The gap energy in conventional superconductors are in the range of 0.2-3 meV, thus very much smaller than EF . Next we will consider quenching mechanisms for the breaking up of the superconducting state to normal state. It is exactly this that the Cooper pairing is broken as some disturbance overcomes this binding energy. 12 Superconductor quenching We will deal with the matter of quenching here, as it will be quite a impor- tant factor affecting the work. Quenching occurs when a superconductive filament goes to normal resistive state. There are three critical parameters namely temperature, current density, and magnetic field affecting this behav- ior. When one of these parameters’ critical value 1is exceeded by some phys- ical process, superconductor becomes normal-conducting. When the cooling power for the filament is not sufficient the zone of the normal conductor ex- pands. Usually in a quench case the entire energy stored in the magnet is dissipated as heat, even burning the filament. There are two main distur- bances namaley transient and continuous, which can be again divided into two more causes point and distributed. In the case of continuous disturbance the steady power becomes a problem due to e.g. bad joint, or soldering. The 71
  • 74.
    distributed disturbances areusually caused by heat leak to the cryogenic environment. Now transient disturbances are sudden, and can be for exam- ple caused by a breaking of a turn in a magnet due to excess Lorenz force moving the turn by δ. In this case the work done by the magnetic field is BJδ, where J is the current density, and this energy will heat the magnet to normal state. Our filament is embedded in a copper matrix, which is a good absorber and distributor of heat, thus if the copper gets good enough contact where to dissipate the energy, the magnet can stay in superconducting state even thought some problems persist. For example cooling of the filament by helium is given by the adiabatic heat balance equation [53]: ρcu(T(x, t)) I(t)2 Acu(x) = c(T(x, t))A(x) dT(x, t) dt , (210) where ρcu is the resistivity of copper, Acu is the copper cross-section of the composite, I is the current in the filament, T is the temperature of the filament, and c is the heat capacity. Voltage V (t) is a function of time in the magnet coil V (t) = I(t)R(t) + L(I) dI(t) dt − i Mi dI dt − UP C, (211) where I(t) is the current, R(t) is the resistance, L(I) is the self inductance, Mi is the mutual induction of a neighboring turn or coil, and Upc is the voltage of the power converter. Now with a good power converter, the quenching voltage can be given: VQt) = I(t)R(t) + LQ(t) dI dt , (212) where LQ is the partial inductance and R(t) is the resistance of the quenching zone. Taking mutual inductance zero, we get [54]: VQ(t) = I(t)R(t)(1 − LQ(t)/L). (213) The quench zone thus expands as resistance and partial inductance grow. A good power supply can detect this, and switches itself off. 72
  • 75.
    13 Nuclear MagneticResonance, and Imag- ing Quantum mechanical magnetic proterties of atom’s nucleus can be studied with the nuclear magnetic resonance (NMR). The pehomenon was first dis- covered by Isidor Rabi in 1938 [?]. Neutrons and protons have spin, and the overall spin is determined by the spin quantum number I, and non-zero spin associates with a non-zero magnetic moment µ by µ = γI, (214) where, γ, is the gyromagnetic ratio. Angular momentum quantization, and orientation is also quantized. The associated quantum number is known as the magnetic quantum number m, and can only have values from integral steps of I to −I thus there are 2I + 1 angular momentum states. Taking the z component Iz: Iz = m . (215) The z-component of the magnetic moment is µz = γIz = mγ . (216) ¯I2 has eigenvalues I that are either integer or half integer. This can be meaning (Im µx′ Im′ ) = γ (Im Ix′ Im′ ), (217) where µx′ and Ix′ are components of the operators ¯µ and ¯I along the arbitrary x′ -direction. This is based on the Wigner-Eckart equation [56]. For simplicity we consider system of two m states +1/2 and −1/2 by numbers N+ and N−, where the total number N of spins is constant. With the propability for transition W the absorption of energy is given: dE dt = N+W ω − NW ω = ωWn, (218) where ω is the angular frequency of the time dependent interaction (or the frequency of an alternating field driving the transitions), and n has to be 73
  • 76.
    zero for anet absorption. Now in a similar fashion using a alternating field we get for the absorption energy [57] dE dt = n ωW = n0 ω W 1 + 2WT1 (219) where T1 is the spin-lattice relaxation time, and as long as 2WT1 ≪ 1 we can increase the power absorbed by increasing the amplitude of the alternating field. Taking the alternating magnetic field as Hx(t) = Hx0 cos ωt, and it can be broken into two rotating components with amplitude H1 in opposite directions. They are denoted by: ¯Hr = H1(¯i cos ωt + ¯j sin tωt) (220) and ¯HL = H1(¯i cos ωt − ¯j sin ωt). (221) We consider only ¯HR as ¯HL is just same with negative ω. Taking ωz as component of ω along z-axis: ¯H1 = H1(¯i cos ωzt + ¯j sin ωzt). (222) Now the equation of motion with the static field ¯H0 = ¯kH0 is d¯µ dt = ¯µ × γ[ ¯H0 + ¯H1(t)]. (223) Now moving to a coordinate system such that the system rotates about the z-direction at frequency ωz then: δ¯µ δt = ¯µ × [¯k(ωz + γH0) +¯iγH1]. (224) Now near resonance ωz + γH0 ≃ and by setting ωz = −ω states that in the rotating frame moment acts as though it experiences a static magnetic field: ¯Heff = ¯k(H0 − ω γ ) + H1 ¯i. (225) 74
  • 77.
    The effective fieldexactly when the resonance condition is fullfilled the effective field is ¯iH1, and a magnetic moment parallel to the static field will then precess in the y − z plane. Turning H1 on for a wave train of duration tw so that moment precesses through an agle θ = γH1tw = π so inverting the moment. Now if θ = π/2 the magnetic moment is turned from z-direction to the y-direction. Turning H1 off then would make the moment remain at rest in the rotating frame. Simple method for observing magnetic resonance can be done with these remarks. Putting a sample in a coil, the axis of which is perpendicular to ¯H0. Alternating field applied to the coil produces an alternating magnetic field. Adjusting tw and H1 we can apply a π/2 pulse, after which the excess magnetization will be perpendicular to ¯H0 precessing at angular frequency γH0. Now the moments make alternating flux through the coil inducing emf that may be observed. Now variations of the similar principle can be used to make measurements using NMR. The method in our experiment is using continuous wave method. The receiver coils are set perpendicular to the magnetic field from the magnet. The current is sweeped in the magnet, and the resonance signal should pick-up in our coil. The magnitude of nmr resonace signals is proportional to the molar concentration of the sample [58]. In our experiment the magnet is placed within a vacuum, and in the middle of the magnet one places the sample to be measured with the pick-up coils in perpendicular direction to the magnetic field (Figure 30) The resonance circuit in Figure 30 is tuned for both excitation and de- tection. At first there was no cooled preamplifier in the setup. The lock-in amplifier measured the signal from the pick-up coils, which was locked to the frequency of the oscillator. The oscillator was used to drive the excitation frequency of the circuit. The magnet was supposed to be swept across to observe NMR spectrum from the 3 He sample inside the magnet. The test- ing was supposed to be done for 25 turns per each pick-up coil, and then 50 turns. The pick-up coils were very carefully coiled on glass piece that fit directly on the sample tube right in the middle. The sample was place in the center of the magnet, and thus the magnetic field from the magnet and the pick-up coils were perpendicular. The gyromagnetic ratio of 3 He is 32.43 MHz/T [?] 14 Cooling of the Cryostat The main purpose in our measurement is to measure the homogeneity of the superconducting magnet, by doing NMR measurements of normal liquid 3 He, which requires temperatures below 3.19 K. The experiment is done 75
  • 78.
    Figure 30: Thesetup of the NMR-measurement in our experiment. in an insulated dewar, see Figure 30. The precooling is done using liquid nitrogen, which boils at 77 K [59], and liquid N2 has about 60 times the latent of heat evaporation to that of cryo-helium [60]. Liquid nitrogen is also an order cheaper than cryo-helium. One very important property of liquid nitrogen is that it freezes at 63 K, and this has to be taken into account, when the next cooling phase is done with liquid 4 He. After all the equipment is placed within the cryostat, and all the necessary preparations have been done, liquid nitrogen is pumped into the cryostat using a metal tube. This is done gradually as the liquid evaporates it creates pressure, and there is a valve to let excess pressure out, but one does not want the pressure to get much greater than 1.4 Pa in the cryostat. This is because the cool gas will freeze the insulating rubber in the valve, thus yielding the insulation useless. After the nitrogen cooling is over the rest of the nitrogen is pumped out using a narrow nylon tube reaching the bottom of the cryostat. This is solely for the purpose that the nitrogen freezes otherwise, and it has a rather large specific heat. The cryostat setup is seen in Figure 31. The vacuum space at this point is filled with 3 He exchange gas to hasten the cooling of sample and the magnet. The heat of evaporation for cryo-helium is about 2.6 kJ/l at its boiling point is 4.2 K. The 4 He used as a cryo-liquid for cooling has 76
  • 79.
    Figure 31: Thesetup of the cryostat. some precautive aspects to take into concideration. The 4 He expands very rapidly if comes too fast into contact with the surroundings even at 77 K. The helium should be pumped into the cryostat in a very slow paste using the evaporating gas to cool the upper parts of the cryostat. Again if the pressure gets too high the cool gas will escape throuhg the input line and the emergency valve, thus the rubber insulators will freeze useless. Helium will also freeze all the pipes and tubings in the cryostat, and one has to be careful not to break frozen pipes, and not to touch them with bare hands. Now as temperature of 4.2 K is reached the vacuum-space is then pumped to a close vacuum state. It takes some time to pump, as the exchange gas as it so cold at this point. Getting down into temperature of below boiling point of 3.19 for 3 He sample to become a liquid we need to pump the 4 He. The sample has been pressurised to 18 Pa in order to get a good NMR signal. The system for the continuous evaporation cryostat is given in Figure 32. Small fraction of the 4 He liquid is sucked by a pump through a suitable flow impedance into a small pot in the vacuum can. The liquid is expanded through the impedance, and will arrive at a lower temperature. The fills until level of liquid is balances the heat transferred from the helium and the experiment with the cooling power of the refrigirator. The following 77
  • 80.
    Figure 32: Continuouslyoperated 4 He refrigerator. balancing equation is obtained: ˙QHe(≃ 1 2 ˙nL) = ˙Qtube(h) + ˙Qext, (226) where L is the latent heat of evaporation, and h is the height of liquid in the pot. When the external load increases the level in the pumping tube will drop, thus there’s a self regulation. The temperature for the refrigirator remains quite constant, and in our case it was 1.42 K on average. The problem is that in order to keep the vacuum can at the wanted frequency the 4 He evaporates at a rate, that the dewar had to be filled every day. The requirement for the impedance is: Z = ∆P ˙V ν , (227) where ˙V is the volume flow rate of the medium with viscosity ν, and ∆P is the pressure drop. In this experiment, a pre built pot was used that had been in use, and was working properly. The design of the cryostat was such that even when pumping on the helium pot, the helium level could be refilled. 78
  • 81.
    For the heliumlevel an acoustic level detection was utilized using a thin steel tube with a thin rubber on top. The oscillation differences when submerged into the dewar can tell the when the tube is in the cold gas compared to the liquid. This method could only be utilized 10 cm above the vacuum can. So resistive level detection was utilized for the lower parts of the cryostat. In this way it was ensured that the level of helium in the dewar never dropped below the level of the pot when temperatures below 4.2 K were needed. 15 Preparing the NMR measurements The cryostat was meticulously built for the NMR measurements. Tests were done for the cooling, and there were no problems for cooling. The average temperature of 1.42 K was achieved when the pot was pumped, which was enough for the 3 He to become a liquid under the pressure of 18 Pa. This pressurising was done to get a good NMR-peak. The vacuum was achieved after a few trials, and the can had to tightened a few times before there was no leak. Also the pressurising of the sample was done accordingly, and worked. The tesing of the magnet turned out to be quite problematic. The magnet gave a magnetic field strength per current 8.35 mT/A. The magnet worked properly when the vacuum can was filled with an exchange gas, and the maximum current that the power supply gave was 9.10 A even with very fast sweep rates of 0.3 A/s. Next the magnet was tested in vacuum con- ditions for quite a many times, and the magnet quenched at around 2.3 A every time, and this was invariant for the slower sweep rates. For higher the rates the magnet queched at even lower currents than previously mentioned. The quenching usually drove the whole superconducting magnet unusable for a period from hour up to three hours, if no exchange gas was let in. This also raised the temperature of the sample in the vacuum by some 1 K. Very detailed study of the cryostat was done, and no problems were found in it. Everything except the magnet seemed to be working properly without any complications. The magnet was studied under a microscope or the visible parts of the magnet. All the visible parts seemed to be in order, and no no- ticeable defects were found. There must have been a defectious portion in the wire like a twist or broken filament that was not broken completely, but big enough to cause the magnet to go into normal state when in vacuum. Lam- mela tested the magnet after building it only submerged in liquid 4 He, which cooled the small place where the heating occurs driving the magnet normal. This conclusion was supported as well by the fact that when exchange gas was let into the vacuum, the magnet returned into the superconducting state literally within seconds. As the broken part of the magnet’s filament was 79
  • 82.
    not visible, therepair of the magnet was not possible, and the NMR-studies could not be completed without the magnet working in the vacuum. 16 Conclusions The first part of the work consisted of the rotational aspects of Cryo I cryo- stat. There was a need for very precise rotation [62], and the heat noise was to be minimized. It was apparent that some of the electronics, were giving out vibrations at quite precise frequencies. These could be dimished with the use of dissipating materials and methods suggested, without even that much work. Also some of the electronics could have their fans relaplaced with metal spikes as is done in computers, and also let the cooling be done by air as the cryostat is rotating. This could be a little problematic for some of the devices. Also some of the pumps gave out vibrations that could diminished by balacing the pumps with the suggested method. Also the Fourier analysis was done with data that was not filtered properly, and thus some aliasing accumulated in the transformed data. This could be avoided by building a good solid highpass filter according to the Nyquist frequency. The rotation of the cryostat is done sometimes at quite high speeds, so the balancing of the cryostat becomes quite important. The electronics could be placed according to the scheme presented previously, using the one-plane method. Another way if the electronics cannot be moved around is to place small balancing weights on the plane carrying the electronics. The balancing method would require two similar accelerometers, as in this case of this work only one was available. Also a keyphasor would be needed. In the latter part of the work a magnet was to be tested for its homogeneity. The problem was apparent after the meticulous building of the cryostat. The magnet only worked when it was submerged in 4 He-liquid or 3 He exchange gas. The magnet queched every time when used in vacuum, and the experiment was thus abandoned, with the result that the magnet is useless. References [1] Emmanuel C. Ifeachor and Barrie W. Jervis, ”Digital Signal Processing: A Practical Approach”, Addison-Wesley, p. 53 (1993) [2] Ronald N. Bracewell, The Fourier Transform and Its Applications, McGraw-Hill, 2000, p. 130. 80
  • 83.
    [3] Bendat, J.S.and Piersol, A.G., Measurement and Analysis of Random Data, John Wiley, New York, 1966. [4] Blackman, R. B. and Tukey, J. W., The Measurements of Power Spectra, Dover, New York, 1956. [5] Jenkins, G.M. and Watts, D. G., Spectral Analysis and its Applications, Holden-Day, San Francisco, 1968. [6] Newland, D. E., An introduction to Random vibrations, spectral and wavelet analysis, Longman Scientific and Technical, Essex, 1993. [7] Cooley, J. W., and Tukey, J. W., An Algorithm for the Machine Cal- culation of Complex Fourier Series, Mathematics of Computation, Vol. 19, 1965, 297-301. [8] Cooley, J. W., Lewis, P. A. W., and Welch, P. D., Historical Notes on the Fast Fourier Transform, IEEE Trans. Audio and Electroacoustics, Vol. AU-15, 1967, No. 2, 76-9 [9] http://www.fftw.org (February, 13, 2008) [10] Oppenheim, A. V. and R. W. Schafer, Discrete-Time Signal Processing, Prentice-Hall, 1989, p. 619. [11] Rader, C. M., ”Discrete Fourier Transforms when the Number of Data Samples Is Prime,” Proceedings of the IEEE, Vol. 56, June 1968, pp. 1107-1108. [12] Institute of Electrical and Electronics Engineers Inc. IEEE standard on piezoelectricity. ANSI/IEEE Std. 176-1987, 1988. [13] C. R. Fuller, S. J. Elliot, and P. A. Nelson. Active Control of Vibration. Academic Press, 1996. [14] Nathan Newman, Considerations in Computing the Useful Frequency Range of Piezoelectric Accelerometers, NBS Technical Note 487, Na- tional Bureau of Standards, 1969. [15] Dranetz, A. I., and Orlacchio, A. W., Chapter 16-Piezoelectric and Piezoresistive Pickups, Book, Shock and Vibration Handbook, McGraw- Hill, New York, 1961 [16] Carol F. Vezzetti and Paul S. Lederer, An Experimental Technique for the Evaluation of Thermal Transient Effects on Piezoelectric Accelerom- eters, NSB Technical Note 855, National Bureau of Standards, 1975. 81
  • 84.
    [17] Williams, ArthurB. and Taylors, Fred J. Electronic Filter Design Hand- book, New York: McGraw-Hill, 1988. [18] Thomas Kugelstadt, Op Amps for Everyone, Chapter 16: Active Filter Design Techniques, Texas Instruments, 2008 [19] Paul Michael Walmsley, Textures, Vortices and Persistent Currents in a Slab of 3 He-A,The University of Manchester, 2003 [20] C. F. Beards, Engineering Vibration Analysis with Application to Con- trol Systems, Edward Arnold, 1995. [21] C. F. Beards, Structural Vibration Analysis and Damping, Edward Arnold, New York, 1996. [22] B. J. Lazan, Damping of Materials and Members in Structural Mechan- ics, Pergamon, 1968. [23] Cyril M. Harris, Harris’ Vibration Handbook, Chapters 30-33, New York: McGraw-Hill, 2002 [24] Paul G. Hoel, Introduction to Mathematical Statistcs, Wiley Publica- tion, 1966 [25] D. J. Cousins, S. E. May, J. H. Naish, P. M. Wamsley, A. I. Golov, Design of a Rotating Cryostat to Minimise Vibrational Heating, Dept. of Physics and Astronomy The Univ. of Manchester, 2003 [26] B. J. Pergamon, Damping of Materials and Members in Structural Mech- anisms, Pergamon, 1984. [27] A. Muszynska, Rotordynamics, Chapter 2, Taylor and Frnacis, 2005, Minden. [28] S. G. Kelly, Fundamentals of Mechanical Vibrations, Table 9.1, McGraw Hill, Boston, 2000. [29] N.F. Rieger, Vibration of Rotating Machinery, Vibration Institute, Clarendon Hills, IL, 1982 [30] Agnieszka Muszynska, Rotodynamics, Chapter 6. Mechanical Engineer- ing, The Ohio State University, 2005 [31] http://www.gepower.com/prod_serv/products/oc/en/bently_nevada/acc_vel.htm 8.3.2008 82
  • 85.
    [32] http://www.gepower.com/prod_serv/products/oc/en/downloads/141587.pdf 8.3.2008 [33] http://www.imd.us/pdfs/dynamic-stiffness.pdf 13.3.2008 [34]http://www.bpb-co.com/articles/printableFiles/00understand_stiff_print.pdf 15.3.2008 [35] Ripka J.: Theory of the open end rotor spinning system. In:Rohlena V. et al: Open-end spinning. Elsevier, Amsterdam 1975. [36] Aleksanteri Kulvik, ”Vibrational Analysis of Rota I Cryostat”, 2003 [37] http://www.bksv.com/pdf/Bp0196.pdf July, 31, 2003 [38] http://we.home.agilent.com/cgi-bin/bvpub/agilent/ July, 28, 2003 [39] Ruutu, Ville: NMR experiments on topological defects in 3 He superflu- ids, Ph.D Thesis, 1996 [40] Lindell, Sihvola: Staattinen kentt¨ateoria. Otatieto, 1995. [41] J. Vanderlinde, Classical Electromagnetic Theory, Wiley and Sons, New York, 1993. [42] Terrell J., Montgomery D.B,: Some Useful Information for the Design of Air-Core Solenoids, National Magnet Laboratory MIT, 1961 [43] Brehm, J.J. Mullin: Introduction to the Structure of Matter: A Course in Modern Physics, Wiley, 1989 [44] Vesa Lammela, Superconducting high-homogeneity magnet for low-field NMR measurements, TKK Materiaalifysiikka, 2001 [45] SW-18 wire by Supercon Inc. 830 Turnpike, Boston Ma. USA [46] M. Tinkham, Introduction to Superconductivity, 2nd Ed., Dover Books on Physics (2004) [47] L.N. Cooper: Bound Electron Pairs in a Degenerate Fermi Gas, Phys. Rev 104(4), (1189), 1956. 83
  • 86.
    [48] http://en.wikipedia.org/wiki/Superconductivity 13.4.2008 [49] J.Baardeen, L.N. Cooper, and J.R. Schrieffer, Microscopic Theory of Superconductivity, Phys. Rec. 106, 162-164, 1957 [50] Stephen Elliott, The Physics and Chemistry of Solids, Wiley, 2000, p. 466 [51] Ibach and Luth, Solid State Physics, Springer-Verlag GmbH and Co. KG, 1995, p. 230-231 [52] [51], p. 245 [53] Surendran Puthiyedath, Quenching and Protection of Superconducting Magnets for LHC, CERN-INDIA Collaborator, BARC, Mumbai, India, 2005 [54] Martin N. Wilson, Superconducting Magnets; Oxford Science Publica- tions, 1987 [55] Rabi, I. I., Zacharias, J. R., Millman, S. and Kusch, P. (1938). A New Method of Measuring Nuclear Magnetic Moment. Physical Review 53, 318-318 [56] C.P. Slichter, Principles of Magnetic Resonance, Springer, 1980, p. 279 [57] [56], p. 9 [58] http://www.cem.msu.edu/~reusch/VirtTxtJml/Spectrpy/nmr/nmr1.htm 13.4.2008 [59] http://en.wikipedia.org/wiki/Liquid_nitrogen 14.4.2008 [60] F. Pobell, Matter and Methods at Low Temperatures, Springer-Verlag 1992. p. 82 [61] E . Ward , L . Hedlund , W . Kurylo , C . Wheeler , G . Cofer , M . Dewhirst , L . Marks , Z . Vujaskovic; Proton and hyperpolarized helium magnetic resonance imaging of radiation-induced lung injury in rats1 . International Journal of Radiation OncologyBiologyPhysics , Volume 58 , Issue 5 , Pages 1562 - 1569 84
  • 87.
    [62] U. Parts,V. M. Ruutu, J. H. Koivuniemi, Yu. M. Bunkov, V. V. Dmitriev, M. Fogelstr¨om, M. Huebner, Y. Kondo, N. B. Kopnin, J. S. Korhonen, M. Krusius, O. V. Lounasmaa, P. I. Soininen and G. E. Volovik; Single-Vortex Nucleation in Rotating Superfluid 3 He−B, LTL HUT 1995, Espoo 85