(19) BY (11) 10756
(13) U
(46) 2015.08.30
(51) МПК
ОПИСАНИЕ
ПОЛЕЗНОЙ
МОДЕЛИ К
ПАТЕНТУ
(12)
РЕСПУБЛИКА БЕЛАРУСЬ
НАЦИОНАЛЬНЫЙ ЦЕНТР
ИНТЕЛЛЕКТУАЛЬНОЙ
СОБСТВЕННОСТИ
G 02F 1/13
G 06F 3/045
G 09F 9/35
(2006.01)
(2006.01)
(2006.01)
(54) ПЫЛЕ- И ВЛАГОЗАЩИТНЫЙ ЖИДКОКРИСТАЛЛИЧЕСКИЙ
ЭКРАН С РЕЗИСТИВНОЙ СЕНСОРНОЙ ПАНЕЛЬЮ
(21) Номер заявки: u 20150033
(22) 2015.01.29
(71) Заявитель: Открытое акционерное
общество "Конструкторское бюро
"Дисплей" (BY)
(72) Авторы: Войтенков Александр Сергее-
вич; Вайсенблюм Виталий Эдуардо-
вич; Асветимский Павел Алексеевич;
Васильев Александр Валентинович;
Кейно Михаил Станиславович; Горба-
чевский Денис Юрьевич (BY)
(73) Патентообладатель: Открытое акцио-
нерное общество "Конструкторское
бюро "Дисплей" (BY)
(57)
1. Пыле- и влагозащищенный жидкокристаллический экран с резистивной сенсорной
панелью, содержащий жидкокристаллическую панель, передний корпус, сенсорную па-
нель резистивного типа, отличающийся тем, что сенсорная панель выполнена в виде
стеклопакета с нагревательным стеклом, стеклопакет установлен в передний корпус через
изолирующие прокладки без механического сжатия и фиксации верхней полимерной
пленки сенсорной панели, клей-герметик нанесен только по торцевым сторонам по тол-
щине полученного стеклопакета, а жидкокристаллическая панель установлена относи-
тельно стеклопакета через демпфирующие прокладки.
2. Устройство по п. 1, отличающееся тем, что нагревательное стекло является защит-
но-нагревательным, на одной стороне которого, обращенной к устройству отображения,
нанесен резистивный нагревательный слой, а на обратной стороне нанесен токопроводя-
щий экранирующий слой, электрически соединенный по контуру с передней панелью.
(56)
1. Патент US 2007/0040816 Al.
2. Патент W O2013/190909 A1.
3. Патент JP 2007065855 (A).
4. Патент US 2004135773.
5. Патент JP 2002222052 (A).
6. Патент US 2005/0289746 A1.
Фиг. 1
BY10756U2015.08.30
BY 10756 U 2015.08.30
2
Заявленное решение относится к устройствам отображения, а именно к конструкции
жидкокристаллических экранов с сенсорной панелью для применения в жестких условиях
эксплуатации.
Сенсорная панель предназначена для ввода информации в систему обработки данных
через поверхность дисплея и позволяют существенно снизить необходимость в использова-
нии таких устройств ввода, как клавиатуры, мыши, пульты дистанционного управления и т.п.
Они применяются в сочетании с различными типами дисплеев в компьютерах, пла-
тежных терминалах, мобильных телефонах и других устройствах.
В зависимости от физических принципов работы существуют резистивные сенсорные
экраны, емкостные, проекционно-емкостные, инфракрасные, индукционные, на поверхно-
стно-акустических волнах.
Резистивный сенсорный экран состоит из стеклянной подложки и гибкой пластиковой
мембраны. И на подложку, и на мембрану нанесено резистивное покрытие. Пространство
между стеклом и мембраной заполнено микроизоляторами, которые равномерно распре-
делены по активной области экрана и надежно изолируют проводящие поверхности. Когда
на экран нажимают, нижняя подложка и мембрана замыкаются, и контроллер с помощью
аналогово-цифрового преобразователя регистрирует изменение сопротивления и преобра-
зует его в координаты прикосновения (X и Y), определяя таким образом координаты точ-
ки касания.
Известно, что гибкая мембрана, представляющая собой полимерную пленку с рези-
стивным покрытием ITO, является весьма чувствительной к внешним воздействиям. Кроме
того, она по указаниям производителя не допускает использования клеящих материалов
для приклеивания сенсорной панели за верхнюю поверхность ITO пленки. В противном
случае при эксплуатации, например, в условиях термоциклирования с конденсацией влаги
проявляется дефект типа "пузырь", связанный с деформацией пленки ITO, который может
приводить к замыканию верхнего электрода пленки с нижним электродом подложки.
В патентах [1], [2] сенсорная панель крепится приклеиванием к корпусу устройства за
нижнюю поверхность подложки, при этом периферийная часть не защищена от механиче-
ских воздействий. Кроме того, такой способ крепления зачастую не возможен при исполь-
зовании жидкокристаллической (ЖК) панели в состоянии поставки, т.к. размеры корпуса
ЖК панели, как правило, выходят за габарит сенсорной панели, что не позволяет органи-
зовать опору в корпусе для установки согласно указанным патентам.
Такой опорой может служить передняя рамка самой ЖК панели, как показано в [3]. Но
и в этом случае торец сенсорной панели остается открытым и не решается вопрос защиты
периферийной части панели от внешних воздействий: влаги, механических ударов и т.д.
Отмеченные недостатки частично решаются в устройстве, описанном в [4], в котором
сенсорная панель склеена с ЖК панелью, периферийная часть закрыта передней рамкой, а
внутренний объем устройства защищен от наружной среды токопроводящим клеем. Од-
нако интегрирование сенсорного экрана с ЖК панелью имеет следующие недостатки:
удлиняется технологический цикл изготовления;
ухудшается ремонтопригодность;
увеличивается стоимость изготовления;
при нажатии пальцем или стилусом проявляются дефекты типа "пятен" или "бегущей
волны", вызванные механическим сдавливанием кристаллов ЖК модуля.
Кроме того, при установке передней рамки согласно предлагаемому решению остают-
ся открытые полости, в которых возможно накопление пыли и воды.
В [5] проблема влагозащиты и герметизации решается путем использования профиль-
ных лицевых панелей и уплотнителей сложного сечения. Это требует большой точности
изготовления и, как правило, применения деталей, изготовленных методом литья, что оп-
равдано лишь при крупносерийном производстве.
BY 10756 U 2015.08.30
3
Наиболее близким по конструкции аналогом предлагаемого технического решения яв-
ляется устройство, описанное в [6], содержащее корпус, переднюю рамку с жесткой и
гибкой частью, выполняющей роль уплотнения. Как и в предыдущем патенте, предложен-
ная система уплотнения требует большой точности изготовления, качественного подбора
материалов для создания необходимого давления на поверхность сенсорного экрана и
обеспечения таким образом надежности герметизации.
Технической задачей, на решение которой направлено предлагаемое решение, являет-
ся упрощение конструкции, расширение эксплуатационных характеристик жидкокристал-
лических экранов с резистивной сенсорной панелью и в создании ЖК экрана (ЖКЭ) для
жестких условий эксплуатации.
Задача решается за счет того, что в пыле- и влагозащищенном жидкокристаллическом
экране с резистивной сенсорной панелью, содержащем ЖК панель, передний корпус, сен-
сорную панель резистивного типа, сенсорная панель выполнена в виде стеклопакета с на-
гревательным стеклом, стеклопакет установлен в передний корпус через изолирующие
прокладки без механического сжатия и фиксации верхней полимерной пленки сенсорной
панели, клей-герметик нанесен только по торцевым сторонам по толщине полученного
стеклопакета, а жидкокристаллическая панель установлена относительно стеклопакета
через демпфирующие прокладки.
Нагревательное стекло представляет собой стеклянную подложку толщиной не менее
2 мм с нанесенным резистивным слоем и выполняет функцию подогрева для обеспечения
работы ЖК панели при отрицательных температурах. Кроме того, оно является несущей
подложкой для реализации крепления сенсорной панели по торцу. Нагревательное стекло
может быть выполнено в виде защитно-нагревательного стекла, в котором на стороне,
противоположной резистивному нагревательному слою, нанесен электропроводящий эк-
ранирующий слой, выполняющий функцию защитного экрана для предотвращения утечки
информации и обеспечивающий электромагнитную совместимость устройств.
Склеивание в стеклопакет сенсорной панели с нагревательным стеклом увеличивает
механическую прочность сенсорной панели.
Установка стеклопакета в переднюю панель осуществляют путем его укладывания на
изолирующие прокладки, выполненные из твердого материала с небольшим коэффициен-
том трения, т.е. не препятствующие температурному расширению полимерной пленки
сенсорной панели. Использование эластичного клея только по торцу стеклопакета позво-
ляет осуществить защиту ЖКЭ от пыли и влаги, а также механическое крепление стекло-
пакета к передней панели ЖКЭ без механического сжатия и контакта с полимерной
пленкой сенсорной панели, т.е. без жесткой фиксации полимерной пленки.
Эластичные прокладки между ЖК панелью и внутренней поверхностью стеклопакета
выполняют роль демпфера для ЖК панели и защищают устройство от попадания пыли в
оптическую зону ЖКЭ.
Сущность заявленной полезной модели поясняется фигурами, на которых представле-
ны:
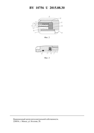
фиг. 1 - устройство ЖКЭ с нагревательным стеклом;
фиг. 2 - поперечное сечение ЖКЭ с нагревательным стеклом с частичным увеличением;
фиг. 3 - устройство ЖКЭ с защитно-нагревательным стеклом.
Жидкокристаллический экран (фиг. 1, 2) содержит ЖК панель 1, установленную в пе-
редний корпус 2, и резистивную сенсорную панель 3, склеенную в стеклопакет 4 с нагре-
вательным стеклом 5.
Резистивная сенсорная панель 3 конструктивно состоит из стеклянной подложки 6 и
верхней полимерной пленки 7, выполняющей функцию гибкой мембраны и соединенной с
подложкой 6 адгезивным слоем 8. Стеклопакет 4 выполнен путем склеивания оптическим
клеем 9 подложки 6 и стекла 5, что увеличивает механическую прочность сенсорной па-
нели.
BY 10756 U 2015.08.30
4
Нанесение клея-герметика 10 только по торцевым сторонам по толщине полученного
стеклопакета 4 кроме механического крепления позволяет осуществить герметизацию
ЖКЭ без приклеивания сенсорной панели за поверхность верхней полимерной пленки 7 и
избежать таким образом описанного выше дефекта типа "пузырь". При этом установка
эластичных прокладок 11 исключают протекание клея-герметика 10 при герметизации и
его попадание на полимерную пленку 7.
Изолирующие прокладки 12 служат только для защиты верхней полимерной пленки 7
сенсорной панели 3 от механических повреждений при ее установке, выполнены из само-
клеящейся полиимидной ленты типа КРТ, закреплены липким слоем к переднему корпусу
2 и не препятствуют температурному расширению полимерной пленки 7.
Демпфирующие прокладки 13 осуществляют функцию виброгасителей для ЖК пане-
ли 1, защищают устройство от попадания пыли в зазор 14 между ЖК панелью и стеклопа-
кетом и выполнены из эластичной пористой резины типа EPDM.
Передний корпус 2 является несущим элементом конструкции ЖКЭ, служит передней
панелью устройства отображения, выполнен из алюминиевого сплава и обеспечивает пы-
ле- и влагозащищенность устройства со стороны оператора за счет клея-герметика 10. В
качестве клея может использоваться эластичный клей средней вязкости с хорошей адгези-
ей к стеклу и алюминию, например кремнийорганический или силиконовый герметик.
Для соединения с корпусом устройства, в котором применяется ЖКЭ, передний кор-
пус 2 снабжен уплотнительной прокладкой 15, например, из кремнийорганической рези-
ны, обеспечивающей защиту устройства от пыли и воды.
При использовании в полезной модели защитно-нагревательного стекла (фиг. 3) на
одной стороне стекла 5, обращенной к жидкокристаллической матрице, нанесен резистив-
ный нагревательный слой и выполнены электровводы 16, а на обратной стороне нанесен
токопроводящий экранирующий слой, электрически соединенный по контуру с передним
корпусом 2 с помощью медной ленты 17.
При использовании в полезной модели нагревательного стекла со стороны резистив-
ного слоя стекла 5 по двум противоположным сторонам и за пределами рабочей области
экрана выполнены только электровводы 16.
Для электрического подсоединения медной ленты 17 к экранирующему слою по кон-
туру защитно-нагревательного стекла выполнены токопроводящие шины, не выходящие в
оптическую зону. Соединение может быть выполнено любым известным способом: пай-
кой медных шин либо применением медной ленты с токопроводящим адгезивным слоем.
В обоих случаях для удобства склеивания стеклопакета 4 габаритные размеры стекла 5
по длине и ширине соответствуют размерам сенсорной панели 3, что, кроме того, делает
возможным минимизировать размеры устройства ЖКЭ в целом.
Полезная модель с использованием нагревательного стекла реализована в видеомони-
торах ВМЦ-21ЖКМ, ВМЦ-38ЖКС, выполненных соответственно на ЖК панелях типа
NL6448BC26-22F ф. NEC, G150X1-L01 ф. CHI MEY и резистивных сенсорных панелях
типа GP-084F-5H-NB04B и GP-150F-5H-NB04D ф. Groovy Touch Systems.
Общая толщина стеклопакетов составила 4,5-4,8 мм. В качестве нагревательного стек-
ла использовалось стекло толщиной 2-2,5 мм с резистивным покрытием 12 Ом/квадрат. В
качестве клея для склеивания стеклопакета используется оптический клей ультрафиолето-
вого отверждения. Изделия эксплуатируются в диапазоне предельных температур от -50
до +70 °С, в условиях синусоидальной вибрации амплитудой 2g, 5g и многократных уда-
ров 15g.
Предлагаемое решение используется также в блоке индикаторном БИ-45.1(2) Р4 с ЖК
панелью G150XG01-V3 ф. AUO и сенсорной панелью GP-150F-5H-NB04D.
Полезная модель ЖКЭ с использованием защитно-нагревательного стекла разработана
для применения в планшетных компьютерах, панельных ЭВМ и других устройствах с по-
вышенными требованиями по электромагнитной совместимости.
BY 10756 U 2015.08.30
5
Фиг. 2
Фиг. 3
Национальный центр интеллектуальной собственности.
220034, г. Минск, ул. Козлова, 20.

10756

  • 1.
    (19) BY (11)10756 (13) U (46) 2015.08.30 (51) МПК ОПИСАНИЕ ПОЛЕЗНОЙ МОДЕЛИ К ПАТЕНТУ (12) РЕСПУБЛИКА БЕЛАРУСЬ НАЦИОНАЛЬНЫЙ ЦЕНТР ИНТЕЛЛЕКТУАЛЬНОЙ СОБСТВЕННОСТИ G 02F 1/13 G 06F 3/045 G 09F 9/35 (2006.01) (2006.01) (2006.01) (54) ПЫЛЕ- И ВЛАГОЗАЩИТНЫЙ ЖИДКОКРИСТАЛЛИЧЕСКИЙ ЭКРАН С РЕЗИСТИВНОЙ СЕНСОРНОЙ ПАНЕЛЬЮ (21) Номер заявки: u 20150033 (22) 2015.01.29 (71) Заявитель: Открытое акционерное общество "Конструкторское бюро "Дисплей" (BY) (72) Авторы: Войтенков Александр Сергее- вич; Вайсенблюм Виталий Эдуардо- вич; Асветимский Павел Алексеевич; Васильев Александр Валентинович; Кейно Михаил Станиславович; Горба- чевский Денис Юрьевич (BY) (73) Патентообладатель: Открытое акцио- нерное общество "Конструкторское бюро "Дисплей" (BY) (57) 1. Пыле- и влагозащищенный жидкокристаллический экран с резистивной сенсорной панелью, содержащий жидкокристаллическую панель, передний корпус, сенсорную па- нель резистивного типа, отличающийся тем, что сенсорная панель выполнена в виде стеклопакета с нагревательным стеклом, стеклопакет установлен в передний корпус через изолирующие прокладки без механического сжатия и фиксации верхней полимерной пленки сенсорной панели, клей-герметик нанесен только по торцевым сторонам по тол- щине полученного стеклопакета, а жидкокристаллическая панель установлена относи- тельно стеклопакета через демпфирующие прокладки. 2. Устройство по п. 1, отличающееся тем, что нагревательное стекло является защит- но-нагревательным, на одной стороне которого, обращенной к устройству отображения, нанесен резистивный нагревательный слой, а на обратной стороне нанесен токопроводя- щий экранирующий слой, электрически соединенный по контуру с передней панелью. (56) 1. Патент US 2007/0040816 Al. 2. Патент W O2013/190909 A1. 3. Патент JP 2007065855 (A). 4. Патент US 2004135773. 5. Патент JP 2002222052 (A). 6. Патент US 2005/0289746 A1. Фиг. 1 BY10756U2015.08.30
  • 2.
    BY 10756 U2015.08.30 2 Заявленное решение относится к устройствам отображения, а именно к конструкции жидкокристаллических экранов с сенсорной панелью для применения в жестких условиях эксплуатации. Сенсорная панель предназначена для ввода информации в систему обработки данных через поверхность дисплея и позволяют существенно снизить необходимость в использова- нии таких устройств ввода, как клавиатуры, мыши, пульты дистанционного управления и т.п. Они применяются в сочетании с различными типами дисплеев в компьютерах, пла- тежных терминалах, мобильных телефонах и других устройствах. В зависимости от физических принципов работы существуют резистивные сенсорные экраны, емкостные, проекционно-емкостные, инфракрасные, индукционные, на поверхно- стно-акустических волнах. Резистивный сенсорный экран состоит из стеклянной подложки и гибкой пластиковой мембраны. И на подложку, и на мембрану нанесено резистивное покрытие. Пространство между стеклом и мембраной заполнено микроизоляторами, которые равномерно распре- делены по активной области экрана и надежно изолируют проводящие поверхности. Когда на экран нажимают, нижняя подложка и мембрана замыкаются, и контроллер с помощью аналогово-цифрового преобразователя регистрирует изменение сопротивления и преобра- зует его в координаты прикосновения (X и Y), определяя таким образом координаты точ- ки касания. Известно, что гибкая мембрана, представляющая собой полимерную пленку с рези- стивным покрытием ITO, является весьма чувствительной к внешним воздействиям. Кроме того, она по указаниям производителя не допускает использования клеящих материалов для приклеивания сенсорной панели за верхнюю поверхность ITO пленки. В противном случае при эксплуатации, например, в условиях термоциклирования с конденсацией влаги проявляется дефект типа "пузырь", связанный с деформацией пленки ITO, который может приводить к замыканию верхнего электрода пленки с нижним электродом подложки. В патентах [1], [2] сенсорная панель крепится приклеиванием к корпусу устройства за нижнюю поверхность подложки, при этом периферийная часть не защищена от механиче- ских воздействий. Кроме того, такой способ крепления зачастую не возможен при исполь- зовании жидкокристаллической (ЖК) панели в состоянии поставки, т.к. размеры корпуса ЖК панели, как правило, выходят за габарит сенсорной панели, что не позволяет органи- зовать опору в корпусе для установки согласно указанным патентам. Такой опорой может служить передняя рамка самой ЖК панели, как показано в [3]. Но и в этом случае торец сенсорной панели остается открытым и не решается вопрос защиты периферийной части панели от внешних воздействий: влаги, механических ударов и т.д. Отмеченные недостатки частично решаются в устройстве, описанном в [4], в котором сенсорная панель склеена с ЖК панелью, периферийная часть закрыта передней рамкой, а внутренний объем устройства защищен от наружной среды токопроводящим клеем. Од- нако интегрирование сенсорного экрана с ЖК панелью имеет следующие недостатки: удлиняется технологический цикл изготовления; ухудшается ремонтопригодность; увеличивается стоимость изготовления; при нажатии пальцем или стилусом проявляются дефекты типа "пятен" или "бегущей волны", вызванные механическим сдавливанием кристаллов ЖК модуля. Кроме того, при установке передней рамки согласно предлагаемому решению остают- ся открытые полости, в которых возможно накопление пыли и воды. В [5] проблема влагозащиты и герметизации решается путем использования профиль- ных лицевых панелей и уплотнителей сложного сечения. Это требует большой точности изготовления и, как правило, применения деталей, изготовленных методом литья, что оп- равдано лишь при крупносерийном производстве.
  • 3.
    BY 10756 U2015.08.30 3 Наиболее близким по конструкции аналогом предлагаемого технического решения яв- ляется устройство, описанное в [6], содержащее корпус, переднюю рамку с жесткой и гибкой частью, выполняющей роль уплотнения. Как и в предыдущем патенте, предложен- ная система уплотнения требует большой точности изготовления, качественного подбора материалов для создания необходимого давления на поверхность сенсорного экрана и обеспечения таким образом надежности герметизации. Технической задачей, на решение которой направлено предлагаемое решение, являет- ся упрощение конструкции, расширение эксплуатационных характеристик жидкокристал- лических экранов с резистивной сенсорной панелью и в создании ЖК экрана (ЖКЭ) для жестких условий эксплуатации. Задача решается за счет того, что в пыле- и влагозащищенном жидкокристаллическом экране с резистивной сенсорной панелью, содержащем ЖК панель, передний корпус, сен- сорную панель резистивного типа, сенсорная панель выполнена в виде стеклопакета с на- гревательным стеклом, стеклопакет установлен в передний корпус через изолирующие прокладки без механического сжатия и фиксации верхней полимерной пленки сенсорной панели, клей-герметик нанесен только по торцевым сторонам по толщине полученного стеклопакета, а жидкокристаллическая панель установлена относительно стеклопакета через демпфирующие прокладки. Нагревательное стекло представляет собой стеклянную подложку толщиной не менее 2 мм с нанесенным резистивным слоем и выполняет функцию подогрева для обеспечения работы ЖК панели при отрицательных температурах. Кроме того, оно является несущей подложкой для реализации крепления сенсорной панели по торцу. Нагревательное стекло может быть выполнено в виде защитно-нагревательного стекла, в котором на стороне, противоположной резистивному нагревательному слою, нанесен электропроводящий эк- ранирующий слой, выполняющий функцию защитного экрана для предотвращения утечки информации и обеспечивающий электромагнитную совместимость устройств. Склеивание в стеклопакет сенсорной панели с нагревательным стеклом увеличивает механическую прочность сенсорной панели. Установка стеклопакета в переднюю панель осуществляют путем его укладывания на изолирующие прокладки, выполненные из твердого материала с небольшим коэффициен- том трения, т.е. не препятствующие температурному расширению полимерной пленки сенсорной панели. Использование эластичного клея только по торцу стеклопакета позво- ляет осуществить защиту ЖКЭ от пыли и влаги, а также механическое крепление стекло- пакета к передней панели ЖКЭ без механического сжатия и контакта с полимерной пленкой сенсорной панели, т.е. без жесткой фиксации полимерной пленки. Эластичные прокладки между ЖК панелью и внутренней поверхностью стеклопакета выполняют роль демпфера для ЖК панели и защищают устройство от попадания пыли в оптическую зону ЖКЭ. Сущность заявленной полезной модели поясняется фигурами, на которых представле- ны: фиг. 1 - устройство ЖКЭ с нагревательным стеклом; фиг. 2 - поперечное сечение ЖКЭ с нагревательным стеклом с частичным увеличением; фиг. 3 - устройство ЖКЭ с защитно-нагревательным стеклом. Жидкокристаллический экран (фиг. 1, 2) содержит ЖК панель 1, установленную в пе- редний корпус 2, и резистивную сенсорную панель 3, склеенную в стеклопакет 4 с нагре- вательным стеклом 5. Резистивная сенсорная панель 3 конструктивно состоит из стеклянной подложки 6 и верхней полимерной пленки 7, выполняющей функцию гибкой мембраны и соединенной с подложкой 6 адгезивным слоем 8. Стеклопакет 4 выполнен путем склеивания оптическим клеем 9 подложки 6 и стекла 5, что увеличивает механическую прочность сенсорной па- нели.
  • 4.
    BY 10756 U2015.08.30 4 Нанесение клея-герметика 10 только по торцевым сторонам по толщине полученного стеклопакета 4 кроме механического крепления позволяет осуществить герметизацию ЖКЭ без приклеивания сенсорной панели за поверхность верхней полимерной пленки 7 и избежать таким образом описанного выше дефекта типа "пузырь". При этом установка эластичных прокладок 11 исключают протекание клея-герметика 10 при герметизации и его попадание на полимерную пленку 7. Изолирующие прокладки 12 служат только для защиты верхней полимерной пленки 7 сенсорной панели 3 от механических повреждений при ее установке, выполнены из само- клеящейся полиимидной ленты типа КРТ, закреплены липким слоем к переднему корпусу 2 и не препятствуют температурному расширению полимерной пленки 7. Демпфирующие прокладки 13 осуществляют функцию виброгасителей для ЖК пане- ли 1, защищают устройство от попадания пыли в зазор 14 между ЖК панелью и стеклопа- кетом и выполнены из эластичной пористой резины типа EPDM. Передний корпус 2 является несущим элементом конструкции ЖКЭ, служит передней панелью устройства отображения, выполнен из алюминиевого сплава и обеспечивает пы- ле- и влагозащищенность устройства со стороны оператора за счет клея-герметика 10. В качестве клея может использоваться эластичный клей средней вязкости с хорошей адгези- ей к стеклу и алюминию, например кремнийорганический или силиконовый герметик. Для соединения с корпусом устройства, в котором применяется ЖКЭ, передний кор- пус 2 снабжен уплотнительной прокладкой 15, например, из кремнийорганической рези- ны, обеспечивающей защиту устройства от пыли и воды. При использовании в полезной модели защитно-нагревательного стекла (фиг. 3) на одной стороне стекла 5, обращенной к жидкокристаллической матрице, нанесен резистив- ный нагревательный слой и выполнены электровводы 16, а на обратной стороне нанесен токопроводящий экранирующий слой, электрически соединенный по контуру с передним корпусом 2 с помощью медной ленты 17. При использовании в полезной модели нагревательного стекла со стороны резистив- ного слоя стекла 5 по двум противоположным сторонам и за пределами рабочей области экрана выполнены только электровводы 16. Для электрического подсоединения медной ленты 17 к экранирующему слою по кон- туру защитно-нагревательного стекла выполнены токопроводящие шины, не выходящие в оптическую зону. Соединение может быть выполнено любым известным способом: пай- кой медных шин либо применением медной ленты с токопроводящим адгезивным слоем. В обоих случаях для удобства склеивания стеклопакета 4 габаритные размеры стекла 5 по длине и ширине соответствуют размерам сенсорной панели 3, что, кроме того, делает возможным минимизировать размеры устройства ЖКЭ в целом. Полезная модель с использованием нагревательного стекла реализована в видеомони- торах ВМЦ-21ЖКМ, ВМЦ-38ЖКС, выполненных соответственно на ЖК панелях типа NL6448BC26-22F ф. NEC, G150X1-L01 ф. CHI MEY и резистивных сенсорных панелях типа GP-084F-5H-NB04B и GP-150F-5H-NB04D ф. Groovy Touch Systems. Общая толщина стеклопакетов составила 4,5-4,8 мм. В качестве нагревательного стек- ла использовалось стекло толщиной 2-2,5 мм с резистивным покрытием 12 Ом/квадрат. В качестве клея для склеивания стеклопакета используется оптический клей ультрафиолето- вого отверждения. Изделия эксплуатируются в диапазоне предельных температур от -50 до +70 °С, в условиях синусоидальной вибрации амплитудой 2g, 5g и многократных уда- ров 15g. Предлагаемое решение используется также в блоке индикаторном БИ-45.1(2) Р4 с ЖК панелью G150XG01-V3 ф. AUO и сенсорной панелью GP-150F-5H-NB04D. Полезная модель ЖКЭ с использованием защитно-нагревательного стекла разработана для применения в планшетных компьютерах, панельных ЭВМ и других устройствах с по- вышенными требованиями по электромагнитной совместимости.
  • 5.
    BY 10756 U2015.08.30 5 Фиг. 2 Фиг. 3 Национальный центр интеллектуальной собственности. 220034, г. Минск, ул. Козлова, 20.