Embed presentation
Download to read offline












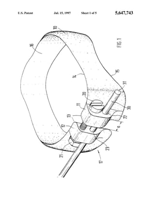
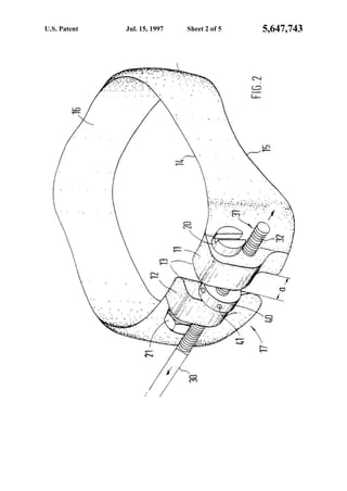
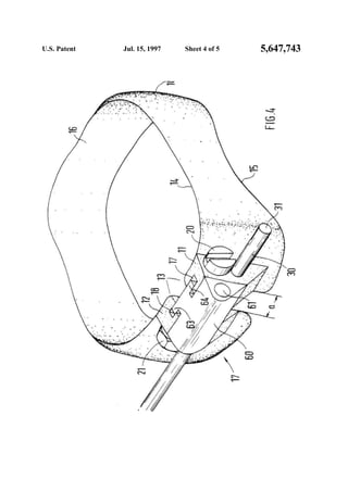
This patent document grants a patent for a device for treating jaw fractures or tooth displacements. The device uses ring-shaped dental bands that surround teeth and are secured to at least two teeth using integrally shaped tensioning blocks. The tensioning blocks have aligned bores or threaded holes that allow a tensioning screw to be used to reduce the gap between blocks and securely attach the dental band to the teeth. The dental band provides a closed profile for freedom from distortion and allows secure attachment of teeth using the screw tensioning system.










