Embed presentation
Download to read offline










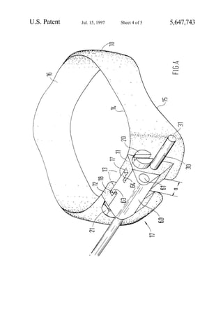
This patent describes a device for treating jaw fractures or tooth displacements. It consists of ring-shaped dental bands that surround the teeth. The bands are secured to at least two teeth through integrally shaped tensioning blocks arranged in pairs on the dental band. Aligned bores and threaded receivers in the tensioning blocks can be used to reduce the distance between blocks via tensioning screws, tightly securing the dental band to the teeth. Straps or tubes can also be attached to transfer forces for correcting misaligned teeth.








