The 8051 Microcontroller
Chapter 4
TIMER OPERATION
2/39
• Timer is a series of divide-by-2 flip-flops that
receive an input signal as a clocking source. The
clock is applied to the first flip-flop, which divides
the clock frequency by 2. The output of the first
flip-flop clocks the second flip-flop, which also
divides by 2, and so on.
• Timer with n stages divides the input clock
frequency by 2. The output of the last stage clocks
a timer overflow flip-flop, or flag, which is tested
by software or generates an interrupt. The binary
value in the timer flip-flops can be thought of as a
"count" of the number of clock pulses (or
"events") since the timer was started.
3/39
4/39
• There are two 16-bit timers each with four
modes of operation. A third 16-bit timer
with three modes of operation is added on
the 8052.
• The timers are used for
• (a) interval timing,
• (b) event counting, or
• (c) baud rate generation for the built-in
serial port.
5/39
• In interval timing applications, a timer is
programmed to overflow at a regular interval and
set the timer overflow flag.
• The flag is used to synchronize the program to
perform an action such as checking the state of
inputs or sending data to outputs. Other
applications can use the regular clocking of the
timer to measure the elapsed time between two
conditions (e.g., pulse width measurements).
6/39
• Event counting is used to determine the
number of occurrences of an event, rather
than to measure the elapsed time between
events.
• An "event" is any external stimulus that
provides a 1-to-0 transition to a pin on the
8051 IC.
• The timers can also provide the baud rate
clock for the 8051's internal serial port.
7/39
• The 8051 timers are accessed using six special
function registers.
• An additional five SFRs provide access to the
third timer in the 8052.
8/39
TIMER MODE REGISTER (TMOD)
• Contains two groups of four bits that set the
operating mode for Timer 0 and Timer 1
• Not bit-addressable
• Loaded once by software at the beginning
of a program
• The timer can be stopped, started, and so on
by accessing the other timer SFRs.
9/39
10/39
TIMER CONTROL REGISTER (TCON)
• Contains status and control bits for Timer 0
and Timer 1
• The upper four bits in TCON (TCON.4-
TCON.7) are used to turn the timers on and
off (TR0, TR1), or to signal a timer
overflow (TF0, TF1).
• The lower four bits in TCON (TCON.0-
TCON.3) are used to detect and initiate
external interrupts.
11/39
12/39
TIMER MODES AND THE
OVERFLOW FLAG
• 13-Bit Timer Mode (Mode 0)
• 16-Bit Timer Mode (Mode 1)
• 8-Bit Auto-Reload Mode (Mode 2)
• Split Timer Mode (Mode 3)
13/39
13-Bit Timer Mode (Mode 0)
• Mode 0 is a 13-bit timer mode that provides compatibility
with the 8051's predecessor, the 8048.
• It is not generally used in new designs.
• The timer high-byte (THx) is cascaded with the five least-
significant bits of the timer low-byte (TLx) to form a 13-
bit timer.
14/39
16-Bit Timer Mode (Mode 1)
• A 16-bit timer mode
• The clock is applied to the combined high and low timer registers
(TLx/THx).
• An overflow occurs on the FFFFH-to-0000H transition of the count
and sets the timer overflow flag.
• Overflow flag is the TFx bit in TCON
15/39
8-Bit Auto-Reload Mode (Mode 2)
• 8-bit auto-reload mode
• The timer low-byte (TLx) operates as an 8-bit timer while
the timer high-byte (THx) holds a reload value.
• When the count overflows from FFH, not only is the timer
flag set, but the value in THx is loaded into TLx.
16/39
Split Timer Mode (Mode 3)
• Mode 3 is the split timer mode and is different for each
timer.
• Timer 0 in mode 3 is split into two 8-bit timers.
• TL0 and TH0 act as separate timers with overflows setting
the TF0 and TFI bits respectively.
• Timer 1 is stopped in mode 3 but can be started by
switching it into one of the other modes. The only
limitation is that the usual Timer I overflow flag, TF1, is
not affected by Timer 1 overflows, since it is connected to
TH0.
• The 8051 appears to have a third timer.
• Timer 1 can be turned on and off by switching it out of and
into its own mode 3. It can still be used by the serial port
as a baud rate generator, or it can be used in any way not
requiring interrupts.
17/39
18/39
CLOCKING SOURCES
• There are two possible clock sources, selected by writing
to the counter/timer (C/T ) bit in TMOD when the timer is
initialized.
• One clocking source is used for interval timing, the other
for event counting.
19/39
Interval Timing
• If C/T= 0, continuous timer operation is selected
and the timer is clocked from the on-chip
oscillator.
• A divide-by-12 stage is added to reduce the
clocking frequency to a value reasonable for most
applications.
• The timer registers (TLx/THx) increment at a rate
of 1/12th the frequency of the on-chip oscillator;
• A 12 MHz crystal would yield a clock rate of 1
MHz.
20/39
Event Counting
• If C/T= 1, the timer is clocked from an external
source.
• In most applications, this external source supplies
the timer with a pulse upon the occurrence of an
"event" - the timer is event counting.
• The number of events is determined in software by
reading the timer registers TLx/THx
• Port 3 bit 4 (P3.4) serves as the external clocking
input for Timer 0 and is known as "TO" in this
context. P3.5, or "T1," is the clocking input for
Timer 1.
21/39
• The timer registers are incremented in response to
a 1-to-0 transition at the external input, Tx
• The external input is sampled during S5P2 of
every machine cycle; thus, when the input shows a
high in one cycle and a low in the next, the count
is incremented.
• The new value appears in the timer registers
during S3P1 of the cycle following the one in
which the transition is detected.
• Since it takes two machine cycles (2 μs) to
recognize a 1-to-0 transition, the maximum
external frequency is 500 kHz (assuming 12 MHz
operation).
22/39
STARTING, STOPPING, AND
CONTROLLING THE TIMERS
• The simplest method for starting and stopping the timers is
with the run-control bit, TRx, in TCON.
• TRx is clear after a system reset; thus, the timers are
disabled (stopped) by default.
• TRx is in the bit-addressable register TCON
23/39
• Another method for controlling the timers is with the
GATE bit in TMOD and the external input INTx.
• Setting GATE = 1 allows the timer to be controlled by
INTx.
• This is useful for pulse width measurements.
• Assume INT0 is low but pulses high for a period of time to
be measured.
• Initialize Timer 0 for mode 2, 16-bit timer mode, with
TL0/TH0 = 0000H, GATE = 1, and TR0 = 1.
• When INT0 goes high, the timer is "gated on" and is
clocked at a rate of 1 MHz.
• When INT0 goes low, the timer is "gated off" and the
duration of the pulse in microseconds is the count in
TL0/TH0.
• INT0 can be programmed to generate an interrupt when it
returns low.
24/39
25/39
INITIALIZING AND ACCESSING TIMER
REGISTERS
• Timers are usually initialized once at the beginning of a program
• Within the body of a program, the timers are started, stopped, flag bits tested
and cleared, timer registers read or updated, and so on
• TMOD is the first register initialized
• Timer does not actually begin timing until its run control bit, TRx, is set
• If an initial count is necessary, the timer registers TL1/TH1 must also be
initialized
• 100 μs interval could be timed by initializing TLl/TH1 to 100 counts less
than 0000H. The correct value is -100 or FF9CH.
• Timer is then started by setting the run control bit
• Software can sit in a "wait loop" using a conditional branch instruction that
returns to itself as long as the overflow flag is not set:
WAIT: JNB TFl, WAIT
• When the timer overflows, it is necessary to stop the timer and clear the
overflow flag in software:
CLR TR1
CLR TF1
26/39
Reading a Timer “on the Fly”
• Potential problem that is simple to guard against in
software.
• Since two timer registers must be read, a "phase error"
may occur if the low-byte overflows into the high-byte
between the two read operations.
• The solution is to read the high-byte first, then the low-
byte, and then read the high-byte again.
AGAIN: MOV A, TH1
MOV R6, TL1
CJNE A, TH1, AGAIN
MOV R7, A
27/39
SHORT INTERVALS AND LONG
INTERVALS
• The shortest possible interval is limited, not by the timer
clock frequency, but by software.
• Presumably, something must occur at regular intervals,
and it is the duration of instructions that limit this for very
short intervals.
28/39
29/39
• Moderate-length intervals are easily obtained using 8-bit auto-
reload mode, mode 2. Since the timed interval is set by an 8-bit
count, the longest possible interval before overflow is 28
= 256 μs.
30/39
• Timed intervals longer than 256 μs must use 16-bit timer mode, mode 1. The
longest delay is 216 = 65,536 μs or about 0.066 seconds. The inconvenience of
mode 1 is that the timer registers must be reinitialized after each overflow,
whereas reloading is automatic in mode 2.
31/39
• Intervals longer than 0.066 seconds can be achieved by
cascading Timer 0 and Timer 1 through software, but this
ties up both timers. A more practical approach uses one of
the timers in 16-bit mode with a software loop counting
overflows. The desired operation is performed every n
overflows.
32/39
33/39
8052 TIMER 2
• Five extra special-function registers are added to
accommodate Timer 2.
• The timer registers, TL2 and TH2
• The timer control register, T2CON
• The capture registers, RCAP2L and RCAP2H.
• Can operate as an interval timer or event counter.
• The clocking source is provided internally by the
on-chip oscillator, or externally by T2, the
alternate function of Port 1 bit 0 (P1.0)
• Three modes of operation: auto-reload, capture,
and baud rate generator.
34/39
35/39
Auto-Reload Mode
• CP/RL2 = 0
• TL2/TH2 are the timer registers, and RCAP2L/RCAP2H
hold the reload value
• Timer 2 is always a full 16-bit timer, even in auto-reload
mode.
• Reload occurs on an FFFFH-to-0000H transition in
TL2/TH2 and sets the Timer 2 flag, TF2. This condition is
determined by software or is programmed to generate an
interrupt. Either way, TF2 must be cleared by software
before it is set again.
• By setting EXEN2 in T2CON, a reload also occurs on the
1-to-0 transition of the signal applied to pin T2EX (P1.1)
• A 1-to-0 transition on T2EX also sets a new flag bit in
Timer 2, EXF2.
• EXF2 is tested by software or generates an interrupt. EXF2
must be cleared by software.
36/39
37/39
Capture Mode
• CP/RL2 = 1
• The TF2 bit set upon an FFFFH-to-0000H transition of the
value in TL2/TH2. The state of TF2 is tested by software
or generates an interrupt.
• To enable the capture feature, the EXEN2 bit in T2CON
must be set.
• If EXEN2 = 1, a 1-to-0 transition on T2EX (P1.1)
"captures" the value in timer registers TL2/TH2 by
clocking it into registers RCAP2L and RCAP2H. The
EXF2 flag in T2CON is also set and, as stated above, is
tested by software or generates an interrupt.
38/39
39/39
BAUD RATE GENERATION
• Another use of the timers is to provide the
baud rate clock for the on-chip serial port.
• This comes by way of Timer 1 on the 8051 IC
or Timer 1 and/or Timer 2 on the 8052 IC.

Microcontroller Timer Counter Modules and applications

  • 1.
  • 2.
    2/39 • Timer isa series of divide-by-2 flip-flops that receive an input signal as a clocking source. The clock is applied to the first flip-flop, which divides the clock frequency by 2. The output of the first flip-flop clocks the second flip-flop, which also divides by 2, and so on. • Timer with n stages divides the input clock frequency by 2. The output of the last stage clocks a timer overflow flip-flop, or flag, which is tested by software or generates an interrupt. The binary value in the timer flip-flops can be thought of as a "count" of the number of clock pulses (or "events") since the timer was started.
  • 3.
  • 4.
    4/39 • There aretwo 16-bit timers each with four modes of operation. A third 16-bit timer with three modes of operation is added on the 8052. • The timers are used for • (a) interval timing, • (b) event counting, or • (c) baud rate generation for the built-in serial port.
  • 5.
    5/39 • In intervaltiming applications, a timer is programmed to overflow at a regular interval and set the timer overflow flag. • The flag is used to synchronize the program to perform an action such as checking the state of inputs or sending data to outputs. Other applications can use the regular clocking of the timer to measure the elapsed time between two conditions (e.g., pulse width measurements).
  • 6.
    6/39 • Event countingis used to determine the number of occurrences of an event, rather than to measure the elapsed time between events. • An "event" is any external stimulus that provides a 1-to-0 transition to a pin on the 8051 IC. • The timers can also provide the baud rate clock for the 8051's internal serial port.
  • 7.
    7/39 • The 8051timers are accessed using six special function registers. • An additional five SFRs provide access to the third timer in the 8052.
  • 8.
    8/39 TIMER MODE REGISTER(TMOD) • Contains two groups of four bits that set the operating mode for Timer 0 and Timer 1 • Not bit-addressable • Loaded once by software at the beginning of a program • The timer can be stopped, started, and so on by accessing the other timer SFRs.
  • 9.
  • 10.
    10/39 TIMER CONTROL REGISTER(TCON) • Contains status and control bits for Timer 0 and Timer 1 • The upper four bits in TCON (TCON.4- TCON.7) are used to turn the timers on and off (TR0, TR1), or to signal a timer overflow (TF0, TF1). • The lower four bits in TCON (TCON.0- TCON.3) are used to detect and initiate external interrupts.
  • 11.
  • 12.
    12/39 TIMER MODES ANDTHE OVERFLOW FLAG • 13-Bit Timer Mode (Mode 0) • 16-Bit Timer Mode (Mode 1) • 8-Bit Auto-Reload Mode (Mode 2) • Split Timer Mode (Mode 3)
  • 13.
    13/39 13-Bit Timer Mode(Mode 0) • Mode 0 is a 13-bit timer mode that provides compatibility with the 8051's predecessor, the 8048. • It is not generally used in new designs. • The timer high-byte (THx) is cascaded with the five least- significant bits of the timer low-byte (TLx) to form a 13- bit timer.
  • 14.
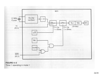
    14/39 16-Bit Timer Mode(Mode 1) • A 16-bit timer mode • The clock is applied to the combined high and low timer registers (TLx/THx). • An overflow occurs on the FFFFH-to-0000H transition of the count and sets the timer overflow flag. • Overflow flag is the TFx bit in TCON
  • 15.
    15/39 8-Bit Auto-Reload Mode(Mode 2) • 8-bit auto-reload mode • The timer low-byte (TLx) operates as an 8-bit timer while the timer high-byte (THx) holds a reload value. • When the count overflows from FFH, not only is the timer flag set, but the value in THx is loaded into TLx.
  • 16.
    16/39 Split Timer Mode(Mode 3) • Mode 3 is the split timer mode and is different for each timer. • Timer 0 in mode 3 is split into two 8-bit timers. • TL0 and TH0 act as separate timers with overflows setting the TF0 and TFI bits respectively. • Timer 1 is stopped in mode 3 but can be started by switching it into one of the other modes. The only limitation is that the usual Timer I overflow flag, TF1, is not affected by Timer 1 overflows, since it is connected to TH0. • The 8051 appears to have a third timer. • Timer 1 can be turned on and off by switching it out of and into its own mode 3. It can still be used by the serial port as a baud rate generator, or it can be used in any way not requiring interrupts.
  • 17.
  • 18.
    18/39 CLOCKING SOURCES • Thereare two possible clock sources, selected by writing to the counter/timer (C/T ) bit in TMOD when the timer is initialized. • One clocking source is used for interval timing, the other for event counting.
  • 19.
    19/39 Interval Timing • IfC/T= 0, continuous timer operation is selected and the timer is clocked from the on-chip oscillator. • A divide-by-12 stage is added to reduce the clocking frequency to a value reasonable for most applications. • The timer registers (TLx/THx) increment at a rate of 1/12th the frequency of the on-chip oscillator; • A 12 MHz crystal would yield a clock rate of 1 MHz.
  • 20.
    20/39 Event Counting • IfC/T= 1, the timer is clocked from an external source. • In most applications, this external source supplies the timer with a pulse upon the occurrence of an "event" - the timer is event counting. • The number of events is determined in software by reading the timer registers TLx/THx • Port 3 bit 4 (P3.4) serves as the external clocking input for Timer 0 and is known as "TO" in this context. P3.5, or "T1," is the clocking input for Timer 1.
  • 21.
    21/39 • The timerregisters are incremented in response to a 1-to-0 transition at the external input, Tx • The external input is sampled during S5P2 of every machine cycle; thus, when the input shows a high in one cycle and a low in the next, the count is incremented. • The new value appears in the timer registers during S3P1 of the cycle following the one in which the transition is detected. • Since it takes two machine cycles (2 μs) to recognize a 1-to-0 transition, the maximum external frequency is 500 kHz (assuming 12 MHz operation).
  • 22.
    22/39 STARTING, STOPPING, AND CONTROLLINGTHE TIMERS • The simplest method for starting and stopping the timers is with the run-control bit, TRx, in TCON. • TRx is clear after a system reset; thus, the timers are disabled (stopped) by default. • TRx is in the bit-addressable register TCON
  • 23.
    23/39 • Another methodfor controlling the timers is with the GATE bit in TMOD and the external input INTx. • Setting GATE = 1 allows the timer to be controlled by INTx. • This is useful for pulse width measurements. • Assume INT0 is low but pulses high for a period of time to be measured. • Initialize Timer 0 for mode 2, 16-bit timer mode, with TL0/TH0 = 0000H, GATE = 1, and TR0 = 1. • When INT0 goes high, the timer is "gated on" and is clocked at a rate of 1 MHz. • When INT0 goes low, the timer is "gated off" and the duration of the pulse in microseconds is the count in TL0/TH0. • INT0 can be programmed to generate an interrupt when it returns low.
  • 24.
  • 25.
    25/39 INITIALIZING AND ACCESSINGTIMER REGISTERS • Timers are usually initialized once at the beginning of a program • Within the body of a program, the timers are started, stopped, flag bits tested and cleared, timer registers read or updated, and so on • TMOD is the first register initialized • Timer does not actually begin timing until its run control bit, TRx, is set • If an initial count is necessary, the timer registers TL1/TH1 must also be initialized • 100 μs interval could be timed by initializing TLl/TH1 to 100 counts less than 0000H. The correct value is -100 or FF9CH. • Timer is then started by setting the run control bit • Software can sit in a "wait loop" using a conditional branch instruction that returns to itself as long as the overflow flag is not set: WAIT: JNB TFl, WAIT • When the timer overflows, it is necessary to stop the timer and clear the overflow flag in software: CLR TR1 CLR TF1
  • 26.
    26/39 Reading a Timer“on the Fly” • Potential problem that is simple to guard against in software. • Since two timer registers must be read, a "phase error" may occur if the low-byte overflows into the high-byte between the two read operations. • The solution is to read the high-byte first, then the low- byte, and then read the high-byte again. AGAIN: MOV A, TH1 MOV R6, TL1 CJNE A, TH1, AGAIN MOV R7, A
  • 27.
    27/39 SHORT INTERVALS ANDLONG INTERVALS • The shortest possible interval is limited, not by the timer clock frequency, but by software. • Presumably, something must occur at regular intervals, and it is the duration of instructions that limit this for very short intervals.
  • 28.
  • 29.
    29/39 • Moderate-length intervalsare easily obtained using 8-bit auto- reload mode, mode 2. Since the timed interval is set by an 8-bit count, the longest possible interval before overflow is 28 = 256 μs.
  • 30.
    30/39 • Timed intervalslonger than 256 μs must use 16-bit timer mode, mode 1. The longest delay is 216 = 65,536 μs or about 0.066 seconds. The inconvenience of mode 1 is that the timer registers must be reinitialized after each overflow, whereas reloading is automatic in mode 2.
  • 31.
    31/39 • Intervals longerthan 0.066 seconds can be achieved by cascading Timer 0 and Timer 1 through software, but this ties up both timers. A more practical approach uses one of the timers in 16-bit mode with a software loop counting overflows. The desired operation is performed every n overflows.
  • 32.
  • 33.
    33/39 8052 TIMER 2 •Five extra special-function registers are added to accommodate Timer 2. • The timer registers, TL2 and TH2 • The timer control register, T2CON • The capture registers, RCAP2L and RCAP2H. • Can operate as an interval timer or event counter. • The clocking source is provided internally by the on-chip oscillator, or externally by T2, the alternate function of Port 1 bit 0 (P1.0) • Three modes of operation: auto-reload, capture, and baud rate generator.
  • 34.
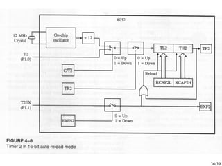
  • 35.
    35/39 Auto-Reload Mode • CP/RL2= 0 • TL2/TH2 are the timer registers, and RCAP2L/RCAP2H hold the reload value • Timer 2 is always a full 16-bit timer, even in auto-reload mode. • Reload occurs on an FFFFH-to-0000H transition in TL2/TH2 and sets the Timer 2 flag, TF2. This condition is determined by software or is programmed to generate an interrupt. Either way, TF2 must be cleared by software before it is set again. • By setting EXEN2 in T2CON, a reload also occurs on the 1-to-0 transition of the signal applied to pin T2EX (P1.1) • A 1-to-0 transition on T2EX also sets a new flag bit in Timer 2, EXF2. • EXF2 is tested by software or generates an interrupt. EXF2 must be cleared by software.
  • 36.
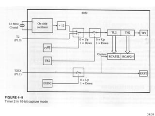
  • 37.
    37/39 Capture Mode • CP/RL2= 1 • The TF2 bit set upon an FFFFH-to-0000H transition of the value in TL2/TH2. The state of TF2 is tested by software or generates an interrupt. • To enable the capture feature, the EXEN2 bit in T2CON must be set. • If EXEN2 = 1, a 1-to-0 transition on T2EX (P1.1) "captures" the value in timer registers TL2/TH2 by clocking it into registers RCAP2L and RCAP2H. The EXF2 flag in T2CON is also set and, as stated above, is tested by software or generates an interrupt.
  • 38.
  • 39.
    39/39 BAUD RATE GENERATION •Another use of the timers is to provide the baud rate clock for the on-chip serial port. • This comes by way of Timer 1 on the 8051 IC or Timer 1 and/or Timer 2 on the 8052 IC.