CONTENTS
TOPIC
ABSTRACT
LIST OF FIGURES
1. INTRODUCTION
1.1 Introduction of the project
1.2 Objective of Project
2. EMBEDDED SYSTEMS
2.1. Introduction
2.2 Need of Embedded systems
2.3 Explanation of Embedded systems
3. HARDWARE DESCRIPTION
3.1. Regulated Power Supply
3.2 Microcontroller
3.3 DC Motor
3.4 IR sensor
3.5 Mental sensor
3.6 Conveyor belt
3.7 Four bar link mechnism
4. SOFTWARE DESCRIPTION
5. Tools
6. Advantages
7. Applications
8. Conclusion
9. Referance
PROJECT TITLE
CHAPTER 1
INTRODUCTION
1.1 ABSTRACT
Now a day’s industrial area requires demand for automation.Due
to automation human efforts are goes on decreasing since last
decade. The object sorting based on colour is difficult task in
recent days.In industry there is rapidly increasing demands for
automation.The Sorting of objects based on colour is very
difficult task. This project gives us an idea about automatic colour
sorting. Here we are designing and implementing an efficient
colour sorting using colour sensor TCS3200 based on Arduino
UNO. This project gives high accuracy and performance. Easy to
operate and construct which reduces human errors. Existing
sorting method uses a set of inductive, capacitive and optical
sensors do differentiate object colour.
BLOCK DIAGRAM
CHAPTER 2
EMBEDDED SYSTEM
An embedded system can be defined as a computing device
that does a specific focused job. Appliances such as the air-
conditioner, VCD player, DVD player, printer, fax machine,
mobile phone etc. are examples of embedded systems. Each of
these appliances will have a processor and special hardware to
meet the specific requirement of the application along with the
embedded software that is executed by the processor for meeting
that specific requirement. The embedded software is also called
“firm ware”. The desktop/laptop computer is a general purpose
computer. You can use it for a variety of applications such as
playing games, word processing, accounting, software
development and so on. In contrast, the software in the embedded
systems is always fixed listed below:
· Embedded systems do a very specific task, they cannot be
programmed to do different things. . Embedded systems have
very limited resources, particularly the memory. Generally, they
do not have secondary storage devices such as the CDROM or the
floppy disk. Embedded systems have to work against some
deadlines. A specific job has to be completed within a specific
time. In some embedded systems, called real-time systems, the
deadlines are stringent. Missing a deadline may cause a
catastrophe-loss of life or damage to property. Embedded systems
are constrained for power. As many embedded systems operate
through a battery, the power consumption has to be very low.
· Some embedded systems have to operate in extreme
environmental conditions such as very high temperatures and
humidity.
Application Areas
Nearly 99 per cent of the processors manufactured end up in
embedded systems. The embedded system market is one of the
highest growth areas as these systems are used in very market
segment- consumer electronics, office automation, industrial
automation, biomedical engineering, wireless communication,
data communication, telecommunications, transportation,
military and so on.
Consumer appliances:
At home we use a number of embedded systems which include
digital camera, digital diary, DVD player, electronic toys,
microwave oven, remote controls for TV and air-conditioner,
VCO player, video game consoles, video recorders etc. Today’s
high-tech car has about 20 embedded systems for transmission
control, engine spark control, air-conditioning, navigation etc.
Even wristwatches are now becoming embedded systems. The
palmtops are powerful embedded systems using which we can
carry out many general-purpose tasks such as playing games and
word processing.
Office Automation:
The office automation products using embedded systems are
copying machine, fax machine, key telephone, modem, printer,
scanner etc.
Industrial Automation:
Today a lot of industries use embedded systems for process
control. These include pharmaceutical, cement, sugar, oil
exploration, nuclear energy, electricity generation and
transmission. The embedded systems for industrial use are
designed to carry out specific tasks such as monitoring the
temperature, pressure, humidity, voltage, current etc., and then
take appropriate action based on the monitored levels to control
other devices or to send information to a centralized monitoring
station. In hazardous industrial environment, where human
presence has to be avoided, robots are used, which are
programmed to do specific jobs. The robots are now becoming
very powerful and carry out many interesting and complicated
tasks such as hardware assembly.
Medical Electronics:
Almost every medical equipment in the hospital is an embedded
system. These equipments include diagnostic aids such as ECG,
EEG, blood pressure measuring devices, X-ray scanners;
equipment used in blood analysis, radiation, colonoscopy,
endoscopy etc. Developments in medical electronics have paved
way for more accurate diagnosis of diseases.
Computer Networking:
Computer networking products such as bridges, routers,
Integrated Services Digital Networks (ISDN), Asynchronous
Transfer Mode (ATM), X.25 and frame relay switches are
embedded systems which implement the necessary data
communication protocols. For example, a router interconnects
two networks. The two networks may be running different
protocol stacks. The router’s function is to obtain the data packets
from incoming pores, analyze the packets and send them towards
the destination after doing necessary protocol conversion. Most
networking equipments, other than the end systems (desktop
computers) we use to access the networks, are embedded systems.
Telecommunications:
In the field of telecommunications, the embedded systems can be
categorized as subscriber terminals and network equipment. The
subscriber terminals such as key telephones, ISDN phones,
terminal adapters, web cameras are embedded systems. The
network equipment includes multiplexers, multiple access
systems, Packet Assemblers Dissemblers (PADs), sate11ite
modems etc. IP phone, IP gateway, IP gatekeeper etc. are the
latest embedded systems that provide very low-cost voice
communication over the Internet.
Wireless Technologies:
Advances in mobile communications are paving way for many
interesting applications using embedded systems. The mobile
phone is one of the marvels of the last decade of the 20’h century.
It is a very powerful embedded system that provides voice
communication while we are on the move. The Personal Digital
Assistants and the palmtops can now be used to access
multimedia service over the Internet. Mobile communication
infrastructure such as base station controllers, mobile switching
centers are also powerful embedded systems.
Insemination:
Testing and measurement are the fundamental requirements in all
scientific and engineering activities. The measuring equipment
we use in laboratories to measure parameters such as weight,
temperature, pressure, humidity, voltage, current etc. are all
embedded systems. Test equipment such as oscilloscope,
spectrum analyzer, logic analyzer, protocol analyzer, radio
communication test set etc. are embedded systems built around
powerful processors. Thank to miniaturization, the test and
measuring equipment are now becoming portable facilitating
easy testing and measurement in the field by field-personnel.
Security:
Security of persons and information has always been a major
issue. We need to protect our homes and offices; and also the
information we transmit and store. Developing embedded
systems for security applications is one of the most lucrative
businesses nowadays. Security devices at homes, offices, airports
etc. for authentication and verification are embedded systems.
Encryption devices are nearly 99 per cent of the processors that
are manufactured end up in~ embedded systems. Embedded
systems find applications in every industrial segment- consumer
electronics, transportation, avionics, biomedical engineering,
manufacturing, process control and industrial automation, data
communication, telecommunication, defense, security etc. Used
to encrypt the data/voice being transmitted on communication
links such as telephone lines. Biometric systems using fingerprint
and face recognition are now being extensively used for user
authentication in banking applications as well as for access
control in high security buildings.
Finance:
Financial dealing through cash and cheques are now slowly
paving way for transactions using smart cards and ATM
(Automatic Teller Machine, also expanded as Any Time Money)
machines. Smart card, of the size of a credit card, has a small
micro-controller and memory; and it interacts with the smart card
reader! ATM machine and acts as an electronic wallet. Smart card
technology has the capability of ushering in a cashless society.
Well, the list goes on. It is no exaggeration to say that eyes
wherever you go, you can see, or at least feel, the work of an
embedded system.
Overview of Embedded System Architecture
Every embedded system consists of custom-built hardware built
around a Central Processing Unit (CPU). This hardware also
contains memory chips onto which the software is loaded. The
software residing on the memory chip is also called the
‘firmware’. The embedded system architecture can be represented
as a layered architecture as shown in Fig. The operating system
runs above the hardware, and the application software runs above
the operating system. The same architecture is applicable to any
computer including a desktop computer. However, there are
significant differences. It is not compulsory to have an operating
system in every embedded system. For small appliances such as
remote control units, air conditioners, toys etc., there is no need
for an operating system and you can write only the software
specific to that application. For applications involving complex
processing, it is advisable to have an operating system. In such a
case, you need to integrate the application software with the
operating system and then transfer the entire software on to the
memory chip. Once the software is transferred to the memory
chip, the software will continue to run for a long time you don’t
need to reload new software.
Now, let us see the details of the various building blocks of the
hardware of an embedded system. As shown in Fig. the building
blocks are;
· Central Processing Unit (CPU)
· Memory (Read-only Memory and Random Access Memory)
· Input Devices
· Output devices
· Communication interfaces
· Application-specific circuitry
Central Processing Unit (CPU):
The Central Processing Unit (processor, in short) can be any of
the following: microcontroller, microprocessor or Digital Signal
Processor (DSP). A micro-controller is a low-cost processor. Its
main attraction is that on the chip itself, there will be many other
components such as memory, serial communication interface,
analog-to digital converter etc. So, for small applications, a
micro-controller is the best choice as the number of external
components required will be very less. On the other hand,
microprocessors are more powerful, but you need to use many
external components with them. D5P is used mainly for
applications in which signal processing is involved such as audio
and video processing.
Memory:
The memory is categorized as Random Access 11emory (RAM)
and Read Only Memory (ROM). The contents of the RAM will
be erased if power is switched off to the chip, whereas ROM
retains the contents even if the power is switched off. So, the
firmware is stored in the ROM. When power is switched on, the
processor reads the ROM; the program is program is executed.
Input Devices:
Unlike the desktops, the input devices to an embedded system
have very limited capability. There will be no keyboard or a
mouse, and hence interacting with the embedded system is no
easy task. Many embedded systems will have a small keypad-you
press one key to give a specific command. A keypad may be used
to input only the digits. Many embedded systems used in process
control do not have any input device for user interaction; they take
inputs from sensors or transducers 1’fnd produce electrical signals
that are in turn fed to other systems.
Output Devices:
The output devices of the embedded systems also have very
limited capability. Some embedded systems will have a few Light
Emitting Diodes (LEDs) to indicate the health status of the system
modules, or for visual indication of alarms. A small Liquid
Crystal Display (LCD) may also be used to display some
important parameters.
Communication Interfaces:
The embedded systems may need to, interact with other
embedded systems at they may have to transmit data to a desktop.
To facilitate this, the embedded systems are provided with one or
a few communication interfaces such as RS232, RS422, RS485,
Universal Serial Bus (USB), IEEE 1394, Ethernet etc.
Application-Specific Circuitry:
Sensors, transducers, special processing and control circuitry may
be required fat an embedded system, depending on its application.
This circuitry interacts with the processor to carry out the
necessary work. The entire hardware has to be given power
supply either through the 230 volts main supply or through a
battery. The hardware has to design in such a way that the power
consumption is minimized.
CHAPTER 3
HARDWARE DESCRIPTION
MODULES
1. POWER SUPPLY
The power supply section is the section which provide
+5V for the components to work. IC LM7805 is used for
providing a constant power of +5V.
The ac voltage, typically 220V, is connected to a transformer,
which steps down that ac voltage down to the level of the desired
dc output. A diode rectifier then provides a full-wave rectified
voltage that is initially filtered by a simple capacitor filter to
produce a dc voltage. This resulting dc voltage usually has some
ripple or ac voltage variation.
A regulator circuit removes the ripples and also retains the same
dc value even if the input dc voltage varies, or the load connected
to the output dc voltage changes. This voltage regulation is
usually obtained using one of the popular voltage regulator IC
units.
Block Diagram Of Power Supply
Transformer
Transformers convert AC electricity from one voltage to
another with little loss of power. Transformers work only with
AC and this is one of the reasons why mains electricity is AC.
Step-up transformers increase voltage, step-down transformers
reduce voltage. Most power supplies use a step-down transformer
to reduce the dangerously high mains voltage (230V in India) to
a safer low voltage.
The input coil is called the primary and the output coil is called
the secondary. There is no electrical connection between the two
coils; instead they are linked by an alternating magnetic field
created in the soft-iron core of the transformer. Transformers
waste very little power so the power out is (almost) equal to the
power in. Note that as voltage is stepped down current is stepped
up.
The transformer will step down the power supply voltage (0-
230V) to (0- 6V) level. Then the secondary of the potential
transformer will be connected to the bridge rectifier, which is
constructed with the help of PN junction diodes. The advantages
of using bridge rectifier are it will give peak voltage output as DC.
Rectifier
There are several ways of connecting diodes to make a
rectifier to convert AC to DC. The bridge rectifier is the most
important and it produces full-wave varying DC. A full-wave
rectifier can also be made from just two diodes if a centre-tap
transformer is used, but this method is rarely used now that diodes
are cheaper. A single diode can be used as a rectifier but it only
uses the positive (+) parts of the AC wave to produce half-wave
varying DC
Bridge Rectifier
When four diodes are connected as shown in figure, the
circuit is called as bridge rectifier. The input to the circuit is
applied to the diagonally opposite corners of the network, and the
output is taken from the remaining two corners. Let us assume
that the transformer is working properly and there is a positive
potential, at point A and a negative potential at point B. the
positive potential at point A will forward bias D3 and reverse
bias D4.
Bridge Rectifier
The negative potential at point B will forward bias D1 and reverse
D2. At this time D3 and D1 are forward biased and will allow
current flow to pass through them; D4 and D2 are reverse biased
and will block current flow.
One advantage of a bridge rectifier over a conventional full-wave
rectifier is that with a given transformer the bridge rectifier
produces a voltage output that is nearly twice that of the
conventional full-wave circuit.
i. The main advantage of this bridge circuit is that it does not
require a special centre tapped transformer, thereby reducing its
size and cost.
ii. The single secondary winding is connected to one side of the
diode bridge network and the load to the other side as shown
below.
iii. The result is still a pulsating direct current but with double the
frequency.
Output Waveform Of DC
Smoothing
Smoothing is performed by a large value electrolytic
capacitor connected across the DC supply to act as a reservoir,
supplying current to the output when the varying DC voltage from
the rectifier is falling. The capacitor charges quickly near the peak
of the varying DC, and then discharges as it supplies current to
the output.
Voltage Regulators
Voltage regulators comprise a class of widely used ICs. Regulator
IC units contain the circuitry for reference source, comparator
amplifier, control device, and overload protection all in a single
IC. IC units provide regulation of either a fixed positive voltage,
a fixed negative voltage, or an adjustably set voltage. The
regulators can be selected for operation with load currents from
hundreds of milli amperes to tens of amperes, corresponding to
power ratings from milli watts to
tens of watts.
A fixed three-terminal voltage regulator has an unregulated dc
input voltage, Vi, applied to one input terminal, a regulated dc
output voltage, Vo, from a second terminal, with the third
terminal connected to ground.
The series 78 regulators provide fixed positive regulated voltages
from 5 to 24 volts. Similarly, the series 79 regulators provide
fixed negative regulated voltages from 5 to 24 volts. Voltage
regulator ICs are available with fixed (typically 5, 12 and 15V) or
variable output voltages. They are also rated by the maximum
current they can pass. Negative voltage regulators are available,
mainly for use in dual supplies. Most regulators include some
automatic protection from excessive current ('overload
protection') and overheating ('thermal protection').
Many of the fixed voltage regulator ICs has 3 leads and look like
power transistors, such as the 7805 +5V 1Amp regulator. They
include a hole for attaching a heat sink if necessary.
Regulator
Circuit Diagram Of Power Supply
2. ATMEGA328:
Features
• High Performance, Low Power AVR® 8-Bit Microcontroller
• Advanced RISC Architecture
– 131 Powerful Instructions – Most Single Clock Cycle Execution
– 32 x 8 General Purpose Working Registers
– Fully Static Operation
– Up to 20 MIPS Throughput at 20 MHz
– On-chip 2-cycle Multiplier
• High Endurance Non-volatile Memory Segments
– 4/8/16/32K Bytes of In-System Self-Programmable Flash
progam memory
(ATmega48PA/88PA/168PA/328P)
– 256/512/512/1K Bytes EEPROM
(ATmega48PA/88PA/168PA/328P)
– 512/1K/1K/2K Bytes Internal SRAM
(ATmega48PA/88PA/168PA/328P)
– Write/Erase Cycles: 10,000 Flash/100,000 EEPROM
– Data retention: 20 years at 85°C/100 years at 25°C(1)
– Optional Boot Code Section with Independent Lock Bits
In-System Programming by On-chip Boot Program
True Read-While-Write Operation
– Programming Lock for Software Security
• Peripheral Features
– Two 8-bit Timer/Counters with Separate Prescaler and
Compare Mode
– One 16-bit Timer/Counter with Separate Prescaler, Compare
Mode, and Capture
Mode
– Real Time Counter with Separate Oscillator
– Six PWM Channels
– 8-channel 10-bit ADC in TQFP and QFN/MLF package
Temperature Measurement
– 6-channel 10-bit ADC in PDIP Package
Temperature Measurement
– Programmable Serial USART
– Master/Slave SPI Serial Interface
– Byte-oriented 2-wire Serial Interface (Philips I2C compatible)
– Programmable Watchdog Timer with Separate On-chip
Oscillator
– On-chip Analog Comparator
– Interrupt and Wake-up on Pin Change
• Special Microcontroller Features
– Power-on Reset and Programmable Brown-out Detection
– Internal Calibrated Oscillator
– External and Internal Interrupt Sources
– Six Sleep Modes: Idle, ADC Noise Reduction, Power-save,
Power-down, Standby,
and Extended Standby
• I/O and Packages
– 23 Programmable I/O Lines
– 28-pin PDIP, 32-lead TQFP, 28-pad QFN/MLF and 32-pad
QFN/MLF
• Operating Voltage:
– 1.8 - 5.5V for ATmega48PA/88PA/168PA/328P
• Temperature Range:
– -40°C to 85°C
• Speed Grade:
– 0 - 20 MHz @ 1.8 - 5.5V
• Low Power Consumption at 1 MHz, 1.8V, 25°C for
ATmega48PA/88PA/168PA/328P:
– Active Mode: 0.2 mA
– Power-down Mode: 0.1 μA
– Power-save Mode: 0.75 μA (Including 32 kHz RTC)
1.1 Pin Descriptions
1.1.1 VCC Digital supply voltage.
1.1.2 GND Ground.
1.1.3 Port B (PB7:0) XTAL1/XTAL2/TOSC1/TOSC2
Port B is an 8-bit bi-directional I/O port with internal pull-up
resistors (selected for each it). The Port B output buffers have
symmetrical drive characteristics with both high sink and source
capability. As inputs, Port B pins that are externally pulled low
will source current if the pull-up resistors are activated. The Port
B pins are tri-stated when a reset condition becomes active, even
if the clock is not running. Depending on the clock selection fuse
settings, PB6 can be used as input to the inverting Oscillator
amplifier and input to the internal clock operating circuit.
Depending on the clock selection fuse settings, PB7 can be used
as output from the inverting Oscillator amplifier.
If the Internal Calibrated RC Oscillator is used as chip clock
source, PB7..6 is used as TOSC2..1 input for the Asynchronous
Timer/Counter2 if the AS2 bit in ASSR is set. The various special
features of Port B are elaborated in ”Alternate Functions of Port
B” on page 82 and ”System Clock and Clock Options” on page
26.
1.1.4 Port C (PC5:0)
Port C is a 7-bit bi-directional I/O port with internal pull-up
resistors (selected for each it). The PC5..0 output buffers have
symmetrical drive characteristics with both high sink and source
capability. As inputs, Port C pins that are externally pulled low
will source current if the pull-up resistors are activated. The Port
C pins are tri-stated when a reset condition becomes active, even
if the clock is not running.
1.1.5 PC6/RESET
If the RSTDISBL Fuse is programmed, PC6 is used as an I/O pin.
Note that the electrical characteristics of PC6 differ from those
of the other pins of Port C. If the RSTDISBL Fuse is un
programmed, PC6 is used as a Reset input. A low level on this pin
for longer than the minimum pulse length will generate a Reset,
even if the clock is not running.
The minimum pulse length is given in Table 28-3 on page 318.
Shorter pulses are not guaranteed to generate a Reset. The various
special features of Port C are elaborated in ”Alternate Functions
of Port C” on page 85.
1.1.6 Port D (PD7:0)
Port D is an 8-bit bi-directional I/O port with internal pull-up
resistors (selected for each bit). The Port D output buffers have
symmetrical drive characteristics with both high sink and source
capability. As inputs, Port D pins that are externally pulled low
will source current if the pull-up resistors are activated. The Port
D pins are tri-stated when a reset condition becomes active, even
if the clock is not running. The various special features of Port D
are elaborated in ”Alternate Functions of Port D” on page
88.
1.1.7 AVCC
AVCC is the supply voltage pin for the A/D Converter, PC3:0,
and ADC7:6. It should be externally connected to VCC, even if
the ADC is not used. If the ADC is used, it should be connected
to VCC through a low-pass filter. Note that PC6..4 use digital
supply voltage, VCC.
1.1.8 AREF
AREF is the analog reference pin for the A/D Converter.
1.1.9 ADC7:6 (TQFP and QFN/MLF Package Only)
In the TQFP and QFN/MLF package, ADC7:6 serve as analog
inputs to the A/D converter. These pins are powered from the
analog supply and serve as 10-bit ADC channels.
Overview
The ATmega48PA/88PA/168PA/328P is a low-power CMOS 8-
bit microcontroller based on the AVR enhanced RISC
architecture. By executing powerful instructions in a single clock
cycle, the ATmega48PA/88PA/168PA/328P achieves
throughputs approaching 1 MIPS per MHz allowing the system
designer to optimize power consumption versus processing
speed.
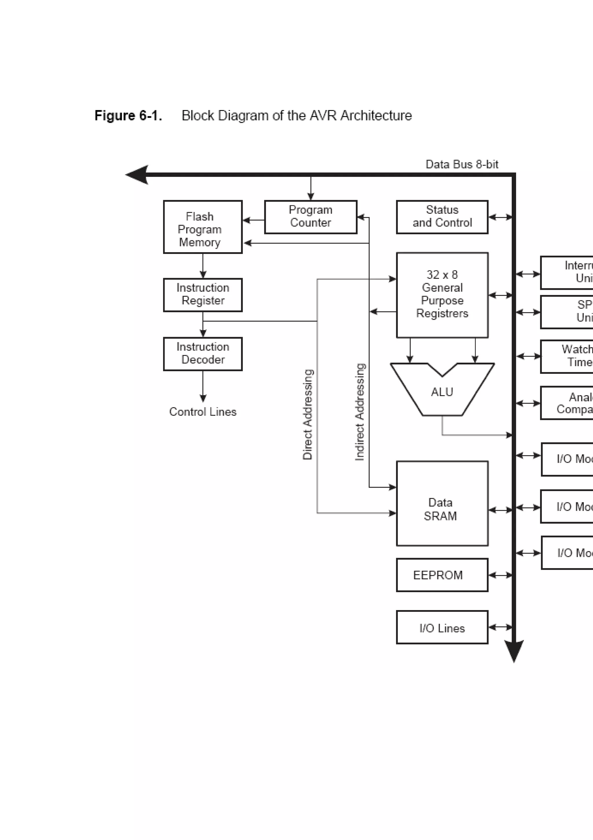
2.1 Block Diagram
The AVR core combines a rich instruction set with 32 general
purpose working registers. All the 32 registers are directly
connected to the Arithmetic Logic Unit (ALU), allowing two
independent registers to be accessed in one single instruction
executed in one clock cycle. The resulting architecture is more
code efficient while achieving throughputs up to ten times faster
than conventional CISC microcontrollers.
The ATmega48PA/88PA/168PA/328P provides the following
features: 4K/8K bytes of In-System Programmable Flash with
Read-While-Write capabilities, 256/512/512/1K bytes EEPROM,
512/1K/1K/2K bytes SRAM, 23 general purpose I/O lines, 32
general purpose working registers, three flexible Timer/Counters
with compare modes, internal and external interrupts, a serial
programmable USART, a byte-oriented 2-wire Serial Interface,
an SPI serial port, a 6-channel 10-bit ADC (8 channels in TQFP
and QFN/MLF packages), a programmable Watchdog Timer with
internal Oscillator, and five software selectable power saving
modes. The Idle mode stops the CPU while allowing the SRAM,
Timer/Counters, USART, 2-wire Serial Interface, SPI port, and
interrupt system to continue functioning. The Power-down mode
saves the register contents but freezes the Oscillator, disabling all
other chip functions until the next interrupt or hardware reset.
In Power-save mode, the asynchronous timer continues to run,
allowing the user to maintain a timer base while the rest of the
device is sleeping. The ADC Noise Reduction mode stops the
CPU and all I/O modules except asynchronous timer and ADC,
to minimize switching noise during ADC conversions. In Standby
mode, the crystal/resonator Oscillator is running while the rest of
the device is sleeping. This allows very fast start-up combined
with low power consumption.
The device is manufactured using Atmel’s high density non-
volatile memory technology. The On-chip ISP Flash allows the
program memory to be reprogrammed In-System through an SPI
serial interface, by a conventional non-volatile memory
programmer, or by an On-chip Boot program running on the AVR
core. The Boot program can use any interface to download the
application program in the Application Flash memory. Software
in the Boot Flash section will continue to run while the
Application Flash section is updated, providing true Read-While-
Write operation. By combining an 8-bit RISC CPU with In-
System Self-Programmable Flash on a monolithic chip, the Atmel
ATmega48PA/88PA/168PA/328P is a powerful microcontroller
that provides a highly flexible and cost effective solution to many
embedded control applications.
The ATmega48PA/88PA/168PA/328P AVR is supported with a
full suite of program and system development tools including: C
Compilers, Macro Assemblers, Program Debugger/Simulators,
In-Circuit Emulators, and Evaluation kits.
2.2 Comparison Between ATmega48PA, ATmega88PA,
ATmega168PA and ATmega328P
The ATmega48PA, ATmega88PA, ATmega168PA and
ATmega328P differ only in memory sizes, boot loader support,
and interrupt vector sizes. Table 2-1 summarizes the different
memory and interrupt vector sizes for the three devices.
ATmega88PA, ATmega168PA and ATmega328P support a real
Read-While-Write Self-Programming mechanism. There is a
separate Boot Loader Section, and the SPM instruction can only
execute from there. In ATmega48PA, there is no Read-While-
Write support and no separate Boot Loader Section. The SPM
instruction can execute from the entire Flash.
AVR CPU Core
6.1 Overview
This section discusses the AVR core architecture in general. The
main function of the CPU core is to ensure correct program
execution. The CPU must therefore be able to access memories,
perform calculations, control peripherals, and handle interrupts.
In order to maximize performance and parallelism, the AVR uses
a Harvard architecture – with separate memories and buses for
program and data. Instructions in the program memory are
executed with a single level pipelining. While one instruction is
being executed, the next instruction is pre-fetched from the
program memory. This concept enables instructions to be
executed in every clock cycle. The program memory is In-System
Reprogrammable Flash memory.
The fast-access Register File contains 32 x 8-bit general purpose
working registers with a single clock cycle access time. This
allows single-cycle Arithmetic Logic Unit (ALU) operation. In a
typical ALU operation, two operands are output from the Register
File, the operation is executed, and the result is stored back in the
Register File – in one clock cycle. Six of the 32 registers can be
used as three 16-bit indirect address register pointers for Data
Space addressing – enabling efficient address calculations. One
of the these address pointers can also be used as an address pointer
for look up tables in Flash program memory. These added
function registers are the 16-bit X-, Y-, and Z-register, described
later in this section.
The ALU supports arithmetic and logic operations between
registers or between a constant and a register. Single register
operations can also be executed in the ALU. After an arithmetic
operation, the Status Register is updated to reflect information
about the result of the operation.
Program flow is provided by conditional and unconditional jump
and call instructions, able to directly address the whole address
space. Most AVR instructions have a single 16-bit word format.
Every program memory address contains a 16- or 32-bit
instruction.
Program Flash memory space is divided in two sections, the Boot
Program section and the Application Program section. Both
sections have dedicated Lock bits for write and read/write
protection. The SPM instruction that writes into the Application
Flash memory section must reside in the Boot Program section.
During interrupts and subroutine calls, the return address Program
Counter (PC) is stored on the Stack. The Stack is effectively
allocated in the general data SRAM, and consequently the Stack
size is only limited by the total SRAM size and the usage of the
SRAM. All user programs must initialize the SP in the Reset
routine (before subroutines or interrupts are executed). The Stack
Pointer (SP) is read/write accessible in the I/O space. The data
SRAM can easily be accessed through the five different
addressing modes supported in the AVR architecture.
The memory spaces in the AVR architecture are all linear and
regular memory maps.
A flexible interrupt module has its control registers in the I/O
space with an additional Global Interrupt Enable bit in the Status
Register. All interrupts have a separate Interrupt Vector in the
Interrupt Vector table. The interrupts have priority in accordance
with their Interrupt Vector position.
The lower the Interrupt Vector address, the higher the priority.
The I/O memory space contains 64 addresses for CPU peripheral
functions as Control Registers,
SPI, and other I/O functions. The I/O Memory can be accessed
directly, or as the Data Space locations following those of the
Register File, 0x20 - 0x5F. In addition, the
ATmega48PA/88PA/168PA/328P has Extended I/O space from
0x60 - 0xFF in SRAM where only the ST/STS/STD and
LD/LDS/LDD instructions can be used.
6.2 ALU – Arithmetic Logic Unit
The high-performance AVR ALU operates in direct connection
with all the 32 general purpose working registers. Within a single
clock cycle, arithmetic operations between general purpose
registers or between a register and an immediate are executed.
The ALU operations are divided into three main categories –
arithmetic, logical, and bit-functions. Some implementations of
the architecture also provide a powerful multiplier supporting
both signed/unsigned multiplication and fractional format. See
the “Instruction Set” section for a detailed description.
6.3 Status Register
The Status Register contains information about the result of the
most recently executed arithmetic instruction. This information
can be used for altering program flow in order to perform
conditional operations. Note that the Status Register is updated
after all ALU operations, as specified in the Instruction Set
Reference. This will in many cases remove the need for using the
dedicated compare instructions, resulting in faster and more
compact code. The Status Register is not automatically stored
when entering an interrupt routine and restored when returning
from an interrupt. This must be handled by software.
AVR Memories
7.1 Overview
This section describes the different memories in the
ATmega48PA/88PA/168PA/328P. The AVR architecture has
two main memory spaces, the Data Memory and the Program
Memory space. In addition, the
ATmega48PA/88PA/168PA/328P features an EEPROM
Memory for data storage. All three memory spaces are linear and
regular.
7.2 In-System Reprogrammable Flash Program Memory
The ATmega48PA/88PA/168PA/328P contains 4/8/16/32K
bytes On-chip In-System Reprogrammable Flash memory for
program storage. Since all AVR instructions are 16 or 32 bits
wide, the Flash is organized as 2/4/8/16K x 16. For software
security, the Flash Program memory space is divided into two
sections, Boot Loader Section and Application Program Section
in ATmega88PA and ATmega168PA. See SELFPRGEN
description in section ”SPMCSR – Store Program Memory
Control and Status Register” on page 292 for more details.
The Flash memory has an endurance of at least 10,000 write/erase
cycles. The ATmega48PA/88PA/168PA/328P Program Counter
(PC) is 11/12/13/14 bits wide, thus addressing the 2/4/8/16K
program memory locations. The operation of Boot Program
section and associated Boot Lock bits for software protection are
described in detail in ”Self-Programming the Flash,
ATmega48PA” on page 269 and ”Boot Loader Support – Read-
While-Write Self-Programming, ATmega88PA, ATmega168PA
and ATmega328P” on page 277. ”Memory Programming” on
page 294 contains a detailed description on Flash Programming
in SPI- or Parallel Programming mode.
Constant tables can be allocated within the entire program
memory address space (see the LPM – Load Program Memory
instruction description).
SRAM Data Memory
The ATmega48PA/88PA/168PA/328P is a complex
microcontroller with more peripheral units than can be supported
within the 64 locations reserved in the Opcode for the IN and
OUT instructions. For the Extended I/O space from 0x60 - 0xFF
in SRAM, only the ST/STS/STD and LD/LDS/LDD instructions
can be used. The lower 768/1280/1280/2303 data memory
locations address both the Register File, the I/O memory,
Extended I/O memory, and the internal data SRAM. The first 32
locations address the Register File, the next 64 location the
standard I/O memory, then 160 locations of Extended I/O
memory, and the next 512/1024/1024/2048 locations address the
internal data SRAM.
The five different addressing modes for the data memory cover:
Direct, Indirect with Displacement, Indirect, Indirect with Pre-
decrement, and Indirect with Post-increment. In the Register File,
registers R26 to R31 feature the indirect addressing pointer
registers.
The direct addressing reaches the entire data space. The Indirect
with Displacement mode reaches 63 address locations from the
base address given by the Y- or Z-register.
When using register indirect addressing modes with automatic
pre-decrement and post-increment, the address registers X, Y, and
Z are decremented or incremented. The 32 general purpose
working registers, 64 I/O Registers, 160 Extended I/O Registers,
and the 512/1024/1024/2048 bytes of internal data SRAM in the
ATmega48PA/88PA/168PA/328P are all accessible through all
these addressing modes.
EEPROM Data Memory
The ATmega48PA/88PA/168PA/328P contains 256/512/512/1K
bytes of data EEPROM memory. It is organized as a separate data
space, in which single bytes can be read and written. The
EEPROM has an endurance of at least 100,000 write/erase cycles.
The access between the EEPROM and the CPU is described in
the following, specifying the EEPROM Address Registers, the
EEPROM Data Register, and the EEPROM Control Register.
7.4.1 EEPROM Read/Write Access
The EEPROM Access Registers are accessible in the I/O space.
lets the user software detect when the next byte can be written. If
the user code contains instructions that write the EEPROM, some
precautions must be taken. In heavily filtered power supplies,
VCC is likely to rise or fall slowly on power-up/down. This
causes the device for some period of time to run at a voltage lower
than specified as minimum for the clock frequency used. In order
to prevent unintentional EEPROM writes, a specific write
procedure must be followed. Refer to the description of the
EEPROM Control Register for details on this. When the
EEPROM is read, the CPU is halted for four clock cycles before
the next instruction is executed. When the EEPROM is written,
the CPU is halted for two clock cycles before the next instruction
is executed.
Low Power Crystal Oscillator
Pins XTAL1 and XTAL2 are input and output, respectively, of an
inverting amplifier which can be configured for use as an On-chip
Oscillator, Either a quartz crystal or a ceramic resonator may be
used. This Crystal Oscillator is a low power oscillator, with
reduced voltage swing on the XTAL2 output.
It gives the lowest power consumption, but is not capable of
driving other clock inputs, and may be more susceptible to noise
in noisy environments. C1 and C2 should always be equal for
both crystals and resonators. The optimal value of the capacitors
depends on the crystal or resonator in use, the amount of stray
capacitance, and the electromagnetic noise of the environment.
For ceramic resonators, the capacitor values given by the
manufacturer should be used.
Watchdog Timer
Features
• Clocked from separate On-chip Oscillator
• 3 Operating modes
– Interrupt
– System Reset
– Interrupt and System Reset
• Selectable Time-out period from 16ms to 8s
• Possible Hardware fuse Watchdog always on (WDTON) for
fail-safe mode
Overview
ATmega48PA/88PA/168PA/328P has an Enhanced Watchdog
Timer (WDT). The WDT is a timer counting cycles of a separate
on-chip 128 kHz oscillator. The WDT gives an interrupt or a
system reset when the counter reaches a given time-out value. In
normal operation mode, it is required that the system uses the
WDR - Watchdog Timer Reset - instruction to restart the counter
before the time-out value is reached. If the system doesn't restart
the counter, an interrupt or system reset will be issued.
In Interrupt mode, the WDT gives an interrupt when the timer
expires. This interrupt can be used to wake the device from sleep-
modes, and also as a general system timer. One example is to limit
the maximum time allowed for certain operations, giving an
interrupt when the operation has run longer than expected. In
System Reset mode, the WDT gives a reset when the timer
expires. This is typically used to prevent system hang-up in case
of runaway code. The third mode, Interrupt and System Reset
mode, combines the other two modes by first giving an interrupt
and then switch to System Reset mode. This mode will for
instance allow a safe shutdown by saving critical parameters
before a system reset.
The Watchdog always on (WDTON) fuse, if programmed, will
force the Watchdog Timer to System Reset mode. With the fuse
programmed the System Reset mode bit (WDE) and Interrupt
mode bit (WDIE) are locked to 1 and 0 respectively. To further
ensure program security, alterations to the Watchdog set-up must
follow timed sequences. The sequence for clearing WDE and
changing time-out configuration is as follows:
1. In the same operation, write a logic one to the Watchdog
change enable bit (WDCE) and WDE. A logic one must be
written to WDE regardless of the previous value of the WDE bit.
2. Within the next four clock cycles, write the WDE and
Watchdog prescaler bits (WDP) as desired, but with the WDCE
bit cleared. This must be done in one operation.
The following code example shows one assembly and one C
function for turning off the Watchdog Timer. The example
assumes that interrupts are controlled (e.g. by disabling interrupts
globally) so that no interrupts will occur during the execution of
these functions.
8-bit Timer/Counter0 with PWM
Features
• Two Independent Output Compare Units
• Double Buffered Output Compare Registers
• Clear Timer on Compare Match (Auto Reload)
• Glitch Free, Phase Correct Pulse Width Modulator (PWM)
• Variable PWM Period
• Frequency Generator
• Three Independent Interrupt Sources (TOV0, OCF0A, and
OCF0B)
Overview
Timer/Counter0 is a general purpose 8-bit Timer/Counter
module, with two independent Output Compare Units, and with
PWM support. It allows accurate program execution timing
(event management) and wave generation.
CPU accessible I/O Registers, including I/O bits and I/O pins, are
shown in bold.
Gear DC Motor
Definition:
Gear motor is a type of electrical motor. Like all
electrical motors, it uses the magnetism induced by an electrical current
to rotate a rotor that is connected to a shaft. The energy transferred from
the rotor to the shaft is then used to power a connected device.
In a gear motor, the energy output is used to turn a series
of gears in an integrated gear train. There are a number of
different types of gear motors, but the most common are AC
(alternating current) and DC (direct current).
Function:
In a gear motor, the magnetic current (which can be produced
by either permanent magnets or electromagnets) turns gears that
are either in a gear reduction unit or in an integrated gear box. A
second shaft is connected to these gears. The result is that the
gears greatly increase the amount of torque the motor is capable
of producing while simultaneously slowing down the motor's
output speed. The motor will not need to draw as much current to
function and will move more slowly, but will provide greater
torque.
Gear motors are complete motive force systems consisting of
an electric motor and a reduction gear train integrated into one easy-to-
mount and -configure package. This greatly reduces the complexity and
cost of designing and constructing power tools, machines and
appliances calling for high torque at relatively low shaft speed or RPM.
Gear motors allow the use of economical low-horsepower motors to
provide great motive force at low speed such as in lifts, winches,
medical tables, jacks and robotics. They can be large enough to lift a
building or small enough to drive a tiny clock.
Operation Principle:
Most synchronous AC electric motors have output ranges
of from 1,200 to 3,600 revolutions per minute. They also have
both normal speed and stall-speed torque specifications. The
reduction gear trains used in gear motors are designed to reduce
the output speed while increasing the torque. The increase in
torque is inversely proportional to the reduction in speed.
Reduction gearing allows small electric motors to move large
driven loads, although more slowly than larger electric motors.
Reduction gears consist of a small gear driving a larger gear.
There may be several sets of these reduction gear sets in a
reduction gear box.
Speed Reduction:
Sometimes the goal of using a gear motor is to reduce the
rotating shaft speed of a motor in the device being driven, such as
in a small electric clock where the tiny synchronous motor may
be spinning at 1,200 rpm but is reduced to one rpm to drive the
second hand, and further reduced in the clock mechanism to drive
the minute and hour hands. Here the amount of driving force is
irrelevant as long as it is sufficient to overcome the frictional
effects of the clock mechanism.
Torque Multiplication
Another goal achievable with a gear motor is to use a
small motor to generate a very large force albeit at a low speed.
These applications include the lifting mechanisms on hospital
beds, power recliners, and heavy machine lifts where the great
force at low speed is the goal.
Motor Varieties
Most industrial gear motors are AC-powered, fixed-speed
devices, although there is fixed-gear-ratio, variable-speed motors
that provide a greater degree of control. DC gear motors are used
primarily in automotive applications such as power winches on
trucks, windshield wiper motors and power seat or power window
motors.
Calculate Torque:
Suppose you need to determine how much torque is required to
lift a load, cause a wheel to accelerate or to make a conveyor belt move.
If you know how much force is required at one radius (arm length) of
leverage, you can easily convert the torque requirement for another arm
length. The relevant equation is Torque = Perpendicular Force x Radius
about the center of rotation.
Instructions
1. Draw a diagram of a pulley wheel of radius R with a mass m hanging
off of it. You can translate this example to a range of torque problems,
where the load applies a perpendicular force at radius R from the center
of rotation.
2. Determine the force created by the mass. In this case, use Newton's
second law to get F=ma=mg, where g is the gravitational acceleration
constant, 9.80 meters per second squared.
3. Calculate the torque you'll need to apply to the pulley to keep the
weight from dropping. In other words, FR = mgR is the torque needed.
So if you use a motor to drive a wheel of radius r attached to the same
axle as the pulley, then the motor needs to apply a force of F = mgR/r.
Calculate Rotational Force:
Rotational force, also known as torque or centripetal force, is
the measurement of the force of an object rotating around a central axis
or pivot. For example, using a wrench to turn a bolt creates enough force
to either tighten or remove the bolt. The force that is coming from
turning the wrench is considered the rotational force that is being
created. To find rotational force, a person must know the mass of the
object creating the torque, the velocity that it is being moved, and the
radius of how far away the object is from the axis.
Instructions
1. Take the velocity of the object that is being turned to the second
power. For example, if the velocity of the object is 15 meters per
second, multiply 15 by 15 to get 225.
2. Multiply the mass of the object being used to create torque by the
squared velocity. For example, if the mass of the object is 28 grams,
that would mean you multiply 28 by 225 to get 6300.
3. Divide the answer from Step 2 by the radius that is measured from
the center of the axis to the object that is being used to create the
rotational force. For example, if the radius is 19 meters, that would
mean you divide 6300 by 19 to get 331.58 Newton meters. (Newton
meters are the SI unit used for rotational force.) This is the rotational
force that is being created.
Calculate Moments of Force:
When force is applied to an object at a certain point, it does two
things: push the object, and rotate the object. The amount of that
rotational tendency is described by the moment of force. A moment of
force is a vector: it has both a magnitude (the strength of the rotational
force) and a direction (the axis along which the rotation will take place).
The direction can be determined using the right hand rule: with your
thumb pointed along the moment of force, your fingers curl in the
direction of rotation. Calculating the moment of force is simple vector
math.
Instructions
1. Subtract the position vector of the point of rotation from the position
vector of the point where the force is applied. In other words, calculate
the vector (Rx -- Ax, Ry -- Ay, Rz -- Az). For example, if a force is
applied at coordinates (2, 3, 6) to an object whose center of gravity (and
thus position of rotation) is at coordinates (-2, 8, 0), you would get a
vector of (2 -- (-2), 3 -- 8, 6 -- 0) = (4, -5, 6). This vector points from
the point of rotation to the point of force application.
2 .Find the cross product of the vector from step 1 (which we will
hereafter call B) and the force vector (F), as described in this and the
next two steps. Firstly, find the x component of the cross product by
subtracting the product of the y component of F and the z component of
B from the product of the y component of B and the z component of F.
To put it succinctly, calculate (B X F)x = By*Fz -- Bz*Fy
3. Find the y component of the cross product in a similar fashion,
by subtracting the product of the z component of F and the x
component of B from the product of the z component of B and
the x component of F. In other words, calculate (B X F)y = Bz*Fx
-- Bx*Fz.
4. Find the z component of the cross product by subtracting the product
of the x component of F and the y component of B from the product of
the x component of B and the y component of F. In other words,
calculate (B X F)z = Bx*Fy -- By*Fx.
5.Write the moment of force as the vector with x, y, and z components
as the results of steps 2, 3, and 4, respectively. To put it all into one
formula, the moment M is (By*Fz -- Bz*Fy, Bz*Fx -- Bx*Fz, Bx*Fy -
- By*Fx).
How to Calculate Gear Spur on a DC Motor?
The spur gear is adjacent to the pinion gear, which sits directly
on the motor shaft. The spur gear's relationship to the pinion gear is
significant in that the ratio of one to the other determines the vehicle's
performance. Learn how to calculate the size of the spur gear to better
understand how your vehicle will handle.
Instructions:
1. Mark one of the teeth on the spur gear with the marker to indicate the
first tooth you will consider in your calculation.
2. Open the safety pin, and then press it between the teeth with the
marked tooth underneath it.
3. Rotate the gear counterclockwise while counting the number of clicks
you hear as you pass the safety pin over the teeth.
4. Use the total number of teeth on the spur gear to determine the gear
ratio between the spur gear and the pinion. For example, if the spur gear
has 36 teeth and the pinion gear has 6, then you're running a ratio of 6:1.
This means that for every rotation of the spur gear, the pinion gear turns
6 times.
DC Reduction Gear Motors:
The DC Gear motor, consisting of a DC electric motor and
a gearbox, is at the heart of several electrical and electronic
applications. Precision Micro drives have been designing and
developing such high quality mini DC gear motors in an easy-to-
mount package for a range of products and equipment. Our
miniature gear motor work smoothly and efficiently, supporting
these electrical and electronic applications. These geared motors
have reduction gear trains capable of providing high torque at
relatively low shaft speed or revolutions per minute
(RPM). Precision Micro drives DC geared motors reduce the
complexity and cost of designing and constructing applications
such as industrial equipment, actuators, medical tools, and
robotics.
Precision Micro drives have engineered a range of
planetary and spur gear motors (also known as mini-geared
motors and micro-geared motors) suitable for many future and
existing applications. The main characteristics of these gear
motors are miniature form factors, offering significant strength,
torque, and other technical capabilities that these applications
require. Their linear performance characteristics make them
suitable for many applications requiring a controlled
performance.
Whether you are looking for automotive, medical, or
domestic applications, DC Gear motors from Precision Micro
drives not only offer the variable speed and torque control
required in each of these applications. They also possess quality
characteristics of reliability, ruggedness, and compactness. The
operations performed by Precision Micro drives geared motors
appear simple and effortless. However, they are highly
sophisticated devices, and some units are encapsulated in
housings to prevent exposure to moisture and dust. Precision
Micro drives are the leading supplier of sub Ø60 mm DC Gear
motors in the industry.
DC Gear motors from Precision Micro drives are
designer-friendly, with multiple options available for any
application. We are helping our clients with unrivalled
application support and on-hand technical expertise to develop
stringent quality-controlled, cost-effective and competitive
solutions in their niche. We also provide continually updated data
sheets, web-based help features and technical bulletins to help
clients looking for solutions in their niche. We carry the widest
range in stock and are capable of delivering in order quantities of
any size (1+).
Gear Mechanisam:
All gears, including the output gear, are attached to the shaft
and supported by non-lubricated metal bearings. This type of
mechanism is suitable for medium load applications and continuous
duty cycle operation.
Gears in DC motor increase the torque:
Two differently-sized gears increase or decrease torque
because they have different radii.
If you (or another gear) apply a tangential force at the
edge of a gear (where the teeth are), the torque you create equals
the force multiplied by the radius of the gear.
That means if a gear that's 1 inch wide has 10 foot-pounds of
torque on it, and it's driving a gear that's 4 inches wide, the 4-inch-
wide gear gets 40 foot-pounds of torque, because its radius is 4
times as large as the smaller gear.
Another way to think about it is that the speed of rotation
is inversely proportional to the torque. If you halve the speed, you
double the torque.
What is the difference between a geared and non-geared dc motor?
A: It has a gearbox, usually to gear down to get more torque and lower
speed, usually to drive wheels or a winch. Rarely would one gear up.
Uses:
Gear motors are commonly used in conveyor-belt drives,
home appliances, in handicap and platform lifts, medical and
laboratory equipment, machine tools, packaging machinery and
printing presses.
A special type of gear motor, the servo motor, provides
more power in a compact, precise fashion, and is used when a
motor with a rapid, accurate response is needed.
Many Applications:
What power can openers, garage door openers, stair lifts,
rotisserie motors, timer cycle knobs on washing machines, power
drills, cake mixers and electromechanical clocks have in common
is that they all use various integrations of gear motors to derive a
large force from a relatively small electric motor at a manageable
speed. In industry, gear motor applications in jacks, cranes, lifts,
clamping, robotics, conveyance and mixing are too numerous to
count.
Introduction to Servomotors
Hobby servomotors are a very elegant solution to the problem
of adding a motor to your robot. They are mainly used in hobby RC
airplanes, so they are very compact, powerful, light and power
conservative. Since they have been in production for a long time they
are also very cheap. You can buy a standard hobby servomotor for
under $13. In a very small package you get a DC motor, gearbox, and
feedback control system.
The Futaba S-148 standard servo.
Available from towerhobbies.com or any RC hobby store (Colpar)
Servomotors are designed to operate control surfaces on hobby
RC planes. So they do not rotate continuously. Rather they are
designed to rotate through 180 degrees with precise position control. If
you want to use them as the main drive motor for a mobile robot you
need to modify them so that they will rotate continuously. This is not a
difficult thing to do. I will not cover it here but if you want to do it there
are many sites on the web that cover this. An excellent one is
They do not simply run on a DC voltage like a standard DC
motor. They have 3 wires. Red is power (generally 3V – 12V max),
black is ground and then there is another wire, usually white or yellow
that is the “input signal wire”.
A servomotor is controlled by sending a pulse signal that is
HIGH for a brief time, generally 1 – 2 ms. If you just connect a battery
to power and ground, nothing will happen. You must have a timer
circuit that generates this pulsed signal and by varying the pulse ON
time (or the pulse width) the motor will move to a certain position over
its range of motion and then stop as long as the input pulse width is the
same. Depending on the pulse width, you’ll get a different position.
This diagram shows some control signal pulses for a
typical servo and the position to which it will rotate in response
to the pulse width.
There is another element to the signal that also requires timing
accuracy. The frequency of the signal or its rate of refresh. Not only
do you have to send the pulse, you have to keep sending them as long
as you want the motor to be in that position (or to keep rotating for
modified servos). Generally a frequency of 50 Hz is good. This means
that you send the Hi pulse 50 times every second.
I mentioned earlier that a servo will only rotate through 180
degrees unless you modify it for continuous rotation (you can also buy
them already modified through Acroname and other companies). One
interesting thing that comes out this modification is that you get a speed
control function out of it, though somewhat coarse.
When you make the modification you replace the circuitry in
the motor that tells the motor what position it is in. The mods you make
tell the motor that it is always in the center position. So if you feed a
1.75 ms pulse, it rotates to the 180 degree position, checks the feedback
which tells it that “hey, you haven’t moved yet. You’re still in the
center position, keep going” so it does, checks and sees that it hasn’t
moved yet and keeps doing it. Since it thinks that it is in center position
and it has to move to its right most position it will move at its fastest
rate.
Now suppose you send it a signal that says to rotate to 95
degrees, 5 degrees right of center. The internal control system knows
that it is now to move a very short distance. It also knows that if it
rotates at its fastest speed that it may overshoot this and have to come
back, and overshoot again in the other direction and try again, and so
forth. This is called oscillation and is not a good thing. The advantage
that you get out of this is that the motor will move slower when you
feed a signal that is close to the center position. So you feed it a “go to
95 degree” signal and it will rotate CW at a slow rate. Give it “go to
180 degrees” and it will rotate CW at its fastest rate. And the same for
CCW.
3.9 OBSTACLE SENSOR
This sensor is a short range obstacle detector with no dead zone.
It has a reasonably narrow detection area which can be increased
using the dual version. Range can also be increased by increasing
the power to the IR LEDs or adding more IR LEDs
The photo below shows my test setup with some IR LED's (dark
blue) as a light source and two phototransistors in parallel for the
receiver. You could use one of each but I wanted to spread them
out to cover a wider area. This setup works like a FritsLDR but
with IR. It has a range of about 10-15cm (4-6 inches) with my
hand as the object being detected.
Circuit of obstacle sensors:
Starting from the left you can see my two IR LEDs with a resistor
and transistor in series. The transistor allows the processor to turn
the LEDs on or off. This is necessary to tell the difference
between the ambient IR from daylight and indoor lighting and the
reflected light from the LEDs that indicates the presence of an
object.
Next are my two phototransistors in parallel with a 1M resistor in
series. You could use only one but I wanted to cover a wider area
so my transistors will point in slightly different directions. If
either one detects IR it will allow more current to flow. Since
volts=current x resistance, even a small increase in current will
create a reasonable increase in voltage across the 1M resistor.
Unfortunately the low input impedance of many AD converters
will act like a small resistor in parallel with the 1M resistor and
dramatically reduce the output to the processor. This is where our
BC549 transistor comes in to save the day. In conjunction with
the 1K and 10K resistors it amplifies the signal so that the analog
input on your processor gets a nice strong signal. The BC549 is
not too critical, just about any general purpose signal transistor
should do. My transistor had a hfe of 490 when measured with a
multimeter. You should probably have a hfe of at least 200-300.
This has the advantage that you can flex the leds and transistors
outward to cover a larger area. This is juniors reversing sensor to
prevent him reversing into anything and as such will cover a wide
area. I will make single Led/Phototransistor sensors for front left
and front right. This will allow him to avoid crashing into
obstacles when his rangefinder/object tracker is looking
elsewhere.
Note that the phototransistors are slightly forward of the blue
LEDs. This helps stop stray light from the LEDs being detected
Working of infrared communication:
Various types of infrared based applications are available
in the market. The circuit for infrared based applications is
designed along with the transmitter and receiver sections i.e. we
can’t use it for other application. But the infrared communication
project which we have done here can be used in any application
just by replacing the application at the place of infrared LED in
the circuit diagram of infrared communication. By using this
project we can design infrared based applications easily. The
entire circuit consists of two sections named as
1. Transmitter section and
2. Receiver section
1. Transmitter section:
The transmitter section consists of a 555 timer IC
functioning in astable mode. It is wired as shown in figure. The
output from astable mode is fed to an IR LED via resistor which
limits its operating current. Infrared LED in the transmitter
section emits IR radiation which is focused by a plastic lens
(optics) in to a narrow beam.
2. Receiver section:
The receiver section consists of a silicon phototransistor to
convert the infrared radiation to an electric current. It responds
only to the rapidly pulsing signal created by the transmitter, and
filters out slowly changing infrared radiation from ambient light.
The receiver section comprises an infrared receiver module, and
a led indicator. When the signals are interrupted, the IR Led goes
off after a few seconds depending upon the value of RC
combination.
We can increase the distance between the IR transmitter
and receiver just by placing the lens between them. After
connecting the IR transmitter and receiver circuit, we can get the
output by applying 6V Power supply to the circuit. We can use
this circuit with any application very simply. For example a
buzzer circuit is placed at the output of IR circuit, when the
signals are interrupted, the buzzer produces sound. Both the
transmitter and receiver parts can be mounted on a single bread
board or PCB. The infrared receiver must be placed behind the IR
Led to avoid false indication due to infrared leakage. An object
moving nearby actually reflects the IR rays emitted by the IR Led.
Photo Diodes:
A photodiode is a semiconductor diode that functions as a
photo detector. Photodiodes are packaged with either a window
or optical fiber connection, to let in the light to the sensitive part
of the device. They may also be used without a window to detect
vacuum UV or X-rays.
A phototransistor is in essence nothing more than a
bipolar transistor that is encased in a transparent case so that light
can reach the base-collector junction. The phototransistor works
like a photodiode, but with a much higher responsivity for light,
because the electrons that are generated by photons in the base-
collector junction are injected into the base, and this current is
then amplified by the transistor operation.
Fig (3.13) Photodiode schematic symbol
Principle of operation:
A photodiode is a p-n junction or p-i-n structure.
When a photon of sufficient energy strikes the diode, it excites an
electron thereby creating a mobile electron and a positively
charged electron hole. If the absorption occurs in the junction's
depletion region, or one diffusion length away from it, these
carriers are swept from the junction by the built-in field of the
depletion region, producing a photocurrent.
Photodiodes can be used under either zero bias (photovoltaic
mode) or reverse bias (photoconductive mode). In zero bias, light
falling on the diode causes a current across the device, leading to
forward bias which in turn induces "dark current" in the opposite
direction to the photocurrent. This is called the photovoltaic
effect, and is the basis for solar cells in fact; a solar cell is just a
large number of big photodiodes. Reverse bias induces only little
current (known as saturation or back current) along its direction.
But a more important effect of reverse bias is
widening of the depletion layer (therefore expanding the reaction
volume) and strengthening the photocurrent. Circuits based on
this effect are more sensitive to light than ones based on the
photovoltaic effect and also tend to have lower capacitance,
which improves the speed of their time response. On the other
hand, the photovoltaic mode tends to exhibit less electronic noise.
Avalanche photodiodes have a similar structure, but
they are operated with much higher reverse bias. This allows each
photo-generated carrier to be multiplied by avalanche breakdown,
resulting in internal gain within the photodiode, which increases
the effective responsivity of the device.
Features:
Critical performance parameters of a photodiode include:
1. Responsivity:
The responsivity may also be expressed as quantum
efficiency, or the ratio of the number of photo generated carriers
to incident photons and thus a unit less quantity.
2. Dark current:
The dark current includes photocurrent generated by
background radiation and the saturation current of the
semiconductor junction. Dark current must be accounted for by
calibration if a photodiode is used to make an accurate optical
power measurement, and it is also a source of noise when a
photodiode is used in an optical communication system.
3. Noise-equivalent power:
(NEP) The minimum input optical power to generate
photocurrent, equal to the RMS noise current in a 1 hertz
bandwidth. The related characteristic directivity (D) is the inverse
of NEP, 1/NEPThe NEP is roughly the minimum detectable input
power of a photodiode.
Applications:
1. P-N photodiodes are used in similar applications to other
photo detectors, such as photoconductors, charge-coupled
devices, and photomultiplier tubes.
2. Photodiodes are used in consumer electronics devices
such as compact disc players, smoke detectors, and the
receivers for remote controls in VCRs and televisions.
3. PIN diodes are much faster and more sensitive than
ordinary p-n junction diodes, and hence are often used for
optical communications and in lighting regulation.
P-N vs. P-I-N Photodiodes:
1. Due to the intrinsic layer, a PIN photodiode must be
reverse biased (Vr). The Vr increases the depletion region
allowing a larger volume for electron-hole pair
production, and reduces the capacitance thereby
increasing the bandwidth.
2. The Vr also introduces noise current, which reduces the
S/N ratio. Therefore, a reverse bias is recommended for
higher bandwidth applications and/or applications where
a wide dynamic range is required.
3. A PN photodiode is more suitable for lower light
applications because it allows for unbiased operation.
Features
 Modulated IR transmitter
 Ambient light protected IR receiver
 3 pin easy interface connectors
 Bus powered module
 Indicator LED
 Up to 12 inch range for white object
 Can differentiate between dark and light colors.
Applications
 Proximity Sensor
 Obstacle Detector Sensor
 Line Follower Sensor
 Wall Follower Sensor
APPLICATIONS
 Obstacle sensing robot can be applied at the toys where
small children will play.
 It can used for the army application we can add a cam to
it.
 We can apply number pairs of IR pairs for the safe
direction control of the robot.
Metal Detection Sensor:
A metal detection sensor detects metallic objects which are at a
distance up to 7 cm. The sensor gives an active low output when
detecting a metal and also indicates through a LED.
Operation:
The heart of this sensor is the inductive oscillator circuit which
monitors high frequency current loss in coil. The circuit is designed for
any metallic body detection by detecting the variations in the high
frequency Eddy current losses. With an external tuned circuit they act
as oscillators. Output signal level is altered by an approaching metallic
object.
Output signal is determined by supply current changes.
Independent of supply voltage, this current is high or low according to
the presence or the absence of a close metallic object. If the metal
object is near the searching coil, the output current will flow more. On
the other hand, the current will be decrease when the object is far
from the searching coil.
Specifications
1. Detection range adjustable up to 7 cm
2. Operation range varies according to size of the metallic
object
3. Power Supply: 5V DC Power Consumption: 50mA max.
4. Detection Indicator LED
5. Digital output: Active with logic “0”
6. Dimensions: 53x72 mm
7. Full SMD design
Procedure:
1. Connect regulated DC power supply of 5 Volts.
Black wire is Ground, Next middle wire is Brown which is output and
Red wire is positive supply. These wires are also marked on PCB.
2. When adjusting sensitivity move away from any metal object
3. Turn sensitivity pre-set until the LED is about to light. To set
maximum sensitivity, turn preset until the LED is weakly lit and just
becomes off.
4. To test sensors you only need power the sensor by connect two
wires +5V and GND. 5. You can leave the output wire as it is. When LED
is off the output is at 5V.
Bring the metal object nearby the PCB coil and the LED will lit up and
output becomes 0V.
6. The output is active low and can be given directly to
microcontroller for interfacing applications.
Metal detectors use electromagnetic fields to detect the
presence of metallic objects. They exist in a variety of walk-
through, hand-held, and vehicle-mounted models and are used to
search personnel for hidden metallic objects at entrances to
airports, public schools, courthouses, and other guarded spaces;
to hunt for landmines, archaeological artifacts, and miscellaneous
valuables; and for the detection of hidden or unwanted metallic
objects in industry and construction. Metal detectors detect
metallic objects, but do not image them. An x-ray baggage
scanner, for example, is not classed as a metal detector because it
images metallic objects rather than merely detecting their
presence.
Metal detectors use electromagnetism in two
fundamentally different ways, active and passive. (1) Active
detection methods illuminate some detection space—the opening
of a walk-through portal, for example, or the space directly in
front of a hand-held unit—with a time-varying electromagnetic
field. Energy reflected from or passing through the detection
space is affected by the presence of conductive material in that
space; the detector detects metal by measuring these effects. (2)
Passive detection methods do not illuminate the detection space,
but take advantage of the fact that every unshielded detection
space is already permeated by the Earth's natural magnetic field.
Ferromagnetic objects moving through the detection space cause
temporary, but detectable changes in this natural field.
(Ferromagnetic objects are made of metals, such as iron, that are
capable of being magnetized; many metals, such as aluminum, are
conducting but not ferromagnetic, and cannot be detected by
passive means.)
Types of Metal detection sensors:
1. Walk-through metal detectors
Walk-through or portal detectors are common in airports, public
buildings, and military installations. Their portals are bracketed
with two large coils or loop-type antennae, one a source and the
other a detector. Electromagnetic waves (in this case, low-
frequency radio waves) are emitted by the source coil into the
detection space. When the electromagnetic field of the
transmitted wave impinges on a conducting object, it induces
transient currents on the surface of the object; these currents, in
turn, radiate electromagnetic waves. These secondary waves are
sensed by the detector coil.
2. Hand-carried metal detectors.
Metal detectors small enough to be hand-held are often used at
security checkpoints to localize metal objects whose presence has
been detected by a walk-through system. Some units are designed
to be carried by a pedestrian scanning for metal objects in the
ground (e.g., nails, loose change, landmines). All such devices
operate on variations of the same physical principle as the walk-
through metal detector, that is, they emit time-varying
electromagnetic fields and listen for waves coming back from
conducting objects. Some ground-search models further analyze
the returned fields to distinguish various common metals from
each other. Hand-carried metal detectors have long been used to
search for landmines; however, modern land mines are often
made largely of plastic to avoid this cheap and obvious counter-
measure. New technologies, especially neutron activation
analysis and ground-penetrating radar, are being developed to
search for nonmetallic landmines.
3. Gradiometer metal detectors.
Gradiometer metal detectors are passive systems that exploit the
effect of moving ferromagnetic objects on the earth's magnetic
field. A gradiometer is an instrument that measures a gradient—
the difference in magnitude between two points—in a magnetic
field. When a ferromagnetic object moves through a gradiometer
metal detector's detection space, it causes a temporary disturbance
in the earth's magnetic field, and this disturbance (if large enough)
is detected. Gradiometer metal detectors are usually walk-through
devices, but can also be mounted on a vehicle such as a police car,
with the intent of detecting ferromagnetic weapons (e.g., guns)
borne by persons approaching the vehicle. Gradiometer metal
detectors are limited to the detection of ferromagnetic objects and
so are not suitable for security situations where a would-be evader
of the system is likely to have access to non ferromagnetic
weapons.
4. Magnetic imaging portals
The magnetic imaging portal is a relatively new technology. Like
traditional walk-through metal detectors, it illuminates its
detection space with radio-frequency electromagnetic waves;
however, it does so using a number of small antennas arranged
ring like around its portal, pointing inward. Each of these
antennas transmits in turn to the antennas on the far side of the
array; each antenna acts as a receiver whenever it is not
transmitting. A complete scan of the detection space can take
place in the time it takes a person to walk through the portal.
Using computational techniques adapted from computed axial
tomography (CAT) scanning, a crude image of the person (or
other object) inside the portal is calculated and displayed. The
magnetic imaging portal may for some purposes be classed as a
metal detector rather than as an imaging system because it does
not produce a detailed image of the metal object detected, but only
reveals its location and approximate size.
Advantages of Metal detection sensor:
1. Metal Detectors are designed to safeguard security-sensitive
areas like schools, courtrooms, corrections facilities, sports
events, businesses, nightclubs, bars and other public areas and
events.
2. They are used along with walk-through metal detectors.
Construction crews and woodworkers also use metal detectors to
find dangerous nails or other metallic debris in reclaimed building
materials and trees.
3. A recent study proves that metal detectors are just as accurate
as x-rays in finding coins and other metallic objects swallowed by
children.
4. They are cheaper and radiation-free, are usually lightweight,
highly sensitive and require little maintenance. The special shape
of the sensitive surface makes operation of the device easy, unlike
portable metal detectors with ring transducers. They come with
9V batteries or rechargeable NiMH batteries.
5. Metal detectors are most commonly used for body searches for
weapons in crowd control, and checking parcels and letters.
6. Larger portable metal detectors are used by archaeologists and
treasure hunters to locate metallic items, such as jewelry, coins,
bullets, and other various artifacts buried shallowly underground.
Disadvantages of Metal Detectors
Before you start searching for used metal detectors on sale
however, you may have to consider the pros and cons of having such
a kind. The first advantage that you could get from a used one is
definitely a more affordable price tag. Because it's not anymore brand-
new, it is naturally a cheaper. Thus, you don't have to allot a large
amount for it. Besides this though, there can be no other benefits at
all. It's not something that acquires skills when it gets a bit older. Thus,
you can't expect it to be much better than the new one because it is
old and 'experienced.' The price drop reflects the depreciation of the
item. The depreciation rate may also be the measure of the decrease
in its effectiveness or efficiency.
It is obvious that a brand new metal detector may be more
expensive but this should not be the reason why you should turn your
back on it. Compared to a used detector, you could rest assured that
this is a much better choice when you are after effectiveness and
durability. Thus, you in fact get your money's worth when you buy one
if its price is half higher than the used detector.
Applications
1. Detect presence of any metallic object
2. Locate pipes, cables, metal studs, …
3. Avoid disasters when drilling holes in walls
4. Great project for novices
5. Your own unique application
6. Interface with any microcontroller
Conveyor Belt
The belt conveyor is an endless belt moving over two end pulleys at
fixed positions and used for transporting material horizontally or at
an incline up or down. The main components of a belt conveyor are:
1. The belt that forms the moving and supporting surface on
which the conveyed material rides. It is the tractive element.
The belt should be selected considering the material to be
transported.
2. The idlers, which form the supports for the carrying and
return stands of the belt.
3. The pulleys that support and move the belt and controls its
tension.
4. The drive that imparts power to one or more pulleys to
move the belt and its loads.
5. The structure that supports and maintains the alignments of
the idlers and pulleys and support the driving machinery.
Other components include:
1. Loading chute or feeder chute that organises the flow of material
and directs it on the belt conveyor.
2. Take-up-device which is used to maintain the proper tension of the
belt for effective power transmission.
3. Belt cleaner that keeps the belt free from materials sticking to the
belt.
4. Tramp removal device, which is optionally used in case the
conveyed material bears the chance of having tramp iron mixed
with it and subsequent handling of the material, demands its
removal.
5. Continuous weighing device for constantly measuring the load
being carried by the conveyor belt.
6. Discharge chutes to guide the discharged projectile to subsequent
conveyor or other receiving point.
7. Surge hopper and feeder, which is essential for supplying material
to the conveyor at uniform rate when the supply of material is
intermittent.
8. Tripper arrangement to discharge material at different point or to
other device.
Application
Conveyor belts are widely used in mineral industry. Underground
mine transport, opencast mine transport and processing plants
deploy conveyor belts of different kinds to adopt the specific job
requirements. The main advantages of conveyor belt system are:
1. A wider range of material can be handled which pause problems in
other transportation means. Belt conveyor can be used for
abrasive, wet, dry, sticky or dirty material. The lump size of the
transported material is limited by the width of the belt. Belts up to
2500 mm wide are used in mining industry.
2. Higher capacity can be handled than any other form of conveyor at
a considerably lower cost per tonne kilometre. Conveyor belts with
capacity of 11000t/h and even higher can be deployed to match
with higher capacity mining machinery.
3. Longer distances can be covered more economically than any other
transportation system. A single belt conveyor or a series of belt
conveyors can do this. Belt conveyors can be adopted for cross-
country laying.
4. By the use of many forms of ancillary equipment such as mobile
trippers or spreaders bulk material can be distributed and
deposited whenever required.
5. Many other functions can be performed with the basic conveying
like weighing, sorting, picking, sampling, blending, spraying,
cooling, drying etc.
6. Structurally it is one of the lightest forms of conveying machine. It
is comparatively cheaper and supporting structures can be used for
many otherwise impossible structures such as crossing rivers,
streets and valleys.
7. The belt conveyor can be adopted for special purposes (fire
resistant, wear resistant, corrosion resistant, high angle negotiation
etc.) and can be integrated with other equipment.
8. It can be horizontal, incline or decline or combination of all.
9. Minimum labour is required for the operation and maintenance of
belt conveyor system.
10. In underground mine transport, belt conveyor can be used in thin
seams as it eliminates the rock works that might otherwise be
required to gain haulage height. Moreover, belt conveyor can
provide continuous haulage service from pit bottom to the surface.
The limitations of conveyor belt are:
1. The loading and transfer points need to be properly designed.
2. Numbers of protective devices have to be incorporated to save the
belt from getting damaged by operational problems.
3. The belt needs higher initial tension (40-200% of useful pull).
4. The use of belt is restricted by the lump size. If the maximum
diagonal of a irregular lump is X then the belt width (B) is
approximately given by:
200

 Xa
B
where, B: Belt width, mm
X: Longest diagonal of irregular lump, mm
a: Factor to account for grading. a is taken as 2.5 for graded
material and 3 for un-graded material. However, for particular
material these values must be properly estimated.
5. Conveying of sticky material is associated with problems of cleaning
and discharge causing poor productivity.
6. Higher elongation of the belt (4% elongation may take place at the
working load).
Some of the applications of belt conveyors are shown in Figures
below:
Level or inclined Conveyor receiving material at tail end and
discharging at head end.
Level Conveyor receiving material at any point through travelling
Hopper and discharging at head end.
Level and inclined Conveyor receiving material at and near tail end,
having vertical curve to incline, and discharging at head end.
Level and inclined Conveyor with chute. Material received from bins
too close to elevated head end to permit use of vertical curve.
Inclined and level Conveyor receiving material at tail end and
discharging from level section through a movable Tripper.
Level Conveyor on raised structure with double-wing Tripper forming
storage piles on both sides of Conveyor.
Inclined Conveyor receiving material at tail end and discharging at
several points through a series of fixed Trippers.
Level Conveyor with Stacker or Boom Conveyor mounted on
revolving turntable so as to discharge to both sides of Conveyor.
INFORMATION REQUIRED TO DESIGN A
BELT CONVEYOR
1. Length of conveyor from centre to centre of end pulleys.
2. Inclination-level or inclined. Either degree of inclination, or
distance to be lifted or lowered.
3. Average capacity per hour.
4. Maximum capacity per hour.
5. Material to be conveyed, and weight per cubic foot. 6. Average size
of material.
7. Size of largest pieces and percentage in feed.
8. (a) Nature of material -dry or wet (moisture content).
(b) Abrasive or corrosive?
9. How material is to be fed to the belt and particulars of feed point
or points.
10. How material is to be discharged from the belt i.e. overhead
pulley or by trippers, and particulars of discharge points.
11. General indication of supporting structure.
12. Power available for driving. If by A.C. electric motor, state
voltage, phase and frequency. If D.C. motor state voltage.
Items 1 and 2 determine the suitability of belt conveyors, since
inclination is a limiting factor. Items 1-7 determine the speed and
width of the conveyor belt, the power needed for the drive, the type
of drive, the number of belt plies, size of pulleys, shafts and spacing
of idlers. Items 8-10 determine the quality and thickness of the
rubber cover on the belt.
Description of Components
Belt
The belt consists of a carcass covered from all sides with a filler
material like PVC and neoprene as shown in Figure 1.
Figure 1 Construction of conveyor belt.
Essential Properties
The belt works as a tractive element as well as load-carrying element.
It may be used for different kind of material transportation at a
higher speed ( 6-8 m/s). For this purpose the belt need to have the
following essential properties:
1. Flexibility
Top Cover
Bottom Cover
(Carrying Side)
(Non-Carrying Side)
End Cover
End Cover
Carcass
2. Transverse rigidity
3. Low mass per unit length
4. High strength
5. Simplicity and inexpensive
6. Longer life
7. Should not stretch under normal working stresses ,i.e., low relative
elongation.
8. Wear resistant
9. Fire resistant
Recommended maximum belt speeds are given as shown in Table 1
Speed
(m/sec)
Speed
(fpm)
Width
(mm)
Width
(inches)
Coal, damp clay,
soft ore, fine
crushed stone,
Over burden and
earth
2.032
3.048
4.064
5.08
400
600
800
1000
457.2
609.6-914.4
1066.8-
1524
1828.8-
2413
18
24-36
42-60
72-95
Heavy, hard,
sharp edged ore.
Coarse crushed
stone
1.778
2.54
3.048
350
500
600
457.2
609.6-914.4
over 914.4
18
24-36
over 36
The carcass can absorb the longitudinal tensile stresses and make the
belt rigid transversely. Filler protects carcass against moisture,
mechanical damage, abrasion and combine the carcass into an
integral body forming top cover and bottom cover. The filler can be
synthetic rubber or polymer like PVC with adequate additives for
getting particular expected characteristics. The carcass can be a fabric
type with plies of fabric or steel chord type.
A fabric ply has a longitudinal thread called warp and a transverse
thread called weft. The fabric plies are made of capron, nylon or
lavsan etc. The longitudinal member of the carcass transfers the
tension. Both the warp and weft carry the load via the cover. The
cover while protecting the carcass from external damage bear the
impact and abrasion at the feeding points and wear at the cleaning
points. Figure 2 shows the cross section of the types of conveyor belt.
Figure 2 Cross section of a multi ply conveyor belt.
The belt ends are joined together by mechanical means or by
vulcanising. The belt needs to be protected from damage of its sides
that may occur due to sway of the belt. In case of belt carrying wet
sticky material fixtures for cleaning the belt should be properly
selected. Materials coming on to the return side of the belt needs to
be arrested from coming under the end pulley by adequate scrapers.
Rubber Interply
Top Cover
Bottom Cover
As shown in the Figure 4 belt cleaners are used to clean the return
side of the conveyor belt. These cleaning belt can be of V shape as
well.
Figure 3 Belt scrapers
As shown in the Figure 3(a), the pow blade's 20° leading edge
"spirals" debris off the return-side belt surface. There are specially
designed belt cleaners for the tail pulley, they are engineered to
clean the inside of the belt so rocks, lumps and other debris never get
the chance to damage the pulley, belt, splices or lagging. Normally
plows are easy to install on virtually any conveyor structure, and
come with universal mounting brackets. Though there are suppliers
of such scrapers, these can be fabricated at the mine’s workshop.
The diagonal deflector plow (Figure 3a) is installed on a 45° angle
across the belt to discharge debris to one side of the belt. In such
cleaners the blade is installed in a fixed position, eliminating
bouncing problems associated with some floating style plows.
Twin-bladed plow ( Figure 3b) is designed to clean belt in both
directions of travel. This cleaner discharges material to either side of
the belt. It is installed securely to conveyor structure and can work
on conveyors with severe belt vibration.
CONVEYOR BELT FASTENERS
One of the important components that require attention in
maintaining services of belt conveyor is the conveyor belt fasteners.
Selection of fasteners should consider required performance,
expected life and ease of installation and maintenance so that higher
availability of the belt conveyor is ensured.
There are different types of fasteners. Mechanical fasteners are
commonly used in underground coal mining. The required rating of
the mechanincal fasteners is calculated based on the required belt
tension and it may be upto 263 kN/m of belt width.
One such fastener is Flexco®
SR™ Scalloped Edge™ RAR8 belt
fastener, designed for use on mainline and panel belts with
mechanical fastener ratings up to 1,500 PIW (263kN/m). The 8-rivet
pattern, along with the scalloped edge design, ensures quality
performance in high-tension applications.
Figure 4 Mechanical Belt joint
Fasteners are available with self-setting rivets which allow to install
quickly from the topside of the belt. Most important in belt fastening
is to take care that the plates must be accurately positioned to get
perfect edges and stress distribution should be uniform along the
joints.
Effectiveness of maintenance will be enhanced by provision of
adequate and improved tools for carrying out the job. Management
should encourage innovation of workers for making work tools or
improvement of work environment and safety.
Idlers
In a conveyor belt installation different types of idlers or roller
supports are used. The idlers are required for proper support and
protection of the belt and proper support of the load being
conveyed.Idlers are designed with different diameters and are
provided with antifriction bearings and seals, and are mounted on
shafts. Frictional resistance of idlers influences the belt tension and
consequently the power requirement.
Idlers are mounted on a support frame, which can be shiftable or
permanent. The carrying side of the belt is supported on the carrier
rollers sets. A set of three rollers are arranged to form a trough for
the troughed belt conveyor. The return side of the belt is supported
on straight return idlers. The spacing of the idlers is determined
based on the belt sag between the idlers. The sag depends on the
belt tension, belt width, belt properties and the pay-load per meter
of the belt. The idlers are specified by its length and diameter. These
parameters are selected based on the required belt speed for the
particular width of the belt.
Figure 5 Different types of roller supports
Figure 6 Self aligning idler
Figure 7 Components of belt conveyor
Self aligning idler set is used infront of the loading point. This set of
idlers can rotate on a horizontal plan depending on the belt sway and
restores true running of the belt. Belt training idlers should be spaced
100 to 150 feet apart and at least one such idlers should be used on
conveyors less thqan 100 feet long. Such idlers are not used in the
areas of belt transition.
Fixed guide rolls placed perpendicular to the edge of the conveyor
belt are not generally recommended as they cause edge wear and
reduce belt life.
Offcentre running of the belt occurs when the belt loading is not
proper. Garland type idlers assist true running of the belt under
difficult loading conditions. In this type of idlers the idlers are
connected to form a string. The connections are through universal
type coupling that allows each idlers to rotate about its own axis
independently. Garland idlers are available as two roll, three roll or
five roll units. Normally two-roll units are used as return idlers and
three-rolls or five-rolls units are used in carrying idlers.
Belt weight, material weight, idler load rating, belt sag, idler life, belt
rating, belt tension and radius in vertical curves determine the
spacing of idlers. Some suggested normal spacing are shown in Table
3.
Pulley
A conveyor belt system uses different types of pulleys like end pulley,
snub pulley, bend pulley etc. as shown in the Figure 3. The end
pulleys are used for driving and sometimes for making tensioning
arrangements. Snub pulleys increase the angle of wrap thereby
increasing the effective tension in the belt. The pulley diameter
depends on the belt width and belt speed.
Pulleys are used for providing the drive to the belt as well as for
maintaining the proper tension to the belt.
Minimum transition distance as shown in Table 4 should be followed
while placing idlers in front of pulleys.
Snub pulleys may be fitted in as shown in the following figures:
Loose Snub Tight Snub
Figure 8
The angle of wrap is increased by using tandem drive as shown in
Figure below:
Figure 9 Tandem drive
Drive
Belt drive is provided normally at the discharge ends, however, it may
be provided through the head end or through intermediate pulley by
coupling the pulley shaft to the reducing gear’s output shaft. The
coupling is selected based on the load characteristics and
applications. Flexible coupling or fluid couplings are often used.
Various drive arrangements are shown in the Figures below:
Take-up
The purposes of take-up are:
1. To allow for stretch and shrinkage of the belt.
2. To ensure that the minimum tension in the belt is sufficient to
prevent undue sag between idlers.
3. To ensure that the tension in the belt in the rear of the drive
pulley is sufficient to permit such pulley to transmit the load.
There are different types of take-up systems as shown in the Figures
below:
Figure 10 Screw take-up
Figure 11 Gravity Take up
Conveyor Support
The support of conveyor is normally a structural frame. Depending on
the situation the structure can be mounted on floor or on skid. The
main job of the support is to let the belt run without getting skewed.
Depending on situations the support can be made moving type. In
such cases idler a wheel mounted or crawler mounted platform
keeps the necessary provision to support the idlers on which the
conveyor runs.
4 bar link mechanism
Linkage Mechanisms:
Have you ever wondered what kind of mechanism
causes the wind shield wiper on the front widow of car
to oscillate
Let's make a simple mechanism with similar
behavior. Take some cardboard and make four strips,
Take 4 pins and assemble them
Now, hold the 6in. strip so it can't move and turn
the 3in. strip. You will see that the 4in. strip oscillates
The four bar linkage is the simplest and often
times, the most useful mechanism. As we mentioned
before, a mechanism composed of rigid bodies and
lower pairs is called a linkage (Hunt 78). In planar
mechanisms, there are only two kinds of lower pairs ---
revolute pairs and prismatic pairs.
The simplest closed-loop linkage is the four bar
linkage which has four members, three moving links,
one fixed link and four pin joints. A linkage that has at
least one fixed link is a mechanism. The following
example of a four bar linkage was created in SimDesign
in simdesign/fourbar.sim.
Four bar linkage in SimDesign
This mechanism has three moving links. Two of
the links are pinned to the frame which is not shown in
this picture. In SimDesign, links can be nailed to the
background thereby making them into the frame.
How many DOF does this mechanism have? If we
want it to have just one, we can impose one constraint
on the linkage and it will have a definite motion. The
four bar linkage is the simplest and the most useful
mechanism.
Reminder: A mechanism is composed of rigid
bodies and lower pairs called linkages (Hunt 78). In
planar mechanisms there are only two kinds of lower
pairs: turning pairs and prismatic pairs.
Functions of Linkages
The function of a link mechanism is to produce
rotating, oscillating, or reciprocating motion from the
rotation of a crank or vice versa Stated more specifically
linkages may be used to convert:
1. Continuous rotation into continuous rotation,
with a constant or variable angular velocity ratio.
2. Continuous rotation into oscillation or
reciprocation (or the reverse), with a constant or
variable velocity ratio.
3. Oscillation into oscillation, or reciprocation into
reciprocation, with a constant or variable velocity
ratio.
Linkages have many different functions, which can be
classified according on the primary goal of the
mechanism:
 Function generation: the relative motion between
the links connected to the frame,
 Path generation: the path of a tracer point, or
 Motion generation: the motion of the coupler link.
Four Link Mechanisms
One of the simplest examples of a constrained
linkage is the four-link mechanism. A variety of useful
mechanisms can be formed from a four-link mechanism
through slight variations, such as changing the character
of the pairs, proportions of links, etc. Furthermore, many
complex link mechanisms are combinations of two or
more such mechanisms. The majority of four-link
mechanisms fall into one of the following two classes:
1. the four-bar linkage mechanism, and
2. The slider-crank mechanism.
Some important concepts in link mechanisms are:
1. Crank: A side link which revolves relative to the
frame is called a crank.
2. Rocker: Any link which does not revolve is
called a rocker.
3. Crank-rocker mechanism: In a four bar linkage,
if the shorter side link revolves and the other one
rocks (i.e., oscillates), it is called a crank-rocker
mechanism.
4. Double-crank mechanism: In a four bar linkage,
if both of the side links revolve, it is called a
double-crank mechanism.
5. Double-rocker mechanism: In a four bar
linkage, if both of the side links rock, it is called
a double-rocker mechanism.
Mechanism
Machines are mechanical devices used to
accomplish work. A mechanism is a heart of a machine.
It is the mechanical portion of the machine that has the
function of transferring motion and forces from a power
source to an output.
Mechanism is a system of rigid elements (linkages)
arranged and connected to transmit motion in a
predetermined fashion.
FOUR-BAR MECHANISM
A four-link mechanism with four revolute joints
is commonly called a four-bar mechanism.
Application of four-bar mechanisms to machinery is
numerous. Some typical applications will involve:
a) Correlation of the angular rotations of the links
connected to the fixed link (commonly known as
correlation of crank angles or function generation). In
such applications we would like to have a certain
14 12) to be realized by
the four-bar mechanism. A simple example will be to
convert a linear scale to a logarithmic scale within a
certain range.
b) Link that has no connection to the fixed link is known
as the coupler link. A point on this link (which is known
as the coupler point) will describe a path on the fixed
link, which is called the coupler-point-curve. By proper
choice of link dimensions useful curves, such as a
straight-line or a circular arc, may be found. This
coupler point curve can be used as the output of the four-
bar mechanism (such as the intermittent film drive
shown below
c) The positions of the coupler-link may be used as the
output of the four-bar mechanism. As shown in figure
below, the four-bar mechanism used for the dump truck
requires that the center of gravity of the dumper to move
on an inclined straight line while it is being tilted
(why?).
The above applications can be solved by the methods of
synthesis which is beyond the topic. In this chapter we
shall discuss some basic characteristics of the four-bar.
Grasshof’s Theorem
The motion characteristics of a-four-bar
mechanism will depend on the ratio of the link length
dimensions. The links that are connected to the fixed
link can possibly have two different types of motion:
i) The link may have a full rotation about the fixed axis
(we call this type of link crank)
 The link may oscillate (swing) between two
limiting angles (we call this type of link rocker).
In a four-bar mechanism we can have the following
three different types of motion:
i) Both of the links connected to the fixed link can have
a full rotation. This type of four-bar is called "double-
crank” or "drag-link".
ii) Both of the links connected to the fixed link can only
oscillate. This type of four-bar is called “double-
rocker."
ii) One of the links connected to the fixed link oscillates
while the other has a full rotation. This type of four-bar
is called crank-rocker.
Four-Bar Linkage
A four-bar linkage, also called a four-bar, is the
simplest movable closed chain linkage. It consists of four
bodies, called bars or links, connected in a loop by four
joints. Generally, the joints are configured so the links
move in parallel planes, and the assembly is called a
planar four-bar linkage.
If the linkage has four hinged joints with axes
angled to intersect in a single point, then the links move
on concentric spheres and the assembly is called a
spherical four-bar linkage. Bennett's linkage is a spatial
four-bar linkage with hinged joints that have their axes
angled in a particular way that makes the system
movable.
Four-Bar Linkage Categories:
Crank-Rocker Mechanism:
Straight line Mechanisms
CHAPTER 4
Introduction
Ah yes, it is finally time to make your Arduino do something!
We're going to start with the classic hell world of electronics, a
blinking light.
This lesson will basically get you up and running using the
Arduino software and uploading a sketch to the Arduino board.
Once you've completed this step we can continue to the really
exciting stuff, which is when we start writing our own sketches!
These instructions mostly show Windows software. Except
when indicated, the software (should be) identical on all
platforms. Linux will be added once I figure out how to get it
working (yay)
Do you have everything you need?
Not much is needed for this lesson, just a USB cable and an
Arduino. If you have an older Arduino you may also need an
LED. Any LED is fine as long as it looks sorta like the photo,
with a plastic bulb and two legs
Make sure you've gone through Lesson 0 first!
Assembl
ed
Arduino
board,
preferra
bly a
Diecimil
a (or
whateve
r the
latest
version
is)
Adafruit
$3
5
USB
Cable.
Standar
d A-B
cable is
required
. Any
length is
OK.
Adafruit
Or any
comput
er
supply
store
$5
LED
- Optio
nal
Nearly
any
LED is
OK, as
long as
it has
two
wire
legs.
This
part is
only
required
for NG
rev
c Ardui
nos (and
maybe
other
older
ones).
Diecimil
a
Arduino
's have
Any
electron
ics
supply
store
$1
this part
'built-in'
Download the Software
The first thing to do is download the Arduino software.
Go to the Arduino Software Download page and grab the right
file for your OS. As of Sept 2007 the version is 009 but you
should use whatever is most recent.
The packages are quite large, 30-50 MB so it may take a while
to finish
Unpack and Install
Extract the package onto the Desktop
Windows
Mac OS X
Windows
Mac OS X
Startup!
Double click the Arduino software icon
Windows
Mac OS X
To open up the workspace
I think I get the red error text shown because I already have
Arduino installed. Either way, it isn't a problem if you do or
don't see it.
Select chip
The first step is to configure the Arduino software for the correct
chip. Almost all Arduinos use the ATmega168, but there's a
chance you have an ATmega8. Look for the chip on the Arduino
that looks like this:
If the text says ATMEGA8-16P then you have an atmega8 chip.
If the text says ATMEGA168-20P then you have
anatmega168 chip. If it says "ATMEGA328P-20P" you have
an atmega328p chip
Make sure the correct chip is selected (this picture is really old,
will be fixed soon). This preference is saved so you only have to
set it once, the program will remember next time it's run.
Select port
Next, its time to configure the Serial Port (also known as the
COM Port). Go back to lesson 0 to remind yourself of which
port it is. On a PC it will probably be something
like COM3 or COM4. On a Mac it will be something
liketty.usbserial-xxxxx
Windows port selection
Mac port selection
This preference is saved so you only have to set it once, the
program will remember next time it's run.
However, if you have multiple Arduino's, they may be assigned
difference COM ports. So every time you plug in a new
Arduino, double check that the correct port is selected.
Open blink sketch
Sketches are little scripts that you can send to the Arduino to tell
it how to act. Let's open up an Example Sketch. Go to the File
menu -> Sketchbook -> Examples -> Digital -> Blink
The window should now look like this, with a bunch of text in
the formerly empty white space and the tab Blink above it
Verify / Compile
The first step to getting a Sketch ready for transfer over to the
arduino is to Verify/Compile it. That means check it over for
mistakes (sort of like editing) and then translate it into an
application that is compatible with the Arduino hardware.
After a few seconds, you should see the message Done
compiling. in the Status Bar and Binary Sketch Size: in
theNotification area. This means the sketch was well-written
and is ready for uploading to the Arduino board!
Reset (NG only)
To tell the Arduino that it should prepare itself for a new Sketch
upload, you must reset the board. Diecimila Arduino's have
built-in auto-reset capability, so you don't need to do anything.
Older Arduinos, such as NG, must be manually reset before
uploading a sketch. To do that simply press the black button on
the right hand side of the board, shown here.
Upload
Now it's time to upload. Make sure the Arduino is plugged in,
the green light is on and the correct Serial Port is selected.
If you have an NG Arduino, press the Reset Button now, just
before you select the Upload menu item.
Select Upload to I/O Board from the File menu
After a few seconds you should get this screen, with the
message Done uploading. in the status bar.
If you get the following error message "avrdude:
stk500_getsync(): not in sync: resp=0x00" that means that the
Arduino is not responding
Then check the following:
 If you have a NG Arduino, did you press reset just before
selecting Upload menu item?
 Is the correct Serial Port selected?
 Is the correct driver installed?
 Is the chip inserted into the Arduino properly? (If you built your
own arduino or have burned the bootloader on yourself)
 Does the chip have the correct bootloader on it? (If you built
your own arduino or have burned the bootloader on yourself)
If you get the following error message:
It means you dont have a serial port selected, go back and verify
that the correct driver is installed (lesson 0)
and that you have the correct serial port selected in the menu.
If you get the following error Expected signature for
ATMEGA
Then you have either the incorrect chip selected in
the Tools menu or the wrong bootloader burned onto the chip
If you get the following error: can't open device "COM10":
The system cannot find the file specified (under Windows,
COM port value may vary)
It means that you have too many COM ports (maybe you've got
9 Arduinos?) You should make sure that the port is numbered as
low as possible. You can use a program like FTClean to clear
out old COM ports you aren't using anymore. Once you've
cleaned out the ports, you'll have to reinstall the driver again
(see lesson 0).
Alternately, if you're sure that the ports are not used for
something else but are left over from other USB devices, you
can simply change the COM port using the Device Manager.
Select the USB device in the Device Manager, right click and
select Properties
Then click Advanced... and in the next window change the
COM port to something like COM4 or COM5. Don't forget to
select the new port name in the Arduino software. The lower
port names may say (in use) but as long as the other USB
devices aren't plugged in, it shouldn't be a problem. This is a
little riskier than just using FTClean...
Video of all steps
Here is a video showing the timing of the steps described so far.
Insert LED (NG Arduinos)
Some older Arduinos don't have a built in LED, its easy to tell if
yours does or not
If you have a Diecimila or other Arduino with a built in LED
you will see a translucent part as shown
If you have an NG rev C or other Arduino without an LED, the
translucent part will not be there, and instead you will see two
silver dots
If you don't have an LED, you'll need to add your own. Any
LED will do, as long as it has two legs and kinda looks like the
one shown here. LEDs are directional components. That means
if you put it in backwards it will not work! To help you put the
LED in right, the LED factory cuts the legs at different lengths.
The longer leg goes in the hole marked 13and the shorter one
goes in the hole marked GND
Watch!
If you have a Diecimila Arduino, the upload process is quite
fast, just start the Upload from the software. The board will
automatically reset itself, transfer the sketch and start the sketch.
The little translucent LED will start blinking
Click To Play
If you have an NG arduino, make sure the LED is inserted as
indicated before. Here is a video of the entire uploading process.
Right after I press the Reset Button I start the sketch upload.
There is a short wait while the software prepares to transfer the
sketch. Then the two small orange lights blink, indicating the
sketch is being transfered. When its done, there is a 7 second
delay until the sketch starts.
Click To Play
If you don't get a blinking LED, make sure you put the part in
the right way, in the correct holes, and perhaps try a different
LED as it may be bad
CHAPTER 5
Tools
Drilling:
Drilling is a cutting process that uses a drill bit to cut or enlarge a
hole of circular cross-section in solid materials. The drill bit is a
rotary cutting tool, often multipoint. The bit is pressed against the
workpiece and rotated at rates from hundreds to thousands of
revolutions per minute. This forces the cutting edge against the
workpiece, cutting off chips from what will become the hole
being drilled.
Processes:
Drilled holes are characterized by their sharp edge on the
entrance side and the presence of burrs on the exit side (unless
they have been removed). Also, the inside of the hole usually has
helical feed marks.
Drilling may affect the mechanical properties of the
workpiece by creating low residual stresses around the hole
opening and a very thin layer of highly stressed and disturbed
material on the newly formed surface. This causes the workpiece
to become more susceptible to corrosion at the stressed surface.
A finish operation may be done to avoid the corrosion. Zinc
plating or any other standard finish operation of 14 to 20 microns
can be done which helps to avoid any sort of corrosion.
Types of drilling:
 Spot drilling
 Center drilling
 Deep hole drilling
 Micro-drilling
 Vibration Drilling
Drilling in Metal:
Under normal usage, swarf is carried up and away from the
tip of the drill bit by the fluting of the drill bit. The cutting edges
produce more chips which continue the movement of the chips
outwards from the hole. This is successful until the chips pack too
tightly, either because of deeper than normal holes or insufficient
backing off (removing the drill slightly or totally from the hole
while drilling). Cutting fluid is sometimes used to ease this
problem and to prolong the tool's life by cooling and lubricating
the tip and chip flow. Coolant may be introduced via holes
through the drill shank, which is common when using a gun drill.
When cutting aluminum in particular, cutting fluid helps ensure a
smooth and accurate hole while preventing the metal from
grabbing the drill bit in the process of drilling the hole.
For heavy feeds and comparatively deep holes oil-hole drills
can be used, with a lubricant pumped to the drill head through a
small hole in the bit and flowing out along the fluting. A
conventional drill press arrangement can be used in oil-hole
drilling, but it is more commonly seen in automatic drilling
machinery in which it is the work piece that rotates rather than the
drill bit.
Fig: 1 High speed steel twist bit drilling into aluminum with
methylated spirits lubricant.
Cut-Off Machine
Handling instructions
GENERAL OPERATIONAL PRECAUTIONS
WARNING! When using electric tools, basic safety precautions
should always be followed to reduce the risk of fire, electric shock
and personal injury, including the following.
Read all these instructions before operating this product and save
these instructions.
For safe operations:
1. Keep work area clean. Cluttered areas and benches invite
injuries.
2. Consider work area environment. Do not expose power tools
to rain. Do not use power tools in damp or wet locations. Keep
work area well lit.
Do not use power tools where there is risk to cause fire or
explosion.
3. Guard against electric shock. Avoid body contact with earthed
or grounded surfaces (e.g. pipes, radiators, ranges,
refrigerators).
4. Keep children away. Do not let visitors touch the tool or
extension cord. All visitors should be kept away from work
area.
5. Store idle tools. When not in use, tools should be stored in a
dry, high or locked up place, out of reach of children.
6. Do not force the tool. It will do the job better and safer at the
rate for which it was intended.
7. Use the right tool. Do not force small tools or attachments to
do the job of a heavy duty tool. Do not use tools for purposes
not intended; for example, do not use circular saw to cut tree
limbs or logs.
8. Dress properly. Do not wear loose clothing or jewellery, they
can be caught in moving parts. Rubber gloves and non-skid
footwear are recommended when working outdoors. Wear
protecting hair covering to contain long hair.
9. Use eye protection. Also use face or dust mask if the cutting
operation is dusty.
10. Connect dust extraction equipment.
If devices are provided for the connection of dust extraction
and collection facilities ensure these are connected and
properly used.
11. Do not abuse the cord. Never carry the tool by the cord or yank
it to disconnect it from the receptacle. Keep the cord away
from heat, oil and sharp edges.
12. Secure work. Use clamps or a vise to hold the work. It is safer
than using your hand and it frees both hands to operate tool.
13. Do not overreach. Keep proper footing and balance at all
times.
14. Maintain tools with care. Keep cutting tools sharp and clean
for better and safer performance. Follow instructions for
lubrication and changing accessories. Inspect tool cords
periodically and if damaged, have it repaired by authorized
service center. Inspect extension cords periodically and
replace, if damaged. Keep handles dry, clean, and free from
oil and grease.
15. Disconnect tools. When not in use, before servicing, and when
changing accessories such as blades, bits and cutters.
16. Remove adjusting keys and wrenches. Form the habit of
checking to see that keys and adjusting wrenches are removed
from the tool before turning it on.
17. Avoid unintentional starting. Do not carry a plugged-in tool
with a finger on the switch. Ensure switch is off when
plugging in.
18. Use outdoor extension leads. When tool is used outdoors, use
only extension cords intended for outdoor use.
19. Stay alert. Watch what you are doing. Use common sense. Do
not operate tool when you are tired.
20. Check damaged parts. Before further use of the tool, a guard
or other part that is damaged should be carefully checked to
determine that it will operate properly and perform its
intended function. Check for alignment of moving parts, free
running of moving parts, breakage of parts, mounting and any
other conditions that may affect its operation. A guard or other
part that is damaged should be properly repaired or replaced
by an authorized service center unless otherwise indicated in
this handling instructions. Have defective switches replaced
by an authorized service center. Do not use the tool if the
switch does not turn it on and off.
21. Warning
The use of any accessory or attachment, other than those
recommended in this handling instructions, may present a risk
of personal injury.
22. Have your tool repaired by a qualified person. This electric
tool is in accordance with the relevant safety requirements.
Repairs should only be carried out by qualified persons using
original spare parts. Otherwise this may result in
considerable danger to the user.
PRECAUTIONS ON USING CUT-OFF MACHINE
1. Before using it, ascertain that the cut-off wheel is not cracked
or split. Always make a trial run before use to confirm that the
Cut-off Machine does not involve abnormalities.
2. Use the normal cut-off wheel on its normal working surface.
3. Guard against cut-off sparks.
4. Properly replace the cut-off wheel.
5. Always pay attention that the cut-off wheel clamping parts are
never impaired. Defective parts will cause damage to the cut-
off wheel.
6. Ensure that the workpiece is free of foreign matter such as
nails.
SPECIFICATIONS
Voltage (by areas)*
(110V, 115V, 120V,
127V)
(220V, 230V,
240V)
Input 1640W* 2000W*
Max. cutting dimensions
90
° mm
45
°
100
106 mm
No-Load Speed 3800 /min
Be sure to check the nameplate on product as it is subject to
change by areas
STANDARD ACCESSORIES
(1) Cut-off wheel .............................. 1
(2) Hex. bar wrench .......................... 1
APPLICATION
Cutting of various metallic materials such as pipes, round bars
and shaped steel.
Max. working peripheral
speed 4800 m/min
Weight 16.5 kg
PRIOR TO OPERATION
1. Power source
Ensure that the power source to be utilized conforms to the
power requirements specified on the product nameplate.
2. Power switch
Ensure that the power switch is in the OFF position. If the plug
is connected to a receptacle while the power switch is in the
ON position, the power tool will start operating immediately,
which could cause a serious accident.
3. Extension cord
When the work area is removed from the power source, use
an extension cord of sufficient thickness and rated capacity.
The extension cord should be kept as short as practicable.
4. Install the machine on a level flat place, and keep it in a stable
condition. Prior to shipping, the equipment is subjected to a
rigid factory inspection to prevent electric shocks during
operation.
5. Since movable portions are secured by tension of a chain
while in transit, remove the chain from the chain hook by
slightly depressing the switch handle.
6. Ascertain that all cut-off wheels are in perfect condition, and
do not display scars and cracks.
7. Although they have been fully clamped at the factory prior to
delivery, reclamp the clamping nuts securely for safety.
8. Possible accidents such as a cracked cut-off wheel is
prevented by this protective cover (wheel cover). Although it
has been fully clamped at the factory prior to delivery,
securely reclamp the mounting screws for safety.
1. When replacing the cut-off wheel, ensure that the replacement
cutting wheel has a designed circumferential speed in excess
of 4800 m/min.
2. Ensure that the bar spanner used for tightening or removing
the cut-off wheel is not attached to the machine.
3. Ensure that the material is securely fastened with the vise. If
it is not, a serious accident could be caused if the material
comes loose or the cut-off wheel breaks during operation.
4. Continued cutting without noticing a cracked or split cut-off
wheel may prove to be very hazardous. Before starting
operation, make a trial run to confirm that no abnormalities
are involved.
Trial run periods:
When replacing the cut-off wheel Over 3 minutes. When
starting routine work. Over 1 minute.
13.Rotate the cut-off wheel to inspect any facial deflection. A
heavy deflection will cause the cut-off wheel to shift.
CUTTING PROCEDURES
CAUTION:
It is dangerous to remove or install the workpiece while the cut-
off wheel turning.
1. Operating the switch
The switch is switched on by manually pulling the trigger and
cut off by releasing the trigger to the original location. The
switch can operate continuously, even after releasing the
trigger, by pushing the stopper after pulling the trigger. The
stopper can be removed by pulling the trigger again and the
switch is cut off with the release of the trigger.
2. Cutting
3. Rotate the cut-off wheel, gently press down the handle, and
bring the cut-off wheel close to the cutting material.
4. When the cut-off wheel contacts the cutting material, gently
press down the handle further and start cutting.
5. When cutting (or designated slotting) is completed, raise the
handle and restore it to its original position.
6. At the termination of each cutting process, turn OFF the switch
to stop rotation and proceed with the subsequent cutting job.
CAUTION: It does not necessarily cut rapidly when putting
more force on the handle.
Vise (B)
Work piece material
Too much force on the handle will put excessive pressure on
the motor and reduce its capacity.
Do not fail to switch OFF the switch after operation is
completed and pull the plug out.
MOUNTING AND DISMOUNTING THE CUT-OFF
WHEEL
1. Dismounting the cut-off wheel (Fig. 1)
Vise (A)
Clutch
Screw handle
Fig. 2
(1) Press the stopper and loosen the bolt with a hex. bar
wrench.
CAUTION:
Vise (B)Work piece material. When the mounting shaft for cut-
off wheel cannot be
fixed with pressing the stopper, turn the bolt with a
hex. bar wrench while pressing the stopper. The
mounting shaft for cut-off wheel is fixed when the
stopper has been lowered.
(2) Remove the bolt, washer (A), and the wheel washer
and detach the cut-off wheel.
Stopper
Motor
Hex. bar wrench
Cut-off wheel
Fig. 1
2. Mounting the cut-off wheel
Throughly remove dust from the wheel washers and bolt then
mount the wheel by following the dismounting procedures in
reverse order.
CAUTION:
Confirm that the stopper which was used for installation and
removal of the cut-off wheel has returned to the retract position.
HOW TO OPERATE
1. Procedure for fixing the cutting material (Fig. 2 and 3)
Place the workpiece material between vise (A) and vise (B),
raise the clutch and push the screw handle to bring vise (A)
lightly into contact with the workpiece material, as shown in
Then, turn the clutch down, and securely fix the workpiece
material in position by turning the screw handle. When the
cutting job is completed, turn the screw handle 2 or 3 times to
loosen the vise, and remove the workpiece material.
CAUTION:
Never remove or install a workpiece material while the cut-off
wheel is rotating, to avoid personal injury.
2. Cutting at angles (Fig. 4 and 5)
(1) The machine permits cutting at angles of 45° or 60°.
(2) Loosen the two M10 hexagon socket head bolts on the
vice (B), then set the working surface on the vice-jaw at any
angles of 0°, 30°, or 45° as shown in Fig. 5. Upon completion
of setting, securely tighten the two M10 hexagon socket head
bolts.
90
°
60° 45°
Fig. 4
3
(3) When wide material is cut with angle, it will be firmly
camped by fixing a steel board like Fig. 6 to the vise
(B).
1. Replacing a cut-off wheel
When the cut-off wheel has already become dull while
continually using, the unnecessary load is got from
120
mm
45 mm
28
6 mm
nuts
mm
Vise (B) 2 - 6.5 mm
2. Inspecting the carbon brushes (Fig. 9)
The motor employs carbon brushes which are
consumable parts. Since an excessively worn carbon
brush can result in motor trouble, replace the carbon
brush with a new one having the same carbon brush
No. shown in the figure when it becomes worn to or
near the “wear limit”. In addition, always keep carbon
brushes clean and ensure that they slide freely within
the brush holders.
3. Moving the stationary vise-jaw
The vise opening is set at the maximum of 170 mm when
shipped from the factory. In case an opening of more than 170
mm is required, move the vise to the position shown by the
chain line after unscrewing the two bolts. The maximum
opening can be set in two steps 205 mm and 240 mm. When
the cutting material is excessively wide, the vise can be
effectively used by repositioning the stationary side of the vise-
jaws.
4. How to use metallic block
When the cut-off wheel has a reduced outer diameter, insert
between the vise (A) and (B) a metallic block slightly smaller
than the dimension of workpiece being cut to use the cut-off
wheel economically.
MAINTENANCE AND INSPECTION
CAUTION:
Be sure to switch off and pull off the plug from the power outlet
before inspection and maintenance.
44
3. Inspecting the mounting screws
Regularly inspect all mounting screws and ensure that they are
properly tightened. Should any of the screws be loose, retighten
them immediately. Failure to do so could result in serious
hazard.
4. Lubrication
Supply oil in the following oil supply points once a month so
as to keep the machine workable for a long time.
Oil supply points
Rotary part of shaft Rotary part of vise
Slide way of vise (A)
5. Cleaning
Wipe off chip and waste adhered to the machine with a cloth or
the like time to time. Be careful not to make the motor portion
wet with oil or water.
6. Service parts list
CAUTION:
Repair, modification and inspection of Hitachi Power Tools
must be carried out by an Hitachi Authorized Service Center.
This Parts List will be helpful if presented with the tool to the
Hitachi Authorized Service Center when requesting repair or
other maintenance.
In the operation and maintenance of power tools, the safety
regulations and standards prescribed in each country must be
observed.
MODIFICATIONS:
Hitachi Power Tools are constantly being improved and
modified to incorporate the latest technological advancements.
Accordingly, some parts (i.e. code numbers and/or design) may
be changed without prior notice.
ITE
M
PART
NAME
NO
.
4 SUB COVER (A)
5 NUT M5
6
MACHINE SCREW
(W/WASHERS) M5 1
6
7
FLANGE BOLT
(A)
8 COVER SPACER
11
HEX. SOCKET
20
12 WASHER (A)
13
WHEEL WASHER
(A)
14
CUT-OFF WHEEL
ASS’Y
16
MACHINE
17
SPRING WASHER
M5
18 COVER BUSH
19
WHEEL COVER
(A)
20 HITACHI LABEL
21
BOLT WASHER
M5
25
BOLT WASHER
M10
26 SPINNDLE ASS’Y
27
BALL BEARING
6306ZZCM
28 BEARING PLATE
29 BALL BEARING
30
SEAL LOCK HEX.
SOCKET SET SCREW 1
6
31 CHAIN HOOK
32 GEAR CASE
33
BALL BEARING
6002VVCM
34
RETAINING RING
FOR D15 SHAFT
35
ARMATURE
ASS’Y
36 FAN GUIDE
37 BALL BEARING
38 GAUGE SPRING
39
RETAINING RING (E-
TYPE) FOR D6 SHAFT
40 STOPPER PIN
41 TUBE(D)
42
HEX. HD.
TAPPNG SCREW
43 STATOR ASS’Y
44
BRUSH
TERMINAL
45
MACHINE SCREW
(W/WASHERS) M5 3
5
46 NAME PLATE
47 HOUSING ASS’Y
48
HEX. E5SOCKET
8
49 BRUSH HOLDER
50 CARBON BRUSH
51 BRUSH CAP
52 SPRING
53 HANDLE
54 SWITCH
55
TAPPING SCREW
(W/FLANGE)
60 HANDLE COVER
61
TAPPING SCREW
(W/FLANGE) D4
1
6
63 TUBE(D)
64 CORD CLIP
65
TAPPING SCREW
(W/FLANGE) D4 1
6
66 CORD ARMOR
67 CORD
68 VISE ASS’Y
69 SCREW
70 SCREW HOLDER
71
HEX. SOCKET HD.
BOLT (W/WASHERS)
25
ITE
M
PART
NAME
NO
.
72 CHAIN
73 BOLT WASHER M8
74 BOLT
75
SPLITP
IN D3 1
5
76
WASH
ER M16
77
ROLL
PIN D5 2
5
78
VISE
(B)
79
HINGE
SHAFT
80
BASE
RUBBE
R
81 BASE
82
NUT
M8
83 SPRING WASHER M8
84
SPARK
CHUTE
85
HEX. SOCKET HD. BOLT M8
Arc-Welding
Introduction
Arc welding is the fusion of two pieces of metal by an electric arc between the pieces being
joined – the work pieces – and an electrode that is guided along the joint between the pieces.
The electrode is either a rod that simply carries current between the tip and the work, or a rod
or wire that melts and supplies filler metal to the joint.
The basic arc welding circuit is an alternating current (AC) or direct current (DC) power source
connected by a “work” cable to the work piece and by a “hot” cable to an electrode. When the
electrode is positioned close to the work piece, an arc is created across the gap between the
metal and the hot cable electrode. An ionized column of gas develops to complete the circuit.
Basic Welding Circuit
The arc produces a temperature of about 3600°C at the tip and melts part of the metal being
welded and part of the electrode. This produces a pool of molten metal that cools and solidifies
behind the electrode as it is moved along the joint.
There are two types of electrodes. Consumable electrode tips melt, and molten metal droplets
detach and mix into the weld pool. Non-consumable electrodes do not melt. Instead, filler metal
is melted into the joint from a separate rod or wire.
The strength of the weld is reduced when metals at high temperatures react with oxygen and
nitrogen in the air to form oxides and nitrides. Most arc welding processes minimize contact
between the molten metal and the air with a shield of gas, vapour or slag. Granular flux, for
example, adds deoxidizers that create a shield to protect the molten pool, thus improving the
weld.
Advances in Welding Power Source Design and Efficiency
The electricity-consuming device – the key component of the arc welding apparatus – is the
power source. Electrical consumption from the approximately 110 000 to 130 000 arc welding
machines in use in Canada is estimated at 100 GWh a year.
In the past, power sources used transformer-rectifier equipment with large step-down
transformers that made them heavy and prone to overheating. They can be used for only one
function, i.e., one type of welding. In the 1990s, advances in power switching semiconductors
led to the development of inverter power sources that are multi-functional, lighter, more
flexible and that provide a superior arc.
Welding power sources use electricity when welding (arc -on) and when idling. Earlier
transformer-rectifier equipment had energy conversion efficiencies that ranged from 40 to 60
percent and required idling power consumption of 2 to 5 kW. Modern inverter power sources
have energy conversion efficiencies near 90 percent, with idling power consumption in the
order of 0.1 kW.
Modern inverter power sources are gradually replacing transformer-rectifier units. They
combine a quick return on investment, and, compared with transformer-rectifier units, are far
more portable and easier to operate, are multi-functional rather than mono-functional, create
superior arcs and combine higher-quality welds with longer arc-on time.
The Five Most Common Arc Welding Processes
Process Known Electrodes Shielding Operator
Popularit
y
as skill
required
Shielded SMAW
Rigid
metal Stick Low
Diminishi
ng
metal arc or stick coatings
welding
Gas metal arc GMAW Solid wire CO2 gas Low Growing
welding or MIG
Flux core arc FCAW
Hollow
wire Core Low Growing
welding or MIG materials
Gas tungsten GTAW Tungsten Argon gas High Steady
arc welding or TIG
Submerged SAW Solid wire Argon gas High Steady
arc welding
Power sources produce DC with the electrode either positive or negative, or AC. The choice of
current and polarity depends on the process, the type of electrode, the arc atmosphere and the
metal being welded.
Energy Efficiency of the Power Source
• Modern inverter power sources have high energy-conversion efficiencies and can be
50 percent more efficient than transformer-rectifier power sources.
16. Modern inverter power sources for idling power requirements are 1/20th of
conventional transformer-rectifier power sources.
17. Modern inverter power sources have power factors that are close to 100 percent;
transformer-rectifier power source percentages are much lower, which reduces
electricity consumption.
18. Modern inverter power sources are four times lighter and much smaller than
transformer-rectifier power sources. They are thus more portable and can be moved by
one person instead of four, making it possible to bring the welding equipment to the
job, not vice versa.
19. Modern inverter power sources are multi-functional and can be used for GMAW,
FCAW, SMAW and GTAW.
How Much Will I Save?
Assumptions
Work time Two shifts of eight hours for 250 days
a year (4000 hours)
Operating
factor 40 percent
Arc-on time 1600 hours per year
Idling time 2400 hours per year
Cost per kWh $0.12
Welding
process SMAW (Shielded metal arc welding)
Output power 300 amps at 32 volts – 9.6 kW
Inverter-Based Power Source Transformer-Rectifier Power
Source
Weight: 34 kg Weight: 126 kg
Energy conversion efficiency: Energy conversion efficiency:
78.7% 51.6%
Arc-on power: 10.4
kW
Arc-on power: 18.6
kW
Idling power: 0.06 kW
Idling power: 0.87
kW
Operating Electricity
Cost Operating Electricity Cost
Welding time $1,996.80 Welding time $3,571.20
Idling time $16.42 Idling time $250.56
Annual
electricity $2,013.22
Annual
electricity $3,821.76
cost cost
Annual
electricity $1,808.54
saving
Investment Investment
Purchase price $5,609 Purchase price $4,428
Price difference $1,181
Payback period
8
months
The break-even point for investment in an inverter power source equipment occurs
approximately eight months after purchase. From then on, annual energy costs will remain
lower.
Purchasing Tips
Find the lowest-powered inverter power source that is most appropriate to your application.
23. If you need process flexibility, choose multi-process equipment.
24. Look for a power factor of 99 percent or higher.
25. Look for an energy conversion efficiency (kVA out over kVA in) near 80 percent.
26. Look for idling power consumption of less than 0.1 kW.
27. Buy from a reliable supplier who provides field maintenance and at least a two-year,
all-parts warranty.
28. Check manufacturers' Web sites for warranty information.
29. Shop for competitive prices.
Operation Tips
Arc welding requires an operator and a power source. Both the operator and the equipment
have roles to play in making the welding process more energy efficient.
Some Important Definitions
Arc-on time: When the welder holds an arc between the electrode and the
work piece Idling time: When welding equipment is ready for use but is not
generating an arc
Operating factor: The ratio of arc-on time to the total time worked, often expressed as a
percentage:
Work time: Convention is to assume total annual work time of 4000 hours (two shifts).
Power Efficiency
Welding power sources draw power when idling. Efficiency is greater when idling is reduced
and the operating factor is close to 100 percent. The higher the operating factor, the more
efficient the process. The following are ways to improve efficiency:
7. Use the most efficient welding process. Use gas metal arc welding (GMAW) instead
of shielded metal arc welding (SMAW). Typically, operating factors for SMAW fall
between 10 to 30 percent; operating factors for GMAW fall between 30 to 50 percent.
8. Use multi-process inverter power sources. Modern inverter power sources can be
used for several welding processes and save time and effort when switching processes.
For example, the Miller XTM 304 can be used for GMAW, FCAW, SMAW and
GTAW.
9. Automate when possible. Manage repetitive operations by applying advances in
automation and computer programming.
• Reduce idling time. Cut the time spent on pre-welding tasks such as assembly,
positioning, tacking and cleaning, and on follow-up operations, such as slag removal
and defect repair. Position the work to allow down-hand welding. Experience has
shown that down-hand (vertical high to low) welding is faster, easier on the operator
and more error-free than other techniques.
• Train the welder. Well-trained welders work better and faster and are usually
conscious of energy savings opportunities.
Power Source Performance
Certain characteristics determine the energy efficiency of power sources:
9. Power factor: Power factor is the ratio of “real” electrical power made available by the
welding power source for producing a welding arc (the power you can use) to the
"apparent" electrical power supplied by the utility (the power you pay for). The older
technology of transformer-rectifier power sources can have power factors in the order
of 75 percent; modern inverter power sources have power factors close to 100 percent.
10. Arc-on power and idling power: Transformer-rectifier power sources use more power
in arc-on and idling modes than modern inverter power sources do with the same
output.
The following table shows that the average annual electrical energy required by a typical
transformer-rectifier source is five to nine times the energy required by an inverter power
source for the same job. In other words, the inverter source uses only 10 to 20 percent of the
power needed by a transformer-rectifier source.
Power Process Apparent Apparent Operating Annual
Source Arc-On Idling Factor Energy
Power Power (OF) Required
(kW) (kW) (kWh)
Transformer SMAW 10.26 4.86 10% 18 600
– rectifier (stick) 10.26 4.86 30% 25 920
Inverter SMAW 3.91 0.12 10% 1 996
(stick) 3.91 0.12 30% 5 028
To compare the performance of power sources use the following formula:
The kVA input and output values for power sources at rated outputs can be found in
manufacturers' equipment data sheets.
COMMON ELECTRIC ARC WELDING
PROCESSES Shielded metal arc welding:
Shielded Metal Arc Welding, also known as manual metal arc welding, stick welding, or
electric arc welding, is the most widely used of the various arc welding processes. Welding is
performed with the heat of an electric arc that is maintained between the end of a coated metal
electrode and the work piece (See Figure below).
The heat produced by the arc melts the base metal, the electrode core rod, and the coating. As
the molten metal droplets are transferred across the arc and into the molten weld puddle, they
are shielded from the atmosphere by the gases produced from the decomposition of the flux
coating. The molten slag floats to the top of the weld puddle where it protects the weld metal
from the atmosphere during solidification.
Other functions of the coating are to provide arc stability and control bead shape. More
information on coating functions will be covered in subsequent lessons.
Equipment & Operation - One reason for the wide acceptance of the SMAW process is the
simplicity of the necessary equipment. The equipment consists of the following items. (See
Figure below)
5. Welding power source
6. Electrode holder
7. Ground clamp
8. Welding cables and connectors
9. Accessory equipment (chipping hammer, wire brush)
10. Protective equipment (helmet, gloves, etc.)
Welding Power Sources - Shielded metal arc welding may utilize either alternating current
(AC) or direct current (DC), but in either case, the power source selected must be of the constant
current type. This type of power source will deliver a relatively constant amperage or welding
current regardless of arc length variations by the operator. The amperage determines the
amount of heat at the arc and since it will remain relatively constant, the weld beads produced
will be uniform in size and shape. Whether to use an AC, DC, or AC/DC power source depends
on the type of welding to be done and the electrodes used. The following factors should be
considered:
Electrode Selection - Using a DC power source allows the use of a greater range of electrode
types. While most of the electrodes are designed to be used on AC or DC, some will work
properly only on DC.
Metal Thickness - DC power sources may be used for welding both heavy sections and light
gauge work. Sheet metal is more easily welded with DC because it is easier to strike and
maintain the DC arc at low currents.
Distance from Work - If the distance from the work to the power source is great, AC is the
best choice since the voltage drop through the cables is lower than with DC. Even though
welding cables are made of copper or aluminum (both good conductors), the resistance in the
cables becomes greater as the cable length increases. In other words, a voltage reading taken
between the electrode and the work will be somewhat lower than a reading taken at the output
terminals of the power source. This is known as voltage drop.
Welding Position - Because DC may be operated at lower welding currents, it is more suitable
for overhead and vertical welding than AC. AC can successfully be used for out-of-position
work if proper electrodes are selected.
Arc Blow - When welding with DC, magnetic fields are set up throughout the weldment. In
weldments that have varying thickness and protrusions, this magnetic field can affect the arc
by making it stray or fluctuate in direction. This condition is especially troublesome when
welding in corners. AC seldom causes this problem because of the rapidly reversing magnetic
field produced. Combination power sources that produce both AC and DC are available and
provide the versatility necessary to select the proper welding current for the application. When
using a DC power source, the question of whether to use electrode negative or positive polarity
arises. Some electrodes operate on both DC straight and reverse polarity, and others on DC
negative or DC positive polarity only. Direct current flows in one direction in an electrical
circuit and the direction of current flow and the composition of the electrode coating will have
a definite effect on the welding arc and weld bead.
Figure below shows the connections and effects of straight and reverse polarity.
While polarity affects the penetration and burn-off rate, the electrode coating also has a strong
influence on arc characteristics. Performance of individual electrodes will be discussed in
succeeding lessons.
Electrode Holder - The electrode holder connects to the welding cable and con- ducts the
welding current to the electrode. The insulated handle is used to guide the electrode over the
weld joint and feed the electrode over the weld joint and feed the electrode into the weld puddle
as it is consumed. Electrode holders are available in different sizes and are rated on their current
carrying capacity.
Ground Clamp - The ground clamp is used to connect the ground cable to the work piece. It
may be connected directly to the work or to the table or fixture upon which the work is
positioned. Being a part of the welding circuit, the ground clamp must be capable of carrying
the welding current without overheating due to electrical resistance.
Welding Cables - The electrode cable and the ground cable are important parts of the welding
circuit. They must be very flexible and have a tough heat-resistant insulation. Connections at
the electrode holder, the ground clamp, and at the power source lugs must be soldered or well
crimped to assure low electrical resistance. The cross-sectional area of the cable must be
sufficient size to carry the welding current with a minimum of voltage drop. Increasing the
cable length necessitates increasing the cable diameter to lessen resistance and voltage drop.
Coated Electrodes - Various types of coated electrodes are used in shielded metal arc welding.
Electrodes used for welding mild or carbon steels are quite different than those used for welding
the low alloys and stainless steels. Details on the specific types will be covered in subsequent
lessons.
Gas Tungsten Arc Welding is a welding process performed using the heat of an arc established
between a nonconsumable tungsten electrode and the work piece.
The electrode, the arc, and the area surrounding the molten weld puddle are protected from the
atmosphere by an inert gas shield. The electrode is not consumed in the weld puddle as in
shielded metal arc welding. If a filler metal is necessary, it is added to the leading the molten
puddle. Gas tungsten arc welding produces exceptionally clean welds no slag is produced, the
chance inclusions in the weld metal is and the finished weld requires virtually no cleaning.
Argon and Helium, the primary shielding gases employed, are inert gases. Inert gases do not
chemically combine with other elements and therefore, are used to exclude the reactive gases,
such as oxygen and nitrogen, from forming compounds that could be detrimental to the weld
metal. Gas tungsten arc welding may be used for welding almost all metals — mild steel, low
alloys, stainless steel, copper and copper alloys, aluminum and aluminum alloys, nickel and
nickel alloys, magnesium and magnesium alloys, titanium, and others. This process is most
extensively used for welding aluminum and stainless steel alloys where weld integrity is of the
utmost importance. Another use is for the root pass (initial pass) in pipe welding, which requires
a weld of the highest quality. Full penetration without an excessively high inside bead is
important in the root pass, and due to the ease of current control of this process, it lends itself
to control of back-bead size. For high quality welds, it is usually necessary to provide an inert
shielding gas inside the pipe to prevent oxidation of the inside weld bead.
Gas tungsten arc welding lends itself to both manual and automatic operation. In manual
operation, the welder holds the torch in one hand and directs the arc into the weld joint. The
filler metal is fed manually into the leading edge of the puddle. In automatic applications, the
torch may be automatically moved over a stationary work piece or the torch may be stationary
with the work moved or rotated in relation to the torch. Filler metal, if required, is also fed
automatically.
Equipment and Operation - Gas tungsten arc welding may be accomplished with relatively
simple equipment, or it may require some highly sophisticated components. Choice of
equipment depends upon the type of metal being joined, the position of the weld being made,
and the quality of the weld metal necessary for the application. The basic equipment consists
of the following:
14. The power source
15. Electrode holder (torch)
16. Shielding gas
17. Tungsten electrode
18. Water supply when necessary
19. Ground cable
20. Protective equipment
Power Sources - Both AC and DC power sources are used in gas tungsten arc welding. They
are the constant current type with a drooping volt-ampere curve. This type of power source
produces very slight changes in the arc current when the arc length (voltage) is varied.
The choice between an AC or DC welder depends on the type and thickness of the metal to be
welded. Distinct differences exist between AC and DC arc characteristics, and if DC is chosen,
the polarity also becomes an important factor. The effects of polarity in GTAW are directly
opposite the effects of polarity in SMAW. In SMAW, the distribution of heat between the
electrode and work, which determines the penetration and weld bead width, is controlled
mainly by the ingredients in the flux coating on the electrode. In GTAW where no flux coating
exists, heat distribution between the electrode and the work is controlled solely by the polarity.
The choice of the proper welding current will be better understood by analyzing each type
separately.
Direct current electrode negative (DCEN) is produced when the electrode is connected to
the negative terminal of the power source. Since the electrons flow from the electrode to the
plate, approximately 70% of the heat of the arc is concentrated at the work, and approximately
30% at the electrode end. This allows the use of smaller tungsten elec- trodes that produce a
relatively narrow concentrated arc. The weld shape has deep penetra- tion and is quite narrow.
Direct current electrode negative is suitable for weld- ing most metals. Magnesium and
aluminum have a refractory oxide coating on the surface that must be physically removed
immediately prior to welding if DCSP is to be used.
Direct current electrode positive (DCEP) is produced when the electrode is connected to the
positive terminal of the welding power source. In this condition, the electrons flow from the
work to the electrode tip, concentrating approximately 70% of the heat of the arc at the
electrode and 30% at the work. This higher heat at the electrode necessitates using larger
diameter tungsten to prevent it from melting and contaminating the weld metal. Since the
electrode diameter is larger and the heat is less concentrated at the work, the resultant weld
bead is relatively wide and shallow.
Direct current electrode positive is rarely used in gas -tungsten arc welding. Despite the excellent
oxide cleaning action, the lower heat input in the weld area makes it a slow process, and in metals
having higher thermal conductivity, the heat is rapidly conducted away from the weld zone. When
used, DCEP is restricted to welding thin sections (under 1/8") of magnesium and aluminum.
Alternating current is actually a combination of DCEN and DCEP and is widely used for welding
aluminum. In a sense, the advantages of both DC processes are combined, and the weld bead
produced is a compromise of the two. Remember that when welding with 60 Hz current, the
electron flow from the electrode tip to the work reverses direction 120 times every second.
Thereby, the intense heat alternates from electrode to work piece, allowing the use of an
intermediate size electrode. The weld bead is a compromise having medium penetration and bead
width. The gas ions blast the oxides from the surface of aluminum and magnesium during the
positive half cycle.
DC constant current power sources - Constant current power sources, used for shielded metal
arc welding, may also be used for gas-tungsten arc welding. In applications where weld integrity
is not of utmost importance, these power sources will suffice. With machines of this type, the arc
must be initiated by touching the tungsten electrode to the work and quickly withdrawing it to
maintain the proper arc length. This starting method contaminates the electrode and blunts the
point which has been grounded on the electrode end. These conditions can cause weld metal
inclusions and poor arc direction. Using a power source designed for gas tungsten arc welding
with a high frequency stabilizer will eliminate this problem. The electrode need not be touched to
the work for arc initiation. Instead, the high frequency voltage, at very low current, is superimposed
onto the welding current. When the electrode is brought to within approximately 1/8 inch of the
base metal, the high frequency ionizes the gas path, making it conductive and a welding arc is
established. The high frequency is automatically turned off immediately after arc initiation when
using direct current.
AC Constant Current Power Source - Designed for gas tungsten arc welding, always
incorporates high frequency, and it is turned on throughout the weld cycle to maintain a stable arc.
When welding with AC, the current passes through 0 twice in every cycle and the must be
reestablished each time it does so. The oxide coating on metals, such as aluminum and magnesium,
can act much like a rectifier.. The positive half-cycle will be eliminated if the arc does not reignite,
causing an unstable condition. Continuous high frequency maintains an ionized path for the
welding arc, and assures arc re- ignition each time the current changes direction. AC is extensively
used for welding aluminum and magnesium.
AC/DC Constant Current Power Sources - Designed for gas tungsten arc welding, are available,
and can be used for welding practically all metals. The gas tungsten arc welding process is usually
chosen because of the high quality welds it can produce. The metals that are commonly welded
with this process, such as stainless steel, aluminum and some of the more exotic metals, cost many
times the price of mild steel; and therefore, the power sources designed for this process have many
desirable features to insure high quality welds. Among these are:
3. Remote current control, which allows the operator to control welding amperage with a
hand control on the torch, or a foot control at the welding station.
4. Automatic soft-start, which prevents a high current surge when the arc is initiated.
5. Shielding gas and cooling water solenoid valves, which automatically control flow
before, during and for an adjustable length of time after the weld is completed.
6. Spot-weld timers, which automatically control all elements during each spot-weld cycle.
Other options and accessories are also available.
Power sources for automatic welding with complete programmable output are also available. Such
units are used extensively for the automatic welding of pipe in position. The welding current is
automatically varied as the torch travels around the pipe. Some units provide a pulsed welding
current where the amperage is automatically varied between a low and high several times per
second. This produces welds with good penetration and improved weld bead shape.
Torches - The torch is actually an electrode holder that supplies welding current to the tungsten
electrode, and an inert gas shield to the arc zone. The electrode is held in a collet-like clamping
device that allows adjustment so that the proper length of electrode pro- trudes beyond the
shielding gas cup. Manual torches are designed to accept electrodes of 3 inch or 7 inch lengths.
Torches may be either air or water-cooled. The air-cooled types actually are cooled to a degree by
the shielding gas that is fed to the torch head through a compos- ite cable. The gas actually
surrounds the copper welding cable, affording some degree of cooling. Water-cooled torches are
usually used for applications where the welding current exceeds 200 amperes. The water inlet hose
is connected to the torch head. Circulating around the torch head, the water leaves the torch via
the current-in hose and cable assembly. Cooling the welding cable in this manner allows the use
of a smaller diameter cable that is more flexible and lighter in weight.
The gas nozzles are made of ceramic materials and are available in various sizes and shapes. In
some heavy duty, high current applications, metal water-cooled nozzles are used.
A switch on the torch is used to energize the electrode with welding current and start the shielding
gas flow. High frequency current and water flow are also initiated by this switch if the power
source is so equipped. In many installations, these functions are initiated by a foot control that also
is capable of controlling the welding current. This method gives the operator full control of the
arc. The usual welding method is to start the arc at a low current, gradually increase the current
until a molten pool is achieved, and welding begins. At the end of the weld, current is slowly
decreases and the arc extinguished, preventing the crater that forms at the end of the weld when
the arc is broken abruptly.
Shielding Gases - Argon and helium are the major shielding gases used in gas tungsten arc
welding. In some applications, mixtures of the two gases prove advantageous. To a lesser extent,
hydrogen is mixed with argon or helium for special applications.
Argon and helium are colorless, odorless, tasteless and nontoxic gases. Both are inert gases, which
means that they do not readily combine with other elements. They will not burn nor support
combustion. Commercial grades used for welding are 99.99% pure. Argon is .38% heavier than
air and about 10 times heavier than helium. Both gases ionize when present in an electric arc. This
means that the gas atoms lose some of their electrons that have a negative charge. These
unbalanced gas atoms, properly called positive ions, now have a positive charge and are attracted
to the negative pole in the arc. When the arc is positive and the work is negative, these positive
ions impinge upon the work and remove surface oxides or scale in the weld area.
Argon is most commonly used of the shielding gases. Excellent arc starting and ease of use make
it most desirable for manual welding. Argon produces a better cleaning action when welding
aluminum and magnesium with alternating current. The arc produced is relatively narrow. Argon
is more suitable for welding thinner material. At equal amperage, helium produces a higher arc
voltage than argon. Since welding heat is the product of volts times amperes, helium produces
more available heat at the arc. This makes it more suitable for welding heavy sections of metal that
have high heat conductivity, or for automatic welding operations where higher welding speeds are
required.
Argon-helium gas mixtures are used in applications where higher heat input and the desirable
characteristics of argon are required. Argon, being a relatively heavy gas, blankets the weld area
at lower flow rates. Argon is preferred for many applications because it costs less than helium.
Helium, being approximately 10 times lighter than argon, requires flow rates of 2 to 3 times that
of argon to satisfactorily shield the arc.
Electrodes - Electrodes for gas tungsten arc welding are available in diameters from .010" to 1/4"
in diameter and standard lengths range from 3" to 24". The most commonly used sizes, however,
are the .040", 1/16", 3/32", and 1/8" diameters.
The shape of the tip of the electrode is an important factor in gas tungsten arc welding. When
welding with DCEN, the tip must be ground to a point. The included angle at which the tip is
ground varies with the application, the electrode diameter, and the welding current. Narrow joints
require a relatively small included angle. When welding very thin material at low currents, a
needlelike point ground onto the smallest available electrode may be necessary to stabilize the arc.
Properly ground electrodes will assure easy arc starting, good arc stability, and proper bead width.
When welding with AC, grinding the electrode tip is not necessary. When proper welding current
is used, the electrode will form a hemispherical end. If the proper welding current is exceeded, the
end will become bulbous in shape and possibly melt off to contaminate the weld metal.
The American Welding Society has published Specification AWS A5.12-80 for tungsten arc
welding electrodes that classifies the electrodes on the basis of their chemical composition, size
and finish. Briefly, the types specified are listed below:
7. Pure Tungsten (AWS EWP) Color Code: Green Used for less critical applications. The cost
is low and they give good results at relatively low currents on a variety of metals. Most stable arc
when used on AC, either balanced wave or continuous high frequency.
8. 1% Thoriated Tungsten (AWS EWTh-1) Color Code: Yellow Good current carrying
capacity, easy arc starting and provide a stable arc. Less susceptible to contamination. Designed
for DC applications of nonferrous materials.
3. 2% Thoriated Tungsten (AWS EWTh-2) Color Code: Red Longer life than 1% Thoriated
electrodes. Maintain the pointed end longer, used for light gauge critical welds in aircraft work.
Like 1%, designed for DC applications for nonferrous materials.
4. 5% Thoriated Tungsten (AWS EWTh-3) Color Code: Blue Sometimes called "striped"
electrode because it has 1.0-2.0% Thoria inserted in a wedge-shaped groove throughout its length.
Combines the good properties of pure and thoriated electrodes. Can be used on either AC or DC
applications.
5. Zirconia Tungsten (AWS EWZr) Color Code: Brown Longer life than pure tungsten. Better
performance when welding with AC. Melts more easily than thoriam-tungsten when forming
rounded or tapered tungsten end. Ideal for applications where tungsten contamination must be
minimized.
ADVANTAGES
 Efficiency is very high.
 Precision is high.
 Quality is good with low failure rate.
 Overall cost of this Robotic arm system is low.
 Reliable operation and maintenance.
 Reduces Manual Work
APPLICATIONS
The system has a number of applications in various fields, as it provides colour sorting of objects.
This project is successful as it separates different objects according to their colour. It is a sensor-
based system which sorts an object according to its colour and then performs the pick and place
functions for the object. An application to the system is also object detection and colour
recognition, which are the two main steps in the sensing part. In case of Man work, it is a biggest
task to sort the objects with high efficiency and quality, which results in lack of accuracy in the
work. The system has an important application in the Farm Management. Here the various types
of fruits can be categorized and separated and then pick and place task can be executed to place
them in their particular places. Products like grains, apples, lemons, oranges, etc and various types
of fruits are arranged efficiently. In big industries sorting of different objects and tools is an
important application.
CONCLUSION
Fully functional sorter machine can be
implemented by using a structure of parallel and independentchannels in order to increase the overall
throughputwhich results with a forecasted performance.
The project can work successfully. There are two mainsteps in sensing part, objects detection
andrecognition.Thesystemcansuccessfullyperformhandlingstationtask,namelypickandplacemechanismwith
help of sensor. Thus a cost effectiveMechatronics system can be designed using thesimplest concepts and
efficient result can beobserved.
REFERENCES
[1] AlessandroGolfarelli, RossanoCodeluppi and MarcoTartagni, “A Self-Learning Multi-
Sensing SelectionProcess:MeasuringObjectsOnebyOneby”,ARCES–LYRAS LAB University of
Bologna, Campus of Forlì, 1-4244-1262-5/07/$25.00 ©2007 IEEE, IEEE SENSORS2007
Conference.
[2] Sahu, S., Lenka, P.; Kumari, S.; Sahu, K.B.; Mallick, B.;“Designacolour
sensor:Applicationtorobothandlingradiation work”, Vol. 56, No. 10, pp. 365- 368, 2007,Industrial.
Engineering.
[3] www.google.com/microepsilon.com/catcolorsensor—e
[4] www.shortcourse.com/www.sensors.com/optical/imagesensors
[5] wwwgoogle.com/wisegeek.com/whatis opticalsensors.htmwww.google.com/osa.org/sensors
[6] www.pdfgenicom/compacsort.com/sorters
[7] www.pdfgenicom/indiamart.com/sorting machine

IR and Metal senosors Based Product Sorting.docx

  • 1.
    CONTENTS TOPIC ABSTRACT LIST OF FIGURES 1.INTRODUCTION 1.1 Introduction of the project 1.2 Objective of Project 2. EMBEDDED SYSTEMS 2.1. Introduction 2.2 Need of Embedded systems 2.3 Explanation of Embedded systems 3. HARDWARE DESCRIPTION 3.1. Regulated Power Supply 3.2 Microcontroller 3.3 DC Motor 3.4 IR sensor
  • 2.
    3.5 Mental sensor 3.6Conveyor belt 3.7 Four bar link mechnism 4. SOFTWARE DESCRIPTION 5. Tools 6. Advantages 7. Applications 8. Conclusion 9. Referance
  • 3.
  • 4.
    CHAPTER 1 INTRODUCTION 1.1 ABSTRACT Nowa day’s industrial area requires demand for automation.Due to automation human efforts are goes on decreasing since last decade. The object sorting based on colour is difficult task in recent days.In industry there is rapidly increasing demands for automation.The Sorting of objects based on colour is very difficult task. This project gives us an idea about automatic colour sorting. Here we are designing and implementing an efficient colour sorting using colour sensor TCS3200 based on Arduino UNO. This project gives high accuracy and performance. Easy to operate and construct which reduces human errors. Existing sorting method uses a set of inductive, capacitive and optical sensors do differentiate object colour.
  • 5.
  • 6.
    CHAPTER 2 EMBEDDED SYSTEM Anembedded system can be defined as a computing device that does a specific focused job. Appliances such as the air- conditioner, VCD player, DVD player, printer, fax machine, mobile phone etc. are examples of embedded systems. Each of these appliances will have a processor and special hardware to meet the specific requirement of the application along with the embedded software that is executed by the processor for meeting that specific requirement. The embedded software is also called “firm ware”. The desktop/laptop computer is a general purpose computer. You can use it for a variety of applications such as playing games, word processing, accounting, software development and so on. In contrast, the software in the embedded systems is always fixed listed below: · Embedded systems do a very specific task, they cannot be programmed to do different things. . Embedded systems have very limited resources, particularly the memory. Generally, they do not have secondary storage devices such as the CDROM or the floppy disk. Embedded systems have to work against some
  • 7.
    deadlines. A specificjob has to be completed within a specific time. In some embedded systems, called real-time systems, the deadlines are stringent. Missing a deadline may cause a catastrophe-loss of life or damage to property. Embedded systems are constrained for power. As many embedded systems operate through a battery, the power consumption has to be very low. · Some embedded systems have to operate in extreme environmental conditions such as very high temperatures and humidity. Application Areas Nearly 99 per cent of the processors manufactured end up in embedded systems. The embedded system market is one of the highest growth areas as these systems are used in very market segment- consumer electronics, office automation, industrial automation, biomedical engineering, wireless communication, data communication, telecommunications, transportation, military and so on. Consumer appliances:
  • 8.
    At home weuse a number of embedded systems which include digital camera, digital diary, DVD player, electronic toys, microwave oven, remote controls for TV and air-conditioner, VCO player, video game consoles, video recorders etc. Today’s high-tech car has about 20 embedded systems for transmission control, engine spark control, air-conditioning, navigation etc. Even wristwatches are now becoming embedded systems. The palmtops are powerful embedded systems using which we can carry out many general-purpose tasks such as playing games and word processing. Office Automation: The office automation products using embedded systems are copying machine, fax machine, key telephone, modem, printer, scanner etc. Industrial Automation: Today a lot of industries use embedded systems for process control. These include pharmaceutical, cement, sugar, oil exploration, nuclear energy, electricity generation and transmission. The embedded systems for industrial use are designed to carry out specific tasks such as monitoring the
  • 9.
    temperature, pressure, humidity,voltage, current etc., and then take appropriate action based on the monitored levels to control other devices or to send information to a centralized monitoring station. In hazardous industrial environment, where human presence has to be avoided, robots are used, which are programmed to do specific jobs. The robots are now becoming very powerful and carry out many interesting and complicated tasks such as hardware assembly. Medical Electronics: Almost every medical equipment in the hospital is an embedded system. These equipments include diagnostic aids such as ECG, EEG, blood pressure measuring devices, X-ray scanners; equipment used in blood analysis, radiation, colonoscopy, endoscopy etc. Developments in medical electronics have paved way for more accurate diagnosis of diseases. Computer Networking: Computer networking products such as bridges, routers, Integrated Services Digital Networks (ISDN), Asynchronous Transfer Mode (ATM), X.25 and frame relay switches are embedded systems which implement the necessary data
  • 10.
    communication protocols. Forexample, a router interconnects two networks. The two networks may be running different protocol stacks. The router’s function is to obtain the data packets from incoming pores, analyze the packets and send them towards the destination after doing necessary protocol conversion. Most networking equipments, other than the end systems (desktop computers) we use to access the networks, are embedded systems. Telecommunications: In the field of telecommunications, the embedded systems can be categorized as subscriber terminals and network equipment. The subscriber terminals such as key telephones, ISDN phones, terminal adapters, web cameras are embedded systems. The network equipment includes multiplexers, multiple access systems, Packet Assemblers Dissemblers (PADs), sate11ite modems etc. IP phone, IP gateway, IP gatekeeper etc. are the latest embedded systems that provide very low-cost voice communication over the Internet. Wireless Technologies: Advances in mobile communications are paving way for many interesting applications using embedded systems. The mobile
  • 11.
    phone is oneof the marvels of the last decade of the 20’h century. It is a very powerful embedded system that provides voice communication while we are on the move. The Personal Digital Assistants and the palmtops can now be used to access multimedia service over the Internet. Mobile communication infrastructure such as base station controllers, mobile switching centers are also powerful embedded systems. Insemination: Testing and measurement are the fundamental requirements in all scientific and engineering activities. The measuring equipment we use in laboratories to measure parameters such as weight, temperature, pressure, humidity, voltage, current etc. are all embedded systems. Test equipment such as oscilloscope, spectrum analyzer, logic analyzer, protocol analyzer, radio communication test set etc. are embedded systems built around powerful processors. Thank to miniaturization, the test and measuring equipment are now becoming portable facilitating easy testing and measurement in the field by field-personnel. Security:
  • 12.
    Security of personsand information has always been a major issue. We need to protect our homes and offices; and also the information we transmit and store. Developing embedded systems for security applications is one of the most lucrative businesses nowadays. Security devices at homes, offices, airports etc. for authentication and verification are embedded systems. Encryption devices are nearly 99 per cent of the processors that are manufactured end up in~ embedded systems. Embedded systems find applications in every industrial segment- consumer electronics, transportation, avionics, biomedical engineering, manufacturing, process control and industrial automation, data communication, telecommunication, defense, security etc. Used to encrypt the data/voice being transmitted on communication links such as telephone lines. Biometric systems using fingerprint and face recognition are now being extensively used for user authentication in banking applications as well as for access control in high security buildings. Finance: Financial dealing through cash and cheques are now slowly paving way for transactions using smart cards and ATM (Automatic Teller Machine, also expanded as Any Time Money)
  • 13.
    machines. Smart card,of the size of a credit card, has a small micro-controller and memory; and it interacts with the smart card reader! ATM machine and acts as an electronic wallet. Smart card technology has the capability of ushering in a cashless society. Well, the list goes on. It is no exaggeration to say that eyes wherever you go, you can see, or at least feel, the work of an embedded system. Overview of Embedded System Architecture
  • 14.
    Every embedded systemconsists of custom-built hardware built around a Central Processing Unit (CPU). This hardware also contains memory chips onto which the software is loaded. The software residing on the memory chip is also called the ‘firmware’. The embedded system architecture can be represented as a layered architecture as shown in Fig. The operating system runs above the hardware, and the application software runs above the operating system. The same architecture is applicable to any computer including a desktop computer. However, there are significant differences. It is not compulsory to have an operating system in every embedded system. For small appliances such as remote control units, air conditioners, toys etc., there is no need
  • 15.
    for an operatingsystem and you can write only the software specific to that application. For applications involving complex processing, it is advisable to have an operating system. In such a case, you need to integrate the application software with the operating system and then transfer the entire software on to the memory chip. Once the software is transferred to the memory chip, the software will continue to run for a long time you don’t need to reload new software. Now, let us see the details of the various building blocks of the hardware of an embedded system. As shown in Fig. the building blocks are; · Central Processing Unit (CPU) · Memory (Read-only Memory and Random Access Memory) · Input Devices · Output devices · Communication interfaces
  • 16.
    · Application-specific circuitry CentralProcessing Unit (CPU): The Central Processing Unit (processor, in short) can be any of the following: microcontroller, microprocessor or Digital Signal Processor (DSP). A micro-controller is a low-cost processor. Its main attraction is that on the chip itself, there will be many other components such as memory, serial communication interface, analog-to digital converter etc. So, for small applications, a micro-controller is the best choice as the number of external components required will be very less. On the other hand, microprocessors are more powerful, but you need to use many external components with them. D5P is used mainly for
  • 17.
    applications in whichsignal processing is involved such as audio and video processing. Memory: The memory is categorized as Random Access 11emory (RAM) and Read Only Memory (ROM). The contents of the RAM will be erased if power is switched off to the chip, whereas ROM retains the contents even if the power is switched off. So, the firmware is stored in the ROM. When power is switched on, the processor reads the ROM; the program is program is executed. Input Devices: Unlike the desktops, the input devices to an embedded system have very limited capability. There will be no keyboard or a mouse, and hence interacting with the embedded system is no easy task. Many embedded systems will have a small keypad-you press one key to give a specific command. A keypad may be used to input only the digits. Many embedded systems used in process control do not have any input device for user interaction; they take inputs from sensors or transducers 1’fnd produce electrical signals that are in turn fed to other systems.
  • 18.
    Output Devices: The outputdevices of the embedded systems also have very limited capability. Some embedded systems will have a few Light Emitting Diodes (LEDs) to indicate the health status of the system modules, or for visual indication of alarms. A small Liquid Crystal Display (LCD) may also be used to display some important parameters. Communication Interfaces: The embedded systems may need to, interact with other embedded systems at they may have to transmit data to a desktop. To facilitate this, the embedded systems are provided with one or a few communication interfaces such as RS232, RS422, RS485, Universal Serial Bus (USB), IEEE 1394, Ethernet etc. Application-Specific Circuitry: Sensors, transducers, special processing and control circuitry may be required fat an embedded system, depending on its application. This circuitry interacts with the processor to carry out the necessary work. The entire hardware has to be given power supply either through the 230 volts main supply or through a
  • 19.
    battery. The hardwarehas to design in such a way that the power consumption is minimized.
  • 20.
    CHAPTER 3 HARDWARE DESCRIPTION MODULES 1.POWER SUPPLY The power supply section is the section which provide +5V for the components to work. IC LM7805 is used for providing a constant power of +5V. The ac voltage, typically 220V, is connected to a transformer, which steps down that ac voltage down to the level of the desired dc output. A diode rectifier then provides a full-wave rectified voltage that is initially filtered by a simple capacitor filter to produce a dc voltage. This resulting dc voltage usually has some ripple or ac voltage variation. A regulator circuit removes the ripples and also retains the same dc value even if the input dc voltage varies, or the load connected to the output dc voltage changes. This voltage regulation is usually obtained using one of the popular voltage regulator IC units.
  • 21.
    Block Diagram OfPower Supply Transformer Transformers convert AC electricity from one voltage to another with little loss of power. Transformers work only with AC and this is one of the reasons why mains electricity is AC. Step-up transformers increase voltage, step-down transformers reduce voltage. Most power supplies use a step-down transformer to reduce the dangerously high mains voltage (230V in India) to a safer low voltage. The input coil is called the primary and the output coil is called the secondary. There is no electrical connection between the two coils; instead they are linked by an alternating magnetic field created in the soft-iron core of the transformer. Transformers waste very little power so the power out is (almost) equal to the
  • 22.
    power in. Notethat as voltage is stepped down current is stepped up. The transformer will step down the power supply voltage (0- 230V) to (0- 6V) level. Then the secondary of the potential transformer will be connected to the bridge rectifier, which is constructed with the help of PN junction diodes. The advantages of using bridge rectifier are it will give peak voltage output as DC. Rectifier There are several ways of connecting diodes to make a rectifier to convert AC to DC. The bridge rectifier is the most important and it produces full-wave varying DC. A full-wave rectifier can also be made from just two diodes if a centre-tap transformer is used, but this method is rarely used now that diodes are cheaper. A single diode can be used as a rectifier but it only uses the positive (+) parts of the AC wave to produce half-wave varying DC Bridge Rectifier
  • 23.
    When four diodesare connected as shown in figure, the circuit is called as bridge rectifier. The input to the circuit is applied to the diagonally opposite corners of the network, and the output is taken from the remaining two corners. Let us assume that the transformer is working properly and there is a positive potential, at point A and a negative potential at point B. the positive potential at point A will forward bias D3 and reverse bias D4. Bridge Rectifier The negative potential at point B will forward bias D1 and reverse D2. At this time D3 and D1 are forward biased and will allow current flow to pass through them; D4 and D2 are reverse biased and will block current flow.
  • 24.
    One advantage ofa bridge rectifier over a conventional full-wave rectifier is that with a given transformer the bridge rectifier produces a voltage output that is nearly twice that of the conventional full-wave circuit. i. The main advantage of this bridge circuit is that it does not require a special centre tapped transformer, thereby reducing its size and cost. ii. The single secondary winding is connected to one side of the diode bridge network and the load to the other side as shown below. iii. The result is still a pulsating direct current but with double the frequency. Output Waveform Of DC Smoothing
  • 25.
    Smoothing is performedby a large value electrolytic capacitor connected across the DC supply to act as a reservoir, supplying current to the output when the varying DC voltage from the rectifier is falling. The capacitor charges quickly near the peak of the varying DC, and then discharges as it supplies current to the output. Voltage Regulators Voltage regulators comprise a class of widely used ICs. Regulator IC units contain the circuitry for reference source, comparator amplifier, control device, and overload protection all in a single IC. IC units provide regulation of either a fixed positive voltage, a fixed negative voltage, or an adjustably set voltage. The regulators can be selected for operation with load currents from hundreds of milli amperes to tens of amperes, corresponding to power ratings from milli watts to tens of watts. A fixed three-terminal voltage regulator has an unregulated dc input voltage, Vi, applied to one input terminal, a regulated dc
  • 26.
    output voltage, Vo,from a second terminal, with the third terminal connected to ground. The series 78 regulators provide fixed positive regulated voltages from 5 to 24 volts. Similarly, the series 79 regulators provide fixed negative regulated voltages from 5 to 24 volts. Voltage regulator ICs are available with fixed (typically 5, 12 and 15V) or variable output voltages. They are also rated by the maximum current they can pass. Negative voltage regulators are available, mainly for use in dual supplies. Most regulators include some automatic protection from excessive current ('overload protection') and overheating ('thermal protection'). Many of the fixed voltage regulator ICs has 3 leads and look like power transistors, such as the 7805 +5V 1Amp regulator. They include a hole for attaching a heat sink if necessary. Regulator
  • 27.
    Circuit Diagram OfPower Supply
  • 28.
    2. ATMEGA328: Features • HighPerformance, Low Power AVR® 8-Bit Microcontroller • Advanced RISC Architecture – 131 Powerful Instructions – Most Single Clock Cycle Execution – 32 x 8 General Purpose Working Registers – Fully Static Operation – Up to 20 MIPS Throughput at 20 MHz – On-chip 2-cycle Multiplier • High Endurance Non-volatile Memory Segments – 4/8/16/32K Bytes of In-System Self-Programmable Flash progam memory (ATmega48PA/88PA/168PA/328P) – 256/512/512/1K Bytes EEPROM (ATmega48PA/88PA/168PA/328P)
  • 29.
    – 512/1K/1K/2K BytesInternal SRAM (ATmega48PA/88PA/168PA/328P) – Write/Erase Cycles: 10,000 Flash/100,000 EEPROM – Data retention: 20 years at 85°C/100 years at 25°C(1) – Optional Boot Code Section with Independent Lock Bits In-System Programming by On-chip Boot Program True Read-While-Write Operation – Programming Lock for Software Security • Peripheral Features – Two 8-bit Timer/Counters with Separate Prescaler and Compare Mode – One 16-bit Timer/Counter with Separate Prescaler, Compare Mode, and Capture Mode – Real Time Counter with Separate Oscillator – Six PWM Channels – 8-channel 10-bit ADC in TQFP and QFN/MLF package
  • 30.
    Temperature Measurement – 6-channel10-bit ADC in PDIP Package Temperature Measurement – Programmable Serial USART – Master/Slave SPI Serial Interface – Byte-oriented 2-wire Serial Interface (Philips I2C compatible) – Programmable Watchdog Timer with Separate On-chip Oscillator – On-chip Analog Comparator – Interrupt and Wake-up on Pin Change • Special Microcontroller Features – Power-on Reset and Programmable Brown-out Detection – Internal Calibrated Oscillator – External and Internal Interrupt Sources – Six Sleep Modes: Idle, ADC Noise Reduction, Power-save, Power-down, Standby,
  • 31.
    and Extended Standby •I/O and Packages – 23 Programmable I/O Lines – 28-pin PDIP, 32-lead TQFP, 28-pad QFN/MLF and 32-pad QFN/MLF • Operating Voltage: – 1.8 - 5.5V for ATmega48PA/88PA/168PA/328P • Temperature Range: – -40°C to 85°C • Speed Grade: – 0 - 20 MHz @ 1.8 - 5.5V • Low Power Consumption at 1 MHz, 1.8V, 25°C for ATmega48PA/88PA/168PA/328P: – Active Mode: 0.2 mA – Power-down Mode: 0.1 μA – Power-save Mode: 0.75 μA (Including 32 kHz RTC)
  • 32.
  • 33.
    1.1.1 VCC Digitalsupply voltage. 1.1.2 GND Ground. 1.1.3 Port B (PB7:0) XTAL1/XTAL2/TOSC1/TOSC2 Port B is an 8-bit bi-directional I/O port with internal pull-up resistors (selected for each it). The Port B output buffers have symmetrical drive characteristics with both high sink and source capability. As inputs, Port B pins that are externally pulled low will source current if the pull-up resistors are activated. The Port B pins are tri-stated when a reset condition becomes active, even if the clock is not running. Depending on the clock selection fuse settings, PB6 can be used as input to the inverting Oscillator amplifier and input to the internal clock operating circuit. Depending on the clock selection fuse settings, PB7 can be used as output from the inverting Oscillator amplifier. If the Internal Calibrated RC Oscillator is used as chip clock source, PB7..6 is used as TOSC2..1 input for the Asynchronous Timer/Counter2 if the AS2 bit in ASSR is set. The various special features of Port B are elaborated in ”Alternate Functions of Port B” on page 82 and ”System Clock and Clock Options” on page 26.
  • 34.
    1.1.4 Port C(PC5:0) Port C is a 7-bit bi-directional I/O port with internal pull-up resistors (selected for each it). The PC5..0 output buffers have symmetrical drive characteristics with both high sink and source capability. As inputs, Port C pins that are externally pulled low will source current if the pull-up resistors are activated. The Port C pins are tri-stated when a reset condition becomes active, even if the clock is not running. 1.1.5 PC6/RESET If the RSTDISBL Fuse is programmed, PC6 is used as an I/O pin. Note that the electrical characteristics of PC6 differ from those of the other pins of Port C. If the RSTDISBL Fuse is un programmed, PC6 is used as a Reset input. A low level on this pin for longer than the minimum pulse length will generate a Reset, even if the clock is not running. The minimum pulse length is given in Table 28-3 on page 318. Shorter pulses are not guaranteed to generate a Reset. The various special features of Port C are elaborated in ”Alternate Functions of Port C” on page 85. 1.1.6 Port D (PD7:0)
  • 35.
    Port D isan 8-bit bi-directional I/O port with internal pull-up resistors (selected for each bit). The Port D output buffers have symmetrical drive characteristics with both high sink and source capability. As inputs, Port D pins that are externally pulled low will source current if the pull-up resistors are activated. The Port D pins are tri-stated when a reset condition becomes active, even if the clock is not running. The various special features of Port D are elaborated in ”Alternate Functions of Port D” on page 88. 1.1.7 AVCC AVCC is the supply voltage pin for the A/D Converter, PC3:0, and ADC7:6. It should be externally connected to VCC, even if the ADC is not used. If the ADC is used, it should be connected to VCC through a low-pass filter. Note that PC6..4 use digital supply voltage, VCC. 1.1.8 AREF AREF is the analog reference pin for the A/D Converter. 1.1.9 ADC7:6 (TQFP and QFN/MLF Package Only)
  • 36.
    In the TQFPand QFN/MLF package, ADC7:6 serve as analog inputs to the A/D converter. These pins are powered from the analog supply and serve as 10-bit ADC channels. Overview The ATmega48PA/88PA/168PA/328P is a low-power CMOS 8- bit microcontroller based on the AVR enhanced RISC architecture. By executing powerful instructions in a single clock cycle, the ATmega48PA/88PA/168PA/328P achieves throughputs approaching 1 MIPS per MHz allowing the system designer to optimize power consumption versus processing speed. 2.1 Block Diagram
  • 38.
    The AVR corecombines a rich instruction set with 32 general purpose working registers. All the 32 registers are directly connected to the Arithmetic Logic Unit (ALU), allowing two independent registers to be accessed in one single instruction executed in one clock cycle. The resulting architecture is more code efficient while achieving throughputs up to ten times faster than conventional CISC microcontrollers. The ATmega48PA/88PA/168PA/328P provides the following features: 4K/8K bytes of In-System Programmable Flash with Read-While-Write capabilities, 256/512/512/1K bytes EEPROM, 512/1K/1K/2K bytes SRAM, 23 general purpose I/O lines, 32 general purpose working registers, three flexible Timer/Counters with compare modes, internal and external interrupts, a serial programmable USART, a byte-oriented 2-wire Serial Interface, an SPI serial port, a 6-channel 10-bit ADC (8 channels in TQFP and QFN/MLF packages), a programmable Watchdog Timer with internal Oscillator, and five software selectable power saving modes. The Idle mode stops the CPU while allowing the SRAM, Timer/Counters, USART, 2-wire Serial Interface, SPI port, and interrupt system to continue functioning. The Power-down mode
  • 39.
    saves the registercontents but freezes the Oscillator, disabling all other chip functions until the next interrupt or hardware reset. In Power-save mode, the asynchronous timer continues to run, allowing the user to maintain a timer base while the rest of the device is sleeping. The ADC Noise Reduction mode stops the CPU and all I/O modules except asynchronous timer and ADC, to minimize switching noise during ADC conversions. In Standby mode, the crystal/resonator Oscillator is running while the rest of the device is sleeping. This allows very fast start-up combined with low power consumption. The device is manufactured using Atmel’s high density non- volatile memory technology. The On-chip ISP Flash allows the program memory to be reprogrammed In-System through an SPI serial interface, by a conventional non-volatile memory programmer, or by an On-chip Boot program running on the AVR core. The Boot program can use any interface to download the application program in the Application Flash memory. Software in the Boot Flash section will continue to run while the Application Flash section is updated, providing true Read-While- Write operation. By combining an 8-bit RISC CPU with In- System Self-Programmable Flash on a monolithic chip, the Atmel
  • 40.
    ATmega48PA/88PA/168PA/328P is apowerful microcontroller that provides a highly flexible and cost effective solution to many embedded control applications. The ATmega48PA/88PA/168PA/328P AVR is supported with a full suite of program and system development tools including: C Compilers, Macro Assemblers, Program Debugger/Simulators, In-Circuit Emulators, and Evaluation kits. 2.2 Comparison Between ATmega48PA, ATmega88PA, ATmega168PA and ATmega328P
  • 41.
    The ATmega48PA, ATmega88PA,ATmega168PA and ATmega328P differ only in memory sizes, boot loader support, and interrupt vector sizes. Table 2-1 summarizes the different memory and interrupt vector sizes for the three devices. ATmega88PA, ATmega168PA and ATmega328P support a real Read-While-Write Self-Programming mechanism. There is a separate Boot Loader Section, and the SPM instruction can only execute from there. In ATmega48PA, there is no Read-While- Write support and no separate Boot Loader Section. The SPM instruction can execute from the entire Flash. AVR CPU Core
  • 42.
    6.1 Overview This sectiondiscusses the AVR core architecture in general. The main function of the CPU core is to ensure correct program execution. The CPU must therefore be able to access memories, perform calculations, control peripherals, and handle interrupts.
  • 44.
    In order tomaximize performance and parallelism, the AVR uses a Harvard architecture – with separate memories and buses for program and data. Instructions in the program memory are executed with a single level pipelining. While one instruction is being executed, the next instruction is pre-fetched from the program memory. This concept enables instructions to be executed in every clock cycle. The program memory is In-System Reprogrammable Flash memory. The fast-access Register File contains 32 x 8-bit general purpose working registers with a single clock cycle access time. This allows single-cycle Arithmetic Logic Unit (ALU) operation. In a typical ALU operation, two operands are output from the Register File, the operation is executed, and the result is stored back in the Register File – in one clock cycle. Six of the 32 registers can be used as three 16-bit indirect address register pointers for Data Space addressing – enabling efficient address calculations. One of the these address pointers can also be used as an address pointer for look up tables in Flash program memory. These added function registers are the 16-bit X-, Y-, and Z-register, described later in this section.
  • 45.
    The ALU supportsarithmetic and logic operations between registers or between a constant and a register. Single register operations can also be executed in the ALU. After an arithmetic operation, the Status Register is updated to reflect information about the result of the operation. Program flow is provided by conditional and unconditional jump and call instructions, able to directly address the whole address space. Most AVR instructions have a single 16-bit word format. Every program memory address contains a 16- or 32-bit instruction. Program Flash memory space is divided in two sections, the Boot Program section and the Application Program section. Both sections have dedicated Lock bits for write and read/write protection. The SPM instruction that writes into the Application Flash memory section must reside in the Boot Program section. During interrupts and subroutine calls, the return address Program Counter (PC) is stored on the Stack. The Stack is effectively allocated in the general data SRAM, and consequently the Stack size is only limited by the total SRAM size and the usage of the SRAM. All user programs must initialize the SP in the Reset
  • 46.
    routine (before subroutinesor interrupts are executed). The Stack Pointer (SP) is read/write accessible in the I/O space. The data SRAM can easily be accessed through the five different addressing modes supported in the AVR architecture. The memory spaces in the AVR architecture are all linear and regular memory maps. A flexible interrupt module has its control registers in the I/O space with an additional Global Interrupt Enable bit in the Status Register. All interrupts have a separate Interrupt Vector in the Interrupt Vector table. The interrupts have priority in accordance with their Interrupt Vector position. The lower the Interrupt Vector address, the higher the priority. The I/O memory space contains 64 addresses for CPU peripheral functions as Control Registers, SPI, and other I/O functions. The I/O Memory can be accessed directly, or as the Data Space locations following those of the Register File, 0x20 - 0x5F. In addition, the ATmega48PA/88PA/168PA/328P has Extended I/O space from 0x60 - 0xFF in SRAM where only the ST/STS/STD and LD/LDS/LDD instructions can be used.
  • 47.
    6.2 ALU –Arithmetic Logic Unit The high-performance AVR ALU operates in direct connection with all the 32 general purpose working registers. Within a single clock cycle, arithmetic operations between general purpose registers or between a register and an immediate are executed. The ALU operations are divided into three main categories – arithmetic, logical, and bit-functions. Some implementations of the architecture also provide a powerful multiplier supporting both signed/unsigned multiplication and fractional format. See the “Instruction Set” section for a detailed description. 6.3 Status Register The Status Register contains information about the result of the most recently executed arithmetic instruction. This information can be used for altering program flow in order to perform conditional operations. Note that the Status Register is updated after all ALU operations, as specified in the Instruction Set Reference. This will in many cases remove the need for using the dedicated compare instructions, resulting in faster and more compact code. The Status Register is not automatically stored
  • 48.
    when entering aninterrupt routine and restored when returning from an interrupt. This must be handled by software. AVR Memories 7.1 Overview This section describes the different memories in the ATmega48PA/88PA/168PA/328P. The AVR architecture has two main memory spaces, the Data Memory and the Program Memory space. In addition, the ATmega48PA/88PA/168PA/328P features an EEPROM Memory for data storage. All three memory spaces are linear and regular. 7.2 In-System Reprogrammable Flash Program Memory The ATmega48PA/88PA/168PA/328P contains 4/8/16/32K bytes On-chip In-System Reprogrammable Flash memory for program storage. Since all AVR instructions are 16 or 32 bits wide, the Flash is organized as 2/4/8/16K x 16. For software security, the Flash Program memory space is divided into two sections, Boot Loader Section and Application Program Section
  • 49.
    in ATmega88PA andATmega168PA. See SELFPRGEN description in section ”SPMCSR – Store Program Memory Control and Status Register” on page 292 for more details. The Flash memory has an endurance of at least 10,000 write/erase cycles. The ATmega48PA/88PA/168PA/328P Program Counter (PC) is 11/12/13/14 bits wide, thus addressing the 2/4/8/16K program memory locations. The operation of Boot Program section and associated Boot Lock bits for software protection are described in detail in ”Self-Programming the Flash, ATmega48PA” on page 269 and ”Boot Loader Support – Read- While-Write Self-Programming, ATmega88PA, ATmega168PA and ATmega328P” on page 277. ”Memory Programming” on page 294 contains a detailed description on Flash Programming in SPI- or Parallel Programming mode. Constant tables can be allocated within the entire program memory address space (see the LPM – Load Program Memory instruction description). SRAM Data Memory
  • 50.
    The ATmega48PA/88PA/168PA/328P isa complex microcontroller with more peripheral units than can be supported within the 64 locations reserved in the Opcode for the IN and OUT instructions. For the Extended I/O space from 0x60 - 0xFF in SRAM, only the ST/STS/STD and LD/LDS/LDD instructions can be used. The lower 768/1280/1280/2303 data memory locations address both the Register File, the I/O memory, Extended I/O memory, and the internal data SRAM. The first 32 locations address the Register File, the next 64 location the standard I/O memory, then 160 locations of Extended I/O memory, and the next 512/1024/1024/2048 locations address the internal data SRAM. The five different addressing modes for the data memory cover: Direct, Indirect with Displacement, Indirect, Indirect with Pre- decrement, and Indirect with Post-increment. In the Register File, registers R26 to R31 feature the indirect addressing pointer registers. The direct addressing reaches the entire data space. The Indirect with Displacement mode reaches 63 address locations from the base address given by the Y- or Z-register.
  • 51.
    When using registerindirect addressing modes with automatic pre-decrement and post-increment, the address registers X, Y, and Z are decremented or incremented. The 32 general purpose working registers, 64 I/O Registers, 160 Extended I/O Registers, and the 512/1024/1024/2048 bytes of internal data SRAM in the ATmega48PA/88PA/168PA/328P are all accessible through all these addressing modes. EEPROM Data Memory The ATmega48PA/88PA/168PA/328P contains 256/512/512/1K bytes of data EEPROM memory. It is organized as a separate data space, in which single bytes can be read and written. The EEPROM has an endurance of at least 100,000 write/erase cycles. The access between the EEPROM and the CPU is described in the following, specifying the EEPROM Address Registers, the EEPROM Data Register, and the EEPROM Control Register. 7.4.1 EEPROM Read/Write Access The EEPROM Access Registers are accessible in the I/O space.
  • 52.
    lets the usersoftware detect when the next byte can be written. If the user code contains instructions that write the EEPROM, some precautions must be taken. In heavily filtered power supplies, VCC is likely to rise or fall slowly on power-up/down. This causes the device for some period of time to run at a voltage lower than specified as minimum for the clock frequency used. In order to prevent unintentional EEPROM writes, a specific write procedure must be followed. Refer to the description of the EEPROM Control Register for details on this. When the EEPROM is read, the CPU is halted for four clock cycles before the next instruction is executed. When the EEPROM is written, the CPU is halted for two clock cycles before the next instruction is executed. Low Power Crystal Oscillator Pins XTAL1 and XTAL2 are input and output, respectively, of an inverting amplifier which can be configured for use as an On-chip Oscillator, Either a quartz crystal or a ceramic resonator may be used. This Crystal Oscillator is a low power oscillator, with reduced voltage swing on the XTAL2 output.
  • 53.
    It gives thelowest power consumption, but is not capable of driving other clock inputs, and may be more susceptible to noise in noisy environments. C1 and C2 should always be equal for both crystals and resonators. The optimal value of the capacitors depends on the crystal or resonator in use, the amount of stray capacitance, and the electromagnetic noise of the environment. For ceramic resonators, the capacitor values given by the manufacturer should be used. Watchdog Timer Features
  • 54.
    • Clocked fromseparate On-chip Oscillator • 3 Operating modes – Interrupt – System Reset – Interrupt and System Reset • Selectable Time-out period from 16ms to 8s • Possible Hardware fuse Watchdog always on (WDTON) for fail-safe mode Overview ATmega48PA/88PA/168PA/328P has an Enhanced Watchdog Timer (WDT). The WDT is a timer counting cycles of a separate on-chip 128 kHz oscillator. The WDT gives an interrupt or a system reset when the counter reaches a given time-out value. In normal operation mode, it is required that the system uses the WDR - Watchdog Timer Reset - instruction to restart the counter before the time-out value is reached. If the system doesn't restart the counter, an interrupt or system reset will be issued.
  • 55.
    In Interrupt mode,the WDT gives an interrupt when the timer expires. This interrupt can be used to wake the device from sleep- modes, and also as a general system timer. One example is to limit the maximum time allowed for certain operations, giving an interrupt when the operation has run longer than expected. In System Reset mode, the WDT gives a reset when the timer expires. This is typically used to prevent system hang-up in case of runaway code. The third mode, Interrupt and System Reset mode, combines the other two modes by first giving an interrupt and then switch to System Reset mode. This mode will for instance allow a safe shutdown by saving critical parameters before a system reset. The Watchdog always on (WDTON) fuse, if programmed, will force the Watchdog Timer to System Reset mode. With the fuse programmed the System Reset mode bit (WDE) and Interrupt mode bit (WDIE) are locked to 1 and 0 respectively. To further ensure program security, alterations to the Watchdog set-up must follow timed sequences. The sequence for clearing WDE and changing time-out configuration is as follows:
  • 56.
    1. In thesame operation, write a logic one to the Watchdog change enable bit (WDCE) and WDE. A logic one must be written to WDE regardless of the previous value of the WDE bit. 2. Within the next four clock cycles, write the WDE and Watchdog prescaler bits (WDP) as desired, but with the WDCE bit cleared. This must be done in one operation. The following code example shows one assembly and one C function for turning off the Watchdog Timer. The example assumes that interrupts are controlled (e.g. by disabling interrupts globally) so that no interrupts will occur during the execution of these functions. 8-bit Timer/Counter0 with PWM Features • Two Independent Output Compare Units • Double Buffered Output Compare Registers • Clear Timer on Compare Match (Auto Reload) • Glitch Free, Phase Correct Pulse Width Modulator (PWM)
  • 57.
    • Variable PWMPeriod • Frequency Generator • Three Independent Interrupt Sources (TOV0, OCF0A, and OCF0B) Overview Timer/Counter0 is a general purpose 8-bit Timer/Counter module, with two independent Output Compare Units, and with PWM support. It allows accurate program execution timing (event management) and wave generation. CPU accessible I/O Registers, including I/O bits and I/O pins, are shown in bold. Gear DC Motor Definition: Gear motor is a type of electrical motor. Like all electrical motors, it uses the magnetism induced by an electrical current to rotate a rotor that is connected to a shaft. The energy transferred from the rotor to the shaft is then used to power a connected device.
  • 58.
    In a gearmotor, the energy output is used to turn a series of gears in an integrated gear train. There are a number of different types of gear motors, but the most common are AC (alternating current) and DC (direct current). Function: In a gear motor, the magnetic current (which can be produced by either permanent magnets or electromagnets) turns gears that
  • 59.
    are either ina gear reduction unit or in an integrated gear box. A second shaft is connected to these gears. The result is that the gears greatly increase the amount of torque the motor is capable of producing while simultaneously slowing down the motor's output speed. The motor will not need to draw as much current to function and will move more slowly, but will provide greater torque. Gear motors are complete motive force systems consisting of an electric motor and a reduction gear train integrated into one easy-to- mount and -configure package. This greatly reduces the complexity and cost of designing and constructing power tools, machines and
  • 60.
    appliances calling forhigh torque at relatively low shaft speed or RPM. Gear motors allow the use of economical low-horsepower motors to provide great motive force at low speed such as in lifts, winches, medical tables, jacks and robotics. They can be large enough to lift a building or small enough to drive a tiny clock. Operation Principle: Most synchronous AC electric motors have output ranges of from 1,200 to 3,600 revolutions per minute. They also have both normal speed and stall-speed torque specifications. The reduction gear trains used in gear motors are designed to reduce the output speed while increasing the torque. The increase in torque is inversely proportional to the reduction in speed. Reduction gearing allows small electric motors to move large driven loads, although more slowly than larger electric motors. Reduction gears consist of a small gear driving a larger gear. There may be several sets of these reduction gear sets in a reduction gear box. Speed Reduction: Sometimes the goal of using a gear motor is to reduce the rotating shaft speed of a motor in the device being driven, such as
  • 61.
    in a smallelectric clock where the tiny synchronous motor may be spinning at 1,200 rpm but is reduced to one rpm to drive the second hand, and further reduced in the clock mechanism to drive the minute and hour hands. Here the amount of driving force is irrelevant as long as it is sufficient to overcome the frictional effects of the clock mechanism. Torque Multiplication Another goal achievable with a gear motor is to use a small motor to generate a very large force albeit at a low speed. These applications include the lifting mechanisms on hospital beds, power recliners, and heavy machine lifts where the great force at low speed is the goal. Motor Varieties Most industrial gear motors are AC-powered, fixed-speed devices, although there is fixed-gear-ratio, variable-speed motors that provide a greater degree of control. DC gear motors are used primarily in automotive applications such as power winches on trucks, windshield wiper motors and power seat or power window motors.
  • 62.
    Calculate Torque: Suppose youneed to determine how much torque is required to lift a load, cause a wheel to accelerate or to make a conveyor belt move. If you know how much force is required at one radius (arm length) of leverage, you can easily convert the torque requirement for another arm length. The relevant equation is Torque = Perpendicular Force x Radius about the center of rotation.
  • 63.
    Instructions 1. Draw adiagram of a pulley wheel of radius R with a mass m hanging off of it. You can translate this example to a range of torque problems, where the load applies a perpendicular force at radius R from the center of rotation. 2. Determine the force created by the mass. In this case, use Newton's second law to get F=ma=mg, where g is the gravitational acceleration constant, 9.80 meters per second squared. 3. Calculate the torque you'll need to apply to the pulley to keep the weight from dropping. In other words, FR = mgR is the torque needed. So if you use a motor to drive a wheel of radius r attached to the same axle as the pulley, then the motor needs to apply a force of F = mgR/r.
  • 64.
    Calculate Rotational Force: Rotationalforce, also known as torque or centripetal force, is the measurement of the force of an object rotating around a central axis or pivot. For example, using a wrench to turn a bolt creates enough force to either tighten or remove the bolt. The force that is coming from turning the wrench is considered the rotational force that is being created. To find rotational force, a person must know the mass of the object creating the torque, the velocity that it is being moved, and the radius of how far away the object is from the axis. Instructions
  • 65.
    1. Take thevelocity of the object that is being turned to the second power. For example, if the velocity of the object is 15 meters per second, multiply 15 by 15 to get 225. 2. Multiply the mass of the object being used to create torque by the squared velocity. For example, if the mass of the object is 28 grams, that would mean you multiply 28 by 225 to get 6300. 3. Divide the answer from Step 2 by the radius that is measured from the center of the axis to the object that is being used to create the rotational force. For example, if the radius is 19 meters, that would mean you divide 6300 by 19 to get 331.58 Newton meters. (Newton meters are the SI unit used for rotational force.) This is the rotational force that is being created. Calculate Moments of Force: When force is applied to an object at a certain point, it does two things: push the object, and rotate the object. The amount of that rotational tendency is described by the moment of force. A moment of force is a vector: it has both a magnitude (the strength of the rotational force) and a direction (the axis along which the rotation will take place). The direction can be determined using the right hand rule: with your
  • 66.
    thumb pointed alongthe moment of force, your fingers curl in the direction of rotation. Calculating the moment of force is simple vector math. Instructions 1. Subtract the position vector of the point of rotation from the position vector of the point where the force is applied. In other words, calculate the vector (Rx -- Ax, Ry -- Ay, Rz -- Az). For example, if a force is applied at coordinates (2, 3, 6) to an object whose center of gravity (and thus position of rotation) is at coordinates (-2, 8, 0), you would get a vector of (2 -- (-2), 3 -- 8, 6 -- 0) = (4, -5, 6). This vector points from the point of rotation to the point of force application. 2 .Find the cross product of the vector from step 1 (which we will hereafter call B) and the force vector (F), as described in this and the next two steps. Firstly, find the x component of the cross product by subtracting the product of the y component of F and the z component of B from the product of the y component of B and the z component of F. To put it succinctly, calculate (B X F)x = By*Fz -- Bz*Fy 3. Find the y component of the cross product in a similar fashion, by subtracting the product of the z component of F and the x component of B from the product of the z component of B and
  • 67.
    the x componentof F. In other words, calculate (B X F)y = Bz*Fx -- Bx*Fz. 4. Find the z component of the cross product by subtracting the product of the x component of F and the y component of B from the product of the x component of B and the y component of F. In other words, calculate (B X F)z = Bx*Fy -- By*Fx. 5.Write the moment of force as the vector with x, y, and z components as the results of steps 2, 3, and 4, respectively. To put it all into one formula, the moment M is (By*Fz -- Bz*Fy, Bz*Fx -- Bx*Fz, Bx*Fy - - By*Fx). How to Calculate Gear Spur on a DC Motor? The spur gear is adjacent to the pinion gear, which sits directly on the motor shaft. The spur gear's relationship to the pinion gear is significant in that the ratio of one to the other determines the vehicle's performance. Learn how to calculate the size of the spur gear to better understand how your vehicle will handle. Instructions:
  • 68.
    1. Mark oneof the teeth on the spur gear with the marker to indicate the first tooth you will consider in your calculation. 2. Open the safety pin, and then press it between the teeth with the marked tooth underneath it. 3. Rotate the gear counterclockwise while counting the number of clicks you hear as you pass the safety pin over the teeth. 4. Use the total number of teeth on the spur gear to determine the gear ratio between the spur gear and the pinion. For example, if the spur gear has 36 teeth and the pinion gear has 6, then you're running a ratio of 6:1. This means that for every rotation of the spur gear, the pinion gear turns 6 times. DC Reduction Gear Motors: The DC Gear motor, consisting of a DC electric motor and a gearbox, is at the heart of several electrical and electronic applications. Precision Micro drives have been designing and developing such high quality mini DC gear motors in an easy-to- mount package for a range of products and equipment. Our miniature gear motor work smoothly and efficiently, supporting these electrical and electronic applications. These geared motors
  • 69.
    have reduction geartrains capable of providing high torque at relatively low shaft speed or revolutions per minute (RPM). Precision Micro drives DC geared motors reduce the complexity and cost of designing and constructing applications such as industrial equipment, actuators, medical tools, and robotics. Precision Micro drives have engineered a range of planetary and spur gear motors (also known as mini-geared motors and micro-geared motors) suitable for many future and existing applications. The main characteristics of these gear motors are miniature form factors, offering significant strength, torque, and other technical capabilities that these applications require. Their linear performance characteristics make them suitable for many applications requiring a controlled performance. Whether you are looking for automotive, medical, or domestic applications, DC Gear motors from Precision Micro drives not only offer the variable speed and torque control required in each of these applications. They also possess quality characteristics of reliability, ruggedness, and compactness. The
  • 70.
    operations performed byPrecision Micro drives geared motors appear simple and effortless. However, they are highly sophisticated devices, and some units are encapsulated in housings to prevent exposure to moisture and dust. Precision Micro drives are the leading supplier of sub Ø60 mm DC Gear motors in the industry. DC Gear motors from Precision Micro drives are designer-friendly, with multiple options available for any application. We are helping our clients with unrivalled
  • 71.
    application support andon-hand technical expertise to develop stringent quality-controlled, cost-effective and competitive solutions in their niche. We also provide continually updated data sheets, web-based help features and technical bulletins to help clients looking for solutions in their niche. We carry the widest range in stock and are capable of delivering in order quantities of any size (1+). Gear Mechanisam: All gears, including the output gear, are attached to the shaft and supported by non-lubricated metal bearings. This type of mechanism is suitable for medium load applications and continuous duty cycle operation. Gears in DC motor increase the torque: Two differently-sized gears increase or decrease torque because they have different radii. If you (or another gear) apply a tangential force at the edge of a gear (where the teeth are), the torque you create equals the force multiplied by the radius of the gear.
  • 72.
    That means ifa gear that's 1 inch wide has 10 foot-pounds of torque on it, and it's driving a gear that's 4 inches wide, the 4-inch- wide gear gets 40 foot-pounds of torque, because its radius is 4 times as large as the smaller gear. Another way to think about it is that the speed of rotation is inversely proportional to the torque. If you halve the speed, you double the torque. What is the difference between a geared and non-geared dc motor? A: It has a gearbox, usually to gear down to get more torque and lower speed, usually to drive wheels or a winch. Rarely would one gear up.
  • 73.
    Uses: Gear motors arecommonly used in conveyor-belt drives, home appliances, in handicap and platform lifts, medical and laboratory equipment, machine tools, packaging machinery and printing presses. A special type of gear motor, the servo motor, provides more power in a compact, precise fashion, and is used when a motor with a rapid, accurate response is needed. Many Applications:
  • 74.
    What power canopeners, garage door openers, stair lifts, rotisserie motors, timer cycle knobs on washing machines, power drills, cake mixers and electromechanical clocks have in common is that they all use various integrations of gear motors to derive a large force from a relatively small electric motor at a manageable speed. In industry, gear motor applications in jacks, cranes, lifts, clamping, robotics, conveyance and mixing are too numerous to count. Introduction to Servomotors Hobby servomotors are a very elegant solution to the problem of adding a motor to your robot. They are mainly used in hobby RC airplanes, so they are very compact, powerful, light and power conservative. Since they have been in production for a long time they are also very cheap. You can buy a standard hobby servomotor for under $13. In a very small package you get a DC motor, gearbox, and feedback control system.
  • 75.
    The Futaba S-148standard servo. Available from towerhobbies.com or any RC hobby store (Colpar) Servomotors are designed to operate control surfaces on hobby RC planes. So they do not rotate continuously. Rather they are designed to rotate through 180 degrees with precise position control. If you want to use them as the main drive motor for a mobile robot you need to modify them so that they will rotate continuously. This is not a difficult thing to do. I will not cover it here but if you want to do it there are many sites on the web that cover this. An excellent one is
  • 76.
    They do notsimply run on a DC voltage like a standard DC motor. They have 3 wires. Red is power (generally 3V – 12V max), black is ground and then there is another wire, usually white or yellow that is the “input signal wire”. A servomotor is controlled by sending a pulse signal that is HIGH for a brief time, generally 1 – 2 ms. If you just connect a battery to power and ground, nothing will happen. You must have a timer circuit that generates this pulsed signal and by varying the pulse ON time (or the pulse width) the motor will move to a certain position over its range of motion and then stop as long as the input pulse width is the same. Depending on the pulse width, you’ll get a different position.
  • 77.
    This diagram showssome control signal pulses for a typical servo and the position to which it will rotate in response to the pulse width.
  • 78.
    There is anotherelement to the signal that also requires timing accuracy. The frequency of the signal or its rate of refresh. Not only do you have to send the pulse, you have to keep sending them as long as you want the motor to be in that position (or to keep rotating for modified servos). Generally a frequency of 50 Hz is good. This means that you send the Hi pulse 50 times every second. I mentioned earlier that a servo will only rotate through 180 degrees unless you modify it for continuous rotation (you can also buy
  • 79.
    them already modifiedthrough Acroname and other companies). One interesting thing that comes out this modification is that you get a speed control function out of it, though somewhat coarse. When you make the modification you replace the circuitry in the motor that tells the motor what position it is in. The mods you make tell the motor that it is always in the center position. So if you feed a 1.75 ms pulse, it rotates to the 180 degree position, checks the feedback which tells it that “hey, you haven’t moved yet. You’re still in the center position, keep going” so it does, checks and sees that it hasn’t moved yet and keeps doing it. Since it thinks that it is in center position and it has to move to its right most position it will move at its fastest rate. Now suppose you send it a signal that says to rotate to 95 degrees, 5 degrees right of center. The internal control system knows that it is now to move a very short distance. It also knows that if it rotates at its fastest speed that it may overshoot this and have to come back, and overshoot again in the other direction and try again, and so forth. This is called oscillation and is not a good thing. The advantage that you get out of this is that the motor will move slower when you feed a signal that is close to the center position. So you feed it a “go to
  • 80.
    95 degree” signaland it will rotate CW at a slow rate. Give it “go to 180 degrees” and it will rotate CW at its fastest rate. And the same for CCW. 3.9 OBSTACLE SENSOR This sensor is a short range obstacle detector with no dead zone. It has a reasonably narrow detection area which can be increased using the dual version. Range can also be increased by increasing the power to the IR LEDs or adding more IR LEDs The photo below shows my test setup with some IR LED's (dark blue) as a light source and two phototransistors in parallel for the receiver. You could use one of each but I wanted to spread them out to cover a wider area. This setup works like a FritsLDR but
  • 81.
    with IR. Ithas a range of about 10-15cm (4-6 inches) with my hand as the object being detected. Circuit of obstacle sensors: Starting from the left you can see my two IR LEDs with a resistor and transistor in series. The transistor allows the processor to turn the LEDs on or off. This is necessary to tell the difference between the ambient IR from daylight and indoor lighting and the reflected light from the LEDs that indicates the presence of an object. Next are my two phototransistors in parallel with a 1M resistor in series. You could use only one but I wanted to cover a wider area so my transistors will point in slightly different directions. If either one detects IR it will allow more current to flow. Since volts=current x resistance, even a small increase in current will create a reasonable increase in voltage across the 1M resistor. Unfortunately the low input impedance of many AD converters will act like a small resistor in parallel with the 1M resistor and dramatically reduce the output to the processor. This is where our BC549 transistor comes in to save the day. In conjunction with the 1K and 10K resistors it amplifies the signal so that the analog
  • 82.
    input on yourprocessor gets a nice strong signal. The BC549 is not too critical, just about any general purpose signal transistor should do. My transistor had a hfe of 490 when measured with a multimeter. You should probably have a hfe of at least 200-300. This has the advantage that you can flex the leds and transistors outward to cover a larger area. This is juniors reversing sensor to prevent him reversing into anything and as such will cover a wide area. I will make single Led/Phototransistor sensors for front left and front right. This will allow him to avoid crashing into obstacles when his rangefinder/object tracker is looking elsewhere. Note that the phototransistors are slightly forward of the blue LEDs. This helps stop stray light from the LEDs being detected Working of infrared communication: Various types of infrared based applications are available in the market. The circuit for infrared based applications is designed along with the transmitter and receiver sections i.e. we can’t use it for other application. But the infrared communication project which we have done here can be used in any application
  • 83.
    just by replacingthe application at the place of infrared LED in the circuit diagram of infrared communication. By using this project we can design infrared based applications easily. The entire circuit consists of two sections named as 1. Transmitter section and 2. Receiver section 1. Transmitter section: The transmitter section consists of a 555 timer IC functioning in astable mode. It is wired as shown in figure. The output from astable mode is fed to an IR LED via resistor which limits its operating current. Infrared LED in the transmitter section emits IR radiation which is focused by a plastic lens (optics) in to a narrow beam. 2. Receiver section: The receiver section consists of a silicon phototransistor to convert the infrared radiation to an electric current. It responds only to the rapidly pulsing signal created by the transmitter, and filters out slowly changing infrared radiation from ambient light.
  • 84.
    The receiver sectioncomprises an infrared receiver module, and a led indicator. When the signals are interrupted, the IR Led goes off after a few seconds depending upon the value of RC combination. We can increase the distance between the IR transmitter and receiver just by placing the lens between them. After connecting the IR transmitter and receiver circuit, we can get the output by applying 6V Power supply to the circuit. We can use this circuit with any application very simply. For example a buzzer circuit is placed at the output of IR circuit, when the signals are interrupted, the buzzer produces sound. Both the transmitter and receiver parts can be mounted on a single bread board or PCB. The infrared receiver must be placed behind the IR Led to avoid false indication due to infrared leakage. An object moving nearby actually reflects the IR rays emitted by the IR Led. Photo Diodes: A photodiode is a semiconductor diode that functions as a photo detector. Photodiodes are packaged with either a window or optical fiber connection, to let in the light to the sensitive part
  • 85.
    of the device.They may also be used without a window to detect vacuum UV or X-rays. A phototransistor is in essence nothing more than a bipolar transistor that is encased in a transparent case so that light can reach the base-collector junction. The phototransistor works like a photodiode, but with a much higher responsivity for light, because the electrons that are generated by photons in the base- collector junction are injected into the base, and this current is then amplified by the transistor operation. Fig (3.13) Photodiode schematic symbol Principle of operation: A photodiode is a p-n junction or p-i-n structure. When a photon of sufficient energy strikes the diode, it excites an electron thereby creating a mobile electron and a positively
  • 86.
    charged electron hole.If the absorption occurs in the junction's depletion region, or one diffusion length away from it, these carriers are swept from the junction by the built-in field of the depletion region, producing a photocurrent. Photodiodes can be used under either zero bias (photovoltaic mode) or reverse bias (photoconductive mode). In zero bias, light falling on the diode causes a current across the device, leading to forward bias which in turn induces "dark current" in the opposite direction to the photocurrent. This is called the photovoltaic effect, and is the basis for solar cells in fact; a solar cell is just a large number of big photodiodes. Reverse bias induces only little current (known as saturation or back current) along its direction. But a more important effect of reverse bias is widening of the depletion layer (therefore expanding the reaction volume) and strengthening the photocurrent. Circuits based on this effect are more sensitive to light than ones based on the photovoltaic effect and also tend to have lower capacitance, which improves the speed of their time response. On the other hand, the photovoltaic mode tends to exhibit less electronic noise.
  • 87.
    Avalanche photodiodes havea similar structure, but they are operated with much higher reverse bias. This allows each photo-generated carrier to be multiplied by avalanche breakdown, resulting in internal gain within the photodiode, which increases the effective responsivity of the device. Features: Critical performance parameters of a photodiode include: 1. Responsivity: The responsivity may also be expressed as quantum efficiency, or the ratio of the number of photo generated carriers to incident photons and thus a unit less quantity. 2. Dark current: The dark current includes photocurrent generated by background radiation and the saturation current of the semiconductor junction. Dark current must be accounted for by calibration if a photodiode is used to make an accurate optical power measurement, and it is also a source of noise when a photodiode is used in an optical communication system.
  • 88.
    3. Noise-equivalent power: (NEP)The minimum input optical power to generate photocurrent, equal to the RMS noise current in a 1 hertz bandwidth. The related characteristic directivity (D) is the inverse of NEP, 1/NEPThe NEP is roughly the minimum detectable input power of a photodiode. Applications: 1. P-N photodiodes are used in similar applications to other photo detectors, such as photoconductors, charge-coupled devices, and photomultiplier tubes. 2. Photodiodes are used in consumer electronics devices such as compact disc players, smoke detectors, and the receivers for remote controls in VCRs and televisions. 3. PIN diodes are much faster and more sensitive than ordinary p-n junction diodes, and hence are often used for optical communications and in lighting regulation. P-N vs. P-I-N Photodiodes:
  • 89.
    1. Due tothe intrinsic layer, a PIN photodiode must be reverse biased (Vr). The Vr increases the depletion region allowing a larger volume for electron-hole pair production, and reduces the capacitance thereby increasing the bandwidth. 2. The Vr also introduces noise current, which reduces the S/N ratio. Therefore, a reverse bias is recommended for higher bandwidth applications and/or applications where a wide dynamic range is required. 3. A PN photodiode is more suitable for lower light applications because it allows for unbiased operation.
  • 90.
    Features  Modulated IRtransmitter  Ambient light protected IR receiver  3 pin easy interface connectors
  • 91.
     Bus poweredmodule  Indicator LED  Up to 12 inch range for white object  Can differentiate between dark and light colors. Applications  Proximity Sensor  Obstacle Detector Sensor  Line Follower Sensor  Wall Follower Sensor APPLICATIONS  Obstacle sensing robot can be applied at the toys where small children will play.  It can used for the army application we can add a cam to it.  We can apply number pairs of IR pairs for the safe direction control of the robot.
  • 92.
    Metal Detection Sensor: Ametal detection sensor detects metallic objects which are at a distance up to 7 cm. The sensor gives an active low output when detecting a metal and also indicates through a LED.
  • 93.
    Operation: The heart ofthis sensor is the inductive oscillator circuit which monitors high frequency current loss in coil. The circuit is designed for any metallic body detection by detecting the variations in the high
  • 94.
    frequency Eddy currentlosses. With an external tuned circuit they act as oscillators. Output signal level is altered by an approaching metallic object. Output signal is determined by supply current changes. Independent of supply voltage, this current is high or low according to the presence or the absence of a close metallic object. If the metal object is near the searching coil, the output current will flow more. On the other hand, the current will be decrease when the object is far from the searching coil. Specifications 1. Detection range adjustable up to 7 cm 2. Operation range varies according to size of the metallic object 3. Power Supply: 5V DC Power Consumption: 50mA max. 4. Detection Indicator LED 5. Digital output: Active with logic “0” 6. Dimensions: 53x72 mm 7. Full SMD design
  • 95.
    Procedure: 1. Connect regulatedDC power supply of 5 Volts. Black wire is Ground, Next middle wire is Brown which is output and Red wire is positive supply. These wires are also marked on PCB. 2. When adjusting sensitivity move away from any metal object 3. Turn sensitivity pre-set until the LED is about to light. To set maximum sensitivity, turn preset until the LED is weakly lit and just becomes off. 4. To test sensors you only need power the sensor by connect two wires +5V and GND. 5. You can leave the output wire as it is. When LED is off the output is at 5V. Bring the metal object nearby the PCB coil and the LED will lit up and output becomes 0V. 6. The output is active low and can be given directly to microcontroller for interfacing applications.
  • 96.
    Metal detectors useelectromagnetic fields to detect the presence of metallic objects. They exist in a variety of walk- through, hand-held, and vehicle-mounted models and are used to search personnel for hidden metallic objects at entrances to airports, public schools, courthouses, and other guarded spaces; to hunt for landmines, archaeological artifacts, and miscellaneous valuables; and for the detection of hidden or unwanted metallic objects in industry and construction. Metal detectors detect metallic objects, but do not image them. An x-ray baggage scanner, for example, is not classed as a metal detector because it images metallic objects rather than merely detecting their presence. Metal detectors use electromagnetism in two fundamentally different ways, active and passive. (1) Active detection methods illuminate some detection space—the opening of a walk-through portal, for example, or the space directly in front of a hand-held unit—with a time-varying electromagnetic field. Energy reflected from or passing through the detection space is affected by the presence of conductive material in that
  • 97.
    space; the detectordetects metal by measuring these effects. (2) Passive detection methods do not illuminate the detection space, but take advantage of the fact that every unshielded detection space is already permeated by the Earth's natural magnetic field. Ferromagnetic objects moving through the detection space cause temporary, but detectable changes in this natural field. (Ferromagnetic objects are made of metals, such as iron, that are capable of being magnetized; many metals, such as aluminum, are conducting but not ferromagnetic, and cannot be detected by passive means.) Types of Metal detection sensors: 1. Walk-through metal detectors
  • 98.
    Walk-through or portaldetectors are common in airports, public buildings, and military installations. Their portals are bracketed with two large coils or loop-type antennae, one a source and the other a detector. Electromagnetic waves (in this case, low- frequency radio waves) are emitted by the source coil into the detection space. When the electromagnetic field of the transmitted wave impinges on a conducting object, it induces transient currents on the surface of the object; these currents, in turn, radiate electromagnetic waves. These secondary waves are sensed by the detector coil. 2. Hand-carried metal detectors. Metal detectors small enough to be hand-held are often used at security checkpoints to localize metal objects whose presence has been detected by a walk-through system. Some units are designed to be carried by a pedestrian scanning for metal objects in the ground (e.g., nails, loose change, landmines). All such devices operate on variations of the same physical principle as the walk- through metal detector, that is, they emit time-varying electromagnetic fields and listen for waves coming back from conducting objects. Some ground-search models further analyze
  • 99.
    the returned fieldsto distinguish various common metals from each other. Hand-carried metal detectors have long been used to search for landmines; however, modern land mines are often made largely of plastic to avoid this cheap and obvious counter- measure. New technologies, especially neutron activation analysis and ground-penetrating radar, are being developed to search for nonmetallic landmines. 3. Gradiometer metal detectors. Gradiometer metal detectors are passive systems that exploit the effect of moving ferromagnetic objects on the earth's magnetic field. A gradiometer is an instrument that measures a gradient— the difference in magnitude between two points—in a magnetic field. When a ferromagnetic object moves through a gradiometer metal detector's detection space, it causes a temporary disturbance in the earth's magnetic field, and this disturbance (if large enough) is detected. Gradiometer metal detectors are usually walk-through devices, but can also be mounted on a vehicle such as a police car,
  • 100.
    with the intentof detecting ferromagnetic weapons (e.g., guns) borne by persons approaching the vehicle. Gradiometer metal detectors are limited to the detection of ferromagnetic objects and so are not suitable for security situations where a would-be evader of the system is likely to have access to non ferromagnetic weapons. 4. Magnetic imaging portals The magnetic imaging portal is a relatively new technology. Like traditional walk-through metal detectors, it illuminates its detection space with radio-frequency electromagnetic waves; however, it does so using a number of small antennas arranged ring like around its portal, pointing inward. Each of these antennas transmits in turn to the antennas on the far side of the array; each antenna acts as a receiver whenever it is not transmitting. A complete scan of the detection space can take place in the time it takes a person to walk through the portal. Using computational techniques adapted from computed axial tomography (CAT) scanning, a crude image of the person (or other object) inside the portal is calculated and displayed. The magnetic imaging portal may for some purposes be classed as a
  • 101.
    metal detector ratherthan as an imaging system because it does not produce a detailed image of the metal object detected, but only reveals its location and approximate size. Advantages of Metal detection sensor: 1. Metal Detectors are designed to safeguard security-sensitive areas like schools, courtrooms, corrections facilities, sports events, businesses, nightclubs, bars and other public areas and events. 2. They are used along with walk-through metal detectors. Construction crews and woodworkers also use metal detectors to find dangerous nails or other metallic debris in reclaimed building materials and trees.
  • 102.
    3. A recentstudy proves that metal detectors are just as accurate as x-rays in finding coins and other metallic objects swallowed by children. 4. They are cheaper and radiation-free, are usually lightweight, highly sensitive and require little maintenance. The special shape of the sensitive surface makes operation of the device easy, unlike portable metal detectors with ring transducers. They come with 9V batteries or rechargeable NiMH batteries. 5. Metal detectors are most commonly used for body searches for weapons in crowd control, and checking parcels and letters. 6. Larger portable metal detectors are used by archaeologists and treasure hunters to locate metallic items, such as jewelry, coins, bullets, and other various artifacts buried shallowly underground.
  • 103.
    Disadvantages of MetalDetectors Before you start searching for used metal detectors on sale however, you may have to consider the pros and cons of having such a kind. The first advantage that you could get from a used one is definitely a more affordable price tag. Because it's not anymore brand- new, it is naturally a cheaper. Thus, you don't have to allot a large amount for it. Besides this though, there can be no other benefits at all. It's not something that acquires skills when it gets a bit older. Thus, you can't expect it to be much better than the new one because it is old and 'experienced.' The price drop reflects the depreciation of the item. The depreciation rate may also be the measure of the decrease in its effectiveness or efficiency. It is obvious that a brand new metal detector may be more expensive but this should not be the reason why you should turn your back on it. Compared to a used detector, you could rest assured that this is a much better choice when you are after effectiveness and durability. Thus, you in fact get your money's worth when you buy one if its price is half higher than the used detector.
  • 104.
    Applications 1. Detect presenceof any metallic object 2. Locate pipes, cables, metal studs, … 3. Avoid disasters when drilling holes in walls 4. Great project for novices 5. Your own unique application 6. Interface with any microcontroller Conveyor Belt The belt conveyor is an endless belt moving over two end pulleys at fixed positions and used for transporting material horizontally or at an incline up or down. The main components of a belt conveyor are: 1. The belt that forms the moving and supporting surface on which the conveyed material rides. It is the tractive element. The belt should be selected considering the material to be transported. 2. The idlers, which form the supports for the carrying and return stands of the belt. 3. The pulleys that support and move the belt and controls its tension.
  • 105.
    4. The drivethat imparts power to one or more pulleys to move the belt and its loads. 5. The structure that supports and maintains the alignments of the idlers and pulleys and support the driving machinery. Other components include: 1. Loading chute or feeder chute that organises the flow of material and directs it on the belt conveyor. 2. Take-up-device which is used to maintain the proper tension of the belt for effective power transmission. 3. Belt cleaner that keeps the belt free from materials sticking to the belt. 4. Tramp removal device, which is optionally used in case the conveyed material bears the chance of having tramp iron mixed with it and subsequent handling of the material, demands its removal. 5. Continuous weighing device for constantly measuring the load being carried by the conveyor belt. 6. Discharge chutes to guide the discharged projectile to subsequent conveyor or other receiving point. 7. Surge hopper and feeder, which is essential for supplying material to the conveyor at uniform rate when the supply of material is intermittent. 8. Tripper arrangement to discharge material at different point or to other device.
  • 106.
    Application Conveyor belts arewidely used in mineral industry. Underground mine transport, opencast mine transport and processing plants deploy conveyor belts of different kinds to adopt the specific job requirements. The main advantages of conveyor belt system are: 1. A wider range of material can be handled which pause problems in other transportation means. Belt conveyor can be used for abrasive, wet, dry, sticky or dirty material. The lump size of the transported material is limited by the width of the belt. Belts up to 2500 mm wide are used in mining industry. 2. Higher capacity can be handled than any other form of conveyor at a considerably lower cost per tonne kilometre. Conveyor belts with capacity of 11000t/h and even higher can be deployed to match with higher capacity mining machinery. 3. Longer distances can be covered more economically than any other transportation system. A single belt conveyor or a series of belt conveyors can do this. Belt conveyors can be adopted for cross- country laying. 4. By the use of many forms of ancillary equipment such as mobile trippers or spreaders bulk material can be distributed and deposited whenever required. 5. Many other functions can be performed with the basic conveying like weighing, sorting, picking, sampling, blending, spraying, cooling, drying etc. 6. Structurally it is one of the lightest forms of conveying machine. It is comparatively cheaper and supporting structures can be used for many otherwise impossible structures such as crossing rivers, streets and valleys.
  • 107.
    7. The beltconveyor can be adopted for special purposes (fire resistant, wear resistant, corrosion resistant, high angle negotiation etc.) and can be integrated with other equipment. 8. It can be horizontal, incline or decline or combination of all. 9. Minimum labour is required for the operation and maintenance of belt conveyor system. 10. In underground mine transport, belt conveyor can be used in thin seams as it eliminates the rock works that might otherwise be required to gain haulage height. Moreover, belt conveyor can provide continuous haulage service from pit bottom to the surface. The limitations of conveyor belt are: 1. The loading and transfer points need to be properly designed. 2. Numbers of protective devices have to be incorporated to save the belt from getting damaged by operational problems. 3. The belt needs higher initial tension (40-200% of useful pull). 4. The use of belt is restricted by the lump size. If the maximum diagonal of a irregular lump is X then the belt width (B) is approximately given by: 200   Xa B where, B: Belt width, mm X: Longest diagonal of irregular lump, mm
  • 108.
    a: Factor toaccount for grading. a is taken as 2.5 for graded material and 3 for un-graded material. However, for particular material these values must be properly estimated. 5. Conveying of sticky material is associated with problems of cleaning and discharge causing poor productivity. 6. Higher elongation of the belt (4% elongation may take place at the working load). Some of the applications of belt conveyors are shown in Figures below: Level or inclined Conveyor receiving material at tail end and discharging at head end.
  • 109.
    Level Conveyor receivingmaterial at any point through travelling Hopper and discharging at head end.
  • 110.
    Level and inclinedConveyor receiving material at and near tail end, having vertical curve to incline, and discharging at head end. Level and inclined Conveyor with chute. Material received from bins too close to elevated head end to permit use of vertical curve.
  • 111.
    Inclined and levelConveyor receiving material at tail end and discharging from level section through a movable Tripper. Level Conveyor on raised structure with double-wing Tripper forming storage piles on both sides of Conveyor.
  • 112.
    Inclined Conveyor receivingmaterial at tail end and discharging at several points through a series of fixed Trippers. Level Conveyor with Stacker or Boom Conveyor mounted on revolving turntable so as to discharge to both sides of Conveyor.
  • 113.
    INFORMATION REQUIRED TODESIGN A BELT CONVEYOR 1. Length of conveyor from centre to centre of end pulleys. 2. Inclination-level or inclined. Either degree of inclination, or distance to be lifted or lowered. 3. Average capacity per hour. 4. Maximum capacity per hour. 5. Material to be conveyed, and weight per cubic foot. 6. Average size of material. 7. Size of largest pieces and percentage in feed. 8. (a) Nature of material -dry or wet (moisture content). (b) Abrasive or corrosive? 9. How material is to be fed to the belt and particulars of feed point or points. 10. How material is to be discharged from the belt i.e. overhead pulley or by trippers, and particulars of discharge points. 11. General indication of supporting structure. 12. Power available for driving. If by A.C. electric motor, state voltage, phase and frequency. If D.C. motor state voltage. Items 1 and 2 determine the suitability of belt conveyors, since inclination is a limiting factor. Items 1-7 determine the speed and
  • 114.
    width of theconveyor belt, the power needed for the drive, the type of drive, the number of belt plies, size of pulleys, shafts and spacing of idlers. Items 8-10 determine the quality and thickness of the rubber cover on the belt. Description of Components Belt The belt consists of a carcass covered from all sides with a filler material like PVC and neoprene as shown in Figure 1. Figure 1 Construction of conveyor belt. Essential Properties The belt works as a tractive element as well as load-carrying element. It may be used for different kind of material transportation at a higher speed ( 6-8 m/s). For this purpose the belt need to have the following essential properties: 1. Flexibility Top Cover Bottom Cover (Carrying Side) (Non-Carrying Side) End Cover End Cover Carcass
  • 115.
    2. Transverse rigidity 3.Low mass per unit length 4. High strength 5. Simplicity and inexpensive 6. Longer life 7. Should not stretch under normal working stresses ,i.e., low relative elongation. 8. Wear resistant 9. Fire resistant Recommended maximum belt speeds are given as shown in Table 1 Speed (m/sec) Speed (fpm) Width (mm) Width (inches) Coal, damp clay, soft ore, fine crushed stone, Over burden and earth 2.032 3.048 4.064 5.08 400 600 800 1000 457.2 609.6-914.4 1066.8- 1524 1828.8- 2413 18 24-36 42-60 72-95 Heavy, hard, sharp edged ore. Coarse crushed stone 1.778 2.54 3.048 350 500 600 457.2 609.6-914.4 over 914.4 18 24-36 over 36 The carcass can absorb the longitudinal tensile stresses and make the belt rigid transversely. Filler protects carcass against moisture,
  • 116.
    mechanical damage, abrasionand combine the carcass into an integral body forming top cover and bottom cover. The filler can be synthetic rubber or polymer like PVC with adequate additives for getting particular expected characteristics. The carcass can be a fabric type with plies of fabric or steel chord type. A fabric ply has a longitudinal thread called warp and a transverse thread called weft. The fabric plies are made of capron, nylon or lavsan etc. The longitudinal member of the carcass transfers the tension. Both the warp and weft carry the load via the cover. The cover while protecting the carcass from external damage bear the impact and abrasion at the feeding points and wear at the cleaning points. Figure 2 shows the cross section of the types of conveyor belt. Figure 2 Cross section of a multi ply conveyor belt. The belt ends are joined together by mechanical means or by vulcanising. The belt needs to be protected from damage of its sides that may occur due to sway of the belt. In case of belt carrying wet sticky material fixtures for cleaning the belt should be properly selected. Materials coming on to the return side of the belt needs to be arrested from coming under the end pulley by adequate scrapers. Rubber Interply Top Cover Bottom Cover
  • 117.
    As shown inthe Figure 4 belt cleaners are used to clean the return side of the conveyor belt. These cleaning belt can be of V shape as well. Figure 3 Belt scrapers As shown in the Figure 3(a), the pow blade's 20° leading edge "spirals" debris off the return-side belt surface. There are specially designed belt cleaners for the tail pulley, they are engineered to clean the inside of the belt so rocks, lumps and other debris never get the chance to damage the pulley, belt, splices or lagging. Normally plows are easy to install on virtually any conveyor structure, and come with universal mounting brackets. Though there are suppliers of such scrapers, these can be fabricated at the mine’s workshop. The diagonal deflector plow (Figure 3a) is installed on a 45° angle across the belt to discharge debris to one side of the belt. In such
  • 118.
    cleaners the bladeis installed in a fixed position, eliminating bouncing problems associated with some floating style plows. Twin-bladed plow ( Figure 3b) is designed to clean belt in both directions of travel. This cleaner discharges material to either side of the belt. It is installed securely to conveyor structure and can work on conveyors with severe belt vibration. CONVEYOR BELT FASTENERS One of the important components that require attention in maintaining services of belt conveyor is the conveyor belt fasteners. Selection of fasteners should consider required performance, expected life and ease of installation and maintenance so that higher availability of the belt conveyor is ensured. There are different types of fasteners. Mechanical fasteners are commonly used in underground coal mining. The required rating of the mechanincal fasteners is calculated based on the required belt tension and it may be upto 263 kN/m of belt width. One such fastener is Flexco® SR™ Scalloped Edge™ RAR8 belt fastener, designed for use on mainline and panel belts with mechanical fastener ratings up to 1,500 PIW (263kN/m). The 8-rivet pattern, along with the scalloped edge design, ensures quality performance in high-tension applications.
  • 119.
    Figure 4 MechanicalBelt joint Fasteners are available with self-setting rivets which allow to install quickly from the topside of the belt. Most important in belt fastening is to take care that the plates must be accurately positioned to get perfect edges and stress distribution should be uniform along the joints. Effectiveness of maintenance will be enhanced by provision of adequate and improved tools for carrying out the job. Management should encourage innovation of workers for making work tools or improvement of work environment and safety. Idlers In a conveyor belt installation different types of idlers or roller supports are used. The idlers are required for proper support and protection of the belt and proper support of the load being conveyed.Idlers are designed with different diameters and are
  • 120.
    provided with antifrictionbearings and seals, and are mounted on shafts. Frictional resistance of idlers influences the belt tension and consequently the power requirement. Idlers are mounted on a support frame, which can be shiftable or permanent. The carrying side of the belt is supported on the carrier rollers sets. A set of three rollers are arranged to form a trough for the troughed belt conveyor. The return side of the belt is supported on straight return idlers. The spacing of the idlers is determined based on the belt sag between the idlers. The sag depends on the belt tension, belt width, belt properties and the pay-load per meter of the belt. The idlers are specified by its length and diameter. These parameters are selected based on the required belt speed for the particular width of the belt. Figure 5 Different types of roller supports
  • 121.
    Figure 6 Selfaligning idler
  • 122.
    Figure 7 Componentsof belt conveyor Self aligning idler set is used infront of the loading point. This set of idlers can rotate on a horizontal plan depending on the belt sway and restores true running of the belt. Belt training idlers should be spaced 100 to 150 feet apart and at least one such idlers should be used on conveyors less thqan 100 feet long. Such idlers are not used in the areas of belt transition. Fixed guide rolls placed perpendicular to the edge of the conveyor belt are not generally recommended as they cause edge wear and reduce belt life. Offcentre running of the belt occurs when the belt loading is not proper. Garland type idlers assist true running of the belt under difficult loading conditions. In this type of idlers the idlers are connected to form a string. The connections are through universal type coupling that allows each idlers to rotate about its own axis
  • 123.
    independently. Garland idlersare available as two roll, three roll or five roll units. Normally two-roll units are used as return idlers and three-rolls or five-rolls units are used in carrying idlers. Belt weight, material weight, idler load rating, belt sag, idler life, belt rating, belt tension and radius in vertical curves determine the spacing of idlers. Some suggested normal spacing are shown in Table 3. Pulley A conveyor belt system uses different types of pulleys like end pulley, snub pulley, bend pulley etc. as shown in the Figure 3. The end pulleys are used for driving and sometimes for making tensioning arrangements. Snub pulleys increase the angle of wrap thereby increasing the effective tension in the belt. The pulley diameter depends on the belt width and belt speed. Pulleys are used for providing the drive to the belt as well as for maintaining the proper tension to the belt. Minimum transition distance as shown in Table 4 should be followed while placing idlers in front of pulleys. Snub pulleys may be fitted in as shown in the following figures:
  • 124.
    Loose Snub TightSnub Figure 8 The angle of wrap is increased by using tandem drive as shown in Figure below: Figure 9 Tandem drive
  • 125.
    Drive Belt drive isprovided normally at the discharge ends, however, it may be provided through the head end or through intermediate pulley by coupling the pulley shaft to the reducing gear’s output shaft. The coupling is selected based on the load characteristics and applications. Flexible coupling or fluid couplings are often used. Various drive arrangements are shown in the Figures below: Take-up The purposes of take-up are: 1. To allow for stretch and shrinkage of the belt. 2. To ensure that the minimum tension in the belt is sufficient to prevent undue sag between idlers. 3. To ensure that the tension in the belt in the rear of the drive pulley is sufficient to permit such pulley to transmit the load. There are different types of take-up systems as shown in the Figures below:
  • 126.
  • 129.
    Figure 11 GravityTake up Conveyor Support The support of conveyor is normally a structural frame. Depending on the situation the structure can be mounted on floor or on skid. The main job of the support is to let the belt run without getting skewed. Depending on situations the support can be made moving type. In such cases idler a wheel mounted or crawler mounted platform keeps the necessary provision to support the idlers on which the conveyor runs. 4 bar link mechanism Linkage Mechanisms: Have you ever wondered what kind of mechanism causes the wind shield wiper on the front widow of car to oscillate Let's make a simple mechanism with similar behavior. Take some cardboard and make four strips, Take 4 pins and assemble them
  • 130.
    Now, hold the6in. strip so it can't move and turn the 3in. strip. You will see that the 4in. strip oscillates The four bar linkage is the simplest and often times, the most useful mechanism. As we mentioned before, a mechanism composed of rigid bodies and lower pairs is called a linkage (Hunt 78). In planar mechanisms, there are only two kinds of lower pairs --- revolute pairs and prismatic pairs. The simplest closed-loop linkage is the four bar linkage which has four members, three moving links,
  • 131.
    one fixed linkand four pin joints. A linkage that has at least one fixed link is a mechanism. The following example of a four bar linkage was created in SimDesign in simdesign/fourbar.sim. Four bar linkage in SimDesign This mechanism has three moving links. Two of the links are pinned to the frame which is not shown in this picture. In SimDesign, links can be nailed to the background thereby making them into the frame. How many DOF does this mechanism have? If we want it to have just one, we can impose one constraint on the linkage and it will have a definite motion. The
  • 132.
    four bar linkageis the simplest and the most useful mechanism. Reminder: A mechanism is composed of rigid bodies and lower pairs called linkages (Hunt 78). In planar mechanisms there are only two kinds of lower pairs: turning pairs and prismatic pairs. Functions of Linkages The function of a link mechanism is to produce rotating, oscillating, or reciprocating motion from the rotation of a crank or vice versa Stated more specifically linkages may be used to convert: 1. Continuous rotation into continuous rotation, with a constant or variable angular velocity ratio. 2. Continuous rotation into oscillation or reciprocation (or the reverse), with a constant or variable velocity ratio.
  • 133.
    3. Oscillation intooscillation, or reciprocation into reciprocation, with a constant or variable velocity ratio. Linkages have many different functions, which can be classified according on the primary goal of the mechanism:  Function generation: the relative motion between the links connected to the frame,  Path generation: the path of a tracer point, or  Motion generation: the motion of the coupler link. Four Link Mechanisms One of the simplest examples of a constrained linkage is the four-link mechanism. A variety of useful mechanisms can be formed from a four-link mechanism through slight variations, such as changing the character of the pairs, proportions of links, etc. Furthermore, many
  • 134.
    complex link mechanismsare combinations of two or more such mechanisms. The majority of four-link mechanisms fall into one of the following two classes: 1. the four-bar linkage mechanism, and 2. The slider-crank mechanism. Some important concepts in link mechanisms are: 1. Crank: A side link which revolves relative to the frame is called a crank. 2. Rocker: Any link which does not revolve is called a rocker. 3. Crank-rocker mechanism: In a four bar linkage, if the shorter side link revolves and the other one rocks (i.e., oscillates), it is called a crank-rocker mechanism. 4. Double-crank mechanism: In a four bar linkage, if both of the side links revolve, it is called a double-crank mechanism.
  • 135.
    5. Double-rocker mechanism:In a four bar linkage, if both of the side links rock, it is called a double-rocker mechanism. Mechanism Machines are mechanical devices used to accomplish work. A mechanism is a heart of a machine. It is the mechanical portion of the machine that has the function of transferring motion and forces from a power source to an output. Mechanism is a system of rigid elements (linkages) arranged and connected to transmit motion in a predetermined fashion.
  • 136.
    FOUR-BAR MECHANISM A four-linkmechanism with four revolute joints is commonly called a four-bar mechanism.
  • 137.
    Application of four-barmechanisms to machinery is numerous. Some typical applications will involve: a) Correlation of the angular rotations of the links connected to the fixed link (commonly known as correlation of crank angles or function generation). In such applications we would like to have a certain 14 12) to be realized by
  • 138.
    the four-bar mechanism.A simple example will be to convert a linear scale to a logarithmic scale within a certain range. b) Link that has no connection to the fixed link is known as the coupler link. A point on this link (which is known as the coupler point) will describe a path on the fixed link, which is called the coupler-point-curve. By proper choice of link dimensions useful curves, such as a straight-line or a circular arc, may be found. This coupler point curve can be used as the output of the four- bar mechanism (such as the intermittent film drive shown below c) The positions of the coupler-link may be used as the output of the four-bar mechanism. As shown in figure below, the four-bar mechanism used for the dump truck requires that the center of gravity of the dumper to move on an inclined straight line while it is being tilted
  • 139.
    (why?). The above applicationscan be solved by the methods of synthesis which is beyond the topic. In this chapter we shall discuss some basic characteristics of the four-bar. Grasshof’s Theorem The motion characteristics of a-four-bar mechanism will depend on the ratio of the link length dimensions. The links that are connected to the fixed link can possibly have two different types of motion: i) The link may have a full rotation about the fixed axis (we call this type of link crank)  The link may oscillate (swing) between two limiting angles (we call this type of link rocker). In a four-bar mechanism we can have the following three different types of motion: i) Both of the links connected to the fixed link can have
  • 140.
    a full rotation.This type of four-bar is called "double- crank” or "drag-link". ii) Both of the links connected to the fixed link can only oscillate. This type of four-bar is called “double- rocker." ii) One of the links connected to the fixed link oscillates while the other has a full rotation. This type of four-bar is called crank-rocker. Four-Bar Linkage A four-bar linkage, also called a four-bar, is the simplest movable closed chain linkage. It consists of four bodies, called bars or links, connected in a loop by four joints. Generally, the joints are configured so the links move in parallel planes, and the assembly is called a planar four-bar linkage.
  • 141.
    If the linkagehas four hinged joints with axes angled to intersect in a single point, then the links move on concentric spheres and the assembly is called a spherical four-bar linkage. Bennett's linkage is a spatial four-bar linkage with hinged joints that have their axes angled in a particular way that makes the system movable.
  • 142.
  • 146.
  • 147.
  • 149.
    CHAPTER 4 Introduction Ah yes,it is finally time to make your Arduino do something! We're going to start with the classic hell world of electronics, a blinking light. This lesson will basically get you up and running using the Arduino software and uploading a sketch to the Arduino board. Once you've completed this step we can continue to the really exciting stuff, which is when we start writing our own sketches! These instructions mostly show Windows software. Except when indicated, the software (should be) identical on all platforms. Linux will be added once I figure out how to get it working (yay) Do you have everything you need? Not much is needed for this lesson, just a USB cable and an Arduino. If you have an older Arduino you may also need an LED. Any LED is fine as long as it looks sorta like the photo, with a plastic bulb and two legs Make sure you've gone through Lesson 0 first!
  • 150.
    Assembl ed Arduino board, preferra bly a Diecimil a (or whateve rthe latest version is) Adafruit $3 5 USB Cable. Standar d A-B cable is required . Any length is OK. Adafruit Or any comput er supply store $5
  • 151.
    LED - Optio nal Nearly any LED is OK,as long as it has two wire legs. This part is only required for NG rev c Ardui nos (and maybe other older ones). Diecimil a Arduino 's have Any electron ics supply store $1
  • 152.
    this part 'built-in' Download theSoftware The first thing to do is download the Arduino software. Go to the Arduino Software Download page and grab the right file for your OS. As of Sept 2007 the version is 009 but you should use whatever is most recent. The packages are quite large, 30-50 MB so it may take a while to finish Unpack and Install Extract the package onto the Desktop
  • 153.
  • 154.
  • 155.
    Mac OS X Startup! Doubleclick the Arduino software icon
  • 156.
    Windows Mac OS X Toopen up the workspace
  • 158.
    I think Iget the red error text shown because I already have Arduino installed. Either way, it isn't a problem if you do or don't see it. Select chip The first step is to configure the Arduino software for the correct chip. Almost all Arduinos use the ATmega168, but there's a chance you have an ATmega8. Look for the chip on the Arduino that looks like this: If the text says ATMEGA8-16P then you have an atmega8 chip. If the text says ATMEGA168-20P then you have anatmega168 chip. If it says "ATMEGA328P-20P" you have an atmega328p chip
  • 159.
    Make sure thecorrect chip is selected (this picture is really old, will be fixed soon). This preference is saved so you only have to set it once, the program will remember next time it's run. Select port Next, its time to configure the Serial Port (also known as the COM Port). Go back to lesson 0 to remind yourself of which port it is. On a PC it will probably be something like COM3 or COM4. On a Mac it will be something liketty.usbserial-xxxxx
  • 160.
  • 161.
    This preference issaved so you only have to set it once, the program will remember next time it's run. However, if you have multiple Arduino's, they may be assigned difference COM ports. So every time you plug in a new Arduino, double check that the correct port is selected. Open blink sketch Sketches are little scripts that you can send to the Arduino to tell it how to act. Let's open up an Example Sketch. Go to the File menu -> Sketchbook -> Examples -> Digital -> Blink The window should now look like this, with a bunch of text in the formerly empty white space and the tab Blink above it
  • 163.
    Verify / Compile Thefirst step to getting a Sketch ready for transfer over to the arduino is to Verify/Compile it. That means check it over for mistakes (sort of like editing) and then translate it into an application that is compatible with the Arduino hardware. After a few seconds, you should see the message Done compiling. in the Status Bar and Binary Sketch Size: in theNotification area. This means the sketch was well-written and is ready for uploading to the Arduino board!
  • 165.
    Reset (NG only) Totell the Arduino that it should prepare itself for a new Sketch upload, you must reset the board. Diecimila Arduino's have built-in auto-reset capability, so you don't need to do anything. Older Arduinos, such as NG, must be manually reset before uploading a sketch. To do that simply press the black button on the right hand side of the board, shown here. Upload
  • 166.
    Now it's timeto upload. Make sure the Arduino is plugged in, the green light is on and the correct Serial Port is selected. If you have an NG Arduino, press the Reset Button now, just before you select the Upload menu item. Select Upload to I/O Board from the File menu After a few seconds you should get this screen, with the message Done uploading. in the status bar.
  • 168.
    If you getthe following error message "avrdude: stk500_getsync(): not in sync: resp=0x00" that means that the Arduino is not responding Then check the following:  If you have a NG Arduino, did you press reset just before selecting Upload menu item?  Is the correct Serial Port selected?  Is the correct driver installed?  Is the chip inserted into the Arduino properly? (If you built your own arduino or have burned the bootloader on yourself)  Does the chip have the correct bootloader on it? (If you built your own arduino or have burned the bootloader on yourself) If you get the following error message:
  • 169.
    It means youdont have a serial port selected, go back and verify that the correct driver is installed (lesson 0) and that you have the correct serial port selected in the menu. If you get the following error Expected signature for ATMEGA
  • 170.
    Then you haveeither the incorrect chip selected in the Tools menu or the wrong bootloader burned onto the chip If you get the following error: can't open device "COM10": The system cannot find the file specified (under Windows, COM port value may vary) It means that you have too many COM ports (maybe you've got 9 Arduinos?) You should make sure that the port is numbered as low as possible. You can use a program like FTClean to clear out old COM ports you aren't using anymore. Once you've cleaned out the ports, you'll have to reinstall the driver again (see lesson 0). Alternately, if you're sure that the ports are not used for something else but are left over from other USB devices, you can simply change the COM port using the Device Manager. Select the USB device in the Device Manager, right click and select Properties
  • 171.
    Then click Advanced...and in the next window change the COM port to something like COM4 or COM5. Don't forget to select the new port name in the Arduino software. The lower port names may say (in use) but as long as the other USB devices aren't plugged in, it shouldn't be a problem. This is a little riskier than just using FTClean... Video of all steps
  • 172.
    Here is avideo showing the timing of the steps described so far. Insert LED (NG Arduinos) Some older Arduinos don't have a built in LED, its easy to tell if yours does or not If you have a Diecimila or other Arduino with a built in LED you will see a translucent part as shown
  • 173.
    If you havean NG rev C or other Arduino without an LED, the translucent part will not be there, and instead you will see two silver dots If you don't have an LED, you'll need to add your own. Any LED will do, as long as it has two legs and kinda looks like the one shown here. LEDs are directional components. That means if you put it in backwards it will not work! To help you put the LED in right, the LED factory cuts the legs at different lengths. The longer leg goes in the hole marked 13and the shorter one goes in the hole marked GND
  • 174.
    Watch! If you havea Diecimila Arduino, the upload process is quite fast, just start the Upload from the software. The board will automatically reset itself, transfer the sketch and start the sketch. The little translucent LED will start blinking Click To Play If you have an NG arduino, make sure the LED is inserted as indicated before. Here is a video of the entire uploading process.
  • 175.
    Right after Ipress the Reset Button I start the sketch upload. There is a short wait while the software prepares to transfer the sketch. Then the two small orange lights blink, indicating the sketch is being transfered. When its done, there is a 7 second delay until the sketch starts. Click To Play If you don't get a blinking LED, make sure you put the part in the right way, in the correct holes, and perhaps try a different LED as it may be bad
  • 176.
    CHAPTER 5 Tools Drilling: Drilling isa cutting process that uses a drill bit to cut or enlarge a hole of circular cross-section in solid materials. The drill bit is a rotary cutting tool, often multipoint. The bit is pressed against the workpiece and rotated at rates from hundreds to thousands of revolutions per minute. This forces the cutting edge against the workpiece, cutting off chips from what will become the hole being drilled. Processes: Drilled holes are characterized by their sharp edge on the entrance side and the presence of burrs on the exit side (unless they have been removed). Also, the inside of the hole usually has helical feed marks. Drilling may affect the mechanical properties of the workpiece by creating low residual stresses around the hole opening and a very thin layer of highly stressed and disturbed
  • 177.
    material on thenewly formed surface. This causes the workpiece to become more susceptible to corrosion at the stressed surface. A finish operation may be done to avoid the corrosion. Zinc plating or any other standard finish operation of 14 to 20 microns can be done which helps to avoid any sort of corrosion. Types of drilling:  Spot drilling  Center drilling  Deep hole drilling  Micro-drilling  Vibration Drilling Drilling in Metal: Under normal usage, swarf is carried up and away from the tip of the drill bit by the fluting of the drill bit. The cutting edges produce more chips which continue the movement of the chips outwards from the hole. This is successful until the chips pack too
  • 178.
    tightly, either becauseof deeper than normal holes or insufficient backing off (removing the drill slightly or totally from the hole while drilling). Cutting fluid is sometimes used to ease this problem and to prolong the tool's life by cooling and lubricating the tip and chip flow. Coolant may be introduced via holes through the drill shank, which is common when using a gun drill. When cutting aluminum in particular, cutting fluid helps ensure a smooth and accurate hole while preventing the metal from grabbing the drill bit in the process of drilling the hole. For heavy feeds and comparatively deep holes oil-hole drills can be used, with a lubricant pumped to the drill head through a small hole in the bit and flowing out along the fluting. A conventional drill press arrangement can be used in oil-hole drilling, but it is more commonly seen in automatic drilling machinery in which it is the work piece that rotates rather than the drill bit.
  • 179.
    Fig: 1 Highspeed steel twist bit drilling into aluminum with methylated spirits lubricant.
  • 180.
  • 182.
    GENERAL OPERATIONAL PRECAUTIONS WARNING!When using electric tools, basic safety precautions should always be followed to reduce the risk of fire, electric shock and personal injury, including the following. Read all these instructions before operating this product and save these instructions. For safe operations: 1. Keep work area clean. Cluttered areas and benches invite injuries. 2. Consider work area environment. Do not expose power tools to rain. Do not use power tools in damp or wet locations. Keep work area well lit.
  • 183.
    Do not usepower tools where there is risk to cause fire or explosion. 3. Guard against electric shock. Avoid body contact with earthed or grounded surfaces (e.g. pipes, radiators, ranges, refrigerators). 4. Keep children away. Do not let visitors touch the tool or extension cord. All visitors should be kept away from work area. 5. Store idle tools. When not in use, tools should be stored in a dry, high or locked up place, out of reach of children. 6. Do not force the tool. It will do the job better and safer at the rate for which it was intended. 7. Use the right tool. Do not force small tools or attachments to do the job of a heavy duty tool. Do not use tools for purposes not intended; for example, do not use circular saw to cut tree limbs or logs.
  • 184.
    8. Dress properly.Do not wear loose clothing or jewellery, they can be caught in moving parts. Rubber gloves and non-skid footwear are recommended when working outdoors. Wear protecting hair covering to contain long hair. 9. Use eye protection. Also use face or dust mask if the cutting operation is dusty. 10. Connect dust extraction equipment. If devices are provided for the connection of dust extraction and collection facilities ensure these are connected and properly used. 11. Do not abuse the cord. Never carry the tool by the cord or yank it to disconnect it from the receptacle. Keep the cord away from heat, oil and sharp edges. 12. Secure work. Use clamps or a vise to hold the work. It is safer than using your hand and it frees both hands to operate tool.
  • 185.
    13. Do notoverreach. Keep proper footing and balance at all times. 14. Maintain tools with care. Keep cutting tools sharp and clean for better and safer performance. Follow instructions for lubrication and changing accessories. Inspect tool cords periodically and if damaged, have it repaired by authorized service center. Inspect extension cords periodically and replace, if damaged. Keep handles dry, clean, and free from oil and grease. 15. Disconnect tools. When not in use, before servicing, and when changing accessories such as blades, bits and cutters. 16. Remove adjusting keys and wrenches. Form the habit of checking to see that keys and adjusting wrenches are removed from the tool before turning it on. 17. Avoid unintentional starting. Do not carry a plugged-in tool with a finger on the switch. Ensure switch is off when plugging in.
  • 186.
    18. Use outdoorextension leads. When tool is used outdoors, use only extension cords intended for outdoor use. 19. Stay alert. Watch what you are doing. Use common sense. Do not operate tool when you are tired. 20. Check damaged parts. Before further use of the tool, a guard or other part that is damaged should be carefully checked to determine that it will operate properly and perform its intended function. Check for alignment of moving parts, free running of moving parts, breakage of parts, mounting and any other conditions that may affect its operation. A guard or other part that is damaged should be properly repaired or replaced by an authorized service center unless otherwise indicated in this handling instructions. Have defective switches replaced by an authorized service center. Do not use the tool if the switch does not turn it on and off. 21. Warning The use of any accessory or attachment, other than those
  • 187.
    recommended in thishandling instructions, may present a risk of personal injury. 22. Have your tool repaired by a qualified person. This electric tool is in accordance with the relevant safety requirements. Repairs should only be carried out by qualified persons using original spare parts. Otherwise this may result in considerable danger to the user. PRECAUTIONS ON USING CUT-OFF MACHINE 1. Before using it, ascertain that the cut-off wheel is not cracked or split. Always make a trial run before use to confirm that the Cut-off Machine does not involve abnormalities. 2. Use the normal cut-off wheel on its normal working surface. 3. Guard against cut-off sparks. 4. Properly replace the cut-off wheel. 5. Always pay attention that the cut-off wheel clamping parts are
  • 188.
    never impaired. Defectiveparts will cause damage to the cut- off wheel. 6. Ensure that the workpiece is free of foreign matter such as nails. SPECIFICATIONS Voltage (by areas)* (110V, 115V, 120V, 127V) (220V, 230V, 240V) Input 1640W* 2000W* Max. cutting dimensions 90 ° mm 45 ° 100 106 mm No-Load Speed 3800 /min
  • 189.
    Be sure tocheck the nameplate on product as it is subject to change by areas STANDARD ACCESSORIES (1) Cut-off wheel .............................. 1 (2) Hex. bar wrench .......................... 1 APPLICATION Cutting of various metallic materials such as pipes, round bars and shaped steel. Max. working peripheral speed 4800 m/min Weight 16.5 kg
  • 190.
    PRIOR TO OPERATION 1.Power source Ensure that the power source to be utilized conforms to the power requirements specified on the product nameplate. 2. Power switch Ensure that the power switch is in the OFF position. If the plug is connected to a receptacle while the power switch is in the ON position, the power tool will start operating immediately, which could cause a serious accident. 3. Extension cord When the work area is removed from the power source, use an extension cord of sufficient thickness and rated capacity. The extension cord should be kept as short as practicable.
  • 191.
    4. Install themachine on a level flat place, and keep it in a stable condition. Prior to shipping, the equipment is subjected to a rigid factory inspection to prevent electric shocks during operation. 5. Since movable portions are secured by tension of a chain while in transit, remove the chain from the chain hook by slightly depressing the switch handle. 6. Ascertain that all cut-off wheels are in perfect condition, and do not display scars and cracks. 7. Although they have been fully clamped at the factory prior to delivery, reclamp the clamping nuts securely for safety. 8. Possible accidents such as a cracked cut-off wheel is prevented by this protective cover (wheel cover). Although it has been fully clamped at the factory prior to delivery, securely reclamp the mounting screws for safety.
  • 192.
    1. When replacingthe cut-off wheel, ensure that the replacement cutting wheel has a designed circumferential speed in excess of 4800 m/min. 2. Ensure that the bar spanner used for tightening or removing the cut-off wheel is not attached to the machine. 3. Ensure that the material is securely fastened with the vise. If it is not, a serious accident could be caused if the material comes loose or the cut-off wheel breaks during operation. 4. Continued cutting without noticing a cracked or split cut-off wheel may prove to be very hazardous. Before starting operation, make a trial run to confirm that no abnormalities are involved. Trial run periods: When replacing the cut-off wheel Over 3 minutes. When starting routine work. Over 1 minute.
  • 193.
    13.Rotate the cut-offwheel to inspect any facial deflection. A heavy deflection will cause the cut-off wheel to shift. CUTTING PROCEDURES CAUTION: It is dangerous to remove or install the workpiece while the cut- off wheel turning. 1. Operating the switch The switch is switched on by manually pulling the trigger and cut off by releasing the trigger to the original location. The switch can operate continuously, even after releasing the trigger, by pushing the stopper after pulling the trigger. The stopper can be removed by pulling the trigger again and the switch is cut off with the release of the trigger. 2. Cutting 3. Rotate the cut-off wheel, gently press down the handle, and
  • 194.
    bring the cut-offwheel close to the cutting material. 4. When the cut-off wheel contacts the cutting material, gently press down the handle further and start cutting. 5. When cutting (or designated slotting) is completed, raise the handle and restore it to its original position. 6. At the termination of each cutting process, turn OFF the switch to stop rotation and proceed with the subsequent cutting job. CAUTION: It does not necessarily cut rapidly when putting more force on the handle. Vise (B) Work piece material Too much force on the handle will put excessive pressure on the motor and reduce its capacity. Do not fail to switch OFF the switch after operation is completed and pull the plug out.
  • 195.
    MOUNTING AND DISMOUNTINGTHE CUT-OFF WHEEL 1. Dismounting the cut-off wheel (Fig. 1) Vise (A) Clutch Screw handle Fig. 2
  • 196.
    (1) Press thestopper and loosen the bolt with a hex. bar wrench. CAUTION: Vise (B)Work piece material. When the mounting shaft for cut- off wheel cannot be fixed with pressing the stopper, turn the bolt with a hex. bar wrench while pressing the stopper. The mounting shaft for cut-off wheel is fixed when the stopper has been lowered. (2) Remove the bolt, washer (A), and the wheel washer and detach the cut-off wheel. Stopper Motor
  • 197.
    Hex. bar wrench Cut-offwheel Fig. 1 2. Mounting the cut-off wheel Throughly remove dust from the wheel washers and bolt then mount the wheel by following the dismounting procedures in reverse order. CAUTION: Confirm that the stopper which was used for installation and removal of the cut-off wheel has returned to the retract position. HOW TO OPERATE
  • 198.
    1. Procedure forfixing the cutting material (Fig. 2 and 3) Place the workpiece material between vise (A) and vise (B), raise the clutch and push the screw handle to bring vise (A) lightly into contact with the workpiece material, as shown in Then, turn the clutch down, and securely fix the workpiece material in position by turning the screw handle. When the cutting job is completed, turn the screw handle 2 or 3 times to loosen the vise, and remove the workpiece material. CAUTION: Never remove or install a workpiece material while the cut-off wheel is rotating, to avoid personal injury. 2. Cutting at angles (Fig. 4 and 5) (1) The machine permits cutting at angles of 45° or 60°. (2) Loosen the two M10 hexagon socket head bolts on the vice (B), then set the working surface on the vice-jaw at any
  • 199.
    angles of 0°,30°, or 45° as shown in Fig. 5. Upon completion of setting, securely tighten the two M10 hexagon socket head bolts. 90 ° 60° 45° Fig. 4 3 (3) When wide material is cut with angle, it will be firmly camped by fixing a steel board like Fig. 6 to the vise (B).
  • 200.
    1. Replacing acut-off wheel When the cut-off wheel has already become dull while continually using, the unnecessary load is got from 120 mm 45 mm 28 6 mm nuts mm Vise (B) 2 - 6.5 mm 2. Inspecting the carbon brushes (Fig. 9)
  • 201.
    The motor employscarbon brushes which are consumable parts. Since an excessively worn carbon brush can result in motor trouble, replace the carbon brush with a new one having the same carbon brush No. shown in the figure when it becomes worn to or near the “wear limit”. In addition, always keep carbon brushes clean and ensure that they slide freely within the brush holders. 3. Moving the stationary vise-jaw The vise opening is set at the maximum of 170 mm when shipped from the factory. In case an opening of more than 170 mm is required, move the vise to the position shown by the chain line after unscrewing the two bolts. The maximum opening can be set in two steps 205 mm and 240 mm. When the cutting material is excessively wide, the vise can be effectively used by repositioning the stationary side of the vise-
  • 202.
    jaws. 4. How touse metallic block When the cut-off wheel has a reduced outer diameter, insert between the vise (A) and (B) a metallic block slightly smaller than the dimension of workpiece being cut to use the cut-off wheel economically.
  • 203.
    MAINTENANCE AND INSPECTION CAUTION: Besure to switch off and pull off the plug from the power outlet before inspection and maintenance. 44 3. Inspecting the mounting screws Regularly inspect all mounting screws and ensure that they are properly tightened. Should any of the screws be loose, retighten them immediately. Failure to do so could result in serious hazard.
  • 204.
    4. Lubrication Supply oilin the following oil supply points once a month so as to keep the machine workable for a long time. Oil supply points Rotary part of shaft Rotary part of vise Slide way of vise (A) 5. Cleaning Wipe off chip and waste adhered to the machine with a cloth or the like time to time. Be careful not to make the motor portion wet with oil or water. 6. Service parts list CAUTION: Repair, modification and inspection of Hitachi Power Tools
  • 205.
    must be carriedout by an Hitachi Authorized Service Center. This Parts List will be helpful if presented with the tool to the Hitachi Authorized Service Center when requesting repair or other maintenance. In the operation and maintenance of power tools, the safety regulations and standards prescribed in each country must be observed. MODIFICATIONS: Hitachi Power Tools are constantly being improved and modified to incorporate the latest technological advancements. Accordingly, some parts (i.e. code numbers and/or design) may be changed without prior notice.
  • 208.
    ITE M PART NAME NO . 4 SUB COVER(A) 5 NUT M5 6 MACHINE SCREW (W/WASHERS) M5 1 6 7 FLANGE BOLT (A) 8 COVER SPACER 11 HEX. SOCKET 20 12 WASHER (A) 13 WHEEL WASHER (A) 14 CUT-OFF WHEEL ASS’Y 16 MACHINE 17 SPRING WASHER M5 18 COVER BUSH 19 WHEEL COVER (A)
  • 209.
    20 HITACHI LABEL 21 BOLTWASHER M5 25 BOLT WASHER M10 26 SPINNDLE ASS’Y 27 BALL BEARING 6306ZZCM 28 BEARING PLATE 29 BALL BEARING 30 SEAL LOCK HEX. SOCKET SET SCREW 1 6 31 CHAIN HOOK 32 GEAR CASE 33 BALL BEARING 6002VVCM 34 RETAINING RING FOR D15 SHAFT 35 ARMATURE ASS’Y 36 FAN GUIDE 37 BALL BEARING 38 GAUGE SPRING 39 RETAINING RING (E- TYPE) FOR D6 SHAFT
  • 210.
    40 STOPPER PIN 41TUBE(D) 42 HEX. HD. TAPPNG SCREW 43 STATOR ASS’Y 44 BRUSH TERMINAL 45 MACHINE SCREW (W/WASHERS) M5 3 5 46 NAME PLATE 47 HOUSING ASS’Y 48 HEX. E5SOCKET 8 49 BRUSH HOLDER 50 CARBON BRUSH 51 BRUSH CAP 52 SPRING 53 HANDLE 54 SWITCH 55 TAPPING SCREW (W/FLANGE) 60 HANDLE COVER 61 TAPPING SCREW (W/FLANGE) D4 1 6
  • 211.
    63 TUBE(D) 64 CORDCLIP 65 TAPPING SCREW (W/FLANGE) D4 1 6 66 CORD ARMOR 67 CORD 68 VISE ASS’Y 69 SCREW 70 SCREW HOLDER 71 HEX. SOCKET HD. BOLT (W/WASHERS) 25 ITE M PART NAME NO . 72 CHAIN 73 BOLT WASHER M8 74 BOLT 75 SPLITP IN D3 1 5 76 WASH ER M16
  • 212.
    77 ROLL PIN D5 2 5 78 VISE (B) 79 HINGE SHAFT 80 BASE RUBBE R 81BASE 82 NUT M8 83 SPRING WASHER M8 84 SPARK CHUTE 85 HEX. SOCKET HD. BOLT M8 Arc-Welding Introduction Arc welding is the fusion of two pieces of metal by an electric arc between the pieces being joined – the work pieces – and an electrode that is guided along the joint between the pieces. The electrode is either a rod that simply carries current between the tip and the work, or a rod or wire that melts and supplies filler metal to the joint.
  • 213.
    The basic arcwelding circuit is an alternating current (AC) or direct current (DC) power source connected by a “work” cable to the work piece and by a “hot” cable to an electrode. When the electrode is positioned close to the work piece, an arc is created across the gap between the metal and the hot cable electrode. An ionized column of gas develops to complete the circuit. Basic Welding Circuit The arc produces a temperature of about 3600°C at the tip and melts part of the metal being welded and part of the electrode. This produces a pool of molten metal that cools and solidifies behind the electrode as it is moved along the joint. There are two types of electrodes. Consumable electrode tips melt, and molten metal droplets detach and mix into the weld pool. Non-consumable electrodes do not melt. Instead, filler metal is melted into the joint from a separate rod or wire.
  • 214.
    The strength ofthe weld is reduced when metals at high temperatures react with oxygen and nitrogen in the air to form oxides and nitrides. Most arc welding processes minimize contact between the molten metal and the air with a shield of gas, vapour or slag. Granular flux, for example, adds deoxidizers that create a shield to protect the molten pool, thus improving the weld. Advances in Welding Power Source Design and Efficiency The electricity-consuming device – the key component of the arc welding apparatus – is the power source. Electrical consumption from the approximately 110 000 to 130 000 arc welding machines in use in Canada is estimated at 100 GWh a year. In the past, power sources used transformer-rectifier equipment with large step-down transformers that made them heavy and prone to overheating. They can be used for only one function, i.e., one type of welding. In the 1990s, advances in power switching semiconductors led to the development of inverter power sources that are multi-functional, lighter, more flexible and that provide a superior arc. Welding power sources use electricity when welding (arc -on) and when idling. Earlier transformer-rectifier equipment had energy conversion efficiencies that ranged from 40 to 60 percent and required idling power consumption of 2 to 5 kW. Modern inverter power sources have energy conversion efficiencies near 90 percent, with idling power consumption in the order of 0.1 kW. Modern inverter power sources are gradually replacing transformer-rectifier units. They combine a quick return on investment, and, compared with transformer-rectifier units, are far more portable and easier to operate, are multi-functional rather than mono-functional, create superior arcs and combine higher-quality welds with longer arc-on time.
  • 215.
    The Five MostCommon Arc Welding Processes Process Known Electrodes Shielding Operator Popularit y as skill required Shielded SMAW Rigid metal Stick Low Diminishi ng metal arc or stick coatings welding Gas metal arc GMAW Solid wire CO2 gas Low Growing welding or MIG Flux core arc FCAW Hollow wire Core Low Growing welding or MIG materials Gas tungsten GTAW Tungsten Argon gas High Steady arc welding or TIG Submerged SAW Solid wire Argon gas High Steady arc welding Power sources produce DC with the electrode either positive or negative, or AC. The choice of current and polarity depends on the process, the type of electrode, the arc atmosphere and the metal being welded. Energy Efficiency of the Power Source
  • 216.
    • Modern inverterpower sources have high energy-conversion efficiencies and can be 50 percent more efficient than transformer-rectifier power sources. 16. Modern inverter power sources for idling power requirements are 1/20th of conventional transformer-rectifier power sources. 17. Modern inverter power sources have power factors that are close to 100 percent; transformer-rectifier power source percentages are much lower, which reduces electricity consumption. 18. Modern inverter power sources are four times lighter and much smaller than transformer-rectifier power sources. They are thus more portable and can be moved by one person instead of four, making it possible to bring the welding equipment to the job, not vice versa. 19. Modern inverter power sources are multi-functional and can be used for GMAW, FCAW, SMAW and GTAW. How Much Will I Save? Assumptions Work time Two shifts of eight hours for 250 days a year (4000 hours) Operating factor 40 percent Arc-on time 1600 hours per year Idling time 2400 hours per year Cost per kWh $0.12 Welding process SMAW (Shielded metal arc welding) Output power 300 amps at 32 volts – 9.6 kW
  • 217.
    Inverter-Based Power SourceTransformer-Rectifier Power Source Weight: 34 kg Weight: 126 kg Energy conversion efficiency: Energy conversion efficiency: 78.7% 51.6% Arc-on power: 10.4 kW Arc-on power: 18.6 kW Idling power: 0.06 kW Idling power: 0.87 kW Operating Electricity Cost Operating Electricity Cost Welding time $1,996.80 Welding time $3,571.20 Idling time $16.42 Idling time $250.56
  • 218.
    Annual electricity $2,013.22 Annual electricity $3,821.76 costcost Annual electricity $1,808.54 saving Investment Investment Purchase price $5,609 Purchase price $4,428 Price difference $1,181 Payback period 8 months The break-even point for investment in an inverter power source equipment occurs approximately eight months after purchase. From then on, annual energy costs will remain lower. Purchasing Tips Find the lowest-powered inverter power source that is most appropriate to your application. 23. If you need process flexibility, choose multi-process equipment. 24. Look for a power factor of 99 percent or higher. 25. Look for an energy conversion efficiency (kVA out over kVA in) near 80 percent.
  • 219.
    26. Look foridling power consumption of less than 0.1 kW. 27. Buy from a reliable supplier who provides field maintenance and at least a two-year, all-parts warranty. 28. Check manufacturers' Web sites for warranty information. 29. Shop for competitive prices. Operation Tips Arc welding requires an operator and a power source. Both the operator and the equipment have roles to play in making the welding process more energy efficient. Some Important Definitions Arc-on time: When the welder holds an arc between the electrode and the work piece Idling time: When welding equipment is ready for use but is not generating an arc Operating factor: The ratio of arc-on time to the total time worked, often expressed as a percentage:
  • 220.
    Work time: Conventionis to assume total annual work time of 4000 hours (two shifts). Power Efficiency Welding power sources draw power when idling. Efficiency is greater when idling is reduced and the operating factor is close to 100 percent. The higher the operating factor, the more efficient the process. The following are ways to improve efficiency: 7. Use the most efficient welding process. Use gas metal arc welding (GMAW) instead of shielded metal arc welding (SMAW). Typically, operating factors for SMAW fall between 10 to 30 percent; operating factors for GMAW fall between 30 to 50 percent. 8. Use multi-process inverter power sources. Modern inverter power sources can be used for several welding processes and save time and effort when switching processes. For example, the Miller XTM 304 can be used for GMAW, FCAW, SMAW and GTAW. 9. Automate when possible. Manage repetitive operations by applying advances in automation and computer programming. • Reduce idling time. Cut the time spent on pre-welding tasks such as assembly, positioning, tacking and cleaning, and on follow-up operations, such as slag removal and defect repair. Position the work to allow down-hand welding. Experience has shown that down-hand (vertical high to low) welding is faster, easier on the operator and more error-free than other techniques. • Train the welder. Well-trained welders work better and faster and are usually conscious of energy savings opportunities. Power Source Performance
  • 221.
    Certain characteristics determinethe energy efficiency of power sources: 9. Power factor: Power factor is the ratio of “real” electrical power made available by the welding power source for producing a welding arc (the power you can use) to the "apparent" electrical power supplied by the utility (the power you pay for). The older technology of transformer-rectifier power sources can have power factors in the order of 75 percent; modern inverter power sources have power factors close to 100 percent. 10. Arc-on power and idling power: Transformer-rectifier power sources use more power in arc-on and idling modes than modern inverter power sources do with the same output. The following table shows that the average annual electrical energy required by a typical transformer-rectifier source is five to nine times the energy required by an inverter power source for the same job. In other words, the inverter source uses only 10 to 20 percent of the power needed by a transformer-rectifier source. Power Process Apparent Apparent Operating Annual Source Arc-On Idling Factor Energy Power Power (OF) Required (kW) (kW) (kWh) Transformer SMAW 10.26 4.86 10% 18 600 – rectifier (stick) 10.26 4.86 30% 25 920 Inverter SMAW 3.91 0.12 10% 1 996 (stick) 3.91 0.12 30% 5 028
  • 222.
    To compare theperformance of power sources use the following formula: The kVA input and output values for power sources at rated outputs can be found in manufacturers' equipment data sheets. COMMON ELECTRIC ARC WELDING PROCESSES Shielded metal arc welding: Shielded Metal Arc Welding, also known as manual metal arc welding, stick welding, or electric arc welding, is the most widely used of the various arc welding processes. Welding is performed with the heat of an electric arc that is maintained between the end of a coated metal electrode and the work piece (See Figure below).
  • 223.
    The heat producedby the arc melts the base metal, the electrode core rod, and the coating. As the molten metal droplets are transferred across the arc and into the molten weld puddle, they are shielded from the atmosphere by the gases produced from the decomposition of the flux coating. The molten slag floats to the top of the weld puddle where it protects the weld metal from the atmosphere during solidification. Other functions of the coating are to provide arc stability and control bead shape. More information on coating functions will be covered in subsequent lessons. Equipment & Operation - One reason for the wide acceptance of the SMAW process is the simplicity of the necessary equipment. The equipment consists of the following items. (See Figure below) 5. Welding power source 6. Electrode holder 7. Ground clamp
  • 224.
    8. Welding cablesand connectors 9. Accessory equipment (chipping hammer, wire brush) 10. Protective equipment (helmet, gloves, etc.) Welding Power Sources - Shielded metal arc welding may utilize either alternating current (AC) or direct current (DC), but in either case, the power source selected must be of the constant current type. This type of power source will deliver a relatively constant amperage or welding current regardless of arc length variations by the operator. The amperage determines the amount of heat at the arc and since it will remain relatively constant, the weld beads produced will be uniform in size and shape. Whether to use an AC, DC, or AC/DC power source depends on the type of welding to be done and the electrodes used. The following factors should be considered: Electrode Selection - Using a DC power source allows the use of a greater range of electrode types. While most of the electrodes are designed to be used on AC or DC, some will work properly only on DC. Metal Thickness - DC power sources may be used for welding both heavy sections and light gauge work. Sheet metal is more easily welded with DC because it is easier to strike and maintain the DC arc at low currents. Distance from Work - If the distance from the work to the power source is great, AC is the best choice since the voltage drop through the cables is lower than with DC. Even though welding cables are made of copper or aluminum (both good conductors), the resistance in the cables becomes greater as the cable length increases. In other words, a voltage reading taken between the electrode and the work will be somewhat lower than a reading taken at the output terminals of the power source. This is known as voltage drop. Welding Position - Because DC may be operated at lower welding currents, it is more suitable for overhead and vertical welding than AC. AC can successfully be used for out-of-position work if proper electrodes are selected.
  • 225.
    Arc Blow -When welding with DC, magnetic fields are set up throughout the weldment. In weldments that have varying thickness and protrusions, this magnetic field can affect the arc by making it stray or fluctuate in direction. This condition is especially troublesome when welding in corners. AC seldom causes this problem because of the rapidly reversing magnetic field produced. Combination power sources that produce both AC and DC are available and provide the versatility necessary to select the proper welding current for the application. When using a DC power source, the question of whether to use electrode negative or positive polarity arises. Some electrodes operate on both DC straight and reverse polarity, and others on DC negative or DC positive polarity only. Direct current flows in one direction in an electrical circuit and the direction of current flow and the composition of the electrode coating will have a definite effect on the welding arc and weld bead. Figure below shows the connections and effects of straight and reverse polarity. While polarity affects the penetration and burn-off rate, the electrode coating also has a strong influence on arc characteristics. Performance of individual electrodes will be discussed in succeeding lessons. Electrode Holder - The electrode holder connects to the welding cable and con- ducts the welding current to the electrode. The insulated handle is used to guide the electrode over the weld joint and feed the electrode over the weld joint and feed the electrode into the weld puddle as it is consumed. Electrode holders are available in different sizes and are rated on their current carrying capacity.
  • 226.
    Ground Clamp -The ground clamp is used to connect the ground cable to the work piece. It may be connected directly to the work or to the table or fixture upon which the work is positioned. Being a part of the welding circuit, the ground clamp must be capable of carrying the welding current without overheating due to electrical resistance. Welding Cables - The electrode cable and the ground cable are important parts of the welding circuit. They must be very flexible and have a tough heat-resistant insulation. Connections at the electrode holder, the ground clamp, and at the power source lugs must be soldered or well crimped to assure low electrical resistance. The cross-sectional area of the cable must be sufficient size to carry the welding current with a minimum of voltage drop. Increasing the cable length necessitates increasing the cable diameter to lessen resistance and voltage drop. Coated Electrodes - Various types of coated electrodes are used in shielded metal arc welding. Electrodes used for welding mild or carbon steels are quite different than those used for welding the low alloys and stainless steels. Details on the specific types will be covered in subsequent lessons. Gas Tungsten Arc Welding is a welding process performed using the heat of an arc established between a nonconsumable tungsten electrode and the work piece.
  • 227.
    The electrode, thearc, and the area surrounding the molten weld puddle are protected from the atmosphere by an inert gas shield. The electrode is not consumed in the weld puddle as in shielded metal arc welding. If a filler metal is necessary, it is added to the leading the molten puddle. Gas tungsten arc welding produces exceptionally clean welds no slag is produced, the chance inclusions in the weld metal is and the finished weld requires virtually no cleaning. Argon and Helium, the primary shielding gases employed, are inert gases. Inert gases do not chemically combine with other elements and therefore, are used to exclude the reactive gases, such as oxygen and nitrogen, from forming compounds that could be detrimental to the weld metal. Gas tungsten arc welding may be used for welding almost all metals — mild steel, low alloys, stainless steel, copper and copper alloys, aluminum and aluminum alloys, nickel and nickel alloys, magnesium and magnesium alloys, titanium, and others. This process is most extensively used for welding aluminum and stainless steel alloys where weld integrity is of the utmost importance. Another use is for the root pass (initial pass) in pipe welding, which requires a weld of the highest quality. Full penetration without an excessively high inside bead is important in the root pass, and due to the ease of current control of this process, it lends itself to control of back-bead size. For high quality welds, it is usually necessary to provide an inert shielding gas inside the pipe to prevent oxidation of the inside weld bead. Gas tungsten arc welding lends itself to both manual and automatic operation. In manual operation, the welder holds the torch in one hand and directs the arc into the weld joint. The filler metal is fed manually into the leading edge of the puddle. In automatic applications, the torch may be automatically moved over a stationary work piece or the torch may be stationary with the work moved or rotated in relation to the torch. Filler metal, if required, is also fed automatically. Equipment and Operation - Gas tungsten arc welding may be accomplished with relatively simple equipment, or it may require some highly sophisticated components. Choice of equipment depends upon the type of metal being joined, the position of the weld being made, and the quality of the weld metal necessary for the application. The basic equipment consists of the following: 14. The power source
  • 228.
    15. Electrode holder(torch) 16. Shielding gas 17. Tungsten electrode 18. Water supply when necessary 19. Ground cable 20. Protective equipment Power Sources - Both AC and DC power sources are used in gas tungsten arc welding. They are the constant current type with a drooping volt-ampere curve. This type of power source produces very slight changes in the arc current when the arc length (voltage) is varied. The choice between an AC or DC welder depends on the type and thickness of the metal to be welded. Distinct differences exist between AC and DC arc characteristics, and if DC is chosen,
  • 229.
    the polarity alsobecomes an important factor. The effects of polarity in GTAW are directly opposite the effects of polarity in SMAW. In SMAW, the distribution of heat between the electrode and work, which determines the penetration and weld bead width, is controlled mainly by the ingredients in the flux coating on the electrode. In GTAW where no flux coating exists, heat distribution between the electrode and the work is controlled solely by the polarity. The choice of the proper welding current will be better understood by analyzing each type separately. Direct current electrode negative (DCEN) is produced when the electrode is connected to the negative terminal of the power source. Since the electrons flow from the electrode to the plate, approximately 70% of the heat of the arc is concentrated at the work, and approximately 30% at the electrode end. This allows the use of smaller tungsten elec- trodes that produce a relatively narrow concentrated arc. The weld shape has deep penetra- tion and is quite narrow. Direct current electrode negative is suitable for weld- ing most metals. Magnesium and aluminum have a refractory oxide coating on the surface that must be physically removed immediately prior to welding if DCSP is to be used. Direct current electrode positive (DCEP) is produced when the electrode is connected to the positive terminal of the welding power source. In this condition, the electrons flow from the work to the electrode tip, concentrating approximately 70% of the heat of the arc at the electrode and 30% at the work. This higher heat at the electrode necessitates using larger diameter tungsten to prevent it from melting and contaminating the weld metal. Since the electrode diameter is larger and the heat is less concentrated at the work, the resultant weld bead is relatively wide and shallow.
  • 230.
    Direct current electrodepositive is rarely used in gas -tungsten arc welding. Despite the excellent oxide cleaning action, the lower heat input in the weld area makes it a slow process, and in metals having higher thermal conductivity, the heat is rapidly conducted away from the weld zone. When used, DCEP is restricted to welding thin sections (under 1/8") of magnesium and aluminum. Alternating current is actually a combination of DCEN and DCEP and is widely used for welding aluminum. In a sense, the advantages of both DC processes are combined, and the weld bead produced is a compromise of the two. Remember that when welding with 60 Hz current, the electron flow from the electrode tip to the work reverses direction 120 times every second. Thereby, the intense heat alternates from electrode to work piece, allowing the use of an intermediate size electrode. The weld bead is a compromise having medium penetration and bead width. The gas ions blast the oxides from the surface of aluminum and magnesium during the positive half cycle. DC constant current power sources - Constant current power sources, used for shielded metal arc welding, may also be used for gas-tungsten arc welding. In applications where weld integrity is not of utmost importance, these power sources will suffice. With machines of this type, the arc must be initiated by touching the tungsten electrode to the work and quickly withdrawing it to maintain the proper arc length. This starting method contaminates the electrode and blunts the point which has been grounded on the electrode end. These conditions can cause weld metal inclusions and poor arc direction. Using a power source designed for gas tungsten arc welding with a high frequency stabilizer will eliminate this problem. The electrode need not be touched to the work for arc initiation. Instead, the high frequency voltage, at very low current, is superimposed onto the welding current. When the electrode is brought to within approximately 1/8 inch of the base metal, the high frequency ionizes the gas path, making it conductive and a welding arc is established. The high frequency is automatically turned off immediately after arc initiation when using direct current. AC Constant Current Power Source - Designed for gas tungsten arc welding, always
  • 231.
    incorporates high frequency,and it is turned on throughout the weld cycle to maintain a stable arc. When welding with AC, the current passes through 0 twice in every cycle and the must be reestablished each time it does so. The oxide coating on metals, such as aluminum and magnesium, can act much like a rectifier.. The positive half-cycle will be eliminated if the arc does not reignite, causing an unstable condition. Continuous high frequency maintains an ionized path for the welding arc, and assures arc re- ignition each time the current changes direction. AC is extensively used for welding aluminum and magnesium. AC/DC Constant Current Power Sources - Designed for gas tungsten arc welding, are available, and can be used for welding practically all metals. The gas tungsten arc welding process is usually chosen because of the high quality welds it can produce. The metals that are commonly welded with this process, such as stainless steel, aluminum and some of the more exotic metals, cost many times the price of mild steel; and therefore, the power sources designed for this process have many desirable features to insure high quality welds. Among these are: 3. Remote current control, which allows the operator to control welding amperage with a hand control on the torch, or a foot control at the welding station. 4. Automatic soft-start, which prevents a high current surge when the arc is initiated. 5. Shielding gas and cooling water solenoid valves, which automatically control flow before, during and for an adjustable length of time after the weld is completed. 6. Spot-weld timers, which automatically control all elements during each spot-weld cycle. Other options and accessories are also available. Power sources for automatic welding with complete programmable output are also available. Such units are used extensively for the automatic welding of pipe in position. The welding current is
  • 232.
    automatically varied asthe torch travels around the pipe. Some units provide a pulsed welding current where the amperage is automatically varied between a low and high several times per second. This produces welds with good penetration and improved weld bead shape. Torches - The torch is actually an electrode holder that supplies welding current to the tungsten electrode, and an inert gas shield to the arc zone. The electrode is held in a collet-like clamping device that allows adjustment so that the proper length of electrode pro- trudes beyond the shielding gas cup. Manual torches are designed to accept electrodes of 3 inch or 7 inch lengths. Torches may be either air or water-cooled. The air-cooled types actually are cooled to a degree by the shielding gas that is fed to the torch head through a compos- ite cable. The gas actually surrounds the copper welding cable, affording some degree of cooling. Water-cooled torches are usually used for applications where the welding current exceeds 200 amperes. The water inlet hose is connected to the torch head. Circulating around the torch head, the water leaves the torch via the current-in hose and cable assembly. Cooling the welding cable in this manner allows the use of a smaller diameter cable that is more flexible and lighter in weight. The gas nozzles are made of ceramic materials and are available in various sizes and shapes. In some heavy duty, high current applications, metal water-cooled nozzles are used. A switch on the torch is used to energize the electrode with welding current and start the shielding gas flow. High frequency current and water flow are also initiated by this switch if the power source is so equipped. In many installations, these functions are initiated by a foot control that also is capable of controlling the welding current. This method gives the operator full control of the arc. The usual welding method is to start the arc at a low current, gradually increase the current until a molten pool is achieved, and welding begins. At the end of the weld, current is slowly decreases and the arc extinguished, preventing the crater that forms at the end of the weld when the arc is broken abruptly.
  • 233.
    Shielding Gases -Argon and helium are the major shielding gases used in gas tungsten arc welding. In some applications, mixtures of the two gases prove advantageous. To a lesser extent, hydrogen is mixed with argon or helium for special applications. Argon and helium are colorless, odorless, tasteless and nontoxic gases. Both are inert gases, which means that they do not readily combine with other elements. They will not burn nor support combustion. Commercial grades used for welding are 99.99% pure. Argon is .38% heavier than air and about 10 times heavier than helium. Both gases ionize when present in an electric arc. This means that the gas atoms lose some of their electrons that have a negative charge. These unbalanced gas atoms, properly called positive ions, now have a positive charge and are attracted to the negative pole in the arc. When the arc is positive and the work is negative, these positive ions impinge upon the work and remove surface oxides or scale in the weld area. Argon is most commonly used of the shielding gases. Excellent arc starting and ease of use make it most desirable for manual welding. Argon produces a better cleaning action when welding aluminum and magnesium with alternating current. The arc produced is relatively narrow. Argon is more suitable for welding thinner material. At equal amperage, helium produces a higher arc voltage than argon. Since welding heat is the product of volts times amperes, helium produces more available heat at the arc. This makes it more suitable for welding heavy sections of metal that have high heat conductivity, or for automatic welding operations where higher welding speeds are required. Argon-helium gas mixtures are used in applications where higher heat input and the desirable characteristics of argon are required. Argon, being a relatively heavy gas, blankets the weld area at lower flow rates. Argon is preferred for many applications because it costs less than helium. Helium, being approximately 10 times lighter than argon, requires flow rates of 2 to 3 times that of argon to satisfactorily shield the arc.
  • 234.
    Electrodes - Electrodesfor gas tungsten arc welding are available in diameters from .010" to 1/4" in diameter and standard lengths range from 3" to 24". The most commonly used sizes, however, are the .040", 1/16", 3/32", and 1/8" diameters. The shape of the tip of the electrode is an important factor in gas tungsten arc welding. When welding with DCEN, the tip must be ground to a point. The included angle at which the tip is ground varies with the application, the electrode diameter, and the welding current. Narrow joints require a relatively small included angle. When welding very thin material at low currents, a needlelike point ground onto the smallest available electrode may be necessary to stabilize the arc. Properly ground electrodes will assure easy arc starting, good arc stability, and proper bead width. When welding with AC, grinding the electrode tip is not necessary. When proper welding current is used, the electrode will form a hemispherical end. If the proper welding current is exceeded, the end will become bulbous in shape and possibly melt off to contaminate the weld metal. The American Welding Society has published Specification AWS A5.12-80 for tungsten arc welding electrodes that classifies the electrodes on the basis of their chemical composition, size and finish. Briefly, the types specified are listed below: 7. Pure Tungsten (AWS EWP) Color Code: Green Used for less critical applications. The cost is low and they give good results at relatively low currents on a variety of metals. Most stable arc when used on AC, either balanced wave or continuous high frequency. 8. 1% Thoriated Tungsten (AWS EWTh-1) Color Code: Yellow Good current carrying capacity, easy arc starting and provide a stable arc. Less susceptible to contamination. Designed for DC applications of nonferrous materials. 3. 2% Thoriated Tungsten (AWS EWTh-2) Color Code: Red Longer life than 1% Thoriated electrodes. Maintain the pointed end longer, used for light gauge critical welds in aircraft work.
  • 235.
    Like 1%, designedfor DC applications for nonferrous materials. 4. 5% Thoriated Tungsten (AWS EWTh-3) Color Code: Blue Sometimes called "striped" electrode because it has 1.0-2.0% Thoria inserted in a wedge-shaped groove throughout its length. Combines the good properties of pure and thoriated electrodes. Can be used on either AC or DC applications. 5. Zirconia Tungsten (AWS EWZr) Color Code: Brown Longer life than pure tungsten. Better performance when welding with AC. Melts more easily than thoriam-tungsten when forming rounded or tapered tungsten end. Ideal for applications where tungsten contamination must be minimized. ADVANTAGES  Efficiency is very high.  Precision is high.  Quality is good with low failure rate.  Overall cost of this Robotic arm system is low.  Reliable operation and maintenance.  Reduces Manual Work APPLICATIONS The system has a number of applications in various fields, as it provides colour sorting of objects. This project is successful as it separates different objects according to their colour. It is a sensor- based system which sorts an object according to its colour and then performs the pick and place functions for the object. An application to the system is also object detection and colour
  • 236.
    recognition, which arethe two main steps in the sensing part. In case of Man work, it is a biggest task to sort the objects with high efficiency and quality, which results in lack of accuracy in the work. The system has an important application in the Farm Management. Here the various types of fruits can be categorized and separated and then pick and place task can be executed to place them in their particular places. Products like grains, apples, lemons, oranges, etc and various types of fruits are arranged efficiently. In big industries sorting of different objects and tools is an important application. CONCLUSION Fully functional sorter machine can be implemented by using a structure of parallel and independentchannels in order to increase the overall throughputwhich results with a forecasted performance. The project can work successfully. There are two mainsteps in sensing part, objects detection andrecognition.Thesystemcansuccessfullyperformhandlingstationtask,namelypickandplacemechanismwith help of sensor. Thus a cost effectiveMechatronics system can be designed using thesimplest concepts and efficient result can beobserved. REFERENCES [1] AlessandroGolfarelli, RossanoCodeluppi and MarcoTartagni, “A Self-Learning Multi- Sensing SelectionProcess:MeasuringObjectsOnebyOneby”,ARCES–LYRAS LAB University of Bologna, Campus of Forlì, 1-4244-1262-5/07/$25.00 ©2007 IEEE, IEEE SENSORS2007 Conference.
  • 237.
    [2] Sahu, S.,Lenka, P.; Kumari, S.; Sahu, K.B.; Mallick, B.;“Designacolour sensor:Applicationtorobothandlingradiation work”, Vol. 56, No. 10, pp. 365- 368, 2007,Industrial. Engineering. [3] www.google.com/microepsilon.com/catcolorsensor—e [4] www.shortcourse.com/www.sensors.com/optical/imagesensors [5] wwwgoogle.com/wisegeek.com/whatis opticalsensors.htmwww.google.com/osa.org/sensors [6] www.pdfgenicom/compacsort.com/sorters [7] www.pdfgenicom/indiamart.com/sorting machine