Embedded Research
Dr. James Duggan
ESRI
J.Duggan@mmu.ac.uk
Post-it Notes
• What do you want to know/ have explored by
the end of the seminar?
• At least 2 things!
The Academia of Pale Imitations
• ‘Embedded journalism’ in the 2003 Iraq war (Ignatius 2010;
Tuosto 2006)
– The nature of information sharing
– The meaning of informed consent and confidentiality,
– Moral responsibility and positionality
– Whose stories were being told and voices were being heard
(Feinstein and Nicholson 2005, Haigh et al 2006, Pfau et al
2004).
• ‘Embedded teachers’ (Hale 2012)
• ‘Embedded librarians’ (Feliu and Fraser 2012; Shumaker
2013)
• Embedded researchers (McGinity and Salokangas 2014)
The Academia of Minor
Differences
• Consultancy and evaluation
• Critical friendship
• Development and research (D&R)
• ‘Insider’ and ‘outsider’ research
• Ethnography and ethnomethodology
• Action and practitioner research
• Critical secretaries
• Embedded research?
Embedded Research
• Embedded research describes an arrangement
whereby researchers join non-academic
organisations in order to conduct mutually-
beneficial research projects (McGinity and
Salokangas 2012; Duggan 2014)
• Not a single methodological approach
• Characteristics: Formal contract, resources,
status in organisation
• Key issue: PhD student
Rationale
• Evidence-based police and practice (New
Labour…)
• Diversification of funding for research
• Building closer relationships between
knowledge producers and users
• Increased access for researchers (Malfroy
2011)
• Inform the development of initiatives by
providing evidence (Enders, 2005)
Implications of ER for PhDs
• Ethical (Rowley 2014; Cheek, 2005)
• Pedagogical (Salminen-Karlsson & Wallgren 2008)
• ER as acknowledged and/or integral
• Acknowledged:
– Ethics of receiving money
– Access, familiarity and ‘going native’
• Integral
– Space to develop appropriate methods to make a
contribution to knowledge
My PhD
• Stockborough MBC and University of
Manchester, School of Education
• ESRC Case Studentship
• Research the Stockborough Challenge
• The Every Child Matters agenda
• Improving collaboration in Stockborough
children’s services
Stockborough Challenge - Timeline
• Stockborough Challenge One
– DCS writes ‘Bringing Together’ Sep 2007
– My PhD begins Oct 2008
– DCS retires Nov 2008
– Baby P, financial crisis, corporate re-organisation,
government changes policy emphasis
• Stockborough Challenge Two
– SC refocused
– Acting-DCS resigns June 2009, new DCS
– SC Director resigns & fieldwork begins Sep 2009
– Ofsted Inspection and ‘notice to improve’ Jan 2010
• I submit my thesis November 2012
Policy Context
• Every Child Matters agenda
– 5 interdependent, holistic outcomes
– New roles (e.g., Lead Professional)
– New information systems (e.g. Common Assessment
Framework)
– New structures (e.g., Children’s Trust)
• Leadership and cultural change
– Senior managers must lead on workforce reform and drive
culture change to embed integrated working and common
processes, communicating to their staff and to external
stakeholders a clear vision of integrated working and how
to achieve it… (DCSF 2007: §7.45)
Stockborough Challenge One
• Vision document ‘Bringing Together’ - Rationale
• 7 challenges ‘we need to’
– Narrowing the gap: we need to understand more about the
different needs and challenges for children, young people and
families in localities and communities throughout Stockborough
and develop community based multi-agency integrated services
that respond effectively to this range of needs, recognising that
all Stockborough’s children and young people are different and
we need to be able to meet the full diversity of their needs if
they really do matter. (Bringing Together §2.12.1)
• Collaboration WPR
1. Learn more about collaboration
2. Develop appropriate conditions and arrangements
3. Leadership
Stockborough Challenge Two
• “A campaign of cultural change within and on
behalf of the Stockborough Children’s Trust”
• Collaboration not defined
– What we do not yet know is quite what we are hoping
to achieve through the big thinking and the small
starts, what the partnership working of 2013 will look
actually look like and how we will get to the point at
which we know. (Developing the Detail §1.5)
– ‘Schools as Children’s Trusts in the community’ (DtD
§3.1)
‘One culture’
• Targets identified as the barrier to collaboration… ‘the
corporate beast’ & ‘a target obsessed culture’
• The ‘one culture’
– This additional creativity will come through both system
leadership approaches, in which leaders move beyond their
own team or institution and, with the credibility their success
gives them, influence others, and through wider collaboration.
(Rationale §4.3)
– Stockborough Council will continue to have its high stakes
targets; the Stockborough Challenge, if successful in creating
the leadership, culture and environments to enable the
Council’s vision to be fulfilled, will impact in any case on those
targets. (Rationale §4.7)
• “We’ll do what needs to be done and tick the box afterwards”
(Head teacher)
What we do not yet know is quite what we are
hoping to achieve through the big thinking and
the small starts, what the partnership working
of 2013 will look actually look like, and how we
will get to the point at which we know.
(Stockborough Challenge 2007, Developing the
Detail).
The Moving Aim
• An external advisor explained:
• It’s strange how you have these things called
Children’s Trusts, and they had one in
Stockborough but they didn’t know they had one,
and then they were drip fed the guidance, and
then there was a moment when they said ‘oh, it’s
about commissioning.’
• Collaboration then cultural change around the
Children’s Trust, finally commissioning
‘Transient Vacuum’
• Spaces that emerge processes of neolib/
managerialisation in the public sector
• ‘Transience’ – temporal, spatial and dynamic
aspects of public sector reforms
• ‘Vacuum’ – the intangible and hard-to-
describe experience of researching an
initiative where the ‘centre did not hold’,
Policy Issues
• Leadership lacked clarity (Frost 2009; Booker 2011;
Close 2012)
• Collaboration defined by ‘policy condensates’ (Clarke
et al, 2006; Clarke et al, 2008; Ball 2008)
• Children’s Trust initiative or subsequent changes not
based on evidence (Audit Commission 2008)
• Contradictions
– Divergence and convergence at the local level
– Competition (targets, markets) and collaboration
– Holistic outcomes and existing targets (Frost and Parton
2009)
Literature on LfC
• Collaboration unspecified and de-contextualised
– The term “collaboration”… [is used] from here on to cover
all aspects and styles of joint working practice. (Salmon
2004: 157).
• Self-report methods (Lumby 2009) & ‘goldilocks
factors’
• The ideological context of leadership and cultural
change not acknowledged
– Why collaboration and leadership
– The managerialisation of the public sector
The ‘wisdom deficit’
• Flyvbjerg (2001) rule-based approaches to making decisions
that exclude experience and situated, intuitive or
contextualised knowledge.
• New Labour’s centralisation of interpretation (e.g.,
Deliverology, Barber 2008), that sought to define
practitioners’ actions and meanings from the centre,
closing the scope for local interpretations (Bevir 2005).
• Policy construed managers as ‘ventriloquists’ (Smyth 1998),
compliantly implementing rational, technocratic and
managerial reforms without the space, time or legitimacy
to disrupt, resist, question or dialogically engage with
directives.
• Wisdom deficit (Schwartz and Sharpe 2010)
Self-Report Methods
• Self-report methods – interviews,
questionnaires, focus groups etc
• Existing research public sector evaluation
studies
• What people say and do… halo effect, over
rational accounts, popular discourses
• What I was I told and what I heard
• De-contextualised policy and knowledge
• Critical orphanship – opportunity
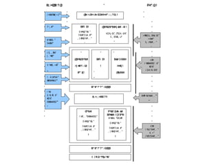
B; >C@C<?@! " FH"@; !
"
"
"
"
"
"
"
"
"
"
"
"
"
"
"
"
"
"
"
"
"
"
"
"
"
"
"
"
"
"
"
"
"
"
"
"
"
"
"
"
"
"
"
"
"
"
"
"
"
"
@8<>J9<A<EDH!>H" ::; ?D; !
"
@($%52$*$U!
>) +#6*/ - U1!
8*' 1(!
!
"
BFI D!
!
"
"
"
B&#/ 3 $$6!
H+4) !
@%) $$#!
!
C7*$4!
! 5#', . "0%&%405$"
D. #%0/'%S "
740#'5'U4. #"
, ) &%0/4#', . "
!
F*$0/ 11+$- &#!
1$%+&#!- / (3 $*5!
8%&'6. "%ZU#!
D. #%0/'%S "
740#'5'U4. #"
, ) &%0/4#', . "
!
B" 8"!"?" :G@C@!!
I / R2/ *!%) / %5"
BFI D!
D. #%0/'%S "
740#'5'U4. #""
, ) &%0/4#', . "
"
B" 8"!"?" :G@C@!!
@($%52$*$U!>) &##/ - 4/ !
K$%, 01", 2"5$4. 6%"
S , 0T&$, U"
"
>W"AZU:, 04#, 01"
+4#4"
5, ::%5#', . "
"
<W"
I %&%405$'. 6"
#$%"
J $4::%. 6%"
"
CW"
I %U:'54#', . "
4. +"
/%0'2'54#', . "
J 4&%"&#( +1""
"
7':, #""
8%&'6. "
54&%""
"
J $, , &%"
( . '#&""
"
3 %#$, +&"
"
! . 4:1#'54:"
&#04#%61""
"
A; =:; >8C<?!!
I %Y
2, 5( &'. 6"
#$%"
0%&%405$""
"
BW"I %2:%5#', . ""
"
ER’s Contribution
• My research contextualised leadership,
collaboration and cultural change
• My status enabled me excellent access
• Get beyond self-report methods (action
research & design experiment)
• Get beyond ‘safe’ research
• Not only in terms of ER
Ethics and Anxieties
Research is a strange thing: not listening to someone as
they talk is impolite; listening to someone intently and
responding appropriately is polite; listening to someone
intently and then spending three or more years talking to
many of their colleagues to ‘fact’ check what they said
and reading extensively to critically engage with what
they were saying seems to me a particular form of
malice. So thanks to all those working at ‘Stockborough
Children’s Services’ for taking time out from their earnest
attempts to improve the lives of the children and young
people they work with every day. (Duggan, 2012: 8)
‘Ethical’ Issues
• Institutional Review Board version of ethics
• BERA Ethical Guidelines (2004)
– Researchers must avoid agreeing to any sponsor’s
conditions that could lead to serious
contravention of any aspect of these guidelines of
that undermine the integrity of the research by
imposing unjustifiable conditions on the methods
to be used or the reporting of outcomes.
• Covenantal approach to ethics (Brydon-Millar)
Accepting Funding
• Cheek (2005: 400)
Accepting funding involves entering into a
contractual and intellectual agreement with a
funder that has consequences for the research…
Taking money from a sponsor is not a neutral
activity; it links the researcher and research
inexorably with the values of that funder.
• Not always so stark in ER
• Critical orphanship in my case but some
partner/ funding organisations are interested
Ethical Issues
• All the usual ethical issues +
• Confidentiality
• Data leakage
• Informed consent
– Proffers and throffers
• Bias…
• “You didn’t get that money…”
• Covenantal Ethics:
– Political…
– Mutually-benefical relationship
Mutually-beneficial?
• Stockborough Council
– Discussions with Mel and Alan
– 4 reports
– Social network
– App = £107k
– But…
Professional social network
‘Welcome research as part of our
improvement strategy’
Researching ‘Failure’
• Paul Omerod – why most things fail
• Discourse of derision (Ball 1990), is a cornerstone of the neoliberal
argument for the continued re-organisation of society along market
principles (Johnston and Kouzmin, 1998).
• the, ‘neoliberal playbook: attack the legitimacy of government,
assume power, impose various neoliberal market/ government
“reforms”, wait for failures, rinse, repeat.’ (Mirowski, 2013,
unpaged)
• Conservative pressure group, Bright Blue. In the chapter on
‘Accelerating education reform’ the author writes,
– Sometimes, however, markets can be unfair and inefficient, and
government has a positive role to play in redressing this: indeed, if
you believe in markets, you need to be prepared to make them work,
not just leave them to fail. (Shorthouse, 2013, p. 61)
Tips on Doing ER
• Start researching straight away!
• Do lots of research
• Identify (and re-negotiate) your relationship to
research commissioner, the organisation and
everyone else
• Understand power relations
• Protect your privileged position
• Defend your thesis’ neutrality, offer micro-research
• Play the long game
ER Network
http://embeddedresearchers.wordpress.com/

Embedded Research - seminar

  • 1.
    Embedded Research Dr. JamesDuggan ESRI J.Duggan@mmu.ac.uk
  • 2.
    Post-it Notes • Whatdo you want to know/ have explored by the end of the seminar? • At least 2 things!
  • 3.
    The Academia ofPale Imitations • ‘Embedded journalism’ in the 2003 Iraq war (Ignatius 2010; Tuosto 2006) – The nature of information sharing – The meaning of informed consent and confidentiality, – Moral responsibility and positionality – Whose stories were being told and voices were being heard (Feinstein and Nicholson 2005, Haigh et al 2006, Pfau et al 2004). • ‘Embedded teachers’ (Hale 2012) • ‘Embedded librarians’ (Feliu and Fraser 2012; Shumaker 2013) • Embedded researchers (McGinity and Salokangas 2014)
  • 4.
    The Academia ofMinor Differences • Consultancy and evaluation • Critical friendship • Development and research (D&R) • ‘Insider’ and ‘outsider’ research • Ethnography and ethnomethodology • Action and practitioner research • Critical secretaries • Embedded research?
  • 5.
    Embedded Research • Embeddedresearch describes an arrangement whereby researchers join non-academic organisations in order to conduct mutually- beneficial research projects (McGinity and Salokangas 2012; Duggan 2014) • Not a single methodological approach • Characteristics: Formal contract, resources, status in organisation • Key issue: PhD student
  • 6.
    Rationale • Evidence-based policeand practice (New Labour…) • Diversification of funding for research • Building closer relationships between knowledge producers and users • Increased access for researchers (Malfroy 2011) • Inform the development of initiatives by providing evidence (Enders, 2005)
  • 7.
    Implications of ERfor PhDs • Ethical (Rowley 2014; Cheek, 2005) • Pedagogical (Salminen-Karlsson & Wallgren 2008) • ER as acknowledged and/or integral • Acknowledged: – Ethics of receiving money – Access, familiarity and ‘going native’ • Integral – Space to develop appropriate methods to make a contribution to knowledge
  • 8.
    My PhD • StockboroughMBC and University of Manchester, School of Education • ESRC Case Studentship • Research the Stockborough Challenge • The Every Child Matters agenda • Improving collaboration in Stockborough children’s services
  • 9.
    Stockborough Challenge -Timeline • Stockborough Challenge One – DCS writes ‘Bringing Together’ Sep 2007 – My PhD begins Oct 2008 – DCS retires Nov 2008 – Baby P, financial crisis, corporate re-organisation, government changes policy emphasis • Stockborough Challenge Two – SC refocused – Acting-DCS resigns June 2009, new DCS – SC Director resigns & fieldwork begins Sep 2009 – Ofsted Inspection and ‘notice to improve’ Jan 2010 • I submit my thesis November 2012
  • 10.
    Policy Context • EveryChild Matters agenda – 5 interdependent, holistic outcomes – New roles (e.g., Lead Professional) – New information systems (e.g. Common Assessment Framework) – New structures (e.g., Children’s Trust) • Leadership and cultural change – Senior managers must lead on workforce reform and drive culture change to embed integrated working and common processes, communicating to their staff and to external stakeholders a clear vision of integrated working and how to achieve it… (DCSF 2007: §7.45)
  • 11.
    Stockborough Challenge One •Vision document ‘Bringing Together’ - Rationale • 7 challenges ‘we need to’ – Narrowing the gap: we need to understand more about the different needs and challenges for children, young people and families in localities and communities throughout Stockborough and develop community based multi-agency integrated services that respond effectively to this range of needs, recognising that all Stockborough’s children and young people are different and we need to be able to meet the full diversity of their needs if they really do matter. (Bringing Together §2.12.1) • Collaboration WPR 1. Learn more about collaboration 2. Develop appropriate conditions and arrangements 3. Leadership
  • 12.
    Stockborough Challenge Two •“A campaign of cultural change within and on behalf of the Stockborough Children’s Trust” • Collaboration not defined – What we do not yet know is quite what we are hoping to achieve through the big thinking and the small starts, what the partnership working of 2013 will look actually look like and how we will get to the point at which we know. (Developing the Detail §1.5) – ‘Schools as Children’s Trusts in the community’ (DtD §3.1)
  • 13.
    ‘One culture’ • Targetsidentified as the barrier to collaboration… ‘the corporate beast’ & ‘a target obsessed culture’ • The ‘one culture’ – This additional creativity will come through both system leadership approaches, in which leaders move beyond their own team or institution and, with the credibility their success gives them, influence others, and through wider collaboration. (Rationale §4.3) – Stockborough Council will continue to have its high stakes targets; the Stockborough Challenge, if successful in creating the leadership, culture and environments to enable the Council’s vision to be fulfilled, will impact in any case on those targets. (Rationale §4.7) • “We’ll do what needs to be done and tick the box afterwards” (Head teacher)
  • 14.
    What we donot yet know is quite what we are hoping to achieve through the big thinking and the small starts, what the partnership working of 2013 will look actually look like, and how we will get to the point at which we know. (Stockborough Challenge 2007, Developing the Detail).
  • 15.
    The Moving Aim •An external advisor explained: • It’s strange how you have these things called Children’s Trusts, and they had one in Stockborough but they didn’t know they had one, and then they were drip fed the guidance, and then there was a moment when they said ‘oh, it’s about commissioning.’ • Collaboration then cultural change around the Children’s Trust, finally commissioning
  • 16.
    ‘Transient Vacuum’ • Spacesthat emerge processes of neolib/ managerialisation in the public sector • ‘Transience’ – temporal, spatial and dynamic aspects of public sector reforms • ‘Vacuum’ – the intangible and hard-to- describe experience of researching an initiative where the ‘centre did not hold’,
  • 17.
    Policy Issues • Leadershiplacked clarity (Frost 2009; Booker 2011; Close 2012) • Collaboration defined by ‘policy condensates’ (Clarke et al, 2006; Clarke et al, 2008; Ball 2008) • Children’s Trust initiative or subsequent changes not based on evidence (Audit Commission 2008) • Contradictions – Divergence and convergence at the local level – Competition (targets, markets) and collaboration – Holistic outcomes and existing targets (Frost and Parton 2009)
  • 18.
    Literature on LfC •Collaboration unspecified and de-contextualised – The term “collaboration”… [is used] from here on to cover all aspects and styles of joint working practice. (Salmon 2004: 157). • Self-report methods (Lumby 2009) & ‘goldilocks factors’ • The ideological context of leadership and cultural change not acknowledged – Why collaboration and leadership – The managerialisation of the public sector
  • 19.
    The ‘wisdom deficit’ •Flyvbjerg (2001) rule-based approaches to making decisions that exclude experience and situated, intuitive or contextualised knowledge. • New Labour’s centralisation of interpretation (e.g., Deliverology, Barber 2008), that sought to define practitioners’ actions and meanings from the centre, closing the scope for local interpretations (Bevir 2005). • Policy construed managers as ‘ventriloquists’ (Smyth 1998), compliantly implementing rational, technocratic and managerial reforms without the space, time or legitimacy to disrupt, resist, question or dialogically engage with directives. • Wisdom deficit (Schwartz and Sharpe 2010)
  • 20.
    Self-Report Methods • Self-reportmethods – interviews, questionnaires, focus groups etc • Existing research public sector evaluation studies • What people say and do… halo effect, over rational accounts, popular discourses • What I was I told and what I heard • De-contextualised policy and knowledge • Critical orphanship – opportunity
  • 21.
    B; >C@C<?@! "FH"@; ! " " " " " " " " " " " " " " " " " " " " " " " " " " " " " " " " " " " " " " " " " " " " " " " " " " @8<>J9<A<EDH!>H" ::; ?D; ! " @($%52$*$U! >) +#6*/ - U1! 8*' 1(! ! " BFI D! ! " " " B&#/ 3 $$6! H+4) ! @%) $$#! ! C7*$4! ! 5#', . "0%&%405$" D. #%0/'%S " 740#'5'U4. #" , ) &%0/4#', . " ! F*$0/ 11+$- &#! 1$%+&#!- / (3 $*5! 8%&'6. "%ZU#! D. #%0/'%S " 740#'5'U4. #" , ) &%0/4#', . " ! B" 8"!"?" :G@C@!! I / R2/ *!%) / %5" BFI D! D. #%0/'%S " 740#'5'U4. #"" , ) &%0/4#', . " " B" 8"!"?" :G@C@!! @($%52$*$U!>) &##/ - 4/ ! K$%, 01", 2"5$4. 6%" S , 0T&$, U" " >W"AZU:, 04#, 01" +4#4" 5, ::%5#', . " " <W" I %&%405$'. 6" #$%" J $4::%. 6%" " CW" I %U:'54#', . " 4. +" /%0'2'54#', . " J 4&%"&#( +1"" " 7':, #"" 8%&'6. " 54&%"" " J $, , &%" ( . '#&"" " 3 %#$, +&" " ! . 4:1#'54:" &#04#%61"" " A; =:; >8C<?!! I %Y 2, 5( &'. 6" #$%" 0%&%405$"" " BW"I %2:%5#', . "" "
  • 22.
    ER’s Contribution • Myresearch contextualised leadership, collaboration and cultural change • My status enabled me excellent access • Get beyond self-report methods (action research & design experiment) • Get beyond ‘safe’ research • Not only in terms of ER
  • 23.
    Ethics and Anxieties Researchis a strange thing: not listening to someone as they talk is impolite; listening to someone intently and responding appropriately is polite; listening to someone intently and then spending three or more years talking to many of their colleagues to ‘fact’ check what they said and reading extensively to critically engage with what they were saying seems to me a particular form of malice. So thanks to all those working at ‘Stockborough Children’s Services’ for taking time out from their earnest attempts to improve the lives of the children and young people they work with every day. (Duggan, 2012: 8)
  • 24.
    ‘Ethical’ Issues • InstitutionalReview Board version of ethics • BERA Ethical Guidelines (2004) – Researchers must avoid agreeing to any sponsor’s conditions that could lead to serious contravention of any aspect of these guidelines of that undermine the integrity of the research by imposing unjustifiable conditions on the methods to be used or the reporting of outcomes. • Covenantal approach to ethics (Brydon-Millar)
  • 25.
    Accepting Funding • Cheek(2005: 400) Accepting funding involves entering into a contractual and intellectual agreement with a funder that has consequences for the research… Taking money from a sponsor is not a neutral activity; it links the researcher and research inexorably with the values of that funder. • Not always so stark in ER • Critical orphanship in my case but some partner/ funding organisations are interested
  • 26.
    Ethical Issues • Allthe usual ethical issues + • Confidentiality • Data leakage • Informed consent – Proffers and throffers • Bias… • “You didn’t get that money…” • Covenantal Ethics: – Political… – Mutually-benefical relationship
  • 27.
    Mutually-beneficial? • Stockborough Council –Discussions with Mel and Alan – 4 reports – Social network – App = £107k – But…
  • 28.
  • 29.
    ‘Welcome research aspart of our improvement strategy’
  • 30.
    Researching ‘Failure’ • PaulOmerod – why most things fail • Discourse of derision (Ball 1990), is a cornerstone of the neoliberal argument for the continued re-organisation of society along market principles (Johnston and Kouzmin, 1998). • the, ‘neoliberal playbook: attack the legitimacy of government, assume power, impose various neoliberal market/ government “reforms”, wait for failures, rinse, repeat.’ (Mirowski, 2013, unpaged) • Conservative pressure group, Bright Blue. In the chapter on ‘Accelerating education reform’ the author writes, – Sometimes, however, markets can be unfair and inefficient, and government has a positive role to play in redressing this: indeed, if you believe in markets, you need to be prepared to make them work, not just leave them to fail. (Shorthouse, 2013, p. 61)
  • 31.
    Tips on DoingER • Start researching straight away! • Do lots of research • Identify (and re-negotiate) your relationship to research commissioner, the organisation and everyone else • Understand power relations • Protect your privileged position • Defend your thesis’ neutrality, offer micro-research • Play the long game
  • 32.

Editor's Notes

  • #9 Describe Research Ethics and anxieties Failure Through publications…
  • #10 This timeline raises issues with ER 2007 initiative starts 2012 I hand in my thesis
  • #12 Bringing Together – have you read it, have you? There’s a bloke with a degree in my team and he can’t make head nor tail of it. The rationale presented seven challenges facing children’s services in Stockborough, for example,
  • #13 Children’s Plan (cultural change) &amp; Children’s Trust were bigger things
  • #15 It quickly became apparent that an uncharitable and superficial, but an essentially valid view of the Stockborough Challenge, was that the senior managers failed to adequately conceptualize collaboration, nor to propose ways in which the initiative would help professionals in the practical tasks of working collaboratively. In my research, therefore, I sought to develop a new and more appropriate way of conceptualising collaboration, bridging policy, research and practice (Duggan, 2012). Describing the Challenge as a ‘failure’ was uncomfortable to me, due to the negative cultural connotations. It also reflected in negative ways on the managers and professionals in Stockborough. More than this, it seemed unfair and beside the point! The failure of managers to define collaboration and to specify the Challenge was maybe less important than the nationally-defined and driven managerial context that informed and constrained how the managers and professionals interpreted and engaged with the challenge of improving collaboration at the local level. Some of these issues are explored in the next section.
  • #17 Re-disorganisation &amp; the public sector (Pollitt, 2007)… and the dark-side … it’s hard to know what is happening
  • #18 The structural change originally proposed was not based on evidence that it was either necessary or effective. (Audit Commission 2008: §155) Furthermore, when the Trusts were refocused with the emphasis on cultural change the Audit Commission found that there was insufficient evidence to make this decision, While it is too early to say whether Children’s Trusts have made much of a difference to the lives of children and young people, it is also too early to say that the current arrangements need to be changed. (Audit Commission 2008: §157) Competition (targets, markets) and collaboration – convergence and divergence
  • #19 Culture and leadership are contemporary buzzwords and so it is important to acknowledge cultural explanations for the prominence of, for example, leadership in perceptions and explanations of how activity is and should be organised. Authors have argued that leadership is used as a convenient and popular explanation for more complex or misunderstood phenomena (Gemmill &amp; Oakely, 1992; Beyer, 1999; Peck and Dickinson 2008). The rise of leadership is associated within the growth of individualisation in western societies (Lawler 2008) and the stigmatisation of following behaviour (Kellerman (2008). Little critical
  • #20 Flybjerg (2001) observes that the fields of policy analysis, management, planning and organisation are now dominated by rational, de-contextualised and rule-based approaches to making decisions that exclude experience and situated, intuitive or contextualised knowledge. - Managerialism… the universal applicability of management strategies and tools in public and private organisations and projects (Fergusson 2001).
  • #22 Summary of methods:
  • #26 Cheek, J. (2005) ‘The practice and politics of funded qualitative research’, in N. Denzin and Y. Lincoln (eds.) The Sage handbook of qualitative research (3rd ed.,) Thousand Oaks, CA.; London; New Delhi: Sage, pp. 387-410.
  • #31 Pollitt (2007) provides an alternative, more descriptive view, arguing that the constant change in and re-disorganisation of the UK public sector, especially in the English context, is a product, of the high priority of public service outcomes, the ability of administrations to instigate reform, as well as the the disruptive and complex consequences of making changes. The frequency of change makes it difficult to determine what the effects of change are and what works. That frequency also reduces the effectiveness of the public sector through churn and disruption. These factors provide the context to understand why reforms frequently end in failure. WHEN I SPOKE TO THE MANAGER… YOU DIDN’T GET THAT MONEY…