Basic Electronics -21ELN14/24
Syllabus
• Module1
Electronic Circuits : Power supplies ,Amplifiers, Operational
Amplifiers ,Oscillators .
• Module2
Logic Circuits
• Module3
Embedded Systems , Sensors and Interfacing , Communication Interface.
• Module 4
Analog and Digital Communication
• Module5
Cellular wireless networks ,wireless network topologies, Satellite
communication ,Optical fiber communication ,Microwave communication
2
08/26/2024 Module 2
Text Books
3
Text 1 Text 2
08/26/2024 Module 2
Text Books
4
Text 3 Text 4
08/26/2024 Module 2
Module 2
Logic Circuits –
Logic gates, Bistables, R-S Bistables, D-type Bistables, J-K Bistables. Text 1:
Chapter 10
Data representation, Data types, Data storage, A microcontroller system. Text 1:
Chapter 11
Realization using basic gates and truth table the Half Adder (Text 4: Fig.11.11) and
Full Adder (Text 4: Table 11.5 & Fig. 11.13), Multiplexer (Text 4: 10.5.3) and
decoder (Text 4: 10.5.4).
Shift registers, Register type – operation and truth table (Text 4: 13.2, 13.3),
Counters and asynchronous counters (Text 4: 13.5, 13.6)
Text 4: Fig. 11.11, Fig. 11.13, 10.5.3, 10.5.4, 13.2, 13.3, 13.5, 13.6
(No simplification of Boolean algebra, no K-maps. Only logic circuit, working
and truth table)
Logic Gates
• Logic gates are circuits designed to produce the
basic logic functions, AND, OR, etc.
• These circuits are designed to be interconnected into
larger, more complex, logic circuit arrangements.
• Form the basic building blocks of all digital systems
6
08/26/2024 Module 2
7
Types of Basic Logic Blocks
- Combinational Logic Block
Logic Blocks whose output logic value depends only on the input logic values.
- Sequential Logic Block
Logic Blocks whose output logic value depends on the present input values and on the
sequence of past inputs.
Functions of Gates can be described by
- Truth Table
- Boolean Function
- Karnaugh Map
Gate
.
.
.
Binary
Digital
Input
Signal
Binary
Digital
Output
Signal
08/26/2024 Module 2
8
LOGIC GATES
A
X X = (A + B)’
B
Name Symbol Function Truth Table
AND
A X = A • B
X or
B X = AB
0 0 0
0 1 0
1 0 0
1 1 1
0 0 0
0 1 1
1 0 1
1 1 1
OR
A
X X = A + B
B
NOT A X X = A’
0 1
1 0
Buffer A X X = A
A X
0 0
1 1
NAND
A
X X = (AB)’
B
0 0 1
0 1 1
1 0 1
1 1 0
NOR
0 0 1
0 1 0
1 0 0
1 1 0
XOR
Exclusive OR
A X = A  B
X or
B X = A’B + AB’
0 0 0
0 1 1
1 0 1
1 1 0
A X = (A  B)’
X or
B X = A’B’+ AB
XNOR
Exclusive NOR
or Equivalence
A B X
A B X
A X
A B X
A B X
A B X
A B X
0 0 1
0 1 0
1 0 0
1 1 1
08/26/2024 Module 2
9
Combinational logic
By using a standard range of logic levels (i.e. voltage levels
used to represent the logic 1 and logic 0 states) logic circuits
can be combined in order to solve complex logic functions.
Example 1
A logic circuit is to be constructed
that will produce a logic 1 output
whenever two or more of its three
inputs are at logic 1.
08/26/2024 Module 2
10
Example 2:
A committee of three individuals decide issues for an
organization. Each individual votes either yes or no for each
proposal that arises. A proposal is passed if it receives at least
two yes votes. Design a circuit that determines whether a
proposal passes.
Example 3:
Show how an arrangement of basic logic gates (AND, OR and
NOT) can be used to produce the exclusive-OR function.
08/26/2024 Module 2
11
Bistables
• The output of a bistable has two stable states (logic 0 or logic 1)
and, once set in one of these states, the device will remain at a
particular logic level for an indefinite period until reset.
• Similar to ‘memory cell’ because it will remain in its latched
state (whether set or reset) until a signal is applied to it in order
to change its state.
08/26/2024 Module 2
12
R-S bistables
• The simplest form of bistable is the R-S
bistable.
• This device has two inputs, SET and
RESET, and complementary outputs, Q
and Q’.
• A logic 1 applied to the SET input will
cause the Q output to become (or remain
at) logic 1 while a logic 1 applied to the
RESET input will cause the Q output to
become (or remain at) logic 0.
• In either case, the bistable will remain in
its SET or RESET state until an input is
applied in such a sense as to change the
state.
• Disadvantage:
Output uncertain if logic 1 is simultaneously
present on both the SET and RESET inputs!)
R-S bistables using cross-coupled
a)NAND and b)NOR gates
08/26/2024 Module 2
08/26/2024 Module 2 13
Truth table of R-S bistable
14
D-type bistables:
• The D-type bistable has two inputs: D (standing variously for ‘data’ or ‘delay’) and
CLOCK (CLK).
• The data input (logic 0 or logic 1) is clocked into the bistable such that the output
state only changes when the clock changes state. Operation is thus said to be
synchronous.
Figure : D-type bistable operation Figure: Timing diagram for the D-type
bistable
D Q(t+1)
0 0
1 1
08/26/2024 Module 2
15
D-type bistables:
• Additional subsidiary inputs (usuallyactive low) are provided
which can be used to directly set or reset the bistable. These are
usually called PRESET (PR) and CLEAR (CLR).
• D-type bistables are used both as latches (a simple form of
memory) and as binary dividers.
08/26/2024 Module 2
16
J-K bistables
• J-K bistables have two clocked inputs (J and K), two direct inputs (PRESET and
CLEAR), a CLOCK (CK) input, and outputs (Q and Q’).
• As with R-S bistables, the two outputs are complementary (i.e. when one is 0 the
other is 1, and vice versa).
• Similarly, the PRESET and CLEAR inputs are both active low (i.e. a 0 on the
PRESET input will set the Q output to 1 whereas a 0 on the CLEAR input will set
the Q output to 0).
Truth table
08/26/2024 Module 2
17
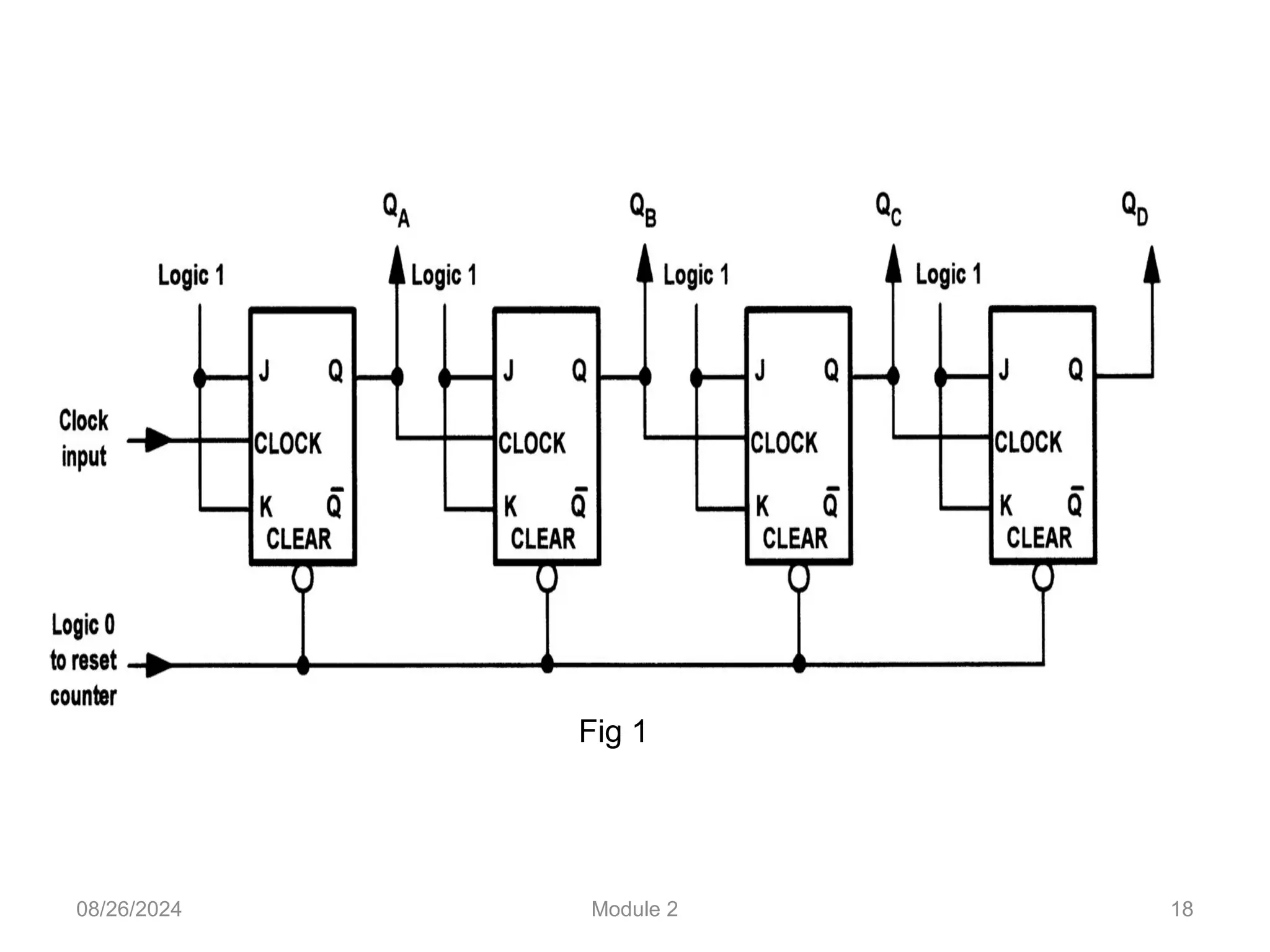
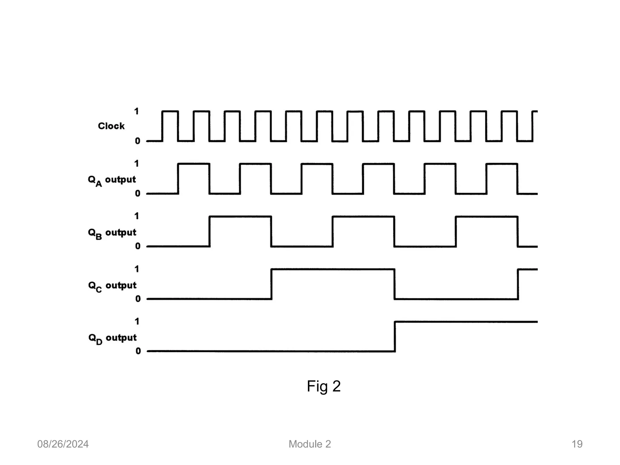
• J-K bistables can be configured in various ways including
binary dividers, shift registers and latches
Fig. 1 shows the arrangement of a four-stage binary counter
based on J-K bistables. The timing diagram for this circuit
is shown in Fig. 2.
Each stage successively divides the clock input signal by a
factor of two.
Logic 1 input is transferred to the respective Q-output on the
falling edge of the clock pulse and all J and K inputs must be
taken to logic 1 to enable binary Counting.
08/26/2024 Module 2
18
08/26/2024 Module 2
Fig 1
08/26/2024 Module 2 19
Fig 2
20
• Fig. 3 shows the arrangement of a four- stage shift register based on J-K bistables. The
timing diagram for this circuit is shown in Fig. 4. the next stage.
• Each stage successively feeds data to the next stage.
• All data transfer occurs on the falling edge of the clock pulse,
Fig 3
Fig 4
08/26/2024 Module 2
21
Question:
A logic arrangement has to be designed so that it produces the pulse train shown in
Fig.6. Devise a logic circuit arrangement that will generate this pulse train from a
regular square wave input.
Solution
A two-stage binary divider (based on J-K bistables) can be used together with a two-
input AND gate as shown in Fig. 5. The waveforms for this logic arrangement are
shown in Fig. 7
Fig 6
Fig 5
Fig 7
08/26/2024 Module 2
22
Data representation
• Binary numbers – particularly large
ones – not convenient to handle.
• So binary numbers converted to
decimal (base 10) and hexadecimal
(base 16).
• The first 16 numbers in binary, denary
and hexadecimal are shown in Table 1.
A single hexadecimal character (in the
range zero to F) is used to represent a
group of four binary digits (bits).
Table 1
08/26/2024 Module 2
23
Data representation
• Group of four bits (or single hex
character) is sometimes called a nibble.
• A byte of data comprises a group of
eight bits.
• Thus a byte can be represented by just
two hexadecimal (hex) characters.
• A group of 16 bits (a word) can be
represented by four hex characters.
• 32 bits (a double word) by eight hex
characters.
• A $ symbol or H before the number
denotes hexadecimal.
• For example, 64 means decimal ‘sixty-
four’; whereas $64 means hexadecimal
‘six-four’
Table 1
08/26/2024 Module 2
08/26/2024 Module 2 24
Questions:
• Convert hexadecimal A3
into binary.
• Convert binary 11101000
binary to hexadecimal.
25
Data types
• A byte of data can be stored at each address within the total memory space of a
microprocessor system. Hence one byte can be stored at each of the 65,536 memory
locations within a microprocessor system having a 16-bit address bus.
• Individual bits within a byte are numbered from 0 (least significant bit) to 7 (most
significant bit). In the case of 16-bit words, the bits are numbered from 0 (least
significant bit) to 15 (most significant bit).
• Negative (or signed) numbers can be represented using two’s complement notation
where the leading (most significant) bit indicates the sign of the number (1 =
negative, 0 = positive).
08/26/2024 Module 2
• For example, the signed 8-bit
number 10000001 represents the
denary number −1. The range of
integer data values that can be
represented as bytes, words and
long words are shown in below
Table
26
A microcontroller system
• Sensed quantities (temperature, position, etc.) are converted to
corresponding electrical signals by means of a number of sensors.
• Outputs from the sensors (in either digital or analog form) are passed
as input signals to the microcontroller.
08/26/2024 Module 2
27
• Operation of the microcontroller is controlled by a sequence of
software instructions known as a control program.
• Control program operates continuously, examining inputs from
sensors, user settings and time data before making changes to the
output signals sent to one or more controlled devices.
• The microcontroller also accepts inputs from the user.
08/26/2024 Module 2
28
• Controlled quantities are produced by the controlled devices in
response to output signals from the microcontroller.
• Microcontroller must produce a specific state on each of the lines
connected to its output ports in response to a particular combination of
states present on each of the lines connected to its input ports .
• Microcontrollers must also have a central processing unit (CPU)
capable of performing simple arithmetic, logical and timing operations
08/26/2024 Module 2
29
Input devices
• Input devices supply information to the computer system from the
outside world.
• Example: keyboard, mouse, scanner etc.
• In microcontrollers: sensors, switches, proximity detectors etc.
• Must provide logically compatible signal to the input of
microcontroller.
08/26/2024 Module 2
30
Input devices
• Some microcontrollers provide an internal/external analogue-to-
digital converter (ADC) to convert analog quantities to digital
values.
• Resolution of the ADC will depend upon the number of bits used.
08/26/2024 Module 2
08/26/2024 Module 2 31
ADC [1]
32
Output devices
• Output devices used to communicate information or actions from the processor/
controller to the outside world.
• Example: LEDs, piezoelectric sounders, relays and motors.
• To be connected directly to the output port of a microcontroller, an output device
must accept a logic compatible signal.
• Where analog quantities required at the output a digital-to-analogue converter
(DAC) will be needed.
• Output resolution of a DAC depends on the number of bits.
08/26/2024 Module 2
08/26/2024 Module 2 33
DAC
34
Interface circuits
• Where input and output signals are not logic compatible, some
additional interface circuitry required in order to shift the voltage
levels or to provide additional current drive.
• Additional circuitry may also be required when a load (such as a relay
or motor) requires more current than is available from a standard logic
device or output port.
• For example, a common range of interface circuits (solid-state relays)
is available that will allow a microcontroller to be easily interfaced to
an a.c. mains-connected load.
08/26/2024 Module 2
35
HALF-ADDER
A combinational circuit that performs the addition of two bits.
• Therefore, half-adder has two inputs and two outputs, SUM and CARRY.
• Boolean expressions for SUM and CARRY are
• SUM = AB’+A’B
• CARRY = AB
• These expressions shows that, SUM output is EX-OR gate and the CARRY output is
AND gate.
08/26/2024 Module 2
36
FULL ADDER
Performs addition of three bits(two significant bits and a previous carry)
is a full adder.
S = x’y’z + x’yz’ + xy’z’ + xyz
C = xy + xz + yz
Module 2
37
08/26/2024 Module 2
38
Multiplexers
• Multiplexer is a special type of combinational circuit.
• n-data inputs, one output and m select inputs with 2m
= n.
• It is a digital circuit which selects one of the n data inputs and routes it to the
output based upon data on the select lines.
08/26/2024 Module 2
• Depending on the digital code
applied at the selected inputs, one
out of n data sources is selected
and transmitted to the single
output Y.
• E is called the strobe or enable
input (usually active low).
39
8:1 Multiplexer
Fig reference: [2]
08/26/2024 Module 2
40
Decoders :
• The decoder is called n-to-m-line decoder, where m≤2n
.
• 3-to-8 line decoder: For each possible input combination, there
are seven outputs that are equal to 0 and only one that is equal to
1.
08/26/2024 Module 2
41
Shift Register
08/26/2024 Module 2
4-bit SISO register
42
Type of shift register
1. SISO
2. SIPO
3. PIPO
4. PISO
08/26/2024 Module 2
43
08/26/2024 Module 2
44
Counters
• Sequential logic circuits that proceed through a well defined sequence
of states after application of clock pulses.
• Special type of registers with a capability of counting with the
application of clock pulse
• Used to count pulses
• Constructed using Flipflops and logic gates
• Counters are classified into two categories :
Ripple (or Asynchronous ) Counters
Synchronous Counters
08/26/2024 Module 2
45
Asynchronous Counters
Fig: Asynchronous counter
08/26/2024 Module 2
08/26/2024 Module 2 46
Asynchronous Counters
• Data ripples from the output of one flip flop to the input of the next (ripple counter).
• Output of one flip flop acts as clock to next flip flop.
• In 3 bit asynchronous counter, output of first flip flop toggles for every negative edge
of clock signal.
• Output of second flip flop toggles for every negative edge of output of first flip flop.
• Output of second flip flop toggles for every negative edge of output of first flip flop.
Synchronous Counters
• All flip flops are clocked simultaneously.
• Example: ring counter and johnson counter.
08/26/2024 Module 2 47
• Design a 3-to-8 Decoder and show its implementation using basic gates.
• Construct a logic circuit that will produce a Logic 1 output whenever two or
more of its inputs are at Logic 1.
• With the help of truth table explain full adder using logic gates.
• Explain Input and output states for a J-K bistable using clocked operation.
• With the help of a neat diagram explain the 4-bit shift register operation and
types.
• With a neat block diagram explain the arrangement of a microcontroller
system with typical inputs and outputs.
• Discuss the design of a 3-bit asynchronous up-counter.
• With a neat block diagram show how typical input and output blocks are
connected to a microcontroller unit.
• With the help of a timing diagram explain how D-type bistable circuit works.
• Design a full adder using two half adders and an OR-gate.
• Design a 4-stage shift register using J-K bistables.
• Write a note on different data types mentioning the bit size and range of values
supported.
Model Question Paper Questions
08/26/2024 Module 2 48
Reference:
1. Mike Tooley, ‘Electronic Circuits, Fundamentals &
Applications’, 4th Edition, Elsevier, 2015. DOI
https://doi.org/10.4324/9781315737980. eBook
ISBN9781315737980
2. D P Kothari, I J Nagrath, ‘Basic Electronics’, 2nd edition,
McGraw Hill Education (India), Private Limited, 2018.

Digital electronics as an emerging field.pptx

  • 1.
  • 2.
    Syllabus • Module1 Electronic Circuits: Power supplies ,Amplifiers, Operational Amplifiers ,Oscillators . • Module2 Logic Circuits • Module3 Embedded Systems , Sensors and Interfacing , Communication Interface. • Module 4 Analog and Digital Communication • Module5 Cellular wireless networks ,wireless network topologies, Satellite communication ,Optical fiber communication ,Microwave communication 2 08/26/2024 Module 2
  • 3.
    Text Books 3 Text 1Text 2 08/26/2024 Module 2
  • 4.
    Text Books 4 Text 3Text 4 08/26/2024 Module 2
  • 5.
    Module 2 Logic Circuits– Logic gates, Bistables, R-S Bistables, D-type Bistables, J-K Bistables. Text 1: Chapter 10 Data representation, Data types, Data storage, A microcontroller system. Text 1: Chapter 11 Realization using basic gates and truth table the Half Adder (Text 4: Fig.11.11) and Full Adder (Text 4: Table 11.5 & Fig. 11.13), Multiplexer (Text 4: 10.5.3) and decoder (Text 4: 10.5.4). Shift registers, Register type – operation and truth table (Text 4: 13.2, 13.3), Counters and asynchronous counters (Text 4: 13.5, 13.6) Text 4: Fig. 11.11, Fig. 11.13, 10.5.3, 10.5.4, 13.2, 13.3, 13.5, 13.6 (No simplification of Boolean algebra, no K-maps. Only logic circuit, working and truth table)
  • 6.
    Logic Gates • Logicgates are circuits designed to produce the basic logic functions, AND, OR, etc. • These circuits are designed to be interconnected into larger, more complex, logic circuit arrangements. • Form the basic building blocks of all digital systems 6 08/26/2024 Module 2
  • 7.
    7 Types of BasicLogic Blocks - Combinational Logic Block Logic Blocks whose output logic value depends only on the input logic values. - Sequential Logic Block Logic Blocks whose output logic value depends on the present input values and on the sequence of past inputs. Functions of Gates can be described by - Truth Table - Boolean Function - Karnaugh Map Gate . . . Binary Digital Input Signal Binary Digital Output Signal 08/26/2024 Module 2
  • 8.
    8 LOGIC GATES A X X= (A + B)’ B Name Symbol Function Truth Table AND A X = A • B X or B X = AB 0 0 0 0 1 0 1 0 0 1 1 1 0 0 0 0 1 1 1 0 1 1 1 1 OR A X X = A + B B NOT A X X = A’ 0 1 1 0 Buffer A X X = A A X 0 0 1 1 NAND A X X = (AB)’ B 0 0 1 0 1 1 1 0 1 1 1 0 NOR 0 0 1 0 1 0 1 0 0 1 1 0 XOR Exclusive OR A X = A  B X or B X = A’B + AB’ 0 0 0 0 1 1 1 0 1 1 1 0 A X = (A  B)’ X or B X = A’B’+ AB XNOR Exclusive NOR or Equivalence A B X A B X A X A B X A B X A B X A B X 0 0 1 0 1 0 1 0 0 1 1 1 08/26/2024 Module 2
  • 9.
    9 Combinational logic By usinga standard range of logic levels (i.e. voltage levels used to represent the logic 1 and logic 0 states) logic circuits can be combined in order to solve complex logic functions. Example 1 A logic circuit is to be constructed that will produce a logic 1 output whenever two or more of its three inputs are at logic 1. 08/26/2024 Module 2
  • 10.
    10 Example 2: A committeeof three individuals decide issues for an organization. Each individual votes either yes or no for each proposal that arises. A proposal is passed if it receives at least two yes votes. Design a circuit that determines whether a proposal passes. Example 3: Show how an arrangement of basic logic gates (AND, OR and NOT) can be used to produce the exclusive-OR function. 08/26/2024 Module 2
  • 11.
    11 Bistables • The outputof a bistable has two stable states (logic 0 or logic 1) and, once set in one of these states, the device will remain at a particular logic level for an indefinite period until reset. • Similar to ‘memory cell’ because it will remain in its latched state (whether set or reset) until a signal is applied to it in order to change its state. 08/26/2024 Module 2
  • 12.
    12 R-S bistables • Thesimplest form of bistable is the R-S bistable. • This device has two inputs, SET and RESET, and complementary outputs, Q and Q’. • A logic 1 applied to the SET input will cause the Q output to become (or remain at) logic 1 while a logic 1 applied to the RESET input will cause the Q output to become (or remain at) logic 0. • In either case, the bistable will remain in its SET or RESET state until an input is applied in such a sense as to change the state. • Disadvantage: Output uncertain if logic 1 is simultaneously present on both the SET and RESET inputs!) R-S bistables using cross-coupled a)NAND and b)NOR gates 08/26/2024 Module 2
  • 13.
    08/26/2024 Module 213 Truth table of R-S bistable
  • 14.
    14 D-type bistables: • TheD-type bistable has two inputs: D (standing variously for ‘data’ or ‘delay’) and CLOCK (CLK). • The data input (logic 0 or logic 1) is clocked into the bistable such that the output state only changes when the clock changes state. Operation is thus said to be synchronous. Figure : D-type bistable operation Figure: Timing diagram for the D-type bistable D Q(t+1) 0 0 1 1 08/26/2024 Module 2
  • 15.
    15 D-type bistables: • Additionalsubsidiary inputs (usuallyactive low) are provided which can be used to directly set or reset the bistable. These are usually called PRESET (PR) and CLEAR (CLR). • D-type bistables are used both as latches (a simple form of memory) and as binary dividers. 08/26/2024 Module 2
  • 16.
    16 J-K bistables • J-Kbistables have two clocked inputs (J and K), two direct inputs (PRESET and CLEAR), a CLOCK (CK) input, and outputs (Q and Q’). • As with R-S bistables, the two outputs are complementary (i.e. when one is 0 the other is 1, and vice versa). • Similarly, the PRESET and CLEAR inputs are both active low (i.e. a 0 on the PRESET input will set the Q output to 1 whereas a 0 on the CLEAR input will set the Q output to 0). Truth table 08/26/2024 Module 2
  • 17.
    17 • J-K bistablescan be configured in various ways including binary dividers, shift registers and latches Fig. 1 shows the arrangement of a four-stage binary counter based on J-K bistables. The timing diagram for this circuit is shown in Fig. 2. Each stage successively divides the clock input signal by a factor of two. Logic 1 input is transferred to the respective Q-output on the falling edge of the clock pulse and all J and K inputs must be taken to logic 1 to enable binary Counting. 08/26/2024 Module 2
  • 18.
  • 19.
  • 20.
    20 • Fig. 3shows the arrangement of a four- stage shift register based on J-K bistables. The timing diagram for this circuit is shown in Fig. 4. the next stage. • Each stage successively feeds data to the next stage. • All data transfer occurs on the falling edge of the clock pulse, Fig 3 Fig 4 08/26/2024 Module 2
  • 21.
    21 Question: A logic arrangementhas to be designed so that it produces the pulse train shown in Fig.6. Devise a logic circuit arrangement that will generate this pulse train from a regular square wave input. Solution A two-stage binary divider (based on J-K bistables) can be used together with a two- input AND gate as shown in Fig. 5. The waveforms for this logic arrangement are shown in Fig. 7 Fig 6 Fig 5 Fig 7 08/26/2024 Module 2
  • 22.
    22 Data representation • Binarynumbers – particularly large ones – not convenient to handle. • So binary numbers converted to decimal (base 10) and hexadecimal (base 16). • The first 16 numbers in binary, denary and hexadecimal are shown in Table 1. A single hexadecimal character (in the range zero to F) is used to represent a group of four binary digits (bits). Table 1 08/26/2024 Module 2
  • 23.
    23 Data representation • Groupof four bits (or single hex character) is sometimes called a nibble. • A byte of data comprises a group of eight bits. • Thus a byte can be represented by just two hexadecimal (hex) characters. • A group of 16 bits (a word) can be represented by four hex characters. • 32 bits (a double word) by eight hex characters. • A $ symbol or H before the number denotes hexadecimal. • For example, 64 means decimal ‘sixty- four’; whereas $64 means hexadecimal ‘six-four’ Table 1 08/26/2024 Module 2
  • 24.
    08/26/2024 Module 224 Questions: • Convert hexadecimal A3 into binary. • Convert binary 11101000 binary to hexadecimal.
  • 25.
    25 Data types • Abyte of data can be stored at each address within the total memory space of a microprocessor system. Hence one byte can be stored at each of the 65,536 memory locations within a microprocessor system having a 16-bit address bus. • Individual bits within a byte are numbered from 0 (least significant bit) to 7 (most significant bit). In the case of 16-bit words, the bits are numbered from 0 (least significant bit) to 15 (most significant bit). • Negative (or signed) numbers can be represented using two’s complement notation where the leading (most significant) bit indicates the sign of the number (1 = negative, 0 = positive). 08/26/2024 Module 2 • For example, the signed 8-bit number 10000001 represents the denary number −1. The range of integer data values that can be represented as bytes, words and long words are shown in below Table
  • 26.
    26 A microcontroller system •Sensed quantities (temperature, position, etc.) are converted to corresponding electrical signals by means of a number of sensors. • Outputs from the sensors (in either digital or analog form) are passed as input signals to the microcontroller. 08/26/2024 Module 2
  • 27.
    27 • Operation ofthe microcontroller is controlled by a sequence of software instructions known as a control program. • Control program operates continuously, examining inputs from sensors, user settings and time data before making changes to the output signals sent to one or more controlled devices. • The microcontroller also accepts inputs from the user. 08/26/2024 Module 2
  • 28.
    28 • Controlled quantitiesare produced by the controlled devices in response to output signals from the microcontroller. • Microcontroller must produce a specific state on each of the lines connected to its output ports in response to a particular combination of states present on each of the lines connected to its input ports . • Microcontrollers must also have a central processing unit (CPU) capable of performing simple arithmetic, logical and timing operations 08/26/2024 Module 2
  • 29.
    29 Input devices • Inputdevices supply information to the computer system from the outside world. • Example: keyboard, mouse, scanner etc. • In microcontrollers: sensors, switches, proximity detectors etc. • Must provide logically compatible signal to the input of microcontroller. 08/26/2024 Module 2
  • 30.
    30 Input devices • Somemicrocontrollers provide an internal/external analogue-to- digital converter (ADC) to convert analog quantities to digital values. • Resolution of the ADC will depend upon the number of bits used. 08/26/2024 Module 2
  • 31.
  • 32.
    32 Output devices • Outputdevices used to communicate information or actions from the processor/ controller to the outside world. • Example: LEDs, piezoelectric sounders, relays and motors. • To be connected directly to the output port of a microcontroller, an output device must accept a logic compatible signal. • Where analog quantities required at the output a digital-to-analogue converter (DAC) will be needed. • Output resolution of a DAC depends on the number of bits. 08/26/2024 Module 2
  • 33.
  • 34.
    34 Interface circuits • Whereinput and output signals are not logic compatible, some additional interface circuitry required in order to shift the voltage levels or to provide additional current drive. • Additional circuitry may also be required when a load (such as a relay or motor) requires more current than is available from a standard logic device or output port. • For example, a common range of interface circuits (solid-state relays) is available that will allow a microcontroller to be easily interfaced to an a.c. mains-connected load. 08/26/2024 Module 2
  • 35.
    35 HALF-ADDER A combinational circuitthat performs the addition of two bits. • Therefore, half-adder has two inputs and two outputs, SUM and CARRY. • Boolean expressions for SUM and CARRY are • SUM = AB’+A’B • CARRY = AB • These expressions shows that, SUM output is EX-OR gate and the CARRY output is AND gate. 08/26/2024 Module 2
  • 36.
    36 FULL ADDER Performs additionof three bits(two significant bits and a previous carry) is a full adder. S = x’y’z + x’yz’ + xy’z’ + xyz C = xy + xz + yz Module 2
  • 37.
  • 38.
    38 Multiplexers • Multiplexer isa special type of combinational circuit. • n-data inputs, one output and m select inputs with 2m = n. • It is a digital circuit which selects one of the n data inputs and routes it to the output based upon data on the select lines. 08/26/2024 Module 2 • Depending on the digital code applied at the selected inputs, one out of n data sources is selected and transmitted to the single output Y. • E is called the strobe or enable input (usually active low).
  • 39.
    39 8:1 Multiplexer Fig reference:[2] 08/26/2024 Module 2
  • 40.
    40 Decoders : • Thedecoder is called n-to-m-line decoder, where m≤2n . • 3-to-8 line decoder: For each possible input combination, there are seven outputs that are equal to 0 and only one that is equal to 1. 08/26/2024 Module 2
  • 41.
  • 42.
    42 Type of shiftregister 1. SISO 2. SIPO 3. PIPO 4. PISO 08/26/2024 Module 2
  • 43.
  • 44.
    44 Counters • Sequential logiccircuits that proceed through a well defined sequence of states after application of clock pulses. • Special type of registers with a capability of counting with the application of clock pulse • Used to count pulses • Constructed using Flipflops and logic gates • Counters are classified into two categories : Ripple (or Asynchronous ) Counters Synchronous Counters 08/26/2024 Module 2
  • 45.
    45 Asynchronous Counters Fig: Asynchronouscounter 08/26/2024 Module 2
  • 46.
    08/26/2024 Module 246 Asynchronous Counters • Data ripples from the output of one flip flop to the input of the next (ripple counter). • Output of one flip flop acts as clock to next flip flop. • In 3 bit asynchronous counter, output of first flip flop toggles for every negative edge of clock signal. • Output of second flip flop toggles for every negative edge of output of first flip flop. • Output of second flip flop toggles for every negative edge of output of first flip flop. Synchronous Counters • All flip flops are clocked simultaneously. • Example: ring counter and johnson counter.
  • 47.
    08/26/2024 Module 247 • Design a 3-to-8 Decoder and show its implementation using basic gates. • Construct a logic circuit that will produce a Logic 1 output whenever two or more of its inputs are at Logic 1. • With the help of truth table explain full adder using logic gates. • Explain Input and output states for a J-K bistable using clocked operation. • With the help of a neat diagram explain the 4-bit shift register operation and types. • With a neat block diagram explain the arrangement of a microcontroller system with typical inputs and outputs. • Discuss the design of a 3-bit asynchronous up-counter. • With a neat block diagram show how typical input and output blocks are connected to a microcontroller unit. • With the help of a timing diagram explain how D-type bistable circuit works. • Design a full adder using two half adders and an OR-gate. • Design a 4-stage shift register using J-K bistables. • Write a note on different data types mentioning the bit size and range of values supported. Model Question Paper Questions
  • 48.
    08/26/2024 Module 248 Reference: 1. Mike Tooley, ‘Electronic Circuits, Fundamentals & Applications’, 4th Edition, Elsevier, 2015. DOI https://doi.org/10.4324/9781315737980. eBook ISBN9781315737980 2. D P Kothari, I J Nagrath, ‘Basic Electronics’, 2nd edition, McGraw Hill Education (India), Private Limited, 2018.