CODE MODULATION BASED ENCRYPTION & DECRYPTION
         TECHNIQUE FOR SECURE COMMUNICATION IN
                                        WIRELESS

ABSTRACT

In Today’s Electronic communication take important role. Today’s Communication technology
the chatting system from one Place to another is easy and fast. But security is of some concern,
for that we send the data by the system named as Advanced chatting system using
Microcontroller.

In our project we have two sections, one is transmitter section and another one is Receiver
section. The two sections are designed around a microcontroller as a control unit with all the
devices interfaced to it. The main aim of the project is to transmit the data using wireless
communication by encrypting the data. At the receiver side, the encrypted data is decrypted and
is shown in the PC.

According to this project the person who wants to send the data to a remote place has to type the
data from the PC. The data is received by microcontroller and is sent to RF transmitter after
encrypting it. The RF receiver receives the data decodes it and displays the encrypted data in
PC. If the actual data is to be viewed then a password is to be pressed. Now the cipher text is
converted into plaintext.
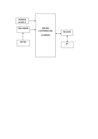
BLOCK DIAGRAM

TRANSMITTER




  POWER SUPPLY

                   MICRO
                 CONTROLLER
       Encoder
                              MAX232
                  (AT89S52)



                                PC
        RF TX




 RECIEVER
POWER
SUPPLY


DECODER     MICRO
          CONTROLLER
                       MAX232
           (AT89S52)


 RF RX
                         PC

Code modulation based encryption & descryption technique for secure communication in wireless

  • 1.
    CODE MODULATION BASEDENCRYPTION & DECRYPTION TECHNIQUE FOR SECURE COMMUNICATION IN WIRELESS ABSTRACT In Today’s Electronic communication take important role. Today’s Communication technology the chatting system from one Place to another is easy and fast. But security is of some concern, for that we send the data by the system named as Advanced chatting system using Microcontroller. In our project we have two sections, one is transmitter section and another one is Receiver section. The two sections are designed around a microcontroller as a control unit with all the devices interfaced to it. The main aim of the project is to transmit the data using wireless communication by encrypting the data. At the receiver side, the encrypted data is decrypted and is shown in the PC. According to this project the person who wants to send the data to a remote place has to type the data from the PC. The data is received by microcontroller and is sent to RF transmitter after encrypting it. The RF receiver receives the data decodes it and displays the encrypted data in PC. If the actual data is to be viewed then a password is to be pressed. Now the cipher text is converted into plaintext.
  • 2.
    BLOCK DIAGRAM TRANSMITTER POWER SUPPLY MICRO CONTROLLER Encoder MAX232 (AT89S52) PC RF TX RECIEVER
  • 3.
    POWER SUPPLY DECODER MICRO CONTROLLER MAX232 (AT89S52) RF RX PC