ĐH Bách khoa – ĐHQG Tp.HCM
PĐT, Mẫu 2008-ĐC Tr.1/5
Khoa : Điện – Điện Tử
Bộ môn : Thiết Bị Điện ð cương Môn h c ð i h c
MÁY ðI N
(ELECTRICAL MACHINERY)
Mã s MH : 408003
- Số tín chỉ : 3 (3.1.4) TCHP:
- Số tiết - Tổng: 60 LT: 45 BT: 15 TH: ĐA: BTL/TL:
(Ghi chú rõ nếu có hình thức khác như TT ngoài trường, tham quan, ...
các môn này có thể dùng đơn vị "buổi", "tuần" thay cho số tiết – đính
kèm dự trù chi tiết định mức chi phí thực hành TN đặc biệt là khi đi thực
tập bên ngoài để dễ dàng cho xét duyệt kinh phí sau này)
- Đánh giá : Kiểm tra: 30% Kiểm tra Viết giữa kỳ 45 – 60 phút
Thang điểm 10/10 Thi cuối kỳ: 70% Thi Viết cuối kỳ - 90'
- Môn tiên quyết : - Biến đổi năng lượng điện cơ MS: 408001
- Môn học trước : - MS:
- Môn song hành : - MS:
- CTĐT ngành : Điện năng (Tham chiếu CTĐT ngành Điện- Điện Tử trường Đại Học
Illinois- Urbana Champaign )
- Trình độ :
(khối kiến thức-KT)
Môn bắt buộc chuyên ngành Điện Năng, năm thứ 3.
- Ghi chú khác :
1. Mục tiêu của môn học:
Máy điện là môn học bắt buộc của sinh viên chuyên ngành Điện năng năm 3 hay môn tự chọn
cho các chuyên ngành khác của ngành Điện – Điện tử. Mục tiêu của môn học nhằm cung cấp
các kiến thức nền tảng về các thiết bị điện cơ. Sinh viên hoàn thành khóa học sẽ có khả năng
giải thích và chứng minh trên cơ sở toán học các quá trình vận hành của các thiết bị điện cơ.
Sinh viên cũng có thể nhận dạng được các loại máy điện có khả năng đáp ứng yêu cầu công
việc, tuy nhiên, thiết kế chi tiết của các thiết bị điện cơ không thuộc nội dung môn học.
Aims:
This course is a undergraduate junior level core for power engineering and elective for other
electrical engineering majors. The goals are to impart an understanding of electro-mechanics from
theoretical base. The successful student will be able to explain how various electromechanical
devices work, and justify the explanation mathematically. Further, the students should be able to
conceive a device that is capable of meeting performance criteria, though detailed design is not part
of the course.
2. Nội dung tóm tắt môn học:
Môn học cung cấp các kiến thức liên quan đến thiết bị biến đổi năng lượng điện cơ (nguyên
lý, cấu tạo, ứng dụng, các phương pháp tính, cách xây dựng mô hình toán và mạch tương đương).
Máy biến áp lực (máy biến áp một và ba pha, máy biến áp tự ngẫu, máy biến áp đo lường).
Máy điện quay: Máy điện không đồng bộ (xây dựng và phân tích mạch tương đương, cách xác định
các thông số mạch tương đương theo thí nghiệm, phân tích đặc tính moment,…), máy điện đồng bộ
(xây dựng và phân tích mạch tương đương, điện kháng đồng bộ, các đặc tính vận hành, đặc tính góc
Đề cương MH : De cuong_MayDien_Nghiem thu.doc PĐT, Mẫu 2008-ĐC
Tr.2/5
tải ở điều kiện ổn định,…), máy điện một chiều (phản ứng phần ứng, vấn đề đổi chiều và giải pháp,
phân tích dựa trên mạch điện và mạch từ, các đặc tính vận hành ở chế độ xác lập…), các loại động
cơ công suất nhỏ.
Course outline:
The course provides knowledge about basic principles of electro-mechanical conversion, theories of
single- and three-phase transformers, auto-transformers, instrument transformers, principles of
rotating electrical machines, induction machines (equivalent circuit, parameter determination,
torque characteristic analysis, etc), synchronous machines (synchronous inductances, equivalent
circuit, open and short-circuit characteristics, steady-state power angle characteristics, etc). DC
machines (effects of amature MMF, commutator action, analytical fundamentals – electric circuit
and magnetic circuit aspects, etc), low power motors.
3. Tài liệu học tập: (nên trong khoảng 3-5 đầu sách)
[1] Nguyễn Chu Hùng, Tôn Thất Cảnh Hưng, Kỹ Thuật Điện 1, Đại Học Quốc Gia TP. Hồ Chí
Minh, 2000.
[2] Nguyễn Hữu Phúc, Kỹ Thuật Điện 2, Máy Điện Quay, Đại Học Quốc Gia TP. Hồ Chí Minh,
2003.
[3] A. E. Fitzgerald, C. Kingsley, and S. D. Umans, Electric Machinery, 6th ed., New York:
McGraw-Hill, 2003.
[4] Chee Mung Ong, Electric Machinery Mathlab Simulation, Prentice Hall 1997.2.
[5] P. Krause, D. Wasynczuk, and S. D. Sudhoff, Analysis of Electric Machinery, IEEE Press,
2002.
4. Các hiểu biết,các kỹ năng cần đạt được sau khi học môn học
1. Giải thích các nguyên lý cơ bản của quá trình biến đổi năng lượng điện cơ, tính toán và giải
tích lực/moment trong trường từ, sự tương tác điện – từ thông qua lực lorentz, tính toán năng
lượng của hệ thống trường từ một – hay nhiều nguồn kích thích; giải thích về từ trường quay
trong hệ thống máy điện, ..v.v.
2. Phân tích, tính toán các biến trạng thái thuộc mô hình tĩnh của máy điện một chiều, xoay
chiều. Tính toán các thông số vào và ra của hệ thống máy điện.
3. Giải thích và tính toán chế độ vận hành máy điện một cách hiệu quả nhất (hiệu suất cao),
giúp sinh viên quan tâm nhiều hơn đến vấn đề tiết kiệm năng lượng, một vấn đề mang tính
toàn cầu, từ đó góp phần làm giảm lượng khí thải CO2, và bảo vệ môi trường.
4. Giải thích và thiết kế được các mô hình động đơn giản (hoặc là các phương trình) bằng
simulink của matlab, giúp sinh viên tiếp cận nhanh hơn các môn học chuyên ngành sau này.
5. Có khả năng nhận dạng được các loại máy điện, sự tương thích về tải cũng như yêu cầu
công việc.
Bảng tương ứng chuẩn đầu ra của môn học và chuẩn đầu ra của chương trình đào tạo
Chuẩn đầu ra của chương trình đào tạo
Chuẩn đầu ra môn học a b c d e f g h i j k
1
2
3
4
5
Đề cương MH : De cuong_MayDien_Nghiem thu.doc PĐT, Mẫu 2008-ĐC
Tr.3/5
Learning outcomes:
1. Ability to explain Electromechanical Energy Conversion Principles, calculate and analyze
the forces and torques in magnetic field systems via the lorentz force law, energy in singly
and multiply-excited magnetic field systems, magnetic fields in rotating machinery and so
on.
2. Ability to analyze steady-state models of AC/DC machines, calculate the input/output
parametters of AC/DC machines (b,e).
3. Ability to explain and calculate the operating regimes to improve productivity of electrical
machines in terms of energy efficiency. So the students can understand about energy saving,
how to reduce CO2. (j,h).
4. Ability to explain and design simulation of basically dynamic model (or equations) by
matlab/simulink tools (k).
5. Ability to identify the kinds of electrical machine according to their loads or/and their
applied fileds.
Program Outcomes
Course Objectives a b c d e f g h i j k
1
2
3
4
5
5. Hướng dẫn cách học - chi tiết cách đánh giá môn học:
Sinh viên nên tham dự giờ giảng trên lớp để nắm bắt vấn đề vì đây là môn học liên quan nhiều đến
ứng dụng thực tế, nhiều khái niệm kỹ thuật mới.
Bài tập về nhà cần được nộp khoảng 2 tuần sau khi đầu đề bài tập được công bố.
Các cột điểm cho bài tập về nhà, và kiểm tra giữa kỳ sẽ được tổng hợp thành điểm kiểm tra (chiếm
30%), tỷ lệ giữa các phần do giảng viên công bố cho sinh viên ngay khi bắt đầu môn học.
Thi cuối kỳ (chiếm 70%) sử dụng hình thức thi viết, với thời lượng 90 phút.
Sinh viên chỉ cần đạt điểm tổng hợp là 5 trở lên thì xem như đạt môn học.
Learning Strategies & Assessment Scheme:
Students should attend the lecture to easily understand and read the refferences because this subject
is close to real application with a lot of new conceptions.
Homework assignments are normally due in 2 weeks time, from the moment they are announced
(posted on the web site).
Homework assignment, and mid-term examination will be added together to make up the first mark
(30%), and their weighting factors are to be fixed by the instructor and announced to the student
right at the beginning of the course.
Final examination (70%) will make use of writing format, lasting 90 minutes.
A minimum final mark of 5 is required to pass the course.
6. Nội dung chi tiết::
Tuần Nội dung Tài liệu Ghi chú
Đề cương MH : De cuong_MayDien_Nghiem thu.doc PĐT, Mẫu 2008-ĐC
Tr.4/5
4,5,6 CHƯƠNG 5: Máy điện đồng bộ
4.1 Tổng quan về máy điện đồng bộ
4.2 Điện kháng đồng bộ. Mạch điện tương đương
4.3 Các đặc tính không tải và ngắn mạch
4.4 Đặc tính công suất – góc máy đồng bộ trong trạng thái xác
lập
4.5 Các đặc tính vận hành
4.6 Các điều kiện làm việc song song các máy phát điện đồng bộ
4.8 Vấn đề điều chỉnh công suất tác dụng, công suất phản kháng
trong điều kiện máy phát làm việc với lưới điện vô cùng lớn
4.9 Vấn đề điều chỉnh công suất tác dụng, công suất phản kháng
trong điều kiện máy phát làm việc với các máy phát khác có công
suất tương đương
4.10 Động cơ đồng bộ : vấn đề mở máy; các đặc tính vận hành
[1-5] Nắm vững
Vận dụng
1 CHƯƠNG 1 : Các nguyên lý của quá trình biến đổi điện cơ
1.1 Lực và moment trong hệ các mạch từ
1.2 Cân bằng năng lượng
1.3 Năng lượng và lực từ trong hệ một nguồn kích từ
1.4 Tính toán lực từ: Đồng năng lượng
1.5 Năng lượng và lực từ trong hệ nhiều nguồn kích từ
1.6 Lực và moment trong hệ các mạch từ có nam châm vĩnh cửu
1.7 Phương trình động lực
1.8 Các phương pháp giải tích
[1,2] Hiểu,
Vận dụng
2 CHƯƠNG 2: Máy Biến áp
2.1 Giới thiệu về máy biến áp
2.2 Điều kiện không tải
2.3 Ảnh hưởng của dòng sơ cấp: Máy biến áp lý tưởng
2.4 Kháng trở và sơ đồ mạch tương đương
2.5 Các yếu tố kỹ thuật trong phân tích máy biến áp
2.6 Máy biết áp từ ngẫu: Máy biến áp nhiều cuộn dây
2.7 Máy biến áp ba pha
2.8 Máy biến điện áp và máy biến dòng
[1,2] Nắm vững
Vận dụng
3 CHƯƠNG 3 : Các vấn đề cơ bản của máy điện quay
3.1 Khái niệm
3.2 Giới thiệu về máy điện một chiều và xoay chiều
3.3 Sức từ động dây quấn rải
3.4 Từ trường trong máy điện
3.5 Từ trường quay trong máy điện xoay chiều
3.6 Sức điện động cảm ứng
3.7 Moment trong máy điện cực từ ẩn
3.8 Máy điện tuyến tính
3.9 Hiện tượng bão hoà mạch từ
3.10 Từ thông tản
[1-5] Vận dụng
Tổng hợp
7,8,9 CHƯƠNG 4 : Máy điện không đồng bộ 3 pha
5.1 Tổng quan về máy điện không đồng bộ
5.2 Dòng và từ thông trong máy điện không đồng bộ
5.3 Các phương trình cơ bản
5.4 Phân tích mạch tương đương
5.5 Phương trình tính moment và công suất dùng mạch
Thevenin
5.6 Các thí nghiệm không tải và ngắn mạch
5.7 Mô phỏng máy điện không đồng bộ.
[1-5] Nắm vững
Vận dụng
Đề cương MH : De cuong_MayDien_Nghiem thu.doc PĐT, Mẫu 2008-ĐC
Tr.5/5
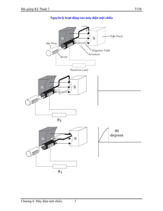
10,11 CHƯƠNG 6 : Máy điện một chiều
6.1 Tổng quan về máy điện một chiều
6.2 Sức từ động phản ứng phần ứng
6.3 Phân tích dựa trên mạch điện
6.4 Phân tích dựa trên mạch từ
6.5 Các đặc tính vận hành
6.6 Vấn đề đổi chiều và dây quấn cực từ phụ
6.7 Dây quấn bù
6.8 Điều chỉnh tốc độ động cơ một chiều
6.9 Mô phỏng máy điện một chiều
[1-5] Nắm vững
Vận dụng
12,13
,14
CHƯƠNG 7: Các loại động cơ khác
7.1 Động cơ từ trở
7.1.1 Tổng quan
7.1.2 Cấu tạo các loại động cơ từ trở
7.1.3 Dạng sóng dòng cần thiết cho việc tạo moment quay
7.1.4 Các hệ truyền động dùng động cơ từ trở
7.1.5 Động cơ từ trở trong trường hợp mạch từ phi tuyến
7.2 Động cơ công suất nhỏ
7.2.1 Động cơ không đồng bộ một pha
7.2.2 Đặc tính mở máy và vận hành của động cơ không đồng bộ
một pha và động cơ đồng bộ
7.2.3 Từ trường quay áp dụng cho động cơ không đồng bộ một
pha
7.2.4 Máy điện 2 pha làm việc không đối xứng : phương pháp
các thành phần đối xứng
7.2.5 Động cơ vạn năng
7.2.6 Động cơ bước
7.2.7 Động cơ một chiều nam châm vĩnh cửu
7.2.8 Động cơ xoay chiều nam châm vĩnh cửu
[1-5] Hiểu,
Vận dụng
Chương I: Các nguyên lý của quá trình biến đổi điện cơ TB
Slide Máy điện I.1
CHƯƠNG 1:
CÁC NGUYÊN LÝ CỦA QUÁ TRÌNH
BIẾN ĐỔI NĂNG LƯỢNG ĐIỆN CƠ
I. Các nguyên lí của quá trình biến đổi năng lượng điện cơ
I.1. Lực và moment trong hệ các mạch từ
Định luật Lorentz: ( )BvEqF
rrrr
×+=
Nếu chỉ có từ trường: Bv.qF
rrr
×=
Mà tIq .=
Nên ( )BlIFe
rrr
×=
Tích có hướng
B
r
I
r
eF
r
I
r
eF
r
B
r
I
r
F
r
iy y
x
ix
iz
z
yxz iii
rrr
×=
0
Chương I: Các nguyên lý của quá trình biến đổi điện cơ TB
Slide Máy điện I.2
Biết I=10A, B=0,5T, R=0,1m, l=0,3m, α=30o
.
Tính lực điện từ Fe tác động lên mỗi thanh dẫn rotor?
Tính moment tác động lên 2 thanh dẫn rotor?
mechfldelec WWW +=
mechfld dWdWdt.ei += mà
dt
d
e
ψ
= và xfW fldmech =
( )xfddWid fldfld +=ψ giả sử ffld=const
dxfiddW fldfld −= ψ
B
r
I
r
eF
r
B
r
I
r
1eF
r
α
Chương I: Các nguyên lý của quá trình biến đổi điện cơ TB
Slide Máy điện I.3
I.2.Cân bằng năng lượng
Điện năng = Năng lượng từ trường + Cơ năng + Nhiệt năng
fldmechelec dWdWdW =−
I.3. Năng lượng và lực từ trong hệ một nguồn kích từ
dt
d
e
ψ
=
ψiddWe =
i)x(L=ψ
dxfdW fldmech =
dxfiddW fldfld −= ψ
Với
)x(L
i
ψ
=
Chương I: Các nguyên lý của quá trình biến đổi điện cơ TB
Slide Máy điện I.4
(λ=ψ)
Nếu mạch từ tuyến tính, i)x(L=ψ , nên Wfld chỉ phụ thuộc vào ψ và x.
( ) ( ) ( ) ( )0fld
x,
0
fld
x,0
0
fld
x,
0
00fld x,Wdx,0Wdx,Wdx,W
00000
ψψψ
ψψ
∫∫∫ +==
Mà khi 0=ψ thì 0ffld = nên ( ) 0x,0dWfld =
⇒ ( ) 2
0
00 00
000fld
)x(L
1
2
1
d
)x(L
d)x,(ix,W
00
ψψ
ψ
ψψψ
ψψ
=== ∫∫
( ) 2
o
o
00fld
)x(L
1
2
1
x,W ψψ =
Có thể tính năng lượng tích lũy trong từ trường thông qua mật độ khối của
năng lượng từ trường theo thể tích V:
∫ ∫ 







=
V
B
0
fld dVHdBW
0
Nếu mạch từ tuyến tính, HB µ= :
∫ 





=
V
2fld dV
B
2
1
W
µ
Chương I: Các nguyên lý của quá trình biến đổi điện cơ TB
Slide Máy điện I.5
Tính Wfld khi piston dịch chuyển một đoạn x=0,01m?
Biết N=1000 vòng, δ=0,002m=g+g, d=0,15m, l=0,1m, I=10A.
Với
δ
µ δA
NL o
2
=
I.4.Tính toán lực từ: Đồng năng lượng
( ) dxfidx,dW fldfld −= ψψ Wfld tính theo ψ và x.
⇒ ( ) dx
x
W
d
W
x,dW fldfld
fld
∂
∂
+
∂
∂
= ψ
ψ
ψ
⇒
ψ∂
∂
= fldW
i và
x
W
f fld
fld
∂
∂
−=
Định nghĩa “đồng năng lượng” W’fld theo i và x:
( ) )x,(Wix,iW fld
'
fld ψψ −=
⇒ ( ) ( ) dx
x
)x,i(W
di
i
)x,i(W
)x,(dWidx,idW
'
fld
'
fld
fld
'
fld
∂
∂
+
∂
∂
=−= ψψ
Trong đó:
( ) diidid ψψψ +=
mà dxfid)x,(dW fldfld +−=− ψψ
⇒ dx
x
)x,i(W
di
i
)x,i(W
dxfdi
'
fld
'
fld
fld
∂
∂
+
∂
∂
=+ψ
Chương I: Các nguyên lý của quá trình biến đổi điện cơ TB
Slide Máy điện I.6
⇒
i
)x,i(W'
fld
∂
∂
=ψ và
x
)x,i(W
f
'
fld
fld
∂
∂
=
Moment:
θ
θ
∂
∂
=
),i(W
t
'
fld
e
Với hệ thống tuyến tính, có thể tính đồng năng lượng:
2
00
i
0
0
i
0
000
'
fld i)x(L
2
1
idi)x(Ldi)x,i()x,i(W
00
=== ∫∫ψ
⇒
2'
fld i)x(L
2
1
W =
Khi mạch từ tuyến tính, ψ và i tỷ lệ:
∫ ∫ 







=
V
H
0
'
fld dVBdHW
0
Nếu mạch từ tuyến tính, HB µ= :
∫ 





=
V
2'
fld dVH
2
1
W µ
Chú ý, theo định nghĩa: iWW '
fldfld ψ=+ , kể cả khi mạch từ không tuyến tính.
(λ=ψ)
Chương I: Các nguyên lý của quá trình biến đổi điện cơ TB
Slide Máy điện I.7
Ví dụ: Tính lực tác động lên piston ffld theo Wfld và W’fld
khi piston dịch chuyển một đoạn x=0,01m?
Biết N=1000 vòng, δ=0,002m=g+g, d=0,15m, l=0,1m, I=10A.
x
W
f fld
fld
∂
∂
−= ( ) 2
o
o
00fld
)x(L
1
2
1
x,W ψψ =
x
)x,i(W
f
'
fld
fld
∂
∂
=
2'
fld i)x(L
2
1
W =
Ví dụ: Tính lực tác động lên nắp mạch từ biết N = 100 vòng?
Baøi giaûng Kyõ Thuaät Ñieän Ñaïi Cöông TCBinh
Chöông 3: Maùy bieán aùp 1
Chöông 2:
MAÙY BIEÁN AÙP
I. Giới thiệu về máy biến áp
MBA moät pha:
V1ñm, V2ñm = V20,
I1ñm, I2ñm,
Sñm = V2ñm.I2ñm≈ V1ñm.I1ñm[VA]
Baøi giaûng Kyõ Thuaät Ñieän Ñaïi Cöông TCBinh
Chöông 3: Maùy bieán aùp 2
MBA bapha: Vñm daây, Iñm daây, Sñm = 3 V2ñm.I2ñm≈
3 V1ñm.I1ñm[VA]
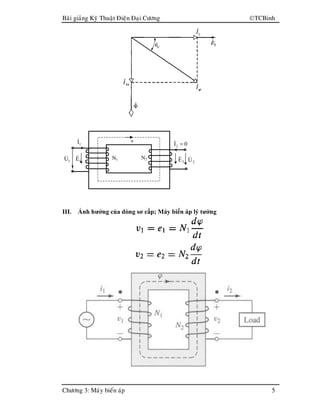
Maùy bieán aùp laø thieát bò ñieän töø tónh laøm nhieäm vuï truyeàn taûi hoaëc phaân phoái naêng löôïng.
Goàm cuoän daây sô caáp noái nguoàn ñieän vaø cuoän daây caûm öùng noái taûi laø cuoän thöù caáp.
Kyù hieäu:
Baøi giaûng Kyõ Thuaät Ñieän Ñaïi Cöông TCBinh
Chöông 3: Maùy bieán aùp 3
II. Chế độ không tải
i1
v1 N1 N2
i2
v2 Zt
ϕ
Baøi giaûng Kyõ Thuaät Ñieän Ñaïi Cöông TCBinh
Chöông 3: Maùy bieán aùp 4
Ví dụ: Biết Pc =16W, (VI)rms=20VA, V=194Vrms. Tính cos θθθθc, Iϕϕϕϕ,
Im?
Baøi giaûng Kyõ Thuaät Ñieän Ñaïi Cöông TCBinh
Chöông 3: Maùy bieán aùp 5
ϕ
1I&
1U& N1 N2
0I2 =&
2E&
2U&1E&
III. Ảnh hưởng của dòng sơ cấp; Máy biến áp lý tưởng
Baøi giaûng Kyõ Thuaät Ñieän Ñaïi Cöông TCBinh
Chöông 3: Maùy bieán aùp 6
Ví dụ: Cho mạch tương đương của một máy biến áp lý tưởng như hình sau:
Baøi giaûng Kyõ Thuaät Ñieän Ñaïi Cöông TCBinh
Chöông 3: Maùy bieán aùp 7
Trở kháng cuộn thứ cấp R2+jX2 = 1+j4Ω. N1/N2=5:1.
a) Vẽ mạch tương đương quy về sơ cấp.
b) Cấp điện áp vào cuộn sơ cấp 120Vrms, nối tắt A-B, tính dòng điện sơ cấp và
dòng điện qua điểm ngắn mạch?
c) Tính lại nếu R2+jX2 = 0,02+j0,97Ω.
IV. Kháng trở và sơ đồ mạch tương đương
i1
u1 N1 N2
i2
u2 Zt
φ
Baøi giaûng Kyõ Thuaät Ñieän Ñaïi Cöông TCBinh
Chöông 3: Maùy bieán aùp 8
Baøi giaûng Kyõ Thuaät Ñieän Ñaïi Cöông TCBinh
Chöông 3: Maùy bieán aùp 9
Ví dụ: Cho máy biến áp: 2400:240V, 50Hz.
R1+jX1 = 0,72+j0,92Ω
R2+jX2 = 0,007+j0,009Ω
Rc//jXm = 6,32+j43,7Ω
Vẽ mạch tương đương
a) Quy về cao áp?
b) Quy về hạ áp?
Nếu cấp điện 2400V vào cuộn sơ cấp, tính dòng điện qua nhánh từ hóa?
V. Các yếu tố kỹ thuật trong phân tích máy biến áp
Baøi giaûng Kyõ Thuaät Ñieän Ñaïi Cöông TCBinh
Chöông 3: Maùy bieán aùp 10
Ví dụ: Cho máy biến áp: 2400:240V, 50Hz.
R1+jX1 = 0,72+j0,92Ω
R2+jX2 = 0,007+j0,009Ω
Rc//jXm = 6,32+j43,7Ω
Nếu cấp điện 2400V vào cuộn sơ cấp:
a)Vẽ mạch tương đương quy về sơ cấp?
b)Tính điện áp thứ cấp khi hở mạch (trị phức)?
c)Vẽ mạch tương đương gần đúng, tính Req và Xeq?
Ví dụ: Cho máy biến áp: 50-kVA, 2400:240V, 50Hz.
R1+jX1 = 0,72+j0,92Ω
R2+jX2 = 0,007+j0,009Ω
Rc//jXm = 6,32+j43,7Ω
Trở kháng đường dây trước biến thế là Zs = 0,30+j1,60Ω. Biết điện áp ở
trước đường dây cấp nguồn cho biến thế là 2400V. Biến thế nối tải định
mức có hệ số công suất bằng 0,8 (chậm pha). Bỏ qua sụt áp do nhánh từ
hóa trên biến thế và đường dây. Tính điện áp trên cuộn dây thứ cấp?
/10
Ví dụ: Tính lại câu trên nếu tải có cosθθθθ=0,8 (nhanh pha)?
Baøi giaûng Kyõ Thuaät Ñieän Ñaïi Cöông TCBinh
Chöông 3: Maùy bieán aùp 11
Thí nghiệm ngắn mạch:
Để máy biến áp có Un nhỏ thì phải như thế nào? Isc khi đó ra sao?
Thí nghiệm hở mạch:
Thí nghiệm không tải có thể cấp điện áp định mức cho phía cao áp hay hạ áp sao
cho thuận tiện nhất.
Baøi giaûng Kyõ Thuaät Ñieän Ñaïi Cöông TCBinh
Chöông 3: Maùy bieán aùp 12
Ví dụ: Cho máy biến áp: 50kVA, 2400:240V, 50Hz.
Thí nghiệm ngắn mạch: với điện áp (sơ cấp) 48V, đo được dòng
điện ngắn mạch (sơ cấp) là 20,8A và công suất ngắn mạch là
617W.
Thí nghiệm không tải: điện áp hở mạch (thứ cấp) là 240V, dòng
không tải (sơ cấp) là 5,41A, công suất hở mạch là 186W.
a) Tính hiệu suất của biến thế khi làm việc đầy tải, tải có hệ số công
suất 0,8 (chậm pha)?
b) Tính các thông số của máy biến áp (quy về sơ cấp)?
c) Tính Độ ổn định điện áp ở định mức?
100.
V
VV
regulationvoltage%
load2
load2load_no2 −
=
d) Tính hiệu suất của biến thế khi làm việc ở xx% tải, biết tải có hệ
số công suất 0,8 (chậm pha) theo 2 cách?
Với xx = (MSSV.499T0279+100)/2
Biến áp 3 pha, ∆/Y, 15kV/380V.
Baøi giaûng Kyõ Thuaät Ñieän Ñaïi Cöông TCBinh
Chöông 3: Maùy bieán aùp 13
Ví dụ: Cho máy biến áp: 50kVA, 2400:240V, 50Hz.
Tính lại độ ổn định điện áp cho ví dụ trên khi đầy tải 50kW với tải có hệ số công
suất đơn vị?
Giaûn ñoà naêng löôïng cuûa maùy bieán aùp
Heä soá taûi cuûa maùy bieán aùp
dm1
1
dm2
2
I
I
I
I
≈=β
Khi β = 1 - taûi ñònh möùc; β < 1 - non taûi; β > 1 - quaù taûi.
Hieäu suaát cuûa maùy bieán aùp
1
2
P
P
=η hoaëc 100
P
P
%
1
2
=η
S1=P1+ jQ1 Sđt=Pđt+jQđt S2= P2+jQ2
pCu2 + jq2pCu1+ jq1 pFe+jqm
Baøi giaûng Kyõ Thuaät Ñieän Ñaïi Cöông TCBinh
Chöông 3: Maùy bieán aùp 14
0
-U’
2
ReqĐ1
a
b
c
θ
U1dm
XeqĐ1ZeqĐ1
Đ’
2 = -Đ1
CuFe2
2
1
2
PPP
P
P
P
++
==η
P2 = U2I2 cosθ = β.Sñmcosθ
PFe ≈ P0 (TN khoâng taûi vôùi: U1ñm)
PCu = I1
2
R1 + I2
2
R2 = I1
2
(R1+R’
2) = I1
2
Req = β2
Pn. (TN ngaén maïch vôùi: I1ñm)
⇒
n
2
0dm
dm
P.Pcos.S.
cos.S.
βθβ
θβ
η
++
=
neáu cosθ khoâng ñoåi thì hieäu suaát seõ cöïc ñaïi khi:
β
η
d
d
= 0 ⇔ β2
.Pn = P0
Heä soá taûi öùng vôùi hieäu suaát cöïc ñaïi laø: β =
P0
Pn
Với Po là công suất không tải ở điện áp định mức
Và Pn là công suất ngắn mạch ở dòng điện định mức.
Ñoä thay ñoåi ñieän aùp cuûa maùy bieán aùp
U1 = Uñm = const
U2 = U20 = U2ñm
Khi maùy bieán aùp ôû cheá ñoä taûi thì U2 < U2ñm vaø phuï thuoäc vaøo taûi do ñieän aùp rôi treân daây
quaán sô caáp vaø thöù caáp. Ñoä bieán thieân ñieän aùp thöù caáp ∆U2 laø: ∆U2 = U2ñm – U2
Ñoä bieán thieân ñieän aùp thöù caáp phaàn traêm: 100.
U
UU
%U
dm2
2dm2
2
−
=∆
Hay 100.
U
UU
100.
U.k
U.kU.k
%U
dm1
'
2dm1
dm2
2dm2
2
−
=
−
=∆
( ) ( )θθβ
θθβ
sin%.Ucos%.U
U
sin.Ucos.U
%U eqxeqr
dm1
eqxeqr
2 +=
+
=∆
Löu yù: sin θ > 0 khi doøng ñieän chaäm pha (taûi caûm)
sin θ < 0 khi doøng ñieän sôùm pha (taûi dung)
100
U
IX
100
U
U
%U%U
100
U
IR
100
U
U
%U%U
IZUUU
IXUU
IRUU
dm1
dm1eq
dm1
eqx
eqxnx
dm1
dm1eq
dm1
eqr
eqrnr
dm1eqeqscn
dm1eqeqxnx
dm1eqeqrnr
===
===
===
==
==
Baøi giaûng Kyõ Thuaät Ñieän Ñaïi Cöông TCBinh
Chöông 3: Maùy bieán aùp 15
⇒ ∆U2% phuï thuoäc vaøo heä soá taûi vaø tính chaát cuûa taûi.
Töø ∆U2% ta tính ñöôïc ñieän aùp thöù caáùp U2 theo coâng thöùc:





 ∆
−=∆−=
100
%U
1UUUU 2
dm22dm22
Ví dụ: Cho máy biến áp: 50kVA, 2400:240V, 50Hz.
Thí nghiệm ngắn mạch: với điện áp (sơ cấp) 48V, đo được dòng điện ngắn mạch (sơ
cấp) là 20,8A và công suất ngắn mạch là 617W.
Thí nghiệm không tải: điện áp hở mạch (thứ cấp) là 240V, dòng không tải (sơ cấp)
là 5,41A, công suất hở mạch là 186W.
_ Tính hiệu suất và độ thay đổi điện áp của biến thế khi làm việc:
+ 100% tải, tải có hệ số công suất 0,8 (nhanh pha)?
+ 50% tải, tải có hệ số công suất 0,8 (nhanh pha)?
_ Tính hiệu suất cực đại, tải và hệ số tải khi đó, biết tải có hệ số công suất 0,8 (nhanh
pha)?
VI. Máy biết áp từ ngẫu; Máy biến áp nhiều cuộn dây
VI.1. Máy biết áp từ ngẫu
Không cách ly. Từ tản nhỏ, ít tổn hao, dòng không tải nhỏ, rẻ tiền, có thể làm ổn áp.
Tỷ lệ xấp xỉ 1:1.
Ví dụ: Cho máy biến áp 2 cuộn dây: 50kVA, 2400:240V, 50Hz.
U2
U20
R
L
C
β
Baøi giaûng Kyõ Thuaät Ñieän Ñaïi Cöông TCBinh
Chöông 3: Maùy bieán aùp 16
Biến áp trên làm biến áp từ ngẫu, với ab làm cuộn 240V và bc làm cuộn 2400V.
a. Tính điện áp ab và ac?
b. Tính công suất biểu kiến định mức [kVA] và dòng điện định mức?
c. Tính hiệu suất khi cấp điện cho tải định mức có HSCS=0,8 chậm pha? Biết
R1+jX1 = 0,72+j0,92Ω
R2+jX2 = 0,007+j0,009Ω
Rc//jXm = 6,32+j43,7Ω
Ví dụ: Cho máy biến áp: 450kVA, 460:7970V với hiệu suất 98,7% khi cấp điện
cho tải định mức có HSCS=1. Nếu dùng biến áp trên là biến áp từ ngẫu
7970:8430V. Tính công suất biểu kiến định mức [kVA], dòng điện định mức và
hiệu suất khi cấp điện cho tải định mức có HSCS=1?
VI.2. Máy biến áp nhiều cuộn dây
Baøi giaûng Kyõ Thuaät Ñieän Ñaïi Cöông TCBinh
Chöông 3: Maùy bieán aùp 17
T1
TRANSFORMER
3
6
5
1
18
17
12
15
14
11
7
8
9
13
10
16
VII. Máy biến áp ba pha
Tỷ số máy biến áp
1
2
2
1
2
1
I
I
V
V
N
N
ak ≈≈==
Baøi giaûng Kyõ Thuaät Ñieän Ñaïi Cöông TCBinh
Chöông 3: Maùy bieán aùp 18
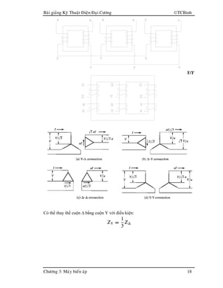
Y/Y
Có thể thay thế cuộn ∆ bằng cuộn Y với điều kiện:
Baøi giaûng Kyõ Thuaät Ñieän Ñaïi Cöông TCBinh
Chöông 3: Maùy bieán aùp 19
I03A = I03m sin3(ωt)
I03B = I03m sin3(ωt – 2π/3) = I03m sin3(ωt)
I03C = I03m sin3(ωt + 2π/3) = I03m sin3(ωt)
Hài bậc 3 của ba pha cùng pha.
Baøi giaûng Kyõ Thuaät Ñieän Ñaïi Cöông TCBinh
Chöông 3: Maùy bieán aùp 20
a) Máy biến áp ba pha nối Y/Y riêng biệt, không tồn tại dòng bậc ba phía sơ
cấp =>từ thông vạt đầu do hài bậc ba=> điện áp thứ cấp bị nhọn đầu => hạn
chế sử dụng.
b) Máy biến áp ba pha 3 trụ nối Y/Y, không tồn tại dòng bậc ba phía sơ cấp,
nhưng từ thông cũng không có hài bậc ba do không thể khép mạch từ trụ này
qua trụ khác, song có thể khép mạch ra không khí hay dầu biến áp, gây tổn
hao, nên cũng không dùng cho biến thế công suất lớn.
c) Máy biến áp ba pha nối ∆/Y, tồn tại dòng bậc ba khép kín phía sơ cấp =>
dòng điện sơ cấp nhọn đầu =>từ thông dạng sin=> điện áp thứ cấp dạng sin
chuẩn => thường sử dụng.
d) Máy biến áp ba pha nối Y/∆, không tồn tại dòng bậc ba khép kín phía sơ cấp
=>từ thông hài bậc ba Φ3Y=> từ thông bậc ba tạo điện áp cảm ứng thứ cấp
e23=> hạn chế sử dụng chậm pha 90o
so với Φ3Y. e23 tạo ra i23 khép kín
phía thứ cấp chậm pha hơn 90o
, sinh ra từ thông bậc ba Φ3∆, ngược pha và
triệt tiêu với Φ3Y. Φ3 = Φ3Y + Φ3∆ ≈ 0. => từ thông không bị vạt đầu => điện
áp thứ cấp dạng sin chuẩn=> thường sử dụng.
Baøi giaûng Kyõ Thuaät Ñieän Ñaïi Cöông TCBinh
Chöông 3: Maùy bieán aùp 21
Baøi giaûng Kyõ Thuaät Ñieän Ñaïi Cöông TCBinh
Chöông 3: Maùy bieán aùp 22
Ví dụ: Cho ba máy biến một pha, 50kVA, 2400:240V, 50Hz,
R1+jX1 = 0,72+j0,92Ω
R2+jX2 = 0,007+j0,009Ω
Rc//jXm = 6,32+j43,7Ω
nối Y/∆ thành biến áp ba pha 150kVA. Trở kháng đường dây trước biến thế là
0,15+j100Ω/pha. Điện áp dây cấp vào sơ cấp biến áp là 4160V. Trở kháng đường
dây trước sau biến thế là 0,0005+j0,0020Ω/pha. Tính điện áp dây trên tải khi biến
áp làm việc với dòng điện định mức và tải có HSCS=0,8 chậm pha.
Ví dụ: Tính lại ví dụ trên nếu biến thế nối Y/Y.
Ví dụ 2.9: Cho biến thế như ví dụ trên, nối ∆/∆, được cấp điện áp dây 2400V
thông qua điện cảm 0,8Ω. Biến thế này kết nối tới cuộn thứ cấp biến thế khác nối
Y/∆ 500kVA, 24kV:2400V. Tổng trở tương đương quy về phía 2400V của biến thế
này là 0,17+j0,92Ω/pha. Điện áp cấp vào cuộn sơ cấp của biến thế trước là 24kV.
Nếu xảy ra ngắn mạch ở phía 240V. Tính dòng điện xác lập của sơ cấp và thứ cấp
của 2 biến thế.
VIII. Maùy bieán aùp laøm vieäc song song
Ñieàu kieän để máy biến áp làm việc song song:
• Cùng tổ đấu dây.
• Cùng tỷ số máy biến áp (để tránh dòng cân bằng trong các MBA – SV xem
tài liệu tham khảo).
• Cùng điện áp ngắn mạch (để chia tải đều cho 2 MBA).
Có Z = Zeq(1) // Zeq(2). Và ZIU =∆
Mà
)1(eq
)1(
Z
U
I
∆
= và
)2(eq
)2(
Z
U
I
∆
=
Nên
)1(n)1(sc)1(eq)1(đm)1(đm
)1(
)1(
U
U
U
U
ZI
U
I
I ∆
=
∆
=
∆
==β
⇒
%U
%U
U
U
)1(sc
)2(sc
)1(sc
)2(sc
)2(
)1(
==
β
β
MBA naøo coù ñieän aùp ngaén maïch nhoû hôn seõ chòu taûi lôùn hôn.
Req(2) Xeq(2)
Z’
1U& '
2U&
Đ(2)
Req(1) Xeq(1)
Đ(1)
Đ
Baøi giaûng Kyõ Thuaät Ñieän Ñaïi Cöông TCBinh
Chöông 3: Maùy bieán aùp 23
IX. Máy biến điện áp và máy biến dòng
Máy biến áp (TU):
Baøi giaûng Kyõ Thuaät Ñieän Ñaïi Cöông TCBinh
Chöông 3: Maùy bieán aùp 24
A x
U1
U2
A X
(Bieán aùp laøm vieäc ôû cheá ñoä hôû maïch)
Toång trôû cuûa cuoän daây sô caáp Z1 cuûa maùy bieán aùp caøng nhoû caøng chính xaùc.
Giaûm goùc leäch pha baèng caùch giaûm R1.
Máy biến dòng (CT, TI):
I2
I1
(Bieán aùp laøm vieäc ôû cheá ñoä ngaén maïch)
Toång trôû maïch töø Zm cuûa bieán aùp caøng lôùn (goùc leäch pha caøng nhoû) caøng chính xaùc.
Toång trôû cuûa caùc cuoän daây Zn cuûa maùy bieán aùp caøng nhoû caøng chính xaùc.
Giaûm goùc leäch pha baèng caùch taêng Zm.
Ví dụ 2.10: Biến áp 2400:120V, 60Hz, có thông số quy về 2400V là:
R1+jX1 = 128+j143Ω
R’2+jX’2 = 141+j164Ω
Rc//jXm = j163kΩ
a) Cấp vào 2400V, ngõ ra hở mạch, tính biên độ và góc lệch pha của điện áp
thứ cấp.
b) Để sai số biên độ điện áp nhỏ hơn 0,5%. Tính Zb=Rb nhỏ nhất?
Φ&
Đ0
δv
2U&−1E&−
1U&
22 EU && =
Đ2 -Đ
’
2
Đ1
δi
Baøi giaûng Kyõ Thuaät Ñieän Ñaïi Cöông TCBinh
Chöông 3: Maùy bieán aùp 25
c) Để sai số góc pha điện áp nhỏ hơn 1 độ. Tính Zb=Rb nhỏ nhất?
Bài tập 2.8: Tính lại câu trên nếu Zb=jXb.
Ví dụ 2.11: Biến dòng 800:5A, 60Hz, có thông số quy về 800A là:
R1+jX1 = 10,3+j44,8µΩ
R’2+jX’2 = 9,6+j54,3µΩ
Rc//jXm = j17,7mΩ
Cấp vào 800A, tải Rb=2,5Ω. Tính biên độ và góc pha của dòng điện hạ thế?
Bài tập 2.9: Thông số như câu trên: tính giá trị Zb=jXb lớn nhất sao cho khi ngõ
vào 800A và dòng thứ cấp lớn hơn 4,95A (sai số 1%).
Bài tập 1: Máy biến áp 1 pha có công suất định mức Sđm = 5 kVA, tần số định
mức fđm = 50 Hz, điện áp định mức U1đm/U2đm = 220/110 V. Có các thông số
R1=0,10 Ω, X1=0,50 Ω, '
2R =0,12 Ω, '
2X =0,40 Ω. Khi máy biến áp được nối
với tải định mức, cosϕ2 = 0,8 (tải cảm).
a. Tính độ thay đổi điện áp ∆U2%
b. Tính điện áp ngõ ra U2
Bài tập 2: Máy biến áp 1 pha có công suất định mức Sđm = 5 kVA, tần số định
mức fđm = 50 Hz, điện áp định mức U1đm/U2đm = 220/110 V. Mạch tương đương
hình Γ (như hình vẽ) có các thông số Rc=600Ω, Xm=50Ω, R1=0,10 Ω, X1=0,50
Ω, '
2R =0,12 Ω, '
2X =0,40 Ω. Khi máy biến áp được nối với tải định mức, cosϕ2
= 0,8 (tải cảm).
a. Tính độ thay đổi điện áp ∆U2%
b. Tính điện áp ngõ ra U2
c. Tính dòng điện I1 khi máy biến áp đạt hiệu suất cực đại ηmax, tính ηmax.
d. Tính công suất biểu kiến của tải khi máy biến áp đạt hiệu suất cực đại.
R1 R’
2 X’
2X1
Z’
L'
2U&
Xm
Rc1U&
Baøi giaûng Kyõ Thuaät Ñieän Ñaïi Cöông TCBinh
Chöông 3: Maùy bieán aùp 26
Bài tập 3: Máy biến áp 3 pha Y/Y-12, 180kVA, U1/U2=6000/400V, Io%=6,
Po=1000W, Un%=5,5, Pn=4000W.
a. Vẽ mạch tương đương của MBA? Tính điện trở của một cuộn dây thứ
cấp?
b. Tính hiệu suất ở định mức (với tải có HSCS=1)?
c. Khi MBA làm việc ở 70% tải có HSCS=0,8 nhanh pha. Tính hiệu suất, độ
biến thiên và độ thay đổi điện áp?
d. Tính hiệu suất cực đại của MBA khi cấp điện cho tải có HSCS=0,8 chậm
pha?
Bài tập 4: Cho MBA 30kVA, 6000/230V, điện trở R1=10Ω và R2=0,016Ω.
Điện kháng MBA nhìn từ phía sơ cấp là 34Ω.
a. Điện áp ngắn mạch?
b. Tính dòng điện Isc khi biến áp bị ngắn mạch ngõ ra?
Khi MBA mang tải có HSCS=0,8 chậm pha. Tính
c. Hiệu suất cực đại?
d. Độ thay đổi điện áp?
e. Điện áp trên tải?
Bài tập 5: MBA 12KVA, 220/440V, 50Hz.
TN ko tải: 220V, 2A, 165W.
TN ngắn mạch thứ cấp: 12V, 15A, 60W.
a. Vẽ mạch tương đương quy về sơ cấp.
b. Dùng mạch tương đương (chính xác) tính điện áp trên tải có hệ số tải
70% và HSCS=0,8 chậm pha.Tính hiệu suất MBA khi đó?
Bài tập 6: MBA 125KVA, 2000/400V, 50Hz.
TN ko tải: 2000V, 1A, 50W.
TN ngắn mạch thứ cấp: 13V, 200A, 750W.
MBA cấp điện cho tải có HSCS=0,8 chậm pha.
a. Tính hiệu suất định mức của MBA?
b. Tính hiệu suất cực đại của MBA.
Biết hệ số tải 70%:
c. Tính điện áp trên tải?
d. Tính hiệu suất của MBA?
Baøi giaûng Kyõ Thuaät Ñieän Ñaïi Cöông TCBinh
Chöông 3: Maùy bieán aùp 27
Bài tập 7: Cho MBA 1 pha, 8,66kV/220V, 50Hz,
a) Tính các thông số của máy biến áp (quy về sơ cấp)?
b) Tính độ ổn định điện áp ở định mức?
100.
V
VV
regulationvoltage%
load2
load2load_no2 −
=
c) MBA cấp điện cho tải có hệ số công suất bằng 1. Tính hiệu suất ở nửa
tải và đầy tải; và tính hiệu suất cực đại?
MBA cấp điện cho tải có HSCS=0,8 chậm pha và có hệ số tải 70%:
d) Tính hiệu suất của biến áp?
e) Tính độ thay đổi điện áp và điện áp trên tải?
Bài tập 8: Cho MBA 3 pha, ∆/Y, 15kV/380V, 50Hz. Tính như câu trên!
Bài giảng Máy Điện TB
Hình vẽ Chương 4: Máy điện không đồng bộ 1
Chương 4: MÁY ĐIỆN KHÔNG ĐỒNG BỘ
I. Giới thiệu máy điện quay AC
I.1. Máy điện không đồng bộ
Bài giảng Máy Điện TB
Hình vẽ Chương 4: Máy điện không đồng bộ 2
I.2. Sức từ động của dây quấn rải
Với dòng điện một chiều cấp vào cuộn dây, sức từ động trên khe hở kk là:
2
Ni
Fa =
Họa tần bậc 1 của sức từ động theo không gian: θ
π
cos
2
Ni4
F 1a 





=
Dây quấn rải, có họa tần bậc 1 của sức từ động: ( )θ
π
cos
2
iN
k
4
F aph
dq1a 





=
Dây quấn rải, nhiều cặp cực=P, có họa tần bậc 1: ( )θ
π
Pcos
P2
iN
k
4
F aph
dq1a 





=
Bài giảng Máy Điện TB
Hình vẽ Chương 4: Máy điện không đồng bộ 3
Ví dụ 4.1: Cho máy điện như hình trên, stator pha a có:
2 cực
8 vòng/khe, mang dòng điện ia.
Có tất cả 24 khe quấn dây, trong đó pha a ở vị trí 8 khe:
θa=67,5o
, 82,5o
, 97,5o
, 112,5o
và
=-112,5o
, -97,5o
, -82,5o
, -67,5o
,
a) Viết phương trình tính sức từ động theo trục của cuộn dây quấn theo khe
112,5o
và -67,5o
?
b) Viết phương trình tính sức từ động theo trục của cuộn dây quấn theo khe
-112,5o
và 67,5o
?
c) Viết phương trình tính vector không gian của sức từ động tổng theo trục của
pha a?
d) Tính hệ số ghép dây quấn kdq?
e) Tính lại kdq nếu 4 khe bên ngoài biên của pha a chỉ có 6 vòng dây?
Sức từ động phía rotor: ( )r
rr
r1r Pcos
P2
iN
k
4
F θ
π






=
Bài giảng Máy Điện TB
Hình vẽ Chương 4: Máy điện không đồng bộ 4
I.3. Từ trường trong máy điện quay
δ
F
g
F
H ==
( )θ
δπ
Pcos
P2
iN
k
4
H aph
dq1a 





=
Ví dụ 4.2a: Cho máy điện có rotor 4 cực, dây quấn rải, 263 vòng/pha, hệ số dây
quấn 0,935, khe hở kk 0,7mm. Tính biện độ dòng điện cần cung cấp để tạo ra biên
độ từ trường 1,6T trong khe hở kk?
Ví dụ 4.2b: Cho máy điện có rotor 2 cực, dây quấn rải, 830 vòng/pha, khe hở kk
2,2cm. Từ trường được tạo ra bởi dòng điện có biện độ 47A, và từ trường đo được
trong khe hở kk là 1,35T? Tính hệ số dây quấn rotor kr?
Bài giảng Máy Điện TB
Hình vẽ Chương 4: Máy điện không đồng bộ 5
I.4. Sức từ động trong máy điện xoay chiều
( )θ
π
Pcos
P2
iN
k
4
F aph
dq1a 





=
Nếu cấp vào cuộn dây dòng điện xoay chiều: ia=Imcos(ωet), sức từ động theo
không gian và thời gian: ( ) ( )tcosPcosFF em1a ωθ= Với
P2
IN
k
4
F mph
dqm
π
=
Với θθ Pe =
( ) ( )tcoscosFF eem1a ωθ=
( ) ( )[ ]tcostcos
2
F
F eeee
m
1a ωθωθ ++−=
( )tcosF
2
1
F eem1a ωθ −=
+
( )tcosF
2
1
F eem1a ωθ +=
−
là 2 vector quay ngược chiều nhau với tốc độ ωe theo thời gian.
Bài giảng Máy Điện TB
Hình vẽ Chương 4: Máy điện không đồng bộ 6
Nhiều pha:
( )tcosF
2
1
F eem1a ωθ −=
+
( )tcosF
2
1
F eem1a ωθ +=
−
( )tcosF
2
1
F eem1b ωθ −=
+
( )0
eem1b 120tcosF
2
1
F ++=
−
ωθ
( )tcosF
2
1
F eem1c ωθ −=
+
( )0
eem1c 120tcosF
2
1
F −+=
−
ωθ
⇒ ( ) ( )tcosF
2
3
t,F eem ωθθ −=
hay ( ) ( )tPPcosF
2
3
t,F m ωθθ −=
Sức từ động tổng quay với vận tốc góc:
P
e
m
ω
ωω ==
Vận tốc quay của từ trường:
P
f60
P
f2
2
60
2
60n m
===
π
ππ
ω
(vòng/phút=r/min=RPM)
Ví dụ 4.3: Tính tốc độ quay (vòng/phút) của từ trường cho máy điện 3 pha 50Hz có
số cáp cực là 1, 2, 3?
ia(t) =Im cos(ωet)
ib(t) = Im cos(ωet – 1200
)
ic(t) = Im cos(ωet + 1200
)
Bài giảng Máy Điện TB
Hình vẽ Chương 4: Máy điện không đồng bộ 7
Phân tích hình học:
I.5. Sức điện động cảm ứng trong máy điện xoay chiều
( ) ( )rmr
rr
f
0
0 PcosBPcos
P2
iN
k
4
HB θθ
πδ
µ
µ =





==
( ) lrB
P
2
rdPcosBl mrr
P/2
P/2
m ==Φ ∫−
θθ
π
π
( )θλ PcosNk phdqa Φ=
( )tPcosNk phdqa ωλ Φ=
Bài giảng Máy Điện TB
Hình vẽ Chương 4: Máy điện không đồng bộ 8
( )tcosNk ephdqa ωλ Φ=
( )tsinNk
dt
d
e eephdq
a
ωω
λ
Φ−==
Φ=Φ= phdqephdqm Nk.f2NkE πω
Φ≈Φ= phdqphdq Nk.f44,4fNk2E π
Ví dụ 4.4: Máy phát 3 pha, nối Y, 50Hz:
Rotor quay 3000RPM, dòng kích từ rotor If = 720Adc. Tính
a) Sức từ động cực đại Fm?
b) Cường độ từ trường Bm trong khe hở kk?
c) Từ thông Φm dưới mỗi cực từ?
d) Sức điện động cảm ứng hở mạch phía stator?
I.5. Hiện tượng bảo hòa mạch từ và từ thông tản
Phần này sinh viên tự đọc tài liệu.
Hiện tượng bảo hòa mạch từ
Bài giảng Máy Điện TB
Hình vẽ Chương 4: Máy điện không đồng bộ 9
Từ thông tản
Bài giảng Máy Điện TB
Hình vẽ Chương 4: Máy điện không đồng bộ 10
II. Nguyên lý hoạt động máy điện không đồng bộ (KĐB) 3 pha
II.1. Cấu tạo
Ñoäng cô KÑB: Toác ñoä rotor # toác ñoä töø tröôøng quay.
Deã saûn xuaát, giaù thaønh reû, deã vaän haønh, khoâng baûo trì.
> 2HP (1500W) hay 3HP (2250W): 3 pha.
Stator: ba cuoän daây noái Y hay ∆∆∆∆, laù theùp kyõ thuaät ñieän.
Bài giảng Máy Điện TB
Hình vẽ Chương 4: Máy điện không đồng bộ 11
Stator cực từ ẩn Stator cực từ lồi
A
B
C
N
A
N
Bài giảng Máy Điện TB
Hình vẽ Chương 4: Máy điện không đồng bộ 12
Rotor: raõnh nghieâng (traùnh dao ñoäng, khoùa raêng stator)
Loàng soùc (ñôn giaûn, deã cheá taïo, beàn, khoâng baûo trì, ...)
Daây quaán (luoân ñaáu Y, coù vaønh tröôït, choåi than ñeå môû maùy. Thông thường
số cực của rotor bằng với số cực stator )
Rotor dây quấn Rotor lồng sóc
Force
Brotating
Ir
Ring
Rotor bar
ω
Bài giảng Máy Điện TB
Hình vẽ Chương 4: Máy điện không đồng bộ 13
Bài giảng Máy Điện TB
Hình vẽ Chương 4: Máy điện không đồng bộ 14
Bài giảng Máy Điện TB
Hình vẽ Chương 4: Máy điện không đồng bộ 15
II.2. Từ trường quay
Xeùt khi p = 2, moãi chu kyø (3600
) thì töø tröôøng quay ½ voøng.
A
N
Bài giảng Máy Điện TB
Hình vẽ Chương 4: Máy điện không đồng bộ 16
A
B
C
N
Bài giảng Máy Điện TB
Hình vẽ Chương 4: Máy điện không đồng bộ 17
Bài giảng Máy Điện TB
Hình vẽ Chương 4: Máy điện không đồng bộ 18
Stator 3 pha, 4 cực, mối pha có 2 cuộn dây.
Bài giảng Máy Điện TB
Hình vẽ Chương 4: Máy điện không đồng bộ 19
II.3. Nguyên lý làm việc
isa (t)= Im. cos(ωet)
isb (t)= Im. cos(ωet – 120o
)
isc (t)= Im. cos(ωet – 240o
)
[ ]000
240j
sc
120j
sb
0j
sas e)t(ie)t(ie)t(i
3
2
)t(i ++=
r
P
f60
P
f2
2
60
2
60n s
s ===
π
ππ
ω
P
f60
ns = (voøng/phuùt)
P
f2
s
π
ω =
Định luật Bio-Savart: Định luật Faraday:
( )BlIFe
rrr
×= ( )l.Bve
rrr
×=
Re
Im
β
α
A
B
C
o
0j
e
o
120j
e
o
240j
e
sai
r
3
2
sbi
r
3
2
sci
r
3
2si
r
usa
ωs
rotor
stator
Pha A
Pha B
Pha Cisc
isa
isb
Bài giảng Máy Điện TB
Hình vẽ Chương 4: Máy điện không đồng bộ 20
P
f60
ns = (voøng/phuùt)
P
f2
s
π
ω =
B
r
v
r
e
r
B
r
I
r
F
r
Force
Brotating
Ir
Ring
Rotor bar
ω
Bài giảng Máy Điện TB
Hình vẽ Chương 4: Máy điện không đồng bộ 21
A
B
C
N
Bài giảng Máy Điện TB
Hình vẽ Chương 4: Máy điện không đồng bộ 22
Số cực của rotor dây quấn bằng với số cực của stator.
Dây quấn rotor nối Y.
Nối thêm biến trở cho ba cuộn dây rotor để mở máy hay điều khiển tốc độ.
Bài giảng Máy Điện TB
Hình vẽ Chương 4: Máy điện không đồng bộ 23
Khi töø tröôøng quay sinh doøng ñieän caûm öùng trong thanh daãn (cuoän daây) rotor.
Doøng ñieän trong töø tröôøng sinh ra löïc töø keùo rotor quay theo quy taéc baøn tay traùi.
Toác ñoä rotor n < n1 ñeå coøn toàn taïi doøng ñieän caûm öùng: khoâng ñoàng boä.
Ñoä tröôït:
ss
s
n
n
1
n
nn
s −=
−
= (< 10%)
Hay ( ) sns1n −= ( ) sm s1 ωω −=
Vôùi p =1: ns = f (voøng /sec)
Toác ñoä tröôït nr = ns – n = sns
fr = sf (Hz) (ñaây chính laø taàn soá doøng ñieän beân trong rotor)
Moment: rr sinKIT δ−=
Ir là dòng điện rotor
δr là góc hợp bởi sức từ động rotor và sức từ động khe hở không khí.
II.4. Dòng điện rotor
( )r
o
r 90 φδ +−= với rφ là hệ số công suất của rotor.
Bài giảng Máy Điện TB
Hình vẽ Chương 4: Máy điện không đồng bộ 24
II.5. Thông số động cơ KĐB
Coâng suaát cô höõu ích treân truïc Pñm (W, kW, HP ≈ 745.7W)
Ñieän aùp daây stator U1ñm (V, kV)
Doøng ñieän daây stator I1ñm (A)
Taàn soá doøng ñieän stator f (Hz)
Toác ñoä quay roâtor nñm (voøng/phuùt)
Heä soá coâng suaát cosθñm
Hieäu suaát ηñm.
Cấp chịu nhiệt.
Cấp bảo vệ (IP).
Bài giảng Máy Điện TB
Hình vẽ Chương 4: Máy điện không đồng bộ 25
III. Mạch tương đương
Ir = Irs do sức từ động không đổi khi rotor quay hay đứng yên.
sI& jXs
sE&sU&
Stator
Rr jXr
rE&
Rotor đứng yên
lock_rI&
Rs
sI& jXs
sE&
sU&
Stator với dòng từ hoá
mI&
jXm
s
Rk r
2
jk2
Xr
rEk&
k
Ir
&
Rotor quy về stator
Rs
sI& jXs
sE&
sU&
Stator với dòng từ hoá
mI&
jXm
s
R'
r
jX’r
'
rE&
'
rI&
Rotor quy về stator
Rs
sI& jXs
sE&
sU&
Stator với dòng từ hoá
mI&
jXm
s
Rr
jXr
rE&
rI&
Rotor quay quy về đứng yên
Rs
sI& jXs
sE&
sU&
Stator với dòng từ hoá
mI&
jXm
Rr jsXr
rI&
Rotor quay
s rE&
Bài giảng Máy Điện TB
Hình vẽ Chương 4: Máy điện không đồng bộ 26
'
r
'
r
'
r
R
s
s1
R
s
R





 −
+=
Rs jXs
sE&
sU&
Stator với dòng từ hoá
mI&
jXm
s
R'
r
jX’r
'
rE&
'
rI&
Rotor quy về stator
sI&
Rs
sI& jXs
sU&
Mạch tương đương động cơ KĐB với dòng từ hoá
mI&
jXm
jX’r'
rI& '
rR
'
rR
s
s1−
Rs
sI& jXs
sU&
'
rI& '
rR jX’r
Mạch tương đương động cơ KĐB với tổn hao sắt từ
'
rR
s
s1−
Rc jXm
mI&
cI&
ϕI&
Rs
sI& jXs
sE&
sU&
Stator với dòng từ hoá
mI&
jXm
s
R'
r
jX’r
'
rE&
'
rI&
Rotor quy về stator
Bài giảng Máy Điện TB
Hình vẽ Chương 4: Máy điện không đồng bộ 27
IV. Phân bố công suất và hiệu suất
V. Thí nghiệm không tải, thí nghiệm ngắn mạch
V.1. Thí nghiệm ngắn mạch
PCus/3sI& '
rI& PCur/3
Phân bố công suất trong ĐC KĐB 3 pha
Pm/3
Pc/3
mI&
cI&Pin/3
Pgap/3 Pthcơ + Pout
Pin Pgap=Pđt Pout
PCurPCus Pc Pthcơ
Pm= Pcơ
I&
Rs
sI& jXs
sU&
'
rI& '
rR jX’r
Maïch töông ñöông dạng hình ΓΓΓΓ
'
rR
s
s1−
Rc jXm
mI&
cI&
Rs
sI& jXs
Rm
mI&
sU&
jxm
'
rI& '
rR jX’r
Mạch tương đương của động cơ KĐB
'
rR
s
s1−
Rs jXs
sU&
sI&
s
R'
r
jX’r
Mạch tương đương đơn giản của động cơ KĐB
Bài giảng Máy Điện TB
Hình vẽ Chương 4: Máy điện không đồng bộ 28
Phân bố điện kháng tản trong các loại động cơ không đồng bộ:
Loại
Động cơ
Mô tả
Tỷ lệ giữa
Xs và Xr
’
Xs X’
r
A
Momen khởi động bình thường
Dòng điện khởi động bình
thường
0,5 0,5
B
Momen khởi động bình thường
Dòng điện khởi động thấp
0,4 0,6
C
Momen khởi động cao
Dòng điện khởi động thấp
0,3 0,7
D
Momen khởi động cao
Độ trượt cao
0,5 0,5
Rotor dây
quấn
Tùy thuộc vào sự thay đổi của
điện trở rotor
0,5 0,5
Theo tiêu chuẩn IEEE 112
V.2. Thí nghiệm không tải
Rs
sI& jXs
sU&
ϕII'
r
&& >>
'
rR jX’r
Ngắn mạch: n=0: s=1, Pcơ = 0
Rc jXm
mI&
cI&
ϕI&
nU&
nI& nR jXn
Ngắn mạch: n=0: s=1, Pcơ = 0
Pn/3
Pn/3
Rs jXs
nU&
nI& '
rR jX’r
Ngắn mạch: n=0: s=1, Pcơ = 0
Bài giảng Máy Điện TB
Hình vẽ Chương 4: Máy điện không đồng bộ 29
Rs
sI& jXs
sU&
Không tải: n→ns: s→0, Pthcơ ≠ 0
Rc jXm
mI&
cI&
0I'
r →&
Pthcơ ≠0
PCus/3
Pc/3
P0/3
Rs
sI& jXs
sU&
jX’r
Không tải: n→ns: s→0
Rc jXm
mI&
cI&
ϕI&
cI& ∞→
s
Rr
'
0I'
r →&
0I&
0U&
Không tải: n→ns: s→0, Pthcơ ≠ 0
Rc jXm
mI&
cI&
Pthcơ ≠0Pc/3
P0/3
Rs
sI& jXs
sU&
'
rI& '
rR jX’r
Maïch töông ñöông dạng hình ΓΓΓΓ
'
rR
s
s1−
Rc jXm
mI&
cI&
Bài giảng Máy Điện TB
Hình vẽ Chương 4: Máy điện không đồng bộ 30
VI. Đặc tính cơ của động cơ không đồng bộ
Giả sử Rm << Xm (hay Rc >> Xm):
( )mss
m
st
XXjR
X.j
UU
++
= && và
( )
( )mss
mss
ttt
XXjR
X.jX.jR
X.jRZ
++
+
=+=
Tính được:
( )'
rs
'
r
s
s'
r
XXj
s
R
R
U
I
++





+
=
Rs
sI& jXs
sU&
mI&
jXm
jX’r'
rI& '
rR
'
rR
s
s1−
Rs
sI& jXs
sU&
'
rI& '
rR jX’r
Mạch tương đương động cơ KĐB
'
rR
s
s1−
RFe jXm
mI&
FeI&
Rs
sI& jXs
Rm
mI&
sU&
jXm
'
rI& '
rR jX’r
Mạch tương đương của động cơ KĐB
'
rR
s
s1−
Rt jXt
tU&
tI&
s
R'
r
jX’r
Sử dụng biến đổi Thevenin cho mạch stator
Rs jXs
sU&
'
rI&
s
R'
r
jX’r
Mạch tương đương đơn giản của động cơ KĐB
Bài giảng Máy Điện TB
Hình vẽ Chương 4: Máy điện không đồng bộ 31
Momen quay
( )
( )
( )2'
rt
2'
r
t
'
r2
t
s
đt
s
dt
s
dtco
co
XX
s
R
R
s
R
U3
1
T
P
s1
Ps1P
T
++





+






===
−
−
==
ωωωω
0 0.2 0.4 0.6 0.8 1
0
0.5
1
1.5
2
2.5
3
3.5
s
Te
(Nm)
Độ trượt tới hạn: sp ứng với Tmax 0
ds
dT
= , hay 0
dn
dT
=
Tuyến tính: tỷ lệ thuận ở đoạn s≈0, và tỷ lệ nghịch khi s≈1.
( )2'
rt
2
t
'
r
p
XXR
R
s
++
=
( )2'
rt
2
tt
2
t
s
max
XXRR
U
2
3
1
T
+++
=
ω
0 s1sp
Tst
Tmax
T
0 nnr
Tst
Tmax
T
nsnp
Trate
TL
A
T
Bài giảng Máy Điện TB
Hình vẽ Chương 4: Máy điện không đồng bộ 32
( ) ( )2'
rt
2'
rt
'
r
2
t
s
st
XXRR
RU31
T
+++
=
ω
s
s
s
s
2
T
T
p
p
max
+
= (biểu thức Klauss)
Đặc tính momen của động cơ không đồng bộ
Đặc tính momen – độ trượt của máy điện không đồng bộ
ở chế độ động cơ (0<s<1) và máy phát (s<0)
Bài giảng Máy Điện TB
Hình vẽ Chương 4: Máy điện không đồng bộ 33
Bài giảng Máy Điện TB
Hình vẽ Chương 4: Máy điện không đồng bộ 34
VII. Khởi động động cơ không đồng bộ
Rs
sI& jXs
sU&
m
'
r II && >>
'
rR jX’r
Khởi động: n = 0: s = 1: Is = Ist
Rc jXm
mI&
cI&
ϕI&
Rs
sI& jXs
Rm
mI&
sU&
jXm
'
rR
jX’r
Khởi động: n = 0: s = 1: Is = Ist
'
rI&
Bài giảng Máy Điện TB
Hình vẽ Chương 4: Máy điện không đồng bộ 35
Môû maùy ñoäng cô rotor daây quaán:
( )2'
rt
2
t
'
mm
'
r XXRRR ++=+
Rs
sI& jXs
sU&
mI&
jXm
jX’r'
rI& '
rR
'
rR
s
s1−
Bài giảng Máy Điện TB
Hình vẽ Chương 4: Máy điện không đồng bộ 36
Môû maùy ñoäng cô rotor loàng soùc:
– Duøng ñieän khaùng noái tieáp: neáu U1/k thì Imm giaûm k nhöng Tmm giaûm ñi k2
.
– Duøng maùy bieán aùp töï ngaãu: neáu U1/k thì Imm vaø Tmm ñeàu seõ giaûm ñi k2
.
– Ñoåi Y–>∆: bieán aùp töï ngaãu, vôùi k = 3 , Imm vaø Tmm ñeàu giaûm ñi 3 laàn.
– Duøng daïng raõnh roâto ñaëc bieät ñeå caûi thieän ñaëc tính môû maùy.
VIII. Điều khiển tốc độ động cơ không đồng bộ
1. Thay ñoåi soá cöïc:
p
f60
ns = (voøng/phuùt)
2. Thay ñoåi taàn soá nguoàn ñieän:
p
f60
ns = (voøng/phuùt).
U1/f = const (traùnh hieän töôïng baõo hoøa maïch töø)
3. Thay ñoåi ñieän aùp nguoàn ñieän: sth = const, Tmax thay ñoåi
4. Thay ñoåi ñieän trôû maïch roâto (daây quaán): sth thay ñoåi, Tmax = const
Phöông phaùp naøy ñôn giaûn, nhöng toån hao nhieät lôùn (ñoäng cô trung bình).
IX. Các đặc tính vận hành
1. Ñaëc tính doøng ñieän stato I1 = f(P2)
2. Ñaëc tính vaän toác n = f(P2)
3. Ñaëc tính moâmen ñieän töø T = f(P2)
0 n
T
nsnp
A1
A2
A3
Us giaûm
0 n
T
ns
A1
A2
A3
Tmax
'
rR tăng?
Bài giảng Máy Điện TB
Hình vẽ Chương 4: Máy điện không đồng bộ 37
4. Ñaëc tính heä soá coâng suaát cosϕ = f(P2)
5. Ñaëc tính hieäu suaát η = f(P2)
n
2
02
2
P.PP
P
β++
=η
ηmax ⇔ P0 = β2
Pn
Với Po là công suất không tải ở điện áp định mức
Và Pn là công suất ngắn mạch ở dòng điện định mức.
X. Tính toán thí nghiệm ngắn mạch (Blocked-rotor) ở tần số thấp fbl hơn tần số
định mức fr (rate) (không bỏ qua điện kháng nhánh từ hóa Xm).
Nếu trong thí nghiệm ngắn mạch không bỏ qua Xm thì phải giữ cho Xm = const, hay
r
r
bl
bl
f
U
f
U
const
f
U
~~X ===Φ , tần số rotor nhỏ hơn tần số định mức (theo IEEE thì
quy định tần số thí nghiệm ngắn mạch là 25% tần số định mức).
nbl
nbl
blblnbl
I
U
jXRZ =+=
Rs
sI& jXsbl
sU&
Ngắn mạch: n=0: s=1, Pcơ = 0
mI&
jXmbl
jX’rbl
rI& '
rR
Rs
sI& jXs
sU&
Ngắn mạch: n=0: s=1, Pcơ = 0
mI&
jXm
jX’r
rI& '
rR
'
rR
s
s1−
Pout
I0
Pout.r
cosϕ0
cosϕ
Is
η
n
T
ns
0
Bài giảng Máy Điện TB
Hình vẽ Chương 4: Máy điện không đồng bộ 38
2
bls
bl
bldm
I3
P
RR == 2
bl
2
nblbl RZX −= bl
bl
n
dm X
f
f
X 





=
hay:
2
bl
2
blbl PSQ −=














=





= 2
bls
bl
bl
n
bl
bl
n
n
I3
Q
f
f
X
f
f
X 2
bls
bl
bln
I3
P
RR ==
Đã tính được nnn jXRZ +=
Với ( ) ( ) nnm
'
r
'
rssn jXRjX//jXRjXRZ +=+++=
( )
( )
( ) 















++
++
++
















++
+= 2'
rm
2'
r
'
rm
'
r
2'
r
ms2'
rm
2'
r
2
m'
rsn
XXR
XXXR
XXj
XXR
X
RRZ
(xem R’r << Xm)
( )
( )
( ) 















+
+
++
















+
+= 2'
rm
'
rm
'
r
ms2'
rm
2
m'
rsn
XX
XXX
XXj
XX
X
RRZ














+
++














+
+= '
rm
m'
rs
2
'
rm
m'
rsn
XX
X
XXj
XX
X
RRZ
2
'
rm
m'
rsn
XX
X
RRR 





+
+= 





+
+= '
rm
m'
rsn
XX
X
XXX
suy ra
( )
2
m
'
rm
sn
'
r
X
XX
RRR 




 +
−= ( ) 





−+
−=
nsm
m
sn
'
r
XXX
X
XXX
Vậy:
với ( ) 





−
−
−=
n0
s0
sn
'
r
XX
XX
XXX tính sX và '
rX ( sX ≈ '
rX )
với ( )s0m XXX −= tính ( )
2
m
'
rm
sn
'
r
X
XX
RRR 




 +
−=
Nếu X0 >> Xn:
với ( )snr XXX −='
tính sX và '
rX ( sX ≈ '
rX )
với ( )s0m XXX −= tính ( )
2
m
'
rm
sn
'
r
X
XX
RRR 




 +
−=
trong đó:
Rs
sI& jXs
sU&
Ngắn mạch: n=0: s=1, Pcơ = 0
mI&
jXm
jX’r
rI& '
rR
Bài giảng Máy Điện TB
Hình vẽ Chương 4: Máy điện không đồng bộ 39
2
bl
2
blbl PSQ −=














=





= 2
bls
bl
bl
n
bl
bl
n
n
I3
Q
f
f
X
f
f
X 2
bls
bl
bln
I3
P
RR ==
Hay:
bl
bl
bl
I
U
Z = 2
bl
2
blbl
bl
n
n RZX
f
f
X −=





= 2
bls
bl
bln
I3
P
RR ==
Chú ý: Khi giảm tần số thì điện kháng giảm, nên tổng trở cũng giảm theo.
Vì vậy, để dòng điện In không quá định mức thì Un phải giảm nhiều hơn.
Và vì từ thông không đổi nên Rm = const, trong khi Xm giảm đi, việc bỏ qua Rm dẫn
đến sai số lớn hơn! Hơn nữa, vì Xm giảm đi nên điều kiện R’r << Xm cần phải xem
xét.
Rs
sI& jXs
Rm
mI&
sU&
jXm
m
'
r II && >>
'
rR jX’r
Ngắn mạch: n=0: s=1, Pcơ = 0
'
rR
s
s1−
Rs jXs
nU&
nI& '
rR jX’r
Ngắn mạch: n=0: s=1, Pcơ = 0
Bài giảng Máy Điện TB
Hình vẽ Chương 4: Máy điện không đồng bộ 40
Bài tập 1:
Động cơ KĐB 3 pha,Y, 220V, 7,5kW, 50Hz, 4 cực. Thông số động cơ: Rs= 0,294Ω, R’
r=
0,144Ω, Xs= 0,503Ω, X’
r= 0,209Ω, Xm = 13,25Ω. Tổng tổn hao cơ (Pqp=Ploss_mech)
250W và bỏ qua tổn hao sắt. Ở độ trượt 2%, Tính tốc độ, dòng điện stator, hệ số công suất
và hiệu suất?
Bài tập 2:
BT2: Động không đồng bộ ba pha, 4 cực, cuộn dây stator nối ∆, có các thông số định mức:
380V, 50Hz, 1450 vòng/phút và mạch tương đương như hình vẽ sau:
Thông số động cơ theo mạch tương đương hình vẽ trên là:
Rs= 4,0Ω; R’r = 4,0Ω, Xs=5,0Ω, X’r = 5,0Ω, Rc=1200Ω, Xm = 200Ω.
a. Tính dòng điện khởi động và momen khởi động của động cơ?
b. Khi động cơ đang vận hành ở tốc độ định mức, tính dòng điện ,hệ số công suất, mômen
kéo tải, và hiệu suất của động cơ? Tổn hao cơ 300W.
c. Tính dòng điện khởi động và momen khởi động của động cơ nếu khởi động động cơ
theo sơ đồ Y→∆?
Bài tập 2’:
Một động cơ không đồng bộ 3 pha rotor lồng sóc có các thông số như sau:
Rs = 0,5Ω, R’
r= 0,25Ω, Xs= X’
r= 0,4Ω
Động cơ 3 pha có 4 cực, các cuộn dây stator nối Y, tần số định mức 50Hz và
điện áp định mức 415V. Tính dòng khởi động của động cơ.
Tính dòng điện của động cơ khi vận hành ở tốc độ 1450vòng/phút.
Bài tập 3:
Công suất truyền từ stator qua rotor của một máy điện không đồng bộ là
120kW khi chạy ở độ trượt 0,05. Tính tổn hao đồng rotor và công suất cơ của
máy điện?
Biết tổn hao đồng stator là 3kW, tổn hao cơ là 2kW, và tổn hao sắt là 1,7kW.
Xác định công suất hữu ích và hiệu suất của động cơ?
Bài tập 4:
Động cơ KĐB 3 pha, 15HP, 220V, 50Hz, 6 cực, Y, mạch hình Γ. Thông số
động cơ: Rs= 0,129Ω, R’
r= 0,096Ω, Xs+ X’
r= Xn= 0,047Ω, RFe= 60Ω //
Xm=10Ω
Tổng tổn hao cơ Pqp=290W. Ở độ trượt 2%, tính:
a. Tốc độ, dòng điện stator, hệ số công suất?
b. Công suất vào, ra, và hiệu suất?
Rs
sI& jXs
sU&
Mạch tương đương động cơ KĐB bỏ qua tổn hao sắt từ
mI&
jXm
jX’r'
rI& '
rR
'
rR
s
s1−
Bài giảng Máy Điện TB
Hình vẽ Chương 4: Máy điện không đồng bộ 41
Bài tập 5:
Một động cơ không đồng bộ 3 pha rotor lồng sóc, cuộn dây stator nối Y,
380V, 50Hz, có điện trở stator 0,26Ω/pha. Ở chế độ không tải, động cơ tiêu
thụ 400W và dòng không tải là 3A. Ở thí nghiệm không tải trên, tính hệ số
công suất không tải, và các thông số của nhánh từ hoá.
Bài tập 6:
Trong thí nghiệm ngắn mạch trên một máy điện không đồng bộ 3 pha 4 cực,
nối Y, 50Hz, đo được công suất vào là 20kW, ở điện áp 220V và dòng điện
ngắn mạch đo được là 90A. Tính các thông số của động cơ R’r, Xs, X’r? Biết
điện trở stator là 0,3Ω.
Bài tập 7: Một động cơ không đồng bộ 3 pha rotor lồng sóc, cuộn dây stator
nối Y, 380V, 50Hz, có điện trở stator 0,26Ω/pha. Ở chế độ không tải máy điện
tiêu thụ 400W và dòng không tải là 3A. Ở chế độ ngắn mạch ứng với điện áp
định mức, máy điện tiêu thụ 5kW và dòng điện 40A.
a. Từ các số liệu thí nghiệm ngắn mạch, tính: hệ số công suất ngắn mạch,
điện trở rotor, điện kháng tản rotor và stator.
Rs jXs
sU&
'
rI& s
Rr
'
jX’r
sI&
Rs
sI& jXs
sU&
jXr
rI& '
rR
'
rR
s
s1−
Rs
sI& jXs
sU&
'
rI& '
rR jX’r
Mạch tương đương dạng hình ΓΓΓΓ
'
rR
s
s1−
RFe jXm
mI&
FeI&
Bài giảng Máy Điện TB
Hình vẽ Chương 4: Máy điện không đồng bộ 42
b. Từ các số liệu thí nghiệm không tải, tính: tổn hao sắt và tổn hao cơ biết
tổn hao sắt bằng 2 lần tổn hao cơ? Tính các thông số nhánh từ hóa, hệ
số công suất không tải?
Bài tập 8:
ĐCKĐB 3 pha, Y, 2200V, 1000HP, 60Hz, 12 cực. Khi không tải, ở điện áp
và tần số định mức, dòng không tải là 20A và công suất tiêu thụ không tải là
14kW. Thông số động cơ:
Rs= 0,1Ω, R’
r= 0,2Ω, Xn = 2Ω
Ở độ trượt 3%, (bỏ qua nhánh từ hóa) tính:
a. Tốc độ động cơ, tần số rotor.
b. Dòng điện stator, dòng điện rotor qui đổi, dòng điện khởi động.
c. Công suất vào, công suất điện từ, công suất ra.
d. Hiệu suất, hệ số công suất.
e. Momen điện từ, momen ra.
Bài tập 9: Một động cơ không đồng bộ 3 pha rotor lồng sóc có các thông số
sau (các thông số rotor đã qui về stator):
Điện trở stator = điện trở rotor = 1Ω
Điện kháng tản stator = điện kháng tản rotor = 2Ω
Điện kháng từ hoá= 50Ω
Động cơ có 4 cực, cuộc dây stator nối Y, tần số định mức là 50Hz và điện áp
định mức 415V. Động cơ kéo tải định mức ở tốc độ 1400 vòng/phút.
a. Vẽ dạng mạch tương đương và tính độ trượt định mức.
b. Tính dòng điện stator định mức, hệ số công suất và công suất ngõ vào.
c. Tính hiệu suất và momen điện từ ở trạng thái hoạt động trên.
Bài tập 10: Một động cơ không đồng bộ 3 pha rotor lồng sóc có các thông số
sau: Rs=0,5Ω, Rr’=0,25Ω, Xs = X’r = 0,4Ω. Động cơ 3 pha có 4 cực, các
cuộn dây stator nối Y, tần số định mức 50Hz và điện áp định mức 380V. Tốc
Rs
sI& jXs
Rm
mI&
sU&
jXm
0I'
r →&
0
s
R'
r
→
jX’r
Không tải: n→ns: s→0
Rs
0I&
Rm
0I&
sU&
jXm
'
rI&
Bài giảng Máy Điện TB
Hình vẽ Chương 4: Máy điện không đồng bộ 43
độ định mức 1450 vòng/phút. Bỏ qua tổn hao sắt và tổn hao cơ, và điện kháng
nhánh từ hóa rất lớn.
a. Khi động cơ ở định mức: tính độ trượt, dòng điện stator, hệ số công
suất , công suất vào, công suất ra, hiệu suất, moment?
b. Tính momen khởi động, dòng điện khởi động. Tính momen cực đại và
độ trượt tương ứng.
c. Tính và vẽ dạng đặc tuyến momen – độ trượt.
Bài tập 11:
Động không đồng bộ ba pha, 380 V, 50 Hz, 4 cực, 1430 vòng/phút, nối Y.
Thông số động cơ theo mạch tương đương hình vẽ trên là: Rs= 4,0Ω; R’r = 4,0Ω,
Xs = 10,0Ω, X’r =10,0. Bỏ qua nhánh từ hóa và bỏ qua tổn hao cơ.
a. Tính dòng điện khởi động và momen khởi động của động cơ?
b. Tính momen cực đại và độ trượt tới hạn (khi momen đạt cực đại) của
động cơ?
Khi động cơ vận hành ở tốc độ 1430 vòng/phút, tính:
c. Dòng điện cấp cho động cơ, hệ số công suất cosϕ?
d. Công suất vào, công suất ra, hiệu suất, momen ngõ ra?
Cau a: I1kd = 10.185069 A, Mkd = 7.924819 Nm
Cau b: Mmax = 18.840712 Nm, sth = 0.196116
Cau c: I1 = 2.386873 A, cos = 0.976041
Cau d: P1 = 1533.350081 W, P2 = 1396.618227 W, M2 = 9.326379 Nm
Bài tập 12: Một động cơ không đồng bộ 3 pha rotor lồng sóc, cuộn dây stator
nối Y, 2 cặp cực và được cấp nguồn 50Hz, 380V. Điện trở stator 10Ω, điên
trở rotor qui đổi là 6,3Ω, điện kháng tản stator bằng 12Ω và điện kháng tản
rotor qui đổi bằng 13Ω. Bỏ qua tổn hao cơ, tổn hao sắt và mạch tương đương
của nhánh từ hoá. Động cơ chạy ở tốc độ 1450 vòng/phút.
a. Với tốc độ trên, tính hệ số công suất, dòng điện stator, công suất vào,
công suất ra, độ trượt, momen và hiệu suất?
b. Tính momen cực đại và độ trượt tương ứng (cho động cơ). Tính momen
khởi động và dòng điện khởi động.
Rs
sI& jXs
sU& s
R'
r jX’r
Bài giảng Máy Điện TB
Hình vẽ Chương 4: Máy điện không đồng bộ 44
c. Vẽ dạng đặc tuyến momen – độ trượt của động cơ ứng với độ trượt từ 0
đến 1. Chỉ ra trên đặc tuyến 3 điểm momen và độ trượt đã tính ở 2 câu
trên.
Bài tập 13:
Một động cơ không đồng bộ 3 pha rotor lồng sóc, có các thông số như sau:
điện trở stator và rotor quy đổi bằng nhau và bằng 0,05Ω, điện kháng tản
stator và rotor quy đổi bằng nhau và bằng 0,15Ω. Bỏ qua mạch nhánh từ hoá.
Máy điện có 2 cực, cuộn dây stator nối Y, và vận hành với tần số 50Hz,
415V.
a. Tính momen ra định mức và công suất ra định mức khi biết độ trượt
định mức là 0,05 và bỏ qua tổn hao cơ?
b. Khi momen đạt cực đại, tính độ trượt tới hạn và momen cực đại?
c. Tính dòng điện khởi động và momen khởi động?
Bài tập 14:
Một động cơ không đồng bộ 3 pha rotor lồng sóc có các thông số như sau:
R1 = 0,39Ω, R’
2= 0,14Ω, X1= X’
2= 0,35Ω, Xm= 16Ω
Động cơ 3 pha có 4 cực, các cuộn dây stator nối Y, tần số định mức 50Hz và
điện áp định mức 220V. Tốc độ định mức 1450 vòng/phút. Bỏ qua tổn hao sắt
và tổn hao cơ.
a. Khi động cơ ở định mức: tính độ trượt, hệ số công suất, công suất vào,
công suất ra, hiệu suất và momen điện từ.
b. Tính momen khởi động, dòng điện khởi động. Tính momen cực đại và
độ trượt tương ứng. Tính và vẽ dạng đặc tuyến momen – độ trượt.
Bài tập15:
Động cơ KĐB 3 pha, 15HP, 220V, 50Hz, 6 cực, Y (/∆), mạch hình ΓΓΓΓ. Thông
số động cơ: Rs= 0,129Ω, R’
r= 0,096Ω, Xn= 0,047Ω, RFe= 60Ω, Xm = 10Ω
Ở độ trượt 2%:
a) Tính tốc độ, dòng điện stator (/cấp cho động cơ), hệ số công suất, hiệu
suất, momen điện từ, momen ra?
b) Tính momen khởi động, dòng điện khởi động động cơ, momen cực đại và
độ trượt tương ứng.
c) Tính và vẽ dạng đặc tuyến momen – độ trượt.
d) Nếu cho tổn hao cơ 300W, tính lại Momen ra, hiệu suất? Tính tổn hao sắt
PFe?
Rs
sI& jXs
sU&
'
rI& '
rR jX’r
Maïch töông ñöông dạng hình ΓΓΓΓ
'
rR
s
s1−
RFe jXm
mI&
FeI&
Bài giảng Máy Điện TB
Hình vẽ Chương 4: Máy điện không đồng bộ 45
Bài tập16: Một động cơ không đồng bộ ba pha rotor lồng sóc có định mức 2
HP, 380V, 50Hz, 1 cặp cực, cuộn dây stator đấu Y, tốc độ định mức
nđm = 2850 vòng/phút, hệ số công suất cosϕđm = 0,8. Khi mang tải
định mức, động cơ tiêu thụ dòng điện dây Iđm = 3,5A, công suất tổn
hao cơ là 100W. Khi động cơ làm việc với tốc độ, điện áp, dòng diện,
cosϕ và công suất định mức, hãy xác định:
a. Tốc độ đồng bộ ns, ωs.
b. Độ trượt định mức sđm.
c. Mômen ra định mức Tout_đm.
d. Công suất điện từ Pđt.
e. Công suất tổn hao đồng rotor Pcur.
f. Mômen điện từ Tđt.
g. Hiệu suất định mức ηđm.
h. Tính tổn hao đồng stator Pcus, biết tổn hao sắt từ là PFe=100W.
Bài tập 17:
Động cơ KĐB 3 pha,Y, 460V, 25kW, 60Hz, 4 cực, có:
Rs = 0,103Ω, R’
r = 0,225Ω, Xs = 1,10Ω, X’
r = 1,13Ω, Xm = 59,4Ω
Tổn hao cơ 265W, tổn hao sắt 220W.
Tính tốc độ, hệ số công suất, momen đầu trục, hiệu suất ở độ trượt 3%?
Có thể mô tả tổn hao sắt từ bằng điện trở RFe// Xm.
Bài tập 18:
Động cơ KĐB 3 pha,Y, 220V, 7,5kW, 50Hz, 4 cực. Thông số động cơ:
Rs= 0,294Ω, R’
r= 0,144Ω, Xs= 0,503Ω, X’
r= 0,209Ω, Xm = 13,25Ω
Tổng tổn hao cơ (Pqp) 250W và bỏ qua tổn hao sắt. Ở độ trượt 3%:
a. Tính tốc độ, dòng điện stator, hệ số công suất, momen điện từ, momen
đầu trục (Tout, M ra, M có ích, M tải, M2) và hiệu suất?
b. Sử dụng mạch biến đổi Thevenin, tính hệ số công suất, dòng điện rotor
qui đổi, công suất điện từ, momen điện từ, momen đầu trục và hiệu
suất?
c. Tính momen cực đại, độ trượt khi momen cực đại?
d. Tính momen khởi động và dòng điện khởi động?
Bài tập 19:
Động cơ KĐB 3 pha,Y, 220V, 7,5kW, 50Hz, 4 cực. Thông số động cơ:
Rs= 0,294Ω, R’
r= 0,144Ω, Xs= 0,503Ω, X’
r= 0,209Ω, Xm = 13,25Ω
Tổng tổn hao cơ và tổn hao sắt là 403W và không phụ thuộc tải. Ở độ trượt 3%:
Tính tốc độ, dòng điện stator, hệ số công suất, momen điện từ, momen đầu
trục (Tout, M ra, M có ích, M tải, M2) và hiệu suất?
Tổng tổn hao cơ và tổn hao sắt là 403W = Pqp!
Bài tập 20:
Động cơ KĐB 3 pha,Y, 230V, 15kW, 60Hz, 6 cực, vận hành đầy tải ở độ
trượt 3,5%. Bỏ qua tổn hao cơ và tổn hao sắt. Thông số động cơ:
Rs = R’
r= 0,21Ω, Xs= X’
r= 0,26Ω, Xm = 10,1Ω
Bài giảng Máy Điện TB
Hình vẽ Chương 4: Máy điện không đồng bộ 46
Sử dụng mạch biến đổi Thevenin, tính momen cực đại, độ trượt khi momen
cực đại, momen khởi động?
Bài tập 21:
ĐC KĐB 3 pha rotor lồng sóc, ∆, 230V, 25kW, 50Hz, 6 cực. Có thông số pha:
Rs = 0,045Ω, R’
r= 0,054Ω, Xs= 0,29Ω, X’
r= 0,28Ω, Xm = 9,6Ω
a. Tính hệ số công suất, dòng điện, momen điện từ và hiệu suất ở độ trượt 5%?
b. Tính momen khởi động và dòng điện khởi động?
c. Giảm dòng khởi động bằng khởi động Y→∆, vẽ mạch tương đương Y,
tính dòng điện khởi động và momen khởi động?
Bài tập 22:
Động cơ KĐB 3 pha,Y, 230V, 60Hz, 6 cực, có momen đạt cực đại ở độ trượt
15% và bằng 288% momen định mức. Bỏ qua điện trở stator, tính tỷ lệ
momen cực đại mới theo momen định mức nếu động cơ được cấp nguồn
190V, 50Hz, và tính tốc độ khi momen đạt cực đại theo 3 trường hợp :
a) Giả sử độ trượt định mức không đổi.
b) Giả sử moment định mức không đổi.
c) Giả sử dòng điện định mức không đổi.
Bài tập 23:
Động cơ KĐB 3 pha,15HP, 220V, 50Hz, 6 cực, Y, mạch hình Γ. Thông số
động cơ: Rs= 0,129Ω, R’
r= 0,096Ω, Xn= 0,047Ω, RFe= 60Ω // Xm=10Ω
Tổng tổn hao cơ Pqp=290W. Ở độ trượt 3%:
a. Tính tốc độ, dòng điện stator, hệ số công suất?
b. Công suất vào, ra, và hiệu suất?
c. Momen ra điện từ, momen ra?
d. Tính momen cực đại, độ trượt khi momen cực đại?
e. Tính momen khởi động và dòng điện khởi động?
Bài tập: 5.3, 5.4, 5.6, 5.14, 5.15, 5.16, 5.18, 5.21, 5.24, 5.25, 5.35, 5.41, 5.48.
Thí nghiệm ngắn mạch ở tần số thấp fbl hơn tần số định mức fn.
2
bl
2
blbl PSQ −=














=





= 2
bls
bl
bl
n
bl
bl
n
n
I3
Q
f
f
X
f
f
X 2
bls
bl
bln
I3
P
RR ==
với ( ) 





−
−
−=
n0
s0
sn
'
r
XX
XX
XXX tính sX và '
rX ( sX ≈ '
rX )
Rs
sI& jXs
sU&
'
rI& '
rR jX’r
Maïch töông ñöông dạng hình ΓΓΓΓ
'
rR
s
s1−
RFe jXm
mI&
FeI&
Bài giảng Máy Điện TB
Hình vẽ Chương 4: Máy điện không đồng bộ 47
với ( )s0m XXX −= tính ( )
2
m
'
rm
sn
'
r
X
XX
RRR 




 +
−=
Bài tập 24:
Một động cơ điện không đồng bộ 3 pha 4 cực, nối Y, 380V, 50Hz. Thí
nghiệm ngắn mạch với động cơ trên ở điện áp 100V, tần số 15Hz, đo được
công suất vào là 5kW, và dòng điện ngắn mạch là 60A. Tính các thông số của
động cơ R’r, Xs, X’r ở tần số định mức? Biết điện trở stator là 0,2Ω. Bỏ qua
nhánh từ hóa (ở 15Hz và 50Hz). Động cơ loại C theo IEEE (Xs : X’
r = 0,3:0,7).
Bài tập 25:
Động cơ KĐB 3 pha, 7,5HP, Y, 220V, 19A, 60Hz, 4 cực.
Động cơ loại C theo IEEE (Xs : X’
r = 0,3:0,7). Bỏ qua tổn hao của mạch từ.
TN với điện áp DC: Rs = 0,262Ω.
TN không tải (no-load) ở 60Hz: 219V, 5,7A, 380W.
Tính tổn hao cơ không tải và tính các thông số của động cơ ở điều kiện
bình thường (ở tần số 60Hz) theo 2 cách:
a) TN ngắn mạch (block-rotor) ở 60Hz: 212V, 83,3A, 20,1kW
b) TN ngắn mạch (block-rotor) ở 15Hz: 26,5V, 18,57A, 875W.
Câu 2. Động không đồng bộ ba pha, 4 cực, cuộn dây stator nối ∆, có các thông số
định mức: 380V, 50Hz, 1450 vòng/phút và mạch tương đương như hình vẽ
sau:
Thông số động cơ theo mạch tương đương hình vẽ trên là: Rs= 4,0Ω; R’r =
4,0Ω, Xs=5,0Ω, X’r = 5,0Ω, RFe=1200Ω, Xm = 200Ω.
a. Tính dòng điện khởi động và momen khởi động của động cơ? (2,0đ)
b. Tính momen cực đại và độ trượt tới hạn của động cơ? (1,0đ)
c. Khi động cơ đang vận hành ở tốc độ định mức, tính dòng điện ,hệ số
công suất, mômen kéo tải, và hiệu suất của động cơ? Biết tổn hao cơ là
300W. (4,0đ)
d. Tính dòng điện khởi động và momen khởi động của động cơ nếu
khởi động động cơ theo sơ đồ Y→∆? (1,0đ)
Rs jXs
sU&
'
rI& '
rR jX’r
sI&
Rs
sI& jXs
sU&
jXr
rI& '
rR
'
rR
s
s1−
Bài giảng Máy Điện TB
Hình vẽ Chương 4: Máy điện không đồng bộ 48
e. Tính hệ số công suất/ hiệu suất của động cơ khi vận hành 100%, ¾,
½, ¼ tải và không tải.
Câu x1. Cho động cơ không đồng bộ ba pha, 4 cực, cuộn dây stator nối ∆, có các
thông số định mức: 380V, 50Hz, 1450 vòng/phút, Rs=1,5Ω; R’r=1,5Ω,
Xs=4,0Ω, X’r=4,0Ω, Xm=110Ω nối tiếp với Rm=20Ω.
a. Tính dòng điện dây khởi động và momen khởi động của động cơ? (1,0đ)
b. Tính momen cực đại và độ trượt tương ứng (độ trượt tới hạn) của động cơ? (1,0đ)
c. Khi động cơ đang vận hành ở chế độ định mức, tính dòng điện dây, hệ số công
suất, mômen điện từ, và tổn hao nhiệt của động cơ? Biết tổn hao cơ 500W do
ma sát. (2,0đ)
Câu x2. Cho động cơ không đồng bộ ba pha, 2 cực, cuộn dây stator nối Υ, có các
thông số định mức: 380V, 50Hz, 2850 vòng/phút, Rs=2,0Ω; R’r=2,0Ω,
Xs=4,0Ω, X’r=6,0Ω, Xm=100Ω. Bỏ qua tổn hao của mạch từ.
a. Tính dòng điện khởi động và momen khởi động của động cơ? (1,0đ)
b. Tính momen cực đại và độ trượt tương ứng (độ trượt tới hạn) của
động cơ? (1,0đ)
c. Khi động cơ đang vận hành ở tốc độ định mức, Tính dòng điện định
mức, hệ số công suất, mômen điện từ, và hiệu suất của động cơ? Biết
tổn hao cơ là 200W. (4,0đ)
d. Khi cho động cơ trên vận hành ở điện áp 480V, 60Hz với độ trượt bằng
độ trượt định mức ở tần số 50Hz. Tính dòng điện và mômen điện từ của
động cơ khi đó? So sánh và nhận xét về giá trị dòng điện và moment
tính được? (2,0đ)
Câu x3: (4 Điểm)
Một động cơ không đồng bộ 3 pha cân bằng, rotor lồng sóc, 6 cực, nối hình
sao có các thộng số sau:
50 Hz, 230V, Rs = 0.045 Ω, Xs = 0.29 Ω, Xm = 9.6 Ω, Ω=Ω= 28.0X,054.0R ''
rr
Tổn hao sắt từ là 600 W, tổn hao cơ là 400W, động cơ đang vận hành với hệ số
trượt là 0.025, điện áp và tần số định mức, tính:
a/ Hệ số công suất
(0.5 điểm)
b/ Moment điện từ (0.5 điểm)
c/ Công suất tổn hao đồng trên rotor (0.5 điểm)
Rs
sI& jXs
sU&
'
rI& '
rR jX’r
'
rR
s
s1−
RFe jXm
mI&
FeI&
Bài giảng Máy Điện TB
Hình vẽ Chương 4: Máy điện không đồng bộ 49
d/ Công suất đầu ra (0.5 điểm)
e/ Hiệu suất động cơ (0.5 điểm)
Giả sử nguồn điện có tần số là 20 Hz và điện áp là 92V, tổn hao sắt từ của động cơ
ở tần số này là 250 W, tổn hao cơ không đổi. Động cơ được nối tam giác, và vận
hành với hệ số trượt không đổi, tính:
f/ Dòng stator (0.5 điểm)
g/ Hiệu suất (1.0 điểm)
Câu x4. (4 điểm)
Một động cơ không đồng bộ ba pha, nối Y, 2 cực, có các thông số định mức sau: 2,0
HP, 380V, 50Hz, 3,5 A, cosϕ=0,8 , 2850 vòng/phút, điện trở stator Rs= 3,0 Ω. Khi
động cơ vận hành ở chế độ định mức, tổng tổn hao cơ (ma sát, quạt gió và tổn hao
phụ,…) là 50W, tính:
a. Tổn hao đồng trên stator PCus? (1,0đ)
b. Tổn hao đồng trên rotor PCur? (1,0đ)
c. Tổn hao sắt PFe và Hiệu suất η? (1,0đ)
d. Mômen điện từ Te và Mômen ngõ ra Tout ? (1,0đ)
6.22. Cho động cơ không đồng bộ ba pha, rotor lồng sóc, 4 cực, 125kW, 2300V,
60Hz, cuộc dây satator nối Y. Điện trở stator đo giữa 2 đầu cực là 2.23Ω. Giả sử bỏ
qua tổn hao sắt từ.
_ Thí nghiệm không tải với tần số và điện áp định mức: đo được dòng điện dây là 7.7A
và công suất vào là 2879W.
_ Thí nghiệm ngắn mạch ở tần số 15Hz, điện áp dây 268V: đo được dòng điện dây
50.3A và công suất vào là 18.2kW.
a) Tính tổn hao quay?
b) Tính các thông số của mạch tương đương? Biết X1 = X’2.
c) Tính dòng điện stator, hệ số công suất, công suất vào, công suất ra và hiệu suất
khi động cơ được cấp điện áp và tần số định mức và có độ trượt là 2.95%.
d) Tính dòng điện và hệ số công suất khi khởi động, moment khởi động, moment
cực đại Mmax, và độ trượt tới hạn smax?
6.24. Cho động cơ không đồng bộ ba pha, 250kW, 2300V, 50Hz, cuộc dây satator
nối Y. Điện trở stator đo giữa 2 đầu cực là 0.636Ω. Giả sử bỏ qua tổn hao sắt từ.
_ Thí nghiệm không tải với tần số và điện áp định mức: đo được dòng điện dây là
20.2A và công suất vào là 3.51kW.
_ Thí nghiệm ngắn mạch ở tần số 12.5Hz, điện áp dây 142V: đo được dòng điện dây
62.8A và công suất vào là 6.55kW.
a) Tính tổn hao quay?
b) Tính các thông số của mạch tương đương R1, R2, X1, X2, và Xm?
Biết X1 = 0.4(X1+X’2).
Bài giảng Máy điện TB
Chương 5: Máy điện đồng bộ 1
Chương 5: MÁY ĐIỆN ĐỒNG BỘ
I. Tổng quan
Bài giảng Máy điện TB
Chương 5: Máy điện đồng bộ 2
Bài giảng Máy điện TB
Chương 5: Máy điện đồng bộ 3
A
B
C
N
N
S
Bài giảng Máy điện TB
Chương 5: Máy điện đồng bộ 4
Bài giảng Máy điện TB
Chương 5: Máy điện đồng bộ 5
Rotor cực từ ẩn Rotor cực từ lồi
Rotor cực từ ẩn Rotor cực từ lồi
Bài giảng Máy điện TB
Chương 5: Máy điện đồng bộ 6
θe
αe
X
Axe bobine
a a'
a
a'
γe
Axe bobine
b b'
Axe bobine
c c'
b
b'
c
c'
Axe
inducteur
N
S
N S
A-
B+
A+
C+
C-
B-
A
B
C
N
S
A+
B+
C+B-
A-
C-
Flux Φ f
ns
N
S
A+
B+
C+B-
A-
C-
Bài giảng Máy điện TB
Chương 5: Máy điện đồng bộ 7
A-
B+
A+
C+
C-
B-
Θm= 900
Magnetic axis of
phase Α
N
S
Magnetic axis of
phase Α
A-
B+
A+
C+
C-
B-
Θm= 00
N
S
Bài giảng Máy điện TB
Chương 5: Máy điện đồng bộ 8
A. Máy điện đồng bộ có rotor cực từ ẩn:
A
B
C
N
N
S
N S
A-
B+
A+
C+
C-
B-
A
B
C
Bài giảng Máy điện TB
Chương 5: Máy điện đồng bộ 9
θe
αe
X
Axe bobine
a a'
a
a'
γe
Axe bobine
b b'
Axe bobine
c c'
b
b'
c
c'
Axe
inducteur
N
S
( ) ( ) )cos(ILiLiLiLL fafcacbabaal0aaa θλ ++++=
Mà 0aacbbccaacbaab L
2
1
LLLLLL −====== do
2
1
)120cos( o
−=
( ) )cos(ILiiL
2
1
LL fafcb0aaal0aaa θλ ++





−+=
)cos(ILiL
2
1
LL fafa0aaal0aaa θλ +





++=
)cos(ILiLL
2
3
fafaal0aaa θλ +





+= 





+= al0aas LL
2
3
L
)tcos(ILiL ofafasa θωλ ++=
dt
d
PP cocodien
θ
ωω =Ω==
afasa iL λλ += )cos( ofafaf tIL θωλ +=
af
a
s
afa
s
a
a e
dt
di
L
dt
d
dt
di
L
dt
d
e +=+==
λλ
af
a
saa
a
aaa e
dt
di
LiR
dt
d
iRv ++=+=
λ
( ) )tsin(IL)tcos(
dt
d
ILe ofafofafaf θωωθω +−=+=
)
2
tcos(ILe ofafaf
π
θωω ++=
( afe nhanh pha π/2 so với afλ )
afphdqafphdqafphdqfaf)RMS(af Nfk44,4Nfk2Nk
2
1
IL
2
1
E Φ=Φ=Φ== πωω
afphdq)RMS(af Nfk2E Φ= π với từ thông kích từ: fafaf IL=λ , ffaf Ik=Φ
af
a
asa e
dt
di
Le +=
afaasa EILjE &&& += ω
afasaaaaaa EIjXIREIRV &&&&&& ++=+=
Bài giảng Máy điện TB
Chương 5: Máy điện đồng bộ 10
Động cơ:
afasaaa EIjXIRU &&&& ++=
afphdqaf NkfE Φ= ....2π
Máy phát:
asaaafa IjXIREU &&&& −−=
Trong đó:
ss LX ω= với: 





+== alaaass LLLL 0
2
3
alAalaaalaa XXLLLLX +=+





=





+= ωωω 00
2
3
2
3
Zt
Ua
RajXs
Ia It
Tải
If
Rf
Uf
Φaf
Eaf
n
Ua
RajXs
IaIf
Rf
Uf
Φaf
Eaf
n
Bài giảng Máy điện TB
Chương 5: Máy điện đồng bộ 11






= 0
2
3
aaA LX ω : điện kháng phản ứng phần ứng.
alal LX ω= : điện kháng từ tản phần ứng.
aAafR IjXEE &&& −= : sức điện động khe hở.
RΦ& : từ thông khe hở = từ thông kích từ + từ thông phản ứng phần ứng
Zt
U
RajXA
Ia It
Tải
Eaf
n
jXal
ER
Bài giảng Máy điện TB
Chương 5: Máy điện đồng bộ 12
II.2. Đặc tính không tải, ngắn mạch
Thí nghiệm không tải:
afsdqsaf NkfE Φ= ....2π
Đặc tính không tải
Thí nghiệm không tải xác định được “đặc tính không tải”. Từ đó xác định “đặc tính khe hở”.
U
RajXs
IaIf
Rf
Uf
Φaf
Eaf
n
Uđm
If
Eaf
0
If
Eaf
0
Eaf,δ
If
Uaf
Đặc tính khe hở
Đặc tính không tải
Bài giảng Máy điện TB
Chương 5: Máy điện đồng bộ 13
Ngoài ra, thí nghiệm không tải xác định được tổn hao không tải.Trong đó có tổn hao cơ
(không đổi do tốc độ cố định) và tổn hao sắt (do tần số không đổi nên tổn hao sắt tỷ lệ với
bình phương biên độ từ thông).
Tổn hao sắt phụ thuộc vào từ thông (hay điện áp không tải)
Thí nghiệm ngắn mạch:
Máy điện chạy ở chế độ máy phát, quay ở tốc độ đồng bộ. Tăng dòng kích từ cho tới
khi dòng phần ứng đạt định mức Ia,sc = Ia,đm, vẽ được đặc tính ngắn mạch.
( ) asaaf IjXRE && +=
Đặc tính ngắn mạch khi mạch từ chưa bảo hòa
If
Eaf Ia
0
Ia, sc
Eaf,δ
If
Đặc tính ngắn mạch
Ia, đm
I’’f
(Ia, đm)
RajXs
Ia Ia,scIf
Rf
Uf
Φaf
Eaf
n
Eaf
PFe
Bài giảng Máy điện TB
Chương 5: Máy điện đồng bộ 14
Đo được dòng kích từ, và dựa theo đặt tính khe hở, xác định được Eaf,δ là sức điện động
tương ứng với mạch từ còn tuyến tính, chưa bảo hòa.
Khi mạch từ chưa bảo hòa, bỏ qua điện trở phần ứng, có thể tính điện kháng đồng bộ chưa
bảo hòa:
sc,a
,af
,s
I
E
X δ
δ =
(tính theo đặc tính khe hở)
_ ði n kháng ñ ng b chưa b o hoà: tính theo ñ c tính khe h (Eaf,δ).
Chú ý: Có th tính ði n kháng ñ ng b chưa b o hoà ñi m Ia,sc khác Ia,ñm,
nhưng ph i tính theo ñ c tính khe h .
Từ thông khe hở rất nhỏ (tỷ lệ với ER, khoảng 15% từ thông định mức) nên mạch từ trong
thí nghiệm ngắn mạch này chưa bảo hòa. Thông số tính được sẽ không sát với thực tế khi
máy điện làm việc ở từ thông định mức.
( ) sc,aalaR IjXRE && +=
RajXA
Ia I a,sc
Eaf
n
jXal
ER
Bài giảng Máy điện TB
Chương 5: Máy điện đồng bộ 15
Khi máy điện đồng bộ làm việc KHÔNG TẢI quanh giá trị điện áp định mức (từ
thông khe hở gần định mức, xem như “bảo hòa”):
đm,aafR UEE &&& ==
Đặc tính không tải – ngắn mạch
*
s
đm
ss
đm,a
đm,a
)U(sc,a
đm,a
đm,a
đm,a
đm,a
đm,a
đm,a
)U(sc,a
đm,a
)U(sc,a
''
f
'
f
n
X
1
Z
X
1
X
I
U
I
U
I
U
U
U
I
I
I
I
I
I
K
đm
đmđm
==








=
















====
Khi máy điện đồng bộ làm việc KHÔNG TẢI, chỉnh dòng kích từ sao cho điện áp hở mạch
bằng điện áp định mức Ua,đm (từ thông khe hở gần định mức = bảo hòa). Ứng với dòng kích
từ I’f này, cho máy ngắn mạch và đo dòng Ia,sc tương ứng Ua,đm. Từ đó tính gần đúng giá trị
điện kháng đồng bộ bảo hòa.
RajXA
Ia
Eaf
n
jXal
ER Uđm
If
Eaf
Ua,đm
Ia
0
Ia, sc (Uđm)
Ia, sc
Eaf,δ
If I’f
(Uđm)
Đặc tính ngắn mạch
Ia, đm
I’’f
(Ia, đm)
Bài giảng Máy điện TB
Chương 5: Máy điện đồng bộ 16
sc,a
đm,a
s
I
U
X =
(tính theo Ua,đm trên đặc tính không tải)
_ ði n kháng ñ ng b chưa b o hoà: tính theo ñ c tính khe h (Eaf,δ).
_ ði n kháng ñ ng b b o hoà: tính theo ñ c tính không t i-ng n
m ch Ua,ñm.
Chú ý: Nên tính ði n kháng ñ ng b b o hoà ñi m g n Ua,ñm.
Đơn vị trương đối (tính theo giá trị định mức):
Hệ số ngắn mạch Kn:
*
s
đm
ss
đm,a
đm,a
)U(sc,a
đm,a
đm,a
đm,a
đm,a
đm,a
đm,a
)U(sc,a
đm,a
)U(sc,a
''
f
'
f
n
X
1
Z
X
1
X
I
U
I
U
I
U
U
U
I
I
I
I
I
I
K
đm
đmđm
==








=
















====
X*
s là điện kháng đồng bộ tính theo đơn vị tương đối.
Ví dụ 1:
Bài giảng Máy điện TB
Chương 5: Máy điện đồng bộ 17
Cho một máy điện đồng bộ ba pha 900MVA, 26kV, nối Y, 50Hz, hai cực, có các số liệu thí
nghiệm:
Dòng kích từ Dòng ngắn mạch Điện áp không tải Điện áp khe hở
1710A 10,4kA 26kV (29,6kV)
3290A 20,0kA 31,8kV (56,9kV)
a. Tính điện kháng đồng bộ không bảo hòa Xs,δ? (đơn vị Ω và đvtđ)
b. Tính giá trị điện kháng đồng bộ bảo hòa Xs? (đơn vị Ω và đvtđ)
c. Tính tỷ số ngắn mạch Kn? Tính Xs (đvtđ) theo Kn?
Ví dụ 2: (EX 5.4-p262) (trang 224)
Máy điện đồng bộ ba pha, 45kVA, nối Y, 6 cực, 220V/60Hz.
Thí nghiệm không tải: dòng kích từ 2,84A, đo được điện áp 220V.
Đặc tính khe hở (ước tính): dòng kích từ 2,2A, điện áp khe hở 202V.
Thí nghiệm ngắn mạch:
Dòng kích từ 2,2A, đo dòng phần ứng là 118A.
Dòng kích từ 2,84A, đo dòng phần ứng là 152A.
a. Tính điện kháng đồng bộ không bảo hòa Xs,δ? (đơn vị Ω và đvtđ)
b. Tính giá trị điện kháng đồng bộ bảo hòa Xs? (đơn vị Ω và đvtđ)
c. Tính tỷ số ngắn mạch Kn? Tính Xs (đvtđ) theo Kn?
Tính điện kháng đồng bộ (theo Ω/pha và đvtđ) của máy điện đồng bộ 85kVA. Biết điện áp
hở mạch định mức là 460V khi dòng kích từ 8.7A. Và đạt dòng ngắn mạch định mức ở
11.2A.
Ví dụ 3: (EX 5.5-p265) (trang 226)
Máy điện đồng bộ ba pha, 45kVA, nối Y, 6 cực, 220V/60Hz như ví dụ trên (EX 5.4)
Khi dòng ngắn mạch bằng dòng phần ứng định mức (118A), tổn hao là 1.8kW ở
25o
C. Biết điện trở một chiều trên cuộn dây phần ứng là 0.0335Ω/pha. Tính điện trở
hiệu dụng trên mỗi pha? (đơn vị Ω và đvtđ)
Máy điện đồng bộ ba pha 13.8kV, 25MVA. Tổn hao ngắn mạch là 52,8kW ở dòng định
mức.
Bài giảng Máy điện TB
Chương 5: Máy điện đồng bộ 18
a) Tính dòng phần ứng định mức?
b) Tính điện trở hiệu dụng trên mỗi pha? (đơn vị Ω và đvtđ)
Ví dụ 4: (EX 5.1-p254)
Một động cơ 3 pha đồng bộ, điện áp dây đầu cực là 460V, 60Hz, Y,
dòng điện 120A, hệ số công suất 0.95 chậm. Dòng kích từ 47A. Điện
kháng đồng bộ 1.68Ω (0.794 đơn vị tương đối với 460V, 100kVA, 3
pha). Bỏ qua điện trở stator.
a) Tính điện áp Eaf?
b) Biên độ từ trường λaf và hỗ cảm Laf? )
2
tcos(ILe ofafaf
π
θωω ++=
)cos( ofafaf tIL θωλ +=
c) Công suất điện cấp cho motor (kW) và (hp).
Bài giảng Máy điện TB
Chương 5: Máy điện đồng bộ 19
II. Máy phát đồng bộ
II.1. Mạch tương đương
( ) asaaf IjXRUE &&& +=−
Ví dụ 1: Một máy phát đồng bộ 3 pha hai cực có cấu trúc rotor dạng
hình trụ có các thông số định mức 11kV, 50Hz, 20MVA, cuộn dây
stator nối Y. Điện kháng đồng bộ 5Ω, HSCS=cosϕđm=0,9 chậm pha.
Tính afE& (trị phức)? Vẽ giản đồ vector?
Zt
U
RajXs
Ia It
Tải
If
Rf
Uf
Φaf
Eaf
n
Bài giảng Máy điện TB
Chương 5: Máy điện đồng bộ 20
Ví dụ 2: Một máy phát đồng bộ 3 pha hai cực có cấu trúc rotor dạng
hình trụ có các thông số định mức 16MVA, 10,5kV, 50Hz, cuộn dây
stator nối Y. Điện kháng đồng bộ 4,8Ω. Tính giá trị sức điện động Eaf
và góc tải δδδδ khi máy phát cấp điện cho tải ở điều kiện định mức,
cosϕđm=0,8. Tính cho trường hợp chậm pha và nhanh pha? Vẽ giản đồ
vector?
Ví dụ 3: Một máy phát đồng bộ ba pha cực từ ẩn đấu Y, 2 cực, có
công suất định mức 10KVA, điện áp định mức 380V, 50Hz, nối
lưới. Trên mỗi pha có điện trở phần ứng Rư≈0Ω (tính lại cho
Rư≈0,5Ω) và điện kháng đồng bộ Xđb=5Ω. Khi máy phát cấp điện
cho tải định mức với hệ số công suất cosϕ=0,8 (dòng điện chậm
pha so với điện áp), hãy:
a. Tính công suất tiêu thụ của tải định mức?
b. Tính sức điện động cảm ứng E, góc công suất δ?
c. Vẽ giản đồ vector?
d. Tính độ thay đổi điện áp ∆U%?
e. Tính công suất quá tác dụng tải lớn nhất máy có thể phát được
mà không mất đồng bộ, biết dòng kích từ không đổi và biên độ
điện áp ngõ ra không đổi.
f. Tính momen điện từ và momen kéo của máy phát. Biết tổn hao
cơ là 500W.
II.2. Đặc tính công suất – góc ở xác lập
IZEE s
&&&& =− 21 Zssas ZjXRZ ϕ∠=+=&
Zt
E2
RajXs
I It
Tải
Eaf
n
Zs
E1
Bài giảng Máy điện TB
Chương 5: Máy điện đồng bộ 21
Tải RL, ϕ2 > 0 Tải RC, ϕ2 < 0
( )221 0 ϕδ −∠=∠−∠ IZEE s
o &
( )
Zs
o
s
o
Z
EE
Z
EE
I
ϕ
δδ
ϕ
∠
∠−∠
=
∠−∠
=−∠
00 2121
2 &
( ) )()( 21
2 Z
s
Z
s Z
E
Z
E
I ϕϕδϕ −∠−−∠=−∠
( ) )cos()cos(cos 21
2 Z
s
Z
s Z
E
Z
E
I ϕϕδϕ −−=
( ) )sin()sin(sin 21
2 Z
s
Z
s Z
E
Z
E
I ϕϕδϕ +−=−
( )
s
a
Z
Z
R
=ϕcos ( )
s
s
Z
Z
X
=ϕsin
s
a
Z
X
R
arctg=α khi Ra << Xs thì αZ ≈ 0.
)cos( 222 ϕIEP =
E1
ReE2
jXsI
I
ϕ2
δ
0
RaI
ZsI
Re
E2
E1
jXsI
I
ϕ2
δ
0
RaI
ZsI
I
0
jXsI
RaI
ZsI
ϕZ
αZ
Bài giảng Máy điện TB
Chương 5: Máy điện đồng bộ 22
)cos()cos(
2
221
2 Z
s
Z
s Z
E
Z
EE
P ϕϕδ −−=
( ) 2
2
221
2 )90(sin
s
a
Z
o
s Z
RE
Z
EE
P −−+= ϕδ
( ) 2
2
221
2 sin
s
a
Z
s Z
RE
Z
EE
P −+= αδ
)sin( 222 ϕIEQ =
)sin()sin(
2
221
2 Z
s
Z
s Z
E
Z
EE
Q ϕϕδ −−−=
2
2
221
2 )90cos(
s
s
Z
o
s Z
XE
Z
EE
Q −−−−= ϕδ
2
2
221
2 )90cos(
s
s
Z
o
s Z
XE
Z
EE
Q −−+= ϕδ
2
2
221
2 )cos(
s
s
Z
s Z
XE
Z
EE
Q −+= αδ
Giả sử bỏ qua Ra (khi Ra << Xs, αZ ≈ 0):
δsin21
2
sX
EE
P =
ss X
E
X
EE
Q
2
221
2 cos −= δ
sX
EE
P 21
max2 = khi δ = 90o
.
Khi máy phát cấp điện cho tải:
Bài giảng Máy điện TB
Chương 5: Máy điện đồng bộ 23
δsin
s
af
t
X
UE
P =
ss
af
t
X
U
X
UE
Q
2
cos −= δ
Hay
( )
22
2
2






=





++
s
af
s
tt
X
UE
X
U
QP
Sụt áp: UEU af −=∆
Độ sụt áp %:
100%
U
UE
U af −
=∆
Khi máy phát cấp điện cho tải Thévenin:
δsin
EQs
EQaf
XX
UE
P
+
=
EQs
EQ
EQs
EQaf
XX
U
XX
UE
Q
+
−
+
=
2
cosδ
Tương tự, tính công suất cung cấp CHO nguồn E1:
Zt
U
RajXs
Ia It
Tải
If
Rf
Uf
Φaf
Eaf
n
U
jXs
I
Eaf
n
jXEQ
UEQ
Bài giảng Máy điện TB
Chương 5: Máy điện đồng bộ 24
TỪ :
( ) 2
2
221
2 sin
s
a
Z
s Z
RE
Z
EE
P −+= αδ
SUY RA (đổi dấu góc δ):
( ) 2
2
121
1 sin
s
a
Z
s Z
RE
Z
EE
P −+−= αδ
Hay, công suất cung cấp BỞI nguồn E1:
( ) 2
2
121
1 sin
s
a
Z
s Z
RE
Z
EE
P +−= αδ 2
2
121
1 )cos(
s
s
Z
s Z
XE
Z
EE
Q +−−= αδ
Công thức này được áp dụng cho động cơ đồng bộ.
Khi bỏ qua Ra:
( )δsin21
21
sZ
EE
PP ==
sX
EE
PP 21
max2max1 ==
E2
RajXs
I It
LướiEaf
n
Zs
E1 U
Zt
E2
RajXs
I It
Tải
Eaf
n
Zs
E1
Bài giảng Máy điện TB
Chương 5: Máy điện đồng bộ 25
Máy phát điện 3 pha:
δϕ sin3cos3
s
af
tt
X
UE
UIP ==
δ
πω
sin
3
2
1
s
af
e
X
UE
f
pP
T 





≈=
s
af
eMAX
X
UE
f
p
T
3
2π
=
ss
af
t
X
U
X
UE
Q
2
3cos3 −= δ Q > 0, tải cảm (RL)
δ 0deg 1deg, 180deg..:=
0 30 60 90 120 150 180
0
100
200
300
400
500
600
Pnet δ( )
M W⋅
Pnetwork
M W⋅
δ
deg
Zt
U
RajXs
I It
Tải
Eaf
n
Bài giảng Máy điện TB
Chương 5: Máy điện đồng bộ 26
Đặc tuyến tải của MPĐB Đặc tuyến công suất phản kháng MPĐB
δsin3
s
af
t
X
UE
P =
ss
af
t
X
U
X
UE
Q
2
3cos3 −= δ
_____________________________________________________________
Ví dụ 4: (EX 5.6-p269)
Máy phát đồng bộ ba pha, 75MVA, 13.8kV, điện kháng đồng bộ bảo hòa
Xs=1.35đvtđ, điện kháng động bộ không bảo hòa là 1.56 đvtđ được kết nối với hệ
ReU
Eaf
jXsI
I
ϕt
δ
0
ϕ
Re
U
Eaf
jXsI
I
ϕt
δ
0
ϕ
Re
Eaf
Re
U
jXsI
I
ϕt
δ
0
Bài giảng Máy điện TB
Chương 5: Máy điện đồng bộ 27
thống ngoài điện kháng tương đương là XEQ=0.23 đvtđ và điện áp VEQ=1 đvtđ. Điện
áp hở mạch đạt định mức khi dòng kích từ 297A.
a) Tính Pmax (theo MW, và đvtđ) mà máy phát có thể cấp cho hệ thống ngoài nếu sức
điện động của máy phát được giữ ở 1 đvtđ.
b) Nếu máy phát được điều khiển ổn định điện áp thông qua điều chỉnh tự động từ
thông. Nếu máy phát cấp điện cho tải định mức, tính góc công suất, sức điện động
(theo đvtđ),và dòng kích từ tương ứng?
Ví dụ 5: (EX 5.7-p272) (trang 241)
Bài giảng Máy điện TB
Chương 5: Máy điện đồng bộ 28
Ví dụ 6: Một máy phát đồng bộ 3 pha hai cực có cấu trúc rotor
dạng hình trụ có các thông số định mức 11kV, 50Hz, 20MVA,
cuộn dây stator nối Y. Điện kháng đồng bộ 5Ω, Ra=1Ω, cosϕđm =
0,9 chậm pha.
a. Tính giá trị sức điện động và góc tải ở điều kiện định mức?
Tính giá trị công suất (tác dụng và phản kháng) cực đại mà
máy phát có thể cấp cho lưới với giá trị sức điện động đã tính
ở trên.
Bài giảng Máy điện TB
Chương 5: Máy điện đồng bộ 29
b. Tính giá trị sức điện động và góc tải nếu máy phát vận hành
ở hệ số công suất 0,8 chậm pha, cấp cho lưới 12MW và điện
áp lưới là 10kV. Tính giá trị công suất tác dụng cực đại?
c. Vẽ 2 đặc tính công suất – góc tải và chỉ ra các điểm làm việc
đã tính ở trên.
II.3. Đặc tính vận hành của máy phát đồng bộ ở xác lập
Đặc tính ngoài Đặc tính điều chỉnh kích từ
Nhận xét:
If
0
R
RL
RC
If0
I
Iđm
I
U
0
R
RL
RCE
Iđm
Bài giảng Máy điện TB
Chương 5: Máy điện đồng bộ 30
Giới hạn công suất phản kháng của máy điện động bộ
ss
af
t
X
U
X
UE
Q
2
3cos3 −= δ
Zt
U
Ra jXs
Ia It
Tải
If
Rf
Uf
Φaf
Eaf
n
AVR
Bài giảng Máy điện TB
Chương 5: Máy điện đồng bộ 31
Do: ( )
22
2
2






=





++
s
af
s
tt
X
UE
X
U
QP
Giới hạn công suất máy điện đồng bộ
Bài giảng Máy điện TB
Chương 5: Máy điện đồng bộ 32
Đặc tính hình V
II.4. Phân bố công suất của máy phát đồng bộ
N
S
A+
B+
C+B-
A-
C-
Pkt
Pout
Pcơ
Pcơ
Pđt Pout
PđPth_cơ PFe
Pkt
Pin Pcơ
Pkt
Bài giảng Máy điện TB
Chương 5: Máy điện đồng bộ 33
II.5. Ghép song song máy phát điện đồng bộ
Power Plants Around the World photo gallery landing page:
http://www.industcards.com/ppworld.htm
Bài tập 3: Hai máy phát đồng bộ 3 pha nối Y giống nhau vận hành ở
33kV, mỗi máy cung cấp 5MW cho tải: 10MW và hệ số công suất 0,8
chậm pha. Điện kháng đồng bộ của mỗi máy là 6Ω. Máy thứ nhất có
dòng điện 125A chậm pha.
a. Tính dòng điện và hệ số công suất của máy thứ 2?
b. Tính góc tải và sức điện đông của cả hai máy?
Bài tập: Cho một máy điện đồng bộ ba pha 900MVA, 26kV, nối
Y, 50Hz, hai cực, có các số liệu thí nghiệm:
Dòng kích
từ
Dòng ngắn
mạch
Điện áp không
tải
Điện áp khe
hở
1710A 10,4kA 26kV 29,6kV
3290A 20,0kA 31,8kV 56,9kV
a. Tính giá trị điện kháng đồng bộ bảo hòa Xs và không bảo
hòa Xs,δ, tỷ số ngắn mạch?
Máy phát trên được nối lưới 26kV thông qua điện kháng nối
tiếp 1 mH. Biết máy phát đang cung cấp cho lưới 800MW và
400MVAr. Bỏ qua điện trở phần ứng và tổn hao sắt. Giả sử tổn
hao cơ là 20MW.
Bài giảng Máy điện TB
Chương 5: Máy điện đồng bộ 34
b. Tính dòng điện phần ứng, sức điện động không tải, góc tải,
và moment cơ cấp cho máy phát?
c. Với kích từ như ở câu b, tính công suất tác dụng cực đại mà
máy phát có thể cấp cho lưới trong ngắn hạn? Tính
moment cơ khi đó?
d. Với kích từ như ở câu b, tính công suất phản kháng lớn
nhất và nhỏ nhất mà máy phát có thể cấp cho lưới?
e. Khi điều chỉnh giảm dòng kích từ để sức điện động cảm
ứng giảm 10%. Biết công suất tác dụng cấp cho lưới vẫn
không đổi. Tính góc tải, dòng điện phần ứng và công suất
phản kháng cấp cho lưới khi đó?
Bài giảng Máy điện TB
Chương 5: Máy điện đồng bộ 35
III. Động cơ đồng bộ
III.1. Mạch tương đương
( ) asaaf IjXREU &&& +=− afphdqaf NkfE Φ= ....2π
Nếu bỏ qua Ra:
IjXEU saf
&&& += , ( )ϕδ −∠+∠=∠ IjXEU saf
o
0
Thiếu kích từ, E nhỏ
I chậm pha hơn U, ϕ >0
Động cơ đóng vai trò tải RL
Động cơ tiêu thụ P và Q
Thừa kích từ, E lớn
I nhanh pha hơn U, ϕ <0
Động cơ đóng vai trò tải RC
Động cơ tiêu thụ P, phát Q
(Tụ bù công suất phản kháng)
U
jXs
IaIf
Rf
Uf
Φaf
Eaf
n Ra
I
ReU
E
jXsI
ϕ
δ
0
ReU
E
jXsI
I
ϕ
δ
0
U
RajXs
I
Eaf
n
E2 E1
Bài giảng Máy điện TB
Chương 5: Máy điện đồng bộ 36
III.2. Đặc tính công suất - góc
( ) 2
2
121
1 sin
s
a
Z
s Z
RE
Z
EE
P +−= αδ
2
2
121
1 )cos(
s
s
Z
s Z
XE
Z
EE
Q +−−= αδ
Đặc tuyến công suất – góc tải của ĐCĐB Đặc tuyến CSPK – góc tải của ĐCĐB
δsin
X
UE
3P
s
af
= δcos
X
UE
3
X
U
3Q
s
af
s
2
−=
Q > 0, tải cảm (RL)
δ
πω
sin
3
2
1
s
af
e
X
UE
f
pP
T 





≈=
s
af
eMAX
X
UE
f
p
T
3
2π
=
Bài giảng Máy điện TB
Chương 5: Máy điện đồng bộ 37
Nhận xét:
Khi δ < 90o
, nếu rotor chậm lại → δ tăng → P tăng → rotor nhanh hơn.
Khi δ > 90o
, nếu rotor chậm lại → δ tăng → P giảm → rotor chậm hơn nữa → mất ổn
định, động cơ đồng bộ dừng luôn.
Câu hỏi:
_ Khởi động động cơ đồng bộ như thế nào?
_ Moment khởi động lớn hay nhỏ, có kéo nổi tải có quán tính lớn như tàu điện không?
III.3. Đặc tính vận hành của động cơ đồng bộ ở xác lập
Đặc tính hình V của ĐCĐB
Đặc tính hình V ngược của ĐCĐB
If
cosϕ
0
Tải trở (R)
Sớm (RC)Trễ (RL)
1
Không tải
Nửa tải
Đầy tải
Thiếu kt Thừa kt
If
I
0
R
RC, cosϕ = 0.8
cosϕ = 0.8, RL
Iđm
Không tải
Nửa tải
Đầy tải
Thiếu kt Thừa kt
ϕ > 0
ϕ < 0
Bài giảng Máy điện TB
Chương 5: Máy điện đồng bộ 38
Điều chỉnh tăng hệ số công suất cosϕ
III.4. Phân bố công suất của động cơ đồng bộ
N
S
A+
B+
C+B-
A-
C-
Pkt
P1
P1=PđiệnAC Pđt=Pcơ Pout
PqpPđ1 Ps
Pkt
Pin P1
Pkt
Bài giảng Máy điện TB
Chương 5: Máy điện đồng bộ 39
Ví dụ 6: Một động cơ đồng bộ nối Y, nối vào lưới 3 pha
3980V và điều chỉnh dòng rotor sao cho sức điện động cảm
ứng pha là 1790V/pha (3000V/pha - thừa kích từ). Điện
kháng đồng bộ là 22ΩΩΩΩ và góc tải giữa điện áp và sức điện
động cảm ứng là 30o
. Xác định dòng stator và hệ số công
suất, góc ϕϕϕϕ? Tính công suất biểu kiến, công suất tác dụng và
công suất phản kháng?
Ví dụ 8: Một động cơ đồng bộ 3 pha nối Y, 3MW, 6,6kV, 60Hz, 200rpm, kích từ
độc lập không đổi, vận hành ở đầy tải ở hệ số công suất 0,8 chậm pha. Nếu điện
kháng đồng bộ là 11ΩΩΩΩ, tính: công suất biểu kiến, dòng stator, sức điện động
cảm ứng và góc tải? Nếu động cơ có tổn hao cơ Pqp là 200kW, tổn hao sắt Ps là
100kW, tổn hao kích từ Pkt là 50kW. Tính hiệu suất, momen điện từ, momen ngõ
ra của động cơ? Tính công suất lớn nhất động cơ có thể kéo tải mà không mất
đồng bộ? Tính công suất phản kháng lớn nhất mà động cơ có thể nhận từ lưới
và phát lên lưới?
Khi tần số giảm còn 50Hz?
Khi Rs=1ΩΩΩΩ?
Ví dụ 3: Một động cơ không đồng bộ kéo tải và tiêu thụ 350kW từ lưới ở hệ
số công suất 0,707 chậm pha. Một động cơ đồng bộ thừa kích từ nối song
song với động cơ không đồng bộ và tiêu thụ 150kW từ lưới. Nếu hệ số công
suất chung của hai động cơ là 0,9 chậm pha, tính công suất phản kháng và
công suất biều kiến của động cơ đồng bộ.
ReU
E
jXsI
I
ϕ
θ
0
U
Rư jXs
I
E
n
Bài giảng Máy điện TB
Chương 5: Máy điện đồng bộ 40
(Điều chỉnh tăng hệ số công suất cosϕ)
Ví dụ 13: Một động cơ không đồng bộ kéo tải và tiêu thụ 500kW từ
lưới ở hệ số công suất 0,707 chậm pha. Một động cơ đồng bộ khác
thừa kích từ nối song song với động cơ không đồng bộ và tiêu thụ
100kW từ lưới ở hệ số công suất 0,5. Tính hệ số công suất, công suất
phản kháng và công suất biều kiến chung của hai động cơ. Tính dòng
điện cấp cho động cơ không đồng bộ và dòng điện cấp chung cho cả 2
động cơ, biết U =380V? Nhận xét về kích thước dây dẫn?
BT 1.3. Một máy phát đồng bộ ba pha cực từ ẩn đấu Y, 2 cực, có công suất định mức
10KVA, điện áp định mức 380V, nối lưới. Trên mỗi pha có điện trở phần ứng
Rư = 0,5Ω và điện kháng đồng bộ Xđb = 5Ω. Khi máy phát cấp điện cho tải định
mức với hệ số công suất cosϕ = 0,8 (dòng điện chậm pha so với điện áp), hãy
xác định:
a. Tính công suất tiêu thụ của tải định mức.
b. Vẽ giản đồ vector và tính sức điện động cảm ứng E, góc công suất δ.
c. Độ thay đổi điện áp ∆U%.
d. Công suất quá tải lớn nhất máy có thể phát được mà không mất đồng bộ, biết dòng
kích từ không đổi và biên độ điện áp ngõ ra không đổi.
BT1.1: Một máy phát đồng bộ ba pha cực từ ẩn, 2 cực, kích từ độc lập, dòng
kích từ 1A, tần số 50Hz, nối Y, 12A. Bỏ qua điện trở phần ứng, điện
kháng đồng bộ pha là 10Ω. Biết tổn hao cơ là 500W, bỏ qua tổn hao sắt.
a. Khi máy phát cấp nguồn cho tải với điện áp định mức 380V, và
dòng điện định mức 12A, tải có hệ số công suất cosϕ=0,8, chậm
pha. Vẽ giản đồ vector, tính sức điện động cảm ứng pha, góc công
suất và momen cơ kéo máy phát? (1,0đ)
b. Khi máy phát cấp nguồn cho tải có dòng điện định mức 12A, tải có
hệ số công suất cosϕ=1. Vẽ giản đồ vector, tính điện áp dây cấp cho
tải Udây, góc công suất? Biết sức điện động của máy phát vẫn không
đổi như ở câu a? (1,0đ)
Bài giảng Máy điện TB
Chương 5: Máy điện đồng bộ 41
c. Với tải (có dòng điện, cosϕ như) ở câu b, tính dòng kích từ điều
chỉnh để điện áp dây vẫn là 380V? Biết mạch từ còn tuyến tính.
(0,5đ)
BT1.2. Một máy phát đồng bộ ba pha cực từ ẩn đấu Y, có công suất định mức
10KVA, điện áp định mức 380V, 50Hz, nối lưới. Trên mỗi pha có điện trở phần ứng Rư≈0Ω
và điện kháng đồng bộ Xđb = 5Ω. Khi máy phát cấp điện cho tải định mức với hệ số công
suất cosϕ = 0,8 (dòng điện chậm pha so với điện áp), hãy:
a. Tính công suất tiêu thụ của tải định mức.
b. Vẽ giản đồ vector và tính sức điện động cảm ứng E, góc công suất δ.
c. Tính độ thay đổi điện áp ∆U%.
d. Tính công suất quá tải lớn nhất máy có thể phát được mà không mất đồng bộ, biết dòng
kích từ không đổi và biên độ điện áp ngõ ra không đổi.
e. Tính momen điện từ và momen kéo của máy phát biết tổn hao cơ là 500W.
Câu 1.4. Một động cơ đồng bộ 3 pha nối Y, 3MW, 6,6kV, 50Hz, 200rpm, kích từ độc lập
không đổi, điện kháng đồng bộ là 10Ω.
a. Khi động cơ vận hành ở công suất định mức và có hệ số công suất 0,8 nhanh
pha, tính: công suất biểu kiến, sức điện động cảm ứng pha và góc tải?(1,0đ)
b. Tính công suất lớn nhất động cơ có thể kéo tải mà không mất đồng bộ? Khi
đó tính công suất phản kháng và momen điện từ của động cơ? (1,5đ)
c. Tính công suất phản kháng lớn nhất mà động cơ có thể phát lên tải?(0,5đ)
Sách trang 153: 6.22, 6.26, 6.28, 6.23
Ví dụ 6: (EX 5.8-p279) (trang 244)
Pcơ
Pđt P2
PđPqp Ps
Pkt
P1
Bài giảng Máy điện TB
Chương 5: Máy điện đồng bộ 42
================= HẾT =======================
Bài giảng Máy điện TB
Chương 5: Máy điện đồng bộ 43
Bài tập 1: Một máy phát đồng bộ 3 pha hai cực có cấu trúc rotor dạng hình trụ
có các thông số định mức 11kV, 50Hz, 20MVA, cuộn dây stator nối Y. Điện
kháng đồng bộ 5Ω, cosϕđm = 0,9 chậm pha.
d. Tính giá trị sức điện động và góc tải ở điều kiện định mức? Tính giá trị
công suất cực đại mà máy phát có thể cấp cho lưới với giá trị sức điện
động đã tính ở trên.
e. Tính giá trị sức điện động và góc tải nếu máy phát vận hành ở hệ số công
suất 0,8 chậm pha, cấp cho lưới 12MW và điện áp lưới là 10kV. Tính giá
trị công suất cực đại?
f. Vẽ 2 đặc tính công suất – góc tải và chỉ ra các điểm làm việc đã tính ở
trên.
Bài tập 2: Một máy phát đồng bộ 3 pha hai cực có cấu trúc rotor dạng hình trụ
có các thông số định mức 11kV, 50Hz, 20MVA, cuộn dây stator nối Y. Điện
kháng đồng bộ 5Ω.
a. Tính giá trị công suất, sức điện động và góc tải ở điều kiện định mức với
tải có cosϕ = 0,9 chậm pha?Tính giá trị công suất tác dụng cực đại mà
máy phát có thể cấp cho lưới với giá trị sức điện động đã tính ở trên?
b. Tính giá trị công suất, sức điện động và góc tải nếu máy phát vận hành ở
hệ số công suất 0,8 nhanh pha, cấp cho lưới 20MVA ở điện áp lưới định
mức?
c. Vẽ 2 đặc tính công suất – góc tải và chỉ ra các điểm làm việc đã tính ở
trên? So sánh sức điện động của máy phát trong hai trường hợp trên?
Bài tập 3: Hai máy phát đồng bộ 3 pha nối Y giống nhau vận hành ở 33kV, mỗi
máy cung cấp 5MW cho tải 10MW, có hệ số công suất 0,8 chậm pha. Điện
kháng đồng bộ của mỗi máy là 6Ω. Máy thứ nhất có dòng điện 125A chậm pha.
c. Tính dòng điện và hệ số công suất của máy thứ 2?
d. Tính góc tải và sức điện đông của cả hai máy?
Bài tập 4: Một máy điện đồng bộ có cuộn dậy stator 3 pha, cuộn dây kích từ
rotor và cấu trúc rotor và stator dạng hình trụ.
a. Vẽ mạch tương đương và giản đồ pha tương ứng khi máy điện vận hành ở
chế độ:
i. Máy phát thừa kích từ
ii. Máy phát thiếu kích từ
iii.Động cơ thừa kích từ
iv. Động cơ thiếu kích từ
Xác định trong mỗi trường hợp chiều của công suất tác dụng và công suất phản
kháng giữa máy điện và lưới; và xác định hệ số công suất nhanh hay chậm.
Bài giảng Máy điện TB
Chương 5: Máy điện đồng bộ 44
b. Một máy phát đồng bộ 3 pha hai cực có cấu trúc rotor dạng hình trụ có
các thông số định mức 16MVA, 10,5kV, 50Hz, cuộn dây stator nối Y.
Điện kháng đồng bộ 13,77Ω, cosϕđm = 0,8 chậm pha. Tính giá trị sức điện
động và góc tải khi máy phát vận hành ở điều kiện định mức? Và tính giá
trị công suất tác dụng cực đại mà máy phát có thể cấp cho lưới, với giá
trị sức điện động như khi vận hành ở điều kiện định mức trên.
Bài tập 5:
a. Một tuabin phát điện 3 pha có điện kháng đồng bộ 14Ω và cấp cho lưới công
suất tác dụng 1,68MW với hệ số công suất chậm pha. Cuộn dây stator máy
phát nối Y, nối với lưới 11kV và dòng điện stator là 100A. Tính hệ số công
suất, góc tải và sức điện động cảm ứng?
b. Một máy phát đồng bộ và một máy phát không đồng bộ nối song song
và cấp vào lưới điện công suất tác dụng 800kW với hệ số công suất
chung bằng 0,8 chậm pha. Biết máy phát không đồng bộ vận hành ở
công suất 0,9 và phát công suất tác dụng 300kW vào lưới. Xác định
hệ số công suất và công suất tác dụng máy phát đồng bộ phát lên
lưới.
Bài tập 6:
Một máy phát đồng bộ ba pha cực từ ẩn, 2 cực, đấu Y, có công suất định mức
10KVA, điện áp định mức 380V, 50Hz, nối lưới. Trên mỗi pha có điện
kháng đồng bộ Xđb = 2Ω. Biết tổn hao sắt là là 200W và tổn hao cơ là
500W. Khi máy phát cấp điện cho tải định mức với hệ số công suất cosϕ =
0,8 (chậm pha), hãy xác định:
a. Tính công suất tiêu thụ, hiệu suất và momen cơ cấp cho máy phát ở tải định
mức?
b. Vẽ giản đồ vector và tính sức điện động cảm ứng E, góc công suất δ.
c. Độ thay đổi điện áp ∆U%.
d. Công suất quá tải lớn nhất máy có thể phát được mà không mất đồng bộ, biết
dòng kích từ và biên độ điện áp ngõ ra không đổi.
e. Tính moment định mức và moment cực đại để kéo máy phát.
BT1.1: Một máy phát đồng bộ ba pha cực từ ẩn, 2 cực, kích từ độc lập, dòng
kích từ 1A, tần số 50Hz, nối Y, 12A. Bỏ qua điện trở phần ứng, điện
kháng đồng bộ pha là 10Ω. Biết tổn hao cơ là 500W, bỏ qua tổn hao sắt.
a. Khi máy phát cấp nguồn cho tải với điện áp định mức 380V, và
dòng điện định mức 12A, tải có hệ số công suất cosϕ=0,8, chậm
pha. Vẽ giản đồ vector, tính sức điện động cảm ứng pha, góc công
suất và momen cơ kéo máy phát? (1,0đ)
b. Khi máy phát cấp nguồn cho tải có dòng điện định mức 12A, tải có
hệ số công suất cosϕ=1. Vẽ giản đồ vector, tính điện áp dây cấp cho
tải Udây, góc công suất? Biết sức điện động của máy phát vẫn không
đổi như ở câu a? (1,0đ)
Bài giảng Máy điện TB
Chương 5: Máy điện đồng bộ 45
c. Với tải (có dòng điện, cosϕ như) ở câu b, tính dòng kích từ điều
chỉnh để điện áp dây vẫn là 380V? Biết mạch từ còn tuyến tính.
(0,5đ)
BT1.2. Một máy phát đồng bộ ba pha cực từ ẩn đấu Y, có công suất định mức
10KVA, điện áp định mức 380V, 50Hz, nối lưới. Trên mỗi pha có điện trở phần ứng Rư≈0Ω
và điện kháng đồng bộ Xđb = 5Ω. Khi máy phát cấp điện cho tải định mức với hệ số công
suất cosϕ = 0,8 (dòng điện chậm pha so với điện áp), hãy:
a. Tính công suất tiêu thụ của tải định mức.
b. Vẽ giản đồ vector và tính sức điện động cảm ứng E, góc công suất δ.
c. Tính độ thay đổi điện áp ∆U%.
d. Tính công suất quá tải lớn nhất máy có thể phát được mà không mất đồng bộ, biết dòng
kích từ không đổi và biên độ điện áp ngõ ra không đổi.
e. Tính momen điện từ và momen kéo của máy phát biết tổn hao cơ là 500W.
BT 1.3. Một máy phát đồng bộ ba pha cực từ ẩn đấu Y, 2 cực, có công suất định mức
10KVA, điện áp định mức 380V, nối lưới. Trên mỗi pha có điện trở phần ứng
Rư = 0,5Ω và điện kháng đồng bộ Xđb = 5Ω. Khi máy phát cấp điện cho tải định
mức với hệ số công suất cosϕ = 0,8 (dòng điện chậm pha so với điện áp), hãy
xác định:
a. Tính công suất tiêu thụ của tải định mức.
b. Vẽ giản đồ vector và tính sức điện động cảm ứng E, góc công suất δ.
c. Độ thay đổi điện áp ∆U%.
d. Công suất quá tải lớn nhất máy có thể phát được mà không mất đồng bộ, biết dòng
kích từ không đổi và biên độ điện áp ngõ ra không đổi.
Pcơ
Pđt P2
PđPqp Ps
Pkt
P1
Bài giảng Kỹ Thuật 2 TB
Chương 6: Máy điện một chiều 1
Chương 6: MÁY ĐIỆN MỘT CHIỀU
I. Tổng quan
Bài giảng Kỹ Thuật 2 TB
Chương 6: Máy điện một chiều 2
Bài giảng Kỹ Thuật 2 TB
Chương 6: Máy điện một chiều 3
Nguyên lý hoạt động của máy điện một chiều
Bài giảng Kỹ Thuật 2 TB
Chương 6: Máy điện một chiều 4
Bài giảng Kỹ Thuật 2 TB
Chương 6: Máy điện một chiều 5
Động cơ
Bài giảng Kỹ Thuật 2 TB
Chương 6: Máy điện một chiều 6
Bài giảng Kỹ Thuật 2 TB
Chương 6: Máy điện một chiều 7
Bài giảng Kỹ Thuật 2 TB
Chương 6: Máy điện một chiều 8
Phản ứng phần ứng – vành trượt lệch qua một bên
Neutral Zone
Magnetic field
N
I
B
F
I
B
S S N
S N
Vị trí chổi than
Stator và cuộn
dây
N
Chổi than
Rotor
DC Motor
S
Bài giảng Kỹ Thuật 2 TB
Chương 6: Máy điện một chiều 9
Bài giảng Kỹ Thuật 2 TB
Chương 6: Máy điện một chiều 10
Dòng điện qua rotor đảo chiều
Dòng điện qua stator Dòng điện qua rotor
Động cơ DC chạy thuận Động cơ DC chạy ngược
Động cơ DC Momen tải
Bài giảng Kỹ Thuật 2 TB
Chương 6: Máy điện một chiều 11
II. Phân tích máy phát một chiều
a
pN
k
π2
=
Eđm
Ikt
E
0
Ikt
Rt
U
Rư
Iu It
TảiE = k.Φkt.ω ≈ k.kkt.Ikt.ω
Rkt
Ukt
Φkt
ω
U
Rư
Iu
E
Bài giảng Kỹ Thuật 2 TB
Chương 6: Máy điện một chiều 12
Bài giảng Kỹ Thuật 2 TB
Chương 6: Máy điện một chiều 13
II.1. Máy phát DC kích từ độc lập
Pin
Pcơ
Ps≈≈≈≈ 0Pth-cơ
Pđt Pout
Pđ
Pkt
Pin Pcơ
Ps≈≈≈≈ 0Pkt Pqp
Pđt Pout
Pđ
Iu
U
0
E
Iđm
Bài giảng Kỹ Thuật 2 TB
Chương 6: Máy điện một chiều 14
II.2. Máy phát DC kích từ song song
Eđm
Ikt
E
0
Ikt
Rt
U
Rư
Iu It
TảiE = k.Φkt.ω ≈ k.kkt.Ikt.ω
Rkt
Ukt
Φkt
ω
Eđm
Ikt
E
0
Rkt1 > Rkt2 > Rkt3
Tải
Ikt
Rt
U
Rư
Iu It
E = k.Φkt.ω
≈ k.kkt.Ikt.ω
Rkt
ω
I
U
0
E
Bài giảng Kỹ Thuật 2 TB
Chương 6: Máy điện một chiều 15
II.3. Máy phát DC kích từ hỗn hợp
Kích từ hỗn hợp rẽ ngắn
`
Kích từ hỗn hợp rẽ dài
Tải
Ikt
Rt
U
Rư
Iu It
E = k.Φhh.ω Rkt
ω Rs
Tải
Ikt
Rt
U
Rư
Iu It
E = k.Φhh.ω
Rkt
ω Rs
Bài giảng Kỹ Thuật 2 TB
Chương 6: Máy điện một chiều 16
Khảo sát phản ứng phần ứng:
Ví dụ 3: Cho máy phát 100-kW, 250V, 400A, kích từ hỗ hợp cộng rẽ dài.
Ru=0,025Ω, Rs=0,005Ω. Dòng kích từ song song là 4,7A. Cuộn kích từ
song song có 1000vòng trên môi cực từ, cuộn kích từ nối tiếp có 3 vòng
trên mỗi cực từ. Tốc độ máy phát là 1150RPM. Tính điện áp của máy phát
khi cấp dòng định mức cho tải? Biết lúc thí nghiệm không tải ở tốc độ
1200RPM, điện áp hở mạch đo được là 274V.
Bài giảng Kỹ Thuật 2 TB
Chương 6: Máy điện một chiều 17
Ví dụ 4: Tính lại ví dụ trên khi có xét đến phản ứng phần ứng? Tra theo
đặc tuyến từ hình 7.14.
Ví dụ 5: Tính lại ví dụ 4 nếu cuộn kích từ nối tiếp có 4 vòng dây và có
điện trở là Rs=0,007Ω.
III. Phân tích động cơ một chiều
III.1. Động cơ DC kích từ độc lập, NCVC
E = k.Φkt.ω ≈ k. kkt.Ikt.ω hay
U
Rư
Iu
E
Ikt
Rkt
Ukt
ω
Bài giảng Kỹ Thuật 2 TB
Chương 6: Máy điện một chiều 18
kt
uu
kt k
IRU
k
E
Φ
−
=
Φ
=ω
60
n
2
)RPM(
)s/rad(
πω =
ω
P
T =
ωω
uudt
dt
IEP
T ==
ω
out
out
P
T =
uktEu
ktuudt
dt IkI
kIEP
T Φ=
Φ
===
ω
ω
ωω uktdt IkT Φ=
U
Rư
Iu
E
Ikt
Rkt
Ukt
ω
Φkt
P1 Pđien P2
Ps≈≈≈≈ 0Pkt Pđ Pth_cơ
PcơPđt
Bài giảng Kỹ Thuật 2 TB
Chương 6: Máy điện một chiều 19
I, Mđt
0
ωolt
ωo
ωđm
Iđm, Mđm
I0 Ikđ, Mkđ
ω
I, Mđt
ω
0
ωolt
ωo
ωđm
IđmI0
Bài giảng Kỹ Thuật 2 TB
Chương 6: Máy điện một chiều 20
III.2. Động cơ DC kích từ song song
III.3. Động cơ DC kích từ nối tiếp
U
Rư
Iu
E
Int
Rnt
U
Rư
Iu
E
Ikt
Rkt
Ukt=U
Bài giảng Kỹ Thuật 2 TB
Chương 6: Máy điện một chiều 21
III.3. Động cơ DC kích từ hỗn hợp
U
Rư
Iu
E
Int
Rnt
Ikt
Rkt
Bài giảng Kỹ Thuật 2 TB
Chương 6: Máy điện một chiều 22
IV. Điều khiển tốc độ động cơ một chiều kích từ độc lập
a) Điều khiển điện áp phần ứng:
( ) co2
u
M
k
R
k
U
Φ
−
Φ
=ω U giảm ⇒ ω giảm
b) Điều khiển từ thông kích từ:
( ) co2
u
M
k
R
k
U
Φ
−
Φ
=ω Φ giảm ⇒ ω tăng
Điều khiển hỗn hợp điện áp phần ứng và từ thông
Điều khiển thay đổi tốc độ ω thông qua:
_ điều khiển điện áp phần ứng U khi: ω < ωđm.
_ điều khiển từ thông kích từ Φ khi: ω > ωđm.
U
Rư
Iu
E
Ikt
Rkt
Ukt
ω
Φkt
VR
Mcơ
ω
0
ωolt
ωđm
Mđm
Φ giảm
Pmax
ωωωωmax
Mmax
U
Rư
Iu
E
Ikt
Rkt
Ukt
ω
Φkt Mcơ
ω
0
ωolt
ωđm
Mđm
U giảm
Bài giảng Kỹ Thuật 2 TB
Chương 6: Máy điện một chiều 23
c) Điều khiển điện trở phần ứng:
( ) co2
u
M
k
R
k
U
Φ
−
Φ
=ω Rư tăng ⇒ ω giảm
Mcơ
U giảm
Mđm
ω
0
ωolt
ωđm
Φ giảm
I
II
IIII
ω
Mcơ
0
Mđm
ωđm
Pđm
Iưđm
Mđm
ωmax
Điều khiển U Điều khiển ΦΦΦΦ
Bài giảng Kỹ Thuật 2 TB
Chương 6: Máy điện một chiều 24
d) Khởi động đông cơ DC kích từ độc lập:
Dòng điện khởi động không lớn hơn khả năng chịu dòng của chổi than (thường là
3Iđm). Moment khởi động không lớn hơn khả năng chịu đựng của tải (thường là 3Mđm).
e) Điều khiển vòng kín tốc độ động cơ DC dùng PID:
ndat
Động cơ
+ u
_
n
n
PIDtốc độ
e
Iư, Mcơ
ω
0
ωolt
ωđm
Iưđm,
VR tăng
U
Rư
Iu
E
Ikt
Rkt
Ukt
ω
Φkt
VR
Bài giảng Kỹ Thuật 2 TB
Chương 6: Máy điện một chiều 25
V. Đặc tính động cơ DC
Ví dụ 1: (Ex 7.1-p371) (Vd 7.2, trang 344)
Ví dụ 2: (Pr 7.1-p372)
ωdat Động cơ+
PIDdòng điện
u
_
ω
ω
PIDtốc độ
+
_
i
P1 Pứng P2
Ps≈≈≈≈ 0Pkt Pđ Pth_cơ
PcơPđt
Bài giảng Kỹ Thuật 2 TB
Chương 6: Máy điện một chiều 26
Ví dụ 3: (Ex 7.2-p372)
Ví dụ 4: (Pr 7.2-p373)
Ví dụ 5: (Ex 7.3-p376) (Vd 7.1, trang 336)
Ví dụ 6: (Ex 7.4-p377)
Ví dụ 7: (Ex 7.5-p378)
Ví dụ 8: (Pr 7.5-p378)
Ví dụ 9: (Ex 7.6-p381) (Vd 7.3, trang 345)
Bài giảng Kỹ Thuật 2 TB
Chương 6: Máy điện một chiều 27
Ví dụ 10: (Pr 7.5-p382)
Ví dụ 11: (Ex 7.7-p383)
Ví dụ 12: (Pr 7.6-p384)
Ví dụ 13: (Ex 7.9-p389)
Bài giảng Kỹ Thuật 2 TB
Chương 6: Máy điện một chiều 28
Ví dụ 14: (Pr 7.8-p390)
Bài giảng Kỹ Thuật 2 TB
Chương 6: Máy điện một chiều 29
Bài giảng Kỹ Thuật 2 TB
Chương 6: Máy điện một chiều 30
Bài giảng Kỹ Thuật 2 TB
Chương 6: Máy điện một chiều 31
Bài giảng Kỹ Thuật 2 TB
Chương 6: Máy điện một chiều 32
Bài giảng Kỹ Thuật 2 TB
Chương 6: Máy điện một chiều 33
Bài giảng: Các máy điện một chiều và xoay chiều TCBinh
Hình vẽ Chương 5: Động cơ công suất nhỏ 1
Chương 5: ĐỘNG CƠ CÔNG SUẤT NHỎ
I. Động cơ xoay chiều một pha
II. Động cơ một chiều nam châm vĩnh cửu
Bài giảng: Các máy điện một chiều và xoay chiều TCBinh
Hình vẽ Chương 5: Động cơ công suất nhỏ 2
III. Động cơ vạn năng
IV. Động cơ Servo DC
V. Động cơ Servo AC
Bài giảng: Các máy điện một chiều và xoay chiều TCBinh
Hình vẽ Chương 5: Động cơ công suất nhỏ 3
VI. Động cơ bước
Bài giảng: Các máy điện một chiều và xoay chiều TCBinh
Hình vẽ Chương 5: Động cơ công suất nhỏ 4
VII. Động cơ từ trở
VIII. Động cơ một chiều không chổi than (Brushless DC - BLDC)
IX. Động cơ xoay chiều không chổi than (Brushless AC)
X. Máy phát điện dùng sức gió
A
B
C
D
A
C
D
B
Stator
Pole Unaligned
Position
Flux Path
Aligned
Position
Flux Path
Rotor
Pole

Bài giảng về máy điện

  • 1.
    ĐH Bách khoa– ĐHQG Tp.HCM PĐT, Mẫu 2008-ĐC Tr.1/5 Khoa : Điện – Điện Tử Bộ môn : Thiết Bị Điện ð cương Môn h c ð i h c MÁY ðI N (ELECTRICAL MACHINERY) Mã s MH : 408003 - Số tín chỉ : 3 (3.1.4) TCHP: - Số tiết - Tổng: 60 LT: 45 BT: 15 TH: ĐA: BTL/TL: (Ghi chú rõ nếu có hình thức khác như TT ngoài trường, tham quan, ... các môn này có thể dùng đơn vị "buổi", "tuần" thay cho số tiết – đính kèm dự trù chi tiết định mức chi phí thực hành TN đặc biệt là khi đi thực tập bên ngoài để dễ dàng cho xét duyệt kinh phí sau này) - Đánh giá : Kiểm tra: 30% Kiểm tra Viết giữa kỳ 45 – 60 phút Thang điểm 10/10 Thi cuối kỳ: 70% Thi Viết cuối kỳ - 90' - Môn tiên quyết : - Biến đổi năng lượng điện cơ MS: 408001 - Môn học trước : - MS: - Môn song hành : - MS: - CTĐT ngành : Điện năng (Tham chiếu CTĐT ngành Điện- Điện Tử trường Đại Học Illinois- Urbana Champaign ) - Trình độ : (khối kiến thức-KT) Môn bắt buộc chuyên ngành Điện Năng, năm thứ 3. - Ghi chú khác : 1. Mục tiêu của môn học: Máy điện là môn học bắt buộc của sinh viên chuyên ngành Điện năng năm 3 hay môn tự chọn cho các chuyên ngành khác của ngành Điện – Điện tử. Mục tiêu của môn học nhằm cung cấp các kiến thức nền tảng về các thiết bị điện cơ. Sinh viên hoàn thành khóa học sẽ có khả năng giải thích và chứng minh trên cơ sở toán học các quá trình vận hành của các thiết bị điện cơ. Sinh viên cũng có thể nhận dạng được các loại máy điện có khả năng đáp ứng yêu cầu công việc, tuy nhiên, thiết kế chi tiết của các thiết bị điện cơ không thuộc nội dung môn học. Aims: This course is a undergraduate junior level core for power engineering and elective for other electrical engineering majors. The goals are to impart an understanding of electro-mechanics from theoretical base. The successful student will be able to explain how various electromechanical devices work, and justify the explanation mathematically. Further, the students should be able to conceive a device that is capable of meeting performance criteria, though detailed design is not part of the course. 2. Nội dung tóm tắt môn học: Môn học cung cấp các kiến thức liên quan đến thiết bị biến đổi năng lượng điện cơ (nguyên lý, cấu tạo, ứng dụng, các phương pháp tính, cách xây dựng mô hình toán và mạch tương đương). Máy biến áp lực (máy biến áp một và ba pha, máy biến áp tự ngẫu, máy biến áp đo lường). Máy điện quay: Máy điện không đồng bộ (xây dựng và phân tích mạch tương đương, cách xác định các thông số mạch tương đương theo thí nghiệm, phân tích đặc tính moment,…), máy điện đồng bộ (xây dựng và phân tích mạch tương đương, điện kháng đồng bộ, các đặc tính vận hành, đặc tính góc
  • 2.
    Đề cương MH: De cuong_MayDien_Nghiem thu.doc PĐT, Mẫu 2008-ĐC Tr.2/5 tải ở điều kiện ổn định,…), máy điện một chiều (phản ứng phần ứng, vấn đề đổi chiều và giải pháp, phân tích dựa trên mạch điện và mạch từ, các đặc tính vận hành ở chế độ xác lập…), các loại động cơ công suất nhỏ. Course outline: The course provides knowledge about basic principles of electro-mechanical conversion, theories of single- and three-phase transformers, auto-transformers, instrument transformers, principles of rotating electrical machines, induction machines (equivalent circuit, parameter determination, torque characteristic analysis, etc), synchronous machines (synchronous inductances, equivalent circuit, open and short-circuit characteristics, steady-state power angle characteristics, etc). DC machines (effects of amature MMF, commutator action, analytical fundamentals – electric circuit and magnetic circuit aspects, etc), low power motors. 3. Tài liệu học tập: (nên trong khoảng 3-5 đầu sách) [1] Nguyễn Chu Hùng, Tôn Thất Cảnh Hưng, Kỹ Thuật Điện 1, Đại Học Quốc Gia TP. Hồ Chí Minh, 2000. [2] Nguyễn Hữu Phúc, Kỹ Thuật Điện 2, Máy Điện Quay, Đại Học Quốc Gia TP. Hồ Chí Minh, 2003. [3] A. E. Fitzgerald, C. Kingsley, and S. D. Umans, Electric Machinery, 6th ed., New York: McGraw-Hill, 2003. [4] Chee Mung Ong, Electric Machinery Mathlab Simulation, Prentice Hall 1997.2. [5] P. Krause, D. Wasynczuk, and S. D. Sudhoff, Analysis of Electric Machinery, IEEE Press, 2002. 4. Các hiểu biết,các kỹ năng cần đạt được sau khi học môn học 1. Giải thích các nguyên lý cơ bản của quá trình biến đổi năng lượng điện cơ, tính toán và giải tích lực/moment trong trường từ, sự tương tác điện – từ thông qua lực lorentz, tính toán năng lượng của hệ thống trường từ một – hay nhiều nguồn kích thích; giải thích về từ trường quay trong hệ thống máy điện, ..v.v. 2. Phân tích, tính toán các biến trạng thái thuộc mô hình tĩnh của máy điện một chiều, xoay chiều. Tính toán các thông số vào và ra của hệ thống máy điện. 3. Giải thích và tính toán chế độ vận hành máy điện một cách hiệu quả nhất (hiệu suất cao), giúp sinh viên quan tâm nhiều hơn đến vấn đề tiết kiệm năng lượng, một vấn đề mang tính toàn cầu, từ đó góp phần làm giảm lượng khí thải CO2, và bảo vệ môi trường. 4. Giải thích và thiết kế được các mô hình động đơn giản (hoặc là các phương trình) bằng simulink của matlab, giúp sinh viên tiếp cận nhanh hơn các môn học chuyên ngành sau này. 5. Có khả năng nhận dạng được các loại máy điện, sự tương thích về tải cũng như yêu cầu công việc. Bảng tương ứng chuẩn đầu ra của môn học và chuẩn đầu ra của chương trình đào tạo Chuẩn đầu ra của chương trình đào tạo Chuẩn đầu ra môn học a b c d e f g h i j k 1 2 3 4 5
  • 3.
    Đề cương MH: De cuong_MayDien_Nghiem thu.doc PĐT, Mẫu 2008-ĐC Tr.3/5 Learning outcomes: 1. Ability to explain Electromechanical Energy Conversion Principles, calculate and analyze the forces and torques in magnetic field systems via the lorentz force law, energy in singly and multiply-excited magnetic field systems, magnetic fields in rotating machinery and so on. 2. Ability to analyze steady-state models of AC/DC machines, calculate the input/output parametters of AC/DC machines (b,e). 3. Ability to explain and calculate the operating regimes to improve productivity of electrical machines in terms of energy efficiency. So the students can understand about energy saving, how to reduce CO2. (j,h). 4. Ability to explain and design simulation of basically dynamic model (or equations) by matlab/simulink tools (k). 5. Ability to identify the kinds of electrical machine according to their loads or/and their applied fileds. Program Outcomes Course Objectives a b c d e f g h i j k 1 2 3 4 5 5. Hướng dẫn cách học - chi tiết cách đánh giá môn học: Sinh viên nên tham dự giờ giảng trên lớp để nắm bắt vấn đề vì đây là môn học liên quan nhiều đến ứng dụng thực tế, nhiều khái niệm kỹ thuật mới. Bài tập về nhà cần được nộp khoảng 2 tuần sau khi đầu đề bài tập được công bố. Các cột điểm cho bài tập về nhà, và kiểm tra giữa kỳ sẽ được tổng hợp thành điểm kiểm tra (chiếm 30%), tỷ lệ giữa các phần do giảng viên công bố cho sinh viên ngay khi bắt đầu môn học. Thi cuối kỳ (chiếm 70%) sử dụng hình thức thi viết, với thời lượng 90 phút. Sinh viên chỉ cần đạt điểm tổng hợp là 5 trở lên thì xem như đạt môn học. Learning Strategies & Assessment Scheme: Students should attend the lecture to easily understand and read the refferences because this subject is close to real application with a lot of new conceptions. Homework assignments are normally due in 2 weeks time, from the moment they are announced (posted on the web site). Homework assignment, and mid-term examination will be added together to make up the first mark (30%), and their weighting factors are to be fixed by the instructor and announced to the student right at the beginning of the course. Final examination (70%) will make use of writing format, lasting 90 minutes. A minimum final mark of 5 is required to pass the course. 6. Nội dung chi tiết:: Tuần Nội dung Tài liệu Ghi chú
  • 4.
    Đề cương MH: De cuong_MayDien_Nghiem thu.doc PĐT, Mẫu 2008-ĐC Tr.4/5 4,5,6 CHƯƠNG 5: Máy điện đồng bộ 4.1 Tổng quan về máy điện đồng bộ 4.2 Điện kháng đồng bộ. Mạch điện tương đương 4.3 Các đặc tính không tải và ngắn mạch 4.4 Đặc tính công suất – góc máy đồng bộ trong trạng thái xác lập 4.5 Các đặc tính vận hành 4.6 Các điều kiện làm việc song song các máy phát điện đồng bộ 4.8 Vấn đề điều chỉnh công suất tác dụng, công suất phản kháng trong điều kiện máy phát làm việc với lưới điện vô cùng lớn 4.9 Vấn đề điều chỉnh công suất tác dụng, công suất phản kháng trong điều kiện máy phát làm việc với các máy phát khác có công suất tương đương 4.10 Động cơ đồng bộ : vấn đề mở máy; các đặc tính vận hành [1-5] Nắm vững Vận dụng 1 CHƯƠNG 1 : Các nguyên lý của quá trình biến đổi điện cơ 1.1 Lực và moment trong hệ các mạch từ 1.2 Cân bằng năng lượng 1.3 Năng lượng và lực từ trong hệ một nguồn kích từ 1.4 Tính toán lực từ: Đồng năng lượng 1.5 Năng lượng và lực từ trong hệ nhiều nguồn kích từ 1.6 Lực và moment trong hệ các mạch từ có nam châm vĩnh cửu 1.7 Phương trình động lực 1.8 Các phương pháp giải tích [1,2] Hiểu, Vận dụng 2 CHƯƠNG 2: Máy Biến áp 2.1 Giới thiệu về máy biến áp 2.2 Điều kiện không tải 2.3 Ảnh hưởng của dòng sơ cấp: Máy biến áp lý tưởng 2.4 Kháng trở và sơ đồ mạch tương đương 2.5 Các yếu tố kỹ thuật trong phân tích máy biến áp 2.6 Máy biết áp từ ngẫu: Máy biến áp nhiều cuộn dây 2.7 Máy biến áp ba pha 2.8 Máy biến điện áp và máy biến dòng [1,2] Nắm vững Vận dụng 3 CHƯƠNG 3 : Các vấn đề cơ bản của máy điện quay 3.1 Khái niệm 3.2 Giới thiệu về máy điện một chiều và xoay chiều 3.3 Sức từ động dây quấn rải 3.4 Từ trường trong máy điện 3.5 Từ trường quay trong máy điện xoay chiều 3.6 Sức điện động cảm ứng 3.7 Moment trong máy điện cực từ ẩn 3.8 Máy điện tuyến tính 3.9 Hiện tượng bão hoà mạch từ 3.10 Từ thông tản [1-5] Vận dụng Tổng hợp 7,8,9 CHƯƠNG 4 : Máy điện không đồng bộ 3 pha 5.1 Tổng quan về máy điện không đồng bộ 5.2 Dòng và từ thông trong máy điện không đồng bộ 5.3 Các phương trình cơ bản 5.4 Phân tích mạch tương đương 5.5 Phương trình tính moment và công suất dùng mạch Thevenin 5.6 Các thí nghiệm không tải và ngắn mạch 5.7 Mô phỏng máy điện không đồng bộ. [1-5] Nắm vững Vận dụng
  • 5.
    Đề cương MH: De cuong_MayDien_Nghiem thu.doc PĐT, Mẫu 2008-ĐC Tr.5/5 10,11 CHƯƠNG 6 : Máy điện một chiều 6.1 Tổng quan về máy điện một chiều 6.2 Sức từ động phản ứng phần ứng 6.3 Phân tích dựa trên mạch điện 6.4 Phân tích dựa trên mạch từ 6.5 Các đặc tính vận hành 6.6 Vấn đề đổi chiều và dây quấn cực từ phụ 6.7 Dây quấn bù 6.8 Điều chỉnh tốc độ động cơ một chiều 6.9 Mô phỏng máy điện một chiều [1-5] Nắm vững Vận dụng 12,13 ,14 CHƯƠNG 7: Các loại động cơ khác 7.1 Động cơ từ trở 7.1.1 Tổng quan 7.1.2 Cấu tạo các loại động cơ từ trở 7.1.3 Dạng sóng dòng cần thiết cho việc tạo moment quay 7.1.4 Các hệ truyền động dùng động cơ từ trở 7.1.5 Động cơ từ trở trong trường hợp mạch từ phi tuyến 7.2 Động cơ công suất nhỏ 7.2.1 Động cơ không đồng bộ một pha 7.2.2 Đặc tính mở máy và vận hành của động cơ không đồng bộ một pha và động cơ đồng bộ 7.2.3 Từ trường quay áp dụng cho động cơ không đồng bộ một pha 7.2.4 Máy điện 2 pha làm việc không đối xứng : phương pháp các thành phần đối xứng 7.2.5 Động cơ vạn năng 7.2.6 Động cơ bước 7.2.7 Động cơ một chiều nam châm vĩnh cửu 7.2.8 Động cơ xoay chiều nam châm vĩnh cửu [1-5] Hiểu, Vận dụng
  • 6.
    Chương I: Cácnguyên lý của quá trình biến đổi điện cơ TB Slide Máy điện I.1 CHƯƠNG 1: CÁC NGUYÊN LÝ CỦA QUÁ TRÌNH BIẾN ĐỔI NĂNG LƯỢNG ĐIỆN CƠ I. Các nguyên lí của quá trình biến đổi năng lượng điện cơ I.1. Lực và moment trong hệ các mạch từ Định luật Lorentz: ( )BvEqF rrrr ×+= Nếu chỉ có từ trường: Bv.qF rrr ×= Mà tIq .= Nên ( )BlIFe rrr ×= Tích có hướng B r I r eF r I r eF r B r I r F r iy y x ix iz z yxz iii rrr ×= 0
  • 7.
    Chương I: Cácnguyên lý của quá trình biến đổi điện cơ TB Slide Máy điện I.2 Biết I=10A, B=0,5T, R=0,1m, l=0,3m, α=30o . Tính lực điện từ Fe tác động lên mỗi thanh dẫn rotor? Tính moment tác động lên 2 thanh dẫn rotor? mechfldelec WWW += mechfld dWdWdt.ei += mà dt d e ψ = và xfW fldmech = ( )xfddWid fldfld +=ψ giả sử ffld=const dxfiddW fldfld −= ψ B r I r eF r B r I r 1eF r α
  • 8.
    Chương I: Cácnguyên lý của quá trình biến đổi điện cơ TB Slide Máy điện I.3 I.2.Cân bằng năng lượng Điện năng = Năng lượng từ trường + Cơ năng + Nhiệt năng fldmechelec dWdWdW =− I.3. Năng lượng và lực từ trong hệ một nguồn kích từ dt d e ψ = ψiddWe = i)x(L=ψ dxfdW fldmech = dxfiddW fldfld −= ψ Với )x(L i ψ =
  • 9.
    Chương I: Cácnguyên lý của quá trình biến đổi điện cơ TB Slide Máy điện I.4 (λ=ψ) Nếu mạch từ tuyến tính, i)x(L=ψ , nên Wfld chỉ phụ thuộc vào ψ và x. ( ) ( ) ( ) ( )0fld x, 0 fld x,0 0 fld x, 0 00fld x,Wdx,0Wdx,Wdx,W 00000 ψψψ ψψ ∫∫∫ +== Mà khi 0=ψ thì 0ffld = nên ( ) 0x,0dWfld = ⇒ ( ) 2 0 00 00 000fld )x(L 1 2 1 d )x(L d)x,(ix,W 00 ψψ ψ ψψψ ψψ === ∫∫ ( ) 2 o o 00fld )x(L 1 2 1 x,W ψψ = Có thể tính năng lượng tích lũy trong từ trường thông qua mật độ khối của năng lượng từ trường theo thể tích V: ∫ ∫         = V B 0 fld dVHdBW 0 Nếu mạch từ tuyến tính, HB µ= : ∫       = V 2fld dV B 2 1 W µ
  • 10.
    Chương I: Cácnguyên lý của quá trình biến đổi điện cơ TB Slide Máy điện I.5 Tính Wfld khi piston dịch chuyển một đoạn x=0,01m? Biết N=1000 vòng, δ=0,002m=g+g, d=0,15m, l=0,1m, I=10A. Với δ µ δA NL o 2 = I.4.Tính toán lực từ: Đồng năng lượng ( ) dxfidx,dW fldfld −= ψψ Wfld tính theo ψ và x. ⇒ ( ) dx x W d W x,dW fldfld fld ∂ ∂ + ∂ ∂ = ψ ψ ψ ⇒ ψ∂ ∂ = fldW i và x W f fld fld ∂ ∂ −= Định nghĩa “đồng năng lượng” W’fld theo i và x: ( ) )x,(Wix,iW fld ' fld ψψ −= ⇒ ( ) ( ) dx x )x,i(W di i )x,i(W )x,(dWidx,idW ' fld ' fld fld ' fld ∂ ∂ + ∂ ∂ =−= ψψ Trong đó: ( ) diidid ψψψ += mà dxfid)x,(dW fldfld +−=− ψψ ⇒ dx x )x,i(W di i )x,i(W dxfdi ' fld ' fld fld ∂ ∂ + ∂ ∂ =+ψ
  • 11.
    Chương I: Cácnguyên lý của quá trình biến đổi điện cơ TB Slide Máy điện I.6 ⇒ i )x,i(W' fld ∂ ∂ =ψ và x )x,i(W f ' fld fld ∂ ∂ = Moment: θ θ ∂ ∂ = ),i(W t ' fld e Với hệ thống tuyến tính, có thể tính đồng năng lượng: 2 00 i 0 0 i 0 000 ' fld i)x(L 2 1 idi)x(Ldi)x,i()x,i(W 00 === ∫∫ψ ⇒ 2' fld i)x(L 2 1 W = Khi mạch từ tuyến tính, ψ và i tỷ lệ: ∫ ∫         = V H 0 ' fld dVBdHW 0 Nếu mạch từ tuyến tính, HB µ= : ∫       = V 2' fld dVH 2 1 W µ Chú ý, theo định nghĩa: iWW ' fldfld ψ=+ , kể cả khi mạch từ không tuyến tính. (λ=ψ)
  • 12.
    Chương I: Cácnguyên lý của quá trình biến đổi điện cơ TB Slide Máy điện I.7 Ví dụ: Tính lực tác động lên piston ffld theo Wfld và W’fld khi piston dịch chuyển một đoạn x=0,01m? Biết N=1000 vòng, δ=0,002m=g+g, d=0,15m, l=0,1m, I=10A. x W f fld fld ∂ ∂ −= ( ) 2 o o 00fld )x(L 1 2 1 x,W ψψ = x )x,i(W f ' fld fld ∂ ∂ = 2' fld i)x(L 2 1 W = Ví dụ: Tính lực tác động lên nắp mạch từ biết N = 100 vòng?
  • 13.
    Baøi giaûng KyõThuaät Ñieän Ñaïi Cöông TCBinh Chöông 3: Maùy bieán aùp 1 Chöông 2: MAÙY BIEÁN AÙP I. Giới thiệu về máy biến áp MBA moät pha: V1ñm, V2ñm = V20, I1ñm, I2ñm, Sñm = V2ñm.I2ñm≈ V1ñm.I1ñm[VA]
  • 14.
    Baøi giaûng KyõThuaät Ñieän Ñaïi Cöông TCBinh Chöông 3: Maùy bieán aùp 2 MBA bapha: Vñm daây, Iñm daây, Sñm = 3 V2ñm.I2ñm≈ 3 V1ñm.I1ñm[VA] Maùy bieán aùp laø thieát bò ñieän töø tónh laøm nhieäm vuï truyeàn taûi hoaëc phaân phoái naêng löôïng. Goàm cuoän daây sô caáp noái nguoàn ñieän vaø cuoän daây caûm öùng noái taûi laø cuoän thöù caáp. Kyù hieäu:
  • 15.
    Baøi giaûng KyõThuaät Ñieän Ñaïi Cöông TCBinh Chöông 3: Maùy bieán aùp 3 II. Chế độ không tải i1 v1 N1 N2 i2 v2 Zt ϕ
  • 16.
    Baøi giaûng KyõThuaät Ñieän Ñaïi Cöông TCBinh Chöông 3: Maùy bieán aùp 4 Ví dụ: Biết Pc =16W, (VI)rms=20VA, V=194Vrms. Tính cos θθθθc, Iϕϕϕϕ, Im?
  • 17.
    Baøi giaûng KyõThuaät Ñieän Ñaïi Cöông TCBinh Chöông 3: Maùy bieán aùp 5 ϕ 1I& 1U& N1 N2 0I2 =& 2E& 2U&1E& III. Ảnh hưởng của dòng sơ cấp; Máy biến áp lý tưởng
  • 18.
    Baøi giaûng KyõThuaät Ñieän Ñaïi Cöông TCBinh Chöông 3: Maùy bieán aùp 6 Ví dụ: Cho mạch tương đương của một máy biến áp lý tưởng như hình sau:
  • 19.
    Baøi giaûng KyõThuaät Ñieän Ñaïi Cöông TCBinh Chöông 3: Maùy bieán aùp 7 Trở kháng cuộn thứ cấp R2+jX2 = 1+j4Ω. N1/N2=5:1. a) Vẽ mạch tương đương quy về sơ cấp. b) Cấp điện áp vào cuộn sơ cấp 120Vrms, nối tắt A-B, tính dòng điện sơ cấp và dòng điện qua điểm ngắn mạch? c) Tính lại nếu R2+jX2 = 0,02+j0,97Ω. IV. Kháng trở và sơ đồ mạch tương đương i1 u1 N1 N2 i2 u2 Zt φ
  • 20.
    Baøi giaûng KyõThuaät Ñieän Ñaïi Cöông TCBinh Chöông 3: Maùy bieán aùp 8
  • 21.
    Baøi giaûng KyõThuaät Ñieän Ñaïi Cöông TCBinh Chöông 3: Maùy bieán aùp 9 Ví dụ: Cho máy biến áp: 2400:240V, 50Hz. R1+jX1 = 0,72+j0,92Ω R2+jX2 = 0,007+j0,009Ω Rc//jXm = 6,32+j43,7Ω Vẽ mạch tương đương a) Quy về cao áp? b) Quy về hạ áp? Nếu cấp điện 2400V vào cuộn sơ cấp, tính dòng điện qua nhánh từ hóa? V. Các yếu tố kỹ thuật trong phân tích máy biến áp
  • 22.
    Baøi giaûng KyõThuaät Ñieän Ñaïi Cöông TCBinh Chöông 3: Maùy bieán aùp 10 Ví dụ: Cho máy biến áp: 2400:240V, 50Hz. R1+jX1 = 0,72+j0,92Ω R2+jX2 = 0,007+j0,009Ω Rc//jXm = 6,32+j43,7Ω Nếu cấp điện 2400V vào cuộn sơ cấp: a)Vẽ mạch tương đương quy về sơ cấp? b)Tính điện áp thứ cấp khi hở mạch (trị phức)? c)Vẽ mạch tương đương gần đúng, tính Req và Xeq? Ví dụ: Cho máy biến áp: 50-kVA, 2400:240V, 50Hz. R1+jX1 = 0,72+j0,92Ω R2+jX2 = 0,007+j0,009Ω Rc//jXm = 6,32+j43,7Ω Trở kháng đường dây trước biến thế là Zs = 0,30+j1,60Ω. Biết điện áp ở trước đường dây cấp nguồn cho biến thế là 2400V. Biến thế nối tải định mức có hệ số công suất bằng 0,8 (chậm pha). Bỏ qua sụt áp do nhánh từ hóa trên biến thế và đường dây. Tính điện áp trên cuộn dây thứ cấp? /10 Ví dụ: Tính lại câu trên nếu tải có cosθθθθ=0,8 (nhanh pha)?
  • 23.
    Baøi giaûng KyõThuaät Ñieän Ñaïi Cöông TCBinh Chöông 3: Maùy bieán aùp 11 Thí nghiệm ngắn mạch: Để máy biến áp có Un nhỏ thì phải như thế nào? Isc khi đó ra sao? Thí nghiệm hở mạch: Thí nghiệm không tải có thể cấp điện áp định mức cho phía cao áp hay hạ áp sao cho thuận tiện nhất.
  • 24.
    Baøi giaûng KyõThuaät Ñieän Ñaïi Cöông TCBinh Chöông 3: Maùy bieán aùp 12 Ví dụ: Cho máy biến áp: 50kVA, 2400:240V, 50Hz. Thí nghiệm ngắn mạch: với điện áp (sơ cấp) 48V, đo được dòng điện ngắn mạch (sơ cấp) là 20,8A và công suất ngắn mạch là 617W. Thí nghiệm không tải: điện áp hở mạch (thứ cấp) là 240V, dòng không tải (sơ cấp) là 5,41A, công suất hở mạch là 186W. a) Tính hiệu suất của biến thế khi làm việc đầy tải, tải có hệ số công suất 0,8 (chậm pha)? b) Tính các thông số của máy biến áp (quy về sơ cấp)? c) Tính Độ ổn định điện áp ở định mức? 100. V VV regulationvoltage% load2 load2load_no2 − = d) Tính hiệu suất của biến thế khi làm việc ở xx% tải, biết tải có hệ số công suất 0,8 (chậm pha) theo 2 cách? Với xx = (MSSV.499T0279+100)/2 Biến áp 3 pha, ∆/Y, 15kV/380V.
  • 25.
    Baøi giaûng KyõThuaät Ñieän Ñaïi Cöông TCBinh Chöông 3: Maùy bieán aùp 13 Ví dụ: Cho máy biến áp: 50kVA, 2400:240V, 50Hz. Tính lại độ ổn định điện áp cho ví dụ trên khi đầy tải 50kW với tải có hệ số công suất đơn vị? Giaûn ñoà naêng löôïng cuûa maùy bieán aùp Heä soá taûi cuûa maùy bieán aùp dm1 1 dm2 2 I I I I ≈=β Khi β = 1 - taûi ñònh möùc; β < 1 - non taûi; β > 1 - quaù taûi. Hieäu suaát cuûa maùy bieán aùp 1 2 P P =η hoaëc 100 P P % 1 2 =η S1=P1+ jQ1 Sđt=Pđt+jQđt S2= P2+jQ2 pCu2 + jq2pCu1+ jq1 pFe+jqm
  • 26.
    Baøi giaûng KyõThuaät Ñieän Ñaïi Cöông TCBinh Chöông 3: Maùy bieán aùp 14 0 -U’ 2 ReqĐ1 a b c θ U1dm XeqĐ1ZeqĐ1 Đ’ 2 = -Đ1 CuFe2 2 1 2 PPP P P P ++ ==η P2 = U2I2 cosθ = β.Sñmcosθ PFe ≈ P0 (TN khoâng taûi vôùi: U1ñm) PCu = I1 2 R1 + I2 2 R2 = I1 2 (R1+R’ 2) = I1 2 Req = β2 Pn. (TN ngaén maïch vôùi: I1ñm) ⇒ n 2 0dm dm P.Pcos.S. cos.S. βθβ θβ η ++ = neáu cosθ khoâng ñoåi thì hieäu suaát seõ cöïc ñaïi khi: β η d d = 0 ⇔ β2 .Pn = P0 Heä soá taûi öùng vôùi hieäu suaát cöïc ñaïi laø: β = P0 Pn Với Po là công suất không tải ở điện áp định mức Và Pn là công suất ngắn mạch ở dòng điện định mức. Ñoä thay ñoåi ñieän aùp cuûa maùy bieán aùp U1 = Uñm = const U2 = U20 = U2ñm Khi maùy bieán aùp ôû cheá ñoä taûi thì U2 < U2ñm vaø phuï thuoäc vaøo taûi do ñieän aùp rôi treân daây quaán sô caáp vaø thöù caáp. Ñoä bieán thieân ñieän aùp thöù caáp ∆U2 laø: ∆U2 = U2ñm – U2 Ñoä bieán thieân ñieän aùp thöù caáp phaàn traêm: 100. U UU %U dm2 2dm2 2 − =∆ Hay 100. U UU 100. U.k U.kU.k %U dm1 ' 2dm1 dm2 2dm2 2 − = − =∆ ( ) ( )θθβ θθβ sin%.Ucos%.U U sin.Ucos.U %U eqxeqr dm1 eqxeqr 2 += + =∆ Löu yù: sin θ > 0 khi doøng ñieän chaäm pha (taûi caûm) sin θ < 0 khi doøng ñieän sôùm pha (taûi dung) 100 U IX 100 U U %U%U 100 U IR 100 U U %U%U IZUUU IXUU IRUU dm1 dm1eq dm1 eqx eqxnx dm1 dm1eq dm1 eqr eqrnr dm1eqeqscn dm1eqeqxnx dm1eqeqrnr === === === == ==
  • 27.
    Baøi giaûng KyõThuaät Ñieän Ñaïi Cöông TCBinh Chöông 3: Maùy bieán aùp 15 ⇒ ∆U2% phuï thuoäc vaøo heä soá taûi vaø tính chaát cuûa taûi. Töø ∆U2% ta tính ñöôïc ñieän aùp thöù caáùp U2 theo coâng thöùc:       ∆ −=∆−= 100 %U 1UUUU 2 dm22dm22 Ví dụ: Cho máy biến áp: 50kVA, 2400:240V, 50Hz. Thí nghiệm ngắn mạch: với điện áp (sơ cấp) 48V, đo được dòng điện ngắn mạch (sơ cấp) là 20,8A và công suất ngắn mạch là 617W. Thí nghiệm không tải: điện áp hở mạch (thứ cấp) là 240V, dòng không tải (sơ cấp) là 5,41A, công suất hở mạch là 186W. _ Tính hiệu suất và độ thay đổi điện áp của biến thế khi làm việc: + 100% tải, tải có hệ số công suất 0,8 (nhanh pha)? + 50% tải, tải có hệ số công suất 0,8 (nhanh pha)? _ Tính hiệu suất cực đại, tải và hệ số tải khi đó, biết tải có hệ số công suất 0,8 (nhanh pha)? VI. Máy biết áp từ ngẫu; Máy biến áp nhiều cuộn dây VI.1. Máy biết áp từ ngẫu Không cách ly. Từ tản nhỏ, ít tổn hao, dòng không tải nhỏ, rẻ tiền, có thể làm ổn áp. Tỷ lệ xấp xỉ 1:1. Ví dụ: Cho máy biến áp 2 cuộn dây: 50kVA, 2400:240V, 50Hz. U2 U20 R L C β
  • 28.
    Baøi giaûng KyõThuaät Ñieän Ñaïi Cöông TCBinh Chöông 3: Maùy bieán aùp 16 Biến áp trên làm biến áp từ ngẫu, với ab làm cuộn 240V và bc làm cuộn 2400V. a. Tính điện áp ab và ac? b. Tính công suất biểu kiến định mức [kVA] và dòng điện định mức? c. Tính hiệu suất khi cấp điện cho tải định mức có HSCS=0,8 chậm pha? Biết R1+jX1 = 0,72+j0,92Ω R2+jX2 = 0,007+j0,009Ω Rc//jXm = 6,32+j43,7Ω Ví dụ: Cho máy biến áp: 450kVA, 460:7970V với hiệu suất 98,7% khi cấp điện cho tải định mức có HSCS=1. Nếu dùng biến áp trên là biến áp từ ngẫu 7970:8430V. Tính công suất biểu kiến định mức [kVA], dòng điện định mức và hiệu suất khi cấp điện cho tải định mức có HSCS=1? VI.2. Máy biến áp nhiều cuộn dây
  • 29.
    Baøi giaûng KyõThuaät Ñieän Ñaïi Cöông TCBinh Chöông 3: Maùy bieán aùp 17 T1 TRANSFORMER 3 6 5 1 18 17 12 15 14 11 7 8 9 13 10 16 VII. Máy biến áp ba pha Tỷ số máy biến áp 1 2 2 1 2 1 I I V V N N ak ≈≈==
  • 30.
    Baøi giaûng KyõThuaät Ñieän Ñaïi Cöông TCBinh Chöông 3: Maùy bieán aùp 18 Y/Y Có thể thay thế cuộn ∆ bằng cuộn Y với điều kiện:
  • 31.
    Baøi giaûng KyõThuaät Ñieän Ñaïi Cöông TCBinh Chöông 3: Maùy bieán aùp 19 I03A = I03m sin3(ωt) I03B = I03m sin3(ωt – 2π/3) = I03m sin3(ωt) I03C = I03m sin3(ωt + 2π/3) = I03m sin3(ωt) Hài bậc 3 của ba pha cùng pha.
  • 32.
    Baøi giaûng KyõThuaät Ñieän Ñaïi Cöông TCBinh Chöông 3: Maùy bieán aùp 20 a) Máy biến áp ba pha nối Y/Y riêng biệt, không tồn tại dòng bậc ba phía sơ cấp =>từ thông vạt đầu do hài bậc ba=> điện áp thứ cấp bị nhọn đầu => hạn chế sử dụng. b) Máy biến áp ba pha 3 trụ nối Y/Y, không tồn tại dòng bậc ba phía sơ cấp, nhưng từ thông cũng không có hài bậc ba do không thể khép mạch từ trụ này qua trụ khác, song có thể khép mạch ra không khí hay dầu biến áp, gây tổn hao, nên cũng không dùng cho biến thế công suất lớn. c) Máy biến áp ba pha nối ∆/Y, tồn tại dòng bậc ba khép kín phía sơ cấp => dòng điện sơ cấp nhọn đầu =>từ thông dạng sin=> điện áp thứ cấp dạng sin chuẩn => thường sử dụng. d) Máy biến áp ba pha nối Y/∆, không tồn tại dòng bậc ba khép kín phía sơ cấp =>từ thông hài bậc ba Φ3Y=> từ thông bậc ba tạo điện áp cảm ứng thứ cấp e23=> hạn chế sử dụng chậm pha 90o so với Φ3Y. e23 tạo ra i23 khép kín phía thứ cấp chậm pha hơn 90o , sinh ra từ thông bậc ba Φ3∆, ngược pha và triệt tiêu với Φ3Y. Φ3 = Φ3Y + Φ3∆ ≈ 0. => từ thông không bị vạt đầu => điện áp thứ cấp dạng sin chuẩn=> thường sử dụng.
  • 33.
    Baøi giaûng KyõThuaät Ñieän Ñaïi Cöông TCBinh Chöông 3: Maùy bieán aùp 21
  • 34.
    Baøi giaûng KyõThuaät Ñieän Ñaïi Cöông TCBinh Chöông 3: Maùy bieán aùp 22 Ví dụ: Cho ba máy biến một pha, 50kVA, 2400:240V, 50Hz, R1+jX1 = 0,72+j0,92Ω R2+jX2 = 0,007+j0,009Ω Rc//jXm = 6,32+j43,7Ω nối Y/∆ thành biến áp ba pha 150kVA. Trở kháng đường dây trước biến thế là 0,15+j100Ω/pha. Điện áp dây cấp vào sơ cấp biến áp là 4160V. Trở kháng đường dây trước sau biến thế là 0,0005+j0,0020Ω/pha. Tính điện áp dây trên tải khi biến áp làm việc với dòng điện định mức và tải có HSCS=0,8 chậm pha. Ví dụ: Tính lại ví dụ trên nếu biến thế nối Y/Y. Ví dụ 2.9: Cho biến thế như ví dụ trên, nối ∆/∆, được cấp điện áp dây 2400V thông qua điện cảm 0,8Ω. Biến thế này kết nối tới cuộn thứ cấp biến thế khác nối Y/∆ 500kVA, 24kV:2400V. Tổng trở tương đương quy về phía 2400V của biến thế này là 0,17+j0,92Ω/pha. Điện áp cấp vào cuộn sơ cấp của biến thế trước là 24kV. Nếu xảy ra ngắn mạch ở phía 240V. Tính dòng điện xác lập của sơ cấp và thứ cấp của 2 biến thế. VIII. Maùy bieán aùp laøm vieäc song song Ñieàu kieän để máy biến áp làm việc song song: • Cùng tổ đấu dây. • Cùng tỷ số máy biến áp (để tránh dòng cân bằng trong các MBA – SV xem tài liệu tham khảo). • Cùng điện áp ngắn mạch (để chia tải đều cho 2 MBA). Có Z = Zeq(1) // Zeq(2). Và ZIU =∆ Mà )1(eq )1( Z U I ∆ = và )2(eq )2( Z U I ∆ = Nên )1(n)1(sc)1(eq)1(đm)1(đm )1( )1( U U U U ZI U I I ∆ = ∆ = ∆ ==β ⇒ %U %U U U )1(sc )2(sc )1(sc )2(sc )2( )1( == β β MBA naøo coù ñieän aùp ngaén maïch nhoû hôn seõ chòu taûi lôùn hôn. Req(2) Xeq(2) Z’ 1U& ' 2U& Đ(2) Req(1) Xeq(1) Đ(1) Đ
  • 35.
    Baøi giaûng KyõThuaät Ñieän Ñaïi Cöông TCBinh Chöông 3: Maùy bieán aùp 23 IX. Máy biến điện áp và máy biến dòng Máy biến áp (TU):
  • 36.
    Baøi giaûng KyõThuaät Ñieän Ñaïi Cöông TCBinh Chöông 3: Maùy bieán aùp 24 A x U1 U2 A X (Bieán aùp laøm vieäc ôû cheá ñoä hôû maïch) Toång trôû cuûa cuoän daây sô caáp Z1 cuûa maùy bieán aùp caøng nhoû caøng chính xaùc. Giaûm goùc leäch pha baèng caùch giaûm R1. Máy biến dòng (CT, TI): I2 I1 (Bieán aùp laøm vieäc ôû cheá ñoä ngaén maïch) Toång trôû maïch töø Zm cuûa bieán aùp caøng lôùn (goùc leäch pha caøng nhoû) caøng chính xaùc. Toång trôû cuûa caùc cuoän daây Zn cuûa maùy bieán aùp caøng nhoû caøng chính xaùc. Giaûm goùc leäch pha baèng caùch taêng Zm. Ví dụ 2.10: Biến áp 2400:120V, 60Hz, có thông số quy về 2400V là: R1+jX1 = 128+j143Ω R’2+jX’2 = 141+j164Ω Rc//jXm = j163kΩ a) Cấp vào 2400V, ngõ ra hở mạch, tính biên độ và góc lệch pha của điện áp thứ cấp. b) Để sai số biên độ điện áp nhỏ hơn 0,5%. Tính Zb=Rb nhỏ nhất? Φ& Đ0 δv 2U&−1E&− 1U& 22 EU && = Đ2 -Đ ’ 2 Đ1 δi
  • 37.
    Baøi giaûng KyõThuaät Ñieän Ñaïi Cöông TCBinh Chöông 3: Maùy bieán aùp 25 c) Để sai số góc pha điện áp nhỏ hơn 1 độ. Tính Zb=Rb nhỏ nhất? Bài tập 2.8: Tính lại câu trên nếu Zb=jXb. Ví dụ 2.11: Biến dòng 800:5A, 60Hz, có thông số quy về 800A là: R1+jX1 = 10,3+j44,8µΩ R’2+jX’2 = 9,6+j54,3µΩ Rc//jXm = j17,7mΩ Cấp vào 800A, tải Rb=2,5Ω. Tính biên độ và góc pha của dòng điện hạ thế? Bài tập 2.9: Thông số như câu trên: tính giá trị Zb=jXb lớn nhất sao cho khi ngõ vào 800A và dòng thứ cấp lớn hơn 4,95A (sai số 1%). Bài tập 1: Máy biến áp 1 pha có công suất định mức Sđm = 5 kVA, tần số định mức fđm = 50 Hz, điện áp định mức U1đm/U2đm = 220/110 V. Có các thông số R1=0,10 Ω, X1=0,50 Ω, ' 2R =0,12 Ω, ' 2X =0,40 Ω. Khi máy biến áp được nối với tải định mức, cosϕ2 = 0,8 (tải cảm). a. Tính độ thay đổi điện áp ∆U2% b. Tính điện áp ngõ ra U2 Bài tập 2: Máy biến áp 1 pha có công suất định mức Sđm = 5 kVA, tần số định mức fđm = 50 Hz, điện áp định mức U1đm/U2đm = 220/110 V. Mạch tương đương hình Γ (như hình vẽ) có các thông số Rc=600Ω, Xm=50Ω, R1=0,10 Ω, X1=0,50 Ω, ' 2R =0,12 Ω, ' 2X =0,40 Ω. Khi máy biến áp được nối với tải định mức, cosϕ2 = 0,8 (tải cảm). a. Tính độ thay đổi điện áp ∆U2% b. Tính điện áp ngõ ra U2 c. Tính dòng điện I1 khi máy biến áp đạt hiệu suất cực đại ηmax, tính ηmax. d. Tính công suất biểu kiến của tải khi máy biến áp đạt hiệu suất cực đại. R1 R’ 2 X’ 2X1 Z’ L' 2U& Xm Rc1U&
  • 38.
    Baøi giaûng KyõThuaät Ñieän Ñaïi Cöông TCBinh Chöông 3: Maùy bieán aùp 26 Bài tập 3: Máy biến áp 3 pha Y/Y-12, 180kVA, U1/U2=6000/400V, Io%=6, Po=1000W, Un%=5,5, Pn=4000W. a. Vẽ mạch tương đương của MBA? Tính điện trở của một cuộn dây thứ cấp? b. Tính hiệu suất ở định mức (với tải có HSCS=1)? c. Khi MBA làm việc ở 70% tải có HSCS=0,8 nhanh pha. Tính hiệu suất, độ biến thiên và độ thay đổi điện áp? d. Tính hiệu suất cực đại của MBA khi cấp điện cho tải có HSCS=0,8 chậm pha? Bài tập 4: Cho MBA 30kVA, 6000/230V, điện trở R1=10Ω và R2=0,016Ω. Điện kháng MBA nhìn từ phía sơ cấp là 34Ω. a. Điện áp ngắn mạch? b. Tính dòng điện Isc khi biến áp bị ngắn mạch ngõ ra? Khi MBA mang tải có HSCS=0,8 chậm pha. Tính c. Hiệu suất cực đại? d. Độ thay đổi điện áp? e. Điện áp trên tải? Bài tập 5: MBA 12KVA, 220/440V, 50Hz. TN ko tải: 220V, 2A, 165W. TN ngắn mạch thứ cấp: 12V, 15A, 60W. a. Vẽ mạch tương đương quy về sơ cấp. b. Dùng mạch tương đương (chính xác) tính điện áp trên tải có hệ số tải 70% và HSCS=0,8 chậm pha.Tính hiệu suất MBA khi đó? Bài tập 6: MBA 125KVA, 2000/400V, 50Hz. TN ko tải: 2000V, 1A, 50W. TN ngắn mạch thứ cấp: 13V, 200A, 750W. MBA cấp điện cho tải có HSCS=0,8 chậm pha. a. Tính hiệu suất định mức của MBA? b. Tính hiệu suất cực đại của MBA. Biết hệ số tải 70%: c. Tính điện áp trên tải? d. Tính hiệu suất của MBA?
  • 39.
    Baøi giaûng KyõThuaät Ñieän Ñaïi Cöông TCBinh Chöông 3: Maùy bieán aùp 27 Bài tập 7: Cho MBA 1 pha, 8,66kV/220V, 50Hz, a) Tính các thông số của máy biến áp (quy về sơ cấp)? b) Tính độ ổn định điện áp ở định mức? 100. V VV regulationvoltage% load2 load2load_no2 − = c) MBA cấp điện cho tải có hệ số công suất bằng 1. Tính hiệu suất ở nửa tải và đầy tải; và tính hiệu suất cực đại? MBA cấp điện cho tải có HSCS=0,8 chậm pha và có hệ số tải 70%: d) Tính hiệu suất của biến áp? e) Tính độ thay đổi điện áp và điện áp trên tải? Bài tập 8: Cho MBA 3 pha, ∆/Y, 15kV/380V, 50Hz. Tính như câu trên!
  • 40.
    Bài giảng MáyĐiện TB Hình vẽ Chương 4: Máy điện không đồng bộ 1 Chương 4: MÁY ĐIỆN KHÔNG ĐỒNG BỘ I. Giới thiệu máy điện quay AC I.1. Máy điện không đồng bộ
  • 41.
    Bài giảng MáyĐiện TB Hình vẽ Chương 4: Máy điện không đồng bộ 2 I.2. Sức từ động của dây quấn rải Với dòng điện một chiều cấp vào cuộn dây, sức từ động trên khe hở kk là: 2 Ni Fa = Họa tần bậc 1 của sức từ động theo không gian: θ π cos 2 Ni4 F 1a       = Dây quấn rải, có họa tần bậc 1 của sức từ động: ( )θ π cos 2 iN k 4 F aph dq1a       = Dây quấn rải, nhiều cặp cực=P, có họa tần bậc 1: ( )θ π Pcos P2 iN k 4 F aph dq1a       =
  • 42.
    Bài giảng MáyĐiện TB Hình vẽ Chương 4: Máy điện không đồng bộ 3 Ví dụ 4.1: Cho máy điện như hình trên, stator pha a có: 2 cực 8 vòng/khe, mang dòng điện ia. Có tất cả 24 khe quấn dây, trong đó pha a ở vị trí 8 khe: θa=67,5o , 82,5o , 97,5o , 112,5o và =-112,5o , -97,5o , -82,5o , -67,5o , a) Viết phương trình tính sức từ động theo trục của cuộn dây quấn theo khe 112,5o và -67,5o ? b) Viết phương trình tính sức từ động theo trục của cuộn dây quấn theo khe -112,5o và 67,5o ? c) Viết phương trình tính vector không gian của sức từ động tổng theo trục của pha a? d) Tính hệ số ghép dây quấn kdq? e) Tính lại kdq nếu 4 khe bên ngoài biên của pha a chỉ có 6 vòng dây? Sức từ động phía rotor: ( )r rr r1r Pcos P2 iN k 4 F θ π       =
  • 43.
    Bài giảng MáyĐiện TB Hình vẽ Chương 4: Máy điện không đồng bộ 4 I.3. Từ trường trong máy điện quay δ F g F H == ( )θ δπ Pcos P2 iN k 4 H aph dq1a       = Ví dụ 4.2a: Cho máy điện có rotor 4 cực, dây quấn rải, 263 vòng/pha, hệ số dây quấn 0,935, khe hở kk 0,7mm. Tính biện độ dòng điện cần cung cấp để tạo ra biên độ từ trường 1,6T trong khe hở kk? Ví dụ 4.2b: Cho máy điện có rotor 2 cực, dây quấn rải, 830 vòng/pha, khe hở kk 2,2cm. Từ trường được tạo ra bởi dòng điện có biện độ 47A, và từ trường đo được trong khe hở kk là 1,35T? Tính hệ số dây quấn rotor kr?
  • 44.
    Bài giảng MáyĐiện TB Hình vẽ Chương 4: Máy điện không đồng bộ 5 I.4. Sức từ động trong máy điện xoay chiều ( )θ π Pcos P2 iN k 4 F aph dq1a       = Nếu cấp vào cuộn dây dòng điện xoay chiều: ia=Imcos(ωet), sức từ động theo không gian và thời gian: ( ) ( )tcosPcosFF em1a ωθ= Với P2 IN k 4 F mph dqm π = Với θθ Pe = ( ) ( )tcoscosFF eem1a ωθ= ( ) ( )[ ]tcostcos 2 F F eeee m 1a ωθωθ ++−= ( )tcosF 2 1 F eem1a ωθ −= + ( )tcosF 2 1 F eem1a ωθ += − là 2 vector quay ngược chiều nhau với tốc độ ωe theo thời gian.
  • 45.
    Bài giảng MáyĐiện TB Hình vẽ Chương 4: Máy điện không đồng bộ 6 Nhiều pha: ( )tcosF 2 1 F eem1a ωθ −= + ( )tcosF 2 1 F eem1a ωθ += − ( )tcosF 2 1 F eem1b ωθ −= + ( )0 eem1b 120tcosF 2 1 F ++= − ωθ ( )tcosF 2 1 F eem1c ωθ −= + ( )0 eem1c 120tcosF 2 1 F −+= − ωθ ⇒ ( ) ( )tcosF 2 3 t,F eem ωθθ −= hay ( ) ( )tPPcosF 2 3 t,F m ωθθ −= Sức từ động tổng quay với vận tốc góc: P e m ω ωω == Vận tốc quay của từ trường: P f60 P f2 2 60 2 60n m === π ππ ω (vòng/phút=r/min=RPM) Ví dụ 4.3: Tính tốc độ quay (vòng/phút) của từ trường cho máy điện 3 pha 50Hz có số cáp cực là 1, 2, 3? ia(t) =Im cos(ωet) ib(t) = Im cos(ωet – 1200 ) ic(t) = Im cos(ωet + 1200 )
  • 46.
    Bài giảng MáyĐiện TB Hình vẽ Chương 4: Máy điện không đồng bộ 7 Phân tích hình học: I.5. Sức điện động cảm ứng trong máy điện xoay chiều ( ) ( )rmr rr f 0 0 PcosBPcos P2 iN k 4 HB θθ πδ µ µ =      == ( ) lrB P 2 rdPcosBl mrr P/2 P/2 m ==Φ ∫− θθ π π ( )θλ PcosNk phdqa Φ= ( )tPcosNk phdqa ωλ Φ=
  • 47.
    Bài giảng MáyĐiện TB Hình vẽ Chương 4: Máy điện không đồng bộ 8 ( )tcosNk ephdqa ωλ Φ= ( )tsinNk dt d e eephdq a ωω λ Φ−== Φ=Φ= phdqephdqm Nk.f2NkE πω Φ≈Φ= phdqphdq Nk.f44,4fNk2E π Ví dụ 4.4: Máy phát 3 pha, nối Y, 50Hz: Rotor quay 3000RPM, dòng kích từ rotor If = 720Adc. Tính a) Sức từ động cực đại Fm? b) Cường độ từ trường Bm trong khe hở kk? c) Từ thông Φm dưới mỗi cực từ? d) Sức điện động cảm ứng hở mạch phía stator? I.5. Hiện tượng bảo hòa mạch từ và từ thông tản Phần này sinh viên tự đọc tài liệu. Hiện tượng bảo hòa mạch từ
  • 48.
    Bài giảng MáyĐiện TB Hình vẽ Chương 4: Máy điện không đồng bộ 9 Từ thông tản
  • 49.
    Bài giảng MáyĐiện TB Hình vẽ Chương 4: Máy điện không đồng bộ 10 II. Nguyên lý hoạt động máy điện không đồng bộ (KĐB) 3 pha II.1. Cấu tạo Ñoäng cô KÑB: Toác ñoä rotor # toác ñoä töø tröôøng quay. Deã saûn xuaát, giaù thaønh reû, deã vaän haønh, khoâng baûo trì. > 2HP (1500W) hay 3HP (2250W): 3 pha. Stator: ba cuoän daây noái Y hay ∆∆∆∆, laù theùp kyõ thuaät ñieän.
  • 50.
    Bài giảng MáyĐiện TB Hình vẽ Chương 4: Máy điện không đồng bộ 11 Stator cực từ ẩn Stator cực từ lồi A B C N A N
  • 51.
    Bài giảng MáyĐiện TB Hình vẽ Chương 4: Máy điện không đồng bộ 12 Rotor: raõnh nghieâng (traùnh dao ñoäng, khoùa raêng stator) Loàng soùc (ñôn giaûn, deã cheá taïo, beàn, khoâng baûo trì, ...) Daây quaán (luoân ñaáu Y, coù vaønh tröôït, choåi than ñeå môû maùy. Thông thường số cực của rotor bằng với số cực stator ) Rotor dây quấn Rotor lồng sóc Force Brotating Ir Ring Rotor bar ω
  • 52.
    Bài giảng MáyĐiện TB Hình vẽ Chương 4: Máy điện không đồng bộ 13
  • 53.
    Bài giảng MáyĐiện TB Hình vẽ Chương 4: Máy điện không đồng bộ 14
  • 54.
    Bài giảng MáyĐiện TB Hình vẽ Chương 4: Máy điện không đồng bộ 15 II.2. Từ trường quay Xeùt khi p = 2, moãi chu kyø (3600 ) thì töø tröôøng quay ½ voøng. A N
  • 55.
    Bài giảng MáyĐiện TB Hình vẽ Chương 4: Máy điện không đồng bộ 16 A B C N
  • 56.
    Bài giảng MáyĐiện TB Hình vẽ Chương 4: Máy điện không đồng bộ 17
  • 57.
    Bài giảng MáyĐiện TB Hình vẽ Chương 4: Máy điện không đồng bộ 18 Stator 3 pha, 4 cực, mối pha có 2 cuộn dây.
  • 58.
    Bài giảng MáyĐiện TB Hình vẽ Chương 4: Máy điện không đồng bộ 19 II.3. Nguyên lý làm việc isa (t)= Im. cos(ωet) isb (t)= Im. cos(ωet – 120o ) isc (t)= Im. cos(ωet – 240o ) [ ]000 240j sc 120j sb 0j sas e)t(ie)t(ie)t(i 3 2 )t(i ++= r P f60 P f2 2 60 2 60n s s === π ππ ω P f60 ns = (voøng/phuùt) P f2 s π ω = Định luật Bio-Savart: Định luật Faraday: ( )BlIFe rrr ×= ( )l.Bve rrr ×= Re Im β α A B C o 0j e o 120j e o 240j e sai r 3 2 sbi r 3 2 sci r 3 2si r usa ωs rotor stator Pha A Pha B Pha Cisc isa isb
  • 59.
    Bài giảng MáyĐiện TB Hình vẽ Chương 4: Máy điện không đồng bộ 20 P f60 ns = (voøng/phuùt) P f2 s π ω = B r v r e r B r I r F r Force Brotating Ir Ring Rotor bar ω
  • 60.
    Bài giảng MáyĐiện TB Hình vẽ Chương 4: Máy điện không đồng bộ 21 A B C N
  • 61.
    Bài giảng MáyĐiện TB Hình vẽ Chương 4: Máy điện không đồng bộ 22 Số cực của rotor dây quấn bằng với số cực của stator. Dây quấn rotor nối Y. Nối thêm biến trở cho ba cuộn dây rotor để mở máy hay điều khiển tốc độ.
  • 62.
    Bài giảng MáyĐiện TB Hình vẽ Chương 4: Máy điện không đồng bộ 23 Khi töø tröôøng quay sinh doøng ñieän caûm öùng trong thanh daãn (cuoän daây) rotor. Doøng ñieän trong töø tröôøng sinh ra löïc töø keùo rotor quay theo quy taéc baøn tay traùi. Toác ñoä rotor n < n1 ñeå coøn toàn taïi doøng ñieän caûm öùng: khoâng ñoàng boä. Ñoä tröôït: ss s n n 1 n nn s −= − = (< 10%) Hay ( ) sns1n −= ( ) sm s1 ωω −= Vôùi p =1: ns = f (voøng /sec) Toác ñoä tröôït nr = ns – n = sns fr = sf (Hz) (ñaây chính laø taàn soá doøng ñieän beân trong rotor) Moment: rr sinKIT δ−= Ir là dòng điện rotor δr là góc hợp bởi sức từ động rotor và sức từ động khe hở không khí. II.4. Dòng điện rotor ( )r o r 90 φδ +−= với rφ là hệ số công suất của rotor.
  • 63.
    Bài giảng MáyĐiện TB Hình vẽ Chương 4: Máy điện không đồng bộ 24 II.5. Thông số động cơ KĐB Coâng suaát cô höõu ích treân truïc Pñm (W, kW, HP ≈ 745.7W) Ñieän aùp daây stator U1ñm (V, kV) Doøng ñieän daây stator I1ñm (A) Taàn soá doøng ñieän stator f (Hz) Toác ñoä quay roâtor nñm (voøng/phuùt) Heä soá coâng suaát cosθñm Hieäu suaát ηñm. Cấp chịu nhiệt. Cấp bảo vệ (IP).
  • 64.
    Bài giảng MáyĐiện TB Hình vẽ Chương 4: Máy điện không đồng bộ 25 III. Mạch tương đương Ir = Irs do sức từ động không đổi khi rotor quay hay đứng yên. sI& jXs sE&sU& Stator Rr jXr rE& Rotor đứng yên lock_rI& Rs sI& jXs sE& sU& Stator với dòng từ hoá mI& jXm s Rk r 2 jk2 Xr rEk& k Ir & Rotor quy về stator Rs sI& jXs sE& sU& Stator với dòng từ hoá mI& jXm s R' r jX’r ' rE& ' rI& Rotor quy về stator Rs sI& jXs sE& sU& Stator với dòng từ hoá mI& jXm s Rr jXr rE& rI& Rotor quay quy về đứng yên Rs sI& jXs sE& sU& Stator với dòng từ hoá mI& jXm Rr jsXr rI& Rotor quay s rE&
  • 65.
    Bài giảng MáyĐiện TB Hình vẽ Chương 4: Máy điện không đồng bộ 26 ' r ' r ' r R s s1 R s R       − += Rs jXs sE& sU& Stator với dòng từ hoá mI& jXm s R' r jX’r ' rE& ' rI& Rotor quy về stator sI& Rs sI& jXs sU& Mạch tương đương động cơ KĐB với dòng từ hoá mI& jXm jX’r' rI& ' rR ' rR s s1− Rs sI& jXs sU& ' rI& ' rR jX’r Mạch tương đương động cơ KĐB với tổn hao sắt từ ' rR s s1− Rc jXm mI& cI& ϕI& Rs sI& jXs sE& sU& Stator với dòng từ hoá mI& jXm s R' r jX’r ' rE& ' rI& Rotor quy về stator
  • 66.
    Bài giảng MáyĐiện TB Hình vẽ Chương 4: Máy điện không đồng bộ 27 IV. Phân bố công suất và hiệu suất V. Thí nghiệm không tải, thí nghiệm ngắn mạch V.1. Thí nghiệm ngắn mạch PCus/3sI& ' rI& PCur/3 Phân bố công suất trong ĐC KĐB 3 pha Pm/3 Pc/3 mI& cI&Pin/3 Pgap/3 Pthcơ + Pout Pin Pgap=Pđt Pout PCurPCus Pc Pthcơ Pm= Pcơ I& Rs sI& jXs sU& ' rI& ' rR jX’r Maïch töông ñöông dạng hình ΓΓΓΓ ' rR s s1− Rc jXm mI& cI& Rs sI& jXs Rm mI& sU& jxm ' rI& ' rR jX’r Mạch tương đương của động cơ KĐB ' rR s s1− Rs jXs sU& sI& s R' r jX’r Mạch tương đương đơn giản của động cơ KĐB
  • 67.
    Bài giảng MáyĐiện TB Hình vẽ Chương 4: Máy điện không đồng bộ 28 Phân bố điện kháng tản trong các loại động cơ không đồng bộ: Loại Động cơ Mô tả Tỷ lệ giữa Xs và Xr ’ Xs X’ r A Momen khởi động bình thường Dòng điện khởi động bình thường 0,5 0,5 B Momen khởi động bình thường Dòng điện khởi động thấp 0,4 0,6 C Momen khởi động cao Dòng điện khởi động thấp 0,3 0,7 D Momen khởi động cao Độ trượt cao 0,5 0,5 Rotor dây quấn Tùy thuộc vào sự thay đổi của điện trở rotor 0,5 0,5 Theo tiêu chuẩn IEEE 112 V.2. Thí nghiệm không tải Rs sI& jXs sU& ϕII' r && >> ' rR jX’r Ngắn mạch: n=0: s=1, Pcơ = 0 Rc jXm mI& cI& ϕI& nU& nI& nR jXn Ngắn mạch: n=0: s=1, Pcơ = 0 Pn/3 Pn/3 Rs jXs nU& nI& ' rR jX’r Ngắn mạch: n=0: s=1, Pcơ = 0
  • 68.
    Bài giảng MáyĐiện TB Hình vẽ Chương 4: Máy điện không đồng bộ 29 Rs sI& jXs sU& Không tải: n→ns: s→0, Pthcơ ≠ 0 Rc jXm mI& cI& 0I' r →& Pthcơ ≠0 PCus/3 Pc/3 P0/3 Rs sI& jXs sU& jX’r Không tải: n→ns: s→0 Rc jXm mI& cI& ϕI& cI& ∞→ s Rr ' 0I' r →& 0I& 0U& Không tải: n→ns: s→0, Pthcơ ≠ 0 Rc jXm mI& cI& Pthcơ ≠0Pc/3 P0/3 Rs sI& jXs sU& ' rI& ' rR jX’r Maïch töông ñöông dạng hình ΓΓΓΓ ' rR s s1− Rc jXm mI& cI&
  • 69.
    Bài giảng MáyĐiện TB Hình vẽ Chương 4: Máy điện không đồng bộ 30 VI. Đặc tính cơ của động cơ không đồng bộ Giả sử Rm << Xm (hay Rc >> Xm): ( )mss m st XXjR X.j UU ++ = && và ( ) ( )mss mss ttt XXjR X.jX.jR X.jRZ ++ + =+= Tính được: ( )' rs ' r s s' r XXj s R R U I ++      + = Rs sI& jXs sU& mI& jXm jX’r' rI& ' rR ' rR s s1− Rs sI& jXs sU& ' rI& ' rR jX’r Mạch tương đương động cơ KĐB ' rR s s1− RFe jXm mI& FeI& Rs sI& jXs Rm mI& sU& jXm ' rI& ' rR jX’r Mạch tương đương của động cơ KĐB ' rR s s1− Rt jXt tU& tI& s R' r jX’r Sử dụng biến đổi Thevenin cho mạch stator Rs jXs sU& ' rI& s R' r jX’r Mạch tương đương đơn giản của động cơ KĐB
  • 70.
    Bài giảng MáyĐiện TB Hình vẽ Chương 4: Máy điện không đồng bộ 31 Momen quay ( ) ( ) ( )2' rt 2' r t ' r2 t s đt s dt s dtco co XX s R R s R U3 1 T P s1 Ps1P T ++      +       === − − == ωωωω 0 0.2 0.4 0.6 0.8 1 0 0.5 1 1.5 2 2.5 3 3.5 s Te (Nm) Độ trượt tới hạn: sp ứng với Tmax 0 ds dT = , hay 0 dn dT = Tuyến tính: tỷ lệ thuận ở đoạn s≈0, và tỷ lệ nghịch khi s≈1. ( )2' rt 2 t ' r p XXR R s ++ = ( )2' rt 2 tt 2 t s max XXRR U 2 3 1 T +++ = ω 0 s1sp Tst Tmax T 0 nnr Tst Tmax T nsnp Trate TL A T
  • 71.
    Bài giảng MáyĐiện TB Hình vẽ Chương 4: Máy điện không đồng bộ 32 ( ) ( )2' rt 2' rt ' r 2 t s st XXRR RU31 T +++ = ω s s s s 2 T T p p max + = (biểu thức Klauss) Đặc tính momen của động cơ không đồng bộ Đặc tính momen – độ trượt của máy điện không đồng bộ ở chế độ động cơ (0<s<1) và máy phát (s<0)
  • 72.
    Bài giảng MáyĐiện TB Hình vẽ Chương 4: Máy điện không đồng bộ 33
  • 73.
    Bài giảng MáyĐiện TB Hình vẽ Chương 4: Máy điện không đồng bộ 34 VII. Khởi động động cơ không đồng bộ Rs sI& jXs sU& m ' r II && >> ' rR jX’r Khởi động: n = 0: s = 1: Is = Ist Rc jXm mI& cI& ϕI& Rs sI& jXs Rm mI& sU& jXm ' rR jX’r Khởi động: n = 0: s = 1: Is = Ist ' rI&
  • 74.
    Bài giảng MáyĐiện TB Hình vẽ Chương 4: Máy điện không đồng bộ 35 Môû maùy ñoäng cô rotor daây quaán: ( )2' rt 2 t ' mm ' r XXRRR ++=+ Rs sI& jXs sU& mI& jXm jX’r' rI& ' rR ' rR s s1−
  • 75.
    Bài giảng MáyĐiện TB Hình vẽ Chương 4: Máy điện không đồng bộ 36 Môû maùy ñoäng cô rotor loàng soùc: – Duøng ñieän khaùng noái tieáp: neáu U1/k thì Imm giaûm k nhöng Tmm giaûm ñi k2 . – Duøng maùy bieán aùp töï ngaãu: neáu U1/k thì Imm vaø Tmm ñeàu seõ giaûm ñi k2 . – Ñoåi Y–>∆: bieán aùp töï ngaãu, vôùi k = 3 , Imm vaø Tmm ñeàu giaûm ñi 3 laàn. – Duøng daïng raõnh roâto ñaëc bieät ñeå caûi thieän ñaëc tính môû maùy. VIII. Điều khiển tốc độ động cơ không đồng bộ 1. Thay ñoåi soá cöïc: p f60 ns = (voøng/phuùt) 2. Thay ñoåi taàn soá nguoàn ñieän: p f60 ns = (voøng/phuùt). U1/f = const (traùnh hieän töôïng baõo hoøa maïch töø) 3. Thay ñoåi ñieän aùp nguoàn ñieän: sth = const, Tmax thay ñoåi 4. Thay ñoåi ñieän trôû maïch roâto (daây quaán): sth thay ñoåi, Tmax = const Phöông phaùp naøy ñôn giaûn, nhöng toån hao nhieät lôùn (ñoäng cô trung bình). IX. Các đặc tính vận hành 1. Ñaëc tính doøng ñieän stato I1 = f(P2) 2. Ñaëc tính vaän toác n = f(P2) 3. Ñaëc tính moâmen ñieän töø T = f(P2) 0 n T nsnp A1 A2 A3 Us giaûm 0 n T ns A1 A2 A3 Tmax ' rR tăng?
  • 76.
    Bài giảng MáyĐiện TB Hình vẽ Chương 4: Máy điện không đồng bộ 37 4. Ñaëc tính heä soá coâng suaát cosϕ = f(P2) 5. Ñaëc tính hieäu suaát η = f(P2) n 2 02 2 P.PP P β++ =η ηmax ⇔ P0 = β2 Pn Với Po là công suất không tải ở điện áp định mức Và Pn là công suất ngắn mạch ở dòng điện định mức. X. Tính toán thí nghiệm ngắn mạch (Blocked-rotor) ở tần số thấp fbl hơn tần số định mức fr (rate) (không bỏ qua điện kháng nhánh từ hóa Xm). Nếu trong thí nghiệm ngắn mạch không bỏ qua Xm thì phải giữ cho Xm = const, hay r r bl bl f U f U const f U ~~X ===Φ , tần số rotor nhỏ hơn tần số định mức (theo IEEE thì quy định tần số thí nghiệm ngắn mạch là 25% tần số định mức). nbl nbl blblnbl I U jXRZ =+= Rs sI& jXsbl sU& Ngắn mạch: n=0: s=1, Pcơ = 0 mI& jXmbl jX’rbl rI& ' rR Rs sI& jXs sU& Ngắn mạch: n=0: s=1, Pcơ = 0 mI& jXm jX’r rI& ' rR ' rR s s1− Pout I0 Pout.r cosϕ0 cosϕ Is η n T ns 0
  • 77.
    Bài giảng MáyĐiện TB Hình vẽ Chương 4: Máy điện không đồng bộ 38 2 bls bl bldm I3 P RR == 2 bl 2 nblbl RZX −= bl bl n dm X f f X       = hay: 2 bl 2 blbl PSQ −=               =      = 2 bls bl bl n bl bl n n I3 Q f f X f f X 2 bls bl bln I3 P RR == Đã tính được nnn jXRZ += Với ( ) ( ) nnm ' r ' rssn jXRjX//jXRjXRZ +=+++= ( ) ( ) ( )                 ++ ++ ++                 ++ += 2' rm 2' r ' rm ' r 2' r ms2' rm 2' r 2 m' rsn XXR XXXR XXj XXR X RRZ (xem R’r << Xm) ( ) ( ) ( )                 + + ++                 + += 2' rm ' rm ' r ms2' rm 2 m' rsn XX XXX XXj XX X RRZ               + ++               + += ' rm m' rs 2 ' rm m' rsn XX X XXj XX X RRZ 2 ' rm m' rsn XX X RRR       + +=       + += ' rm m' rsn XX X XXX suy ra ( ) 2 m ' rm sn ' r X XX RRR       + −= ( )       −+ −= nsm m sn ' r XXX X XXX Vậy: với ( )       − − −= n0 s0 sn ' r XX XX XXX tính sX và ' rX ( sX ≈ ' rX ) với ( )s0m XXX −= tính ( ) 2 m ' rm sn ' r X XX RRR       + −= Nếu X0 >> Xn: với ( )snr XXX −=' tính sX và ' rX ( sX ≈ ' rX ) với ( )s0m XXX −= tính ( ) 2 m ' rm sn ' r X XX RRR       + −= trong đó: Rs sI& jXs sU& Ngắn mạch: n=0: s=1, Pcơ = 0 mI& jXm jX’r rI& ' rR
  • 78.
    Bài giảng MáyĐiện TB Hình vẽ Chương 4: Máy điện không đồng bộ 39 2 bl 2 blbl PSQ −=               =      = 2 bls bl bl n bl bl n n I3 Q f f X f f X 2 bls bl bln I3 P RR == Hay: bl bl bl I U Z = 2 bl 2 blbl bl n n RZX f f X −=      = 2 bls bl bln I3 P RR == Chú ý: Khi giảm tần số thì điện kháng giảm, nên tổng trở cũng giảm theo. Vì vậy, để dòng điện In không quá định mức thì Un phải giảm nhiều hơn. Và vì từ thông không đổi nên Rm = const, trong khi Xm giảm đi, việc bỏ qua Rm dẫn đến sai số lớn hơn! Hơn nữa, vì Xm giảm đi nên điều kiện R’r << Xm cần phải xem xét. Rs sI& jXs Rm mI& sU& jXm m ' r II && >> ' rR jX’r Ngắn mạch: n=0: s=1, Pcơ = 0 ' rR s s1− Rs jXs nU& nI& ' rR jX’r Ngắn mạch: n=0: s=1, Pcơ = 0
  • 79.
    Bài giảng MáyĐiện TB Hình vẽ Chương 4: Máy điện không đồng bộ 40 Bài tập 1: Động cơ KĐB 3 pha,Y, 220V, 7,5kW, 50Hz, 4 cực. Thông số động cơ: Rs= 0,294Ω, R’ r= 0,144Ω, Xs= 0,503Ω, X’ r= 0,209Ω, Xm = 13,25Ω. Tổng tổn hao cơ (Pqp=Ploss_mech) 250W và bỏ qua tổn hao sắt. Ở độ trượt 2%, Tính tốc độ, dòng điện stator, hệ số công suất và hiệu suất? Bài tập 2: BT2: Động không đồng bộ ba pha, 4 cực, cuộn dây stator nối ∆, có các thông số định mức: 380V, 50Hz, 1450 vòng/phút và mạch tương đương như hình vẽ sau: Thông số động cơ theo mạch tương đương hình vẽ trên là: Rs= 4,0Ω; R’r = 4,0Ω, Xs=5,0Ω, X’r = 5,0Ω, Rc=1200Ω, Xm = 200Ω. a. Tính dòng điện khởi động và momen khởi động của động cơ? b. Khi động cơ đang vận hành ở tốc độ định mức, tính dòng điện ,hệ số công suất, mômen kéo tải, và hiệu suất của động cơ? Tổn hao cơ 300W. c. Tính dòng điện khởi động và momen khởi động của động cơ nếu khởi động động cơ theo sơ đồ Y→∆? Bài tập 2’: Một động cơ không đồng bộ 3 pha rotor lồng sóc có các thông số như sau: Rs = 0,5Ω, R’ r= 0,25Ω, Xs= X’ r= 0,4Ω Động cơ 3 pha có 4 cực, các cuộn dây stator nối Y, tần số định mức 50Hz và điện áp định mức 415V. Tính dòng khởi động của động cơ. Tính dòng điện của động cơ khi vận hành ở tốc độ 1450vòng/phút. Bài tập 3: Công suất truyền từ stator qua rotor của một máy điện không đồng bộ là 120kW khi chạy ở độ trượt 0,05. Tính tổn hao đồng rotor và công suất cơ của máy điện? Biết tổn hao đồng stator là 3kW, tổn hao cơ là 2kW, và tổn hao sắt là 1,7kW. Xác định công suất hữu ích và hiệu suất của động cơ? Bài tập 4: Động cơ KĐB 3 pha, 15HP, 220V, 50Hz, 6 cực, Y, mạch hình Γ. Thông số động cơ: Rs= 0,129Ω, R’ r= 0,096Ω, Xs+ X’ r= Xn= 0,047Ω, RFe= 60Ω // Xm=10Ω Tổng tổn hao cơ Pqp=290W. Ở độ trượt 2%, tính: a. Tốc độ, dòng điện stator, hệ số công suất? b. Công suất vào, ra, và hiệu suất? Rs sI& jXs sU& Mạch tương đương động cơ KĐB bỏ qua tổn hao sắt từ mI& jXm jX’r' rI& ' rR ' rR s s1−
  • 80.
    Bài giảng MáyĐiện TB Hình vẽ Chương 4: Máy điện không đồng bộ 41 Bài tập 5: Một động cơ không đồng bộ 3 pha rotor lồng sóc, cuộn dây stator nối Y, 380V, 50Hz, có điện trở stator 0,26Ω/pha. Ở chế độ không tải, động cơ tiêu thụ 400W và dòng không tải là 3A. Ở thí nghiệm không tải trên, tính hệ số công suất không tải, và các thông số của nhánh từ hoá. Bài tập 6: Trong thí nghiệm ngắn mạch trên một máy điện không đồng bộ 3 pha 4 cực, nối Y, 50Hz, đo được công suất vào là 20kW, ở điện áp 220V và dòng điện ngắn mạch đo được là 90A. Tính các thông số của động cơ R’r, Xs, X’r? Biết điện trở stator là 0,3Ω. Bài tập 7: Một động cơ không đồng bộ 3 pha rotor lồng sóc, cuộn dây stator nối Y, 380V, 50Hz, có điện trở stator 0,26Ω/pha. Ở chế độ không tải máy điện tiêu thụ 400W và dòng không tải là 3A. Ở chế độ ngắn mạch ứng với điện áp định mức, máy điện tiêu thụ 5kW và dòng điện 40A. a. Từ các số liệu thí nghiệm ngắn mạch, tính: hệ số công suất ngắn mạch, điện trở rotor, điện kháng tản rotor và stator. Rs jXs sU& ' rI& s Rr ' jX’r sI& Rs sI& jXs sU& jXr rI& ' rR ' rR s s1− Rs sI& jXs sU& ' rI& ' rR jX’r Mạch tương đương dạng hình ΓΓΓΓ ' rR s s1− RFe jXm mI& FeI&
  • 81.
    Bài giảng MáyĐiện TB Hình vẽ Chương 4: Máy điện không đồng bộ 42 b. Từ các số liệu thí nghiệm không tải, tính: tổn hao sắt và tổn hao cơ biết tổn hao sắt bằng 2 lần tổn hao cơ? Tính các thông số nhánh từ hóa, hệ số công suất không tải? Bài tập 8: ĐCKĐB 3 pha, Y, 2200V, 1000HP, 60Hz, 12 cực. Khi không tải, ở điện áp và tần số định mức, dòng không tải là 20A và công suất tiêu thụ không tải là 14kW. Thông số động cơ: Rs= 0,1Ω, R’ r= 0,2Ω, Xn = 2Ω Ở độ trượt 3%, (bỏ qua nhánh từ hóa) tính: a. Tốc độ động cơ, tần số rotor. b. Dòng điện stator, dòng điện rotor qui đổi, dòng điện khởi động. c. Công suất vào, công suất điện từ, công suất ra. d. Hiệu suất, hệ số công suất. e. Momen điện từ, momen ra. Bài tập 9: Một động cơ không đồng bộ 3 pha rotor lồng sóc có các thông số sau (các thông số rotor đã qui về stator): Điện trở stator = điện trở rotor = 1Ω Điện kháng tản stator = điện kháng tản rotor = 2Ω Điện kháng từ hoá= 50Ω Động cơ có 4 cực, cuộc dây stator nối Y, tần số định mức là 50Hz và điện áp định mức 415V. Động cơ kéo tải định mức ở tốc độ 1400 vòng/phút. a. Vẽ dạng mạch tương đương và tính độ trượt định mức. b. Tính dòng điện stator định mức, hệ số công suất và công suất ngõ vào. c. Tính hiệu suất và momen điện từ ở trạng thái hoạt động trên. Bài tập 10: Một động cơ không đồng bộ 3 pha rotor lồng sóc có các thông số sau: Rs=0,5Ω, Rr’=0,25Ω, Xs = X’r = 0,4Ω. Động cơ 3 pha có 4 cực, các cuộn dây stator nối Y, tần số định mức 50Hz và điện áp định mức 380V. Tốc Rs sI& jXs Rm mI& sU& jXm 0I' r →& 0 s R' r → jX’r Không tải: n→ns: s→0 Rs 0I& Rm 0I& sU& jXm ' rI&
  • 82.
    Bài giảng MáyĐiện TB Hình vẽ Chương 4: Máy điện không đồng bộ 43 độ định mức 1450 vòng/phút. Bỏ qua tổn hao sắt và tổn hao cơ, và điện kháng nhánh từ hóa rất lớn. a. Khi động cơ ở định mức: tính độ trượt, dòng điện stator, hệ số công suất , công suất vào, công suất ra, hiệu suất, moment? b. Tính momen khởi động, dòng điện khởi động. Tính momen cực đại và độ trượt tương ứng. c. Tính và vẽ dạng đặc tuyến momen – độ trượt. Bài tập 11: Động không đồng bộ ba pha, 380 V, 50 Hz, 4 cực, 1430 vòng/phút, nối Y. Thông số động cơ theo mạch tương đương hình vẽ trên là: Rs= 4,0Ω; R’r = 4,0Ω, Xs = 10,0Ω, X’r =10,0. Bỏ qua nhánh từ hóa và bỏ qua tổn hao cơ. a. Tính dòng điện khởi động và momen khởi động của động cơ? b. Tính momen cực đại và độ trượt tới hạn (khi momen đạt cực đại) của động cơ? Khi động cơ vận hành ở tốc độ 1430 vòng/phút, tính: c. Dòng điện cấp cho động cơ, hệ số công suất cosϕ? d. Công suất vào, công suất ra, hiệu suất, momen ngõ ra? Cau a: I1kd = 10.185069 A, Mkd = 7.924819 Nm Cau b: Mmax = 18.840712 Nm, sth = 0.196116 Cau c: I1 = 2.386873 A, cos = 0.976041 Cau d: P1 = 1533.350081 W, P2 = 1396.618227 W, M2 = 9.326379 Nm Bài tập 12: Một động cơ không đồng bộ 3 pha rotor lồng sóc, cuộn dây stator nối Y, 2 cặp cực và được cấp nguồn 50Hz, 380V. Điện trở stator 10Ω, điên trở rotor qui đổi là 6,3Ω, điện kháng tản stator bằng 12Ω và điện kháng tản rotor qui đổi bằng 13Ω. Bỏ qua tổn hao cơ, tổn hao sắt và mạch tương đương của nhánh từ hoá. Động cơ chạy ở tốc độ 1450 vòng/phút. a. Với tốc độ trên, tính hệ số công suất, dòng điện stator, công suất vào, công suất ra, độ trượt, momen và hiệu suất? b. Tính momen cực đại và độ trượt tương ứng (cho động cơ). Tính momen khởi động và dòng điện khởi động. Rs sI& jXs sU& s R' r jX’r
  • 83.
    Bài giảng MáyĐiện TB Hình vẽ Chương 4: Máy điện không đồng bộ 44 c. Vẽ dạng đặc tuyến momen – độ trượt của động cơ ứng với độ trượt từ 0 đến 1. Chỉ ra trên đặc tuyến 3 điểm momen và độ trượt đã tính ở 2 câu trên. Bài tập 13: Một động cơ không đồng bộ 3 pha rotor lồng sóc, có các thông số như sau: điện trở stator và rotor quy đổi bằng nhau và bằng 0,05Ω, điện kháng tản stator và rotor quy đổi bằng nhau và bằng 0,15Ω. Bỏ qua mạch nhánh từ hoá. Máy điện có 2 cực, cuộn dây stator nối Y, và vận hành với tần số 50Hz, 415V. a. Tính momen ra định mức và công suất ra định mức khi biết độ trượt định mức là 0,05 và bỏ qua tổn hao cơ? b. Khi momen đạt cực đại, tính độ trượt tới hạn và momen cực đại? c. Tính dòng điện khởi động và momen khởi động? Bài tập 14: Một động cơ không đồng bộ 3 pha rotor lồng sóc có các thông số như sau: R1 = 0,39Ω, R’ 2= 0,14Ω, X1= X’ 2= 0,35Ω, Xm= 16Ω Động cơ 3 pha có 4 cực, các cuộn dây stator nối Y, tần số định mức 50Hz và điện áp định mức 220V. Tốc độ định mức 1450 vòng/phút. Bỏ qua tổn hao sắt và tổn hao cơ. a. Khi động cơ ở định mức: tính độ trượt, hệ số công suất, công suất vào, công suất ra, hiệu suất và momen điện từ. b. Tính momen khởi động, dòng điện khởi động. Tính momen cực đại và độ trượt tương ứng. Tính và vẽ dạng đặc tuyến momen – độ trượt. Bài tập15: Động cơ KĐB 3 pha, 15HP, 220V, 50Hz, 6 cực, Y (/∆), mạch hình ΓΓΓΓ. Thông số động cơ: Rs= 0,129Ω, R’ r= 0,096Ω, Xn= 0,047Ω, RFe= 60Ω, Xm = 10Ω Ở độ trượt 2%: a) Tính tốc độ, dòng điện stator (/cấp cho động cơ), hệ số công suất, hiệu suất, momen điện từ, momen ra? b) Tính momen khởi động, dòng điện khởi động động cơ, momen cực đại và độ trượt tương ứng. c) Tính và vẽ dạng đặc tuyến momen – độ trượt. d) Nếu cho tổn hao cơ 300W, tính lại Momen ra, hiệu suất? Tính tổn hao sắt PFe? Rs sI& jXs sU& ' rI& ' rR jX’r Maïch töông ñöông dạng hình ΓΓΓΓ ' rR s s1− RFe jXm mI& FeI&
  • 84.
    Bài giảng MáyĐiện TB Hình vẽ Chương 4: Máy điện không đồng bộ 45 Bài tập16: Một động cơ không đồng bộ ba pha rotor lồng sóc có định mức 2 HP, 380V, 50Hz, 1 cặp cực, cuộn dây stator đấu Y, tốc độ định mức nđm = 2850 vòng/phút, hệ số công suất cosϕđm = 0,8. Khi mang tải định mức, động cơ tiêu thụ dòng điện dây Iđm = 3,5A, công suất tổn hao cơ là 100W. Khi động cơ làm việc với tốc độ, điện áp, dòng diện, cosϕ và công suất định mức, hãy xác định: a. Tốc độ đồng bộ ns, ωs. b. Độ trượt định mức sđm. c. Mômen ra định mức Tout_đm. d. Công suất điện từ Pđt. e. Công suất tổn hao đồng rotor Pcur. f. Mômen điện từ Tđt. g. Hiệu suất định mức ηđm. h. Tính tổn hao đồng stator Pcus, biết tổn hao sắt từ là PFe=100W. Bài tập 17: Động cơ KĐB 3 pha,Y, 460V, 25kW, 60Hz, 4 cực, có: Rs = 0,103Ω, R’ r = 0,225Ω, Xs = 1,10Ω, X’ r = 1,13Ω, Xm = 59,4Ω Tổn hao cơ 265W, tổn hao sắt 220W. Tính tốc độ, hệ số công suất, momen đầu trục, hiệu suất ở độ trượt 3%? Có thể mô tả tổn hao sắt từ bằng điện trở RFe// Xm. Bài tập 18: Động cơ KĐB 3 pha,Y, 220V, 7,5kW, 50Hz, 4 cực. Thông số động cơ: Rs= 0,294Ω, R’ r= 0,144Ω, Xs= 0,503Ω, X’ r= 0,209Ω, Xm = 13,25Ω Tổng tổn hao cơ (Pqp) 250W và bỏ qua tổn hao sắt. Ở độ trượt 3%: a. Tính tốc độ, dòng điện stator, hệ số công suất, momen điện từ, momen đầu trục (Tout, M ra, M có ích, M tải, M2) và hiệu suất? b. Sử dụng mạch biến đổi Thevenin, tính hệ số công suất, dòng điện rotor qui đổi, công suất điện từ, momen điện từ, momen đầu trục và hiệu suất? c. Tính momen cực đại, độ trượt khi momen cực đại? d. Tính momen khởi động và dòng điện khởi động? Bài tập 19: Động cơ KĐB 3 pha,Y, 220V, 7,5kW, 50Hz, 4 cực. Thông số động cơ: Rs= 0,294Ω, R’ r= 0,144Ω, Xs= 0,503Ω, X’ r= 0,209Ω, Xm = 13,25Ω Tổng tổn hao cơ và tổn hao sắt là 403W và không phụ thuộc tải. Ở độ trượt 3%: Tính tốc độ, dòng điện stator, hệ số công suất, momen điện từ, momen đầu trục (Tout, M ra, M có ích, M tải, M2) và hiệu suất? Tổng tổn hao cơ và tổn hao sắt là 403W = Pqp! Bài tập 20: Động cơ KĐB 3 pha,Y, 230V, 15kW, 60Hz, 6 cực, vận hành đầy tải ở độ trượt 3,5%. Bỏ qua tổn hao cơ và tổn hao sắt. Thông số động cơ: Rs = R’ r= 0,21Ω, Xs= X’ r= 0,26Ω, Xm = 10,1Ω
  • 85.
    Bài giảng MáyĐiện TB Hình vẽ Chương 4: Máy điện không đồng bộ 46 Sử dụng mạch biến đổi Thevenin, tính momen cực đại, độ trượt khi momen cực đại, momen khởi động? Bài tập 21: ĐC KĐB 3 pha rotor lồng sóc, ∆, 230V, 25kW, 50Hz, 6 cực. Có thông số pha: Rs = 0,045Ω, R’ r= 0,054Ω, Xs= 0,29Ω, X’ r= 0,28Ω, Xm = 9,6Ω a. Tính hệ số công suất, dòng điện, momen điện từ và hiệu suất ở độ trượt 5%? b. Tính momen khởi động và dòng điện khởi động? c. Giảm dòng khởi động bằng khởi động Y→∆, vẽ mạch tương đương Y, tính dòng điện khởi động và momen khởi động? Bài tập 22: Động cơ KĐB 3 pha,Y, 230V, 60Hz, 6 cực, có momen đạt cực đại ở độ trượt 15% và bằng 288% momen định mức. Bỏ qua điện trở stator, tính tỷ lệ momen cực đại mới theo momen định mức nếu động cơ được cấp nguồn 190V, 50Hz, và tính tốc độ khi momen đạt cực đại theo 3 trường hợp : a) Giả sử độ trượt định mức không đổi. b) Giả sử moment định mức không đổi. c) Giả sử dòng điện định mức không đổi. Bài tập 23: Động cơ KĐB 3 pha,15HP, 220V, 50Hz, 6 cực, Y, mạch hình Γ. Thông số động cơ: Rs= 0,129Ω, R’ r= 0,096Ω, Xn= 0,047Ω, RFe= 60Ω // Xm=10Ω Tổng tổn hao cơ Pqp=290W. Ở độ trượt 3%: a. Tính tốc độ, dòng điện stator, hệ số công suất? b. Công suất vào, ra, và hiệu suất? c. Momen ra điện từ, momen ra? d. Tính momen cực đại, độ trượt khi momen cực đại? e. Tính momen khởi động và dòng điện khởi động? Bài tập: 5.3, 5.4, 5.6, 5.14, 5.15, 5.16, 5.18, 5.21, 5.24, 5.25, 5.35, 5.41, 5.48. Thí nghiệm ngắn mạch ở tần số thấp fbl hơn tần số định mức fn. 2 bl 2 blbl PSQ −=               =      = 2 bls bl bl n bl bl n n I3 Q f f X f f X 2 bls bl bln I3 P RR == với ( )       − − −= n0 s0 sn ' r XX XX XXX tính sX và ' rX ( sX ≈ ' rX ) Rs sI& jXs sU& ' rI& ' rR jX’r Maïch töông ñöông dạng hình ΓΓΓΓ ' rR s s1− RFe jXm mI& FeI&
  • 86.
    Bài giảng MáyĐiện TB Hình vẽ Chương 4: Máy điện không đồng bộ 47 với ( )s0m XXX −= tính ( ) 2 m ' rm sn ' r X XX RRR       + −= Bài tập 24: Một động cơ điện không đồng bộ 3 pha 4 cực, nối Y, 380V, 50Hz. Thí nghiệm ngắn mạch với động cơ trên ở điện áp 100V, tần số 15Hz, đo được công suất vào là 5kW, và dòng điện ngắn mạch là 60A. Tính các thông số của động cơ R’r, Xs, X’r ở tần số định mức? Biết điện trở stator là 0,2Ω. Bỏ qua nhánh từ hóa (ở 15Hz và 50Hz). Động cơ loại C theo IEEE (Xs : X’ r = 0,3:0,7). Bài tập 25: Động cơ KĐB 3 pha, 7,5HP, Y, 220V, 19A, 60Hz, 4 cực. Động cơ loại C theo IEEE (Xs : X’ r = 0,3:0,7). Bỏ qua tổn hao của mạch từ. TN với điện áp DC: Rs = 0,262Ω. TN không tải (no-load) ở 60Hz: 219V, 5,7A, 380W. Tính tổn hao cơ không tải và tính các thông số của động cơ ở điều kiện bình thường (ở tần số 60Hz) theo 2 cách: a) TN ngắn mạch (block-rotor) ở 60Hz: 212V, 83,3A, 20,1kW b) TN ngắn mạch (block-rotor) ở 15Hz: 26,5V, 18,57A, 875W. Câu 2. Động không đồng bộ ba pha, 4 cực, cuộn dây stator nối ∆, có các thông số định mức: 380V, 50Hz, 1450 vòng/phút và mạch tương đương như hình vẽ sau: Thông số động cơ theo mạch tương đương hình vẽ trên là: Rs= 4,0Ω; R’r = 4,0Ω, Xs=5,0Ω, X’r = 5,0Ω, RFe=1200Ω, Xm = 200Ω. a. Tính dòng điện khởi động và momen khởi động của động cơ? (2,0đ) b. Tính momen cực đại và độ trượt tới hạn của động cơ? (1,0đ) c. Khi động cơ đang vận hành ở tốc độ định mức, tính dòng điện ,hệ số công suất, mômen kéo tải, và hiệu suất của động cơ? Biết tổn hao cơ là 300W. (4,0đ) d. Tính dòng điện khởi động và momen khởi động của động cơ nếu khởi động động cơ theo sơ đồ Y→∆? (1,0đ) Rs jXs sU& ' rI& ' rR jX’r sI& Rs sI& jXs sU& jXr rI& ' rR ' rR s s1−
  • 87.
    Bài giảng MáyĐiện TB Hình vẽ Chương 4: Máy điện không đồng bộ 48 e. Tính hệ số công suất/ hiệu suất của động cơ khi vận hành 100%, ¾, ½, ¼ tải và không tải. Câu x1. Cho động cơ không đồng bộ ba pha, 4 cực, cuộn dây stator nối ∆, có các thông số định mức: 380V, 50Hz, 1450 vòng/phút, Rs=1,5Ω; R’r=1,5Ω, Xs=4,0Ω, X’r=4,0Ω, Xm=110Ω nối tiếp với Rm=20Ω. a. Tính dòng điện dây khởi động và momen khởi động của động cơ? (1,0đ) b. Tính momen cực đại và độ trượt tương ứng (độ trượt tới hạn) của động cơ? (1,0đ) c. Khi động cơ đang vận hành ở chế độ định mức, tính dòng điện dây, hệ số công suất, mômen điện từ, và tổn hao nhiệt của động cơ? Biết tổn hao cơ 500W do ma sát. (2,0đ) Câu x2. Cho động cơ không đồng bộ ba pha, 2 cực, cuộn dây stator nối Υ, có các thông số định mức: 380V, 50Hz, 2850 vòng/phút, Rs=2,0Ω; R’r=2,0Ω, Xs=4,0Ω, X’r=6,0Ω, Xm=100Ω. Bỏ qua tổn hao của mạch từ. a. Tính dòng điện khởi động và momen khởi động của động cơ? (1,0đ) b. Tính momen cực đại và độ trượt tương ứng (độ trượt tới hạn) của động cơ? (1,0đ) c. Khi động cơ đang vận hành ở tốc độ định mức, Tính dòng điện định mức, hệ số công suất, mômen điện từ, và hiệu suất của động cơ? Biết tổn hao cơ là 200W. (4,0đ) d. Khi cho động cơ trên vận hành ở điện áp 480V, 60Hz với độ trượt bằng độ trượt định mức ở tần số 50Hz. Tính dòng điện và mômen điện từ của động cơ khi đó? So sánh và nhận xét về giá trị dòng điện và moment tính được? (2,0đ) Câu x3: (4 Điểm) Một động cơ không đồng bộ 3 pha cân bằng, rotor lồng sóc, 6 cực, nối hình sao có các thộng số sau: 50 Hz, 230V, Rs = 0.045 Ω, Xs = 0.29 Ω, Xm = 9.6 Ω, Ω=Ω= 28.0X,054.0R '' rr Tổn hao sắt từ là 600 W, tổn hao cơ là 400W, động cơ đang vận hành với hệ số trượt là 0.025, điện áp và tần số định mức, tính: a/ Hệ số công suất (0.5 điểm) b/ Moment điện từ (0.5 điểm) c/ Công suất tổn hao đồng trên rotor (0.5 điểm) Rs sI& jXs sU& ' rI& ' rR jX’r ' rR s s1− RFe jXm mI& FeI&
  • 88.
    Bài giảng MáyĐiện TB Hình vẽ Chương 4: Máy điện không đồng bộ 49 d/ Công suất đầu ra (0.5 điểm) e/ Hiệu suất động cơ (0.5 điểm) Giả sử nguồn điện có tần số là 20 Hz và điện áp là 92V, tổn hao sắt từ của động cơ ở tần số này là 250 W, tổn hao cơ không đổi. Động cơ được nối tam giác, và vận hành với hệ số trượt không đổi, tính: f/ Dòng stator (0.5 điểm) g/ Hiệu suất (1.0 điểm) Câu x4. (4 điểm) Một động cơ không đồng bộ ba pha, nối Y, 2 cực, có các thông số định mức sau: 2,0 HP, 380V, 50Hz, 3,5 A, cosϕ=0,8 , 2850 vòng/phút, điện trở stator Rs= 3,0 Ω. Khi động cơ vận hành ở chế độ định mức, tổng tổn hao cơ (ma sát, quạt gió và tổn hao phụ,…) là 50W, tính: a. Tổn hao đồng trên stator PCus? (1,0đ) b. Tổn hao đồng trên rotor PCur? (1,0đ) c. Tổn hao sắt PFe và Hiệu suất η? (1,0đ) d. Mômen điện từ Te và Mômen ngõ ra Tout ? (1,0đ) 6.22. Cho động cơ không đồng bộ ba pha, rotor lồng sóc, 4 cực, 125kW, 2300V, 60Hz, cuộc dây satator nối Y. Điện trở stator đo giữa 2 đầu cực là 2.23Ω. Giả sử bỏ qua tổn hao sắt từ. _ Thí nghiệm không tải với tần số và điện áp định mức: đo được dòng điện dây là 7.7A và công suất vào là 2879W. _ Thí nghiệm ngắn mạch ở tần số 15Hz, điện áp dây 268V: đo được dòng điện dây 50.3A và công suất vào là 18.2kW. a) Tính tổn hao quay? b) Tính các thông số của mạch tương đương? Biết X1 = X’2. c) Tính dòng điện stator, hệ số công suất, công suất vào, công suất ra và hiệu suất khi động cơ được cấp điện áp và tần số định mức và có độ trượt là 2.95%. d) Tính dòng điện và hệ số công suất khi khởi động, moment khởi động, moment cực đại Mmax, và độ trượt tới hạn smax? 6.24. Cho động cơ không đồng bộ ba pha, 250kW, 2300V, 50Hz, cuộc dây satator nối Y. Điện trở stator đo giữa 2 đầu cực là 0.636Ω. Giả sử bỏ qua tổn hao sắt từ. _ Thí nghiệm không tải với tần số và điện áp định mức: đo được dòng điện dây là 20.2A và công suất vào là 3.51kW. _ Thí nghiệm ngắn mạch ở tần số 12.5Hz, điện áp dây 142V: đo được dòng điện dây 62.8A và công suất vào là 6.55kW. a) Tính tổn hao quay? b) Tính các thông số của mạch tương đương R1, R2, X1, X2, và Xm? Biết X1 = 0.4(X1+X’2).
  • 89.
    Bài giảng Máyđiện TB Chương 5: Máy điện đồng bộ 1 Chương 5: MÁY ĐIỆN ĐỒNG BỘ I. Tổng quan
  • 90.
    Bài giảng Máyđiện TB Chương 5: Máy điện đồng bộ 2
  • 91.
    Bài giảng Máyđiện TB Chương 5: Máy điện đồng bộ 3 A B C N N S
  • 92.
    Bài giảng Máyđiện TB Chương 5: Máy điện đồng bộ 4
  • 93.
    Bài giảng Máyđiện TB Chương 5: Máy điện đồng bộ 5 Rotor cực từ ẩn Rotor cực từ lồi Rotor cực từ ẩn Rotor cực từ lồi
  • 94.
    Bài giảng Máyđiện TB Chương 5: Máy điện đồng bộ 6 θe αe X Axe bobine a a' a a' γe Axe bobine b b' Axe bobine c c' b b' c c' Axe inducteur N S N S A- B+ A+ C+ C- B- A B C N S A+ B+ C+B- A- C- Flux Φ f ns N S A+ B+ C+B- A- C-
  • 95.
    Bài giảng Máyđiện TB Chương 5: Máy điện đồng bộ 7 A- B+ A+ C+ C- B- Θm= 900 Magnetic axis of phase Α N S Magnetic axis of phase Α A- B+ A+ C+ C- B- Θm= 00 N S
  • 96.
    Bài giảng Máyđiện TB Chương 5: Máy điện đồng bộ 8 A. Máy điện đồng bộ có rotor cực từ ẩn: A B C N N S N S A- B+ A+ C+ C- B- A B C
  • 97.
    Bài giảng Máyđiện TB Chương 5: Máy điện đồng bộ 9 θe αe X Axe bobine a a' a a' γe Axe bobine b b' Axe bobine c c' b b' c c' Axe inducteur N S ( ) ( ) )cos(ILiLiLiLL fafcacbabaal0aaa θλ ++++= Mà 0aacbbccaacbaab L 2 1 LLLLLL −====== do 2 1 )120cos( o −= ( ) )cos(ILiiL 2 1 LL fafcb0aaal0aaa θλ ++      −+= )cos(ILiL 2 1 LL fafa0aaal0aaa θλ +      ++= )cos(ILiLL 2 3 fafaal0aaa θλ +      +=       += al0aas LL 2 3 L )tcos(ILiL ofafasa θωλ ++= dt d PP cocodien θ ωω =Ω== afasa iL λλ += )cos( ofafaf tIL θωλ += af a s afa s a a e dt di L dt d dt di L dt d e +=+== λλ af a saa a aaa e dt di LiR dt d iRv ++=+= λ ( ) )tsin(IL)tcos( dt d ILe ofafofafaf θωωθω +−=+= ) 2 tcos(ILe ofafaf π θωω ++= ( afe nhanh pha π/2 so với afλ ) afphdqafphdqafphdqfaf)RMS(af Nfk44,4Nfk2Nk 2 1 IL 2 1 E Φ=Φ=Φ== πωω afphdq)RMS(af Nfk2E Φ= π với từ thông kích từ: fafaf IL=λ , ffaf Ik=Φ af a asa e dt di Le += afaasa EILjE &&& += ω afasaaaaaa EIjXIREIRV &&&&&& ++=+=
  • 98.
    Bài giảng Máyđiện TB Chương 5: Máy điện đồng bộ 10 Động cơ: afasaaa EIjXIRU &&&& ++= afphdqaf NkfE Φ= ....2π Máy phát: asaaafa IjXIREU &&&& −−= Trong đó: ss LX ω= với:       +== alaaass LLLL 0 2 3 alAalaaalaa XXLLLLX +=+      =      += ωωω 00 2 3 2 3 Zt Ua RajXs Ia It Tải If Rf Uf Φaf Eaf n Ua RajXs IaIf Rf Uf Φaf Eaf n
  • 99.
    Bài giảng Máyđiện TB Chương 5: Máy điện đồng bộ 11       = 0 2 3 aaA LX ω : điện kháng phản ứng phần ứng. alal LX ω= : điện kháng từ tản phần ứng. aAafR IjXEE &&& −= : sức điện động khe hở. RΦ& : từ thông khe hở = từ thông kích từ + từ thông phản ứng phần ứng Zt U RajXA Ia It Tải Eaf n jXal ER
  • 100.
    Bài giảng Máyđiện TB Chương 5: Máy điện đồng bộ 12 II.2. Đặc tính không tải, ngắn mạch Thí nghiệm không tải: afsdqsaf NkfE Φ= ....2π Đặc tính không tải Thí nghiệm không tải xác định được “đặc tính không tải”. Từ đó xác định “đặc tính khe hở”. U RajXs IaIf Rf Uf Φaf Eaf n Uđm If Eaf 0 If Eaf 0 Eaf,δ If Uaf Đặc tính khe hở Đặc tính không tải
  • 101.
    Bài giảng Máyđiện TB Chương 5: Máy điện đồng bộ 13 Ngoài ra, thí nghiệm không tải xác định được tổn hao không tải.Trong đó có tổn hao cơ (không đổi do tốc độ cố định) và tổn hao sắt (do tần số không đổi nên tổn hao sắt tỷ lệ với bình phương biên độ từ thông). Tổn hao sắt phụ thuộc vào từ thông (hay điện áp không tải) Thí nghiệm ngắn mạch: Máy điện chạy ở chế độ máy phát, quay ở tốc độ đồng bộ. Tăng dòng kích từ cho tới khi dòng phần ứng đạt định mức Ia,sc = Ia,đm, vẽ được đặc tính ngắn mạch. ( ) asaaf IjXRE && += Đặc tính ngắn mạch khi mạch từ chưa bảo hòa If Eaf Ia 0 Ia, sc Eaf,δ If Đặc tính ngắn mạch Ia, đm I’’f (Ia, đm) RajXs Ia Ia,scIf Rf Uf Φaf Eaf n Eaf PFe
  • 102.
    Bài giảng Máyđiện TB Chương 5: Máy điện đồng bộ 14 Đo được dòng kích từ, và dựa theo đặt tính khe hở, xác định được Eaf,δ là sức điện động tương ứng với mạch từ còn tuyến tính, chưa bảo hòa. Khi mạch từ chưa bảo hòa, bỏ qua điện trở phần ứng, có thể tính điện kháng đồng bộ chưa bảo hòa: sc,a ,af ,s I E X δ δ = (tính theo đặc tính khe hở) _ ði n kháng ñ ng b chưa b o hoà: tính theo ñ c tính khe h (Eaf,δ). Chú ý: Có th tính ði n kháng ñ ng b chưa b o hoà ñi m Ia,sc khác Ia,ñm, nhưng ph i tính theo ñ c tính khe h . Từ thông khe hở rất nhỏ (tỷ lệ với ER, khoảng 15% từ thông định mức) nên mạch từ trong thí nghiệm ngắn mạch này chưa bảo hòa. Thông số tính được sẽ không sát với thực tế khi máy điện làm việc ở từ thông định mức. ( ) sc,aalaR IjXRE && += RajXA Ia I a,sc Eaf n jXal ER
  • 103.
    Bài giảng Máyđiện TB Chương 5: Máy điện đồng bộ 15 Khi máy điện đồng bộ làm việc KHÔNG TẢI quanh giá trị điện áp định mức (từ thông khe hở gần định mức, xem như “bảo hòa”): đm,aafR UEE &&& == Đặc tính không tải – ngắn mạch * s đm ss đm,a đm,a )U(sc,a đm,a đm,a đm,a đm,a đm,a đm,a )U(sc,a đm,a )U(sc,a '' f ' f n X 1 Z X 1 X I U I U I U U U I I I I I I K đm đmđm ==         =                 ==== Khi máy điện đồng bộ làm việc KHÔNG TẢI, chỉnh dòng kích từ sao cho điện áp hở mạch bằng điện áp định mức Ua,đm (từ thông khe hở gần định mức = bảo hòa). Ứng với dòng kích từ I’f này, cho máy ngắn mạch và đo dòng Ia,sc tương ứng Ua,đm. Từ đó tính gần đúng giá trị điện kháng đồng bộ bảo hòa. RajXA Ia Eaf n jXal ER Uđm If Eaf Ua,đm Ia 0 Ia, sc (Uđm) Ia, sc Eaf,δ If I’f (Uđm) Đặc tính ngắn mạch Ia, đm I’’f (Ia, đm)
  • 104.
    Bài giảng Máyđiện TB Chương 5: Máy điện đồng bộ 16 sc,a đm,a s I U X = (tính theo Ua,đm trên đặc tính không tải) _ ði n kháng ñ ng b chưa b o hoà: tính theo ñ c tính khe h (Eaf,δ). _ ði n kháng ñ ng b b o hoà: tính theo ñ c tính không t i-ng n m ch Ua,ñm. Chú ý: Nên tính ði n kháng ñ ng b b o hoà ñi m g n Ua,ñm. Đơn vị trương đối (tính theo giá trị định mức): Hệ số ngắn mạch Kn: * s đm ss đm,a đm,a )U(sc,a đm,a đm,a đm,a đm,a đm,a đm,a )U(sc,a đm,a )U(sc,a '' f ' f n X 1 Z X 1 X I U I U I U U U I I I I I I K đm đmđm ==         =                 ==== X* s là điện kháng đồng bộ tính theo đơn vị tương đối. Ví dụ 1:
  • 105.
    Bài giảng Máyđiện TB Chương 5: Máy điện đồng bộ 17 Cho một máy điện đồng bộ ba pha 900MVA, 26kV, nối Y, 50Hz, hai cực, có các số liệu thí nghiệm: Dòng kích từ Dòng ngắn mạch Điện áp không tải Điện áp khe hở 1710A 10,4kA 26kV (29,6kV) 3290A 20,0kA 31,8kV (56,9kV) a. Tính điện kháng đồng bộ không bảo hòa Xs,δ? (đơn vị Ω và đvtđ) b. Tính giá trị điện kháng đồng bộ bảo hòa Xs? (đơn vị Ω và đvtđ) c. Tính tỷ số ngắn mạch Kn? Tính Xs (đvtđ) theo Kn? Ví dụ 2: (EX 5.4-p262) (trang 224) Máy điện đồng bộ ba pha, 45kVA, nối Y, 6 cực, 220V/60Hz. Thí nghiệm không tải: dòng kích từ 2,84A, đo được điện áp 220V. Đặc tính khe hở (ước tính): dòng kích từ 2,2A, điện áp khe hở 202V. Thí nghiệm ngắn mạch: Dòng kích từ 2,2A, đo dòng phần ứng là 118A. Dòng kích từ 2,84A, đo dòng phần ứng là 152A. a. Tính điện kháng đồng bộ không bảo hòa Xs,δ? (đơn vị Ω và đvtđ) b. Tính giá trị điện kháng đồng bộ bảo hòa Xs? (đơn vị Ω và đvtđ) c. Tính tỷ số ngắn mạch Kn? Tính Xs (đvtđ) theo Kn? Tính điện kháng đồng bộ (theo Ω/pha và đvtđ) của máy điện đồng bộ 85kVA. Biết điện áp hở mạch định mức là 460V khi dòng kích từ 8.7A. Và đạt dòng ngắn mạch định mức ở 11.2A. Ví dụ 3: (EX 5.5-p265) (trang 226) Máy điện đồng bộ ba pha, 45kVA, nối Y, 6 cực, 220V/60Hz như ví dụ trên (EX 5.4) Khi dòng ngắn mạch bằng dòng phần ứng định mức (118A), tổn hao là 1.8kW ở 25o C. Biết điện trở một chiều trên cuộn dây phần ứng là 0.0335Ω/pha. Tính điện trở hiệu dụng trên mỗi pha? (đơn vị Ω và đvtđ) Máy điện đồng bộ ba pha 13.8kV, 25MVA. Tổn hao ngắn mạch là 52,8kW ở dòng định mức.
  • 106.
    Bài giảng Máyđiện TB Chương 5: Máy điện đồng bộ 18 a) Tính dòng phần ứng định mức? b) Tính điện trở hiệu dụng trên mỗi pha? (đơn vị Ω và đvtđ) Ví dụ 4: (EX 5.1-p254) Một động cơ 3 pha đồng bộ, điện áp dây đầu cực là 460V, 60Hz, Y, dòng điện 120A, hệ số công suất 0.95 chậm. Dòng kích từ 47A. Điện kháng đồng bộ 1.68Ω (0.794 đơn vị tương đối với 460V, 100kVA, 3 pha). Bỏ qua điện trở stator. a) Tính điện áp Eaf? b) Biên độ từ trường λaf và hỗ cảm Laf? ) 2 tcos(ILe ofafaf π θωω ++= )cos( ofafaf tIL θωλ += c) Công suất điện cấp cho motor (kW) và (hp).
  • 107.
    Bài giảng Máyđiện TB Chương 5: Máy điện đồng bộ 19 II. Máy phát đồng bộ II.1. Mạch tương đương ( ) asaaf IjXRUE &&& +=− Ví dụ 1: Một máy phát đồng bộ 3 pha hai cực có cấu trúc rotor dạng hình trụ có các thông số định mức 11kV, 50Hz, 20MVA, cuộn dây stator nối Y. Điện kháng đồng bộ 5Ω, HSCS=cosϕđm=0,9 chậm pha. Tính afE& (trị phức)? Vẽ giản đồ vector? Zt U RajXs Ia It Tải If Rf Uf Φaf Eaf n
  • 108.
    Bài giảng Máyđiện TB Chương 5: Máy điện đồng bộ 20 Ví dụ 2: Một máy phát đồng bộ 3 pha hai cực có cấu trúc rotor dạng hình trụ có các thông số định mức 16MVA, 10,5kV, 50Hz, cuộn dây stator nối Y. Điện kháng đồng bộ 4,8Ω. Tính giá trị sức điện động Eaf và góc tải δδδδ khi máy phát cấp điện cho tải ở điều kiện định mức, cosϕđm=0,8. Tính cho trường hợp chậm pha và nhanh pha? Vẽ giản đồ vector? Ví dụ 3: Một máy phát đồng bộ ba pha cực từ ẩn đấu Y, 2 cực, có công suất định mức 10KVA, điện áp định mức 380V, 50Hz, nối lưới. Trên mỗi pha có điện trở phần ứng Rư≈0Ω (tính lại cho Rư≈0,5Ω) và điện kháng đồng bộ Xđb=5Ω. Khi máy phát cấp điện cho tải định mức với hệ số công suất cosϕ=0,8 (dòng điện chậm pha so với điện áp), hãy: a. Tính công suất tiêu thụ của tải định mức? b. Tính sức điện động cảm ứng E, góc công suất δ? c. Vẽ giản đồ vector? d. Tính độ thay đổi điện áp ∆U%? e. Tính công suất quá tác dụng tải lớn nhất máy có thể phát được mà không mất đồng bộ, biết dòng kích từ không đổi và biên độ điện áp ngõ ra không đổi. f. Tính momen điện từ và momen kéo của máy phát. Biết tổn hao cơ là 500W. II.2. Đặc tính công suất – góc ở xác lập IZEE s &&&& =− 21 Zssas ZjXRZ ϕ∠=+=& Zt E2 RajXs I It Tải Eaf n Zs E1
  • 109.
    Bài giảng Máyđiện TB Chương 5: Máy điện đồng bộ 21 Tải RL, ϕ2 > 0 Tải RC, ϕ2 < 0 ( )221 0 ϕδ −∠=∠−∠ IZEE s o & ( ) Zs o s o Z EE Z EE I ϕ δδ ϕ ∠ ∠−∠ = ∠−∠ =−∠ 00 2121 2 & ( ) )()( 21 2 Z s Z s Z E Z E I ϕϕδϕ −∠−−∠=−∠ ( ) )cos()cos(cos 21 2 Z s Z s Z E Z E I ϕϕδϕ −−= ( ) )sin()sin(sin 21 2 Z s Z s Z E Z E I ϕϕδϕ +−=− ( ) s a Z Z R =ϕcos ( ) s s Z Z X =ϕsin s a Z X R arctg=α khi Ra << Xs thì αZ ≈ 0. )cos( 222 ϕIEP = E1 ReE2 jXsI I ϕ2 δ 0 RaI ZsI Re E2 E1 jXsI I ϕ2 δ 0 RaI ZsI I 0 jXsI RaI ZsI ϕZ αZ
  • 110.
    Bài giảng Máyđiện TB Chương 5: Máy điện đồng bộ 22 )cos()cos( 2 221 2 Z s Z s Z E Z EE P ϕϕδ −−= ( ) 2 2 221 2 )90(sin s a Z o s Z RE Z EE P −−+= ϕδ ( ) 2 2 221 2 sin s a Z s Z RE Z EE P −+= αδ )sin( 222 ϕIEQ = )sin()sin( 2 221 2 Z s Z s Z E Z EE Q ϕϕδ −−−= 2 2 221 2 )90cos( s s Z o s Z XE Z EE Q −−−−= ϕδ 2 2 221 2 )90cos( s s Z o s Z XE Z EE Q −−+= ϕδ 2 2 221 2 )cos( s s Z s Z XE Z EE Q −+= αδ Giả sử bỏ qua Ra (khi Ra << Xs, αZ ≈ 0): δsin21 2 sX EE P = ss X E X EE Q 2 221 2 cos −= δ sX EE P 21 max2 = khi δ = 90o . Khi máy phát cấp điện cho tải:
  • 111.
    Bài giảng Máyđiện TB Chương 5: Máy điện đồng bộ 23 δsin s af t X UE P = ss af t X U X UE Q 2 cos −= δ Hay ( ) 22 2 2       =      ++ s af s tt X UE X U QP Sụt áp: UEU af −=∆ Độ sụt áp %: 100% U UE U af − =∆ Khi máy phát cấp điện cho tải Thévenin: δsin EQs EQaf XX UE P + = EQs EQ EQs EQaf XX U XX UE Q + − + = 2 cosδ Tương tự, tính công suất cung cấp CHO nguồn E1: Zt U RajXs Ia It Tải If Rf Uf Φaf Eaf n U jXs I Eaf n jXEQ UEQ
  • 112.
    Bài giảng Máyđiện TB Chương 5: Máy điện đồng bộ 24 TỪ : ( ) 2 2 221 2 sin s a Z s Z RE Z EE P −+= αδ SUY RA (đổi dấu góc δ): ( ) 2 2 121 1 sin s a Z s Z RE Z EE P −+−= αδ Hay, công suất cung cấp BỞI nguồn E1: ( ) 2 2 121 1 sin s a Z s Z RE Z EE P +−= αδ 2 2 121 1 )cos( s s Z s Z XE Z EE Q +−−= αδ Công thức này được áp dụng cho động cơ đồng bộ. Khi bỏ qua Ra: ( )δsin21 21 sZ EE PP == sX EE PP 21 max2max1 == E2 RajXs I It LướiEaf n Zs E1 U Zt E2 RajXs I It Tải Eaf n Zs E1
  • 113.
    Bài giảng Máyđiện TB Chương 5: Máy điện đồng bộ 25 Máy phát điện 3 pha: δϕ sin3cos3 s af tt X UE UIP == δ πω sin 3 2 1 s af e X UE f pP T       ≈= s af eMAX X UE f p T 3 2π = ss af t X U X UE Q 2 3cos3 −= δ Q > 0, tải cảm (RL) δ 0deg 1deg, 180deg..:= 0 30 60 90 120 150 180 0 100 200 300 400 500 600 Pnet δ( ) M W⋅ Pnetwork M W⋅ δ deg Zt U RajXs I It Tải Eaf n
  • 114.
    Bài giảng Máyđiện TB Chương 5: Máy điện đồng bộ 26 Đặc tuyến tải của MPĐB Đặc tuyến công suất phản kháng MPĐB δsin3 s af t X UE P = ss af t X U X UE Q 2 3cos3 −= δ _____________________________________________________________ Ví dụ 4: (EX 5.6-p269) Máy phát đồng bộ ba pha, 75MVA, 13.8kV, điện kháng đồng bộ bảo hòa Xs=1.35đvtđ, điện kháng động bộ không bảo hòa là 1.56 đvtđ được kết nối với hệ ReU Eaf jXsI I ϕt δ 0 ϕ Re U Eaf jXsI I ϕt δ 0 ϕ Re Eaf Re U jXsI I ϕt δ 0
  • 115.
    Bài giảng Máyđiện TB Chương 5: Máy điện đồng bộ 27 thống ngoài điện kháng tương đương là XEQ=0.23 đvtđ và điện áp VEQ=1 đvtđ. Điện áp hở mạch đạt định mức khi dòng kích từ 297A. a) Tính Pmax (theo MW, và đvtđ) mà máy phát có thể cấp cho hệ thống ngoài nếu sức điện động của máy phát được giữ ở 1 đvtđ. b) Nếu máy phát được điều khiển ổn định điện áp thông qua điều chỉnh tự động từ thông. Nếu máy phát cấp điện cho tải định mức, tính góc công suất, sức điện động (theo đvtđ),và dòng kích từ tương ứng? Ví dụ 5: (EX 5.7-p272) (trang 241)
  • 116.
    Bài giảng Máyđiện TB Chương 5: Máy điện đồng bộ 28 Ví dụ 6: Một máy phát đồng bộ 3 pha hai cực có cấu trúc rotor dạng hình trụ có các thông số định mức 11kV, 50Hz, 20MVA, cuộn dây stator nối Y. Điện kháng đồng bộ 5Ω, Ra=1Ω, cosϕđm = 0,9 chậm pha. a. Tính giá trị sức điện động và góc tải ở điều kiện định mức? Tính giá trị công suất (tác dụng và phản kháng) cực đại mà máy phát có thể cấp cho lưới với giá trị sức điện động đã tính ở trên.
  • 117.
    Bài giảng Máyđiện TB Chương 5: Máy điện đồng bộ 29 b. Tính giá trị sức điện động và góc tải nếu máy phát vận hành ở hệ số công suất 0,8 chậm pha, cấp cho lưới 12MW và điện áp lưới là 10kV. Tính giá trị công suất tác dụng cực đại? c. Vẽ 2 đặc tính công suất – góc tải và chỉ ra các điểm làm việc đã tính ở trên. II.3. Đặc tính vận hành của máy phát đồng bộ ở xác lập Đặc tính ngoài Đặc tính điều chỉnh kích từ Nhận xét: If 0 R RL RC If0 I Iđm I U 0 R RL RCE Iđm
  • 118.
    Bài giảng Máyđiện TB Chương 5: Máy điện đồng bộ 30 Giới hạn công suất phản kháng của máy điện động bộ ss af t X U X UE Q 2 3cos3 −= δ Zt U Ra jXs Ia It Tải If Rf Uf Φaf Eaf n AVR
  • 119.
    Bài giảng Máyđiện TB Chương 5: Máy điện đồng bộ 31 Do: ( ) 22 2 2       =      ++ s af s tt X UE X U QP Giới hạn công suất máy điện đồng bộ
  • 120.
    Bài giảng Máyđiện TB Chương 5: Máy điện đồng bộ 32 Đặc tính hình V II.4. Phân bố công suất của máy phát đồng bộ N S A+ B+ C+B- A- C- Pkt Pout Pcơ Pcơ Pđt Pout PđPth_cơ PFe Pkt Pin Pcơ Pkt
  • 121.
    Bài giảng Máyđiện TB Chương 5: Máy điện đồng bộ 33 II.5. Ghép song song máy phát điện đồng bộ Power Plants Around the World photo gallery landing page: http://www.industcards.com/ppworld.htm Bài tập 3: Hai máy phát đồng bộ 3 pha nối Y giống nhau vận hành ở 33kV, mỗi máy cung cấp 5MW cho tải: 10MW và hệ số công suất 0,8 chậm pha. Điện kháng đồng bộ của mỗi máy là 6Ω. Máy thứ nhất có dòng điện 125A chậm pha. a. Tính dòng điện và hệ số công suất của máy thứ 2? b. Tính góc tải và sức điện đông của cả hai máy? Bài tập: Cho một máy điện đồng bộ ba pha 900MVA, 26kV, nối Y, 50Hz, hai cực, có các số liệu thí nghiệm: Dòng kích từ Dòng ngắn mạch Điện áp không tải Điện áp khe hở 1710A 10,4kA 26kV 29,6kV 3290A 20,0kA 31,8kV 56,9kV a. Tính giá trị điện kháng đồng bộ bảo hòa Xs và không bảo hòa Xs,δ, tỷ số ngắn mạch? Máy phát trên được nối lưới 26kV thông qua điện kháng nối tiếp 1 mH. Biết máy phát đang cung cấp cho lưới 800MW và 400MVAr. Bỏ qua điện trở phần ứng và tổn hao sắt. Giả sử tổn hao cơ là 20MW.
  • 122.
    Bài giảng Máyđiện TB Chương 5: Máy điện đồng bộ 34 b. Tính dòng điện phần ứng, sức điện động không tải, góc tải, và moment cơ cấp cho máy phát? c. Với kích từ như ở câu b, tính công suất tác dụng cực đại mà máy phát có thể cấp cho lưới trong ngắn hạn? Tính moment cơ khi đó? d. Với kích từ như ở câu b, tính công suất phản kháng lớn nhất và nhỏ nhất mà máy phát có thể cấp cho lưới? e. Khi điều chỉnh giảm dòng kích từ để sức điện động cảm ứng giảm 10%. Biết công suất tác dụng cấp cho lưới vẫn không đổi. Tính góc tải, dòng điện phần ứng và công suất phản kháng cấp cho lưới khi đó?
  • 123.
    Bài giảng Máyđiện TB Chương 5: Máy điện đồng bộ 35 III. Động cơ đồng bộ III.1. Mạch tương đương ( ) asaaf IjXREU &&& +=− afphdqaf NkfE Φ= ....2π Nếu bỏ qua Ra: IjXEU saf &&& += , ( )ϕδ −∠+∠=∠ IjXEU saf o 0 Thiếu kích từ, E nhỏ I chậm pha hơn U, ϕ >0 Động cơ đóng vai trò tải RL Động cơ tiêu thụ P và Q Thừa kích từ, E lớn I nhanh pha hơn U, ϕ <0 Động cơ đóng vai trò tải RC Động cơ tiêu thụ P, phát Q (Tụ bù công suất phản kháng) U jXs IaIf Rf Uf Φaf Eaf n Ra I ReU E jXsI ϕ δ 0 ReU E jXsI I ϕ δ 0 U RajXs I Eaf n E2 E1
  • 124.
    Bài giảng Máyđiện TB Chương 5: Máy điện đồng bộ 36 III.2. Đặc tính công suất - góc ( ) 2 2 121 1 sin s a Z s Z RE Z EE P +−= αδ 2 2 121 1 )cos( s s Z s Z XE Z EE Q +−−= αδ Đặc tuyến công suất – góc tải của ĐCĐB Đặc tuyến CSPK – góc tải của ĐCĐB δsin X UE 3P s af = δcos X UE 3 X U 3Q s af s 2 −= Q > 0, tải cảm (RL) δ πω sin 3 2 1 s af e X UE f pP T       ≈= s af eMAX X UE f p T 3 2π =
  • 125.
    Bài giảng Máyđiện TB Chương 5: Máy điện đồng bộ 37 Nhận xét: Khi δ < 90o , nếu rotor chậm lại → δ tăng → P tăng → rotor nhanh hơn. Khi δ > 90o , nếu rotor chậm lại → δ tăng → P giảm → rotor chậm hơn nữa → mất ổn định, động cơ đồng bộ dừng luôn. Câu hỏi: _ Khởi động động cơ đồng bộ như thế nào? _ Moment khởi động lớn hay nhỏ, có kéo nổi tải có quán tính lớn như tàu điện không? III.3. Đặc tính vận hành của động cơ đồng bộ ở xác lập Đặc tính hình V của ĐCĐB Đặc tính hình V ngược của ĐCĐB If cosϕ 0 Tải trở (R) Sớm (RC)Trễ (RL) 1 Không tải Nửa tải Đầy tải Thiếu kt Thừa kt If I 0 R RC, cosϕ = 0.8 cosϕ = 0.8, RL Iđm Không tải Nửa tải Đầy tải Thiếu kt Thừa kt ϕ > 0 ϕ < 0
  • 126.
    Bài giảng Máyđiện TB Chương 5: Máy điện đồng bộ 38 Điều chỉnh tăng hệ số công suất cosϕ III.4. Phân bố công suất của động cơ đồng bộ N S A+ B+ C+B- A- C- Pkt P1 P1=PđiệnAC Pđt=Pcơ Pout PqpPđ1 Ps Pkt Pin P1 Pkt
  • 127.
    Bài giảng Máyđiện TB Chương 5: Máy điện đồng bộ 39 Ví dụ 6: Một động cơ đồng bộ nối Y, nối vào lưới 3 pha 3980V và điều chỉnh dòng rotor sao cho sức điện động cảm ứng pha là 1790V/pha (3000V/pha - thừa kích từ). Điện kháng đồng bộ là 22ΩΩΩΩ và góc tải giữa điện áp và sức điện động cảm ứng là 30o . Xác định dòng stator và hệ số công suất, góc ϕϕϕϕ? Tính công suất biểu kiến, công suất tác dụng và công suất phản kháng? Ví dụ 8: Một động cơ đồng bộ 3 pha nối Y, 3MW, 6,6kV, 60Hz, 200rpm, kích từ độc lập không đổi, vận hành ở đầy tải ở hệ số công suất 0,8 chậm pha. Nếu điện kháng đồng bộ là 11ΩΩΩΩ, tính: công suất biểu kiến, dòng stator, sức điện động cảm ứng và góc tải? Nếu động cơ có tổn hao cơ Pqp là 200kW, tổn hao sắt Ps là 100kW, tổn hao kích từ Pkt là 50kW. Tính hiệu suất, momen điện từ, momen ngõ ra của động cơ? Tính công suất lớn nhất động cơ có thể kéo tải mà không mất đồng bộ? Tính công suất phản kháng lớn nhất mà động cơ có thể nhận từ lưới và phát lên lưới? Khi tần số giảm còn 50Hz? Khi Rs=1ΩΩΩΩ? Ví dụ 3: Một động cơ không đồng bộ kéo tải và tiêu thụ 350kW từ lưới ở hệ số công suất 0,707 chậm pha. Một động cơ đồng bộ thừa kích từ nối song song với động cơ không đồng bộ và tiêu thụ 150kW từ lưới. Nếu hệ số công suất chung của hai động cơ là 0,9 chậm pha, tính công suất phản kháng và công suất biều kiến của động cơ đồng bộ. ReU E jXsI I ϕ θ 0 U Rư jXs I E n
  • 128.
    Bài giảng Máyđiện TB Chương 5: Máy điện đồng bộ 40 (Điều chỉnh tăng hệ số công suất cosϕ) Ví dụ 13: Một động cơ không đồng bộ kéo tải và tiêu thụ 500kW từ lưới ở hệ số công suất 0,707 chậm pha. Một động cơ đồng bộ khác thừa kích từ nối song song với động cơ không đồng bộ và tiêu thụ 100kW từ lưới ở hệ số công suất 0,5. Tính hệ số công suất, công suất phản kháng và công suất biều kiến chung của hai động cơ. Tính dòng điện cấp cho động cơ không đồng bộ và dòng điện cấp chung cho cả 2 động cơ, biết U =380V? Nhận xét về kích thước dây dẫn? BT 1.3. Một máy phát đồng bộ ba pha cực từ ẩn đấu Y, 2 cực, có công suất định mức 10KVA, điện áp định mức 380V, nối lưới. Trên mỗi pha có điện trở phần ứng Rư = 0,5Ω và điện kháng đồng bộ Xđb = 5Ω. Khi máy phát cấp điện cho tải định mức với hệ số công suất cosϕ = 0,8 (dòng điện chậm pha so với điện áp), hãy xác định: a. Tính công suất tiêu thụ của tải định mức. b. Vẽ giản đồ vector và tính sức điện động cảm ứng E, góc công suất δ. c. Độ thay đổi điện áp ∆U%. d. Công suất quá tải lớn nhất máy có thể phát được mà không mất đồng bộ, biết dòng kích từ không đổi và biên độ điện áp ngõ ra không đổi. BT1.1: Một máy phát đồng bộ ba pha cực từ ẩn, 2 cực, kích từ độc lập, dòng kích từ 1A, tần số 50Hz, nối Y, 12A. Bỏ qua điện trở phần ứng, điện kháng đồng bộ pha là 10Ω. Biết tổn hao cơ là 500W, bỏ qua tổn hao sắt. a. Khi máy phát cấp nguồn cho tải với điện áp định mức 380V, và dòng điện định mức 12A, tải có hệ số công suất cosϕ=0,8, chậm pha. Vẽ giản đồ vector, tính sức điện động cảm ứng pha, góc công suất và momen cơ kéo máy phát? (1,0đ) b. Khi máy phát cấp nguồn cho tải có dòng điện định mức 12A, tải có hệ số công suất cosϕ=1. Vẽ giản đồ vector, tính điện áp dây cấp cho tải Udây, góc công suất? Biết sức điện động của máy phát vẫn không đổi như ở câu a? (1,0đ)
  • 129.
    Bài giảng Máyđiện TB Chương 5: Máy điện đồng bộ 41 c. Với tải (có dòng điện, cosϕ như) ở câu b, tính dòng kích từ điều chỉnh để điện áp dây vẫn là 380V? Biết mạch từ còn tuyến tính. (0,5đ) BT1.2. Một máy phát đồng bộ ba pha cực từ ẩn đấu Y, có công suất định mức 10KVA, điện áp định mức 380V, 50Hz, nối lưới. Trên mỗi pha có điện trở phần ứng Rư≈0Ω và điện kháng đồng bộ Xđb = 5Ω. Khi máy phát cấp điện cho tải định mức với hệ số công suất cosϕ = 0,8 (dòng điện chậm pha so với điện áp), hãy: a. Tính công suất tiêu thụ của tải định mức. b. Vẽ giản đồ vector và tính sức điện động cảm ứng E, góc công suất δ. c. Tính độ thay đổi điện áp ∆U%. d. Tính công suất quá tải lớn nhất máy có thể phát được mà không mất đồng bộ, biết dòng kích từ không đổi và biên độ điện áp ngõ ra không đổi. e. Tính momen điện từ và momen kéo của máy phát biết tổn hao cơ là 500W. Câu 1.4. Một động cơ đồng bộ 3 pha nối Y, 3MW, 6,6kV, 50Hz, 200rpm, kích từ độc lập không đổi, điện kháng đồng bộ là 10Ω. a. Khi động cơ vận hành ở công suất định mức và có hệ số công suất 0,8 nhanh pha, tính: công suất biểu kiến, sức điện động cảm ứng pha và góc tải?(1,0đ) b. Tính công suất lớn nhất động cơ có thể kéo tải mà không mất đồng bộ? Khi đó tính công suất phản kháng và momen điện từ của động cơ? (1,5đ) c. Tính công suất phản kháng lớn nhất mà động cơ có thể phát lên tải?(0,5đ) Sách trang 153: 6.22, 6.26, 6.28, 6.23 Ví dụ 6: (EX 5.8-p279) (trang 244) Pcơ Pđt P2 PđPqp Ps Pkt P1
  • 130.
    Bài giảng Máyđiện TB Chương 5: Máy điện đồng bộ 42 ================= HẾT =======================
  • 131.
    Bài giảng Máyđiện TB Chương 5: Máy điện đồng bộ 43 Bài tập 1: Một máy phát đồng bộ 3 pha hai cực có cấu trúc rotor dạng hình trụ có các thông số định mức 11kV, 50Hz, 20MVA, cuộn dây stator nối Y. Điện kháng đồng bộ 5Ω, cosϕđm = 0,9 chậm pha. d. Tính giá trị sức điện động và góc tải ở điều kiện định mức? Tính giá trị công suất cực đại mà máy phát có thể cấp cho lưới với giá trị sức điện động đã tính ở trên. e. Tính giá trị sức điện động và góc tải nếu máy phát vận hành ở hệ số công suất 0,8 chậm pha, cấp cho lưới 12MW và điện áp lưới là 10kV. Tính giá trị công suất cực đại? f. Vẽ 2 đặc tính công suất – góc tải và chỉ ra các điểm làm việc đã tính ở trên. Bài tập 2: Một máy phát đồng bộ 3 pha hai cực có cấu trúc rotor dạng hình trụ có các thông số định mức 11kV, 50Hz, 20MVA, cuộn dây stator nối Y. Điện kháng đồng bộ 5Ω. a. Tính giá trị công suất, sức điện động và góc tải ở điều kiện định mức với tải có cosϕ = 0,9 chậm pha?Tính giá trị công suất tác dụng cực đại mà máy phát có thể cấp cho lưới với giá trị sức điện động đã tính ở trên? b. Tính giá trị công suất, sức điện động và góc tải nếu máy phát vận hành ở hệ số công suất 0,8 nhanh pha, cấp cho lưới 20MVA ở điện áp lưới định mức? c. Vẽ 2 đặc tính công suất – góc tải và chỉ ra các điểm làm việc đã tính ở trên? So sánh sức điện động của máy phát trong hai trường hợp trên? Bài tập 3: Hai máy phát đồng bộ 3 pha nối Y giống nhau vận hành ở 33kV, mỗi máy cung cấp 5MW cho tải 10MW, có hệ số công suất 0,8 chậm pha. Điện kháng đồng bộ của mỗi máy là 6Ω. Máy thứ nhất có dòng điện 125A chậm pha. c. Tính dòng điện và hệ số công suất của máy thứ 2? d. Tính góc tải và sức điện đông của cả hai máy? Bài tập 4: Một máy điện đồng bộ có cuộn dậy stator 3 pha, cuộn dây kích từ rotor và cấu trúc rotor và stator dạng hình trụ. a. Vẽ mạch tương đương và giản đồ pha tương ứng khi máy điện vận hành ở chế độ: i. Máy phát thừa kích từ ii. Máy phát thiếu kích từ iii.Động cơ thừa kích từ iv. Động cơ thiếu kích từ Xác định trong mỗi trường hợp chiều của công suất tác dụng và công suất phản kháng giữa máy điện và lưới; và xác định hệ số công suất nhanh hay chậm.
  • 132.
    Bài giảng Máyđiện TB Chương 5: Máy điện đồng bộ 44 b. Một máy phát đồng bộ 3 pha hai cực có cấu trúc rotor dạng hình trụ có các thông số định mức 16MVA, 10,5kV, 50Hz, cuộn dây stator nối Y. Điện kháng đồng bộ 13,77Ω, cosϕđm = 0,8 chậm pha. Tính giá trị sức điện động và góc tải khi máy phát vận hành ở điều kiện định mức? Và tính giá trị công suất tác dụng cực đại mà máy phát có thể cấp cho lưới, với giá trị sức điện động như khi vận hành ở điều kiện định mức trên. Bài tập 5: a. Một tuabin phát điện 3 pha có điện kháng đồng bộ 14Ω và cấp cho lưới công suất tác dụng 1,68MW với hệ số công suất chậm pha. Cuộn dây stator máy phát nối Y, nối với lưới 11kV và dòng điện stator là 100A. Tính hệ số công suất, góc tải và sức điện động cảm ứng? b. Một máy phát đồng bộ và một máy phát không đồng bộ nối song song và cấp vào lưới điện công suất tác dụng 800kW với hệ số công suất chung bằng 0,8 chậm pha. Biết máy phát không đồng bộ vận hành ở công suất 0,9 và phát công suất tác dụng 300kW vào lưới. Xác định hệ số công suất và công suất tác dụng máy phát đồng bộ phát lên lưới. Bài tập 6: Một máy phát đồng bộ ba pha cực từ ẩn, 2 cực, đấu Y, có công suất định mức 10KVA, điện áp định mức 380V, 50Hz, nối lưới. Trên mỗi pha có điện kháng đồng bộ Xđb = 2Ω. Biết tổn hao sắt là là 200W và tổn hao cơ là 500W. Khi máy phát cấp điện cho tải định mức với hệ số công suất cosϕ = 0,8 (chậm pha), hãy xác định: a. Tính công suất tiêu thụ, hiệu suất và momen cơ cấp cho máy phát ở tải định mức? b. Vẽ giản đồ vector và tính sức điện động cảm ứng E, góc công suất δ. c. Độ thay đổi điện áp ∆U%. d. Công suất quá tải lớn nhất máy có thể phát được mà không mất đồng bộ, biết dòng kích từ và biên độ điện áp ngõ ra không đổi. e. Tính moment định mức và moment cực đại để kéo máy phát. BT1.1: Một máy phát đồng bộ ba pha cực từ ẩn, 2 cực, kích từ độc lập, dòng kích từ 1A, tần số 50Hz, nối Y, 12A. Bỏ qua điện trở phần ứng, điện kháng đồng bộ pha là 10Ω. Biết tổn hao cơ là 500W, bỏ qua tổn hao sắt. a. Khi máy phát cấp nguồn cho tải với điện áp định mức 380V, và dòng điện định mức 12A, tải có hệ số công suất cosϕ=0,8, chậm pha. Vẽ giản đồ vector, tính sức điện động cảm ứng pha, góc công suất và momen cơ kéo máy phát? (1,0đ) b. Khi máy phát cấp nguồn cho tải có dòng điện định mức 12A, tải có hệ số công suất cosϕ=1. Vẽ giản đồ vector, tính điện áp dây cấp cho tải Udây, góc công suất? Biết sức điện động của máy phát vẫn không đổi như ở câu a? (1,0đ)
  • 133.
    Bài giảng Máyđiện TB Chương 5: Máy điện đồng bộ 45 c. Với tải (có dòng điện, cosϕ như) ở câu b, tính dòng kích từ điều chỉnh để điện áp dây vẫn là 380V? Biết mạch từ còn tuyến tính. (0,5đ) BT1.2. Một máy phát đồng bộ ba pha cực từ ẩn đấu Y, có công suất định mức 10KVA, điện áp định mức 380V, 50Hz, nối lưới. Trên mỗi pha có điện trở phần ứng Rư≈0Ω và điện kháng đồng bộ Xđb = 5Ω. Khi máy phát cấp điện cho tải định mức với hệ số công suất cosϕ = 0,8 (dòng điện chậm pha so với điện áp), hãy: a. Tính công suất tiêu thụ của tải định mức. b. Vẽ giản đồ vector và tính sức điện động cảm ứng E, góc công suất δ. c. Tính độ thay đổi điện áp ∆U%. d. Tính công suất quá tải lớn nhất máy có thể phát được mà không mất đồng bộ, biết dòng kích từ không đổi và biên độ điện áp ngõ ra không đổi. e. Tính momen điện từ và momen kéo của máy phát biết tổn hao cơ là 500W. BT 1.3. Một máy phát đồng bộ ba pha cực từ ẩn đấu Y, 2 cực, có công suất định mức 10KVA, điện áp định mức 380V, nối lưới. Trên mỗi pha có điện trở phần ứng Rư = 0,5Ω và điện kháng đồng bộ Xđb = 5Ω. Khi máy phát cấp điện cho tải định mức với hệ số công suất cosϕ = 0,8 (dòng điện chậm pha so với điện áp), hãy xác định: a. Tính công suất tiêu thụ của tải định mức. b. Vẽ giản đồ vector và tính sức điện động cảm ứng E, góc công suất δ. c. Độ thay đổi điện áp ∆U%. d. Công suất quá tải lớn nhất máy có thể phát được mà không mất đồng bộ, biết dòng kích từ không đổi và biên độ điện áp ngõ ra không đổi. Pcơ Pđt P2 PđPqp Ps Pkt P1
  • 134.
    Bài giảng KỹThuật 2 TB Chương 6: Máy điện một chiều 1 Chương 6: MÁY ĐIỆN MỘT CHIỀU I. Tổng quan
  • 135.
    Bài giảng KỹThuật 2 TB Chương 6: Máy điện một chiều 2
  • 136.
    Bài giảng KỹThuật 2 TB Chương 6: Máy điện một chiều 3 Nguyên lý hoạt động của máy điện một chiều
  • 137.
    Bài giảng KỹThuật 2 TB Chương 6: Máy điện một chiều 4
  • 138.
    Bài giảng KỹThuật 2 TB Chương 6: Máy điện một chiều 5 Động cơ
  • 139.
    Bài giảng KỹThuật 2 TB Chương 6: Máy điện một chiều 6
  • 140.
    Bài giảng KỹThuật 2 TB Chương 6: Máy điện một chiều 7
  • 141.
    Bài giảng KỹThuật 2 TB Chương 6: Máy điện một chiều 8 Phản ứng phần ứng – vành trượt lệch qua một bên Neutral Zone Magnetic field N I B F I B S S N S N Vị trí chổi than Stator và cuộn dây N Chổi than Rotor DC Motor S
  • 142.
    Bài giảng KỹThuật 2 TB Chương 6: Máy điện một chiều 9
  • 143.
    Bài giảng KỹThuật 2 TB Chương 6: Máy điện một chiều 10 Dòng điện qua rotor đảo chiều Dòng điện qua stator Dòng điện qua rotor Động cơ DC chạy thuận Động cơ DC chạy ngược Động cơ DC Momen tải
  • 144.
    Bài giảng KỹThuật 2 TB Chương 6: Máy điện một chiều 11 II. Phân tích máy phát một chiều a pN k π2 = Eđm Ikt E 0 Ikt Rt U Rư Iu It TảiE = k.Φkt.ω ≈ k.kkt.Ikt.ω Rkt Ukt Φkt ω U Rư Iu E
  • 145.
    Bài giảng KỹThuật 2 TB Chương 6: Máy điện một chiều 12
  • 146.
    Bài giảng KỹThuật 2 TB Chương 6: Máy điện một chiều 13 II.1. Máy phát DC kích từ độc lập Pin Pcơ Ps≈≈≈≈ 0Pth-cơ Pđt Pout Pđ Pkt Pin Pcơ Ps≈≈≈≈ 0Pkt Pqp Pđt Pout Pđ Iu U 0 E Iđm
  • 147.
    Bài giảng KỹThuật 2 TB Chương 6: Máy điện một chiều 14 II.2. Máy phát DC kích từ song song Eđm Ikt E 0 Ikt Rt U Rư Iu It TảiE = k.Φkt.ω ≈ k.kkt.Ikt.ω Rkt Ukt Φkt ω Eđm Ikt E 0 Rkt1 > Rkt2 > Rkt3 Tải Ikt Rt U Rư Iu It E = k.Φkt.ω ≈ k.kkt.Ikt.ω Rkt ω I U 0 E
  • 148.
    Bài giảng KỹThuật 2 TB Chương 6: Máy điện một chiều 15 II.3. Máy phát DC kích từ hỗn hợp Kích từ hỗn hợp rẽ ngắn ` Kích từ hỗn hợp rẽ dài Tải Ikt Rt U Rư Iu It E = k.Φhh.ω Rkt ω Rs Tải Ikt Rt U Rư Iu It E = k.Φhh.ω Rkt ω Rs
  • 149.
    Bài giảng KỹThuật 2 TB Chương 6: Máy điện một chiều 16 Khảo sát phản ứng phần ứng: Ví dụ 3: Cho máy phát 100-kW, 250V, 400A, kích từ hỗ hợp cộng rẽ dài. Ru=0,025Ω, Rs=0,005Ω. Dòng kích từ song song là 4,7A. Cuộn kích từ song song có 1000vòng trên môi cực từ, cuộn kích từ nối tiếp có 3 vòng trên mỗi cực từ. Tốc độ máy phát là 1150RPM. Tính điện áp của máy phát khi cấp dòng định mức cho tải? Biết lúc thí nghiệm không tải ở tốc độ 1200RPM, điện áp hở mạch đo được là 274V.
  • 150.
    Bài giảng KỹThuật 2 TB Chương 6: Máy điện một chiều 17 Ví dụ 4: Tính lại ví dụ trên khi có xét đến phản ứng phần ứng? Tra theo đặc tuyến từ hình 7.14. Ví dụ 5: Tính lại ví dụ 4 nếu cuộn kích từ nối tiếp có 4 vòng dây và có điện trở là Rs=0,007Ω. III. Phân tích động cơ một chiều III.1. Động cơ DC kích từ độc lập, NCVC E = k.Φkt.ω ≈ k. kkt.Ikt.ω hay U Rư Iu E Ikt Rkt Ukt ω
  • 151.
    Bài giảng KỹThuật 2 TB Chương 6: Máy điện một chiều 18 kt uu kt k IRU k E Φ − = Φ =ω 60 n 2 )RPM( )s/rad( πω = ω P T = ωω uudt dt IEP T == ω out out P T = uktEu ktuudt dt IkI kIEP T Φ= Φ === ω ω ωω uktdt IkT Φ= U Rư Iu E Ikt Rkt Ukt ω Φkt P1 Pđien P2 Ps≈≈≈≈ 0Pkt Pđ Pth_cơ PcơPđt
  • 152.
    Bài giảng KỹThuật 2 TB Chương 6: Máy điện một chiều 19 I, Mđt 0 ωolt ωo ωđm Iđm, Mđm I0 Ikđ, Mkđ ω I, Mđt ω 0 ωolt ωo ωđm IđmI0
  • 153.
    Bài giảng KỹThuật 2 TB Chương 6: Máy điện một chiều 20 III.2. Động cơ DC kích từ song song III.3. Động cơ DC kích từ nối tiếp U Rư Iu E Int Rnt U Rư Iu E Ikt Rkt Ukt=U
  • 154.
    Bài giảng KỹThuật 2 TB Chương 6: Máy điện một chiều 21 III.3. Động cơ DC kích từ hỗn hợp U Rư Iu E Int Rnt Ikt Rkt
  • 155.
    Bài giảng KỹThuật 2 TB Chương 6: Máy điện một chiều 22 IV. Điều khiển tốc độ động cơ một chiều kích từ độc lập a) Điều khiển điện áp phần ứng: ( ) co2 u M k R k U Φ − Φ =ω U giảm ⇒ ω giảm b) Điều khiển từ thông kích từ: ( ) co2 u M k R k U Φ − Φ =ω Φ giảm ⇒ ω tăng Điều khiển hỗn hợp điện áp phần ứng và từ thông Điều khiển thay đổi tốc độ ω thông qua: _ điều khiển điện áp phần ứng U khi: ω < ωđm. _ điều khiển từ thông kích từ Φ khi: ω > ωđm. U Rư Iu E Ikt Rkt Ukt ω Φkt VR Mcơ ω 0 ωolt ωđm Mđm Φ giảm Pmax ωωωωmax Mmax U Rư Iu E Ikt Rkt Ukt ω Φkt Mcơ ω 0 ωolt ωđm Mđm U giảm
  • 156.
    Bài giảng KỹThuật 2 TB Chương 6: Máy điện một chiều 23 c) Điều khiển điện trở phần ứng: ( ) co2 u M k R k U Φ − Φ =ω Rư tăng ⇒ ω giảm Mcơ U giảm Mđm ω 0 ωolt ωđm Φ giảm I II IIII ω Mcơ 0 Mđm ωđm Pđm Iưđm Mđm ωmax Điều khiển U Điều khiển ΦΦΦΦ
  • 157.
    Bài giảng KỹThuật 2 TB Chương 6: Máy điện một chiều 24 d) Khởi động đông cơ DC kích từ độc lập: Dòng điện khởi động không lớn hơn khả năng chịu dòng của chổi than (thường là 3Iđm). Moment khởi động không lớn hơn khả năng chịu đựng của tải (thường là 3Mđm). e) Điều khiển vòng kín tốc độ động cơ DC dùng PID: ndat Động cơ + u _ n n PIDtốc độ e Iư, Mcơ ω 0 ωolt ωđm Iưđm, VR tăng U Rư Iu E Ikt Rkt Ukt ω Φkt VR
  • 158.
    Bài giảng KỹThuật 2 TB Chương 6: Máy điện một chiều 25 V. Đặc tính động cơ DC Ví dụ 1: (Ex 7.1-p371) (Vd 7.2, trang 344) Ví dụ 2: (Pr 7.1-p372) ωdat Động cơ+ PIDdòng điện u _ ω ω PIDtốc độ + _ i P1 Pứng P2 Ps≈≈≈≈ 0Pkt Pđ Pth_cơ PcơPđt
  • 159.
    Bài giảng KỹThuật 2 TB Chương 6: Máy điện một chiều 26 Ví dụ 3: (Ex 7.2-p372) Ví dụ 4: (Pr 7.2-p373) Ví dụ 5: (Ex 7.3-p376) (Vd 7.1, trang 336) Ví dụ 6: (Ex 7.4-p377) Ví dụ 7: (Ex 7.5-p378) Ví dụ 8: (Pr 7.5-p378) Ví dụ 9: (Ex 7.6-p381) (Vd 7.3, trang 345)
  • 160.
    Bài giảng KỹThuật 2 TB Chương 6: Máy điện một chiều 27 Ví dụ 10: (Pr 7.5-p382) Ví dụ 11: (Ex 7.7-p383) Ví dụ 12: (Pr 7.6-p384) Ví dụ 13: (Ex 7.9-p389)
  • 161.
    Bài giảng KỹThuật 2 TB Chương 6: Máy điện một chiều 28 Ví dụ 14: (Pr 7.8-p390)
  • 162.
    Bài giảng KỹThuật 2 TB Chương 6: Máy điện một chiều 29
  • 163.
    Bài giảng KỹThuật 2 TB Chương 6: Máy điện một chiều 30
  • 164.
    Bài giảng KỹThuật 2 TB Chương 6: Máy điện một chiều 31
  • 165.
    Bài giảng KỹThuật 2 TB Chương 6: Máy điện một chiều 32
  • 166.
    Bài giảng KỹThuật 2 TB Chương 6: Máy điện một chiều 33
  • 167.
    Bài giảng: Cácmáy điện một chiều và xoay chiều TCBinh Hình vẽ Chương 5: Động cơ công suất nhỏ 1 Chương 5: ĐỘNG CƠ CÔNG SUẤT NHỎ I. Động cơ xoay chiều một pha II. Động cơ một chiều nam châm vĩnh cửu
  • 168.
    Bài giảng: Cácmáy điện một chiều và xoay chiều TCBinh Hình vẽ Chương 5: Động cơ công suất nhỏ 2 III. Động cơ vạn năng IV. Động cơ Servo DC V. Động cơ Servo AC
  • 169.
    Bài giảng: Cácmáy điện một chiều và xoay chiều TCBinh Hình vẽ Chương 5: Động cơ công suất nhỏ 3 VI. Động cơ bước
  • 170.
    Bài giảng: Cácmáy điện một chiều và xoay chiều TCBinh Hình vẽ Chương 5: Động cơ công suất nhỏ 4 VII. Động cơ từ trở VIII. Động cơ một chiều không chổi than (Brushless DC - BLDC) IX. Động cơ xoay chiều không chổi than (Brushless AC) X. Máy phát điện dùng sức gió A B C D A C D B Stator Pole Unaligned Position Flux Path Aligned Position Flux Path Rotor Pole