РЕСПУБЛИКА КАЗАХСТАН
(19) KZ (13) B (11) 28873
(51) F42B 19/00 (2006.01)
КОМИТЕТ ПО ПРАВАМ
ИНТЕЛЛЕКТУАЛЬНОЙ СОБСТВЕННОСТИ
МИНИСТЕРСТВА ЮСТИЦИИ РЕСПУБЛИКИ КАЗАХСТАН
ОПИСАНИЕ ИЗОБРЕТЕНИЯ
К ПАТЕНТУ
(21) 2013/0217.1
(22) 20.02.2013
(45) 15.08.2014, бюл.№ 8
(76) Кадыров Жаннат Нургалиевич; Шубин
Анатолий Борисович
(56) Ударная кислородная самонаводящаяся торпеда
53-65КЭ. 2009. URL:http://dvigatel.net/to-l.html
Подводное оружие и атомные подводные лодки.
2012. URL: http://undergun.ru/torрedy/93/
RU 2310155 С2, 10.11.2007
(54) ТОРПЕДНЫЙ ДВИГАТЕЛЬ ДЛЯ
ДАЛЬНОХОДНЫХ КИСЛОРОДНЫХ
САМОНАВОДЯЩИХСЯ ТОРПЕД
(57) Изобретение относится к торпедным
двигателям для дальноходных кислородных
самонаводящихся торпед, выполненным в виде
одновенечных турбин активного типа с
понижающими двухступенчатыми редукторами и
может применяться в торпедах боевого и
практического применения, энергокомпонентами
которых являются кислород, керосин и забортная
вода.
Технический результат при использовании
предлагаемого изобретения заключается в
повышении кпд двигателя.
Высота рабочих лопаток ротора турбины
выбрана с возможностью перекрытия в статическом
состоянии верхними кромками рабочих лопаток
соплового отверстия, а понижающий
двухступенчатый редуктор выполнен с
возможностью увеличения его общего
передаточного отношения.
(19)KZ(13)B(11)28873
28873
2
Изобретение относится к торпедным двигателям
для дальноходных кислородных самонаводящихся
торпед, выполненным в виде одновенечных турбин
активного типа с понижающими двухступенчатыми
редукторами и может применяться в торпедах
боевого и практического применения,
энергокомпонентами которых являются кислород,
керосин и забортная вода.
Один из энергокомпонентов торпедного
двигателя - керосин, поступает в камеру сгорания.
Сгорая в кислородной среде керосин образует
продукты сгорания, которые, смешиваясь с
забортной водой и испаряя ее, образуют
парогазовую смесь, поступающую через сопла на
рабочие лопатки ротора турбины. Вращение
турбины через понижающий редуктор передается на
движитель торпеды - ее гребные винты.
Так работает двигатель торпеды 53-65 КЭ
(Ударная кислородная самонаводящаяся торпеда 53-
65 КЭ.2009.URL: http://dvig-atel.net/to-l.html).
Данное решение является наиболее близким по
технической сущности к предлагаемому и принято
за прототип.
Известный двигатель имеет недостатки. Так,
замеры, проведенные в работающем двигателе
серийной торпеды 53-65 КЭ показали, что за счет
имеющих место тепловых и окружных деформаций
фактическое расположение сопел и рабочих лопаток
ротора отличается от расчетного (номинального)
положения, в связи с чем часть парогазовой смеси
проходит мимо рабочих лопаток ротора, что
приводит к снижению кпд двигателя.
Расчеты и экспериментальные исследования
показали имеющиеся резервы в повышении кпд
двигателя за счет изменения (увеличения) общего
передаточного отношения понижающего
двухступенчатого редуктора, осуществляемого
подбором соответствующих шестерен.
Технический результат при использовании
предлагаемого изобретения заключается в
повышении кпд двигателя.
Указанный технический результат достигается
тем, что, в торпедном двигателе для дальноходных
кислородных самонаводящихся торпед,
выполненном в виде одновенечной турбины
активного типа с понижающим двухступенчатым
редуктором, содержащем камеру сгорания, сопла и
рабочие лопатки ротора турбины, высота последних
выбрана с возможностью перекрытия в статическом
состоянии верхними кромками рабочих лопаток
соплового отверстия, а понижающий
двухступенчатый редуктор выполнен с
возможностью увеличения его общего
передаточного отношения.
Сопоставительный анализ с прототипом
показывает, что высота рабочих лопаток ротора
турбины выбрана с возможностью перекрытия в
статическом состоянии верхними кромками рабочих
лопаток соплового отверстия, а понижающий
двухступенчатый редуктор выполнен с
возможностью увеличения его общего
передаточного отношения.
Таким образом, заявляемое устройство
соответствует критерию изобретения «НОВИЗНА».
Сравнение заявляемого решения не только с
прототипом, но и с другими техническими
решениями в данной и смежных областях техники
не позволило выявить в них признаки, отличающие
заявляемое решение от прототипа, что позволяет
сделать вывод о соответствии критерию
изобретения
Существенные отличия.
Изобретение поясняется иллюстрациями, где на
фиг.1 изображено расчетное (номинальное)
взаимное расположение сопла и лопатки ротора; на
фиг.2 - их фактическое (эксплуатационное)
расположение; на фиг.3 - предлагаемое в
соответствии с данным изобретением расположение.
Предлагаемый торпедный двигатель для
дальноходных кислородных самонаводящихся
торпед выполнен в виде одновенечной турбины
активного типа с понижающим двухступенчатым
редуктором и содержит камеру сгорания, сопла и
рабочие лопатки ротора турбины.
В процессе эксплуатации двигателя
осуществляют подвод образованной в камере
сгорания парогазовой смеси через сопла к рабочим
лопаткам ротора турбины, осуществляют вращение
ротора и передачу вращения через понижающий
двухступенчатый редуктор на гребные винты. При
этом, высоту рабочих лопаток ротора турбины
выбирают таким образом, чтобы в статическом
положении верхние кромки лопаток перекрывали
сопловое отверстие. В соответствии с предлагаемым
изобретением увеличивают также общее
передаточное отношение редуктора. Все это в
совокупности приводит к достижению технического
результата, а именно, к повышению кпд торпедного
двигателя.
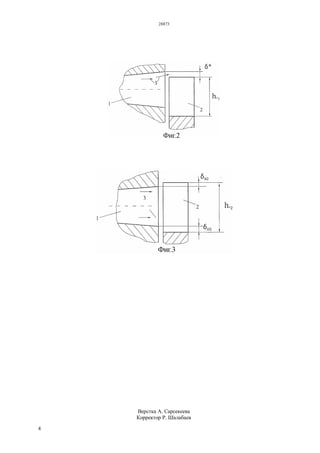
Номинальное (расчетное) расположение сопла 1
и лопаток 2 ротора показано на фиг.1. При этом
размеры комплектующих торпедного двигателя, а
именно, диаметр сопла dс и высота hΛ1 и рабочих
лопаток ротора турбины выбраны таким образом,
что в статике обеспечивается перекрытие лопатками
ротора выходного отверстия сопла (δВ1 и δН1 -
соответственно верхнее и нижнее перекрытие, δВ1 -
минимально). Стрелками 3 показано движение
парогазовой смеси.
Однако в процессе эксплуатации, как показали
результаты замеров, за счет имеющих место
тепловых и окружных деформаций фактическое
расположение выходного отверстия сопла и лопаток
ротора имеет вид, изображенный на фиг.2. При этом
выходное отверстие сопла расположено выше
верхней кромки лопатки ротора, образуя зазор δ*,
через который происходит прохождение («утечка»)
парогазовой смеси мимо лопатки ротора, и приводит
к снижению кпд двигателя.
В соответствии с предлагаемым изобретением
увеличивают высоту лопаток ротора с hΛ1 = 10 до
hΛ2 = 11,5 мм, что придает взаимное расположение
сопла и лопаток ротора, показанное на фиг.3 и
обеспечит гарантированное перекрытие лопаткой
ротора выходного отверстия сопла даже при
28873
3
имеющих место тепловых и окружных деформациях
деталей ротора. (δВ2 >> δВ1), где δВ2 и δН2 -
соответственно, верхнее и нижнее перекрытие в
соответствии с предлагаемым способом.
Испытания показали, что только из-за
увеличения высоты лопаток ротора кпд торпедного
двигателя возрастает на 3%. При этом
осуществляемая в соответствии с предлагаемым
изобретением модернизация лопаток ротора
незначительна, экономически обоснована и
нематериалоёмка и рекомендована для применения
в серийных торпедах 53-65 КЭ.
Известно, что окружной кпд η турбины
активного типа описывается зависимостью:
η = 2·у2
(1+φ) (cos α - υ/c) υ/c,
где у - коэффициент потерь трения в соплах; φ -
коэффициент потерь трения на лопатках одновенечной
турбины активного типа (роторе); α - угол наклона
сопел, град; υ - окружная скорость ротора, м·с-1
; с -
скорость газа на выходе из сопел, м·с-1
.
Видно, что КПД в значительной степени зависит
от отношения υ/c и величины υ.
В соответствии с предлагаемым изобретением
окружную скорость ротора увеличиваем за счет
изменения общего передаточного отношения
редуктора, например, за счет подбора шестерен
первой ступени.
В табл.1 приведены сравнительные данные,
имеющие в серийной торпеде 53-65 КЭ и в
соответствии с предлагаемым изобретением.
Таблица 1
Сравнение технических параметров существующей серийной торпеды 53-65 КЭ и предлагаемых в
соответствии с данным изобретением
Номер
n/n
Технический параметр Серийная торпеда 53-65 КЭ Предлагаемые
1 Числа зубьев передач и общее
передаточное отношение i редуктора
i=(45/15) • (75/15)=15 i=(46/14) • (75/15)=16,428
2 Скорость вращения одновенечной
турбины (ротора), об·мин-1
25200 27550
3 Окружная скорость ротора, υ м·с-1
408,8 447
4 Отношение υ/c 0,33 0,36
5 Окружной КПД 0,742 0,771
Видно, что только за счет подбора шестерен
первой ступени редуктора изменено (увеличено) его
общее передаточное отношение с 15 до 16,428, что
привело как к увеличению окружной скорости
вращения ротора, так и к увеличению на 3,9%
окружного кпд турбины (торпедного двигателя).
ФОРМУЛА ИЗОБРЕТЕНИЯ
Торпедный двигатель для дальноходных
кислородных самонаводящихся торпед,
выполненный в виде одновенечной турбины
активного типа с понижающим двухступенчатым
редуктором, содержащий камеру сгорания, сопла и
рабочие лопатки ротора турбины, отличающийся
тем, что высота рабочих лопаток ротора турбины
выбрана с возможностью перекрытия в статическом
состоянии верхними кромками рабочих лопаток
соплового отверстия, а понижающий
двухступенчатый редуктор выполнен с
возможностью увеличения его общего
передаточного отношения.
28873
4
Верстка А. Сарсекеева
Корректор Р. Шалабаев

28873p

  • 1.
    РЕСПУБЛИКА КАЗАХСТАН (19) KZ(13) B (11) 28873 (51) F42B 19/00 (2006.01) КОМИТЕТ ПО ПРАВАМ ИНТЕЛЛЕКТУАЛЬНОЙ СОБСТВЕННОСТИ МИНИСТЕРСТВА ЮСТИЦИИ РЕСПУБЛИКИ КАЗАХСТАН ОПИСАНИЕ ИЗОБРЕТЕНИЯ К ПАТЕНТУ (21) 2013/0217.1 (22) 20.02.2013 (45) 15.08.2014, бюл.№ 8 (76) Кадыров Жаннат Нургалиевич; Шубин Анатолий Борисович (56) Ударная кислородная самонаводящаяся торпеда 53-65КЭ. 2009. URL:http://dvigatel.net/to-l.html Подводное оружие и атомные подводные лодки. 2012. URL: http://undergun.ru/torрedy/93/ RU 2310155 С2, 10.11.2007 (54) ТОРПЕДНЫЙ ДВИГАТЕЛЬ ДЛЯ ДАЛЬНОХОДНЫХ КИСЛОРОДНЫХ САМОНАВОДЯЩИХСЯ ТОРПЕД (57) Изобретение относится к торпедным двигателям для дальноходных кислородных самонаводящихся торпед, выполненным в виде одновенечных турбин активного типа с понижающими двухступенчатыми редукторами и может применяться в торпедах боевого и практического применения, энергокомпонентами которых являются кислород, керосин и забортная вода. Технический результат при использовании предлагаемого изобретения заключается в повышении кпд двигателя. Высота рабочих лопаток ротора турбины выбрана с возможностью перекрытия в статическом состоянии верхними кромками рабочих лопаток соплового отверстия, а понижающий двухступенчатый редуктор выполнен с возможностью увеличения его общего передаточного отношения. (19)KZ(13)B(11)28873
  • 2.
    28873 2 Изобретение относится кторпедным двигателям для дальноходных кислородных самонаводящихся торпед, выполненным в виде одновенечных турбин активного типа с понижающими двухступенчатыми редукторами и может применяться в торпедах боевого и практического применения, энергокомпонентами которых являются кислород, керосин и забортная вода. Один из энергокомпонентов торпедного двигателя - керосин, поступает в камеру сгорания. Сгорая в кислородной среде керосин образует продукты сгорания, которые, смешиваясь с забортной водой и испаряя ее, образуют парогазовую смесь, поступающую через сопла на рабочие лопатки ротора турбины. Вращение турбины через понижающий редуктор передается на движитель торпеды - ее гребные винты. Так работает двигатель торпеды 53-65 КЭ (Ударная кислородная самонаводящаяся торпеда 53- 65 КЭ.2009.URL: http://dvig-atel.net/to-l.html). Данное решение является наиболее близким по технической сущности к предлагаемому и принято за прототип. Известный двигатель имеет недостатки. Так, замеры, проведенные в работающем двигателе серийной торпеды 53-65 КЭ показали, что за счет имеющих место тепловых и окружных деформаций фактическое расположение сопел и рабочих лопаток ротора отличается от расчетного (номинального) положения, в связи с чем часть парогазовой смеси проходит мимо рабочих лопаток ротора, что приводит к снижению кпд двигателя. Расчеты и экспериментальные исследования показали имеющиеся резервы в повышении кпд двигателя за счет изменения (увеличения) общего передаточного отношения понижающего двухступенчатого редуктора, осуществляемого подбором соответствующих шестерен. Технический результат при использовании предлагаемого изобретения заключается в повышении кпд двигателя. Указанный технический результат достигается тем, что, в торпедном двигателе для дальноходных кислородных самонаводящихся торпед, выполненном в виде одновенечной турбины активного типа с понижающим двухступенчатым редуктором, содержащем камеру сгорания, сопла и рабочие лопатки ротора турбины, высота последних выбрана с возможностью перекрытия в статическом состоянии верхними кромками рабочих лопаток соплового отверстия, а понижающий двухступенчатый редуктор выполнен с возможностью увеличения его общего передаточного отношения. Сопоставительный анализ с прототипом показывает, что высота рабочих лопаток ротора турбины выбрана с возможностью перекрытия в статическом состоянии верхними кромками рабочих лопаток соплового отверстия, а понижающий двухступенчатый редуктор выполнен с возможностью увеличения его общего передаточного отношения. Таким образом, заявляемое устройство соответствует критерию изобретения «НОВИЗНА». Сравнение заявляемого решения не только с прототипом, но и с другими техническими решениями в данной и смежных областях техники не позволило выявить в них признаки, отличающие заявляемое решение от прототипа, что позволяет сделать вывод о соответствии критерию изобретения Существенные отличия. Изобретение поясняется иллюстрациями, где на фиг.1 изображено расчетное (номинальное) взаимное расположение сопла и лопатки ротора; на фиг.2 - их фактическое (эксплуатационное) расположение; на фиг.3 - предлагаемое в соответствии с данным изобретением расположение. Предлагаемый торпедный двигатель для дальноходных кислородных самонаводящихся торпед выполнен в виде одновенечной турбины активного типа с понижающим двухступенчатым редуктором и содержит камеру сгорания, сопла и рабочие лопатки ротора турбины. В процессе эксплуатации двигателя осуществляют подвод образованной в камере сгорания парогазовой смеси через сопла к рабочим лопаткам ротора турбины, осуществляют вращение ротора и передачу вращения через понижающий двухступенчатый редуктор на гребные винты. При этом, высоту рабочих лопаток ротора турбины выбирают таким образом, чтобы в статическом положении верхние кромки лопаток перекрывали сопловое отверстие. В соответствии с предлагаемым изобретением увеличивают также общее передаточное отношение редуктора. Все это в совокупности приводит к достижению технического результата, а именно, к повышению кпд торпедного двигателя. Номинальное (расчетное) расположение сопла 1 и лопаток 2 ротора показано на фиг.1. При этом размеры комплектующих торпедного двигателя, а именно, диаметр сопла dс и высота hΛ1 и рабочих лопаток ротора турбины выбраны таким образом, что в статике обеспечивается перекрытие лопатками ротора выходного отверстия сопла (δВ1 и δН1 - соответственно верхнее и нижнее перекрытие, δВ1 - минимально). Стрелками 3 показано движение парогазовой смеси. Однако в процессе эксплуатации, как показали результаты замеров, за счет имеющих место тепловых и окружных деформаций фактическое расположение выходного отверстия сопла и лопаток ротора имеет вид, изображенный на фиг.2. При этом выходное отверстие сопла расположено выше верхней кромки лопатки ротора, образуя зазор δ*, через который происходит прохождение («утечка») парогазовой смеси мимо лопатки ротора, и приводит к снижению кпд двигателя. В соответствии с предлагаемым изобретением увеличивают высоту лопаток ротора с hΛ1 = 10 до hΛ2 = 11,5 мм, что придает взаимное расположение сопла и лопаток ротора, показанное на фиг.3 и обеспечит гарантированное перекрытие лопаткой ротора выходного отверстия сопла даже при
  • 3.
    28873 3 имеющих место тепловыхи окружных деформациях деталей ротора. (δВ2 >> δВ1), где δВ2 и δН2 - соответственно, верхнее и нижнее перекрытие в соответствии с предлагаемым способом. Испытания показали, что только из-за увеличения высоты лопаток ротора кпд торпедного двигателя возрастает на 3%. При этом осуществляемая в соответствии с предлагаемым изобретением модернизация лопаток ротора незначительна, экономически обоснована и нематериалоёмка и рекомендована для применения в серийных торпедах 53-65 КЭ. Известно, что окружной кпд η турбины активного типа описывается зависимостью: η = 2·у2 (1+φ) (cos α - υ/c) υ/c, где у - коэффициент потерь трения в соплах; φ - коэффициент потерь трения на лопатках одновенечной турбины активного типа (роторе); α - угол наклона сопел, град; υ - окружная скорость ротора, м·с-1 ; с - скорость газа на выходе из сопел, м·с-1 . Видно, что КПД в значительной степени зависит от отношения υ/c и величины υ. В соответствии с предлагаемым изобретением окружную скорость ротора увеличиваем за счет изменения общего передаточного отношения редуктора, например, за счет подбора шестерен первой ступени. В табл.1 приведены сравнительные данные, имеющие в серийной торпеде 53-65 КЭ и в соответствии с предлагаемым изобретением. Таблица 1 Сравнение технических параметров существующей серийной торпеды 53-65 КЭ и предлагаемых в соответствии с данным изобретением Номер n/n Технический параметр Серийная торпеда 53-65 КЭ Предлагаемые 1 Числа зубьев передач и общее передаточное отношение i редуктора i=(45/15) • (75/15)=15 i=(46/14) • (75/15)=16,428 2 Скорость вращения одновенечной турбины (ротора), об·мин-1 25200 27550 3 Окружная скорость ротора, υ м·с-1 408,8 447 4 Отношение υ/c 0,33 0,36 5 Окружной КПД 0,742 0,771 Видно, что только за счет подбора шестерен первой ступени редуктора изменено (увеличено) его общее передаточное отношение с 15 до 16,428, что привело как к увеличению окружной скорости вращения ротора, так и к увеличению на 3,9% окружного кпд турбины (торпедного двигателя). ФОРМУЛА ИЗОБРЕТЕНИЯ Торпедный двигатель для дальноходных кислородных самонаводящихся торпед, выполненный в виде одновенечной турбины активного типа с понижающим двухступенчатым редуктором, содержащий камеру сгорания, сопла и рабочие лопатки ротора турбины, отличающийся тем, что высота рабочих лопаток ротора турбины выбрана с возможностью перекрытия в статическом состоянии верхними кромками рабочих лопаток соплового отверстия, а понижающий двухступенчатый редуктор выполнен с возможностью увеличения его общего передаточного отношения.
  • 4.