SUMMER INTERNSHIP PROJECT REPORT
ON
THE STUDY OF ACCOUNTING AND AUDITING AT PARLE
PRODUCTS PRIVATE LTD.
IN PARTIAL FULFILLMENT OF FULL TIME MBA PROGRAM
(2013-15)
Info@bkschool.org.in
SUBMITTED BY:
Darji Jayesh (11313)
Date: 17/7/1014
SUBMITTED TO:
BK School of Business Management
Gujarat University, Navrangpura,
Ahmedabad-380009
Phone: +91 7926304811
P a g e 1 | 42
ACKNOWLEDGEMENT
“There is a great soldier, scientist, philanthropist and many great person we all have
witness because of their teachers lead them to have perfection.”
The project report and this practical learning of Accounting and Auditing cannot be
possible for me to understand if I don’t get help of a few person.
There are countless individuals who help us in making our journey of life successful and
enriching. As I resume towards the end of my summer training, I take this opportunity to thank
all those individuals who have contributed in one way or the other in making this journey of mine
successful and a great learning experience which will help me in my future endeavors.
First and foremost, I would like to thank my mentor, Mr. Jignesh Thakkar and Hardev sinh
jadeja, executive at Parle Products Private Ltd, for not only providing me with invaluable advice
and guidance to carry on with my project work, but also motivating me throughout my training
period.
I would like to express my sincere gratitude to Mr. Nayan Chande, Dharmik Vyas,
Puspendra Naudiyal, for their guidance and support. They supported me continuously with their
valuable knowledge and experience in the successful completion of the project.
And last but not the least I want to thank the project Coordinator and my college B K
School of Management Studies, for providing me such a great opportunity to learn.
And I also wish to express my sincere gratitude to Mr. D.K.Pundir, Operation manager,
who gave me the opportunity to complete my summer internship project at Parle Products
Private Limited, Kukma-Bhuj.
Jayesh Darji
P a g e 2 | 42
TABLE OF CONTENT
1) Declaration 3
2) Objective 4
3) Data collection and research methods 5
4) Executive summary 6
5) Industry overview 8
6) Overview of company 11
7) Main activity of accounting department 18
8) Introduction to auditing 27
9) Accounting concept relevant to auditing 33
10) Internal audit 35
11) Statutory audit 37
12) Difference between internal audit and statutory audit 38
13) Significance and limitation of auditing 39
14) Learning outcomes and findings 40
15) Recommendation and conclusion 41
16) Bibliography 42
P a g e 3 | 42
DECLARATION
I, Jayesh Darji, the undersigned, a Student of BK School of Business Management,
Ahmedabad (Full Time MBA-2013-15), hereby declare that the Project Report entitled the study
of Accounting and Auditing is submitted in partial fulfillment of the requirement for the summer
internship project.
The project is undertaken as a part of Summer Internship Training during time period 20st
May to 20th July, 2014. The matter embodied in this project report has not been submitted
elsewhere by anybody for the award of any degree or diploma.
- Jayesh Darji
P a g e 4 | 42
OBJECTIVE
 Firstly, the core objective of my summer training was to understand the practical working
of an organization. This training was my first experience of working in any organization
which gave me an opportunity to look at the various aspects such as actual accounting
process, the entry of various transactions, the hierarchy of employees in the organization,
functioning of finance department, flow of information etc.
 Another main objective was to get a first-hand experience of working in an organization,
which would be helpful for my future endeavor. For any MBA student it is crucial to get a
good experience during the summer training. This gives the student a closer view of the
actual working, thus maturing the view of the student as regard to the same.
 And to understand the significance relationship between Auditing and Accounting in the
organization, and how it works in actual situation.
 And I’m much concerned with how Auditing is done in actually and how one check the
accuracy of the books of accounts via Auditing.
 So I could be able to answer the question such as,
- How it is done?
- By whom it is to be done?
- What they check during auditing?
- What are the documents they need to check?
- How statutory audit differentiated from the internal auditing?
P a g e 5 | 42
DATA COLLECTION AND RESEARCH METHODS
DATA SOURCES
In my project I gained some important knowledge about the fundamentals of the field by
the people who have taught me there and referring to certain material provided by them. And
also the amount of information on the related topics was retrieved from the Internet which
enlighten my knowledge that remained shallow and incomplete.
METHODOLOGY
Well, I’m fortunate to get chance to attend auditing meeting at Parle which help me to
enlighten the work. And in added to that I have consulted my mentor there at Parle, and other
staff about the auditing and they provided me valuable information.
So it is more of observation and direct contact with employees.
ANALYSIS OF DATA
After collecting the required information from all the above-mentioned sources, what I
got was raw data. Such raw data would not be of much help to anyone. I tried to organize this
data into a systematic report, which would enable the reader to understand it better.
P a g e 6 | 42
EXECUTIVE SUMMARY
Accounting is growing intellectually very high and using technology as tool to prepare
documents such as Balance Sheet, P & L Account, Cash Flow, Tax Return and many more. But
there isn’t any certainty to say that this document that company have made are true. So for that
the branch come into existence called “Auditing”.
The term audit is derived from the Latin term ‘audire,’ which means to hear. In early days
an auditor used to listen to the accounts read over by an accountant in order to check them
Auditing is as old as accounting. It was in use in all ancient countries such as Mesopotamia,
Greece, Egypt, Rome, U.K. and India. The Vedas contain reference to accounts and auditing.
Arthasashthra by Kautilya detailed rules for accounting and auditing of public finances. The
original objective of auditing was to detect and prevent errors and frauds. Auditing evolved and
grew rapidly after the industrial revolution in the 18th century with the growth of the joint stock
companies the ownership and management became separate.
The shareholders who were the owners needed a report from an independent expert on
the Accounts of the company managed by the board of directors who were the employees. The
objective of audit shifted and audit was expected to ascertain whether the accounts were true
and fair rather than detection of errors and frauds. In India the companies Act 1913 made audit
of company accounts compulsory with the increase in the size of the companies and the volume
of transactions the main objective of audit shifted to ascertaining whether the accounts were
true and fair rather than true and correct. Hence the emphasis was not on arithmetical accuracy
but on a fair representation of the financial efforts the companies Act 1913 also prescribed for
the first time the qualification of auditors.
The International Accounting Standards Committee and the Accounting Standard board
of the Institute of Chartered Accountants of India have developed standard accounting and
auditing practices to guide them. Accountants and auditors in the day to day work the later
developments in auditing pertain to the use of computers in accounting and auditing.
Thus, Accounting is incomplete without Auditing.
Where in Parle, too they conduct two types of audit every years to check the fairness and
truthfulness of the documents.
 Internal Audit (Once or twice a year)
 Statutory Audit (Annually)
Thus, this project report is mainly to study the Accounting and Auditing carried out at the
Parle Product Private Ltd.
P a g e 7 | 42
The nature of the study is primarily analytical though specific portions of the study are
descriptive in nature. The data is collected fromvarious secondary sources and learning are based
on observation and mentoring.
During the project, I was fortunate to have the learnings and experiences such as:
practical application of theory, understanding work and organizational culture, improvement in
communication and soft skill, and many more. Overall, it was an enriching experience.
P a g e 8 | 42
INDUSTRY OVERVIEW
Biscuits: Sweet or salty, Soft or crunchy, Simple or exotic. Everybody loves munching on biscuits,
but do they know how biscuits began? The history of biscuits can be traced back to a recipe
created by the Roman chef Apicius, in which "a thick paste of fine wheat flour was boiled and
spread out on a plate. When it had dried and hardened it was cut up and then fried until crisp,
then served with honey and pepper." The word 'Biscuit' is derived from the Latin words 'Bis'
(meaning 'twice') and 'Coctus' (meaning cooked or baked).
During the 17th and 18th Centuries in Europe, baking was a carefully controlled
profession, managed through a series of 'guilds' or professional associations. To become a baker,
one had to complete years of apprenticeship - working through 1 the small-scale sector but there
are strong possibilities of the industry being deserved in line with the government policy of
liberalization. The net effect thus would be greater choice for the consumer as well as a check on
the costs. The country production of the biscuits during 2007-08 was 18.6 Lactones of which 1/2
were manufactured by the organized sector. The industry turnover was 5322.7 Crores of which
organized sector contributed 2519.3 crores.
GROWTH AND PRESENT STATUS OF THE INDUSTRY
Biscuit industry in India in the organized sector produces around 60% of the total
production, the balance 40% being contributed by the unorganized bakeries. The industry
consists of two large scale manufacturers, around 50 medium scale brands and small scale units
ranging up to 2500 units in the country, as at 2000-01. The unorganized sector is estimated to
have approximately 30,000 small & tiny bakeries across the country.
OVERVIEW:
The total production of biscuits in India is estimated to be around 30 lakh MT, the
organized sector accounts for 65% and the unorganized sector accounts for 35% of the total
industry volume.
 The organized sector is valued at above Rs 8000 crores.
 The biscuit industry is estimated to grow over 15-17% in the next few years.
 The per capita consumption of biscuits in India is 2.0 kg.
 India is ranked 3rd after US and China amongst the global biscuits producers.
 The export of biscuits is approximately 17% of the annual production, the export of sweet
biscuits for year 2011-12 was Rs 275.93 Cr and for year 2012-13(April-Dec) was Rs 420 Cr,
the major exporting regions were Haiti, Angola, USA, Ghana, UAE.
 The imports are not significant amount as compared to the total consumption.
 The penetration of biscuits in urban and rural market is 85% and 55% respectively.
 The Biscuit industry employs almost 3.6 lakh people directly and 32 lakh people indirectly.
P a g e 9 | 42
The organized biscuit manufacturing industries annual production:
Year 2007-08 2008-09 2009-10 2010-11 2011-12 2012-13
Annual
Production
(Lakh MT)
11.00 12.54 14.29 16.14 19.14 23.5
MAIN CATEGORIES OF BISCUITS:
 Glucose,
 Marie,
 Sweet,
 Salty,
 Cream & Milk.
Glucose biscuits accounts for more than 50% of the total biscuit market value, Parle G dominate
this market with more than 60% share followed by Britannia and ITC.
MAJOR BRANDS:
The Indian biscuit industry is dominated by major brands like,
 Parle
 Britannia
 Sunfeast
Also the category has strong regional brands such as
 Priya Gold-North,
 Cremica-North & West,
 Dukes-South
 Anmol-East & North.
OTHER POPULER BRANDS:
 Horlicks,
 Biskfarm-East,
 Rose-Andhra Pradesh & South,
 Sobisco-East and North East also launched in Andhra Pradesh and Madhya Pradesh.,
 Nezone- North East, Bakewell
P a g e 10 | 42
MARKET SHARE BREAKDOWN:
The Indian biscuit industry is dominated by brands like
Parle
Britannia
Priyagold Surya Food & Agro Ltd
Sunfeast ITC
Other
ACCORDING TO 2012– NEW PROSPECTS IN THE INDIAN BISCUIT INDUSTRY
 GlaxoSmithKline Consumer Healthcare: Junior Horlicks Biscuits-toddler biscuit category.
 PepsiCo India Launched biscuit brand Aliva, it will be produced by food division Frito Lay
India.
 United Biscuits (UK), world’s third largest biscuit company, is set to enter India market.
 Shakti Bhog plans to enter biscuits segment.
Parle
33%
Britannia
21%
Priyagold
13%
Sunfeast
12%
Other
21%
MARKET SHARE
P a g e 11 | 42
OVERVIEW OF COMPANY
History of Parle Company:
In 1929 a small company by the name of Parle products emerged in British dominated India. The
intent was to spread joy and cheer to children and adults alike, all over the country with its sweets
and candies. The company knew that it wouldn’t be an easy task, but they decided to take the
brave step. A small factory was set up in the suburbs of Mumbai, to manufacture sweets and
toffees. A decade later it was upgraded to manufacture biscuits as well. Since then, the Parle
name has grown in all directions, won international fame and has been sweetening people's lives
all over India and abroad.
In confectionery, they have a range of toffees and hard-boiled candies available in
chocolate, mint, cola, and tropical fruit flavors. Some of these are double layered toffees and
center filled candies packed in rolls or pillow packs, or have single or double twist wrapping.
Almost all of their products are market leaders in their category and as recognition of their
quality, have won Gold, Silver and Bronze Monde Selection medals since 1971. The immense
popularity of Parle products in India was always a challenge to our production capacity. Now,
using more modern techniques for capacity expansion, they have begun spreading their wings
and are going global. Parle biscuits and confectionaries are fast gaining acceptance in
international markets, such as, Middle East, Africa, South East Asia and the more sophisticated
economies like U.S.A., UK, Canada, Australia and New Zealand now relish Parle products.
As part of the efforts towards a larger share of the global market, Parle has initiated the
process of getting ISO 9000 certification. The Parle name symbolizes quality, health and great
taste. And yet, they know that constantly innovating and catering to new tastes have built this
reputation. This can be seen from the success of its new brands such as Hide & Seek, Mango bite
etc. Today, the Parle brands have found their way into the hearts and homes of people all over
India & abroad. The Parle Biscuit brands, such as, Parle-G, Monaco, Krackjack, Marie Choice, Hide
& Seek and confectionery brands, such as, Melody, Poppins, Rolacola, Mango bite enjoy a strong
imagery and appeal amongst consumers across the world.
WHICH HAS RESULTED INTO PARLE-G BEING THE “WORLD’S LARGEST SELLING BISCUIT"
Parle Products Pvt. Ltd. Is a FMCG (Fast moving Consumer Goods) Industry. The fast
moving consumer goods are those consumables which are normally consumed by consumer at a
regular interval. Parle Products Pvt. Ltd. Was established in 1929.During British rule in India. A
small factory was set up in the suburbs named “Vile Parle” of Mumbai, to manufacture sweets
and toffees. A decade later in 1939 it was upgraded to manufacture biscuits as well. Parle Glucose
(Parle-G) and Parle Monaco were the first brand introduced as a biscuit products. Since then, the
Parle name has grown in all directions, won international fame and has been sweetening people's
lives all over India and abroad. Its Head office is based in Mumbai, it been India's largest
manufacturer of biscuits and confectionery, for almost 80 years. Parle – G is the world’s largest
selling biscuit. Its reach spans even to the remotest villages of India.
P a g e 12 | 42
Many of the Parle products - biscuits or confectioneries, are market leaders in their
category and have won acclaim at the Monde Selection, since 1971. With a 65% share of the total
biscuit market and a 15% share of the total confectionery market in India, Parle has grown to
become a multi-million dollar company. They have recently entered the snacks market.
Apart from the factories in Mumbai and Bangalore Parle also have factories in
Bahadurgarh in Haryana and Neemrana in Rajasthan, which are the largest biscuit and
confectionery plants in the country. Additionally, Parle Products also has 10 manufacturing units
and 75 manufacturing units on contract.
PARLE G – THE EVOLUTION
It has been a strong household name across India. The great taste, high nutrition, and the
international quality, makes Parle-g a winner. No wonder, it’s the undisputed leader in the biscuit
category for decades. It is consumed by people of all ages, from the rich to the poor, living in
cities & in villages. While some have it for breakfast, for others it is a complete whole some meal.
For some it’s the best accompaniment for chai, while for some it’s a way of getting charged
whenever they are low on energy. Because of this, Parle-G is the world’s largest selling brand of
biscuits. Launched in the year 1939, it was one of the first brands of Parle products. It was called
Parle Glucose Biscuits mainly to cute that it was a glucose biscuit. It was manufactured at the
Mumbai factory, Vile Parle and sold in units of half and quarter pound packs.
The incredible demand led Parle to introduce the brand in special branded packs and in
larger festive tin packs. By the year 1949, Parle Glucose biscuits were available not just in Mumbai
but also across the state. It was also sold in parts of North India. The early 50s produced over 150
tons of biscuits produced in the Mumbai factory. Looking at the success of Parle-G, a lot of other
me-too brands Mumbai factory. Looking at the success of Parle-G, a lot of other me-too brands
were introduced in the market and these brands had names that were similar to Parle Glucose
Biscuits so that if not by anything else, the consumer would err in picking the brand. This forced
Parle to change the name from Parle Glucose Biscuits to Parle-G.
Originally packed in the wax paper pack, today it is available in a contemporary, premium
BOPP pack with attractive side fins. The new airtight pack helps to keep the biscuits fresh and
tastier for a longer period. Parle-G was the only biscuit brand that was always in short supply. It
was heading towards becoming an all-time great brand of biscuit. Parle-G being started
advertised in the 80’s. It was advertised mainly through press ads. The communication spoke
about the basic benefits of energy and nutrition. In 1989, Parle-G it’s released its Dadaji
commercial, which went on to become one of the most popular commercial for Parle-G. The
commercial was run for a period of 6years. Parle-G grew bigger by the minute. In the year 1997,
Parle-G sponsored the tale-serial of the Indian superhero, Shaktimaan that went on to become a
huge success. The personality of the superhero matched the overall superb benefits of the brand.
Parle extended this association with Shaktimaan and gave away a lot of merchandise of
Shaktimaan, which was supported by POS and press communication.
P a g e 13 | 42
The children just could not get enough of Parle-G and Shaktimaan. In the year 2002, it
was decided to bring the brand to the child who is a major consumer. A national level promo –
‘Parle-G Mera Sapna Sach Hoga’ was run for a period of 6 months. The promo was all about
fulfilling the dreams of children. There were over 5 lakhs responses and of that, over 300 dreams
were fulfilled. Dreams that were fulfilled ranged from trips to Disneyland at Paris & Singapore;
free ride on a chartered plane; 20 scholarships worth Rs 50,000; a special coaching etc. The year
2002 will go down as a special year in Parle-G’s advertising history. A year that saw the birth of
G-Man – a new ambassador for Parle-G. Not just a hero but also a superhero that saves the entire
world, especially children fromall the evil forces. A campaign that is not just new to the audiences
but one that involves a completely new way of execution that is loved by children all over the
world-Animation. To make the brand much more interesting and exciting with children, it was
decided to launch a premium version of Parle-G called Parle-G Magix in the year2002. Parle–G
Magix is available in two tastes. The year 2002 also witnessed the launch of Parle-G Milk Shakti,
which was the nourishing combination of milk and honey, especially launched for the southern
market. Growth and development of the organization over the years, Parle has grown to become
a multi-million US Dollar company. Today, Parle enjoys a 40% share of the total biscuit market
and a 15% share of the total confectionary market, in India.
The Parle Biscuit brands, such as, Parle-G, Monaco and Krackjack and confectionery
brands, such as, Melody, Poppins, Mango bite and Kismi, enjoy a strong imagery and appeal
amongst consumers. Then the Parle representatives includes the production officer and the
operation’s head made students exposed to the production unit followed by the manufacturing
unit and packaging. The extensive distribution network, built over the years, is a major strength
for Parle Products. Parle biscuits & Sweets are available to consumers, even in the most remote
places and in the smallest of villages with a population of just 500.The Parle marketing philosophy
emphasizes catering to the masses. Most Parle offerings are in the low & mid-range price
segments. This is based on our cultivated understanding of the Indian consumer psyche. The
value-for-money positioning helps generate large sales volumes for the products.
However, Parle Products also manufactures a variety of premium products for the up-
market, urban consumers. And in this way, caters a range of products to a variety of consumers.
In nutshell, the Parle name conjures up fond memories across the length and breadth of the
country.
About Bhuj Plant:
The earth quack of 26th January 2001 had shot up Kachchh badly. For redevelopment of
Kachchh, it was desirable to invite big industries to generate industrial development and
possibilities of employment. Mr. Amul Chauhan, the director of the Parle Products Pvt. Ltd. Had
get idea of starting a new manufacturing plant in Kachchh.
P a g e 14 | 42
This plant was started in 2003. Parle company has 10 mother unites of production and
this unit is one of them. Parle Bhuj is situated 12 kms from Bhuj on Bhuj-Gandhidham State
highway, Campus is surrounded by farms, totally pollution free environment. Mundra Port &
Kandla ports are in the range of 56 to 70 kms. Plant is designed in such a way that material follows
one path from Raw material Input to Final product and it is totally atomized process for biscuit
manufacturing starting from Raw material Input to Finished product. In Bhuj plant there are two
major plants. One for glucose biscuit and other for Monaco biscuit. Daily 20 to 25 trucks of
capacity 9 tone biscuits are dispatched fromthe unit. Monthly 40 to 50 trucks of printing material
are dispatched to Mumbai.
Vision:
To be the leaders in our business, we will stand apart from the competition by being the
first in the market to innovate.
Mission:
We will be the leaders in our business by maintaining high quality, introducing new and
innovative product, reaching every part of India, remaining custom, centric, constant by
upgrading our knowledge & skill.
P a g e 15 | 42
ORGANIZATION STRUCTURE
An organizational structure defines how activities such as task allocation, coordination
and supervision are directed towards the achievement of organizational aims. It can also be
considered as the viewing glass or perspective through which individuals see their organization
and its environment. Organization structure is teamwork of the formal relationship that has been
established. The purpose of the structure is to assist in regulating and directing the efforts of an
organization so that they are co-ordinate and consistent with organization.
Organization structure of the company shows the interrelationship between employer
and employee or vice- versa. It shows a clear cut line of authority, responsibility and
accountability. Among the various types of organization structure Parle has adopted vertical
management structure. An organization can be structured in many different ways, depending
on their objectives. The structure of an organization will determine the modes in which it
operates and performs. Organizational structure allows the expressed allocation of
responsibilities for different functions and processes to different entities such as
the branch, department, workgroup and individual. Organizational structure affects
organizational action in two big ways. First, it provides the foundation on which standard
operating procedures and routines rest. Second, it determines which individuals get to
participate in which decision-making processes, and thus to what extent their views shape the
organization’s actions.
Director
GM
Unit Head
Deputy
Manager
AssistantManager
Executive
Officer
Assistant Officer
Worker
P a g e 16 | 42
CHART OF DEPARTMENTS
Mr. D.K. Pundir
(Manager -
Operation)
Accounts
Accounts
Excise
PurchaseHRD
PQS
CSR
Security
Canteen
Medical
Production
Flour Handling
Mixing
Rotary
Oven
Packing
ITEngineering
Mechenical
Electrical
Printing
Stores BSR Q&A
Corrugation
P a g e 17 | 42
5S – WORK PLACE MANAGEMENT
5-s refers to the work place management which is fully implemented in company. Various
committees and group are formed to make the process smoother.
1S – SEIRI – SEGREGATION
Organization has to sort out unnecessary item in the work place and apply stratification
management to discard them. Items that need to be discarded must be discarded in such a way
that this will not harmful to society, environment, and even animals. Use red tag for unnecessary
items and yellow tags for the items, which are extra and should be sent to stores.
2S – SERTON - NEATNESS
Put the thing in decided marked place and put label on each item. Arrangement of item
should be in such a way that it can be picked easily for use. During storage of any item its height,
weight, size, shape, safety, etc. should be kept in mind.
3S – SEISO – CLEANING
Here cleaning is in the form of inspection. When they are doing cleaning, they are
inspecting simultaneously. Clean your work place completely so that there should not be any
dust on floor, walls, windows, desk, table, machinery etc. Cleaning should be done in Macro first
and then in micro level for individual items.
4S – SEIKETSU – STANDARDIZATION
Here again they have to think as why this had become dirty. What is the system of
cleaning, can we develop new cleaning equipment or change the equipment / way of cleaning,
and can we arrest the source by which area has become dirty. All this will give some solution
through Brain storming. Try to find out good solutions and standardize the system. Apply visual
Management for easy to follow the system.
5S – SHITSUKE - DISCIPLINE
This means whatever system we are having or developed by us under ‘4-S’ to be followed
in such a way that, standard practices become a part of our life. This will help to maintain high
level of work place organization at all the time.
P a g e 18 | 42
MAIN ACTIVITY OF ACCOUNTING DEPARTMENT
As a body cannot run without blood a company cannot run without finance. Finance is
the life cycle of a company. This is the department where the cash is maintained. The entire
success of a company depends upon how well account department is managed by a company...
Main activity of the account department include is as under:-
1) PURCHASE DEPARTMENT
Purchasing is the formal process of buying Goods and Services. The Purchasing Process
can vary from one organization to another, but there are some common key elements. The
Process usually starts with a ‘Demand’ or requirements – this could be for a physical part
(inventory) or a service. A requisition is generated, which details the requirements (in some cases
providing a requirements specification) which actions the procurement department. A request
for Proposal (RFP) or Request for Quotation (RFQ) is then raised. Suppliers send their quotations
in response to the RFQ, and a review is undertaken where the best offer (typically based on price,
availability and quality) is given the purchase order.
Purchase orders (PO) can be of various types, including:
 Standard – a onetime buy;
 Planned – an agreement on a specific item at an approximate date
 Blanket – an agreement on specific terms and conditions, date and quantity and amount
are not specified.
Purchase orders are normally accompanied by Terms and Conditions which form the
contractual agreement of the Transaction. The Supplier then delivers the products/service and
the customer records the delivery (in some cases this goes through a Goods Inspection Process.)
An invoice sent by the supplier which is cross checked with the Purchase Order and Document
which specifying that the goods received.
IN PARLE
In Administration, Purchase Department is covered which is associated with the Purchase
of all the required materials for the Company. Purchase Department have to deal with the
purchase of the requirement. There are requirement of all type of materials. From raw material
to the stationary and engineering items.
Generally major two decision of purchase are taken by this department.
1. Raw material – Mr. Hitendrasinh Jadeja
2. Service and operation – Ms. Beena Rathod
P a g e 19 | 42
PROCESS OF MATERIAL PURCHASE:
 When employee of any department has a need of any type of goods first of all they asks
from the stores whether that particular goods is available or not.
 If the goods are not available in the stores then the particular Department has to fill up
the indent which is the slip of the demand for the particular product. If the item required
is capital item called capex. Here they have given codes to each item as well as a list of
approved suppliers for all the item is provided to all the units.
 As per this indent purchase department have to purchase the goods after comparing the
price of the different quotation of different companies and the quotation having the low
rate and good quality will be passed by the operation manager.
 Next Step after the approval of quotation is making the P.O. i.e. Purchase order which
contains the party name. Material code & Description. Decided rate, Date of the Order,
lead time for the supply of the material etc.
 This P.O. is having two copies and having the sign of the manager. Fromwhich one will be
sent to the supplier along with the advance Payment if any 2nd copy is sent to Purchase
Department. As per PO Supply will be made according to the Description in PO within
given time lag along with the Invoice.
 This bill will be passed to the accounts department and the amount will be checked. If the
amount is according to the Purchase order ( When Purchase order is sent to the Party the
amount is fixed) the Payment will be made, But if there is a difference between the Rate
in bill and in the Po the Performa will be passed and as per the rate of Performa payment
will be made.

2) BILL BOOKING SYSTEM
Main Purpose of bill passing is to enter the amount of purchase bill and verify the quantity
of materials whether it is as per bill or not. There are three types of bill:-
 Coded
 Manual
Coded items:
Raw materials are considered as coded items all having their own codes and when entries
are made particular coded is used to make the transaction smooth.
Manual:
Payment for servicing or payment for the amount less than Rs 500 is made with the
authorization of the Head of Departments with supporting vouchers/documents.
P a g e 20 | 42
3) BANK PAYMENT
After bill passing, all data are transferred to cash department through system. If there is
any change between bill and purchase order amount then Performa (Payment Advice) will be
made and finally payment will be made as per Performa.
Account department keeps one copy of Payment advice and other is attached with the
Cheque so the party can know against, which bill company makes the payment. The Cheque is
sent to the party through courier after making an entry in register at Reception.
At the end of the month reconciliation of bank statement is done. Main purpose is to
verify the amount of Cheque debited and credited. To know changes and income from various
sources.
4) CASH PAYMENTS & CASH RECEIPTS
Cash Payments are made for the miscellaneous expenses like petrol traveling. Fridge
ticket expenses of the application.
Cash Payment for IOU is also made for employee etc. without any interest charges against
which bill can also be issued. Cash receipt are made for the cash sale of 1 kg biscuits to local
stores and one copy of cash receipt are kept for records cash department also handles scrap sales
and Sales of polybags.
5) MAINTAIN RECORDS
At the month ending all records will be sent for binding and are kept in their record room.
Company is having all the records data month and year wise.
6) RECONCILIATION OF BANK STATEMENT
A bank reconciliation statement is a statement prepared by organizations to reconcile the
balance of cash at bank in a company’s own records with the bank statement on a particular date.
This statement is the most common tool used by organization for reconciling the balance as per
books of company with the bank statement and is made at the end of the every month. The main
objective of reconciliation is to ascertain if the discrepancy is due to error rather than timing.
The difference between the two records on a given date may arise because of the
following:-
1) Cheque drawn but not yet presented to the bank - (+) Add
2) Cheque received but not yet deposited in the bank - (-) Less
3) Interest Credited and not recorded in the organization books - (+) Add
4) Bank charges debited but not recorded in the organizations book - (-) Less
5) Balance of book
6) Balance of Bank statement
7) Difference 0.00
P a g e 21 | 42
Bank reconciliation statement process is being outsourced to professional accounting
firms by large organizations. This helps them have an accurate view and also ensure that the
company’s bookkeeping is good. Accounting firms make monthly reconciliation statements for
clients and help them determine any discrepancy.
Advantages:
 Faster processing
 Requirement of less manpower
 Easy identification of errors
7) LEDGER SCRUTINY
Ledger scrutiny is the overall assessment of accounts of a concern. It is a process initiated
with a view to ensure true and fair concept. Any irregularity (Whether it may be error or a
statutorily noncompliance) may be bought into light. Just by scrolling down the transaction that
has occurred in an account with adequate narrations, could be very helpful in the process of
scrutiny for identifying whether accounts reflect true and fair view. Before resorting to ledger
scrutiny, the auditor should ascertain the extent to which it can be adopted. It can detail or
restricted to some class of accounts.
Ledger scrutiny reveals “undue pattern” of accounts, if any For example – an amount
outstanding for more than 2 years is suddenly paid; it may create suspicion whether it is actually
paid. First of all opening balance of all the accounts will be checked from previous finalized trial
balance.
In Parle:
In order to maintain right record is scrutinize the ledger of party’s timely. So if any mistake
in ledger can be rectified.
8) PETTY CASH
Petty Cash is a small amount of discretionary funds in the form of cash used for
expenditures where it is not sensible to make the disbursement by check, because of the
inconvenience and cost of writing, signing and then cashing the check. The most common way of
accounting expenditures is to use the imp rest system. The initial fund would be created by
issuing a check for the desired amount. Usually $100 would be sufficient for most small business
needs. The entry for this initial fund would be to debit Petty cash and credit cash.
As expenditure is made, the custodian of the fund will reimburse employees and secure
a petty cash voucher in return. At any given time the total of cash on hand plus reimbursed
voucher must equal the original fund. When the fund gets low the custodian submits the
vouchers for reimbursement. Assuming the vouchers must equal the original fund.
P a g e 22 | 42
In Parle
In particular day how much amount of cash is spend and under that head is maintained
in Cash department and they maintain daily base record. Petty cash is one of the most important
day-to-day activities the help of which one can directly view the cost increment or decrement.
9) TAX DEDUCTED AT SOURCE
Tax deducted at source is one of the modes of collecting Income-tax from the addresses
in India. In tax deducted at source under use rules & regulation. In follow that type statement
under two part about company & personal than after select one type. If select any on then after
apply condition if no/invalid pan card. And show that type column and take maximum per.
In any of company there remain some provisions for the payment of taxes. Such payments
are compulsory for a company to pay. This department handles the entire working of TDS. What
amount of tax is to be paid to the government deposited in prescribed time limit?
10) EXCISE DUTY, SERVICE TAX & VAT/CST
Central excise duty is an indirect tax which is charged on such goods that are
manufactured in India and are meant for domestic consumption. The taxable fact is
“manufacture” and the liability of central excise duty arises as soon as the goods are
manufactured. The tax is on manufacturing, it is paid by a manufacturer, which is then passed on
to the customer.
In Parle
As per the government rule company has to pay 6% basic excise duty on biscuits, 4% on
corrugated boxes and 10% on plastic Wrapper at the time of removal. But the Parle company is
not paying excise duty on biscuits because as per new budget biscuits are exempted as MRP is
less than 100 Rs. per Kg. Earlier, the plant was established in BHUJ to avail the benefit of excise
duty exemption for 5 years and has availed the benefit of excise duty on 09.10.2008. But now
onwards unit is paying excise duty only on plastic wrappers and C-boxes as biscuits are exempted
from excise.
SERVICE TAX
Company is paying 10.3% service tax on monthly basis as they are covered under GTA
(Goods Transport Agency) Service.
VAT/CST
Vat is indirect tax on the consumption of the goods, paid by its original producers upon
the change in goods or upon the transfer of the goods to its ultimate consumers. It is based on
the value of goods, added by the transferor and not just a profit.
P a g e 23 | 42
In Parle
Company is paying VAT/CST on biscuits, Snacks. Confectioneries & Scraps e.g. 15% on
biscuits & snacks (12.5% basic + 2.5 additional tax), 5% on Confectionaries & Scraps (4% basic
+1% additional tax).
CST % for each and every product is 2% against form C.
11) COSTING
Costing means expenses incurred at the time of production. Cost sheet are being regularly
prepared by the company. This based on the details given by the production department.
There is income of the scrap sale of materials that is deducted from total cost.
At the time of calculating closing stock. The stock of the production, stock of floor and the
stock of stores are considered. At the end of the month production department gives details and
it is recorded in the cost sheet. Cost sheet is making as not only as per products but also as per
packing size.
12) BALANCE CONFIRMATION
Company checks all company’s ledger account check then after company write a letter
against other party about balance confirmation and on a company’s letter paid and send to a
letter with ledger copy.
Then after other party match ledger and match balance so, party will send a reply otherwise not
match amount so, party will send his ledger copy and solve his problem this is main purpose of
balance conformation letter.
13) TRIAL BALANCE CONFIRMATION
A trial balance is a list of all the nominal ledger (general ledger) accounts contained in the
ledger of a business. This list will contain name of the nominal ledger account and the value of
that nominal ledger account. The value of the nominal ledger will hold either a debit balance
value or a credit value balance. The debit balance values will be listed in the debit column of the
trial balance and the credit value balance will be listed in the credit column. The profit and loss
statement and balance sheet and other financial reports can then be produced using the ledger
account listed on the trial balance.
Parle Company maintain at the end of financial year. Company verifies and check all the
ledger balance of the other party and pass necessary provision and correct the trial balance on
which balance sheet is prepared.
14) BUDGETING
Account Department prepares budget for the several activities like maintenance of
Canteen, for production etc. And Account Department makes a plan and prepares a proposal of
the requirement of fund, sends it to the Corporate Office.
P a g e 24 | 42
15) SOCIETY LOAN
For the Welfare of the teammates Parle Products Pvt. Ltd., Bhuj grants short term loan to
its employees. The loan is granted & each month fromthe salary of the employee the installment
of the loan are deducted.
ACTUAL PROCEDURES FROM MATERIAL REQUEST TO CASH PAYMENT
PURCHASING PROCESS
Quality
Material request form
Lag Time
Material Not available Material Available
QTY.Indent
Quotation Comparison
Find Resources
Quotation
Bargaining
Quality Approve
Purchase Order (PO)
Gate entry
Basic Price
Quality Perfection
Qty.
Taxation Per.
Payment Terms
Delivery Address
P a g e 25 | 42
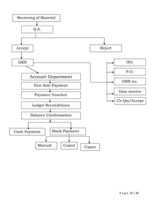
Receiving of Material
Accept
GRN
Reject
Account Department
Q.A.
Payment Voucher
Bank PaymentCash Payment
Balance Conformation
Ledger Reconditions
Due date Payment
Manual CapexCoded
GRN no.
Date receive
P.O.
Qty.
Ch Qty/Accept
Qty.
P a g e 26 | 42
INTRODUCTION TO AUDITING
Auditing is a vital part of accounting. Traditionally, audits were mainly associated with
gaining information about financial systems and the financial records of a company or a business.
Economic decisions in every society must be based upon the information available at the time
the decision is made. For example, the decision of a bank to make a loan to a business is based
upon previous financial relationships with that business, the financial condition of the company
as reflected by its financial statements and other factors.
If decisions are to be consistent with the intention of the decision makers, the information
used in the decision process must be reliable. Unreliable information can cause inefficient use of
resources to the detriment of the society and to the decision makers themselves. In the lending
decision example, assume that the barfly makes the loan on the basis of misleading financial
statements and the borrower Company is ultimately unable to repay. As a result the bank has
lost both the principal and the interest. In addition, another company that could have used the
funds effectively was deprived of the money. As society become more complex, there is an
increased likelihood that unreliable information will be provided to decision makers. There are
several reasons for this: remoteness of information, voluminous data and the existence of
complex exchange transactions
As a means of overcoming the problem of unreliable information, the decision-maker
must develop a method of assuring him that the information is sufficiently reliable for these
decisions. In doing this he must weigh the cost of obtaining more reliable information against the
expected benefits. A common way to obtain such reliable information is to have some type of
verification (audit) performed by independent persons. The audited information is then used in
the decision making process on the assumption that it is reasonably complete, accurate and
unbiased. Financial audits are performed to ascertain the validity and reliability of information,
as well as to provide an assessment of a system's internal control. The goal of an audit is to
express an opinion of the person / organization / system (etc.) in question, under evaluation
based on work done on a test basis. Due to constraints, an audit seeks to provide only reasonable
assurance that the statements are free from material error. Hence, statistical sampling is often
adopted in audits. In the case of financial audits, a set of financial statements are said to be true
and fair when they are free of material misstatements – a concept influenced by
both quantitative (numerical) and qualitative factors. But recently, the argument that auditing
should go beyond just true and fair is gaining momentum.[3] And the US Public Company
Accounting Oversight Board has come out with a concept release on the same.
Cost accounting is a process for verifying the cost of manufacturing or producing of any
article, on the basis of accounts measuring the use of material, labor or other items of cost. In
simple words, the term, cost audit means a systematic and accurate verification of the cost
accounts and records, and checking for adherence to the cost accounting objectives. According
to the Institute of Cost and Management Accountants of Pakistan, a cost audit is "an examination
of cost accounting records and verification of facts to ascertain that the cost of the product has
been arrived at, in accordance with principles of cost accounting." An audit must adhere to
generally accepted standards established by governing bodies. These standards assure third
parties or external users that they can rely upon the auditor's opinion on the fairness of financial
statements, or other subjects on which the auditor expresses an opinion.
P a g e 27 | 42
The definition for Audit and Assurance Standard AAS-1 by the Institute of Chartered
Accountants of India (ICAI): “Auditing is defined as a systematic and independent examination
of data, statements, records, operations and performance (financial or otherwise) of an
enterprise for a stated purpose. In any auditing situation, the auditor perceives and recognizes
the proposition before him for examination, collects evidence, evaluates the same and on this
basis formulates a judgment which is communicated through an audit report. An audit is an
independent examination of financial information of an entity, irrespective of its size and form,
when such examination is conducted with a view of expressing an opinion thereon.”
FEATURE OF AUDITING
 Audit is a systematic and scientific examination of the books of accounts of a business;
 Audit is undertaken by an independent person or body of persons who are duly qualified
for the job.
 Audit is a verification of the results shown by the profit and loss account and the state of
affairs as shown by the balance sheet.
 Audit is a critical review of the system of accounting and internal control.
 Audit is done with the help of vouchers, documents, information and explanations
received from the authorities.
 The auditor has to satisfy himself with the authenticity of the financial statements and
report that they exhibit a true and fair view of the state of affairs of the concern.
 The auditor has to inspect, compare, check, review, scrutinize the vouchers supporting
the transactions and examine correspondence, minute books of shareholders, directors,
Memorandum of Association and Articles of association etc., in order to establish
correctness of the books of accounts.
BASIC PRINCIPLES OF AUDIT
AAS-1 describes the basic principles, which govern the auditor's professional
responsibilities and which should be complied with whenever an audit is carried out.
These are:-
1. Integrity, objectivity and independence:
The auditor should be straightforward, honest and sincere in his approach to his
professional work. He must be fair and must not allow prejudice or bias to override his objectivity.
He should maintain an impartial attitude and appear to be free of any interest which might be
regarded. Whatever its actual effect, as being incompatible with integrity and objectivity.
2. Confidentiality:
The auditor should respect the confidentiality of information acquired in the course of his
work and should not disclose any such information to a third party without specific authority or
unless there is legal or professional duty to disclose. It is remarked that an auditor should keep
his ears and eyes open but his mouth shut.
P a g e 28 | 42
3. Skill and competence:
The audit should be performed and the report prepared with due professional care by
persons who have adequate training, experience and competence. This can be acquired through
a combination of general education, technical knowledge obtained through study and formal
courses concluded by a qualifying examination recognized for this purpose and practical
experience under proper supervision.
4. Work performed by others:
When the auditor delegates work to assistant or uses work performed by other auditors
or experts, he will continue to be responsible for forming and expressing his opinion on the
financial information. At the same time he is entitled to rely on work performed by others
provided he exercises adequate skills and care and is not aware of any reason to believe that he
should not have relied. The auditor should carefully direct, supervise & review work delegated
by assistants. He should obtain reasonable assurance that work performed by other auditors or
experts is adequate for this purpose.
5. Documentation:
The auditor should document matters, which are important in providing evidence that
the audit was carried out in accordance with the basic principles.
6. Planning:
The auditor should plan his work to enable him to conduct an effective audit in an efficient
and timely manner. Plans should be based on knowledge of client's business. They should be
further developed and revised, if required, during the course of audit.
7. Audit evidence:
The auditor should obtain sufficient appropriate audit evidence through the performance
of compliance and substantive test procedure. It will enable him to draw reasonable conclusions
there from on which he has to base his opinion on the financial information.
8. Accounting system & internal control:
The auditor should gain an understanding of the accounting system and related internal
controls. He should study and evaluate the operation of those internal controls upon which he
wishes to rely in determining the nature, timing and extent of other audit procedures.
9. Audit conclusions and reporting:
The auditor should review and assess the conclusions drawn from the audit evidence
obtained and from his knowledge of business of the entity as the basis for the expression of his
opinion on the financial information. The audit report should contain a written expression of
opinion of the financial information. It should comply with the legal requirements. In case of a
qualified opinion, adverse opinion or disclaimer of opinion is given or reservation on any matter
is to be made reasons thereof.
P a g e 29 | 42
TEST CHECKING
Examination in Depth means examination of a few selected transactions from the-
beginning to the end through the entire flow of the transaction. It involves studying the recording
of transactions the various stages through which they have passed.
Aspects of Verification:
(a) At each stage, relevant records and authorities are examined; it is also judged whether the
person who has | exercised the authority in relation to the transactions is fit to do so in terms of-
the prescribed procedure.
(b) While auditing in depth, the Auditor reviews all the accounting and operational aspects of
the| transaction from the origin to the end. This enables himto have an overall view and evaluate
the procedures through selected transactions.
Example: Audit in depth of transactions relating to purchase of goods involves verification of the
following:
1) Purchase Requisition - pie-printed, pre-numbered and authorized;
2) Invitation of quotations and analysis of the same;
3) Official Purchase Order, sequentially pre-numbered, authorized and placed with approved
suppliers only;
4) Receipt of goods, together with Delivery Challan / Advice Note;
5) Admission of goods to stores after verification of quality, quantity etc.;
6) Entry in Stores Records;
7) Receipt of Supplier's Invoice and Statement;
8) Approval of Purchase Invoice regarding compliance for specification, quantity and quality;
9) Entries in Purchases day book;
10) Postings to Purchase Ledger and Purchase Ledger Control Account;
11) Payment of Cheque in settlement of invoice after availing discounts; if any;
12) Entry for payment in Cash / Bank Book;
13) Posting from Cash Book to Ledger and Control Accounts.
 Test Checking means to select and examine a representative sample froma large number
of similar items.
 Test Checking is an accepted auditing procedure wherein instead of checking all
transactions, only a part of it is checked in detail to form an opinion on the whole.
THE AUDITOR CAN SUSPECT FRAUD UNDER THE FOLLOWING CIRCUMSTANCES:
 When vouchers, invoices, Cheque, contracts are missing etc.
 When control account does not agree with subsidiary books.
P a g e 30 | 42
 When the difference in trial balance is difficult to locate.
 When there are greater fluctuation in G.P. and N.P. ratios.
 When there is difference between the balance and the confirmation of the balance by the
parties.
 When there is difference between the stock as per records and the stock physically
counted.
 When the explanation given by the client is not satisfactory.
 When there is a overwriting of some figures.
 When there is a contradiction in the explanation given by different parties.
VOUCHING
Vouching means the examination of documentary evidence in support of entries to
establish the arithmetic accuracy. When the auditor checks the entries with some documents it
is called vouching. Vouching is the acid test of audit. It tests the truth of the transaction recorded
in the books of accounts. It is an act of examining documentary evidence in order to ascertain
the accuracy and authenticity of the entries in the books of accounts.
According to Dicksee "Vouching consists of comparing entries in the books of accounts
with documentary evidence in support thereof."
From the above it becomes clear that vouching means testing the truth of entries
appearing in the primary books of accounts. In short, vouching means to examine the evidence
in support of any transaction or entry recorded in the books of accounts. Vouching does not
merely see that the entries and transactions are supported by proper documentary evidence.
The auditor should be satisfied that they are properly maintained, they are supported by all
evidence and they are correctly recorded in the books of accounts.
VOUCHER
Any documentary evidence supporting the entries in the records is termed as a voucher.
Any document, which supports the entries in the books of accounts and establishes the
arithmetical accuracy, is called a voucher.
Examples of vouchers:
A bill, a receipt, an invoice, goods received note, delivery challans, voucher payable,
payment advice, cash book, salaries and wages sheets, goods inward and outward register, stores
records, counterfoil of a Cheque book, bank statement, bank pass book, a material requisition
slip, copy of purchase order etc. are the examples of vouchers.
IMPORTANCE OF VOUCHING
 Ensures genuineness of the transactions
 Enables to know transactions
 Helps to know relevance of the transaction
 Facilitates proper allocation of capital & revenue, expenditure
P a g e 31 | 42
 Detects frauds and errors
 Decides authenticity of transactions
 Ensures proper accounting
 Compliance with law
 Ensures proper disclosure
THE SPECIAL CONSIDERATIONS TO BE BORNE IN MIND BY THE AUDITOR IN THE COURSE OF
VOUCHING:
1) Date of the voucher
2) The name of the party
3) Tick and audit rubber stamp
4) Authorization by the authorized person
5) Revenue stamp of Re. 1 if it exceeds Rs.5000/-
6) Transaction relates to business
7) Revenue and capital
8) Amounts in words and figure
9) Account head
10) No assistance of member of client’s staff to be taken for checking receipts
11) Not to accept receipted invoice
12) Missing vouchers
13) Important documents
14) Vouching of cash transaction
15) Proper filing
16) Signature of payee
17) Nature of payment
18) Noting in the audit note book
19) Alteration
20) Voucher control number
P a g e 32 | 42
ACCOUNTING CONCEPT RELEVANT TO AUDITING
 The purpose of this standard is to establish standards on the concept of materiality and
its relationship with audit risk.
 The auditor should consider materiality and its relationship with audit risk when
conducting an audit.
MATERIALITY:
 Information is material if its misstatement (i.e., omission or erroneous Statement) could
influence the economic decisions of users taken on the Basis of the financial information.
 Materiality depends on the size and Nature of the item, judged in the particular
circumstances of its misstatement. Thus, materiality provides a threshold or cut-off point
rather than being a primary qualitative characteristic which the information must have if
it is to be useful.
 The objective of an audit of financial information prepared within a framework of
recognized accounting policies and practices and relevant statutory requirements, if any,
is to enable the auditor to express an opinion on such financial information. The
assessment of what is materiality of professional judgment.
 The concept of materiality recognizes that some matters, either individually or in the
aggregate, are relatively important for true and fair presentation of financial information
in conformity at both the overall financial information level and in relation to individual
account balances and classes of transactions. Materiality may also be influenced by other
considerations, such as the legal and regulatory requirements, non-compliance with
which may have a significant bearing on the financial information, and consideration
relating to individual account balances and relationships. This process may result in
different levels of materiality depending on the matter being audited.
 Although the auditor ordinary establishes an acceptable materiality level to detect
quantitatively material misstatements, both the amount (quantity) and nature (quality)
of misstatements need to be considered. An example of a qualitative misstatement would
be the inadequate or improper description of an accounting policy when it is likely that a
user of the financial statements would be missed by the description.
 The auditor needs to consider the possibility of misstatements of relatively small amounts
that, cumulatively, could have a material effect on the financial information. For example,
an error in a month-end (or other periodic) procedures could be an indication of a
potential material misstatement if that error is repeated each month or each period, as
the case may be.
 Materiality should be considered by the auditor when-
o Determining the nature, timing and extent of audit procedures;
o Evaluating the effect of misstatements.
P a g e 33 | 42
GOING CONCERN:
 The purpose of this Auditing and Assurance standard (AAS) is to establish standards on
the auditor’s responsibilities in the audit of financial statements regarding the
appropriateness of the going concern assumption as a basis for the financial statements.
 When planning and performing audit procedures and in evaluating the results thereof,
the auditor should consider the appropriateness of the going concern assumption
underlying the preparation of the financial statements.
 The auditor’s report helps establish the credibility of the financial statements. However,
the auditor’s report is not a guarantee as to the future viability of the entity.
 An entity’s continuous as a going concern for the foreseeable future, generally a period
not to exceed one year after the balance sheet date, is assumed in the preparation of
financial statements in the absence of information to the contrary. Accordingly, asset and
liabilities are recorded on the normal course of business. If this assumption is unjustified,
the entity may not be able to realize its assets at the recorded amounts and there may be
changes in the amounts and maturity dates of liabilities. As a consequence, the amounts
and classification of assets and liabilities in the financial statement may need to be
adjusted.
IN ORDER TO SHOW A TRUE AND FAIR VIEW THE AUDITOR SHOULD ENSURE THAT:
1. The final accounts agree with the books of accounts.
2. The provision for depreciation is proper.
3. The closing stock is physically verified and valued properly.
4. Intangible assets like goodwill, patents, preliminary expenses or other deferred revenue
expenses are written off properly.
5. Proper provision is made for bad and doubtful debts.
6. Capital expenses is not treated as revenue expenses and vice versa.
7. Capital receipts are not treated as revenue receipts.
8. Effect of changes in rate of foreign exchange on value of assets and liabilities is recorded
in the books properly.
9. Contingent liabilities are not treated as actual liabilities and vice versa.
10. Provision is made for all known losses and liabilities
11. A reserve is not shown as a provision and vice versa
12. Cut off transactions are recorded properly, so that all sales invoices are matched with
goods delivered and all purchase invoices are matched with goods received.
13. Transactions are recorded on accrual basis, i.e. outstanding expenses, prepaid expenses,
income accrued and advance income are recorded properly.
14. Expected or anticipated gains are not credited to the profit and loss account.
15. Effect of events after the balance sheet date on the value of an asset and liability is
disclosed in the accounts properly
16. The exceptional or non-recurring
P a g e 34 | 42
INTERNAL AUDIT
Internal auditors are employed by the organizations they audit. They work for
government agencies (federal, state and local); for publicly traded companies; and for non-profit
companies across all industries. The internationally recognized standard setting body for the
profession is the Institute of Internal Auditors - IIA.
Thus professional internal auditors provide independent and objective audit and
consulting services focused on evaluating whether the board of directors, shareholders,
stakeholders, and corporate executives have reasonable assurance that the organization's
governance, risk management, and control processes are designed adequately and function
effectively. Internal audit professionals (Certified Internal Auditors - CIAs) are governed by the
international professional standards and code of conduct of the Institute of Internal
Auditors. While internal auditors are not independent of the companies that employ them,
independence and objectivity are a cornerstone of the IIA professional standards; and are
discussed at length in the standards and the supporting practice guides and practice advisories.
Professional internal auditors are mandated by the IIA standards to be independent of the
business activities they audit. This independence and objectivity are achieved through the
organizational placement and reporting lines of the internal audit department. Internal auditors
of publicly traded companies in the United States are required to report functionally to the board
of directors directly, or a sub-committee of the board of directors (typically the audit committee),
and not to management except for administrative purposes.
As described often in the professional literature for the practice of internal auditing (such
as Internal Auditor, the journal of the IIA), or other similar and generally recognized frameworks
for management control when evaluating an entity's governance and control practices; and apply
COSO's "Enterprise Risk Management-Integrated Framework" or other similar and generally
recognized frameworks for entity-wide risk management when evaluating an organization's
entity-wide risk management practices. Professional internal auditors also use Control Self-
Assessment (CSA) as an effective process for performing their work.
Consultant auditors are external personnel contracted by the firm to perform an audit
following the firm's auditing standards. This differs from the external auditor, who follows their
own auditing standards.
The level of independence is therefore somewhere between the internal auditor and the
external auditor. The consultant auditor may work independently, or as part of the audit team
that includes internal auditors. Consultant auditors are used when the firm lacks sufficient
expertise to audit certain areas, or simply for staff augmentation when staff are not available. A
legally required review of the accuracy of a company's or governments financial records. The
purpose of a statutory audit is the same as the purpose of any other audit to determine whether
an organization is providing a fair and accurate representation of its financial position by
examining information such as bank balances, bookkeeping records and financial transactions.
P a g e 35 | 42
HISTORY OF INTERNAL AUDITING
The Internal Auditing profession evolved steadily with the progress of management
science after World War II. It is conceptually similar in many ways to financial auditing by public
accounting firms, quality assurance and banking compliance activities. While some of the audit
technique underlying internal auditing is derived from management consulting and public
accounting professions, the theory of internal auditing was conceived primarily by Lawrence
Sawyer (1911-2002), often referred to as "the father of modern internal auditing", and the
current philosophy, theory and practice of modern internal auditing as defined by the
International Professional Practices Framework (IPPF) of the Institute of Internal Auditors owes
much to Sawyer's vision. With the implementation in the United States of the Sarbanes-Oxley
Act of 2002, the profession's exposure and value was enhanced, as many internal auditors
possessed the skills required to help companies meet the requirements of the law. However, the
focus by internal audit departments of publicly traded companies on SOX related financial policy
and procedures derailed progress made by the profession in the late 20th century toward Larry
Sawyer's vision for internal audit. Beginning in about 2010, the IIA once again began advocating
for the broader role internal auditing should play in the corporate arena, in keeping with the
IPPF's philosophy.
INTERNAL AUDIT EXECUTION
1. Establish and communicate the scope and objectives for the audit to appropriate
management.
2. Develop an understanding of the business area under review. This includes objectives,
measurements, and key transaction types. This involves review of documents and
interviews. Flowcharts and narratives may be created if necessary.
3. Describe the key risks facing the business activities within the scope of the audit.
4. Identify management practices in the five components of control used to ensure each key
risk is properly controlled and monitored. Internal Audit Checklist can be a helpful tool
to identify common risks and desired controls in the specific process or industry being
audited.
5. Develop and execute a risk-based sampling and testing approach to determine whether
the most important management controls are operating as intended.
6. Report issues and challenges identified and negotiate action plans with management to
address the problems.
7. Follow-up on reported findings at appropriate intervals. Internal audit departments
maintain a follow-up database for this purpose.
Audit assignment length varies based on the complexity of the activity being audited and
Internal Audit resources available. Many of the above steps are iterative and may not all occur in
the sequence indicated.
P a g e 36 | 42
INTERNAL AUDIT REPORTS
Internal auditors typically issue reports at the end of each audit that summarize their
findings, recommendations, and any responses or action plans from management. An audit
report may have an executive summary; a body that includes the specific issues or findings
identified and related recommendations or action plans; and appendix information such as
detailed graphs and charts or process information. Each audit finding within the body of the
report may contain five elements, sometimes called the "5 C's":
1. Condition: What is the particular problem identified?
2. Criteria: What is the standard that was not met? The standard may be a company policy
or other benchmark.
3. Cause: Why did the problem occur?
4. Consequence: What is the risk/negative outcome (or opportunity foregone) because of
the finding?
5. Corrective action: What should management do about the finding? What have they
agreed to do and by when?
The recommendations in an internal audit report are designed to help the organization
achieve effective and efficient governance, risk and control processes associated with operations
objectives, financial and management reporting objectives; and legal/regulatory compliance
objectives. Audit findings and recommendations may also relate to particular assertions about
transactions, such as whether the transactions audited were valid or authorized, completely
processed, accurately valued, processed in the correct time period, and properly disclosed in
financial or operational reporting, among other elements. Under the IIA standards, audit process
is the preparation of a balanced report that provides executives and the board with the
opportunity to evaluate and weigh the issues being reported in the proper context and
perspective. In providing perspective, analysis and workable recommendations for business
improvements in critical areas, auditors help the organization meet its objectives.
STATUTORY AUDIT
A legally required review of the accuracy of a company's or governments financial records.
The purpose of a statutory audit is the same as the purpose of any other audit - to determine
whether an organization is providing a fair and accurate representation of its financial position
by examining information such as bank balances, bookkeeping records and financial
transactions.
It is a compulsory audit done by outside agency at least once, at least once, at the end of
the financial year. As per SEBI guidelines public limited companies are required to have the
companies’ accounts after every three months. Only registered Chartered Accountant Auditors
are authorized to audit the accounts and sign it.
P a g e 37 | 42
The following are the reason to have statutory auditing:
1. All public limited companies must have their accounts auditing by external auditors.
2. All government departments and Government owned companies must get their accounts
audited from external Government approved auditors (usually A.G. Office).
3. All Government funded organizations, corporations, societies; corporation must get their
accounts audited.
4. All registered societies, which collect donations from public, must get their accounts
audited from external auditors.
5. Any company which intends to borrow money from government or financial institutions
must get their accounts audited. Any other company may be asked to get their accounts
audited from external auditors.
DIFFERENCE BETWEEN INTERNAL AUDIT AND STATUTORY AUDIT
1. Appointment
“The management of the organization makes the appointment of an internal auditor. The
statutory auditor is appointed by different authorities. First statutory auditors are appointed by
the shareholders in the annual general meeting.
2. Qualification
“Qualifications of the statutory auditor are prescribed in the companies act, 1956. Essentially a
person should be a practicing chartered accountant to be appointed as a statutory auditor. There
are no fixed qualification for the position of an internal auditor.
3. Objects
“ The main object of the statutory audit is to form an opinion on the financial statement of the
organization auditor has to state that whether the financial statements are showing the true and
fair view of the affairs of the organization or not. The main object of the internal audit is to detect
and prevent the errors and frauds.
4. Scope
“The scope of the statutory audit is fixed by the company’s act 1956. It cannot be changed by
mutual consent between the auditor and the management of the audited business unit. The
scope of the internal audit is fixed by the mutual consent of the auditor and the management of
the unit under audit.
5. Remuneration
“ Remuneration of the statutory auditor is fixed by the appointing authority, I e in case of first
auditors, the auditors the directors fix the Remuneration in case of the subsequent auditors the
P a g e 38 | 42
company in its general meeting fixes the remuneration. In case of internal auditor the
management who appoints him fixes his Remuneration.
6. Report
“The statutory auditor submits his report to the shareholder of the company in its general
meeting. The internal auditor submits his report to the management of the company who is also
his appointing authority.
7. Removal
“The procedure of removal of the statutory auditor is very complex. Only the company in the
general meeting can remove the auditor. It also has to take the permission of the central
government. The management of the entity can remove internal auditor.
SIGNIFICANCE OF AUDITING
1. Facilitate Verification
2. Prevention of Error
3. Prevention of Fraud
4. Moral Check on employees
5. Independent Opinion about the company by auditor
6. Protects the Interest of Share Holder
7. Check on Directors that how they are doing
8. Proper Supervision on company records
9. Valuable Advice by the auditor on the company position
10. Help in Loan Facility as it reveals true and fair position of company
11. Property Value Assessment can be possible
12. Correct Information about Business
13. Advantage for General Public to know about company
LIMITATION OF AUDITING:
1. Non-detection of errors/frauds if not handle properly
2. Dependence on explanation by others people
3. Dependence on opinions of others
4. Conflict with others if not answer properly
5. Effect of inflation on the company records
6. Corrupt practices to influence the auditors
7. No assurance that auditor isn’t partial
8. Inherent limitations of the financial statements if figures are not correct
9. Detailed checking not possible
P a g e 39 | 42
LEARNING OUTCOMES
 Well as far as my SIP is concerned I have learn the practical implementation of the
theories I have learn during my MBA program and graduation.
 I learn the actual procedure of the happening of any transaction within the company and
how it proceed actually.
 In added to that I learn the usage of technology in the accounting which make this process
so agile and easy to record.
 But regarding my topic I feel myself in a position that I’ll be able to answer what auditing
is, how it is done, who does it.
 I learn the various types of audit, and how internal audit of company differentiated from
the statutory audit.
 What are the document one check during the audit and how much important it is for any
company.
 And one of the important thing I have learn while making this project report is there is
relationship between auditing and accounting.
FINDINGS
 My finding toward this research topic is that there is positive relationship between the
accounting and auditing, actually I want to say accounting is incomplete without auditing.
 Even though how carefully the transaction recorded in the books of accounts one cannot
say that it is true and fair, for that auditing is necessary to verify and check the accounts
continuously.
 And via auditing there can be improvement in the accounting records as one knows their
work is going to check in future they do it well.
 So with the usage of auditing one can bring control and it reduce the chances of frauds
and misrepresentation of the documents.
 It leads the standardization of the records and accounts they prepared and bring
efficiency.
 It also save the loss occur due to fraud and misrepresentation of the data.
Audited financial statements present the real position of the company before the general public.
P a g e 40 | 42
RECOMENDATION
 Well my recommendation is that technology is far more advancing today and company
records their transaction by taking help of computers and softwares, they were using the
systems such as material management system, financial system, lead management
system, and many more. If way of doing auditing can change and system (software) will
develop to do auditing by the system itself it can increase the validity and save time and
money.
 Because chances may be there that person doing auditing is lenient, or partial, or he has
hallo effect and Audit report is affected adversely if the explanation and information
prove to be false.
 So there is loopholes to in the auditing but if handed properly it can bring more efficiency.
 And company can make their internal audit more valid because it is not possible in the
statutory audit that one could check details of every documents.
 Auditing should make more spontaneous so that actual picture of company can be reveal.
 People having fear of auditing so company should spread awareness and importance of
audit.
CONCLUSION
With the increase in the size of the companies and the volume of transactions, the main
objective of audit shifted to ascertaining whether the accounts were true and fair rather than
true and correct. Hence the emphasis was not on arithmetical accuracy but on a fair
representation of the financial efforts. Thus, true check the accuracy of accounting, auditing is
tool to assess its performance and reveals the actual picture of company’s doing. This could help
the shareholder of company, to the general public, investors, customers and various party
concern with the company.
In conclusion, I have summarized the whole topic to explain the working of company, its actual
procedures of recording transaction and most importantly the relationship between auditing
and accounting.
I feel that there is need of careful auditing in every organization in order to revel its position and
purity of documents. And I have recommended that if technology could use to develop the
software one can increase the effectiveness of auditing.
P a g e 41 | 42
BIBLIOGRAPHY
WEBSITES:
Www.parlebhuj.com
Www.wikipedia.com
Www.caclubindia.com/statutoryaudit
Www.investopedia.com/auditing
Www.slideshare.com
Www.1toronto.ca
Www.investopedia.com/statutoryaudit
SEARCH ENGINE:
Www.google.com
BOOKS:
Accountancy and auditing, BS Shah Ty B.com

Parle project- PDF

  • 1.
    SUMMER INTERNSHIP PROJECTREPORT ON THE STUDY OF ACCOUNTING AND AUDITING AT PARLE PRODUCTS PRIVATE LTD. IN PARTIAL FULFILLMENT OF FULL TIME MBA PROGRAM (2013-15) Info@bkschool.org.in SUBMITTED BY: Darji Jayesh (11313) Date: 17/7/1014 SUBMITTED TO: BK School of Business Management Gujarat University, Navrangpura, Ahmedabad-380009 Phone: +91 7926304811
  • 2.
    P a ge 1 | 42 ACKNOWLEDGEMENT “There is a great soldier, scientist, philanthropist and many great person we all have witness because of their teachers lead them to have perfection.” The project report and this practical learning of Accounting and Auditing cannot be possible for me to understand if I don’t get help of a few person. There are countless individuals who help us in making our journey of life successful and enriching. As I resume towards the end of my summer training, I take this opportunity to thank all those individuals who have contributed in one way or the other in making this journey of mine successful and a great learning experience which will help me in my future endeavors. First and foremost, I would like to thank my mentor, Mr. Jignesh Thakkar and Hardev sinh jadeja, executive at Parle Products Private Ltd, for not only providing me with invaluable advice and guidance to carry on with my project work, but also motivating me throughout my training period. I would like to express my sincere gratitude to Mr. Nayan Chande, Dharmik Vyas, Puspendra Naudiyal, for their guidance and support. They supported me continuously with their valuable knowledge and experience in the successful completion of the project. And last but not the least I want to thank the project Coordinator and my college B K School of Management Studies, for providing me such a great opportunity to learn. And I also wish to express my sincere gratitude to Mr. D.K.Pundir, Operation manager, who gave me the opportunity to complete my summer internship project at Parle Products Private Limited, Kukma-Bhuj. Jayesh Darji
  • 3.
    P a ge 2 | 42 TABLE OF CONTENT 1) Declaration 3 2) Objective 4 3) Data collection and research methods 5 4) Executive summary 6 5) Industry overview 8 6) Overview of company 11 7) Main activity of accounting department 18 8) Introduction to auditing 27 9) Accounting concept relevant to auditing 33 10) Internal audit 35 11) Statutory audit 37 12) Difference between internal audit and statutory audit 38 13) Significance and limitation of auditing 39 14) Learning outcomes and findings 40 15) Recommendation and conclusion 41 16) Bibliography 42
  • 4.
    P a ge 3 | 42 DECLARATION I, Jayesh Darji, the undersigned, a Student of BK School of Business Management, Ahmedabad (Full Time MBA-2013-15), hereby declare that the Project Report entitled the study of Accounting and Auditing is submitted in partial fulfillment of the requirement for the summer internship project. The project is undertaken as a part of Summer Internship Training during time period 20st May to 20th July, 2014. The matter embodied in this project report has not been submitted elsewhere by anybody for the award of any degree or diploma. - Jayesh Darji
  • 5.
    P a ge 4 | 42 OBJECTIVE  Firstly, the core objective of my summer training was to understand the practical working of an organization. This training was my first experience of working in any organization which gave me an opportunity to look at the various aspects such as actual accounting process, the entry of various transactions, the hierarchy of employees in the organization, functioning of finance department, flow of information etc.  Another main objective was to get a first-hand experience of working in an organization, which would be helpful for my future endeavor. For any MBA student it is crucial to get a good experience during the summer training. This gives the student a closer view of the actual working, thus maturing the view of the student as regard to the same.  And to understand the significance relationship between Auditing and Accounting in the organization, and how it works in actual situation.  And I’m much concerned with how Auditing is done in actually and how one check the accuracy of the books of accounts via Auditing.  So I could be able to answer the question such as, - How it is done? - By whom it is to be done? - What they check during auditing? - What are the documents they need to check? - How statutory audit differentiated from the internal auditing?
  • 6.
    P a ge 5 | 42 DATA COLLECTION AND RESEARCH METHODS DATA SOURCES In my project I gained some important knowledge about the fundamentals of the field by the people who have taught me there and referring to certain material provided by them. And also the amount of information on the related topics was retrieved from the Internet which enlighten my knowledge that remained shallow and incomplete. METHODOLOGY Well, I’m fortunate to get chance to attend auditing meeting at Parle which help me to enlighten the work. And in added to that I have consulted my mentor there at Parle, and other staff about the auditing and they provided me valuable information. So it is more of observation and direct contact with employees. ANALYSIS OF DATA After collecting the required information from all the above-mentioned sources, what I got was raw data. Such raw data would not be of much help to anyone. I tried to organize this data into a systematic report, which would enable the reader to understand it better.
  • 7.
    P a ge 6 | 42 EXECUTIVE SUMMARY Accounting is growing intellectually very high and using technology as tool to prepare documents such as Balance Sheet, P & L Account, Cash Flow, Tax Return and many more. But there isn’t any certainty to say that this document that company have made are true. So for that the branch come into existence called “Auditing”. The term audit is derived from the Latin term ‘audire,’ which means to hear. In early days an auditor used to listen to the accounts read over by an accountant in order to check them Auditing is as old as accounting. It was in use in all ancient countries such as Mesopotamia, Greece, Egypt, Rome, U.K. and India. The Vedas contain reference to accounts and auditing. Arthasashthra by Kautilya detailed rules for accounting and auditing of public finances. The original objective of auditing was to detect and prevent errors and frauds. Auditing evolved and grew rapidly after the industrial revolution in the 18th century with the growth of the joint stock companies the ownership and management became separate. The shareholders who were the owners needed a report from an independent expert on the Accounts of the company managed by the board of directors who were the employees. The objective of audit shifted and audit was expected to ascertain whether the accounts were true and fair rather than detection of errors and frauds. In India the companies Act 1913 made audit of company accounts compulsory with the increase in the size of the companies and the volume of transactions the main objective of audit shifted to ascertaining whether the accounts were true and fair rather than true and correct. Hence the emphasis was not on arithmetical accuracy but on a fair representation of the financial efforts the companies Act 1913 also prescribed for the first time the qualification of auditors. The International Accounting Standards Committee and the Accounting Standard board of the Institute of Chartered Accountants of India have developed standard accounting and auditing practices to guide them. Accountants and auditors in the day to day work the later developments in auditing pertain to the use of computers in accounting and auditing. Thus, Accounting is incomplete without Auditing. Where in Parle, too they conduct two types of audit every years to check the fairness and truthfulness of the documents.  Internal Audit (Once or twice a year)  Statutory Audit (Annually) Thus, this project report is mainly to study the Accounting and Auditing carried out at the Parle Product Private Ltd.
  • 8.
    P a ge 7 | 42 The nature of the study is primarily analytical though specific portions of the study are descriptive in nature. The data is collected fromvarious secondary sources and learning are based on observation and mentoring. During the project, I was fortunate to have the learnings and experiences such as: practical application of theory, understanding work and organizational culture, improvement in communication and soft skill, and many more. Overall, it was an enriching experience.
  • 9.
    P a ge 8 | 42 INDUSTRY OVERVIEW Biscuits: Sweet or salty, Soft or crunchy, Simple or exotic. Everybody loves munching on biscuits, but do they know how biscuits began? The history of biscuits can be traced back to a recipe created by the Roman chef Apicius, in which "a thick paste of fine wheat flour was boiled and spread out on a plate. When it had dried and hardened it was cut up and then fried until crisp, then served with honey and pepper." The word 'Biscuit' is derived from the Latin words 'Bis' (meaning 'twice') and 'Coctus' (meaning cooked or baked). During the 17th and 18th Centuries in Europe, baking was a carefully controlled profession, managed through a series of 'guilds' or professional associations. To become a baker, one had to complete years of apprenticeship - working through 1 the small-scale sector but there are strong possibilities of the industry being deserved in line with the government policy of liberalization. The net effect thus would be greater choice for the consumer as well as a check on the costs. The country production of the biscuits during 2007-08 was 18.6 Lactones of which 1/2 were manufactured by the organized sector. The industry turnover was 5322.7 Crores of which organized sector contributed 2519.3 crores. GROWTH AND PRESENT STATUS OF THE INDUSTRY Biscuit industry in India in the organized sector produces around 60% of the total production, the balance 40% being contributed by the unorganized bakeries. The industry consists of two large scale manufacturers, around 50 medium scale brands and small scale units ranging up to 2500 units in the country, as at 2000-01. The unorganized sector is estimated to have approximately 30,000 small & tiny bakeries across the country. OVERVIEW: The total production of biscuits in India is estimated to be around 30 lakh MT, the organized sector accounts for 65% and the unorganized sector accounts for 35% of the total industry volume.  The organized sector is valued at above Rs 8000 crores.  The biscuit industry is estimated to grow over 15-17% in the next few years.  The per capita consumption of biscuits in India is 2.0 kg.  India is ranked 3rd after US and China amongst the global biscuits producers.  The export of biscuits is approximately 17% of the annual production, the export of sweet biscuits for year 2011-12 was Rs 275.93 Cr and for year 2012-13(April-Dec) was Rs 420 Cr, the major exporting regions were Haiti, Angola, USA, Ghana, UAE.  The imports are not significant amount as compared to the total consumption.  The penetration of biscuits in urban and rural market is 85% and 55% respectively.  The Biscuit industry employs almost 3.6 lakh people directly and 32 lakh people indirectly.
  • 10.
    P a ge 9 | 42 The organized biscuit manufacturing industries annual production: Year 2007-08 2008-09 2009-10 2010-11 2011-12 2012-13 Annual Production (Lakh MT) 11.00 12.54 14.29 16.14 19.14 23.5 MAIN CATEGORIES OF BISCUITS:  Glucose,  Marie,  Sweet,  Salty,  Cream & Milk. Glucose biscuits accounts for more than 50% of the total biscuit market value, Parle G dominate this market with more than 60% share followed by Britannia and ITC. MAJOR BRANDS: The Indian biscuit industry is dominated by major brands like,  Parle  Britannia  Sunfeast Also the category has strong regional brands such as  Priya Gold-North,  Cremica-North & West,  Dukes-South  Anmol-East & North. OTHER POPULER BRANDS:  Horlicks,  Biskfarm-East,  Rose-Andhra Pradesh & South,  Sobisco-East and North East also launched in Andhra Pradesh and Madhya Pradesh.,  Nezone- North East, Bakewell
  • 11.
    P a ge 10 | 42 MARKET SHARE BREAKDOWN: The Indian biscuit industry is dominated by brands like Parle Britannia Priyagold Surya Food & Agro Ltd Sunfeast ITC Other ACCORDING TO 2012– NEW PROSPECTS IN THE INDIAN BISCUIT INDUSTRY  GlaxoSmithKline Consumer Healthcare: Junior Horlicks Biscuits-toddler biscuit category.  PepsiCo India Launched biscuit brand Aliva, it will be produced by food division Frito Lay India.  United Biscuits (UK), world’s third largest biscuit company, is set to enter India market.  Shakti Bhog plans to enter biscuits segment. Parle 33% Britannia 21% Priyagold 13% Sunfeast 12% Other 21% MARKET SHARE
  • 12.
    P a ge 11 | 42 OVERVIEW OF COMPANY History of Parle Company: In 1929 a small company by the name of Parle products emerged in British dominated India. The intent was to spread joy and cheer to children and adults alike, all over the country with its sweets and candies. The company knew that it wouldn’t be an easy task, but they decided to take the brave step. A small factory was set up in the suburbs of Mumbai, to manufacture sweets and toffees. A decade later it was upgraded to manufacture biscuits as well. Since then, the Parle name has grown in all directions, won international fame and has been sweetening people's lives all over India and abroad. In confectionery, they have a range of toffees and hard-boiled candies available in chocolate, mint, cola, and tropical fruit flavors. Some of these are double layered toffees and center filled candies packed in rolls or pillow packs, or have single or double twist wrapping. Almost all of their products are market leaders in their category and as recognition of their quality, have won Gold, Silver and Bronze Monde Selection medals since 1971. The immense popularity of Parle products in India was always a challenge to our production capacity. Now, using more modern techniques for capacity expansion, they have begun spreading their wings and are going global. Parle biscuits and confectionaries are fast gaining acceptance in international markets, such as, Middle East, Africa, South East Asia and the more sophisticated economies like U.S.A., UK, Canada, Australia and New Zealand now relish Parle products. As part of the efforts towards a larger share of the global market, Parle has initiated the process of getting ISO 9000 certification. The Parle name symbolizes quality, health and great taste. And yet, they know that constantly innovating and catering to new tastes have built this reputation. This can be seen from the success of its new brands such as Hide & Seek, Mango bite etc. Today, the Parle brands have found their way into the hearts and homes of people all over India & abroad. The Parle Biscuit brands, such as, Parle-G, Monaco, Krackjack, Marie Choice, Hide & Seek and confectionery brands, such as, Melody, Poppins, Rolacola, Mango bite enjoy a strong imagery and appeal amongst consumers across the world. WHICH HAS RESULTED INTO PARLE-G BEING THE “WORLD’S LARGEST SELLING BISCUIT" Parle Products Pvt. Ltd. Is a FMCG (Fast moving Consumer Goods) Industry. The fast moving consumer goods are those consumables which are normally consumed by consumer at a regular interval. Parle Products Pvt. Ltd. Was established in 1929.During British rule in India. A small factory was set up in the suburbs named “Vile Parle” of Mumbai, to manufacture sweets and toffees. A decade later in 1939 it was upgraded to manufacture biscuits as well. Parle Glucose (Parle-G) and Parle Monaco were the first brand introduced as a biscuit products. Since then, the Parle name has grown in all directions, won international fame and has been sweetening people's lives all over India and abroad. Its Head office is based in Mumbai, it been India's largest manufacturer of biscuits and confectionery, for almost 80 years. Parle – G is the world’s largest selling biscuit. Its reach spans even to the remotest villages of India.
  • 13.
    P a ge 12 | 42 Many of the Parle products - biscuits or confectioneries, are market leaders in their category and have won acclaim at the Monde Selection, since 1971. With a 65% share of the total biscuit market and a 15% share of the total confectionery market in India, Parle has grown to become a multi-million dollar company. They have recently entered the snacks market. Apart from the factories in Mumbai and Bangalore Parle also have factories in Bahadurgarh in Haryana and Neemrana in Rajasthan, which are the largest biscuit and confectionery plants in the country. Additionally, Parle Products also has 10 manufacturing units and 75 manufacturing units on contract. PARLE G – THE EVOLUTION It has been a strong household name across India. The great taste, high nutrition, and the international quality, makes Parle-g a winner. No wonder, it’s the undisputed leader in the biscuit category for decades. It is consumed by people of all ages, from the rich to the poor, living in cities & in villages. While some have it for breakfast, for others it is a complete whole some meal. For some it’s the best accompaniment for chai, while for some it’s a way of getting charged whenever they are low on energy. Because of this, Parle-G is the world’s largest selling brand of biscuits. Launched in the year 1939, it was one of the first brands of Parle products. It was called Parle Glucose Biscuits mainly to cute that it was a glucose biscuit. It was manufactured at the Mumbai factory, Vile Parle and sold in units of half and quarter pound packs. The incredible demand led Parle to introduce the brand in special branded packs and in larger festive tin packs. By the year 1949, Parle Glucose biscuits were available not just in Mumbai but also across the state. It was also sold in parts of North India. The early 50s produced over 150 tons of biscuits produced in the Mumbai factory. Looking at the success of Parle-G, a lot of other me-too brands Mumbai factory. Looking at the success of Parle-G, a lot of other me-too brands were introduced in the market and these brands had names that were similar to Parle Glucose Biscuits so that if not by anything else, the consumer would err in picking the brand. This forced Parle to change the name from Parle Glucose Biscuits to Parle-G. Originally packed in the wax paper pack, today it is available in a contemporary, premium BOPP pack with attractive side fins. The new airtight pack helps to keep the biscuits fresh and tastier for a longer period. Parle-G was the only biscuit brand that was always in short supply. It was heading towards becoming an all-time great brand of biscuit. Parle-G being started advertised in the 80’s. It was advertised mainly through press ads. The communication spoke about the basic benefits of energy and nutrition. In 1989, Parle-G it’s released its Dadaji commercial, which went on to become one of the most popular commercial for Parle-G. The commercial was run for a period of 6years. Parle-G grew bigger by the minute. In the year 1997, Parle-G sponsored the tale-serial of the Indian superhero, Shaktimaan that went on to become a huge success. The personality of the superhero matched the overall superb benefits of the brand. Parle extended this association with Shaktimaan and gave away a lot of merchandise of Shaktimaan, which was supported by POS and press communication.
  • 14.
    P a ge 13 | 42 The children just could not get enough of Parle-G and Shaktimaan. In the year 2002, it was decided to bring the brand to the child who is a major consumer. A national level promo – ‘Parle-G Mera Sapna Sach Hoga’ was run for a period of 6 months. The promo was all about fulfilling the dreams of children. There were over 5 lakhs responses and of that, over 300 dreams were fulfilled. Dreams that were fulfilled ranged from trips to Disneyland at Paris & Singapore; free ride on a chartered plane; 20 scholarships worth Rs 50,000; a special coaching etc. The year 2002 will go down as a special year in Parle-G’s advertising history. A year that saw the birth of G-Man – a new ambassador for Parle-G. Not just a hero but also a superhero that saves the entire world, especially children fromall the evil forces. A campaign that is not just new to the audiences but one that involves a completely new way of execution that is loved by children all over the world-Animation. To make the brand much more interesting and exciting with children, it was decided to launch a premium version of Parle-G called Parle-G Magix in the year2002. Parle–G Magix is available in two tastes. The year 2002 also witnessed the launch of Parle-G Milk Shakti, which was the nourishing combination of milk and honey, especially launched for the southern market. Growth and development of the organization over the years, Parle has grown to become a multi-million US Dollar company. Today, Parle enjoys a 40% share of the total biscuit market and a 15% share of the total confectionary market, in India. The Parle Biscuit brands, such as, Parle-G, Monaco and Krackjack and confectionery brands, such as, Melody, Poppins, Mango bite and Kismi, enjoy a strong imagery and appeal amongst consumers. Then the Parle representatives includes the production officer and the operation’s head made students exposed to the production unit followed by the manufacturing unit and packaging. The extensive distribution network, built over the years, is a major strength for Parle Products. Parle biscuits & Sweets are available to consumers, even in the most remote places and in the smallest of villages with a population of just 500.The Parle marketing philosophy emphasizes catering to the masses. Most Parle offerings are in the low & mid-range price segments. This is based on our cultivated understanding of the Indian consumer psyche. The value-for-money positioning helps generate large sales volumes for the products. However, Parle Products also manufactures a variety of premium products for the up- market, urban consumers. And in this way, caters a range of products to a variety of consumers. In nutshell, the Parle name conjures up fond memories across the length and breadth of the country. About Bhuj Plant: The earth quack of 26th January 2001 had shot up Kachchh badly. For redevelopment of Kachchh, it was desirable to invite big industries to generate industrial development and possibilities of employment. Mr. Amul Chauhan, the director of the Parle Products Pvt. Ltd. Had get idea of starting a new manufacturing plant in Kachchh.
  • 15.
    P a ge 14 | 42 This plant was started in 2003. Parle company has 10 mother unites of production and this unit is one of them. Parle Bhuj is situated 12 kms from Bhuj on Bhuj-Gandhidham State highway, Campus is surrounded by farms, totally pollution free environment. Mundra Port & Kandla ports are in the range of 56 to 70 kms. Plant is designed in such a way that material follows one path from Raw material Input to Final product and it is totally atomized process for biscuit manufacturing starting from Raw material Input to Finished product. In Bhuj plant there are two major plants. One for glucose biscuit and other for Monaco biscuit. Daily 20 to 25 trucks of capacity 9 tone biscuits are dispatched fromthe unit. Monthly 40 to 50 trucks of printing material are dispatched to Mumbai. Vision: To be the leaders in our business, we will stand apart from the competition by being the first in the market to innovate. Mission: We will be the leaders in our business by maintaining high quality, introducing new and innovative product, reaching every part of India, remaining custom, centric, constant by upgrading our knowledge & skill.
  • 16.
    P a ge 15 | 42 ORGANIZATION STRUCTURE An organizational structure defines how activities such as task allocation, coordination and supervision are directed towards the achievement of organizational aims. It can also be considered as the viewing glass or perspective through which individuals see their organization and its environment. Organization structure is teamwork of the formal relationship that has been established. The purpose of the structure is to assist in regulating and directing the efforts of an organization so that they are co-ordinate and consistent with organization. Organization structure of the company shows the interrelationship between employer and employee or vice- versa. It shows a clear cut line of authority, responsibility and accountability. Among the various types of organization structure Parle has adopted vertical management structure. An organization can be structured in many different ways, depending on their objectives. The structure of an organization will determine the modes in which it operates and performs. Organizational structure allows the expressed allocation of responsibilities for different functions and processes to different entities such as the branch, department, workgroup and individual. Organizational structure affects organizational action in two big ways. First, it provides the foundation on which standard operating procedures and routines rest. Second, it determines which individuals get to participate in which decision-making processes, and thus to what extent their views shape the organization’s actions. Director GM Unit Head Deputy Manager AssistantManager Executive Officer Assistant Officer Worker
  • 17.
    P a ge 16 | 42 CHART OF DEPARTMENTS Mr. D.K. Pundir (Manager - Operation) Accounts Accounts Excise PurchaseHRD PQS CSR Security Canteen Medical Production Flour Handling Mixing Rotary Oven Packing ITEngineering Mechenical Electrical Printing Stores BSR Q&A Corrugation
  • 18.
    P a ge 17 | 42 5S – WORK PLACE MANAGEMENT 5-s refers to the work place management which is fully implemented in company. Various committees and group are formed to make the process smoother. 1S – SEIRI – SEGREGATION Organization has to sort out unnecessary item in the work place and apply stratification management to discard them. Items that need to be discarded must be discarded in such a way that this will not harmful to society, environment, and even animals. Use red tag for unnecessary items and yellow tags for the items, which are extra and should be sent to stores. 2S – SERTON - NEATNESS Put the thing in decided marked place and put label on each item. Arrangement of item should be in such a way that it can be picked easily for use. During storage of any item its height, weight, size, shape, safety, etc. should be kept in mind. 3S – SEISO – CLEANING Here cleaning is in the form of inspection. When they are doing cleaning, they are inspecting simultaneously. Clean your work place completely so that there should not be any dust on floor, walls, windows, desk, table, machinery etc. Cleaning should be done in Macro first and then in micro level for individual items. 4S – SEIKETSU – STANDARDIZATION Here again they have to think as why this had become dirty. What is the system of cleaning, can we develop new cleaning equipment or change the equipment / way of cleaning, and can we arrest the source by which area has become dirty. All this will give some solution through Brain storming. Try to find out good solutions and standardize the system. Apply visual Management for easy to follow the system. 5S – SHITSUKE - DISCIPLINE This means whatever system we are having or developed by us under ‘4-S’ to be followed in such a way that, standard practices become a part of our life. This will help to maintain high level of work place organization at all the time.
  • 19.
    P a ge 18 | 42 MAIN ACTIVITY OF ACCOUNTING DEPARTMENT As a body cannot run without blood a company cannot run without finance. Finance is the life cycle of a company. This is the department where the cash is maintained. The entire success of a company depends upon how well account department is managed by a company... Main activity of the account department include is as under:- 1) PURCHASE DEPARTMENT Purchasing is the formal process of buying Goods and Services. The Purchasing Process can vary from one organization to another, but there are some common key elements. The Process usually starts with a ‘Demand’ or requirements – this could be for a physical part (inventory) or a service. A requisition is generated, which details the requirements (in some cases providing a requirements specification) which actions the procurement department. A request for Proposal (RFP) or Request for Quotation (RFQ) is then raised. Suppliers send their quotations in response to the RFQ, and a review is undertaken where the best offer (typically based on price, availability and quality) is given the purchase order. Purchase orders (PO) can be of various types, including:  Standard – a onetime buy;  Planned – an agreement on a specific item at an approximate date  Blanket – an agreement on specific terms and conditions, date and quantity and amount are not specified. Purchase orders are normally accompanied by Terms and Conditions which form the contractual agreement of the Transaction. The Supplier then delivers the products/service and the customer records the delivery (in some cases this goes through a Goods Inspection Process.) An invoice sent by the supplier which is cross checked with the Purchase Order and Document which specifying that the goods received. IN PARLE In Administration, Purchase Department is covered which is associated with the Purchase of all the required materials for the Company. Purchase Department have to deal with the purchase of the requirement. There are requirement of all type of materials. From raw material to the stationary and engineering items. Generally major two decision of purchase are taken by this department. 1. Raw material – Mr. Hitendrasinh Jadeja 2. Service and operation – Ms. Beena Rathod
  • 20.
    P a ge 19 | 42 PROCESS OF MATERIAL PURCHASE:  When employee of any department has a need of any type of goods first of all they asks from the stores whether that particular goods is available or not.  If the goods are not available in the stores then the particular Department has to fill up the indent which is the slip of the demand for the particular product. If the item required is capital item called capex. Here they have given codes to each item as well as a list of approved suppliers for all the item is provided to all the units.  As per this indent purchase department have to purchase the goods after comparing the price of the different quotation of different companies and the quotation having the low rate and good quality will be passed by the operation manager.  Next Step after the approval of quotation is making the P.O. i.e. Purchase order which contains the party name. Material code & Description. Decided rate, Date of the Order, lead time for the supply of the material etc.  This P.O. is having two copies and having the sign of the manager. Fromwhich one will be sent to the supplier along with the advance Payment if any 2nd copy is sent to Purchase Department. As per PO Supply will be made according to the Description in PO within given time lag along with the Invoice.  This bill will be passed to the accounts department and the amount will be checked. If the amount is according to the Purchase order ( When Purchase order is sent to the Party the amount is fixed) the Payment will be made, But if there is a difference between the Rate in bill and in the Po the Performa will be passed and as per the rate of Performa payment will be made.  2) BILL BOOKING SYSTEM Main Purpose of bill passing is to enter the amount of purchase bill and verify the quantity of materials whether it is as per bill or not. There are three types of bill:-  Coded  Manual Coded items: Raw materials are considered as coded items all having their own codes and when entries are made particular coded is used to make the transaction smooth. Manual: Payment for servicing or payment for the amount less than Rs 500 is made with the authorization of the Head of Departments with supporting vouchers/documents.
  • 21.
    P a ge 20 | 42 3) BANK PAYMENT After bill passing, all data are transferred to cash department through system. If there is any change between bill and purchase order amount then Performa (Payment Advice) will be made and finally payment will be made as per Performa. Account department keeps one copy of Payment advice and other is attached with the Cheque so the party can know against, which bill company makes the payment. The Cheque is sent to the party through courier after making an entry in register at Reception. At the end of the month reconciliation of bank statement is done. Main purpose is to verify the amount of Cheque debited and credited. To know changes and income from various sources. 4) CASH PAYMENTS & CASH RECEIPTS Cash Payments are made for the miscellaneous expenses like petrol traveling. Fridge ticket expenses of the application. Cash Payment for IOU is also made for employee etc. without any interest charges against which bill can also be issued. Cash receipt are made for the cash sale of 1 kg biscuits to local stores and one copy of cash receipt are kept for records cash department also handles scrap sales and Sales of polybags. 5) MAINTAIN RECORDS At the month ending all records will be sent for binding and are kept in their record room. Company is having all the records data month and year wise. 6) RECONCILIATION OF BANK STATEMENT A bank reconciliation statement is a statement prepared by organizations to reconcile the balance of cash at bank in a company’s own records with the bank statement on a particular date. This statement is the most common tool used by organization for reconciling the balance as per books of company with the bank statement and is made at the end of the every month. The main objective of reconciliation is to ascertain if the discrepancy is due to error rather than timing. The difference between the two records on a given date may arise because of the following:- 1) Cheque drawn but not yet presented to the bank - (+) Add 2) Cheque received but not yet deposited in the bank - (-) Less 3) Interest Credited and not recorded in the organization books - (+) Add 4) Bank charges debited but not recorded in the organizations book - (-) Less 5) Balance of book 6) Balance of Bank statement 7) Difference 0.00
  • 22.
    P a ge 21 | 42 Bank reconciliation statement process is being outsourced to professional accounting firms by large organizations. This helps them have an accurate view and also ensure that the company’s bookkeeping is good. Accounting firms make monthly reconciliation statements for clients and help them determine any discrepancy. Advantages:  Faster processing  Requirement of less manpower  Easy identification of errors 7) LEDGER SCRUTINY Ledger scrutiny is the overall assessment of accounts of a concern. It is a process initiated with a view to ensure true and fair concept. Any irregularity (Whether it may be error or a statutorily noncompliance) may be bought into light. Just by scrolling down the transaction that has occurred in an account with adequate narrations, could be very helpful in the process of scrutiny for identifying whether accounts reflect true and fair view. Before resorting to ledger scrutiny, the auditor should ascertain the extent to which it can be adopted. It can detail or restricted to some class of accounts. Ledger scrutiny reveals “undue pattern” of accounts, if any For example – an amount outstanding for more than 2 years is suddenly paid; it may create suspicion whether it is actually paid. First of all opening balance of all the accounts will be checked from previous finalized trial balance. In Parle: In order to maintain right record is scrutinize the ledger of party’s timely. So if any mistake in ledger can be rectified. 8) PETTY CASH Petty Cash is a small amount of discretionary funds in the form of cash used for expenditures where it is not sensible to make the disbursement by check, because of the inconvenience and cost of writing, signing and then cashing the check. The most common way of accounting expenditures is to use the imp rest system. The initial fund would be created by issuing a check for the desired amount. Usually $100 would be sufficient for most small business needs. The entry for this initial fund would be to debit Petty cash and credit cash. As expenditure is made, the custodian of the fund will reimburse employees and secure a petty cash voucher in return. At any given time the total of cash on hand plus reimbursed voucher must equal the original fund. When the fund gets low the custodian submits the vouchers for reimbursement. Assuming the vouchers must equal the original fund.
  • 23.
    P a ge 22 | 42 In Parle In particular day how much amount of cash is spend and under that head is maintained in Cash department and they maintain daily base record. Petty cash is one of the most important day-to-day activities the help of which one can directly view the cost increment or decrement. 9) TAX DEDUCTED AT SOURCE Tax deducted at source is one of the modes of collecting Income-tax from the addresses in India. In tax deducted at source under use rules & regulation. In follow that type statement under two part about company & personal than after select one type. If select any on then after apply condition if no/invalid pan card. And show that type column and take maximum per. In any of company there remain some provisions for the payment of taxes. Such payments are compulsory for a company to pay. This department handles the entire working of TDS. What amount of tax is to be paid to the government deposited in prescribed time limit? 10) EXCISE DUTY, SERVICE TAX & VAT/CST Central excise duty is an indirect tax which is charged on such goods that are manufactured in India and are meant for domestic consumption. The taxable fact is “manufacture” and the liability of central excise duty arises as soon as the goods are manufactured. The tax is on manufacturing, it is paid by a manufacturer, which is then passed on to the customer. In Parle As per the government rule company has to pay 6% basic excise duty on biscuits, 4% on corrugated boxes and 10% on plastic Wrapper at the time of removal. But the Parle company is not paying excise duty on biscuits because as per new budget biscuits are exempted as MRP is less than 100 Rs. per Kg. Earlier, the plant was established in BHUJ to avail the benefit of excise duty exemption for 5 years and has availed the benefit of excise duty on 09.10.2008. But now onwards unit is paying excise duty only on plastic wrappers and C-boxes as biscuits are exempted from excise. SERVICE TAX Company is paying 10.3% service tax on monthly basis as they are covered under GTA (Goods Transport Agency) Service. VAT/CST Vat is indirect tax on the consumption of the goods, paid by its original producers upon the change in goods or upon the transfer of the goods to its ultimate consumers. It is based on the value of goods, added by the transferor and not just a profit.
  • 24.
    P a ge 23 | 42 In Parle Company is paying VAT/CST on biscuits, Snacks. Confectioneries & Scraps e.g. 15% on biscuits & snacks (12.5% basic + 2.5 additional tax), 5% on Confectionaries & Scraps (4% basic +1% additional tax). CST % for each and every product is 2% against form C. 11) COSTING Costing means expenses incurred at the time of production. Cost sheet are being regularly prepared by the company. This based on the details given by the production department. There is income of the scrap sale of materials that is deducted from total cost. At the time of calculating closing stock. The stock of the production, stock of floor and the stock of stores are considered. At the end of the month production department gives details and it is recorded in the cost sheet. Cost sheet is making as not only as per products but also as per packing size. 12) BALANCE CONFIRMATION Company checks all company’s ledger account check then after company write a letter against other party about balance confirmation and on a company’s letter paid and send to a letter with ledger copy. Then after other party match ledger and match balance so, party will send a reply otherwise not match amount so, party will send his ledger copy and solve his problem this is main purpose of balance conformation letter. 13) TRIAL BALANCE CONFIRMATION A trial balance is a list of all the nominal ledger (general ledger) accounts contained in the ledger of a business. This list will contain name of the nominal ledger account and the value of that nominal ledger account. The value of the nominal ledger will hold either a debit balance value or a credit value balance. The debit balance values will be listed in the debit column of the trial balance and the credit value balance will be listed in the credit column. The profit and loss statement and balance sheet and other financial reports can then be produced using the ledger account listed on the trial balance. Parle Company maintain at the end of financial year. Company verifies and check all the ledger balance of the other party and pass necessary provision and correct the trial balance on which balance sheet is prepared. 14) BUDGETING Account Department prepares budget for the several activities like maintenance of Canteen, for production etc. And Account Department makes a plan and prepares a proposal of the requirement of fund, sends it to the Corporate Office.
  • 25.
    P a ge 24 | 42 15) SOCIETY LOAN For the Welfare of the teammates Parle Products Pvt. Ltd., Bhuj grants short term loan to its employees. The loan is granted & each month fromthe salary of the employee the installment of the loan are deducted. ACTUAL PROCEDURES FROM MATERIAL REQUEST TO CASH PAYMENT PURCHASING PROCESS Quality Material request form Lag Time Material Not available Material Available QTY.Indent Quotation Comparison Find Resources Quotation Bargaining Quality Approve Purchase Order (PO) Gate entry Basic Price Quality Perfection Qty. Taxation Per. Payment Terms Delivery Address
  • 26.
    P a ge 25 | 42 Receiving of Material Accept GRN Reject Account Department Q.A. Payment Voucher Bank PaymentCash Payment Balance Conformation Ledger Reconditions Due date Payment Manual CapexCoded GRN no. Date receive P.O. Qty. Ch Qty/Accept Qty.
  • 27.
    P a ge 26 | 42 INTRODUCTION TO AUDITING Auditing is a vital part of accounting. Traditionally, audits were mainly associated with gaining information about financial systems and the financial records of a company or a business. Economic decisions in every society must be based upon the information available at the time the decision is made. For example, the decision of a bank to make a loan to a business is based upon previous financial relationships with that business, the financial condition of the company as reflected by its financial statements and other factors. If decisions are to be consistent with the intention of the decision makers, the information used in the decision process must be reliable. Unreliable information can cause inefficient use of resources to the detriment of the society and to the decision makers themselves. In the lending decision example, assume that the barfly makes the loan on the basis of misleading financial statements and the borrower Company is ultimately unable to repay. As a result the bank has lost both the principal and the interest. In addition, another company that could have used the funds effectively was deprived of the money. As society become more complex, there is an increased likelihood that unreliable information will be provided to decision makers. There are several reasons for this: remoteness of information, voluminous data and the existence of complex exchange transactions As a means of overcoming the problem of unreliable information, the decision-maker must develop a method of assuring him that the information is sufficiently reliable for these decisions. In doing this he must weigh the cost of obtaining more reliable information against the expected benefits. A common way to obtain such reliable information is to have some type of verification (audit) performed by independent persons. The audited information is then used in the decision making process on the assumption that it is reasonably complete, accurate and unbiased. Financial audits are performed to ascertain the validity and reliability of information, as well as to provide an assessment of a system's internal control. The goal of an audit is to express an opinion of the person / organization / system (etc.) in question, under evaluation based on work done on a test basis. Due to constraints, an audit seeks to provide only reasonable assurance that the statements are free from material error. Hence, statistical sampling is often adopted in audits. In the case of financial audits, a set of financial statements are said to be true and fair when they are free of material misstatements – a concept influenced by both quantitative (numerical) and qualitative factors. But recently, the argument that auditing should go beyond just true and fair is gaining momentum.[3] And the US Public Company Accounting Oversight Board has come out with a concept release on the same. Cost accounting is a process for verifying the cost of manufacturing or producing of any article, on the basis of accounts measuring the use of material, labor or other items of cost. In simple words, the term, cost audit means a systematic and accurate verification of the cost accounts and records, and checking for adherence to the cost accounting objectives. According to the Institute of Cost and Management Accountants of Pakistan, a cost audit is "an examination of cost accounting records and verification of facts to ascertain that the cost of the product has been arrived at, in accordance with principles of cost accounting." An audit must adhere to generally accepted standards established by governing bodies. These standards assure third parties or external users that they can rely upon the auditor's opinion on the fairness of financial statements, or other subjects on which the auditor expresses an opinion.
  • 28.
    P a ge 27 | 42 The definition for Audit and Assurance Standard AAS-1 by the Institute of Chartered Accountants of India (ICAI): “Auditing is defined as a systematic and independent examination of data, statements, records, operations and performance (financial or otherwise) of an enterprise for a stated purpose. In any auditing situation, the auditor perceives and recognizes the proposition before him for examination, collects evidence, evaluates the same and on this basis formulates a judgment which is communicated through an audit report. An audit is an independent examination of financial information of an entity, irrespective of its size and form, when such examination is conducted with a view of expressing an opinion thereon.” FEATURE OF AUDITING  Audit is a systematic and scientific examination of the books of accounts of a business;  Audit is undertaken by an independent person or body of persons who are duly qualified for the job.  Audit is a verification of the results shown by the profit and loss account and the state of affairs as shown by the balance sheet.  Audit is a critical review of the system of accounting and internal control.  Audit is done with the help of vouchers, documents, information and explanations received from the authorities.  The auditor has to satisfy himself with the authenticity of the financial statements and report that they exhibit a true and fair view of the state of affairs of the concern.  The auditor has to inspect, compare, check, review, scrutinize the vouchers supporting the transactions and examine correspondence, minute books of shareholders, directors, Memorandum of Association and Articles of association etc., in order to establish correctness of the books of accounts. BASIC PRINCIPLES OF AUDIT AAS-1 describes the basic principles, which govern the auditor's professional responsibilities and which should be complied with whenever an audit is carried out. These are:- 1. Integrity, objectivity and independence: The auditor should be straightforward, honest and sincere in his approach to his professional work. He must be fair and must not allow prejudice or bias to override his objectivity. He should maintain an impartial attitude and appear to be free of any interest which might be regarded. Whatever its actual effect, as being incompatible with integrity and objectivity. 2. Confidentiality: The auditor should respect the confidentiality of information acquired in the course of his work and should not disclose any such information to a third party without specific authority or unless there is legal or professional duty to disclose. It is remarked that an auditor should keep his ears and eyes open but his mouth shut.
  • 29.
    P a ge 28 | 42 3. Skill and competence: The audit should be performed and the report prepared with due professional care by persons who have adequate training, experience and competence. This can be acquired through a combination of general education, technical knowledge obtained through study and formal courses concluded by a qualifying examination recognized for this purpose and practical experience under proper supervision. 4. Work performed by others: When the auditor delegates work to assistant or uses work performed by other auditors or experts, he will continue to be responsible for forming and expressing his opinion on the financial information. At the same time he is entitled to rely on work performed by others provided he exercises adequate skills and care and is not aware of any reason to believe that he should not have relied. The auditor should carefully direct, supervise & review work delegated by assistants. He should obtain reasonable assurance that work performed by other auditors or experts is adequate for this purpose. 5. Documentation: The auditor should document matters, which are important in providing evidence that the audit was carried out in accordance with the basic principles. 6. Planning: The auditor should plan his work to enable him to conduct an effective audit in an efficient and timely manner. Plans should be based on knowledge of client's business. They should be further developed and revised, if required, during the course of audit. 7. Audit evidence: The auditor should obtain sufficient appropriate audit evidence through the performance of compliance and substantive test procedure. It will enable him to draw reasonable conclusions there from on which he has to base his opinion on the financial information. 8. Accounting system & internal control: The auditor should gain an understanding of the accounting system and related internal controls. He should study and evaluate the operation of those internal controls upon which he wishes to rely in determining the nature, timing and extent of other audit procedures. 9. Audit conclusions and reporting: The auditor should review and assess the conclusions drawn from the audit evidence obtained and from his knowledge of business of the entity as the basis for the expression of his opinion on the financial information. The audit report should contain a written expression of opinion of the financial information. It should comply with the legal requirements. In case of a qualified opinion, adverse opinion or disclaimer of opinion is given or reservation on any matter is to be made reasons thereof.
  • 30.
    P a ge 29 | 42 TEST CHECKING Examination in Depth means examination of a few selected transactions from the- beginning to the end through the entire flow of the transaction. It involves studying the recording of transactions the various stages through which they have passed. Aspects of Verification: (a) At each stage, relevant records and authorities are examined; it is also judged whether the person who has | exercised the authority in relation to the transactions is fit to do so in terms of- the prescribed procedure. (b) While auditing in depth, the Auditor reviews all the accounting and operational aspects of the| transaction from the origin to the end. This enables himto have an overall view and evaluate the procedures through selected transactions. Example: Audit in depth of transactions relating to purchase of goods involves verification of the following: 1) Purchase Requisition - pie-printed, pre-numbered and authorized; 2) Invitation of quotations and analysis of the same; 3) Official Purchase Order, sequentially pre-numbered, authorized and placed with approved suppliers only; 4) Receipt of goods, together with Delivery Challan / Advice Note; 5) Admission of goods to stores after verification of quality, quantity etc.; 6) Entry in Stores Records; 7) Receipt of Supplier's Invoice and Statement; 8) Approval of Purchase Invoice regarding compliance for specification, quantity and quality; 9) Entries in Purchases day book; 10) Postings to Purchase Ledger and Purchase Ledger Control Account; 11) Payment of Cheque in settlement of invoice after availing discounts; if any; 12) Entry for payment in Cash / Bank Book; 13) Posting from Cash Book to Ledger and Control Accounts.  Test Checking means to select and examine a representative sample froma large number of similar items.  Test Checking is an accepted auditing procedure wherein instead of checking all transactions, only a part of it is checked in detail to form an opinion on the whole. THE AUDITOR CAN SUSPECT FRAUD UNDER THE FOLLOWING CIRCUMSTANCES:  When vouchers, invoices, Cheque, contracts are missing etc.  When control account does not agree with subsidiary books.
  • 31.
    P a ge 30 | 42  When the difference in trial balance is difficult to locate.  When there are greater fluctuation in G.P. and N.P. ratios.  When there is difference between the balance and the confirmation of the balance by the parties.  When there is difference between the stock as per records and the stock physically counted.  When the explanation given by the client is not satisfactory.  When there is a overwriting of some figures.  When there is a contradiction in the explanation given by different parties. VOUCHING Vouching means the examination of documentary evidence in support of entries to establish the arithmetic accuracy. When the auditor checks the entries with some documents it is called vouching. Vouching is the acid test of audit. It tests the truth of the transaction recorded in the books of accounts. It is an act of examining documentary evidence in order to ascertain the accuracy and authenticity of the entries in the books of accounts. According to Dicksee "Vouching consists of comparing entries in the books of accounts with documentary evidence in support thereof." From the above it becomes clear that vouching means testing the truth of entries appearing in the primary books of accounts. In short, vouching means to examine the evidence in support of any transaction or entry recorded in the books of accounts. Vouching does not merely see that the entries and transactions are supported by proper documentary evidence. The auditor should be satisfied that they are properly maintained, they are supported by all evidence and they are correctly recorded in the books of accounts. VOUCHER Any documentary evidence supporting the entries in the records is termed as a voucher. Any document, which supports the entries in the books of accounts and establishes the arithmetical accuracy, is called a voucher. Examples of vouchers: A bill, a receipt, an invoice, goods received note, delivery challans, voucher payable, payment advice, cash book, salaries and wages sheets, goods inward and outward register, stores records, counterfoil of a Cheque book, bank statement, bank pass book, a material requisition slip, copy of purchase order etc. are the examples of vouchers. IMPORTANCE OF VOUCHING  Ensures genuineness of the transactions  Enables to know transactions  Helps to know relevance of the transaction  Facilitates proper allocation of capital & revenue, expenditure
  • 32.
    P a ge 31 | 42  Detects frauds and errors  Decides authenticity of transactions  Ensures proper accounting  Compliance with law  Ensures proper disclosure THE SPECIAL CONSIDERATIONS TO BE BORNE IN MIND BY THE AUDITOR IN THE COURSE OF VOUCHING: 1) Date of the voucher 2) The name of the party 3) Tick and audit rubber stamp 4) Authorization by the authorized person 5) Revenue stamp of Re. 1 if it exceeds Rs.5000/- 6) Transaction relates to business 7) Revenue and capital 8) Amounts in words and figure 9) Account head 10) No assistance of member of client’s staff to be taken for checking receipts 11) Not to accept receipted invoice 12) Missing vouchers 13) Important documents 14) Vouching of cash transaction 15) Proper filing 16) Signature of payee 17) Nature of payment 18) Noting in the audit note book 19) Alteration 20) Voucher control number
  • 33.
    P a ge 32 | 42 ACCOUNTING CONCEPT RELEVANT TO AUDITING  The purpose of this standard is to establish standards on the concept of materiality and its relationship with audit risk.  The auditor should consider materiality and its relationship with audit risk when conducting an audit. MATERIALITY:  Information is material if its misstatement (i.e., omission or erroneous Statement) could influence the economic decisions of users taken on the Basis of the financial information.  Materiality depends on the size and Nature of the item, judged in the particular circumstances of its misstatement. Thus, materiality provides a threshold or cut-off point rather than being a primary qualitative characteristic which the information must have if it is to be useful.  The objective of an audit of financial information prepared within a framework of recognized accounting policies and practices and relevant statutory requirements, if any, is to enable the auditor to express an opinion on such financial information. The assessment of what is materiality of professional judgment.  The concept of materiality recognizes that some matters, either individually or in the aggregate, are relatively important for true and fair presentation of financial information in conformity at both the overall financial information level and in relation to individual account balances and classes of transactions. Materiality may also be influenced by other considerations, such as the legal and regulatory requirements, non-compliance with which may have a significant bearing on the financial information, and consideration relating to individual account balances and relationships. This process may result in different levels of materiality depending on the matter being audited.  Although the auditor ordinary establishes an acceptable materiality level to detect quantitatively material misstatements, both the amount (quantity) and nature (quality) of misstatements need to be considered. An example of a qualitative misstatement would be the inadequate or improper description of an accounting policy when it is likely that a user of the financial statements would be missed by the description.  The auditor needs to consider the possibility of misstatements of relatively small amounts that, cumulatively, could have a material effect on the financial information. For example, an error in a month-end (or other periodic) procedures could be an indication of a potential material misstatement if that error is repeated each month or each period, as the case may be.  Materiality should be considered by the auditor when- o Determining the nature, timing and extent of audit procedures; o Evaluating the effect of misstatements.
  • 34.
    P a ge 33 | 42 GOING CONCERN:  The purpose of this Auditing and Assurance standard (AAS) is to establish standards on the auditor’s responsibilities in the audit of financial statements regarding the appropriateness of the going concern assumption as a basis for the financial statements.  When planning and performing audit procedures and in evaluating the results thereof, the auditor should consider the appropriateness of the going concern assumption underlying the preparation of the financial statements.  The auditor’s report helps establish the credibility of the financial statements. However, the auditor’s report is not a guarantee as to the future viability of the entity.  An entity’s continuous as a going concern for the foreseeable future, generally a period not to exceed one year after the balance sheet date, is assumed in the preparation of financial statements in the absence of information to the contrary. Accordingly, asset and liabilities are recorded on the normal course of business. If this assumption is unjustified, the entity may not be able to realize its assets at the recorded amounts and there may be changes in the amounts and maturity dates of liabilities. As a consequence, the amounts and classification of assets and liabilities in the financial statement may need to be adjusted. IN ORDER TO SHOW A TRUE AND FAIR VIEW THE AUDITOR SHOULD ENSURE THAT: 1. The final accounts agree with the books of accounts. 2. The provision for depreciation is proper. 3. The closing stock is physically verified and valued properly. 4. Intangible assets like goodwill, patents, preliminary expenses or other deferred revenue expenses are written off properly. 5. Proper provision is made for bad and doubtful debts. 6. Capital expenses is not treated as revenue expenses and vice versa. 7. Capital receipts are not treated as revenue receipts. 8. Effect of changes in rate of foreign exchange on value of assets and liabilities is recorded in the books properly. 9. Contingent liabilities are not treated as actual liabilities and vice versa. 10. Provision is made for all known losses and liabilities 11. A reserve is not shown as a provision and vice versa 12. Cut off transactions are recorded properly, so that all sales invoices are matched with goods delivered and all purchase invoices are matched with goods received. 13. Transactions are recorded on accrual basis, i.e. outstanding expenses, prepaid expenses, income accrued and advance income are recorded properly. 14. Expected or anticipated gains are not credited to the profit and loss account. 15. Effect of events after the balance sheet date on the value of an asset and liability is disclosed in the accounts properly 16. The exceptional or non-recurring
  • 35.
    P a ge 34 | 42 INTERNAL AUDIT Internal auditors are employed by the organizations they audit. They work for government agencies (federal, state and local); for publicly traded companies; and for non-profit companies across all industries. The internationally recognized standard setting body for the profession is the Institute of Internal Auditors - IIA. Thus professional internal auditors provide independent and objective audit and consulting services focused on evaluating whether the board of directors, shareholders, stakeholders, and corporate executives have reasonable assurance that the organization's governance, risk management, and control processes are designed adequately and function effectively. Internal audit professionals (Certified Internal Auditors - CIAs) are governed by the international professional standards and code of conduct of the Institute of Internal Auditors. While internal auditors are not independent of the companies that employ them, independence and objectivity are a cornerstone of the IIA professional standards; and are discussed at length in the standards and the supporting practice guides and practice advisories. Professional internal auditors are mandated by the IIA standards to be independent of the business activities they audit. This independence and objectivity are achieved through the organizational placement and reporting lines of the internal audit department. Internal auditors of publicly traded companies in the United States are required to report functionally to the board of directors directly, or a sub-committee of the board of directors (typically the audit committee), and not to management except for administrative purposes. As described often in the professional literature for the practice of internal auditing (such as Internal Auditor, the journal of the IIA), or other similar and generally recognized frameworks for management control when evaluating an entity's governance and control practices; and apply COSO's "Enterprise Risk Management-Integrated Framework" or other similar and generally recognized frameworks for entity-wide risk management when evaluating an organization's entity-wide risk management practices. Professional internal auditors also use Control Self- Assessment (CSA) as an effective process for performing their work. Consultant auditors are external personnel contracted by the firm to perform an audit following the firm's auditing standards. This differs from the external auditor, who follows their own auditing standards. The level of independence is therefore somewhere between the internal auditor and the external auditor. The consultant auditor may work independently, or as part of the audit team that includes internal auditors. Consultant auditors are used when the firm lacks sufficient expertise to audit certain areas, or simply for staff augmentation when staff are not available. A legally required review of the accuracy of a company's or governments financial records. The purpose of a statutory audit is the same as the purpose of any other audit to determine whether an organization is providing a fair and accurate representation of its financial position by examining information such as bank balances, bookkeeping records and financial transactions.
  • 36.
    P a ge 35 | 42 HISTORY OF INTERNAL AUDITING The Internal Auditing profession evolved steadily with the progress of management science after World War II. It is conceptually similar in many ways to financial auditing by public accounting firms, quality assurance and banking compliance activities. While some of the audit technique underlying internal auditing is derived from management consulting and public accounting professions, the theory of internal auditing was conceived primarily by Lawrence Sawyer (1911-2002), often referred to as "the father of modern internal auditing", and the current philosophy, theory and practice of modern internal auditing as defined by the International Professional Practices Framework (IPPF) of the Institute of Internal Auditors owes much to Sawyer's vision. With the implementation in the United States of the Sarbanes-Oxley Act of 2002, the profession's exposure and value was enhanced, as many internal auditors possessed the skills required to help companies meet the requirements of the law. However, the focus by internal audit departments of publicly traded companies on SOX related financial policy and procedures derailed progress made by the profession in the late 20th century toward Larry Sawyer's vision for internal audit. Beginning in about 2010, the IIA once again began advocating for the broader role internal auditing should play in the corporate arena, in keeping with the IPPF's philosophy. INTERNAL AUDIT EXECUTION 1. Establish and communicate the scope and objectives for the audit to appropriate management. 2. Develop an understanding of the business area under review. This includes objectives, measurements, and key transaction types. This involves review of documents and interviews. Flowcharts and narratives may be created if necessary. 3. Describe the key risks facing the business activities within the scope of the audit. 4. Identify management practices in the five components of control used to ensure each key risk is properly controlled and monitored. Internal Audit Checklist can be a helpful tool to identify common risks and desired controls in the specific process or industry being audited. 5. Develop and execute a risk-based sampling and testing approach to determine whether the most important management controls are operating as intended. 6. Report issues and challenges identified and negotiate action plans with management to address the problems. 7. Follow-up on reported findings at appropriate intervals. Internal audit departments maintain a follow-up database for this purpose. Audit assignment length varies based on the complexity of the activity being audited and Internal Audit resources available. Many of the above steps are iterative and may not all occur in the sequence indicated.
  • 37.
    P a ge 36 | 42 INTERNAL AUDIT REPORTS Internal auditors typically issue reports at the end of each audit that summarize their findings, recommendations, and any responses or action plans from management. An audit report may have an executive summary; a body that includes the specific issues or findings identified and related recommendations or action plans; and appendix information such as detailed graphs and charts or process information. Each audit finding within the body of the report may contain five elements, sometimes called the "5 C's": 1. Condition: What is the particular problem identified? 2. Criteria: What is the standard that was not met? The standard may be a company policy or other benchmark. 3. Cause: Why did the problem occur? 4. Consequence: What is the risk/negative outcome (or opportunity foregone) because of the finding? 5. Corrective action: What should management do about the finding? What have they agreed to do and by when? The recommendations in an internal audit report are designed to help the organization achieve effective and efficient governance, risk and control processes associated with operations objectives, financial and management reporting objectives; and legal/regulatory compliance objectives. Audit findings and recommendations may also relate to particular assertions about transactions, such as whether the transactions audited were valid or authorized, completely processed, accurately valued, processed in the correct time period, and properly disclosed in financial or operational reporting, among other elements. Under the IIA standards, audit process is the preparation of a balanced report that provides executives and the board with the opportunity to evaluate and weigh the issues being reported in the proper context and perspective. In providing perspective, analysis and workable recommendations for business improvements in critical areas, auditors help the organization meet its objectives. STATUTORY AUDIT A legally required review of the accuracy of a company's or governments financial records. The purpose of a statutory audit is the same as the purpose of any other audit - to determine whether an organization is providing a fair and accurate representation of its financial position by examining information such as bank balances, bookkeeping records and financial transactions. It is a compulsory audit done by outside agency at least once, at least once, at the end of the financial year. As per SEBI guidelines public limited companies are required to have the companies’ accounts after every three months. Only registered Chartered Accountant Auditors are authorized to audit the accounts and sign it.
  • 38.
    P a ge 37 | 42 The following are the reason to have statutory auditing: 1. All public limited companies must have their accounts auditing by external auditors. 2. All government departments and Government owned companies must get their accounts audited from external Government approved auditors (usually A.G. Office). 3. All Government funded organizations, corporations, societies; corporation must get their accounts audited. 4. All registered societies, which collect donations from public, must get their accounts audited from external auditors. 5. Any company which intends to borrow money from government or financial institutions must get their accounts audited. Any other company may be asked to get their accounts audited from external auditors. DIFFERENCE BETWEEN INTERNAL AUDIT AND STATUTORY AUDIT 1. Appointment “The management of the organization makes the appointment of an internal auditor. The statutory auditor is appointed by different authorities. First statutory auditors are appointed by the shareholders in the annual general meeting. 2. Qualification “Qualifications of the statutory auditor are prescribed in the companies act, 1956. Essentially a person should be a practicing chartered accountant to be appointed as a statutory auditor. There are no fixed qualification for the position of an internal auditor. 3. Objects “ The main object of the statutory audit is to form an opinion on the financial statement of the organization auditor has to state that whether the financial statements are showing the true and fair view of the affairs of the organization or not. The main object of the internal audit is to detect and prevent the errors and frauds. 4. Scope “The scope of the statutory audit is fixed by the company’s act 1956. It cannot be changed by mutual consent between the auditor and the management of the audited business unit. The scope of the internal audit is fixed by the mutual consent of the auditor and the management of the unit under audit. 5. Remuneration “ Remuneration of the statutory auditor is fixed by the appointing authority, I e in case of first auditors, the auditors the directors fix the Remuneration in case of the subsequent auditors the
  • 39.
    P a ge 38 | 42 company in its general meeting fixes the remuneration. In case of internal auditor the management who appoints him fixes his Remuneration. 6. Report “The statutory auditor submits his report to the shareholder of the company in its general meeting. The internal auditor submits his report to the management of the company who is also his appointing authority. 7. Removal “The procedure of removal of the statutory auditor is very complex. Only the company in the general meeting can remove the auditor. It also has to take the permission of the central government. The management of the entity can remove internal auditor. SIGNIFICANCE OF AUDITING 1. Facilitate Verification 2. Prevention of Error 3. Prevention of Fraud 4. Moral Check on employees 5. Independent Opinion about the company by auditor 6. Protects the Interest of Share Holder 7. Check on Directors that how they are doing 8. Proper Supervision on company records 9. Valuable Advice by the auditor on the company position 10. Help in Loan Facility as it reveals true and fair position of company 11. Property Value Assessment can be possible 12. Correct Information about Business 13. Advantage for General Public to know about company LIMITATION OF AUDITING: 1. Non-detection of errors/frauds if not handle properly 2. Dependence on explanation by others people 3. Dependence on opinions of others 4. Conflict with others if not answer properly 5. Effect of inflation on the company records 6. Corrupt practices to influence the auditors 7. No assurance that auditor isn’t partial 8. Inherent limitations of the financial statements if figures are not correct 9. Detailed checking not possible
  • 40.
    P a ge 39 | 42 LEARNING OUTCOMES  Well as far as my SIP is concerned I have learn the practical implementation of the theories I have learn during my MBA program and graduation.  I learn the actual procedure of the happening of any transaction within the company and how it proceed actually.  In added to that I learn the usage of technology in the accounting which make this process so agile and easy to record.  But regarding my topic I feel myself in a position that I’ll be able to answer what auditing is, how it is done, who does it.  I learn the various types of audit, and how internal audit of company differentiated from the statutory audit.  What are the document one check during the audit and how much important it is for any company.  And one of the important thing I have learn while making this project report is there is relationship between auditing and accounting. FINDINGS  My finding toward this research topic is that there is positive relationship between the accounting and auditing, actually I want to say accounting is incomplete without auditing.  Even though how carefully the transaction recorded in the books of accounts one cannot say that it is true and fair, for that auditing is necessary to verify and check the accounts continuously.  And via auditing there can be improvement in the accounting records as one knows their work is going to check in future they do it well.  So with the usage of auditing one can bring control and it reduce the chances of frauds and misrepresentation of the documents.  It leads the standardization of the records and accounts they prepared and bring efficiency.  It also save the loss occur due to fraud and misrepresentation of the data. Audited financial statements present the real position of the company before the general public.
  • 41.
    P a ge 40 | 42 RECOMENDATION  Well my recommendation is that technology is far more advancing today and company records their transaction by taking help of computers and softwares, they were using the systems such as material management system, financial system, lead management system, and many more. If way of doing auditing can change and system (software) will develop to do auditing by the system itself it can increase the validity and save time and money.  Because chances may be there that person doing auditing is lenient, or partial, or he has hallo effect and Audit report is affected adversely if the explanation and information prove to be false.  So there is loopholes to in the auditing but if handed properly it can bring more efficiency.  And company can make their internal audit more valid because it is not possible in the statutory audit that one could check details of every documents.  Auditing should make more spontaneous so that actual picture of company can be reveal.  People having fear of auditing so company should spread awareness and importance of audit. CONCLUSION With the increase in the size of the companies and the volume of transactions, the main objective of audit shifted to ascertaining whether the accounts were true and fair rather than true and correct. Hence the emphasis was not on arithmetical accuracy but on a fair representation of the financial efforts. Thus, true check the accuracy of accounting, auditing is tool to assess its performance and reveals the actual picture of company’s doing. This could help the shareholder of company, to the general public, investors, customers and various party concern with the company. In conclusion, I have summarized the whole topic to explain the working of company, its actual procedures of recording transaction and most importantly the relationship between auditing and accounting. I feel that there is need of careful auditing in every organization in order to revel its position and purity of documents. And I have recommended that if technology could use to develop the software one can increase the effectiveness of auditing.
  • 42.
    P a ge 41 | 42 BIBLIOGRAPHY WEBSITES: Www.parlebhuj.com Www.wikipedia.com Www.caclubindia.com/statutoryaudit Www.investopedia.com/auditing Www.slideshare.com Www.1toronto.ca Www.investopedia.com/statutoryaudit SEARCH ENGINE: Www.google.com BOOKS: Accountancy and auditing, BS Shah Ty B.com