BLUE EYE
TECHNOLOGY
by: jyothish kumar sirigiby: jyothish kumar sirigid
What is blue eye
technology ?
The BLUE EYES technology aims at
creating computational machines that
have perceptual and sensory ability like
those of human beings.
How can we make
computers “see” and “feel” ?
Blue eyes:
• Identifies user’s actions using sensing
technology.
• Extracts key information.
• Analyzes the information.
• Finally, determines the user’s physical,
emotional and informational state.
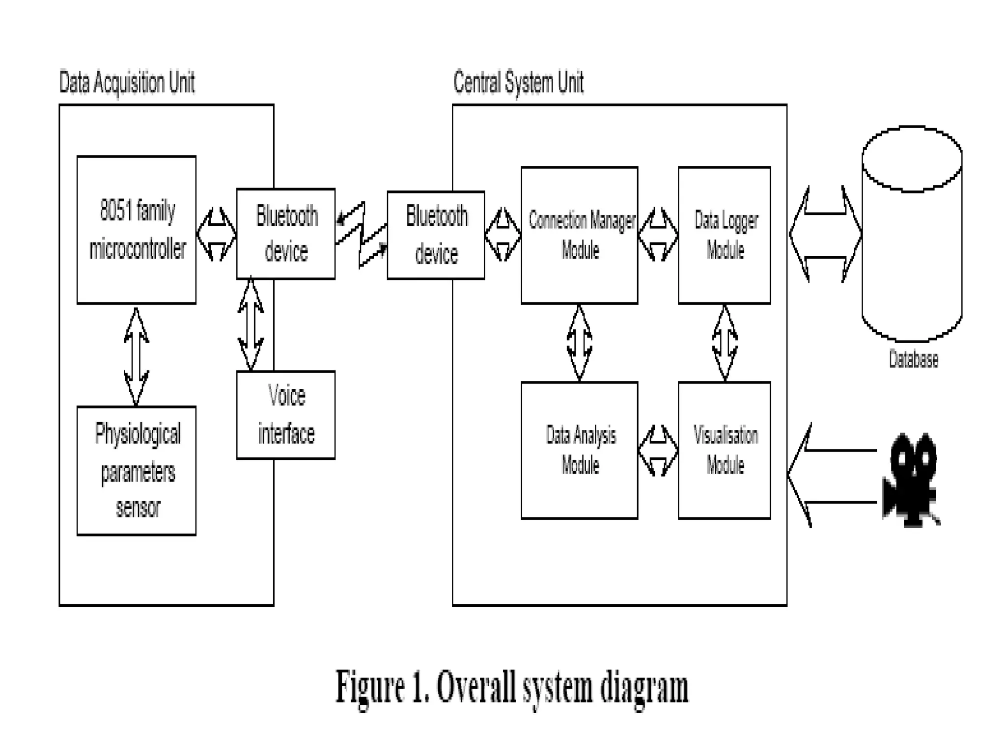
Designing
The Blue Eyes uses:
• A personal area network for
linking all the operators and the
supervising system
• Two major units
- DAU (data acquisition unit )
- CSU (central system unit )
DATA ACQUISITION UNIT:
• Gets information from the sensor.
• Sends information over the wireless
connection.
• Delivers the alarm messages sent from
the Central System Unit (CSU) to the
operator.
Jazz Multisensor:
• It’s an eye movement sensor, to provide
necessary physiological data in Data
Acquisition Unit (DAU).
• It supplies raw digital data regarding eye
position, the level of blood oxygenation
acceleration along horizontal and vertical axes
and ambient light intensity.
• Eye movement can be measured using direct
infrared oculographic transducers.
Jazz Multisensor
CENTRAL SYSTEM UNIT:
• Buffers incoming sensor data.
• Performs on-line data analysis.
• Records the conclusion for further
exploration.
• Provides visualization interface.
Applications:
Blue Eyes system can be applied in every
working environment requiring
permanent operator's attention.
• At power plant control rooms.
• At captain bridges.
• At flight control centers.
• Professional drivers.
IBM Research:
 BLUE EYE EMOTIONAL MOUSE-
sensors in the mouse ,sense the
physiological attributes which are
correlated to emotions using correlation
model by simply touching the mouse the
computer will be able to determine a
person’s emotional state.
• BLUE EYE enabled TELEVISION –
could become active when the user
makes an eye contact
Conclusion:
 In the near future ,ordinary household
devices- such as television , refrigerators,
ovens may be able to do their jobs when we
look at them and speak to them.
• It avoids potential threats resulting from
human errors, such as weariness, oversight,
tiredness.
Thank you

Blue eye technology ppt

  • 1.
    BLUE EYE TECHNOLOGY by: jyothishkumar sirigiby: jyothish kumar sirigid
  • 2.
    What is blueeye technology ? The BLUE EYES technology aims at creating computational machines that have perceptual and sensory ability like those of human beings.
  • 3.
    How can wemake computers “see” and “feel” ? Blue eyes: • Identifies user’s actions using sensing technology. • Extracts key information. • Analyzes the information. • Finally, determines the user’s physical, emotional and informational state.
  • 4.
    Designing The Blue Eyesuses: • A personal area network for linking all the operators and the supervising system • Two major units - DAU (data acquisition unit ) - CSU (central system unit )
  • 6.
    DATA ACQUISITION UNIT: •Gets information from the sensor. • Sends information over the wireless connection. • Delivers the alarm messages sent from the Central System Unit (CSU) to the operator.
  • 7.
    Jazz Multisensor: • It’san eye movement sensor, to provide necessary physiological data in Data Acquisition Unit (DAU). • It supplies raw digital data regarding eye position, the level of blood oxygenation acceleration along horizontal and vertical axes and ambient light intensity. • Eye movement can be measured using direct infrared oculographic transducers.
  • 8.
  • 9.
    CENTRAL SYSTEM UNIT: •Buffers incoming sensor data. • Performs on-line data analysis. • Records the conclusion for further exploration. • Provides visualization interface.
  • 10.
    Applications: Blue Eyes systemcan be applied in every working environment requiring permanent operator's attention. • At power plant control rooms. • At captain bridges. • At flight control centers. • Professional drivers.
  • 11.
    IBM Research:  BLUEEYE EMOTIONAL MOUSE- sensors in the mouse ,sense the physiological attributes which are correlated to emotions using correlation model by simply touching the mouse the computer will be able to determine a person’s emotional state. • BLUE EYE enabled TELEVISION – could become active when the user makes an eye contact
  • 12.
    Conclusion:  In thenear future ,ordinary household devices- such as television , refrigerators, ovens may be able to do their jobs when we look at them and speak to them. • It avoids potential threats resulting from human errors, such as weariness, oversight, tiredness.
  • 13.