РЕСПУБЛИКА КАЗАХСТАН
(19) KZ (13) B (11) 29212
(51) G06F 3/023 (2006.01)
G06F 7/00 (2006.01)
G06F 7/74 (2006.01)
G06F 7/08 (2006.01)
КОМИТЕТ ПО ПРАВАМ
ИНТЕЛЛЕКТУАЛЬНОЙ СОБСТВЕННОСТИ
МИНИСТЕРСТВА ЮСТИЦИИ РЕСПУБЛИКИ КАЗАХСТАН
ОПИСАНИЕ ИЗОБРЕТЕНИЯ
К ПАТЕНТУ
(21) 2013/0808.1
(22) 17.06.2013
(45) 17.11.2014, бюл. №11
(76) Диханбаев Нургали Байедилович; Диханбаева
Алия Нургалиевна
(56) RU 2008128245 A, 20.01.2010
RU 2267151 C2, 27.12.2005
RU 2371758 C2, 27.10.2009
(54) СПОСОБ КОДИРОВАНИЯ НАБОРОВ
СИМВОЛОВ ДЛЯ ВВОДА ЦИФРОВЫМИ
КЛАВИШАМИ
(57) Изобретение относится к способам
кодирования текстовых символов для ввода в
устройство с помощью цифровых клавиш.
Технический результат - создание устройств
ввода текста цифровыми клавишами,
оптимизирующих ввод текста.
Указанный результат достигается тем, что в
способе используются оптимизированные кодовые
таблицы, расположение символов разных
письменных систем в разных областях таблицы, а
также расположение одинаковых и фонетически
аналогичных символов разных письменных систем в
одинаковых позициях, в пределах области
письменной системы в кодовой таблице.
Использование изобретения позволит создать
кодовые таблицы, матрицы, коды символов языков,
компьютерные программы или части программ, а
также интегральные микросхемы или части
микросхем, оптимизирующие ввод многоязычного
текста для технических устройств ввода теста,
использующих цифровые клавиши.
(19)KZ(13)B(11)29212
29212
2
Изобретение относится к способам кодирования
символов, в частности, к способам кодирования
текстовых символов для ввода текста в устройство с
помощью цифровых клавиш.
Уровень техники.
Ввод текста в вычислительные устройства с
помощью цифровой клавиатуры применяется даже в
устройствах имеющих полномасштабную
клавиатуру, такой способ применяется при вводе
символов, коды которых отсутствуют на данной
раскладке клавиатуры.
(www.ru.wikipedia.org/wiki/Юникод)
Ввод текста в малых вычислительных
устройствах, например мобильных телефонах и
карманных персональных компьютерах (КПК),
смартфонах может быть затруднен ввиду отсутствия
стандартной полномасштабной клавиатуры, в таких
случаях применяется ввод текста с помощью
цифровых клавиш (физических или виртуальных).
Символы традиционно кодировались таким
образом, что предполагали ввод текста с помощью
полномасштабной клавиатуры, содержащей 47
буквенно-цифровых клавиш, спроектированной в
расчёте на английский алфавит, поэтому, когда
применяется ввод текста с помощью только десяти
цифровых клавиш, ввод оказывается
неэффективным, неудобным.
Поэтому ставится задача оптимизации кода
текстовых символов, таким образом, чтобы
достигнуть минимального нажатия клавиши при
вводе одного символа и минимизации ошибок при
наборе текста, то есть пересмотреть способ
кодировки, оптимизировать способ кодирования.
Известен традиционный способ кодирования
текстовых символов, называемая 8-битная
кодировка (www.unicode.org/), когда берётся
таблица, содержащая 16 строк и 16 столбцов,
которую называют кодовая страница, ячейки
которой заполняют графическими символами
подлежащими кодированию.
Каждому символу в ячейке сопоставляют
двухразрядное шестнадцатеричное число, один
разряд которого есть шестнадцатеричный номер
строки, а другой разряд есть шестнадцатеричный
номер столбца таблицы.
Число ячеек таблицы равно 16x16=256, столько
различных символов можно закодировать при
помощи этой таблицы.
Применение таблицы делает кодирование
наглядным и код получается простой конкатенацией
двух шестнадцатеричных чисел.
Этот способ ограничивает число кодируемых
символов 256 кодами, которых бывает достаточно,
для кодирования букв нескольких алфавитов одной
письменной системы, например: кодировка СР 1250
(www.ru.wikipedia.org/WIKI/windows-1250,
www.unicode.org/), набор символов и кодировка для
сербохорватского, словенского, чешского,
словацкого, польского, верхне- и нижнелужицкого,
венгерского, румынского; кодировка СР 1251
(www.ru.wikipedia.org/WIKI/windows-1251,
www.unicode.org/), набор символов и кодировка для
русского, украинского, белорусского, сербского и
болгарского кириллических алфавитов.
Нижняя часть таблицы кодировки (0-7F)
семейства СР полностью соответствует кодировке
ASCII, то есть, это постоянная часть таблицы
кодировки.
Известен другой способ кодирования
графических символов, так называемый Стандарт
кодирования Unicode (www.unicode.org/,
www.ru.wikipedia.org/wiki/Юникод), который
расширяет возможности 8-битной кодировки, суть
его заключается в увеличении размеров таблицы
кодирования до размеров, позволяющих кодировать
миллион с избытком символов. Таблицы
конструируются следующим образом: берётся
таблица 256×256, которую называют план или
плоскость и содержащую 65536 ячеек, или 256
таблиц размером 16×16, назовём таблицу 16×16
элементарной таблицей UCS Unicode, тогда план
можно представить как объединение 256
элементарных таблиц.
Таким образом, план это следующий, более
высокий уровень в иерархии таблиц Unicode, по-
русски называют плоскость, так как традиционно
представляют планы расположенными в стопку, как
листы в пачке.
Эта стопка 17 таблиц образует объединение
таблиц Unicode в Универсальный Набор Символов
(англ. UCS, universal character set) и сопоставляют
каждому символу целое неотрицательное число, код
символа. Таким образом, в таблице
65536×17=1114112 ячеек для символов. Эти 17
планов, вместе с кодами, называют Универсальный
Набор Символов (UCS).
Нулевая элементарная таблица точно
соответствуют кодовой странице ISO 8859-1, в
котором первые 128 символов идентичны таблице
ASCII.
Первый план (план 0), Основной Многоязычный
План (BMP - Basic Multilingual Plane) - тот, в
котором описано большинство символов. BMP
содержит символы почти для всех современных
языков, и большое количество специальных
символов. Ещё два плана используются для
графических символов. План 1, Дополнительный
Многоязычный План (SMP - Supplementary
Multilingual Plane) главным образом используется
для исторических символов, а также используется
для музыкальных и математических символов. План
2, Supplementary Ideographic Plane (SIP),
используется для приблизительно 40000 редких
Китайских иероглифов. План 15 и План 16 открыт
для любого частного использования.
Рассмотрим строение BMP.
Область с кодами от U+0000 до U+007F, то есть
половина элементарной таблицы, содержит символы
набора ASCII. Далее расположены области знаков
различных письменностей, знаки пунктуации и
технические символы. Часть кодов зарезервирована
для использования в будущем. Под символы
кириллицы выделены области знаков с кодами от
U+0400 до U+052F, от U+2DE0 до U+2DFF, от
U+A640 до U+A69F.
29212
3
Другой подход представлен в “телефонном”
способе ввода с помощью цифровых клавиш. С
точки зрения пользователя, каждому символу
сопоставляется код переменной длины, состоящий
из последовательностей одинаковых цифр: 1, 2, 22,
222, 3, 33, 333, для ввода “z” набирается код 9999.
Недостатки этого способа заключаются в
следующем:
длина вводимого кода увеличивается для
алфавитов содержащих много букв, для разделения
последовательностей кодов используется
длительность паузы между нажатиями клавиш,
чтобы нажать без ошибок надо выдерживать
длительность паузы, по этой причине часто
возникают ошибки, которые в итоге приводят к
замедлению ввода.
Из рассмотренных выше способов только в
“телефонном” способе применено кодирование
символов специально для ввода цифровыми
клавишами.
Из известных технических решений наиболее
близким по назначению и технической сущности к
заявляемому объекту является Система кодирования
Unicode, в части UCS Unicode, так как он содержит
символы всех письменных систем, универсальный
набор символов (англ. UCS, universal character set) и
семейство кодировок (англ. UTF, Unicode
transformation format) и наша задача также
заключается в создании способа пригодного для
любых письменных систем и кодировок.
Перечисленные выше компьютерные кодировки,
в том числе UCS Unicode
1. используют в качестве элементарной таблицу
размером 16x16,
2. не все перечисленные кодировки располагают
буквы алфавитов в соответствии с расположением
английских букв, позиции букв других языков не
соответствуют их фонетическим аналогам в
английском алфавите в нижней части таблицы.
Сущность изобретения.
Техническая задача, решаемая заявляемым
способом, заключается в минимизации не только
числа нажатий при вводе одного символа, в
конечном счёте минимизация требуется для числа
нажатий клавиш при вводе всего текста, и при этом
уменьшить вероятность ошибок при вводе
последовательности символов.
Так как строчные буквы употребляются во много
раз чаще, чем прописные, а также то, что некоторые
символы используются чаще, чем другие, то способ
кодирования должен учитывать этот фактор.
Для уменьшения ошибок, для облегчения
запоминания кодов букв, позиции букв других
языков должны соответствовать их фонетическим
или графическим аналогам в английском алфавите.
Сформулируем по пунктам требования к
оптимальному (минимизация числа нажатий клавиш
при вводе всего текста) способу кодирования:
1. минимизация числа нажатий клавиш при вводе
одного символа
2. учесть что некоторые символы используются
чаще, чем другие
3. учесть малые размеры дисплеев большинства
устройств использующих только цифровые клавиши
4. учесть ограниченный объём памяти
большинства устройств использующих только
цифровые клавиши
5. учесть возможность многоязычного ввода и
вывода
6. коды букв других языков должны
соответствовать кодам графических или
фонетических аналогов букв в английском алфавите
Чтобы уменьшить количество цифр в коде
символа, надо чтобы его код был меньше ста, для
этого достаточно буквы и необходимые символы
разместить в кодовой таблице 10×10; тогда самый
большой код будет 99, в прототипе минимальный
размер кодовой таблицы 16×16, кодируется до 256
символов (кодовая страница).
Таблицу с числом строк десять и числом
столбцов десять, пронумерованных начиная с ноля
до девяти, для заполнения символами или их
кодами, назовём элементарной таблицей
кодирования по способу.
Получение кодировки, имеющего такие свойства
кода символа, при осуществлении в среде
вычислительного устройства, имеющего цифровую
клавиатуру (физическую или виртуальную),
позволяет получить такой технический результат:
при вводе десятичного кода символа, в
устройствах ввода текста, десятичными цифрами с
помощью цифровых клавиш, набор цифр разряда
десятков и разряда единиц позволяет вводить
разные символы данной письменной системы, а при
переходе к вводу символов другой письменной
системы сперва вводится код этой системы, а затем
две цифры конкретного символа этой системы и
ввод только двух цифр для ввода символа
продолжается до тех пор, пока опять не будет
осуществлён переход к другой письменной системе,
также осуществляется ввод нажатием одной
цифровой клавиши в случаях, когда
последовательно вводимые символы имеют
одинаковые предыдущие цифры, кроме цифры
младшего разряда.
Выше был указан итоговый технический
результат реализации продукта способа, этот
технический результат может быть осуществлён в
среде вычислительного устройства, имеющего
цифровую клавиатуру (физическую или
виртуальную), в следующих вариантах:
1. полученные таблица, матрица и код, то есть,
продукт способа, позволяют создать приложение
“Кодер”, реализующее итоговый технический
результат.
2. полученные таблица, матрица и код, то есть,
продукт способа, позволяют создать интегральную
микросхему “Кодер” или часть “Кодер”
микросхемы, реализующее итоговый технический
результат.
Способ кодирования позволяет получить
множество продуктов (кодировок), а значит
множество технических устройств “Кодер”,
осуществляющих продукты способа.
29212
4
Признаками, отличающими данный способ
кодирования являются следующие:
1. для кодирования символов применяются
таблицы и матрицы с числом столбцов кратных
десяти и числом строк кратных десяти, в прототипе
используются таблицы с числом строк кратными
восьми и с числом столбцов кратными восьми.
2. разбиение элементарной таблицы на
Постоянную и Переменную Части, в прототипе
этого нет, есть в аналогах.
3. выделение для символов отдельной
письменной системы собственного отдельного
кодового пространства, являющегося
прямоугольной областью кодовой таблицы с числом
столбцов кратных десяти и числом строк кратных
десяти, в прототипе, выделяется отдельная область
для символов семейства письменных систем или
символов письменной системы с числом столбцов
кратных восьми и числом строк кратных восьми.
4. расположение букв алфавитов в соответствии
с расположением английских букв, есть в КОИ-8
(www.ru.wikipedia.org/wiki/KOИ-8,
www.unicode.org/), в прототипе этого нет.
5. конкретные расположения букв, символов,
иероглифов в таблицах определяются Стандартами,
есть в прототипе.
6. объединение Таблиц Наборов Символов
разных письменных систем в одну Таблицу
Большого Набора Символов, есть в прототипе.
7. возможность добавления символов
дополнительных письменных систем в Таблицу
Большого Набора Символов, есть в прототипе.
8. объединение Таблиц Наборов Символов
разных письменных систем технического
устройства в одну Таблицу Пользовательского
Набора Символов, в прототипе этого нет.
9. возможность кодировать символы
Пользовательского Набора Символов способом, в
прототипе этого нет.
Перечень фигур, чертежей.
Вышеупомянутые и другие задачи и аспекты
настоящего изобретения будут понятны более
отчетливо из следующего подробного описания,
воспринятого совместно с прилагаемыми
чертежами.
На Фиг.1 показана блок-схема цифровой
компьютерной среды общего назначения, в которой
могут быть реализованы продукты настоящего
изобретения.
На Фиг.2 показана блок-схема мобильной
цифровой компьютерной среды, в которой могут
быть реализованы продукту настоящего
изобретения.
На Фиг.3 показана элементарная кодовая
таблица (Basic Code Table), разделённая на
Постоянную и Переменную Части.
Постоянную Часть, в этом варианте, составляют
ячейки строки ноль и столбца ноль.
На Фиг.4 показан основной шаблон,
элементарная таблица (Basic Code Table),
разделённая на Постоянную и Переменную Части, в
ячейках Постоянной Части под символами указаны
соответствующие коды Unicode.
На Фиг.5 показан один из вариантов шаблона
алфавита: элементарная таблица (Basic Code Table),
в ячейках Постоянной Части под символами
указаны соответствующие коды Unicode.
На Фиг.6 показана пользовательская кодовая
таблица (Use Code Table) из 4 элементарных таблиц,
в ячейках Постоянной Части под символами
указаны соответствующие коды Unicode.
На Фиг.7 показан пример кодирования.
Пользовательская кодовая таблица (Use Code Table)
для набора символов английского и русского
алфавитов, в ячейках таблицы под символами
указаны соответствующие коды Unicode.
Сведения, подтверждающие возможность
осуществления изобретения.
Осуществление изобретения достигается
следующим образом:
составляют нумерованный список алфавитных
письменных систем, основанных на латинской
графике и входящих в заданный набор символов,
составляют нумерованный список алфавитных
письменных систем, не основанных на латинской
графике и входящих в заданный набор символов, с
числом букв меньших двадцати шести,
составляют нумерованный список алфавитных
письменных систем, не основанных на латинской
графике и входящих в заданный набор символов, с
числом букв не меньших двадцати шести,
составляют нумерованный список
иероглифических письменных систем,
входящих в заданный набор символов,
создают элементарную таблицу, содержащую
десять строк и десять столбцов, делят её на
Постоянную Часть, содержащую не менее
девятнадцати ячеек, и Переменную Часть,
содержащую не менее двадцати шести ячеек, в
Постоянной Части размещают коды или/и
графические изображения арабских цифр и знака
пробела, полученную таблицу называют таблицей
основного шаблона, создают копию основного
шаблона, ячейки Переменной части таблицы
заполняют графическими изображениями или/и
кодами строчных букв английского алфавита и
графическими изображениями или/и кодами
общеупотребительных символов, таблицу называют
шаблон алфавита, создают копию шаблона алфавита
и называют его таблица строчных букв английского
алфавита, присваивают ему номер ноль, создают
копию шаблона алфавита, заменяют графические
изображения или/и коды строчных английских букв
в ячейках шаблона на соответствующие
графические изображения или/и коды прописных
букв английского алфавита и называют его таблица
прописных букв английского алфавита,
присваивают ему номер один, берут алфавитные
письменные системы по порядку номеров в списке
алфавитных письменных систем, основанных на
латинской графике, создают копию таблицы ноль и
графические изображения или/и коды строчных
букв текущего алфавита, отличающихся от
английских, располагают в Переменной Части копии
таблицы ноль, заменяя графические изображения
или/и коды, расположенных там символов, таблице
29212
5
присваивают номер, увеличенный на один по
сравнению с номером предыдущей таблицы
алфавита, создают копию полученной таблицы со
строчными буквами текущего алфавита, замещают
графические изображения или/и коды строчных
букв английского алфавита на соответствующие
графические изображения или/и коды прописных
букв английского алфавита, замещают графические
изображения или/и коды строчных букв текущего
алфавита на соответствующие графические
изображения или/и коды прописных букв текущего
алфавита, таблице присваивают номер, увеличенный
на один по сравнению с номером предыдущей
таблицы алфавита, повторяют действия по созданию
таблиц алфавитов для строчных и прописных букв
текущего алфавита, рассматривая оставшийся
неразмещённым набор букв как исходный набор
букв, до тех пор, пока в таблицах не будут
размещены графические изображения или/и коды
всех букв текущего алфавита; повторяют действия
по созданию таблиц алфавитов для строчных и
прописных букв, до тех пор, пока не будет
достигнут конец списка алфавитных систем,
основанных на латинской графике; берут
алфавитные письменные системы по порядку
номеров в списке алфавитных письменных систем,
не основанных на латинской графике с числом
строчных букв меньших двадцати шести, создают
копию таблицы алфавита ноль и графические
изображения или/и коды строчных английских букв
в копии таблицы алфавита ноль соответственно
заменяют на графические изображения или/и коды
аналогичных по звучанию или по начертанию
строчных букв текущего алфавита, графические
изображения или/и коды незамещённых английских
букв в копии таблицы алфавита ноль, заменяют
графическими изображениями или/и кодами других
строчных букв текущего алфавита, пока не
закончатся строчные буквы текущего алфавита,
затем замещают графическими изображениями
или/и кодами общеупотребительных символов,
таблице присваивают номер, увеличенный на один
по сравнению с номером предыдущей таблицы
алфавита, создают копию, полученной таблицы со
строчными буквами текущего алфавита, замещают
графические изображения или/и коды строчных
букв текущего алфавита в копии таблицы алфавита
ноль на соответствующие графические изображения
или/и коды прописных букв текущего алфавита,
таблице присваивают номер, увеличенный на один
по сравнению с номером предыдущей таблицы
алфавита, повторяют действия по созданию таблиц
алфавитов для строчных и прописных букв, до тех
пор, пока не будет достигнут конец списка
алфавитных систем, не основанных на латинской
графике с числом строчных букв меньших двадцати
шести; берут алфавитные письменные системы по
порядку номеров в списке алфавитных письменных
систем, не основанных на латинской графике с
числом строчных букв не меньших двадцати шести,
создают копию таблицы алфавита ноль и
графические изображения или/и коды строчных
английских букв в копии таблицы алфавита ноль
соответственно заменяют на графические
изображения или/и коды аналогичных по звучанию
или по начертанию строчных букв текущего
алфавита, графические изображения или/и коды
незамещённых английских букв в копии таблицы
алфавита ноль, заменяют графическими
изображениями или/и кодами других строчных букв
текущего алфавита, затем графические изображения
или/и коды оставшихся букв текущего алфавита
размещают в ячейках Переменной Части копии
таблицы алфавита ноль, заменяя расположенные там
графические изображения или/и коды символов,
таблице присваивают номер, увеличенный на один
по сравнению с номером предыдущей таблицы
алфавита, создают копию, полученной таблицы со
строчными буквами текущего алфавита, замещают
графические изображения или/и коды строчных
букв текущего алфавита в копии таблицы алфавита
ноль на соответствующие графические изображения
или/и коды прописных букв текущего алфавита,
таблице присваивают номер, увеличенный на один
по сравнению с номером предыдущей таблицы
алфавита, повторяют действия по созданию таблиц
алфавитов для строчных и прописных букв
текущего алфавита, рассматривая оставшийся
неразмещённый набор букв как исходный набор
букв, до тех пор, пока в таблицах не будут
размещены графические изображения или/и коды
всех букв текущего алфавита, повторяют действия
по созданию таблиц алфавитов для строчных и
прописных букв, до тех пор, пока не будет
достигнут конец списка алфавитных систем, не
основанных на латинской графике с числом
строчных букв не меньших двадцати шести; для
иероглифических письменных систем выполняют
следующие действия: берут иероглифические
письменные системы по порядку номеров в списке
иероглифических письменных систем создают
копию основного шаблона, и в ячейки Переменной
Части копии основного шаблона заносят
графические изображения или/и коды иероглифов
текущей системы иероглифов, нумеруют таблицу,
повторяют действия по созданию таблиц
иероглифов вышеописанным методом, каждый раз
увеличивая номер таблицы на единицу, до тех пор,
пока не закончатся иероглифы данной
иероглифической системы, затем для кодирования
берут следующую иероглифическую систему в
списке, повторяют действия по кодированию до тех
пор, пока не будут закодированы все
иероглифические системы в списке; символы, не
попавшие ни в одну предыдущую таблицу,
разделяют на классы по типам: математические,
музыкальные и т.д. нумеруют классы, создают
копию основного шаблона, заполняют его
Переменную Часть графическими изображениями
или/и кодами символов класса, нумеруют таблицу
символов, размещают, в копиях основного шаблона,
вышеописанным методом, все символы класса,
причём каждый раз увеличивают номер таблицы
символов на один, при окончании размещения
символов текущего класса, переходят к размещению
29212
6
следующего класса, до окончания размещения всех
классов символов,
таблицы алфавитов объединяют по порядку
номеров в одну Большую Таблицу Алфавитов,
таблицы символов объединяют по порядку номеров
в одну Большую Таблицу Символов, таблицы
иероглифов объединяют по порядку номеров в одну
Большую Таблицу Иероглифов, Большую Таблицу
Алфавитов, Большую Таблицу Символов и
Большую Таблицу Иероглифов объединяют в одну
Таблицу Пользовательского Набора Символов,
полученная Таблица Пользовательского Набора
Символов определяет код каждого символа,
расположенного в ячейках таблицы по следующей
формуле:
CU - код символа, расположенного в ячейке с
номером строки R и номером S столбца.
CU = R × 10 + S;
Теперь можно создать программный продукт
“Кодер” или устройство “Кодер”, в среде
вычислительного устройства, имеющего цифровую
клавиатуру (физическую или виртуальную),
использующий полученную матрицу и код, и
обеспечивающего полученную кодировку и ввод, и
вводить символы из Таблицы Пользовательского
Набора Символов нажатием цифровых клавиш,
набирая цифры кода символа.
Хотя продукты способа, отвечающего
настоящему изобретению, можно реализовать в
вычислительных устройствах, содержащих
традиционную полномасштабную клавиатуру, они
наиболее полезны, когда используются в сочетании
с мобильными вычислительными устройствами, где
такая клавиатура отсутствует.
Под термином вычислительное устройство
подразумеваются настольный компьютер,
портативная ЭВМ, планшетная ПЭВМ,
персональный цифровой ассистент, смартфон,
сотовый телефон или любое другое устройство,
которое настроено с возможностью обрабатывать
информацию, включающее в себя устройство ввода
текста.
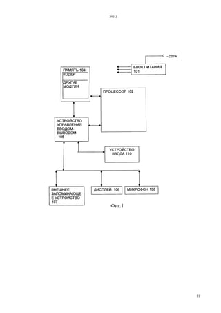
На Фиг.1 показана логическая блок-схема
иллюстративного вычислительного устройства 100,
в котором можно реализовать продукты
изобретение.
Устройство 100 может быть настольным
компьютером, портативным ЭВМ, планшетным
ПЭВМ, мобильным вычислительным устройством,
например мобильным телефоном, карманным
персональным компьютером (КПК), мобильной
системой хранения (например, МР3-
проигрывателем), пультом дистанционного
управления или другими мобильными
вычислительными устройствами, в которых имеется
устройство ввода текста и цифровая клавиатура
(физическая или виртуальная).
Устройство 100 представляет собой только один
пример подходящей вычислительной среды для
продуктов настоящего изобретения не
предусматривает никакого ограничения объема
использования или функциональных возможностей
продуктов изобретения. Кроме того, устройство 100
не следует рассматривать как имеющую какую-либо
зависимость или требование, относящееся к одному
или нескольким компонентам, показанным на Фиг.1.
Устройство 100 может содержать контроллер
или процессор 102, компьютерно- или машинно-
считываемую память 104, дисплей 106, микрофон
108 и устройство 110 ввода символов. Память 104 -
это машинно-считываемая память, к которой может
обращаться процессор 102. Память 104 может
содержать технологии энергозависимой или
энергонезависимой памяти и может быть удаляемым
из устройства 100 или фиксированным в нем.
Например, память 104 может включать в себя, но
без ограничения, ОЗУ, ПЗУ, ЭСППЗУ, флэш-память
или другое запоминающее устройство. Память 104
предназначена для хранения команд, например
программных модулей “Кодер”, которые могут
выполняться процессором 102 для реализации
продуктов способа, отвечающего настоящему
изобретению. В общем случае, программные модули
включают в себя процедуры, программы, объекты,
компоненты, структуры данных и пр., которые
выполняют отдельные задачи или реализуют те или
иные абстрактные типы данных.
Продукты изобретения также можно
осуществить на практике в распределенных
вычислительных средах, где задачи вычисляются
удаленными устройствами обработки, связанными
посредством сети связи. В распределенной
вычислительной среде, программные модули могут
размещаться как в локальных, так и в удаленных
запоминающих устройствах.
Процессор 102 предназначен для отображения
текста и изображений на дисплее 106 в соответствии
с традиционными операциями вычислительного
устройства. Дисплей 106 может представлять собой
любой подходящий дисплей. Для мобильных
вычислительных устройств дисплей 106 обычно
является небольшим плоским дисплеем, например
жидкокристаллическим дисплеем (ЖКД), который
также может быть сенсорным. Альтернативно,
дисплей 106 может быть дисплеем большего
размера, например дисплеем на основе электронно-
лучевой трубки (ЭЛТ) или большим дисплеем
другого типа, например большим плоскопанельным
дисплеем.
Пользователь использует устройство 110 ввода
символов для ввода буквенно-цифровых символов,
специальных символов, пробелов и т.д. в качестве
текстового ввода в устройство 100. Кроме того,
устройство 110 ввода символов можно использовать
для выделения, перемещения курсора, прокрутки
страницы, навигации по опциям и меню и для
осуществления других функций. Хотя устройство
110 ввода символов может представлять собой
традиционную клавиатуру, продукты настоящего
изобретения наиболее полезно применить к
вычислительным устройствам 100, имеющим
ограниченное устройство 110 ввода символов,
которое обычно меньше, имеет меньше клавиш и
ограничено по своим функциональным
возможностям относительно полномасштабных
клавиатур.
29212
7
Ввод символов с использованием таких
ограниченных устройств 110 ввода символов может
быть медленным и сложным. Ограниченные
устройства 110 ввода символов могут принимать
много разных форм. Некоторые ограниченные
устройства 110 ввода, обычно используемые в КПК,
образованы сенсорным дисплеем, например
дисплеем 106. Одно такое устройство 110 ввода
символов образовано отображением миниатюрной
цифровой клавиатуры на сенсорном дисплее 106.
Пользователь может выбирать нужные символы
для ввода текста, касаясь отображаемого символа
стилусом или пальцами, по аналогии с цифровой
клавиатурой.
Когда пользователь обеспечивает ввод текста с
использованием устройства 110 ввода символов
любого типа, текстовый ввод обеспечивается на
дисплее 106.
В мобильных вычислительных устройствах,
например мобильных телефонах, используется
ограниченное устройство 110 ввода символов в виде
цифровой клавиатуры.
На Фиг.2 показана упрощенная схема устройства
100 в виде мобильного телефона 114, которое
содержит такую цифровую клавиатуру 116, дисплей
106 и микрофон 108. Мобильный телефон 114 может
также содержать громкоговоритель 118, антенну
120, а также схему связи в виде приемопередатчика
(не показан) и другие компоненты, которые не
имеют отношения к настоящему изобретению.
Цифровая клавиатура 116 содержит ряд
цифровых клавиш 122 и другие клавиши. В целом,
цифровая клавиатура 116 отличается от стандартной
клавиатуры тем, что она не имеет уникальной
клавиши для каждого символа. Поэтому цифровая
клавиатура 116 является ограниченным устройством
110 ввода символов.
Клавиатура 116 имеет следующий цифровые
клавиши: клавишу 122А единицы, клавишу 122В
двойки, клавишу 122С тройки, клавишу 122D
четверки, клавишу 122Е пятерки, клавишу 122F
шестерки, клавишу 122G семерки, клавишу 122Н
восьмерки, клавишу 1221 девятки и клавишу 122J
нуля, цифровая клавиатура 116 также имеет
клавишу 122K звездочки (*) и клавишу 122L знака
фунта (#).
Цифровая клавиатура 116 также может иметь
другие специализированные клавиши, помимо
показанных на Фиг.2, или меньше клавиш, чем
показано на Фиг.2. Клавиши 122 цифровой
клавиатуры 116 могут быть реальными,
физическими клавишами или виртуальными,
программируемыми клавишами, отображаемыми на
дисплее 106, если дисплей 106 является сенсорным
экраном.
Все цифровые клавиши 122 цифровой
клавиатуры 116, за исключением клавиши 122А
единицы и клавиши 122J нуля, соответствуют трем
или четырем буквам алфавита. Клавиша 122В
двойки соответствует буквам А, В и С. Клавиша
122С тройки соответствует буквам D, Е и F.
Клавиша 122D четверки соответствует буквам G, Н
и I. Клавиша 122Е пятерки соответствует буквам J,
K и L. Клавиша 122F шестерки соответствует
буквам М, N и О. Клавиша 122G семерки
соответствует буквам Р, Q, R и S. Клавиша 122Н
восьмерки соответствует буквам Т, U и V. Наконец,
клавиша 1221 девятки соответствует буквам W, X, Y
и Z. Знаки препинания и специальные символы
могут быть включены либо в неиспользуемые
клавиши, например клавишу 122А единицы, либо
также могут быть включены в другие цифровые
клавиши 122 совместно с буквами.
Кроме того, каждую цифровую клавишу 122
можно использовать для ввода обозначенного на ней
числа или символа.
Продукты настоящего изобретения позволяют
значительно уменьшить количество нажатий
клавиш, которое необходимо для ввода нужного
текста в устройство 100, по сравнению со
способами, отвечающими уровню техники.
Это осуществляется посредством комбинации
кодирования набора символов устройства способом
настоящего изобретения и пользовательским
вводом.
Продукт способа кодирования осуществляется с
помощью программного модуля “Кодер” или
аппаратного устройства “Кодер”, встраиваемого в
устройство 100.
Результатом является система ввода текста,
которая отличается простотой, эффективностью и
точностью.
Выполнение кодирования набора символов
вычислительного устройства способом, покажем на
примерах.
Пример 1:
Набор символов СР 1251
(www.ru.wikipedia.org/wiki/windows-1251).
В наборе символов СР 1251 имеются буквы
английского, русского, украинского, белорусского,
сербского и болгарского языков. Нижняя часть
таблицы кодировки (латиница) полностью
соответствует кодировке ASCII.
Составляют нумерованные списки алфавитных
письменных систем, основанных на латинской
графике,
не основанных на латинской графике, с числом
строчных букв меньших двадцати шести,
не основанных на латинской графике, с числом
строчных букв не меньших двадцати шести.
Два первых списка будут пустыми, английский
алфавит в список не входит, а третий непустой
список алфавитных письменных систем, не
основанных на латинской графике, с числом
строчных букв не меньших двадцати шести будет
следующим: 1.русский, 2.украинский,
3.белорусский, 4.сербский, 5.болгарский. Создают
элементарную таблицу, содержащую десять строк и
десять столбцов, делят её на Постоянную Часть,
содержащую не менее девятнадцати ячеек, и
Переменную Часть, не меньших двадцати шести
ячеек, в Постоянной Части размещают коды
арабских цифр и знака пробела, полученную
таблицу называют таблицей основного шаблона,
создают копию основного шаблона, ячейки
Переменной Части копии основного шаблона,
29212
8
заполняют кодами строчных букв английского
алфавита и кодами общеупотребительных символов,
таблицу называют шаблон алфавита, создают копию
шаблона алфавита и называют его таблица
английского алфавита, присваивают ему номер ноль,
создают копию шаблона алфавита, заменяют коды
строчных английских букв в ячейках шаблона на
соответствующие коды прописных букв
английского алфавита и называют его таблица
английского алфавита, присваивают ему номер
один,
берут алфавитные письменные системы по
порядку номеров в списке алфавитных письменных
систем, не основанных на латинской графике с
числом строчных букв не меньших двадцати шести,
создают копию таблицы алфавита ноль и коды
строчных английских букв в копии таблицы
алфавита ноль соответственно заменяют на коды
аналогичных по звучанию или по начертанию
строчных букв текущего алфавита, коды
незамещённых английских букв в копии таблицы
алфавита ноль, заменяют кодами других строчных
букв текущего алфавита, затем коды оставшихся
букв текущего алфавита размещают в ячейках
Переменной Части копии таблицы алфавита ноль,
заменяя расположенные там коды символов,
таблице присваивают номер, увеличенный на один
по сравнению с номером предыдущей таблицы
алфавита, создают копию, полученной таблицы со
строчными буквами текущего алфавита, замещают
коды строчных букв текущего алфавита в копии
таблицы алфавита ноль на соответствующие коды
прописных букв текущего алфавита, таблице
присваивают номер, увеличенный на один по
сравнению с номером предыдущей таблицы
алфавита, повторяют действия по созданию таблиц
алфавитов для строчных и прописных букв
текущего алфавита, рассматривая оставшийся
неразмещённый набор букв как исходный набор
букв, до тех пор, пока в таблицах не будут
размещены коды всех букв текущего алфавита,
повторяют действия по созданию таблиц алфавитов
для строчных и прописных букв, до тех пор, пока не
будет достигнут конец списка алфавитных систем,
не основанных на латинской графике с числом
строчных букв не меньших двадцати шести.
Таблицы алфавитов объединяют по порядку
номеров в одну Большую Таблицу Алфавитов,
полученная Большая Таблица Алфавитов является
Таблицей Пользовательского Набора Символов.
Пример 2.
Набор символов СР 1253
(www.ru.wikipedia.org/wiki/windows-1253).
В наборе символов СР 1251 имеются буквы
английского, греческого языков. Нижняя часть
таблицы кодировки (латиница) полностью
соответствует кодировке ASCII.
Составляют нумерованные списки алфавитных
письменных систем, основанных на латинской
графике,
не основанных на латинской графике, с числом
строчных букв меньших двадцати шести,
не основанных на латинской графике, с числом
строчных букв не меньших двадцати шести.
Первый и третий списки будут пустыми,
английский алфавит в список не входит, а второй
непустой список алфавитных письменных систем,
не основанных на латинской графике, с числом
строчных букв меньших двадцати шести будет
следующим: 1.греческий.
Создают элементарную таблицу, содержащую
десять строк и десять столбцов, делят её на
Постоянную Часть, содержащую не менее
девятнадцати ячеек, и Переменную Часть,
содержащую не менее двадцати шести ячеек, в
Постоянной Части размещают коды арабских цифр
и знака пробела, полученную таблицу называют
таблицей основного шаблона,
создают копию основного шаблона ячейки
Переменной Части таблицы заполняют кодами
строчных букв английского алфавита и кодами
общеупотребительных символов, таблицу называют
шаблон алфавита,
создают копию шаблона алфавита и называют
его таблица английского алфавита, присваивают ему
номер ноль, создают копию шаблона алфавита,
заменяют коды строчных английских букв в ячейках
копии шаблона на соответствующие коды
прописных букв английского алфавита и называют
его таблица английского алфавита, присваивают ему
номер один,
берут алфавитные письменные системы по
порядку номеров в списке алфавитных письменных
систем, не основанных на латинской графике с
числом строчных букв меньших двадцати шести,
создают копию таблицы алфавита ноль и коды
строчных английских букв в копии таблицы
алфавита ноль соответственно заменяют на коды
аналогичных по звучанию или по начертанию
строчных букв текущего алфавита, коды
незамещённых английских букв в копии таблицы
алфавита ноль, заменяют кодами других строчных
букв текущего алфавита, пока не закончатся
строчные буквы текущего алфавита, затем
замещают кодами общеупотребительных символов,
таблице присваивают номер, увеличенный на один
по сравнению с номером предыдущей таблицы
алфавита, создают копию, полученной таблицы со
строчными буквами текущего алфавита, замещают
коды строчных букв текущего алфавита в копии
таблицы алфавита ноль на соответствующие коды
прописных букв текущего алфавита, таблице
присваивают номер, увеличенный на один по
сравнению с номером предыдущей таблицы
алфавита, повторяют действия по созданию таблиц
алфавитов для строчных и прописных букв, до тех
пор, пока не будет достигнут конец списка
алфавитных систем, не основанных на латинской
графике с числом строчных букв меньших двадцати
шести;
Таблицы алфавитов объединяют по порядку
номеров в одну Большую Таблицу Алфавитов,
полученная Большая Таблица Алфавитов является
Таблицей Пользовательского Набора Символов.
29212
9
Пользовательские Наборы Символов,
полученные в примерах 1 и 2, определяют код
каждого символа, расположенного в ячейках
таблицы по следующей формуле:
CU - код символа, расположенного в ячейке с
номером строки R и номером S столбца.
CU = R × 10 + S;
В полученных кодах одинаковые символы в
разных ячейках Таблицы Пользовательского Набора
Символов и, фонетически или графически, похожие
буквы с кодами из Базовой Области имеют
одинаковые две последние цифры в десятичном
счислении, только некоторые буквы из Переменной
Части не подчиняются этому правилу.
Теперь можно создать программные продукты
“Кодер” или аппаратное устройство “Кодер”,
использующий полученные матрицы и код, в
вычислительной среде, имеющей цифровые
клавиши (физические или виртуальные) и вводить
символы из Пользовательского Набора Символов
нажатием цифровых клавиш, набирая цифры кода
символа.
Хотя настоящее изобретение было представлено
и описано со ссылкой на конкретные примерные
варианты его воплощения, для специалиста в данной
области техники понятно, что различные изменения
по форме и деталям могут быть выполнены в нем,
без выхода за пределы сущности и объема
изобретения, которые определены приложенной
формулой изобретения.
ФОРМУЛА ИЗОБРЕТЕНИЯ
Способ кодирования наборов символов для
ввода цифровыми клавишами, применяя таблицы,
при котором составляют нумерованный список
алфавитных письменных систем, основанных на
латинской графике, входящих в заданный набор
символов, за исключением английского алфавита,
составляют нумерованный список алфавитных
письменных систем, не основанных на латинской
графике, входящих в заданный набор символов, с
числом строчных букв, меньшим двадцати шести,
составляют нумерованный список алфавитных
письменных систем, не основанных на латинской
графике, входящих в заданный набор символов, с
числом строчных букв, не меньшим двадцати шести,
составляют нумерованный список иероглифических
письменных систем, входящих в заданный набор
символов, создают элементарную таблицу, в
которой верхняя или нижняя из строк заполняется
номерами столбцов, а левая или правая из столбцов
заполняется номерами строк, рабочую часть
таблицы делят на постоянную часть, содержащую
не менее девятнадцати ячеек, и переменную часть,
содержащую не менее двадцати шести ячеек, в
постоянной части размещают графические
изображения или/и коды арабских цифр и знака
пробела с получением таблицы основного шаблона,
создают копию основного шаблона и ячейки
переменой части копии основного шаблона
заполняют графическими изображениями или/и
кодами строчных букв английского алфавита и
графическими изображениями или/и кодами
общеупотребительных символов с получением
шаблон а алфавита, создают копию шаблона
алфавита с получением таблицы строчных букв
английского алфавита, присваивают ему номер
ноль, создают копию таблицы строчных букв
английского алфавита, заменяют графические
изображения или/и коды строчных английских букв
в ячейках копии таблицы строчных букв
английского алфавита на соответствующие
графические изображения или/и коды прописных
букв английского алфавита с получением таблицы
прописных букв английского алфавита,
присваивают ему номер один, берут алфавитные
письменные системы по порядку номеров в списке
алфавитных письменных систем, основанных на
латинской графике, создают копию таблицы ноль и
графические изображения или/и коды строчных
букв текущего алфавита, отличающихся от
английских, располагают в переменой части копии
таблицы ноль, заменяя графические изображения
или/и коды расположенных там символов, таблице
присваивают номер, увеличенный на один по
сравнению с номером предыдущей таблицы
алфавита, создают копию полученной таблицы со
строчными буквами текущего алфавита, замещают
графические изображения или/и коды строчных
букв текущего алфавита в переменой части на
соответствующие графические изображения или/и
коды прописных букв текущего алфавита, таблице
присваивают номер, увеличенный на один по
сравнению с номером предыдущей таблицы
алфавита, повторяют действия по созданию таблиц
алфавитов для строчных и прописных букв
текущего алфавита, рассматривая оставшийся
неразмещённым набор букв как исходный набор
букв, до тех пор, пока в таблицах не будут
размещены графические изображения или/и коды
всех букв текущего алфавита; повторяют действия
по созданию таблиц алфавитов для строчных и
прописных букв, до тех пор, пока не будет
достигнут конец списка алфавитных систем,
основанных на латинской графике; берут
алфавитные письменные системы по порядку
номеров в списке алфавитных письменных систем,
не основанных на латинской графике с числом
строчных букв, меньшим двадцати шести, создают
копию таблицы алфавита ноль и графические
изображения или/и коды строчных английских букв
в копии таблицы алфавита ноль соответственно
заменяют на графические изображения или/и коды
аналогичных по звучанию или по начертанию
строчных букв текущего алфавита, графические
изображения или/и коды незамещённых английских
букв в копии таблицы алфавита ноль заменяют
графическими изображениями или/и кодами других
строчных букв текущего алфавита, пока не
закончатся строчные буквы текущего алфавита,
оставшиеся незамещёнными буквы английского
алфавита замещают графическими изображениями
или/и кодами общеупотребительных символов,
таблице присваивают номер, увеличенный на один
по сравнению с номером предыдущей таблицы
29212
10
алфавита, создают копию полученной таблицы со
строчными буквами текущего алфавита, замещают
графические изображения или/и коды строчных
букв текущего алфавита в копии таблицы алфавита
ноль на соответствующие графические изображения
или/и коды прописных букв текущего алфавита,
таблице присваивают номер, увеличенный на один
по сравнению с номером предыдущей таблицы
алфавита, повторяют действия по созданию таблиц
алфавитов для строчных и прописных букв, до тех
пор, пока не будет достигнут конец списка
алфавитных систем, не основанных на латинской
графике, с числом строчных букв, меньшим
двадцати шести; берут алфавитные письменные
системы по порядку номеров в списке алфавитных
письменных систем, не основанных на латинской
графике, с числом строчных букв, не меньшим
двадцати шести, создают копию таблицы алфавита
ноль и графические изображения или/и коды
строчных английских букв в копии таблицы
алфавита ноль соответственно заменяют на
графические изображения или/и коды аналогичных
по звучанию или по начертанию строчных букв
текущего алфавита, графические изображения или/и
коды незамещённых английских букв в копии
таблицы алфавита ноль заменяют графическими
изображениями или/и кодами других строчных букв
текущего алфавита, затем графические изображения
или/и коды оставшихся букв текущего алфавита
размещают в ячейках переменой части копии
таблицы алфавита ноль, заменяя расположенные там
графические изображения или/и коды символов,
таблице присваивают номер, увеличенный на один
по сравнению с номером предыдущей таблицы
алфавита, создают копию полученной таблицы со
строчными буквами текущего алфавита, замещают
графические изображения или/и коды строчных
букв текущего алфавита в копии таблицы со
строчными буквами текущего алфавита на
соответствующие графические изображения или/и
коды прописных букв текущего алфавита, таблице
присваивают номер, увеличенный на один по
сравнению с номером предыдущей таблицы
алфавита, повторяют действия по созданию таблиц
алфавитов для строчных и прописных букв
текущего алфавита, рассматривая оставшийся
неразмещённый набор букв как исходный набор
букв, до тех пор, пока в таблицах не будут
размещены графические изображения или/и коды
всех букв текущего алфавита, повторяют действия
по созданию таблиц алфавитов для строчных и
прописных букв, до тех пор, пока не будет
достигнут конец списка алфавитных систем, не
основанных на латинской графике с числом
строчных букв, не меньшим двадцати шести; для
иероглифических письменных систем выполняют
следующие действия: берут иероглифические
письменные системы по порядку номеров в списке
иероглифических письменных систем, создают
копию основного шаблона, и в ячейки переменой
части копии основного шаблона заносят
графические изображения или/и коды иероглифов
текущей системы иероглифов, нумеруют таблицу,
повторяют действия по созданию таблиц
иероглифов вышеописанным методом, каждый раз
увеличивая номер таблицы на единицу, до тех пор,
пока не закончатся иероглифы данной
иероглифической системы, затем для кодирования
берут следующую иероглифическую систему в
списке, повторяют действия по кодированию до тех
пор, пока не будут закодированы все
иероглифические системы в списке; символы, не
попавшие ни в одну предыдущую таблицу,
разделяют на классы по типам: математические,
музыкальные и т.д., нумеруют классы, создают
копию основного шаблона, заполняют его
переменную часть графическими изображениями
или/и кодами символов класса, нумеруют таблицу
символов, размещают в копиях основного шаблона
вышеописанным методом все символы класса,
причём каждый раз увеличивают номер таблицы
символов на один, при окончании размещения
символов текущего класса переходят к размещению
следующего класса, до окончания размещения всех
классов символов, таблицы алфавитов объединяют
по порядку номеров в одну большую таблицу
алфавитов, таблицы символов объединяют по
порядку номеров в одну большую таблицу
символов, таблицы иероглифов объединяют по
порядку номеров в одну большую таблицу
иероглифов, большую таблицу алфавитов, большую
таблицу символов и большую таблицу иероглифов
объединяют в одну таблицу пользовательского
набора символов, отличающийся тем, что рабочую
часть элементарной таблицы составляют из десяти
строк по десять столбцов, столбцы рабочей части
элементарной таблицы нумеруют числами от 0 до 9
в десятичном исчислении, строки рабочей части
элементарной таблицы нумеруют числами от 0 до 9
в десятичном исчислении.
29212
11
29212
12
29212
13
29212
14
29212
15
29212
16
29212
17
Верстка А. Сарсекеева
Корректор Р. Шалабаев

29212p

  • 1.
    РЕСПУБЛИКА КАЗАХСТАН (19) KZ(13) B (11) 29212 (51) G06F 3/023 (2006.01) G06F 7/00 (2006.01) G06F 7/74 (2006.01) G06F 7/08 (2006.01) КОМИТЕТ ПО ПРАВАМ ИНТЕЛЛЕКТУАЛЬНОЙ СОБСТВЕННОСТИ МИНИСТЕРСТВА ЮСТИЦИИ РЕСПУБЛИКИ КАЗАХСТАН ОПИСАНИЕ ИЗОБРЕТЕНИЯ К ПАТЕНТУ (21) 2013/0808.1 (22) 17.06.2013 (45) 17.11.2014, бюл. №11 (76) Диханбаев Нургали Байедилович; Диханбаева Алия Нургалиевна (56) RU 2008128245 A, 20.01.2010 RU 2267151 C2, 27.12.2005 RU 2371758 C2, 27.10.2009 (54) СПОСОБ КОДИРОВАНИЯ НАБОРОВ СИМВОЛОВ ДЛЯ ВВОДА ЦИФРОВЫМИ КЛАВИШАМИ (57) Изобретение относится к способам кодирования текстовых символов для ввода в устройство с помощью цифровых клавиш. Технический результат - создание устройств ввода текста цифровыми клавишами, оптимизирующих ввод текста. Указанный результат достигается тем, что в способе используются оптимизированные кодовые таблицы, расположение символов разных письменных систем в разных областях таблицы, а также расположение одинаковых и фонетически аналогичных символов разных письменных систем в одинаковых позициях, в пределах области письменной системы в кодовой таблице. Использование изобретения позволит создать кодовые таблицы, матрицы, коды символов языков, компьютерные программы или части программ, а также интегральные микросхемы или части микросхем, оптимизирующие ввод многоязычного текста для технических устройств ввода теста, использующих цифровые клавиши. (19)KZ(13)B(11)29212
  • 2.
    29212 2 Изобретение относится кспособам кодирования символов, в частности, к способам кодирования текстовых символов для ввода текста в устройство с помощью цифровых клавиш. Уровень техники. Ввод текста в вычислительные устройства с помощью цифровой клавиатуры применяется даже в устройствах имеющих полномасштабную клавиатуру, такой способ применяется при вводе символов, коды которых отсутствуют на данной раскладке клавиатуры. (www.ru.wikipedia.org/wiki/Юникод) Ввод текста в малых вычислительных устройствах, например мобильных телефонах и карманных персональных компьютерах (КПК), смартфонах может быть затруднен ввиду отсутствия стандартной полномасштабной клавиатуры, в таких случаях применяется ввод текста с помощью цифровых клавиш (физических или виртуальных). Символы традиционно кодировались таким образом, что предполагали ввод текста с помощью полномасштабной клавиатуры, содержащей 47 буквенно-цифровых клавиш, спроектированной в расчёте на английский алфавит, поэтому, когда применяется ввод текста с помощью только десяти цифровых клавиш, ввод оказывается неэффективным, неудобным. Поэтому ставится задача оптимизации кода текстовых символов, таким образом, чтобы достигнуть минимального нажатия клавиши при вводе одного символа и минимизации ошибок при наборе текста, то есть пересмотреть способ кодировки, оптимизировать способ кодирования. Известен традиционный способ кодирования текстовых символов, называемая 8-битная кодировка (www.unicode.org/), когда берётся таблица, содержащая 16 строк и 16 столбцов, которую называют кодовая страница, ячейки которой заполняют графическими символами подлежащими кодированию. Каждому символу в ячейке сопоставляют двухразрядное шестнадцатеричное число, один разряд которого есть шестнадцатеричный номер строки, а другой разряд есть шестнадцатеричный номер столбца таблицы. Число ячеек таблицы равно 16x16=256, столько различных символов можно закодировать при помощи этой таблицы. Применение таблицы делает кодирование наглядным и код получается простой конкатенацией двух шестнадцатеричных чисел. Этот способ ограничивает число кодируемых символов 256 кодами, которых бывает достаточно, для кодирования букв нескольких алфавитов одной письменной системы, например: кодировка СР 1250 (www.ru.wikipedia.org/WIKI/windows-1250, www.unicode.org/), набор символов и кодировка для сербохорватского, словенского, чешского, словацкого, польского, верхне- и нижнелужицкого, венгерского, румынского; кодировка СР 1251 (www.ru.wikipedia.org/WIKI/windows-1251, www.unicode.org/), набор символов и кодировка для русского, украинского, белорусского, сербского и болгарского кириллических алфавитов. Нижняя часть таблицы кодировки (0-7F) семейства СР полностью соответствует кодировке ASCII, то есть, это постоянная часть таблицы кодировки. Известен другой способ кодирования графических символов, так называемый Стандарт кодирования Unicode (www.unicode.org/, www.ru.wikipedia.org/wiki/Юникод), который расширяет возможности 8-битной кодировки, суть его заключается в увеличении размеров таблицы кодирования до размеров, позволяющих кодировать миллион с избытком символов. Таблицы конструируются следующим образом: берётся таблица 256×256, которую называют план или плоскость и содержащую 65536 ячеек, или 256 таблиц размером 16×16, назовём таблицу 16×16 элементарной таблицей UCS Unicode, тогда план можно представить как объединение 256 элементарных таблиц. Таким образом, план это следующий, более высокий уровень в иерархии таблиц Unicode, по- русски называют плоскость, так как традиционно представляют планы расположенными в стопку, как листы в пачке. Эта стопка 17 таблиц образует объединение таблиц Unicode в Универсальный Набор Символов (англ. UCS, universal character set) и сопоставляют каждому символу целое неотрицательное число, код символа. Таким образом, в таблице 65536×17=1114112 ячеек для символов. Эти 17 планов, вместе с кодами, называют Универсальный Набор Символов (UCS). Нулевая элементарная таблица точно соответствуют кодовой странице ISO 8859-1, в котором первые 128 символов идентичны таблице ASCII. Первый план (план 0), Основной Многоязычный План (BMP - Basic Multilingual Plane) - тот, в котором описано большинство символов. BMP содержит символы почти для всех современных языков, и большое количество специальных символов. Ещё два плана используются для графических символов. План 1, Дополнительный Многоязычный План (SMP - Supplementary Multilingual Plane) главным образом используется для исторических символов, а также используется для музыкальных и математических символов. План 2, Supplementary Ideographic Plane (SIP), используется для приблизительно 40000 редких Китайских иероглифов. План 15 и План 16 открыт для любого частного использования. Рассмотрим строение BMP. Область с кодами от U+0000 до U+007F, то есть половина элементарной таблицы, содержит символы набора ASCII. Далее расположены области знаков различных письменностей, знаки пунктуации и технические символы. Часть кодов зарезервирована для использования в будущем. Под символы кириллицы выделены области знаков с кодами от U+0400 до U+052F, от U+2DE0 до U+2DFF, от U+A640 до U+A69F.
  • 3.
    29212 3 Другой подход представленв “телефонном” способе ввода с помощью цифровых клавиш. С точки зрения пользователя, каждому символу сопоставляется код переменной длины, состоящий из последовательностей одинаковых цифр: 1, 2, 22, 222, 3, 33, 333, для ввода “z” набирается код 9999. Недостатки этого способа заключаются в следующем: длина вводимого кода увеличивается для алфавитов содержащих много букв, для разделения последовательностей кодов используется длительность паузы между нажатиями клавиш, чтобы нажать без ошибок надо выдерживать длительность паузы, по этой причине часто возникают ошибки, которые в итоге приводят к замедлению ввода. Из рассмотренных выше способов только в “телефонном” способе применено кодирование символов специально для ввода цифровыми клавишами. Из известных технических решений наиболее близким по назначению и технической сущности к заявляемому объекту является Система кодирования Unicode, в части UCS Unicode, так как он содержит символы всех письменных систем, универсальный набор символов (англ. UCS, universal character set) и семейство кодировок (англ. UTF, Unicode transformation format) и наша задача также заключается в создании способа пригодного для любых письменных систем и кодировок. Перечисленные выше компьютерные кодировки, в том числе UCS Unicode 1. используют в качестве элементарной таблицу размером 16x16, 2. не все перечисленные кодировки располагают буквы алфавитов в соответствии с расположением английских букв, позиции букв других языков не соответствуют их фонетическим аналогам в английском алфавите в нижней части таблицы. Сущность изобретения. Техническая задача, решаемая заявляемым способом, заключается в минимизации не только числа нажатий при вводе одного символа, в конечном счёте минимизация требуется для числа нажатий клавиш при вводе всего текста, и при этом уменьшить вероятность ошибок при вводе последовательности символов. Так как строчные буквы употребляются во много раз чаще, чем прописные, а также то, что некоторые символы используются чаще, чем другие, то способ кодирования должен учитывать этот фактор. Для уменьшения ошибок, для облегчения запоминания кодов букв, позиции букв других языков должны соответствовать их фонетическим или графическим аналогам в английском алфавите. Сформулируем по пунктам требования к оптимальному (минимизация числа нажатий клавиш при вводе всего текста) способу кодирования: 1. минимизация числа нажатий клавиш при вводе одного символа 2. учесть что некоторые символы используются чаще, чем другие 3. учесть малые размеры дисплеев большинства устройств использующих только цифровые клавиши 4. учесть ограниченный объём памяти большинства устройств использующих только цифровые клавиши 5. учесть возможность многоязычного ввода и вывода 6. коды букв других языков должны соответствовать кодам графических или фонетических аналогов букв в английском алфавите Чтобы уменьшить количество цифр в коде символа, надо чтобы его код был меньше ста, для этого достаточно буквы и необходимые символы разместить в кодовой таблице 10×10; тогда самый большой код будет 99, в прототипе минимальный размер кодовой таблицы 16×16, кодируется до 256 символов (кодовая страница). Таблицу с числом строк десять и числом столбцов десять, пронумерованных начиная с ноля до девяти, для заполнения символами или их кодами, назовём элементарной таблицей кодирования по способу. Получение кодировки, имеющего такие свойства кода символа, при осуществлении в среде вычислительного устройства, имеющего цифровую клавиатуру (физическую или виртуальную), позволяет получить такой технический результат: при вводе десятичного кода символа, в устройствах ввода текста, десятичными цифрами с помощью цифровых клавиш, набор цифр разряда десятков и разряда единиц позволяет вводить разные символы данной письменной системы, а при переходе к вводу символов другой письменной системы сперва вводится код этой системы, а затем две цифры конкретного символа этой системы и ввод только двух цифр для ввода символа продолжается до тех пор, пока опять не будет осуществлён переход к другой письменной системе, также осуществляется ввод нажатием одной цифровой клавиши в случаях, когда последовательно вводимые символы имеют одинаковые предыдущие цифры, кроме цифры младшего разряда. Выше был указан итоговый технический результат реализации продукта способа, этот технический результат может быть осуществлён в среде вычислительного устройства, имеющего цифровую клавиатуру (физическую или виртуальную), в следующих вариантах: 1. полученные таблица, матрица и код, то есть, продукт способа, позволяют создать приложение “Кодер”, реализующее итоговый технический результат. 2. полученные таблица, матрица и код, то есть, продукт способа, позволяют создать интегральную микросхему “Кодер” или часть “Кодер” микросхемы, реализующее итоговый технический результат. Способ кодирования позволяет получить множество продуктов (кодировок), а значит множество технических устройств “Кодер”, осуществляющих продукты способа.
  • 4.
    29212 4 Признаками, отличающими данныйспособ кодирования являются следующие: 1. для кодирования символов применяются таблицы и матрицы с числом столбцов кратных десяти и числом строк кратных десяти, в прототипе используются таблицы с числом строк кратными восьми и с числом столбцов кратными восьми. 2. разбиение элементарной таблицы на Постоянную и Переменную Части, в прототипе этого нет, есть в аналогах. 3. выделение для символов отдельной письменной системы собственного отдельного кодового пространства, являющегося прямоугольной областью кодовой таблицы с числом столбцов кратных десяти и числом строк кратных десяти, в прототипе, выделяется отдельная область для символов семейства письменных систем или символов письменной системы с числом столбцов кратных восьми и числом строк кратных восьми. 4. расположение букв алфавитов в соответствии с расположением английских букв, есть в КОИ-8 (www.ru.wikipedia.org/wiki/KOИ-8, www.unicode.org/), в прототипе этого нет. 5. конкретные расположения букв, символов, иероглифов в таблицах определяются Стандартами, есть в прототипе. 6. объединение Таблиц Наборов Символов разных письменных систем в одну Таблицу Большого Набора Символов, есть в прототипе. 7. возможность добавления символов дополнительных письменных систем в Таблицу Большого Набора Символов, есть в прототипе. 8. объединение Таблиц Наборов Символов разных письменных систем технического устройства в одну Таблицу Пользовательского Набора Символов, в прототипе этого нет. 9. возможность кодировать символы Пользовательского Набора Символов способом, в прототипе этого нет. Перечень фигур, чертежей. Вышеупомянутые и другие задачи и аспекты настоящего изобретения будут понятны более отчетливо из следующего подробного описания, воспринятого совместно с прилагаемыми чертежами. На Фиг.1 показана блок-схема цифровой компьютерной среды общего назначения, в которой могут быть реализованы продукты настоящего изобретения. На Фиг.2 показана блок-схема мобильной цифровой компьютерной среды, в которой могут быть реализованы продукту настоящего изобретения. На Фиг.3 показана элементарная кодовая таблица (Basic Code Table), разделённая на Постоянную и Переменную Части. Постоянную Часть, в этом варианте, составляют ячейки строки ноль и столбца ноль. На Фиг.4 показан основной шаблон, элементарная таблица (Basic Code Table), разделённая на Постоянную и Переменную Части, в ячейках Постоянной Части под символами указаны соответствующие коды Unicode. На Фиг.5 показан один из вариантов шаблона алфавита: элементарная таблица (Basic Code Table), в ячейках Постоянной Части под символами указаны соответствующие коды Unicode. На Фиг.6 показана пользовательская кодовая таблица (Use Code Table) из 4 элементарных таблиц, в ячейках Постоянной Части под символами указаны соответствующие коды Unicode. На Фиг.7 показан пример кодирования. Пользовательская кодовая таблица (Use Code Table) для набора символов английского и русского алфавитов, в ячейках таблицы под символами указаны соответствующие коды Unicode. Сведения, подтверждающие возможность осуществления изобретения. Осуществление изобретения достигается следующим образом: составляют нумерованный список алфавитных письменных систем, основанных на латинской графике и входящих в заданный набор символов, составляют нумерованный список алфавитных письменных систем, не основанных на латинской графике и входящих в заданный набор символов, с числом букв меньших двадцати шести, составляют нумерованный список алфавитных письменных систем, не основанных на латинской графике и входящих в заданный набор символов, с числом букв не меньших двадцати шести, составляют нумерованный список иероглифических письменных систем, входящих в заданный набор символов, создают элементарную таблицу, содержащую десять строк и десять столбцов, делят её на Постоянную Часть, содержащую не менее девятнадцати ячеек, и Переменную Часть, содержащую не менее двадцати шести ячеек, в Постоянной Части размещают коды или/и графические изображения арабских цифр и знака пробела, полученную таблицу называют таблицей основного шаблона, создают копию основного шаблона, ячейки Переменной части таблицы заполняют графическими изображениями или/и кодами строчных букв английского алфавита и графическими изображениями или/и кодами общеупотребительных символов, таблицу называют шаблон алфавита, создают копию шаблона алфавита и называют его таблица строчных букв английского алфавита, присваивают ему номер ноль, создают копию шаблона алфавита, заменяют графические изображения или/и коды строчных английских букв в ячейках шаблона на соответствующие графические изображения или/и коды прописных букв английского алфавита и называют его таблица прописных букв английского алфавита, присваивают ему номер один, берут алфавитные письменные системы по порядку номеров в списке алфавитных письменных систем, основанных на латинской графике, создают копию таблицы ноль и графические изображения или/и коды строчных букв текущего алфавита, отличающихся от английских, располагают в Переменной Части копии таблицы ноль, заменяя графические изображения или/и коды, расположенных там символов, таблице
  • 5.
    29212 5 присваивают номер, увеличенныйна один по сравнению с номером предыдущей таблицы алфавита, создают копию полученной таблицы со строчными буквами текущего алфавита, замещают графические изображения или/и коды строчных букв английского алфавита на соответствующие графические изображения или/и коды прописных букв английского алфавита, замещают графические изображения или/и коды строчных букв текущего алфавита на соответствующие графические изображения или/и коды прописных букв текущего алфавита, таблице присваивают номер, увеличенный на один по сравнению с номером предыдущей таблицы алфавита, повторяют действия по созданию таблиц алфавитов для строчных и прописных букв текущего алфавита, рассматривая оставшийся неразмещённым набор букв как исходный набор букв, до тех пор, пока в таблицах не будут размещены графические изображения или/и коды всех букв текущего алфавита; повторяют действия по созданию таблиц алфавитов для строчных и прописных букв, до тех пор, пока не будет достигнут конец списка алфавитных систем, основанных на латинской графике; берут алфавитные письменные системы по порядку номеров в списке алфавитных письменных систем, не основанных на латинской графике с числом строчных букв меньших двадцати шести, создают копию таблицы алфавита ноль и графические изображения или/и коды строчных английских букв в копии таблицы алфавита ноль соответственно заменяют на графические изображения или/и коды аналогичных по звучанию или по начертанию строчных букв текущего алфавита, графические изображения или/и коды незамещённых английских букв в копии таблицы алфавита ноль, заменяют графическими изображениями или/и кодами других строчных букв текущего алфавита, пока не закончатся строчные буквы текущего алфавита, затем замещают графическими изображениями или/и кодами общеупотребительных символов, таблице присваивают номер, увеличенный на один по сравнению с номером предыдущей таблицы алфавита, создают копию, полученной таблицы со строчными буквами текущего алфавита, замещают графические изображения или/и коды строчных букв текущего алфавита в копии таблицы алфавита ноль на соответствующие графические изображения или/и коды прописных букв текущего алфавита, таблице присваивают номер, увеличенный на один по сравнению с номером предыдущей таблицы алфавита, повторяют действия по созданию таблиц алфавитов для строчных и прописных букв, до тех пор, пока не будет достигнут конец списка алфавитных систем, не основанных на латинской графике с числом строчных букв меньших двадцати шести; берут алфавитные письменные системы по порядку номеров в списке алфавитных письменных систем, не основанных на латинской графике с числом строчных букв не меньших двадцати шести, создают копию таблицы алфавита ноль и графические изображения или/и коды строчных английских букв в копии таблицы алфавита ноль соответственно заменяют на графические изображения или/и коды аналогичных по звучанию или по начертанию строчных букв текущего алфавита, графические изображения или/и коды незамещённых английских букв в копии таблицы алфавита ноль, заменяют графическими изображениями или/и кодами других строчных букв текущего алфавита, затем графические изображения или/и коды оставшихся букв текущего алфавита размещают в ячейках Переменной Части копии таблицы алфавита ноль, заменяя расположенные там графические изображения или/и коды символов, таблице присваивают номер, увеличенный на один по сравнению с номером предыдущей таблицы алфавита, создают копию, полученной таблицы со строчными буквами текущего алфавита, замещают графические изображения или/и коды строчных букв текущего алфавита в копии таблицы алфавита ноль на соответствующие графические изображения или/и коды прописных букв текущего алфавита, таблице присваивают номер, увеличенный на один по сравнению с номером предыдущей таблицы алфавита, повторяют действия по созданию таблиц алфавитов для строчных и прописных букв текущего алфавита, рассматривая оставшийся неразмещённый набор букв как исходный набор букв, до тех пор, пока в таблицах не будут размещены графические изображения или/и коды всех букв текущего алфавита, повторяют действия по созданию таблиц алфавитов для строчных и прописных букв, до тех пор, пока не будет достигнут конец списка алфавитных систем, не основанных на латинской графике с числом строчных букв не меньших двадцати шести; для иероглифических письменных систем выполняют следующие действия: берут иероглифические письменные системы по порядку номеров в списке иероглифических письменных систем создают копию основного шаблона, и в ячейки Переменной Части копии основного шаблона заносят графические изображения или/и коды иероглифов текущей системы иероглифов, нумеруют таблицу, повторяют действия по созданию таблиц иероглифов вышеописанным методом, каждый раз увеличивая номер таблицы на единицу, до тех пор, пока не закончатся иероглифы данной иероглифической системы, затем для кодирования берут следующую иероглифическую систему в списке, повторяют действия по кодированию до тех пор, пока не будут закодированы все иероглифические системы в списке; символы, не попавшие ни в одну предыдущую таблицу, разделяют на классы по типам: математические, музыкальные и т.д. нумеруют классы, создают копию основного шаблона, заполняют его Переменную Часть графическими изображениями или/и кодами символов класса, нумеруют таблицу символов, размещают, в копиях основного шаблона, вышеописанным методом, все символы класса, причём каждый раз увеличивают номер таблицы символов на один, при окончании размещения символов текущего класса, переходят к размещению
  • 6.
    29212 6 следующего класса, доокончания размещения всех классов символов, таблицы алфавитов объединяют по порядку номеров в одну Большую Таблицу Алфавитов, таблицы символов объединяют по порядку номеров в одну Большую Таблицу Символов, таблицы иероглифов объединяют по порядку номеров в одну Большую Таблицу Иероглифов, Большую Таблицу Алфавитов, Большую Таблицу Символов и Большую Таблицу Иероглифов объединяют в одну Таблицу Пользовательского Набора Символов, полученная Таблица Пользовательского Набора Символов определяет код каждого символа, расположенного в ячейках таблицы по следующей формуле: CU - код символа, расположенного в ячейке с номером строки R и номером S столбца. CU = R × 10 + S; Теперь можно создать программный продукт “Кодер” или устройство “Кодер”, в среде вычислительного устройства, имеющего цифровую клавиатуру (физическую или виртуальную), использующий полученную матрицу и код, и обеспечивающего полученную кодировку и ввод, и вводить символы из Таблицы Пользовательского Набора Символов нажатием цифровых клавиш, набирая цифры кода символа. Хотя продукты способа, отвечающего настоящему изобретению, можно реализовать в вычислительных устройствах, содержащих традиционную полномасштабную клавиатуру, они наиболее полезны, когда используются в сочетании с мобильными вычислительными устройствами, где такая клавиатура отсутствует. Под термином вычислительное устройство подразумеваются настольный компьютер, портативная ЭВМ, планшетная ПЭВМ, персональный цифровой ассистент, смартфон, сотовый телефон или любое другое устройство, которое настроено с возможностью обрабатывать информацию, включающее в себя устройство ввода текста. На Фиг.1 показана логическая блок-схема иллюстративного вычислительного устройства 100, в котором можно реализовать продукты изобретение. Устройство 100 может быть настольным компьютером, портативным ЭВМ, планшетным ПЭВМ, мобильным вычислительным устройством, например мобильным телефоном, карманным персональным компьютером (КПК), мобильной системой хранения (например, МР3- проигрывателем), пультом дистанционного управления или другими мобильными вычислительными устройствами, в которых имеется устройство ввода текста и цифровая клавиатура (физическая или виртуальная). Устройство 100 представляет собой только один пример подходящей вычислительной среды для продуктов настоящего изобретения не предусматривает никакого ограничения объема использования или функциональных возможностей продуктов изобретения. Кроме того, устройство 100 не следует рассматривать как имеющую какую-либо зависимость или требование, относящееся к одному или нескольким компонентам, показанным на Фиг.1. Устройство 100 может содержать контроллер или процессор 102, компьютерно- или машинно- считываемую память 104, дисплей 106, микрофон 108 и устройство 110 ввода символов. Память 104 - это машинно-считываемая память, к которой может обращаться процессор 102. Память 104 может содержать технологии энергозависимой или энергонезависимой памяти и может быть удаляемым из устройства 100 или фиксированным в нем. Например, память 104 может включать в себя, но без ограничения, ОЗУ, ПЗУ, ЭСППЗУ, флэш-память или другое запоминающее устройство. Память 104 предназначена для хранения команд, например программных модулей “Кодер”, которые могут выполняться процессором 102 для реализации продуктов способа, отвечающего настоящему изобретению. В общем случае, программные модули включают в себя процедуры, программы, объекты, компоненты, структуры данных и пр., которые выполняют отдельные задачи или реализуют те или иные абстрактные типы данных. Продукты изобретения также можно осуществить на практике в распределенных вычислительных средах, где задачи вычисляются удаленными устройствами обработки, связанными посредством сети связи. В распределенной вычислительной среде, программные модули могут размещаться как в локальных, так и в удаленных запоминающих устройствах. Процессор 102 предназначен для отображения текста и изображений на дисплее 106 в соответствии с традиционными операциями вычислительного устройства. Дисплей 106 может представлять собой любой подходящий дисплей. Для мобильных вычислительных устройств дисплей 106 обычно является небольшим плоским дисплеем, например жидкокристаллическим дисплеем (ЖКД), который также может быть сенсорным. Альтернативно, дисплей 106 может быть дисплеем большего размера, например дисплеем на основе электронно- лучевой трубки (ЭЛТ) или большим дисплеем другого типа, например большим плоскопанельным дисплеем. Пользователь использует устройство 110 ввода символов для ввода буквенно-цифровых символов, специальных символов, пробелов и т.д. в качестве текстового ввода в устройство 100. Кроме того, устройство 110 ввода символов можно использовать для выделения, перемещения курсора, прокрутки страницы, навигации по опциям и меню и для осуществления других функций. Хотя устройство 110 ввода символов может представлять собой традиционную клавиатуру, продукты настоящего изобретения наиболее полезно применить к вычислительным устройствам 100, имеющим ограниченное устройство 110 ввода символов, которое обычно меньше, имеет меньше клавиш и ограничено по своим функциональным возможностям относительно полномасштабных клавиатур.
  • 7.
    29212 7 Ввод символов сиспользованием таких ограниченных устройств 110 ввода символов может быть медленным и сложным. Ограниченные устройства 110 ввода символов могут принимать много разных форм. Некоторые ограниченные устройства 110 ввода, обычно используемые в КПК, образованы сенсорным дисплеем, например дисплеем 106. Одно такое устройство 110 ввода символов образовано отображением миниатюрной цифровой клавиатуры на сенсорном дисплее 106. Пользователь может выбирать нужные символы для ввода текста, касаясь отображаемого символа стилусом или пальцами, по аналогии с цифровой клавиатурой. Когда пользователь обеспечивает ввод текста с использованием устройства 110 ввода символов любого типа, текстовый ввод обеспечивается на дисплее 106. В мобильных вычислительных устройствах, например мобильных телефонах, используется ограниченное устройство 110 ввода символов в виде цифровой клавиатуры. На Фиг.2 показана упрощенная схема устройства 100 в виде мобильного телефона 114, которое содержит такую цифровую клавиатуру 116, дисплей 106 и микрофон 108. Мобильный телефон 114 может также содержать громкоговоритель 118, антенну 120, а также схему связи в виде приемопередатчика (не показан) и другие компоненты, которые не имеют отношения к настоящему изобретению. Цифровая клавиатура 116 содержит ряд цифровых клавиш 122 и другие клавиши. В целом, цифровая клавиатура 116 отличается от стандартной клавиатуры тем, что она не имеет уникальной клавиши для каждого символа. Поэтому цифровая клавиатура 116 является ограниченным устройством 110 ввода символов. Клавиатура 116 имеет следующий цифровые клавиши: клавишу 122А единицы, клавишу 122В двойки, клавишу 122С тройки, клавишу 122D четверки, клавишу 122Е пятерки, клавишу 122F шестерки, клавишу 122G семерки, клавишу 122Н восьмерки, клавишу 1221 девятки и клавишу 122J нуля, цифровая клавиатура 116 также имеет клавишу 122K звездочки (*) и клавишу 122L знака фунта (#). Цифровая клавиатура 116 также может иметь другие специализированные клавиши, помимо показанных на Фиг.2, или меньше клавиш, чем показано на Фиг.2. Клавиши 122 цифровой клавиатуры 116 могут быть реальными, физическими клавишами или виртуальными, программируемыми клавишами, отображаемыми на дисплее 106, если дисплей 106 является сенсорным экраном. Все цифровые клавиши 122 цифровой клавиатуры 116, за исключением клавиши 122А единицы и клавиши 122J нуля, соответствуют трем или четырем буквам алфавита. Клавиша 122В двойки соответствует буквам А, В и С. Клавиша 122С тройки соответствует буквам D, Е и F. Клавиша 122D четверки соответствует буквам G, Н и I. Клавиша 122Е пятерки соответствует буквам J, K и L. Клавиша 122F шестерки соответствует буквам М, N и О. Клавиша 122G семерки соответствует буквам Р, Q, R и S. Клавиша 122Н восьмерки соответствует буквам Т, U и V. Наконец, клавиша 1221 девятки соответствует буквам W, X, Y и Z. Знаки препинания и специальные символы могут быть включены либо в неиспользуемые клавиши, например клавишу 122А единицы, либо также могут быть включены в другие цифровые клавиши 122 совместно с буквами. Кроме того, каждую цифровую клавишу 122 можно использовать для ввода обозначенного на ней числа или символа. Продукты настоящего изобретения позволяют значительно уменьшить количество нажатий клавиш, которое необходимо для ввода нужного текста в устройство 100, по сравнению со способами, отвечающими уровню техники. Это осуществляется посредством комбинации кодирования набора символов устройства способом настоящего изобретения и пользовательским вводом. Продукт способа кодирования осуществляется с помощью программного модуля “Кодер” или аппаратного устройства “Кодер”, встраиваемого в устройство 100. Результатом является система ввода текста, которая отличается простотой, эффективностью и точностью. Выполнение кодирования набора символов вычислительного устройства способом, покажем на примерах. Пример 1: Набор символов СР 1251 (www.ru.wikipedia.org/wiki/windows-1251). В наборе символов СР 1251 имеются буквы английского, русского, украинского, белорусского, сербского и болгарского языков. Нижняя часть таблицы кодировки (латиница) полностью соответствует кодировке ASCII. Составляют нумерованные списки алфавитных письменных систем, основанных на латинской графике, не основанных на латинской графике, с числом строчных букв меньших двадцати шести, не основанных на латинской графике, с числом строчных букв не меньших двадцати шести. Два первых списка будут пустыми, английский алфавит в список не входит, а третий непустой список алфавитных письменных систем, не основанных на латинской графике, с числом строчных букв не меньших двадцати шести будет следующим: 1.русский, 2.украинский, 3.белорусский, 4.сербский, 5.болгарский. Создают элементарную таблицу, содержащую десять строк и десять столбцов, делят её на Постоянную Часть, содержащую не менее девятнадцати ячеек, и Переменную Часть, не меньших двадцати шести ячеек, в Постоянной Части размещают коды арабских цифр и знака пробела, полученную таблицу называют таблицей основного шаблона, создают копию основного шаблона, ячейки Переменной Части копии основного шаблона,
  • 8.
    29212 8 заполняют кодами строчныхбукв английского алфавита и кодами общеупотребительных символов, таблицу называют шаблон алфавита, создают копию шаблона алфавита и называют его таблица английского алфавита, присваивают ему номер ноль, создают копию шаблона алфавита, заменяют коды строчных английских букв в ячейках шаблона на соответствующие коды прописных букв английского алфавита и называют его таблица английского алфавита, присваивают ему номер один, берут алфавитные письменные системы по порядку номеров в списке алфавитных письменных систем, не основанных на латинской графике с числом строчных букв не меньших двадцати шести, создают копию таблицы алфавита ноль и коды строчных английских букв в копии таблицы алфавита ноль соответственно заменяют на коды аналогичных по звучанию или по начертанию строчных букв текущего алфавита, коды незамещённых английских букв в копии таблицы алфавита ноль, заменяют кодами других строчных букв текущего алфавита, затем коды оставшихся букв текущего алфавита размещают в ячейках Переменной Части копии таблицы алфавита ноль, заменяя расположенные там коды символов, таблице присваивают номер, увеличенный на один по сравнению с номером предыдущей таблицы алфавита, создают копию, полученной таблицы со строчными буквами текущего алфавита, замещают коды строчных букв текущего алфавита в копии таблицы алфавита ноль на соответствующие коды прописных букв текущего алфавита, таблице присваивают номер, увеличенный на один по сравнению с номером предыдущей таблицы алфавита, повторяют действия по созданию таблиц алфавитов для строчных и прописных букв текущего алфавита, рассматривая оставшийся неразмещённый набор букв как исходный набор букв, до тех пор, пока в таблицах не будут размещены коды всех букв текущего алфавита, повторяют действия по созданию таблиц алфавитов для строчных и прописных букв, до тех пор, пока не будет достигнут конец списка алфавитных систем, не основанных на латинской графике с числом строчных букв не меньших двадцати шести. Таблицы алфавитов объединяют по порядку номеров в одну Большую Таблицу Алфавитов, полученная Большая Таблица Алфавитов является Таблицей Пользовательского Набора Символов. Пример 2. Набор символов СР 1253 (www.ru.wikipedia.org/wiki/windows-1253). В наборе символов СР 1251 имеются буквы английского, греческого языков. Нижняя часть таблицы кодировки (латиница) полностью соответствует кодировке ASCII. Составляют нумерованные списки алфавитных письменных систем, основанных на латинской графике, не основанных на латинской графике, с числом строчных букв меньших двадцати шести, не основанных на латинской графике, с числом строчных букв не меньших двадцати шести. Первый и третий списки будут пустыми, английский алфавит в список не входит, а второй непустой список алфавитных письменных систем, не основанных на латинской графике, с числом строчных букв меньших двадцати шести будет следующим: 1.греческий. Создают элементарную таблицу, содержащую десять строк и десять столбцов, делят её на Постоянную Часть, содержащую не менее девятнадцати ячеек, и Переменную Часть, содержащую не менее двадцати шести ячеек, в Постоянной Части размещают коды арабских цифр и знака пробела, полученную таблицу называют таблицей основного шаблона, создают копию основного шаблона ячейки Переменной Части таблицы заполняют кодами строчных букв английского алфавита и кодами общеупотребительных символов, таблицу называют шаблон алфавита, создают копию шаблона алфавита и называют его таблица английского алфавита, присваивают ему номер ноль, создают копию шаблона алфавита, заменяют коды строчных английских букв в ячейках копии шаблона на соответствующие коды прописных букв английского алфавита и называют его таблица английского алфавита, присваивают ему номер один, берут алфавитные письменные системы по порядку номеров в списке алфавитных письменных систем, не основанных на латинской графике с числом строчных букв меньших двадцати шести, создают копию таблицы алфавита ноль и коды строчных английских букв в копии таблицы алфавита ноль соответственно заменяют на коды аналогичных по звучанию или по начертанию строчных букв текущего алфавита, коды незамещённых английских букв в копии таблицы алфавита ноль, заменяют кодами других строчных букв текущего алфавита, пока не закончатся строчные буквы текущего алфавита, затем замещают кодами общеупотребительных символов, таблице присваивают номер, увеличенный на один по сравнению с номером предыдущей таблицы алфавита, создают копию, полученной таблицы со строчными буквами текущего алфавита, замещают коды строчных букв текущего алфавита в копии таблицы алфавита ноль на соответствующие коды прописных букв текущего алфавита, таблице присваивают номер, увеличенный на один по сравнению с номером предыдущей таблицы алфавита, повторяют действия по созданию таблиц алфавитов для строчных и прописных букв, до тех пор, пока не будет достигнут конец списка алфавитных систем, не основанных на латинской графике с числом строчных букв меньших двадцати шести; Таблицы алфавитов объединяют по порядку номеров в одну Большую Таблицу Алфавитов, полученная Большая Таблица Алфавитов является Таблицей Пользовательского Набора Символов.
  • 9.
    29212 9 Пользовательские Наборы Символов, полученныев примерах 1 и 2, определяют код каждого символа, расположенного в ячейках таблицы по следующей формуле: CU - код символа, расположенного в ячейке с номером строки R и номером S столбца. CU = R × 10 + S; В полученных кодах одинаковые символы в разных ячейках Таблицы Пользовательского Набора Символов и, фонетически или графически, похожие буквы с кодами из Базовой Области имеют одинаковые две последние цифры в десятичном счислении, только некоторые буквы из Переменной Части не подчиняются этому правилу. Теперь можно создать программные продукты “Кодер” или аппаратное устройство “Кодер”, использующий полученные матрицы и код, в вычислительной среде, имеющей цифровые клавиши (физические или виртуальные) и вводить символы из Пользовательского Набора Символов нажатием цифровых клавиш, набирая цифры кода символа. Хотя настоящее изобретение было представлено и описано со ссылкой на конкретные примерные варианты его воплощения, для специалиста в данной области техники понятно, что различные изменения по форме и деталям могут быть выполнены в нем, без выхода за пределы сущности и объема изобретения, которые определены приложенной формулой изобретения. ФОРМУЛА ИЗОБРЕТЕНИЯ Способ кодирования наборов символов для ввода цифровыми клавишами, применяя таблицы, при котором составляют нумерованный список алфавитных письменных систем, основанных на латинской графике, входящих в заданный набор символов, за исключением английского алфавита, составляют нумерованный список алфавитных письменных систем, не основанных на латинской графике, входящих в заданный набор символов, с числом строчных букв, меньшим двадцати шести, составляют нумерованный список алфавитных письменных систем, не основанных на латинской графике, входящих в заданный набор символов, с числом строчных букв, не меньшим двадцати шести, составляют нумерованный список иероглифических письменных систем, входящих в заданный набор символов, создают элементарную таблицу, в которой верхняя или нижняя из строк заполняется номерами столбцов, а левая или правая из столбцов заполняется номерами строк, рабочую часть таблицы делят на постоянную часть, содержащую не менее девятнадцати ячеек, и переменную часть, содержащую не менее двадцати шести ячеек, в постоянной части размещают графические изображения или/и коды арабских цифр и знака пробела с получением таблицы основного шаблона, создают копию основного шаблона и ячейки переменой части копии основного шаблона заполняют графическими изображениями или/и кодами строчных букв английского алфавита и графическими изображениями или/и кодами общеупотребительных символов с получением шаблон а алфавита, создают копию шаблона алфавита с получением таблицы строчных букв английского алфавита, присваивают ему номер ноль, создают копию таблицы строчных букв английского алфавита, заменяют графические изображения или/и коды строчных английских букв в ячейках копии таблицы строчных букв английского алфавита на соответствующие графические изображения или/и коды прописных букв английского алфавита с получением таблицы прописных букв английского алфавита, присваивают ему номер один, берут алфавитные письменные системы по порядку номеров в списке алфавитных письменных систем, основанных на латинской графике, создают копию таблицы ноль и графические изображения или/и коды строчных букв текущего алфавита, отличающихся от английских, располагают в переменой части копии таблицы ноль, заменяя графические изображения или/и коды расположенных там символов, таблице присваивают номер, увеличенный на один по сравнению с номером предыдущей таблицы алфавита, создают копию полученной таблицы со строчными буквами текущего алфавита, замещают графические изображения или/и коды строчных букв текущего алфавита в переменой части на соответствующие графические изображения или/и коды прописных букв текущего алфавита, таблице присваивают номер, увеличенный на один по сравнению с номером предыдущей таблицы алфавита, повторяют действия по созданию таблиц алфавитов для строчных и прописных букв текущего алфавита, рассматривая оставшийся неразмещённым набор букв как исходный набор букв, до тех пор, пока в таблицах не будут размещены графические изображения или/и коды всех букв текущего алфавита; повторяют действия по созданию таблиц алфавитов для строчных и прописных букв, до тех пор, пока не будет достигнут конец списка алфавитных систем, основанных на латинской графике; берут алфавитные письменные системы по порядку номеров в списке алфавитных письменных систем, не основанных на латинской графике с числом строчных букв, меньшим двадцати шести, создают копию таблицы алфавита ноль и графические изображения или/и коды строчных английских букв в копии таблицы алфавита ноль соответственно заменяют на графические изображения или/и коды аналогичных по звучанию или по начертанию строчных букв текущего алфавита, графические изображения или/и коды незамещённых английских букв в копии таблицы алфавита ноль заменяют графическими изображениями или/и кодами других строчных букв текущего алфавита, пока не закончатся строчные буквы текущего алфавита, оставшиеся незамещёнными буквы английского алфавита замещают графическими изображениями или/и кодами общеупотребительных символов, таблице присваивают номер, увеличенный на один по сравнению с номером предыдущей таблицы
  • 10.
    29212 10 алфавита, создают копиюполученной таблицы со строчными буквами текущего алфавита, замещают графические изображения или/и коды строчных букв текущего алфавита в копии таблицы алфавита ноль на соответствующие графические изображения или/и коды прописных букв текущего алфавита, таблице присваивают номер, увеличенный на один по сравнению с номером предыдущей таблицы алфавита, повторяют действия по созданию таблиц алфавитов для строчных и прописных букв, до тех пор, пока не будет достигнут конец списка алфавитных систем, не основанных на латинской графике, с числом строчных букв, меньшим двадцати шести; берут алфавитные письменные системы по порядку номеров в списке алфавитных письменных систем, не основанных на латинской графике, с числом строчных букв, не меньшим двадцати шести, создают копию таблицы алфавита ноль и графические изображения или/и коды строчных английских букв в копии таблицы алфавита ноль соответственно заменяют на графические изображения или/и коды аналогичных по звучанию или по начертанию строчных букв текущего алфавита, графические изображения или/и коды незамещённых английских букв в копии таблицы алфавита ноль заменяют графическими изображениями или/и кодами других строчных букв текущего алфавита, затем графические изображения или/и коды оставшихся букв текущего алфавита размещают в ячейках переменой части копии таблицы алфавита ноль, заменяя расположенные там графические изображения или/и коды символов, таблице присваивают номер, увеличенный на один по сравнению с номером предыдущей таблицы алфавита, создают копию полученной таблицы со строчными буквами текущего алфавита, замещают графические изображения или/и коды строчных букв текущего алфавита в копии таблицы со строчными буквами текущего алфавита на соответствующие графические изображения или/и коды прописных букв текущего алфавита, таблице присваивают номер, увеличенный на один по сравнению с номером предыдущей таблицы алфавита, повторяют действия по созданию таблиц алфавитов для строчных и прописных букв текущего алфавита, рассматривая оставшийся неразмещённый набор букв как исходный набор букв, до тех пор, пока в таблицах не будут размещены графические изображения или/и коды всех букв текущего алфавита, повторяют действия по созданию таблиц алфавитов для строчных и прописных букв, до тех пор, пока не будет достигнут конец списка алфавитных систем, не основанных на латинской графике с числом строчных букв, не меньшим двадцати шести; для иероглифических письменных систем выполняют следующие действия: берут иероглифические письменные системы по порядку номеров в списке иероглифических письменных систем, создают копию основного шаблона, и в ячейки переменой части копии основного шаблона заносят графические изображения или/и коды иероглифов текущей системы иероглифов, нумеруют таблицу, повторяют действия по созданию таблиц иероглифов вышеописанным методом, каждый раз увеличивая номер таблицы на единицу, до тех пор, пока не закончатся иероглифы данной иероглифической системы, затем для кодирования берут следующую иероглифическую систему в списке, повторяют действия по кодированию до тех пор, пока не будут закодированы все иероглифические системы в списке; символы, не попавшие ни в одну предыдущую таблицу, разделяют на классы по типам: математические, музыкальные и т.д., нумеруют классы, создают копию основного шаблона, заполняют его переменную часть графическими изображениями или/и кодами символов класса, нумеруют таблицу символов, размещают в копиях основного шаблона вышеописанным методом все символы класса, причём каждый раз увеличивают номер таблицы символов на один, при окончании размещения символов текущего класса переходят к размещению следующего класса, до окончания размещения всех классов символов, таблицы алфавитов объединяют по порядку номеров в одну большую таблицу алфавитов, таблицы символов объединяют по порядку номеров в одну большую таблицу символов, таблицы иероглифов объединяют по порядку номеров в одну большую таблицу иероглифов, большую таблицу алфавитов, большую таблицу символов и большую таблицу иероглифов объединяют в одну таблицу пользовательского набора символов, отличающийся тем, что рабочую часть элементарной таблицы составляют из десяти строк по десять столбцов, столбцы рабочей части элементарной таблицы нумеруют числами от 0 до 9 в десятичном исчислении, строки рабочей части элементарной таблицы нумеруют числами от 0 до 9 в десятичном исчислении.
  • 11.
  • 12.
  • 13.
  • 14.
  • 15.
  • 16.
  • 17.