ME103 Engineering Graphics
Indian Institute of Information Technology Design and
Manufacturing Kurnool
TOPICS
TOPICS
TOPICS
TOPICS
Course Outcomes: At the end of the course the students will be able to:
CO1 Understand the importance of Drawing / Graphics in the Engineering
CO2 Understand the standards and conventions of the engineering drawing
CO3 Visualization of various basic shapes and create their projections
CO4 Creating orthographic views from Solids and Isometric views from
views
CO5 Visualization and creation of sections, convolutions, involutes etc
Chapter 1
Overview of an
Engineering Drawing
TOPICS
Use of plane scales and representative fraction
B.I.S and I.S.O. conventions for drawings
Construction of basic shapes
Importance of engineering drawing
Engineering drawing instruments and uses
Drawing
The way of conveying the ideas through the systematic
lines on the paper.
The art of representation of an object by systematic
lines on a paper.
Drawing
Communicate the information or idea from one person
to another person.
Drawing
Describing any object/ information diagrammatically
Drawing
Engineering drawing is completely different from
artistic drawing, which are used to express
aesthetic, philosophical, and abstract ideas.
Engineering Drawing
Graphical representation of an object – Drawing
•Engineering drawing – A drawing of an object
that contains all information
-like actual shape, accurate size,manufacturing
methods, etc., required for its construction.
-No construction/manufacturing of any (man
-made) engineering objects is possible without
engineering drawing.
Engineering Drawing
The art of representation of engineering objects
e.g. buildings, roads, machines, etc.
Application of Engineering drawing
Application of Engineering drawing
Application of Engineering drawing
Application of Engineering drawing
Instruments used in engineering drawing
Instruments used in engineering drawing
Dimensions of Engineer’s
Drawing Boards
Designation Length x Width
(mm)
Recommended for
use with sheet
sizes
D0 1500 x 1000 A0
D1 1000 x 700 A1
D2 700 x 500 A2
D3 500 x 500 A3
D0 and D1 for drawing offices, for students use – D2
Standard sizes of drawing sheets as per BIS
Designation Size
(mm)
A0 841 x 1189
A1 594 x 841
A2 420 x 594
A3 297 x 420
A4 210 x 297
Drawing
Sheet Sizes
Drawing sheet Layout
Layout of the title box to
be adopted in this course
TITLE:
SCALE:
NAME:
ROLL NO:
EVALUATED BY
PLATE NO:
110 75
20
15
10
10
10
Instruments used in engineering drawing
Instruments used in engineering drawing
Instruments used in engineering drawing
ROLLER SCALE
 It consists of graduated roller, scale of 16 centimeters and
protractor.
 It is ideal for drawing vertical lines, horizontal lines, parallel
lines, angles and circles.
Instruments used in engineering drawing
Instruments used in engineering drawing
Instruments used in engineering drawing
Instruments used in engineering drawing
Instruments used in engineering drawing
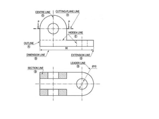
Basic Line Types
Types of Lines Appearance
Name according
to application
Continuous thick line Visible line
Continuous thin line Dimension line
Extension line
Leader line
Dash thick line Hidden line
Chain thin line Center line
NOTE : We will learn other types of line in later chapters.
Basic Line Types
Basic Line Types
Basic Line Types
Basic Line Types
Basic Line Types
Visible lines represent features that can be seen in the
current view
Meaning of Lines
Hidden lines represent features that can not be seen in
the current view
Center line represents symmetry, path of motion, centers
of circles, axis of axisymmetrical parts
Dimension and Extension lines indicate the sizes and
location of features on a drawing
Example : Line conventions in engineering drawing
Lettering – Writing of titles, sub-titles, dimensions,
scales and other details on a drawing
•Essential features of lettering – legibility, uniformity,
ease, rapidity, and suitability for microfilming/
photocopying/any other photographic processes
•No ornamental and embellishing style of letter
Plain letters and numerals which are clearly
distinguishable from each other in order to avoid any
confusion even in case of slight mutilations
Example Placement of the text on drawing
Dimension & Notes
Notes Title Block
Lettering – BIS: 9609
•Single stroke lettering for use in engineering
drawing – width of the stem of the letters and
numerals will be uniformly thick equal to thickness of
lines produced by the tip of the pencil.
•Single stroke does not mean – entire letter
written without lifting the pencil/pen
Lettering types
•Lettering A – Height of the capital letter is divided into
14 equal parts
•Lettering B – Height of the capital letter is divided into
10 equal parts
Heights of Letters and Numerals
•Height of the capital letters is equal to the height
of the numerals used in dimensioning
•Height of letters and numerals – different for
different purposes
Specifications of A -Type
Lettering
Specifications of B -Type
Lettering
Basic Strokes
Straight Slanted Curved
Horizontal
1 1 2
3
Examples : Application of basic stroke
“I” letter “A” letter 1
2
3
4 5
6
“B” letter
Suggested Strokes Sequence
Straight line
letters
Curved line
letters
Curved line
letters &
Numerals
Upper-case letters & Numerals
The text’ s body height is about 2/3 the height of a capital
letter.
Suggested Strokes Sequence
Lower-case letters
Stroke Sequence
I L T F
E H
D U P B
R J
Stroke Sequence
1 2
6
8 9
0
Stroke Sequence
S 3
Stroke Sequence
l i
Stroke Sequence
v w x k
z
Stroke Sequence
j y f
r
t
Stroke Sequence
c o a b
d p q e
Leave the space between words equal to the space
requires for writing a letter “O”.
Example
Sentence Composition
ALL DIMENSIONS ARE IN
MILLIMETERS
O O O
OUNLESS
OTHERWISE SPECIFIED.
O
Standards and Conventions
Standards and Conventions
No effective communication without an agreed upon
standard of signs or symbols.
Standards and conventions are the alphabet of technical
drawing, and plane, solid, and descriptive geometry are the
science(grammar) which underlies the graphics language.
Conventions – commonly accepted
practices, rules, or methods.
Dashed lines are used to represent
hidden features of an
engineering drawing..
Hidden lines – location of drilled hole’s
diameter, in a view where the hole
cannot be directly seen.
Drawing standards
ANSI – American National Standards Institute
ANSI Y14.1 1980 (R1987) – Drawing sheet size and format
ANSI Y 14.2M-1979 (R1987) – Line conventions and lettering
ANSI Y14.5M-1982(R1988) – Dimensioning and tolerances
ANSI Y 14.3-1975(R1987) – Multi view and sectional view drawings
ISO – International Standards Organization
JIS – Japanese Standards
BIS – Bureau of Indian Standards
Units of Measure
International systems of units (SI) – which is based on
the meter.
Millimeter (mm) - The common SI unit of measure on
engineering drawing.
Individual identification of linear units is not required if
all dimensions on a drawing are in the same unit (mm).
The drawing shall however contain a note:
ALL DIMENSIONS ARE IN MM. (Bottom left
corner outside the title box)
Dimensioning
➢ Indicating on a drawing, the size of the object and
other details essential for its construction and
function, using lines, numerals, symbols, notes, etc.
➢ Dimensions indicated on a drawing should be those
that are essential for the production, inspection and
functioning of the object.
➢ Dimensions indicated should not be mistaken as
those that are required to make the drawing of an
object.
An example
➢ Extension line – a thin, solid
perpendicular to a dimension
line
line,
indicating which feature is associated with
the dimension.
➢Visible gap – there should be a visible
gap of 1.5 mm between the feature’s
corners and the end of the extension line.
Leader line
❑ A thin, solid line used to indicate the feature with
which a dimension, note, or symbol is
associated.
❑ Generally a straight line drawn at an angle that is
neither horizontal nor vertical.
❑ Terminated with an arrow touching the part or
detail.
❑ On the end opposite the arrow, the leader line will
have a short, horizontal shoulder. Text is
extended from this shoulder such that the text
height is centered with the shoulder line
Arrows
3 mm wide and should be 1/3rd as wide as they are
long - symbols placed at the end of dimension lines to
show the limits of the dimension. Arrows are uniform
in size and style, regardless of the size of the drawing.
73
Spacing of Dimensions
Dimensioning of angles
75
Dimensioning of Circular Features
A circle should be dimensioned by giving its diameter
instead of radius. The dimension indicating a
diameter should always be preceded by the symbol ø,
8/11/2011
76
Dimensioning a Length
Depends on Available Space
77
Dimensioning Radii
Arcs of Circle Precede with ‘R’to distinguish from length
78
Geometric Construction
• Construction of primitive geometric
forms (points, lines and planes etc.) that
serve as the building blocks for more
complicated geometric shapes.
• Defining the position of the object in
space
Lines and Planes
Solids
Curved surfaces
Primitive geometric forms
• Point
• Line
• Plane
• Solid
• ……etc
The basic 2-D geometric primitives, from which
other more complex geometric forms are
derived.
➢Points,
➢Lines,
➢Circles, and
➢Arcs.
Point
that has neither
➢ A theoretical location
width, height, nor depth.
➢ Describes exact location in space.
➢ A point is represented in technical drawing
as a small cross made of dashes that are
approximately 3 mm long.
A point is used to mark the locations of centers
and loci, the intersection ends, middle of entities.
Line
➢ A geometric primitive that has length and
direction, but no thickness.
➢ It may be straight, curved or a combination of
these.
➢ conditions, such as parallel, intersecting, and
tangent.
➢ Lines – specific length and non-specific length.
➢ Ray – Straight line that extends to infinity from a
specified point.
Relationship of one line to another line or arc
Bisecting a line
Dividing a line into equal parts
• Draw a line MO at any convenient angle (preferably an acute
angle) from point M.
• From M and along MO, cut off with a divider equal divisions
(say three) of any convenient length.
• Draw a line joining RN.
• Draw lines parallel to RN through the remaining points on line
MO. The intersection of these lines with line MN will divide the
line into (three) equal parts.
Planar tangent condition exists when two
geometric forms meet at a single point and do
not intersect.
Locating tangent points on circle and arcs
Drawing an arc tangent to a given point on the line
Steps
• Given line
tangent
AB and
point T
.
Construct a line
perpendicular to line AB
and through point T.
•Locate the center of the
arc by making the radius
on the perpendicular line.
Put the point of the
compass at the center of
the arc, set the compass
for the radius of the arc,
and draw the arc which
will be tangent to the line
through the point T.
Drawing an arc, tangent to two lines
Drawing an arc, tangent to a line and
an arc
(a) that do not intersect (b) that intersect
Construction of Regular Polygon of given length AB
With the divider, divide the semicircle into the number of sides of the
polygon.
Draw a line joining A with the second division-point 2.
(A)
Draw a line of length AB.
semicircle.
(B)
With A as centre and radius AB, draw a
Construction of Regular Polygon of given length AB…...
The perpendicular bisectors of A2 and AB meet at O. Draw a circle with
centre O and radius OA. With length A2, mark points F, E, D & C on the
circumferences starting from 2 (Inscribe circle method)
With centre B and radius AB draw an arc cutting the line A6 produced at
C. Repeat this for other points D, E & F (Arc method)
(B)
(A)
General method of drawing any polygon
Draw AB = given length of polygon At B,
Draw BP perpendicular & = AB
Draw Straight line AP
With center B and radius AB, draw arc AP.
The perpendicular bisector of AB meets st.
line AP and arc AP in 4 and 6 respectively.
Draw circles with centers as 4, 5,&6 and radii
as 4B, 5B, & 6B and inscribe a square,
pentagon, & hexagon in the respective
circles.
Mark point 7, 8, etc with 6-7,7-8,etc. = 4-5 to
get the centers of circles of heptagon and
octagon, etc.
Inscribe a circle inside a regular polygon
any two
internal
of the
• Bisect
adjacent
angles
polygon.
• From the
intersection of these
lines, draw a
perpendicular to
any one side of the
polygon (say OP).
• With OP as radius,
draw the circle with
O as center.
Engineering Drawing
SCALES
Definition
A scale is defined as the ratio of the linear
dimensions of the object as represented in a
drawing to the actual dimensions of the
same.
• Drawings drawn with the same size as the objects are
called full sized drawing.
• It is not convenient, always, to draw drawings of the
object to its actualsize. e.g. Buildings,
Heavy
• Hence scales are used to prepare drawing at
• Full size
• Reduced size
• Enlarged size
Reducing scales 1:2 1:5 1:10
1:20 1:50 1:100
1:Y (Y>1) 1:200 1:500 1:1000
1:2000 1:5000 1:10000
Enlarging scales 50:1 20:1 10:1
X:1 (X>1) 5:1 2:1
Full size scales 1:1
BIS Recommended Scales
Intermediate scales can be used in exceptional cases
where recommended scales can not be applied for
functional reasons.
Types of
Scale
• Engineers Scale :
The relation between the dimension on the drawing and
the actual dimension of the object is mentioned
numerically (like 10 mm = 15 m).
• Graphical Scale:
Scale is drawn on the drawing itself. This takes care of the
shrinkage of the engineer’s scale when the drawing
becomes old.
Types of Graphical
Scale
• Plain Scale
• Diagonal Scale
• Vernier Scale
• Comparative scale
Representative fraction
(R.F.)
When a 1 cm long line in a drawing represents 1
meter length of the object,
R.F 
1cm

1cm

1
1 x m 100cm 100
Plain scale
• A plain scale consists of a line divided into suitable
number of equal units. The first unit is subdivided into
smaller parts.
• The zero should be placed at the end of the 1st main
unit.
• From the zero mark,the units should be
numbered to the right and the sub-divisions to the
left.
• The units and the subdivisionsshould be
labeled clearly.
• The R.F. should be mentioned below the scale.
Construct a scale of 1:4 to show centimeters and long
enough to measure up to 5 decimeters.
• R.F. = ¼
• Length of the scale = R.F. × max. length = ¼ × 5 dm= 12.5
cm.
• Draw a line 12.5 cm long and divide it in to 5 equal divisions, each
representing 1 dm.
• Mark 0 at the end of the first division and 1, 2, 3 and 4 at the end
of each subsequent division to its right.
• Divide the first division into 10 equal sub-divisions, each
representing 1 cm.
• Mark cm to the left of 0 as shown.
Question: Construct a scale of 1:4, to show centimeters and
long enough to measure up to 5 decimeters
•
instead of only a line.
•Draw the division lines showing decimeters throughout the width
of the scale.
•Draw thick and dark horizontal lines in the
middleof all alternate divisions and sub-divisions.
•Below the scale, print DECIMETERS on the
right hand side, CENTIMERTERS on the left hand side,
and R.F. in the middle.
FOR FULL SIZE SCALE
R.F.=1 OR ( 1:1 )
MEANS DRAWING
& OBJECT ARE OF
SAME SIZE.
Other RFs are described
as
1:10, 1:100,
1:1000, 1:1,00,000
SCALES
DIMENSIONS OF LARGE OBJECTS MUST BE REDUCED TO ACCOMMODATE
ON STANDARD SIZE DRAWING SHEET.THIS REDUCTION CREATES A SCALE
OF THAT REDUCTION RATIO, WHICH IS GENERALLY A FRACTION..
SUCH A SCALE IS CALLED REDUCING SCALE
AND
THAT RATIO IS CALLED REPRESENTATIVE FACTOR.
SIMILARLY IN CASE OF TINY OBJECTS DIMENSIONS MUST BE INCREASED
FOR ABOVE PURPOSE. HENCE THIS SCALE IS CALLED ENLARGING SCALE.
HERE THE RATIO CALLED REPRESENTATIVE FACTOR IS MORE THAN UNITY.
REPRESENTATIVE FACTOR (R.F.) =
=
=
=
A
USE FOLLOWING FORMULAS FOR THE CALCULATIONS IN THIS TOPIC.
B LENGTH OF SCALE = R.F. MAX. LENGTH TO BE MEASURED.
X
DIMENSION OF DRAWING
DIMENSION OF OBJECT
LENGTH OF DRAWING
ACTUAL LENGTH
AREA OF DRAWING
ACTUAL AREA
VOLUME AS PER DRWG.
ACTUAL VOLUME
V
V
3
0 1 2 3 4 5
10
PLAIN SCALE:-This type of scale represents two units or a unit and it’s sub-division.
METERS
DECIMETERS
R.F. = 1/100
4 M 6 DM
PLANE SCALE SHOWING METERS AND DECIMETERS.
PLAIN SCALE
PROBLEM NO.1:- Draw a scale 1 cm = 1m to read decimeters, to measure maximum distance of 6 m.
Show on it a distance of 4 m and 6 dm.
CONSTRUCTION:-
a) Calculate R.F.=
R.F.= 1cm/ 1m = 1/100
Length of scale = R.F. X max. distance
= 1/100 X 600 cm
= 6 cms
b) Draw a line 6 cm long and divide it in 6 equal parts. Each part will represent larger division unit.
c) Sub divide the first part which will represent second unit or fraction of first unit.
d) Place ( 0 ) at the end of first unit. Number the units on right side of Zero and subdivisions
on left-hand side of Zero. Take height of scale 5 to 10 mm for getting a look of scale.
e) After construction of scale mention it’s RF and name of scale as shown.
f) Show the distance 4 m 6 dm on it as shown.
DIMENSION OF DRAWING
DIMENSION OF OBJECT
Engineering Curves
19
Conic curves (conics)
Curvesformedby the intersection of a
plane with a right circular cone. e.g. Parabola,
hyperbola and ellipse
21
Right circular cone
is a cone that has a
circular base and
the axis is inclined
at 900 to the base
and passes through
the center of the
base.
22
Conic sections are always
"smooth". More precisely, they
never contain any inflection
points. This is important for
many applications, such as
aerodynamics, civil engg.,
mechanical engg, etc.
ENGINEERING CURVES
Part- I {Conic Sections}
ELLIPSE
1.Concentric Circle Method
2.Rectangle Method
3.Oblong Method
4.Arcs of Circle Method
5.Rhombus Metho
6.Basic Locus Method
(Directrix – focus)
HYPERBOLA
1.Rectangular Hyperbola
(coordinates given)
2 Rectangular Hyperbola
(P-V diagram - Equation given)
3.Basic Locus Method
(Directrix – focus)
PARABOLA
1.Rectangle Method
2 Method of Tangents
( Triangle Method)
3.Basic Locus Method
(Directrix – focus)
Methods of Drawing
Tangents & Normals
To These Curves.
Conic
Conic is defined as the locus of a point moving in a plane such that the
ratio of its distance from a fixed point and a fixed straight line is
always constant.
Fixed point is called Focus Fixed line is called Directrix
23
When eccentricity
< 1 Ellipse
=1 Parabola
> 1 Hyperbola
Distance of the point from the directric
Eccentrici ty 
Distance of the point from the focus
24
eg. when e=1/2, the curve is an Ellipse, when e=1, it is a parabola
and when e=2, it is a hyperbola.
Ellipse
25
An ellipse is
obtained when a
section plane,
inclined to the axis,
the
of the
cuts all
generators
cone.
CONIC SECTIONS
ELLIPSE, PARABOLA AND HYPERBOLA ARE CALLED CONIC SECTIONS
BECAUSE
THESE CURVES APPEAR ON THE SURFACE OF A CONE
WHEN IT IS CUT BY SOME TYPICAL CUTTING PLANES.
Section Plane
Through Generators
Ellipse
Section Plane Parallel
to end generator.
Section Plane
Parallel to Axis.
Hyperbola
OBSERVE
ILLUSTRATIONS
GIVEN BELOW..
ELLIPSE
DIRECTRIX-FOCUS METHOD
PROBLEM 6:- POINT F IS 50 MM FROM A LINE AB.A POINT P IS MOVING IN A PLANE
SUCH THAT THE RATIO OF IT’S DISTANCES FROM F AND LINE AB REMAINS CONSTANT
AND EQUALS TO 2/3 DRAW LOCUS OF POINT P. { ECCENTRICITY = 2/3 }
F ( focus)
V
ELLIPSE
(vertex)
A
B
STEPS:
1 .Draw a vertical line AB and point F
50 mm from it.
2 .Divide 50 mm distance in 5 parts.
3 .Name 2nd part from F as V. It is 20mm
and 30mm from F and AB line resp.
It is first point giving ratio of it’s
distances from F and AB 2/3 i.e 20/30
4 Form more points giving same ratio such
as 30/45, 40/60, 50/75 etc.
5.Taking 45,60 and 75mm distances from
line AB, draw three vertical lines to the
right side of it.
6. Now with 30, 40 and 50mm distances in
compass cut these lines above and below,
with F as center.
7. Join these points through V in smooth
curve.
This is required locus of P.It is an ELLIPSE.
45mm
A
B
V
PARABOLA
(VERTEX)
F
( focus)
1 2 3 4
PARABOLA
DIRECTRIX-FOCUS METHOD
SOLUTION STEPS:
1.Locate center of line, perpendicular to
AB from point F. This will be initial
point P and also the vertex.
2.Mark 5 mm distance to its right side,
name those points 1,2,3,4 and from
those
draw lines parallel to AB.
3.Mark 5 mm distance to its left of P and
name it 1.
4.Take O-1 distance as radius and F as
center draw an arc
cutting first parallel line to AB. Name
upper point P1 and lower point P2.
(FP1=O1)
5.Similarly repeat this process by taking
again 5mm to right and left and locate
P3P4.
6.Join all these points in smooth curve.
It will be the locus of P equidistance
from line AB and fixed point F.
PROBLEM 9: Point F is 50 mm from a vertical straight line AB.
Draw locus of point P, moving in a plane such that
it always remains equidistant from point F and line AB.
O
P1
P2
F ( focus)
V
(vertex)
A
B
30mm
HYPERBOLA
DIRECTRIX
FOCUS METHOD
PROBLEM 12:- POINT F IS 50 MM FROM A LINE AB.A POINT P IS MOVING IN A PLANE
SUCH THAT THE RATIO OF IT’S DISTANCES FROM F AND LINE AB REMAINS CONSTANT
AND EQUALS TO 2/3 DRAW LOCUS OF POINT P. { ECCENTRICITY = 2/3 }
STEPS:
1 .Draw a vertical line AB and point F
50 mm from it.
2 .Divide 50 mm distance in 5 parts.
3 .Name 2nd part from F as V. It is 20mm
and 30mm from F and AB line resp.
It is first point giving ratio of it’s
distances from F and AB 2/3 i.e 20/30
4 Form more points giving same ratio such
as 30/45, 40/60, 50/75 etc.
5.Taking 45,60 and 75mm distances from
line AB, draw three vertical lines to the
right side of it.
6. Now with 30, 40 and 50mm distances in
compass cut these lines above and below,
with F as center.
7. Join these points through V in smooth
curve.
This is required locus of P.It is an ELLIPSE.
Elliptical shape
Common Engineering Curves
Parabolic shape
20
Hyperbola
spiral
Roulettes
• Roulettes are curves generated by the rolling
contact of one curve or line on another curve or
line, without slipping.
• There are various types of roulettes.
• The most common types of roulettes used in
engineering practice are: Cycloids, Trochoids,
and Involutes.
CYCLOID:
IT IS A LOCUS OF A POINT ON THE
PERIPHERY OF A CIRCLE WHICH
ROLLS ON A STRAIGHT LINE PATH.
INVOLUTE:
IT IS A LOCUS OF A FREE END OF A STRING
WHEN IT IS WOUND ROUND A CIRCULAR POLE
SPIRAL:
IT IS A CURVE GENERATED BY A POINT
WHICH REVOLVES AROUND A FIXED POINT
AND AT THE SAME MOVES TOWARDS IT.
HELIX:
IT IS A CURVE GENERATED BY A POINT WHICH
MOVES AROUND THE SURFACE OF A RIGHT CIRCULAR
CYLINDER / CONE AND AT THE SAME TIME ADVANCES IN AXIAL DIRECTION
AT A SPEED BEARING A CONSTANT RATIO TO THE SPPED OF ROTATION.
( for problems refer topic Development of surfaces)
DEFINITIONS
SUPERIORTROCHOID:
IF THE POINT IN THE DEFINATION
OF CYCLOID IS OUTSIDE THE CIRCLE
INFERIOR TROCHOID.:
IF IT IS INSIDE THE CIRCLE
EPI-CYCLOID
IF THE CIRCLE IS ROLLING ON
ANOTHER CIRCLE FROM OUTSIDE
HYPO-CYCLOID.
IF THE CIRCLE IS ROLLING FROM
INSIDE THE OTHER CIRCLE,
Cycloid
Generating circle
Base line
A Cycloid is generated by a point on the circumference of a
circle rolling along a straight line without slipping
The rolling circle is called the Generating circle
The straight line is called the Directing line or Base line
Constructing a cycloid
➢ Generating circle has its center at C and has a radius of C-P’. Straight line PP’ is
equal in length to the circumference of the circle and is tangent to the circle at point
P’.
➢ Divide the circle into a number of equal segments, such as 12. Number the
intersections of the radii and the circle.
➢ From each point of intersection on the circle, draw a construction line parallel to line PP’
and extending up to line P’C’.
➢ Divide the line CC’ into the same number of equal parts, and number them. Draw
vertical lines from each point to intersect the extended horizontal centerline of the
circle. Label each point as C1, C2, C3, …. C12.
Constructing a cycloid (contd.)
Using point C1 as the center and radius of the circle C-P’, draw an arc that intersects
the horizontal line extended from point 1 at P1. Set the compass at point C2, then draw
an arc that intersects the horizontal line passing through point 2 at P2. Repeat this
process using points C3, C4, …. C12, to locate points along the horizontal line extended
from points 3, 4, 5, etc..
Draw a smooth curve connecting P1, P2, P3, etc to form the cycloid Draw normal NN
and Tangent TT
P
C1 C2 C3 C4 C5 C6 C7 C8
p1
p2
p3
p4
p5
p6
p7
p8
1
2
3
4
5
6
7
C
D
CYCLOID
PROBLEM 22: DRAW LOCUS OF A POINT ON THE PERIPHERY OF A CIRCLE
WHICH ROLLS ON STRAIGHT LINE PATH. Take Circle diameter as 50 mm
Solution Steps:
1) From center C draw a horizontal line equal to D distance.
2) Divide D distance into 8 number of equal parts and name them C1, C2, C3__ etc.
3) Divide the circle also into 8 number of equal parts and in clock wise direction, after P name 1, 2, 3 up to 8.
4) From all these points on circle draw horizontal lines. (parallel to locus of C)
5) With a fixed distance C-P in compass, C1 as center, mark a point on horizontal line from 1. Name it P.
6) Repeat this procedure from C2, C3, C4 upto C8 as centers. Mark points P2, P3, P4, P5 up to P8 on the
horizontal lines drawn from 2, 3, 4, 5, 6, 7 respectively.
7) Join all these points by curve. It is Cycloid.
Involute
An Involute is a curve traced by the free end of a thread
unwound from a circle or a polygon in such a way that
the thread is always tight and tangential to the circle or
side of the polygon
Construction of Involute
of circle
Draw the circle with c as center and CP as radius.
Draw line PQ = 2CP, tangent to the circle at P
Divide the circle into 12 equal parts. Number them as 1, 2…
Divide the line PQ into 12 equal parts and number as 1´, 2´…..
Draw tangents to the circle at 1, 2,3….
Locate points P1, P2 such that 1- P1 = P1´, 2-P2 = P2´….
Join P, P1, P2….
The tangent to the circle at any point on it is always normal to the its involute.
Join CN. Draw a semicircle with CN as diameter, cutting the circle at M.
MN is the normal.
INVOLUTE OF A CIRCLE
Problem no 17: Draw Involute of a circle.
String length is equal to the circumference of circle.
1 2 3 4 5 6 7 8
P
P8
1
2
3
4
5
6
7
8
P3
P4
4 to p
P5
P7
P6
P2
P1

D
A
Solution Steps:
1) Point or end P of string AP is
exactly D distance away from A.
Means if this string is wound round
the circle, it will completely cover
given circle. B will meet A after
winding.
2) Divide D (AP) distance into 8
number of equal parts.
3) Divide circle also into 8 number
of equal parts.
4) Name after A, 1, 2, 3, 4, etc. up
to 8 on D line AP as well as on
circle (in anticlockwise direction).
5) To radius C-1, C-2, C-3 up to C-8
draw tangents (from 1,2,3,4,etc to
circle).
6) Take distance 1 to P in compass
and mark it on tangent from point 1
on circle (means one division less
than distance AP).
7) Name this point P1
8) Take 2-B distance in compass
and mark it on the tangent from
point 2. Name it point P2.
9) Similarly take 3 to P, 4 to P, 5 to
P up to 7 to P distance in compass
and mark on respective tangents
and locate P3, P4, P5 up to P8 (i.e.
A) points and join them in smooth
curve it is an INVOLUTE of a given
circle.
ORTHOGRAPHIC PROJECTIONS:
Horizontal Plane (HP),
Vertical Frontal Plane ( VP )
Side Or Profile Plane ( PP)
Planes.
Pattern of planes & Pattern of views
Methods of drawing Orthographic Projections
Different Reference planes are
FV is a view projected on VP.
TV is a view projected on HP.
SV is a view projected on PP.
And
Different Views are Front View (FV), Top View (TV) and Side View (SV)
IMPORTANT TERMS OF ORTHOGRAPHIC PROJECTIONS:
IT IS A TECHNICAL DRAWING IN WHICH DIFFERENT VIEWS OF AN OBJECT
ARE PROJECTED ON DIFFERENT REFERENCE PLANES
OBSERVING PERPENDICULAR TO RESPECTIVE REFERENCE PLANE
1
2
3
Methods of Drawing Orthographic Projections
First Angle Projections Method
Here views are drawn
by placing object
in 1st Quadrant
( Fv above X-y, Tv below X-y )
Third Angle Projections Method
Here views are drawn
by placing object
in 3rd Quadrant.
( Tv above X-y, Fv below X-y )
FV
TV
X Y X Y
G L
TV
FV
SYMBOLIC
PRESENTATION
OF BOTH METHODS
WITH AN OBJECT
STANDING ON HP ( GROUND)
ON IT’S BASE.
3
NOTE:-
HP term is used in 1st Angle method
&
For the same
Ground term is used
in 3rd Angle method of projections
FOR T.V.
FIRST ANGLE
PROJECTION
IN THIS METHOD,
THE OBJECT IS ASSUMED TO BE
SITUATED IN FIRST QUADRANT
MEANS
ABOVE HP & INFRONT OF VP.
OBJECT IS INBETWEEN
OBSERVER & PLANE.
ACTUAL PATTERN OF
PLANES & VIEWS
IN
FIRST ANGLE METHOD
OF PROJECTIONS
X Y
VP
HP
PP
FV LSV
TV
FOR T.V.
IN THIS METHOD,
THE OBJECT IS ASSUMED TO BE
SITUATED IN THIRD QUADRANT
( BELOW HP & BEHIND OF VP. )
PLANES BEING TRANSPERENT
AND INBETWEEN
OBSERVER & OBJECT.
ACTUAL PATTERN OF
PLANES & VIEWS
OF
THIRD ANGLE PROJECTIONS
X Y
TV
THIRD ANGLE
PROJECTION
LSV FV
ORTHOGRAPHIC PROJECTIONS
{ MACHINE ELEMENTS }
OBJECT IS OBSERVED IN THREE DIRECTIONS.
THE DIRECTIONS SHOULD BE NORMAL
TO THE RESPECTIVE PLANES.
AND NOW PROJECT THREE DIFFERENT VIEWS ON THOSE PLANES.
THESE VEWS ARE FRONT VIEW , TOP VIEW AND SIDE VIEW.
FRONT VIEW IS A VIEW PROJECTED ON VERTICAL PLANE ( VP )
TOP VIEW IS A VIEW PROJECTED ON HORIZONTAL PLANE ( HP )
SIDE VIEW IS A VIEW PROJECTED ON PROFILE PLANE ( PP )
AND THEN STUDY NEXT 26 ILLUSTRATED CASES CAREFULLY.
TRY TO RECOGNIZE SURFACES
PERPENDICULAR TO THE ARROW DIRECTIONS
FIRST STUDY THE CONCEPT OF 1ST AND 3RD ANGLE
PROJECTION METHODS
FOR T.V.
FIRST ANGLE
PROJECTION
IN THIS METHOD,
THE OBJECT IS ASSUMED TO BE
SITUATED IN FIRST QUADRANT
MEANS
ABOVE HP & INFRONT OF VP.
OBJECT IS INBETWEEN
OBSERVER & PLANE.
ACTUAL PATTERN OF
PLANES & VIEWS
IN
FIRST ANGLE METHOD
OF PROJECTIONS
X Y
VP
HP
PP
FV LSV
TV
ACTUAL PATTERN OF
PLANES & VIEWS
OF
THIRD ANGLE PROJECTIONS
X
TV
LSV FV
IN THIS METHOD,
THE OBJECT IS ASSUMED TO BE
SITUATED IN THIRD QUADRANT
( BELOW HP & BEHIND OF VP. )
PLANES BEING TRANSPERENT
AND INBETWEEN
OBSERVER & OBJECT.
FOR T.V.
Y
THIRD ANGLE
PROJECTION
x y
FRONT VIEW
TOP VIEW
L.H.SIDE VIEW
FOR T.V.
PICTORIAL PRESENTATION IS GIVEN
DRAW THREE VIEWS OF THIS OBJECT
BY FIRST ANGLE PROJECTION METHOD
ORTHOGRAPHIC PROJECTIONS
1
FOR T.V.
X Y
FRONT VIEW
TOP VIEW
L.H.SIDE VIEW
ORTHOGRAPHIC PROJECTIONS
PICTORIAL PRESENTATION IS GIVEN
DRAW THREE VIEWS OF THIS OBJECT
BY FIRST ANGLE PROJECTION METHOD
2
FOR T.V.
ORTHOGRAPHIC PROJECTIONS
X Y
FRONT VIEW
TOP VIEW
L.H.SIDE VIEW
3
PICTORIAL PRESENTATION IS GIVEN
DRAW THREE VIEWS OF THIS OBJECT
BY FIRST ANGLE PROJECTION METHOD
FOR T.V.
ORTHOGRAPHIC PROJECTIONS
FRONT VIEW
TOP VIEW
L.H.SIDE VIEW
X Y
4
PICTORIAL PRESENTATION IS GIVEN
DRAW THREE VIEWS OF THIS OBJECT
BY FIRST ANGLE PROJECTION METHOD
FOR T.V.
ORTHOGRAPHIC PROJECTIONS
FRONT VIEW
TOP VIEW
L.H.SIDE VIEW
X Y
5
PICTORIAL PRESENTATION IS GIVEN
DRAW THREE VIEWS OF THIS OBJECT
BY FIRST ANGLE PROJECTION METHOD
FOR T.V.
ORTHOGRAPHIC PROJECTIONS
FRONT VIEW
TOP VIEW
L.H.SIDE VIEW
X Y
6
PICTORIAL PRESENTATION IS GIVEN
DRAW THREE VIEWS OF THIS OBJECT
BY FIRST ANGLE PROJECTION METHOD
FRONT VIEW
TOP VIEW
L.H.SIDE VIEW
X Y
FOR T.V.
ORTHOGRAPHIC PROJECTIONS
7
PICTORIAL PRESENTATION IS GIVEN
DRAW THREE VIEWS OF THIS OBJECT
BY FIRST ANGLE PROJECTION METHOD

Unit-1.ppt

  • 1.
    ME103 Engineering Graphics IndianInstitute of Information Technology Design and Manufacturing Kurnool
  • 2.
  • 3.
  • 4.
  • 5.
    TOPICS Course Outcomes: Atthe end of the course the students will be able to: CO1 Understand the importance of Drawing / Graphics in the Engineering CO2 Understand the standards and conventions of the engineering drawing CO3 Visualization of various basic shapes and create their projections CO4 Creating orthographic views from Solids and Isometric views from views CO5 Visualization and creation of sections, convolutions, involutes etc
  • 6.
    Chapter 1 Overview ofan Engineering Drawing
  • 7.
    TOPICS Use of planescales and representative fraction B.I.S and I.S.O. conventions for drawings Construction of basic shapes Importance of engineering drawing Engineering drawing instruments and uses
  • 8.
    Drawing The way ofconveying the ideas through the systematic lines on the paper. The art of representation of an object by systematic lines on a paper.
  • 9.
    Drawing Communicate the informationor idea from one person to another person.
  • 10.
    Drawing Describing any object/information diagrammatically
  • 11.
  • 12.
    Engineering drawing iscompletely different from artistic drawing, which are used to express aesthetic, philosophical, and abstract ideas.
  • 13.
  • 14.
    Graphical representation ofan object – Drawing •Engineering drawing – A drawing of an object that contains all information -like actual shape, accurate size,manufacturing methods, etc., required for its construction. -No construction/manufacturing of any (man -made) engineering objects is possible without engineering drawing.
  • 15.
    Engineering Drawing The artof representation of engineering objects e.g. buildings, roads, machines, etc.
  • 16.
  • 17.
  • 18.
  • 19.
  • 20.
    Instruments used inengineering drawing
  • 21.
    Instruments used inengineering drawing
  • 22.
    Dimensions of Engineer’s DrawingBoards Designation Length x Width (mm) Recommended for use with sheet sizes D0 1500 x 1000 A0 D1 1000 x 700 A1 D2 700 x 500 A2 D3 500 x 500 A3 D0 and D1 for drawing offices, for students use – D2
  • 23.
    Standard sizes ofdrawing sheets as per BIS Designation Size (mm) A0 841 x 1189 A1 594 x 841 A2 420 x 594 A3 297 x 420 A4 210 x 297
  • 24.
  • 25.
  • 26.
    Layout of thetitle box to be adopted in this course TITLE: SCALE: NAME: ROLL NO: EVALUATED BY PLATE NO: 110 75 20 15 10 10 10
  • 29.
    Instruments used inengineering drawing
  • 30.
    Instruments used inengineering drawing
  • 31.
    Instruments used inengineering drawing ROLLER SCALE  It consists of graduated roller, scale of 16 centimeters and protractor.  It is ideal for drawing vertical lines, horizontal lines, parallel lines, angles and circles.
  • 32.
    Instruments used inengineering drawing
  • 33.
    Instruments used inengineering drawing
  • 34.
    Instruments used inengineering drawing
  • 35.
    Instruments used inengineering drawing
  • 36.
    Instruments used inengineering drawing
  • 37.
    Basic Line Types Typesof Lines Appearance Name according to application Continuous thick line Visible line Continuous thin line Dimension line Extension line Leader line Dash thick line Hidden line Chain thin line Center line NOTE : We will learn other types of line in later chapters.
  • 38.
  • 39.
  • 40.
  • 41.
  • 42.
  • 43.
    Visible lines representfeatures that can be seen in the current view Meaning of Lines Hidden lines represent features that can not be seen in the current view Center line represents symmetry, path of motion, centers of circles, axis of axisymmetrical parts Dimension and Extension lines indicate the sizes and location of features on a drawing
  • 44.
    Example : Lineconventions in engineering drawing
  • 45.
    Lettering – Writingof titles, sub-titles, dimensions, scales and other details on a drawing •Essential features of lettering – legibility, uniformity, ease, rapidity, and suitability for microfilming/ photocopying/any other photographic processes •No ornamental and embellishing style of letter Plain letters and numerals which are clearly distinguishable from each other in order to avoid any confusion even in case of slight mutilations
  • 47.
    Example Placement ofthe text on drawing Dimension & Notes Notes Title Block
  • 48.
    Lettering – BIS:9609 •Single stroke lettering for use in engineering drawing – width of the stem of the letters and numerals will be uniformly thick equal to thickness of lines produced by the tip of the pencil. •Single stroke does not mean – entire letter written without lifting the pencil/pen
  • 49.
    Lettering types •Lettering A– Height of the capital letter is divided into 14 equal parts •Lettering B – Height of the capital letter is divided into 10 equal parts
  • 50.
    Heights of Lettersand Numerals •Height of the capital letters is equal to the height of the numerals used in dimensioning •Height of letters and numerals – different for different purposes
  • 51.
    Specifications of A-Type Lettering
  • 52.
    Specifications of B-Type Lettering
  • 53.
    Basic Strokes Straight SlantedCurved Horizontal 1 1 2 3 Examples : Application of basic stroke “I” letter “A” letter 1 2 3 4 5 6 “B” letter
  • 54.
    Suggested Strokes Sequence Straightline letters Curved line letters Curved line letters & Numerals Upper-case letters & Numerals
  • 55.
    The text’ sbody height is about 2/3 the height of a capital letter. Suggested Strokes Sequence Lower-case letters
  • 56.
  • 57.
    D U PB R J Stroke Sequence 1 2
  • 58.
  • 59.
  • 60.
  • 61.
  • 62.
  • 63.
    Leave the spacebetween words equal to the space requires for writing a letter “O”. Example Sentence Composition ALL DIMENSIONS ARE IN MILLIMETERS O O O OUNLESS OTHERWISE SPECIFIED. O
  • 64.
  • 65.
    Standards and Conventions Noeffective communication without an agreed upon standard of signs or symbols. Standards and conventions are the alphabet of technical drawing, and plane, solid, and descriptive geometry are the science(grammar) which underlies the graphics language.
  • 66.
    Conventions – commonlyaccepted practices, rules, or methods. Dashed lines are used to represent hidden features of an engineering drawing.. Hidden lines – location of drilled hole’s diameter, in a view where the hole cannot be directly seen.
  • 67.
    Drawing standards ANSI –American National Standards Institute ANSI Y14.1 1980 (R1987) – Drawing sheet size and format ANSI Y 14.2M-1979 (R1987) – Line conventions and lettering ANSI Y14.5M-1982(R1988) – Dimensioning and tolerances ANSI Y 14.3-1975(R1987) – Multi view and sectional view drawings ISO – International Standards Organization JIS – Japanese Standards BIS – Bureau of Indian Standards
  • 68.
    Units of Measure Internationalsystems of units (SI) – which is based on the meter. Millimeter (mm) - The common SI unit of measure on engineering drawing. Individual identification of linear units is not required if all dimensions on a drawing are in the same unit (mm). The drawing shall however contain a note: ALL DIMENSIONS ARE IN MM. (Bottom left corner outside the title box)
  • 69.
    Dimensioning ➢ Indicating ona drawing, the size of the object and other details essential for its construction and function, using lines, numerals, symbols, notes, etc. ➢ Dimensions indicated on a drawing should be those that are essential for the production, inspection and functioning of the object. ➢ Dimensions indicated should not be mistaken as those that are required to make the drawing of an object.
  • 70.
  • 71.
    ➢ Extension line– a thin, solid perpendicular to a dimension line line, indicating which feature is associated with the dimension. ➢Visible gap – there should be a visible gap of 1.5 mm between the feature’s corners and the end of the extension line.
  • 72.
    Leader line ❑ Athin, solid line used to indicate the feature with which a dimension, note, or symbol is associated. ❑ Generally a straight line drawn at an angle that is neither horizontal nor vertical. ❑ Terminated with an arrow touching the part or detail. ❑ On the end opposite the arrow, the leader line will have a short, horizontal shoulder. Text is extended from this shoulder such that the text height is centered with the shoulder line
  • 73.
    Arrows 3 mm wideand should be 1/3rd as wide as they are long - symbols placed at the end of dimension lines to show the limits of the dimension. Arrows are uniform in size and style, regardless of the size of the drawing. 73
  • 74.
  • 75.
  • 76.
    Dimensioning of CircularFeatures A circle should be dimensioned by giving its diameter instead of radius. The dimension indicating a diameter should always be preceded by the symbol ø, 8/11/2011 76
  • 77.
    Dimensioning a Length Dependson Available Space 77
  • 78.
    Dimensioning Radii Arcs ofCircle Precede with ‘R’to distinguish from length 78
  • 79.
    Geometric Construction • Constructionof primitive geometric forms (points, lines and planes etc.) that serve as the building blocks for more complicated geometric shapes. • Defining the position of the object in space
  • 80.
  • 81.
  • 82.
  • 83.
    Primitive geometric forms •Point • Line • Plane • Solid • ……etc
  • 84.
    The basic 2-Dgeometric primitives, from which other more complex geometric forms are derived. ➢Points, ➢Lines, ➢Circles, and ➢Arcs.
  • 85.
    Point that has neither ➢A theoretical location width, height, nor depth. ➢ Describes exact location in space. ➢ A point is represented in technical drawing as a small cross made of dashes that are approximately 3 mm long.
  • 86.
    A point isused to mark the locations of centers and loci, the intersection ends, middle of entities.
  • 87.
    Line ➢ A geometricprimitive that has length and direction, but no thickness. ➢ It may be straight, curved or a combination of these. ➢ conditions, such as parallel, intersecting, and tangent. ➢ Lines – specific length and non-specific length. ➢ Ray – Straight line that extends to infinity from a specified point.
  • 88.
    Relationship of oneline to another line or arc
  • 89.
  • 90.
    Dividing a lineinto equal parts • Draw a line MO at any convenient angle (preferably an acute angle) from point M. • From M and along MO, cut off with a divider equal divisions (say three) of any convenient length. • Draw a line joining RN. • Draw lines parallel to RN through the remaining points on line MO. The intersection of these lines with line MN will divide the line into (three) equal parts.
  • 91.
    Planar tangent conditionexists when two geometric forms meet at a single point and do not intersect.
  • 92.
    Locating tangent pointson circle and arcs
  • 93.
    Drawing an arctangent to a given point on the line Steps • Given line tangent AB and point T . Construct a line perpendicular to line AB and through point T. •Locate the center of the arc by making the radius on the perpendicular line. Put the point of the compass at the center of the arc, set the compass for the radius of the arc, and draw the arc which will be tangent to the line through the point T.
  • 94.
    Drawing an arc,tangent to two lines
  • 95.
    Drawing an arc,tangent to a line and an arc (a) that do not intersect (b) that intersect
  • 96.
    Construction of RegularPolygon of given length AB With the divider, divide the semicircle into the number of sides of the polygon. Draw a line joining A with the second division-point 2. (A) Draw a line of length AB. semicircle. (B) With A as centre and radius AB, draw a
  • 97.
    Construction of RegularPolygon of given length AB…... The perpendicular bisectors of A2 and AB meet at O. Draw a circle with centre O and radius OA. With length A2, mark points F, E, D & C on the circumferences starting from 2 (Inscribe circle method) With centre B and radius AB draw an arc cutting the line A6 produced at C. Repeat this for other points D, E & F (Arc method) (B) (A)
  • 98.
    General method ofdrawing any polygon Draw AB = given length of polygon At B, Draw BP perpendicular & = AB Draw Straight line AP With center B and radius AB, draw arc AP. The perpendicular bisector of AB meets st. line AP and arc AP in 4 and 6 respectively. Draw circles with centers as 4, 5,&6 and radii as 4B, 5B, & 6B and inscribe a square, pentagon, & hexagon in the respective circles. Mark point 7, 8, etc with 6-7,7-8,etc. = 4-5 to get the centers of circles of heptagon and octagon, etc.
  • 99.
    Inscribe a circleinside a regular polygon any two internal of the • Bisect adjacent angles polygon. • From the intersection of these lines, draw a perpendicular to any one side of the polygon (say OP). • With OP as radius, draw the circle with O as center.
  • 100.
  • 107.
    Definition A scale isdefined as the ratio of the linear dimensions of the object as represented in a drawing to the actual dimensions of the same.
  • 110.
    • Drawings drawnwith the same size as the objects are called full sized drawing. • It is not convenient, always, to draw drawings of the object to its actualsize. e.g. Buildings, Heavy • Hence scales are used to prepare drawing at • Full size • Reduced size • Enlarged size
  • 111.
    Reducing scales 1:21:5 1:10 1:20 1:50 1:100 1:Y (Y>1) 1:200 1:500 1:1000 1:2000 1:5000 1:10000 Enlarging scales 50:1 20:1 10:1 X:1 (X>1) 5:1 2:1 Full size scales 1:1 BIS Recommended Scales Intermediate scales can be used in exceptional cases where recommended scales can not be applied for functional reasons.
  • 112.
    Types of Scale • EngineersScale : The relation between the dimension on the drawing and the actual dimension of the object is mentioned numerically (like 10 mm = 15 m). • Graphical Scale: Scale is drawn on the drawing itself. This takes care of the shrinkage of the engineer’s scale when the drawing becomes old.
  • 113.
    Types of Graphical Scale •Plain Scale • Diagonal Scale • Vernier Scale • Comparative scale
  • 114.
    Representative fraction (R.F.) When a1 cm long line in a drawing represents 1 meter length of the object, R.F  1cm  1cm  1 1 x m 100cm 100
  • 115.
    Plain scale • Aplain scale consists of a line divided into suitable number of equal units. The first unit is subdivided into smaller parts. • The zero should be placed at the end of the 1st main unit. • From the zero mark,the units should be numbered to the right and the sub-divisions to the left. • The units and the subdivisionsshould be labeled clearly. • The R.F. should be mentioned below the scale.
  • 116.
    Construct a scaleof 1:4 to show centimeters and long enough to measure up to 5 decimeters. • R.F. = ¼ • Length of the scale = R.F. × max. length = ¼ × 5 dm= 12.5 cm. • Draw a line 12.5 cm long and divide it in to 5 equal divisions, each representing 1 dm. • Mark 0 at the end of the first division and 1, 2, 3 and 4 at the end of each subsequent division to its right. • Divide the first division into 10 equal sub-divisions, each representing 1 cm. • Mark cm to the left of 0 as shown.
  • 117.
    Question: Construct ascale of 1:4, to show centimeters and long enough to measure up to 5 decimeters • instead of only a line. •Draw the division lines showing decimeters throughout the width of the scale. •Draw thick and dark horizontal lines in the middleof all alternate divisions and sub-divisions. •Below the scale, print DECIMETERS on the right hand side, CENTIMERTERS on the left hand side, and R.F. in the middle.
  • 118.
    FOR FULL SIZESCALE R.F.=1 OR ( 1:1 ) MEANS DRAWING & OBJECT ARE OF SAME SIZE. Other RFs are described as 1:10, 1:100, 1:1000, 1:1,00,000 SCALES DIMENSIONS OF LARGE OBJECTS MUST BE REDUCED TO ACCOMMODATE ON STANDARD SIZE DRAWING SHEET.THIS REDUCTION CREATES A SCALE OF THAT REDUCTION RATIO, WHICH IS GENERALLY A FRACTION.. SUCH A SCALE IS CALLED REDUCING SCALE AND THAT RATIO IS CALLED REPRESENTATIVE FACTOR. SIMILARLY IN CASE OF TINY OBJECTS DIMENSIONS MUST BE INCREASED FOR ABOVE PURPOSE. HENCE THIS SCALE IS CALLED ENLARGING SCALE. HERE THE RATIO CALLED REPRESENTATIVE FACTOR IS MORE THAN UNITY. REPRESENTATIVE FACTOR (R.F.) = = = = A USE FOLLOWING FORMULAS FOR THE CALCULATIONS IN THIS TOPIC. B LENGTH OF SCALE = R.F. MAX. LENGTH TO BE MEASURED. X DIMENSION OF DRAWING DIMENSION OF OBJECT LENGTH OF DRAWING ACTUAL LENGTH AREA OF DRAWING ACTUAL AREA VOLUME AS PER DRWG. ACTUAL VOLUME V V 3
  • 119.
    0 1 23 4 5 10 PLAIN SCALE:-This type of scale represents two units or a unit and it’s sub-division. METERS DECIMETERS R.F. = 1/100 4 M 6 DM PLANE SCALE SHOWING METERS AND DECIMETERS. PLAIN SCALE PROBLEM NO.1:- Draw a scale 1 cm = 1m to read decimeters, to measure maximum distance of 6 m. Show on it a distance of 4 m and 6 dm. CONSTRUCTION:- a) Calculate R.F.= R.F.= 1cm/ 1m = 1/100 Length of scale = R.F. X max. distance = 1/100 X 600 cm = 6 cms b) Draw a line 6 cm long and divide it in 6 equal parts. Each part will represent larger division unit. c) Sub divide the first part which will represent second unit or fraction of first unit. d) Place ( 0 ) at the end of first unit. Number the units on right side of Zero and subdivisions on left-hand side of Zero. Take height of scale 5 to 10 mm for getting a look of scale. e) After construction of scale mention it’s RF and name of scale as shown. f) Show the distance 4 m 6 dm on it as shown. DIMENSION OF DRAWING DIMENSION OF OBJECT
  • 120.
  • 121.
    Conic curves (conics) Curvesformedbythe intersection of a plane with a right circular cone. e.g. Parabola, hyperbola and ellipse 21 Right circular cone is a cone that has a circular base and the axis is inclined at 900 to the base and passes through the center of the base.
  • 122.
    22 Conic sections arealways "smooth". More precisely, they never contain any inflection points. This is important for many applications, such as aerodynamics, civil engg., mechanical engg, etc.
  • 123.
    ENGINEERING CURVES Part- I{Conic Sections} ELLIPSE 1.Concentric Circle Method 2.Rectangle Method 3.Oblong Method 4.Arcs of Circle Method 5.Rhombus Metho 6.Basic Locus Method (Directrix – focus) HYPERBOLA 1.Rectangular Hyperbola (coordinates given) 2 Rectangular Hyperbola (P-V diagram - Equation given) 3.Basic Locus Method (Directrix – focus) PARABOLA 1.Rectangle Method 2 Method of Tangents ( Triangle Method) 3.Basic Locus Method (Directrix – focus) Methods of Drawing Tangents & Normals To These Curves.
  • 124.
    Conic Conic is definedas the locus of a point moving in a plane such that the ratio of its distance from a fixed point and a fixed straight line is always constant. Fixed point is called Focus Fixed line is called Directrix 23
  • 125.
    When eccentricity < 1Ellipse =1 Parabola > 1 Hyperbola Distance of the point from the directric Eccentrici ty  Distance of the point from the focus 24 eg. when e=1/2, the curve is an Ellipse, when e=1, it is a parabola and when e=2, it is a hyperbola.
  • 126.
    Ellipse 25 An ellipse is obtainedwhen a section plane, inclined to the axis, the of the cuts all generators cone.
  • 127.
    CONIC SECTIONS ELLIPSE, PARABOLAAND HYPERBOLA ARE CALLED CONIC SECTIONS BECAUSE THESE CURVES APPEAR ON THE SURFACE OF A CONE WHEN IT IS CUT BY SOME TYPICAL CUTTING PLANES. Section Plane Through Generators Ellipse Section Plane Parallel to end generator. Section Plane Parallel to Axis. Hyperbola OBSERVE ILLUSTRATIONS GIVEN BELOW..
  • 128.
    ELLIPSE DIRECTRIX-FOCUS METHOD PROBLEM 6:-POINT F IS 50 MM FROM A LINE AB.A POINT P IS MOVING IN A PLANE SUCH THAT THE RATIO OF IT’S DISTANCES FROM F AND LINE AB REMAINS CONSTANT AND EQUALS TO 2/3 DRAW LOCUS OF POINT P. { ECCENTRICITY = 2/3 } F ( focus) V ELLIPSE (vertex) A B STEPS: 1 .Draw a vertical line AB and point F 50 mm from it. 2 .Divide 50 mm distance in 5 parts. 3 .Name 2nd part from F as V. It is 20mm and 30mm from F and AB line resp. It is first point giving ratio of it’s distances from F and AB 2/3 i.e 20/30 4 Form more points giving same ratio such as 30/45, 40/60, 50/75 etc. 5.Taking 45,60 and 75mm distances from line AB, draw three vertical lines to the right side of it. 6. Now with 30, 40 and 50mm distances in compass cut these lines above and below, with F as center. 7. Join these points through V in smooth curve. This is required locus of P.It is an ELLIPSE. 45mm
  • 129.
    A B V PARABOLA (VERTEX) F ( focus) 1 23 4 PARABOLA DIRECTRIX-FOCUS METHOD SOLUTION STEPS: 1.Locate center of line, perpendicular to AB from point F. This will be initial point P and also the vertex. 2.Mark 5 mm distance to its right side, name those points 1,2,3,4 and from those draw lines parallel to AB. 3.Mark 5 mm distance to its left of P and name it 1. 4.Take O-1 distance as radius and F as center draw an arc cutting first parallel line to AB. Name upper point P1 and lower point P2. (FP1=O1) 5.Similarly repeat this process by taking again 5mm to right and left and locate P3P4. 6.Join all these points in smooth curve. It will be the locus of P equidistance from line AB and fixed point F. PROBLEM 9: Point F is 50 mm from a vertical straight line AB. Draw locus of point P, moving in a plane such that it always remains equidistant from point F and line AB. O P1 P2
  • 130.
    F ( focus) V (vertex) A B 30mm HYPERBOLA DIRECTRIX FOCUSMETHOD PROBLEM 12:- POINT F IS 50 MM FROM A LINE AB.A POINT P IS MOVING IN A PLANE SUCH THAT THE RATIO OF IT’S DISTANCES FROM F AND LINE AB REMAINS CONSTANT AND EQUALS TO 2/3 DRAW LOCUS OF POINT P. { ECCENTRICITY = 2/3 } STEPS: 1 .Draw a vertical line AB and point F 50 mm from it. 2 .Divide 50 mm distance in 5 parts. 3 .Name 2nd part from F as V. It is 20mm and 30mm from F and AB line resp. It is first point giving ratio of it’s distances from F and AB 2/3 i.e 20/30 4 Form more points giving same ratio such as 30/45, 40/60, 50/75 etc. 5.Taking 45,60 and 75mm distances from line AB, draw three vertical lines to the right side of it. 6. Now with 30, 40 and 50mm distances in compass cut these lines above and below, with F as center. 7. Join these points through V in smooth curve. This is required locus of P.It is an ELLIPSE.
  • 131.
    Elliptical shape Common EngineeringCurves Parabolic shape 20 Hyperbola spiral
  • 132.
    Roulettes • Roulettes arecurves generated by the rolling contact of one curve or line on another curve or line, without slipping. • There are various types of roulettes. • The most common types of roulettes used in engineering practice are: Cycloids, Trochoids, and Involutes.
  • 133.
    CYCLOID: IT IS ALOCUS OF A POINT ON THE PERIPHERY OF A CIRCLE WHICH ROLLS ON A STRAIGHT LINE PATH. INVOLUTE: IT IS A LOCUS OF A FREE END OF A STRING WHEN IT IS WOUND ROUND A CIRCULAR POLE SPIRAL: IT IS A CURVE GENERATED BY A POINT WHICH REVOLVES AROUND A FIXED POINT AND AT THE SAME MOVES TOWARDS IT. HELIX: IT IS A CURVE GENERATED BY A POINT WHICH MOVES AROUND THE SURFACE OF A RIGHT CIRCULAR CYLINDER / CONE AND AT THE SAME TIME ADVANCES IN AXIAL DIRECTION AT A SPEED BEARING A CONSTANT RATIO TO THE SPPED OF ROTATION. ( for problems refer topic Development of surfaces) DEFINITIONS SUPERIORTROCHOID: IF THE POINT IN THE DEFINATION OF CYCLOID IS OUTSIDE THE CIRCLE INFERIOR TROCHOID.: IF IT IS INSIDE THE CIRCLE EPI-CYCLOID IF THE CIRCLE IS ROLLING ON ANOTHER CIRCLE FROM OUTSIDE HYPO-CYCLOID. IF THE CIRCLE IS ROLLING FROM INSIDE THE OTHER CIRCLE,
  • 134.
    Cycloid Generating circle Base line ACycloid is generated by a point on the circumference of a circle rolling along a straight line without slipping The rolling circle is called the Generating circle The straight line is called the Directing line or Base line
  • 135.
    Constructing a cycloid ➢Generating circle has its center at C and has a radius of C-P’. Straight line PP’ is equal in length to the circumference of the circle and is tangent to the circle at point P’. ➢ Divide the circle into a number of equal segments, such as 12. Number the intersections of the radii and the circle. ➢ From each point of intersection on the circle, draw a construction line parallel to line PP’ and extending up to line P’C’. ➢ Divide the line CC’ into the same number of equal parts, and number them. Draw vertical lines from each point to intersect the extended horizontal centerline of the circle. Label each point as C1, C2, C3, …. C12.
  • 136.
    Constructing a cycloid(contd.) Using point C1 as the center and radius of the circle C-P’, draw an arc that intersects the horizontal line extended from point 1 at P1. Set the compass at point C2, then draw an arc that intersects the horizontal line passing through point 2 at P2. Repeat this process using points C3, C4, …. C12, to locate points along the horizontal line extended from points 3, 4, 5, etc.. Draw a smooth curve connecting P1, P2, P3, etc to form the cycloid Draw normal NN and Tangent TT
  • 137.
    P C1 C2 C3C4 C5 C6 C7 C8 p1 p2 p3 p4 p5 p6 p7 p8 1 2 3 4 5 6 7 C D CYCLOID PROBLEM 22: DRAW LOCUS OF A POINT ON THE PERIPHERY OF A CIRCLE WHICH ROLLS ON STRAIGHT LINE PATH. Take Circle diameter as 50 mm Solution Steps: 1) From center C draw a horizontal line equal to D distance. 2) Divide D distance into 8 number of equal parts and name them C1, C2, C3__ etc. 3) Divide the circle also into 8 number of equal parts and in clock wise direction, after P name 1, 2, 3 up to 8. 4) From all these points on circle draw horizontal lines. (parallel to locus of C) 5) With a fixed distance C-P in compass, C1 as center, mark a point on horizontal line from 1. Name it P. 6) Repeat this procedure from C2, C3, C4 upto C8 as centers. Mark points P2, P3, P4, P5 up to P8 on the horizontal lines drawn from 2, 3, 4, 5, 6, 7 respectively. 7) Join all these points by curve. It is Cycloid.
  • 138.
    Involute An Involute isa curve traced by the free end of a thread unwound from a circle or a polygon in such a way that the thread is always tight and tangential to the circle or side of the polygon
  • 139.
    Construction of Involute ofcircle Draw the circle with c as center and CP as radius. Draw line PQ = 2CP, tangent to the circle at P Divide the circle into 12 equal parts. Number them as 1, 2… Divide the line PQ into 12 equal parts and number as 1´, 2´….. Draw tangents to the circle at 1, 2,3…. Locate points P1, P2 such that 1- P1 = P1´, 2-P2 = P2´…. Join P, P1, P2…. The tangent to the circle at any point on it is always normal to the its involute. Join CN. Draw a semicircle with CN as diameter, cutting the circle at M. MN is the normal.
  • 140.
    INVOLUTE OF ACIRCLE Problem no 17: Draw Involute of a circle. String length is equal to the circumference of circle. 1 2 3 4 5 6 7 8 P P8 1 2 3 4 5 6 7 8 P3 P4 4 to p P5 P7 P6 P2 P1  D A Solution Steps: 1) Point or end P of string AP is exactly D distance away from A. Means if this string is wound round the circle, it will completely cover given circle. B will meet A after winding. 2) Divide D (AP) distance into 8 number of equal parts. 3) Divide circle also into 8 number of equal parts. 4) Name after A, 1, 2, 3, 4, etc. up to 8 on D line AP as well as on circle (in anticlockwise direction). 5) To radius C-1, C-2, C-3 up to C-8 draw tangents (from 1,2,3,4,etc to circle). 6) Take distance 1 to P in compass and mark it on tangent from point 1 on circle (means one division less than distance AP). 7) Name this point P1 8) Take 2-B distance in compass and mark it on the tangent from point 2. Name it point P2. 9) Similarly take 3 to P, 4 to P, 5 to P up to 7 to P distance in compass and mark on respective tangents and locate P3, P4, P5 up to P8 (i.e. A) points and join them in smooth curve it is an INVOLUTE of a given circle.
  • 141.
    ORTHOGRAPHIC PROJECTIONS: Horizontal Plane(HP), Vertical Frontal Plane ( VP ) Side Or Profile Plane ( PP) Planes. Pattern of planes & Pattern of views Methods of drawing Orthographic Projections Different Reference planes are FV is a view projected on VP. TV is a view projected on HP. SV is a view projected on PP. And Different Views are Front View (FV), Top View (TV) and Side View (SV) IMPORTANT TERMS OF ORTHOGRAPHIC PROJECTIONS: IT IS A TECHNICAL DRAWING IN WHICH DIFFERENT VIEWS OF AN OBJECT ARE PROJECTED ON DIFFERENT REFERENCE PLANES OBSERVING PERPENDICULAR TO RESPECTIVE REFERENCE PLANE 1 2 3
  • 161.
    Methods of DrawingOrthographic Projections First Angle Projections Method Here views are drawn by placing object in 1st Quadrant ( Fv above X-y, Tv below X-y ) Third Angle Projections Method Here views are drawn by placing object in 3rd Quadrant. ( Tv above X-y, Fv below X-y ) FV TV X Y X Y G L TV FV SYMBOLIC PRESENTATION OF BOTH METHODS WITH AN OBJECT STANDING ON HP ( GROUND) ON IT’S BASE. 3 NOTE:- HP term is used in 1st Angle method & For the same Ground term is used in 3rd Angle method of projections
  • 162.
    FOR T.V. FIRST ANGLE PROJECTION INTHIS METHOD, THE OBJECT IS ASSUMED TO BE SITUATED IN FIRST QUADRANT MEANS ABOVE HP & INFRONT OF VP. OBJECT IS INBETWEEN OBSERVER & PLANE. ACTUAL PATTERN OF PLANES & VIEWS IN FIRST ANGLE METHOD OF PROJECTIONS X Y VP HP PP FV LSV TV
  • 163.
    FOR T.V. IN THISMETHOD, THE OBJECT IS ASSUMED TO BE SITUATED IN THIRD QUADRANT ( BELOW HP & BEHIND OF VP. ) PLANES BEING TRANSPERENT AND INBETWEEN OBSERVER & OBJECT. ACTUAL PATTERN OF PLANES & VIEWS OF THIRD ANGLE PROJECTIONS X Y TV THIRD ANGLE PROJECTION LSV FV
  • 164.
    ORTHOGRAPHIC PROJECTIONS { MACHINEELEMENTS } OBJECT IS OBSERVED IN THREE DIRECTIONS. THE DIRECTIONS SHOULD BE NORMAL TO THE RESPECTIVE PLANES. AND NOW PROJECT THREE DIFFERENT VIEWS ON THOSE PLANES. THESE VEWS ARE FRONT VIEW , TOP VIEW AND SIDE VIEW. FRONT VIEW IS A VIEW PROJECTED ON VERTICAL PLANE ( VP ) TOP VIEW IS A VIEW PROJECTED ON HORIZONTAL PLANE ( HP ) SIDE VIEW IS A VIEW PROJECTED ON PROFILE PLANE ( PP ) AND THEN STUDY NEXT 26 ILLUSTRATED CASES CAREFULLY. TRY TO RECOGNIZE SURFACES PERPENDICULAR TO THE ARROW DIRECTIONS FIRST STUDY THE CONCEPT OF 1ST AND 3RD ANGLE PROJECTION METHODS
  • 165.
    FOR T.V. FIRST ANGLE PROJECTION INTHIS METHOD, THE OBJECT IS ASSUMED TO BE SITUATED IN FIRST QUADRANT MEANS ABOVE HP & INFRONT OF VP. OBJECT IS INBETWEEN OBSERVER & PLANE. ACTUAL PATTERN OF PLANES & VIEWS IN FIRST ANGLE METHOD OF PROJECTIONS X Y VP HP PP FV LSV TV
  • 166.
    ACTUAL PATTERN OF PLANES& VIEWS OF THIRD ANGLE PROJECTIONS X TV LSV FV IN THIS METHOD, THE OBJECT IS ASSUMED TO BE SITUATED IN THIRD QUADRANT ( BELOW HP & BEHIND OF VP. ) PLANES BEING TRANSPERENT AND INBETWEEN OBSERVER & OBJECT. FOR T.V. Y THIRD ANGLE PROJECTION
  • 167.
    x y FRONT VIEW TOPVIEW L.H.SIDE VIEW FOR T.V. PICTORIAL PRESENTATION IS GIVEN DRAW THREE VIEWS OF THIS OBJECT BY FIRST ANGLE PROJECTION METHOD ORTHOGRAPHIC PROJECTIONS 1
  • 168.
    FOR T.V. X Y FRONTVIEW TOP VIEW L.H.SIDE VIEW ORTHOGRAPHIC PROJECTIONS PICTORIAL PRESENTATION IS GIVEN DRAW THREE VIEWS OF THIS OBJECT BY FIRST ANGLE PROJECTION METHOD 2
  • 169.
    FOR T.V. ORTHOGRAPHIC PROJECTIONS XY FRONT VIEW TOP VIEW L.H.SIDE VIEW 3 PICTORIAL PRESENTATION IS GIVEN DRAW THREE VIEWS OF THIS OBJECT BY FIRST ANGLE PROJECTION METHOD
  • 170.
    FOR T.V. ORTHOGRAPHIC PROJECTIONS FRONTVIEW TOP VIEW L.H.SIDE VIEW X Y 4 PICTORIAL PRESENTATION IS GIVEN DRAW THREE VIEWS OF THIS OBJECT BY FIRST ANGLE PROJECTION METHOD
  • 171.
    FOR T.V. ORTHOGRAPHIC PROJECTIONS FRONTVIEW TOP VIEW L.H.SIDE VIEW X Y 5 PICTORIAL PRESENTATION IS GIVEN DRAW THREE VIEWS OF THIS OBJECT BY FIRST ANGLE PROJECTION METHOD
  • 172.
    FOR T.V. ORTHOGRAPHIC PROJECTIONS FRONTVIEW TOP VIEW L.H.SIDE VIEW X Y 6 PICTORIAL PRESENTATION IS GIVEN DRAW THREE VIEWS OF THIS OBJECT BY FIRST ANGLE PROJECTION METHOD
  • 173.
    FRONT VIEW TOP VIEW L.H.SIDEVIEW X Y FOR T.V. ORTHOGRAPHIC PROJECTIONS 7 PICTORIAL PRESENTATION IS GIVEN DRAW THREE VIEWS OF THIS OBJECT BY FIRST ANGLE PROJECTION METHOD