File management
• A file is a named collection of related
information that is recorded on secondary
storage such as magnetic disks, magnetic
tapes and optical disks.
• A file is a sequence of bits, bytes, lines or
records whose meaning is defined by the files
creator and user.
Attributes of a File
• Name . It is the only information which is in human-
readable form.
• Identifier. The file is identified by a unique
tag(number) within file system.
• Type. It is needed for systems that support different
types of files.
• Location. Pointer to file location on device.
• Size. The current size of the file.
• Protection. This controls and assigns the power of
reading, writing, executing.
• Time, date, and user identification. This is the data for
protection, security, and usage monitoring.
File Types
File System Structure
A File Structure should be according to a required
format that the operating system can
understand.
• A file has a certain defined structure according to its type.
• A text file is a sequence of characters organized into lines.
• A source file is a sequence of procedures and functions.
• An object file is a sequence of bytes organized into blocks
that are understandable by the machine.
• When operating system defines different file structures, it
also contains the code to support these file structure. Unix,
MS-DOS support minimum number of file structure.
Files can be structured in several ways in which three
common structures.
File Structure 1
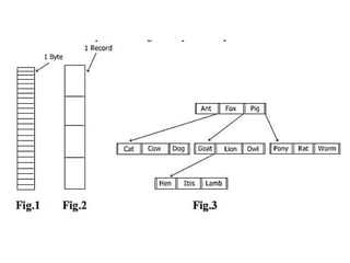
• The file is an unstructured sequence of bytes.
• Therefore, the OS doesn't care about what is in the file, as all it sees
are bytes.
File Structure 2
• file is a sequence of fixed-length records where each with some
internal structure.
• Central to the idea about a file being a sequence of records is the
idea that read operation returns a record and write operation just
appends a record.
File Structure 3
• A file basically consists of a tree of records, not necessarily all the
same length, each containing a key field in a fixed position in the
record. The tree is stored on the field, just to allow the rapid
searching for a specific key.
File Access method
• File access mechanism refers to the manner in
which the records of a file may be accessed.
There are several ways to access files
• Sequential access
• Direct/Random access
• Indexed sequential access
1. Sequential Access
• Data is accessed one record right after another is an order.
• Read command cause a pointer to be moved ahead by one.
• Write command allocate space for the record and move the
pointer to the new End of File.
• Such a method is reasonable for tape.
Advantages of sequential access
• It is simple to program and easy to design.
• Sequential file is best use if storage space.
Disadvantages of sequential access
• Sequential file is time consuming process.
• It has high data redundancy.
• Random searching is not possible.
2. Direct Access
• This method is useful for disks.
• The file is viewed as a numbered sequence of blocks or records
There are no restrictions on which blocks are read/written, it can be
fix in any order.
Advantages:
• Direct access file helps in online transaction processing system
(OLTP) like online railway reservation system.
• In direct access file, sorting of the records are not required.
• It accesses the desired records immediately.
• It updates several files quickly.
• Disadvantages:
• Direct access file does not provide backup facility.
• It is expensive.
• It has less storage space as compared to sequential file.
3.Indexed Sequential Access
• The main idea of this method is to first access the
file directly and then it accesses sequentially.
• In this access method, it is necessary for
maintaining an index.
• The index is nothing but a pointer to a block.
• The direct access of the index is made to access a
record in a file.
• The information which is obtained from this
access is used to access the file.
• Sometimes the indexes are very big.
Directory Structure
• A directory is a container that is used to contain
folders and file.
• It organizes files and folders into a hierarchical
manner.
1. Single-level directory
• Single level directory is simplest directory structure.
• In it all files are contained in same directory which make it easy to
support and understand.
• A single level directory has a significant limitation, however, when
the number of files increases or when the system has more than one
user.
• Since all the files are in the same directory, they must have the
unique name. if two users call their dataset test, then the unique
name rule violated.
2. Two-level directory
• In the two-level directory structure, each user has their own user
files directory (UFD).
• The UFDs has similar structures, but each lists only the files of a
single user.
• system’s master file directory (MFD) is searches whenever a new
user id=s logged in.
• The MFD is indexed by username or account number, and each
entry points to the UFD for that user.
3. Tree-structured directory
• This generalization allows the user to create their own
subdirectories and to organize on their files accordingly.
• A tree structure is the most common directory structure.
The tree has a root directory, and every file in the
system have a unique path.
Disk Organization
• A physical structure of disk is a memory storage
device which looks like this:
• Hard disk consists of a number of platters
• The platters rotate at a very high speed (5400 RPM
to 10,000 RPM)
• Disk (read/write) heads move over the platter
surface to read and write (magnetize) data bits.
• The disk head can read or write data only when the
desired disk surface area is under the disk head.
• Read-Write(R-W) head moves over the rotating
hard disk.
• To perform a read or write operation on a memory location, we
need to place the R-W head over that position.
1. Seek time – The time taken by the R-W head to reach the
desired track from it’s current position.
2. Rotational latency – Time taken by the sector to come under
the R-W head.
3. Data transfer time – Time taken to transfer the required
amount of data. It depends upon the rotational speed.
4. Controller time – The processing time taken by the controller.
5. Average Access time – seek time + Average Rotational latency
+ data transfer time + controller time.
tru
Logical Disk Structure
• Logical Disk Structure:
• The disk is divided into tracks.
• Each track is further divided into sectors.
• Basically, hard disk can be divided in the logical
structure in the following five logical terms:
• MBR (Master Boot Record)
• DBR (DOS Boot Record)
• FAT (File Allocation Tables)
• Root Directory
• Data Area
Free-Space Management
• File system maintains free-space list to track
available blocks/clusters Linked list (free list)
– Cannot get contiguous space easily
– No waste of space
– No need to traverse the entire list
1. Bitmap or Bit vector – A Bitmap or Bit Vector is
series or collection of bits where each bit
corresponds to a disk block.
The bit can take two values: 0 and 1: 0 indicates that
the block is allocated and 1 indicates a free block.
Advantages
• Simple to understand.
• Finding the first free block is efficient. It requires
scanning the words (a group of 8 bits) in a bitmap
for a non-zero word. (A 0-valued word has all bits
0). The first free block is then found by scanning
for the first 1 bit in the non-zero word.
• Linked Free Space List on Disk
In this approach, the free disk blocks are linked together i.e. a free
block contains a pointer to the next free block. The block number
of the very first disk block is stored at a separate location on disk
and is also cached in memory.

Unit 4 -Part 2 operating system 3bca madras university.pptx

  • 1.
    File management • Afile is a named collection of related information that is recorded on secondary storage such as magnetic disks, magnetic tapes and optical disks. • A file is a sequence of bits, bytes, lines or records whose meaning is defined by the files creator and user.
  • 2.
    Attributes of aFile • Name . It is the only information which is in human- readable form. • Identifier. The file is identified by a unique tag(number) within file system. • Type. It is needed for systems that support different types of files. • Location. Pointer to file location on device. • Size. The current size of the file. • Protection. This controls and assigns the power of reading, writing, executing. • Time, date, and user identification. This is the data for protection, security, and usage monitoring.
  • 4.
  • 5.
    File System Structure AFile Structure should be according to a required format that the operating system can understand. • A file has a certain defined structure according to its type. • A text file is a sequence of characters organized into lines. • A source file is a sequence of procedures and functions. • An object file is a sequence of bytes organized into blocks that are understandable by the machine. • When operating system defines different file structures, it also contains the code to support these file structure. Unix, MS-DOS support minimum number of file structure. Files can be structured in several ways in which three common structures.
  • 6.
    File Structure 1 •The file is an unstructured sequence of bytes. • Therefore, the OS doesn't care about what is in the file, as all it sees are bytes. File Structure 2 • file is a sequence of fixed-length records where each with some internal structure. • Central to the idea about a file being a sequence of records is the idea that read operation returns a record and write operation just appends a record. File Structure 3 • A file basically consists of a tree of records, not necessarily all the same length, each containing a key field in a fixed position in the record. The tree is stored on the field, just to allow the rapid searching for a specific key.
  • 8.
    File Access method •File access mechanism refers to the manner in which the records of a file may be accessed. There are several ways to access files • Sequential access • Direct/Random access • Indexed sequential access
  • 9.
    1. Sequential Access •Data is accessed one record right after another is an order. • Read command cause a pointer to be moved ahead by one. • Write command allocate space for the record and move the pointer to the new End of File. • Such a method is reasonable for tape. Advantages of sequential access • It is simple to program and easy to design. • Sequential file is best use if storage space. Disadvantages of sequential access • Sequential file is time consuming process. • It has high data redundancy. • Random searching is not possible.
  • 10.
    2. Direct Access •This method is useful for disks. • The file is viewed as a numbered sequence of blocks or records There are no restrictions on which blocks are read/written, it can be fix in any order. Advantages: • Direct access file helps in online transaction processing system (OLTP) like online railway reservation system. • In direct access file, sorting of the records are not required. • It accesses the desired records immediately. • It updates several files quickly. • Disadvantages: • Direct access file does not provide backup facility. • It is expensive. • It has less storage space as compared to sequential file.
  • 11.
    3.Indexed Sequential Access •The main idea of this method is to first access the file directly and then it accesses sequentially. • In this access method, it is necessary for maintaining an index. • The index is nothing but a pointer to a block. • The direct access of the index is made to access a record in a file. • The information which is obtained from this access is used to access the file. • Sometimes the indexes are very big.
  • 12.
    Directory Structure • Adirectory is a container that is used to contain folders and file. • It organizes files and folders into a hierarchical manner.
  • 13.
    1. Single-level directory •Single level directory is simplest directory structure. • In it all files are contained in same directory which make it easy to support and understand. • A single level directory has a significant limitation, however, when the number of files increases or when the system has more than one user. • Since all the files are in the same directory, they must have the unique name. if two users call their dataset test, then the unique name rule violated.
  • 14.
    2. Two-level directory •In the two-level directory structure, each user has their own user files directory (UFD). • The UFDs has similar structures, but each lists only the files of a single user. • system’s master file directory (MFD) is searches whenever a new user id=s logged in. • The MFD is indexed by username or account number, and each entry points to the UFD for that user.
  • 15.
    3. Tree-structured directory •This generalization allows the user to create their own subdirectories and to organize on their files accordingly. • A tree structure is the most common directory structure. The tree has a root directory, and every file in the system have a unique path.
  • 16.
    Disk Organization • Aphysical structure of disk is a memory storage device which looks like this:
  • 17.
    • Hard diskconsists of a number of platters • The platters rotate at a very high speed (5400 RPM to 10,000 RPM) • Disk (read/write) heads move over the platter surface to read and write (magnetize) data bits. • The disk head can read or write data only when the desired disk surface area is under the disk head. • Read-Write(R-W) head moves over the rotating hard disk.
  • 18.
    • To performa read or write operation on a memory location, we need to place the R-W head over that position. 1. Seek time – The time taken by the R-W head to reach the desired track from it’s current position. 2. Rotational latency – Time taken by the sector to come under the R-W head. 3. Data transfer time – Time taken to transfer the required amount of data. It depends upon the rotational speed. 4. Controller time – The processing time taken by the controller. 5. Average Access time – seek time + Average Rotational latency + data transfer time + controller time.
  • 19.
  • 20.
    • Logical DiskStructure: • The disk is divided into tracks. • Each track is further divided into sectors. • Basically, hard disk can be divided in the logical structure in the following five logical terms: • MBR (Master Boot Record) • DBR (DOS Boot Record) • FAT (File Allocation Tables) • Root Directory • Data Area
  • 21.
    Free-Space Management • Filesystem maintains free-space list to track available blocks/clusters Linked list (free list) – Cannot get contiguous space easily – No waste of space – No need to traverse the entire list
  • 22.
    1. Bitmap orBit vector – A Bitmap or Bit Vector is series or collection of bits where each bit corresponds to a disk block. The bit can take two values: 0 and 1: 0 indicates that the block is allocated and 1 indicates a free block. Advantages • Simple to understand. • Finding the first free block is efficient. It requires scanning the words (a group of 8 bits) in a bitmap for a non-zero word. (A 0-valued word has all bits 0). The first free block is then found by scanning for the first 1 bit in the non-zero word.
  • 24.
    • Linked FreeSpace List on Disk In this approach, the free disk blocks are linked together i.e. a free block contains a pointer to the next free block. The block number of the very first disk block is stored at a separate location on disk and is also cached in memory.