СтроитеnloСТВО
В.П. Покатоев, А.А. Токарев
КОНСТРУКЦИИ
Мt1ЛОЭТQЖНЬIХ
-здании
(ИНДИВИДУАЛЬНЫХ ДОМОВ, КОПЕДЖЕЙ, ДАЧ)
Учебно-практическое пособие
POCTOB-на-nОНУ
'l>ЕНИКС
2004
7~
ББК 38.4
П48
Рекомендовано
Учебно-методическим советом Ростовской
государственной академии архитектуры и искусства
в качестве ·учебного пособия для студентов, обучающихся
по специальности «Архитектура»
Покатаев В.П. Токарев А.А.
П 48 Конструкции малоэтажных зданий (индивидуальных до­
мов, коттеджей, дач). Учебно-практическое пособие. - Ро­
стов н/Д: Феникс, 2004. - 224 с. с илл. (Серия «Строи­
тельство». )
I
Книга является учебно-практическим пособием для проекти-
ровщиков и строителей малоэтажных зданий. Рассматриваются.
конструктивные решения фундаментов, стен, перегородок, перекры­
тий и покрытий с использованием традиционных и современных
отечественных и зарубежных материалов. Приводятся рекомендации
по технологии производства отдельных видов строительных работ.
Книга рекомендована как учебное пособие для студентов вузов
и колледжей, ведущих подготовку специалистов по архитектурным
и строительным направлениям, а также для проектировщиков, ин­
ДИl!lидуальных застройщиков, работников строительных организациЙ.
ББК 38.4
ISBN 5-222-04176-Х
@ Покатаев в.п. Токарев А.А., 2003
@ Оформление, изд-во .,Феникс», 2004
Предисловие
Современная тенденция массового строительства и реконст­
рукции малоэтажных зданий жилого и общественного назначе­
ния, возводимых индивидуальными застройщиками или специа­
лизированными организациями, определяет необходимость по­
лучения объективной информации по методам проектирования и
строительства таких зданий с использованием индустриальных
и неиндустриальных конструкций, современных конструктивных
и отделочных материалов, рациональных технологий.
В условиях ступенчатой подготовки специалистов архитек­
турного и строительного профилей особенно востребована учеб­
ная литература, которая содержит полный объем информации по
особенностям проектирования и возведения малоэтажных зданий,
что значительно сокращает время на поиски многих справочных
данных и позволяет получать ответы на вопросы, возникающие
в процессе учебного проектирования.
Предлагаемое пособие и имеет целью восполнить дефицит
специальной и учебной литературы по актуальной теме проекти­
рования и строительства малоэтажных зданий.
Книга включает четыре раздела, рассматривающих доста­
точно подробно общие сведения по проектированию, включая
обзорную информацию по выбору строительных материалов и
изделий, процессам строительства и обустройства малоэтажных
зданий. Изложение иллюстрируется большим количеством де­
тальных чертежей, которые дополняют текст.
Издание снабжено списком литературы, которая позволит
читателю при необходимости пополнить полученную в настоя­
щей книге информацию.
3
Глава 1
Общая часть
1.1. Учет природно-климатических условий
При строительстве здания важно в полной мере учесть npи­
родно-климаmческие условия района строительства, которые име­
ют существенное значение для принятия КОНСТРУКПIвных решений.
К факторам, связанным с природно-климатическими усло­
виями, относятся температура и влажность наружного воздуха,
высота снегового покрова, сила ветра, глубина сезонного про­
мерзания грунта, расположение грунтовых вод.
Расчетная зимняя температура наружного воздуха для при­
нятия решения о типе и толщине ограждающей конструкции (на­
ружных стен, подвального или цокольного перекрытия, крыши)
принимается как средняя температура наиболее холодной пяти­
дневки для массивных конструкций, а для ограждений из легких
конструкций (малой массивности) - средняя температура наи­
более холодных суток.
Для ограждений средней массивности принимают в каче­
стве расчетной среднюю температуру наиболее холодных трех
суток (как среднее арифметическое температур наиболее холод­
ных суток и наиболее холодной пятидневки).
Данные о температурах наружного воздуха можно получить
в ближайшей метеостанции либо в местной проектной организа­
ции, а также из СНиП «II-А.6072» «Строительная климатология
и геофизика».
4
Стены из сплошной кирпичной кладки из обыкновенного
глиняного и силикатного кирпича толщиной до 250 мм - сред­
ней массивнОСти.
Стены из бруса толщиной 100 мм являются ограждающими
конструкциями малой массивности, а толщиной 150 мм в усло­
виях эксплуатации «А» - средней массивности и в условиях экс­
плуатации «Б» - малой массивности.
Конструкции наружных ограждений устанавливаются так­
же с учетом влажности внутреннего воздуха помещений здания
и зоны влажности территории, где будет строиться здание.
Территория России имеет три зоны влажности: влажную,
нормальную и сухую (табл. 1.1.1).
Таблица 1.1.1
ЗОНЫ JЛажности
Город
терРИТОРИII России
Санкт-Петербург, Мурманск, Архангельск, Сочи,
Влажная Туапсе, Новороссийск, Анапа, Владивосток, о. Саха-
лин
Псков, Петрозаводск, Новгород, Курск, Брянск, Смо-
ленск, Тверь, Москва, Вологда, Тула, Рязань, Ниж-
Нормальная
ний Новгород, Киров, Чебоксары, Казань, Пермь,
Нижний Тагил, Тобольск, Томск, Тында, Благове-
щенск, Хабаровск, Майкоп, Ставрополь, Черкесск,
Нальчик, Дербент
Белгород, Воронеж, Липецк, Тамбов, Саранск, Пенза,
Ульяновск, Волгоград, Астрахань, Махачкала, Гроз-
ный, Краснодар, Ростов-на-Дону, Самара, Бугульма,
Сухая Уфа, Свердловск, Уральск, Оренбург, Челябинск,
Тюмень, Курган, Омск, Новосибирск, Кемерово, Но-
вокузнецк, Красноярск, Братск, Иркутск, Улан-Удэ,
Чита, Комсомольск-на-Амуре
Нагрузки от снега и ветра необходимо учитывать при уст­
ройстве конструкций здания (крыши, легких стен, веранд) в за­
висимости от ветрового и снегового режимов района строитель­
ства (табл. 1.1.2-1.1.4).
Масса снегового покрова на 1 м горизонтальной поверхности
5
в различных районах колеблется от 50 до 250 кг. Величина снего­
вой нагрузки в зависимости от территориального снегового райо­
на строительства и конструкции крыши приведена в табл. 1.1.2.
Таблица 1.1.2
Снего.м нагрузка, кrc/M1, • заВИСIIМОСТИ
СнегОIlОЙ от угла умона ската КРIdШИ
район
Город Одно- ДвУСкат-
террито-
00-25° Скатим HU 60°plm
25°-30° 20-30°РОССИII .
Калининград, Краснодар,
СЛаврополь,Ростов-на- Не
1 Дону, Астрахань, ЧJпа, 50 40 65 учпrы-
Благовещенск, Махачкала, вается
Владикавказ
Белгород, Вoлroград,
Уральск, Омск, Иркутск,
II Биробиджан, Хабаровск, 70 55 99 Тоже
Владивосток, Майкоп,
Нальчик, Грозный
с.-Петербург, Смоленск,
Брянск, Москва, Курск,
Воронеж, Саратов,
III Тамбов, Пенза, Ульяновск, 100 80 125 Тоже
Оренбург, Челябинск,
Свердловск, Тюмень,
Барнаул, Кокчетав
MYPl4aнcK, Архангельск,
Петрозаводск, Вологда,
Кострома, Нижний
Новгород, Казань, Самара,
IV
Киров, Сыктывкар,
150 120 190 Тоже
Нарьян-Мар, Салехард,
Нефтеюганск, Томск,
Кемерово, Новосибирск,
Прокопьевск, Красноярск,
Комсомольск-на-AмyJ)е
6
Скоростное давление ветра изменяется в зависимости от рай­
она строительства от 27 до 100 кгс/м2 вертикальной поверхности.
Районирование территории России по скоростным напорам
ветра приведено в табл. 1.1.3.
Таблица 1.1.3
Район с различ-
~ЫM даалением Город
8стра
Смоленск, Брянск, Тула, Калуга, Москва, Рязань, Влади-
1 мир, Кострома, Яуославль, Тверь, Новгород, Псков, Во-
логда, Иваново, Иошкар-Ола,
,
Белгород, Курск, Орел, Липецк, Воронеж, Тамбов, Пенза,
П Саранск, Ульяновск, Чебоксары, Казань, Уфа, Архан-
гельск, Пермь, Свердловск, Челябинск, Тюмень, Братск
III
Барнаул, Новосибирск, Томск, Кемерово, Красноярск,
Иркутск, Улан-Удэ, Благовещенск, Хабаровск
IV Краснодар
V Ставрополь
VI Горные и малоизученные районы
Таблица 1.1.4
Особе~ Уклон крltlШ,
CнCГOIIМ нагрузка, жrc/м'
BeI'J 080Й рIЙон
MeC'IНOC'I1f град
1 11 III IV V
OrкpЫTыe побережья 20 3 5 6 8 10
морей, озер, водохра- 40 7 9 12 15 19
НИЛИЩ, пустыни, сте-
ПИ,лесостепи, тундра
60 14 18 24 30 38
Лесные массивы и 20 2 3 4 5 6
другие местности, 40 4 6 7 10 12
равномерно покрытые
препятствиями высо- 60 9 12 16 25 25
той более 1О м
в табл. 1.1.4 даны величины ветровой нагрузки, учитьmае­
мые при подборе конструктивных решений крыши в зависимос­
ти от ветрового района строительства и особенностей местности.
7
1.2. Строительные материалы,
используемые для возведения здания
Для возведения малоэтажных гражданских зданий приме-
,
няют искусственные и природные каменные материалы в виде
кирпича, камней, мелких блоков, а также деревянные (бревна,
брус), различные облицовочные и теплоизоляционные материа­
лы, строительные растворы, бетон, металл и др.
Наиболее распространенными каменными материалами яв­
ляются кирпич и камни силикатные и керамические.
Каменные материалы
Каменные материалы используют для кладки фундаментов,
цоколей, столбов, стен, печей, а также в качестве заполнителей
бетонов и растворов.
К естествешIЫМ местным KaмeHIIbIM материалам относят
бутовый камень, гравий, щебень, песок.
Бутовый KaмelIb - это куски известняка, доломита, грани­
та, песчаника и других пород природного камня. Бут может быть
разным - плитчатым или постелистым. Используемый в основ­
ном для кладки фундаментов бутовый камень должен быть чис­
тым, без трещин, расслоений и других дефектов.
ГраВIIЙ - это мелкие окатанные в различной степени кам­
ни небольшого размера. Гравий бывает щебневидным, малоока­
танным, яйцевидным, хорошо ска-z:анным и т. п. Размеры гравия
по длине: мелкого 5-15 мм, среднего - 20-40 'Мм, крупного-
80 мм.
Щебень - камень такой же крупности, как и гравий. Полу­
чают щебень дроблением горных пород или искусственных кам­
ней.
Гравий и щебень используют в качестве заполнителей в раз­
личных бетонах. Щебень лучший заполнитель, чем гравий, он
имеет меньше примесей и более прочное сцепление с цементом в
смеси.
8
Песок состоит из зерен минералов и пород. Применяют его
для приготовления растворов, бетонов. Песок бывает речным,
озерным, горным, овражным. Овражный и горный необходимо
перед употреблением промыть и просеить.
ПО крупности зерен фракций песок делится на мелкий -
1-2 мм, средний - 2-2,5 мм и крупный - 2,5-3,5 мм. Круп­
ный и средний песок идет на приготовление бетонов, мелкий -
для кладочных и штукатурных растворов.
Искусственные матерналы - это кирпич, керамические,
силикатные и бетонные камни, блоки и плиты.
КерамичесlGIЙ mрпич изготовляется полнотелым или пус­
тотелыМ, а камни только пустотелыми. Обыкновенный кирпич
имеет размеры 250х120х65 мм, камни - 250х120х138 мм
(рис. 1.2.1). Применение пустотелых кирпича и камней в наруж­
ных стенах повышает их сопротивление теплопередаче и позво-
а
9
Рис. 1.2.1. Кирпич керамичес­
кий: а - одинарный 1l0лноте­
лый; б - щелевой одинарный
и утолщенный; в - камень ке­
рамический с вертикальными
пустотами
ляет уменьшить толщину стен. ПО прочности применяют марки
кирпича и камня 75 и 100.
Силикатиый кирпич имеет такие же размеры, как и кера­
мический, а утолщенный (модульный) отличается увеличенной
толщиной до 88 мм. Силикатный кирпич изготовляют и пусто­
телым. Силикатные камни - только пустотелые с вертикальны­
ми круглыми пустотами (углублениями) диаметром 30-32' мм,
замкнутыми с верхней стороны. Для возведения наружных стен
зданий применяют силикатный кирпич марок 75 и 100.
Для облицовки наружиых стеи, выполняемой одновремен­
но с кладкой, используют лицевые кирпичи и камни. По форме,
размерам и плотности они такие же как обыкновенные керами­
ческие, но имеют более гладкую однородную фактуру и цвет без
трещин на лицевых гранях. Широко применяется в качестве ли­
цевого керамический кирпич полусухого прессования.
. Стеновые бетонные камни сплошные и пустотелые, лице­
вые и рядовые изготовляют из тяжелых и легких (на пористых
заполнителях) бетонов на цементных силикатных и гипсовых
вяжущих. Применяют их для ограждающих (наружных и внут­
ренних) конструкций зданий. Они могут иметь форму полноте­
лых и пустотелых прямоугольных параллелепипедов
Камни подразделяют на целые (массой до 30 кг), продоль­
ные половинки и перегородочные (табл. 1.2.1).
Таблица 1.2.1
Тип стеновых бетонных камней
Размеры, мм
длина ширина высота
Целый камень 390 190 188
Продольная половинка 390 90 188
Перегородочный камень 590 90 188
Камни (блоки) из ячеистых бетонов применяют для кладки
наружных и внутренних стен зданий (рис. 1.2.2). Размеры бло­
ков приведены в табл. 1.2.2. Для стен помеiцений с мокрым ре­
жимом, а также для стен подвалов и цоколей применение их не
допускается.
10
Таблица 1.2.2
Камни (блоки) из IIЧСИСПоIХ БСТОНО8, мм
B.ICOTa Толщииа Длина
188
300
250 588
288
188 200 388
288 250 288
144 300
1119 250
588
300
88 250
200 398
Блоки бетонные для стен подвалов и фундаментов изготов­
ляют сплошными из тяжелого бетона, керамзитобетона и плот-
Рис. 1.2.2. Блок газосиликат­
ный мелкий стеновой
Рис. 1.2.3. Блок фундаментный
бетонный
ного силикатного бетона плотностью не менее 1800 кг/м3
(рис. 1.2.3). Выпускаются различные по размерам блоки для клад­
ки стен подвалов и цокольной части зданий. К наиболее удач­
ным для индивидуального строительства можно отнести блоки
размерами от 400х300х200 до 300х200х200 мм.
11
К широко распространенным строительным материалам
относятся материалы из древесины (круглые и пиленые).
Круглые лесоматериалы - это очищенные от коры и су­
чьев бревна, кряжи и тонкий кругляк. Бревна представляют со­
бой отрезки ствола с толщиной узкой части не менее 4 см. В
зависимости от положения бревен по высоте ствола их подраз­
деляют на вершинные, срединные и комлевые. Толстые корот­
кие бревна называет кряжами, лесоматериалы хвойных пород
толщиной (диаметром) 6-13 см называют подтоварни;ком, а
толщиной 3-7 см и длиной 3,5-6,5 м...- жердями. Круглые
лесоматериалы в зависимости от толщины делят на три груп­
пы: мелкие (6-13 см), средние (14.24 см) и крупные (25 см и
более).
Качество лесоматериалов можно определить внешним ос­
мотром и простукиванием. Трещины и расколы свидетельству­
ют о снижении прочности. Если при простукивании их обухом
топора издается глухой звук - это признак внутренней :гнили или
поражения древоточцами.
Пиломатериалы получают при продольном раскрое (распи­
ловке) бревен. В зависимости от направле!lИЯ раскроя различают
пиломатериалы радиальной, тангенциальной и смешанной рас­
пиловки.
Сортамент пиломатериалов, используемых в целом виде и
для выработки заготовок изделий и деталей конструкций, пред­
ставлен на рис. 1.2.4. Для «несущих» нагружающих конструкций
здания применяют пиломатериалы из древесины хвойных по­
род - сосны, ели, лиственницы, пихты, кедра. По характеру об­
работки различают пиломатериалы обрезные (ОПИl1енные со всех
четырех сторон), необрезные (опиленные с двух сторон, с неопи­
ленными или частично опиленными кромками) и односторонние
обрезные (горбыль).
По толщине пиломатер}{алы делят на толстые (от 40 мм для
хвойных пород и 35 мм и более - для лиственных) и тонкие (до
12
Рис. 1.2.4. Виды пиломатериалов: 0- 11ластина; б - двухкантный брус;
в - необрезная доска; г - четвертина; д - четырехкантный брус с
обзолом; е - полуобрезная доска с обзолом; Ж - горбыль; з­
чистообрезной брус; и - обрезная доска. 1 - обзол; 2 - ребро;
3 - пластина; 4 - торец
32 мм включительно). Тонкий сортамент пиломатериалов назы­
вают тесом. Пиломатериалы, имеющие ширину свыше двух тол­
щин - это доски, а не более двух толщин - бруски. Брусья име­
ют толщину и ширину от 130 до 250 мм, толщина брусков 50~
100, ширина 130-250 мм.
Пиломатериалы из твердых лиственных пород (дуб, ясень,
граб, лиственница) изготовляют длиной 0,5-6,5 м с градацией
0,1 м; из мягких лиственных и березы - длиной 0,5-2,0 м с
градацией 0,1 м, а при длине 2,0-6,5 м - с градацией 0,25 м.
Сортамент пиломатериалов из хвойных пород приведен в
таблице 1.2.3.
13
Таблица 1.2.3
Наименование Толщина ШИJина
Доски 13 80 90 100 110 130 150 - - - -
16 80 90 100 110 130 150 180 - - -
19 80 90 100 110 130 150 180 200 - -
22 80 90 100 110 130 150 180 200 - -
25 80 90 100 по 130 150 180 200 220 250
32 - - 100 110 130 150 180 200 220 250
40 - - 100 110 130 150 180 200 220 250
45 - - - - 130 150 - - - -
Бруски 50 - - 100 110 130 150 180 200 220 250
60 - - 100 - 130 150 180 200 220 250
70 80 - 100 - - 150 - 200 - -
75 - - 100 - 130 150 180 200 220 250
100 - - 100 - 130 150 180 200 220 250
Брусья 130 - - - - 130 150 180 - - -
150 - - - - - 150 180 200 - -
180 - - - - - - 180 - 220 -
200 - - - - - - - 200 - 250
220 - - - - - ~
- - 220 250
250 - - - - - - - - - 250
Заготовки - это доски, бруски и брусья, порезанные по за­
данным размерам. По видам обработки различают: пиленые,
клееные (изготовленные из нескольких заготовок путем склеи­
вания по длине, ширине, толщине), фрезерованные (обработан­
ные на станках до заданных размеров и форм) (рис. 1.2.5).
а б
в
Рис. 1.2.5. Заготовки: а - пиленые; б - клееные; в - фрезерован­
ные
14
l '
б
е ж
Рис. 1.2.6. ПрофИIIИ фрезеРО8анных изделий: а - раскладки; б -
доска пола; в - бруски и доски; г - отделочная доска; д - плин­
тусы; е - подоконник; ж - наличник
Фрезерованные заготовки с пазом и гребнем используются
для устройства полов, перегородок, потолков, облицовки стен,
1'. е. во всех случаях, где требуется плотное соединение между
досками. Для плинтусов, наличников, обшивок, раскладок, по­
ручней применяют ~аготовки, имеющие после фрезерования спе­
циальную форму сечения (рис. 1.2.6, 1.2.7).
15
а
~~
! 75-150 J
б
~
~
j 1
1- rJ ~
в
г
Рис. 1.2.7. Отделочная доска: а - с плоским профилем; б - с
четвертью; в - с пазом и гребнем (шпунтованная); г - рустованная
16
I Столярные плиты - это реечные щиты, оклеенные с обеих
сторон шпоном. Применяют для изготовления перегородок, две­
рей, встроенных шкафов.
Листовые материалы и изделия
Фанера представляет собой листовой материал, склеенный
из трех и более (до 13) слоев лущеного шпона. Толщина листов
фанеры 2+13 мм, листы толще 12 мм - фанерные плиты. Ши­
рина и длина листов до 2-3 м. По форме фанера может быть
плоская и профилированная. Встречается и березовая фанера по­
вышенной прочности: бакелизированная марки ФБС и армиро­
ванная.
Фанеру применяют для изготовления дверей, перегородок,
обшивки потолка и стен. Для отделочных работ используют фа­
неру, отделанную с лицевой стороны шпоном ценных пород дре­
весины, декоративными пластиками, пленочными и лакокрасоч­
ными покрытиями и др. Поверхность декоративно-отделочной
фанеры может быть цвета натуральной древесины и любого дру­
гого, глянцевой и матовой, отличаться высокой водо-химичес­
кой стойкостью.
ДревеСllо-стружечвые плиты (ДСП) по некоторым физи­
ко-механическим свойствам превосходят натуральную древеси­
ну: менее горючи, не коробятся, биостоЙки. Их выпускают дли­
ной 2440, 2750, 3500, 3660 и 5500 мм, шириной 1200, 1500,1750,
1830 и 2440 мм, толщиной 10-25 мм.
Лицевую поверхность плит облицовьmают шпоном различ­
ных пород древесины, искусственным шпоном, бумажно слоис­
тым пластиком, поливинилхлоридной пленкой, лакокрасочны­
ми покрытиями.
В современной архитектурно-строительной практике ДСП
применяются в каркасных конструкциях, при облицовке стен и
потолков, в основаниях под полы, для встроенной мебели и т. д.
ДревеСlIое ВОЛОКlшстые плиты (ДВП) - листовые древес-
ные материалы. По плотности различают: сверхтвердые - СТ
1~;liiiVlmE'fi~t;jtmf5im [f (3-6 мм), полутвердые - ПТ
I~(Шf~РУ~'tаr8:. 1taч.ы.Пlr~JJ..rшr't
Iн:'~:lJч~а.rаIП
fiВЗР7847
(4-8 мм), мягкие - М (8-25 мм). Размеры плит - от 1,2хl,0
до 3,5хl,8 м.
ЦемеНТIIO-стружеЧllые плиты (цеп) - листовой матери­
ал, характеризующийся высокой, прочностью, трудносгораемос­
тью, биостойкостью, отсутствием токсичности, относительной
легкостыо обработки. Листы выпускают размерами 1,25х3,6 м,
толщиной от 8 до 40 мм.
Фибролит - материал из тонких длинных древесных стру­
жек, скрепленных портландцементом. Фибролит выпускают в Dиде
плит длиной 2400 и ЗООО ММ, шириной 500, 600, 1200 мм и толщи­
ной ЗО, 50, 75, 100 мм. Плиты фибролита можно пилить и сверлить
обычными деревообрабатьmающими инструментами; в них легко
забиваются гвозди и ввертьmаются шурупы; они хорошо оштукату­
риваются и окрашивaю:rсst - прочно сцепляются с не затвердевшим
бетоном и надежно крепятся к поверхности бетонных и каменных
конструкций. Фибролит морозостоек, не з,!гнивает, не поражается
грызунами. По огнестойкости относится к трудно сгораемым мате­
риалам. Фибролитовые плиты применяIOТ для устройства стен и
перегородок зданий, а также в качестве утеплителя.
Арболит - легкий деревобетон на минеральном вяжущем.
Изделия из арболита применяют для устройства стен, перегоро­
док и теплоизоляции ограждающих конструкций зданий. Не ре­
комендуется использовать изделия из арболита для цоколей, кар­
низов зданий, а также стен подвалов.
Гипсокартовпые листы (или упрочненная сухая гипсовая
штукатурка) - облицовочный материал на основе гипса, пред­
назначенный для отделки стен, потолков и устройства сборных
перегородок. Гипсокартонные листы выпускают длиной от 2,5
до 4,8 м, шириной 600 и 1200, толщиной 8, 10, 12, 14, 16, 18, 20
и 25 мм. Картонная поверхность листов служит хорошим осно­
ванием для нанесения лакокрасочных покрытий и оклейки обо­
ями. Листы можно легко разрезать острым ножом, распиливать,
сверлить. Этот материал боится влаги, особенно постоянного ув­
лажнения. На основе гипсокартонных листов изготавливают об­
лицовочные панели, лицевая поверхность и торцы которых отде­
ланы декоративной ПВХ-пленкоЙ.
18
Вяжущие материмы
Вяжущие материалы используют для приготовления раство­
ров и бетона. При строительстве зданий в качестве вяжущих при­
меняют цемент, известь и в ограниченном количестве гипс. Свой­
ствами вяжущего обладает также глина. Самое высококачествен­
ное вяжущее - цемент. Бетон на цементном вяжущем обладает
высокой прочностью, долговечен, водостоек. Промышленность
выпускает цементы различных составов и марок:
При строительстве усадебного здания вполне пригоден це­
мент марки 300. Цемент следует хранить в сухом помещении,
так как, впитьmая влагу из воздуха, цемент слеживается, в нем
образуются комки. Цемент в открытом мешке можно хранить в
сухую погоду не более недели, в сырую - не более суток.
Воздушная известь - вяжущее для кладочного и штукатур­
ного растворов. Негашеную известь следует быстро погасить (зат­
ворить водой, тщательно перемешать и оставить полученное те­
сто на несколько недель до употребления), иначе она впитает из
воздуха влагу и углекислый газ и превратится внерастворимый
кальцит.
Для внутренних работ применяют гипс. Гипс строительный
(алебастр) - быстросхватывающее вяжущее (тонкий порошок бе­
лого или сероватого цвета). Гипс, добавленный в известковый
раствор, ускоряет его схватывание и увеличивает прочность. Из­
за быстрого схватывания большие порции гипса употреблять не­
возможно. Поэтому в него при затворении добавляют замедли­
тели - известковый раствор, животный клей. При схватывании
и твердении гипс увеличивается в объеме. Хранить гипс надо в
сухом месте.
ГЛlIна - вяжущий материал для приготовления глиняных
растворов, применяемых при кладке печей, глинобитных стен,
штукатурке и др. Различают тощие, средние и жирные глины.
Тощие применяются в чистом виде. В средние по жирности до­
бавляют немного песка, в жирные глины - много песка. Для
кладки внутренних частей печи из огнеупорного или тугоплавко­
го кирпича применяют огнеупорную глину.
19
Бетоны н растворы
Бетоны и растворы применяются практически при строитель­
стве каждого здания и сооружения. БетOlI состоит из смеси це­
мента, заполнителя и воды. В качестве заполнителя используют
песок и щебень различных фракций. Для строительства индиви­
дуальных зданий бетон готовят вручную или в небольших бето­
номешалках. Прочность бетона зависит от прочности заполните­
ля. Качество бетона снижают попавшие в него отходы древеси­
ны, стружка, битый кирпич, куски шлака, снега и льда.
Важнейшим составляющим бетона является вяжущее - це­
мент. Содержание различных компонентов в бетонной смеси оп­
ределяется рецептурой, соответствующей необходимой марке по
прочности. Не следует замешивать в бетон больше цемента, чем
необходимо. Само по себе это не дает прироста прочности, а на­
против, может привести к ее снижению в результате чрезмерной
усадки бетона и появлению в нем трещин. Не следует также при­
готавливать бетонную смесь с уменьшенным по сравнению с тре­
буемым количеством цемента из-за желания сэкономить вяжу­
щее. Бетон в этом случае имеет пониженную прочность и стано­
вится водопроницаемым.
Для каменной кладки фундаментов, цоколей, наружных и
внутренних стен, перегородок из бетонных блоков или кирпича
применяют цемеlIТllые, цемеIIТIIO-ГЛПНЯIIые и цемеIIТlIO-нзвест­
ковые растворы. Составы их подбирают, исходя из вида конст­
рукций и условий, в которых они будут эксплуатироваться. В
табл. 1.2.4. приведены составы растворов по объему с примене­
нием различных вяжущих (цементно-известковые и цементно­
глиняные), при этом расход вяжущего приведен в табл. 1.2.5.
Материалы, используемые для приготовления раствора, пред­
варительно просеивают на сите с ячейками 5х5 мм для штукатур­
ных работ и 10хl0 мм для каменных работ. При приroтовлении
цементного раствора сначала тщательно перемешивают отдозиро­
ванную смесь песка и цемента, затем добавляют требуемую пор­
цию воды и вновь тщательно перемешивают растворную смесь.
При приroтовлении смешанных цементно-известковых или цемен-
20
Таблица 1.2.4
Марка Марка раствора (цeMeнr, известь или глина, песОК)
вяжущего 100 75 50 25 10 4
А При оnюсительной W1ажноС1И воздуха помещений до 60 % и для Фундаменгов в маловлажныx J Ю'ПJCIA
400 1'0,4:4,5 1:0,5:5,6 1'0,9:8 - - -
300 1:0,2"3,5 1:0,3:4 1:0,6:6 1:1,4:10,5 - -
200 I
- 1:0,1:2,5 1'0,3:4 1:0,8:7 - -
150 - - - 1:0,3:4 1:1,2:9,5 -
100 - - - 1:0,1:2 1:0,5:5 -
50 - - - - 1:0,1:2,5 1:0,7:6
25 - - - - - 1:0,2:3
Б. При относительной влажности воздуха помещений свыше 60 % и для ФYIщаменroв во влажных гpyнrax
400 1:0,4:4,5 1:0,5:5,5 1:0,9:8 - - -
300 1:0,2.3,5 1:0,3:4 1'0,6.6
1: 1: 10,5
- -
1: 1: 9
1: 1: 9
200 - 1:0,1:2,5 1:0,3:4 1'0,8:7 -
1: 0,8: 7
150 - - - 1.0,3.4 1:0,5:5 -
100 - - - 10,1:2 - -
Примечание В числителе даны составы цементно-известковых растворов, в знаменателе - цементно-глиняных.
Таблица 1.2.5
Марка
Расход uжущего. кг/м)•• за.исимоcтll от марки распора
."жущего
100 75 50 25 10 4
255 200 140
400 -- -- -- - - -
зро 240 175
340 270 185 105
~OO -- -- -- -- - -
385 310 225 135
405· 280 155
200 - -- -- -- - -
445 325 190
• 206 93
150 - - - -- - -
240 110
310 14
100 - - - -- - -
330 165
280 120
50 - - - - -- --
320 145
240
25 - """' - - - --270
Примечание. В числителе даны расходы вяжущего на 1 м3 песка. в знамена­
теле - на 1 м3 раствора.
тно-глиняных растворов также сначала готовят сухую смесь песка
и цемента. затем в нее добавляют отдельно приготовленное изве­
стковое молоко (известъ:вода) или глина: вода. Составы известко­
вого и глиняного растворов по объему для надземной кладки при­
ведены соответственно в табл. 1.2.6. 1.2.7.
Таблица 1.2.6
ИзисткОJ!IoIЙ расI'lЮР
Состав paCТllopa по об1.с:му Марка
(IIЗIIССТКОIIОС тесто песок) paCТllopa
Воздушная известь·
l-гo сорта 1:4,5* 4
2-го сорта 1:4 4
Слабая гидравлическая известь 1:4,5 4
* Дозировка извести принята в виде теста плотностью 1400 Kr/M3•
22
Таблица 1.2.7
Соста. раствора по
Марка )астаора
ГлиНllН8lЙ растаор
об1.ему (глина песок) • сухом климате
• умеренно алажном
климате
На жирной глине 1:4 10 2
На глине средней
1:3 10 2
жирности
на тощей глине
1:2,5 10 2
или суглинке
Глиняные растворы'применяются для надземной кладки
преимущественно в сухом климате при нормальной влажности
воздуха помещений.
Материалы для кровель
. .
В качестве кровельных материалов для кровель применяют
черепицу, асбестоцементные листы, кровельную листовую ~талъ,
а также рулонные гидроизоляционные материалы и др.
К Достоинствам глиняной черепицы относятся оrnестойкость
и долговечность.
Недостатки: большая масса (до 65 кг/м2), хрупкость и необ­
ходимость устройства крыш с большим уклоном (не менее 300).
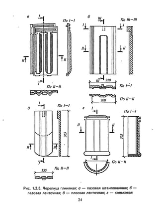
Черепица используется следующих типов: пазовая штампован­
ная, пазовая ленточная, плоская ленточная, волнистая ленточ­
ная, S-образная ленточная'И коньковая (рис. 1.2.8, табл. 1.2.8).
Из зарубежных образцов следует отметить черепицу BRAAS,
OREOL. ORМAX и др.
Асбестоцементные изделия обладают высокой прочностью
при изгибе. небольшой плотностью, малой теплопроводностью,
малой водопроницаемостью и высокой морозостойкостью.
Применяются следующие виды асбестоцементных изделий:
профилированные листы, плоские плиты. Профилированные ли­
сты могут быть обыкновенного (ВО) или усиленного (ВУ) про­
филя. Волнистые листы обыкновенного профиля для жилых зда-
23
о б
По /-/ ПоШ-Ш
'L I I
~.. ~.1
-~
-~
/ir
I~ I
I
11
·11
111
•
r--
...I
"По /1-/1
1. Ш~220 ..
~по/"":'/
~
в
L..t По /-/
~ По/l-/1
/г
~ По /-/
II
L.J
~
,---,~
""1<"""r--""'"1"I:"'-
~
/1 /1
i 1
iif
'- !./
rI
155 По /1-/1
t 1.
~
'---' ... /-1
W По /l-1I
( )
Рис. 1.2.8. Череп~ца глиняная: 0- пазОllая штампованная; б­
пазовая ленточная; в - плоская ленточная; г - коньковая
24
Таблица 1.2.8
- Кроющие (пonсзныс) размеры, мм ГабаРИImlе ра3мсры, мм
Черепица
длина Ширина
Дnина Ширина
Пазовая штаМПОllаннlUI 310 190 Не нормируете.
333 190 Тоже
347 208 »
Пазовая ленroчная 333:1:5 2000)
400:1:5 2200
333:1:5 1800
333:1:5 1400
- 1000
- 165:1:3
ПлоскlUI ленточная 160:1:5 ") 155:1:3 365±s-.) 155:1:3"""
-
Волниста. ленточнlUI 290±5 2000 350±5 2400
S-образная ленточная 333±5 175:1:3 300±5 245:1:3
,
ззз:М)
175:1:3 340:1:5 225:1:3
КОН.,КОllаи желобчатая Не нормируется 366М 2000
ний выпускают размерами 1200х686 мм, ТOJlЩИНОЙ 5,5 мм, а уси­
ленного профиля - размером 2600х1000 мм толщиной 8 мм.
Выпускаются также волнистые листы унифицированного
профиля (УВ), имеющие увеличенную высоту волн. Размер лис­
тов УВ: 1750+2500x1125 мм при толщине 6 и 7,5 мм (рис. 1.2.9,
табл. 1.2.9).
Основными материалами для металлических кровель явля­
ются сталь листовая кровельная и сталь тонколистовая оцинко­
ванная. Толщина стандартных кровельных листов - 0,45-1,0 мм,
размеры 710х1420 мм. Масса одного листа - 3,5-8,0 кг. Для
укрепления отдельных элементов металлических кровель на кры­
ше применяют различные изделия из стали (поковки) и Кр'епеж­
ный материал (гвозди, проволоку и др). Для огрунтовки И окрас­
ки металлических кровель используют олифы, лаки и краски.
Таблица 1.2.9
Вид Марка
Размеры. мм Масса
Длllна Ширина Толщина листа, кг
Волнистые:
обыкновенного ВО 1200 686 5,5 9
профиля
усиленного профиля ВУ-К 2800 1000 8 50
ву-с
унифицированного УВ-6-К 1750 1125 6 26
профиля (С) 2000 1125 6 30
2500 1125 6 37
УВ-7,5К 1750 1125 7,5 33
2000 1125 7,5 38
2500 1125 7,5 48
Средневолнистые С В-40 1250 1130 5,8 22
1750 1130 5,8 30
2500 1130 5,8 40
Примечание: индекс К - кровельные, С - стеновые.
Стеклопластиковые кровли выполняют из волнистых или
плоских ярко окрашенных листов из стеклопластика (прозрач­
ных и непрозрачных). Их размеры: длина - до 2 м, ширина -
до 1 М, толщина - 2 мм.
26
АСБЕСТОЦЕМЕНТНЫЕ КРОВЕЛЬНЫЕ ПЛИТКИ
Карнизная Краевая Окаймляющая
АСБЕСТОЦЕМЕНТНЫЕ ЛИСТЫ
волнистый полуволнистый
Обыкновенного
профиля
Усиленного профиля Усиленного профиля
Рис. 1.2.9. Кровельные изделия
Из стеклопластика выпускают и рулонный кровельный ма­
териал шириной 1м, длиной до 50 м при толщине 1,5-2 ММ. ЭТО
стеклохолст яркой окраски, наружная сторона которого пропита­
на синтетическим полимером. Стеклопластик приклеивают вна­
хлестку специальной мастикой.
27
Гофролисты изготавливают из оцинкованного железа на
специальном станке по длине ската крыши. Гофролист - надеж­
ная и красивая кровля, материал, удобный для самодеятельного
строителя. При всех преимуществах кровли из оцинкованного
металла, кровля из гофролиста не требует профессиональных
навыков и специального инструмента.
Тесовые КРОВЛII применяют для надворных построек - са­
раев, летних кухонь и др. Тес - тонкие доски толщиной 19-
25 мм и шириной 16-18 см. Их укладывают вдоль ската кровли
перпендикулярно коньку вразбежку или в два слоя. Для лучшего
стока воды наружные поверхности досок и их кромки отструги­
вают и около кромок выбирают желобки.
Рулонные кровельные материалы
РубеРОIIД бывает односторон:ним и двусторонним (покры­
тый тугоплавкими нефтяными битумами с одной или двух сто­
рон). По виду посыпки с лицевой стороны различают: с мелкой
минеральной посыпкой, с чешуйчатой посыпкой IIЗ слюдяного
сланца и с крупнозернистой посыпкой из песка (табл. 1.2.10).
Таблица 1.2.10
ВИД рулонного материала IМасса рулона,КГ I Ширина полотна,ММ IПлощ3д1o рулона,м'
Бumу,мные
Пергамин кровельный 13 1000; 1025; 1050 20±0,5
26 1000; 1025; 1050 40±0,5
15 1000; 1025; 1050 20±6,5
30 1000,1025; 1050 40±0,5
Рубероид.
- с крупнозернистой 27 750, 1000, 1025 10±0,5
посыпкой с одной
стороны
- с чешуйчатой по- 26 750; 1000; 1025 15±0.5
сыпкой с одной сто-
роны
- с мелкой мине- 26 750; 1000; 1025 15±0.5
ральной посыпкой с
двух сторон
28
Окончание табл. 1.2.10
Вид рулонного материала IMacca рулон&, Krl Ширина ПОЛ011l&, мм IПлощадь рулона, м-
дегтевые
Толь кровельный:
- гидроизоляцион- 20 750; 1000; 1025 30±О.5
ный без покровного
слоя И посыпки
- с песочной по- 18 750; 1000, 1025 15±О,5
сыпкой
- с крупнозернис- 25 750; 1000; 1025 10±O,5
той посыпкой
Толь-кожа без по- 20 750; 1000; 1025 30±О.5
кровного слоя и по-
сыпки
Рубероид односторонний предназначен для верхнего слоя
кровельного ковра, приклеивается горячей мастикой. Рубероид
двусторонний предназначается для всех слоев кровельного ков­
ра, приклеивается холодной мастикой.
Рубероид наплавляемый отличается от обычного тем, что в
заводских условиях на нижнюю поверхность рулона наносится
мастика, которая в присутствии растворителей обладает прикле­
ивающими свойствами. Растворители наносятся на поверхность
оснований по ровной, очищенной, сухой стяжке. Цементно-пес­
чаная стяжка грунтуется раствором битума в керосине или уайт­
спирите в соотношении 1:2 частей по массе. В качестве раствори­
телей могут быть уайт-спирит или керосин. Главное преимуще­
ство наплавляемого рубероида состоит в том, что при устройстве
кровли наклейка осуществляется без применения кровельной
мастики. Это повышает производительность труда на 50% и сни­
жает стоимость устраиваемой кровли.
БронироваНllЫЙ рубероид - это рубероид с цветной мине­
ральной посыпкой. Окрашенная посыпка не только улучшает его
внешний вид, но и в несколько раз уменьшает поглощение по­
крытием солнечных лучей, ускоряющих старение рубероида.
29
В Финляндии выпускают рубероид для этих целей покрытый пе­
нопластовыми шариками.
Гидроизол - беспокровный кровельный и гидроизоляцион­
ный материал. Основанием гидроизола служит асбестовая бума­
га. Лучшей асбестовой бумагой для изготовления гидроизола
ЯJ3ляется; асбеста-целлюлозная, имеющая в составе до 20% цел­
люлозы.
Стеклоруберонд - рулонный кровельный и гидроизоляци­
онный материал на стекловолокнистой основе, получаемый дву­
сторонним нанесением битумного вяжущего в смеси с наполни­
телем, пластификатором и антисептиком на стекловолокнистый
ХОЛСТ. В зависимости от вида посыпки на лицевой поверхности
стеклорубероид применяют для верхнего или нижнего слоев кро­
вельного ковра.
Фольгоизол - рулонный материал, состоящий из тонкой
рифленой или гладкой фольги, покрытой С нижней стороны за­
щитным битумно-резиновым антисептированным составом с
мелким н;аполнителем. Для фольгоизола применяется холодно­
тянутая алюминиевая фольга толщиной 0,08-0,3 мм. Наружная
поверхность фольгоизола может быть окрашена в различные цвета
атмосферостойкими красками и лаками с целью увеличения кор­
розионной стойкости. В силу отражательной способности фоль­
ги температура нагрева солнечными лучами кровли из этого ма­
териала на 200 ниже, чем у аналогичных кровель черного цвета.
Наклеивают фольгоизол с помощью битумной мастики.
Фольгорубероид является разновидностью рубероида. Вме­
сто крупнозернистой посыпки применяется рифленая алюминие­
вая фольга. Применяется для устройства верхнего слоя кровельно­
го покрытия в южных районах страны.
Фольгобитеп рулонный основный кровельный материал, в
котором основанием служит рифленая фольга, покрытая с одной
30
или двух сторон слоем битумно-полимерного вяжущего, смешан­
ного с минеральными наполнителями и антисептиками.
Гидростеклоизол выпускается кровельный и подкладочный.
В нем стеКлоткань с обеих сторон покрывается слоем битумного
вяжущего. Такой материал обладает большой гибкостью и гни­
лостоЙкостью. Полотна гидростеклоизола приклеивают к осно­
ванию клеящими мастиками или оплавлением его поверхности
до капельно-жидкого состояния.
Армобитеп предназнаttается для устройства кровли и в ка­
честве гидроизоляционного слоя. В нем стеклоткань, стеклохолст
или биостойкая штапельная стеклосетка пропитывается битум­
но-каучуковым вяжущим, который повышает сопротивление дей­
ствию воды и замедляет процессы старения. Материал очень гиб­
кий, морозостойкий с незначителъным водопоглощением. При­
клеивается армобитен путем оплавления нижней стороны полот­
на горячим воздухом.
Толь - рулонный материал, изготовляемый пропиткой кро­
вельного картона дегтями с посыпкой песком или минеральной
крошкой. Толь с крупнозернистой посыпкой применяют для вер­
хнего слоя пологих и широких кровель и у'кладывают на горячую
дегтевую мастику (табл. 1.2.10). Толь менее погодоустойчив и
менее огнестоек, чем рубероид.
Толь-кожа или толь гидроизоляционный выпускают без
покровного слоя и посыпки. Применяетс~ в качестве подкладоч­
ного материала под толь при устройстве многослойных кровель,
а также для пар0- и гидроизоляции.
Асфальтовые армированные маты изготовляют путем по­
крытия стеклоткани с обеих сторон битумом или гидроизоляци­
онной асфальтовой мастикой. Маты производят длиной 3-10 м,
шириной 1 м и толщиной 4-6 мм. Их применяют для устрой­
ства оклеечной гидроизоляции.
31
Безосновные кровельные и гидроиЗОJl.1щиОНlIые материа­
лы имеют то преимущество, что они воспринимают деформации
конструкции основания, которое изолируют, без нарушения
сплошности. К ним относятся изол, бризол и др.
Изол - безосновный рулонный резинобитумный материал,
в основу которого положено вяжущее, получаемое путем девул­
канизации утильной резины в битумной среде с последующим
введением волокнистых наполнителей в виде асбестовых воло­
кон и других добавок.
Изол долговечнее рубероида в 2 раза. Он эластичен, mило­
стоек, водонепроницаем и биостоек. Указанные свойства изола
сохраняются при температуре от -30 до +1О00 С. Используют изол
для гидроизоляции и покрьпия кровель. Приклеивают изол го­
рячей изольной или битумной мастикой.
Бризол - рулонный материал. обладающий повышенной
mило- и водостойкостью, высокой атмосферостокостью, водонеп­
роницаемостью и эластичностью. Бризол изготавливают из смеси
нефтебитумов, измельченной резины от изношенных автомобиль­
ных шин, наполнителей и пластификатора. Бризол приклеивают
к изолирумой поверхности битумно-резиновой мастикой.
Пленочные кровельные и гидроиЗОЛЛЦIlОШlые РУЛОНllые
материалы имеют малую толщину, массу и высокую степень
водонепроницаемости. К ним относятся: пленка полиэтиленопе­
ковая для гидроизоляции, пленка полиэтиленовая, полиамидная,
пленка полиамидная стабилизированная и др.
Полиэтилепопековая плевка - кровельный 11 гидроизоля­
ционный материал толщиной 0,1-1 мм. Пленка теряет свойства
при прямом воздействии солнечных лучей. Материал МОЖ1l0 при­
менять во всех климатических районах страны для гидроизоля­
ции междуэтажных перекрьпий, при устройстве защищенных и
незащищенных плоских и малоскатных кровель. Аналогично
используются пленка полиэтиленовая (толщина 0,03-0,5 мм),
полиамидная пленка ПК-4 (толщина 0,05-0,12 мм).
32
Из современных рулонных кровельных и изоляционным
материалов следует отметить: рубемаст, техпоэласт, гпдробу­
тил, кровлелит, кромэл, экофлекс, JПJJПq)ом, увифлекс, стекло­
пласт, бикрост и др.
Кровли ввостраlПlЫX фирм
Металлочерепица RANNILA (фШIЛяндия) - успешно со­
вмещает эстетику обжиговой черепицы и новейшие строитель­
ные технологии. Металлочерепица позволяет выполнить долго­
вечную декоративную кровлю на неплоской крыше (угол накло­
на не менее 100). Кровельные листы изготавливает из горячео­
цинкованной стали толщиной 0,5 мм. Ее пассивируют, грунтуют
и покрывают слоем различных цветных пластиков, устойчивых
к агрессивным средам.
Панели RANNILA поставляются необходимой длины, до 7 м,
точно по длине ската кровли. Панели монтируют внахлестку с
помощью специальных шурупов-с~орезов.
Панели RANNILA выпускаются трех различных типов -
Монтеррей, Элит и Каскад. Рисунки панелей отличаются фор­
мой «черепичных плиток» И высотой их волны, иммитируя иде­
ально уложенную традиционную черепицу (рис. 1.2.10, 1.2.11).
а
б~'-
Рис. 1.2.10. Металлочерепица RANNILA: а - структура (1- пласти­
ковое покрытие; 2 - грунтовка; 3 - пассивирующий слой; 4-
слой цинка; 5 - листовая сталь); б - нахлест панелей
2. КОИСIР MWIO,I з..t
зз
1100
400
~1
Т
1-'
300
..J
j
Рис. 1.2.11. Панели RANNILA: Монтеррей, Элит, Каскад (саерху вниз)
и схемы их Монтажа
34
Рис. 1.2.12. Кровельная плитка КАТЕРAL (а) и ее структура (6): 1-
каменная посыпка; 2, 4 - резино6итум; 3 - стекловолокно; 5-
клеевой слой
Кровельные плнтки КATEPAI... - удобное и практичное
покрытие, называемое иногда битумной черепицей (рис. 1.2.12):
Кровельные плитки имеют форму отдельных пластин, изготав­
ливаемых' из неrниющего стеклохолста, покрытого битумом с
посыпкой цветной крошкой природного камня. Клейкий слой из
резинобитума обеспечивает герметичность покрытия. Материал
без нагревания плотно приклеивается к обрешетке.
Аналогичны плитки товарных знаков TEGOLA и KERANA.
Ондулип (Фршщия) - волнистые кровельные листы, исполь­
зуемые не только на кровле, но и как облицовку вертикальных
поверхностей. Листы ондулина очень легкие (около 3 кг/м2), ими
удобно покрьmать даже сложные крыши без привлечения специа­
листов.
Ондулин - долговечный материал, служащий не менее
50 лет, имеет гарантию 15 лет. Он не содержит в себе вредного
для здоровья асбеста. Состав листов ондулина: дистиллирован-
35
ный битум, целлюлозные волокна, минеральные вещества (на­
полнитель), термоотверждающая смола и минеральные пигмен­
ты.
Металлочерenпца ONDUSTIL представляет собой оцинко­
ванный с двух сторон стальной лист толщиной 0,5 мм, покры­
тый эпоксидным слоем. Поверх него нанесен высококачествен­
ный акрилат, защищенный слоем цветного природного минераль­
ного гранулята, воссоздающего фактуру керамической черепицы
(рис. 1.2.13).
Рис. 1.2.13. Структура металлочер~пицы ONDUSTIL: 1 - верхнее ак­
риловое покрытие; 2 - окрашенные минеральные гранулы; 3 - ниж­
нее акриловое покрытие; 4 - эпоксидная грунтовка; 5 - термически
оцинко!анный стальной лист толщиной 0,45 мм
ONDUSТIL - долговечный, прочный, огнестойкий, устой­
чивый к низким и высоким температурам материал.
BARDOLIN - это полосная битумная черепица, армирован­
ная стекловолокном, с минеральной посыпкой (рис. 1.2.14). Бар­
долин привлекательный кровельный материал, им легко покрыть
36
Рис. 1.2.14. Структура битумной черепицы BARDOLIN: 1 - минермь­
ная посыпка; 2, 4 - битум; 3 - стекловолокно; 5 - кремниевый пе­
сок
любые по сложности крыши. Долговечность бардолина более 30
лет, гарантия - 10 лет .
Рис. 1.2.15. Структура полимерно-битумной рулонной кровли BIТULIN:
1 - минерал или тальк; 2 - МОДИфИЦИРОl!анный битум; 3 - полиэс­
тровая основа; 4 - пленка, предохраняющая от склеивания; 5-
АПП-битум
37
BITULIN - полимерно-битумная, рулонная наплавляемая
кровля. Битулин армирован нетканным полиэстером или стекло­
волокном, служащим основой для модифицированного битума.
Нижняя сторожа покрыта несгораемой, предохраняющей от скле­
ивания пленкой. Покрытие битулина - песчаный тальк или ми­
неральная посыпка нескольких цветов (рис. 1.2.15).
Утеплители
Наиболее распространенные утеплители - стекло- и мине­
ральная вата, пенопласт, поролон, а также древесно-волокнис­
тые плиты. Широко используются в индивидуальном строитель­
стве органические утеплители, такие, KaI{ опилки, мелкая дре­
весная стружка, мох и др. (табл. 1.2.11). К ним можно добавить
еще целый, ряд: солома, полова, сено, камыш, осока, торфяная
крошка и др.
Для сохранения своих теплоизолирующих свойств любой
утеплитель - минеральный или органический - должен бьпь
абсолютно сухим. Для минеральных утеплителей (стекло- и ми­
неральная вата, пенопласт), а также органических (опилки, мел­
кая древесная стружка и мох) минимальная толщина засыпки
должна составлять 10 см (в расчете на м~нимальнуIO температу­
ру наружного воздуха до -20 0 С) при одном .непременном усло­
вии - наружная облицовка должна быть непродуваемоЙ.
Для засыпки в качестве утеплителя в перекрытиях можно
использовать шлак, керамзит, пемзу, сухую землю, костру и др.
Все органические материалы предварительно антисептируют,
например, железным купоросом.
Из органических материалов можно изготовить плиты раз­
мером 50х50 или 70х70 см. Для этого на каждые 100 кг утепли­
теля используют 150 кг гипса и 250 л воды. Соответственно пред­
варительно изготавливают деревянные разборные формы.
Из новых материалов следует отметить утеплитель марки
URSA (Россия), выпускаемый по немецкой технологии. Изделия
изготавливают из стеклянного штапельного волокна в виде ма­
тов и плит в жестком, эластичном, мягком, твердом вариантах.
38
Таблица 1.2.11
Штучные теплоизоляцнонпые матеРII8ЛЫ н изделия
ВЩI маТСр1I8ЛО. и изделий
Размер". мм I Об1.емнldЙ
Осно.ное назначение
Длина ШlIрина Толщина I асс, 'Кr/МЗ
Неорганuческuе
Плигы минералова11lы,' жест- 1000 500 30;50 300-500 Теплоизоляция оrpаждающих
Юfе конструкций жилых, об-
щественных и npoмъшmенных
зданий
То же, полужесткие 500 500 50; 60; 70, 300-400 Тоже
80;90
Войлок минерапова11lЫЙ 1000-3000 375-1200 20;40;60 75-250 Теплоизоляция оrpаждающих
конструкций жилых, обще-
ственных и npомышленных
зданий, поsерхностей промыш-
ленноro оборудования и трубо-
Inpоводов
Маты минераповатные 600-1200 300-1000 30,40, 100-350 Тоже
50;60; 70;
80;90; 100
Плигы из ячеистых бетонов 700-1000 500 60; 80; 100; 300-1000 Теплоизоляция оrpаждающих
(пенобетона, газобетона) 120 конструкций зданий и д;1IЯ не-
сущих стен и заполнений кар-
каСНЫХ стен (при объемном весе
свыше 600 к:r/МЭ)
Окончание табл. 1.2.11
Вид Maтepll8JIO. и изделий
Размеры, мм ~емнwй
OcHolIHoe назначение
длина ШиРина ТOJПдина .ее.кт!';
Плиты из газостекла (пено- 125-500 125-500 80; 100; 110, 200-400 ТеплоизоляЦWI ограждающих
стекла) 120 конструкций зданий
Органические
Плиты древесно-волокнистые 1200--3000 600-1600 12,5; 20; 25 150-400 Тоже
Плиты камышитоtlые твердо- 2400; 2600, 1220 50;75 300-400 То же
прессованные 2800
То же, ВIIЗ8ные 2400,2600, 550,950; 50,70; 100 260--330 Тоже
2800 1150
Плиты торфоизоляционные 1000; 500 30,50 150-250 Тоже
Фибролит 1100,2000 500,550, ЗО, 50, 70; 250--600 Теплоизоляция ограждающих
700 100 конструкций зданий, для за-
полнения каркасных стен, для
на катов перекрьrrий и переro-
РОдОК (при объемном весе
свыше 400 кг/м))
Шевелин 11 матах 2300 900, 1000 30,60 100--150 Теплоизоляция ограждающих
КОНСТРУКЦИЙЗД8ний
Войлок строительный, шер- 1000-2000 550--2000 12 150 ТеплонзоЛJIЦИЯ отдельных
стяной мест конструкций (концы ба-
лок, оконные и дверные ко-
робкиит п.)
Они могут быть с покрытием из крафт-бумаги, алюминиевой
фольги, стеклохолста и гидрофобизированными .
.Достоинство изделий марки URSA - высокая изоляцион­
ная способность при низкой плотности.
Материалы URSA разработаны для оптимального утепле­
ния дома от подвала до крыши (скатных крыш, перекрытий, не­
сущих стен, потолков, полов подвалов); тепло- и звукоизоляции
внутренних перегородок; между перекрытием и плавающим по­
лом.
Рис. 1.2.16. Монтаж утеплителя URSA: 1 - подшивная доска из гип­
сокартона; 2 - теплоизоляционный материал URSA; 3 - рейка; 4 -
черепичная КРО8Ля; 5 - бруски обрешетки; 6 - рейка обрешетки;
7 - гидроизоляционное покрытие; 8 - вентиляционное покрытие;
9 - !lетро-изоляционное покрытие; 10 - стропилина; 11 - водо­
СЛИ!lная доска; 12 - !lентиляционная решетка
41
На рис. 1.2.16 показан пример утепления теплоизоляцион­
ным материалом URSA крыши под черепичной кровлей.
Утеплитель АКСИ (Россия) имеет основой минеральную
вату с добавлением волокон из расплавленного доменного шла­
ка. Полученные теплоизоляционные маты простегивают стекло­
шнуром или проволокой.
АКСИ применим для утепления: наружных несущих стен,
в том числе с вентилируемыми фасадами, наружных, легких кар­
касных стен, стропильной кровли и мансарды (рис. 1.2.17), плос­
кой кровли, пустотелой внешней стены из кирпича (рис. 1.2.18).
По 1-1
1
Г
Рис. 1.2.17. Двухрядная теплоизоляция мансардных перегородок: 1 -
стойки подстропильные; 2 - поддержиеающая обрешетка; 3 - обре­
шетка для УК{1адки утеплителя и крепления облицовочного слоя; 4-
утеплитель АКСИ; 5 - парозащитный слой
42
Рис. 1.2.18. Теплоизоляция пустотелой внешней стены: 1 - внутрен­
няя несущая стена; 2 - утеплитель АКСИ; 3 - гибкие связи; 4-
гидроизоляционный слой; 5 - ряд верхних и нижних вентиляционных
ОТlsерстий; 6 - распорные элементы, прижимающие утеплитель и обес­
печивающие вентиляционный зазор; 7 - лицевая кладка; 8 - венти­
ляционный зазор (не менее 300 мм)
Глава 2
Освоение участка
..
и подготовка основании
2.1. Освоение участка
Вопросы, связанные с освоением участка, весьма актуаль­
ны, поскольку, как правило, территории под застройку выделя­
ют на землях, включающих гари, заболоченные низины, склоны
оврагов, отработанные карьеры, свалки и другие территории, не
пригодные для промышленного и сельскохозяйственного освое­
ния.
После выполнения обшей инженерной подготовки террито­
рии, отведенной под застройку, начинается индивидуальное ос­
воение участка.
Освоенне участка следует начать с определеJIНЯ его гра­
НИЦ, расчистки от оставшихся на JleM деревьев, кустарника, пней,
отвода воды.
Срубить лишние деревья желательно до начала работ по стро­
ительству. Для валки дерева со стволом толщиной в комле более
30 см следует приглашать лесорубов. Однако необходимо знать,
что для того чтобы свалить дерево в нужном направлении, сле-
44
б
г
Рис. 2.1.1. Схемы подруба дере!1ьев: а - прямой; б - усом;
в - упрощенный; г - двумя параллельными рядами
дует сначала подрубить или подпилить его со стороны, в кото­
рую оно должно упасть, а затем - со стороны, противополож­
ной подрубу или подпилу. Существует несколько способов под­
руба деревьев: нормальный (или прямой); усом, упрощенный,
косой, двумя параллельными рядами (рис. 2.1.1).
Наиболее прост и безопасен прямой подруб, при котором
глубина подруба равна четверти диаметра дерева в месте подру­
ба, а расстояние между плоскостями подруба равно 0,6-0,8 диа­
метра. Выполнив подруб, дерево спиливают. Плоскость спили-
45
вания должна, как правило, быть перпендикулярной оси дерева
и располагаться на высоте верхнего края подруба.
у сильно наклоненных деревьев делают так называемый под­
руб усом со стороны наклона дерева, при этом глубина подруба
должна быть равна трети диаметра, а расстояние между плоско­
стями - 0,8 диаметра ствола.
Если площадЬ участка или строения не позволяет свалить
дерево полностью, его рубят по частям. Для этого залезают на
дерево, привязывают на 3-5 м выше планируемого места рас­
членения веревку и выполняют подруб и спиливание, находясь
на нижней части дерева. Подрубив и не закончив спиливание,
необходимо слезть с дерева и заваливать его спиливаем;ую часть
веревкой. Во время валки деревьев в зоне 30 м от дерева не дол­
жно быть посторонних людей. Оставлять недопиленное дерево
нельзя. Во время грозы, сильного ветра деревья не валят. Если
вблизи участка проходят линии электропередачи и связи, то са­
мим браться за валку толстых деревьев не следует.
Сваленное дерево очищают от сучьев. Рубку сучьев выпол­
няют, как правило, с комля. Сучья и древесину складируют, так
как они могут пригодиться для хозяйственных нужд.
Оставшиеся после рубки деревьев пеньки диаметром до 10
см следует окопать, при этом корни пня по мере откопки переру­
бать. Затем с помощью лома или другого рычага выдернуть их
или опрокинуть. Пни большего диаметра можно корчевать толь­
ко с помощью трактора. При корчевке пней толщиной до 35 см
используют трос диаметром 16-20 мм, а пней диаметром 35-
50 см - 25-30 мм. На корчуемых пнях надо сделать зарубки,
препятствующие скольжению троса.
Если пень в ближайшее время не мешает, не тратьте на его
выкорчевку силы и средства. Есть более простой способ изба­
виться от него - выжечь. Эффективность этого способа суще­
ственно повышается, если предварительно древесину пня пропи­
тать окислителем, растворимым в воде. К таким окислителям
относятся селитры, и в том числе аммиачная, используемая в
46
качестве азотного удобрения. Методика насыщения древесины
селитрой проста. За три-шесть месяцев до сжигания пня в нем
при помощи коловорота, долота, сверла или другого приспособ­
ления делают отверстия диаметром не менее 2-3 см и глубиной
не менее 10-12 см.
В отверстия на 3/4 глубины засыпают селитру, после чего в
них забивают деревянные пробки для предотвращения вымыва­
ния селитры атмосферными осадками. Количество отверстий
зависит от размеров пия. Как правило, делают одно отверстие на
10-12 см диаметра пня. Через 3-6 месяцев, в течение которых
селитра пропитает древесину, вокруг пня разводят костер, и пень
сжигают. При хорошей пропитке селитрой пень выгорает полно­
стью, при этом не образуется никаких экологически вредных ос­
татков.
После очистки территории участка необходимо оценить его
поверхностную гидрологию и наметить на участке зоны разме­
щения жилых и хозяйственных построек. Общий принцип их раз­
мещения - постройки должны располагаться на самых высоких
и сухих местах, так как в этом случае проще выполнять земля­
ные работы, фундаменты меньше подвержены избыточному ув­
лажнению, упрощаются конструкции погребов.
Оценку поверхностной гидрологии участка необходимо де­
лать с учетом рельефа соседних участков, так как нарушение ес­
тественных стоков воды на соседних или на вашем участке мо­
жет привести к затоплению той или иной территории. В связи с
этим при освоении территории необходимо предусмотреть комп­
лекс водозащитных мероприятий: сохранение по возможности
естественного стока атмосферных осадков, устройство водозабор­
ных и водоотводных канав, водопропускных сооружений и уст­
ройство дренажа или водопонижения.
Дренаж делают в основном на заболоченных территориях и
осваиваемых карьерах с преобладанием глинистых грунтов. Это
достаточно дорогое мероприятие выполняется так же, как и во­
допонижение при общей инженерной подготовке территории.
47
Для незаболоченных территорий основным мероприятием
является сбор и отвод воды, которые осуществляют прокладкой
траншей и канав. Как правило, ливнесточные канавы совмеща­
ют с кюветами проложенных дорог, при этом для избежания раз­
мьша и оврагообразования их прокладывают поперек склонов.
Если канава проложена вдоль склона с уклоном, превышающим
1 см на 1 м длины, ее дно и стены следует укреплять. На пересе­
чении канав с проездами устраивают водопропускные сооруже­
ния.
Чтобы спланировать отвод воды с участка, необходимо знать
его рельеф. Для этого сначала надо выполнить планировку учас­
тка, засыпать имеющиеся ямы, срыть холмы и кочки. Далее сле­
дует составить план участка с замером его сторон и разбивкой на
квадраты размерами 10 х 10 м (рис. 2.1.2). Возможен и другой
шаг, кратный сторонам участка. В углу каждого участка необхо­
димо забить колья и пронумеровать их. Если имеется возмож­
ность достать нивелир с треногой (при умении им пользоваться),
следует определить высотное положение почвы в местах уста­
новки колышков. Если такой возможности нет, высотное поло-
4'(69) 4(-30)
- 3(-25) 2(-10) 1(-15)
--- ' ....-... ..... §- ........
---~...... <:)
....
5(-50) 10(-30) 11(-3~-... 12(0)
§
§ ~
<:)
....
6(-65) 7(-35) 8(-35) 9(-5)
6~o)
10000 10000 10000
30 ()()()
Рис. 2.1.2. Разбивочный план участка
48
жение угловых точек можно определить другими способами с
использованием различных приспособлениЙ.
Одно из них - простейшее нивелировочное приспособле­
ние, состоящее из стойки высотой 140-150 см со столиком и
строительного уровня. На столике надо сделать мягкую прослой­
ку из пластилина или оконной замазки и на нее уложить стекло,
на которое затем устанавливается уровень. Обжимая прослойку
в необходимых местах, следует добиться горизонтального рас­
положения уровня. К уровню приставляется рейка-вешка, на ко­
торой при помощи визира отмечается нулевая отметка. Визир
состоит из прорези и мушки, изготовленных из плотной бумаги
и прикрепленных по торцам уровня. Место, где установлено ни­
велировочное приспособление, принимают за отметку ± о. От
нулевой отметки на рейке (толщина риски 3 '- 4 мм) вверх и вниз
через 5 см.наносятся еще риски. Через 20 см над риской в деци­
метрах ставится цифра. Вешку попеременно устанавливают у каж­
дого колышка и снимают отметку в сантиметрах (рис. 2.1.3).
Отметка показывает, насколько место, где установлен колышек,
выше или ниже места, где расположено нивелировочное приспо­
собление. Отметки у каждого колышка следует записывать на
6
4
2
О
---....._- -----------
2
з
Рис. 2.1.3. Схема определения перепада 8ЫСОТ 8 измеряемых точках
плана участка относительно нулевой отметки: 1 - деревянная рейка;
2 - столик со строительным уровнем; 3 - стойка
49
плане участка в скорках рядом с номером колышка. Например,
если визирная линия попадает на черту,С цифрой 6 выше нулевой
отметки, то значит данное место участка ниже базовой отметки
на 60 см.
Еще проще получить профиль участка можно с помоuiью
водяного нивелира или шланга, в том числе поливочного, с дву­
мя прозрачными трубочками на концах. Шланг и трубки запол­
няют подкрашенной водой. Используя метод сообщающихся со- '
судов, на высоких колышках, установленных по углам участков,
выносят горизонтальную плоскость. Замерив расстояние от это­
го горизонта до грунта, получим профиль участка.
Далее следует определить глубину водосточной канавы по
периметру участка. Для этого на миллиметровой бумаге прово­
дят горизонтальную линию и отмечают на ней номера колышков,
по одной из сторон участка (рис. 2.1.4). Расстояние между ко-
6'6 7 8 f}
~..-
а
8 а
~ ..... ~~.
~ "''11 """ """ ~
Б.... -( ", (ч,
А
~ ~ ~
]000 ]000 ]000
30000
б ~ ~ -~. _ 'F'
--,.
Г"'-- ;Q Б
А ~ ~ ~
]000 ]000
2000
Рис. 2.1.4. Схемы определения отметок дна водосточной канавы по
сторонам участка: а - по 9-6; б - по 6-4
50
лышками (узловыми точками) можно принять в масштабе 1:100.
От каждой узловой точки по вертикали переносят с плана значе­
ния отметок (заключены в скобки) в масштабе 1:10. Соединяя
эти точки плавной линией, получают профиль участка. Затем
находят отметки низа водосточной канавы при минимальном
объеме земляных работ и уклоне 2 %, обеспечивающем сток воды.
Самая низкая точка нашего участка у колышка 6. Располо­
жена она ниже нулевой точки на 65 см. Канава пройдет по сторо­
не 9-6 ниже поверхности грунта в точке 6 на 35 см. Из точки 6
проводят наклонную линию под углом 2 %. Для определения
этого угла на горизонтальной линии АБ под точкой 9 откладьша­
ют вверх 60 см, тогда tga = 60/3000 = 0,02 = 2 %т.е. на стороне
участка длиной 30 м перепад крайних точек по высоте должен
составлять 60 см. Исходя из рельефа участка, следует отыскать
самое низкое место, в которое будет стекать вода. Для этого.на
стороне 6-4 (короткая сторона, граничащая с проездом) прово­
дят линию С уклоном 2 % и вычисляют в точке 4 расстояние от
поверхности грунта до низа канавы (30 см). Определяют уклон
участка по стороне 1-4. Так как точка 4 ниже точки 1 на 45 см, а
дно канавы в точке 4 еще ниже на 30 см, то глубина канавы у
колышков 1,2,3,4 соответственно будет равна 30,25,25 и 30 см
(см. рис. 2.1.2). Таким образом, по стороне 1-9 глубина канавы
в крайних точках известна.
Поперечное сечение канавы зависит от характера грунта. В
глинистых грунтах оно имеет форму прямоугольника при шири­
не ~0-25 см и глубине 40-45 см. Профиль канавы может быть
открытым или закрьпым, заполненным песком, шлаком, битым
кирпичом. В суглинистых грунтах канаве придают трапецеидаль­
ное сечение с уклоном стенки 1:1,25. В случае отсутствия гравия
или песка в канаву укладывают ветви срубленных деревьев на
высоту 20-30 см, сначала вдоль канавы, затем - поперек, сверху
канаву засыпают естественным грунтом.
Вьrpытая по наружному контуру участка канава будет отво­
дить воду в самое низкое место (у колышка 6) и защищать почву
51
от переувлажнения при обильном выпадении осадков и таянии
снега.
Планируя отвод воды с участка, надо не забывать еще об
одном источнике поступления воды - с кровли построек. Имея
значительную площадь водосбора, кровля создает дополнитель­
ные зоны избыточного накопления влаги. Поэтому уже на ста­
дии освоения участка надо наметить места размещения кро­
вельных сливов и соответственно отвод воды от постройки, хотя
целесообразно эту воду собирать для последующего использова­
ния - полива и других хозяйственных нужд. Собирают воду обыч­
но в металлические, деревянные и полиэтиленовые бочки и дру­
гие емкости. Эти емкости устанавливают на поверхности грунта,
что облегчает их чистку, или закапывают на 1/3-2/3 в грунт.
Можно собирать воду и в вырытый небольшой бассейн, стены и
дно которого не должны пропускать воду.
Один из важнейших элементов подготовки участка - уст­
ройство подъездов и въезда 'на участок. Для этого через дре~аж­
ную канаву со стороны дороги необходимо сделать переезд: уло­
жить в канаву трубу диаметром 300-600 мм или устроить мос­
тик (рис. 2.1.5, 2.1.6). Трубу желательно обсыпать песчано-гра-
3 2
Рис. 2.1.5. CXeM<;i переезда через канаву с трубой:
1 - труба l =2+3м; 2 - песчано-гравийная смесь; 3 - плита
52
Рис. 2.1.6. Схема мостика через дренажную канаву: а - из железо­
бетонной ПЛИТbI; б - деревянного
вийной смесью, а сверху - выполнить мощение или уложить
готовую плиту. При отсутствии песка можно уложить вдоль тру­
бы ветви срублеННЬJХ деревьев, засыпав их грунтом и уложив
сверху слой камней или брусьев. Для мостика можно использо­
вать железобетонные плиты, но проще сделать его, используя
стволы ,nepeBbeB диаметром 200 мм и более. Следует, однако,
помнить, что на несущие элементы мостика необходим лес хвой­
ных пород, можно использовать и отработавшие свой срок шпа­
лы. Для въезда легковой автомашины ширина переезда поверху
должны быть не менее 3 м, для возможности въезда грузового
транспорта с прицепом - 5-6 м, в зависимости от ширины ули­
цы.
2.2. Характеристики оснований фундаментов
На выбор тнпа фундамента жилого здания и построек вли­
яют в основном три фактора: грунты, как основания фундамен­
тов сооружений, грунтовые воды (их уровень относительно по­
верхности грунта) и, конечно, конструкция здания.
~ОСКОЛЬКУ конструкцию здания вы уже заранее заплани­
ровали, прежде чем приобретать материал для фундамента,
53
необходимо выяснить, что за грунты залегают на,глубину 2-
3 м от поверхности и как глубоко расположен уровень грунто­
вых вод. Как правило, инженерно-геологические изыскания
площадки отсутствуют, поэтому если нет поблизости вырыто- ,
го котлована, следует пробурить ямобуром или вырыть шурф
на глубину 2-2,5 м. По отобранным образцам определяется
вид грунта, с использованием нижеприведенных рекоменда­
ций.
Грунты оснований подразделяют на скальные и нескаль­
ные. Скальные грунты - грунты с жесткими связями между
частицами. Прочность скальных грунтов сопоставима с прочнос­
тью материала здания, потому строительство фундамента на них
не представляет сложности. Следует отметить, что скальное ос­
нование под здание - редчайший случай.
Вескальuые грунты подразделяют на крупнообломочные
песчаные, пылевато-глинистые биогенные и почвы.
К крупнообломочным относятся несцементированные грун­
ты: валунный (обломки размером в поперечнике свыше 200 мм
составляют более 50 %), щебенистый или при преобладании ска­
танных частиц галечниковый (более 50 % обломков имеют раз­
мер от 10 до 200 мм), дресвяной или, при преобладании частиц
округлой формы, гравийный (более 50 % частиц имеют размер
от 2 до 10 мм).
Песчаные грунты содержат менее 50 % частиц размером
более 2 мм и не обладают пластичностью. Разновидность песча­
ного грунта можно определить визуально. Если преобладающий
размер частиц в поперечнике от 0,25 до 5 мм - это гравелистый
песок, а если форма частиц плохо различима, а размеры частиц
0,25-2 мм (до размера гречневой крупы) преобладают - это круп­
ный песок. Если преобладают частицы размером 0,1-1 мм (час­
тицы различимы через лупу) - это песок средней крупности. Ос­
тальные пески относятся. к мелким и пылеватым. Пылеватый
песок оставляет на ладони ярко выраженный осадок пыли и гли­
ны. Крупнообломочные и песчаные грунты, за исключением пос-
54
ледних двух видов, хорошо использовать для дренажа, так как
они обладают высокими фильтрационными свойствами. Проч­
ностные свойства этих грунтов независимо от водонасыщения
практически не изменяются. Степень насыщения песчаных грун­
тов влагой можно определить, сжав образец грунта в ладони.
Если после встряхивания песок рассыпается на ладони комка­
ми - он маловлажный, если после сжатия он сохраняет некото­
рое время форму, то влажный, а если расползается на ладони,
образуя лепешку, то насыщенный водой.
Пылевато-глииистые грунты подразделяют по числу плас­
тичности и консистенции, к ним относятся супеси, суглинки и
глины. Определить вид грунтов по пластичности можно визу­
ально, пользуясь данными табл. 2.2.1, а консистенцию - табл.
2.2.2.
Таблица 2 2.1
Способ опрсделеНИJI
Грунт Растиранием на РассмаТРИ8nннем 8 лупу И
По способflOСТII CKanl8aHIIJI
ладон! не800ружеНIIIo.IМ глазом
Супесь Преобладают Преобладают песча- Трудно скатывается
песчаные и пы- ные и пылеватые или не скатывается в
леватые части- частицы шнур
цы
Суглинок При растирании Видны песчинки на Может скатывагься в
чувствуются фоне тонкого по- длинный шнур диа-
песчаные час- рошка метром более 1 ММ.
nщы Скатывается в шари-
ки, которые при сдав-
ливании в лепешку
трескаются по краям
Глина При расшрании Однородная тонкая При раскатывании
не чувствуется ПОРОUlкообразная дает прочный длин-
песчаных час- масса ный шнур диаметром
тиц менее 1 м. Легко ска-
тывается в шарики.
При их сдавливании в
лепеUlКУ края послед-
ней не трескаются
55
Таблица 2.2.2
Консистенции грунта Признаки грунта
Супесь
Твердая Образец грунта при ударе разбивается на куски, при
сжатии в ладони рассыпается, при растирании -
пылит. Вырезанный кусок ломается без заметного
изгиба
Пластичная Образец грунта легко разминается рукой, хорошо
формуется и сохраняет приданную форму. При сжа-
тии в ладони ощущается влажность Иногда обладает
ЛIIПКОСТЬЮ
Текучая Образец грунта легко деформируется от незначи-
тельного нажима и растекается
Суглинки и глины
Твердая Образец грунта при ударе разбивается на куски, ино-
гда при сжатии в ладони рассыпается, при растира-
нии пылит, ноготь большого пальца вдавливается с
трудом
Полутвердая Вырезанный брусок без заметного изгиба ломается с
образованием шероховатой повеРХНОСТIf излома, при
разминании крошится. Ноготь пальца вдавливается в
образец грунта без особого усилия
Тугопластичная Вырезанный брусок грунта заметно изгибается еше
. до излома. Кусок грунта с трудом разминается рука-
ми, палец легко оставляет неглубокий отпечаток, но
вдавливается лишь при сильном нажиме
~ягкопластичная Образец грунта на ощупь влажный или очень влаж-
ный. Кусок грунта легко разминается, но при формо-
вании сохраняет приданную ему форму Иногда
приданная форма сохраняется непродолжительное
время Палец вдавливается в образец при умеренном
нажиме на несколько сантиметров
Текучепластичная Образец грунта на ощупь не очень влажный Разми-
нается при легком нажиме пальцем, не сохраняет
форму, липкий и без просушивания не может быть
раскатан в жгут толщиной 3 мм
Текучая Образец грунта на ощупь очень влажный. При фор-
мовании не сохраняет приданную форму, а, поме-
щенный на наклонную плоскость, течет толстым
слоем (языком)
56
Консистенцию пылевато-глинистого грунта можно опреде­
лить и при разработке грунта лопатой. Если он при сбросе рассы­
пается на мелкие комки, то грунт твердой консистенции, если
липнет к лопате, то мягко- или текучепластичной консистенции.
Существенное значение при определении типа и размеров
фундамента имеет плотность грунта. Если вы встанете на
вскрытый слой грунта и остается след от обуви глубиной в
средней части 1-2 мм, то грунт следует отнести к рыхлому.
Если для разработки грунта требуется кирка или лом, то пыле­
вато-глинистый грунт может быть отнесен к категории плот­
ного.
Среди пылевато-глинистых грунтов необходимо выделить
грунты, проявляющие свои неблагоприятные свойства при зама­
чивании: просадочные и набухающие.
ПросаДОЧllые грунты характеризуются цветом от пале­
во-желтого до светло-серого, наличием видимых макропор,
большой пылеватостью, низкой влажностью, а иногда быст­
рым размоканием в воде. При замачивании водой эти грунты
под воздействием нагрузки или собственной массы дают про­
садку.
НабухаlOщне грунты характеризуются большим содержани­
ем глинистых частиц, низкой влажностью и слоистым сложени­
ем. При увлажнении водой или химическими растворами они уве­
личиваются в объеме.
Нескальные грунты, содержащие значительное количество
органических веществ, назьmаются биогеШIЫМII. К ним относятся
заторфованные грунты, торфы и сапропели. К заторфованным
грунтам следует отнести песчаные и пылевато-глинистые грунты,
содержащие 10-50 % (по массе) органических веществ. Если их
больше 50 %, то это торф. Сапропели - это пресноводные илы.
Почва - это грунты, слагающие поверхностный слой и об- .
ладающие плодородием. Почвы и биогенные грунты служить
57
основанием сооружения не могут. Первые - срезают и исполь­
зуют для огорода, вторые - требуют специальных мер подго­
товки основания. Нередки случаи, когда приходится строить на
насыпных грунтах, которыми могут быть любые J{З вышепере­
численных. Характерная особенность этих грунтов - способ­
ность самоуплотняться во времени. Поэтому до начала строи­
тельства необходимо выяснить, когда была закончена засыпка
и как она выполнялась. Если засыпка выполнена песчаным или
крупнообломочным грунтами при условии планомерной послой­
ной отсыпки, процесс самоуплотнения завершается в течение
года, а при отсыпке в отвал - в течение 1-5 лет. Пылевато­
глинистые грунты уплотняются в зависимости от условий от­
сыпки соответственно за 2-5 лет и 1а-15 лет, при этом макси­
маfIьные сроки характерны для глины. Если время после окон­
чания отсыпки превышает названные сроки, то строительство
осуществляют, как на естественном основании. При меньшем
сроке после отсыпки требуется обязательное уплотнение грун­
тов D основании фундаментов.
О том, какие грунты залегают на вашем участке, можно су­
дить и по внешним признакам, например, по видам растительно­
сти. Так, на заболоченных грунтах растет иван-чай, на сухих по­
чвах - белые ромашки, на глинистой почве - лоцухи. Желтые
цветы болотной калужницы указывают на наличие текущих под­
земных вод.
Грунты как основания сооружений характеризуются так на­
зываемым расчетным сопротивлением Ro• Если при назначении
размеров подошвы фундамента н;е превышено значение расчет­
ного сопротивления, то осадки постройки не превысят допускае­
мых для ее конструкции, и никаких сложностей при эксплуата­
ции не возникнет. Значения расчетного сопротивления зависят
от вида грунта, плотности его сложения, консистенции размеров
JI глубины заложения фундамента. Эти значения приведены в
табл. 2.2.3.
58
Таблица 2.2.3
Расчетные сопротивления rpунта Ro
Грунты кrc/cM2 при глубине заложения
Ом 0,5 м 1,0 м 1,5 м 2,Ом
Крупнообломочные щебени-
стые/rpавийные с заполнени-
ем:
-песчаным 3,2/2,6 4/3,2 4,8/3,9 5,6/4,6 6/5
- песчано-глинистым:
от твердого до тугоrша-
2,4/2,1 3/2,6 3,6/3,2 4,2/3,7 4,5/4
стичного
мягкопластичным 2,1/1,8 2,6/2,2 3,2/2,7 3,7/3,2 4/3,5
Пески:
-крупные 3,2 4 4,8 5,6 6
- средней крупности 2,6 3,2 3,9 4,6 5
-мелкие:
маловлажные 2,1 2,6 3,2 3,7 4
насыщенные водой и
1,6 2,0 2,4 2,8 3
влажные
пылеватые
маловлажные 1,3 1,6 1,9 2,3 2,5
влажные '0,8 1 1,2 1,4 1,5
воДо-насыщенные 0,5 0,6 0,8 0,9 1
Пылевато-глинистые -
супеси 1,3(1} J 6(1,2 1,9(1 5) 2,3(1,81 25(02)
суглинки 1,3(09) 1,6(1,1 1,9(1,4) 2,3(1,6) 2,5(1,8)
глины. 1,5(1) 1,9(1,2) 2,3(1,5) 2,7(1,8) 3(2)
При м еч ан и е. ЗначенияRо приведены для ширины фундамента 0,5-0,6 м. При
ширине фундамента 0,3-0,4 м значения Ro для крупнообломочных И песча­
ных (до мелких маловлажных) грунтов могут быть повышены на lкгс/см2 ,
для остальных грунтов сохраняются табличные значения
Если размеры применяемого фундамента и глубина его за­
ложения не соответствуют приведенным в данной таблице, то
значения Ro можно вычислить по интерполяции. В табл. 2.2.3
приведены значения Roдля песчаных грунтов средней плотнос­
ти, в случае залегания плотных песков, трудно поддающихся
59
разработке, значения Roследует повысить на 20 %. Для пылева­
то-глинистых rpYHTOB значения Roприведены для твердой конси­
стенции и для текучепластичной (в скобках). Для плотных гли­
нистых rpYHTOB, которые разрабатывают ломом, значенияRо сле­
дует увеличить в 1,5 раза. Если по каким-либо причинам на уча­
стке необходимо делать подсыпку или она была выполнена при
подготовке территории и, как правило, без уплотнения или от­
сутствия контроля за ним, то при подсыпке из песка, кроме пы­
леватого шлака, значения Ro составят 1,5 кгс/см2, при насыпных
пылеватых песках, суглинках, супесях, глинах Ro = 1 кгс/см2•
Определив вид rpYHTa и его состояние и зная Ro, можно вы­
числить необходимую площадь контакта фундамента постройки
с rpYHTOM основаНия. Для этого необходимо подсчитать массу
здания и фундамента с коэффициентом перегрузки 1,1. Здесь надо
помнить, что в нагрузку от конструкций (массу) здания входит и
полезная нагрузка на полы, которая должна быть принята 100
кгс/см2 • Массу материала определяете по справочнику, исходя из
размера элементов постройки и плотности материалов. Поделив
массу здания на расчетное сопротивление, получим необходи­
мую площадь фундамента.
Если основание постройки окажется крупнообломочными
грунтами с песчаным заполнителем или песчаными (кроме пы­
леватого) грунтами, а также пылевато-глинистыми твердыми и
полутвердыми, то такие грунты считаются благоприятными. Здесь
конструкции фундаментов могут быть как столбчатыми, так и
ленточными. Глубина их заложения зависит от наличия подвала
или подполья. При их отсутствии фундамент может быть распо­
ложен и на поверхн~сти. Конечно, растительный слой или торф
с поверхности надо удалить.
Остальные грунты также могут быть использованы в каче­
стве естественного основания, но выбор конструкции фундамен­
та (столбчатый или ленточный) будет зависеть от пучинистости
грунта при промерзании.
60
Под морозным пучением понимают увеличеНJ:lе объема про­
мерзающих влажных грунтов вследствие замерзания в них воды
и образования ледяных включений в виде прослоек, линз, поли­
кристаллов, что вызывает неравномерный подъем фундаментов.
При последующем оттаивании в 'этих грунтах происходит разуп­
лотнение основания, вызывающее из-за различных условий от­
таивания, как правило, неравномерную осадку фундаментов.
Степень ПУЧИНИСТОСТlI грунта зависит от дисперсности грунта,
его плотности и влажности, глубины залегания подземных вод,
условий промерзания. В зависимости от этих факторов rpYHTbI
подразделяют на пучинистые инепучинистые.
К ПУЧllnИСТЫМ грунтам относят все пылевато-глинистые
грунты, мелкие и пьmеватые пески, а также крупнообломочные
грунты с глинистым заполнителем.
Крупнообломочные rpунты с песчаным заполнителем, пес­
ки гравелистые, крупные и средние считаются непучинистыми
при любом уровне подземных вод.
По степени пучинистости пылевато-глинистые грунты
подразделяют на пять групп: практически непучинистые, слабо­
пучинистые, средне-, сильно- и чрезвычайно пучинистые грун­
ты, при которых подъем поверхности на 1 м промерзания состав­
ляет соответственно до 1,1-3,5; 3,5-7; 7-12 и более 12 см.
Степень пучпннстостп грунта определяют по специальной
методике на основе лабораторных исследований rpYHTOB и дру­
гих данных, которые у индивидуального застройщика отсутству­
ют. Поэтому обратим внимание на существенное влияние на пу­
чинистость консистенции грунта и положения уровня подземных
вод.
В грунтах может быть свободная, капиллярная и подвешен­
ная воды. Свободная вода заполняет поры rpYHTa, перемещается
по ним под действием силы тяжести или разности напоров. Ка­
пиллярная вода поднимается по капиллярам силами поверхност­
ного натяжения из слоев, расположенных выше основного гори-
61
зонта подземных вод; подвешенная вода расположена в капил­
лярах, не связанных с основным горизонтом.
Подземnые воды разделяют на три типа: верховодка, ос­
новной горизонт, межпластовые воды.
Верховодка образуется в проницаемых грунтах вблизи от
поверхности. Глубина залегания слоя верховодки не превыша­
ет 2 м. Уровень верховодки зависит от расположения водоупо­
ра и весьма переменчив. В засушливые годы и зимой верхо­
водка может полностью исчезнуть и появиться после выпаде­
ния осадков и таяния снега. Поверхностный дренаж в виде во­
доотводных канав должен забрать и отвести верховодку с уча­
стка. В некоторых случаях при незначительной толщине водо­
упора и залегания под ним фильтрующих грунтов можно про­
бурить скважины через водоупор и засыпать их щебнем или
гравием, для того чтобы сбросить верховую воду в нижележа­
щие слои грунта.
Основной горнзонт - это первыIй водоносный с.лой от по­
верхности почвы, имеющий большое распространение по площа­
ди. Уровень его более или менее постоянен, но зависит от выпа­
дающих за год осадков. Понижение уровня основного горизонта
вод выполняют только централизованно при подготовке терри­
тории.
Межпластовые воды - это подземные воды, расположен­
ные между двумя непроницаемыми слоями. Если воды полнос­
тью заполняют пространство между пластами, они могут быть
напорными. Об этом следует помнить, если вы задумаете бу­
рить скважины под воду или для фундамента.
Положение уровня подземных вод и возможность измене­
ния его в период строительства и эксплуатации существенно вли­
яют на выбор способа производства работ, конструкцию фунда­
мента, его размеры и глубину заложения. При повышении уров­
ня повышается влажность грунта основания, ухудшаются харак­
теристики грунта, развиваются явления просадочности или набу­
хания, увеличивается степень морозной пучинистости. Это мо-
62
жет привести также к подтоплению погребов и подвалов, если
они построены без конструктивных водозащитных мероприятий.
При понижении уровня возможна дополнительная осадка пост­
роек. Поэтому до начала строительства следует определить тип и
уровень подземных вод. Если в пониженных местах участка (тер­
ритории) имеются выходы ключей, то устойчивый уровень ос­
новного горизонта подземных вод расположен близко от поверх­
ности. Об этом свидетельствуют и заросли камыша или осоки.
Если же в пониженных местах вода застаивается, но камыш или
осока не растут, то уровень подземных вод формирует верховод­
ка при достаточно близком расположении водоупора. Установить
уровень подземных вод можно, вырыв яму или пробурив ямобу­
ром скважину на глубину 1,5-2 м. Когда в выработке устано­
вится вода надо замерить расстояние от ее поверхности до повер­
хности грунта. Выполнив такие замеры в разные времена года,
можно определить сезонные колебания уровня, что может при­
годиться при выборе времени производства работ и конструкции
фундамента.
В пылевато-глинистых грунтах имеет место капиллярное под­
нятие воды, которое может достигать 4-5 м в глинах, 1,5-4 м -
в суглинках, 1-1,5 м - в супесях и 0,5-1 м в пьшеватых песках.
При промерзании грунта к фронту промерзания подтягивается вода,
увеличивая влажность грунта. Относительно безопасными, т .е.
грунт будет слабопучинистым, можно считать условия, когда под­
земная вода расположена ниже, чем на 0,5 м от подошвы фунда­
мента в пылеватых песках, 1м - в супесях, 1,5 м - в суглинках и
2 м - в глинах. При этом консистенция глинистых грунтов долж­
на быть твердой или полутвердой. Если расстояние от уровня под­
земной воды до подошвы фундамента будет меньше указанного,
то грунты относятся к категории среднепучинистых. При мягко­
пластичной консистенции грунта и расстоянии до горизонта воды
в супесях меньше 0,5 м, суглинках меньше 1 м, в глинах меньше
15м - грунт сильнопучинистый. В этих случаях конструкцию фун­
дамента назначают с учетом степени пучинистости грунта.
63
.....
2.3. Подготовка оснований
Подготовка оснований начинается с осушения участка, если
он затоплен. В этом случае, как отмечено ранее, силами специа­
лизированной организации делают дренаж: траншейный, труб­
чатый, скважинный. Вид дренажа выбирают с учетом грунтовых
условий, рельефа территории и имеющихся средств. Для инди­
видуального застройщика подготовка начинается, как правило, с
рытья водоотводных канав.
При подготовке основания непосредственно под фундамент
постройки прежде всего в пределах пятна застройки снимают ра­
стительный слой и планируют поверхность.
Если в основании фундамента постройки залегают грунты,
которые должны быть уплотнены, то их целесообразно уплот­
нить трамбованием. Для этого после откопки траншеи или ямы
почти до отметки подошвы фундамента начинают трамбовать
основание с краев к середине с помощью ручных трамбовок, пред­
ставляющих собой круглый обрубок бревна диаметром около
30 см и высОтой 65-75 см, в верхний торец которого врезана ручка
(рис. 2.3.1,a). Иногда трамбовку делают из толстого и короткого
обрубка бревна с вертикальной ручкой. Нижний торец трамбовки
а
- -- /"g
Рис. 2.3.1. Ручная трамбовка (о) и тяжелая трамбовка с применением
малой механизации (6)
64
I
I
.
I
часто обивают толстой листовой сталью. Масса ручной трамбов­
ки 12-15 кг. Если необходимо уплотнить грунт на большую глу­
бину, применяют тяжелые трамбовки массой 130-300 кг, кото­
рые поднимают тросом лебедки, перекинутым через блок, ук­
репленный в вершине треноги, сделанной из подтоварника
(рис 2.3.1,6). Трамбованием уплотняется верхний слой грунта тол­
щиной 0,3-0,4 м.
Более ощутимые результаты по уплотнению можно достиг­
нуть втрамбовыванием щебня. Для этого на дно траншеи или
ямы насыпают слой щебня толщиной 0,1-0,15 м и втрамбовы­
вают его в грунт, начиная от краев траншеи к середине. После
втрамбовьmания первого слоя насыпают и вбивают второй. Для
этого желательно использовать более тяжелую трамбовку. Втрам­
бовывание осуществляют до тех пор, пока щебень не будет раз­
биваться в мелочь, трамбовка будет отскакивать от грунта и из­
давать не глухой, а звонкий звук, не будет появляться между
частицами щебня грунт. .
Если сопротивление грунта основания увеличить невозмож­
но, то увеличивают площадь, через которую нагрузка от фунда­
мента передается на естественный грунт. Это достигают выем­
кой слабого грунта и засыпкой песчаной подушки, толщину ко­
торой назначают такой, чтобы давление под ее подошвой с уче-.
том ее массы не превышало расчетного сопротивления естествен­
ного грунта основания. Ширину подушки определяют в соответ­
ствии со схемой на рис. 2.3.2, где <р - угол внутреннего трения
Рис. 2.3.2. Схема расчета песчаной подушки
3 КОНСТР I.ulоэr зд
65
песка (для песков средней крупности и крупных можно принять
<р = 360, tg <р = 0,725; для мелких песков - <р = 320, tg <р = 0,62).
Песчаную подушку укладывают слоями толщиной 15-20 см уп­
лотняют трамбованием. Если в основании залегают фильтрую­
щие грунты, можно уплотнять подушку поливом воды. Песок
подушки, если он сухой, перед уплотнением поливают водой.
Подушки можно отсыпать и на поверхность грунта. Их материа­
лом могут бьrrь щебень, песок, шлаки.
В случае залегания вблизи поверхности торфов, сапропелей,
заторфованных и других слабых грунтов необходима их замена
песчаным грунтом или выполнение свайного фундамента, пере­
дающего нагрузку на более прочные rpунты. Грунты верхнего
слоя заменяют и в случае, если они сильно или чрезвычайно пу­
чинистые. В этом случае замену на непучинистый rpYHT осуще­
ствляют на глубину, равную 2/3 глубины сезонного промерзания
rpунта.
Глава З'
КОНСТРУКЦИИ подземных частей зданий
3.1. Выбор КОНСТРУКЦИЙ фундаментов
Эксплуатационная надежность и долговечность возводимых
на участке построек во многом определяются качеством подго­
товки основания и правильностью выбора конструкции фунда­
ментов. Не случайно еще Уложение по строительству ХУIII века
гласило: «На устройство подошвы (основания) и поддела (фунда­
мента) ни трудов, ни иждивения жалеть не должно». В первую
очередь это объясняется сложностью и трудоемкостью работ по
ремонту фундаментов и влиянием их работы на состояние над­
фундаментных конструкций построек.
Стоимость возведения фундаментов в зависимости от кон­
струкции здания и грунтовых условий составляет 5-10 % общей
стоимости его строительства. При выполнении работ собствен­
ными силами можно сэкономить почти 70% их стоимости, при­
чем на земляных работах - 95 % и более, при возведении фун­
дамента - почти 50 % их стоимости.
Фундамеиты малоэтажных зданий и построек могут быть
леиточиымI,' столбчатыми и сваЙIIЫМИ.
67
Если здание строится из тяжелого материала - кирпича, бе­
тона, шлакобетона, керамзитобетона и т .Д., фундамент его дела­
ЮТ, как правило, ленточным. Если здание деревянное рубленое,
каркасное с заполнением или щитовое, то фундамент может быть
как ленточный, так и столбчатый. В обоих случаях можно при­
менять свайные фундаменты, однако если сваи погружают или
изготавливают с применением средств малой механизации, то
лучше их использовать лишь в качестве фундаментов деревян­
ных зданий.
Ленточные и столбчатые фундаменты можно подразделить
в зависимости от глубины их заложения на заглубленные, если
подошва фундаментов заложена ниже глубины промерзания грун­
та, малозаглубленные, если фундамент размещен в слое промер­
зающего грунта, и незаглубленные (поверхностные, если подо­
шва фундамента расположена на поверхности грунта или под­
сыпки (рис. 3.1.1».
а
Рис. 3.1.1. Фундаменты дачных зданий: а - заглубленных; б­
малозаглубленных, в - незаглубленных
Выбор глубины заложения фундамеllта - один из основ­
ных вопросов, которые следует решить застройщику. Не в пос-
68
леднюю очередь это связано с определением расчетной глубины
промерзания грунта, которая зависит от так называемой норма­
тивной глубины промерзания, конструкции полов и подвала, ус­
ловий эксплуатации здания, среднесуточной температуры возду­
ха внутри него.
Нормативная глуБШIа сеЗОIШОГО промерзапия, d/n- это
средняя из ежегодных наибольших глубин сезонного промерза­
ния за срок не менее 10 лет на открытой, оголенной от снега
горизонтальной площадке при уровне грунтовых вод ниже глу­
бины сезонного промерзания грунтов. Она может быть опреде­
лена простейшей зависимостью:
где do- величина (м), которая принимается: для суглинков и
глин - 0,23, мелких и пылеватых песков - 0,28, остальных пес­
ков - О,ЗО;
М/ - безразмерный коэффициент, численно равный сумме абсо­
лютных значений среднемесячных отрицательных температур за
зиму в данном районе, определяемых по климатологическому
справочнику.
Значения М, и нормативной глубины промерзания dfn для
некоторых районов приведены в табл. 3.1.1.
Если здание зимой не отапливают, то значение расчетной
глубины промерзания дЛЯ Щ1РУЖНЫХ И внутренних фундаментов
будет на 10 %большеd/n• Если среднесуточная температура отап­
ливаемого здания без подвала с полами по утепленному цоколю
близка к ООС, то расчетная глубина промерзания равна норма­
тивной, при температуре 15 0 С расчетная глубина промерзания
на 20 % меньше d/n• ДЛЯ'отапливаемого здания с подвалом рас­
четная глубина промерзания на 20 %меньше d/n• если температу­
ра внутри ООС, и на 40 % меньше d/n• если температура внутри
15 0 С.
69
Таблица 3.1.1
НормаТИ.Н8Jl глубина промерзаНИJl, d(/I' м
песко.
крynнооб-Город Пlo]ле.аТlolХ
M t
суглинко.,
и мелких
KpynH~IX,
ЛОМОЧНI>IХ
глин средней
пес ко.
крупности
грунто.
Москва 34,3 1,35 1,64 1,76 2,00
Дмитров 36,2 1,38 1,68 1,80 2,04
Кашира 37,1 1,40 1,70 1,83 2,07
Владимир 39,0 1,44 1,75 1,87 2,12
Тверь 35,б 1,37 l,б7 1,79 2,03
Калуга 339 134 1 б3 1 75 1,98
Тула 33,7 1,34 1,63 1,75 1,98
Рязань 37,7 1,41 1,72 1,84 2,09
Ярославль 41,4 1,48 1,80 4,93 2,19
Вологда 424 1,50 1,82 1,95 2,21
Нижний Новгород,
42,0 1,49 1,81 1,94 2,20
Иваново
Санкт-Петербург 25,4 1,16 1,41 1,51 1,71
Новгород 28,5 1,22 1,49 l,БО . 1,82
Чтобы обезопасить фундамент здания от воздействия мо­
розного пучения, а дом - от неравномерных подъемов и осадок,
в пучинистых, кроме слабопучинистых, грунтах кирпичные двух­
этажные и даже одноэтажные здания лучше устанавливать на
фундаменты, традиционно заложенные ниже глубины промер­
зания, тем более что, как правило, в таких зданиях предусматри­
вают подвалы.
В основном на участках делают малозаглублеllные фунда­
менты, основания и конструкции которых выполняют с учетом
предотвращения нежелательных деформаций здания от пучения
грунта. Мероприятия при этом сводят к ужесточению конструк­
ции фундаментов, уменьшению слоя пучинистого грунта и ме­
лиорации.
Под сараи, мастерские, душевые, туалеты и другие мелкие
деревянные постройки укладывают незаглубленные (поверхнос­
тные фундаменты (рис. 3.1.1,в).
70
Малозаглубленные и незаглубленные фундаменты возводят
на участках, сложенных с поверхности песчаными и пьmевато­
глинистыми грунтами, которые по прочностным свойствам мо­
гут быть использованы как естественные основания.
Выбор конструкции этих фундаментов зависит от степени
пучинистости грунта, расчетного сопротивления грунта и неодно­
родности основания в плане.
Более экономичные столбчатые ФувдамеIIТЫ целесообраз­
но устраивать при непучинистых и слабопучинистых грунтах. На
среднепучинистых грунтах столбчатые фундаменты надо связать
жесткой фундаментной балкой. Между фундаментной балкой и
поверхностью грунта необходимо оставлять зазор не менее 15 см.
На сильно и чрезвычайно пучинистых грунтах необходимо
выполнить монолитный железобетонный ленточный или пере­
крестно-ленточный фундамент. Такие же фундаменты рекомен­
дуется сделать на насыпных грунтах и на грунтах с расчетным
сопротивлением Ro ~ 1,5 кгс/см2, а также в случае залегания в
пятне застройки здания грунтов с различной сжимаемостью. На
сильнопучинистых грунтах возможно возведение ленточного
фундамента из отдельных армированных блоков с обязательным
соединением их в стыках либо омоноличиванием выпусков ар- ,
матуры, либо сваркой закладных деталей (рис. 3.1.2).
Для зданий небольших размеров (стороны 4-5 м) без под­
валов иногда в этом случае целесообразно сделать фундамент в
виде жесткой монолитной или сборно-монолитной плиты тол­
щиной 0,30 см.
На среднепучинистых грунтах допускается укладывать бло­
ки в ленту без их соединения, но над и под ними надо забетони­
ровать армированный пояс высотой 10-12 см. Арматура пояса:
4-6 стержней диаметром 10-14 мм. При этом в кирпичных зда­
ниях необходимо выполнить армированные пояса над проемами
или на уровне перекрытия.
При строительстве деревянного здания возможно примене­
ние поверхностного фундамента из двух рядов армированных
блоков сечением не менее 0,25 х 0,2 м, укладываемых на под-
71
2
б lА
4
з
По 1-1
• •. '.'.е ..
"'.'... ,',,',
.. ............ .. .,'
~ .,: "..;,'.... .....
"
По IIl-IIl
• о' e.~,
, ..~
"" ! .• '/j D •• ..,
• • ••• ·4
ПоV-V
.' 1.. .~ ,'"
..." ..., .• • ( ... D.
!:'·'А.: О.'
..-....."
Рис, 3,1.2, Варианты соединения элементов малозаглубленных ленточных фундаментов: о - фундамент
из свободно уложенных бетонных блоков; б - сборно-монолитный фундамент из ж/б блоков с выпус­
ками арматуры; в - монолитный ж/б фундамент; г - фундамент из бетонных блоков с ж/б поясами;
д - фундамент из бетонных блоков с ж/б поясом: 1 - сборные бетонные блоки; 2 - раствор; З­
сборные ж/б блоки с выпусками арматуры; 4 - монолитный бетон; 5 - монолитный железобетон; 6-
армированные пояса; 7 - железобетонный пояс
сьшку С обязатe.J]ЬНОЙ перевязкой швов. Длина блока должна быть
не менее 2 м. Возможно устройство монолитного железобетон­
ного фундамента такого же сечения.
На пучииистых и слабопучинистых грунтах блоки уклады­
вают свободно, без соединения, непосредственно на естествен­
ное основание или подсыпку в случае укладки на поверхности.
В остальных случаях малозаглубленный фундамент укла­
дывают на уплотненную фильтрующую подсыпку.
В качестве подсыпок применяют пески, кроме пьmеватого и
мелкого, мелкий щебень, котельный шлак и другие непучинис­
тые материалы. При укладке материал подсыпки уплотняют, так
как подсыпка одновременно служит и средством повышения не­
сущей способности основания. Подсыпку изолируют от попада­
ния атмосферных осадков, но одновременно предусматривают
отвод Boды из нее, особенно в случае, если она выполнена в тран­
шеях (рис. 3.1.3).
а б
4 ·/:'{.;',i:~:;/:'!..'::;',:~:~;;;
;W',,~'''i7J:'''; ;W~
Водопроницаемый слой
Рис. 3.1.3. Фундаменты с ОТ150ДОМ воды из основания: а - 15 150ДОПРИ­
емник;' б - 15 150допроницаемый слой; 1 - фундамент; 2 - дренирую­
щая прослойка; 3 - 150досборник; 4 - трубка с 150доприемными от­
верстиями
73
Глубину заложеlIИЯ малозаглублеиного фундамента опре­
деляют исходя из значений расчетного сопротивления Ro, приве­
денных в табл. 3.1.2. В непучинистых и слабо-пучинистых грун­
тах она может равняться 0,3-0,7 м, при этом подсыпка может
отсутствовать или быть толщиной до 20 см. В среднепучинис­
тых грунтах глубина заложения может оставаться такой же, но
толщина подсыпки должна увеличиться до (не менее) 30 см при
глубине промерзания 1,5 м и до 60 см при глубине промерзания
2 м. В сильнопучинистых грунтах толщину подсыпки увеличи­
вают соответственно до 50 см и 1 м. В чрезвычайно пучинистых
грунтах толщина подсыпки должна быть не менее 1/3 глубины
промерзания.
Под незаглубленные фундаменты толщину подсыпки уве­
личивают примерно в 1,5 раза, при этом ширину подсыпки, вы­
ходящей за контур фундамента, выполняют не менее чем на 3
ширины фундамента. В связи с этим при сильнопучинистых грун­
тах из-за большого объема подсыпки, особенно когда имеют ме­
сто сложности доставки подсыпочного материала, применение
поверхностных фундаментов под индивидуальные здания стано­
вится нецелесообразным. Назначая глубину залож'ения фунда­
мента, следует помнить, что уплотненная песчаная подсыпка под
фундаментом также является элементом конструкции фундамен­
та. Но для этого ее ширина должна превышать ширину фунда­
мента на (1,5-1,8)d, rдed -толщина подсыпки (см. рис. 2.3.2).
При этом первое значение относится к подсыпкам из песка сред­
ней крупности, второе - к крупным и гравелистым пескам. В
этом случае за глубину заложения фундамента считают уровень
подошвы подсыпки, а за ширину фундамента - ширину тран­
шеи. Ширину непосредственно фундамента определяют, исходя
из Roматериала подсыпки.
Шнрнна фундамента зависит от его материала. Материа­
лом фynдамента может быrь бут, бутобетон, бетон, железобе­
тон, кирпич, древесина. Для ленточных фундаментов ширина
бутового фундамента в зависимости от вида бута может бьrrь
30-50 см, бутобетонного - 30 см, бетонного или железобетон-
74
ного -до 15 см, кирпичного -не менее 25 см (рис. 3.1.4-3.1.7).
Минимальные размеры по ширине столбчатых фундаментов со­
ответственно 60, 40, 20 и 38 см. Для снижения неблагоприятных
последствий пучения рекомендуется стенки ленточных и столб­
чатых фундаментов выполнять наклонными и изолировать их от
а б
Рис. 3.1.4. Бутовый фундамент: а - на непучинистых грунтах; б - на
пучинистых грунтах; 1 - БУТQвая кладка; 2 - обратная засыпка грун­
том; 3 - подушка из крупнозернистого песка; 4 - штукатурка цемен­
тным раствором и обмазка горячим битумом; 5 - глиняный замок
а б
1
Рис. 3.1.5. Бутобетонный фундамент: а - на непучинистых грунтах;
б - на пучин истых грунтах; 1 - бутобетон; 2 - подсыпка из грунта;
3 - обратная засыпка непучинистым грунтом; 4 - обмазка горячим
битумом; 5 - подсыпка из уплотненного леска
75
смерзания с грунтом рубероидом, пленкой или другим материа­
лом, наложенным на смазку, покрывающую фундамент.
К столбчатым фундаментам относятся и Фу:ндамеIПЫ из свай,
а
б
Рис. 3.1.6. Бетонный фундамент: а - на непучинистых грунтах; б­
на пучинистых грунтах; 1 - бетон; 2 - обратная засыпка грунтом;
3 - обмазка горячим битумом; 4 - подушка из крупнозернистого
песка
а б
Рис. 3.1.7. Кирпичный фундамент: а - на непучинистых грунтах; б­
на пучинистых грунтах: 1 - кирпичная кладка; 2 - обратная засыпка
грунтом; 3 - штукатурка цементным раствором и обмазка горячим
битумом: 4 - подушка из крупнозернистого песка; 5 - опорная по­
душка из уплотненного грунта
76
изготовленных из асбестоцементных или металлических труб на­
ружным диаметром от 75 до 200 мм, погружаемых в пробурен­
ные скважины или вырытые котлованы (рис. 3.1.8). Глубина за­
ложения свай обычно не превышает 2 м. В основании сваи дела­
ют уширение, которое не только расширяет площадь опирания
1
3
2
8
б 9 7
Рис. 3.1.8. Столбчатые фундаменты из асбестоцементных труб: а - в
непучинистых грунтах; б, в - в пучинистых грунтах; 1 - асбестоце­
ментная труба; 2 - бетон уширения; 3 - бетон заполнения; 4 - ар­
матура стыка суширением; 5 - арматура в трубе или металлическая
труба; б - подсыпка или втрамбованный щебень; 7 - цоколь или
ростверк; 8 - песчаная засыпка; 9 - отмостка из глины
77
фундамента, но и является анкерующим элементом против вы­
пучивания фундамента. Поэтому это уширение делают из бето­
на, обеспечив арматурой диаметром 8-12 мм связь уширенной
пяты с трубой. Трубу заделывают в пяте не менее чем на 0,5 м.
Желательно эту арматуру пропустить через всю асбестоцемент­
ную трубу, оставив наверху выпуски для заделки их в кладке
цоколя или монолитном поясе. Внутренняя полость труб запол­
няется тоже бетоном, чтобы предотвратить попадание в трубу
воды и разрушение трубы при замерзании воды. Зазор между
трубой и стенками скважины или котлована заполняют песком
или песчано-гравийной смесью. По~ерхность трубы обмазывают
битумом.
Для изготовления фундамента здания можно использовать
Рис. 3.1.9. Фундамент из чу­
гунной трубы: 1 - труба ди­
аметром 160-200 мм; 2-
раструб труБыl; 3 - бетон
уширен ия; 4 - засыпка; 5 -
втрамбованный щебень; 6-
отмостка
и старые чугунные трубы диамет­
ром 100-200 мм с раструбом, очи­
щенные от грязи. Раструб позволя­
ет устанавливать эти трубы и в пу­
чинистых грунтах без закладки ар­
матуры. Раструб и внутреннюю по­
лость трубы омоноличивают бето-
ном (рис. 3.1.9). От низа трубы до
подошвы бетона необходимо не ме­
нее 20 см, если диаметр котлована
существенно превосходит диаметр
трубы.
Иногда, привлекая буровые ма­
шины, выбуривают котлован диа­
метром 0,35-0,65 м на глубину
1,5-3,5 м. Глубину бурения назна­
чают таI.ОЙ, чтобы фундамент опи­
рался на плотные слои грунта. За­
полняя затем котлован бетоном и
армируя верхнюю часть фундамен­
та, получают буронабивные сваи
(рис. 3.1.10). Такие фундаменты
78
целесообразны при залегании сверху
слабых грунтов, в том числе торфа, и
необходимости их прорезки.
Количество свай в фундаменте
определяют расчетом. Сопротивление
буронабивных свай складывается из
сопротивления грунта под ее подо­
швой и сопротивления трения по бо­
ковой поверхности сваи. Для свай,
стволом которых являются трубы, ус­
танавливаемые в скважины с зазором,
заполняемые песком, трение учиты­
вают только на высоту уширения.
Сопротивление по подошве определя­
ют умножением площади опирания
сваи на грунт на расчетное сопротив­
ление грунта, трение по боковой по-
верхности - суммированием по глу-
Рис. 3. 1. 10. Буронабивная
свая: 1- свая диаметром
300- 650 мм; 2 - цо­
коль; 3 - втрамбованный
щебень; 4 - отмостка
бине трения на отдельных участках. Сопротивление трения вы­
числяют, умножая площадь боковой поверхности сваи на расчет­
ное сопротивление грунта по боковой поверхности (табл. 3.1.2).
Таблица 3 .1.2
Расчетное сопроти.ление rpYHтa на боко.оЙ по.срхности
Грунт
буронабИ.НIХ с.аЙ, тс/м2 при средней глубине располо-
жени!! сло!!
1 м 2-3 м
Песчаные:
- средней крупности 5,4 5,8
-мелкие 3,6 4,0
-пылеватые 2.7 3.2
Песчано-глинистые:
- полyrвеt'дые 3,3 4,5
- тугопластичные 2,7 3,3
- мягкопластичные 2.0 2.3
79
При этом предполагается, что в дно котлована втрамбовано
не менее 10 см щебня, а глубина котлована не менее 2 м. При
меньшей глубине котлована значения расчетных сопротивлений
определяют по интерполяции.
Под ~TeHЫ одноэтажных деревянных зданий иногда дела­
ют фундаменты нз деревянных столбов (стульев), передаю­
щих нагрузку на более плотные слои грунта (рис. 3.1.11). Ма­
териалом для столбов должна быть древесина сосны, листвен­
ницы или дуба диаметром 27-35 см, при этом обычно исполь­
зуют комлевые концы бревен. Длина столбов на 30-50 см боль­
ше глубины заложения столба(l,25-1,8 м). Под нижний ко­
нец столба подкладывают плиту, доску, крест из двух плас­
тин, чтобы уменьшить его осадку. На верхних концах стол­
бов, находящихся на пересечении стен, нарезают шипы, вхо­
дящие затем в соответствующие гнезда окладного венца: дли­
на шипа 13-18 см, ширина - 5-7 см, высота - 9-13 см.
а

-Jl-270-350
Рис. 3.1.11. Столбчатые фундаменты из дреllесины: а - без лежней;
б - с лежнями
80
Столбы располагают под всеми углами,.в местах пересечения
стен и под стенами постройки с промежутками 1,5-3,0 м, а
также под отдельными опорами, наприме: поддерживающи­
ми крыльцо, прогоны И пр.
Деревянные столбы - фундамент, хотя и дешевый, но не­
долговечный. Сосновые столбы стоят 5-8 лет, дубовые - до 12
лет, после чего настолько повреждает их гниль, что они должны
быrь заменены новыми. Чтобы увеличить срок их службы, де­
рево пропитьmают антисептиками - раствором сулемы медного
купороса, поваренной соли, хлористого цинка, креозотом и дру­
гими или обжигают и осмаливают.
Столбы обжигают над пламенем костра или на жаровнях;
обжигаемое дерево постоянно поворачивают для того, чтобы
обугливание происходило равномерно со всех сторон, толщина
обугленного слоя должна быть 1,.5-2,5 см. При обжиге древе­
сина выделяет смолу и другие вещества, обладающие противо­
гнилостными свойствами, кроме того, под влиянием высокой
температуры белковые вещества древесного сока свертываются
и становятся несъедобными для низших организмов, обуслов­
ливающих гниение дерева, и для разрушающих его насекомых.
Столбы, обожженные на длину закапываемой части, затем по­
крывают горячим битумом, что продлевает срок их службы в
1,5-2 раза.
Так как загниванию наиболее интенсивно подвержена та
часть столба, которая расположена в грунте ближе к поверхнос­
ти, эти части должны бьпь лучше всего обожжены и покрыты
битумом или засмолены. При установке столбов в песчаных грун­
тах рекомендуется обкладьmать их слоем глины на глубину 0,35-
0,5 м от поверхности, При установке в глинистые грунты под
столб и в зазоры между ним и стенками скважины засыпают
песок, что существенно снижает воздействие на столбы мороз­
ного пучения грунта.
81
Столбчатые фундаменты из бута, бутобетона, бетона, кир­
пича представляют квадратные или прямоугольные в плане стол­
бы, заглубленные в грунт и возвышающиеся над поверхностью
грунта на 0,2-0,5 м. В плане они размещаются под всеми угла­
ми здания, пересечениями капитальных стен и всеми капиталь­
ными наружными и внутренними стенами. Расстояние между
фундаментами 2-3 м, отдельные опоры (пристроек) также опи­
рают на столбчатые фундаменты, расстояние между которыми
должно быть больше, чем под основным зданием. Нередко часть
столбов, возвышающуюся над грунтом, делают из кирпича, при­
чем ее отделяют от подземной бутовой или бетонной части усту­
пом, назьmаемым обрезом. Обрезы оставляют для того, чтобы
при переходе от бутовой кладки или бетона к кирпичной кладке,
иметь некоторый запас ширины на случай ошибки в разбивке
или неточностей в работе и чтобы какой-нибудь кирпич не ока­
зался на весу.
Ленточные фундаменты представляют собой стенку, заг­
лубленную или лежащую на поверхности грунта, возвышающу­
юся над поверхностью грунта или подсыпки на 0,2-0,5 м. В де­
ревянных зданиях можно делать ленточные фундаменты только
под наружные стены, а внутренние стены опирать на столбчатые
фундаменты.
Бутовые фундаменты выкладьmают из плитнякового и по­
стелистого рваного камня, булыжника. При этом бутовые фун­
даменты из булыжного камня следует возводить только в распор
со стенками траншеи. Бутовым камнем может быть гранит, дио­
рит, базальт, песчаник, плотные известняк и ракушечник. Кам­
ни укладьmают вручную на растворе без опалубки.
Бутобетоииый фундамент выполняют в опалубке, в кото­
рую послойно заливают раствор или бетон, а затем утапливают
булыжник, бой красного кирпича, бут. При мелких траншеях и
82
вертикальных ее стенках возможно выполнение бутобетонных
фундаментов без опалубки.
Наиболее экономичны и долговечны фундаменты из мо­
нолИтного бетона, укладываемого в траншеи и опалубку с по­
слойным трамбованием. Эти фундаменты применяют для всех
типов зданий. Армирование этих фундаментов позволяет при­
менять их на грунтах с малой степенью пучинистости, при этом
уменьшая размеры фундамента. Фундаменты могут быть лен­
точными, столбчатыми, плитными. На рис. 3.1.12 приведен
экономичный железобетонный фундамент деревянного здания.
Фундаменты нз хорошо обожженного ГЛИНЯIIОГО (красно­
го) кирпнча-железllЯКа применяют при отсутствии более дол­
говечных материалов. Они уступают по долговечности бутовым,
бутобетонным и, конечно, бетонным и железобетонным фун­
даментам. Требуют защиты от агрессивных вод. Не рекоменду­
ют их применять при большой глубине заложения и высоком
уровне подземных вод.
ФУПД3МeJIТЫ нз сборных бетонных н железобетОIШЫХ бло­
ков существенно сокращают процесс возведения фундамента. Со­
единение блоков зависит от пучинистости и неоднородности в
плане грунта основания (см. рис. 3.1.2). Как правило, применя­
ют сборные блоки заводского изготовления. Однако возможно и
индивидуальное изготовление блоков, а также использование в
качестве блоков обрезков свай и других желеЗОб~ОННЫХ изде­
лий подходящего профиля.
Заводы сборного железобетона выпускают достаточно раз­
нообразную номенклатуру блоков, которые могут быть уложены
как фундаменты. Наиболее распространены фундаментные сте­
новые блоки: сплошные ФБС и пустотелые ФБП. ДЛЯ пропуска
коммуникаций устанавливают сплошные блоки с вырезом ФБВ.
Размеры блоков даны в табл. 3.1.3. Масса блоков такова, что для
их монтажа обязательно требуется кран.
83
IVT liv
~
~
ПQl/l-l/l
30100 30
lt:1r
1.'.
t;:oi1
~
Рис. 3.1.12. План и сечения конструкции цоколя и ленточного фунда­
мента: 1 - песчаная подушка; 2 - ленточный железобетонный фун­
дамент; 3 - кирпичный цоколь; 4 - брусок нижней обвязки; 5-
стена; б - утеплитель; 7- отмостка
84
Таблица 3.1.3
Марка блоха
OCH08HWC раЗМСРW, мм
Длина Ширина Bwcoтa
300
2380
400
580
500
600
400
1180 500 580
ФБС
600
400
1180 500 280
600
300
880
400
580
500
600
400
ФБВ 880 500 , 580
600
400
ФБП 2380 500 580
600
Блоки изготавливают из тяжелого бетона, реже - плотного
силикатного бетона и керамзитобетона. Для возведения индиви­
дуального дома достаточна ширина блока 30 или 40 см.
Выпускают и более мелкие блоки, например, размерами
300х300х90 мм, 300х300х450 мм, 150х150х300 мм.
Фундаментные блоки укладывают с перевязкой вертикаль­
ных швов, глубину которой принимают не менее высоты блока в
случае сильно сжимаемых и пучинистых грунтов И не менее 0,4
высоты блока в остальных случаях.
85
3.2. ЦОКОЛЬ И отмостка
Часть наружной стены, ограждающей подпольное простран­
ство здания, назьmается ЦОКОЛем. Цоколь предохраняет дом от
охлаждения, переувлажнения подполья. В зависимости от соот­
ношения с внешней плоскостью наружных стен цоколи могут
быrь выступающими или западающими. Наиболее традицион­
ным является выступающий ЦОКОЛЬ, особенно, если его выкла­
дывают из бута или если стены здания выкладывают из легких
каменных материалов, например, ракушечника (рис.3.2.1). Выс­
тупающий цоколь позволяет выправить положение стен при на-
а
Рис. 3.2.1. Выступающий ЦОКОЛЬ: а - при ленточных фундаментах;
б - при столбчатых фундаментах; 1 - стена; 2 - слив из оцинкован­
ной стали; 3 - гидроизоляция по периметру; 4 - цоколь; 5 - желе­
зобетонная монолитная перемычка высотой 10-15 см; 6 - аоздуш­
ная полость 10-15 см; 7 - защита от засыпания воздушной полости
грунтом (доски, горбыль, пластик); 8 - фундаментный столб
личии ошибок в положении фундаментов. Вместе с тем у высту­
пающего цоколя имеются присущие ему недостатки: необходи­
мость устройства защитного слива на выступающей за пределы
наружной стены горизонтальной плоскости, относительно боль­
шой расход материалов и невысокое эстетическое качество.
86
а
30-40 ~
-l-._.
1
2
4
tr . '( '. 11•
..~ ,~ .'1.  .... •
..  ,, .. '
Рис. 3.2.2. Западающий ЦОКОЛЬ: а - I1рИ ленточных фундаментах;
б - при столбчатых фундаментах; 1 - стена; 2 - гидроизоляция;
3 - армированный шов; 4 - ЦОКОЛЬ; 5 - защитная стенка; б­
ростверк; 7 - фундаментный столб
ЗападаlOЩИЙ ЦОКОЛЬ более эстетичен (рис. 3.2.2). Кроме
того, он позволяет укрыть от непосредственного внешнего воз­
действия гидроизоляцию, что улучшает ее работу. 3ападающпй
цоколь более экономичен по расходу
материалов, особенно при большой
толщине наружных стен. Однако уст­
ройство западающего цоколя требует
более тщательного производства ра­
бот.
При кирпичных цоколях, уклады­
ваемых на каменный фундамент и на­
чинающихся на уровне грунта, полез­
но внизу с наружной стороны уложить
ряд из тесаного камня, выдвинув его
на 2-3 см от поверхности стены
(рис.3.2.3). Это повысит прочность цо­
коля В месте, где он наиболее подвер­
жен СЬJРОСТИ и вьmетриванию. Кладут
цоколь на цементном растворе.
87
640
Рис. 3.2.3. Цоколь из
КИРl1ича с включением
каменной кладки
,
Цокольную стенку, укладьmаемую между столбчатыми фун-
даментами для защиты подполья, называют забиркоЙ. Ширина
бутовой забирки - не менее 40 см, кирпичной - 12-25 см, ко­
торую выкладьmают из керамического (но не силикатного) кир­
пича марки не менее 10 на цементном растворе состава 1:4. За­
бирку заглубляют в грунт на 30-50 см. Если основание из пыле­
вато-глинистых пучинистых грунтов, то на дно траншеи под за­
бирку отсыпают 20 см песка и щебня, тщательно их трамбуя. При
этом фундаментьi не соединяют с забиркоЙ. В случае размеще­
ния забирки на железобетонных, металлических или деревянных
балках, опирающихся на фундаменты, при пучинистых грунтах
основания под балками оставляют зазор. Для вентиляции подпо­
лья в стенках кладки или монолитного бетона делают отверстия­
продухи размерами 10х25 см, располагая их с каждой стороны
здания. Для выполнения отверстий закладьmают шаблоны, ко­
торые после окончания бетонирования или кладки извлекают.
Материал забирки зависит от материала стен здания. Если зда­
ние кирпичное, забирка, как правило, выполняется из бута или
кирпича, а при деревянном здании - из бревен или досок. Часто
в деревянном здании забирку делают из кирпича и гораздо реже
в каменном здании - из древесины (рис. 3.2.4).
о 6 в
5
Рис. 3.2.4. Забирки из кирпича (о) и бревен (6, 8): 1 - столбчатый
фундамент; 2 - железобетонная балка, 3 - забирка из кирпича или
древесины; 4 - утеплитель; 5 - подсыпка или бетонная подготовка;
6 - гидроизоляц~я; 1- окладный lIенец; 8 - СЛИlIная доска; 9-
защитная стенка, 10 - отмостка
88
,
t
,
Забирка из древесины бывает горизонтальной пли верти­
кальной (рис. 3.2.5). Горпзоптальпую забllРКУ между столбча­
тыми фундаментами изготавливают из досок толщиной 40-
Рис. 3.2.5. 3абирка деревянная: о - из горизонтально расположенных
досок забирки и защитной стенки; б - из вертикально расположен­
ных досок забирки и горизонтально - защитной стенки, в - с гори­
зонтальным расположением досок забирки и 8ертикальным - защит­
ной стенки; г - с 8ертикальным расположением досок З,абирки и за­
щитной стенки
89
60 ММ, боковая поверхность которых выполнена с гребнем либо
со скосом. Доски заводят в пазы, изготовленные в брусках, вер­
тикально прикрепленных к боковым стенкам деревянной, асбес­
тоцементной; металлической сваи или заделанных в кирпичную
кладку столбчатых фундаментов (рис. 3.2.6).
Рис. 3.2.6. Забирка из древеСИНj)1 в кирпичных или бетонных фунда­
ментах: 1- фундамент; 2 - забирка; 3 - брус, заделываемый 11 кладке
столбчатого фундамента; 4 - защитная стенка
Вертикальную забирку выполняют следующим образом.
Роют траншею на глубину 0,4-0,6 м, в которую подсыпают пе­
сок и укладьmают на глубину 0,3-0,5 м от поверхности горизон­
тальный брус с продольным пазом вверху. Концы бруса заруба­
ют при деревянных сваях либо соединяют в других случаях с
фундаментом. Такой же брус укладьmают сверху, но пазом вниз,
прикрепляя его к обвязке здания и опирая концами на фунда­
мент. Устраивать паз в обвязке не рекомендуется, так как такое
упрощение снижает прочность и долговечность обвязки (оклад­
ного венца в дepeB~HHOM здании). Толщина брусьев 10-15 см,
ширина паза зависит от размеров ДОСКИ в него вставляемой, обыч­
но - 5-7 см. Горизонтальные и :еертикальные брусья и доски
забирок, укладьшаемые в rpYHT, необходимо просмолить или при­
нять другие меры против загнивания.
Сравнивая рассмотренные виды забирок, видим, что на го­
ризонтальную забирку требуется пиломатериал брльшей длины -
до 3 м, тогда как на вертикальную забирку идут короткие доски
длиной 0,7-1 м, в избытке остающиеся при построЙке здания;
поэтому горизонтальная забирка дороже. Однако вертикальная
90
забирка из-за заmивания нижних концов досок требует полной
замены, в то время как в горизонтальной забирке заменяют лишь
нижние доски. Для вентиляции подполья в забирках делают от­
верстия тех же размеров, что и в кладке. На зиму эти отверстия
закрывают деревянными пробками, обитыми войлоком.
3абирку закрывают защитной деревянной стенкой, для чего
к фундаментам с наружной стороны прикреnляют, а в случае де­
ревянных столбов прибивают брусочки сечением 5х5 или 6х6 см,
затем на эти бруски прибивают горизонтально обрезные доски
(тес), толщиной 25 ММ, боковая поверхность которых обработана
со скосом или имеет вырезы. При длине досок более 1,8 м до­
полнительно к забирке прибивают брусок, к которому затем при­
бивают доски стенки. Сверху стенка на уровне окладного венца
перекрывается отливной доской или отливом из кровельного
железа, имеющим наклон к горизонтали 20-350. Отливную доску
прибивают к брускам и окладному венцу. Е?ли стенка здания не
имеет наружной обшивки, отливную доску врезают в окладный
венец. Отлив должен свешиваться над лицевой поверхностью
защитной стенки на 5-10 см, чтобы стекающая в него вода не
попадала на обшивку.
Если по каким-то соображениям хочется иметь защитную
стенку из вертикальных досок, то бруски закрепляют горизон­
тально к фундаментам, а на них прибивают доски обшивки. Ниж­
ний брусок располагают на высоте 10-20 см от грунта. Верти­
кальные доски не доводят до поверхности грунта на 10-15 см, а
просвет между ними 'и грунтом перекрьmают отдельной горизон­
тально расположенной доской, которую легко заменить на но­
вую, после того как она сmиет. С внутренней стороны забирки
засыпают утеплитель, например, керамзит, шлак.
Вертикальное или горизонтальное расположение защитной
стенки не зависит от расположения брусьев в забирке, а только
от вашего вкуса.
По периметру здания устраивается отмостка - прицоколь­
ная конструкция в виде дорожки, имеющая наклон от стены в
91
сторону участка. Основное назначение отмосток - защитить фун­
даменты от поверхностных вод и отвести от стен и фундамента
воду, стекающую с крыши. Это особенно важно в случае, когда
фундамент выполнен в траншее и пазухи между ним и стенками
траншеи заполнены насыпным грунтом.
Ширина ОТМОСТIШ зависит от ее назначения. Если отмостка
предназначена для защиты обратной засыпки фундамента, ее ши­
рина должна на 0,2-0,3 м превышать ширину засыпанной пазу­
хи. В то же время для отвода воды, падающей с крыши, ее шири­
на должна на 0,2-0,3 м выступать за кромку крыши. В любом
случае отмостки шириной менее 0,7-0,8 м не делают. Во избе­
жание увлажнения брызгами цоколя и стен, отмостка должна
располагаться не менее чем на 0,2 М,ниже гидроизоляционного
слоя (рис. 3.2.7,а).
б
Рис. 3.2.7. Отмостка (о) и еодоприемный лоток (6): 1 - цоколь; 2 -
гидроизоляция; 3 - слой бетона или асфальта; 4 - песчаный слой;
5 - каменная наброска; б - глинопесчаная смесь; 7 - глиняный за­
мок
Устройство OТМOCТКlI начинают со снятия слоя раститель­
ного грунта. Затем вокруг здания выбирают выемку глубиной
около 150 мм и шириной не менее 0,7-0,8 м. Образовавшуюся
выемку заполняют мятой глиной, в которую утапливают песок с
92
гравием, щебнем или кирпичный бой. Образовавшуюся компо­
зицию трамбуют до получения плотной массы. Насыпку профи­
лируют таким образом, чтобы уклон от стены до конца отмостки
составил около 100 мм. Спрофилированную поверхность покры­
вают щебнем или гравием, который проливают цементным ра-
, створом состава 1:2. Покрытие отмостки выравнивают рейкой,
устраняя все впадины и бугорки. Через 20-25 ч покрытие же­
лезнят. Железнением назьmают технологический процесс, направ­
ленный на повышение водонепроницаемости растворной стяж­
ки. Для этого на слегка влажное покрытие насыпают сухой це­
мент, который втирают в стяжку металлической гладилкой. Если
ожидаются дожди, зажелезненную поверхность покрывают по­
лимерной пленкой, создавая условия для твердения цементного
слоя. Вместо железнения отмостку можно покрыть слоем асфаль­
та. Только что рассмотренный универсальный вариант конструк­
ции отмостки достаточно сложен, требует различных строитель­
ных материалов. С не меньшим эффектом могут применяться
отмостки упрошенной конструкции. В этом случае глубину вы­
емки уменьшают до 50-100 мм. Дно выемки тщательно уплот­
няют ручной трамбовкой, затем его на всю ширину застилают
внахлест на 0,2-0,3 м двумя слоями гидроизоляционного мате­
риала. В качестве гидроизоляционного материала используют
полиэтиленовую пленку, рубероид и другие не гниющие матери­
алы. На гидроизоляцию до заполнения выемки и устройства не­
обходимого профиля укладывают песчано-гравийную смесь, по­
верх которой укладьmают покрытие из щебня или гравия с про­
ливкой цементно-пе~чаным раствором.
Если фундамент в траншею закладывали враспор без обрат­
ной засыпки пазух и отмостка делается практически на грунте
естественного сложения, покрытие может быть уложено непос­
редственно на предварительно профилированный и утрамбован­
ный грунт.
В том же случае, когда пазухи незначительны и их перекры­
вает сливная доска цоколя, отмостку можно и не делать, но тог-
93
да для сбора и отвода воды с крыш их оборудуют водосборными
желобами и водосточными трубами, а в месте стока воды дела­
ют водоприемный лоток, размещенный в набетонке (рис. 3.2.7).
Конструкция набетонки аналогична отмосткам, лоток же фор­
мируют опалубкой высотой 8-10 см.
Часто вместо выполнения покрытия отмостки из бетонного
раствора укладывают железобетонные плиты размерами 30 х 30
или 50 х 50 см. Швы между плитами засыпают грунтом и засеи­
вают травой. В этом случае отмостка делает дом наряднее.
На участке обязательно должны быть ДОрОЖЮI. Ширина
их обычно - 60-80 см. Делая дорожку, снимают раститель­
ный слой на глубину 7-10 см, углубляют канаву для дорожки
от осевой линии к краям, которую засыпают песком. При нали­
чии щебня его засыпают сверху. Если есть железобетонные пли­
ты, их укладывают на песок, заделывая швы песком или щеб­
нем. Кирпич на дорожку лучше не укладывать, так как он со
временем разрушается. Дорожке придают 2 %-ный уклон В сто­
рону водослива.
Дорога для заезда автомamипы на участок обычно состо­
ит из двух дорожек, которые имеют обязательно щебеночное либо
твердое покрытие из монолитного бетона толщиной не менее 10
см или из железобетонных плит. Между дорожками иногда раз­
меЩaIОТ смотровую яму, а над местом стоянки автомашины де­
лают навес.
В условиях пересеченного рельефа может возникнуть потреб­
ность в устройстве лестниц. Один из простых способов - сту­
пенчатая срезка грунта с последующим укреплением ступеней.
Ступени укрепляют подтоварником, горбьтем или досками. Дре­
весину обязательно ошкуривают. В зависимости от рельефа и
грунта назначают длину ступенек, но она не должна быть менее
0,5 м, а высота - 12-17 см. Ступени удерживают при помощи
кольев, которые забивают или закапывают на глубину не менее
двух высот ступени. Их можно устраивать также из камня или
красного кирпича.
94
}
3.3. Производство работ при сооружении
фундамента
Строительство здания начинают с разБПВЮI его плана в lIа­
туре. Для установки разбивочных осей вокруг здания на расстоя­
нии 1-1,5 м от края будущего котлована забивают или закапьmа­
ют деревянные столбики или обрезки металлических труб (рис.
3.3.1). При большом количестве осей и частом их расположении
устраивают так назьmаемую обноску из досок, прибиваемых к
столбикам. В местах крепления разбивочных осей для лучшей их
фиксации в досках обноски делают неглубокие пропилы или за­
бивают гвозди. Если разбивочных осей немного, можно обой­
тись при их привязке отдельными столбиками, желательно из
обрезков металлических труб. Для лучшей фиксации разбивоч­
ных осей трубы пропиливают на глубину 3-5 мм, а саму трубу
жестко закрепляют в земле. Проволоку или леску обычно крепят
на 20-30 см выше гидроизоляционного слоя будущей стены с
б
2
Рис. 3.3.1. РазБИ8ка траншей с помощью обноски (о) и конструкция
деревянн?й обноски (6): 1 - разбивочные оси из проволоки или кап­
роновой лески диаметром 1-1,5 мм; 2 - пропилы в доске; 3 - гвоздь
70-100 мм; 4 - доски толщиной 40-50 мм; 5 - деревянные столби­
ки диаметром 80-120 мм
95
таким расчетом, чтобы удобно пользоваться О1.'весом при устрой­
стве фундаментов и цоколя. После закладки стен разбивочные
оси убирают.
При пересечении разбивочных осей важно правильно уста­
новить прямой угол. Это делают с помощью треугольника с со­
отношением сторон 3:4:5, изготовленного из мягкой проволоки,
веревки или шнура длиной 10-15 м. Окончательную проверку
прямых углов проводят измерением диагоналей прямоугольни­
ка. После горизонтальной разбивки осей необходимо также уста­
новить их вертикальные отметки. При отсутствии геодезических
инструментов (теодолита или нивелира) 'это можно сделать с
помощью водяного уровня, для чего, приняв одну из отметок на
обноске или на столбике за исходную, переносят ее на другие
стороны обноски или столбика. Таким образом, получают по на­
ружному периметру горизонтальную линию, от которой ведут
отсчет отметок при земляных работах, устройстве фундаментов,
цоколя и закладке наружных и внутренних стен.
Перед рытьем траншей, ям или котлованов со всей площа­
ди, где намечается строительство (срезка или подсыпа),' необхо­
димо снять верхний растительный слой грунта и перевезти его в
сад или на огород. Для предохранения ям и котлованов от затоп­
ления дождевой водой с верхней стороны участка устраивают во­
доотводную канаву. Земляные работы выполняют либо вручную,
либо с помощью землеройных механизмов.
При мелком заложении фундаментов траншеи и ямы целе­
сообразнее отрьшать вручную. В этом случае при аккуратной ра­
боте в суглинках и глине, которые встречаются чаще остальных,
можно ост~влять вертикальные земляные стенки и использовать
их в качестве опалубки. При глубоком заложении фундаментов,
а также при отрывке котлована для подвала желательно исполь­
зовать землеройную технику: ,автобур для бурения скважин под
столбчатые фундаменты, экскаватор для отрывки котлованов и
траншей под ленточные фундаменты и подвалыI.
Разбивка плана траншей, ям и котлованов производится с
учетом допустимой крутизны земляных откосов.
96
Рьпь котлован с вертикальными стенками в насыпных, пес­
чаных и крупнообломочных грунтах следует на глубину не более
1 м, в супесях - 1,25 м, в суглинках и глинах - 1,5 м. При необ­
ходимости разработки более глубоких котлована или траншеи сле­
дует выполнить откос с крутизной согласно табл. 3.3.1 Под кру­
тизной заложения понимают отношение высоты откоса (глуби­
ны траншеи) к заложению откоса. При залегании различных ви­
дов грунтов крутизну откосов траншеи назначают по наиболее
слабому грунту.
Таблица 3.3.1
ГpYНТ~1
Крутизна при глубине траншеll ие более
1,5м 3м
Неуплотненные насыпные 1 : 0,67 1:1
Песчаные и I})авийные 1 : 0,5 1 : 1
Супесь 1 : 0,25 1 : 0,67
Суглинок 1 : О 1 : 0,5
Глина 1 :0 1 : 0,25
Лесс 1 : О 1 : 0,5
Разработанный грунт из траншей и котлованов, если он нигде
не складируется, размещается на расстоянии не менее 0,5 м от
бровки котлована, валуны и камни удаляют с откосов обязатель­
но.
При необходимости раз­
работки траншей с вертикаль-
I
ными стенками на глубину,
большую ранее приведенной,
а также при длительном пере­
рыве между разработкой грун­
та и бетонированием, траншеи
и ямы укрепляют. Крепление
стен может бьпь выполнено
щитами или отдельными дос­
ками (рис. 3.3.2). Верх крепле­
ния должен возвышаться над
4 КОНС'I Р 1d.JIOЭ r 'Зд
97
Рис. 3.3.2. Крепление стенок
траншей: 1 - щиты из горбыля
или досок; 2 - распорка
Грунтом не менее чем на 15 см. Крепления устанавливают сверху
вниз по мере разработки на глубину не более 0,5 м. Для перехода
через траншеи укладывают трапы.
ВозведеlШе фундаментов следует начинать сразу после от­
рьmки траншей, ям, котлованов. Поэтому, выкопав траншею и
удалив из нее разжиженный грунт и воду, засыпают в нее песок
или щебень слоями по 15-20 см на требуемую высоту с обяза­
тельным уплотнением и трамбованием. При благоприятных грун­
товых условиях дно траншеи только зачищают.
Для изготовления железобетонного фундамента необходи­
мо сделать опалубку, которую собирают из деревянных щитов.
Опалубку устанавливают на высоту фундамента или цоколя
(рис. 3.3.3). Щиты изготавливают из обрезных досок толщиной
30-40 мм.
Доски соединяют через 1,5 м накладками и фиксируют с
внутренней стороны на нужный размер фундамента распорками,
а с наружной - колышками, которые забивают в грунт вплот­
ную к доскам. Опалубка должна надежно крепиться к основа­
нию. Ее сдвиги и перекосы не допускаются. Отклонения от про-
2
Рис. 3.3.3. Конструкция деревянной опалубки: 1 - щит; 2 - колы­
шек; 3 - распорка; 4 - накладка
98
I
ектных размеров щитов по длине и ширине не ДО1!ЖНЫ превы­
шать 5 мм, а ширина щелей между досками - 2 мм. Щиты опа­
лубки изготавливают заранее и устанавливают сразу lIосле от­
рьmки траншей и котлованов. Последовательность работ намеча­
ют, исходя из объемов укладываемого бетона. При ручном изго­
товлении раствора и невысоких темпах производства работ воз­
можно поэтапное использование опалубки с еженедельной пере­
становкой на новые участки. Так, если бетонирование ленточных
фундаментов рассчитано на месяц, то при еженедельной пере­
становке щитов достаточно иметь опалубку на 1/4 часть фунда­
ментов. Щиты опалубки могут быть переставными как по верти­
кали (при послойном бетонировании по всему фронту фундамен­
та), так и по горизонтали (при бетонировании отдельными участ­
ками на всю высоту).
Внутреннюю поверхность опалубки и ее основание защища­
ют толем, что исключит сцепление бетона с досками и предохра­
нит их от загрязнения цементным молоком. На опалубку нано­
сят отметку верха фундамента или цоколя..
Арматурный каркас, укладьmаемый в опалубку, состоит из
продольной и поперечной армату­
ры. Последнюю удобно выпол­
нить в виде спирали из обожжен­
ной проволоки диаметром 3-
5 мм. В качестве продольной ар- 1
матуры используют стержни глад­
кие и периодического профиля
диаметром 10-18 мм, трубы и
уголки. Площадь поперечного се­
чения продольной арматуры верх­
него и нижнего рядов должна
быть не менее 8 см. Спираль из­
готавливают следующим образом.
Собирают деревянный остов и зак­
репляют металлическими уголка­
ми (рис. 3.3.4). Наматьmают на
99
з
Рис. 3.3.4. Конструкция при­
спосо6ления для изготовле­
ния спирали: 1 - дере!ян­
ный оста!; 2 - металличес­
кие уголки; 3 - про!олока
остов проволоку, выбивая прямой угол в местах ее перегиба мо­
лотком. Для армирования одной стороны фундамента длиной
6,5 м достаточно 13 и 14 витков проволоки. Сняв проволоку с
остова, ее вьпягивают в спираль шагом 0,5 м. Укладьmают спи­
раль в опалубку так, чтобы ее контур имел зазор 2-3 см с доска­
ми опалубки. Это обеспечит необходимую толщину защитного
слоя бетона для рабочей арматуры. Затем в спираль заводят стер­
жни продольной арматуры нижнего ряда (2 или 3 стержня, в за­
висимости от диаметра) и закрепляют их в спирали проволочны­
ми скрутками. Аналогично 2 или 3 стержня закрепляют в верх­
ней части спирали, и каркас готов (рис. 3.3.5). K~pKac также мож­
но изготовить, используя гнутые или сварные хомуты попереч­
ной арматуры.
Рис. 3.3.5. Конструкция арматурного каркаса: 1 и 2 - арматура
нижнего и l!Iерхнего рядов; 3 - спираль
100
Если нет возможности приобрести готовый бетон, его при­
готовление начинают с подготовки составных частей: цемента,
заполнителя (песок и щебень), воды, а также несложных при­
способлений. Заполнитель не должен содержать примеси гли­
ны, иначе не получится бетон необходимой прочности. При на­
личии глины заполнитель надо промыть водой. Состав запол­
нителя должен быть следующим: примерно 40 % его общего
объема - зерна размером 21-40 мм, 30 % - 11-20 мм и еще
30 % -6-10 мм. У выбранного места для бетонирования уста­
навливают ящик поблизости от опалубки. Его дно и стенки же­
лательно обить кровельным железом. Для приготовления бе­
тонной смеси хорошо использовать бетономешалку вместимос­
тью 0,25 м3 •
При отсутствии электроэнергии приготавливают бетонную
смесь вручную. В ящик высыпают полное ведро (оцинкованное
коническое) цемента и полтора-два ведра песка. Все перемеши­
вают до получения однородной по цвету массы. Затем в смесь
добавляют три ведра щебня и снова все перемешивают. Потом в
смесь добавляют две трети ведра воды и еще раз все перемеши­
вают. Если смесь получилась густая, то в нее можно долить еще
воды. Готовая смесь на лопате оседает, но не растекается. При­
готовленную смесь укладывают в опалубку слоями по 15 см. Для
проникновения бетона в промежутки между арматурой и опалуб­
кой последнюю простукивают снаружи, одновременно штыкуя
смесь.
Бетонирование должно сопровождаться непрерывным на­
блюдением за состоянием опалубки. При обнаружении смеще­
ний или перекосов опалубки бетонирование надо прекратить, а
опалубку исправить до начала схватывания бетона.
Уложенный бетон нуждается в уходе. Через 2-3 ч после
схватывания (начало твердения) бетона верхнюю открытую по­
верхность следует закрыть слоем опилок или песка. Летом при
среднесуточной температуре 15ос и выше поверхность бетона
рекомендуется поливать водой в течение первых 3 суток: днем -
не реже чем через каждые 3 ч, ночью - не менее одного раза, а
101
в последующие 7-10 суток - не реже 3 раз в сутки. При темпе­
ратуре 5 0 С и ниже поверхность бетона поливать не нужно. По
истечении 7-10 суток после укладки смеси бетон приобретает
необходимую прочность (50 % проектной) и можно класть цо­
коль.
Кладка цоколя должна быть прочной, с гладкой наружной
поверхностью и расшивкой швов. Для кирпичной кладки можно
использовать цементно-глиняный раствор состава 1:0,7:6,5 в
объемной дозировке, то есть на 1 часть цемента нужно брать 0,7
части глиняного теста и 6,5 частей песка. Готовят его так. Снача­
ла засыпают в ящик цемент и песок и тщательно перемешивают
до получения однородной сухой смеси. В другой емкости глину
смешивают с водой до получения тестообразной массы. Тестооб­
разную массу кладут в сухую смесь цемента и песка и тщательно
перемешивают до получения однородной массы, чтобы получить
раствор требуемой густоты, в смесь добавляют воду. Глиняная
добавка делает раствор более пластичным.
Чтобы кладка цоколя бьmа качественной, по углам фунда­
мента к доскам наружной опалубки прикрепляют деревянные
рейки-порядовики, размеченные по высоте через 75 мм (толщи­
на кирпича 65 мм плюс толщина шва 10 мм). Верх первого ряда
фиксируют шнуром-причалкой. По шнуру проверяется горизон­
тальность кладки ряда. По мере кладки рядов шнур-причалку
нужно перемещать вверх.
Если данная технология кладки цоколя окажется все же
сложной для исполнения, вместо шнура-причалки можно при­
менять щиты опалубки, снятые с внутренней стороны фундамен­
та. Их опирают на рейки-порядовки так, чтобы на 25 мм пере­
крывалась верхняя плоскость фундамента и обеспечивалось раз­
мещение кладки по оси фундамента.
Кладку надо начинать с угла и постепенно перемещаться
влево от уложенной части ряда наружных стен, предусматривая
перевязку рядов в местах примыкания наружной степы к внут­
ренней. Перед укладкой кирпич следует подержать в воде 2-3
мин.
102
Правильность укладки кирпича можно проверить с помо­
щью прямоугольного треугольника. Длинный катет треугольни­
ка должен находиться на плоскости кирпича, короткий - у опа­
лубки.
Кладку бутовых фундаментов ведут в следующем поряд­
ке. Первый ряд камней кладут на дно траншеи, причем для него
выбирают наиболее крупные и толстые постелистые камни. Этот
ряд кладут без раствора, каждый камень осаживают ударами трам­
бовки так, чтобы он плотно лежал на грунте. Образовавшиеся
между камнями зазоры заполняют щебнем, при этом стараются,
чтобы поверхность первого ряда была по возможности ровной.
На первый ряд укладывают слой раствора и по нему выкладыва­
ют второй ряд камней, также стараясь подогнать их плотнее друг
к другу и защебенить зазоры, но обязательно с перевязкой швов
первого и второго рядов. Для перевязки камней в рядах кладки
их укладывают попеременно длинной стороной вдоль или попе­
рек стены. При этом если в первом ряду камень уложен продоль­
но, то в следующем ряду - поперечно. Перевязка камней в ря­
дах делается как в поперечном, так и в продольном направлении,
уложив второй ряд плиты, заливают его сверху раствором, раз­
веденным до густоты сметаны, (рис. 3.3.6). При этом надо со-
а
б
Рис. 3.3.6. Фундаменты из постелистого бута: 0- 8 ряду кладки
камни одной высоты; б - кладка из камней разной 8ЫСОТЫ
103
блюдать горизонтальность рядов и обеспечить перевязку швов.
Кроме того, следует стараться укладывать наиболее постелис­
тые и крупные камни в углах и снаружи фундамента. Разумеет­
ся, что на кладку идут чистые, без грязи, хорошо смоченные кам­
ни.
Для кладки бута применяют растворы на портландцементе
марки 300-400 в пропорции от 1:3 до 1:4 (цемент: песок); воз­
можно применение цементно-известкового раствора в пропорции:
1 часть цемента, 1 часть серой извести и 6-7 частей песка. Если
нижние ряды приходится класть ниже горизонта грунтовых вод
на слабом грунте, полезно, положив насухо первые два ряда, за­
лить их раствором из 1 части портландцемента на 3 части песка и
на таком же растворе положить следующие 2-3 ряда камней,
после чего применять более тощий раствор, т .е. с большим со­
держанием песка.
Камни в кладке необходимо укладывать горизонтальными
рядами как можно плотнее и тщательно перевязывать. Надо сле­
дить, чтобы не образовывались плоскости, по которым может
произойти скольжение части кладки, от чего фундамент может
разрушиться (рис. 3.3.7).
Рис. 3.3.7. Неправильная кладка фундамента из булыжника: 1-
плоскости, ПО которым может.произоЙти разрушение кладки
104
Булыжный камень мало пригоден для кладки фундамен­
тов. Из такого камня рекомендуется возводить фундаменты врас­
пор с траншеей (давать значительное уширение подошвы для обес­
печения устойчивости кладки), пр;именять более жирный раствор
более тщательно выполнять расщебенку швов. Естественно, что
на кладку из булыжника раствора уходит больше, чем на кладку
из рваного камня или постелистого бута.
Вьmолвеиие бутобетонных фундаментов в отличие от бу­
товых требует устройства опалубки. В непучинистых грунтах роль
опалубки могут вьmолнять аккуратно отрьпые вертикальные стен­
ки траншей и ям. В этом случае для сглаживания неровностей и
предотвращения осыпания грунта в процессе производства работ
целесообразно закрьпь боковые стены траншей и ям старыми
кусками толя, рубероида или пергамина.
В пучинистых грунтах стенки бутобетонных фундаментов
(так же, как и бутовых) для уменьшения сил бокового сцепле­
ния, возникающих при сезонных деформациях грунта, делают
наклонными.
В отличие от бутовых фундаментов, где каждый камень под­
бирают и укладьmают на растворе на свое место, в бутобетонных
фундаментах камни послойно утапливают в раствор без особой
сортировки по размеру и перевязки рядов. При длительной паузе
в бетонировании (более 6 ч) верхний ряд камней наполовину не
заливают раствором. Пластичность раствора должна обеспечи-
. вать свободное утапливание камней без их трамбования. Распа­
лубку фундаментов производят не ранее чем через неделю. На­
ружные поверхности после снятия опалубки затирают цемент­
ным раствором и покрывают горячим битумом.
При выполнении работ по сооружению фундаментов и цо­
кольной части здания рекомендуется следующее:
1. Во избежание накопления излишней влаги в траншее и об­
рушения ее стен рытье траншей и ям начинать после завоза
на участок фундаментных блоков, камня, древесины или всех
компонентов бетона и железобетона, необходимых для из­
готовления фундамента.
105
2. После укладки блоков в траншею или снятия опалубки пос­
ле бетонирования фундамента тщательно засыпать и уплот­
нить пазухи грунтом.
3. После окончания работ по возведению фундамента и цоколя
выполнить планировку вокруг здания, обеспечивающую от­
вод воды от здания.
4. Не оставлять малозаглубленные (незаглубленные) фунда­
менты ненагруженными на зимний период. Если это нельзя
выполнить, то вокруг фундамента необходимо сделать теп­
лоизоляционное покрытие из опилок, шлака, керамзита, со­
ломы, шлаковаты и т.п. Это требование не распространяет­
ся на непучинистые грунты.
5. Не допускается, за исключением основания из неводонасы­
щенного песка крупностью не менее средней, укладывать
фундаменты на промерзший грунт.
В зимнее время фундаменты можно возводить только в слу­
чае глубокого залегания подземных вод с обязательным оттаива­
нием мерзлого грунта основания и засьшкой пазух непучинис­
тым грунтом.
Соблюдая эти рекомендации, вы избавите себя от неприят­
ных ХЛОПОТ, связанных с неравномерным деформированием фун­
дамента.
3.4. Заглубленные сооружения
к заглубленным сооружениям, устраиваемым на участке,
относятся погреба, подвалы, подземные гаражи, водосборные во­
доемы, смотровые и выгребные ямы. Наиболее необходимым в
хозяйстве заглубленным сооружением является чаще всего по­
греб.
Погреб может располагаться под зданием и вне его. Если
погреб предусмотрен в составе здания (тогда его называют под­
валом), его стены, как правило, совмещают с ленточными фун­
даментами несущих стен. При столбчатых фундаментах возможно
106
устройство подвала круглого в плане. Для предотвращения подъе­
ма стены при пучении грунта стены подвала с наружной стороны
выполняют наклонными. Толщина стен прямоугольного в плане
подвала зависит от материала, глубины подвала и длины его сте­
ны в свету (табл. З.4.1).
Таблица 3.4.1
Глубина по.ц.ала Минимал.Н8.11 толщина стен IIOДllалn (СМ)
Кладка (расСТОlIНие от при длине стеи.t
стен IШnНИРОllOчноii
до3м 3-4м
подаала отметки до пола
под.ала), м В.ерху Внщу Вlерху ВНIIЗУ
Бутовая 2 60 80 75 90
2,5 60 90 75 105
Бутобетонная 2 40 50 50 60
2,5 40 60 50 80
Бетонная моно- 2 20 30 25 40
литная 2,5 20 40 25 50
Из бетонных 2 25 40 30 50
блоков 2.5 25 50 30 60
Кирпичная 2 38 64 51 77
2.5 38 77 51 90
Примечание: При армировании толщина стен подвала может быть уменьшена.
Наиболее простая конструкция погреба вне ЗДalIИЯ - полу­
заглубленпый погреб (рис.З.4.1). Его сооружают при близком
расположении от поверхности горизонта грунтовых вод, и он тре­
бует минимального расхода строительных материалов. Такой
погреб имеет каркасную конструкцию из тонкомерных бревен или
подтоварника.
Если уровень грунтовых вод находится более чем на 0,5 м
ниже поверхности будущего пола, пол делают из утрамбованной
глины с добавлением щебня или гравия. При длительной эксп­
луатации погреба на полу устраивают цементно-песчаную стяж­
ку. В качестве теплоизоляции, покрьmающей кровлю, использу­
ют местный грунт с добавлением торфяной крошки или керам­
зита. Обсыпку ведут снизу толщиной 0,4-0,5 м. Поверхность
обсыпки укрепляют дер.ном или посевом тpaв~ В северном торце
107
Рис. 3.4.1. Разрез полузаглубленного погреба: 1 - грунтовая засып­
ка; 2 - вентиляционный короб; 3 - гидроизоляция; 4 - обрешет­
ка; 5 - дверь; 6 - стойки; 7 - лежни; 8 - пол
погреба устанавливают утепленную дверь с крытым тамбуром
для дополнительной защиты. В верхней части крыши погреба
размещают короб вытяжной вентиляции. Вокруг погреба в полу­
метре от нижней кромки засыпки роют канаву глубиной 0,3 м с
продольным профилем, обеспечивающим отвод атмосферных и
талых вод.
В случае, когда к постройке погреба приступают после стро­
ительства здания, целесообразнее делать заглубленный погреб
под какой-либо сооружаемой постройкой, хозблоком, кухней, га­
ражом, верандой и Т.п. (рис. 3.4.2). Тогда стены погреба являют­
ся фундаментом постройки, а сама постройка обеспечивает необ­
ходимую теплоизоляцию. Погреб имеет вход из постройки.
устройство такого погреба начинают с отрывки котлована,
размеры которого увеличивают на 0,6 м по каждой стороне в срав­
нении с габаритами будущей хозяйственной постройки. После
108
Рис. 3.4.2. Разрез погреба под гаражом (летней кухней, 8ерандой):
1 - теплый пол; 2 - стены строений; 3 - стена погреба; 4 - обмаз­
ка из битумной мастики или глины; 5 - обратная засыпка пазухи; б -
несущий пол; 7 - технологический дренаж; 8 - оклеенная гидроизо­
ляция; 9 - защитный слой; 10 - штукатурка; 11 - отмостка; 12-
гидроизоляция стены строения
того как котлован вырыт, на зачищенное от остатков рыхлого
грунта, спланированное и утрамбованное дно насыпают щебень,
гравий, кирпичный бой или песок толщиной 10-12 см.
Дренирующий слой трамбуют и проливают горячим битумом
или застилают пол водонепроницаемым материалом (пергамин,
пленка, плотная бумага и т.п.). Пол выполняют из монолитного
бетона толщиной 20-30 см, стены - из сборного бетона или кир­
пича толщиной 30-50 см. С внешней стороны стены обмазывают
мастикой, с внутренней - выполняют оклеечную гидроизоляцию.
Гидроизоляцию защищают стенкой в 1/2 кирпича, которую затем
штукатурят. После возведения стен засыпают местным грунтом с
109
::  .........
...: .: .- , .....
.,, .... ..
·1 1·1 е.
: 2 :.. ;'
::': з:-:'~....;-:.-;f,f.;~~
'.
.': 4:'':' I
:., 5:'::О.'
.:. 6' ::: ::1
'::: 7:~' ~
 - : } : { . ( • О~·JO,JJ.~ ......,.: :'::I~.. 020 . . ..• '.' .'.....• . . . . . ::)
..::....~.: .- : .:::
. . . _.-: 1. -: . . . . • '  : _. е... ' ..:.- .. , ..  . . .-:.
Рис. 3.4.3. Конструкция погреба
послойным трамбованием пазух.
Поверх засыпки пазух укладьmа­
ют отмостку. Перекрытие погре­
ба или пол хозяйственной пост­
ройки, делают двойным с }7еп­
лителем .
Наиболее сложно постро­
ить погреб при высоком распо­
ложении уровня грунтовых вод
(рис. 3.4.3). В этом случае кот­
лован отрывают с постоянной
откачкой воды. По мере заглуб­
ления стены котлована закреп­
ляют досками. При достижении
необходимой глубины на дне
выполняют технологический
дренаж и устанавливают техно­
логические дощатые стены на
расстоянии 150-200 мм от щи­
тов крепления стен котлована
для выполнения пристенного
дренажа.
при I!IbICOKOM уровне грунтовых
I!IOA: 1 - ограждение стены кот­
лована; 2 - дренажный слой;
3 - несущие стойки; 4 - плос­
кий шифер; 5 - гидроизоляция;
6 - бетон; 7 - арматура На дно и технологические
стены вплотную друг к другу
гвоздями пришивают листы плоского шифера. Из промежутка
между ограждениями насосом откачивают поступающую воду.
На уложенные листы шифера укладьmают рулонную гидро­
изоляцию. Затем из монолитного железобетона выполняют пол
и стены погреба. После набора прочности бетоном засыпают пе­
сок в промежуток между ограждениями.
Перекрытие погреба располагают выше горизонта грунто­
вых вод, и поэтому оно к.онструктивно не отличается от ранее
рассмотренного. Внутреннюю поверхность погреба покрьmaют или
выкладывают пористым материалом: кирпичом, штукатуркой,
деревом, обмазкой из глины. Это обеспечивает ~остоянство тем-
11 О
пературы в погребе. Ни в коем случае не следует покрывать сте­
ны пленкообразующими красками и эмалями. Для окраски мож­
но использовать известь либо мел
Эффективная эксплуатация погреба в большой степени за­
висит от качества вентиляции. Размещая вводы вентиляции не­
обходимо иметь ввиду, что трубу вытяжной вентиляции следует
располагать возможно дальше от двери, люка или лаза поrpеба,
которые при необходимости в этом случае можно использовать
для усиления приточной вентиляции.
Вентиляция считается удовлетворительной, если не более
чем через 2 часа исчезает внесенный в закрытый поrpеб посто­
ронний запах.
Если при нормально работающей вентиляции потолок и сте­
ны продолжают оставаться сырыми, а в морозные дни на них
появляется иней, это свидетельствует о недостаточной теплоизо­
ляции. В этом случае прежде всего утепляют засыпное перекры­
тие подсыпкой керамзита, торфяной крошки, древесного угля,
шлака и т.п. или заменой утеплителя. Для утепления использу­
ют также соломенные маты и минеральную вату.
Наиболее часто промерзaIOТ стены поrpеба, когда они со­
вмещены с фундаментом постройки. В этом случае расстилка
матов и обвалование снегом цоколя сооружения по внешнему
периметру иногда позволяют устранить промерзание.
При капитальном утеплении поrpеба с внутренних сторон
промерзающих стен поrpеба кладут кирпич. Если инея нет, клад­
ку делают толщиной в 1/2 кирпича. При наличии инея кладку
делают толщиной в кирпич. Утепление может быть сделано так­
же с помощью минеральной ваты толщиной 5-7 см с последую­
щей зашивкой обрезными досками.
Если после сооружения погреба в него поступает вода, это
свидетельствует о повреждении или некачественном выполнении
гидроизоляции. Отремонтировать гидроизоляцию практически не­
возможно, поэтому ее необходимо делать заново.
Другие заглубленные сооружения строят по технологии по­
гребов. При строительстве выrpебной ямы стены ее выводят на
111
0,15-0,20 м выше планировочной отметки с последующей об­
сыпкой и устройством отмостки. Такая конструкция защищает
яму от наполнения талыми и ливневыми водами. Иногда для
сбора ливневых и талых вод, подогрева водопроводной воды,
используемой при поливе и других технических нужд, на участ­
ке устраивают водосборные водоемы. Стенки водоема могут быть
вертикальными в глинистых грунтах или пологими. Глубина
водоема - 0,5-0,7 м. Во избежание подтопления окружающей
территории в водоеме устраивают гидроизоляцию обычно из слоя
глины, покрытого полиэтиленовой пленкой. Пленку укладыва­
ют в три слоя на предварительно утрамбованный слой глины и
защищают слоем гравия или щебня частицами размером 50-
100 мм с проливкой цементно-песчаным раствором при его соот­
ношении 1:4 или 1:6.
3.5. Ремонт, восстановление и усиление
фундаментов
За период эксплуатации здания и усадебной постройки они
претерпевают ряд изменений: возникают надстройки и пристрой­
ки, разрушаются фундаменты, осадка или подъем некоторых из
них приводят К перекосам .
ПРИЧIlllаМlI HepaBHoMepHыx деформаций здания могут быть
дополнительные нагрузки на отдельные фундаменты при выпол­
нении пристроек или надстроек, повышение (реже - понижение)
уровней подземных вод, разрушение от гнили деревянных или
нарушение кладки кирпичного фундаментов, а также осадки,
вызванные оттаиванием после замерзания основания малозаглуб­
ленных фундаментов. Часты случаи HepaBI.I0MepHoro подъема
свайных фундаментов при промерзании пучинистых грунтов.
Чаще всего возникает необходимость замены деревянных
фундаментов (стульев). Они подвергаются активному гниению в
зоне деременной влажности (на участке 30-40 см ниже поверх­
ности грунта). Сгнившие фундаменты обнаруживают простуки-
112
-1
ванием топором или острием лопаты, которые разрушают сгнив­
шую древесину. Фундамент меняют, если он сгнил наполовину
своего первоначального диаметра. На место сгнившего ставят
такой же деревянный или чаще выкладьmают кирпичный или
каменный столб. Можно изготовить и бетонный фундамент. Глу­
бина установки нового фундамента должна быть не менее глуби­
ны заменяемого. ,
До начала работ все необходимые материалы и приспособ­
ления должны быть доставлены к месту работ. В местах, где
намечена замена стульев, разбирают часть цоколя здания и осво­
бождают стул от примыкающих к нему конструкций. Затем на
расстоянии 0,7-1 м от, заменяемого стула делают временную
опору под нижний венец здания с одной или двух сторон стула.
Обычно времеННЫJvIИ опорами являются деревянные клетки - го­
родки, иногда это - короткие стулья.
Вначале вывешивают домкратом или рычагом (рис. 3.5.1)
стены настолько, чтобы складный венец вышел из шипов фун­
даментных стульев, и в таком положении его поддерживают,
фиксируя положение рычага или домкрата. При этом под венец
подводят временные опоры и передают на них нагрузку, напри­
мер, заклинивая пространство между венцом и верхом времен­
ной опоры. Затем вокруг заменяемого стула отрывают яму, Н,
вынув старый стул, устанавливают новый, длина которого боль­
ше на осадку старого стула, после чего опускают стену так, что-
Рис. 3.5.1. Схема ВЫ8ешивания стены рычагом
113
бы шип нового стула попал в rnездо венца. Завершая работу,
восстанавливают забирку. При замене стульев как бы осторож­
но и аккуратно ни выполняли работу, часто трескается штука­
турка стен и потолков, повреждаются дымоходы, перекашива­
ются окна и двери, так что деревянный стул лучше заменять на
каменный или бетонный, чтобы в дальнейшем избежать этих
работ.
При необходимости замены части каменного или кирпич­
ного фундамента уширен ия или углубления его со стороны ос­
лабленного участка фундамента роют шурф, затем разбирают
слабую кладку и заменяют ее новой из тех же или более проч­
ных материалов. При значительном разруше.нии кладки пере­
кладывают весь фундамент. При повышении нагрузки на фун­
дамент увеличивают площадь его подошвы (рис. 3.5.2). Реже
делают его более глубоким (рис. 3.5.3). Последний вид работ
требует специальной подготовки, поэтому для выполнения си­
лами индивидуального застройщика не рекомендуется.
Наиболее сложна сплошная замена старых фундаментов кир­
пич~ого или каменного здания, разрушившихся со временем, но­
выми. Она может быть выполнена как без изменения ширины и
Рис. 3.5.2. Усиление существующих фундаментов увеличением площа­
ди подошвы (различные варианты): 1 - заклинка; 2 - поперечник;
3 - НОl!lая кладка; 4 - уплотненный грунт
,
114
о б в
Рис. 3.5.3. Этапы подведения фундамента: о - подведение балок-об­
вязок и проходка шурфа с креплением; б - разборка старого фунда­
мента с креплением, проходка горизонтальной выработки; в - возве­
дение нового фундамента
глубины заложения фунд~ента, так и с одновременным ушире­
нием подошвы и увеличением глубины заложения.
Основные приемы подводки IIОВЫХ фундаментов взамен
разбираемых старых состоят в следующем. В зависимости от со­
стояния фундаментов и уровня подземных вод подлежащий за­
мене фундамент разбивают на участки длиной 1-2 м и устанав­
ливают последовательность выполнения работ. Затем в намечен­
ном месте отрывают шурф с креплением стен, разбирают старый
фундамент и выкладывают взамен его новый. Подводку фунда­
мента следует начинать с наиболее слабых участков или под сте­
нами, наименее ослабленными проемами. При этом новые учас­
тки грунта для опирания фундамента (в случае уширения подо­
швы) надо уплотнить, чтобы повысить его несущую способность,
т.е. выровнять ее с несущей способностью грунта, обжатого мас­
сой старого фундамента. Простейший способ - втрамбовьmать
щебень слоями 5-10 см до тех пор, пока он не будет при ударе
115
трамбовкой разбиваться. После уплотнения грунта выполняют
новую кладку с тщательным соединением в штрабах со старой
кладкой. Вместо кладки можно уложить бетон, предварительно
установив опалубку.
От участка, где новый фундамент подведен, последующий
участок должен отстоять не менее чем на два участка, на кото­
рых подводка не начиналась или уже закончена и кладка или
бетон приобрели необходимую прочностq.
В случаях, когда над усиляемым фундаментом расположе­
ны недостаточно прочные стены, их усиливают подведением ба­
лок-обвязок (см. рис. 3.5.3). Эти балки заводят в пробитые в сте­
нах горизонтальные штрабы с последующей заливкой простран­
ства между кладкой и стенкой балки цементно-песчаным раство­
ром состава 1:3 и забивкой полусухим цементным рас';Гвором со­
става 1:1 или 1:2 зазора между верхней полкой балки и нижней
плоскостью штрабы. Балки также заводят поочередно, чтобы не
ослабить и без того слабые стены с двух сторон штрабами. Что­
бы балки не выворачивало, на них сверху на расстоянии 2-3 м
укладывают в пробитые через стену сквозные отверстия попе­
речные балки, приваривая их к верхним полкам балок-обвязок с
двух сторон и омоноличивая отверстия.
Разбирая старую кладку, сортируют бут, кирпич и оценива­
ют их пригодность для последующего использования в фунда­
менте. Простейший путь - оценка по твердости. Кирпич, бут
годятся для вторичного использования, если при проведении по
их ровной поверхности острым осколком асбестоцементной тру­
бы или шифера на поверхности не останется ярко выраженного
рельефного следа. При этом визуально устанавливают, чтобы на
ложковых гранях кирпича не бьmо трещин глубиной более 30 мм.
При равномерных и неравномерных осадках мелкозаглуб­
ленных фундаментов, в основном связанных с оттаиванием про­
мерзающего в основании даже слабопучинистого грунта, необхо­
димо после исправления положения здания путем подъема про­
севшей части и наращивания фундамента принять доступные
меры по предотвращению попадания воды в основание фунда-
116
мента. Для этого закладьmают дренажи, устраивают отмостки и
покрытия, сеют траву и т.п. Уменьшает последующие осадки и
теплозащита грунта.
Если деформации здания возникли от неравномерноro подъе­
ма свай, вызванного морозным пучением грунта, то после ис­
правления положения здания путем наращивания мало подняв­
шихся или срубкой (спиливанием) голов сильно поднявшихся
свай, необходимо принять меры к защите грунта от промерза­
ния, ибо иначе неравномерное пучение будет продолжаться. Для
этого грунт защищают теплоизоляцией либо подогревают, укла­
дьmая в основание около свай коллектор из труб, по которым
пропускают горячую воду или пар. В качестве теплоизоляции
можно применять керамзит, солому, опилки, шлаковату и дру­
гие материалы. При невозможности предотвращения промерза­
ния грунта уменьшают активную зону его воздействия, для чего
вокруг сваи разрабатьmают яму на 2/3 глубины промерзания (иног­
да это придется делать зимой или глубокой осенью) последова­
тельно подмораживая грунт, чтобы предотвратить поступление
грунтовой воды; сваю многократно покрьmают битумом или сма­
зьmают не~амерзающей смазкой, оборачивают одним или двумя
слоями рубероида или пленкой, причем между слоями также
размещают смазку, а разработанную вокруг сваи яму засыпают
непучинистым грунтом.
После исправления положения здания, завершения работ по
усилению и восстановлению фундаментов, вьmолняют космети­
ческий ремонт здания.
Глава 4
КОНСТРУКЦИИ надземНых частей зданий
Выбор конструкций малоэтажных гражданских здаllllЙ
обусловлен рядом факторов:
- наличием местных строительных материалов;
- традициями строительства в данной местности или насе-
ленном пункте;
- квалификацией работников и используемыми строитель­
ными механизмами;
- финансовыми возможностями застройщика.
В конструкции здания определяющим является материал и
конструкция стен. При выборе материала стен, помимо перечис­
ленных выше факторов, следует учитывать также долговечность
конструкции, санитарно-гигиенические и теплотехнические ка­
чества.
Для гражданских зданий характерны следующие KOIICTPYK-
тивиые системы:
- со стенами из бреJ3ен и бруса;
- со стенами из штучных каменных материалов (кирпича,
камня, керамических блоков, легкобетонных и ячеисто­
бетонных камней и др.);
- со стенами из деревянного каркаса и заполнением из мес-
118
тных материалов или из деревянных панелей (щитов) ком­
плектной заводской поставки, нередко стены таких зда­
ний обкладывают (облицовывают) снаружи кирпичом;
- со стенами из монолитного шлакобетона, керамзитобето­
на;
- со стенами из грунтовых материалов (саманные, грунто­
набивные);
- со стенами из блоков, изготовленных с использованием
промышленных отходов (зола, шлаки).
При строительстве с привлечением специализированных под­
рядных организаций могут возводиться зда.ния из крупных пане­
лей и крупных блоков, выпускаемых домостроительными пред­
приятиями.
4.1. СтенЬ!
Стены являются основным элементом здания, определяю­
щим его качество. Они должны обладать необходимой прочнос­
тью, долговечностью, звукоизоляцией, удовлетворять требова­
ния по тепловой защите и оrnестойкости, обеспечивать архитек­
турную выразительность.
По расположению в здании стены подразделяются на на­
ружные и внутренние. Толщина наружных стен зависит от кли­
матических условий и применяемых для устройства стен матери­
алов. Толщина внутренних стен определяется требованиями проч­
ности и звукоизоляции.
Рубленые бревенчатые и брусчатые стены обладают хоро­
шими санитарно-гигиеническими качествами. Они теплые, проч­
ные, малозвукопроводные. Их недостаток - невысокая оrnестой­
кость.
Рубленые бревенчатые и брусчатые стены снаружи можно
обшивать строгаными досками типа «вагонка». Между обшивкой
и стеной следует предусматривать вентилируемый воздушный
зазор размером не менее 19 мм. Верхняя часть воздушного зазо-
119
ра должна выходить под кровлю или карниз таким образом, что­
бы между облицовкой и кровлей, карнизом оставался зазор 20-
25 мм.
Наиболее подходит для рубленых стен древесина, заготов­
ленная в зимнее время. Она меньше подвержена усушке, загни­
ванию и короблению.
Наружные стены выполняют из бревен древесины хвойных
пород толщиной не менее 220 мм в верхнем отрубе, внутренние -
из бревен .толщиной 200 мм в верхнем отрубе. Бревна для на­
ружных стен опиливаются только с внутренней стороны, для внут­
ренних - с двух сторон. Если наружная обшивка стен не предус­
матривается, следует обтеской бревен привести их к одному диа­
метру по всей длине с разницей диаметров вершины (в отрубе) и
комля 2-3 см.
Устойчивость здания обеспечивается перевязкой продоль­
ных и поперечных стен, устройством переруба в поперечных на­
ружных стенах, а также сплачиванием бревен между собой
(рис. 4.1.1).
Бревна внутренних и наружных стен сплачиваются между
собой по всей длине венца пазами шириной 12-14 см для на­
ружных стен, 10 см - для внутренних стен. Форма паза должна
соответствовать очертанию поверхности нижележащего бревна.
Пазы между бревнами конопатят паклей (рис. 4.1.2).
Венцы бревен связываются между собой нагелями, которые
располагают в каждом ряду на расстоянии 1,5-2,0 м один ОТ
другого в шахматном порядке. Нагели размещают также по обе­
им сторонам проемов на расстоянии 15-20 см от их краев. Наге­
ли, изготовленные из сухой древесины, должны плотно входить
в просверленные гнезда. Над нагелями оставляют зазор 10 мм
для осадки бревен. В местах примыкания внутренних перегоро­
док следует обеспечить свободную осадку стен за счет устрой­
ства подвижных связей (скоб, хомутов и др.). Над оконными и
дверными проемами оставляют зазоры, которые заполняют пак­
лей (см. рис. 4.1.2).
120
ж
60
Простая лапа
Рис. 4.1.1. Узлы и детали сопряжений бревенчатых стен: а - сопряже­
ние угла «в лапу»; б - заделка балки перекрытия в наружную стену
(открытая); в - то же, в наружную стену (закрытая); г - опирание
балок на внутреннюю стену; д - сопряжение наружной стены с внут­
ренней; е - разметка «лапы»; ж - сопряжение бревен по длине «в
шип»; 1 - балка; 2 - бреена наружной стены; 3 - бревна внутрен­
ней стены; 4 - шип
/
121
а
г
11
d=2ЗО
d=200
д
в
:.167 9
10
54r
е
Рис. 4.1.2. Детали стен из бревен: а - карнизный узел с подшивкой;
б - карнизный узел без подшивки; в - установка оконного блока;
г -' порядовка стен; д - цоколь с полом но грунту; е - рубка угла
стен с остатком; 1 - стропильная нога; 2 - лобовая доска; 3-
подшивка; 4 - обшивка; 5 - отливная доска; 6 - доска; 7 - окон­
ная коробка; 8 - подоконная доска; 9 - наличник; 10 - пакля; 11 -
наружная стена; 12 - внутренняя стена; 13 - основание пола; 14-
утеплитель; 15 - фундамент; 16 - отмостка; 17 - антисептирован­
ная доска
122
I
II
Брусчатые стены зданий собирают из брусьев сечением
150х150, 150х175, 150х200, 100х150 мм. Их укладьш~ют гори­
зонтально и связывают в углах вперевязку или вполдерева, на
ПIип, на шпонках и т .п. Между брусьями укладывают паклю или
войлок.
Наружные стены при расчетной температуре наружного воз-
духа _зо о с выполняют из бруса сечением 150х150 мм, при тем­
пературе наружного воздуха -400 С из бруса сечением 175х150 мм,
2О0х150 мм: Внутренние несущие стены устраиваются из бруса
сечением 100х150 мм.
Брусья в рядах крепят между собой деревянными нагелями
диаметром 25-30 мм длиной 200-250 мм или стальными наге­
лями диаметром 12 мм, длиной 400 мм, расположенными через
1,5 м в шахматном порядке по высоте. Узлы сопряжения стен из
бруса и опирания на них балок приведены на рис. 4.1.3.
Нижний обвязочный брус стен крепится к стене цоколя сталь­
ными нагелями диаметром 12 мм, длиной 250 ММ. Стыки ниж­
него обвязочного бруса следует располагать только на опорных
столбах фундаментов. ·
Для уменьшения водопроницаемости стен у каждого бруса
с наружной стороны снимают фаску шириной 25-30 мм.
Брусчатые и бревенчатые стены следует собирать с запасом
на осадку, вызванную усыханнем древесины и усадкой материа­
ла для заделки швов. Запас должен составлять 3-50 от проект­
ной высоты стен. Через год-полтора после возведения здания
брусчатые стены еще раз конопатят.
Наиболее надежно защищает от продувания и атмосферной
влаги обшивка брусчатых стен досками. Обшивку лучше делать
горизонтально располагаемыми досками с креплением их к вер­
тикальным брускам.
При строительстве деревянного здания важно обеспечить на­
дежную гидроизоляцию нижних рядов бревен или брусьев таким
образом, чтобы в них снизу (от цоколя) не проникала влага, по­
скольку она вызывает гниение древесины. Для этого верх цоколя
устраивают из слоя цементного раствора состава 1:2 толщиной
123
2
б
3
~2
д
е
в
и
5
1 1
Рис. 4.1.3. Узлы сопряжения стен из бруса и опирание балок на стены:
о - сопряжение внутренней стены с наружной; б - сопряжение анут­
ренних стен; в - сопряжение наружных стен в углах; г - опирание
балки без прорезки стены, д - опирание балки со сквозной прорез­
кой стены; е - опирание балки-бруса со сквозной прорезкой стены;
ж - опирание балки-бруса без прорезки стены; 3 - опирание балок
на sнутреннюю стену «sразбежку»; и - опирание балок на анутрен­
нюю стену « встык»; 1 - брус наружной стены; 2 - брус sнутренней
стены, 3 - нагель; 4 - балка; 5 - накладка
124
15-20 ММ. Цементный раствор должен быть хорошо уплотнен,
тmательно выровнен и заглажен. После просыхания цементного
раствора поверх него следует уложить два слоя рубероида на би­
тумной мастике и на него нижний ряд бревен или брусьев.
Стены зданий с деревянным каркасом состоят из стоек се­
чением 50х100, 50х150 мм и обвязок, соединенных в рамы и уси­
ленных раскосами (рис. 4.1.4). Раскосы жесткости устанавлива-
9
Рис. 4.1.4. Конструкция деревянного каркаса здания: 1 - стойка кар­
каса 50х100 мм; 2 - доски пола; 3 - ригель; 4 - доска 50х100 мм;
5 - балки пола; б - нижняя обвязка; 7 - диагональный настил; 8 -
верхняя обвязка; 9 - стропильные ноги; 10 - раскос; 11 - гидро­
изоляция; 12 - фундамент
125
ют во всех углах здания, для этого диагональные бруски раско-
. сов врезаются в стойки каркаса заподлицо с их гранями. Уста­
новка раскосов крайне необходима для обеспечения УСТОЙЧивос­
ти здания под воздействием ветровых нагрузок. Жесткость кар­
каса в вертикальной плоскости может достигаться УГЛовыми рас­
косами из досок. Пространственная жесткость каркаса может уси­
ливаться повышением горизонтальной жесткости перекрытий пу­
тем устройства диагональн,?й обшивки по балкам перекрьпия.
Каркас обшивают с двух сторон досками или плитными матери­
алами. Пространство между обшивками заполняют уте~лителем
(минераловатными прошивными матами или плитами, фибро­
литовыми, камышитовыми или пенопластовыми плитами и дру_
гими теплоизоляционными местными материалами). плитыI утеп­
лителя устанавливают с обязательным перекрытием стыков. Для
защиты от проникновения водяных паров из помещения в конст­
рукцию стены с внутренней стороны утеплителя укладывают пер­
гамин, паронепроницаемую битуминизированную бумагу или по­
лимерную пленку, по которой кладется внутренняя облицовка
стен из гипсовой или гипсоволокнистой сухой (листовой) штука­
турки, фанеры, древесноволокнистых материалов.
Для защитыI от продувания и влаги, проникающей в стену
от атмосферных осадков, с наружной стороны утеплителя под
наружную лицевую обшивку укладьmают строительную бумагу.
Наружные каркаспо-фибролитовые степы зданий собира­
ют из рам, заполненных фибролитовыми плитами. Для умень­
шения воздухопроницаемости один слой фибролита укладывают
между стойками каркаса, а второй крепят с наружной стороны
каркаса. Между слоями фибролита укладьmают два слоя строи­
тельной бумаги.
Рамы каркаса устанавливают на деревянную обвязку, зак­
репленную к антисептированным пробкам, заложенным в цоко­
ле, и связывают обвязками в уровне перекрытия. Перекрытие
образуется опирающимися на поперечные стены дощатыми бал­
ками, шаг которых равен шагу стоек каркаса.
126
1
Заполнение каркаса наружных стен начинают с установки
вертикальных фибролитовых плит между стойками рам. На плиты
наносят цементный раствор (для уменьшения продуваемости
стен), прокладываЮI; мешочную бумагу и прибивают горизон­
тальные фибролитовые плиты снаружи каркаса. Каркас внутрен­
них стен заполняют между стойками одним слоем фибролита.
Наружная отдел.ка может бьггь в виде штукатурки или обшивки
досками, а также обкладки лицевым кирпичом (кладки 1/2 кир­
Пllча). Такая кладка должна бьrrь связана с каркасом стен сталь­
ными полосками, заложенными в горизонтальные швы кладки
и прикрепленными к каркасу. Крепления располагаlpТ на рассто­
янии 1200-1600 мм друг от друга в шахматном порядке по вы­
соте через 5-8 рядов кладки.
Степы из камня долговечны, прочны, имеют высокую ог­
нестойкость, требуют минимальных затрат при эксплуатации, по­
этому ОНИ широко применяются для строительства индивидуаль­
нЫХ зданий. С учетом наличия местных материалов для возведе­
ния стен зданий применяют следующие виды кладки: кирпич­
ную, из керамических камней и искусственных легкобетонных и
ячеистобетонных блоков, из природных камней правильной фор­
мы (пиленых или тесаных), смешанную (из разных каменных
материалов), облегченную из кирпича и местных теплоизоляци­
онных материал,?в, а также из грунтоблоков.
Каменную кладку вьmолняют на известковыI,' смешанных
цементно-известковых и цементных растворах, а также на це­
ментно-глиняных растворах.
Кирпичную кладку из керамического кирпича (обыкновен­
ного) пластического прессования, обладающую высокой атмос­
феростойкостью, прочностью и морозостойкостью, применяют
при возведении наружных и внутренних стен зданий, стен под­
валов, дымовых труб.
Кладку из керамического пустотелого или пористо-пусто­
телоro кирпича также применяют для возведения наружных и
внутренних стен зданий. Хорошие теПЛОИЗОЛИРУIOщие качества
127
кладки позволяют уменьшить толщину наружных стен на 20-25%
и снизить массу на 25-30 %по сравнению со стенами, выложен­
ными из полнотелого кирпича.
Керамический полнотелый кирпич полусухого прессования
и керамический пустотелый кирпич непригодны для возведения
фундаментов, стен подвалов. Его нельзя применять во влажных
и мокрых помещениях, для устройства печей, труб, дымовых и
вытяжных каналов.
Кладку из пустотелых, легкобетонных и ячеист~бетонных
камней применяют для возведения наружных и внутренних стен
здания. Легкобетонные, ячеистобетонные и пустотелые шлако­
бетонные камни имеют хорошие теплоизолирующие свойства.
Кладку из силикатного КИРШlча и камней применяют для
возведения внутренних и наружных стен здания. Для конструк­
ций, которые будут находиться во влажных условиях, а также
подземных частей здания, силикатные кирпич и камни не при­
меняют.
Кладка нз прпродных камней и блоков правильной формы
имеет высокую прочность и атмосферостоЙкость. Пиленые кам­
ни плотностью 900-2200 кг/мЗ (ракушечники, пористые туфы и
др.) массой до 40-45 кг используют для кладки наружных и внут­
ренних стен.
Камни твердых пород применяют для цоколей и стен под­
земных частей зданий и сооружений.
Облегченная кирпичная кладка отличается тем, что с це­
лью сокращения расхода материалов часть объема кладки заме­
няется легкими теплоизоляционными материалами с более вы­
сокими теплоизоляционными свойствами.
При выборе стенового материала и типа кладки следует ис­
ходить из доступности того или иного материала.
Стены из кир~ича и камней могут быть сплошной кладки
из одного вида каменного материала либо многослойные, состо­
ящие из нескольких слоев различных материалов. Иногда часть
основного несущего материма занимают теплоизоляционными
плитами из легких и ячеистых бетонов, минеральными засыпка-
128
ми или оставляют воздушную прослойку. Легкие каменные ма­
териалы и облегченные кладки не следует применять для ограж­
дения ванной, постирочной, кормокухни, сауны. Стены этих по­
мещений следует выполнять из керамического полнотелого кир­
пича пластического прессования или сплошных бетонных кам­
ней плотностью 1800 кг/м3• Камни изготовленные из бетона,
содержащего топливные шлаки, также применять в таких поме­
щениях нельзя.
Кирпичная и каменная кладки должны иметь продольную и
поперечную перевязку швов (рис. 4.1.5). Кирпичную кладку мож­
но вьmолнять по многорядной системе перевязки, при которой
тычковый ряд с целью поперечной перевязки кладки укладыва­
ют через каждые пять ложковых рядов, или по однорядной сис­
теме перевязки - ложковые и тычковые ряды чередуются.
Кладку из бетонных или природных камней перевязывают,
как правило, тычковыми рядами, через один или два ряда клад­
ки. Перевязку кладки из пустотелых бетонных камней с щеле­
видными пустотами осуществляют чередованием целых камней
и продольных половинок. Кладку из этих камней при отсутствии
продольных половинок можно выполнять только из целых кам­
ней с перевязкой тычковыми рядами, не более чем через два лож­
ковых ряда.
Перевязку кладки из ячеистобетонных камней в зависимос­
ти от размеров камней можно выполнять в один камень ил:и че­
редованием в рядах целых камней и продольных половинок.
При необходимости повышения термического сопротивле­
ния кирпичных стен сплошной кладки с многорядной перевяз­
кой допускается выполнение кладки с уширенным швом шири­
ной не более 50 мм. Уширенный шов заполняется теплоизоля­
ционным материалом (шлаком, трепелом, керамзитом).
Кладку из бетонных камней также можно выполнять с уши­
ренным швом шириной не более 40 мм.
При возведении стен над дверными и оконными проемами
делают перемычюl' перекрываемые сборными элементами или
кладкой, выполненной по особым правилам (рис. 4.1.6). Послед-
S KOHC'IР 0II10Э r :1.01
129
б
~---..
0,750
9{
~
10{
9 {
10{
б
7
9
5
з
0,750
-г
8
4
б
7
в
0.750
~
-0,150
_Г-
б
7
,
Рис. 4.1.5. Много­
рядная перевязка
кладки стен из кир­
пича и легкобетон­
ных камней: а - из
кирпича; б - из лег­
кобетонных блоко!;
в - из кирпича с
уширенным WIIОМ;
г - аксонометрия
кладки с проемом;
1 - несущая железобетонная перемычка; 2 - ненесущая железобе­
тонная перемычка; 3 - apMaTypHb,le стержни в слое раствора; 4 - кладка
стены; 5 - балка перекрытия; б - гидроизоляция; 7 - цоколь; 8-
теплоизоляция; 9 - тычковый ряд кладки; 1О - ложковый ряд кладки
130
По 11-11
в 111
По 111-111
Рис. 4.1.6. Кирпичные перемычки: 0- рядоsая; б - лучковая; в -
клинчатая; 1 - арматура, не менее 5 прутков диаметром 6 мм
131
ние устраивают в виде рядовых перемычек с укладкой под ниж­
ние ряды прутков стальной арматуры в слое раствора. Такие пе­
ремычки выкладьmают по заранее сделанной опалубке из досок.
Арматурные стержни перемычки надо пропускатъ на 1,5-2 кир­
пича за грань проема и загибать вверх в шов между кирпичами.
Применяют также лучковые и клинчатые перемычки. Их также
возводят по заранее устаl;lовленной опалубке, укладьшая кирпи­
чи на ребро или тычками с уширением швов в верхней поверхно­
сти. Укладку кирпичей ведут одновременно с левой и правой сто­
рон.к замку. После возведения кирпичные перемычки вьщержи­
вают на опалубке в течение сроков, указанных в табл. 4.1.1, за­
тем перемычки раскружаливают (снимают опалубку).
Таблица 4.1.1
НаиБОЛloшие пролетw переМlolчек
Сроки раскружалиаани переМlolчек (а
Марки L,M
днх) при температуре не ниже
+IOC
растаора
клинчатwх
рДО...IХ клинчаТlolХ лучкоаwх рДО...Iх.
и ЛУЧКОlwi
4 - 1,25 1,75 - 21
10 - 1,50 2,00 - 14
25 2,00 2,00 3,00 14 7
50-100 2,25 2,25 3,50 10 5
Применение в наружных кирпичных и каменных стенах об­
легченной кладки с эффективными плитными утеплителями или
минеральными засьшками повышает термическое сопротивление
стен, что позволяет уменьшить расход топлива на отопление зда­
ний и сократить расход кирпича и цемента по сравнению с расхо­
дом этих материалов в стенах сплошной кирпичной кладки. По
сравнению со зданиями, в которых наружные стены выполнены
сплошной кирпичной кладкой толщиной 51-55 см, расход кир­
пича и цемента уменьшается на 25 %.
Применяют каменные стены облегченной конструкции с го­
ризонтальными кирпичными диафрагмами, а также стены ко­
лодцевой кладки. Можно использовать и облегченную кладку с
облицовкой теплоизоляционными плитами или кладку с уши-
132
ренными швами. Участки стен, у обреза цоколя, над проемами и
в местах опирания перекрытий - из сплошной кирпичной клад­
КИ в 2 ряда.
Облегчеппая кирпичпо-бетовваякладка состоит из двух сте­
нок толщиной 1/2 кирпича и легкого бетона, укладываемого меж­
ду ними (рис. 4.1.7). Стенки связывают тычковыми рядами, за-
а
е
~н
i.%.
;:3
@ е
1
 ~!/
2
1- ~ :;;;;:1
/ з
1- KoI-1
~ r-
........ --l-
I-i!'L.1- ,/
t:::!.b..c::
з
б
2.JЗ~~1
UgjJ Ц12о.
PU
Рис. 4.1.7. Облегченная кирпично-бетонная кладка стен: а - с гори­
ЗОНТaJlЬНЫМИ диафрагмами из тычковых кирпичей, расположенных 8
шахматном порядке; б - то же, расположенных в одной плоскости;
в - аксонометрия кладки; 1 - кирпич; 2 - легкий бетон; 3 - шту­
катурка
lЗЗ
ходящими в бетон на 1/2 кирпича и располагаемыми через КаЖ­
дые три или ПЯТЬ ложковых рядов кладки. Тычковые ряды вы­
ПОЛНЯЮТ в одной плоскости или вразбежку в шахматном ПОРЯДКе
в зависимости от принятой толщины стены. Можно СВЯзьmать
продольные стенки и отдельными кирпичами, укладываемыми
в продольных стенках тычками через два ряда по Высоте и через
два кирпича, уложенных ложками, по длине.
Стены возводят поясами, высота которых определяется распо­
ложением тычковых рядов. Если тычковые ряды размещают в од­
ной плоскости, кладку начинают с тычкового ряда. Затем выклады­
вают два ложковых ряда сначала наружной, потом ВНУТРeIШей вер­
сты. Промежуток между стенками заполняют легким бетоном.
При расположении тычковых рядов вразбежку ВЫКЛадыВа­
ют сначала наружную тычковую версту и внутреннюю ЛОЖКQ­
вую, затем - два наружных и два внутренних ложковых ряда.
После этого пространство между вьmоженными рядами запол­
няют бетоном.
Кл~ с уширеНными швами применяют при возведении
стен из кирпича или легкобетонных камней (рис. 4.1.8). Уши-
а б в г
е @
2
1 6
3
3 7 1
1 1 1 3
4
4
5
3
Рис. 4.1.8. Кладка кирпичных стен с утеплением и воздушными пра­
спойками: а - утепление в уширенном шве и с металлическими связя­
ми; б - с воздушной прослойкой И кирпичными связями; в - утепле­
ние с внутренней стороны; г - утепление с наружной стороны; 1-
кирпич; 2 - металлические связи; 3 - штукатурка или гипсокартон­
ные листы; 4 - теплоизоляционные плиты; 5 - воздушная проспойка;
6 - наружная оБЛИЦО8ка; 7 - деревянные бруски
134
ренный шов обычно располагают ближе к наружной поверхнос­
тИ стены. Его заполняют неорганическвми теплоизоляционны­
ми материалами или раствором (если кладку выполняют на лег­
ких растворах, изготавливаемых из пористых заполнителей).
Кирпичная кладка с оБJПЩОВКОЙ теПЛОИЗОЛЯЦИОIПIЫМII пли-
 ,
тзми имеет толщину 1, 172 и 2 кирпича (см. рис. 4.1.8). Стену
утепляют плитными теплоизоляционными материалами, кото­
рые устанавливают либо вплотную к кладке, либо с отступом от
нее, создавая воздушную прослойку между кладкой и плитами.
Способы крепления плитного утеплителя к кирпичной кладке
зависят от материала плит и их размеров. При расположении
утеплителя снаружи необходимо защитить его от атмосферных
воздействиЙ изолирующим экраном - облицовкой или штука­
туркой.
Облегченная колодцевая кладка состоит из двух продоль­
ных стенок толщиной 1/2 кирпича каждая, соединенных между
собой по длине поперечными стенками толщиной 1/2 кирпича
(рис. 4.1.9). Кладку поперечных стенок перевязывают с продоль­
ными стенками через один ряд по высоте. Поперечные стенки
располагают через 650 - 1200 мм. Расстояние между продоль­
ными стенами зависит от общей толщины стены, обусловленной
расчетными теплотехническими параметрами, и может состав­
лять 140 - 340 мм.
Пустоты (колодцы) в кладке заполняют термоизоляционны­
ми ~атериалами; шлаком, пемзой, туфовым и ракушечниковым
щебнем, другими материалами минерального происхождения.
Материал засыпки необходимо просушить и просеять через
сито с ячейкой размером 5 мм. Фракции менее 5 мм употреблять
для засыпки не следует. Засыпку производят слоями толщиной
10-15 см и тщательно уплотняют штыкованием и трамбовани­
ем,
При возведен~и стен облегченной конструкции особое вн;и­
мание следует обратить на соблюдение толщины швов (10 мм),
тщательность их заполнения и расшивки. Расшивку нужно про­
изводить в свежей кладке, придавая шву выпуклую форму.
135
а
3
2
r- 0,750
Ф
7
7
6
8
9 12
-0.150 0-0,150
~ 9
Ф
Рис. 4.1.9. Облегченная колодцевая кладка кирпичных стен: а - при тол­
щине стен 380 мм; б-при толщине стен 510 мм; в - аксонометрия
кладки; 1 - несущая перемычка; 2 - ненесущая перемычка; 3 -утемяю­
щий акладыш (пакет минеральной ваты); 4 - стальная скоба; поддержиаа­
ющая утеплитель; 5 - балка перекрытия; 6 - кирпичная кладка; 7 - ар­
матурная сетка; 8 - цементный раствор; 9 - засыпной утеплитель мотно­
стью не менее 800 кг1м3; 10 - гидроизоляция; 11 - цоколь; 12 - плиты
из пенополистирола; 13 - арматура рядовой перемычки; 14- фундамент
136
На уровне подоконников и перемычек углы зданий и места
примыкания внутренних стен к наружным укрепляют путем ук­
ладки сеток из ар'матурной стали диаметром 5 - 6 ММ.
Стены из шлакобетоввых камней выкладьmают сплошной
кладкой (рис. 4.1.10). Камни укладывают щелевидными отвер­
стиями вниз. Толщина горизонтальных швов должна быть 12 мм,
раствор для кладки - состава 1:1,2:9 (цемент марки 200, известь,
песок) по объему.
Кладку у дверных проемов наружных и внутренних стен на
800 мм в обе стороны от проема необходимо вести из беспустот­
ных камней.
Кирпичную (и из камней) кладку ведут горизонтальными
рядами. Широкой гранью (постелью) кирпичи укладывают на ра­
створ, образующий горизонтальный шов. Раствор, разделяющий
грани смежных кирпичей, образует вертикальные (продольные и
поперечные) швы. Их также нужно заполнить раствором.
Кирпичи, уложенные длинной гранью вдоль поверхности
стены, образуют ложковый Ряд, а уложенные короткой - тыч­
ковый. Кладка должна иметь перевязку швов, Т.е. швы между
смежными кирпичами в ряду следует перекрьmать кирпичом сле­
дующего ряда не менее чем на 1/4 длины кирпича.
Применяют различные системы перевязок. Суть их заклю­
чается в том, что кладку нужно выполнять с продольной (в рядах
кладки) и поперечной (между рядами) перевязками швов. Попе­
речную перевязку применяют: для кладки из обыкновенного кир­
пича толщиной 65 мм - один тычковый ряд на шесть или четы­
ре ряда кладки; из кирпича толщиной 88 мм - один тычковый
ряд на четыре ряда кладки; для кладки из камней правильной
формы при высоте ряда до 200 мм - один тычковый ряд на два­
три ряда кладки.
Тычковые ряды выкладьmают из целых кирпичей. Уклад~а
тычковых рядов обязательна: в нижнем (первом) и верхнем (пос­
леднем) рядах стен; на уровне отрезов стен и столбов; в выступа­
ющих рядах кладки (карнизных, поясах и т.д.) - под опорными
частями балок, прогонов, плит перекрытий и балконов.
137
оо
·····
. . .. ........ .
Рис. 4.1.10. Кладка стен из мелких облегченных (шлако- и ячеистобе­
тонных) блоко!: а - при различной толщине стен; б - аксонометрия
угловой и примыкающей кладки стен; 1 - несущая перемычка; 2-
ненесущая перемычка; 3 - балка перекрытия; 4 - кладка 'из мелких
блоко!; 5 - арматурная сетка; 6 - облицовка силикатным кирпичом;
1- гидроизоляция; 8 - цоколь; 9 - анкер; 10 - проем
138
GGl' .N . ', ., ,
N ' '
10
+0,750
~
~I ~ .'.:
t · ,, '
: O~:'. ~ос 1 . '
N I ,. . -0,150
.OL- • '.' г--
Э-''-
10
10
+0,750
~,_---.l. Г
10
. . ... 6 .~ ..... 4
О':0'.' 11 ЕО .....- .'
: . . о 
:.: ..-:': о ~,':.: 5'
П 8u··: f В .:.:~:..:
7 1. ::t'v
120 '250 '
8
б
139
Под опорными участками сборных элементов, передающих
наrpузку на кладку, необходимо уложить слой раствора толщи­
ной не более 15 мм.
Толщина горизонтальных швов кладки из всех видов кир­
пича и камней правильной формы должны быть не менее 10 мм
и не более 15 мм; 1;'олщина вертикальных швов - 10 мм.
Кладку в местах пересечений или примыканий стен следует
производить одновременно, обрывать кладку наклонной mтp,a­
бой.
Стены защищают от увлажнения со стороны фундаментов
устройством гидроизоляционного слоя на высоте 15-30 см от
отмостки.
Подоконники, парапеты, другие выступающие части стен,
подвергающиеся увлажнению, защищают, покрывая их оцинко­
ванной сталью.
Если стена будет штукатуриться, то горизонтальные швы в
кладке можно оставлять незаполненными раствором на глубину
1-1,5 см, т.е. кладку следует выполнять впустошевку с лицевой
стороны.
Для кладки стен не рекомендуется использовать различные
растворы (по прочности). При использовании раствора с добщз­
лением цемента кирпич перед кладкой следует замочить на 8-
10 мин. Если этого не сделать, то кирпич быстро впитьmает воду,
цемент .в растворе лишается влаги, необходимой для твердения,
и кладка не получает требуемой прочности.
Вьmолняя кладку, необходимо обеспечить плотное приле­
гание кирпича (камня) к раствору по всей его поверхности. Перед
укладкой очередного ряда горизонтальную поверхность кладки
предыдущего ряда очищают, расстилают rpядку раствора, раз­
равнивают кельмой и укладьmают на подготовленную постель
очередной ряд кладки. Кирпич следует укладьmать на слой ра­
створа сразу же после его расстилания. Кладку, выполненную в
сухую и жаркую погоду, нужно в течение первых трех суток по­
ливать водой не реже двух раз в день.
140
Прямолинейность и вертикальность кладки, соблюдение раз­
меров и формы швов легче обеспечить, применяя специальный
инструмент: шнур-причалку, рейку-порядовку, отвес, шаблоны,
расшивки для устройства швов.
Для обеспечения вертикальности кладки и горизонтальнос­
ти ее рядов следует применять порядовки (вертикально устанав­
ливаемые рейки), закрепляемые по углам и в местах пересече­
ния стен здания.
На порядовках размечают ряды кладки и по разметкам зак­
репляют (натягивают) шнур-причалку, указывающий горизонт
очер~дного ряда кладки.
Кладку наружной версты ведут по натянутой для каждого
ряда причалке. Чтобы шнур не провисал, под него подкладыва­
ют промежуточные маяки (кирпичи) через 3-4 м друг от друга»
Внутреннюю версту стены можно выкладывать, натягивая шнур
через 2-3 ряда кладки.
Вертикальность кладки надо проверять отвесом (через 3-4
ряда каждый раз), а горизонтальность рядов и ровность лицевой
поверхности кладки - правилом (рейкой, длиной 1,2-2 м). Для
большей выразительности кладки применяют различные спосо­
бы разрезки облицовочного слоя кладки вертикальными швами,
т.е. разными приемами перевязки и раскладки кирпича в лице­
вом слое, а также разным по цвету и размерам кирпичом.
Для придания поверхности кладки рельефного рисунка при­
меняют различные способы расположения кирпичей в лицевом
слое: с выступами, под углом и Т.П. Такими приемами создают
различные архитектурные детали стен. К архитектурным частям
кладки относятся карнизы, пилястры, пояски, обрамления про­
емов, в том числе криволинейного очертания, а также подокон­
ные и другие ниши.
Выступающие ряды кладки в карнизах, поясках и т .д. неза­
висимо от системы перевязки выполняют из целых кирпичей.
При этом свес каждого ряда кладки допускается не более чем на
141
1/3 длины кирпича, а общий вынос неармированного карниза -
не более 1/2 толщины стены.
Свешивающиеся ряды карнизов, поясков, а также другие ча­
сти стен, для кладки которых применяют тесаный кирпич, ВЫ­
кладьmают из обыкновенного (полнотелого) или специального
(профильного) лицевого кирпича даже в том случае, когда стены
возводят из пустотелого кирпича.
Архитектурные детали из камня или бетона аналогично дру­
гим облицовочным изделиям устанавливают как в процессе клад­
ки, так и на ранее возведенные стены.
Чтобы облегчить выбор вида стен н их толщину в зависи­
мости от климатических условий района строительства и имею­
щихся материалов, в табл. 4.1.2 приведены рекомендации.
Таблица 4.1.2
Условия Толщина стен, ММ, соотаетствующШl раСЧC'I1l0Й
Вид стен
экс- температуре С
IUIyaтз-
-15 -20 -25 -30 -35 -40ции
1 2 3 4 5 6 7 8
Стены сплошной клад-
ки из обыкновенного А 380 510 640 640 770 770
глиняного кирпича со
штукатуркой цемент-
но-песчаным раство-
Б 510
640
640 770ром толщиной 30 мм. -- - -550
Стены сплошной клад-
ки изоБLIкновенного
глиняного кирпича на
А 380 510 510 640 640 770
цементно-шлаковом
растворе со штукатур-
кой цементно-
Б 510 510 640 640 770 770песчаным раствором
толщиной 30 мм.
142
Продолжение табл. 4.1.2
1 2 3 4 5 6 7 8
CreHbI сплошной
кладки из силикатного
А 510 510 640 770 770 -
кирпича на цементно-
песчаном растворе со
штукатуркой слож-
ным раствором тол-
Б 510 640 770 770щиной30 мм
- -
CreHbI сплошной
кладки из ПУСТlЛНого
А 380 380 510
640
640
770
- -
керамического кирпи-
550 680
ча на цементно-
песчаном растворе со
штукатуркой цемент-
Б 380
510
510
640
640
770
- - -но-песчаным раство- 420 550 680
ром толщиной 30 мм
Сгены сплошной
А 390 590 590 - - -
кладки из полнотелых
легкобетонных кам-
ней на керамзитовом
гравии и керамзито-
вом песке со nrryka-
туркой цементно- Б 590 590 590 - - -
песчаным раствором
толщиной 30 мм,
плотность кладки
1600 кг/м3
То же, плотность
А 290 290 390 590 590 590
кладки 1200 кг/м3
Б 290 390 390 590 590 590
143
Продоnжение табл. 4.1.2
I 2 3 4 5 6 7 8
Стены сплошной
кладки из мелких
А 200 200 250 250 300 350
ячеистобетонных бло-
ков, плотность кладки
Б 200 250 250 300 350 350
600 кг/м3
То же, плотность
А 250 300 350 400 - -
кладки 800 кг/м3
Б 300 350 400 400 - -
Стены сплошной
кладки из мелких
250+ 250+
ячеистобетонных бло- 120+ 200+ 250+ 250+
95+ 95+
ков, плотность ЮIадки 120 120 120 120
120 120
600 кг/м3• облицовка
кирпичом.
Стены сплошной
кладки из камней из-
А 670 - ~
- - -
вестняка со шryкaтур-
кой на цементно-
известковом растворе
толщиной 30 мм,
Б 670 - - - - -плотность кладки ..
2000 кг/м3•
То же, плотность
А 580 670 - - - -
ЮIадки 1800 кг/мЭ•
Б 580 670 - - - -
144
Окончание табл. 4.1.2
1 2 3 4 5 6 7 8
То же, lШотность
А 480 480 580 670 - -
кладки 1600 кг/м3•
Б 480 580 - - - -
.
,
А 100 100 150 150 150 175
Стены из бруса
Б 100 150 150 175 175 175
Примечания: 1. В знаменателе приведены значения для кладки с уширен­
ным швом толщиной до 5-6 см; 2 А и Б - условия эксплуатации оrpажда­
ющих конструкций в зависимости от влажностного режима помещений и зон
влажности.
Готовые степы RANNILA PANEL
(ФIШЛЯпдиЯ)
Это легкий сборный элемент с обшивками из стального
горячеоцинкованного листа с пластиковым покрытием и сред­
ним слоем из минеральной ваты с поперечно-ориентирован­
ными волокнами. Номинальная ширина панелей - 1200 мм
(или шириной 600 и 900 ММ). Тол~ина теплоизолирушщего
слоя 80,100,125,150 и 200 ММ. Длина панелей - до 12 М. В ка­
честве покрытия лицевой поверхности листа толщиной 0,6 мм
применяют полиэфир.
RANNILA PANEL могут быть смонтированы как горизон­
тально, так и вертикально. Панель - хорошая тепло- и звуко­
изолирующая стена, поэтому ее применяют в наружных стенах,
перегородках, противопожарных разделительных стенах и кро­
вельных конструкциях. Соединение панелей - шип в паз - про­
стое и надежное, не требует снаружи дополнительных крепеж­
ных и герметизирующих элементов.
145
Комбинированные стены
Каркасно-кирпичные стены (рис. 4.1.11, а). Каркас соби­
рают из бруса, а внутреннюю обшивку - из оструганных досок.
Наружную поверхность обшивки обивают пергамином, толем ltли
рубероидом. Листовой и штучный теплоизоляционный матери­
ал укладывают с наружной стороны поверх рубероида, а затем
снова идет изоляционное покрытие. Затем кладут необрезные
. 
доски или горбыль. И, наконец, облицовывают стены кладкой в
полкирпича или даже в четверть кирпича. В качестве теплоизо­
ляции можно использовать засыпку шлаком, антисептированны­
ми опилками, керамзитом и др.
б
в
а
130 160
1. 240 ~
~ Ic Ic
f
,.

,.
 2 7
1 1
10
2 3
8
3
4 4
Рис. 4.1.11. Варианты комбинированных стен: а - каркасно-кирпич­
ные; б - каркасно-монолитные; в - монолитно-кирпичные; 1 - на­
ружная обшивка; 2 - каркас; 3 - теплоизоляция; 4 - пароизоляция;
5 - внутренняя обшивка; б - кирпич; 7 - бетон; 8 - арматура; 9-
рейки; 10 - деревоплита)
146
КаркаСПО-МОНОJIИтпые стеиы (рис. 4.1.11, б). Вместо кир­
пича лицевой слой стен можно сделать монолитным. Для этого
наружную поверхность деревянной части стены, покрыгую гид­
роизоляционным материалом, используют как один из щитов
опалубки, а второй щит - передвижной - устанавливают на стой­
ках. Толщина монолитного слоя в этом случае составляет 5-
7 см. Его можно укрепить металлической арматурой, деревян­
ной рейкой, сухими стеблями камыша, а также соломой. Для
монолитного слоя можно использовать арболит.
Моиолитно-кирпичиые стены (рис. 4.1.11, в). Использу­
ют комбинацию из монолитной части с кирпичным лицевым
слоем в полкирпича. Изнутри монолитную часть стены ошту­
катуривают.
Строительиая система ААБ (Канада)
ААБ представляет собой ,систему быстрого возведения зда­
ний высотой до 5 этажей из монолитного бетона с использовани­
ем неснимаемой полистирольной опалубки, обладающей высо­
кой степенью теплоизоляции.
Строительная система ААБ сочетает в себе возможности
четырех строительных материалов: опалубки, теплоизоляцион­
ного покрытия, влагостойкого покрытия и строповки для обли­
цовывания.
Блоки системы производят из вспененного полистирола,
который обладает высокими теплоизоляционными качествами.
Стена из блоков системы МБ толщиной всего 292 мм обладает
таким же сопротивлением теплопередачи, как стена из кирпича
толщиной 6 м.
Система ААБ позволяет использовать неограниченное коли­
чество отделочных материалов как для наружной, так и для внут­
ренней отделки. Для облицовки наружных стен можно приме-
147
нять разнообразные покрытия, включая кирпич, виниловые, де­
ревянные и металлические доски и панели.
В России эта система применяется под н~званием «Изодом».
4.2. Перекрытия
Перекрытие - одна из самых ответственных конструкций в
здании. Она должна иметь необходимую несущую способность,
жесткость, минимальный прогиб, обладать звукоизоляционны­
ми и теплозащитными свойствами.
Простая конструкция перекрытия, в которой используются
доступные для застройщика материалы, позволяет выполнить его
собственными силами и с минимальными подъемными средства-
ми.
По виду материала несущей части перекрытия могут быть
деревянными или железобетонными (сборными и монолитны­
ми). В балочных перекрытиях в качестве заполнения могут ис­
пользоваться менее прочные материалы, чем в несущей части,
обладающие хорошими теплоизоляционными свойствами.
В одноэтажных зданиях с полами по грунту устраивают толь­
ко чердачные перекрытия, в зданиях со вторым этажом или ман­
сардой, а также при наличия подвала, подполья - междуэтаж­
ные и цокольные перекрытия. Междуэтажные и цокольные пе­
рекрытия несут более высокую полезную нагрузку, чем чердач­
ные.
Самый распространенный тип перекрытия в индивидуаль­
ных зданиях -деревянные. Они отличаются небольшой массой,
хорошей тепло- и звукоизоляцией, экономичностью, доступно­
стью изготовления.
Для балок деревянных перекрытий применяют лес хвойных
пород (сосна, ель, пихта). В современном строительстве редко
применяют для балок перекрытий окантованные бревна. Наибо­
лее распространены балки из досок.
Пролет деревянных балочных перекрытий (расстояние меж-
148
ду опорами) - 3,6--4,5 м. При пролетах более 4,5 м значительно
возрастает расход древесины, требуются сечения балок нестан­
дартных размеров.
Нагрузки на перекрытия, в частности, жилых зданий скла-
. дываются из расчетной временной, Т.е. от массы мебели, обо­
рудования, находящихся в помещениях людей (для чердачного
перекрьпия -105 кгс/м2, для цокольного и междуэтажного -
210 кгс/м2 ) и расчетной постоянной от собственной массы пере­
крытия (с утеплителем, покрытиями пола и т.п.).
Расчетная нагрузка от собственной массы перекрьпия зави­
сит от его КОНСТРУКЦИИ и для индивидуальных зданий может
приниматься 60 кгс/м2 • Таким образом, общая расчетная нагруз­
ка на междуэтажное перекрытие жилого усадебного здания со­
СТ~lJiляет не менее 270 кгс/м2• При этом следует особо учитывать
массу постоянно устанавливаемого санитарно-технического обо­
рудования (ванн, котлов, водогрейных баков и т.п.). Несущая спо­
собность конструкций под них должна рассчитываться в каждом
случае отдельно.
Расчетная нагрузка от утеплителя различна для цокольного
и чердачного перекрьпий и зависит от вида утеплителя, его тол­
щины, обусловленной зимней температурой наружного воздуха.
Поэтому расчет общей нагрузки на такие перекрытия следует
производить с учетом массы конкретного материала. Расстояние
между балками в зависимости от пролета, нагрузки, типа утеп­
лителя и типа пола принимают равным 0,5-1,0 м.
В междуэтажном и цокольном перекрытиях, когда непос­
редственно по балкам устраивают пол из досок толщиной 28 мм,
расстояние между балками принимают 0,5 м. При большем рас­
стоянии пол будет зыбким.
В чердачном перекрьпии, где нагрузка меньше, чем в меж­
дуэтажном и цокольном, расстояние между балками может быть
увеличено.
Сечение балки в зависимости от нагрузки, пролета балок и
расстояния между ними можно выбрать по табл. 4.2.1~
149
U'I
с)
Пролет (длина
балки),м
2,0
2,5
3,0
3,5
4,0
4,5
5,0
2,0
2,5
3,0
3,5
40
45
5,0
100
5 I 8 I 10
8
10
1]
12
14
15
18 16 14
10
12
14
15
18 16 14
20 18 16
- - 18
I 150 I
5 8 10
8
10
12 10
14 12
16 14 13
18 15 14
20 17 16
10
14 12 10
15 13 12
18 16 14
20 18 16
- 19 18
- - 20
Таблица 4.2.1
кrcIttr
250 I 350 I 400
Толщина балок см
5 I 8 10 15 5 8 I 10 15 5 8 10 IS
РаССТОJIIние между балками 0,5 м
10 11 12
12 13 14 12
14 12 16 13 16 14 13
16 14 13 18 16 15 - 16 15
18 16 15 - 18 17 - - 18
20 18 17 - - 19 - - 20
- 20 18 - - 21 - - 22
РаССТОJIIние меж !у балками 1,0 м
12 13 14 12
15 13 10 16 14 13 18 16 14
18 15 14 20 17 16 - 18 16
21 18 16 20 18 16 - - 20 17
- 20 19 16 - 22 21 18 - - 22 19
- - 21 18 - - 24 21 - - - 22
- - 23 20 - - - 23 - - - 24.
-
Применение легких утеплителей позволяет уменьшить на­
грузки на перекрытия и применить балки меньшего сечения.
Наиболее распространенным и простым является перекрь:crие
по деревянным балкам с заполнением щитами наката (рис. 4.2.1).
Щиты наката укладывают на черепные бруски сеч~нием:
40х40 мм или 50х50 мм, прибиваемые к нижней части балки.
Если используют легкие современные утеплители, напрп­
мер, минеральную вату и изделия на ее основе, можно вместо
щитов наката вып~лнить подшивку из досок по низу балок. Дос­
ки крепят гвоздями, забиваемыми под углом.
В качестве наката можно также использовать плиты фибро­
литовые, гипсовые с деревянной арматурой, а также другие плит­
ные материалы.
Утеплитель, который укладьmают между балками перекры­
тия, необходимо защитить от увлажнения. Для этого устраивают
пароизоляцию из полиэтиленовой пленки. В чердачном перекры­
тии ее размещают по щитам наката под утеплителем, а в цоколь­
ном - поверх утеплителя, под полом.
Если в чердачном перекрытии вместо щитов наката выпол-·
нена подшивка из досок, то по верху балок устраивают ходовой
настил, через который передается временная нагрузка и который
защищает от повреждения утеплитель.
Если применен минераловатный утеплиrель, то чтобы он
не смещался, поверх него можно уложить маты из тонких дере­
вянных реек толщиной 15 мм, связанных оцинкованной прово­
локой, прикрепив их к балкам. Открь:crую поверхность засыпно­
го утеплителя и утеплитель из жестких плитных материалов сле­
дует защитить слоем (коркой» из глиняного, известкового или
цементного раствора). .
в табл. 4.2.2 приведены толщины слоев утеплителя в зави­
симости от его вида и расчетной зимней температуры наружного
воздуха.
151
б .. '
a~4
1 2 3
б
10 11 12
/ / /
----- -в .IAIL' : ' ...... -:. ..-. • 'j ., . , ,
.  ,
- -~ r - -
t.;.{..)l~ ~ '~ 1).~..rfYЖ
I {
2 f j
1f }1 }2
- ~
г
: ... ',] I .. ' . ' / ' ,.,.] rr-111 '  ,.
- -; ~
'I!;! кt
111
!7 Iз f
4 5 11
д
152
5 6
е
Рис 4.2.1. Конструкции деревянных перекрытий: а - чердачное пере­
крытие со щитами наката; б - то же, с подшивным потолком из досок
11 ХОДОI5ЫМИ досками; в - междуэтажное перекрытие со щитами нака­
та; г - то же с подшивкой потолка из гипсокартонных листов и полом
из досок; д - перекрытие над подвалом; е - чердачное перекрытие
над санитарным узлом, ванной, стирочной, кормокухней; ж - общий
I5ИД щитового наката; 1 - балка, 2 - черепной брусок; 3 - щит на­
ката; 4 - пароизоляция из полиэтиленовой пленки; 5 - утеплитель;
6 - слой из песчано-цементного раствора; 7 -подшивка потолка из
гипсокартонных плит; 8 - ходовые доски; 9 - подшивка потолка из
досок; 10 -, ЗI5УКОИЗОЛЯЦИОННЫЙ слой из прокаленного песка; 11-
доски пола; 12 - звукоизоляционная прокладка из древесноволокни­
стой плиты; 13 - доски потолка
153
Таблица 4.2.2
Плотност~,
Тоnщина ело,. (ем) при расчетной зимней температуре
Внд yrе.плитCЛJI
КГ/М)
наружного 80здуха, ·е
-15 -20 -25 -30 -35 -40
700
14 20 25
- - -
lllлак ТОШIИВ- 98 140 175
ный 13 18 20 26 30 35
1000 - - - - - -
130 180 200 260 300 350
lliлакдомен-
13 16 22
ный гранулиро- 500 - - -
ванный
65 80 110
8 12 14
400 - - -Пенобетон, га- 32 48 56
зобетон 12 16 24
600 - - -72 96 144
Керамзитовый. 11 13 15 18 21 25
500 - - - - - -гравий 55 65 75 90 105 125
10 12,5 15
300 - -30 37,5 45
Фибролит
12,5 15 18 20
600
22,5
- - -
75 90 108 120 135
Вата минераль- 6 7 8 9 9 10
200 - - - - - -ная 12 14 16 18 18 20
ПЛиты минера- 8 10 11 12 14
400 - - - - -ловатные 32 40 44 48 56
Примечание. В знаменателе приведена масса 1 м2 слоя утеплителя.
По низу балок чердачного и межДУэтажного перекрытий
выполняют подшивку. Подшивка может служить отделочным
слоем либо быть основой для его нанесения.
Чистую подшивку выполняют из чисто строганых досок,
соединяемых в четверть или в шпунт, или вразбежку. Можно
для чистой подшивки применить гипсокартонные листы (ГКЛ).
Подшивка со штукатуркой или листами ГКЛ повышает OI'Нестой­
кость перекрьпия.
154
Если подшивку предполагается штукатурить, то применя­
ют Hecтporaныe доски шириной 80-100 мм. Доски укладьmают
со щелями между ними. Штукатурят по драни или по металли­
ческой сетке, прибиваемой к подшивке из досок, между досками
и дранью (сеткой) прокладьшают рогожу.
Важное место в конструкции перекрытия - зоны опирания
концов балок на кладку (рис. 4.2.2). Обычно концы балок закла­
дьmают в гнезда, оставляемые в стене. Заделка концов балок в
стену может быrь глухая или открытая.
При глухой заделке в стене оставляют сквозные гнезда ши­
риной на 10-20 мм больше ширины балок. Конец антисептиро­
ванной балки на длину 15-18 см (кроме торца) обертывают дву­
мя слоями рубероида и по всему периметру опорной части, за
исключением торца. Гнезда тщательно задельшают кладкой. Зак­
ладку гнезд производят только при отделочных работах, остав­
ляя у торца балки воздушный зазор 5 см. Место примыкания
балки к стене со стороны помещения заштукатуривают.
При открытой заделке оставляют гнездо в кладке таких раз­
меров, чтобы между его стенками и балкой по всему периметру
был зазор 50 мм. Балка должна бьrrь антисептирована. Опирают
балку на подкладку из антисептированной доски. После укладки
балки гнездо остается открытым, чтобы обеспечить проветрива­
ние конца балки. Во избежание образования конденсата в гнезде,
его заднюю стенку утепляют вкладышами из теплоизоляцион­
ного материала
Балки у дымоходов должны быть не ближе 400 мм от ды­
мового канала. Для соблюдения этого требования балку опирают
на ригель, закрепляемый к двум соседним балкам. В зданиях с
деревянными рублеными стенами балки врубают в верхние вен­
цы (см. рис. 4.1.3).
Устройство железобетонных перекрьrrий в зданиях со сте­
нами из каменных материалов повышает их долговечность и эк­
сплуатационную надежность и в ряде случаев может быть пред­
почтит(:льнее, чем применение деревянных перекрьrrиЙ. Наибо­
лее простым и надежным является применение сборных панелей
155
а б
[ '. ] [ ]
[ ] [ ]
С___ 1
[ ] 7 3
[ с=
Г l
[
[ 6 ~ 1 -[
['4
.[ [
[ ~
.rJ20) J12J!j 5
[ ]
[ ] [ J
Г J [ ]
в
[
. ]
[ 50 ]
[ н ] 2 3
[ C=J J 1с:---
[ .... -[ ~-
[
J 3I
[
[ 120
[ ]
г '.. ]
Рис. 4.2.2. Узлы и детали опирания и соединения балок: а - открытая
заделка в наружную стену; б - то же, на внутреннюю стену; в­
закрытая заделка! наружную стену; г - то же, на внутреннюю стену;
д ....:... крепление анкера с балкой для соединения ее со стенами; f! -
156
г
е
[
[
7 3
соединение балок стальной накладкой; 1 - антисептированный опор­
ный конец балки; 2 - Т-образный анкер для крепления балки к стене;
3 - Гl50ЗДИ; 4 - дереsянная антисептированная подкладка; 5 - про­
кладка из даух слоеs рубероида; б - утеплитель в гнезде стены; 7 -
стальная накладка
157
заводского изготовления. Чаще всего применяют многопустот­
ные плиты пёрекрытий, производство которых налажено повсе­
местно.
Перекрытия из монолитного железобетона Т{ебуют опреде­
ленного профессионального навыка и должны выполняться по
проекту под руководством специалиста-строителя.
,
4.3. Крыша
Крыша служит для защиты здания от атмосферных осад­
ков, резких колебаний наружной температуры и солнечных лу- .
чей. К крышам предъявляются требования водонепроницаемос­
ти, прочности и устойчивости, долговечности и экономичности,
доступности для обслуживания и ремонта в процессе эксплуата­
ции, соответствия противопожарным нормам.
Форма крыши зависит от очертания здания в плане, уклона
скатов, характера несущей конструкции, вида кровельного мате­
риала и архитектурного решения. Разнообразные формы крыш
представлены на рис. 4.3.1.
Крыша состоит из несущей части (стропил, обрешетки и
ограждающей (кровли). Кровля должна быть водонепроницае­
мой и обеспечивать отвод дождевых и талых вод. Наклонные
поверхности кровли назьmают скатами, а их пересечения, обра­
зующие выступающий угол - ребрами. Горизонтальное верхнее
ребро назьmается коньком, ребро, образованное во входящем
угле, - ендовой, или разжелобком.
Для направления стоков в определенные места иногда при­
меняют желоба, расположенные у нижнего края ската. Нижняя
часть ската между желобом и обрезом носит название спуск.
Желобами дождевые и талые воды направляются к водоспускам,
выполняемым в виде водосточных труб. Иногда желоба устраи­
вают за обрезом ската кровли. В этом случае их закрепляют на
подвесках из оцинкованной стали.
158
Карнизные свесы - часть кровли по периметру здания, вы­
ступающая за контур наружных стен.
Для освещения и проветривания чердака и для выхода на
кровлю устраивают слуховые окна. .
В индивидуальных зданиях наиболее распространенная и до­
ступная для изготовления - крыша с деревянной несущей стро-.
пильной конструкцией двускатной формы. Двускатная крыша
проста и экономична, наиболее надежна в эксплуатации, для ее
устройства можно применять любые кровельные материалы.
В случае использования чердачного пр~странства для раз­
мещения жилых помещений применяют мансардную крышу.
При этом для увеличения объема чердака крышу выполняют с
более крутым скатом в нижней' части. Устройство мансардной
крыши несколько сложнее, чем обычной двускатной. При дву­
скатных и мансардных крышах: требуется устройство щипцовых
стен.
Четырехскатная крыша, назьmаемая таКже шатровой, или
вальмовой, не требует устройства щипцовых стен, но конструк­
ция стропил в ней сложнее, необходима соответствующая под­
гонка кровельных материалов.
Мпогощипцовая крыша устраивается в зданиях со сложной
(многоугольной) формой плана. Она имеет большее количество
ендов и ребер, на которых требуется тщательное вьшолнение кров­
ли.
Сток воды с крьппи обеспечивается за счет соответствую­
щего уклона скатов. Крутизна скатов крыши зависит от матери­
ала кровли, климатических условий и архитектурного решения.
Более крутые скаты устраивают, когда кровлю выполняют из
штучных материалов, образующих неплотные швы, а также в
районах с большим количеством атмосферных осадков; дожде­
вые и талые воды быстрее стекают с крутых скатов крыши, а в
зимнее время на них меньше образуется отложений снега.
В районах с сильными ветрами крышу следует делать бо­
лее пологой, так как она должна испытывать меньшее давле­
ние ветра.
159
а б
1
б
г - 1
1 1.
I I
I I
I - I
I I
I I
L___ ...J
г f- -l
I 1
I v 2 I
I I
I - -- I
I I
I I
L ___ - _.J
в г
г- 1- -,- 1
I 1
I v 2 I
I I
I - - I
I J
1 I
1 I~ -- - -- - -.
160
2
г
I tI
6 KOH«..IP MdJ!OJI З;1
д
ж
1
t
1
,
I
.J
1
161
1
е
1
Рис. 4.3.1. Формы и основные
элементы крыш: а - односкат­
ная; б - двускатная; в - ман­
сардная; г - шатровая; д­
полувальмовая; е - вальмовая;
ж - многощипцовая; 1 - скат
крыши; 2 - конек; 3 - реб­
ро; 4 - ендова
в
162
г
! 5(J(XJ.-6000
J t 5000-6000 j
Рис. 4.3.2. Схемы стропил: о - разбивочный план еальмовой крыши;
б, в, г, д, е, ж - разрезы чердачных крыш; 1 - стропильная нога;
2 - диагональная стропильная нога; 3 - опорная балка; 4 - КОНЬКО­
еый прогон; 5 - стойка; 6 - мауэрлат; 7 - подкос; 8 - затяжка
(ригель)
163
Для крыш индивидуальных жилых зданий наиболее распро­
странена несущая часть, образуемая системой наслонных стро­
пил (рис. 4.3.2). Наслонные стропила выполняют из дерева. Ос­
новной элемент - стропильные ноги. Их укладьmают вдоль CKa~
та нижними концами на наружные стены через подкладку в виде
продольной доски или бруса (мауэрлата), прикрепленноro к сте­
не. Верхние концы стропильных ног опирают на балку-прогон,
передающую нагрузку через систему стоек на внутренние несу­
щие стены. Общая устойчивость стропильной системы обеспе­
чивается раскосами, подкосами и диагональными связями.
Наиболее подходящие для стропил - доски сечением
50х150 мм. В зависимости от уклона, веса кровли, снеговой на­
грузки и пролета стропил расстояние между ними берут в интер­
вале 0,6-1,4 м либо устраивают спаренные стропила, либо умень­
шают их пролет постановкой подкосов. Стропила из досок со­
единяют между собой и с другими элементами стропильной сис­
темы на гвоздях и болтами.
Для подбора сечений стропильных ног табл. 4.3.1.
Таблица 4.3.1
Наи-
Рассгояние между стропильными балками, м
большая
1,10 1,40 1,75 2,15
длина
стро-
Толщина (диаметр) стропильной балки, см
пильной
балки из из из из из из из из
бруса бревен бруса бревен бруса бревен бруса бревен
до 3,0 8хl0 10 8хl0 13 9хl0 15 9х16 16
до35 8х13 13 8х16 16 8х18 18 9х18 18
до 4 5 8х16 16 8х18 18 9х18 18 10х20 20
до 5 О 8х18 18 8х20 20 10х20 20 - -
до 5 8 8х20 20 10х20 22 - - - -
до65 10х20 20 12x22 24 - - - -
Крышу необходимо закрепить, чтобы ее не сорвало ветром.
Для этого стропила закрепляют скрутками из проволоки, концы
164
которых привязьmают к штырям, забиваемым в каменные сте­
ны.
в зданиях с бревенчатыми и брусчатыми стенами стропила
соединяют скобами со вторым верхним венцом.
Чтобы мауэрлаты и нижние концы стропильных ног были
доступны для осмотра и ремонта, мауэрлат располагают на рас­
стоянии не менее 50 см от перекрьпия. Между кладкой и мауэр­
латом следует проложить 2 слоя толя или рубероида.
Для поддержания кровельного покрьпия по наклонным стро­
пилам укладывают обрешетку. Обрешетка может выполняться
из брусков, досок или теса, расстояние между которыми зависит
от типа кровли.
Карнизные свесы крыши можно образовать за счет вьmус­
ка стропильных ног за пределы наружной грани стены или уд­
линением стропильных ног с помощью «кобьток» - прибивае­
мых к ним коротких досок. По свесам стропильных ног или по
«кобьmкам» вьmолняют сплошную подшивку· ИЗ досок (подшив­
ка карниза). Сплошную обшивку устраивают и на участке ската
крыши, назьmаемом «спуск», а также в местах ендов. Подшивку
карнизов следует выполнять до устройства кровельного покры­
тия.
Характёристикв кровель, устраиваемых из различных ма­
териалов, прИведены в табл. 4.3.2.
Кровли из волнистых асбестоцементных листов долговеч­
ны, огнестойки, дешевы в эксплуатации (рис. 4.3.3).
В качестве основания под кровлю из волнистых асбестоце­
ментных листов устраивают обрешетку из брусков сечением
50х50 мм для листов обычного профиля; 75х75 мм для листов
усиленного профиля с шагом соответственно 500-550 мм и 750-
800 мм.
Листы укладьmaют на обрешетку гладкой стороной вверх и
крепят гвоздями или шурупами со шляпкой, покрьпой оцинкован­
ной сталью, пропуская их в отверстия, просверленные по гребню
вилпы. Orверстия просверливают диаметром больше диаметра шу­
рупов. Это обеспечит свободное перемещение листов при измене-
165
Таблица 4.3.2
Рекомендуемый уклон, Масса 1,.; крыши Долгоаеч-
Уход за кромей
Типь:роми
град. а roРИЗ911Т8JПoНОЙ проекции, кг HOC'l1o, лer
• процессе
эксплуатации
РУЛОННIIJI, 4-х слойная 2-14 40---60 10-25
Покрытие битумом
через 3-5 лет
РУЛОННIIJI, 2-х слойная 8-14 30-50 5-15
Покрwтие битумом
через 3-5 лет
Кровельная, сталь черная 14---60 20-30 20-30
Покраска через
3-5 лет
КРОllелЬНlIJI, сталь OIщнко-
14---60 20-30 25--40
Первая покраска
ванная через 10 лет
Асбестоцеменmые листы 14---60 30-50 30--40 Не требует ухода
Черепичная 30---60 70-100 50-80 Не требует ухода
Узел А
о
I
I
I
о;:;;
-1 t-_--
II
с=
I
I
I I
~...!..l I I
--
П
- --,
I
II
I
1:
I
I I
По 1-1 6
~
1
По 11-11
2 4
Рис. 4.3.3. Кроеля из IIОЛНИСТЫХ асбестоцементных листов: о - план
раскладки ЛИСТОII со срезкой примыкающих листов; б - то же, в аксо­
нометрии; 1 - IIОЛНИСТЫЙ асбестоцементный лист, 2 - обрешетка из
брусьеll; 3 - срезанный угол листа; 4 - ГIIОЗДЬ или шуруп; 5 - упру­
гая прокладка; 6 - шайба; 1 - противовеТРОllая скоба; 8 - стро­
пильная нога
167
ниях Tei..mepaТYPbI наружного воздуха. Шурупы снабжаются оцин­
кованными шайбами. Нод шайбы устанавливают мягкие гермети­
зирующие прокладки (резину, рубероид). В горизотальных рядах
листы укладывают так, чтобы их кромки перекрьmались на одну
волну. Чтобы в MeCT~ перепуска не образовалось утолщения швов,
углы листов скашивают.. При другом способе укладки возможно
смешение стыков на одну волну в каждом последующем ряду. Ук­
ладку листов ведут от карниза к коньку. Каждый вышележащий
ряд напускают на нижележащий на 120-140 мм. При наклонах бо­
лее 300 напуск можно уменьшить до 100 мм. При уклонах, мень­
ших 200, стыки необходимо герметизировать с помощью леты из
герлена, герметизирующей мастики пли цементного раствора.
Карнизные свесы можно выполнять или ИЗ волнистых ас­
бестоцементных листов или путем устройства спуска из кро­
вельного железа. Нижний край асбестоцементного листа или ме­
таллического свеса закрепляют с помощью оцинкованных про­
тивоветровых скоб.
Кровли IIЗ листовой стали обладают рядом достоинств, ос­
новными ИЗ которых являются: небольшая масса, позволяющая
применять легкие и простые несущие конструкции крыши; воз­
можность устраивать покрытия крыши сложных форм; гладкая
поверхность, обеспечивающая хороший сток воды и применение
относительно небольшого уклона; относительная огнестойкость;
легкость выполнения ремонта.
К недостаткам кровли из листовой стали относятся: неболь­
шой срок службы; невысокая прочность вследствие легкости
повреждения при эксплуатации (при очистке снега, производ­
стве ремонта и т.п.,); необходимость частой окраски для пре­
дохранения от ржавления (если применена неоцинкованная
сталь). Кровля из черной стали требует систематической окрас­
ки масляной краской через 2-3 года, а из оцинкованной - че-
рез 10 лет. .
Если применяют неоцинкованную сталь, то кровельные ли­
сты необходимо предварительно тщательно обработать: удалить
заводскую смазку с помощью ветоши, смоченной в бензине, и
168
очистить от ржавчины. На сухие листы с обеих сторон наносят
, два слоя горячей олифы, просушивая каждый слой. В олифу же­
лательно добавить сурик или охру.
Стальные листы укладьmают по обрешетке из деревянных
брусков сечением 50х50 мм, располагаемых через 250 мм между
осями.
в местах горизонтальных стыков листов под лежачими фаль­
цами вместо брусков обрешетки укладьmают доски шириной 100-
120 мм, толщиной 25-30 мм.
Для устройства кровли из стальных листов делают заготов­
ки-картины. Стандартный лист кровельной стали дмеет разме­
ры 1420х710 мм, толщину 0,45-1,0 мм. Картины изготавлива­
ют из нескольких, соединенных по короткой стороне листов.
При коротких скатах крыши размер картины может быть во
всю длину ската.,. В этом случае на крыше выполняют соедине­
ние картин только по длинной стороне и в коньке.
Работы по заготовке листов и картин ВIIПОЛНЯЮТ на верста­
ке длиной около 2 м, шириной 0,9-1,1 м, с одной стороны окан­
тованного стальным уголком длиной 1,7 м, с помощью неслож­
ных инструментов - кровельных молотков (ручника и подсекаль­
ника), киянки, ножниц, пробойника, зубила, кернера. Наиболее
надежное - фальцевое соединение листов.
ЗагОТОВIm листа заключается в следующем. Загибают на 1800
кромки шириной 10-12 мм по короткой стороне листа в проти­
воположные стороны. Короткая кромка, расположенная со сто­
роны листа, обращенного вверх по скату крыши, должна иметь
загиб вверх, в сторону наружной поверхности листа. Между ото­
гнутой кромкой и листом должен оставаться зазор 5 мм. После
этого загибают на 900 кромки по длинной стороне листа в сторо­
ну наружной поверхности. С одной стороны (левой) отгиб дела­
ют высотой 20-35 мм, с другой - 40-50 мм, не доводя его до
поперечных кромок на 100-110 мм (рис. 4.3.4).
Соединение стальных JПicтов поперек ската выполняют с
помощью одинарного лежачего фальца. При малых уклонах кров­
ли применяют двойной фальц. Устройство двойных фальцев тре-
169
бует больших затрат труда, однако надежнее, чем одинарных.
Соединение картин между собой по длинной стороне производят
с помощью так называемого стоячего фальца.
После соединения фальцев их уплотняют, предварительно
промазав соедидение суриковой замазкой на натуральной олифе.
Прикрепляют листы и картины к обрешетке с помощью
кляммер - полос из оцинкованной стали размерами 150х30 мм,
развернутых (скрученных под углом 900). Кляммеры прикреп­
ляют гвоздями к боковым сторонам брусков обрешетки, пропус­
кают в стоячий фальц между листами и загибают вместе с фаль­
цем. кляммеры ставят на расстоянии 500-750 мм.
Полосу ската ш:репускают через конек на 25-30 см с тем,
чтобы, отогнув кромку, можно было выполнить коньковый стоя­
чий фальц.
Каждую последующую полосу располагают так, чтобы ее
край с малой отогнутой кромкой примыкал к высокой кромке
предьщущей полосы. Полосы располагают так, чтобы обеспечи­
валось взаимное смещение лежачих фальцев на 30-50 мм, что
облегчит уплотнение стоячих фальцев.
Загибание высоких кромок последующей полосы на низкие
кромки предыдущей производят вначале в местах расстановки
кляммеров. Затем устанавливают кляммеры по второй стороне
полосы с низкими кромками, смещая их в шахматном порядке
по отношению к предыдущим. .
Кромки стоячих фальцев можно загнуть и уплотнить их
после укладки нескольких полос. Эту операцию следует выпол­
нять в направлении от конька к карнизу.
Стоячие фальцы, выходящие на карниз, конек или ребра кры­
ши пригибают (заваливают на 100-120 мм в сторону малого отгиба.
Крепление кровли на карнизе выполняют с помощью кос­
тылей из полосовой стали шириной 25-40 мм, толщиной 4 мм,
прибиваемых к дощатой подшивке гвоздями. Костыли распола­
гают на расстоянии 400-600 мм с выносом на 100 мм от кромки
подшивки.
При устройстве кровель часто выполняют отвод воды с кры­
ши с помощью наружных водосточных труб. Детали устройства
170
а
б
г
20 111 ~2зI
1
~
5
2
зо
~i~1б 7
Рис. 4.3.4. Заготовка листов (картин) металлической кровли: а - картина; б - двойная картина; в -
картина под двойной фальц; г - устройство одинарного (простого) фальца (стоячего, лежачего); д­
устройство двойного фальца (стоячего, лежачего); е - крепление листоs к обрешетке с помощью клям­
мера; 1- отгибы картин; 2 - простой стоячий фальц; 3 - то же, лежачий; 4 - двойной стоячий фальц;
5 - то же, лежачий; б - кляммер; 7 - обрешетка
спуска, настенного желоба и водосточных труб показаны на
рис. 4.3.5.
Крепленпе желоба производят с помощью металлических
крюков, располагаемых через 600-800 мм. Высота желоба дол­
жна быть 100-130 мм. Листы желоба соединяют с картинами
общего ската кровли лежачи~ фальцем и прикрепляют к обре­
шетке кляммерами.
Наиболее ответственные участки крыши - места примыка­
ния кровли к дымовым и вентиляционным трубам, вертикаль­
ным поверхностям выступающих над крышей участков стен, пе­
ресечения плоскостей скатов (ендовы, ребра) переломы скатов.
К их выполнению следует отнестись особенно тщательно. Уста­
новки на крыше стоек электро-, радио- и телефонных вводов
желательно избегать.
Черепичные кровли применяются издавна. Черепица отли- .
чается огнестойкостью, прочностью и долговечностью, не требу­
ет особого ухода во время эксплуатации. Крыши с кровлей из
черепицы обладают хорошими эстетическими качествами. Для
изготовления черепицы используется местное сырье.
Недостатки черепичных кровель - большая масса и необ­
ходимость устройства крутых скатов, что увеличивает затраты
на устройство несущей части (стропил, обрешетки).
Традиционно изготавливали керамическую (глиняную) че­
репицу. В настоящее время осваивается производство бетонной
(цементно-песчаной) черепицы.
Глиняная черепица изготавливается нескольких видов: па­
зовая штампованная с одинарным и двойным боковым и попе­
речным закроями и двумя шипами; пазовая ленточная с одинар­
ным или двойным боковым закроем и одним или двумя шипа-
I
ми; коньковая с одинарным закроем; плоская ленточная с одним
или двумя шипами.
Основание под черепичную кровлю выполняют в виде обре­
шетки из брусков сечением 50х50 мм (рис. 4.3.6). Расстояние меж­
ду брусками принимают в зависимости от размеров черепицы.
При устройстве обрешетки необходимо следить за тем, чтобы
.
172
Рис. 4.3.5. Устр ~ее: 1 _ оист60 кровли4 соединение и водосточной_ спуск' 5 _ картин в фалЬЦ' 2 трубы с воронко·
9 _ водос'точн,;рв~к;6 - скаткро:,и'-; 'ОТОБК ендовы; 3 -.: ~:~ДОб-ронка; 10 _ • - о решетка' 8 о ;водосточная труба ' - КОСiЫЛЬ;
верхние грани брусков обрешетки были расположены в одной
плоскости. Укладку черепицы ведут с нижней части ската, от
карниэа вверх по направлению к коньку с напуском по длине и
ширине на ширину пазов. Стыки .черепиц вдоль ската следует
располагать на брусках обрешетки.
Пазовую черепицу крепят проволокой. Один конец прово­
локи закрепляют в ушке черепицы, а другой привязывают к гвоз­
дю, вбитому в боковую грань обреше!ки. Плоскую черепицу кре­
пят кляммерами или гвоздями.
В коньке и на ребрах крыши применяют коньковую черепи­
цу. Коньковую черепицу укладывают на растворе, плотно при-~
жимая ее к рядовой черепице скатов крыши. Швы между черепи­
цами промазывают со стороны чердака цементно-известковым
или цементно-песчаным раствором, в который добавляют волок­
нистые материалы.
Ендовы выполняют из оцинкованной кровельной стали. Че­
репицы скатов должны перекрывать листы стали на 150-200 мм.
В ендовах обрешетку делают сплошной, края черепицы в ендове
подрезают по линии соответственно направлению ендовы.
При устройстве наружного организованного водостока устра­
ивают подвесные металлические желоба, направляющие сток к во­
ронкам водосточных труб. Для подвески и крепления желобов ис­
пользуют крюки из полосовой стали и оцинкованную проволоку.
Для выполнения кровельных работ с покрытием из черепи­
цы используют несложный инструмент: молотки, дрель, раш­
пиль, граненое шило. Промазку стыков производят с помощью
штукатурных инструментов - кельмы, шпателя, штукатурной
лопатки.
Для выхода на крышу и проветривания чердака устраивают
слуховые окна (рис. 4.3.7). Надежность крыши во многом зави­
сит от качества выполнения примыкания кровли к вертикальным
выступающим конструкциям. особенно к вентиляционным тру­
бам. Обделку труб выполняют из оцинкованной стали путем ус­
тройства вокруг трубы воротника. Воротник устанавливают либо
до устройства трубы, либо надевают на трубу до устройства на
174
175
Рис. 4.3.6. Узлы чере­
пичной кровли: а--­
коньковый; б --- в из­
ломе; в - карнизный;
1 --- стропила; 2 - об­
решетка; 3 --- черепи­
ца; 4 --- коньковая че­
репица; 5 --- цементный
или известковый раст­
вор; 6 - проволока;
1 --- мауэрлат; В­
кобылка; 9 --- лобовая
доска; 10 --- скрутка из
проволоки; 11 --- ерш
176
4
Рис. 4.3.7. Примыкание кровель к слуховым окнам и дымовым трубам:
о, б, в - СЛУХО8ые окна; г, д - примыкания к дымовой трубе; е -
воротник для заделки кровли 8 месте примыкания к ДЫМО80Й трубе
(один из вариантов); 1 - стропильная нога; 2 - обрешетка; 3 - кро­
вельная сталь; 4 - дымовая труба; 5 - распушка ДЫМО80Й трубы;
6 - воротник; 1 - кобылка из досок
177
ней уширения-распушки. При полностью готовой трубе ворот­
ник можно выполнить составным из двух частей, которые после
установки соединяют с помощью фальцев.
4.4. Перегородки
Перегородки должны быть звуконепроницаемы, огнестой­
ки, достаточно теплоизолирующие. При устройстве перегородок
следует предусмотреть возможность их переноса в целях изме­
нения планировки помещений. Перегородки санитарных у~лов и
кухонь должны обладать влагоустойчивостью и бьпь гигиенич­
ными.
Перегородкн могут бьпь КИрIПIчными, из гипсовых плит,
деревянными, из гипсокартонных листов на деревянном карка­
се и др.
Кирпичные перегородкн обладают хорошей звукоизоляци­
ей, высокой огнестойкостью, гигиеничны и влагостойки, могут
применяться в любых помещениях, включая ванные, душевые,
постирочные, туалеты (рис. 4.4.1). Однако кирпичные перегород­
ки требуют надежного основания в виде фундамента при полах
по грунту либо железобетонного междуэтажного перекрытия,
либо (при тонких в 1/4 кирпича перегородках) усиленных балок
междуэтажного перекрытия.
Кирпичные перегородки выкладывают толщиной в 1/2 или
1/4 кирпича на растворе марки не менее 25. При длине перего­
родки до 3 М и высоте помещения не более 2,7 м толщина пере­
городки может быть 1/4 кирпича, при большей длине и высо­
те - 1/2 кирпича. Перегородки толщиной в 1/4 кирпича, имею­
щие длину более 1,5 м, армируют проволокой.
Проволоку диаметром 4 - 6 мм укладывают через 5 - 6
рядов кирпича. В местах сопряжения перегородок с капитальны­
ми стенами их закрепляют с помощью металлических штырей
или ершей. Проволоку и штыри устанавливают по ходу кладки
перегородок. Концы проволоки привязьmают к штырям. Лучше-
178
2
3
Рис. 4.4.1. Кирпичная перегородка: 1 - верхняя обвязка из брускоа
25х75 мм; 2 - кирпич на ребро; 3 - арматура диаметром 6 мм; 4-
стойка 50х65 мм; 5 - даерной блок
го качества можно достичь, применяя при возведении перегоро­
док шаблоны из досок. Угловые кирпичи укладьmают вплотную
к шаблону. В местах устройства дверных проемов в кладку пере­
городки с обеих сторон проема закладывают деревянные анти-
179
септированные пробки размером в 1/2 кирпича. Впоследствии к
ним прикрепят дверную коробку.
Зазор между верхним рядом кирпичной кладки перегородки
и перекрытием следует тщательно заполнить паклей, смоченной
в гипсовом растворе. Перегородку закрепляют по верху перекры­
тия в зависимости от его конструкции с помощью металличес­
ких крепежных деталей или деревянных раскладок.
Кирпичную перегородку следует оштукатурить. Штукатур­
ку наносят по предварительному набрызгу цементным раство­
ром.
Перегородки 113 гипсовых ПЛIП обладают теми же достоин­
ства.1И, что и кирпичные (рис. 4.4.2). К тому же они менее тру­
доемки при возведении (если применяют готовые плиты завод­
ского изготовления) и не требуют последующей штукатурки, име­
ют меньшую массу, чем кирпичные, хорошо гвоздятся. К недо­
статкам таких перегородок можно отнести их меньшую влаго­
стойкость.
К основаниям для перегородок из гипсовых плит предъяв­
ляются те же требования, что и для кирпичных. Устройство пе­
регороДок начинают с устройства и выравнивая основания. Затем
устанавливают порядовки, закрепляют их у стен, между которы­
ми будет выкладываться перегородка. Шнур-причалку закрепля-
. ют на высоте первого ряда плит от выровненного раствором ос­
нования так, чтобы его кромка находилась в плоскости перего­
родки. Плиты перегородок устанавливают на гипсовом или це­
ментно-песчаном растворе со смещением вертикальных швов в
сцежных рядах на четверть или половину плиты.
Гипсовый раствор готовят непосредственно на месте. В ящик
с гипсом заливают воду вместе с замедлителем схватывания.
Массу перемешивают, доводя до консистенции густой сметаны.
. Раствор готовят в таком количестве, которое можно использо­
вать в течение 20 мин до того, как раствор схватится.
В местах расположения дверных проемов устанавливают де­
ревянные стойки обрамления проема. Их закрепляют к основа­
нию и перекрытию. К ним же крепят анкеры из проволоки, кото-
180
2
По 1-1
По 11-11
~~.О .. , .
......•
б
4
Рис. 4.4.2. Перегородка из гипсо~ых плит: 1 - верхняя обвязка из
~x~ w
БРУСКО8 --2- мм; 2 - ГИПСО8ые плиты; 3 - стоики проема 80х80 мм;
4 - наличник;. 5 - нижняя об8язка из доски; б - Д8ерной блок; 7 -
анкеры из ПРО80ЛОКИ
рые размещают в швах кладки. Стойки используют для крепле­
ния дверной коробки и заполнения над дверным проемом.
Между потолком и верхом последнего ряда плит оставляют
зазор 15-20 мм. К наружной стене перегородку крепят ершами
в 2-3 местах по высоте стены. В этом уровне в горизонтальные
швы перегородки укладывают стальную 4-миллиметровую про­
волоку по всей длине перегородки для обеспечения ее устойчиво­
сти.
181
При полах на грунте перегородки из гипсовых плит устанав­
ливают на кирпичную стенку, высота которой определяется кон­
струкцией пола. В этих случаях между низом перегородки и сло­
ем цементного раствора укладьmают гидроизоляцию из двух слоев
рубероида. Устройство гидроизоляции предусматривается и в слу­
чае опирания перегородок на междуэтажное перекрытие (с це­
лью предохранения от увлажнения в период эксплуатации).
Перегородки крепят к стенам, а при длине более 3 м -,к.
перекрытиям. Крепление перегородок длиной менее 3 м к пере­
крытиям необходимо в том случае если вертикальная грань пере­
городки примыкает к дверной коробке. Крепление к наружным и
внутренним стенам, перекрытиям, а также соединение перегоро­
док между собой осуществляют скобами и накладками различ­
ной конструкции, либо ершами и гвоздями.
Крепление дверных блоков к перегородкам производится
гвоздями, забиваемыми в деревянную обвязку проема перегород­
ки.
Поверхность перегородки зачищают от наплывов раствора и
затирают, после чего она готова для оклейки обоями или устрой­
ства другого вида отделки.
Деревянные перегородки отличаются от кирпичных мень­
шей массой, и возводят их, как правило, после устройства стен и
перекрытий (рис. 4.4.3). Неоштукатуренные деревянные перего­
родки сравнительно легко могут быть разобраны и переставлены
в другое место. Недостаток деревянных перегородок - высокая
звукопроницаемость, недостаточная стойкость от возгорания и
меньшая долговечность. .
Простейшей является чистая дощатая перегородка из ост­
роганных досок толщиной 40-50 мм, вертикально вставленных
в лежень и верхнюю насадку, в которых имеются пазы. Лежень
и насадку устраивают из досок размерами 30х90 мм, к которым
для образования паза.nрибивают бруски размерами зохзо мм. Од­
нослойную перегородку делают из досок, сплачиваемых в чет­
верть. Чистые дощатые переroродки чаще применяют в деревян­
ных зданиях из бревен и бруса в нежилых помещениях. Из-за
182
По 1-1
По 11-11
9
По 111-111
10
у:'
5
б
Рис. 4.4.3. Дере!lянные перегородки: а _
дощатая 8 бревенчатом здании; б - из
досок о косой обшивкой; 1 - наРужная
стена; 2 - паз !I стене; 3 - чистая ДОща­
тая перегородка; 4 - Плинтус; 5 - двер­
ной блок; б - наличник; 7 - !lерхняя об­
вязка из двух досок 25х140 мм и бруска
32х40 мм; 8 - доска 25 мм; 9 - штука­
турка; 10 - нижняя обвязка
183
низкой звукоизоляции такие перегородки не пригодны для ог­
раждения спален.
Дощатые оштукатуренные перегородки обеспечивают луч­
шую звукоизоляцию, гигиеничны, обладают (большей огнестой­
костью, чем чистые дощатые. Выполняют их из нестроганых
досок толщиной 50 ММ. Доски соединяют шипами, врубаемыми
на расстоянии 140-150 мм друг от друга в шахматном порядке.
Устанавливают доски в нижнюю и верхнюю обвязки. Перегород­
ку штукатурят с двух сторон по драни или штукатурной сетке.
Под дрань желательно подложить рогожу, что предотвратит по­
вреждение штукатурки. Общая толщина перегородки, оштукату­
ренной с двух сторон, - 100 мм.
Вместо досок толщиной 50 ММ можно применить два слоя
досок меньшей толщины. При ЭТОМ один слой досок толщиной
25 мм устанавливают вертикально а второй, из досок толщиной
19-25 мм - наклонно, под углом 450. Перегородка обеспечит
лучшую звукоизоляцию, если между слоями досок проложить
слой пергамина.
Перегородкп каркаспо-оБШIIВIIОЙ КОIIСТРУКЦПII требуют
меньшего расхода древесины, позволяют применить современ­
ные плитные и листовые материалы (рис. 4.4.4). Каркас перего­
родки состоит из стоек-брусков сечением 50х75 мм, устанавли­
ваемых между нижней и верхней обвязками такого же сечения.
Стойки устанавливают с шагом 500-600 мм в зависимости от
материала заполнения и обшивки, а также.с учетом расположе­
ния дверных проемов. В качестве обшивки применяют листовые
материалы (гипсокартонные листы) либо нестроганую дощатую
обшивку. Звукоизоляционное заполнение рекомендуется выпол­
нять прошивными минераловатными ~атами.
Для заполнения между стойками каркаса можно использо­
вать фибролитовые плиты. Швы между плитами заполняют гип­
совым раствором.
Если применяют дощатую обшивку перегородки или каркас
заполняют фибролитовыми плитами, то необходима штукатур­
ка, которую вьmолняют аналогично дощатым оштукатуренным
184
а
1
2
-б
По 11-11
21014
По /V-/V 4. :1 ,
147514
ff--Н
1
2
-'f·............. 6
Рис. 4.4.4. Перегородки каркасно-обшивной конструкции: а - с за­
полнением фибролитовыми плитами и обшивкой гипсокартонными ли­
стами; б - с заполнением минераловатными прошивными матами; 1 _
ФиБРОЛИТО8ые плиты; 2 - гипсокартонные листы; 3 - стойка карка­
са; 4 - нижняя об'вязка; 5 - верхняя обвязка; 6 - наличник; 7-
плинтус; 8 - маты минераловатные прошивные; 9 - доски 13 мм;
10 - обжимные бруски для закрепления матов 8 верхней части й 8
середине 8ЫСОТЫ пере городки
185
перегородкам. Перегородку с заполнением цементно-фиброли­
товыми плитами выполняют с обшивкой с двух сторон гипсокар­
тонными листами. По условиям пожарной безопасности остав­
лять незаполненные воздушные полости внутри перегородок из
сгораемых материалов нельзя. Дверные блоки крепят гвоздями
к стойкам каркаса в трех местах по высоте.
Если каркасно-обшивные перегородки примыкают к ванной,
душевой, постирочной, то они должны иметь со стороны этих
помещений оштукатуренную цементно-песчаным раствором по':
верхность или обшивку из водостойких материалов - цементно­
стружечных плит, асбестоцементных листов с покрытием поверх­
ности водостойкими красками или пленочными и облицовочны­
ми материалами.
Утепленные neperopoДКII - каркасные с заполнением из теп­
лоизоляционного материала, если он подобран с учетом расчет­
ных теплотехнических параметров, соответствующих ограждае­
Mым помещениям. Можно использовать в мансардных помеще­
ниях и для ограждения тамбура (рис.4.4.5). Необходимо при этом
выполнять пароизоляцию из полиэтиленовой пленки со сторо­
ны, обращенной внутрь теплого помещения. Пароизоляция дол­
жна быть непрерывной и не иметь повреждений.
Сборка каркасных перегородок производится в следующей
последовательности:
- к балкам (лагам) перекрытия крепят верхнюю и нижнюю'
деревянные обвязки из бруска толщиной 50 мм и шири­
ной по толщине каркаса перегородки;
- к верхним и нижним брускам обвязки гвоздями крепят
стойки с шагом не более 600 мм;
- устанавливают и крепят к стойкам каркаса дверные ко-
робки;
- к стойкам крепят обшивку (с одной стороны);
- укладывают звукоизоляционный слой;
- устанавливают и крепят к стойкам противоположный лист
обшивки;
186
Рис. 4.4.5. Утепленные перегородки: 1 - нижняя обвязка; 2 - lSерх­
няя обвязка; 3 - стойка; 4 - утеплитель (маты прошивные минерало­
ватные или фиБРОЛИТОlSые плиты; 5 - дощатая оБШИlSка; 6 - пленка
полиэтиленовая; 7 - гипсокартонные листы
- стыки листов обшивки, наружные и внутренние углы, при­
мыанияя к стенам и потолку тщательно заделывают, шпак-,
люют и оклеивают бумажной или тканевой лентой. Сты­
ки листов обшивки следует устраивать на элементах кар­
каса.
При устройстве всех видов перегородок следует учитьшать,
в каком климатическом районе строится дом, и принимать тол­
щину утеплителя в перегородке соответственно расчетной отри-
187
цательной температуре. В табл. 4.4.1 приведены рекомендуемые'
толщины утеплителей.
Т а б л и Ц а 4.4.1
Толщина yrеnлитеЛJI (ММ) при расчетной
Материал yrеnлитеЛJ! температуре наружного .оздуха, ·С
-20 -30 -40
Минераловатные маты прошивные
r = 125 кr/M3 (ТУ 21-31-64-88), 100 150 200
кл. Н
Плиты фибролитовые на портланд-
цементе (ГОСТ 8 928-81)
r =300 кr/M3
150 200 -
Дверные наличники. необходимо прочно прикрепить к ко­
робкам с напуском на перегородку не менее 10 мм, с плотным
прилеганием наличников к перегородке.
Стыки перегородок со стенами и другими конструктивны- j
ми элементами, стыки перегородок между собой, швы между -
верхней гранью перегородки и нижней плоскостью перекрытия
для обеспечения необходимой звукоизоляции нужно тщательно
конопатить паклей или минеральным войлоком, смоченным в
гипсовом растворе.
Стыки перегороДок между собой, а также стыки перегоро­
док со всеми конструктивными элементами здания (если эти швы
не прикрыты наличниками, нащельниками или раскладками) про­
клеивают снаружи тканью (марлей, миткалем и т.д.) и тщатель­
но шпаклюют под окраску или оклейку обоями.
В ~убленых и брусчатых зданиях между потолком и перего­
родкой оставляют зазор на величину осадки здания (не менее
10 см), который заполняют паклеЙ. Перегородки в этих зданиях
можно устраивать и после осадки здания (примерно через год
после постройки).
188
4.5. Полы
в гражданских зданиях применяют полы дощатые, nаркет­
ные, лпполеумные, из керамической плитки, цементные. Полы
устраивают либо по грунту, либо по цокольному или междуэтаж-.
ному перекрытию (рис. 4.5.1).
При устройстве полов по грунту устраивают бетонный под­
стилающий слой, в необходимых случаях (при высоком уровне
грунтовых вод) укладьшают гидроизоляцию и слой щебня тол­
щиной 50 ММ, пропитанный битумом и втрамбованный в грунт.
При устройстве дощатых полов первого этажа между грун­
том и полом делают подполье, предохраняющее пол от грунто­
вой сырости. Доски пола настилают по лагам, укладываемым на
кирпичные столбики. Нельзя применять для кладки столбиков
силикатный кирпич и искусственные камни, теряющие ПРОЧilOСТЬ
при увлажнении.
Столбики устанавливают на бетонный подстилающий слой
или на коренной грунт. На насыпном неуплотненном грунте их
ставить нельзя, так как неизбежно произойдет осадка грунта вме­
сте со столбиком, пол провиснет и будет зыбким.
После подготовки подстилающего слоя размечают места ус­
тановки столбиков. Крайние ряды столбиков, по которым будут
уложены лаги вдоль стен, устанавливают к ним вплотную, а край­
ние столбики каждого ряда - с отступом на полкирпича. Лаги
подкладки и доски со стороны нижней плоскости и боковых кро­
мок должны быть антисептированы.
По кирпичным столбикам укладьmают деревянные антисеп­
тированные подкладки по двум слоям толя, края которого вы­
пускают из-под ПОДlЛадок на 30-40 мм. Для выравнивания по­
верхности лаг применяют подкладки соответствующей толщи­
ны. Между лагами и стенами оставляют зазор 20 мм.
В дощатых полах применяют доски толщиной 27 и 21 мм с
гребнями и шпунтами на боковых гранях, изготовленные из дре­
весины хвойных пород. Доски должны быть хорошо просуше­
ны. Стыковать доски следует на лаге. Пол получается более ров-
189
500 б
4
_2727
2515O75
80
1 11 !7J ::r.
~,500-600
Q)
5 б о
~
о
с::
в г
500
14 1 9 ~
~10
Г
40
70
18500 ! 50
9'
, д е
i27
40
32
12 7
Рис. 4.5.1. Полы: а - дощатый на лагах по грунту; б - дощатый по
дереаянным балкам над подвалом; в - то же, междуэтажного пере­
крытия; г - дощатый по железобетонному перекрытию над подвалом;
д - то же, междуэтажному; е - цементный по грунту; ж - керами­
ческий но грунту; 3 - то же, по дереsянным балкам цокольного пере­
крытия; и - то же, по железобетонному перекрытию над подвалом;
190
ж 12 3 15 14
~
32
/ :::r.
~8 11 9 IJ
1 6 1500-600 t о
2-
о
t:
и
15 14
17 к
21 20 19
~
....
~ ~
~.
18
12
к - линолеумный по железобетонному перекрытию над подвалом; 1 -
доски пола; 2 - лаги из досок; 3 - подкладки деревянные; 4 - два
слоя толя или рубероида; 5 - кирпичный столбик 75х250х250 мм;
6 - подстилающий слой (щебеночный, бетонный) толщиной 80 мм;
1 - уплотненный грунт ОСНО!lания; 8 - балки перекрытия, 9 - тепло­
изоляционный слой; 10 - полиэ'ГилеНО!lая пленка; 11 - деревянный
щит наката; 12 - железобетонная плита перекрытия; 13 - прокладка
звукоизоляционная из древеСНО!lОЛОКНИСТЫХ плит толщиной 32 мм; 14-
цементный раствор; 15 - керамические плитки; 16 - гидроизоляция
из ДВУХ слое!! рубероида на битумной мастике; 17 - стяжка из цемен­
тно-песчаного раствора; 18 - шлак или керамзит; 19 - стяжка из
легкого бетона; 20 - клеящая мастика или клей; 21 - линолеум
191
ным, если настил в:6mолнять так, чтобы годовые кольца па смеж­
ных досках были направлены в разные стороны.
При одинарном настиле подпольное пространство между вер­
хом бетонной подготовки и низом дощатого настила не должно
npеВЬПIIать 30 см. Вдоль наружных стен под полом устраивают
утепление путем подсьmки или укладки утеплителя (например,
шлака) на ширину до 1,0 м, толщиной 25-30 см. При более эф­
фективных утеплителях толщина может быть уменьшена.
Если подпольное пространство имеет высоту более 30 см,
то делают двойные утепленные полы, конструкция которых ана­
логична конструкции полов по перекрытиям над подвалом.
Пол настилается по уложенным и тщательно выверенным
уровнем лагам или балкам перекрытия. Доски пола должны плот­
но прилегать одна к другой. Для этого их соединяют между со­
бой боковыми кромками в шпунт и сплачивают. Доски прибива­
ют к каждой лаге гвоздями длиной 70-80 мм, забиваемыми че­
рез гребень шпунта наискось так, чтобы не бьmи видны их го­
ловки. Если настилают доски повышенной влажности, то кре­
пятся они более мелкими гвоздями через 1-3 доски, чтобы пос­
ле высыхания их можно было перестелить.
Дощатые полы укладьmают после завершения штукатурных
работ. Деревянные полы нельзя настилать вплотную к стене, по­
скольку дерево впитьmает влагу, увеличивается в объеме, и полы
могут вздуться. Зазор между досками пола и стеной (10-15 мм)
перекрьmают плинтусом.
Укладку дощатого пола ведут от стены. Первую доску гвоз- .
дями прибивают к лагам. Затем укладывают еще несколько (3-4)
досок, не прибивая их. Доски плотно прижимают друг к другу.
используя клинья и железные скобы, забиваемые в лаги. После
этого прибивают доски гвоздями, утапливая их головки с таким
расчетом, чтобы можно бьmо производить острожку пола. Затем
операцию повторяют в той же последовательности.
Цементные полы устраивают в некоторых вспомогательных
помещениях здания (например, топочная, холодные кладовые
(см. рис. 4.5.1).При полах по грунту цементный пол устраивают
192
по подстилающему бетонному слою Толщиной 8 см. Покрытие
пола выщлняют из цементного раствора состава 1:2 (1 часть це­
мента марки 300-400 на 2 части песка). Жидкий раствор разрав­
нивают, затирают и тщательно железнят. В течение нескольких
суток (2 - 4) цементный пол 2-3 раза в день увлажняют, что
предотвращает его растрескивание. Плинтус также можно сде­
лать из цементного раствора.
Полы с покрьпием из керамических ПJПIток устраивают в
ванной, санитарном узле, в по~тирочней, частично в кухне в зоне
расположения сантехнического оборудования (см. рис. 4.5.1).
Основание пола с покрытием из керамической плитки дол-·
жно иметь гидроизоляционный и теплоизоляционный слои.
Гидроизоляционный слой выполняют из двух слоев руберо­
ида на битумной мастике, а теплоизоляционный - из сыпучих
(шлак, керамзит) или плитных (плиты минераловатные, древес­
новолокнистые) утеплителей.
Основанием пола может служить бетонная подготовка (при
полах по грунту) или железобетонные плиты междуэтажного пе­
рекрытия.
Плитки укладьшают на слое цeMeHTH~ГO раствора состава
1:3 толщиной 10-15 мм. По периметру стен устраивают плин­
тус из плиток специальной формы.
Полы из mmолеума теплы, достаточно долговечны, имеют
высокие гигиенические и эстетические свойства. Их можно уст­
раивать во всех основных помещениях здания - жилых комна­
тах, кухне, коридорах, теплых кладовых (см. рис. 4.5.1).
Линолеум выпускается рулонами различной ширины. До на­
клейки его расстилают в теплом помещении, выдерживают не
менее суток, прирезают по месту, оставляя запас 5-6 см на усад­
ку. Полотнища укладывают по направлению света (для скрытия
швов) насухо с нахлестом на 10-15 мм для того, чтобы при при­
резке и стыковании кромок получить малозаметный стык.
Паркетпые полы обладают прекрасными декоративным~ и
санитарно-гигиеническими свойствами. Они теплы, надежны и
удобны в эксплуатации, долговечны (рис. 4.5.2).
7 КОНС'I r 'tlJIОЭ I J.LI,
193
а
в
Рис. 4.5.2. Устройство паркетных полов: 0- паркетная клепка; б­
сплаЧИl!ание паркетной клеГlКИ; в - настилка llapKeTHbIx щитов; г­
настилка паркетныx досок; д - настилка наборного паркета на битум­
ной мастике; е - настилка наборного мозаичного паркета; 1 - паз I!
клепке; 2 - плоскость паркетной клепки; 3 - специальный молоток
со скошенным бойком; 4 - гвоздь; 5 - фриз; б - паркетные щиты;
194
т
г
д
7 - прокладка из рулонного материала; 8 - причалка; 9 - паркет­
ная доска; 10 - лаги; 11 - 8ыра8НИ8ающие подкладки; 12 - утепли­
тель; 13 - ОСНО8ание; 14 - битумная мастика
195
Паркетные полы выполняются из паркетной клепки, кото­
рую изготовляют из дуба, ясеня, клена, лиственницы, бука
(рис. 4.5.2).
Дощечки клепки, имеющие форму прямоугольника шири­
ной 3-5 см, длиной 15-30 см с пазами по всем боковым гра­
ням, укладывают либо на битумной мастике по стяжке из цемен­
тного раствора по бетонному основанию, либо по сплошному
дощатому настилу, уложенному с зазором между досками 8-
10 мм. Между клепкой и дощатым настилом прокладывают слой
строительной бумаги, чтобы пол не скрипел.
Клепку обычно укладьmают в «елку». При укладке паркети­
на прижимается к ранее уложенным ударами деревянного мо­
лотка по продольной, а затем по торцевой кромкам.
Для связи паркетин между собой используют торцовые рей­
ки, которые закрепляют в пазах. Паркетины крепят к дощатому
настилу основания гвоздями длиной 40-50 мм, которые вбива­
ют в нижний выступ шпунта, утапливая их так, чтобы они не
мешали установке следующих клепок.
Промышленностью выпускаются паркетные доски и щиты.
Их монтируют на деревянных лагах.
Полы из наборного паркета настилают по слою холодной
мастики толщиной 1 мм или на специальных синтетических кле­
ях и мастиках. Карты паркета, собранные по определенному узо­
ру на крафт-бумаге, сначала укладывают, подгоняют насухо.
После окончательной разметки карты раскладывают (бумагой
кверху) предварительно тщательно выровненный слой мастики,
подгоняя карты друг к другу. По окончании настилки бумагу
смывают.
После настилки паркетных полов производят их сплошную
острожку и циклевку (пол из паркетных досок и щитов только
циклюют). Затем очищенный и высушенный паркетный пол по­
крьmают лаком или специальной мастикой.
196
т
4.6. Окна и двери
Окна обеспечивают в здании нормальное дневное освеще­
ние, регулируемую естественную вентиляцию и облучение поме­
щений и находящихся в них предметов тепловыми и световыми
солнечными лучами. Правильно подобранные по размерам и кон­
струкции окна обеспечат нормальный комфортный режим в по­
мещениях.
ПЛощадь остекления принимают в зависимости от размера
помещения, географической широты, климатических условий и
ориентации по странам света, положения здания в окружающей
застройке и природпом окружении. В зависимости от перечис­
ленных условий отношение площади окна к площади пола мо­
жет колебаться в пределах от 1/5 до 1/8. Для помещений, обра­
щенных на солнечную сторону и ничем не загороженных, доста­
точна минимальная норма (1/8). В помещениях, обращенных ок­
нами на север, затененными деревьями или постройками, и в
помещениях с большой глубиной принимают большую норму.
Следует принимать во внимание и направление господствующих
ветров. Чрезмерно большие размеры окон, обращенных в направ­
лении ветра, преобладающего в холодное время года, способству­
ют переохлаждению помещений, требуют большого расхода топ-
лива.
Следует помнить, что стоимость 1M~ оконного проема'обой­
дется дороже, чем 1 м2 глухой стены, а тепловые потери значи­
тельно больше, чем через стену.
С учетом климатических условий остекление окон может
быть одинарным (в южных районах), двойны~ (в средней полосе
при расчетной зимней температуре до -300 С) или тройным (в
районах с суровой зимой при расчетной температуре -40 0 С и
ниже).
Для проветривания помещений в окнах устра~вают форточ­
ки или фрамуги. Иногда роль форточки выполняет узкая створка
окна.
197
ОсвещеННОСТЬi теплопотери и проникание световых и теп­
ловых солнечных лучей можно регулировать различными спосо­
бами, например, ставнями, - это традиционный способ.
Форма и размеры окон и дверей влияют ~ на внешний облик
здания, его архитектурный образ.
При установке оконных и дверных блоков в деревянных брус­
чатых или бревенчатых зданиях следует учитьmать осадку стен и
оставлять зазор между верхом коробок и стен 7-8 см, заполнив
его теплоизоляционными вкладышами.
После установки оконных и дверных коробок в каменных
стенах и их коНdпатки можно приступать к штукатурке откосов,
установке наличников и устройству слива для защиты наружно­
го подоконного откоса. Слив выполняют из оцинкованной кро­
вельной стали, который заводят в паз коробки и герметизируют
замазкой. С внутренней стороны помещений в оконных проемах
устанавливают подоконные доски с соблюдением определенных
правил:
- ширина подоконной доски, вьmолненной из одной доски,
не должна превышать 15 см; при'большей ширине соеди­
няют несколько досок на шпонках;
- свес подоконной доски внутрь помещения за плоскость
оштукатуренной стены рекомендуется выполнять не ме­
нее 50 мм;
- верхняя поверхность подоконных досок должна иметь
уклон внутрь помещения не менее 0,01;
- поверхности подоконной доски, соприкасающиеся с клад­
кой стен, должны быть антисептированы и изолированы
прокладкой из рубероида;
- в пределах одного помещения подоконные доски устанав­
ливают на одном уровне;
- между нижней плоскостью подоконной доски и отопитель­
ным прибором, установленным под окном, должен оста­
ваться зазор 60-70 мм;
198
- подоконную доску следует делать с капельником, это за­
щитит стену от намокания :в случае запотевания окна и
стекания воды с подоконника;
- размер досок по длине соответствует ширине проема с уче­
том заделки ее концов в стены не менее, чем на 40 мм с
каждой стороны.
4.7. Лестницы
в малоэтажных домах используют несколько типов лест­
ниц. Выбор типа лестницы зависит от планировки и стиля зда­
ния, помещения или квартиры. Конструкция лестницы опреде­
ляется следующими факторами: высотой помещения, экономи­
ей площади, интенсивностью движения по лестницу, эстетикой
конструкций и всего сооружения и пр. _
В общем виде лестницы можно классифицировать следую­
щим образом (рис.4.7.!.)
- по ФУНКЦИО1lалыюсти - домовые, ландшафтные, и спе­
циальные;
- по назначению - междуэтажные, входные, рабочие, про­
ходные;
- по относительному положению - внутренние и наруж­
ные;
- стационарные, трансформируемые и переносные;
- по конструкции - с подступенками, без подступенков, с
тетивами или на косоурах, винтовые ( с центральной стой­
кой или без нее), со ступенями консольными, подвесны­
ми, выдвижными, забежными и Т.д.;
- по материалу несущих конструкций - деревянные, сталь­
ные, каменные, железобетонные, бетонные, комбиниро­
ванные;
- по форме - прямые, в т. ч. одномаршевые и многомар­
шевые; ломап.ые, вт. Ч. распашные и с забежными ступе- ,
199
~r'Е
А
5
г
' а-»--6-4-а.,
.... , =2 ,- д
*
3350
f
~'i
g
JJ~ в 3а6еж'Ные
сmynе1lи
800-900
3000
и(~~~аюfi~
I ЭТ. I ЭТ. Типовой ЭТаж
i11О. • 0.00 эma:ш:..:tJ.4.
Л 'L..;;; 'L....;;ё.:;-t L-.*-....:r
Без l(окольного С цокольным
•мариш маришм
Рис. 4:7.1. Виды лестниц: А - одномаршевая; 5, В - двухмаршеlSая;
Г, д- трех- и четырехмаршевые; Е - внутриквартирная с забежными
ступенями; Ж - lSинтовая; З, И, к - круговые; Л - обозначения
лестниц на планах
200
нями; одномаршевые лестницы с поворотом на 1800 или
с одним-двумя поворотами на 900; криволинейные, со­
стоящие из одних только забежных ступеней; BIIНToBыe с
центральной стойкой, которая несет всю нагрузку; двух­
маршевые криволинейные с промежуточной площадкой;
- по СЛОJlсносmu - мелкоэлементные и крупноэлементные ,
полносборные.
Основные типы лестниц состоят из маршей 11 площадок.
Лестничный марш в собранном виде состоит из ступеней и под­
держивающих их наклонных балок. Балки, поддерживающие сту­
пени только снизу, называются косоураМII , а поддерживающие
ступени одновременно снизу и с торцов - тетивами (рис. 4.7.2).
Если ступени опираются на три косоура, то средний из них назы­
вается промежуточным. Площадки состоят из горизонтальных
балок и покрытия.
Б
Рис. 4.7.2. Лестничные марши: А - с опорой на теТИI!Ы; Б - с опорой
ступеней на КОСОУРЫ
201
Угол, под которым устанавливается лестничный марш, на­
зьmается углом подъема марша. Расстояние по вертикали меж­
ду уровнями, которые соединяет марш, называется высотой мар­
ша, а расстояние в плане между крайними точками его опор -
горнзовталыIмM заложением марша.
Отношение высоты марша к его горизонтальному заложе­
нию называется уклоном марша. В конструктивных парамет­
рах марша различают строительную ШlIрllIlУ марша, которая
определяется расстоянием между крайними точками его попе­
речного сечения. Полезная ширнна марша - это расстояние в
свету между ограждающими лестницу конструкциями ( перн­
лами, стенами).
Горизонтальная рабочая часть ступеней называется ПРОСТУ­
ныо. Кроме балок,ступени могут дополнительно опираться на
вертикальные элементы, назьmаемые подступеllкаМII, которые
служат также эстетическим элементом лестницы (рис. 4.7.3).
Площадка
/
Высота перил
Тетива
Проступь
 Подступенок
Расстояние между стойками
Рис. 4.7.3. Схематическое изображение лестницы
202
Ступени без подступенков называются открьпыми , а с под­
ступенками - закрытыми. При закрытых ступенях подступенки
устраиваются на некотором расстоянии от края верхней просту­
пи, что позволяет уменьшить горизонтальное заложение марша,
а следовательно, его длину (рис. 4.7.4).
Основными техническими параметрами ступени являются
ее высота и ширина. Высота ступенн - это расстояние по верти­
кали между nроступями, ШИрШIa ступенн - это расстояние по
горизонтали между наружными краями проступей .
Важно не путать понятия ширины ступени и ширины ее про­
ступи. Ширина ступени - понятие теоретическое, используемое
для расчета угла подъема и заложения марша , ширина просту­
пи - понятие конструктивное, используемое для расчета конст­
рукции ступени.
Для того, чтобы правильно запроектировать лестницу, не­
обходимо не только правильно выбрать ее мес-rоположение, но и
знать основные нормы, правила и требования, которые следует
соблюдать при проектировации и строительстве лестниц:
- Минимальная ширина марша - для вцутриквартирных
лестниц - 800 мм, для 2-этажных зданий - 900 мм.
- Ширииа лестничных площадок должна быть не менее
ширины марша и не менее 1200 мм'-
- Полезная ширина марша поворотной лестницы и лест­
ницы, соединяющей более двух этажей, должна быть рас-
. ,
считана на одновременный проход не менее двух чело-
век, Т.е. составлять не менее 1,0 м. Кроме того, при по­
лезной ширине марша менее 1,0 м затрудняется перенос
крупногабаритных вещей.
- Ширина маршей двух- и многомаршевых лестниц долж­
на быть одинаковой на всем протяжении лестницы.
- Количество ступеней в одном марше должно быть не
менее 3 и не более 16.
- Рекомендуемый уклон лестницы находится в пределах
1:2-1:1,75. Предельные уклоны лестниц, предназначе.н-
203
н
подступенок
/'
/0.
в
подступенок
проступь
выступ
Рис. 4.7.4. Закрытые ступени (вверху со скошенными подступенками;
внизу - с прямыми подступенками): Н - высота ступени; в - ширина
ступени; с - ширина 8ыступа
204
ных для ходьбы, имеют верхнюю границу 1:0.85 (500) и
нижнюю границу 1:2,75 (200).
- Размеры ступеней лестниц: высота - не более 19 см,
ширина - не менее 26 см. Для внутриквартирных лест­
ниц соответственно 20 и 23 см. Для подвальных и чердач­
ных лестниц - 21 и 21 см.
- Ширина ступени основных лестниц должна быть не ме­
нее 25 см. Для лестниц, ведущих в нежилые помещения,
высота и ширина ступеней может быть 20 см.
- Высота ступеней должна быть не более 20 и не менее
12 см.
- Высота ограждений (перил) междуэтажных лестниц долж­
на быть не менее 0,9 м.
- Расстояние Между стойкамlI (балясинами) перил не дол­
жно превышать 12 см при высоте от уровня пола свыше
1,5 м.
- Расстояние между любой ступенью лестницы и потолком
должно быть не менее 2,0 м, чтобы по лестнице мог сво­
бодно пройти взрослый человек
Необходимая площадь для сооружеиия лестницы (В гори­
ЗОНТ3.ЛЬНОЙ проекции) составляет ориентировочно:
- винтовая лестница с цеитральной стойкой - не менее 3,6
кв.м;
- лестница с площадкой - 3,1 кв.м;
- лестница с двумя поворотами на 900 - 2,1 кв.м;
- прямая одномаршевая лестница - 2,5-3,0 кв.м.
Методы расчета лестниц
После выбора типа лестницы и места ее расположения оп­
ределяются ее параметры, а именно: количество маршей, полез­
ная ширина, длина горизонтального заложения каждого марша,
количество и длина лестничных площадок.
Существует несколько формул определения оптимального
205
-
соотношения размеров проступей и подступенков, которые слу­
жат для правильного расчета лестниц.
1. Формула, основанная на длине шага.. Длина шага человека
составляет от 60 до 66 см, в среднем - 63 см. Исходя из
этого удобство лестницы определяет формула
2Н + В = 63 ± 3 см.
При увеличении высоты подступенка на 1 см надо сокра­
щать ширину проступи на 2 см, при этом уклон увеличится. При
большем уклоне проступь становится слишком узкой, а при мень­
шем уклоне - проступь излишне широкая.
2. Формула удобства позволяет определить уклон, который
требует наименьших затрат сил при подъеме по лестнице
В - н = 12 см.
3. Формула безопасности
В + Н =46 ± 1 см.
Безопасность спуска по лестнице зависит в первую очередь
от правильного определения размеров проступи. При слишком
маленькой ширине проступи возникает опасность соскальзьmа­
ния ноги, при слишком широкой проступи при спуске человек
как бы зависает на краю ступени.
Для расчета параметров лестницы, удобной для ходьбы,
принимается уклон марша.в пределах 1:2 - 1:1,75.
Зная уклон и высоту марша Н, определяем длину его гори­
зонтального заложения В. При уклоне марша 1:2 длина его зало­
жения, к примеру, определится по формуле
откуда
L=HxY,
206
где У - знаменатель относительной величины принятого уклона
марша.
Затем рассчитывается количество ступеней в марше по фор~
муле
L
Х=-+l
В '
где В - ширина ступени,
Х - количество ступеней,
L - длина заложения марша.
Разделив высоту марша на количество ступеней, получим
высоту ступени «Н» (см. рис. 4.7.4).
Расчеты габаритов лестниц с забежными ступенями, винто­
вых лестниц, лестниц с четвертьоборотными маршами более
сложные, они приводятся в специальной ли~ературе по лестни­
цам.
Конструкции леСТIIИЦ
Мелкоэлементиые лестниц'ы чаще всего применяются при
реконструкции, в зданиях с неунифицированной высотой этажа,
особенно в тех случаях, когда лестница является главной компо­
зиционной осью интерьера.
В зависимости от материала косоуров и площадочных балок
различают мелкоэлементные лестницы по металлическим и же­
лезобетонным косоурам, деревянные лестниц~.
Рассмотрим конструктивные решения основных видов де­
ревянных лестниц: на тетивах и на косоурах.
В деревянных лестницах несущую основу маршей составля­
ют наклонные балки - тетивы или косоуры, которые врезают в
площадочные или в специальные ПОДlсосоурные балки. Просту­
пи и подступенки выполняют из отдельных сплоченных досок
или деревянных щитов.
В деревянных лестницах на тетивах ( рис.4.7.5.) для сопря­
жения проступей и подступенков с тетивами в боковых их гранях
207
ка площадки
А
в
1-1
JI~
Рис. 4.7.5. Конструкции деревянных лестниц на тетивах: А - с врез­
ными ступенями; Б - с креплением ступеней на стальных уголках;
В - со сплошной пилообразной прибои ной при а. ~ 400; Г-с прибо­
инами при а.  400
208
делают пазы (пропилы) глубиной 15-25 мм. Ширина пропилов
зависит от толщины досок, взятых для проступей и подступен­
ков. Соединения выполняют на клею или дополнительно торцы
элементов закрепляют гвоздями или шурупами. После установ­
ки тетивы таких лестниц дополнительно стягиваются двумя или
тремя металлическими тяжами диаметром 8-12 мм. Возможно
крепление ступеней к тетивам на стальных или алюминиевых
уголках.
На рис. 4.7.6 ПОJазан пример деревянной лестницы на тети­
вах с забежными ступенями. Возможен вариант лестниц с одной
тетивой.
ДереВЯliные лестницы на косоурах могут иметь один косо­
ур, который располагается по оси лестничного марша, или два
косоура, расположенных по краям марша либо сдвинутых не­
много внутрь. Вообще, в случае, если толщина доски, использу­
емой для косоура, меньше оптимальной или ширина лестнично­
го марша более 2,5 м, в средней части марша устанавливают до­
полнительный косоур. Конструктивные решения лестниц на ко­
соурах показаны на рис. 4.7.7 и 4.7.8.
Косоуры и ступени желательно изготавливать из одного и
того же материала. Это может быть дуб, клен, бук или клееная
древесина. Следует отметить,. что древесина хвойных пород 'хо­
рошо подходит только для изготовления тетивы и подступенков.
Для проступей предпочтительно использовать древесину более
твердых пород. В некоторых случаях проступи офактуриваются
специальными накладными досками из пластмассы или оклеи...
ваются специальными пленками, имитирующими древесину цен­
ных пород или даже камня и существенно повышающими изно­
состойкость ступеней.
Лестницы часто изготавливают без подступенков. При из­
готовлении лестниц с подступенками их приклеивают в стык,
прибивают ил.и врезают. Можно закрепить подступенок на клею,
шурупами с помощью треугольного бруска или гвоздями через
проступь. В любом случае применение подступенков повышает
устойчивость лестницы.
209
воН 800 Jj80
9БО
1-
1
стяжка
860
тетива сечением ,r...JIL-'I,,J-'-'--'-
4ООхВО ~ 80 ~
1-1
Рис. 4.7.6. Конструкции деревянной лестницы на тетивах с забежными
ступенями
210
РИС. 4.7.7. КОНСТРУКЦИИ деревянных лестниц на косоурах
211
Рис. 4.7.8. Соединения 11 косоурах на шкантах и кобылках
Желательно, чтобы проступь выступала за переднюю плос­
кость подступенка на 20-30 мм и имела закругленный край.
Для того, чтобы скрыть шурупы крепления проступи, в ней
просверливаются отверстия с потаем и под диаметр головки шу­
рупа, а затем отверстия закрываются деревянными пробками
(см.рис, 4.7.7).
Высоту сечения несущих балок лестничного марша (тетив и
косоуров) можно определить по данным табл.4.7.1. Толщина
досок проступей и их ширина в зависимости от ширины марша
определяется по табл. 4.7.2.
212
Таблицы для определения параметров основных деталей
деревянIIых лестниц
Таблица 4.7.1
Высота поперечного сечения иесущей балки лестничного марша
(~ри IIIВрине сечения 50,60 мм), см
Высота Ширина лестничного марша, м
лестничного 0,80--0,90 I 1,00-1,10 I 1,2
марша, м Длина лесuшчного марша, м
5,5 8,5 10,5 12,5 5,5 8,5 10,5 12,5 5,5 8,5 10,5 12,5
до 1,5 10,5 9,5 8,5 - 10,5 9,5 8,5 - 11,0 10,5 9,5 -
до 2,0 13,5 11,5 10,5 - 14,0 12,0 11,0 - 14,5 12,5 12,0 -
до 2,5 17,0 14,0 13,0 12,5 17,5 15,0 14,0 13,0 18,5 16,0 14,5 14,0
до 3,0 - 16,5 15,5 15,0 - 18,0 16,5 15,5 - 19,0 17,5 16,5
'Таблица 4.7.2
Рекомендуемые размеры ступеней, мм
Шщина лестничного марша, м
0,80 0,90 1,00 1,10 1,20
Ширина ступени, 240 300 240 300 240 300 240 300 240 300
мм
Толщина ступени, 40 40 45 45 45 45 50 50 55 55
мм
-
Литература
Аzан.янц Л.М., Масютuн В.М., Бочкарева Н.В. и др. Жилой дом
для индивидуального застройщика. - М.: Стройиздат,
1990. - 158 с.
Артемьев Ю.А. Как построить дачный домик. - Краснодар: Кн.
изд-во, 1991. - 207 с.
БарmaшевuчА.А., БогушВ.Д. Квартира, коттедж, дача. - Миn:ск:
000 «Лазурак», 1995. - 120 с. .
Бояд:нсuев Х.А. Деревянный дом - своими руками - София,
Болгария: Техника, 1988. - 142 с.
Бояр С.В., Лозzачев КА. Сруб своими руками. - СПб.: Строй­
издат, 1992. - 32 с.
Ваш дом: Пособие индивидуальному застройщику: альбом I Бо­
рисов В.И., Бутусов Х.А., Лопаткин Ю.В. и др.: Под ред.
Борисова В.И. - М.: Колос, 1994, - 415 с.
ГОСТ 26823-86 «Летние садовые домики. Общие технические
требования».
Зазерекий К.И. Строим всей семьей. - СПб: Кристалл, Дельта,
1996. - 512 с.
Замаратский Ю.Н. Индивидуальная баня: Справ. пособие. - М.:
Стройиздат, 1992. - 112 с.
Индивидуальное строительство: информационный сборник. - М.,
ВАИИНТПИ, 1991; вып. 2.
214
Индивидуальное строительство: информационный сборник. - М.,
ВНИИНТПИ,1991. Вып. 3.
Исламкулова С.Х. Кровельные материалы для строительства и
ремонта индивидуальных домов. - М.: Строийздат, 1992. -
112 с.
Как построить дачу за полцены / В.А. Рогожский, Р.Р. Дубне­
вич, В. М. Колевасов и др. - Спб.: ВО «Агропромиздат»,
ТОО «Диамант»', 1996. - 512 с. '
Комай В.и. Дом. - М.: Центр «ПРО», 1993. - 160 с.
Крашенинников А.В. Собственный дом. В З-х кн. КН.1. Приду­
май свой дом: Практическое пособие. - М.: Высшая шко-
ла, 1993. - 158 с.
Кртиенuнников А.В. Собственный дом. В 3-х кн. КН.2. Построй
свой дом: Практическое пособие. - М.: Высшая школа,
1993. - 127 с. .
KpaтeHиHHuкoвA.B. Собственный дом. В 3-х кн. Кн.3. Дом, уча­
сток и природа: Практическое пособие. - М.: Высшая шко­
ла, 1993. - 143 с.
Курсовое пректирование гражданских зданий. Бурлаков И.Р.,
Лапин ПЛ. - Ростов н/Д: РИСИ, 1986 -73 с.
Маринюк Т.М. ДОМ и подворье: Справ. пособие. - М.': Стройиз­
дат, 1993. - 449 с.
Наш дом / Ф. Годеман и др.; Пер с нем. - М.: Стройиздат,
1994. - 270 с..
Новосад Н.Г. Строим дом. - Екатеринбург: Изд-во «У-Факто-
рия», 2000. - 704 с. .
Рогонский В.А. Построим дачу за полцены. - СПб.: «Агропром­
издат», 1994. 160 с.
1000 + 1 совет по строительству дачного домика / Авт. -сост.
А. Шилина. - Мн.: Харвест, 1998. - 320 с.
Рудаков Г.П. Постройки на приусадебном участке. - М.: Зна­
ние, 1992. - 64 с.
215
т
Сайбель 3.Я., Сайбель 3.3. Садовый участок. Планируем и обу- r
страиваем своими руками. - М.: Недра, 1991. - 174 с.
СНиП 2.08.01-89*. Жилые здания. - М., 1995.
Страшнов В. г. Сельский жилой дом. - М.: Агропромиздат,
1989. - 46 с.
Строительство и оборудование индивидуального дома I Сост. Р.Л.
Рощина. - М.: Стройиздат, 1994. - 368 с.
Трофименко А. Справочник по строительным работам. - М.,
1997. - 557 с.
У;инякова и.л. Как сделать дом теплым: Справ. Пособие. - 2-е
изд. - М.: Стройиздат, 1996. - 36 с.
Хохлова л.п. Справочник индивидуального застройщика. - М.:
Высшая школа, 1992. - 304 с.
Что нам стоит дом построить? - СПб.: изд-во «Акционер»,
1992. - 97 с.
Шеnелев А.М. Как построить сельский дом. - 4-е изд. - М.:
Россельхозиздат, 1984.
Юрмалайнен п. Строим сами деревянный дом: Справ. пособи.е I
Пер. с финск. - М.: Стройиздат, 1992. - 168 с.
Содержание
Предисловие ................................................................... 3
Глава 1. ОБЩАЯ ЧАСТЬ .................................................. 4
1.1. Учет природно-климатических условий ....................... 4
1.2. Строительные материалы,
используемые для возведения здания .......................... 8
Глава 2. ОСВОЕНИЕ УЧАСТКА
И ПОДГОТОВКА ОСНОВАНИЙ .................................. 44
2.1. Освоение участка ................................................... 44
2.2. Характеристики оснований фундаментов .................... 53
2.3. Подготовка оснований ............................................ 64
Глава 3. КОНСТРУКЦИИ ПОДЗЕМНЫХ ЧАСТЕЙ
ЗДАНИЙ .................................................................. 67
3.1. Выбор конструкций фунда.vrентов ............................. 67
3.2. Цоколь и отмостка .....................................·............ 86
3.3. Производство работ при сооружении фундамента ........ 95
3.4. Заглубленные сооружения ...................................... 106
3.5. Ремонт, восстановление и усиление фундаментов ....... 112
217
Глава 4. -КОНСТРУКЦИИ НАДЗЕМНЫХ ЧАСТЕЙ
ЗДАНиЙ ................................................................. 118
4.1. Стены ................................................................. 119
4.2. Перекрытия ......................................................... 148
4.3. Крыша ................................................................ 158
4.4. Переroродки ......................................:................. 178
4.5. Полы ...........................................................:...... 189
4.6. Окна и двери ........................................................ 197
4.7. лестницы ............................................................ 199
Лurnерarnyра ................................................................ 214
Учебно-практическое пособие
Покатаев Валерий Петрович
Токарев Александр Альбертович
КОНСТРУКЦИИ МАЛОЭТАЖНЫХ ЗДАНИЙ
(ИНДИВИДУАЛЬНЫХ домов, КОТТЕДЖЕЙ, ДАЧ)
Ответственный редактор и. ю. Жuляков
Художник В. Кириченко
Корректоры: В. Булгаков, и. Дорогокупец
Лицензия ЛР N!! 065194 от 02 июня 1997 г.
Сдано в набор 09.10.03. Подписано в печать 21.01.04.
Формат 6Ох84116. Бум. тип N!! 2.
Гарнитура CG Times. Печать высокая. Усл. п. л. 13,44.
Тираж 5000 экз. Зак. N!! 299
Издательство ..Феникс»
344082, г. Ростов-на-Дону, пер. Халтуринекий, 80
Изготовлено с готовых диапозитивов в АПП ..Джангар»
358000, г. Элиста, ул. Ленина, 245

Покатаев. Конструкции многоэтажных зданий

  • 2.
    СтроитеnloСТВО В.П. Покатоев, А.А.Токарев КОНСТРУКЦИИ Мt1ЛОЭТQЖНЬIХ -здании (ИНДИВИДУАЛЬНЫХ ДОМОВ, КОПЕДЖЕЙ, ДАЧ) Учебно-практическое пособие POCTOB-на-nОНУ 'l>ЕНИКС 2004
  • 3.
    7~ ББК 38.4 П48 Рекомендовано Учебно-методическим советомРостовской государственной академии архитектуры и искусства в качестве ·учебного пособия для студентов, обучающихся по специальности «Архитектура» Покатаев В.П. Токарев А.А. П 48 Конструкции малоэтажных зданий (индивидуальных до­ мов, коттеджей, дач). Учебно-практическое пособие. - Ро­ стов н/Д: Феникс, 2004. - 224 с. с илл. (Серия «Строи­ тельство». ) I Книга является учебно-практическим пособием для проекти- ровщиков и строителей малоэтажных зданий. Рассматриваются. конструктивные решения фундаментов, стен, перегородок, перекры­ тий и покрытий с использованием традиционных и современных отечественных и зарубежных материалов. Приводятся рекомендации по технологии производства отдельных видов строительных работ. Книга рекомендована как учебное пособие для студентов вузов и колледжей, ведущих подготовку специалистов по архитектурным и строительным направлениям, а также для проектировщиков, ин­ ДИl!lидуальных застройщиков, работников строительных организациЙ. ББК 38.4 ISBN 5-222-04176-Х @ Покатаев в.п. Токарев А.А., 2003 @ Оформление, изд-во .,Феникс», 2004
  • 4.
    Предисловие Современная тенденция массовогостроительства и реконст­ рукции малоэтажных зданий жилого и общественного назначе­ ния, возводимых индивидуальными застройщиками или специа­ лизированными организациями, определяет необходимость по­ лучения объективной информации по методам проектирования и строительства таких зданий с использованием индустриальных и неиндустриальных конструкций, современных конструктивных и отделочных материалов, рациональных технологий. В условиях ступенчатой подготовки специалистов архитек­ турного и строительного профилей особенно востребована учеб­ ная литература, которая содержит полный объем информации по особенностям проектирования и возведения малоэтажных зданий, что значительно сокращает время на поиски многих справочных данных и позволяет получать ответы на вопросы, возникающие в процессе учебного проектирования. Предлагаемое пособие и имеет целью восполнить дефицит специальной и учебной литературы по актуальной теме проекти­ рования и строительства малоэтажных зданий. Книга включает четыре раздела, рассматривающих доста­ точно подробно общие сведения по проектированию, включая обзорную информацию по выбору строительных материалов и изделий, процессам строительства и обустройства малоэтажных зданий. Изложение иллюстрируется большим количеством де­ тальных чертежей, которые дополняют текст. Издание снабжено списком литературы, которая позволит читателю при необходимости пополнить полученную в настоя­ щей книге информацию. 3
  • 5.
    Глава 1 Общая часть 1.1.Учет природно-климатических условий При строительстве здания важно в полной мере учесть npи­ родно-климаmческие условия района строительства, которые име­ ют существенное значение для принятия КОНСТРУКПIвных решений. К факторам, связанным с природно-климатическими усло­ виями, относятся температура и влажность наружного воздуха, высота снегового покрова, сила ветра, глубина сезонного про­ мерзания грунта, расположение грунтовых вод. Расчетная зимняя температура наружного воздуха для при­ нятия решения о типе и толщине ограждающей конструкции (на­ ружных стен, подвального или цокольного перекрытия, крыши) принимается как средняя температура наиболее холодной пяти­ дневки для массивных конструкций, а для ограждений из легких конструкций (малой массивности) - средняя температура наи­ более холодных суток. Для ограждений средней массивности принимают в каче­ стве расчетной среднюю температуру наиболее холодных трех суток (как среднее арифметическое температур наиболее холод­ ных суток и наиболее холодной пятидневки). Данные о температурах наружного воздуха можно получить в ближайшей метеостанции либо в местной проектной организа­ ции, а также из СНиП «II-А.6072» «Строительная климатология и геофизика». 4
  • 6.
    Стены из сплошнойкирпичной кладки из обыкновенного глиняного и силикатного кирпича толщиной до 250 мм - сред­ ней массивнОСти. Стены из бруса толщиной 100 мм являются ограждающими конструкциями малой массивности, а толщиной 150 мм в усло­ виях эксплуатации «А» - средней массивности и в условиях экс­ плуатации «Б» - малой массивности. Конструкции наружных ограждений устанавливаются так­ же с учетом влажности внутреннего воздуха помещений здания и зоны влажности территории, где будет строиться здание. Территория России имеет три зоны влажности: влажную, нормальную и сухую (табл. 1.1.1). Таблица 1.1.1 ЗОНЫ JЛажности Город терРИТОРИII России Санкт-Петербург, Мурманск, Архангельск, Сочи, Влажная Туапсе, Новороссийск, Анапа, Владивосток, о. Саха- лин Псков, Петрозаводск, Новгород, Курск, Брянск, Смо- ленск, Тверь, Москва, Вологда, Тула, Рязань, Ниж- Нормальная ний Новгород, Киров, Чебоксары, Казань, Пермь, Нижний Тагил, Тобольск, Томск, Тында, Благове- щенск, Хабаровск, Майкоп, Ставрополь, Черкесск, Нальчик, Дербент Белгород, Воронеж, Липецк, Тамбов, Саранск, Пенза, Ульяновск, Волгоград, Астрахань, Махачкала, Гроз- ный, Краснодар, Ростов-на-Дону, Самара, Бугульма, Сухая Уфа, Свердловск, Уральск, Оренбург, Челябинск, Тюмень, Курган, Омск, Новосибирск, Кемерово, Но- вокузнецк, Красноярск, Братск, Иркутск, Улан-Удэ, Чита, Комсомольск-на-Амуре Нагрузки от снега и ветра необходимо учитывать при уст­ ройстве конструкций здания (крыши, легких стен, веранд) в за­ висимости от ветрового и снегового режимов района строитель­ ства (табл. 1.1.2-1.1.4). Масса снегового покрова на 1 м горизонтальной поверхности 5
  • 7.
    в различных районахколеблется от 50 до 250 кг. Величина снего­ вой нагрузки в зависимости от территориального снегового райо­ на строительства и конструкции крыши приведена в табл. 1.1.2. Таблица 1.1.2 Снего.м нагрузка, кrc/M1, • заВИСIIМОСТИ СнегОIlОЙ от угла умона ската КРIdШИ район Город Одно- ДвУСкат- террито- 00-25° Скатим HU 60°plm 25°-30° 20-30°РОССИII . Калининград, Краснодар, СЛаврополь,Ростов-на- Не 1 Дону, Астрахань, ЧJпа, 50 40 65 учпrы- Благовещенск, Махачкала, вается Владикавказ Белгород, Вoлroград, Уральск, Омск, Иркутск, II Биробиджан, Хабаровск, 70 55 99 Тоже Владивосток, Майкоп, Нальчик, Грозный с.-Петербург, Смоленск, Брянск, Москва, Курск, Воронеж, Саратов, III Тамбов, Пенза, Ульяновск, 100 80 125 Тоже Оренбург, Челябинск, Свердловск, Тюмень, Барнаул, Кокчетав MYPl4aнcK, Архангельск, Петрозаводск, Вологда, Кострома, Нижний Новгород, Казань, Самара, IV Киров, Сыктывкар, 150 120 190 Тоже Нарьян-Мар, Салехард, Нефтеюганск, Томск, Кемерово, Новосибирск, Прокопьевск, Красноярск, Комсомольск-на-AмyJ)е 6
  • 8.
    Скоростное давление ветраизменяется в зависимости от рай­ она строительства от 27 до 100 кгс/м2 вертикальной поверхности. Районирование территории России по скоростным напорам ветра приведено в табл. 1.1.3. Таблица 1.1.3 Район с различ- ~ЫM даалением Город 8стра Смоленск, Брянск, Тула, Калуга, Москва, Рязань, Влади- 1 мир, Кострома, Яуославль, Тверь, Новгород, Псков, Во- логда, Иваново, Иошкар-Ола, , Белгород, Курск, Орел, Липецк, Воронеж, Тамбов, Пенза, П Саранск, Ульяновск, Чебоксары, Казань, Уфа, Архан- гельск, Пермь, Свердловск, Челябинск, Тюмень, Братск III Барнаул, Новосибирск, Томск, Кемерово, Красноярск, Иркутск, Улан-Удэ, Благовещенск, Хабаровск IV Краснодар V Ставрополь VI Горные и малоизученные районы Таблица 1.1.4 Особе~ Уклон крltlШ, CнCГOIIМ нагрузка, жrc/м' BeI'J 080Й рIЙон MeC'IНOC'I1f град 1 11 III IV V OrкpЫTыe побережья 20 3 5 6 8 10 морей, озер, водохра- 40 7 9 12 15 19 НИЛИЩ, пустыни, сте- ПИ,лесостепи, тундра 60 14 18 24 30 38 Лесные массивы и 20 2 3 4 5 6 другие местности, 40 4 6 7 10 12 равномерно покрытые препятствиями высо- 60 9 12 16 25 25 той более 1О м в табл. 1.1.4 даны величины ветровой нагрузки, учитьmае­ мые при подборе конструктивных решений крыши в зависимос­ ти от ветрового района строительства и особенностей местности. 7
  • 9.
    1.2. Строительные материалы, используемыедля возведения здания Для возведения малоэтажных гражданских зданий приме- , няют искусственные и природные каменные материалы в виде кирпича, камней, мелких блоков, а также деревянные (бревна, брус), различные облицовочные и теплоизоляционные материа­ лы, строительные растворы, бетон, металл и др. Наиболее распространенными каменными материалами яв­ ляются кирпич и камни силикатные и керамические. Каменные материалы Каменные материалы используют для кладки фундаментов, цоколей, столбов, стен, печей, а также в качестве заполнителей бетонов и растворов. К естествешIЫМ местным KaмeHIIbIM материалам относят бутовый камень, гравий, щебень, песок. Бутовый KaмelIb - это куски известняка, доломита, грани­ та, песчаника и других пород природного камня. Бут может быть разным - плитчатым или постелистым. Используемый в основ­ ном для кладки фундаментов бутовый камень должен быть чис­ тым, без трещин, расслоений и других дефектов. ГраВIIЙ - это мелкие окатанные в различной степени кам­ ни небольшого размера. Гравий бывает щебневидным, малоока­ танным, яйцевидным, хорошо ска-z:анным и т. п. Размеры гравия по длине: мелкого 5-15 мм, среднего - 20-40 'Мм, крупного- 80 мм. Щебень - камень такой же крупности, как и гравий. Полу­ чают щебень дроблением горных пород или искусственных кам­ ней. Гравий и щебень используют в качестве заполнителей в раз­ личных бетонах. Щебень лучший заполнитель, чем гравий, он имеет меньше примесей и более прочное сцепление с цементом в смеси. 8
  • 10.
    Песок состоит иззерен минералов и пород. Применяют его для приготовления растворов, бетонов. Песок бывает речным, озерным, горным, овражным. Овражный и горный необходимо перед употреблением промыть и просеить. ПО крупности зерен фракций песок делится на мелкий - 1-2 мм, средний - 2-2,5 мм и крупный - 2,5-3,5 мм. Круп­ ный и средний песок идет на приготовление бетонов, мелкий - для кладочных и штукатурных растворов. Искусственные матерналы - это кирпич, керамические, силикатные и бетонные камни, блоки и плиты. КерамичесlGIЙ mрпич изготовляется полнотелым или пус­ тотелыМ, а камни только пустотелыми. Обыкновенный кирпич имеет размеры 250х120х65 мм, камни - 250х120х138 мм (рис. 1.2.1). Применение пустотелых кирпича и камней в наруж­ ных стенах повышает их сопротивление теплопередаче и позво- а 9 Рис. 1.2.1. Кирпич керамичес­ кий: а - одинарный 1l0лноте­ лый; б - щелевой одинарный и утолщенный; в - камень ке­ рамический с вертикальными пустотами
  • 11.
    ляет уменьшить толщинустен. ПО прочности применяют марки кирпича и камня 75 и 100. Силикатиый кирпич имеет такие же размеры, как и кера­ мический, а утолщенный (модульный) отличается увеличенной толщиной до 88 мм. Силикатный кирпич изготовляют и пусто­ телым. Силикатные камни - только пустотелые с вертикальны­ ми круглыми пустотами (углублениями) диаметром 30-32' мм, замкнутыми с верхней стороны. Для возведения наружных стен зданий применяют силикатный кирпич марок 75 и 100. Для облицовки наружиых стеи, выполняемой одновремен­ но с кладкой, используют лицевые кирпичи и камни. По форме, размерам и плотности они такие же как обыкновенные керами­ ческие, но имеют более гладкую однородную фактуру и цвет без трещин на лицевых гранях. Широко применяется в качестве ли­ цевого керамический кирпич полусухого прессования. . Стеновые бетонные камни сплошные и пустотелые, лице­ вые и рядовые изготовляют из тяжелых и легких (на пористых заполнителях) бетонов на цементных силикатных и гипсовых вяжущих. Применяют их для ограждающих (наружных и внут­ ренних) конструкций зданий. Они могут иметь форму полноте­ лых и пустотелых прямоугольных параллелепипедов Камни подразделяют на целые (массой до 30 кг), продоль­ ные половинки и перегородочные (табл. 1.2.1). Таблица 1.2.1 Тип стеновых бетонных камней Размеры, мм длина ширина высота Целый камень 390 190 188 Продольная половинка 390 90 188 Перегородочный камень 590 90 188 Камни (блоки) из ячеистых бетонов применяют для кладки наружных и внутренних стен зданий (рис. 1.2.2). Размеры бло­ ков приведены в табл. 1.2.2. Для стен помеiцений с мокрым ре­ жимом, а также для стен подвалов и цоколей применение их не допускается. 10
  • 12.
    Таблица 1.2.2 Камни (блоки)из IIЧСИСПоIХ БСТОНО8, мм B.ICOTa Толщииа Длина 188 300 250 588 288 188 200 388 288 250 288 144 300 1119 250 588 300 88 250 200 398 Блоки бетонные для стен подвалов и фундаментов изготов­ ляют сплошными из тяжелого бетона, керамзитобетона и плот- Рис. 1.2.2. Блок газосиликат­ ный мелкий стеновой Рис. 1.2.3. Блок фундаментный бетонный ного силикатного бетона плотностью не менее 1800 кг/м3 (рис. 1.2.3). Выпускаются различные по размерам блоки для клад­ ки стен подвалов и цокольной части зданий. К наиболее удач­ ным для индивидуального строительства можно отнести блоки размерами от 400х300х200 до 300х200х200 мм. 11
  • 13.
    К широко распространеннымстроительным материалам относятся материалы из древесины (круглые и пиленые). Круглые лесоматериалы - это очищенные от коры и су­ чьев бревна, кряжи и тонкий кругляк. Бревна представляют со­ бой отрезки ствола с толщиной узкой части не менее 4 см. В зависимости от положения бревен по высоте ствола их подраз­ деляют на вершинные, срединные и комлевые. Толстые корот­ кие бревна называет кряжами, лесоматериалы хвойных пород толщиной (диаметром) 6-13 см называют подтоварни;ком, а толщиной 3-7 см и длиной 3,5-6,5 м...- жердями. Круглые лесоматериалы в зависимости от толщины делят на три груп­ пы: мелкие (6-13 см), средние (14.24 см) и крупные (25 см и более). Качество лесоматериалов можно определить внешним ос­ мотром и простукиванием. Трещины и расколы свидетельству­ ют о снижении прочности. Если при простукивании их обухом топора издается глухой звук - это признак внутренней :гнили или поражения древоточцами. Пиломатериалы получают при продольном раскрое (распи­ ловке) бревен. В зависимости от направле!lИЯ раскроя различают пиломатериалы радиальной, тангенциальной и смешанной рас­ пиловки. Сортамент пиломатериалов, используемых в целом виде и для выработки заготовок изделий и деталей конструкций, пред­ ставлен на рис. 1.2.4. Для «несущих» нагружающих конструкций здания применяют пиломатериалы из древесины хвойных по­ род - сосны, ели, лиственницы, пихты, кедра. По характеру об­ работки различают пиломатериалы обрезные (ОПИl1енные со всех четырех сторон), необрезные (опиленные с двух сторон, с неопи­ ленными или частично опиленными кромками) и односторонние обрезные (горбыль). По толщине пиломатер}{алы делят на толстые (от 40 мм для хвойных пород и 35 мм и более - для лиственных) и тонкие (до 12
  • 14.
    Рис. 1.2.4. Видыпиломатериалов: 0- 11ластина; б - двухкантный брус; в - необрезная доска; г - четвертина; д - четырехкантный брус с обзолом; е - полуобрезная доска с обзолом; Ж - горбыль; з­ чистообрезной брус; и - обрезная доска. 1 - обзол; 2 - ребро; 3 - пластина; 4 - торец 32 мм включительно). Тонкий сортамент пиломатериалов назы­ вают тесом. Пиломатериалы, имеющие ширину свыше двух тол­ щин - это доски, а не более двух толщин - бруски. Брусья име­ ют толщину и ширину от 130 до 250 мм, толщина брусков 50~ 100, ширина 130-250 мм. Пиломатериалы из твердых лиственных пород (дуб, ясень, граб, лиственница) изготовляют длиной 0,5-6,5 м с градацией 0,1 м; из мягких лиственных и березы - длиной 0,5-2,0 м с градацией 0,1 м, а при длине 2,0-6,5 м - с градацией 0,25 м. Сортамент пиломатериалов из хвойных пород приведен в таблице 1.2.3. 13
  • 15.
    Таблица 1.2.3 Наименование ТолщинаШИJина Доски 13 80 90 100 110 130 150 - - - - 16 80 90 100 110 130 150 180 - - - 19 80 90 100 110 130 150 180 200 - - 22 80 90 100 110 130 150 180 200 - - 25 80 90 100 по 130 150 180 200 220 250 32 - - 100 110 130 150 180 200 220 250 40 - - 100 110 130 150 180 200 220 250 45 - - - - 130 150 - - - - Бруски 50 - - 100 110 130 150 180 200 220 250 60 - - 100 - 130 150 180 200 220 250 70 80 - 100 - - 150 - 200 - - 75 - - 100 - 130 150 180 200 220 250 100 - - 100 - 130 150 180 200 220 250 Брусья 130 - - - - 130 150 180 - - - 150 - - - - - 150 180 200 - - 180 - - - - - - 180 - 220 - 200 - - - - - - - 200 - 250 220 - - - - - ~ - - 220 250 250 - - - - - - - - - 250 Заготовки - это доски, бруски и брусья, порезанные по за­ данным размерам. По видам обработки различают: пиленые, клееные (изготовленные из нескольких заготовок путем склеи­ вания по длине, ширине, толщине), фрезерованные (обработан­ ные на станках до заданных размеров и форм) (рис. 1.2.5). а б в Рис. 1.2.5. Заготовки: а - пиленые; б - клееные; в - фрезерован­ ные 14
  • 16.
    l ' б е ж Рис.1.2.6. ПрофИIIИ фрезеРО8анных изделий: а - раскладки; б - доска пола; в - бруски и доски; г - отделочная доска; д - плин­ тусы; е - подоконник; ж - наличник Фрезерованные заготовки с пазом и гребнем используются для устройства полов, перегородок, потолков, облицовки стен, 1'. е. во всех случаях, где требуется плотное соединение между досками. Для плинтусов, наличников, обшивок, раскладок, по­ ручней применяют ~аготовки, имеющие после фрезерования спе­ циальную форму сечения (рис. 1.2.6, 1.2.7). 15
  • 17.
    а ~~ ! 75-150 J б ~ ~ j1 1- rJ ~ в г Рис. 1.2.7. Отделочная доска: а - с плоским профилем; б - с четвертью; в - с пазом и гребнем (шпунтованная); г - рустованная 16
  • 18.
    I Столярные плиты- это реечные щиты, оклеенные с обеих сторон шпоном. Применяют для изготовления перегородок, две­ рей, встроенных шкафов. Листовые материалы и изделия Фанера представляет собой листовой материал, склеенный из трех и более (до 13) слоев лущеного шпона. Толщина листов фанеры 2+13 мм, листы толще 12 мм - фанерные плиты. Ши­ рина и длина листов до 2-3 м. По форме фанера может быть плоская и профилированная. Встречается и березовая фанера по­ вышенной прочности: бакелизированная марки ФБС и армиро­ ванная. Фанеру применяют для изготовления дверей, перегородок, обшивки потолка и стен. Для отделочных работ используют фа­ неру, отделанную с лицевой стороны шпоном ценных пород дре­ весины, декоративными пластиками, пленочными и лакокрасоч­ ными покрытиями и др. Поверхность декоративно-отделочной фанеры может быть цвета натуральной древесины и любого дру­ гого, глянцевой и матовой, отличаться высокой водо-химичес­ кой стойкостью. ДревеСllо-стружечвые плиты (ДСП) по некоторым физи­ ко-механическим свойствам превосходят натуральную древеси­ ну: менее горючи, не коробятся, биостоЙки. Их выпускают дли­ ной 2440, 2750, 3500, 3660 и 5500 мм, шириной 1200, 1500,1750, 1830 и 2440 мм, толщиной 10-25 мм. Лицевую поверхность плит облицовьmают шпоном различ­ ных пород древесины, искусственным шпоном, бумажно слоис­ тым пластиком, поливинилхлоридной пленкой, лакокрасочны­ ми покрытиями. В современной архитектурно-строительной практике ДСП применяются в каркасных конструкциях, при облицовке стен и потолков, в основаниях под полы, для встроенной мебели и т. д. ДревеСlIое ВОЛОКlшстые плиты (ДВП) - листовые древес- ные материалы. По плотности различают: сверхтвердые - СТ 1~;liiiVlmE'fi~t;jtmf5im [f (3-6 мм), полутвердые - ПТ I~(Шf~РУ~'tаr8:. 1taч.ы.Пlr~JJ..rшr't Iн:'~:lJч~а.rаIП fiВЗР7847
  • 19.
    (4-8 мм), мягкие- М (8-25 мм). Размеры плит - от 1,2хl,0 до 3,5хl,8 м. ЦемеНТIIO-стружеЧllые плиты (цеп) - листовой матери­ ал, характеризующийся высокой, прочностью, трудносгораемос­ тью, биостойкостью, отсутствием токсичности, относительной легкостыо обработки. Листы выпускают размерами 1,25х3,6 м, толщиной от 8 до 40 мм. Фибролит - материал из тонких длинных древесных стру­ жек, скрепленных портландцементом. Фибролит выпускают в Dиде плит длиной 2400 и ЗООО ММ, шириной 500, 600, 1200 мм и толщи­ ной ЗО, 50, 75, 100 мм. Плиты фибролита можно пилить и сверлить обычными деревообрабатьmающими инструментами; в них легко забиваются гвозди и ввертьmаются шурупы; они хорошо оштукату­ риваются и окрашивaю:rсst - прочно сцепляются с не затвердевшим бетоном и надежно крепятся к поверхности бетонных и каменных конструкций. Фибролит морозостоек, не з,!гнивает, не поражается грызунами. По огнестойкости относится к трудно сгораемым мате­ риалам. Фибролитовые плиты применяIOТ для устройства стен и перегородок зданий, а также в качестве утеплителя. Арболит - легкий деревобетон на минеральном вяжущем. Изделия из арболита применяют для устройства стен, перегоро­ док и теплоизоляции ограждающих конструкций зданий. Не ре­ комендуется использовать изделия из арболита для цоколей, кар­ низов зданий, а также стен подвалов. Гипсокартовпые листы (или упрочненная сухая гипсовая штукатурка) - облицовочный материал на основе гипса, пред­ назначенный для отделки стен, потолков и устройства сборных перегородок. Гипсокартонные листы выпускают длиной от 2,5 до 4,8 м, шириной 600 и 1200, толщиной 8, 10, 12, 14, 16, 18, 20 и 25 мм. Картонная поверхность листов служит хорошим осно­ ванием для нанесения лакокрасочных покрытий и оклейки обо­ ями. Листы можно легко разрезать острым ножом, распиливать, сверлить. Этот материал боится влаги, особенно постоянного ув­ лажнения. На основе гипсокартонных листов изготавливают об­ лицовочные панели, лицевая поверхность и торцы которых отде­ ланы декоративной ПВХ-пленкоЙ. 18
  • 20.
    Вяжущие материмы Вяжущие материалыиспользуют для приготовления раство­ ров и бетона. При строительстве зданий в качестве вяжущих при­ меняют цемент, известь и в ограниченном количестве гипс. Свой­ ствами вяжущего обладает также глина. Самое высококачествен­ ное вяжущее - цемент. Бетон на цементном вяжущем обладает высокой прочностью, долговечен, водостоек. Промышленность выпускает цементы различных составов и марок: При строительстве усадебного здания вполне пригоден це­ мент марки 300. Цемент следует хранить в сухом помещении, так как, впитьmая влагу из воздуха, цемент слеживается, в нем образуются комки. Цемент в открытом мешке можно хранить в сухую погоду не более недели, в сырую - не более суток. Воздушная известь - вяжущее для кладочного и штукатур­ ного растворов. Негашеную известь следует быстро погасить (зат­ ворить водой, тщательно перемешать и оставить полученное те­ сто на несколько недель до употребления), иначе она впитает из воздуха влагу и углекислый газ и превратится внерастворимый кальцит. Для внутренних работ применяют гипс. Гипс строительный (алебастр) - быстросхватывающее вяжущее (тонкий порошок бе­ лого или сероватого цвета). Гипс, добавленный в известковый раствор, ускоряет его схватывание и увеличивает прочность. Из­ за быстрого схватывания большие порции гипса употреблять не­ возможно. Поэтому в него при затворении добавляют замедли­ тели - известковый раствор, животный клей. При схватывании и твердении гипс увеличивается в объеме. Хранить гипс надо в сухом месте. ГЛlIна - вяжущий материал для приготовления глиняных растворов, применяемых при кладке печей, глинобитных стен, штукатурке и др. Различают тощие, средние и жирные глины. Тощие применяются в чистом виде. В средние по жирности до­ бавляют немного песка, в жирные глины - много песка. Для кладки внутренних частей печи из огнеупорного или тугоплавко­ го кирпича применяют огнеупорную глину. 19
  • 21.
    Бетоны н растворы Бетоныи растворы применяются практически при строитель­ стве каждого здания и сооружения. БетOlI состоит из смеси це­ мента, заполнителя и воды. В качестве заполнителя используют песок и щебень различных фракций. Для строительства индиви­ дуальных зданий бетон готовят вручную или в небольших бето­ номешалках. Прочность бетона зависит от прочности заполните­ ля. Качество бетона снижают попавшие в него отходы древеси­ ны, стружка, битый кирпич, куски шлака, снега и льда. Важнейшим составляющим бетона является вяжущее - це­ мент. Содержание различных компонентов в бетонной смеси оп­ ределяется рецептурой, соответствующей необходимой марке по прочности. Не следует замешивать в бетон больше цемента, чем необходимо. Само по себе это не дает прироста прочности, а на­ против, может привести к ее снижению в результате чрезмерной усадки бетона и появлению в нем трещин. Не следует также при­ готавливать бетонную смесь с уменьшенным по сравнению с тре­ буемым количеством цемента из-за желания сэкономить вяжу­ щее. Бетон в этом случае имеет пониженную прочность и стано­ вится водопроницаемым. Для каменной кладки фундаментов, цоколей, наружных и внутренних стен, перегородок из бетонных блоков или кирпича применяют цемеlIТllые, цемеIIТIIO-ГЛПНЯIIые и цемеIIТlIO-нзвест­ ковые растворы. Составы их подбирают, исходя из вида конст­ рукций и условий, в которых они будут эксплуатироваться. В табл. 1.2.4. приведены составы растворов по объему с примене­ нием различных вяжущих (цементно-известковые и цементно­ глиняные), при этом расход вяжущего приведен в табл. 1.2.5. Материалы, используемые для приготовления раствора, пред­ варительно просеивают на сите с ячейками 5х5 мм для штукатур­ ных работ и 10хl0 мм для каменных работ. При приroтовлении цементного раствора сначала тщательно перемешивают отдозиро­ ванную смесь песка и цемента, затем добавляют требуемую пор­ цию воды и вновь тщательно перемешивают растворную смесь. При приroтовлении смешанных цементно-известковых или цемен- 20
  • 22.
    Таблица 1.2.4 Марка Маркараствора (цeMeнr, известь или глина, песОК) вяжущего 100 75 50 25 10 4 А При оnюсительной W1ажноС1И воздуха помещений до 60 % и для Фундаменгов в маловлажныx J Ю'ПJCIA 400 1'0,4:4,5 1:0,5:5,6 1'0,9:8 - - - 300 1:0,2"3,5 1:0,3:4 1:0,6:6 1:1,4:10,5 - - 200 I - 1:0,1:2,5 1'0,3:4 1:0,8:7 - - 150 - - - 1:0,3:4 1:1,2:9,5 - 100 - - - 1:0,1:2 1:0,5:5 - 50 - - - - 1:0,1:2,5 1:0,7:6 25 - - - - - 1:0,2:3 Б. При относительной влажности воздуха помещений свыше 60 % и для ФYIщаменroв во влажных гpyнrax 400 1:0,4:4,5 1:0,5:5,5 1:0,9:8 - - - 300 1:0,2.3,5 1:0,3:4 1'0,6.6 1: 1: 10,5 - - 1: 1: 9 1: 1: 9 200 - 1:0,1:2,5 1:0,3:4 1'0,8:7 - 1: 0,8: 7 150 - - - 1.0,3.4 1:0,5:5 - 100 - - - 10,1:2 - - Примечание В числителе даны составы цементно-известковых растворов, в знаменателе - цементно-глиняных.
  • 23.
    Таблица 1.2.5 Марка Расход uжущего.кг/м)•• за.исимоcтll от марки распора ."жущего 100 75 50 25 10 4 255 200 140 400 -- -- -- - - - зро 240 175 340 270 185 105 ~OO -- -- -- -- - - 385 310 225 135 405· 280 155 200 - -- -- -- - - 445 325 190 • 206 93 150 - - - -- - - 240 110 310 14 100 - - - -- - - 330 165 280 120 50 - - - - -- -- 320 145 240 25 - """' - - - --270 Примечание. В числителе даны расходы вяжущего на 1 м3 песка. в знамена­ теле - на 1 м3 раствора. тно-глиняных растворов также сначала готовят сухую смесь песка и цемента. затем в нее добавляют отдельно приготовленное изве­ стковое молоко (известъ:вода) или глина: вода. Составы известко­ вого и глиняного растворов по объему для надземной кладки при­ ведены соответственно в табл. 1.2.6. 1.2.7. Таблица 1.2.6 ИзисткОJ!IoIЙ расI'lЮР Состав paCТllopa по об1.с:му Марка (IIЗIIССТКОIIОС тесто песок) paCТllopa Воздушная известь· l-гo сорта 1:4,5* 4 2-го сорта 1:4 4 Слабая гидравлическая известь 1:4,5 4 * Дозировка извести принята в виде теста плотностью 1400 Kr/M3• 22
  • 24.
    Таблица 1.2.7 Соста. растворапо Марка )астаора ГлиНllН8lЙ растаор об1.ему (глина песок) • сухом климате • умеренно алажном климате На жирной глине 1:4 10 2 На глине средней 1:3 10 2 жирности на тощей глине 1:2,5 10 2 или суглинке Глиняные растворы'применяются для надземной кладки преимущественно в сухом климате при нормальной влажности воздуха помещений. Материалы для кровель . . В качестве кровельных материалов для кровель применяют черепицу, асбестоцементные листы, кровельную листовую ~талъ, а также рулонные гидроизоляционные материалы и др. К Достоинствам глиняной черепицы относятся оrnестойкость и долговечность. Недостатки: большая масса (до 65 кг/м2), хрупкость и необ­ ходимость устройства крыш с большим уклоном (не менее 300). Черепица используется следующих типов: пазовая штампован­ ная, пазовая ленточная, плоская ленточная, волнистая ленточ­ ная, S-образная ленточная'И коньковая (рис. 1.2.8, табл. 1.2.8). Из зарубежных образцов следует отметить черепицу BRAAS, OREOL. ORМAX и др. Асбестоцементные изделия обладают высокой прочностью при изгибе. небольшой плотностью, малой теплопроводностью, малой водопроницаемостью и высокой морозостойкостью. Применяются следующие виды асбестоцементных изделий: профилированные листы, плоские плиты. Профилированные ли­ сты могут быть обыкновенного (ВО) или усиленного (ВУ) про­ филя. Волнистые листы обыкновенного профиля для жилых зда- 23
  • 25.
    о б По /-/ПоШ-Ш 'L I I ~.. ~.1 -~ -~ /ir I~ I I 11 ·11 111 • r-- ...I "По /1-/1 1. Ш~220 .. ~по/"":'/ ~ в L..t По /-/ ~ По/l-/1 /г ~ По /-/ II L.J ~ ,---,~ ""1<"""r--""'"1"I:"'- ~ /1 /1 i 1 iif '- !./ rI 155 По /1-/1 t 1. ~ '---' ... /-1 W По /l-1I ( ) Рис. 1.2.8. Череп~ца глиняная: 0- пазОllая штампованная; б­ пазовая ленточная; в - плоская ленточная; г - коньковая 24
  • 26.
    Таблица 1.2.8 - Кроющие(пonсзныс) размеры, мм ГабаРИImlе ра3мсры, мм Черепица длина Ширина Дnина Ширина Пазовая штаМПОllаннlUI 310 190 Не нормируете. 333 190 Тоже 347 208 » Пазовая ленroчная 333:1:5 2000) 400:1:5 2200 333:1:5 1800 333:1:5 1400 - 1000 - 165:1:3 ПлоскlUI ленточная 160:1:5 ") 155:1:3 365±s-.) 155:1:3""" - Волниста. ленточнlUI 290±5 2000 350±5 2400 S-образная ленточная 333±5 175:1:3 300±5 245:1:3 , ззз:М) 175:1:3 340:1:5 225:1:3 КОН.,КОllаи желобчатая Не нормируется 366М 2000
  • 27.
    ний выпускают размерами1200х686 мм, ТOJlЩИНОЙ 5,5 мм, а уси­ ленного профиля - размером 2600х1000 мм толщиной 8 мм. Выпускаются также волнистые листы унифицированного профиля (УВ), имеющие увеличенную высоту волн. Размер лис­ тов УВ: 1750+2500x1125 мм при толщине 6 и 7,5 мм (рис. 1.2.9, табл. 1.2.9). Основными материалами для металлических кровель явля­ ются сталь листовая кровельная и сталь тонколистовая оцинко­ ванная. Толщина стандартных кровельных листов - 0,45-1,0 мм, размеры 710х1420 мм. Масса одного листа - 3,5-8,0 кг. Для укрепления отдельных элементов металлических кровель на кры­ ше применяют различные изделия из стали (поковки) и Кр'епеж­ ный материал (гвозди, проволоку и др). Для огрунтовки И окрас­ ки металлических кровель используют олифы, лаки и краски. Таблица 1.2.9 Вид Марка Размеры. мм Масса Длllна Ширина Толщина листа, кг Волнистые: обыкновенного ВО 1200 686 5,5 9 профиля усиленного профиля ВУ-К 2800 1000 8 50 ву-с унифицированного УВ-6-К 1750 1125 6 26 профиля (С) 2000 1125 6 30 2500 1125 6 37 УВ-7,5К 1750 1125 7,5 33 2000 1125 7,5 38 2500 1125 7,5 48 Средневолнистые С В-40 1250 1130 5,8 22 1750 1130 5,8 30 2500 1130 5,8 40 Примечание: индекс К - кровельные, С - стеновые. Стеклопластиковые кровли выполняют из волнистых или плоских ярко окрашенных листов из стеклопластика (прозрач­ ных и непрозрачных). Их размеры: длина - до 2 м, ширина - до 1 М, толщина - 2 мм. 26
  • 28.
    АСБЕСТОЦЕМЕНТНЫЕ КРОВЕЛЬНЫЕ ПЛИТКИ КарнизнаяКраевая Окаймляющая АСБЕСТОЦЕМЕНТНЫЕ ЛИСТЫ волнистый полуволнистый Обыкновенного профиля Усиленного профиля Усиленного профиля Рис. 1.2.9. Кровельные изделия Из стеклопластика выпускают и рулонный кровельный ма­ териал шириной 1м, длиной до 50 м при толщине 1,5-2 ММ. ЭТО стеклохолст яркой окраски, наружная сторона которого пропита­ на синтетическим полимером. Стеклопластик приклеивают вна­ хлестку специальной мастикой. 27
  • 29.
    Гофролисты изготавливают изоцинкованного железа на специальном станке по длине ската крыши. Гофролист - надеж­ ная и красивая кровля, материал, удобный для самодеятельного строителя. При всех преимуществах кровли из оцинкованного металла, кровля из гофролиста не требует профессиональных навыков и специального инструмента. Тесовые КРОВЛII применяют для надворных построек - са­ раев, летних кухонь и др. Тес - тонкие доски толщиной 19- 25 мм и шириной 16-18 см. Их укладывают вдоль ската кровли перпендикулярно коньку вразбежку или в два слоя. Для лучшего стока воды наружные поверхности досок и их кромки отструги­ вают и около кромок выбирают желобки. Рулонные кровельные материалы РубеРОIIД бывает односторон:ним и двусторонним (покры­ тый тугоплавкими нефтяными битумами с одной или двух сто­ рон). По виду посыпки с лицевой стороны различают: с мелкой минеральной посыпкой, с чешуйчатой посыпкой IIЗ слюдяного сланца и с крупнозернистой посыпкой из песка (табл. 1.2.10). Таблица 1.2.10 ВИД рулонного материала IМасса рулона,КГ I Ширина полотна,ММ IПлощ3д1o рулона,м' Бumу,мные Пергамин кровельный 13 1000; 1025; 1050 20±0,5 26 1000; 1025; 1050 40±0,5 15 1000; 1025; 1050 20±6,5 30 1000,1025; 1050 40±0,5 Рубероид. - с крупнозернистой 27 750, 1000, 1025 10±0,5 посыпкой с одной стороны - с чешуйчатой по- 26 750; 1000; 1025 15±0.5 сыпкой с одной сто- роны - с мелкой мине- 26 750; 1000; 1025 15±0.5 ральной посыпкой с двух сторон 28
  • 30.
    Окончание табл. 1.2.10 Видрулонного материала IMacca рулон&, Krl Ширина ПОЛ011l&, мм IПлощадь рулона, м- дегтевые Толь кровельный: - гидроизоляцион- 20 750; 1000; 1025 30±О.5 ный без покровного слоя И посыпки - с песочной по- 18 750; 1000, 1025 15±О,5 сыпкой - с крупнозернис- 25 750; 1000; 1025 10±O,5 той посыпкой Толь-кожа без по- 20 750; 1000; 1025 30±О.5 кровного слоя и по- сыпки Рубероид односторонний предназначен для верхнего слоя кровельного ковра, приклеивается горячей мастикой. Рубероид двусторонний предназначается для всех слоев кровельного ков­ ра, приклеивается холодной мастикой. Рубероид наплавляемый отличается от обычного тем, что в заводских условиях на нижнюю поверхность рулона наносится мастика, которая в присутствии растворителей обладает прикле­ ивающими свойствами. Растворители наносятся на поверхность оснований по ровной, очищенной, сухой стяжке. Цементно-пес­ чаная стяжка грунтуется раствором битума в керосине или уайт­ спирите в соотношении 1:2 частей по массе. В качестве раствори­ телей могут быть уайт-спирит или керосин. Главное преимуще­ ство наплавляемого рубероида состоит в том, что при устройстве кровли наклейка осуществляется без применения кровельной мастики. Это повышает производительность труда на 50% и сни­ жает стоимость устраиваемой кровли. БронироваНllЫЙ рубероид - это рубероид с цветной мине­ ральной посыпкой. Окрашенная посыпка не только улучшает его внешний вид, но и в несколько раз уменьшает поглощение по­ крытием солнечных лучей, ускоряющих старение рубероида. 29
  • 31.
    В Финляндии выпускаютрубероид для этих целей покрытый пе­ нопластовыми шариками. Гидроизол - беспокровный кровельный и гидроизоляцион­ ный материал. Основанием гидроизола служит асбестовая бума­ га. Лучшей асбестовой бумагой для изготовления гидроизола ЯJ3ляется; асбеста-целлюлозная, имеющая в составе до 20% цел­ люлозы. Стеклоруберонд - рулонный кровельный и гидроизоляци­ онный материал на стекловолокнистой основе, получаемый дву­ сторонним нанесением битумного вяжущего в смеси с наполни­ телем, пластификатором и антисептиком на стекловолокнистый ХОЛСТ. В зависимости от вида посыпки на лицевой поверхности стеклорубероид применяют для верхнего или нижнего слоев кро­ вельного ковра. Фольгоизол - рулонный материал, состоящий из тонкой рифленой или гладкой фольги, покрытой С нижней стороны за­ щитным битумно-резиновым антисептированным составом с мелким н;аполнителем. Для фольгоизола применяется холодно­ тянутая алюминиевая фольга толщиной 0,08-0,3 мм. Наружная поверхность фольгоизола может быть окрашена в различные цвета атмосферостойкими красками и лаками с целью увеличения кор­ розионной стойкости. В силу отражательной способности фоль­ ги температура нагрева солнечными лучами кровли из этого ма­ териала на 200 ниже, чем у аналогичных кровель черного цвета. Наклеивают фольгоизол с помощью битумной мастики. Фольгорубероид является разновидностью рубероида. Вме­ сто крупнозернистой посыпки применяется рифленая алюминие­ вая фольга. Применяется для устройства верхнего слоя кровельно­ го покрытия в южных районах страны. Фольгобитеп рулонный основный кровельный материал, в котором основанием служит рифленая фольга, покрытая с одной 30
  • 32.
    или двух сторонслоем битумно-полимерного вяжущего, смешан­ ного с минеральными наполнителями и антисептиками. Гидростеклоизол выпускается кровельный и подкладочный. В нем стеКлоткань с обеих сторон покрывается слоем битумного вяжущего. Такой материал обладает большой гибкостью и гни­ лостоЙкостью. Полотна гидростеклоизола приклеивают к осно­ ванию клеящими мастиками или оплавлением его поверхности до капельно-жидкого состояния. Армобитеп предназнаttается для устройства кровли и в ка­ честве гидроизоляционного слоя. В нем стеклоткань, стеклохолст или биостойкая штапельная стеклосетка пропитывается битум­ но-каучуковым вяжущим, который повышает сопротивление дей­ ствию воды и замедляет процессы старения. Материал очень гиб­ кий, морозостойкий с незначителъным водопоглощением. При­ клеивается армобитен путем оплавления нижней стороны полот­ на горячим воздухом. Толь - рулонный материал, изготовляемый пропиткой кро­ вельного картона дегтями с посыпкой песком или минеральной крошкой. Толь с крупнозернистой посыпкой применяют для вер­ хнего слоя пологих и широких кровель и у'кладывают на горячую дегтевую мастику (табл. 1.2.10). Толь менее погодоустойчив и менее огнестоек, чем рубероид. Толь-кожа или толь гидроизоляционный выпускают без покровного слоя и посыпки. Применяетс~ в качестве подкладоч­ ного материала под толь при устройстве многослойных кровель, а также для пар0- и гидроизоляции. Асфальтовые армированные маты изготовляют путем по­ крытия стеклоткани с обеих сторон битумом или гидроизоляци­ онной асфальтовой мастикой. Маты производят длиной 3-10 м, шириной 1 м и толщиной 4-6 мм. Их применяют для устрой­ ства оклеечной гидроизоляции. 31
  • 33.
    Безосновные кровельные игидроиЗОJl.1щиОНlIые материа­ лы имеют то преимущество, что они воспринимают деформации конструкции основания, которое изолируют, без нарушения сплошности. К ним относятся изол, бризол и др. Изол - безосновный рулонный резинобитумный материал, в основу которого положено вяжущее, получаемое путем девул­ канизации утильной резины в битумной среде с последующим введением волокнистых наполнителей в виде асбестовых воло­ кон и других добавок. Изол долговечнее рубероида в 2 раза. Он эластичен, mило­ стоек, водонепроницаем и биостоек. Указанные свойства изола сохраняются при температуре от -30 до +1О00 С. Используют изол для гидроизоляции и покрьпия кровель. Приклеивают изол го­ рячей изольной или битумной мастикой. Бризол - рулонный материал. обладающий повышенной mило- и водостойкостью, высокой атмосферостокостью, водонеп­ роницаемостью и эластичностью. Бризол изготавливают из смеси нефтебитумов, измельченной резины от изношенных автомобиль­ ных шин, наполнителей и пластификатора. Бризол приклеивают к изолирумой поверхности битумно-резиновой мастикой. Пленочные кровельные и гидроиЗОЛЛЦIlОШlые РУЛОНllые материалы имеют малую толщину, массу и высокую степень водонепроницаемости. К ним относятся: пленка полиэтиленопе­ ковая для гидроизоляции, пленка полиэтиленовая, полиамидная, пленка полиамидная стабилизированная и др. Полиэтилепопековая плевка - кровельный 11 гидроизоля­ ционный материал толщиной 0,1-1 мм. Пленка теряет свойства при прямом воздействии солнечных лучей. Материал МОЖ1l0 при­ менять во всех климатических районах страны для гидроизоля­ ции междуэтажных перекрьпий, при устройстве защищенных и незащищенных плоских и малоскатных кровель. Аналогично используются пленка полиэтиленовая (толщина 0,03-0,5 мм), полиамидная пленка ПК-4 (толщина 0,05-0,12 мм). 32
  • 34.
    Из современных рулонныхкровельных и изоляционным материалов следует отметить: рубемаст, техпоэласт, гпдробу­ тил, кровлелит, кромэл, экофлекс, JПJJПq)ом, увифлекс, стекло­ пласт, бикрост и др. Кровли ввостраlПlЫX фирм Металлочерепица RANNILA (фШIЛяндия) - успешно со­ вмещает эстетику обжиговой черепицы и новейшие строитель­ ные технологии. Металлочерепица позволяет выполнить долго­ вечную декоративную кровлю на неплоской крыше (угол накло­ на не менее 100). Кровельные листы изготавливает из горячео­ цинкованной стали толщиной 0,5 мм. Ее пассивируют, грунтуют и покрывают слоем различных цветных пластиков, устойчивых к агрессивным средам. Панели RANNILA поставляются необходимой длины, до 7 м, точно по длине ската кровли. Панели монтируют внахлестку с помощью специальных шурупов-с~орезов. Панели RANNILA выпускаются трех различных типов - Монтеррей, Элит и Каскад. Рисунки панелей отличаются фор­ мой «черепичных плиток» И высотой их волны, иммитируя иде­ ально уложенную традиционную черепицу (рис. 1.2.10, 1.2.11). а б~'- Рис. 1.2.10. Металлочерепица RANNILA: а - структура (1- пласти­ ковое покрытие; 2 - грунтовка; 3 - пассивирующий слой; 4- слой цинка; 5 - листовая сталь); б - нахлест панелей 2. КОИСIР MWIO,I з..t зз
  • 35.
    1100 400 ~1 Т 1-' 300 ..J j Рис. 1.2.11. ПанелиRANNILA: Монтеррей, Элит, Каскад (саерху вниз) и схемы их Монтажа 34
  • 36.
    Рис. 1.2.12. Кровельнаяплитка КАТЕРAL (а) и ее структура (6): 1- каменная посыпка; 2, 4 - резино6итум; 3 - стекловолокно; 5- клеевой слой Кровельные плнтки КATEPAI... - удобное и практичное покрытие, называемое иногда битумной черепицей (рис. 1.2.12): Кровельные плитки имеют форму отдельных пластин, изготав­ ливаемых' из неrниющего стеклохолста, покрытого битумом с посыпкой цветной крошкой природного камня. Клейкий слой из резинобитума обеспечивает герметичность покрытия. Материал без нагревания плотно приклеивается к обрешетке. Аналогичны плитки товарных знаков TEGOLA и KERANA. Ондулип (Фршщия) - волнистые кровельные листы, исполь­ зуемые не только на кровле, но и как облицовку вертикальных поверхностей. Листы ондулина очень легкие (около 3 кг/м2), ими удобно покрьmать даже сложные крыши без привлечения специа­ листов. Ондулин - долговечный материал, служащий не менее 50 лет, имеет гарантию 15 лет. Он не содержит в себе вредного для здоровья асбеста. Состав листов ондулина: дистиллирован- 35
  • 37.
    ный битум, целлюлозныеволокна, минеральные вещества (на­ полнитель), термоотверждающая смола и минеральные пигмен­ ты. Металлочерenпца ONDUSTIL представляет собой оцинко­ ванный с двух сторон стальной лист толщиной 0,5 мм, покры­ тый эпоксидным слоем. Поверх него нанесен высококачествен­ ный акрилат, защищенный слоем цветного природного минераль­ ного гранулята, воссоздающего фактуру керамической черепицы (рис. 1.2.13). Рис. 1.2.13. Структура металлочер~пицы ONDUSTIL: 1 - верхнее ак­ риловое покрытие; 2 - окрашенные минеральные гранулы; 3 - ниж­ нее акриловое покрытие; 4 - эпоксидная грунтовка; 5 - термически оцинко!анный стальной лист толщиной 0,45 мм ONDUSТIL - долговечный, прочный, огнестойкий, устой­ чивый к низким и высоким температурам материал. BARDOLIN - это полосная битумная черепица, армирован­ ная стекловолокном, с минеральной посыпкой (рис. 1.2.14). Бар­ долин привлекательный кровельный материал, им легко покрыть 36
  • 38.
    Рис. 1.2.14. Структурабитумной черепицы BARDOLIN: 1 - минермь­ ная посыпка; 2, 4 - битум; 3 - стекловолокно; 5 - кремниевый пе­ сок любые по сложности крыши. Долговечность бардолина более 30 лет, гарантия - 10 лет . Рис. 1.2.15. Структура полимерно-битумной рулонной кровли BIТULIN: 1 - минерал или тальк; 2 - МОДИфИЦИРОl!анный битум; 3 - полиэс­ тровая основа; 4 - пленка, предохраняющая от склеивания; 5- АПП-битум 37
  • 39.
    BITULIN - полимерно-битумная,рулонная наплавляемая кровля. Битулин армирован нетканным полиэстером или стекло­ волокном, служащим основой для модифицированного битума. Нижняя сторожа покрыта несгораемой, предохраняющей от скле­ ивания пленкой. Покрытие битулина - песчаный тальк или ми­ неральная посыпка нескольких цветов (рис. 1.2.15). Утеплители Наиболее распространенные утеплители - стекло- и мине­ ральная вата, пенопласт, поролон, а также древесно-волокнис­ тые плиты. Широко используются в индивидуальном строитель­ стве органические утеплители, такие, KaI{ опилки, мелкая дре­ весная стружка, мох и др. (табл. 1.2.11). К ним можно добавить еще целый, ряд: солома, полова, сено, камыш, осока, торфяная крошка и др. Для сохранения своих теплоизолирующих свойств любой утеплитель - минеральный или органический - должен бьпь абсолютно сухим. Для минеральных утеплителей (стекло- и ми­ неральная вата, пенопласт), а также органических (опилки, мел­ кая древесная стружка и мох) минимальная толщина засыпки должна составлять 10 см (в расчете на м~нимальнуIO температу­ ру наружного воздуха до -20 0 С) при одном .непременном усло­ вии - наружная облицовка должна быть непродуваемоЙ. Для засыпки в качестве утеплителя в перекрытиях можно использовать шлак, керамзит, пемзу, сухую землю, костру и др. Все органические материалы предварительно антисептируют, например, железным купоросом. Из органических материалов можно изготовить плиты раз­ мером 50х50 или 70х70 см. Для этого на каждые 100 кг утепли­ теля используют 150 кг гипса и 250 л воды. Соответственно пред­ варительно изготавливают деревянные разборные формы. Из новых материалов следует отметить утеплитель марки URSA (Россия), выпускаемый по немецкой технологии. Изделия изготавливают из стеклянного штапельного волокна в виде ма­ тов и плит в жестком, эластичном, мягком, твердом вариантах. 38
  • 40.
    Таблица 1.2.11 Штучные теплоизоляцнонпыематеРII8ЛЫ н изделия ВЩI маТСр1I8ЛО. и изделий Размер". мм I Об1.емнldЙ Осно.ное назначение Длина ШlIрина Толщина I асс, 'Кr/МЗ Неорганuческuе Плигы минералова11lы,' жест- 1000 500 30;50 300-500 Теплоизоляция оrpаждающих Юfе конструкций жилых, об- щественных и npoмъшmенных зданий То же, полужесткие 500 500 50; 60; 70, 300-400 Тоже 80;90 Войлок минерапова11lЫЙ 1000-3000 375-1200 20;40;60 75-250 Теплоизоляция оrpаждающих конструкций жилых, обще- ственных и npомышленных зданий, поsерхностей промыш- ленноro оборудования и трубо- Inpоводов Маты минераповатные 600-1200 300-1000 30,40, 100-350 Тоже 50;60; 70; 80;90; 100 Плигы из ячеистых бетонов 700-1000 500 60; 80; 100; 300-1000 Теплоизоляция оrpаждающих (пенобетона, газобетона) 120 конструкций зданий и д;1IЯ не- сущих стен и заполнений кар- каСНЫХ стен (при объемном весе свыше 600 к:r/МЭ)
  • 41.
    Окончание табл. 1.2.11 ВидMaтepll8JIO. и изделий Размеры, мм ~емнwй OcHolIHoe назначение длина ШиРина ТOJПдина .ее.кт!'; Плиты из газостекла (пено- 125-500 125-500 80; 100; 110, 200-400 ТеплоизоляЦWI ограждающих стекла) 120 конструкций зданий Органические Плиты древесно-волокнистые 1200--3000 600-1600 12,5; 20; 25 150-400 Тоже Плиты камышитоtlые твердо- 2400; 2600, 1220 50;75 300-400 То же прессованные 2800 То же, ВIIЗ8ные 2400,2600, 550,950; 50,70; 100 260--330 Тоже 2800 1150 Плиты торфоизоляционные 1000; 500 30,50 150-250 Тоже Фибролит 1100,2000 500,550, ЗО, 50, 70; 250--600 Теплоизоляция ограждающих 700 100 конструкций зданий, для за- полнения каркасных стен, для на катов перекрьrrий и переro- РОдОК (при объемном весе свыше 400 кг/м)) Шевелин 11 матах 2300 900, 1000 30,60 100--150 Теплоизоляция ограждающих КОНСТРУКЦИЙЗД8ний Войлок строительный, шер- 1000-2000 550--2000 12 150 ТеплонзоЛJIЦИЯ отдельных стяной мест конструкций (концы ба- лок, оконные и дверные ко- робкиит п.)
  • 42.
    Они могут бытьс покрытием из крафт-бумаги, алюминиевой фольги, стеклохолста и гидрофобизированными . .Достоинство изделий марки URSA - высокая изоляцион­ ная способность при низкой плотности. Материалы URSA разработаны для оптимального утепле­ ния дома от подвала до крыши (скатных крыш, перекрытий, не­ сущих стен, потолков, полов подвалов); тепло- и звукоизоляции внутренних перегородок; между перекрытием и плавающим по­ лом. Рис. 1.2.16. Монтаж утеплителя URSA: 1 - подшивная доска из гип­ сокартона; 2 - теплоизоляционный материал URSA; 3 - рейка; 4 - черепичная КРО8Ля; 5 - бруски обрешетки; 6 - рейка обрешетки; 7 - гидроизоляционное покрытие; 8 - вентиляционное покрытие; 9 - !lетро-изоляционное покрытие; 10 - стропилина; 11 - водо­ СЛИ!lная доска; 12 - !lентиляционная решетка 41
  • 43.
    На рис. 1.2.16показан пример утепления теплоизоляцион­ ным материалом URSA крыши под черепичной кровлей. Утеплитель АКСИ (Россия) имеет основой минеральную вату с добавлением волокон из расплавленного доменного шла­ ка. Полученные теплоизоляционные маты простегивают стекло­ шнуром или проволокой. АКСИ применим для утепления: наружных несущих стен, в том числе с вентилируемыми фасадами, наружных, легких кар­ касных стен, стропильной кровли и мансарды (рис. 1.2.17), плос­ кой кровли, пустотелой внешней стены из кирпича (рис. 1.2.18). По 1-1 1 Г Рис. 1.2.17. Двухрядная теплоизоляция мансардных перегородок: 1 - стойки подстропильные; 2 - поддержиеающая обрешетка; 3 - обре­ шетка для УК{1адки утеплителя и крепления облицовочного слоя; 4- утеплитель АКСИ; 5 - парозащитный слой 42
  • 44.
    Рис. 1.2.18. Теплоизоляцияпустотелой внешней стены: 1 - внутрен­ няя несущая стена; 2 - утеплитель АКСИ; 3 - гибкие связи; 4- гидроизоляционный слой; 5 - ряд верхних и нижних вентиляционных ОТlsерстий; 6 - распорные элементы, прижимающие утеплитель и обес­ печивающие вентиляционный зазор; 7 - лицевая кладка; 8 - венти­ ляционный зазор (не менее 300 мм)
  • 45.
    Глава 2 Освоение участка .. иподготовка основании 2.1. Освоение участка Вопросы, связанные с освоением участка, весьма актуаль­ ны, поскольку, как правило, территории под застройку выделя­ ют на землях, включающих гари, заболоченные низины, склоны оврагов, отработанные карьеры, свалки и другие территории, не пригодные для промышленного и сельскохозяйственного освое­ ния. После выполнения обшей инженерной подготовки террито­ рии, отведенной под застройку, начинается индивидуальное ос­ воение участка. Освоенне участка следует начать с определеJIНЯ его гра­ НИЦ, расчистки от оставшихся на JleM деревьев, кустарника, пней, отвода воды. Срубить лишние деревья желательно до начала работ по стро­ ительству. Для валки дерева со стволом толщиной в комле более 30 см следует приглашать лесорубов. Однако необходимо знать, что для того чтобы свалить дерево в нужном направлении, сле- 44
  • 46.
    б г Рис. 2.1.1. Схемыподруба дере!1ьев: а - прямой; б - усом; в - упрощенный; г - двумя параллельными рядами дует сначала подрубить или подпилить его со стороны, в кото­ рую оно должно упасть, а затем - со стороны, противополож­ ной подрубу или подпилу. Существует несколько способов под­ руба деревьев: нормальный (или прямой); усом, упрощенный, косой, двумя параллельными рядами (рис. 2.1.1). Наиболее прост и безопасен прямой подруб, при котором глубина подруба равна четверти диаметра дерева в месте подру­ ба, а расстояние между плоскостями подруба равно 0,6-0,8 диа­ метра. Выполнив подруб, дерево спиливают. Плоскость спили- 45
  • 47.
    вания должна, какправило, быть перпендикулярной оси дерева и располагаться на высоте верхнего края подруба. у сильно наклоненных деревьев делают так называемый под­ руб усом со стороны наклона дерева, при этом глубина подруба должна быть равна трети диаметра, а расстояние между плоско­ стями - 0,8 диаметра ствола. Если площадЬ участка или строения не позволяет свалить дерево полностью, его рубят по частям. Для этого залезают на дерево, привязывают на 3-5 м выше планируемого места рас­ членения веревку и выполняют подруб и спиливание, находясь на нижней части дерева. Подрубив и не закончив спиливание, необходимо слезть с дерева и заваливать его спиливаем;ую часть веревкой. Во время валки деревьев в зоне 30 м от дерева не дол­ жно быть посторонних людей. Оставлять недопиленное дерево нельзя. Во время грозы, сильного ветра деревья не валят. Если вблизи участка проходят линии электропередачи и связи, то са­ мим браться за валку толстых деревьев не следует. Сваленное дерево очищают от сучьев. Рубку сучьев выпол­ няют, как правило, с комля. Сучья и древесину складируют, так как они могут пригодиться для хозяйственных нужд. Оставшиеся после рубки деревьев пеньки диаметром до 10 см следует окопать, при этом корни пня по мере откопки переру­ бать. Затем с помощью лома или другого рычага выдернуть их или опрокинуть. Пни большего диаметра можно корчевать толь­ ко с помощью трактора. При корчевке пней толщиной до 35 см используют трос диаметром 16-20 мм, а пней диаметром 35- 50 см - 25-30 мм. На корчуемых пнях надо сделать зарубки, препятствующие скольжению троса. Если пень в ближайшее время не мешает, не тратьте на его выкорчевку силы и средства. Есть более простой способ изба­ виться от него - выжечь. Эффективность этого способа суще­ ственно повышается, если предварительно древесину пня пропи­ тать окислителем, растворимым в воде. К таким окислителям относятся селитры, и в том числе аммиачная, используемая в 46
  • 48.
    качестве азотного удобрения.Методика насыщения древесины селитрой проста. За три-шесть месяцев до сжигания пня в нем при помощи коловорота, долота, сверла или другого приспособ­ ления делают отверстия диаметром не менее 2-3 см и глубиной не менее 10-12 см. В отверстия на 3/4 глубины засыпают селитру, после чего в них забивают деревянные пробки для предотвращения вымыва­ ния селитры атмосферными осадками. Количество отверстий зависит от размеров пия. Как правило, делают одно отверстие на 10-12 см диаметра пня. Через 3-6 месяцев, в течение которых селитра пропитает древесину, вокруг пня разводят костер, и пень сжигают. При хорошей пропитке селитрой пень выгорает полно­ стью, при этом не образуется никаких экологически вредных ос­ татков. После очистки территории участка необходимо оценить его поверхностную гидрологию и наметить на участке зоны разме­ щения жилых и хозяйственных построек. Общий принцип их раз­ мещения - постройки должны располагаться на самых высоких и сухих местах, так как в этом случае проще выполнять земля­ ные работы, фундаменты меньше подвержены избыточному ув­ лажнению, упрощаются конструкции погребов. Оценку поверхностной гидрологии участка необходимо де­ лать с учетом рельефа соседних участков, так как нарушение ес­ тественных стоков воды на соседних или на вашем участке мо­ жет привести к затоплению той или иной территории. В связи с этим при освоении территории необходимо предусмотреть комп­ лекс водозащитных мероприятий: сохранение по возможности естественного стока атмосферных осадков, устройство водозабор­ ных и водоотводных канав, водопропускных сооружений и уст­ ройство дренажа или водопонижения. Дренаж делают в основном на заболоченных территориях и осваиваемых карьерах с преобладанием глинистых грунтов. Это достаточно дорогое мероприятие выполняется так же, как и во­ допонижение при общей инженерной подготовке территории. 47
  • 49.
    Для незаболоченных территорийосновным мероприятием является сбор и отвод воды, которые осуществляют прокладкой траншей и канав. Как правило, ливнесточные канавы совмеща­ ют с кюветами проложенных дорог, при этом для избежания раз­ мьша и оврагообразования их прокладывают поперек склонов. Если канава проложена вдоль склона с уклоном, превышающим 1 см на 1 м длины, ее дно и стены следует укреплять. На пересе­ чении канав с проездами устраивают водопропускные сооруже­ ния. Чтобы спланировать отвод воды с участка, необходимо знать его рельеф. Для этого сначала надо выполнить планировку учас­ тка, засыпать имеющиеся ямы, срыть холмы и кочки. Далее сле­ дует составить план участка с замером его сторон и разбивкой на квадраты размерами 10 х 10 м (рис. 2.1.2). Возможен и другой шаг, кратный сторонам участка. В углу каждого участка необхо­ димо забить колья и пронумеровать их. Если имеется возмож­ ность достать нивелир с треногой (при умении им пользоваться), следует определить высотное положение почвы в местах уста­ новки колышков. Если такой возможности нет, высотное поло- 4'(69) 4(-30) - 3(-25) 2(-10) 1(-15) --- ' ....-... ..... §- ........ ---~...... <:) .... 5(-50) 10(-30) 11(-3~-... 12(0) § § ~ <:) .... 6(-65) 7(-35) 8(-35) 9(-5) 6~o) 10000 10000 10000 30 ()()() Рис. 2.1.2. Разбивочный план участка 48
  • 50.
    жение угловых точекможно определить другими способами с использованием различных приспособлениЙ. Одно из них - простейшее нивелировочное приспособле­ ние, состоящее из стойки высотой 140-150 см со столиком и строительного уровня. На столике надо сделать мягкую прослой­ ку из пластилина или оконной замазки и на нее уложить стекло, на которое затем устанавливается уровень. Обжимая прослойку в необходимых местах, следует добиться горизонтального рас­ положения уровня. К уровню приставляется рейка-вешка, на ко­ торой при помощи визира отмечается нулевая отметка. Визир состоит из прорези и мушки, изготовленных из плотной бумаги и прикрепленных по торцам уровня. Место, где установлено ни­ велировочное приспособление, принимают за отметку ± о. От нулевой отметки на рейке (толщина риски 3 '- 4 мм) вверх и вниз через 5 см.наносятся еще риски. Через 20 см над риской в деци­ метрах ставится цифра. Вешку попеременно устанавливают у каж­ дого колышка и снимают отметку в сантиметрах (рис. 2.1.3). Отметка показывает, насколько место, где установлен колышек, выше или ниже места, где расположено нивелировочное приспо­ собление. Отметки у каждого колышка следует записывать на 6 4 2 О ---....._- ----------- 2 з Рис. 2.1.3. Схема определения перепада 8ЫСОТ 8 измеряемых точках плана участка относительно нулевой отметки: 1 - деревянная рейка; 2 - столик со строительным уровнем; 3 - стойка 49
  • 51.
    плане участка вскорках рядом с номером колышка. Например, если визирная линия попадает на черту,С цифрой 6 выше нулевой отметки, то значит данное место участка ниже базовой отметки на 60 см. Еще проще получить профиль участка можно с помоuiью водяного нивелира или шланга, в том числе поливочного, с дву­ мя прозрачными трубочками на концах. Шланг и трубки запол­ няют подкрашенной водой. Используя метод сообщающихся со- ' судов, на высоких колышках, установленных по углам участков, выносят горизонтальную плоскость. Замерив расстояние от это­ го горизонта до грунта, получим профиль участка. Далее следует определить глубину водосточной канавы по периметру участка. Для этого на миллиметровой бумаге прово­ дят горизонтальную линию и отмечают на ней номера колышков, по одной из сторон участка (рис. 2.1.4). Расстояние между ко- 6'6 7 8 f} ~..- а 8 а ~ ..... ~~. ~ "''11 """ """ ~ Б.... -( ", (ч, А ~ ~ ~ ]000 ]000 ]000 30000 б ~ ~ -~. _ 'F' --,. Г"'-- ;Q Б А ~ ~ ~ ]000 ]000 2000 Рис. 2.1.4. Схемы определения отметок дна водосточной канавы по сторонам участка: а - по 9-6; б - по 6-4 50
  • 52.
    лышками (узловыми точками)можно принять в масштабе 1:100. От каждой узловой точки по вертикали переносят с плана значе­ ния отметок (заключены в скобки) в масштабе 1:10. Соединяя эти точки плавной линией, получают профиль участка. Затем находят отметки низа водосточной канавы при минимальном объеме земляных работ и уклоне 2 %, обеспечивающем сток воды. Самая низкая точка нашего участка у колышка 6. Располо­ жена она ниже нулевой точки на 65 см. Канава пройдет по сторо­ не 9-6 ниже поверхности грунта в точке 6 на 35 см. Из точки 6 проводят наклонную линию под углом 2 %. Для определения этого угла на горизонтальной линии АБ под точкой 9 откладьша­ ют вверх 60 см, тогда tga = 60/3000 = 0,02 = 2 %т.е. на стороне участка длиной 30 м перепад крайних точек по высоте должен составлять 60 см. Исходя из рельефа участка, следует отыскать самое низкое место, в которое будет стекать вода. Для этого.на стороне 6-4 (короткая сторона, граничащая с проездом) прово­ дят линию С уклоном 2 % и вычисляют в точке 4 расстояние от поверхности грунта до низа канавы (30 см). Определяют уклон участка по стороне 1-4. Так как точка 4 ниже точки 1 на 45 см, а дно канавы в точке 4 еще ниже на 30 см, то глубина канавы у колышков 1,2,3,4 соответственно будет равна 30,25,25 и 30 см (см. рис. 2.1.2). Таким образом, по стороне 1-9 глубина канавы в крайних точках известна. Поперечное сечение канавы зависит от характера грунта. В глинистых грунтах оно имеет форму прямоугольника при шири­ не ~0-25 см и глубине 40-45 см. Профиль канавы может быть открытым или закрьпым, заполненным песком, шлаком, битым кирпичом. В суглинистых грунтах канаве придают трапецеидаль­ ное сечение с уклоном стенки 1:1,25. В случае отсутствия гравия или песка в канаву укладывают ветви срубленных деревьев на высоту 20-30 см, сначала вдоль канавы, затем - поперек, сверху канаву засыпают естественным грунтом. Вьrpытая по наружному контуру участка канава будет отво­ дить воду в самое низкое место (у колышка 6) и защищать почву 51
  • 53.
    от переувлажнения приобильном выпадении осадков и таянии снега. Планируя отвод воды с участка, надо не забывать еще об одном источнике поступления воды - с кровли построек. Имея значительную площадь водосбора, кровля создает дополнитель­ ные зоны избыточного накопления влаги. Поэтому уже на ста­ дии освоения участка надо наметить места размещения кро­ вельных сливов и соответственно отвод воды от постройки, хотя целесообразно эту воду собирать для последующего использова­ ния - полива и других хозяйственных нужд. Собирают воду обыч­ но в металлические, деревянные и полиэтиленовые бочки и дру­ гие емкости. Эти емкости устанавливают на поверхности грунта, что облегчает их чистку, или закапывают на 1/3-2/3 в грунт. Можно собирать воду и в вырытый небольшой бассейн, стены и дно которого не должны пропускать воду. Один из важнейших элементов подготовки участка - уст­ ройство подъездов и въезда 'на участок. Для этого через дре~аж­ ную канаву со стороны дороги необходимо сделать переезд: уло­ жить в канаву трубу диаметром 300-600 мм или устроить мос­ тик (рис. 2.1.5, 2.1.6). Трубу желательно обсыпать песчано-гра- 3 2 Рис. 2.1.5. CXeM<;i переезда через канаву с трубой: 1 - труба l =2+3м; 2 - песчано-гравийная смесь; 3 - плита 52
  • 54.
    Рис. 2.1.6. Схемамостика через дренажную канаву: а - из железо­ бетонной ПЛИТbI; б - деревянного вийной смесью, а сверху - выполнить мощение или уложить готовую плиту. При отсутствии песка можно уложить вдоль тру­ бы ветви срублеННЬJХ деревьев, засыпав их грунтом и уложив сверху слой камней или брусьев. Для мостика можно использо­ вать железобетонные плиты, но проще сделать его, используя стволы ,nepeBbeB диаметром 200 мм и более. Следует, однако, помнить, что на несущие элементы мостика необходим лес хвой­ ных пород, можно использовать и отработавшие свой срок шпа­ лы. Для въезда легковой автомашины ширина переезда поверху должны быть не менее 3 м, для возможности въезда грузового транспорта с прицепом - 5-6 м, в зависимости от ширины ули­ цы. 2.2. Характеристики оснований фундаментов На выбор тнпа фундамента жилого здания и построек вли­ яют в основном три фактора: грунты, как основания фундамен­ тов сооружений, грунтовые воды (их уровень относительно по­ верхности грунта) и, конечно, конструкция здания. ~ОСКОЛЬКУ конструкцию здания вы уже заранее заплани­ ровали, прежде чем приобретать материал для фундамента, 53
  • 55.
    необходимо выяснить, чтоза грунты залегают на,глубину 2- 3 м от поверхности и как глубоко расположен уровень грунто­ вых вод. Как правило, инженерно-геологические изыскания площадки отсутствуют, поэтому если нет поблизости вырыто- , го котлована, следует пробурить ямобуром или вырыть шурф на глубину 2-2,5 м. По отобранным образцам определяется вид грунта, с использованием нижеприведенных рекоменда­ ций. Грунты оснований подразделяют на скальные и нескаль­ ные. Скальные грунты - грунты с жесткими связями между частицами. Прочность скальных грунтов сопоставима с прочнос­ тью материала здания, потому строительство фундамента на них не представляет сложности. Следует отметить, что скальное ос­ нование под здание - редчайший случай. Вескальuые грунты подразделяют на крупнообломочные песчаные, пылевато-глинистые биогенные и почвы. К крупнообломочным относятся несцементированные грун­ ты: валунный (обломки размером в поперечнике свыше 200 мм составляют более 50 %), щебенистый или при преобладании ска­ танных частиц галечниковый (более 50 % обломков имеют раз­ мер от 10 до 200 мм), дресвяной или, при преобладании частиц округлой формы, гравийный (более 50 % частиц имеют размер от 2 до 10 мм). Песчаные грунты содержат менее 50 % частиц размером более 2 мм и не обладают пластичностью. Разновидность песча­ ного грунта можно определить визуально. Если преобладающий размер частиц в поперечнике от 0,25 до 5 мм - это гравелистый песок, а если форма частиц плохо различима, а размеры частиц 0,25-2 мм (до размера гречневой крупы) преобладают - это круп­ ный песок. Если преобладают частицы размером 0,1-1 мм (час­ тицы различимы через лупу) - это песок средней крупности. Ос­ тальные пески относятся. к мелким и пылеватым. Пылеватый песок оставляет на ладони ярко выраженный осадок пыли и гли­ ны. Крупнообломочные и песчаные грунты, за исключением пос- 54
  • 56.
    ледних двух видов,хорошо использовать для дренажа, так как они обладают высокими фильтрационными свойствами. Проч­ ностные свойства этих грунтов независимо от водонасыщения практически не изменяются. Степень насыщения песчаных грун­ тов влагой можно определить, сжав образец грунта в ладони. Если после встряхивания песок рассыпается на ладони комка­ ми - он маловлажный, если после сжатия он сохраняет некото­ рое время форму, то влажный, а если расползается на ладони, образуя лепешку, то насыщенный водой. Пылевато-глииистые грунты подразделяют по числу плас­ тичности и консистенции, к ним относятся супеси, суглинки и глины. Определить вид грунтов по пластичности можно визу­ ально, пользуясь данными табл. 2.2.1, а консистенцию - табл. 2.2.2. Таблица 2 2.1 Способ опрсделеНИJI Грунт Растиранием на РассмаТРИ8nннем 8 лупу И По способflOСТII CKanl8aHIIJI ладон! не800ружеНIIIo.IМ глазом Супесь Преобладают Преобладают песча- Трудно скатывается песчаные и пы- ные и пылеватые или не скатывается в леватые части- частицы шнур цы Суглинок При растирании Видны песчинки на Может скатывагься в чувствуются фоне тонкого по- длинный шнур диа- песчаные час- рошка метром более 1 ММ. nщы Скатывается в шари- ки, которые при сдав- ливании в лепешку трескаются по краям Глина При расшрании Однородная тонкая При раскатывании не чувствуется ПОРОUlкообразная дает прочный длин- песчаных час- масса ный шнур диаметром тиц менее 1 м. Легко ска- тывается в шарики. При их сдавливании в лепеUlКУ края послед- ней не трескаются 55
  • 57.
    Таблица 2.2.2 Консистенции грунтаПризнаки грунта Супесь Твердая Образец грунта при ударе разбивается на куски, при сжатии в ладони рассыпается, при растирании - пылит. Вырезанный кусок ломается без заметного изгиба Пластичная Образец грунта легко разминается рукой, хорошо формуется и сохраняет приданную форму. При сжа- тии в ладони ощущается влажность Иногда обладает ЛIIПКОСТЬЮ Текучая Образец грунта легко деформируется от незначи- тельного нажима и растекается Суглинки и глины Твердая Образец грунта при ударе разбивается на куски, ино- гда при сжатии в ладони рассыпается, при растира- нии пылит, ноготь большого пальца вдавливается с трудом Полутвердая Вырезанный брусок без заметного изгиба ломается с образованием шероховатой повеРХНОСТIf излома, при разминании крошится. Ноготь пальца вдавливается в образец грунта без особого усилия Тугопластичная Вырезанный брусок грунта заметно изгибается еше . до излома. Кусок грунта с трудом разминается рука- ми, палец легко оставляет неглубокий отпечаток, но вдавливается лишь при сильном нажиме ~ягкопластичная Образец грунта на ощупь влажный или очень влаж- ный. Кусок грунта легко разминается, но при формо- вании сохраняет приданную ему форму Иногда приданная форма сохраняется непродолжительное время Палец вдавливается в образец при умеренном нажиме на несколько сантиметров Текучепластичная Образец грунта на ощупь не очень влажный Разми- нается при легком нажиме пальцем, не сохраняет форму, липкий и без просушивания не может быть раскатан в жгут толщиной 3 мм Текучая Образец грунта на ощупь очень влажный. При фор- мовании не сохраняет приданную форму, а, поме- щенный на наклонную плоскость, течет толстым слоем (языком) 56
  • 58.
    Консистенцию пылевато-глинистого грунтаможно опреде­ лить и при разработке грунта лопатой. Если он при сбросе рассы­ пается на мелкие комки, то грунт твердой консистенции, если липнет к лопате, то мягко- или текучепластичной консистенции. Существенное значение при определении типа и размеров фундамента имеет плотность грунта. Если вы встанете на вскрытый слой грунта и остается след от обуви глубиной в средней части 1-2 мм, то грунт следует отнести к рыхлому. Если для разработки грунта требуется кирка или лом, то пыле­ вато-глинистый грунт может быть отнесен к категории плот­ ного. Среди пылевато-глинистых грунтов необходимо выделить грунты, проявляющие свои неблагоприятные свойства при зама­ чивании: просадочные и набухающие. ПросаДОЧllые грунты характеризуются цветом от пале­ во-желтого до светло-серого, наличием видимых макропор, большой пылеватостью, низкой влажностью, а иногда быст­ рым размоканием в воде. При замачивании водой эти грунты под воздействием нагрузки или собственной массы дают про­ садку. НабухаlOщне грунты характеризуются большим содержани­ ем глинистых частиц, низкой влажностью и слоистым сложени­ ем. При увлажнении водой или химическими растворами они уве­ личиваются в объеме. Нескальные грунты, содержащие значительное количество органических веществ, назьmаются биогеШIЫМII. К ним относятся заторфованные грунты, торфы и сапропели. К заторфованным грунтам следует отнести песчаные и пылевато-глинистые грунты, содержащие 10-50 % (по массе) органических веществ. Если их больше 50 %, то это торф. Сапропели - это пресноводные илы. Почва - это грунты, слагающие поверхностный слой и об- . ладающие плодородием. Почвы и биогенные грунты служить 57
  • 59.
    основанием сооружения немогут. Первые - срезают и исполь­ зуют для огорода, вторые - требуют специальных мер подго­ товки основания. Нередки случаи, когда приходится строить на насыпных грунтах, которыми могут быть любые J{З вышепере­ численных. Характерная особенность этих грунтов - способ­ ность самоуплотняться во времени. Поэтому до начала строи­ тельства необходимо выяснить, когда была закончена засыпка и как она выполнялась. Если засыпка выполнена песчаным или крупнообломочным грунтами при условии планомерной послой­ ной отсыпки, процесс самоуплотнения завершается в течение года, а при отсыпке в отвал - в течение 1-5 лет. Пылевато­ глинистые грунты уплотняются в зависимости от условий от­ сыпки соответственно за 2-5 лет и 1а-15 лет, при этом макси­ маfIьные сроки характерны для глины. Если время после окон­ чания отсыпки превышает названные сроки, то строительство осуществляют, как на естественном основании. При меньшем сроке после отсыпки требуется обязательное уплотнение грун­ тов D основании фундаментов. О том, какие грунты залегают на вашем участке, можно су­ дить и по внешним признакам, например, по видам растительно­ сти. Так, на заболоченных грунтах растет иван-чай, на сухих по­ чвах - белые ромашки, на глинистой почве - лоцухи. Желтые цветы болотной калужницы указывают на наличие текущих под­ земных вод. Грунты как основания сооружений характеризуются так на­ зываемым расчетным сопротивлением Ro• Если при назначении размеров подошвы фундамента н;е превышено значение расчет­ ного сопротивления, то осадки постройки не превысят допускае­ мых для ее конструкции, и никаких сложностей при эксплуата­ ции не возникнет. Значения расчетного сопротивления зависят от вида грунта, плотности его сложения, консистенции размеров JI глубины заложения фундамента. Эти значения приведены в табл. 2.2.3. 58
  • 60.
    Таблица 2.2.3 Расчетные сопротивленияrpунта Ro Грунты кrc/cM2 при глубине заложения Ом 0,5 м 1,0 м 1,5 м 2,Ом Крупнообломочные щебени- стые/rpавийные с заполнени- ем: -песчаным 3,2/2,6 4/3,2 4,8/3,9 5,6/4,6 6/5 - песчано-глинистым: от твердого до тугоrша- 2,4/2,1 3/2,6 3,6/3,2 4,2/3,7 4,5/4 стичного мягкопластичным 2,1/1,8 2,6/2,2 3,2/2,7 3,7/3,2 4/3,5 Пески: -крупные 3,2 4 4,8 5,6 6 - средней крупности 2,6 3,2 3,9 4,6 5 -мелкие: маловлажные 2,1 2,6 3,2 3,7 4 насыщенные водой и 1,6 2,0 2,4 2,8 3 влажные пылеватые маловлажные 1,3 1,6 1,9 2,3 2,5 влажные '0,8 1 1,2 1,4 1,5 воДо-насыщенные 0,5 0,6 0,8 0,9 1 Пылевато-глинистые - супеси 1,3(1} J 6(1,2 1,9(1 5) 2,3(1,81 25(02) суглинки 1,3(09) 1,6(1,1 1,9(1,4) 2,3(1,6) 2,5(1,8) глины. 1,5(1) 1,9(1,2) 2,3(1,5) 2,7(1,8) 3(2) При м еч ан и е. ЗначенияRо приведены для ширины фундамента 0,5-0,6 м. При ширине фундамента 0,3-0,4 м значения Ro для крупнообломочных И песча­ ных (до мелких маловлажных) грунтов могут быть повышены на lкгс/см2 , для остальных грунтов сохраняются табличные значения Если размеры применяемого фундамента и глубина его за­ ложения не соответствуют приведенным в данной таблице, то значения Ro можно вычислить по интерполяции. В табл. 2.2.3 приведены значения Roдля песчаных грунтов средней плотнос­ ти, в случае залегания плотных песков, трудно поддающихся 59
  • 61.
    разработке, значения Roследуетповысить на 20 %. Для пылева­ то-глинистых rpYHTOB значения Roприведены для твердой конси­ стенции и для текучепластичной (в скобках). Для плотных гли­ нистых rpYHTOB, которые разрабатывают ломом, значенияRо сле­ дует увеличить в 1,5 раза. Если по каким-либо причинам на уча­ стке необходимо делать подсыпку или она была выполнена при подготовке территории и, как правило, без уплотнения или от­ сутствия контроля за ним, то при подсыпке из песка, кроме пы­ леватого шлака, значения Ro составят 1,5 кгс/см2, при насыпных пылеватых песках, суглинках, супесях, глинах Ro = 1 кгс/см2• Определив вид rpYHTa и его состояние и зная Ro, можно вы­ числить необходимую площадь контакта фундамента постройки с rpYHTOM основаНия. Для этого необходимо подсчитать массу здания и фундамента с коэффициентом перегрузки 1,1. Здесь надо помнить, что в нагрузку от конструкций (массу) здания входит и полезная нагрузка на полы, которая должна быть принята 100 кгс/см2 • Массу материала определяете по справочнику, исходя из размера элементов постройки и плотности материалов. Поделив массу здания на расчетное сопротивление, получим необходи­ мую площадь фундамента. Если основание постройки окажется крупнообломочными грунтами с песчаным заполнителем или песчаными (кроме пы­ леватого) грунтами, а также пылевато-глинистыми твердыми и полутвердыми, то такие грунты считаются благоприятными. Здесь конструкции фундаментов могут быть как столбчатыми, так и ленточными. Глубина их заложения зависит от наличия подвала или подполья. При их отсутствии фундамент может быть распо­ ложен и на поверхн~сти. Конечно, растительный слой или торф с поверхности надо удалить. Остальные грунты также могут быть использованы в каче­ стве естественного основания, но выбор конструкции фундамен­ та (столбчатый или ленточный) будет зависеть от пучинистости грунта при промерзании. 60
  • 62.
    Под морозным пучениемпонимают увеличеНJ:lе объема про­ мерзающих влажных грунтов вследствие замерзания в них воды и образования ледяных включений в виде прослоек, линз, поли­ кристаллов, что вызывает неравномерный подъем фундаментов. При последующем оттаивании в 'этих грунтах происходит разуп­ лотнение основания, вызывающее из-за различных условий от­ таивания, как правило, неравномерную осадку фундаментов. Степень ПУЧИНИСТОСТlI грунта зависит от дисперсности грунта, его плотности и влажности, глубины залегания подземных вод, условий промерзания. В зависимости от этих факторов rpYHTbI подразделяют на пучинистые инепучинистые. К ПУЧllnИСТЫМ грунтам относят все пылевато-глинистые грунты, мелкие и пьmеватые пески, а также крупнообломочные грунты с глинистым заполнителем. Крупнообломочные rpунты с песчаным заполнителем, пес­ ки гравелистые, крупные и средние считаются непучинистыми при любом уровне подземных вод. По степени пучинистости пылевато-глинистые грунты подразделяют на пять групп: практически непучинистые, слабо­ пучинистые, средне-, сильно- и чрезвычайно пучинистые грун­ ты, при которых подъем поверхности на 1 м промерзания состав­ ляет соответственно до 1,1-3,5; 3,5-7; 7-12 и более 12 см. Степень пучпннстостп грунта определяют по специальной методике на основе лабораторных исследований rpYHTOB и дру­ гих данных, которые у индивидуального застройщика отсутству­ ют. Поэтому обратим внимание на существенное влияние на пу­ чинистость консистенции грунта и положения уровня подземных вод. В грунтах может быть свободная, капиллярная и подвешен­ ная воды. Свободная вода заполняет поры rpYHTa, перемещается по ним под действием силы тяжести или разности напоров. Ка­ пиллярная вода поднимается по капиллярам силами поверхност­ ного натяжения из слоев, расположенных выше основного гори- 61
  • 63.
    зонта подземных вод;подвешенная вода расположена в капил­ лярах, не связанных с основным горизонтом. Подземnые воды разделяют на три типа: верховодка, ос­ новной горизонт, межпластовые воды. Верховодка образуется в проницаемых грунтах вблизи от поверхности. Глубина залегания слоя верховодки не превыша­ ет 2 м. Уровень верховодки зависит от расположения водоупо­ ра и весьма переменчив. В засушливые годы и зимой верхо­ водка может полностью исчезнуть и появиться после выпаде­ ния осадков и таяния снега. Поверхностный дренаж в виде во­ доотводных канав должен забрать и отвести верховодку с уча­ стка. В некоторых случаях при незначительной толщине водо­ упора и залегания под ним фильтрующих грунтов можно про­ бурить скважины через водоупор и засыпать их щебнем или гравием, для того чтобы сбросить верховую воду в нижележа­ щие слои грунта. Основной горнзонт - это первыIй водоносный с.лой от по­ верхности почвы, имеющий большое распространение по площа­ ди. Уровень его более или менее постоянен, но зависит от выпа­ дающих за год осадков. Понижение уровня основного горизонта вод выполняют только централизованно при подготовке терри­ тории. Межпластовые воды - это подземные воды, расположен­ ные между двумя непроницаемыми слоями. Если воды полнос­ тью заполняют пространство между пластами, они могут быть напорными. Об этом следует помнить, если вы задумаете бу­ рить скважины под воду или для фундамента. Положение уровня подземных вод и возможность измене­ ния его в период строительства и эксплуатации существенно вли­ яют на выбор способа производства работ, конструкцию фунда­ мента, его размеры и глубину заложения. При повышении уров­ ня повышается влажность грунта основания, ухудшаются харак­ теристики грунта, развиваются явления просадочности или набу­ хания, увеличивается степень морозной пучинистости. Это мо- 62
  • 64.
    жет привести такжек подтоплению погребов и подвалов, если они построены без конструктивных водозащитных мероприятий. При понижении уровня возможна дополнительная осадка пост­ роек. Поэтому до начала строительства следует определить тип и уровень подземных вод. Если в пониженных местах участка (тер­ ритории) имеются выходы ключей, то устойчивый уровень ос­ новного горизонта подземных вод расположен близко от поверх­ ности. Об этом свидетельствуют и заросли камыша или осоки. Если же в пониженных местах вода застаивается, но камыш или осока не растут, то уровень подземных вод формирует верховод­ ка при достаточно близком расположении водоупора. Установить уровень подземных вод можно, вырыв яму или пробурив ямобу­ ром скважину на глубину 1,5-2 м. Когда в выработке устано­ вится вода надо замерить расстояние от ее поверхности до повер­ хности грунта. Выполнив такие замеры в разные времена года, можно определить сезонные колебания уровня, что может при­ годиться при выборе времени производства работ и конструкции фундамента. В пылевато-глинистых грунтах имеет место капиллярное под­ нятие воды, которое может достигать 4-5 м в глинах, 1,5-4 м - в суглинках, 1-1,5 м - в супесях и 0,5-1 м в пьшеватых песках. При промерзании грунта к фронту промерзания подтягивается вода, увеличивая влажность грунта. Относительно безопасными, т .е. грунт будет слабопучинистым, можно считать условия, когда под­ земная вода расположена ниже, чем на 0,5 м от подошвы фунда­ мента в пылеватых песках, 1м - в супесях, 1,5 м - в суглинках и 2 м - в глинах. При этом консистенция глинистых грунтов долж­ на быть твердой или полутвердой. Если расстояние от уровня под­ земной воды до подошвы фундамента будет меньше указанного, то грунты относятся к категории среднепучинистых. При мягко­ пластичной консистенции грунта и расстоянии до горизонта воды в супесях меньше 0,5 м, суглинках меньше 1 м, в глинах меньше 15м - грунт сильнопучинистый. В этих случаях конструкцию фун­ дамента назначают с учетом степени пучинистости грунта. 63
  • 65.
    ..... 2.3. Подготовка оснований Подготовкаоснований начинается с осушения участка, если он затоплен. В этом случае, как отмечено ранее, силами специа­ лизированной организации делают дренаж: траншейный, труб­ чатый, скважинный. Вид дренажа выбирают с учетом грунтовых условий, рельефа территории и имеющихся средств. Для инди­ видуального застройщика подготовка начинается, как правило, с рытья водоотводных канав. При подготовке основания непосредственно под фундамент постройки прежде всего в пределах пятна застройки снимают ра­ стительный слой и планируют поверхность. Если в основании фундамента постройки залегают грунты, которые должны быть уплотнены, то их целесообразно уплот­ нить трамбованием. Для этого после откопки траншеи или ямы почти до отметки подошвы фундамента начинают трамбовать основание с краев к середине с помощью ручных трамбовок, пред­ ставляющих собой круглый обрубок бревна диаметром около 30 см и высОтой 65-75 см, в верхний торец которого врезана ручка (рис. 2.3.1,a). Иногда трамбовку делают из толстого и короткого обрубка бревна с вертикальной ручкой. Нижний торец трамбовки а - -- /"g Рис. 2.3.1. Ручная трамбовка (о) и тяжелая трамбовка с применением малой механизации (6) 64
  • 66.
    I I . I часто обивают толстойлистовой сталью. Масса ручной трамбов­ ки 12-15 кг. Если необходимо уплотнить грунт на большую глу­ бину, применяют тяжелые трамбовки массой 130-300 кг, кото­ рые поднимают тросом лебедки, перекинутым через блок, ук­ репленный в вершине треноги, сделанной из подтоварника (рис 2.3.1,6). Трамбованием уплотняется верхний слой грунта тол­ щиной 0,3-0,4 м. Более ощутимые результаты по уплотнению можно достиг­ нуть втрамбовыванием щебня. Для этого на дно траншеи или ямы насыпают слой щебня толщиной 0,1-0,15 м и втрамбовы­ вают его в грунт, начиная от краев траншеи к середине. После втрамбовьmания первого слоя насыпают и вбивают второй. Для этого желательно использовать более тяжелую трамбовку. Втрам­ бовывание осуществляют до тех пор, пока щебень не будет раз­ биваться в мелочь, трамбовка будет отскакивать от грунта и из­ давать не глухой, а звонкий звук, не будет появляться между частицами щебня грунт. . Если сопротивление грунта основания увеличить невозмож­ но, то увеличивают площадь, через которую нагрузка от фунда­ мента передается на естественный грунт. Это достигают выем­ кой слабого грунта и засыпкой песчаной подушки, толщину ко­ торой назначают такой, чтобы давление под ее подошвой с уче-. том ее массы не превышало расчетного сопротивления естествен­ ного грунта основания. Ширину подушки определяют в соответ­ ствии со схемой на рис. 2.3.2, где <р - угол внутреннего трения Рис. 2.3.2. Схема расчета песчаной подушки 3 КОНСТР I.ulоэr зд 65
  • 67.
    песка (для песковсредней крупности и крупных можно принять <р = 360, tg <р = 0,725; для мелких песков - <р = 320, tg <р = 0,62). Песчаную подушку укладывают слоями толщиной 15-20 см уп­ лотняют трамбованием. Если в основании залегают фильтрую­ щие грунты, можно уплотнять подушку поливом воды. Песок подушки, если он сухой, перед уплотнением поливают водой. Подушки можно отсыпать и на поверхность грунта. Их материа­ лом могут бьrrь щебень, песок, шлаки. В случае залегания вблизи поверхности торфов, сапропелей, заторфованных и других слабых грунтов необходима их замена песчаным грунтом или выполнение свайного фундамента, пере­ дающего нагрузку на более прочные rpунты. Грунты верхнего слоя заменяют и в случае, если они сильно или чрезвычайно пу­ чинистые. В этом случае замену на непучинистый rpYHT осуще­ ствляют на глубину, равную 2/3 глубины сезонного промерзания rpунта.
  • 68.
    Глава З' КОНСТРУКЦИИ подземныхчастей зданий 3.1. Выбор КОНСТРУКЦИЙ фундаментов Эксплуатационная надежность и долговечность возводимых на участке построек во многом определяются качеством подго­ товки основания и правильностью выбора конструкции фунда­ ментов. Не случайно еще Уложение по строительству ХУIII века гласило: «На устройство подошвы (основания) и поддела (фунда­ мента) ни трудов, ни иждивения жалеть не должно». В первую очередь это объясняется сложностью и трудоемкостью работ по ремонту фундаментов и влиянием их работы на состояние над­ фундаментных конструкций построек. Стоимость возведения фундаментов в зависимости от кон­ струкции здания и грунтовых условий составляет 5-10 % общей стоимости его строительства. При выполнении работ собствен­ ными силами можно сэкономить почти 70% их стоимости, при­ чем на земляных работах - 95 % и более, при возведении фун­ дамента - почти 50 % их стоимости. Фундамеиты малоэтажных зданий и построек могут быть леиточиымI,' столбчатыми и сваЙIIЫМИ. 67
  • 69.
    Если здание строитсяиз тяжелого материала - кирпича, бе­ тона, шлакобетона, керамзитобетона и т .Д., фундамент его дела­ ЮТ, как правило, ленточным. Если здание деревянное рубленое, каркасное с заполнением или щитовое, то фундамент может быть как ленточный, так и столбчатый. В обоих случаях можно при­ менять свайные фундаменты, однако если сваи погружают или изготавливают с применением средств малой механизации, то лучше их использовать лишь в качестве фундаментов деревян­ ных зданий. Ленточные и столбчатые фундаменты можно подразделить в зависимости от глубины их заложения на заглубленные, если подошва фундаментов заложена ниже глубины промерзания грун­ та, малозаглубленные, если фундамент размещен в слое промер­ зающего грунта, и незаглубленные (поверхностные, если подо­ шва фундамента расположена на поверхности грунта или под­ сыпки (рис. 3.1.1». а Рис. 3.1.1. Фундаменты дачных зданий: а - заглубленных; б­ малозаглубленных, в - незаглубленных Выбор глубины заложения фундамеllта - один из основ­ ных вопросов, которые следует решить застройщику. Не в пос- 68
  • 70.
    леднюю очередь этосвязано с определением расчетной глубины промерзания грунта, которая зависит от так называемой норма­ тивной глубины промерзания, конструкции полов и подвала, ус­ ловий эксплуатации здания, среднесуточной температуры возду­ ха внутри него. Нормативная глуБШIа сеЗОIШОГО промерзапия, d/n- это средняя из ежегодных наибольших глубин сезонного промерза­ ния за срок не менее 10 лет на открытой, оголенной от снега горизонтальной площадке при уровне грунтовых вод ниже глу­ бины сезонного промерзания грунтов. Она может быть опреде­ лена простейшей зависимостью: где do- величина (м), которая принимается: для суглинков и глин - 0,23, мелких и пылеватых песков - 0,28, остальных пес­ ков - О,ЗО; М/ - безразмерный коэффициент, численно равный сумме абсо­ лютных значений среднемесячных отрицательных температур за зиму в данном районе, определяемых по климатологическому справочнику. Значения М, и нормативной глубины промерзания dfn для некоторых районов приведены в табл. 3.1.1. Если здание зимой не отапливают, то значение расчетной глубины промерзания дЛЯ Щ1РУЖНЫХ И внутренних фундаментов будет на 10 %большеd/n• Если среднесуточная температура отап­ ливаемого здания без подвала с полами по утепленному цоколю близка к ООС, то расчетная глубина промерзания равна норма­ тивной, при температуре 15 0 С расчетная глубина промерзания на 20 % меньше d/n• ДЛЯ'отапливаемого здания с подвалом рас­ четная глубина промерзания на 20 %меньше d/n• если температу­ ра внутри ООС, и на 40 % меньше d/n• если температура внутри 15 0 С. 69
  • 71.
    Таблица 3.1.1 НормаТИ.Н8Jl глубинапромерзаНИJl, d(/I' м песко. крynнооб-Город Пlo]ле.аТlolХ M t суглинко., и мелких KpynH~IX, ЛОМОЧНI>IХ глин средней пес ко. крупности грунто. Москва 34,3 1,35 1,64 1,76 2,00 Дмитров 36,2 1,38 1,68 1,80 2,04 Кашира 37,1 1,40 1,70 1,83 2,07 Владимир 39,0 1,44 1,75 1,87 2,12 Тверь 35,б 1,37 l,б7 1,79 2,03 Калуга 339 134 1 б3 1 75 1,98 Тула 33,7 1,34 1,63 1,75 1,98 Рязань 37,7 1,41 1,72 1,84 2,09 Ярославль 41,4 1,48 1,80 4,93 2,19 Вологда 424 1,50 1,82 1,95 2,21 Нижний Новгород, 42,0 1,49 1,81 1,94 2,20 Иваново Санкт-Петербург 25,4 1,16 1,41 1,51 1,71 Новгород 28,5 1,22 1,49 l,БО . 1,82 Чтобы обезопасить фундамент здания от воздействия мо­ розного пучения, а дом - от неравномерных подъемов и осадок, в пучинистых, кроме слабопучинистых, грунтах кирпичные двух­ этажные и даже одноэтажные здания лучше устанавливать на фундаменты, традиционно заложенные ниже глубины промер­ зания, тем более что, как правило, в таких зданиях предусматри­ вают подвалы. В основном на участках делают малозаглублеllные фунда­ менты, основания и конструкции которых выполняют с учетом предотвращения нежелательных деформаций здания от пучения грунта. Мероприятия при этом сводят к ужесточению конструк­ ции фундаментов, уменьшению слоя пучинистого грунта и ме­ лиорации. Под сараи, мастерские, душевые, туалеты и другие мелкие деревянные постройки укладывают незаглубленные (поверхнос­ тные фундаменты (рис. 3.1.1,в). 70
  • 72.
    Малозаглубленные и незаглубленныефундаменты возводят на участках, сложенных с поверхности песчаными и пьmевато­ глинистыми грунтами, которые по прочностным свойствам мо­ гут быть использованы как естественные основания. Выбор конструкции этих фундаментов зависит от степени пучинистости грунта, расчетного сопротивления грунта и неодно­ родности основания в плане. Более экономичные столбчатые ФувдамеIIТЫ целесообраз­ но устраивать при непучинистых и слабопучинистых грунтах. На среднепучинистых грунтах столбчатые фундаменты надо связать жесткой фундаментной балкой. Между фундаментной балкой и поверхностью грунта необходимо оставлять зазор не менее 15 см. На сильно и чрезвычайно пучинистых грунтах необходимо выполнить монолитный железобетонный ленточный или пере­ крестно-ленточный фундамент. Такие же фундаменты рекомен­ дуется сделать на насыпных грунтах и на грунтах с расчетным сопротивлением Ro ~ 1,5 кгс/см2, а также в случае залегания в пятне застройки здания грунтов с различной сжимаемостью. На сильнопучинистых грунтах возможно возведение ленточного фундамента из отдельных армированных блоков с обязательным соединением их в стыках либо омоноличиванием выпусков ар- , матуры, либо сваркой закладных деталей (рис. 3.1.2). Для зданий небольших размеров (стороны 4-5 м) без под­ валов иногда в этом случае целесообразно сделать фундамент в виде жесткой монолитной или сборно-монолитной плиты тол­ щиной 0,30 см. На среднепучинистых грунтах допускается укладывать бло­ ки в ленту без их соединения, но над и под ними надо забетони­ ровать армированный пояс высотой 10-12 см. Арматура пояса: 4-6 стержней диаметром 10-14 мм. При этом в кирпичных зда­ ниях необходимо выполнить армированные пояса над проемами или на уровне перекрытия. При строительстве деревянного здания возможно примене­ ние поверхностного фундамента из двух рядов армированных блоков сечением не менее 0,25 х 0,2 м, укладываемых на под- 71
  • 73.
    2 б lА 4 з По 1-1 ••. '.'.е .. "'.'... ,',,', .. ............ .. .,' ~ .,: "..;,'.... ..... " По IIl-IIl • о' e.~, , ..~ "" ! .• '/j D •• .., • • ••• ·4 ПоV-V .' 1.. .~ ,'" ..." ..., .• • ( ... D. !:'·'А.: О.' ..-....." Рис, 3,1.2, Варианты соединения элементов малозаглубленных ленточных фундаментов: о - фундамент из свободно уложенных бетонных блоков; б - сборно-монолитный фундамент из ж/б блоков с выпус­ ками арматуры; в - монолитный ж/б фундамент; г - фундамент из бетонных блоков с ж/б поясами; д - фундамент из бетонных блоков с ж/б поясом: 1 - сборные бетонные блоки; 2 - раствор; З­ сборные ж/б блоки с выпусками арматуры; 4 - монолитный бетон; 5 - монолитный железобетон; 6- армированные пояса; 7 - железобетонный пояс
  • 74.
    сьшку С обязатe.J]ЬНОЙперевязкой швов. Длина блока должна быть не менее 2 м. Возможно устройство монолитного железобетон­ ного фундамента такого же сечения. На пучииистых и слабопучинистых грунтах блоки уклады­ вают свободно, без соединения, непосредственно на естествен­ ное основание или подсыпку в случае укладки на поверхности. В остальных случаях малозаглубленный фундамент укла­ дывают на уплотненную фильтрующую подсыпку. В качестве подсыпок применяют пески, кроме пьmеватого и мелкого, мелкий щебень, котельный шлак и другие непучинис­ тые материалы. При укладке материал подсыпки уплотняют, так как подсыпка одновременно служит и средством повышения не­ сущей способности основания. Подсыпку изолируют от попада­ ния атмосферных осадков, но одновременно предусматривают отвод Boды из нее, особенно в случае, если она выполнена в тран­ шеях (рис. 3.1.3). а б 4 ·/:'{.;',i:~:;/:'!..'::;',:~:~;;; ;W',,~'''i7J:'''; ;W~ Водопроницаемый слой Рис. 3.1.3. Фундаменты с ОТ150ДОМ воды из основания: а - 15 150ДОПРИ­ емник;' б - 15 150допроницаемый слой; 1 - фундамент; 2 - дренирую­ щая прослойка; 3 - 150досборник; 4 - трубка с 150доприемными от­ верстиями 73
  • 75.
    Глубину заложеlIИЯ малозаглублеиногофундамента опре­ деляют исходя из значений расчетного сопротивления Ro, приве­ денных в табл. 3.1.2. В непучинистых и слабо-пучинистых грун­ тах она может равняться 0,3-0,7 м, при этом подсыпка может отсутствовать или быть толщиной до 20 см. В среднепучинис­ тых грунтах глубина заложения может оставаться такой же, но толщина подсыпки должна увеличиться до (не менее) 30 см при глубине промерзания 1,5 м и до 60 см при глубине промерзания 2 м. В сильнопучинистых грунтах толщину подсыпки увеличи­ вают соответственно до 50 см и 1 м. В чрезвычайно пучинистых грунтах толщина подсыпки должна быть не менее 1/3 глубины промерзания. Под незаглубленные фундаменты толщину подсыпки уве­ личивают примерно в 1,5 раза, при этом ширину подсыпки, вы­ ходящей за контур фундамента, выполняют не менее чем на 3 ширины фундамента. В связи с этим при сильнопучинистых грун­ тах из-за большого объема подсыпки, особенно когда имеют ме­ сто сложности доставки подсыпочного материала, применение поверхностных фундаментов под индивидуальные здания стано­ вится нецелесообразным. Назначая глубину залож'ения фунда­ мента, следует помнить, что уплотненная песчаная подсыпка под фундаментом также является элементом конструкции фундамен­ та. Но для этого ее ширина должна превышать ширину фунда­ мента на (1,5-1,8)d, rдed -толщина подсыпки (см. рис. 2.3.2). При этом первое значение относится к подсыпкам из песка сред­ ней крупности, второе - к крупным и гравелистым пескам. В этом случае за глубину заложения фундамента считают уровень подошвы подсыпки, а за ширину фундамента - ширину тран­ шеи. Ширину непосредственно фундамента определяют, исходя из Roматериала подсыпки. Шнрнна фундамента зависит от его материала. Материа­ лом фynдамента может быrь бут, бутобетон, бетон, железобе­ тон, кирпич, древесина. Для ленточных фундаментов ширина бутового фундамента в зависимости от вида бута может бьrrь 30-50 см, бутобетонного - 30 см, бетонного или железобетон- 74
  • 76.
    ного -до 15см, кирпичного -не менее 25 см (рис. 3.1.4-3.1.7). Минимальные размеры по ширине столбчатых фундаментов со­ ответственно 60, 40, 20 и 38 см. Для снижения неблагоприятных последствий пучения рекомендуется стенки ленточных и столб­ чатых фундаментов выполнять наклонными и изолировать их от а б Рис. 3.1.4. Бутовый фундамент: а - на непучинистых грунтах; б - на пучинистых грунтах; 1 - БУТQвая кладка; 2 - обратная засыпка грун­ том; 3 - подушка из крупнозернистого песка; 4 - штукатурка цемен­ тным раствором и обмазка горячим битумом; 5 - глиняный замок а б 1 Рис. 3.1.5. Бутобетонный фундамент: а - на непучинистых грунтах; б - на пучин истых грунтах; 1 - бутобетон; 2 - подсыпка из грунта; 3 - обратная засыпка непучинистым грунтом; 4 - обмазка горячим битумом; 5 - подсыпка из уплотненного леска 75
  • 77.
    смерзания с грунтомрубероидом, пленкой или другим материа­ лом, наложенным на смазку, покрывающую фундамент. К столбчатым фундаментам относятся и Фу:ндамеIПЫ из свай, а б Рис. 3.1.6. Бетонный фундамент: а - на непучинистых грунтах; б­ на пучинистых грунтах; 1 - бетон; 2 - обратная засыпка грунтом; 3 - обмазка горячим битумом; 4 - подушка из крупнозернистого песка а б Рис. 3.1.7. Кирпичный фундамент: а - на непучинистых грунтах; б­ на пучинистых грунтах: 1 - кирпичная кладка; 2 - обратная засыпка грунтом; 3 - штукатурка цементным раствором и обмазка горячим битумом: 4 - подушка из крупнозернистого песка; 5 - опорная по­ душка из уплотненного грунта 76
  • 78.
    изготовленных из асбестоцементныхили металлических труб на­ ружным диаметром от 75 до 200 мм, погружаемых в пробурен­ ные скважины или вырытые котлованы (рис. 3.1.8). Глубина за­ ложения свай обычно не превышает 2 м. В основании сваи дела­ ют уширение, которое не только расширяет площадь опирания 1 3 2 8 б 9 7 Рис. 3.1.8. Столбчатые фундаменты из асбестоцементных труб: а - в непучинистых грунтах; б, в - в пучинистых грунтах; 1 - асбестоце­ ментная труба; 2 - бетон уширения; 3 - бетон заполнения; 4 - ар­ матура стыка суширением; 5 - арматура в трубе или металлическая труба; б - подсыпка или втрамбованный щебень; 7 - цоколь или ростверк; 8 - песчаная засыпка; 9 - отмостка из глины 77
  • 79.
    фундамента, но иявляется анкерующим элементом против вы­ пучивания фундамента. Поэтому это уширение делают из бето­ на, обеспечив арматурой диаметром 8-12 мм связь уширенной пяты с трубой. Трубу заделывают в пяте не менее чем на 0,5 м. Желательно эту арматуру пропустить через всю асбестоцемент­ ную трубу, оставив наверху выпуски для заделки их в кладке цоколя или монолитном поясе. Внутренняя полость труб запол­ няется тоже бетоном, чтобы предотвратить попадание в трубу воды и разрушение трубы при замерзании воды. Зазор между трубой и стенками скважины или котлована заполняют песком или песчано-гравийной смесью. По~ерхность трубы обмазывают битумом. Для изготовления фундамента здания можно использовать Рис. 3.1.9. Фундамент из чу­ гунной трубы: 1 - труба ди­ аметром 160-200 мм; 2- раструб труБыl; 3 - бетон уширен ия; 4 - засыпка; 5 - втрамбованный щебень; 6- отмостка и старые чугунные трубы диамет­ ром 100-200 мм с раструбом, очи­ щенные от грязи. Раструб позволя­ ет устанавливать эти трубы и в пу­ чинистых грунтах без закладки ар­ матуры. Раструб и внутреннюю по­ лость трубы омоноличивают бето- ном (рис. 3.1.9). От низа трубы до подошвы бетона необходимо не ме­ нее 20 см, если диаметр котлована существенно превосходит диаметр трубы. Иногда, привлекая буровые ма­ шины, выбуривают котлован диа­ метром 0,35-0,65 м на глубину 1,5-3,5 м. Глубину бурения назна­ чают таI.ОЙ, чтобы фундамент опи­ рался на плотные слои грунта. За­ полняя затем котлован бетоном и армируя верхнюю часть фундамен­ та, получают буронабивные сваи (рис. 3.1.10). Такие фундаменты 78
  • 80.
    целесообразны при залеганиисверху слабых грунтов, в том числе торфа, и необходимости их прорезки. Количество свай в фундаменте определяют расчетом. Сопротивление буронабивных свай складывается из сопротивления грунта под ее подо­ швой и сопротивления трения по бо­ ковой поверхности сваи. Для свай, стволом которых являются трубы, ус­ танавливаемые в скважины с зазором, заполняемые песком, трение учиты­ вают только на высоту уширения. Сопротивление по подошве определя­ ют умножением площади опирания сваи на грунт на расчетное сопротив­ ление грунта, трение по боковой по- верхности - суммированием по глу- Рис. 3. 1. 10. Буронабивная свая: 1- свая диаметром 300- 650 мм; 2 - цо­ коль; 3 - втрамбованный щебень; 4 - отмостка бине трения на отдельных участках. Сопротивление трения вы­ числяют, умножая площадь боковой поверхности сваи на расчет­ ное сопротивление грунта по боковой поверхности (табл. 3.1.2). Таблица 3 .1.2 Расчетное сопроти.ление rpYHтa на боко.оЙ по.срхности Грунт буронабИ.НIХ с.аЙ, тс/м2 при средней глубине располо- жени!! сло!! 1 м 2-3 м Песчаные: - средней крупности 5,4 5,8 -мелкие 3,6 4,0 -пылеватые 2.7 3.2 Песчано-глинистые: - полyrвеt'дые 3,3 4,5 - тугопластичные 2,7 3,3 - мягкопластичные 2.0 2.3 79
  • 81.
    При этом предполагается,что в дно котлована втрамбовано не менее 10 см щебня, а глубина котлована не менее 2 м. При меньшей глубине котлована значения расчетных сопротивлений определяют по интерполяции. Под ~TeHЫ одноэтажных деревянных зданий иногда дела­ ют фундаменты нз деревянных столбов (стульев), передаю­ щих нагрузку на более плотные слои грунта (рис. 3.1.11). Ма­ териалом для столбов должна быть древесина сосны, листвен­ ницы или дуба диаметром 27-35 см, при этом обычно исполь­ зуют комлевые концы бревен. Длина столбов на 30-50 см боль­ ше глубины заложения столба(l,25-1,8 м). Под нижний ко­ нец столба подкладывают плиту, доску, крест из двух плас­ тин, чтобы уменьшить его осадку. На верхних концах стол­ бов, находящихся на пересечении стен, нарезают шипы, вхо­ дящие затем в соответствующие гнезда окладного венца: дли­ на шипа 13-18 см, ширина - 5-7 см, высота - 9-13 см. а -Jl-270-350 Рис. 3.1.11. Столбчатые фундаменты из дреllесины: а - без лежней; б - с лежнями 80
  • 82.
    Столбы располагают подвсеми углами,.в местах пересечения стен и под стенами постройки с промежутками 1,5-3,0 м, а также под отдельными опорами, наприме: поддерживающи­ ми крыльцо, прогоны И пр. Деревянные столбы - фундамент, хотя и дешевый, но не­ долговечный. Сосновые столбы стоят 5-8 лет, дубовые - до 12 лет, после чего настолько повреждает их гниль, что они должны быrь заменены новыми. Чтобы увеличить срок их службы, де­ рево пропитьmают антисептиками - раствором сулемы медного купороса, поваренной соли, хлористого цинка, креозотом и дру­ гими или обжигают и осмаливают. Столбы обжигают над пламенем костра или на жаровнях; обжигаемое дерево постоянно поворачивают для того, чтобы обугливание происходило равномерно со всех сторон, толщина обугленного слоя должна быть 1,.5-2,5 см. При обжиге древе­ сина выделяет смолу и другие вещества, обладающие противо­ гнилостными свойствами, кроме того, под влиянием высокой температуры белковые вещества древесного сока свертываются и становятся несъедобными для низших организмов, обуслов­ ливающих гниение дерева, и для разрушающих его насекомых. Столбы, обожженные на длину закапываемой части, затем по­ крывают горячим битумом, что продлевает срок их службы в 1,5-2 раза. Так как загниванию наиболее интенсивно подвержена та часть столба, которая расположена в грунте ближе к поверхнос­ ти, эти части должны бьпь лучше всего обожжены и покрыты битумом или засмолены. При установке столбов в песчаных грун­ тах рекомендуется обкладьmать их слоем глины на глубину 0,35- 0,5 м от поверхности, При установке в глинистые грунты под столб и в зазоры между ним и стенками скважины засыпают песок, что существенно снижает воздействие на столбы мороз­ ного пучения грунта. 81
  • 83.
    Столбчатые фундаменты избута, бутобетона, бетона, кир­ пича представляют квадратные или прямоугольные в плане стол­ бы, заглубленные в грунт и возвышающиеся над поверхностью грунта на 0,2-0,5 м. В плане они размещаются под всеми угла­ ми здания, пересечениями капитальных стен и всеми капиталь­ ными наружными и внутренними стенами. Расстояние между фундаментами 2-3 м, отдельные опоры (пристроек) также опи­ рают на столбчатые фундаменты, расстояние между которыми должно быть больше, чем под основным зданием. Нередко часть столбов, возвышающуюся над грунтом, делают из кирпича, при­ чем ее отделяют от подземной бутовой или бетонной части усту­ пом, назьmаемым обрезом. Обрезы оставляют для того, чтобы при переходе от бутовой кладки или бетона к кирпичной кладке, иметь некоторый запас ширины на случай ошибки в разбивке или неточностей в работе и чтобы какой-нибудь кирпич не ока­ зался на весу. Ленточные фундаменты представляют собой стенку, заг­ лубленную или лежащую на поверхности грунта, возвышающу­ юся над поверхностью грунта или подсыпки на 0,2-0,5 м. В де­ ревянных зданиях можно делать ленточные фундаменты только под наружные стены, а внутренние стены опирать на столбчатые фундаменты. Бутовые фундаменты выкладьmают из плитнякового и по­ стелистого рваного камня, булыжника. При этом бутовые фун­ даменты из булыжного камня следует возводить только в распор со стенками траншеи. Бутовым камнем может быть гранит, дио­ рит, базальт, песчаник, плотные известняк и ракушечник. Кам­ ни укладьmают вручную на растворе без опалубки. Бутобетоииый фундамент выполняют в опалубке, в кото­ рую послойно заливают раствор или бетон, а затем утапливают булыжник, бой красного кирпича, бут. При мелких траншеях и 82
  • 84.
    вертикальных ее стенкахвозможно выполнение бутобетонных фундаментов без опалубки. Наиболее экономичны и долговечны фундаменты из мо­ нолИтного бетона, укладываемого в траншеи и опалубку с по­ слойным трамбованием. Эти фундаменты применяют для всех типов зданий. Армирование этих фундаментов позволяет при­ менять их на грунтах с малой степенью пучинистости, при этом уменьшая размеры фундамента. Фундаменты могут быть лен­ точными, столбчатыми, плитными. На рис. 3.1.12 приведен экономичный железобетонный фундамент деревянного здания. Фундаменты нз хорошо обожженного ГЛИНЯIIОГО (красно­ го) кирпнча-железllЯКа применяют при отсутствии более дол­ говечных материалов. Они уступают по долговечности бутовым, бутобетонным и, конечно, бетонным и железобетонным фун­ даментам. Требуют защиты от агрессивных вод. Не рекоменду­ ют их применять при большой глубине заложения и высоком уровне подземных вод. ФУПД3МeJIТЫ нз сборных бетонных н железобетОIШЫХ бло­ ков существенно сокращают процесс возведения фундамента. Со­ единение блоков зависит от пучинистости и неоднородности в плане грунта основания (см. рис. 3.1.2). Как правило, применя­ ют сборные блоки заводского изготовления. Однако возможно и индивидуальное изготовление блоков, а также использование в качестве блоков обрезков свай и других желеЗОб~ОННЫХ изде­ лий подходящего профиля. Заводы сборного железобетона выпускают достаточно раз­ нообразную номенклатуру блоков, которые могут быть уложены как фундаменты. Наиболее распространены фундаментные сте­ новые блоки: сплошные ФБС и пустотелые ФБП. ДЛЯ пропуска коммуникаций устанавливают сплошные блоки с вырезом ФБВ. Размеры блоков даны в табл. 3.1.3. Масса блоков такова, что для их монтажа обязательно требуется кран. 83
  • 85.
    IVT liv ~ ~ ПQl/l-l/l 30100 30 lt:1r 1.'. t;:oi1 ~ Рис.3.1.12. План и сечения конструкции цоколя и ленточного фунда­ мента: 1 - песчаная подушка; 2 - ленточный железобетонный фун­ дамент; 3 - кирпичный цоколь; 4 - брусок нижней обвязки; 5- стена; б - утеплитель; 7- отмостка 84
  • 86.
    Таблица 3.1.3 Марка блоха OCH08HWCраЗМСРW, мм Длина Ширина Bwcoтa 300 2380 400 580 500 600 400 1180 500 580 ФБС 600 400 1180 500 280 600 300 880 400 580 500 600 400 ФБВ 880 500 , 580 600 400 ФБП 2380 500 580 600 Блоки изготавливают из тяжелого бетона, реже - плотного силикатного бетона и керамзитобетона. Для возведения индиви­ дуального дома достаточна ширина блока 30 или 40 см. Выпускают и более мелкие блоки, например, размерами 300х300х90 мм, 300х300х450 мм, 150х150х300 мм. Фундаментные блоки укладывают с перевязкой вертикаль­ ных швов, глубину которой принимают не менее высоты блока в случае сильно сжимаемых и пучинистых грунтов И не менее 0,4 высоты блока в остальных случаях. 85
  • 87.
    3.2. ЦОКОЛЬ Иотмостка Часть наружной стены, ограждающей подпольное простран­ ство здания, назьmается ЦОКОЛем. Цоколь предохраняет дом от охлаждения, переувлажнения подполья. В зависимости от соот­ ношения с внешней плоскостью наружных стен цоколи могут быrь выступающими или западающими. Наиболее традицион­ ным является выступающий ЦОКОЛЬ, особенно, если его выкла­ дывают из бута или если стены здания выкладывают из легких каменных материалов, например, ракушечника (рис.3.2.1). Выс­ тупающий цоколь позволяет выправить положение стен при на- а Рис. 3.2.1. Выступающий ЦОКОЛЬ: а - при ленточных фундаментах; б - при столбчатых фундаментах; 1 - стена; 2 - слив из оцинкован­ ной стали; 3 - гидроизоляция по периметру; 4 - цоколь; 5 - желе­ зобетонная монолитная перемычка высотой 10-15 см; 6 - аоздуш­ ная полость 10-15 см; 7 - защита от засыпания воздушной полости грунтом (доски, горбыль, пластик); 8 - фундаментный столб личии ошибок в положении фундаментов. Вместе с тем у высту­ пающего цоколя имеются присущие ему недостатки: необходи­ мость устройства защитного слива на выступающей за пределы наружной стены горизонтальной плоскости, относительно боль­ шой расход материалов и невысокое эстетическое качество. 86
  • 88.
    а 30-40 ~ -l-._. 1 2 4 tr .'( '. 11• ..~ ,~ .'1. .... • .. ,, .. ' Рис. 3.2.2. Западающий ЦОКОЛЬ: а - I1рИ ленточных фундаментах; б - при столбчатых фундаментах; 1 - стена; 2 - гидроизоляция; 3 - армированный шов; 4 - ЦОКОЛЬ; 5 - защитная стенка; б­ ростверк; 7 - фундаментный столб ЗападаlOЩИЙ ЦОКОЛЬ более эстетичен (рис. 3.2.2). Кроме того, он позволяет укрыть от непосредственного внешнего воз­ действия гидроизоляцию, что улучшает ее работу. 3ападающпй цоколь более экономичен по расходу материалов, особенно при большой толщине наружных стен. Однако уст­ ройство западающего цоколя требует более тщательного производства ра­ бот. При кирпичных цоколях, уклады­ ваемых на каменный фундамент и на­ чинающихся на уровне грунта, полез­ но внизу с наружной стороны уложить ряд из тесаного камня, выдвинув его на 2-3 см от поверхности стены (рис.3.2.3). Это повысит прочность цо­ коля В месте, где он наиболее подвер­ жен СЬJРОСТИ и вьmетриванию. Кладут цоколь на цементном растворе. 87 640 Рис. 3.2.3. Цоколь из КИРl1ича с включением каменной кладки
  • 89.
    , Цокольную стенку, укладьmаемуюмежду столбчатыми фун- даментами для защиты подполья, называют забиркоЙ. Ширина бутовой забирки - не менее 40 см, кирпичной - 12-25 см, ко­ торую выкладьmают из керамического (но не силикатного) кир­ пича марки не менее 10 на цементном растворе состава 1:4. За­ бирку заглубляют в грунт на 30-50 см. Если основание из пыле­ вато-глинистых пучинистых грунтов, то на дно траншеи под за­ бирку отсыпают 20 см песка и щебня, тщательно их трамбуя. При этом фундаментьi не соединяют с забиркоЙ. В случае размеще­ ния забирки на железобетонных, металлических или деревянных балках, опирающихся на фундаменты, при пучинистых грунтах основания под балками оставляют зазор. Для вентиляции подпо­ лья в стенках кладки или монолитного бетона делают отверстия­ продухи размерами 10х25 см, располагая их с каждой стороны здания. Для выполнения отверстий закладьmают шаблоны, ко­ торые после окончания бетонирования или кладки извлекают. Материал забирки зависит от материала стен здания. Если зда­ ние кирпичное, забирка, как правило, выполняется из бута или кирпича, а при деревянном здании - из бревен или досок. Часто в деревянном здании забирку делают из кирпича и гораздо реже в каменном здании - из древесины (рис. 3.2.4). о 6 в 5 Рис. 3.2.4. Забирки из кирпича (о) и бревен (6, 8): 1 - столбчатый фундамент; 2 - железобетонная балка, 3 - забирка из кирпича или древесины; 4 - утеплитель; 5 - подсыпка или бетонная подготовка; 6 - гидроизоляц~я; 1- окладный lIенец; 8 - СЛИlIная доска; 9- защитная стенка, 10 - отмостка 88
  • 90.
    , t , Забирка из древесиныбывает горизонтальной пли верти­ кальной (рис. 3.2.5). Горпзоптальпую забllРКУ между столбча­ тыми фундаментами изготавливают из досок толщиной 40- Рис. 3.2.5. 3абирка деревянная: о - из горизонтально расположенных досок забирки и защитной стенки; б - из вертикально расположен­ ных досок забирки и горизонтально - защитной стенки, в - с гори­ зонтальным расположением досок забирки и 8ертикальным - защит­ ной стенки; г - с 8ертикальным расположением досок З,абирки и за­ щитной стенки 89
  • 91.
    60 ММ, боковаяповерхность которых выполнена с гребнем либо со скосом. Доски заводят в пазы, изготовленные в брусках, вер­ тикально прикрепленных к боковым стенкам деревянной, асбес­ тоцементной; металлической сваи или заделанных в кирпичную кладку столбчатых фундаментов (рис. 3.2.6). Рис. 3.2.6. Забирка из древеСИНj)1 в кирпичных или бетонных фунда­ ментах: 1- фундамент; 2 - забирка; 3 - брус, заделываемый 11 кладке столбчатого фундамента; 4 - защитная стенка Вертикальную забирку выполняют следующим образом. Роют траншею на глубину 0,4-0,6 м, в которую подсыпают пе­ сок и укладьmают на глубину 0,3-0,5 м от поверхности горизон­ тальный брус с продольным пазом вверху. Концы бруса заруба­ ют при деревянных сваях либо соединяют в других случаях с фундаментом. Такой же брус укладьmают сверху, но пазом вниз, прикрепляя его к обвязке здания и опирая концами на фунда­ мент. Устраивать паз в обвязке не рекомендуется, так как такое упрощение снижает прочность и долговечность обвязки (оклад­ ного венца в дepeB~HHOM здании). Толщина брусьев 10-15 см, ширина паза зависит от размеров ДОСКИ в него вставляемой, обыч­ но - 5-7 см. Горизонтальные и :еертикальные брусья и доски забирок, укладьшаемые в rpYHT, необходимо просмолить или при­ нять другие меры против загнивания. Сравнивая рассмотренные виды забирок, видим, что на го­ ризонтальную забирку требуется пиломатериал брльшей длины - до 3 м, тогда как на вертикальную забирку идут короткие доски длиной 0,7-1 м, в избытке остающиеся при построЙке здания; поэтому горизонтальная забирка дороже. Однако вертикальная 90
  • 92.
    забирка из-за заmиваниянижних концов досок требует полной замены, в то время как в горизонтальной забирке заменяют лишь нижние доски. Для вентиляции подполья в забирках делают от­ верстия тех же размеров, что и в кладке. На зиму эти отверстия закрывают деревянными пробками, обитыми войлоком. 3абирку закрывают защитной деревянной стенкой, для чего к фундаментам с наружной стороны прикреnляют, а в случае де­ ревянных столбов прибивают брусочки сечением 5х5 или 6х6 см, затем на эти бруски прибивают горизонтально обрезные доски (тес), толщиной 25 ММ, боковая поверхность которых обработана со скосом или имеет вырезы. При длине досок более 1,8 м до­ полнительно к забирке прибивают брусок, к которому затем при­ бивают доски стенки. Сверху стенка на уровне окладного венца перекрывается отливной доской или отливом из кровельного железа, имеющим наклон к горизонтали 20-350. Отливную доску прибивают к брускам и окладному венцу. Е?ли стенка здания не имеет наружной обшивки, отливную доску врезают в окладный венец. Отлив должен свешиваться над лицевой поверхностью защитной стенки на 5-10 см, чтобы стекающая в него вода не попадала на обшивку. Если по каким-то соображениям хочется иметь защитную стенку из вертикальных досок, то бруски закрепляют горизон­ тально к фундаментам, а на них прибивают доски обшивки. Ниж­ ний брусок располагают на высоте 10-20 см от грунта. Верти­ кальные доски не доводят до поверхности грунта на 10-15 см, а просвет между ними 'и грунтом перекрьmают отдельной горизон­ тально расположенной доской, которую легко заменить на но­ вую, после того как она сmиет. С внутренней стороны забирки засыпают утеплитель, например, керамзит, шлак. Вертикальное или горизонтальное расположение защитной стенки не зависит от расположения брусьев в забирке, а только от вашего вкуса. По периметру здания устраивается отмостка - прицоколь­ ная конструкция в виде дорожки, имеющая наклон от стены в 91
  • 93.
    сторону участка. Основноеназначение отмосток - защитить фун­ даменты от поверхностных вод и отвести от стен и фундамента воду, стекающую с крыши. Это особенно важно в случае, когда фундамент выполнен в траншее и пазухи между ним и стенками траншеи заполнены насыпным грунтом. Ширина ОТМОСТIШ зависит от ее назначения. Если отмостка предназначена для защиты обратной засыпки фундамента, ее ши­ рина должна на 0,2-0,3 м превышать ширину засыпанной пазу­ хи. В то же время для отвода воды, падающей с крыши, ее шири­ на должна на 0,2-0,3 м выступать за кромку крыши. В любом случае отмостки шириной менее 0,7-0,8 м не делают. Во избе­ жание увлажнения брызгами цоколя и стен, отмостка должна располагаться не менее чем на 0,2 М,ниже гидроизоляционного слоя (рис. 3.2.7,а). б Рис. 3.2.7. Отмостка (о) и еодоприемный лоток (6): 1 - цоколь; 2 - гидроизоляция; 3 - слой бетона или асфальта; 4 - песчаный слой; 5 - каменная наброска; б - глинопесчаная смесь; 7 - глиняный за­ мок Устройство OТМOCТКlI начинают со снятия слоя раститель­ ного грунта. Затем вокруг здания выбирают выемку глубиной около 150 мм и шириной не менее 0,7-0,8 м. Образовавшуюся выемку заполняют мятой глиной, в которую утапливают песок с 92
  • 94.
    гравием, щебнем иликирпичный бой. Образовавшуюся компо­ зицию трамбуют до получения плотной массы. Насыпку профи­ лируют таким образом, чтобы уклон от стены до конца отмостки составил около 100 мм. Спрофилированную поверхность покры­ вают щебнем или гравием, который проливают цементным ра- , створом состава 1:2. Покрытие отмостки выравнивают рейкой, устраняя все впадины и бугорки. Через 20-25 ч покрытие же­ лезнят. Железнением назьmают технологический процесс, направ­ ленный на повышение водонепроницаемости растворной стяж­ ки. Для этого на слегка влажное покрытие насыпают сухой це­ мент, который втирают в стяжку металлической гладилкой. Если ожидаются дожди, зажелезненную поверхность покрывают по­ лимерной пленкой, создавая условия для твердения цементного слоя. Вместо железнения отмостку можно покрыть слоем асфаль­ та. Только что рассмотренный универсальный вариант конструк­ ции отмостки достаточно сложен, требует различных строитель­ ных материалов. С не меньшим эффектом могут применяться отмостки упрошенной конструкции. В этом случае глубину вы­ емки уменьшают до 50-100 мм. Дно выемки тщательно уплот­ няют ручной трамбовкой, затем его на всю ширину застилают внахлест на 0,2-0,3 м двумя слоями гидроизоляционного мате­ риала. В качестве гидроизоляционного материала используют полиэтиленовую пленку, рубероид и другие не гниющие матери­ алы. На гидроизоляцию до заполнения выемки и устройства не­ обходимого профиля укладывают песчано-гравийную смесь, по­ верх которой укладьmают покрытие из щебня или гравия с про­ ливкой цементно-пе~чаным раствором. Если фундамент в траншею закладывали враспор без обрат­ ной засыпки пазух и отмостка делается практически на грунте естественного сложения, покрытие может быть уложено непос­ редственно на предварительно профилированный и утрамбован­ ный грунт. В том же случае, когда пазухи незначительны и их перекры­ вает сливная доска цоколя, отмостку можно и не делать, но тог- 93
  • 95.
    да для сбораи отвода воды с крыш их оборудуют водосборными желобами и водосточными трубами, а в месте стока воды дела­ ют водоприемный лоток, размещенный в набетонке (рис. 3.2.7). Конструкция набетонки аналогична отмосткам, лоток же фор­ мируют опалубкой высотой 8-10 см. Часто вместо выполнения покрытия отмостки из бетонного раствора укладывают железобетонные плиты размерами 30 х 30 или 50 х 50 см. Швы между плитами засыпают грунтом и засеи­ вают травой. В этом случае отмостка делает дом наряднее. На участке обязательно должны быть ДОрОЖЮI. Ширина их обычно - 60-80 см. Делая дорожку, снимают раститель­ ный слой на глубину 7-10 см, углубляют канаву для дорожки от осевой линии к краям, которую засыпают песком. При нали­ чии щебня его засыпают сверху. Если есть железобетонные пли­ ты, их укладывают на песок, заделывая швы песком или щеб­ нем. Кирпич на дорожку лучше не укладывать, так как он со временем разрушается. Дорожке придают 2 %-ный уклон В сто­ рону водослива. Дорога для заезда автомamипы на участок обычно состо­ ит из двух дорожек, которые имеют обязательно щебеночное либо твердое покрытие из монолитного бетона толщиной не менее 10 см или из железобетонных плит. Между дорожками иногда раз­ меЩaIОТ смотровую яму, а над местом стоянки автомашины де­ лают навес. В условиях пересеченного рельефа может возникнуть потреб­ ность в устройстве лестниц. Один из простых способов - сту­ пенчатая срезка грунта с последующим укреплением ступеней. Ступени укрепляют подтоварником, горбьтем или досками. Дре­ весину обязательно ошкуривают. В зависимости от рельефа и грунта назначают длину ступенек, но она не должна быть менее 0,5 м, а высота - 12-17 см. Ступени удерживают при помощи кольев, которые забивают или закапывают на глубину не менее двух высот ступени. Их можно устраивать также из камня или красного кирпича. 94
  • 96.
    } 3.3. Производство работпри сооружении фундамента Строительство здания начинают с разБПВЮI его плана в lIа­ туре. Для установки разбивочных осей вокруг здания на расстоя­ нии 1-1,5 м от края будущего котлована забивают или закапьmа­ ют деревянные столбики или обрезки металлических труб (рис. 3.3.1). При большом количестве осей и частом их расположении устраивают так назьmаемую обноску из досок, прибиваемых к столбикам. В местах крепления разбивочных осей для лучшей их фиксации в досках обноски делают неглубокие пропилы или за­ бивают гвозди. Если разбивочных осей немного, можно обой­ тись при их привязке отдельными столбиками, желательно из обрезков металлических труб. Для лучшей фиксации разбивоч­ ных осей трубы пропиливают на глубину 3-5 мм, а саму трубу жестко закрепляют в земле. Проволоку или леску обычно крепят на 20-30 см выше гидроизоляционного слоя будущей стены с б 2 Рис. 3.3.1. РазБИ8ка траншей с помощью обноски (о) и конструкция деревянн?й обноски (6): 1 - разбивочные оси из проволоки или кап­ роновой лески диаметром 1-1,5 мм; 2 - пропилы в доске; 3 - гвоздь 70-100 мм; 4 - доски толщиной 40-50 мм; 5 - деревянные столби­ ки диаметром 80-120 мм 95
  • 97.
    таким расчетом, чтобыудобно пользоваться О1.'весом при устрой­ стве фундаментов и цоколя. После закладки стен разбивочные оси убирают. При пересечении разбивочных осей важно правильно уста­ новить прямой угол. Это делают с помощью треугольника с со­ отношением сторон 3:4:5, изготовленного из мягкой проволоки, веревки или шнура длиной 10-15 м. Окончательную проверку прямых углов проводят измерением диагоналей прямоугольни­ ка. После горизонтальной разбивки осей необходимо также уста­ новить их вертикальные отметки. При отсутствии геодезических инструментов (теодолита или нивелира) 'это можно сделать с помощью водяного уровня, для чего, приняв одну из отметок на обноске или на столбике за исходную, переносят ее на другие стороны обноски или столбика. Таким образом, получают по на­ ружному периметру горизонтальную линию, от которой ведут отсчет отметок при земляных работах, устройстве фундаментов, цоколя и закладке наружных и внутренних стен. Перед рытьем траншей, ям или котлованов со всей площа­ ди, где намечается строительство (срезка или подсыпа),' необхо­ димо снять верхний растительный слой грунта и перевезти его в сад или на огород. Для предохранения ям и котлованов от затоп­ ления дождевой водой с верхней стороны участка устраивают во­ доотводную канаву. Земляные работы выполняют либо вручную, либо с помощью землеройных механизмов. При мелком заложении фундаментов траншеи и ямы целе­ сообразнее отрьшать вручную. В этом случае при аккуратной ра­ боте в суглинках и глине, которые встречаются чаще остальных, можно ост~влять вертикальные земляные стенки и использовать их в качестве опалубки. При глубоком заложении фундаментов, а также при отрывке котлована для подвала желательно исполь­ зовать землеройную технику: ,автобур для бурения скважин под столбчатые фундаменты, экскаватор для отрывки котлованов и траншей под ленточные фундаменты и подвалыI. Разбивка плана траншей, ям и котлованов производится с учетом допустимой крутизны земляных откосов. 96
  • 98.
    Рьпь котлован свертикальными стенками в насыпных, пес­ чаных и крупнообломочных грунтах следует на глубину не более 1 м, в супесях - 1,25 м, в суглинках и глинах - 1,5 м. При необ­ ходимости разработки более глубоких котлована или траншеи сле­ дует выполнить откос с крутизной согласно табл. 3.3.1 Под кру­ тизной заложения понимают отношение высоты откоса (глуби­ ны траншеи) к заложению откоса. При залегании различных ви­ дов грунтов крутизну откосов траншеи назначают по наиболее слабому грунту. Таблица 3.3.1 ГpYНТ~1 Крутизна при глубине траншеll ие более 1,5м 3м Неуплотненные насыпные 1 : 0,67 1:1 Песчаные и I})авийные 1 : 0,5 1 : 1 Супесь 1 : 0,25 1 : 0,67 Суглинок 1 : О 1 : 0,5 Глина 1 :0 1 : 0,25 Лесс 1 : О 1 : 0,5 Разработанный грунт из траншей и котлованов, если он нигде не складируется, размещается на расстоянии не менее 0,5 м от бровки котлована, валуны и камни удаляют с откосов обязатель­ но. При необходимости раз­ работки траншей с вертикаль- I ными стенками на глубину, большую ранее приведенной, а также при длительном пере­ рыве между разработкой грун­ та и бетонированием, траншеи и ямы укрепляют. Крепление стен может бьпь выполнено щитами или отдельными дос­ ками (рис. 3.3.2). Верх крепле­ ния должен возвышаться над 4 КОНС'I Р 1d.JIOЭ r 'Зд 97 Рис. 3.3.2. Крепление стенок траншей: 1 - щиты из горбыля или досок; 2 - распорка
  • 99.
    Грунтом не менеечем на 15 см. Крепления устанавливают сверху вниз по мере разработки на глубину не более 0,5 м. Для перехода через траншеи укладывают трапы. ВозведеlШе фундаментов следует начинать сразу после от­ рьmки траншей, ям, котлованов. Поэтому, выкопав траншею и удалив из нее разжиженный грунт и воду, засыпают в нее песок или щебень слоями по 15-20 см на требуемую высоту с обяза­ тельным уплотнением и трамбованием. При благоприятных грун­ товых условиях дно траншеи только зачищают. Для изготовления железобетонного фундамента необходи­ мо сделать опалубку, которую собирают из деревянных щитов. Опалубку устанавливают на высоту фундамента или цоколя (рис. 3.3.3). Щиты изготавливают из обрезных досок толщиной 30-40 мм. Доски соединяют через 1,5 м накладками и фиксируют с внутренней стороны на нужный размер фундамента распорками, а с наружной - колышками, которые забивают в грунт вплот­ ную к доскам. Опалубка должна надежно крепиться к основа­ нию. Ее сдвиги и перекосы не допускаются. Отклонения от про- 2 Рис. 3.3.3. Конструкция деревянной опалубки: 1 - щит; 2 - колы­ шек; 3 - распорка; 4 - накладка 98
  • 100.
    I ектных размеров щитовпо длине и ширине не ДО1!ЖНЫ превы­ шать 5 мм, а ширина щелей между досками - 2 мм. Щиты опа­ лубки изготавливают заранее и устанавливают сразу lIосле от­ рьmки траншей и котлованов. Последовательность работ намеча­ ют, исходя из объемов укладываемого бетона. При ручном изго­ товлении раствора и невысоких темпах производства работ воз­ можно поэтапное использование опалубки с еженедельной пере­ становкой на новые участки. Так, если бетонирование ленточных фундаментов рассчитано на месяц, то при еженедельной пере­ становке щитов достаточно иметь опалубку на 1/4 часть фунда­ ментов. Щиты опалубки могут быть переставными как по верти­ кали (при послойном бетонировании по всему фронту фундамен­ та), так и по горизонтали (при бетонировании отдельными участ­ ками на всю высоту). Внутреннюю поверхность опалубки и ее основание защища­ ют толем, что исключит сцепление бетона с досками и предохра­ нит их от загрязнения цементным молоком. На опалубку нано­ сят отметку верха фундамента или цоколя.. Арматурный каркас, укладьmаемый в опалубку, состоит из продольной и поперечной армату­ ры. Последнюю удобно выпол­ нить в виде спирали из обожжен­ ной проволоки диаметром 3- 5 мм. В качестве продольной ар- 1 матуры используют стержни глад­ кие и периодического профиля диаметром 10-18 мм, трубы и уголки. Площадь поперечного се­ чения продольной арматуры верх­ него и нижнего рядов должна быть не менее 8 см. Спираль из­ готавливают следующим образом. Собирают деревянный остов и зак­ репляют металлическими уголка­ ми (рис. 3.3.4). Наматьmают на 99 з Рис. 3.3.4. Конструкция при­ спосо6ления для изготовле­ ния спирали: 1 - дере!ян­ ный оста!; 2 - металличес­ кие уголки; 3 - про!олока
  • 101.
    остов проволоку, выбиваяпрямой угол в местах ее перегиба мо­ лотком. Для армирования одной стороны фундамента длиной 6,5 м достаточно 13 и 14 витков проволоки. Сняв проволоку с остова, ее вьпягивают в спираль шагом 0,5 м. Укладьmают спи­ раль в опалубку так, чтобы ее контур имел зазор 2-3 см с доска­ ми опалубки. Это обеспечит необходимую толщину защитного слоя бетона для рабочей арматуры. Затем в спираль заводят стер­ жни продольной арматуры нижнего ряда (2 или 3 стержня, в за­ висимости от диаметра) и закрепляют их в спирали проволочны­ ми скрутками. Аналогично 2 или 3 стержня закрепляют в верх­ ней части спирали, и каркас готов (рис. 3.3.5). K~pKac также мож­ но изготовить, используя гнутые или сварные хомуты попереч­ ной арматуры. Рис. 3.3.5. Конструкция арматурного каркаса: 1 и 2 - арматура нижнего и l!Iерхнего рядов; 3 - спираль 100
  • 102.
    Если нет возможностиприобрести готовый бетон, его при­ готовление начинают с подготовки составных частей: цемента, заполнителя (песок и щебень), воды, а также несложных при­ способлений. Заполнитель не должен содержать примеси гли­ ны, иначе не получится бетон необходимой прочности. При на­ личии глины заполнитель надо промыть водой. Состав запол­ нителя должен быть следующим: примерно 40 % его общего объема - зерна размером 21-40 мм, 30 % - 11-20 мм и еще 30 % -6-10 мм. У выбранного места для бетонирования уста­ навливают ящик поблизости от опалубки. Его дно и стенки же­ лательно обить кровельным железом. Для приготовления бе­ тонной смеси хорошо использовать бетономешалку вместимос­ тью 0,25 м3 • При отсутствии электроэнергии приготавливают бетонную смесь вручную. В ящик высыпают полное ведро (оцинкованное коническое) цемента и полтора-два ведра песка. Все перемеши­ вают до получения однородной по цвету массы. Затем в смесь добавляют три ведра щебня и снова все перемешивают. Потом в смесь добавляют две трети ведра воды и еще раз все перемеши­ вают. Если смесь получилась густая, то в нее можно долить еще воды. Готовая смесь на лопате оседает, но не растекается. При­ готовленную смесь укладывают в опалубку слоями по 15 см. Для проникновения бетона в промежутки между арматурой и опалуб­ кой последнюю простукивают снаружи, одновременно штыкуя смесь. Бетонирование должно сопровождаться непрерывным на­ блюдением за состоянием опалубки. При обнаружении смеще­ ний или перекосов опалубки бетонирование надо прекратить, а опалубку исправить до начала схватывания бетона. Уложенный бетон нуждается в уходе. Через 2-3 ч после схватывания (начало твердения) бетона верхнюю открытую по­ верхность следует закрыть слоем опилок или песка. Летом при среднесуточной температуре 15ос и выше поверхность бетона рекомендуется поливать водой в течение первых 3 суток: днем - не реже чем через каждые 3 ч, ночью - не менее одного раза, а 101
  • 103.
    в последующие 7-10суток - не реже 3 раз в сутки. При темпе­ ратуре 5 0 С и ниже поверхность бетона поливать не нужно. По истечении 7-10 суток после укладки смеси бетон приобретает необходимую прочность (50 % проектной) и можно класть цо­ коль. Кладка цоколя должна быть прочной, с гладкой наружной поверхностью и расшивкой швов. Для кирпичной кладки можно использовать цементно-глиняный раствор состава 1:0,7:6,5 в объемной дозировке, то есть на 1 часть цемента нужно брать 0,7 части глиняного теста и 6,5 частей песка. Готовят его так. Снача­ ла засыпают в ящик цемент и песок и тщательно перемешивают до получения однородной сухой смеси. В другой емкости глину смешивают с водой до получения тестообразной массы. Тестооб­ разную массу кладут в сухую смесь цемента и песка и тщательно перемешивают до получения однородной массы, чтобы получить раствор требуемой густоты, в смесь добавляют воду. Глиняная добавка делает раствор более пластичным. Чтобы кладка цоколя бьmа качественной, по углам фунда­ мента к доскам наружной опалубки прикрепляют деревянные рейки-порядовики, размеченные по высоте через 75 мм (толщи­ на кирпича 65 мм плюс толщина шва 10 мм). Верх первого ряда фиксируют шнуром-причалкой. По шнуру проверяется горизон­ тальность кладки ряда. По мере кладки рядов шнур-причалку нужно перемещать вверх. Если данная технология кладки цоколя окажется все же сложной для исполнения, вместо шнура-причалки можно при­ менять щиты опалубки, снятые с внутренней стороны фундамен­ та. Их опирают на рейки-порядовки так, чтобы на 25 мм пере­ крывалась верхняя плоскость фундамента и обеспечивалось раз­ мещение кладки по оси фундамента. Кладку надо начинать с угла и постепенно перемещаться влево от уложенной части ряда наружных стен, предусматривая перевязку рядов в местах примыкания наружной степы к внут­ ренней. Перед укладкой кирпич следует подержать в воде 2-3 мин. 102
  • 104.
    Правильность укладки кирпичаможно проверить с помо­ щью прямоугольного треугольника. Длинный катет треугольни­ ка должен находиться на плоскости кирпича, короткий - у опа­ лубки. Кладку бутовых фундаментов ведут в следующем поряд­ ке. Первый ряд камней кладут на дно траншеи, причем для него выбирают наиболее крупные и толстые постелистые камни. Этот ряд кладут без раствора, каждый камень осаживают ударами трам­ бовки так, чтобы он плотно лежал на грунте. Образовавшиеся между камнями зазоры заполняют щебнем, при этом стараются, чтобы поверхность первого ряда была по возможности ровной. На первый ряд укладывают слой раствора и по нему выкладыва­ ют второй ряд камней, также стараясь подогнать их плотнее друг к другу и защебенить зазоры, но обязательно с перевязкой швов первого и второго рядов. Для перевязки камней в рядах кладки их укладывают попеременно длинной стороной вдоль или попе­ рек стены. При этом если в первом ряду камень уложен продоль­ но, то в следующем ряду - поперечно. Перевязка камней в ря­ дах делается как в поперечном, так и в продольном направлении, уложив второй ряд плиты, заливают его сверху раствором, раз­ веденным до густоты сметаны, (рис. 3.3.6). При этом надо со- а б Рис. 3.3.6. Фундаменты из постелистого бута: 0- 8 ряду кладки камни одной высоты; б - кладка из камней разной 8ЫСОТЫ 103
  • 105.
    блюдать горизонтальность рядови обеспечить перевязку швов. Кроме того, следует стараться укладывать наиболее постелис­ тые и крупные камни в углах и снаружи фундамента. Разумеет­ ся, что на кладку идут чистые, без грязи, хорошо смоченные кам­ ни. Для кладки бута применяют растворы на портландцементе марки 300-400 в пропорции от 1:3 до 1:4 (цемент: песок); воз­ можно применение цементно-известкового раствора в пропорции: 1 часть цемента, 1 часть серой извести и 6-7 частей песка. Если нижние ряды приходится класть ниже горизонта грунтовых вод на слабом грунте, полезно, положив насухо первые два ряда, за­ лить их раствором из 1 части портландцемента на 3 части песка и на таком же растворе положить следующие 2-3 ряда камней, после чего применять более тощий раствор, т .е. с большим со­ держанием песка. Камни в кладке необходимо укладывать горизонтальными рядами как можно плотнее и тщательно перевязывать. Надо сле­ дить, чтобы не образовывались плоскости, по которым может произойти скольжение части кладки, от чего фундамент может разрушиться (рис. 3.3.7). Рис. 3.3.7. Неправильная кладка фундамента из булыжника: 1- плоскости, ПО которым может.произоЙти разрушение кладки 104
  • 106.
    Булыжный камень малопригоден для кладки фундамен­ тов. Из такого камня рекомендуется возводить фундаменты врас­ пор с траншеей (давать значительное уширение подошвы для обес­ печения устойчивости кладки), пр;именять более жирный раствор более тщательно выполнять расщебенку швов. Естественно, что на кладку из булыжника раствора уходит больше, чем на кладку из рваного камня или постелистого бута. Вьmолвеиие бутобетонных фундаментов в отличие от бу­ товых требует устройства опалубки. В непучинистых грунтах роль опалубки могут вьmолнять аккуратно отрьпые вертикальные стен­ ки траншей и ям. В этом случае для сглаживания неровностей и предотвращения осыпания грунта в процессе производства работ целесообразно закрьпь боковые стены траншей и ям старыми кусками толя, рубероида или пергамина. В пучинистых грунтах стенки бутобетонных фундаментов (так же, как и бутовых) для уменьшения сил бокового сцепле­ ния, возникающих при сезонных деформациях грунта, делают наклонными. В отличие от бутовых фундаментов, где каждый камень под­ бирают и укладьmают на растворе на свое место, в бутобетонных фундаментах камни послойно утапливают в раствор без особой сортировки по размеру и перевязки рядов. При длительной паузе в бетонировании (более 6 ч) верхний ряд камней наполовину не заливают раствором. Пластичность раствора должна обеспечи- . вать свободное утапливание камней без их трамбования. Распа­ лубку фундаментов производят не ранее чем через неделю. На­ ружные поверхности после снятия опалубки затирают цемент­ ным раствором и покрывают горячим битумом. При выполнении работ по сооружению фундаментов и цо­ кольной части здания рекомендуется следующее: 1. Во избежание накопления излишней влаги в траншее и об­ рушения ее стен рытье траншей и ям начинать после завоза на участок фундаментных блоков, камня, древесины или всех компонентов бетона и железобетона, необходимых для из­ готовления фундамента. 105
  • 107.
    2. После укладкиблоков в траншею или снятия опалубки пос­ ле бетонирования фундамента тщательно засыпать и уплот­ нить пазухи грунтом. 3. После окончания работ по возведению фундамента и цоколя выполнить планировку вокруг здания, обеспечивающую от­ вод воды от здания. 4. Не оставлять малозаглубленные (незаглубленные) фунда­ менты ненагруженными на зимний период. Если это нельзя выполнить, то вокруг фундамента необходимо сделать теп­ лоизоляционное покрытие из опилок, шлака, керамзита, со­ ломы, шлаковаты и т.п. Это требование не распространяет­ ся на непучинистые грунты. 5. Не допускается, за исключением основания из неводонасы­ щенного песка крупностью не менее средней, укладывать фундаменты на промерзший грунт. В зимнее время фундаменты можно возводить только в слу­ чае глубокого залегания подземных вод с обязательным оттаива­ нием мерзлого грунта основания и засьшкой пазух непучинис­ тым грунтом. Соблюдая эти рекомендации, вы избавите себя от неприят­ ных ХЛОПОТ, связанных с неравномерным деформированием фун­ дамента. 3.4. Заглубленные сооружения к заглубленным сооружениям, устраиваемым на участке, относятся погреба, подвалы, подземные гаражи, водосборные во­ доемы, смотровые и выгребные ямы. Наиболее необходимым в хозяйстве заглубленным сооружением является чаще всего по­ греб. Погреб может располагаться под зданием и вне его. Если погреб предусмотрен в составе здания (тогда его называют под­ валом), его стены, как правило, совмещают с ленточными фун­ даментами несущих стен. При столбчатых фундаментах возможно 106
  • 108.
    устройство подвала круглогов плане. Для предотвращения подъе­ ма стены при пучении грунта стены подвала с наружной стороны выполняют наклонными. Толщина стен прямоугольного в плане подвала зависит от материала, глубины подвала и длины его сте­ ны в свету (табл. З.4.1). Таблица 3.4.1 Глубина по.ц.ала Минимал.Н8.11 толщина стен IIOДllалn (СМ) Кладка (расСТОlIНие от при длине стеи.t стен IШnНИРОllOчноii до3м 3-4м подаала отметки до пола под.ала), м В.ерху Внщу Вlерху ВНIIЗУ Бутовая 2 60 80 75 90 2,5 60 90 75 105 Бутобетонная 2 40 50 50 60 2,5 40 60 50 80 Бетонная моно- 2 20 30 25 40 литная 2,5 20 40 25 50 Из бетонных 2 25 40 30 50 блоков 2.5 25 50 30 60 Кирпичная 2 38 64 51 77 2.5 38 77 51 90 Примечание: При армировании толщина стен подвала может быть уменьшена. Наиболее простая конструкция погреба вне ЗДalIИЯ - полу­ заглубленпый погреб (рис.З.4.1). Его сооружают при близком расположении от поверхности горизонта грунтовых вод, и он тре­ бует минимального расхода строительных материалов. Такой погреб имеет каркасную конструкцию из тонкомерных бревен или подтоварника. Если уровень грунтовых вод находится более чем на 0,5 м ниже поверхности будущего пола, пол делают из утрамбованной глины с добавлением щебня или гравия. При длительной эксп­ луатации погреба на полу устраивают цементно-песчаную стяж­ ку. В качестве теплоизоляции, покрьmающей кровлю, использу­ ют местный грунт с добавлением торфяной крошки или керам­ зита. Обсыпку ведут снизу толщиной 0,4-0,5 м. Поверхность обсыпки укрепляют дер.ном или посевом тpaв~ В северном торце 107
  • 109.
    Рис. 3.4.1. Разрезполузаглубленного погреба: 1 - грунтовая засып­ ка; 2 - вентиляционный короб; 3 - гидроизоляция; 4 - обрешет­ ка; 5 - дверь; 6 - стойки; 7 - лежни; 8 - пол погреба устанавливают утепленную дверь с крытым тамбуром для дополнительной защиты. В верхней части крыши погреба размещают короб вытяжной вентиляции. Вокруг погреба в полу­ метре от нижней кромки засыпки роют канаву глубиной 0,3 м с продольным профилем, обеспечивающим отвод атмосферных и талых вод. В случае, когда к постройке погреба приступают после стро­ ительства здания, целесообразнее делать заглубленный погреб под какой-либо сооружаемой постройкой, хозблоком, кухней, га­ ражом, верандой и Т.п. (рис. 3.4.2). Тогда стены погреба являют­ ся фундаментом постройки, а сама постройка обеспечивает необ­ ходимую теплоизоляцию. Погреб имеет вход из постройки. устройство такого погреба начинают с отрывки котлована, размеры которого увеличивают на 0,6 м по каждой стороне в срав­ нении с габаритами будущей хозяйственной постройки. После 108
  • 110.
    Рис. 3.4.2. Разрезпогреба под гаражом (летней кухней, 8ерандой): 1 - теплый пол; 2 - стены строений; 3 - стена погреба; 4 - обмаз­ ка из битумной мастики или глины; 5 - обратная засыпка пазухи; б - несущий пол; 7 - технологический дренаж; 8 - оклеенная гидроизо­ ляция; 9 - защитный слой; 10 - штукатурка; 11 - отмостка; 12- гидроизоляция стены строения того как котлован вырыт, на зачищенное от остатков рыхлого грунта, спланированное и утрамбованное дно насыпают щебень, гравий, кирпичный бой или песок толщиной 10-12 см. Дренирующий слой трамбуют и проливают горячим битумом или застилают пол водонепроницаемым материалом (пергамин, пленка, плотная бумага и т.п.). Пол выполняют из монолитного бетона толщиной 20-30 см, стены - из сборного бетона или кир­ пича толщиной 30-50 см. С внешней стороны стены обмазывают мастикой, с внутренней - выполняют оклеечную гидроизоляцию. Гидроизоляцию защищают стенкой в 1/2 кирпича, которую затем штукатурят. После возведения стен засыпают местным грунтом с 109
  • 111.
    :: ......... ...:.: .- , ..... .,, .... .. ·1 1·1 е. : 2 :.. ;' ::': з:-:'~....;-:.-;f,f.;~~ '. .': 4:'':' I :., 5:'::О.' .:. 6' ::: ::1 '::: 7:~' ~ - : } : { . ( • О~·JO,JJ.~ ......,.: :'::I~.. 020 . . ..• '.' .'.....• . . . . . ::) ..::....~.: .- : .::: . . . _.-: 1. -: . . . . • ' : _. е... ' ..:.- .. , .. . . .-:. Рис. 3.4.3. Конструкция погреба послойным трамбованием пазух. Поверх засыпки пазух укладьmа­ ют отмостку. Перекрытие погре­ ба или пол хозяйственной пост­ ройки, делают двойным с }7еп­ лителем . Наиболее сложно постро­ ить погреб при высоком распо­ ложении уровня грунтовых вод (рис. 3.4.3). В этом случае кот­ лован отрывают с постоянной откачкой воды. По мере заглуб­ ления стены котлована закреп­ ляют досками. При достижении необходимой глубины на дне выполняют технологический дренаж и устанавливают техно­ логические дощатые стены на расстоянии 150-200 мм от щи­ тов крепления стен котлована для выполнения пристенного дренажа. при I!IbICOKOM уровне грунтовых I!IOA: 1 - ограждение стены кот­ лована; 2 - дренажный слой; 3 - несущие стойки; 4 - плос­ кий шифер; 5 - гидроизоляция; 6 - бетон; 7 - арматура На дно и технологические стены вплотную друг к другу гвоздями пришивают листы плоского шифера. Из промежутка между ограждениями насосом откачивают поступающую воду. На уложенные листы шифера укладьmают рулонную гидро­ изоляцию. Затем из монолитного железобетона выполняют пол и стены погреба. После набора прочности бетоном засыпают пе­ сок в промежуток между ограждениями. Перекрытие погреба располагают выше горизонта грунто­ вых вод, и поэтому оно к.онструктивно не отличается от ранее рассмотренного. Внутреннюю поверхность погреба покрьmaют или выкладывают пористым материалом: кирпичом, штукатуркой, деревом, обмазкой из глины. Это обеспечивает ~остоянство тем- 11 О
  • 112.
    пературы в погребе.Ни в коем случае не следует покрывать сте­ ны пленкообразующими красками и эмалями. Для окраски мож­ но использовать известь либо мел Эффективная эксплуатация погреба в большой степени за­ висит от качества вентиляции. Размещая вводы вентиляции не­ обходимо иметь ввиду, что трубу вытяжной вентиляции следует располагать возможно дальше от двери, люка или лаза поrpеба, которые при необходимости в этом случае можно использовать для усиления приточной вентиляции. Вентиляция считается удовлетворительной, если не более чем через 2 часа исчезает внесенный в закрытый поrpеб посто­ ронний запах. Если при нормально работающей вентиляции потолок и сте­ ны продолжают оставаться сырыми, а в морозные дни на них появляется иней, это свидетельствует о недостаточной теплоизо­ ляции. В этом случае прежде всего утепляют засыпное перекры­ тие подсыпкой керамзита, торфяной крошки, древесного угля, шлака и т.п. или заменой утеплителя. Для утепления использу­ ют также соломенные маты и минеральную вату. Наиболее часто промерзaIOТ стены поrpеба, когда они со­ вмещены с фундаментом постройки. В этом случае расстилка матов и обвалование снегом цоколя сооружения по внешнему периметру иногда позволяют устранить промерзание. При капитальном утеплении поrpеба с внутренних сторон промерзающих стен поrpеба кладут кирпич. Если инея нет, клад­ ку делают толщиной в 1/2 кирпича. При наличии инея кладку делают толщиной в кирпич. Утепление может быть сделано так­ же с помощью минеральной ваты толщиной 5-7 см с последую­ щей зашивкой обрезными досками. Если после сооружения погреба в него поступает вода, это свидетельствует о повреждении или некачественном выполнении гидроизоляции. Отремонтировать гидроизоляцию практически не­ возможно, поэтому ее необходимо делать заново. Другие заглубленные сооружения строят по технологии по­ гребов. При строительстве выrpебной ямы стены ее выводят на 111
  • 113.
    0,15-0,20 м вышепланировочной отметки с последующей об­ сыпкой и устройством отмостки. Такая конструкция защищает яму от наполнения талыми и ливневыми водами. Иногда для сбора ливневых и талых вод, подогрева водопроводной воды, используемой при поливе и других технических нужд, на участ­ ке устраивают водосборные водоемы. Стенки водоема могут быть вертикальными в глинистых грунтах или пологими. Глубина водоема - 0,5-0,7 м. Во избежание подтопления окружающей территории в водоеме устраивают гидроизоляцию обычно из слоя глины, покрытого полиэтиленовой пленкой. Пленку укладыва­ ют в три слоя на предварительно утрамбованный слой глины и защищают слоем гравия или щебня частицами размером 50- 100 мм с проливкой цементно-песчаным раствором при его соот­ ношении 1:4 или 1:6. 3.5. Ремонт, восстановление и усиление фундаментов За период эксплуатации здания и усадебной постройки они претерпевают ряд изменений: возникают надстройки и пристрой­ ки, разрушаются фундаменты, осадка или подъем некоторых из них приводят К перекосам . ПРИЧIlllаМlI HepaBHoMepHыx деформаций здания могут быть дополнительные нагрузки на отдельные фундаменты при выпол­ нении пристроек или надстроек, повышение (реже - понижение) уровней подземных вод, разрушение от гнили деревянных или нарушение кладки кирпичного фундаментов, а также осадки, вызванные оттаиванием после замерзания основания малозаглуб­ ленных фундаментов. Часты случаи HepaBI.I0MepHoro подъема свайных фундаментов при промерзании пучинистых грунтов. Чаще всего возникает необходимость замены деревянных фундаментов (стульев). Они подвергаются активному гниению в зоне деременной влажности (на участке 30-40 см ниже поверх­ ности грунта). Сгнившие фундаменты обнаруживают простуки- 112 -1
  • 114.
    ванием топором илиострием лопаты, которые разрушают сгнив­ шую древесину. Фундамент меняют, если он сгнил наполовину своего первоначального диаметра. На место сгнившего ставят такой же деревянный или чаще выкладьmают кирпичный или каменный столб. Можно изготовить и бетонный фундамент. Глу­ бина установки нового фундамента должна быть не менее глуби­ ны заменяемого. , До начала работ все необходимые материалы и приспособ­ ления должны быть доставлены к месту работ. В местах, где намечена замена стульев, разбирают часть цоколя здания и осво­ бождают стул от примыкающих к нему конструкций. Затем на расстоянии 0,7-1 м от, заменяемого стула делают временную опору под нижний венец здания с одной или двух сторон стула. Обычно времеННЫJvIИ опорами являются деревянные клетки - го­ родки, иногда это - короткие стулья. Вначале вывешивают домкратом или рычагом (рис. 3.5.1) стены настолько, чтобы складный венец вышел из шипов фун­ даментных стульев, и в таком положении его поддерживают, фиксируя положение рычага или домкрата. При этом под венец подводят временные опоры и передают на них нагрузку, напри­ мер, заклинивая пространство между венцом и верхом времен­ ной опоры. Затем вокруг заменяемого стула отрывают яму, Н, вынув старый стул, устанавливают новый, длина которого боль­ ше на осадку старого стула, после чего опускают стену так, что- Рис. 3.5.1. Схема ВЫ8ешивания стены рычагом 113
  • 115.
    бы шип новогостула попал в rnездо венца. Завершая работу, восстанавливают забирку. При замене стульев как бы осторож­ но и аккуратно ни выполняли работу, часто трескается штука­ турка стен и потолков, повреждаются дымоходы, перекашива­ ются окна и двери, так что деревянный стул лучше заменять на каменный или бетонный, чтобы в дальнейшем избежать этих работ. При необходимости замены части каменного или кирпич­ ного фундамента уширен ия или углубления его со стороны ос­ лабленного участка фундамента роют шурф, затем разбирают слабую кладку и заменяют ее новой из тех же или более проч­ ных материалов. При значительном разруше.нии кладки пере­ кладывают весь фундамент. При повышении нагрузки на фун­ дамент увеличивают площадь его подошвы (рис. 3.5.2). Реже делают его более глубоким (рис. 3.5.3). Последний вид работ требует специальной подготовки, поэтому для выполнения си­ лами индивидуального застройщика не рекомендуется. Наиболее сложна сплошная замена старых фундаментов кир­ пич~ого или каменного здания, разрушившихся со временем, но­ выми. Она может быть выполнена как без изменения ширины и Рис. 3.5.2. Усиление существующих фундаментов увеличением площа­ ди подошвы (различные варианты): 1 - заклинка; 2 - поперечник; 3 - НОl!lая кладка; 4 - уплотненный грунт , 114
  • 116.
    о б в Рис.3.5.3. Этапы подведения фундамента: о - подведение балок-об­ вязок и проходка шурфа с креплением; б - разборка старого фунда­ мента с креплением, проходка горизонтальной выработки; в - возве­ дение нового фундамента глубины заложения фунд~ента, так и с одновременным ушире­ нием подошвы и увеличением глубины заложения. Основные приемы подводки IIОВЫХ фундаментов взамен разбираемых старых состоят в следующем. В зависимости от со­ стояния фундаментов и уровня подземных вод подлежащий за­ мене фундамент разбивают на участки длиной 1-2 м и устанав­ ливают последовательность выполнения работ. Затем в намечен­ ном месте отрывают шурф с креплением стен, разбирают старый фундамент и выкладывают взамен его новый. Подводку фунда­ мента следует начинать с наиболее слабых участков или под сте­ нами, наименее ослабленными проемами. При этом новые учас­ тки грунта для опирания фундамента (в случае уширения подо­ швы) надо уплотнить, чтобы повысить его несущую способность, т.е. выровнять ее с несущей способностью грунта, обжатого мас­ сой старого фундамента. Простейший способ - втрамбовьmать щебень слоями 5-10 см до тех пор, пока он не будет при ударе 115
  • 117.
    трамбовкой разбиваться. Послеуплотнения грунта выполняют новую кладку с тщательным соединением в штрабах со старой кладкой. Вместо кладки можно уложить бетон, предварительно установив опалубку. От участка, где новый фундамент подведен, последующий участок должен отстоять не менее чем на два участка, на кото­ рых подводка не начиналась или уже закончена и кладка или бетон приобрели необходимую прочностq. В случаях, когда над усиляемым фундаментом расположе­ ны недостаточно прочные стены, их усиливают подведением ба­ лок-обвязок (см. рис. 3.5.3). Эти балки заводят в пробитые в сте­ нах горизонтальные штрабы с последующей заливкой простран­ ства между кладкой и стенкой балки цементно-песчаным раство­ ром состава 1:3 и забивкой полусухим цементным рас';Гвором со­ става 1:1 или 1:2 зазора между верхней полкой балки и нижней плоскостью штрабы. Балки также заводят поочередно, чтобы не ослабить и без того слабые стены с двух сторон штрабами. Что­ бы балки не выворачивало, на них сверху на расстоянии 2-3 м укладывают в пробитые через стену сквозные отверстия попе­ речные балки, приваривая их к верхним полкам балок-обвязок с двух сторон и омоноличивая отверстия. Разбирая старую кладку, сортируют бут, кирпич и оценива­ ют их пригодность для последующего использования в фунда­ менте. Простейший путь - оценка по твердости. Кирпич, бут годятся для вторичного использования, если при проведении по их ровной поверхности острым осколком асбестоцементной тру­ бы или шифера на поверхности не останется ярко выраженного рельефного следа. При этом визуально устанавливают, чтобы на ложковых гранях кирпича не бьmо трещин глубиной более 30 мм. При равномерных и неравномерных осадках мелкозаглуб­ ленных фундаментов, в основном связанных с оттаиванием про­ мерзающего в основании даже слабопучинистого грунта, необхо­ димо после исправления положения здания путем подъема про­ севшей части и наращивания фундамента принять доступные меры по предотвращению попадания воды в основание фунда- 116
  • 118.
    мента. Для этогозакладьmают дренажи, устраивают отмостки и покрытия, сеют траву и т.п. Уменьшает последующие осадки и теплозащита грунта. Если деформации здания возникли от неравномерноro подъе­ ма свай, вызванного морозным пучением грунта, то после ис­ правления положения здания путем наращивания мало подняв­ шихся или срубкой (спиливанием) голов сильно поднявшихся свай, необходимо принять меры к защите грунта от промерза­ ния, ибо иначе неравномерное пучение будет продолжаться. Для этого грунт защищают теплоизоляцией либо подогревают, укла­ дьmая в основание около свай коллектор из труб, по которым пропускают горячую воду или пар. В качестве теплоизоляции можно применять керамзит, солому, опилки, шлаковату и дру­ гие материалы. При невозможности предотвращения промерза­ ния грунта уменьшают активную зону его воздействия, для чего вокруг сваи разрабатьmают яму на 2/3 глубины промерзания (иног­ да это придется делать зимой или глубокой осенью) последова­ тельно подмораживая грунт, чтобы предотвратить поступление грунтовой воды; сваю многократно покрьmают битумом или сма­ зьmают не~амерзающей смазкой, оборачивают одним или двумя слоями рубероида или пленкой, причем между слоями также размещают смазку, а разработанную вокруг сваи яму засыпают непучинистым грунтом. После исправления положения здания, завершения работ по усилению и восстановлению фундаментов, вьmолняют космети­ ческий ремонт здания.
  • 119.
    Глава 4 КОНСТРУКЦИИ надземНыхчастей зданий Выбор конструкций малоэтажных гражданских здаllllЙ обусловлен рядом факторов: - наличием местных строительных материалов; - традициями строительства в данной местности или насе- ленном пункте; - квалификацией работников и используемыми строитель­ ными механизмами; - финансовыми возможностями застройщика. В конструкции здания определяющим является материал и конструкция стен. При выборе материала стен, помимо перечис­ ленных выше факторов, следует учитывать также долговечность конструкции, санитарно-гигиенические и теплотехнические ка­ чества. Для гражданских зданий характерны следующие KOIICTPYK- тивиые системы: - со стенами из бреJ3ен и бруса; - со стенами из штучных каменных материалов (кирпича, камня, керамических блоков, легкобетонных и ячеисто­ бетонных камней и др.); - со стенами из деревянного каркаса и заполнением из мес- 118
  • 120.
    тных материалов илииз деревянных панелей (щитов) ком­ плектной заводской поставки, нередко стены таких зда­ ний обкладывают (облицовывают) снаружи кирпичом; - со стенами из монолитного шлакобетона, керамзитобето­ на; - со стенами из грунтовых материалов (саманные, грунто­ набивные); - со стенами из блоков, изготовленных с использованием промышленных отходов (зола, шлаки). При строительстве с привлечением специализированных под­ рядных организаций могут возводиться зда.ния из крупных пане­ лей и крупных блоков, выпускаемых домостроительными пред­ приятиями. 4.1. СтенЬ! Стены являются основным элементом здания, определяю­ щим его качество. Они должны обладать необходимой прочнос­ тью, долговечностью, звукоизоляцией, удовлетворять требова­ ния по тепловой защите и оrnестойкости, обеспечивать архитек­ турную выразительность. По расположению в здании стены подразделяются на на­ ружные и внутренние. Толщина наружных стен зависит от кли­ матических условий и применяемых для устройства стен матери­ алов. Толщина внутренних стен определяется требованиями проч­ ности и звукоизоляции. Рубленые бревенчатые и брусчатые стены обладают хоро­ шими санитарно-гигиеническими качествами. Они теплые, проч­ ные, малозвукопроводные. Их недостаток - невысокая оrnестой­ кость. Рубленые бревенчатые и брусчатые стены снаружи можно обшивать строгаными досками типа «вагонка». Между обшивкой и стеной следует предусматривать вентилируемый воздушный зазор размером не менее 19 мм. Верхняя часть воздушного зазо- 119
  • 121.
    ра должна выходитьпод кровлю или карниз таким образом, что­ бы между облицовкой и кровлей, карнизом оставался зазор 20- 25 мм. Наиболее подходит для рубленых стен древесина, заготов­ ленная в зимнее время. Она меньше подвержена усушке, загни­ ванию и короблению. Наружные стены выполняют из бревен древесины хвойных пород толщиной не менее 220 мм в верхнем отрубе, внутренние - из бревен .толщиной 200 мм в верхнем отрубе. Бревна для на­ ружных стен опиливаются только с внутренней стороны, для внут­ ренних - с двух сторон. Если наружная обшивка стен не предус­ матривается, следует обтеской бревен привести их к одному диа­ метру по всей длине с разницей диаметров вершины (в отрубе) и комля 2-3 см. Устойчивость здания обеспечивается перевязкой продоль­ ных и поперечных стен, устройством переруба в поперечных на­ ружных стенах, а также сплачиванием бревен между собой (рис. 4.1.1). Бревна внутренних и наружных стен сплачиваются между собой по всей длине венца пазами шириной 12-14 см для на­ ружных стен, 10 см - для внутренних стен. Форма паза должна соответствовать очертанию поверхности нижележащего бревна. Пазы между бревнами конопатят паклей (рис. 4.1.2). Венцы бревен связываются между собой нагелями, которые располагают в каждом ряду на расстоянии 1,5-2,0 м один ОТ другого в шахматном порядке. Нагели размещают также по обе­ им сторонам проемов на расстоянии 15-20 см от их краев. Наге­ ли, изготовленные из сухой древесины, должны плотно входить в просверленные гнезда. Над нагелями оставляют зазор 10 мм для осадки бревен. В местах примыкания внутренних перегоро­ док следует обеспечить свободную осадку стен за счет устрой­ ства подвижных связей (скоб, хомутов и др.). Над оконными и дверными проемами оставляют зазоры, которые заполняют пак­ лей (см. рис. 4.1.2). 120
  • 122.
    ж 60 Простая лапа Рис. 4.1.1.Узлы и детали сопряжений бревенчатых стен: а - сопряже­ ние угла «в лапу»; б - заделка балки перекрытия в наружную стену (открытая); в - то же, в наружную стену (закрытая); г - опирание балок на внутреннюю стену; д - сопряжение наружной стены с внут­ ренней; е - разметка «лапы»; ж - сопряжение бревен по длине «в шип»; 1 - балка; 2 - бреена наружной стены; 3 - бревна внутрен­ ней стены; 4 - шип / 121
  • 123.
    а г 11 d=2ЗО d=200 д в :.167 9 10 54r е Рис. 4.1.2.Детали стен из бревен: а - карнизный узел с подшивкой; б - карнизный узел без подшивки; в - установка оконного блока; г -' порядовка стен; д - цоколь с полом но грунту; е - рубка угла стен с остатком; 1 - стропильная нога; 2 - лобовая доска; 3- подшивка; 4 - обшивка; 5 - отливная доска; 6 - доска; 7 - окон­ ная коробка; 8 - подоконная доска; 9 - наличник; 10 - пакля; 11 - наружная стена; 12 - внутренняя стена; 13 - основание пола; 14- утеплитель; 15 - фундамент; 16 - отмостка; 17 - антисептирован­ ная доска 122 I II
  • 124.
    Брусчатые стены зданийсобирают из брусьев сечением 150х150, 150х175, 150х200, 100х150 мм. Их укладьш~ют гори­ зонтально и связывают в углах вперевязку или вполдерева, на ПIип, на шпонках и т .п. Между брусьями укладывают паклю или войлок. Наружные стены при расчетной температуре наружного воз- духа _зо о с выполняют из бруса сечением 150х150 мм, при тем­ пературе наружного воздуха -400 С из бруса сечением 175х150 мм, 2О0х150 мм: Внутренние несущие стены устраиваются из бруса сечением 100х150 мм. Брусья в рядах крепят между собой деревянными нагелями диаметром 25-30 мм длиной 200-250 мм или стальными наге­ лями диаметром 12 мм, длиной 400 мм, расположенными через 1,5 м в шахматном порядке по высоте. Узлы сопряжения стен из бруса и опирания на них балок приведены на рис. 4.1.3. Нижний обвязочный брус стен крепится к стене цоколя сталь­ ными нагелями диаметром 12 мм, длиной 250 ММ. Стыки ниж­ него обвязочного бруса следует располагать только на опорных столбах фундаментов. · Для уменьшения водопроницаемости стен у каждого бруса с наружной стороны снимают фаску шириной 25-30 мм. Брусчатые и бревенчатые стены следует собирать с запасом на осадку, вызванную усыханнем древесины и усадкой материа­ ла для заделки швов. Запас должен составлять 3-50 от проект­ ной высоты стен. Через год-полтора после возведения здания брусчатые стены еще раз конопатят. Наиболее надежно защищает от продувания и атмосферной влаги обшивка брусчатых стен досками. Обшивку лучше делать горизонтально располагаемыми досками с креплением их к вер­ тикальным брускам. При строительстве деревянного здания важно обеспечить на­ дежную гидроизоляцию нижних рядов бревен или брусьев таким образом, чтобы в них снизу (от цоколя) не проникала влага, по­ скольку она вызывает гниение древесины. Для этого верх цоколя устраивают из слоя цементного раствора состава 1:2 толщиной 123
  • 125.
    2 б 3 ~2 д е в и 5 1 1 Рис. 4.1.3.Узлы сопряжения стен из бруса и опирание балок на стены: о - сопряжение внутренней стены с наружной; б - сопряжение анут­ ренних стен; в - сопряжение наружных стен в углах; г - опирание балки без прорезки стены, д - опирание балки со сквозной прорез­ кой стены; е - опирание балки-бруса со сквозной прорезкой стены; ж - опирание балки-бруса без прорезки стены; 3 - опирание балок на sнутреннюю стену «sразбежку»; и - опирание балок на анутрен­ нюю стену « встык»; 1 - брус наружной стены; 2 - брус sнутренней стены, 3 - нагель; 4 - балка; 5 - накладка 124
  • 126.
    15-20 ММ. Цементныйраствор должен быть хорошо уплотнен, тmательно выровнен и заглажен. После просыхания цементного раствора поверх него следует уложить два слоя рубероида на би­ тумной мастике и на него нижний ряд бревен или брусьев. Стены зданий с деревянным каркасом состоят из стоек се­ чением 50х100, 50х150 мм и обвязок, соединенных в рамы и уси­ ленных раскосами (рис. 4.1.4). Раскосы жесткости устанавлива- 9 Рис. 4.1.4. Конструкция деревянного каркаса здания: 1 - стойка кар­ каса 50х100 мм; 2 - доски пола; 3 - ригель; 4 - доска 50х100 мм; 5 - балки пола; б - нижняя обвязка; 7 - диагональный настил; 8 - верхняя обвязка; 9 - стропильные ноги; 10 - раскос; 11 - гидро­ изоляция; 12 - фундамент 125
  • 127.
    ют во всехуглах здания, для этого диагональные бруски раско- . сов врезаются в стойки каркаса заподлицо с их гранями. Уста­ новка раскосов крайне необходима для обеспечения УСТОЙЧивос­ ти здания под воздействием ветровых нагрузок. Жесткость кар­ каса в вертикальной плоскости может достигаться УГЛовыми рас­ косами из досок. Пространственная жесткость каркаса может уси­ ливаться повышением горизонтальной жесткости перекрытий пу­ тем устройства диагональн,?й обшивки по балкам перекрьпия. Каркас обшивают с двух сторон досками или плитными матери­ алами. Пространство между обшивками заполняют уте~лителем (минераловатными прошивными матами или плитами, фибро­ литовыми, камышитовыми или пенопластовыми плитами и дру_ гими теплоизоляционными местными материалами). плитыI утеп­ лителя устанавливают с обязательным перекрытием стыков. Для защиты от проникновения водяных паров из помещения в конст­ рукцию стены с внутренней стороны утеплителя укладывают пер­ гамин, паронепроницаемую битуминизированную бумагу или по­ лимерную пленку, по которой кладется внутренняя облицовка стен из гипсовой или гипсоволокнистой сухой (листовой) штука­ турки, фанеры, древесноволокнистых материалов. Для защитыI от продувания и влаги, проникающей в стену от атмосферных осадков, с наружной стороны утеплителя под наружную лицевую обшивку укладьmают строительную бумагу. Наружные каркаспо-фибролитовые степы зданий собира­ ют из рам, заполненных фибролитовыми плитами. Для умень­ шения воздухопроницаемости один слой фибролита укладывают между стойками каркаса, а второй крепят с наружной стороны каркаса. Между слоями фибролита укладьmают два слоя строи­ тельной бумаги. Рамы каркаса устанавливают на деревянную обвязку, зак­ репленную к антисептированным пробкам, заложенным в цоко­ ле, и связывают обвязками в уровне перекрытия. Перекрытие образуется опирающимися на поперечные стены дощатыми бал­ ками, шаг которых равен шагу стоек каркаса. 126 1
  • 128.
    Заполнение каркаса наружныхстен начинают с установки вертикальных фибролитовых плит между стойками рам. На плиты наносят цементный раствор (для уменьшения продуваемости стен), прокладываЮI; мешочную бумагу и прибивают горизон­ тальные фибролитовые плиты снаружи каркаса. Каркас внутрен­ них стен заполняют между стойками одним слоем фибролита. Наружная отдел.ка может бьггь в виде штукатурки или обшивки досками, а также обкладки лицевым кирпичом (кладки 1/2 кир­ Пllча). Такая кладка должна бьrrь связана с каркасом стен сталь­ ными полосками, заложенными в горизонтальные швы кладки и прикрепленными к каркасу. Крепления располагаlpТ на рассто­ янии 1200-1600 мм друг от друга в шахматном порядке по вы­ соте через 5-8 рядов кладки. Степы из камня долговечны, прочны, имеют высокую ог­ нестойкость, требуют минимальных затрат при эксплуатации, по­ этому ОНИ широко применяются для строительства индивидуаль­ нЫХ зданий. С учетом наличия местных материалов для возведе­ ния стен зданий применяют следующие виды кладки: кирпич­ ную, из керамических камней и искусственных легкобетонных и ячеистобетонных блоков, из природных камней правильной фор­ мы (пиленых или тесаных), смешанную (из разных каменных материалов), облегченную из кирпича и местных теплоизоляци­ онных материал,?в, а также из грунтоблоков. Каменную кладку вьmолняют на известковыI,' смешанных цементно-известковых и цементных растворах, а также на це­ ментно-глиняных растворах. Кирпичную кладку из керамического кирпича (обыкновен­ ного) пластического прессования, обладающую высокой атмос­ феростойкостью, прочностью и морозостойкостью, применяют при возведении наружных и внутренних стен зданий, стен под­ валов, дымовых труб. Кладку из керамического пустотелого или пористо-пусто­ телоro кирпича также применяют для возведения наружных и внутренних стен зданий. Хорошие теПЛОИЗОЛИРУIOщие качества 127
  • 129.
    кладки позволяют уменьшитьтолщину наружных стен на 20-25% и снизить массу на 25-30 %по сравнению со стенами, выложен­ ными из полнотелого кирпича. Керамический полнотелый кирпич полусухого прессования и керамический пустотелый кирпич непригодны для возведения фундаментов, стен подвалов. Его нельзя применять во влажных и мокрых помещениях, для устройства печей, труб, дымовых и вытяжных каналов. Кладку из пустотелых, легкобетонных и ячеист~бетонных камней применяют для возведения наружных и внутренних стен здания. Легкобетонные, ячеистобетонные и пустотелые шлако­ бетонные камни имеют хорошие теплоизолирующие свойства. Кладку из силикатного КИРШlча и камней применяют для возведения внутренних и наружных стен здания. Для конструк­ ций, которые будут находиться во влажных условиях, а также подземных частей здания, силикатные кирпич и камни не при­ меняют. Кладка нз прпродных камней и блоков правильной формы имеет высокую прочность и атмосферостоЙкость. Пиленые кам­ ни плотностью 900-2200 кг/мЗ (ракушечники, пористые туфы и др.) массой до 40-45 кг используют для кладки наружных и внут­ ренних стен. Камни твердых пород применяют для цоколей и стен под­ земных частей зданий и сооружений. Облегченная кирпичная кладка отличается тем, что с це­ лью сокращения расхода материалов часть объема кладки заме­ няется легкими теплоизоляционными материалами с более вы­ сокими теплоизоляционными свойствами. При выборе стенового материала и типа кладки следует ис­ ходить из доступности того или иного материала. Стены из кир~ича и камней могут быть сплошной кладки из одного вида каменного материала либо многослойные, состо­ ящие из нескольких слоев различных материалов. Иногда часть основного несущего материма занимают теплоизоляционными плитами из легких и ячеистых бетонов, минеральными засыпка- 128
  • 130.
    ми или оставляютвоздушную прослойку. Легкие каменные ма­ териалы и облегченные кладки не следует применять для ограж­ дения ванной, постирочной, кормокухни, сауны. Стены этих по­ мещений следует выполнять из керамического полнотелого кир­ пича пластического прессования или сплошных бетонных кам­ ней плотностью 1800 кг/м3• Камни изготовленные из бетона, содержащего топливные шлаки, также применять в таких поме­ щениях нельзя. Кирпичная и каменная кладки должны иметь продольную и поперечную перевязку швов (рис. 4.1.5). Кирпичную кладку мож­ но вьmолнять по многорядной системе перевязки, при которой тычковый ряд с целью поперечной перевязки кладки укладыва­ ют через каждые пять ложковых рядов, или по однорядной сис­ теме перевязки - ложковые и тычковые ряды чередуются. Кладку из бетонных или природных камней перевязывают, как правило, тычковыми рядами, через один или два ряда клад­ ки. Перевязку кладки из пустотелых бетонных камней с щеле­ видными пустотами осуществляют чередованием целых камней и продольных половинок. Кладку из этих камней при отсутствии продольных половинок можно выполнять только из целых кам­ ней с перевязкой тычковыми рядами, не более чем через два лож­ ковых ряда. Перевязку кладки из ячеистобетонных камней в зависимос­ ти от размеров камней можно выполнять в один камень ил:и че­ редованием в рядах целых камней и продольных половинок. При необходимости повышения термического сопротивле­ ния кирпичных стен сплошной кладки с многорядной перевяз­ кой допускается выполнение кладки с уширенным швом шири­ ной не более 50 мм. Уширенный шов заполняется теплоизоля­ ционным материалом (шлаком, трепелом, керамзитом). Кладку из бетонных камней также можно выполнять с уши­ ренным швом шириной не более 40 мм. При возведении стен над дверными и оконными проемами делают перемычюl' перекрываемые сборными элементами или кладкой, выполненной по особым правилам (рис. 4.1.6). Послед- S KOHC'IР 0II10Э r :1.01 129
  • 131.
    б ~---.. 0,750 9{ ~ 10{ 9 { 10{ б 7 9 5 з 0,750 -г 8 4 б 7 в 0.750 ~ -0,150 _Г- б 7 , Рис. 4.1.5.Много­ рядная перевязка кладки стен из кир­ пича и легкобетон­ ных камней: а - из кирпича; б - из лег­ кобетонных блоко!; в - из кирпича с уширенным WIIОМ; г - аксонометрия кладки с проемом; 1 - несущая железобетонная перемычка; 2 - ненесущая железобе­ тонная перемычка; 3 - apMaTypHb,le стержни в слое раствора; 4 - кладка стены; 5 - балка перекрытия; б - гидроизоляция; 7 - цоколь; 8- теплоизоляция; 9 - тычковый ряд кладки; 1О - ложковый ряд кладки 130
  • 132.
    По 11-11 в 111 По111-111 Рис. 4.1.6. Кирпичные перемычки: 0- рядоsая; б - лучковая; в - клинчатая; 1 - арматура, не менее 5 прутков диаметром 6 мм 131
  • 133.
    ние устраивают ввиде рядовых перемычек с укладкой под ниж­ ние ряды прутков стальной арматуры в слое раствора. Такие пе­ ремычки выкладьmают по заранее сделанной опалубке из досок. Арматурные стержни перемычки надо пропускатъ на 1,5-2 кир­ пича за грань проема и загибать вверх в шов между кирпичами. Применяют также лучковые и клинчатые перемычки. Их также возводят по заранее устаl;lовленной опалубке, укладьшая кирпи­ чи на ребро или тычками с уширением швов в верхней поверхно­ сти. Укладку кирпичей ведут одновременно с левой и правой сто­ рон.к замку. После возведения кирпичные перемычки вьщержи­ вают на опалубке в течение сроков, указанных в табл. 4.1.1, за­ тем перемычки раскружаливают (снимают опалубку). Таблица 4.1.1 НаиБОЛloшие пролетw переМlolчек Сроки раскружалиаани переМlolчек (а Марки L,M днх) при температуре не ниже +IOC растаора клинчатwх рДО...IХ клинчаТlolХ лучкоаwх рДО...Iх. и ЛУЧКОlwi 4 - 1,25 1,75 - 21 10 - 1,50 2,00 - 14 25 2,00 2,00 3,00 14 7 50-100 2,25 2,25 3,50 10 5 Применение в наружных кирпичных и каменных стенах об­ легченной кладки с эффективными плитными утеплителями или минеральными засьшками повышает термическое сопротивление стен, что позволяет уменьшить расход топлива на отопление зда­ ний и сократить расход кирпича и цемента по сравнению с расхо­ дом этих материалов в стенах сплошной кирпичной кладки. По сравнению со зданиями, в которых наружные стены выполнены сплошной кирпичной кладкой толщиной 51-55 см, расход кир­ пича и цемента уменьшается на 25 %. Применяют каменные стены облегченной конструкции с го­ ризонтальными кирпичными диафрагмами, а также стены ко­ лодцевой кладки. Можно использовать и облегченную кладку с облицовкой теплоизоляционными плитами или кладку с уши- 132
  • 134.
    ренными швами. Участкистен, у обреза цоколя, над проемами и в местах опирания перекрытий - из сплошной кирпичной клад­ КИ в 2 ряда. Облегчеппая кирпичпо-бетовваякладка состоит из двух сте­ нок толщиной 1/2 кирпича и легкого бетона, укладываемого меж­ ду ними (рис. 4.1.7). Стенки связывают тычковыми рядами, за- а е ~н i.%. ;:3 @ е 1 ~!/ 2 1- ~ :;;;;:1 / з 1- KoI-1 ~ r- ........ --l- I-i!'L.1- ,/ t:::!.b..c:: з б 2.JЗ~~1 UgjJ Ц12о. PU Рис. 4.1.7. Облегченная кирпично-бетонная кладка стен: а - с гори­ ЗОНТaJlЬНЫМИ диафрагмами из тычковых кирпичей, расположенных 8 шахматном порядке; б - то же, расположенных в одной плоскости; в - аксонометрия кладки; 1 - кирпич; 2 - легкий бетон; 3 - шту­ катурка lЗЗ
  • 135.
    ходящими в бетонна 1/2 кирпича и располагаемыми через КаЖ­ дые три или ПЯТЬ ложковых рядов кладки. Тычковые ряды вы­ ПОЛНЯЮТ в одной плоскости или вразбежку в шахматном ПОРЯДКе в зависимости от принятой толщины стены. Можно СВЯзьmать продольные стенки и отдельными кирпичами, укладываемыми в продольных стенках тычками через два ряда по Высоте и через два кирпича, уложенных ложками, по длине. Стены возводят поясами, высота которых определяется распо­ ложением тычковых рядов. Если тычковые ряды размещают в од­ ной плоскости, кладку начинают с тычкового ряда. Затем выклады­ вают два ложковых ряда сначала наружной, потом ВНУТРeIШей вер­ сты. Промежуток между стенками заполняют легким бетоном. При расположении тычковых рядов вразбежку ВЫКЛадыВа­ ют сначала наружную тычковую версту и внутреннюю ЛОЖКQ­ вую, затем - два наружных и два внутренних ложковых ряда. После этого пространство между вьmоженными рядами запол­ няют бетоном. Кл~ с уширеНными швами применяют при возведении стен из кирпича или легкобетонных камней (рис. 4.1.8). Уши- а б в г е @ 2 1 6 3 3 7 1 1 1 1 3 4 4 5 3 Рис. 4.1.8. Кладка кирпичных стен с утеплением и воздушными пра­ спойками: а - утепление в уширенном шве и с металлическими связя­ ми; б - с воздушной прослойкой И кирпичными связями; в - утепле­ ние с внутренней стороны; г - утепление с наружной стороны; 1- кирпич; 2 - металлические связи; 3 - штукатурка или гипсокартон­ ные листы; 4 - теплоизоляционные плиты; 5 - воздушная проспойка; 6 - наружная оБЛИЦО8ка; 7 - деревянные бруски 134
  • 136.
    ренный шов обычнорасполагают ближе к наружной поверхнос­ тИ стены. Его заполняют неорганическвми теплоизоляционны­ ми материалами или раствором (если кладку выполняют на лег­ ких растворах, изготавливаемых из пористых заполнителей). Кирпичная кладка с оБJПЩОВКОЙ теПЛОИЗОЛЯЦИОIПIЫМII пли- , тзми имеет толщину 1, 172 и 2 кирпича (см. рис. 4.1.8). Стену утепляют плитными теплоизоляционными материалами, кото­ рые устанавливают либо вплотную к кладке, либо с отступом от нее, создавая воздушную прослойку между кладкой и плитами. Способы крепления плитного утеплителя к кирпичной кладке зависят от материала плит и их размеров. При расположении утеплителя снаружи необходимо защитить его от атмосферных воздействиЙ изолирующим экраном - облицовкой или штука­ туркой. Облегченная колодцевая кладка состоит из двух продоль­ ных стенок толщиной 1/2 кирпича каждая, соединенных между собой по длине поперечными стенками толщиной 1/2 кирпича (рис. 4.1.9). Кладку поперечных стенок перевязывают с продоль­ ными стенками через один ряд по высоте. Поперечные стенки располагают через 650 - 1200 мм. Расстояние между продоль­ ными стенами зависит от общей толщины стены, обусловленной расчетными теплотехническими параметрами, и может состав­ лять 140 - 340 мм. Пустоты (колодцы) в кладке заполняют термоизоляционны­ ми ~атериалами; шлаком, пемзой, туфовым и ракушечниковым щебнем, другими материалами минерального происхождения. Материал засыпки необходимо просушить и просеять через сито с ячейкой размером 5 мм. Фракции менее 5 мм употреблять для засыпки не следует. Засыпку производят слоями толщиной 10-15 см и тщательно уплотняют штыкованием и трамбовани­ ем, При возведен~и стен облегченной конструкции особое вн;и­ мание следует обратить на соблюдение толщины швов (10 мм), тщательность их заполнения и расшивки. Расшивку нужно про­ изводить в свежей кладке, придавая шву выпуклую форму. 135
  • 137.
    а 3 2 r- 0,750 Ф 7 7 6 8 9 12 -0.1500-0,150 ~ 9 Ф Рис. 4.1.9. Облегченная колодцевая кладка кирпичных стен: а - при тол­ щине стен 380 мм; б-при толщине стен 510 мм; в - аксонометрия кладки; 1 - несущая перемычка; 2 - ненесущая перемычка; 3 -утемяю­ щий акладыш (пакет минеральной ваты); 4 - стальная скоба; поддержиаа­ ющая утеплитель; 5 - балка перекрытия; 6 - кирпичная кладка; 7 - ар­ матурная сетка; 8 - цементный раствор; 9 - засыпной утеплитель мотно­ стью не менее 800 кг1м3; 10 - гидроизоляция; 11 - цоколь; 12 - плиты из пенополистирола; 13 - арматура рядовой перемычки; 14- фундамент 136
  • 138.
    На уровне подоконникови перемычек углы зданий и места примыкания внутренних стен к наружным укрепляют путем ук­ ладки сеток из ар'матурной стали диаметром 5 - 6 ММ. Стены из шлакобетоввых камней выкладьmают сплошной кладкой (рис. 4.1.10). Камни укладывают щелевидными отвер­ стиями вниз. Толщина горизонтальных швов должна быть 12 мм, раствор для кладки - состава 1:1,2:9 (цемент марки 200, известь, песок) по объему. Кладку у дверных проемов наружных и внутренних стен на 800 мм в обе стороны от проема необходимо вести из беспустот­ ных камней. Кирпичную (и из камней) кладку ведут горизонтальными рядами. Широкой гранью (постелью) кирпичи укладывают на ра­ створ, образующий горизонтальный шов. Раствор, разделяющий грани смежных кирпичей, образует вертикальные (продольные и поперечные) швы. Их также нужно заполнить раствором. Кирпичи, уложенные длинной гранью вдоль поверхности стены, образуют ложковый Ряд, а уложенные короткой - тыч­ ковый. Кладка должна иметь перевязку швов, Т.е. швы между смежными кирпичами в ряду следует перекрьmать кирпичом сле­ дующего ряда не менее чем на 1/4 длины кирпича. Применяют различные системы перевязок. Суть их заклю­ чается в том, что кладку нужно выполнять с продольной (в рядах кладки) и поперечной (между рядами) перевязками швов. Попе­ речную перевязку применяют: для кладки из обыкновенного кир­ пича толщиной 65 мм - один тычковый ряд на шесть или четы­ ре ряда кладки; из кирпича толщиной 88 мм - один тычковый ряд на четыре ряда кладки; для кладки из камней правильной формы при высоте ряда до 200 мм - один тычковый ряд на два­ три ряда кладки. Тычковые ряды выкладьmают из целых кирпичей. Уклад~а тычковых рядов обязательна: в нижнем (первом) и верхнем (пос­ леднем) рядах стен; на уровне отрезов стен и столбов; в выступа­ ющих рядах кладки (карнизных, поясах и т.д.) - под опорными частями балок, прогонов, плит перекрытий и балконов. 137
  • 139.
    оо ····· . . .......... . Рис. 4.1.10. Кладка стен из мелких облегченных (шлако- и ячеистобе­ тонных) блоко!: а - при различной толщине стен; б - аксонометрия угловой и примыкающей кладки стен; 1 - несущая перемычка; 2- ненесущая перемычка; 3 - балка перекрытия; 4 - кладка 'из мелких блоко!; 5 - арматурная сетка; 6 - облицовка силикатным кирпичом; 1- гидроизоляция; 8 - цоколь; 9 - анкер; 10 - проем 138
  • 140.
    GGl' .N .', ., , N ' ' 10 +0,750 ~ ~I ~ .'.: t · ,, ' : O~:'. ~ос 1 . ' N I ,. . -0,150 .OL- • '.' г-- Э-''- 10 10 +0,750 ~,_---.l. Г 10 . . ... 6 .~ ..... 4 О':0'.' 11 ЕО .....- .' : . . о :.: ..-:': о ~,':.: 5' П 8u··: f В .:.:~:..: 7 1. ::t'v 120 '250 ' 8 б 139
  • 141.
    Под опорными участкамисборных элементов, передающих наrpузку на кладку, необходимо уложить слой раствора толщи­ ной не более 15 мм. Толщина горизонтальных швов кладки из всех видов кир­ пича и камней правильной формы должны быть не менее 10 мм и не более 15 мм; 1;'олщина вертикальных швов - 10 мм. Кладку в местах пересечений или примыканий стен следует производить одновременно, обрывать кладку наклонной mтp,a­ бой. Стены защищают от увлажнения со стороны фундаментов устройством гидроизоляционного слоя на высоте 15-30 см от отмостки. Подоконники, парапеты, другие выступающие части стен, подвергающиеся увлажнению, защищают, покрывая их оцинко­ ванной сталью. Если стена будет штукатуриться, то горизонтальные швы в кладке можно оставлять незаполненными раствором на глубину 1-1,5 см, т.е. кладку следует выполнять впустошевку с лицевой стороны. Для кладки стен не рекомендуется использовать различные растворы (по прочности). При использовании раствора с добщз­ лением цемента кирпич перед кладкой следует замочить на 8- 10 мин. Если этого не сделать, то кирпич быстро впитьmает воду, цемент .в растворе лишается влаги, необходимой для твердения, и кладка не получает требуемой прочности. Вьmолняя кладку, необходимо обеспечить плотное приле­ гание кирпича (камня) к раствору по всей его поверхности. Перед укладкой очередного ряда горизонтальную поверхность кладки предыдущего ряда очищают, расстилают rpядку раствора, раз­ равнивают кельмой и укладьmают на подготовленную постель очередной ряд кладки. Кирпич следует укладьmать на слой ра­ створа сразу же после его расстилания. Кладку, выполненную в сухую и жаркую погоду, нужно в течение первых трех суток по­ ливать водой не реже двух раз в день. 140
  • 142.
    Прямолинейность и вертикальностькладки, соблюдение раз­ меров и формы швов легче обеспечить, применяя специальный инструмент: шнур-причалку, рейку-порядовку, отвес, шаблоны, расшивки для устройства швов. Для обеспечения вертикальности кладки и горизонтальнос­ ти ее рядов следует применять порядовки (вертикально устанав­ ливаемые рейки), закрепляемые по углам и в местах пересече­ ния стен здания. На порядовках размечают ряды кладки и по разметкам зак­ репляют (натягивают) шнур-причалку, указывающий горизонт очер~дного ряда кладки. Кладку наружной версты ведут по натянутой для каждого ряда причалке. Чтобы шнур не провисал, под него подкладыва­ ют промежуточные маяки (кирпичи) через 3-4 м друг от друга» Внутреннюю версту стены можно выкладывать, натягивая шнур через 2-3 ряда кладки. Вертикальность кладки надо проверять отвесом (через 3-4 ряда каждый раз), а горизонтальность рядов и ровность лицевой поверхности кладки - правилом (рейкой, длиной 1,2-2 м). Для большей выразительности кладки применяют различные спосо­ бы разрезки облицовочного слоя кладки вертикальными швами, т.е. разными приемами перевязки и раскладки кирпича в лице­ вом слое, а также разным по цвету и размерам кирпичом. Для придания поверхности кладки рельефного рисунка при­ меняют различные способы расположения кирпичей в лицевом слое: с выступами, под углом и Т.П. Такими приемами создают различные архитектурные детали стен. К архитектурным частям кладки относятся карнизы, пилястры, пояски, обрамления про­ емов, в том числе криволинейного очертания, а также подокон­ ные и другие ниши. Выступающие ряды кладки в карнизах, поясках и т .д. неза­ висимо от системы перевязки выполняют из целых кирпичей. При этом свес каждого ряда кладки допускается не более чем на 141
  • 143.
    1/3 длины кирпича,а общий вынос неармированного карниза - не более 1/2 толщины стены. Свешивающиеся ряды карнизов, поясков, а также другие ча­ сти стен, для кладки которых применяют тесаный кирпич, ВЫ­ кладьmают из обыкновенного (полнотелого) или специального (профильного) лицевого кирпича даже в том случае, когда стены возводят из пустотелого кирпича. Архитектурные детали из камня или бетона аналогично дру­ гим облицовочным изделиям устанавливают как в процессе клад­ ки, так и на ранее возведенные стены. Чтобы облегчить выбор вида стен н их толщину в зависи­ мости от климатических условий района строительства и имею­ щихся материалов, в табл. 4.1.2 приведены рекомендации. Таблица 4.1.2 Условия Толщина стен, ММ, соотаетствующШl раСЧC'I1l0Й Вид стен экс- температуре С IUIyaтз- -15 -20 -25 -30 -35 -40ции 1 2 3 4 5 6 7 8 Стены сплошной клад- ки из обыкновенного А 380 510 640 640 770 770 глиняного кирпича со штукатуркой цемент- но-песчаным раство- Б 510 640 640 770ром толщиной 30 мм. -- - -550 Стены сплошной клад- ки изоБLIкновенного глиняного кирпича на А 380 510 510 640 640 770 цементно-шлаковом растворе со штукатур- кой цементно- Б 510 510 640 640 770 770песчаным раствором толщиной 30 мм. 142
  • 144.
    Продолжение табл. 4.1.2 12 3 4 5 6 7 8 CreHbI сплошной кладки из силикатного А 510 510 640 770 770 - кирпича на цементно- песчаном растворе со штукатуркой слож- ным раствором тол- Б 510 640 770 770щиной30 мм - - CreHbI сплошной кладки из ПУСТlЛНого А 380 380 510 640 640 770 - - керамического кирпи- 550 680 ча на цементно- песчаном растворе со штукатуркой цемент- Б 380 510 510 640 640 770 - - -но-песчаным раство- 420 550 680 ром толщиной 30 мм Сгены сплошной А 390 590 590 - - - кладки из полнотелых легкобетонных кам- ней на керамзитовом гравии и керамзито- вом песке со nrryka- туркой цементно- Б 590 590 590 - - - песчаным раствором толщиной 30 мм, плотность кладки 1600 кг/м3 То же, плотность А 290 290 390 590 590 590 кладки 1200 кг/м3 Б 290 390 390 590 590 590 143
  • 145.
    Продоnжение табл. 4.1.2 I2 3 4 5 6 7 8 Стены сплошной кладки из мелких А 200 200 250 250 300 350 ячеистобетонных бло- ков, плотность кладки Б 200 250 250 300 350 350 600 кг/м3 То же, плотность А 250 300 350 400 - - кладки 800 кг/м3 Б 300 350 400 400 - - Стены сплошной кладки из мелких 250+ 250+ ячеистобетонных бло- 120+ 200+ 250+ 250+ 95+ 95+ ков, плотность ЮIадки 120 120 120 120 120 120 600 кг/м3• облицовка кирпичом. Стены сплошной кладки из камней из- А 670 - ~ - - - вестняка со шryкaтур- кой на цементно- известковом растворе толщиной 30 мм, Б 670 - - - - -плотность кладки .. 2000 кг/м3• То же, плотность А 580 670 - - - - ЮIадки 1800 кг/мЭ• Б 580 670 - - - - 144
  • 146.
    Окончание табл. 4.1.2 12 3 4 5 6 7 8 То же, lШотность А 480 480 580 670 - - кладки 1600 кг/м3• Б 480 580 - - - - . , А 100 100 150 150 150 175 Стены из бруса Б 100 150 150 175 175 175 Примечания: 1. В знаменателе приведены значения для кладки с уширен­ ным швом толщиной до 5-6 см; 2 А и Б - условия эксплуатации оrpажда­ ющих конструкций в зависимости от влажностного режима помещений и зон влажности. Готовые степы RANNILA PANEL (ФIШЛЯпдиЯ) Это легкий сборный элемент с обшивками из стального горячеоцинкованного листа с пластиковым покрытием и сред­ ним слоем из минеральной ваты с поперечно-ориентирован­ ными волокнами. Номинальная ширина панелей - 1200 мм (или шириной 600 и 900 ММ). Тол~ина теплоизолирушщего слоя 80,100,125,150 и 200 ММ. Длина панелей - до 12 М. В ка­ честве покрытия лицевой поверхности листа толщиной 0,6 мм применяют полиэфир. RANNILA PANEL могут быть смонтированы как горизон­ тально, так и вертикально. Панель - хорошая тепло- и звуко­ изолирующая стена, поэтому ее применяют в наружных стенах, перегородках, противопожарных разделительных стенах и кро­ вельных конструкциях. Соединение панелей - шип в паз - про­ стое и надежное, не требует снаружи дополнительных крепеж­ ных и герметизирующих элементов. 145
  • 147.
    Комбинированные стены Каркасно-кирпичные стены(рис. 4.1.11, а). Каркас соби­ рают из бруса, а внутреннюю обшивку - из оструганных досок. Наружную поверхность обшивки обивают пергамином, толем ltли рубероидом. Листовой и штучный теплоизоляционный матери­ ал укладывают с наружной стороны поверх рубероида, а затем снова идет изоляционное покрытие. Затем кладут необрезные . доски или горбыль. И, наконец, облицовывают стены кладкой в полкирпича или даже в четверть кирпича. В качестве теплоизо­ ляции можно использовать засыпку шлаком, антисептированны­ ми опилками, керамзитом и др. б в а 130 160 1. 240 ~ ~ Ic Ic f ,. ,. 2 7 1 1 10 2 3 8 3 4 4 Рис. 4.1.11. Варианты комбинированных стен: а - каркасно-кирпич­ ные; б - каркасно-монолитные; в - монолитно-кирпичные; 1 - на­ ружная обшивка; 2 - каркас; 3 - теплоизоляция; 4 - пароизоляция; 5 - внутренняя обшивка; б - кирпич; 7 - бетон; 8 - арматура; 9- рейки; 10 - деревоплита) 146
  • 148.
    КаркаСПО-МОНОJIИтпые стеиы (рис.4.1.11, б). Вместо кир­ пича лицевой слой стен можно сделать монолитным. Для этого наружную поверхность деревянной части стены, покрыгую гид­ роизоляционным материалом, используют как один из щитов опалубки, а второй щит - передвижной - устанавливают на стой­ ках. Толщина монолитного слоя в этом случае составляет 5- 7 см. Его можно укрепить металлической арматурой, деревян­ ной рейкой, сухими стеблями камыша, а также соломой. Для монолитного слоя можно использовать арболит. Моиолитно-кирпичиые стены (рис. 4.1.11, в). Использу­ ют комбинацию из монолитной части с кирпичным лицевым слоем в полкирпича. Изнутри монолитную часть стены ошту­ катуривают. Строительиая система ААБ (Канада) ААБ представляет собой ,систему быстрого возведения зда­ ний высотой до 5 этажей из монолитного бетона с использовани­ ем неснимаемой полистирольной опалубки, обладающей высо­ кой степенью теплоизоляции. Строительная система ААБ сочетает в себе возможности четырех строительных материалов: опалубки, теплоизоляцион­ ного покрытия, влагостойкого покрытия и строповки для обли­ цовывания. Блоки системы производят из вспененного полистирола, который обладает высокими теплоизоляционными качествами. Стена из блоков системы МБ толщиной всего 292 мм обладает таким же сопротивлением теплопередачи, как стена из кирпича толщиной 6 м. Система ААБ позволяет использовать неограниченное коли­ чество отделочных материалов как для наружной, так и для внут­ ренней отделки. Для облицовки наружных стен можно приме- 147
  • 149.
    нять разнообразные покрытия,включая кирпич, виниловые, де­ ревянные и металлические доски и панели. В России эта система применяется под н~званием «Изодом». 4.2. Перекрытия Перекрытие - одна из самых ответственных конструкций в здании. Она должна иметь необходимую несущую способность, жесткость, минимальный прогиб, обладать звукоизоляционны­ ми и теплозащитными свойствами. Простая конструкция перекрытия, в которой используются доступные для застройщика материалы, позволяет выполнить его собственными силами и с минимальными подъемными средства- ми. По виду материала несущей части перекрытия могут быть деревянными или железобетонными (сборными и монолитны­ ми). В балочных перекрытиях в качестве заполнения могут ис­ пользоваться менее прочные материалы, чем в несущей части, обладающие хорошими теплоизоляционными свойствами. В одноэтажных зданиях с полами по грунту устраивают толь­ ко чердачные перекрытия, в зданиях со вторым этажом или ман­ сардой, а также при наличия подвала, подполья - междуэтаж­ ные и цокольные перекрытия. Междуэтажные и цокольные пе­ рекрытия несут более высокую полезную нагрузку, чем чердач­ ные. Самый распространенный тип перекрытия в индивидуаль­ ных зданиях -деревянные. Они отличаются небольшой массой, хорошей тепло- и звукоизоляцией, экономичностью, доступно­ стью изготовления. Для балок деревянных перекрытий применяют лес хвойных пород (сосна, ель, пихта). В современном строительстве редко применяют для балок перекрытий окантованные бревна. Наибо­ лее распространены балки из досок. Пролет деревянных балочных перекрытий (расстояние меж- 148
  • 150.
    ду опорами) -3,6--4,5 м. При пролетах более 4,5 м значительно возрастает расход древесины, требуются сечения балок нестан­ дартных размеров. Нагрузки на перекрытия, в частности, жилых зданий скла- . дываются из расчетной временной, Т.е. от массы мебели, обо­ рудования, находящихся в помещениях людей (для чердачного перекрьпия -105 кгс/м2, для цокольного и междуэтажного - 210 кгс/м2 ) и расчетной постоянной от собственной массы пере­ крытия (с утеплителем, покрытиями пола и т.п.). Расчетная нагрузка от собственной массы перекрьпия зави­ сит от его КОНСТРУКЦИИ и для индивидуальных зданий может приниматься 60 кгс/м2 • Таким образом, общая расчетная нагруз­ ка на междуэтажное перекрытие жилого усадебного здания со­ СТ~lJiляет не менее 270 кгс/м2• При этом следует особо учитывать массу постоянно устанавливаемого санитарно-технического обо­ рудования (ванн, котлов, водогрейных баков и т.п.). Несущая спо­ собность конструкций под них должна рассчитываться в каждом случае отдельно. Расчетная нагрузка от утеплителя различна для цокольного и чердачного перекрьпий и зависит от вида утеплителя, его тол­ щины, обусловленной зимней температурой наружного воздуха. Поэтому расчет общей нагрузки на такие перекрытия следует производить с учетом массы конкретного материала. Расстояние между балками в зависимости от пролета, нагрузки, типа утеп­ лителя и типа пола принимают равным 0,5-1,0 м. В междуэтажном и цокольном перекрытиях, когда непос­ редственно по балкам устраивают пол из досок толщиной 28 мм, расстояние между балками принимают 0,5 м. При большем рас­ стоянии пол будет зыбким. В чердачном перекрьпии, где нагрузка меньше, чем в меж­ дуэтажном и цокольном, расстояние между балками может быть увеличено. Сечение балки в зависимости от нагрузки, пролета балок и расстояния между ними можно выбрать по табл. 4.2.1~ 149
  • 151.
    U'I с) Пролет (длина балки),м 2,0 2,5 3,0 3,5 4,0 4,5 5,0 2,0 2,5 3,0 3,5 40 45 5,0 100 5 I8 I 10 8 10 1] 12 14 15 18 16 14 10 12 14 15 18 16 14 20 18 16 - - 18 I 150 I 5 8 10 8 10 12 10 14 12 16 14 13 18 15 14 20 17 16 10 14 12 10 15 13 12 18 16 14 20 18 16 - 19 18 - - 20 Таблица 4.2.1 кrcIttr 250 I 350 I 400 Толщина балок см 5 I 8 10 15 5 8 I 10 15 5 8 10 IS РаССТОJIIние между балками 0,5 м 10 11 12 12 13 14 12 14 12 16 13 16 14 13 16 14 13 18 16 15 - 16 15 18 16 15 - 18 17 - - 18 20 18 17 - - 19 - - 20 - 20 18 - - 21 - - 22 РаССТОJIIние меж !у балками 1,0 м 12 13 14 12 15 13 10 16 14 13 18 16 14 18 15 14 20 17 16 - 18 16 21 18 16 20 18 16 - - 20 17 - 20 19 16 - 22 21 18 - - 22 19 - - 21 18 - - 24 21 - - - 22 - - 23 20 - - - 23 - - - 24. -
  • 152.
    Применение легких утеплителейпозволяет уменьшить на­ грузки на перекрытия и применить балки меньшего сечения. Наиболее распространенным и простым является перекрь:crие по деревянным балкам с заполнением щитами наката (рис. 4.2.1). Щиты наката укладывают на черепные бруски сеч~нием: 40х40 мм или 50х50 мм, прибиваемые к нижней части балки. Если используют легкие современные утеплители, напрп­ мер, минеральную вату и изделия на ее основе, можно вместо щитов наката вып~лнить подшивку из досок по низу балок. Дос­ ки крепят гвоздями, забиваемыми под углом. В качестве наката можно также использовать плиты фибро­ литовые, гипсовые с деревянной арматурой, а также другие плит­ ные материалы. Утеплитель, который укладьmают между балками перекры­ тия, необходимо защитить от увлажнения. Для этого устраивают пароизоляцию из полиэтиленовой пленки. В чердачном перекры­ тии ее размещают по щитам наката под утеплителем, а в цоколь­ ном - поверх утеплителя, под полом. Если в чердачном перекрытии вместо щитов наката выпол-· нена подшивка из досок, то по верху балок устраивают ходовой настил, через который передается временная нагрузка и который защищает от повреждения утеплитель. Если применен минераловатный утеплиrель, то чтобы он не смещался, поверх него можно уложить маты из тонких дере­ вянных реек толщиной 15 мм, связанных оцинкованной прово­ локой, прикрепив их к балкам. Открь:crую поверхность засыпно­ го утеплителя и утеплитель из жестких плитных материалов сле­ дует защитить слоем (коркой» из глиняного, известкового или цементного раствора). . в табл. 4.2.2 приведены толщины слоев утеплителя в зави­ симости от его вида и расчетной зимней температуры наружного воздуха. 151
  • 153.
    б .. ' a~4 12 3 б 10 11 12 / / / ----- -в .IAIL' : ' ...... -:. ..-. • 'j ., . , , . , - -~ r - - t.;.{..)l~ ~ '~ 1).~..rfYЖ I { 2 f j 1f }1 }2 - ~ г : ... ',] I .. ' . ' / ' ,.,.] rr-111 ' ,. - -; ~ 'I!;! кt 111 !7 Iз f 4 5 11 д 152
  • 154.
    5 6 е Рис 4.2.1.Конструкции деревянных перекрытий: а - чердачное пере­ крытие со щитами наката; б - то же, с подшивным потолком из досок 11 ХОДОI5ЫМИ досками; в - междуэтажное перекрытие со щитами нака­ та; г - то же с подшивкой потолка из гипсокартонных листов и полом из досок; д - перекрытие над подвалом; е - чердачное перекрытие над санитарным узлом, ванной, стирочной, кормокухней; ж - общий I5ИД щитового наката; 1 - балка, 2 - черепной брусок; 3 - щит на­ ката; 4 - пароизоляция из полиэтиленовой пленки; 5 - утеплитель; 6 - слой из песчано-цементного раствора; 7 -подшивка потолка из гипсокартонных плит; 8 - ходовые доски; 9 - подшивка потолка из досок; 10 -, ЗI5УКОИЗОЛЯЦИОННЫЙ слой из прокаленного песка; 11- доски пола; 12 - звукоизоляционная прокладка из древесноволокни­ стой плиты; 13 - доски потолка 153
  • 155.
    Таблица 4.2.2 Плотност~, Тоnщина ело,.(ем) при расчетной зимней температуре Внд yrе.плитCЛJI КГ/М) наружного 80здуха, ·е -15 -20 -25 -30 -35 -40 700 14 20 25 - - - lllлак ТОШIИВ- 98 140 175 ный 13 18 20 26 30 35 1000 - - - - - - 130 180 200 260 300 350 lliлакдомен- 13 16 22 ный гранулиро- 500 - - - ванный 65 80 110 8 12 14 400 - - -Пенобетон, га- 32 48 56 зобетон 12 16 24 600 - - -72 96 144 Керамзитовый. 11 13 15 18 21 25 500 - - - - - -гравий 55 65 75 90 105 125 10 12,5 15 300 - -30 37,5 45 Фибролит 12,5 15 18 20 600 22,5 - - - 75 90 108 120 135 Вата минераль- 6 7 8 9 9 10 200 - - - - - -ная 12 14 16 18 18 20 ПЛиты минера- 8 10 11 12 14 400 - - - - -ловатные 32 40 44 48 56 Примечание. В знаменателе приведена масса 1 м2 слоя утеплителя. По низу балок чердачного и межДУэтажного перекрытий выполняют подшивку. Подшивка может служить отделочным слоем либо быть основой для его нанесения. Чистую подшивку выполняют из чисто строганых досок, соединяемых в четверть или в шпунт, или вразбежку. Можно для чистой подшивки применить гипсокартонные листы (ГКЛ). Подшивка со штукатуркой или листами ГКЛ повышает OI'Нестой­ кость перекрьпия. 154
  • 156.
    Если подшивку предполагаетсяштукатурить, то применя­ ют Hecтporaныe доски шириной 80-100 мм. Доски укладьmают со щелями между ними. Штукатурят по драни или по металли­ ческой сетке, прибиваемой к подшивке из досок, между досками и дранью (сеткой) прокладьшают рогожу. Важное место в конструкции перекрытия - зоны опирания концов балок на кладку (рис. 4.2.2). Обычно концы балок закла­ дьmают в гнезда, оставляемые в стене. Заделка концов балок в стену может быrь глухая или открытая. При глухой заделке в стене оставляют сквозные гнезда ши­ риной на 10-20 мм больше ширины балок. Конец антисептиро­ ванной балки на длину 15-18 см (кроме торца) обертывают дву­ мя слоями рубероида и по всему периметру опорной части, за исключением торца. Гнезда тщательно задельшают кладкой. Зак­ ладку гнезд производят только при отделочных работах, остав­ ляя у торца балки воздушный зазор 5 см. Место примыкания балки к стене со стороны помещения заштукатуривают. При открытой заделке оставляют гнездо в кладке таких раз­ меров, чтобы между его стенками и балкой по всему периметру был зазор 50 мм. Балка должна бьrrь антисептирована. Опирают балку на подкладку из антисептированной доски. После укладки балки гнездо остается открытым, чтобы обеспечить проветрива­ ние конца балки. Во избежание образования конденсата в гнезде, его заднюю стенку утепляют вкладышами из теплоизоляцион­ ного материала Балки у дымоходов должны быть не ближе 400 мм от ды­ мового канала. Для соблюдения этого требования балку опирают на ригель, закрепляемый к двум соседним балкам. В зданиях с деревянными рублеными стенами балки врубают в верхние вен­ цы (см. рис. 4.1.3). Устройство железобетонных перекрьrrий в зданиях со сте­ нами из каменных материалов повышает их долговечность и эк­ сплуатационную надежность и в ряде случаев может быть пред­ почтит(:льнее, чем применение деревянных перекрьrrиЙ. Наибо­ лее простым и надежным является применение сборных панелей 155
  • 157.
    а б [ '.] [ ] [ ] [ ] С___ 1 [ ] 7 3 [ с= Г l [ [ 6 ~ 1 -[ ['4 .[ [ [ ~ .rJ20) J12J!j 5 [ ] [ ] [ J Г J [ ] в [ . ] [ 50 ] [ н ] 2 3 [ C=J J 1с:--- [ .... -[ ~- [ J 3I [ [ 120 [ ] г '.. ] Рис. 4.2.2. Узлы и детали опирания и соединения балок: а - открытая заделка в наружную стену; б - то же, на внутреннюю стену; в­ закрытая заделка! наружную стену; г - то же, на внутреннюю стену; д ....:... крепление анкера с балкой для соединения ее со стенами; f! - 156
  • 158.
    г е [ [ 7 3 соединение балокстальной накладкой; 1 - антисептированный опор­ ный конец балки; 2 - Т-образный анкер для крепления балки к стене; 3 - Гl50ЗДИ; 4 - дереsянная антисептированная подкладка; 5 - про­ кладка из даух слоеs рубероида; б - утеплитель в гнезде стены; 7 - стальная накладка 157
  • 159.
    заводского изготовления. Чащевсего применяют многопустот­ ные плиты пёрекрытий, производство которых налажено повсе­ местно. Перекрытия из монолитного железобетона Т{ебуют опреде­ ленного профессионального навыка и должны выполняться по проекту под руководством специалиста-строителя. , 4.3. Крыша Крыша служит для защиты здания от атмосферных осад­ ков, резких колебаний наружной температуры и солнечных лу- . чей. К крышам предъявляются требования водонепроницаемос­ ти, прочности и устойчивости, долговечности и экономичности, доступности для обслуживания и ремонта в процессе эксплуата­ ции, соответствия противопожарным нормам. Форма крыши зависит от очертания здания в плане, уклона скатов, характера несущей конструкции, вида кровельного мате­ риала и архитектурного решения. Разнообразные формы крыш представлены на рис. 4.3.1. Крыша состоит из несущей части (стропил, обрешетки и ограждающей (кровли). Кровля должна быть водонепроницае­ мой и обеспечивать отвод дождевых и талых вод. Наклонные поверхности кровли назьmают скатами, а их пересечения, обра­ зующие выступающий угол - ребрами. Горизонтальное верхнее ребро назьmается коньком, ребро, образованное во входящем угле, - ендовой, или разжелобком. Для направления стоков в определенные места иногда при­ меняют желоба, расположенные у нижнего края ската. Нижняя часть ската между желобом и обрезом носит название спуск. Желобами дождевые и талые воды направляются к водоспускам, выполняемым в виде водосточных труб. Иногда желоба устраи­ вают за обрезом ската кровли. В этом случае их закрепляют на подвесках из оцинкованной стали. 158
  • 160.
    Карнизные свесы -часть кровли по периметру здания, вы­ ступающая за контур наружных стен. Для освещения и проветривания чердака и для выхода на кровлю устраивают слуховые окна. . В индивидуальных зданиях наиболее распространенная и до­ ступная для изготовления - крыша с деревянной несущей стро-. пильной конструкцией двускатной формы. Двускатная крыша проста и экономична, наиболее надежна в эксплуатации, для ее устройства можно применять любые кровельные материалы. В случае использования чердачного пр~странства для раз­ мещения жилых помещений применяют мансардную крышу. При этом для увеличения объема чердака крышу выполняют с более крутым скатом в нижней' части. Устройство мансардной крыши несколько сложнее, чем обычной двускатной. При дву­ скатных и мансардных крышах: требуется устройство щипцовых стен. Четырехскатная крыша, назьmаемая таКже шатровой, или вальмовой, не требует устройства щипцовых стен, но конструк­ ция стропил в ней сложнее, необходима соответствующая под­ гонка кровельных материалов. Мпогощипцовая крыша устраивается в зданиях со сложной (многоугольной) формой плана. Она имеет большее количество ендов и ребер, на которых требуется тщательное вьшолнение кров­ ли. Сток воды с крьппи обеспечивается за счет соответствую­ щего уклона скатов. Крутизна скатов крыши зависит от матери­ ала кровли, климатических условий и архитектурного решения. Более крутые скаты устраивают, когда кровлю выполняют из штучных материалов, образующих неплотные швы, а также в районах с большим количеством атмосферных осадков; дожде­ вые и талые воды быстрее стекают с крутых скатов крыши, а в зимнее время на них меньше образуется отложений снега. В районах с сильными ветрами крышу следует делать бо­ лее пологой, так как она должна испытывать меньшее давле­ ние ветра. 159
  • 161.
    а б 1 б г -1 1 1. I I I I I - I I I I I L___ ...J г f- -l I 1 I v 2 I I I I - -- I I I I I L ___ - _.J в г г- 1- -,- 1 I 1 I v 2 I I I I - - I I J 1 I 1 I~ -- - -- - -. 160
  • 162.
    2 г I tI 6 KOH«..IPMdJ!OJI З;1 д ж 1 t 1 , I .J 1 161 1 е 1 Рис. 4.3.1. Формы и основные элементы крыш: а - односкат­ ная; б - двускатная; в - ман­ сардная; г - шатровая; д­ полувальмовая; е - вальмовая; ж - многощипцовая; 1 - скат крыши; 2 - конек; 3 - реб­ ро; 4 - ендова
  • 163.
  • 164.
    г ! 5(J(XJ.-6000 J t5000-6000 j Рис. 4.3.2. Схемы стропил: о - разбивочный план еальмовой крыши; б, в, г, д, е, ж - разрезы чердачных крыш; 1 - стропильная нога; 2 - диагональная стропильная нога; 3 - опорная балка; 4 - КОНЬКО­ еый прогон; 5 - стойка; 6 - мауэрлат; 7 - подкос; 8 - затяжка (ригель) 163
  • 165.
    Для крыш индивидуальныхжилых зданий наиболее распро­ странена несущая часть, образуемая системой наслонных стро­ пил (рис. 4.3.2). Наслонные стропила выполняют из дерева. Ос­ новной элемент - стропильные ноги. Их укладьmают вдоль CKa~ та нижними концами на наружные стены через подкладку в виде продольной доски или бруса (мауэрлата), прикрепленноro к сте­ не. Верхние концы стропильных ног опирают на балку-прогон, передающую нагрузку через систему стоек на внутренние несу­ щие стены. Общая устойчивость стропильной системы обеспе­ чивается раскосами, подкосами и диагональными связями. Наиболее подходящие для стропил - доски сечением 50х150 мм. В зависимости от уклона, веса кровли, снеговой на­ грузки и пролета стропил расстояние между ними берут в интер­ вале 0,6-1,4 м либо устраивают спаренные стропила, либо умень­ шают их пролет постановкой подкосов. Стропила из досок со­ единяют между собой и с другими элементами стропильной сис­ темы на гвоздях и болтами. Для подбора сечений стропильных ног табл. 4.3.1. Таблица 4.3.1 Наи- Рассгояние между стропильными балками, м большая 1,10 1,40 1,75 2,15 длина стро- Толщина (диаметр) стропильной балки, см пильной балки из из из из из из из из бруса бревен бруса бревен бруса бревен бруса бревен до 3,0 8хl0 10 8хl0 13 9хl0 15 9х16 16 до35 8х13 13 8х16 16 8х18 18 9х18 18 до 4 5 8х16 16 8х18 18 9х18 18 10х20 20 до 5 О 8х18 18 8х20 20 10х20 20 - - до 5 8 8х20 20 10х20 22 - - - - до65 10х20 20 12x22 24 - - - - Крышу необходимо закрепить, чтобы ее не сорвало ветром. Для этого стропила закрепляют скрутками из проволоки, концы 164
  • 166.
    которых привязьmают кштырям, забиваемым в каменные сте­ ны. в зданиях с бревенчатыми и брусчатыми стенами стропила соединяют скобами со вторым верхним венцом. Чтобы мауэрлаты и нижние концы стропильных ног были доступны для осмотра и ремонта, мауэрлат располагают на рас­ стоянии не менее 50 см от перекрьпия. Между кладкой и мауэр­ латом следует проложить 2 слоя толя или рубероида. Для поддержания кровельного покрьпия по наклонным стро­ пилам укладывают обрешетку. Обрешетка может выполняться из брусков, досок или теса, расстояние между которыми зависит от типа кровли. Карнизные свесы крыши можно образовать за счет вьmус­ ка стропильных ног за пределы наружной грани стены или уд­ линением стропильных ног с помощью «кобьток» - прибивае­ мых к ним коротких досок. По свесам стропильных ног или по «кобьmкам» вьmолняют сплошную подшивку· ИЗ досок (подшив­ ка карниза). Сплошную обшивку устраивают и на участке ската крыши, назьmаемом «спуск», а также в местах ендов. Подшивку карнизов следует выполнять до устройства кровельного покры­ тия. Характёристикв кровель, устраиваемых из различных ма­ териалов, прИведены в табл. 4.3.2. Кровли из волнистых асбестоцементных листов долговеч­ ны, огнестойки, дешевы в эксплуатации (рис. 4.3.3). В качестве основания под кровлю из волнистых асбестоце­ ментных листов устраивают обрешетку из брусков сечением 50х50 мм для листов обычного профиля; 75х75 мм для листов усиленного профиля с шагом соответственно 500-550 мм и 750- 800 мм. Листы укладьmaют на обрешетку гладкой стороной вверх и крепят гвоздями или шурупами со шляпкой, покрьпой оцинкован­ ной сталью, пропуская их в отверстия, просверленные по гребню вилпы. Orверстия просверливают диаметром больше диаметра шу­ рупов. Это обеспечит свободное перемещение листов при измене- 165
  • 167.
    Таблица 4.3.2 Рекомендуемый уклон,Масса 1,.; крыши Долгоаеч- Уход за кромей Типь:роми град. а roРИЗ911Т8JПoНОЙ проекции, кг HOC'l1o, лer • процессе эксплуатации РУЛОННIIJI, 4-х слойная 2-14 40---60 10-25 Покрытие битумом через 3-5 лет РУЛОННIIJI, 2-х слойная 8-14 30-50 5-15 Покрwтие битумом через 3-5 лет Кровельная, сталь черная 14---60 20-30 20-30 Покраска через 3-5 лет КРОllелЬНlIJI, сталь OIщнко- 14---60 20-30 25--40 Первая покраска ванная через 10 лет Асбестоцеменmые листы 14---60 30-50 30--40 Не требует ухода Черепичная 30---60 70-100 50-80 Не требует ухода
  • 168.
    Узел А о I I I о;:;; -1 t-_-- II с= I I II ~...!..l I I -- П - --, I II I 1: I I I По 1-1 6 ~ 1 По 11-11 2 4 Рис. 4.3.3. Кроеля из IIОЛНИСТЫХ асбестоцементных листов: о - план раскладки ЛИСТОII со срезкой примыкающих листов; б - то же, в аксо­ нометрии; 1 - IIОЛНИСТЫЙ асбестоцементный лист, 2 - обрешетка из брусьеll; 3 - срезанный угол листа; 4 - ГIIОЗДЬ или шуруп; 5 - упру­ гая прокладка; 6 - шайба; 1 - противовеТРОllая скоба; 8 - стро­ пильная нога 167
  • 169.
    ниях Tei..mepaТYPbI наружноговоздуха. Шурупы снабжаются оцин­ кованными шайбами. Нод шайбы устанавливают мягкие гермети­ зирующие прокладки (резину, рубероид). В горизотальных рядах листы укладывают так, чтобы их кромки перекрьmались на одну волну. Чтобы в MeCT~ перепуска не образовалось утолщения швов, углы листов скашивают.. При другом способе укладки возможно смешение стыков на одну волну в каждом последующем ряду. Ук­ ладку листов ведут от карниза к коньку. Каждый вышележащий ряд напускают на нижележащий на 120-140 мм. При наклонах бо­ лее 300 напуск можно уменьшить до 100 мм. При уклонах, мень­ ших 200, стыки необходимо герметизировать с помощью леты из герлена, герметизирующей мастики пли цементного раствора. Карнизные свесы можно выполнять или ИЗ волнистых ас­ бестоцементных листов или путем устройства спуска из кро­ вельного железа. Нижний край асбестоцементного листа или ме­ таллического свеса закрепляют с помощью оцинкованных про­ тивоветровых скоб. Кровли IIЗ листовой стали обладают рядом достоинств, ос­ новными ИЗ которых являются: небольшая масса, позволяющая применять легкие и простые несущие конструкции крыши; воз­ можность устраивать покрытия крыши сложных форм; гладкая поверхность, обеспечивающая хороший сток воды и применение относительно небольшого уклона; относительная огнестойкость; легкость выполнения ремонта. К недостаткам кровли из листовой стали относятся: неболь­ шой срок службы; невысокая прочность вследствие легкости повреждения при эксплуатации (при очистке снега, производ­ стве ремонта и т.п.,); необходимость частой окраски для пре­ дохранения от ржавления (если применена неоцинкованная сталь). Кровля из черной стали требует систематической окрас­ ки масляной краской через 2-3 года, а из оцинкованной - че- рез 10 лет. . Если применяют неоцинкованную сталь, то кровельные ли­ сты необходимо предварительно тщательно обработать: удалить заводскую смазку с помощью ветоши, смоченной в бензине, и 168
  • 170.
    очистить от ржавчины.На сухие листы с обеих сторон наносят , два слоя горячей олифы, просушивая каждый слой. В олифу же­ лательно добавить сурик или охру. Стальные листы укладьmают по обрешетке из деревянных брусков сечением 50х50 мм, располагаемых через 250 мм между осями. в местах горизонтальных стыков листов под лежачими фаль­ цами вместо брусков обрешетки укладьmают доски шириной 100- 120 мм, толщиной 25-30 мм. Для устройства кровли из стальных листов делают заготов­ ки-картины. Стандартный лист кровельной стали дмеет разме­ ры 1420х710 мм, толщину 0,45-1,0 мм. Картины изготавлива­ ют из нескольких, соединенных по короткой стороне листов. При коротких скатах крыши размер картины может быть во всю длину ската.,. В этом случае на крыше выполняют соедине­ ние картин только по длинной стороне и в коньке. Работы по заготовке листов и картин ВIIПОЛНЯЮТ на верста­ ке длиной около 2 м, шириной 0,9-1,1 м, с одной стороны окан­ тованного стальным уголком длиной 1,7 м, с помощью неслож­ ных инструментов - кровельных молотков (ручника и подсекаль­ ника), киянки, ножниц, пробойника, зубила, кернера. Наиболее надежное - фальцевое соединение листов. ЗагОТОВIm листа заключается в следующем. Загибают на 1800 кромки шириной 10-12 мм по короткой стороне листа в проти­ воположные стороны. Короткая кромка, расположенная со сто­ роны листа, обращенного вверх по скату крыши, должна иметь загиб вверх, в сторону наружной поверхности листа. Между ото­ гнутой кромкой и листом должен оставаться зазор 5 мм. После этого загибают на 900 кромки по длинной стороне листа в сторо­ ну наружной поверхности. С одной стороны (левой) отгиб дела­ ют высотой 20-35 мм, с другой - 40-50 мм, не доводя его до поперечных кромок на 100-110 мм (рис. 4.3.4). Соединение стальных JПicтов поперек ската выполняют с помощью одинарного лежачего фальца. При малых уклонах кров­ ли применяют двойной фальц. Устройство двойных фальцев тре- 169
  • 171.
    бует больших затраттруда, однако надежнее, чем одинарных. Соединение картин между собой по длинной стороне производят с помощью так называемого стоячего фальца. После соединения фальцев их уплотняют, предварительно промазав соедидение суриковой замазкой на натуральной олифе. Прикрепляют листы и картины к обрешетке с помощью кляммер - полос из оцинкованной стали размерами 150х30 мм, развернутых (скрученных под углом 900). Кляммеры прикреп­ ляют гвоздями к боковым сторонам брусков обрешетки, пропус­ кают в стоячий фальц между листами и загибают вместе с фаль­ цем. кляммеры ставят на расстоянии 500-750 мм. Полосу ската ш:репускают через конек на 25-30 см с тем, чтобы, отогнув кромку, можно было выполнить коньковый стоя­ чий фальц. Каждую последующую полосу располагают так, чтобы ее край с малой отогнутой кромкой примыкал к высокой кромке предьщущей полосы. Полосы располагают так, чтобы обеспечи­ валось взаимное смещение лежачих фальцев на 30-50 мм, что облегчит уплотнение стоячих фальцев. Загибание высоких кромок последующей полосы на низкие кромки предыдущей производят вначале в местах расстановки кляммеров. Затем устанавливают кляммеры по второй стороне полосы с низкими кромками, смещая их в шахматном порядке по отношению к предыдущим. . Кромки стоячих фальцев можно загнуть и уплотнить их после укладки нескольких полос. Эту операцию следует выпол­ нять в направлении от конька к карнизу. Стоячие фальцы, выходящие на карниз, конек или ребра кры­ ши пригибают (заваливают на 100-120 мм в сторону малого отгиба. Крепление кровли на карнизе выполняют с помощью кос­ тылей из полосовой стали шириной 25-40 мм, толщиной 4 мм, прибиваемых к дощатой подшивке гвоздями. Костыли распола­ гают на расстоянии 400-600 мм с выносом на 100 мм от кромки подшивки. При устройстве кровель часто выполняют отвод воды с кры­ ши с помощью наружных водосточных труб. Детали устройства 170
  • 172.
    а б г 20 111 ~2зI 1 ~ 5 2 зо ~i~1б7 Рис. 4.3.4. Заготовка листов (картин) металлической кровли: а - картина; б - двойная картина; в - картина под двойной фальц; г - устройство одинарного (простого) фальца (стоячего, лежачего); д­ устройство двойного фальца (стоячего, лежачего); е - крепление листоs к обрешетке с помощью клям­ мера; 1- отгибы картин; 2 - простой стоячий фальц; 3 - то же, лежачий; 4 - двойной стоячий фальц; 5 - то же, лежачий; б - кляммер; 7 - обрешетка
  • 173.
    спуска, настенного желобаи водосточных труб показаны на рис. 4.3.5. Крепленпе желоба производят с помощью металлических крюков, располагаемых через 600-800 мм. Высота желоба дол­ жна быть 100-130 мм. Листы желоба соединяют с картинами общего ската кровли лежачи~ фальцем и прикрепляют к обре­ шетке кляммерами. Наиболее ответственные участки крыши - места примыка­ ния кровли к дымовым и вентиляционным трубам, вертикаль­ ным поверхностям выступающих над крышей участков стен, пе­ ресечения плоскостей скатов (ендовы, ребра) переломы скатов. К их выполнению следует отнестись особенно тщательно. Уста­ новки на крыше стоек электро-, радио- и телефонных вводов желательно избегать. Черепичные кровли применяются издавна. Черепица отли- . чается огнестойкостью, прочностью и долговечностью, не требу­ ет особого ухода во время эксплуатации. Крыши с кровлей из черепицы обладают хорошими эстетическими качествами. Для изготовления черепицы используется местное сырье. Недостатки черепичных кровель - большая масса и необ­ ходимость устройства крутых скатов, что увеличивает затраты на устройство несущей части (стропил, обрешетки). Традиционно изготавливали керамическую (глиняную) че­ репицу. В настоящее время осваивается производство бетонной (цементно-песчаной) черепицы. Глиняная черепица изготавливается нескольких видов: па­ зовая штампованная с одинарным и двойным боковым и попе­ речным закроями и двумя шипами; пазовая ленточная с одинар­ ным или двойным боковым закроем и одним или двумя шипа- I ми; коньковая с одинарным закроем; плоская ленточная с одним или двумя шипами. Основание под черепичную кровлю выполняют в виде обре­ шетки из брусков сечением 50х50 мм (рис. 4.3.6). Расстояние меж­ ду брусками принимают в зависимости от размеров черепицы. При устройстве обрешетки необходимо следить за тем, чтобы . 172
  • 174.
    Рис. 4.3.5. Устр~ее: 1 _ оист60 кровли4 соединение и водосточной_ спуск' 5 _ картин в фалЬЦ' 2 трубы с воронко· 9 _ водос'точн,;рв~к;6 - скаткро:,и'-; 'ОТОБК ендовы; 3 -.: ~:~ДОб-ронка; 10 _ • - о решетка' 8 о ;водосточная труба ' - КОСiЫЛЬ;
  • 175.
    верхние грани брусковобрешетки были расположены в одной плоскости. Укладку черепицы ведут с нижней части ската, от карниэа вверх по направлению к коньку с напуском по длине и ширине на ширину пазов. Стыки .черепиц вдоль ската следует располагать на брусках обрешетки. Пазовую черепицу крепят проволокой. Один конец прово­ локи закрепляют в ушке черепицы, а другой привязывают к гвоз­ дю, вбитому в боковую грань обреше!ки. Плоскую черепицу кре­ пят кляммерами или гвоздями. В коньке и на ребрах крыши применяют коньковую черепи­ цу. Коньковую черепицу укладывают на растворе, плотно при-~ жимая ее к рядовой черепице скатов крыши. Швы между черепи­ цами промазывают со стороны чердака цементно-известковым или цементно-песчаным раствором, в который добавляют волок­ нистые материалы. Ендовы выполняют из оцинкованной кровельной стали. Че­ репицы скатов должны перекрывать листы стали на 150-200 мм. В ендовах обрешетку делают сплошной, края черепицы в ендове подрезают по линии соответственно направлению ендовы. При устройстве наружного организованного водостока устра­ ивают подвесные металлические желоба, направляющие сток к во­ ронкам водосточных труб. Для подвески и крепления желобов ис­ пользуют крюки из полосовой стали и оцинкованную проволоку. Для выполнения кровельных работ с покрытием из черепи­ цы используют несложный инструмент: молотки, дрель, раш­ пиль, граненое шило. Промазку стыков производят с помощью штукатурных инструментов - кельмы, шпателя, штукатурной лопатки. Для выхода на крышу и проветривания чердака устраивают слуховые окна (рис. 4.3.7). Надежность крыши во многом зави­ сит от качества выполнения примыкания кровли к вертикальным выступающим конструкциям. особенно к вентиляционным тру­ бам. Обделку труб выполняют из оцинкованной стали путем ус­ тройства вокруг трубы воротника. Воротник устанавливают либо до устройства трубы, либо надевают на трубу до устройства на 174
  • 176.
    175 Рис. 4.3.6. Узлычере­ пичной кровли: а--­ коньковый; б --- в из­ ломе; в - карнизный; 1 --- стропила; 2 - об­ решетка; 3 --- черепи­ ца; 4 --- коньковая че­ репица; 5 --- цементный или известковый раст­ вор; 6 - проволока; 1 --- мауэрлат; В­ кобылка; 9 --- лобовая доска; 10 --- скрутка из проволоки; 11 --- ерш
  • 177.
  • 178.
    4 Рис. 4.3.7. Примыканиекровель к слуховым окнам и дымовым трубам: о, б, в - СЛУХО8ые окна; г, д - примыкания к дымовой трубе; е - воротник для заделки кровли 8 месте примыкания к ДЫМО80Й трубе (один из вариантов); 1 - стропильная нога; 2 - обрешетка; 3 - кро­ вельная сталь; 4 - дымовая труба; 5 - распушка ДЫМО80Й трубы; 6 - воротник; 1 - кобылка из досок 177
  • 179.
    ней уширения-распушки. Приполностью готовой трубе ворот­ ник можно выполнить составным из двух частей, которые после установки соединяют с помощью фальцев. 4.4. Перегородки Перегородки должны быть звуконепроницаемы, огнестой­ ки, достаточно теплоизолирующие. При устройстве перегородок следует предусмотреть возможность их переноса в целях изме­ нения планировки помещений. Перегородки санитарных у~лов и кухонь должны обладать влагоустойчивостью и бьпь гигиенич­ ными. Перегородкн могут бьпь КИрIПIчными, из гипсовых плит, деревянными, из гипсокартонных листов на деревянном карка­ се и др. Кирпичные перегородкн обладают хорошей звукоизоляци­ ей, высокой огнестойкостью, гигиеничны и влагостойки, могут применяться в любых помещениях, включая ванные, душевые, постирочные, туалеты (рис. 4.4.1). Однако кирпичные перегород­ ки требуют надежного основания в виде фундамента при полах по грунту либо железобетонного междуэтажного перекрытия, либо (при тонких в 1/4 кирпича перегородках) усиленных балок междуэтажного перекрытия. Кирпичные перегородки выкладывают толщиной в 1/2 или 1/4 кирпича на растворе марки не менее 25. При длине перего­ родки до 3 М и высоте помещения не более 2,7 м толщина пере­ городки может быть 1/4 кирпича, при большей длине и высо­ те - 1/2 кирпича. Перегородки толщиной в 1/4 кирпича, имею­ щие длину более 1,5 м, армируют проволокой. Проволоку диаметром 4 - 6 мм укладывают через 5 - 6 рядов кирпича. В местах сопряжения перегородок с капитальны­ ми стенами их закрепляют с помощью металлических штырей или ершей. Проволоку и штыри устанавливают по ходу кладки перегородок. Концы проволоки привязьmают к штырям. Лучше- 178
  • 180.
    2 3 Рис. 4.4.1. Кирпичнаяперегородка: 1 - верхняя обвязка из брускоа 25х75 мм; 2 - кирпич на ребро; 3 - арматура диаметром 6 мм; 4- стойка 50х65 мм; 5 - даерной блок го качества можно достичь, применяя при возведении перегоро­ док шаблоны из досок. Угловые кирпичи укладьmают вплотную к шаблону. В местах устройства дверных проемов в кладку пере­ городки с обеих сторон проема закладывают деревянные анти- 179
  • 181.
    септированные пробки размеромв 1/2 кирпича. Впоследствии к ним прикрепят дверную коробку. Зазор между верхним рядом кирпичной кладки перегородки и перекрытием следует тщательно заполнить паклей, смоченной в гипсовом растворе. Перегородку закрепляют по верху перекры­ тия в зависимости от его конструкции с помощью металличес­ ких крепежных деталей или деревянных раскладок. Кирпичную перегородку следует оштукатурить. Штукатур­ ку наносят по предварительному набрызгу цементным раство­ ром. Перегородки 113 гипсовых ПЛIП обладают теми же достоин­ ства.1И, что и кирпичные (рис. 4.4.2). К тому же они менее тру­ доемки при возведении (если применяют готовые плиты завод­ ского изготовления) и не требуют последующей штукатурки, име­ ют меньшую массу, чем кирпичные, хорошо гвоздятся. К недо­ статкам таких перегородок можно отнести их меньшую влаго­ стойкость. К основаниям для перегородок из гипсовых плит предъяв­ ляются те же требования, что и для кирпичных. Устройство пе­ регороДок начинают с устройства и выравнивая основания. Затем устанавливают порядовки, закрепляют их у стен, между которы­ ми будет выкладываться перегородка. Шнур-причалку закрепля- . ют на высоте первого ряда плит от выровненного раствором ос­ нования так, чтобы его кромка находилась в плоскости перего­ родки. Плиты перегородок устанавливают на гипсовом или це­ ментно-песчаном растворе со смещением вертикальных швов в сцежных рядах на четверть или половину плиты. Гипсовый раствор готовят непосредственно на месте. В ящик с гипсом заливают воду вместе с замедлителем схватывания. Массу перемешивают, доводя до консистенции густой сметаны. . Раствор готовят в таком количестве, которое можно использо­ вать в течение 20 мин до того, как раствор схватится. В местах расположения дверных проемов устанавливают де­ ревянные стойки обрамления проема. Их закрепляют к основа­ нию и перекрытию. К ним же крепят анкеры из проволоки, кото- 180
  • 182.
    2 По 1-1 По 11-11 ~~.О.. , . ......• б 4 Рис. 4.4.2. Перегородка из гипсо~ых плит: 1 - верхняя обвязка из ~x~ w БРУСКО8 --2- мм; 2 - ГИПСО8ые плиты; 3 - стоики проема 80х80 мм; 4 - наличник;. 5 - нижняя об8язка из доски; б - Д8ерной блок; 7 - анкеры из ПРО80ЛОКИ рые размещают в швах кладки. Стойки используют для крепле­ ния дверной коробки и заполнения над дверным проемом. Между потолком и верхом последнего ряда плит оставляют зазор 15-20 мм. К наружной стене перегородку крепят ершами в 2-3 местах по высоте стены. В этом уровне в горизонтальные швы перегородки укладывают стальную 4-миллиметровую про­ волоку по всей длине перегородки для обеспечения ее устойчиво­ сти. 181
  • 183.
    При полах нагрунте перегородки из гипсовых плит устанав­ ливают на кирпичную стенку, высота которой определяется кон­ струкцией пола. В этих случаях между низом перегородки и сло­ ем цементного раствора укладьmают гидроизоляцию из двух слоев рубероида. Устройство гидроизоляции предусматривается и в слу­ чае опирания перегородок на междуэтажное перекрытие (с це­ лью предохранения от увлажнения в период эксплуатации). Перегородки крепят к стенам, а при длине более 3 м -,к. перекрытиям. Крепление перегородок длиной менее 3 м к пере­ крытиям необходимо в том случае если вертикальная грань пере­ городки примыкает к дверной коробке. Крепление к наружным и внутренним стенам, перекрытиям, а также соединение перегоро­ док между собой осуществляют скобами и накладками различ­ ной конструкции, либо ершами и гвоздями. Крепление дверных блоков к перегородкам производится гвоздями, забиваемыми в деревянную обвязку проема перегород­ ки. Поверхность перегородки зачищают от наплывов раствора и затирают, после чего она готова для оклейки обоями или устрой­ ства другого вида отделки. Деревянные перегородки отличаются от кирпичных мень­ шей массой, и возводят их, как правило, после устройства стен и перекрытий (рис. 4.4.3). Неоштукатуренные деревянные перего­ родки сравнительно легко могут быть разобраны и переставлены в другое место. Недостаток деревянных перегородок - высокая звукопроницаемость, недостаточная стойкость от возгорания и меньшая долговечность. . Простейшей является чистая дощатая перегородка из ост­ роганных досок толщиной 40-50 мм, вертикально вставленных в лежень и верхнюю насадку, в которых имеются пазы. Лежень и насадку устраивают из досок размерами 30х90 мм, к которым для образования паза.nрибивают бруски размерами зохзо мм. Од­ нослойную перегородку делают из досок, сплачиваемых в чет­ верть. Чистые дощатые переroродки чаще применяют в деревян­ ных зданиях из бревен и бруса в нежилых помещениях. Из-за 182
  • 184.
    По 1-1 По 11-11 9 По111-111 10 у:' 5 б Рис. 4.4.3. Дере!lянные перегородки: а _ дощатая 8 бревенчатом здании; б - из досок о косой обшивкой; 1 - наРужная стена; 2 - паз !I стене; 3 - чистая ДОща­ тая перегородка; 4 - Плинтус; 5 - двер­ ной блок; б - наличник; 7 - !lерхняя об­ вязка из двух досок 25х140 мм и бруска 32х40 мм; 8 - доска 25 мм; 9 - штука­ турка; 10 - нижняя обвязка 183
  • 185.
    низкой звукоизоляции такиеперегородки не пригодны для ог­ раждения спален. Дощатые оштукатуренные перегородки обеспечивают луч­ шую звукоизоляцию, гигиеничны, обладают (большей огнестой­ костью, чем чистые дощатые. Выполняют их из нестроганых досок толщиной 50 ММ. Доски соединяют шипами, врубаемыми на расстоянии 140-150 мм друг от друга в шахматном порядке. Устанавливают доски в нижнюю и верхнюю обвязки. Перегород­ ку штукатурят с двух сторон по драни или штукатурной сетке. Под дрань желательно подложить рогожу, что предотвратит по­ вреждение штукатурки. Общая толщина перегородки, оштукату­ ренной с двух сторон, - 100 мм. Вместо досок толщиной 50 ММ можно применить два слоя досок меньшей толщины. При ЭТОМ один слой досок толщиной 25 мм устанавливают вертикально а второй, из досок толщиной 19-25 мм - наклонно, под углом 450. Перегородка обеспечит лучшую звукоизоляцию, если между слоями досок проложить слой пергамина. Перегородкп каркаспо-оБШIIВIIОЙ КОIIСТРУКЦПII требуют меньшего расхода древесины, позволяют применить современ­ ные плитные и листовые материалы (рис. 4.4.4). Каркас перего­ родки состоит из стоек-брусков сечением 50х75 мм, устанавли­ ваемых между нижней и верхней обвязками такого же сечения. Стойки устанавливают с шагом 500-600 мм в зависимости от материала заполнения и обшивки, а также.с учетом расположе­ ния дверных проемов. В качестве обшивки применяют листовые материалы (гипсокартонные листы) либо нестроганую дощатую обшивку. Звукоизоляционное заполнение рекомендуется выпол­ нять прошивными минераловатными ~атами. Для заполнения между стойками каркаса можно использо­ вать фибролитовые плиты. Швы между плитами заполняют гип­ совым раствором. Если применяют дощатую обшивку перегородки или каркас заполняют фибролитовыми плитами, то необходима штукатур­ ка, которую вьmолняют аналогично дощатым оштукатуренным 184
  • 186.
    а 1 2 -б По 11-11 21014 По /V-/V4. :1 , 147514 ff--Н 1 2 -'f·............. 6 Рис. 4.4.4. Перегородки каркасно-обшивной конструкции: а - с за­ полнением фибролитовыми плитами и обшивкой гипсокартонными ли­ стами; б - с заполнением минераловатными прошивными матами; 1 _ ФиБРОЛИТО8ые плиты; 2 - гипсокартонные листы; 3 - стойка карка­ са; 4 - нижняя об'вязка; 5 - верхняя обвязка; 6 - наличник; 7- плинтус; 8 - маты минераловатные прошивные; 9 - доски 13 мм; 10 - обжимные бруски для закрепления матов 8 верхней части й 8 середине 8ЫСОТЫ пере городки 185
  • 187.
    перегородкам. Перегородку сзаполнением цементно-фиброли­ товыми плитами выполняют с обшивкой с двух сторон гипсокар­ тонными листами. По условиям пожарной безопасности остав­ лять незаполненные воздушные полости внутри перегородок из сгораемых материалов нельзя. Дверные блоки крепят гвоздями к стойкам каркаса в трех местах по высоте. Если каркасно-обшивные перегородки примыкают к ванной, душевой, постирочной, то они должны иметь со стороны этих помещений оштукатуренную цементно-песчаным раствором по': верхность или обшивку из водостойких материалов - цементно­ стружечных плит, асбестоцементных листов с покрытием поверх­ ности водостойкими красками или пленочными и облицовочны­ ми материалами. Утепленные neperopoДКII - каркасные с заполнением из теп­ лоизоляционного материала, если он подобран с учетом расчет­ ных теплотехнических параметров, соответствующих ограждае­ Mым помещениям. Можно использовать в мансардных помеще­ ниях и для ограждения тамбура (рис.4.4.5). Необходимо при этом выполнять пароизоляцию из полиэтиленовой пленки со сторо­ ны, обращенной внутрь теплого помещения. Пароизоляция дол­ жна быть непрерывной и не иметь повреждений. Сборка каркасных перегородок производится в следующей последовательности: - к балкам (лагам) перекрытия крепят верхнюю и нижнюю' деревянные обвязки из бруска толщиной 50 мм и шири­ ной по толщине каркаса перегородки; - к верхним и нижним брускам обвязки гвоздями крепят стойки с шагом не более 600 мм; - устанавливают и крепят к стойкам каркаса дверные ко- робки; - к стойкам крепят обшивку (с одной стороны); - укладывают звукоизоляционный слой; - устанавливают и крепят к стойкам противоположный лист обшивки; 186
  • 188.
    Рис. 4.4.5. Утепленныеперегородки: 1 - нижняя обвязка; 2 - lSерх­ няя обвязка; 3 - стойка; 4 - утеплитель (маты прошивные минерало­ ватные или фиБРОЛИТОlSые плиты; 5 - дощатая оБШИlSка; 6 - пленка полиэтиленовая; 7 - гипсокартонные листы - стыки листов обшивки, наружные и внутренние углы, при­ мыанияя к стенам и потолку тщательно заделывают, шпак-, люют и оклеивают бумажной или тканевой лентой. Сты­ ки листов обшивки следует устраивать на элементах кар­ каса. При устройстве всех видов перегородок следует учитьшать, в каком климатическом районе строится дом, и принимать тол­ щину утеплителя в перегородке соответственно расчетной отри- 187
  • 189.
    цательной температуре. Втабл. 4.4.1 приведены рекомендуемые' толщины утеплителей. Т а б л и Ц а 4.4.1 Толщина yrеnлитеЛJI (ММ) при расчетной Материал yrеnлитеЛJ! температуре наружного .оздуха, ·С -20 -30 -40 Минераловатные маты прошивные r = 125 кr/M3 (ТУ 21-31-64-88), 100 150 200 кл. Н Плиты фибролитовые на портланд- цементе (ГОСТ 8 928-81) r =300 кr/M3 150 200 - Дверные наличники. необходимо прочно прикрепить к ко­ робкам с напуском на перегородку не менее 10 мм, с плотным прилеганием наличников к перегородке. Стыки перегородок со стенами и другими конструктивны- j ми элементами, стыки перегородок между собой, швы между - верхней гранью перегородки и нижней плоскостью перекрытия для обеспечения необходимой звукоизоляции нужно тщательно конопатить паклей или минеральным войлоком, смоченным в гипсовом растворе. Стыки перегороДок между собой, а также стыки перегоро­ док со всеми конструктивными элементами здания (если эти швы не прикрыты наличниками, нащельниками или раскладками) про­ клеивают снаружи тканью (марлей, миткалем и т.д.) и тщатель­ но шпаклюют под окраску или оклейку обоями. В ~убленых и брусчатых зданиях между потолком и перего­ родкой оставляют зазор на величину осадки здания (не менее 10 см), который заполняют паклеЙ. Перегородки в этих зданиях можно устраивать и после осадки здания (примерно через год после постройки). 188
  • 190.
    4.5. Полы в гражданскихзданиях применяют полы дощатые, nаркет­ ные, лпполеумные, из керамической плитки, цементные. Полы устраивают либо по грунту, либо по цокольному или междуэтаж-. ному перекрытию (рис. 4.5.1). При устройстве полов по грунту устраивают бетонный под­ стилающий слой, в необходимых случаях (при высоком уровне грунтовых вод) укладьшают гидроизоляцию и слой щебня тол­ щиной 50 ММ, пропитанный битумом и втрамбованный в грунт. При устройстве дощатых полов первого этажа между грун­ том и полом делают подполье, предохраняющее пол от грунто­ вой сырости. Доски пола настилают по лагам, укладываемым на кирпичные столбики. Нельзя применять для кладки столбиков силикатный кирпич и искусственные камни, теряющие ПРОЧilOСТЬ при увлажнении. Столбики устанавливают на бетонный подстилающий слой или на коренной грунт. На насыпном неуплотненном грунте их ставить нельзя, так как неизбежно произойдет осадка грунта вме­ сте со столбиком, пол провиснет и будет зыбким. После подготовки подстилающего слоя размечают места ус­ тановки столбиков. Крайние ряды столбиков, по которым будут уложены лаги вдоль стен, устанавливают к ним вплотную, а край­ ние столбики каждого ряда - с отступом на полкирпича. Лаги подкладки и доски со стороны нижней плоскости и боковых кро­ мок должны быть антисептированы. По кирпичным столбикам укладьmают деревянные антисеп­ тированные подкладки по двум слоям толя, края которого вы­ пускают из-под ПОДlЛадок на 30-40 мм. Для выравнивания по­ верхности лаг применяют подкладки соответствующей толщи­ ны. Между лагами и стенами оставляют зазор 20 мм. В дощатых полах применяют доски толщиной 27 и 21 мм с гребнями и шпунтами на боковых гранях, изготовленные из дре­ весины хвойных пород. Доски должны быть хорошо просуше­ ны. Стыковать доски следует на лаге. Пол получается более ров- 189
  • 191.
    500 б 4 _2727 2515O75 80 1 11!7J ::r. ~,500-600 Q) 5 б о ~ о с:: в г 500 14 1 9 ~ ~10 Г 40 70 18500 ! 50 9' , д е i27 40 32 12 7 Рис. 4.5.1. Полы: а - дощатый на лагах по грунту; б - дощатый по дереаянным балкам над подвалом; в - то же, междуэтажного пере­ крытия; г - дощатый по железобетонному перекрытию над подвалом; д - то же, междуэтажному; е - цементный по грунту; ж - керами­ ческий но грунту; 3 - то же, по дереsянным балкам цокольного пере­ крытия; и - то же, по железобетонному перекрытию над подвалом; 190
  • 192.
    ж 12 315 14 ~ 32 / :::r. ~8 11 9 IJ 1 6 1500-600 t о 2- о t: и 15 14 17 к 21 20 19 ~ .... ~ ~ ~. 18 12 к - линолеумный по железобетонному перекрытию над подвалом; 1 - доски пола; 2 - лаги из досок; 3 - подкладки деревянные; 4 - два слоя толя или рубероида; 5 - кирпичный столбик 75х250х250 мм; 6 - подстилающий слой (щебеночный, бетонный) толщиной 80 мм; 1 - уплотненный грунт ОСНО!lания; 8 - балки перекрытия, 9 - тепло­ изоляционный слой; 10 - полиэ'ГилеНО!lая пленка; 11 - деревянный щит наката; 12 - железобетонная плита перекрытия; 13 - прокладка звукоизоляционная из древеСНО!lОЛОКНИСТЫХ плит толщиной 32 мм; 14- цементный раствор; 15 - керамические плитки; 16 - гидроизоляция из ДВУХ слое!! рубероида на битумной мастике; 17 - стяжка из цемен­ тно-песчаного раствора; 18 - шлак или керамзит; 19 - стяжка из легкого бетона; 20 - клеящая мастика или клей; 21 - линолеум 191
  • 193.
    ным, если настилв:6mолнять так, чтобы годовые кольца па смеж­ ных досках были направлены в разные стороны. При одинарном настиле подпольное пространство между вер­ хом бетонной подготовки и низом дощатого настила не должно npеВЬПIIать 30 см. Вдоль наружных стен под полом устраивают утепление путем подсьmки или укладки утеплителя (например, шлака) на ширину до 1,0 м, толщиной 25-30 см. При более эф­ фективных утеплителях толщина может быть уменьшена. Если подпольное пространство имеет высоту более 30 см, то делают двойные утепленные полы, конструкция которых ана­ логична конструкции полов по перекрытиям над подвалом. Пол настилается по уложенным и тщательно выверенным уровнем лагам или балкам перекрытия. Доски пола должны плот­ но прилегать одна к другой. Для этого их соединяют между со­ бой боковыми кромками в шпунт и сплачивают. Доски прибива­ ют к каждой лаге гвоздями длиной 70-80 мм, забиваемыми че­ рез гребень шпунта наискось так, чтобы не бьmи видны их го­ ловки. Если настилают доски повышенной влажности, то кре­ пятся они более мелкими гвоздями через 1-3 доски, чтобы пос­ ле высыхания их можно было перестелить. Дощатые полы укладьmают после завершения штукатурных работ. Деревянные полы нельзя настилать вплотную к стене, по­ скольку дерево впитьmает влагу, увеличивается в объеме, и полы могут вздуться. Зазор между досками пола и стеной (10-15 мм) перекрьmают плинтусом. Укладку дощатого пола ведут от стены. Первую доску гвоз- . дями прибивают к лагам. Затем укладывают еще несколько (3-4) досок, не прибивая их. Доски плотно прижимают друг к другу. используя клинья и железные скобы, забиваемые в лаги. После этого прибивают доски гвоздями, утапливая их головки с таким расчетом, чтобы можно бьmо производить острожку пола. Затем операцию повторяют в той же последовательности. Цементные полы устраивают в некоторых вспомогательных помещениях здания (например, топочная, холодные кладовые (см. рис. 4.5.1).При полах по грунту цементный пол устраивают 192
  • 194.
    по подстилающему бетонномуслою Толщиной 8 см. Покрытие пола выщлняют из цементного раствора состава 1:2 (1 часть це­ мента марки 300-400 на 2 части песка). Жидкий раствор разрав­ нивают, затирают и тщательно железнят. В течение нескольких суток (2 - 4) цементный пол 2-3 раза в день увлажняют, что предотвращает его растрескивание. Плинтус также можно сде­ лать из цементного раствора. Полы с покрьпием из керамических ПJПIток устраивают в ванной, санитарном узле, в по~тирочней, частично в кухне в зоне расположения сантехнического оборудования (см. рис. 4.5.1). Основание пола с покрытием из керамической плитки дол-· жно иметь гидроизоляционный и теплоизоляционный слои. Гидроизоляционный слой выполняют из двух слоев руберо­ ида на битумной мастике, а теплоизоляционный - из сыпучих (шлак, керамзит) или плитных (плиты минераловатные, древес­ новолокнистые) утеплителей. Основанием пола может служить бетонная подготовка (при полах по грунту) или железобетонные плиты междуэтажного пе­ рекрытия. Плитки укладьшают на слое цeMeHTH~ГO раствора состава 1:3 толщиной 10-15 мм. По периметру стен устраивают плин­ тус из плиток специальной формы. Полы из mmолеума теплы, достаточно долговечны, имеют высокие гигиенические и эстетические свойства. Их можно уст­ раивать во всех основных помещениях здания - жилых комна­ тах, кухне, коридорах, теплых кладовых (см. рис. 4.5.1). Линолеум выпускается рулонами различной ширины. До на­ клейки его расстилают в теплом помещении, выдерживают не менее суток, прирезают по месту, оставляя запас 5-6 см на усад­ ку. Полотнища укладывают по направлению света (для скрытия швов) насухо с нахлестом на 10-15 мм для того, чтобы при при­ резке и стыковании кромок получить малозаметный стык. Паркетпые полы обладают прекрасными декоративным~ и санитарно-гигиеническими свойствами. Они теплы, надежны и удобны в эксплуатации, долговечны (рис. 4.5.2). 7 КОНС'I r 'tlJIОЭ I J.LI, 193
  • 195.
    а в Рис. 4.5.2. Устройствопаркетных полов: 0- паркетная клепка; б­ сплаЧИl!ание паркетной клеГlКИ; в - настилка llapKeTHbIx щитов; г­ настилка паркетныx досок; д - настилка наборного паркета на битум­ ной мастике; е - настилка наборного мозаичного паркета; 1 - паз I! клепке; 2 - плоскость паркетной клепки; 3 - специальный молоток со скошенным бойком; 4 - гвоздь; 5 - фриз; б - паркетные щиты; 194 т
  • 196.
    г д 7 - прокладкаиз рулонного материала; 8 - причалка; 9 - паркет­ ная доска; 10 - лаги; 11 - 8ыра8НИ8ающие подкладки; 12 - утепли­ тель; 13 - ОСНО8ание; 14 - битумная мастика 195
  • 197.
    Паркетные полы выполняютсяиз паркетной клепки, кото­ рую изготовляют из дуба, ясеня, клена, лиственницы, бука (рис. 4.5.2). Дощечки клепки, имеющие форму прямоугольника шири­ ной 3-5 см, длиной 15-30 см с пазами по всем боковым гра­ ням, укладывают либо на битумной мастике по стяжке из цемен­ тного раствора по бетонному основанию, либо по сплошному дощатому настилу, уложенному с зазором между досками 8- 10 мм. Между клепкой и дощатым настилом прокладывают слой строительной бумаги, чтобы пол не скрипел. Клепку обычно укладьmают в «елку». При укладке паркети­ на прижимается к ранее уложенным ударами деревянного мо­ лотка по продольной, а затем по торцевой кромкам. Для связи паркетин между собой используют торцовые рей­ ки, которые закрепляют в пазах. Паркетины крепят к дощатому настилу основания гвоздями длиной 40-50 мм, которые вбива­ ют в нижний выступ шпунта, утапливая их так, чтобы они не мешали установке следующих клепок. Промышленностью выпускаются паркетные доски и щиты. Их монтируют на деревянных лагах. Полы из наборного паркета настилают по слою холодной мастики толщиной 1 мм или на специальных синтетических кле­ ях и мастиках. Карты паркета, собранные по определенному узо­ ру на крафт-бумаге, сначала укладывают, подгоняют насухо. После окончательной разметки карты раскладывают (бумагой кверху) предварительно тщательно выровненный слой мастики, подгоняя карты друг к другу. По окончании настилки бумагу смывают. После настилки паркетных полов производят их сплошную острожку и циклевку (пол из паркетных досок и щитов только циклюют). Затем очищенный и высушенный паркетный пол по­ крьmают лаком или специальной мастикой. 196 т
  • 198.
    4.6. Окна идвери Окна обеспечивают в здании нормальное дневное освеще­ ние, регулируемую естественную вентиляцию и облучение поме­ щений и находящихся в них предметов тепловыми и световыми солнечными лучами. Правильно подобранные по размерам и кон­ струкции окна обеспечат нормальный комфортный режим в по­ мещениях. ПЛощадь остекления принимают в зависимости от размера помещения, географической широты, климатических условий и ориентации по странам света, положения здания в окружающей застройке и природпом окружении. В зависимости от перечис­ ленных условий отношение площади окна к площади пола мо­ жет колебаться в пределах от 1/5 до 1/8. Для помещений, обра­ щенных на солнечную сторону и ничем не загороженных, доста­ точна минимальная норма (1/8). В помещениях, обращенных ок­ нами на север, затененными деревьями или постройками, и в помещениях с большой глубиной принимают большую норму. Следует принимать во внимание и направление господствующих ветров. Чрезмерно большие размеры окон, обращенных в направ­ лении ветра, преобладающего в холодное время года, способству­ ют переохлаждению помещений, требуют большого расхода топ- лива. Следует помнить, что стоимость 1M~ оконного проема'обой­ дется дороже, чем 1 м2 глухой стены, а тепловые потери значи­ тельно больше, чем через стену. С учетом климатических условий остекление окон может быть одинарным (в южных районах), двойны~ (в средней полосе при расчетной зимней температуре до -300 С) или тройным (в районах с суровой зимой при расчетной температуре -40 0 С и ниже). Для проветривания помещений в окнах устра~вают форточ­ ки или фрамуги. Иногда роль форточки выполняет узкая створка окна. 197
  • 199.
    ОсвещеННОСТЬi теплопотери ипроникание световых и теп­ ловых солнечных лучей можно регулировать различными спосо­ бами, например, ставнями, - это традиционный способ. Форма и размеры окон и дверей влияют ~ на внешний облик здания, его архитектурный образ. При установке оконных и дверных блоков в деревянных брус­ чатых или бревенчатых зданиях следует учитьmать осадку стен и оставлять зазор между верхом коробок и стен 7-8 см, заполнив его теплоизоляционными вкладышами. После установки оконных и дверных коробок в каменных стенах и их коНdпатки можно приступать к штукатурке откосов, установке наличников и устройству слива для защиты наружно­ го подоконного откоса. Слив выполняют из оцинкованной кро­ вельной стали, который заводят в паз коробки и герметизируют замазкой. С внутренней стороны помещений в оконных проемах устанавливают подоконные доски с соблюдением определенных правил: - ширина подоконной доски, вьmолненной из одной доски, не должна превышать 15 см; при'большей ширине соеди­ няют несколько досок на шпонках; - свес подоконной доски внутрь помещения за плоскость оштукатуренной стены рекомендуется выполнять не ме­ нее 50 мм; - верхняя поверхность подоконных досок должна иметь уклон внутрь помещения не менее 0,01; - поверхности подоконной доски, соприкасающиеся с клад­ кой стен, должны быть антисептированы и изолированы прокладкой из рубероида; - в пределах одного помещения подоконные доски устанав­ ливают на одном уровне; - между нижней плоскостью подоконной доски и отопитель­ ным прибором, установленным под окном, должен оста­ ваться зазор 60-70 мм; 198
  • 200.
    - подоконную доскуследует делать с капельником, это за­ щитит стену от намокания :в случае запотевания окна и стекания воды с подоконника; - размер досок по длине соответствует ширине проема с уче­ том заделки ее концов в стены не менее, чем на 40 мм с каждой стороны. 4.7. Лестницы в малоэтажных домах используют несколько типов лест­ ниц. Выбор типа лестницы зависит от планировки и стиля зда­ ния, помещения или квартиры. Конструкция лестницы опреде­ ляется следующими факторами: высотой помещения, экономи­ ей площади, интенсивностью движения по лестницу, эстетикой конструкций и всего сооружения и пр. _ В общем виде лестницы можно классифицировать следую­ щим образом (рис.4.7.!.) - по ФУНКЦИО1lалыюсти - домовые, ландшафтные, и спе­ циальные; - по назначению - междуэтажные, входные, рабочие, про­ ходные; - по относительному положению - внутренние и наруж­ ные; - стационарные, трансформируемые и переносные; - по конструкции - с подступенками, без подступенков, с тетивами или на косоурах, винтовые ( с центральной стой­ кой или без нее), со ступенями консольными, подвесны­ ми, выдвижными, забежными и Т.д.; - по материалу несущих конструкций - деревянные, сталь­ ные, каменные, железобетонные, бетонные, комбиниро­ ванные; - по форме - прямые, в т. ч. одномаршевые и многомар­ шевые; ломап.ые, вт. Ч. распашные и с забежными ступе- , 199
  • 201.
    ~r'Е А 5 г ' а-»--6-4-а., .... ,=2 ,- д * 3350 f ~'i g JJ~ в 3а6еж'Ные сmynе1lи 800-900 3000 и(~~~аюfi~ I ЭТ. I ЭТ. Типовой ЭТаж i11О. • 0.00 эma:ш:..:tJ.4. Л 'L..;;; 'L....;;ё.:;-t L-.*-....:r Без l(окольного С цокольным •мариш маришм Рис. 4:7.1. Виды лестниц: А - одномаршевая; 5, В - двухмаршеlSая; Г, д- трех- и четырехмаршевые; Е - внутриквартирная с забежными ступенями; Ж - lSинтовая; З, И, к - круговые; Л - обозначения лестниц на планах 200
  • 202.
    нями; одномаршевые лестницыс поворотом на 1800 или с одним-двумя поворотами на 900; криволинейные, со­ стоящие из одних только забежных ступеней; BIIНToBыe с центральной стойкой, которая несет всю нагрузку; двух­ маршевые криволинейные с промежуточной площадкой; - по СЛОJlсносmu - мелкоэлементные и крупноэлементные , полносборные. Основные типы лестниц состоят из маршей 11 площадок. Лестничный марш в собранном виде состоит из ступеней и под­ держивающих их наклонных балок. Балки, поддерживающие сту­ пени только снизу, называются косоураМII , а поддерживающие ступени одновременно снизу и с торцов - тетивами (рис. 4.7.2). Если ступени опираются на три косоура, то средний из них назы­ вается промежуточным. Площадки состоят из горизонтальных балок и покрытия. Б Рис. 4.7.2. Лестничные марши: А - с опорой на теТИI!Ы; Б - с опорой ступеней на КОСОУРЫ 201
  • 203.
    Угол, под которымустанавливается лестничный марш, на­ зьmается углом подъема марша. Расстояние по вертикали меж­ ду уровнями, которые соединяет марш, называется высотой мар­ ша, а расстояние в плане между крайними точками его опор - горнзовталыIмM заложением марша. Отношение высоты марша к его горизонтальному заложе­ нию называется уклоном марша. В конструктивных парамет­ рах марша различают строительную ШlIрllIlУ марша, которая определяется расстоянием между крайними точками его попе­ речного сечения. Полезная ширнна марша - это расстояние в свету между ограждающими лестницу конструкциями ( перн­ лами, стенами). Горизонтальная рабочая часть ступеней называется ПРОСТУ­ ныо. Кроме балок,ступени могут дополнительно опираться на вертикальные элементы, назьmаемые подступеllкаМII, которые служат также эстетическим элементом лестницы (рис. 4.7.3). Площадка / Высота перил Тетива Проступь Подступенок Расстояние между стойками Рис. 4.7.3. Схематическое изображение лестницы 202
  • 204.
    Ступени без подступенковназываются открьпыми , а с под­ ступенками - закрытыми. При закрытых ступенях подступенки устраиваются на некотором расстоянии от края верхней просту­ пи, что позволяет уменьшить горизонтальное заложение марша, а следовательно, его длину (рис. 4.7.4). Основными техническими параметрами ступени являются ее высота и ширина. Высота ступенн - это расстояние по верти­ кали между nроступями, ШИрШIa ступенн - это расстояние по горизонтали между наружными краями проступей . Важно не путать понятия ширины ступени и ширины ее про­ ступи. Ширина ступени - понятие теоретическое, используемое для расчета угла подъема и заложения марша , ширина просту­ пи - понятие конструктивное, используемое для расчета конст­ рукции ступени. Для того, чтобы правильно запроектировать лестницу, не­ обходимо не только правильно выбрать ее мес-rоположение, но и знать основные нормы, правила и требования, которые следует соблюдать при проектировации и строительстве лестниц: - Минимальная ширина марша - для вцутриквартирных лестниц - 800 мм, для 2-этажных зданий - 900 мм. - Ширииа лестничных площадок должна быть не менее ширины марша и не менее 1200 мм'- - Полезная ширина марша поворотной лестницы и лест­ ницы, соединяющей более двух этажей, должна быть рас- . , считана на одновременный проход не менее двух чело- век, Т.е. составлять не менее 1,0 м. Кроме того, при по­ лезной ширине марша менее 1,0 м затрудняется перенос крупногабаритных вещей. - Ширина маршей двух- и многомаршевых лестниц долж­ на быть одинаковой на всем протяжении лестницы. - Количество ступеней в одном марше должно быть не менее 3 и не более 16. - Рекомендуемый уклон лестницы находится в пределах 1:2-1:1,75. Предельные уклоны лестниц, предназначе.н- 203
  • 205.
    н подступенок /' /0. в подступенок проступь выступ Рис. 4.7.4. Закрытыеступени (вверху со скошенными подступенками; внизу - с прямыми подступенками): Н - высота ступени; в - ширина ступени; с - ширина 8ыступа 204
  • 206.
    ных для ходьбы,имеют верхнюю границу 1:0.85 (500) и нижнюю границу 1:2,75 (200). - Размеры ступеней лестниц: высота - не более 19 см, ширина - не менее 26 см. Для внутриквартирных лест­ ниц соответственно 20 и 23 см. Для подвальных и чердач­ ных лестниц - 21 и 21 см. - Ширина ступени основных лестниц должна быть не ме­ нее 25 см. Для лестниц, ведущих в нежилые помещения, высота и ширина ступеней может быть 20 см. - Высота ступеней должна быть не более 20 и не менее 12 см. - Высота ограждений (перил) междуэтажных лестниц долж­ на быть не менее 0,9 м. - Расстояние Между стойкамlI (балясинами) перил не дол­ жно превышать 12 см при высоте от уровня пола свыше 1,5 м. - Расстояние между любой ступенью лестницы и потолком должно быть не менее 2,0 м, чтобы по лестнице мог сво­ бодно пройти взрослый человек Необходимая площадь для сооружеиия лестницы (В гори­ ЗОНТ3.ЛЬНОЙ проекции) составляет ориентировочно: - винтовая лестница с цеитральной стойкой - не менее 3,6 кв.м; - лестница с площадкой - 3,1 кв.м; - лестница с двумя поворотами на 900 - 2,1 кв.м; - прямая одномаршевая лестница - 2,5-3,0 кв.м. Методы расчета лестниц После выбора типа лестницы и места ее расположения оп­ ределяются ее параметры, а именно: количество маршей, полез­ ная ширина, длина горизонтального заложения каждого марша, количество и длина лестничных площадок. Существует несколько формул определения оптимального 205 -
  • 207.
    соотношения размеров проступейи подступенков, которые слу­ жат для правильного расчета лестниц. 1. Формула, основанная на длине шага.. Длина шага человека составляет от 60 до 66 см, в среднем - 63 см. Исходя из этого удобство лестницы определяет формула 2Н + В = 63 ± 3 см. При увеличении высоты подступенка на 1 см надо сокра­ щать ширину проступи на 2 см, при этом уклон увеличится. При большем уклоне проступь становится слишком узкой, а при мень­ шем уклоне - проступь излишне широкая. 2. Формула удобства позволяет определить уклон, который требует наименьших затрат сил при подъеме по лестнице В - н = 12 см. 3. Формула безопасности В + Н =46 ± 1 см. Безопасность спуска по лестнице зависит в первую очередь от правильного определения размеров проступи. При слишком маленькой ширине проступи возникает опасность соскальзьmа­ ния ноги, при слишком широкой проступи при спуске человек как бы зависает на краю ступени. Для расчета параметров лестницы, удобной для ходьбы, принимается уклон марша.в пределах 1:2 - 1:1,75. Зная уклон и высоту марша Н, определяем длину его гори­ зонтального заложения В. При уклоне марша 1:2 длина его зало­ жения, к примеру, определится по формуле откуда L=HxY, 206
  • 208.
    где У -знаменатель относительной величины принятого уклона марша. Затем рассчитывается количество ступеней в марше по фор~ муле L Х=-+l В ' где В - ширина ступени, Х - количество ступеней, L - длина заложения марша. Разделив высоту марша на количество ступеней, получим высоту ступени «Н» (см. рис. 4.7.4). Расчеты габаритов лестниц с забежными ступенями, винто­ вых лестниц, лестниц с четвертьоборотными маршами более сложные, они приводятся в специальной ли~ературе по лестни­ цам. Конструкции леСТIIИЦ Мелкоэлементиые лестниц'ы чаще всего применяются при реконструкции, в зданиях с неунифицированной высотой этажа, особенно в тех случаях, когда лестница является главной компо­ зиционной осью интерьера. В зависимости от материала косоуров и площадочных балок различают мелкоэлементные лестницы по металлическим и же­ лезобетонным косоурам, деревянные лестниц~. Рассмотрим конструктивные решения основных видов де­ ревянных лестниц: на тетивах и на косоурах. В деревянных лестницах несущую основу маршей составля­ ют наклонные балки - тетивы или косоуры, которые врезают в площадочные или в специальные ПОДlсосоурные балки. Просту­ пи и подступенки выполняют из отдельных сплоченных досок или деревянных щитов. В деревянных лестницах на тетивах ( рис.4.7.5.) для сопря­ жения проступей и подступенков с тетивами в боковых их гранях 207
  • 209.
    ка площадки А в 1-1 JI~ Рис. 4.7.5.Конструкции деревянных лестниц на тетивах: А - с врез­ ными ступенями; Б - с креплением ступеней на стальных уголках; В - со сплошной пилообразной прибои ной при а. ~ 400; Г-с прибо­ инами при а. 400 208
  • 210.
    делают пазы (пропилы)глубиной 15-25 мм. Ширина пропилов зависит от толщины досок, взятых для проступей и подступен­ ков. Соединения выполняют на клею или дополнительно торцы элементов закрепляют гвоздями или шурупами. После установ­ ки тетивы таких лестниц дополнительно стягиваются двумя или тремя металлическими тяжами диаметром 8-12 мм. Возможно крепление ступеней к тетивам на стальных или алюминиевых уголках. На рис. 4.7.6 ПОJазан пример деревянной лестницы на тети­ вах с забежными ступенями. Возможен вариант лестниц с одной тетивой. ДереВЯliные лестницы на косоурах могут иметь один косо­ ур, который располагается по оси лестничного марша, или два косоура, расположенных по краям марша либо сдвинутых не­ много внутрь. Вообще, в случае, если толщина доски, использу­ емой для косоура, меньше оптимальной или ширина лестнично­ го марша более 2,5 м, в средней части марша устанавливают до­ полнительный косоур. Конструктивные решения лестниц на ко­ соурах показаны на рис. 4.7.7 и 4.7.8. Косоуры и ступени желательно изготавливать из одного и того же материала. Это может быть дуб, клен, бук или клееная древесина. Следует отметить,. что древесина хвойных пород 'хо­ рошо подходит только для изготовления тетивы и подступенков. Для проступей предпочтительно использовать древесину более твердых пород. В некоторых случаях проступи офактуриваются специальными накладными досками из пластмассы или оклеи... ваются специальными пленками, имитирующими древесину цен­ ных пород или даже камня и существенно повышающими изно­ состойкость ступеней. Лестницы часто изготавливают без подступенков. При из­ готовлении лестниц с подступенками их приклеивают в стык, прибивают ил.и врезают. Можно закрепить подступенок на клею, шурупами с помощью треугольного бруска или гвоздями через проступь. В любом случае применение подступенков повышает устойчивость лестницы. 209
  • 211.
    воН 800 Jj80 9БО 1- 1 стяжка 860 тетивасечением ,r...JIL-'I,,J-'-'--'- 4ООхВО ~ 80 ~ 1-1 Рис. 4.7.6. Конструкции деревянной лестницы на тетивах с забежными ступенями 210
  • 212.
    РИС. 4.7.7. КОНСТРУКЦИИдеревянных лестниц на косоурах 211
  • 213.
    Рис. 4.7.8. Соединения11 косоурах на шкантах и кобылках Желательно, чтобы проступь выступала за переднюю плос­ кость подступенка на 20-30 мм и имела закругленный край. Для того, чтобы скрыть шурупы крепления проступи, в ней просверливаются отверстия с потаем и под диаметр головки шу­ рупа, а затем отверстия закрываются деревянными пробками (см.рис, 4.7.7). Высоту сечения несущих балок лестничного марша (тетив и косоуров) можно определить по данным табл.4.7.1. Толщина досок проступей и их ширина в зависимости от ширины марша определяется по табл. 4.7.2. 212
  • 214.
    Таблицы для определенияпараметров основных деталей деревянIIых лестниц Таблица 4.7.1 Высота поперечного сечения иесущей балки лестничного марша (~ри IIIВрине сечения 50,60 мм), см Высота Ширина лестничного марша, м лестничного 0,80--0,90 I 1,00-1,10 I 1,2 марша, м Длина лесuшчного марша, м 5,5 8,5 10,5 12,5 5,5 8,5 10,5 12,5 5,5 8,5 10,5 12,5 до 1,5 10,5 9,5 8,5 - 10,5 9,5 8,5 - 11,0 10,5 9,5 - до 2,0 13,5 11,5 10,5 - 14,0 12,0 11,0 - 14,5 12,5 12,0 - до 2,5 17,0 14,0 13,0 12,5 17,5 15,0 14,0 13,0 18,5 16,0 14,5 14,0 до 3,0 - 16,5 15,5 15,0 - 18,0 16,5 15,5 - 19,0 17,5 16,5 'Таблица 4.7.2 Рекомендуемые размеры ступеней, мм Шщина лестничного марша, м 0,80 0,90 1,00 1,10 1,20 Ширина ступени, 240 300 240 300 240 300 240 300 240 300 мм Толщина ступени, 40 40 45 45 45 45 50 50 55 55 мм
  • 215.
    - Литература Аzан.янц Л.М., МасютuнВ.М., Бочкарева Н.В. и др. Жилой дом для индивидуального застройщика. - М.: Стройиздат, 1990. - 158 с. Артемьев Ю.А. Как построить дачный домик. - Краснодар: Кн. изд-во, 1991. - 207 с. БарmaшевuчА.А., БогушВ.Д. Квартира, коттедж, дача. - Миn:ск: 000 «Лазурак», 1995. - 120 с. . Бояд:нсuев Х.А. Деревянный дом - своими руками - София, Болгария: Техника, 1988. - 142 с. Бояр С.В., Лозzачев КА. Сруб своими руками. - СПб.: Строй­ издат, 1992. - 32 с. Ваш дом: Пособие индивидуальному застройщику: альбом I Бо­ рисов В.И., Бутусов Х.А., Лопаткин Ю.В. и др.: Под ред. Борисова В.И. - М.: Колос, 1994, - 415 с. ГОСТ 26823-86 «Летние садовые домики. Общие технические требования». Зазерекий К.И. Строим всей семьей. - СПб: Кристалл, Дельта, 1996. - 512 с. Замаратский Ю.Н. Индивидуальная баня: Справ. пособие. - М.: Стройиздат, 1992. - 112 с. Индивидуальное строительство: информационный сборник. - М., ВАИИНТПИ, 1991; вып. 2. 214
  • 216.
    Индивидуальное строительство: информационныйсборник. - М., ВНИИНТПИ,1991. Вып. 3. Исламкулова С.Х. Кровельные материалы для строительства и ремонта индивидуальных домов. - М.: Строийздат, 1992. - 112 с. Как построить дачу за полцены / В.А. Рогожский, Р.Р. Дубне­ вич, В. М. Колевасов и др. - Спб.: ВО «Агропромиздат», ТОО «Диамант»', 1996. - 512 с. ' Комай В.и. Дом. - М.: Центр «ПРО», 1993. - 160 с. Крашенинников А.В. Собственный дом. В З-х кн. КН.1. Приду­ май свой дом: Практическое пособие. - М.: Высшая шко- ла, 1993. - 158 с. Кртиенuнников А.В. Собственный дом. В 3-х кн. КН.2. Построй свой дом: Практическое пособие. - М.: Высшая школа, 1993. - 127 с. . KpaтeHиHHuкoвA.B. Собственный дом. В 3-х кн. Кн.3. Дом, уча­ сток и природа: Практическое пособие. - М.: Высшая шко­ ла, 1993. - 143 с. Курсовое пректирование гражданских зданий. Бурлаков И.Р., Лапин ПЛ. - Ростов н/Д: РИСИ, 1986 -73 с. Маринюк Т.М. ДОМ и подворье: Справ. пособие. - М.': Стройиз­ дат, 1993. - 449 с. Наш дом / Ф. Годеман и др.; Пер с нем. - М.: Стройиздат, 1994. - 270 с.. Новосад Н.Г. Строим дом. - Екатеринбург: Изд-во «У-Факто- рия», 2000. - 704 с. . Рогонский В.А. Построим дачу за полцены. - СПб.: «Агропром­ издат», 1994. 160 с. 1000 + 1 совет по строительству дачного домика / Авт. -сост. А. Шилина. - Мн.: Харвест, 1998. - 320 с. Рудаков Г.П. Постройки на приусадебном участке. - М.: Зна­ ние, 1992. - 64 с. 215
  • 217.
    т Сайбель 3.Я., Сайбель3.3. Садовый участок. Планируем и обу- r страиваем своими руками. - М.: Недра, 1991. - 174 с. СНиП 2.08.01-89*. Жилые здания. - М., 1995. Страшнов В. г. Сельский жилой дом. - М.: Агропромиздат, 1989. - 46 с. Строительство и оборудование индивидуального дома I Сост. Р.Л. Рощина. - М.: Стройиздат, 1994. - 368 с. Трофименко А. Справочник по строительным работам. - М., 1997. - 557 с. У;инякова и.л. Как сделать дом теплым: Справ. Пособие. - 2-е изд. - М.: Стройиздат, 1996. - 36 с. Хохлова л.п. Справочник индивидуального застройщика. - М.: Высшая школа, 1992. - 304 с. Что нам стоит дом построить? - СПб.: изд-во «Акционер», 1992. - 97 с. Шеnелев А.М. Как построить сельский дом. - 4-е изд. - М.: Россельхозиздат, 1984. Юрмалайнен п. Строим сами деревянный дом: Справ. пособи.е I Пер. с финск. - М.: Стройиздат, 1992. - 168 с.
  • 218.
    Содержание Предисловие ................................................................... 3 Глава1. ОБЩАЯ ЧАСТЬ .................................................. 4 1.1. Учет природно-климатических условий ....................... 4 1.2. Строительные материалы, используемые для возведения здания .......................... 8 Глава 2. ОСВОЕНИЕ УЧАСТКА И ПОДГОТОВКА ОСНОВАНИЙ .................................. 44 2.1. Освоение участка ................................................... 44 2.2. Характеристики оснований фундаментов .................... 53 2.3. Подготовка оснований ............................................ 64 Глава 3. КОНСТРУКЦИИ ПОДЗЕМНЫХ ЧАСТЕЙ ЗДАНИЙ .................................................................. 67 3.1. Выбор конструкций фунда.vrентов ............................. 67 3.2. Цоколь и отмостка .....................................·............ 86 3.3. Производство работ при сооружении фундамента ........ 95 3.4. Заглубленные сооружения ...................................... 106 3.5. Ремонт, восстановление и усиление фундаментов ....... 112 217
  • 219.
    Глава 4. -КОНСТРУКЦИИНАДЗЕМНЫХ ЧАСТЕЙ ЗДАНиЙ ................................................................. 118 4.1. Стены ................................................................. 119 4.2. Перекрытия ......................................................... 148 4.3. Крыша ................................................................ 158 4.4. Переroродки ......................................:................. 178 4.5. Полы ...........................................................:...... 189 4.6. Окна и двери ........................................................ 197 4.7. лестницы ............................................................ 199 Лurnерarnyра ................................................................ 214
  • 220.
    Учебно-практическое пособие Покатаев ВалерийПетрович Токарев Александр Альбертович КОНСТРУКЦИИ МАЛОЭТАЖНЫХ ЗДАНИЙ (ИНДИВИДУАЛЬНЫХ домов, КОТТЕДЖЕЙ, ДАЧ) Ответственный редактор и. ю. Жuляков Художник В. Кириченко Корректоры: В. Булгаков, и. Дорогокупец Лицензия ЛР N!! 065194 от 02 июня 1997 г. Сдано в набор 09.10.03. Подписано в печать 21.01.04. Формат 6Ох84116. Бум. тип N!! 2. Гарнитура CG Times. Печать высокая. Усл. п. л. 13,44. Тираж 5000 экз. Зак. N!! 299 Издательство ..Феникс» 344082, г. Ростов-на-Дону, пер. Халтуринекий, 80 Изготовлено с готовых диапозитивов в АПП ..Джангар» 358000, г. Элиста, ул. Ленина, 245