Kemahiran Hidup Bersepadu
Ekonomi Rumah Tangga
Mei 2014
2 JAM
PERSIDANGAN KEBANGSAAN PENGETUA-PENGETUA
SEKOLAH MENENGAH MALAYSIA ( PKPSM ) KEDAH
MODUL PENINGKATAN AKADEMIK
MEI 2014
KEMAHIRAN HIDUP BERSEPADU
EKONOMI RUMAH TANGGA
2 JAM
JANGAN BUKA KERTAS SOALAN INI SEHINGGA DIBERITAHU
1. Kertas soalan ini mengandungi 3bahagian.
2.Bahagian A:
Setiap soalan diikuti oleh empat pilihan jawapan yang berhuruf A, B, C dan D.
Bagi tiap-tiap soalan pilih satu jawapan sahaja. Tandakan semua jawapan anda pada
kertas jawapan objektif yang disediakan.
3. Bahagian B:
Bahagian ini mengandungi 5 soalan struktur pelbagai bentuk. Jawab semua soalan diruangan
yang disediakan.
4. Bahagian C:
Bahagian ini mengandungi 2 soalan esei pendek. Jawab kedua-dua soalan.
__________________________________________________________________________________
Kertas soalan ini mengandungi 20 halaman bercetak
[ Lihat sebelah ]
2
BAHAGIAN A: OBJEKTIF
(60 markah)
1. Langkah pertama yang perlu dilakukan sekiranya berlaku kecederaan kecil di
dalam bengkel.
A Mengambil peti pertolongan cemas.
B Melakukan rawatan pertolongan cemas.
C Melaporkan kepada guru dengan segera.
D Menghubungi pihak hospital.
2. Alatan tangan ini digunakan untuk membuat lengkuk dan meratakan kayu.
A Kikir parut
B Gergaji tangan
C Pahat tepi serong
D Gergaji lengkung halus
3. Susun langkah-langkah pembinaan projek.
I memotong bahan
II membuat kemasan
III mengukur dan menanda
IV membina dan mencantum
A III, I, IV, II
B I, IV, III, II
C III, IV, I, II
D I, III, IV, II
4. Antara yang berikut padanan manakah benar?
Kemasan Pelarut
A Syelek Turpentin
B Lekar Thinner
C Cat Licau Air
D Ton Kayu Spirit Metil
3
5. Jadual 1 menunjukkan bahan dan kos bagi membina projek serbaguna.
Bahan Kos (RM)
Perspek 600.00
MDF 100.00
Skru 10.00
Glu 20.00
Kertaslas 30.00
Lekar 15.00
Jadual 1
Hitung kos pengeluaran projek itu sekiranya kos upah berjumlah RM 300.00 dan kos
overhed berjumlah RM 30.00.
A RM 775.00
B RM 805.00
C RM 1075.00
D RM 1105.00
6. Rajah 1 menunjukkan binaan sebuah lampu pendarflour.
Rajah 1
Apakah yang akan berlaku sekiranya bahagian X ditanggalkan selepas lampu
dinyalakan?
A Berlaku litar pintas
B Lampu berkelip-kelip
C Lampu akan terus menyala
D Gelang merah terjadi pada hujung tiub
N
L
X
4
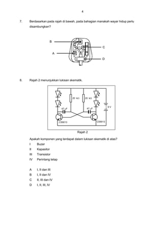
7. Berdasarkan pada rajah di bawah, pada bahagian manakah wayar hidup perlu
disambungkan?
8. Rajah 2 menunjukkan lukisan skematik.
20 k20 k
47 F 47 F
9 V
CS9013CS9013
Rajah 2
Apakah komponen yang terdapat dalam lukisan skematik di atas?
I Buzer
II Kapasitor
III Transistor
IV Perintang tetap
A I, II dan III
B I, II dan IV
C II, III dan IV
D I, II, III, IV
A
B
C
D
5
9. Rajah 3 menunjukkan lukisan bergambar.
LED
bateri
+
Rajah 3
Apakah akan berlaku kepada LED?
A LED akan terbakar
B LED akan menyala
C LED akan berkelip
D LED akan malap
10. Rajah 4 menunjukkan proses dalam kerja pematerian.
X
Rajah 4
Apakah fungsi X?
A Memudahkan kerja pematerian
B Menguatkan hasil pematerian
C Menyedut pateri yang telah dicairkan
D Menghalang kesan pengoksidaan
6
11. Rajah 5 menunjukkan sejenis perangkap sinki.
Rajah 5
Manakah bahagian yang dibuka untuk tujuan penyenggaraan?
A P
B Q
C R
D S
12. Rajah 6 menunjukkan satu objek.
Rajah 6
Pelan bagi objek itu ialah
A C
B D
7
13. Rajah 7 menunjukkan satu artikel yang dijahit dengan jahitan hiasan.
Rajah 7
Apakah jahitan X?
A kia
B lilit ubi
C suji bilang
D insang pari
14. Antara berikut manakah adab dan sopan semasa makan?
I Bongkokkan badan sedikit semasa menyuap makanan.
II Siku hendaklah diletakkan di atas meja semasa makan.
III Tunggu sehingga semua orang habis makan, barulah anda mula makan.
IV Biarkan makanan sejuk dahulu sebelum dimakan dan jangan tiup makanan di
hadapan orang.
A I dan II
B I dan IV
C II dan III
D II dan IV
8
15. Rajah 8 menunjukkan satu proses pemasuan semula.
Rajah 8
Apakah tujuan aktiviti dalam Rajah 8?
A Memudahkan kerja mengeluarkan pokok
B Mengurangkan kadar renjatan
C Memadatkan medium pokok
D Membersih pasu
16. Rajah 9 menunjukkan carta piramid makanan.
Rajah 9
X mewakili nutrien
I Karbohidrat
II Pelawas
III Garam mineral
IV Protein
A I, II dan III
B I, II dan IV
C I, III dan IV
D II, III dan IV
X
9
17. Rajah 10 menunjukkan sejenis pembungkus makanan.
Rajah 10
Apakah makanan yang sesuai dibungkus dengan pembungkus itu.
I kek
II bubur nasi
III bihun goreng
IV sandwich telur
A I, II dan III
B I, II dan IV
C I, III dan IV
D II, III dan IV
18.
Susunan kerja yang manakah betul untuk menyediakan menu di atas?
A I, II, III, IV
B I, III, IV, II
C III, I, II, IV
D IV, I, III, II
19. Antara berikut kuih yang manakah menggunakan bater pekat?
A Kuih rengas
B Kuih lapis
C Kuih kosui
D Kuih ketayap
I makaroni goreng
II air teh
III tembikai
IV kek permaisuri
10
20. Antara berikut pasangan manakah benar tentang jenis bater dan hasil masakannya?
Jenis bater Hasil masakan
I Bater pekat Cucur udang
II Bater pekat Kuih lapis
III Bater cair Kuih lompang
IV Bater cair Skon titis
A I dan II
B I dan III
C II dan IV
D III dan IV
21. Pilih padanan yang betul tentang kuih tempatan dan sumbernya.
Kuih Tempatan Sumber
A Pulut panggang Beras pulut dan gula melaka
B Kuih seri muka Tepung ubi dan kelapa
C Pulut inti Beras pulut dan sagu
D Kuih lapis Tepung beras dan kelapa
22. Susun mengikut urutan yang betullangkah menjahit skirt berkasing.
I Jahit kelepet pada hujung skirt
II Jahit kelim pada kedua-dua tepi skirt
III Jahit kasing pada garisan pinggang
IV Susupkan ben elastik ke dalam kasing
A I, II, III, IV
B II, III, IV, I
C III,IV, I,II
D IV,I,II,III
11
23. Antara berikut yang manakah kegunaan kelepet?
A Sebagai hiasan
B Memberi bentuk
C Memberi keselesaan
D Mengemas tepi pakaian
24. Antara berikut pasangan manakah betul tentang bahagian mesin jahit dan
kegunaannya?
Bahagian mesin jahit Kegunaan
I Tiang benang Memegang buku benang
II Penekan jahitan Memegang jarum
III Pemusing gelendung Mengawal pergerakan mesin
IV Tuas pemegang benang Mengawal benang
A I dan II
B I dan IV
C II dan III
D III dan IV
25. Susun mengikut urutan yang betul langkah menjahit kelim belah kangkung.
I Semat dan jelujur di garisan pemadan
II Temukan sebelah luar fabrik
III Tekan dengan seterika supaya kelim terbuka
IV Jahit mesin di garisan pemadan
A I, II, III, IV
B I, IV, II, III
C II, I, III, IV
D II, I, IV, III
12
26. Rajah 11 menunjukkan sejenis lapik.
Rajah 11
Apakah fungsi X?
A Meratakan garis kelim
B Menanda jarak mata jahitan
C Mengukuhkan jahitan pada lapik
D Memudahkan kerja menjahit dilakukan
27. Rajah 12 di bawah menunjukkan sejenis lengan pada blaus.
Rajah 12
Apakah X?
A Belah lapik kain selari
B Belah slit berlapik
C Belah berkun
D Belah berzip
13
28. Maklumat dibawah adalah tentang urusan perniagaan masa kini.
Antara berikut yang manakah berkaitan dengan pernyataan itu?
A E-dagang
B Pesanan mel
C Kad pra bayar
D Mesin runcit automatik
29. Antara berikut padanan manakah benar tentang usahawan dan makan gaji.
Usahawan Makan gaji
A Individu tidak dapat meneruskan
kehidupan
Masa bekerja tidak terhad
B Mengikut masa yang ditetapkan Bidang tugas meliputi semua aspek
C Tidak sanggup menghadapi risiko Sanggup menghadapi risiko
D Keuntungan dinikmati sendiri Menerima pendapatan tetap
30.
Puan Nina mendapati kek yang dibelinya berkulat.
Berdasarkan pernyataan di atas,apakah hak Puan Nina sebagai pengguna?
A Hak mendapat ganti rugi
B Hak mendapat maklumat
C Hak mendapat keselamatan
D Hak mendapat pendidikan kepenggunaan
 Diletakkan di tempat awam
 Pengguna memasukkan sejumlah wang
tunai yang ditetapkan
14
BAHAGIAN B: STRUKTUR
(30 markah)
1. Namakan alatan tangan berikut.
a) d)
b) e)
c) f)
(6 markah)
15
2. Isi tempat kosong berdasarkan pilihan jawapan yang diberikan di bawah.
(a) Disiplin dan sikap seseorang terhadap kerja yang di buat seperti menepati waktu,
bertanggungjawab, amanah dan mematuhi arahan. ______________________
(b) Sebagai langkah keselamatan, murid mesti memakai kasut bertutup dan
_________________________ semasa berada di bengkel bagi mengelakkan
kemalangan.
(c) _________________ ialah susunan barang yang dirancang untuk menghasilkan
sesuatu produk dan impak.
(d) _________________ ialah cantuman atau sambungan kayu.
(e) Tujuan utama __________________ adalah untuk mencantikkan serta
melindungi permukaan kayu.
(f) _________________ digunakan untuk menyambungkan peralatan elektrik
dengan soket alir keluar.
(g) _________________ dipasang untuk melindungi litar dan perkakas elektrik.
(h) _________________ terletak di hujung paip dan berfungsi mengawal pengaliran
air keluar.
(i) _________________ adalah alat jahitan yang penting kerana memudahkan dan
mempercepatkan kerja menjahit.
(j) _________________ perlu dilakukan untuk mengurangkan renjatan pada anak
pokok yang baru diubah.
(10 markah)
plag pengerasan tanggam kemasan
etika kerja fius mesin jahit pili
reka bentuk bertapak getah
16
3. Labelkan bahagian-bahagian yang terdapat pada
(a) Tangki Simpanan Air
(i)
(ii)
(iii)
(iv)
(4 markah)
(b) Mesin Jahit
(i)
(ii)
(iii)
(iv)
(4 markah)
i
ii
iii
iv
i
iii
ii
i iv
17
4. Lengkapkan teka silang kata di bawah.
5
2 1 3
6
4
Menegak
1. Satu hidangan sepinggan lengkap berasal dari negeri Kedah.
3. Senarai masakan dalam sesuatu hidangan disebut sebagai ________ .
5. Mencuci pakaian boleh dikategorikan sebagai pembersihan ________ .
Melintang
2. Warna ________ mewujudkan suasana ceria dan cerah.
4. Ruang untuk melakukan aktiviti penyediaan dan penyimpanan makanan.
6. Adap dan sopan semasa makan.
(6 markah)
18
5. Padankan simbol komponen elektronik dengan fungsinya.
Simbol Fungsi
(a) Digunakan untuk
meninggikan arus,
voltan dan kuasa.
(b) Menghasilkan bunyi dan
digunakan sebagai
penggera.
(c)
Menukar arus elektrik
kepada cahaya
(d)
Boleh menyimpan dan
membuang cas elektrik
(4 markah)
19
BAHAGIAN C: ESEI
(10 markah)
1. Terangkan langkah-langkah menyusun atur pola.
(i)
(ii)
(iii)
(iv)
(v)
(5 markah)
20
2. Terangkan cara membuat kuih badak.
(i)
(ii)
(iii)
(iv) Bahagikan adunan kepada beberapa bahagian dan bentukkan bulat
(v)
(vi)
(5 markah)
KERTAS SOALAN TAMAT

Khb ert(1)

  • 1.
    Kemahiran Hidup Bersepadu EkonomiRumah Tangga Mei 2014 2 JAM PERSIDANGAN KEBANGSAAN PENGETUA-PENGETUA SEKOLAH MENENGAH MALAYSIA ( PKPSM ) KEDAH MODUL PENINGKATAN AKADEMIK MEI 2014 KEMAHIRAN HIDUP BERSEPADU EKONOMI RUMAH TANGGA 2 JAM JANGAN BUKA KERTAS SOALAN INI SEHINGGA DIBERITAHU 1. Kertas soalan ini mengandungi 3bahagian. 2.Bahagian A: Setiap soalan diikuti oleh empat pilihan jawapan yang berhuruf A, B, C dan D. Bagi tiap-tiap soalan pilih satu jawapan sahaja. Tandakan semua jawapan anda pada kertas jawapan objektif yang disediakan. 3. Bahagian B: Bahagian ini mengandungi 5 soalan struktur pelbagai bentuk. Jawab semua soalan diruangan yang disediakan. 4. Bahagian C: Bahagian ini mengandungi 2 soalan esei pendek. Jawab kedua-dua soalan. __________________________________________________________________________________ Kertas soalan ini mengandungi 20 halaman bercetak [ Lihat sebelah ]
  • 2.
    2 BAHAGIAN A: OBJEKTIF (60markah) 1. Langkah pertama yang perlu dilakukan sekiranya berlaku kecederaan kecil di dalam bengkel. A Mengambil peti pertolongan cemas. B Melakukan rawatan pertolongan cemas. C Melaporkan kepada guru dengan segera. D Menghubungi pihak hospital. 2. Alatan tangan ini digunakan untuk membuat lengkuk dan meratakan kayu. A Kikir parut B Gergaji tangan C Pahat tepi serong D Gergaji lengkung halus 3. Susun langkah-langkah pembinaan projek. I memotong bahan II membuat kemasan III mengukur dan menanda IV membina dan mencantum A III, I, IV, II B I, IV, III, II C III, IV, I, II D I, III, IV, II 4. Antara yang berikut padanan manakah benar? Kemasan Pelarut A Syelek Turpentin B Lekar Thinner C Cat Licau Air D Ton Kayu Spirit Metil
  • 3.
    3 5. Jadual 1menunjukkan bahan dan kos bagi membina projek serbaguna. Bahan Kos (RM) Perspek 600.00 MDF 100.00 Skru 10.00 Glu 20.00 Kertaslas 30.00 Lekar 15.00 Jadual 1 Hitung kos pengeluaran projek itu sekiranya kos upah berjumlah RM 300.00 dan kos overhed berjumlah RM 30.00. A RM 775.00 B RM 805.00 C RM 1075.00 D RM 1105.00 6. Rajah 1 menunjukkan binaan sebuah lampu pendarflour. Rajah 1 Apakah yang akan berlaku sekiranya bahagian X ditanggalkan selepas lampu dinyalakan? A Berlaku litar pintas B Lampu berkelip-kelip C Lampu akan terus menyala D Gelang merah terjadi pada hujung tiub N L X
  • 4.
    4 7. Berdasarkan padarajah di bawah, pada bahagian manakah wayar hidup perlu disambungkan? 8. Rajah 2 menunjukkan lukisan skematik. 20 k20 k 47 F 47 F 9 V CS9013CS9013 Rajah 2 Apakah komponen yang terdapat dalam lukisan skematik di atas? I Buzer II Kapasitor III Transistor IV Perintang tetap A I, II dan III B I, II dan IV C II, III dan IV D I, II, III, IV A B C D
  • 5.
    5 9. Rajah 3menunjukkan lukisan bergambar. LED bateri + Rajah 3 Apakah akan berlaku kepada LED? A LED akan terbakar B LED akan menyala C LED akan berkelip D LED akan malap 10. Rajah 4 menunjukkan proses dalam kerja pematerian. X Rajah 4 Apakah fungsi X? A Memudahkan kerja pematerian B Menguatkan hasil pematerian C Menyedut pateri yang telah dicairkan D Menghalang kesan pengoksidaan
  • 6.
    6 11. Rajah 5menunjukkan sejenis perangkap sinki. Rajah 5 Manakah bahagian yang dibuka untuk tujuan penyenggaraan? A P B Q C R D S 12. Rajah 6 menunjukkan satu objek. Rajah 6 Pelan bagi objek itu ialah A C B D
  • 7.
    7 13. Rajah 7menunjukkan satu artikel yang dijahit dengan jahitan hiasan. Rajah 7 Apakah jahitan X? A kia B lilit ubi C suji bilang D insang pari 14. Antara berikut manakah adab dan sopan semasa makan? I Bongkokkan badan sedikit semasa menyuap makanan. II Siku hendaklah diletakkan di atas meja semasa makan. III Tunggu sehingga semua orang habis makan, barulah anda mula makan. IV Biarkan makanan sejuk dahulu sebelum dimakan dan jangan tiup makanan di hadapan orang. A I dan II B I dan IV C II dan III D II dan IV
  • 8.
    8 15. Rajah 8menunjukkan satu proses pemasuan semula. Rajah 8 Apakah tujuan aktiviti dalam Rajah 8? A Memudahkan kerja mengeluarkan pokok B Mengurangkan kadar renjatan C Memadatkan medium pokok D Membersih pasu 16. Rajah 9 menunjukkan carta piramid makanan. Rajah 9 X mewakili nutrien I Karbohidrat II Pelawas III Garam mineral IV Protein A I, II dan III B I, II dan IV C I, III dan IV D II, III dan IV X
  • 9.
    9 17. Rajah 10menunjukkan sejenis pembungkus makanan. Rajah 10 Apakah makanan yang sesuai dibungkus dengan pembungkus itu. I kek II bubur nasi III bihun goreng IV sandwich telur A I, II dan III B I, II dan IV C I, III dan IV D II, III dan IV 18. Susunan kerja yang manakah betul untuk menyediakan menu di atas? A I, II, III, IV B I, III, IV, II C III, I, II, IV D IV, I, III, II 19. Antara berikut kuih yang manakah menggunakan bater pekat? A Kuih rengas B Kuih lapis C Kuih kosui D Kuih ketayap I makaroni goreng II air teh III tembikai IV kek permaisuri
  • 10.
    10 20. Antara berikutpasangan manakah benar tentang jenis bater dan hasil masakannya? Jenis bater Hasil masakan I Bater pekat Cucur udang II Bater pekat Kuih lapis III Bater cair Kuih lompang IV Bater cair Skon titis A I dan II B I dan III C II dan IV D III dan IV 21. Pilih padanan yang betul tentang kuih tempatan dan sumbernya. Kuih Tempatan Sumber A Pulut panggang Beras pulut dan gula melaka B Kuih seri muka Tepung ubi dan kelapa C Pulut inti Beras pulut dan sagu D Kuih lapis Tepung beras dan kelapa 22. Susun mengikut urutan yang betullangkah menjahit skirt berkasing. I Jahit kelepet pada hujung skirt II Jahit kelim pada kedua-dua tepi skirt III Jahit kasing pada garisan pinggang IV Susupkan ben elastik ke dalam kasing A I, II, III, IV B II, III, IV, I C III,IV, I,II D IV,I,II,III
  • 11.
    11 23. Antara berikutyang manakah kegunaan kelepet? A Sebagai hiasan B Memberi bentuk C Memberi keselesaan D Mengemas tepi pakaian 24. Antara berikut pasangan manakah betul tentang bahagian mesin jahit dan kegunaannya? Bahagian mesin jahit Kegunaan I Tiang benang Memegang buku benang II Penekan jahitan Memegang jarum III Pemusing gelendung Mengawal pergerakan mesin IV Tuas pemegang benang Mengawal benang A I dan II B I dan IV C II dan III D III dan IV 25. Susun mengikut urutan yang betul langkah menjahit kelim belah kangkung. I Semat dan jelujur di garisan pemadan II Temukan sebelah luar fabrik III Tekan dengan seterika supaya kelim terbuka IV Jahit mesin di garisan pemadan A I, II, III, IV B I, IV, II, III C II, I, III, IV D II, I, IV, III
  • 12.
    12 26. Rajah 11menunjukkan sejenis lapik. Rajah 11 Apakah fungsi X? A Meratakan garis kelim B Menanda jarak mata jahitan C Mengukuhkan jahitan pada lapik D Memudahkan kerja menjahit dilakukan 27. Rajah 12 di bawah menunjukkan sejenis lengan pada blaus. Rajah 12 Apakah X? A Belah lapik kain selari B Belah slit berlapik C Belah berkun D Belah berzip
  • 13.
    13 28. Maklumat dibawahadalah tentang urusan perniagaan masa kini. Antara berikut yang manakah berkaitan dengan pernyataan itu? A E-dagang B Pesanan mel C Kad pra bayar D Mesin runcit automatik 29. Antara berikut padanan manakah benar tentang usahawan dan makan gaji. Usahawan Makan gaji A Individu tidak dapat meneruskan kehidupan Masa bekerja tidak terhad B Mengikut masa yang ditetapkan Bidang tugas meliputi semua aspek C Tidak sanggup menghadapi risiko Sanggup menghadapi risiko D Keuntungan dinikmati sendiri Menerima pendapatan tetap 30. Puan Nina mendapati kek yang dibelinya berkulat. Berdasarkan pernyataan di atas,apakah hak Puan Nina sebagai pengguna? A Hak mendapat ganti rugi B Hak mendapat maklumat C Hak mendapat keselamatan D Hak mendapat pendidikan kepenggunaan  Diletakkan di tempat awam  Pengguna memasukkan sejumlah wang tunai yang ditetapkan
  • 14.
    14 BAHAGIAN B: STRUKTUR (30markah) 1. Namakan alatan tangan berikut. a) d) b) e) c) f) (6 markah)
  • 15.
    15 2. Isi tempatkosong berdasarkan pilihan jawapan yang diberikan di bawah. (a) Disiplin dan sikap seseorang terhadap kerja yang di buat seperti menepati waktu, bertanggungjawab, amanah dan mematuhi arahan. ______________________ (b) Sebagai langkah keselamatan, murid mesti memakai kasut bertutup dan _________________________ semasa berada di bengkel bagi mengelakkan kemalangan. (c) _________________ ialah susunan barang yang dirancang untuk menghasilkan sesuatu produk dan impak. (d) _________________ ialah cantuman atau sambungan kayu. (e) Tujuan utama __________________ adalah untuk mencantikkan serta melindungi permukaan kayu. (f) _________________ digunakan untuk menyambungkan peralatan elektrik dengan soket alir keluar. (g) _________________ dipasang untuk melindungi litar dan perkakas elektrik. (h) _________________ terletak di hujung paip dan berfungsi mengawal pengaliran air keluar. (i) _________________ adalah alat jahitan yang penting kerana memudahkan dan mempercepatkan kerja menjahit. (j) _________________ perlu dilakukan untuk mengurangkan renjatan pada anak pokok yang baru diubah. (10 markah) plag pengerasan tanggam kemasan etika kerja fius mesin jahit pili reka bentuk bertapak getah
  • 16.
    16 3. Labelkan bahagian-bahagianyang terdapat pada (a) Tangki Simpanan Air (i) (ii) (iii) (iv) (4 markah) (b) Mesin Jahit (i) (ii) (iii) (iv) (4 markah) i ii iii iv i iii ii i iv
  • 17.
    17 4. Lengkapkan tekasilang kata di bawah. 5 2 1 3 6 4 Menegak 1. Satu hidangan sepinggan lengkap berasal dari negeri Kedah. 3. Senarai masakan dalam sesuatu hidangan disebut sebagai ________ . 5. Mencuci pakaian boleh dikategorikan sebagai pembersihan ________ . Melintang 2. Warna ________ mewujudkan suasana ceria dan cerah. 4. Ruang untuk melakukan aktiviti penyediaan dan penyimpanan makanan. 6. Adap dan sopan semasa makan. (6 markah)
  • 18.
    18 5. Padankan simbolkomponen elektronik dengan fungsinya. Simbol Fungsi (a) Digunakan untuk meninggikan arus, voltan dan kuasa. (b) Menghasilkan bunyi dan digunakan sebagai penggera. (c) Menukar arus elektrik kepada cahaya (d) Boleh menyimpan dan membuang cas elektrik (4 markah)
  • 19.
    19 BAHAGIAN C: ESEI (10markah) 1. Terangkan langkah-langkah menyusun atur pola. (i) (ii) (iii) (iv) (v) (5 markah)
  • 20.
    20 2. Terangkan caramembuat kuih badak. (i) (ii) (iii) (iv) Bahagikan adunan kepada beberapa bahagian dan bentukkan bulat (v) (vi) (5 markah) KERTAS SOALAN TAMAT