Download free for 30 days
Sign in
Upload
Language (EN)
Support
Business
Mobile
Social Media
Marketing
Technology
Art & Photos
Career
Design
Education
Presentations & Public Speaking
Government & Nonprofit
Healthcare
Internet
Law
Leadership & Management
Automotive
Engineering
Software
Recruiting & HR
Retail
Sales
Services
Science
Small Business & Entrepreneurship
Food
Environment
Economy & Finance
Data & Analytics
Investor Relations
Sports
Spiritual
News & Politics
Travel
Self Improvement
Real Estate
Entertainment & Humor
Health & Medicine
Devices & Hardware
Lifestyle
Change Language
Language
English
Español
Português
Français
Deutsche
Cancel
Save
Submit search
EN
Uploaded by
Brian Bissett
499 views
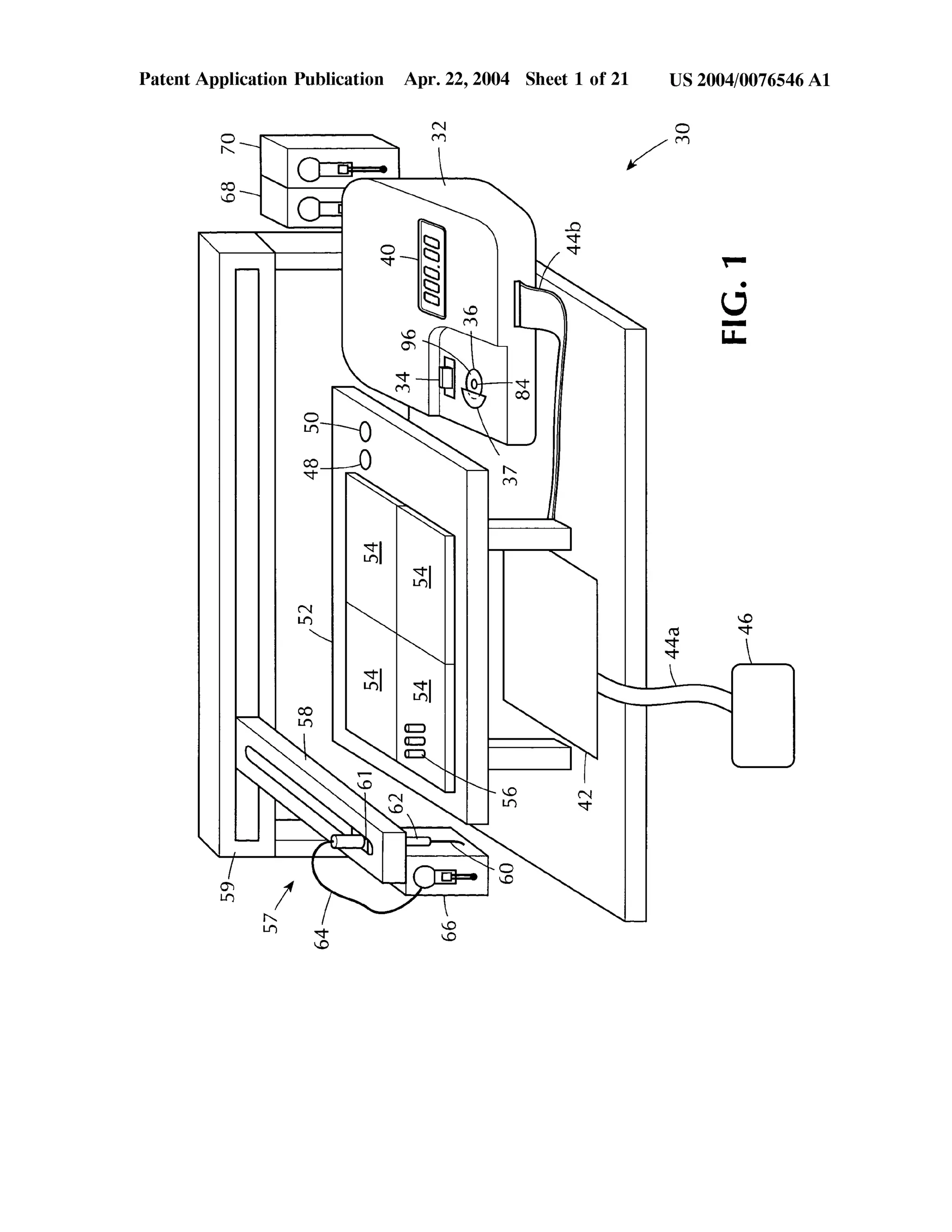
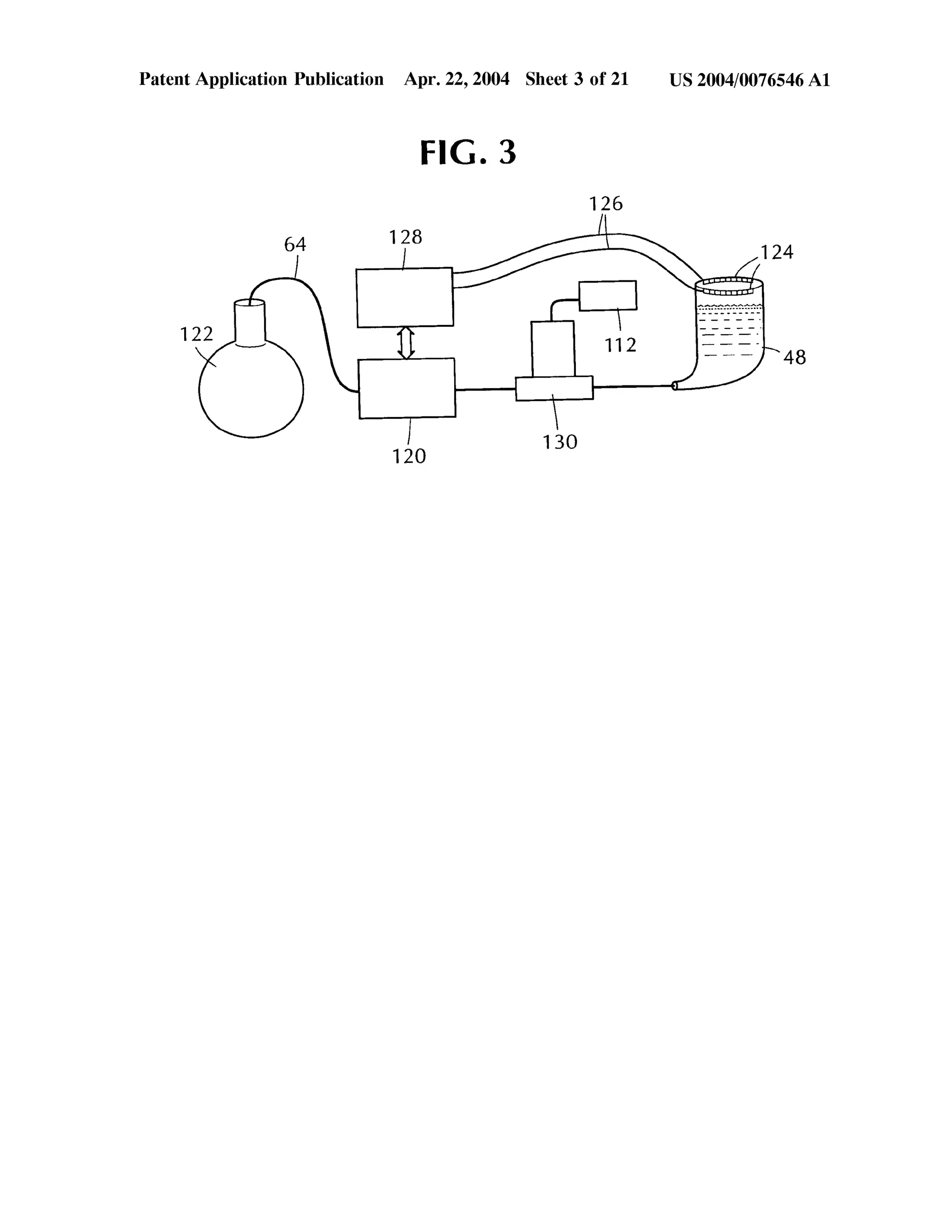
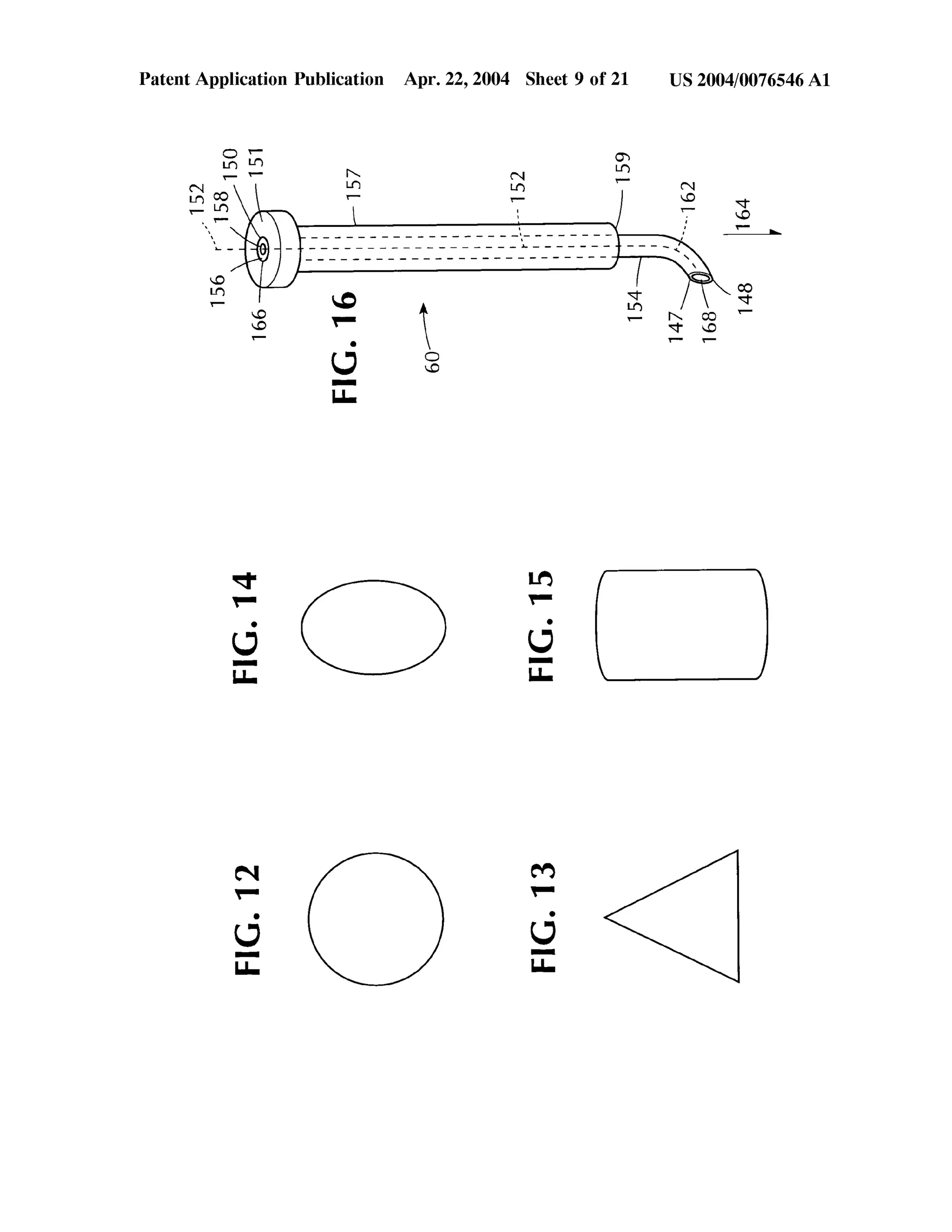
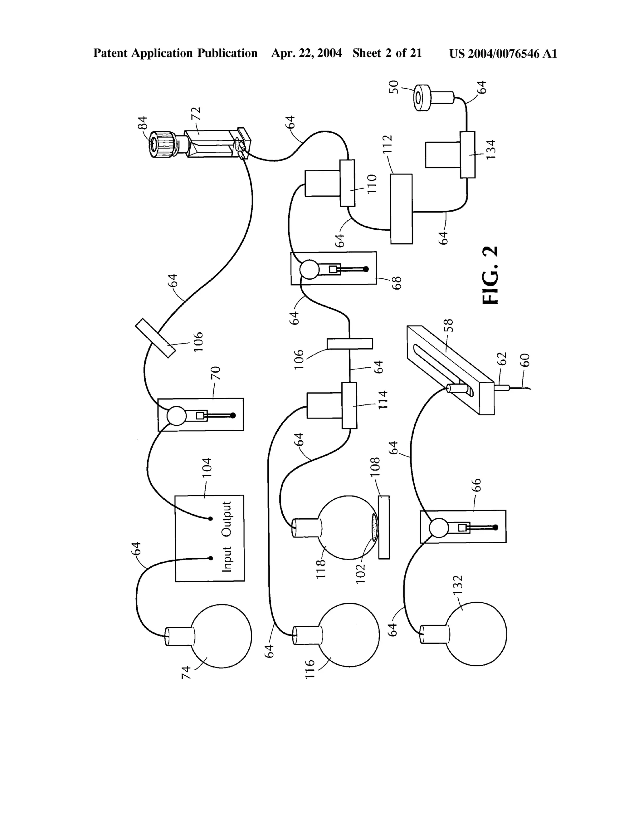
Automated Kinetic Solubility Assay Apparatus and Method
Patent Application Filed by Pfizer Inc. for an Automated Kinetic Solubility Assay which I invented.
Technology
◦
Business
◦
Read more
0
Save
Share
Embed
Embed presentation
Download
Downloaded 10 times
1
/ 50
2
/ 50
3
/ 50
4
/ 50
5
/ 50
6
/ 50
7
/ 50
8
/ 50
9
/ 50
10
/ 50
11
/ 50
12
/ 50
13
/ 50
14
/ 50
15
/ 50
16
/ 50
17
/ 50
18
/ 50
19
/ 50
20
/ 50
21
/ 50
22
/ 50
23
/ 50
24
/ 50
25
/ 50
26
/ 50
27
/ 50
28
/ 50
29
/ 50
30
/ 50
31
/ 50
32
/ 50
33
/ 50
34
/ 50
35
/ 50
36
/ 50
37
/ 50
38
/ 50
39
/ 50
40
/ 50
41
/ 50
42
/ 50
43
/ 50
44
/ 50
45
/ 50
46
/ 50
47
/ 50
48
/ 50
49
/ 50
50
/ 50
More Related Content
PPTX
Solubility and its determination
by
Aman K Dhamrait
DOCX
Solubility
by
sitinazriah hamdan
PPTX
Solubility and partition coefficient
by
Manoj Kumar Tekuri
PPTX
IT Security Metrics
by
Brian Bissett
PDF
Automating Data Analysis with Excel Bio-IT World 2018
by
Brian Bissett
PDF
Deaths by Shooting in Baltimore before and after the Firearms Safety Act of 2...
by
Brian Bissett
PPTX
Bio-IT 2017 Automation
by
Brian Bissett
PPSX
Presentation given at Bio-IT World 2016 as a Senior Member of the IEEE on the...
by
Brian Bissett
Solubility and its determination
by
Aman K Dhamrait
Solubility
by
sitinazriah hamdan
Solubility and partition coefficient
by
Manoj Kumar Tekuri
IT Security Metrics
by
Brian Bissett
Automating Data Analysis with Excel Bio-IT World 2018
by
Brian Bissett
Deaths by Shooting in Baltimore before and after the Firearms Safety Act of 2...
by
Brian Bissett
Bio-IT 2017 Automation
by
Brian Bissett
Presentation given at Bio-IT World 2016 as a Senior Member of the IEEE on the...
by
Brian Bissett
More from Brian Bissett
PPTX
Lies, Damn Lies, and Big Data
by
Brian Bissett
PPTX
Program Management of SSA's Data Center OMB 300 Program
by
Brian Bissett
PPTX
Data Analytics of Strategic Information Technology Asset Reviews
by
Brian Bissett
PDF
ElogDoct: A Tool for Lipophilicity Determination in Drug Discovery. 2. Basic ...
by
Brian Bissett
PDF
ElogPoct: A Tool for Lipophilicity Determination in Drug Discovery
by
Brian Bissett
PDF
Automating pKa Curve Fitting Using Origin
by
Brian Bissett
PDF
Physicochemical Profiling In Drug Research
by
Brian Bissett
PDF
Addressable Location Indicator Apparatus and Method
by
Brian Bissett
PDF
Multivariate Analysis Of Energy Policy Options Using Lindo
by
Brian Bissett
PPT
Bio-IT World 2009: Adjusting Information Flow from In-house HTS to Global Out...
by
Brian Bissett
PPT
Advanced Excel Technologies In Early Development Applications
by
Brian Bissett
PPS
Development of Pfizer's Third Generation Turbidimetric Solubility Assay - An ...
by
Brian Bissett
PPS
Bridging Pharma And IT 2008
by
Brian Bissett
Lies, Damn Lies, and Big Data
by
Brian Bissett
Program Management of SSA's Data Center OMB 300 Program
by
Brian Bissett
Data Analytics of Strategic Information Technology Asset Reviews
by
Brian Bissett
ElogDoct: A Tool for Lipophilicity Determination in Drug Discovery. 2. Basic ...
by
Brian Bissett
ElogPoct: A Tool for Lipophilicity Determination in Drug Discovery
by
Brian Bissett
Automating pKa Curve Fitting Using Origin
by
Brian Bissett
Physicochemical Profiling In Drug Research
by
Brian Bissett
Addressable Location Indicator Apparatus and Method
by
Brian Bissett
Multivariate Analysis Of Energy Policy Options Using Lindo
by
Brian Bissett
Bio-IT World 2009: Adjusting Information Flow from In-house HTS to Global Out...
by
Brian Bissett
Advanced Excel Technologies In Early Development Applications
by
Brian Bissett
Development of Pfizer's Third Generation Turbidimetric Solubility Assay - An ...
by
Brian Bissett
Bridging Pharma And IT 2008
by
Brian Bissett
Recently uploaded
PDF
Cross-Cultural Agile Development -Challenges and Strategies for Overcoming Them-
by
Takashi Makino
PDF
Day 5 - Red Team + Blue Team in the Cloud - 2nd Sight Lab Cloud Security Class
by
2nd Sight Lab
PDF
10 Things AI-First Apps Do Differently by iProgrammer Solutions
by
iProgrammer Solutions Private Limited
PDF
Exam Prep Plan Overview: Amazon Web Services (AWS) Certified
by
VICTOR MAESTRE RAMIREZ
PDF
Day 3 - Data and Application Security - 2nd Sight Lab Cloud Security Class
by
2nd Sight Lab
PDF
Our Digital Tribe_ Cultivating Connection and Growth in Our Slack Community 🌿...
by
sanjeetmishra30
PDF
Six Shifts For 2026 (And The Next Six Years)
by
David Armano
PDF
API-First Architecture in Financial Systems
by
cyy111112
PDF
Data Virtualization in Action: Scaling APIs and Apps with FME
by
Safe Software
PDF
The State of the Gen AI economy - 2025 - The Meliora Company
by
Clive Dickens
PDF
Access Control 2025: From Security Silo to Software-Defined Ecosystem
by
Memoori
PPTX
communication-skills-with-technology tools
by
Jaleto Sunkemo
PDF
How to Evaluate a High Performance Database
by
ScyllaDB
PPTX
Conversational Agents – Building Intelligent Assistants [Virtual Hands-on Wor...
by
UiPathCommunity
PPTX
Cloud Backup Tips for IT Professionals..
by
ordersoftwarekeys
PPTX
Why Most GenAI Projects Fail to Scale and How to Become One of the Success St...
by
Earley Information Science
PDF
DevFest El Jadida 2025 - Product Thinking
by
Elmehdi AMLOU
PDF
Machine Learning Primer: The Complete Crash Course (From Theory to Deployment)
by
Aeafat Ahmed Mubin
PDF
Raman Bhaumik - A Junior Software Developer
by
Raman Bhaumik
PDF
Lab 1.2 Introduction to Azure Automation - 2nd Sight Lab Cloud Security Class
by
2nd Sight Lab
Cross-Cultural Agile Development -Challenges and Strategies for Overcoming Them-
by
Takashi Makino
Day 5 - Red Team + Blue Team in the Cloud - 2nd Sight Lab Cloud Security Class
by
2nd Sight Lab
10 Things AI-First Apps Do Differently by iProgrammer Solutions
by
iProgrammer Solutions Private Limited
Exam Prep Plan Overview: Amazon Web Services (AWS) Certified
by
VICTOR MAESTRE RAMIREZ
Day 3 - Data and Application Security - 2nd Sight Lab Cloud Security Class
by
2nd Sight Lab
Our Digital Tribe_ Cultivating Connection and Growth in Our Slack Community 🌿...
by
sanjeetmishra30
Six Shifts For 2026 (And The Next Six Years)
by
David Armano
API-First Architecture in Financial Systems
by
cyy111112
Data Virtualization in Action: Scaling APIs and Apps with FME
by
Safe Software
The State of the Gen AI economy - 2025 - The Meliora Company
by
Clive Dickens
Access Control 2025: From Security Silo to Software-Defined Ecosystem
by
Memoori
communication-skills-with-technology tools
by
Jaleto Sunkemo
How to Evaluate a High Performance Database
by
ScyllaDB
Conversational Agents – Building Intelligent Assistants [Virtual Hands-on Wor...
by
UiPathCommunity
Cloud Backup Tips for IT Professionals..
by
ordersoftwarekeys
Why Most GenAI Projects Fail to Scale and How to Become One of the Success St...
by
Earley Information Science
DevFest El Jadida 2025 - Product Thinking
by
Elmehdi AMLOU
Machine Learning Primer: The Complete Crash Course (From Theory to Deployment)
by
Aeafat Ahmed Mubin
Raman Bhaumik - A Junior Software Developer
by
Raman Bhaumik
Lab 1.2 Introduction to Azure Automation - 2nd Sight Lab Cloud Security Class
by
2nd Sight Lab
Download