РЕСПУБЛИКА КАЗАХСТАН
(19) KZ (13) B (11) 29670
(51) E01B 3/46 (2006.01)
E01B 9/68 (2006.01)
E01B 1/00 (2006.01)
МИНИСТЕРСТВО ЮСТИЦИИ РЕСПУБЛИКИ КАЗАХСТАН
ОПИСАНИЕ ИЗОБРЕТЕНИЯ
К ПАТЕНТУ
(21) 2012/1634.1
(22) 11.03.2011
(45) 16.03.2015, бюл. №3
(31) 10156347.6; 10156352.6
(32) 12.03.2010; 12.03.2010
(33) EP; EP
(85) 11.10.2012
(86) PCT/EP2011/053709, 11.03.2011
(72) ГАРЛИХ, Герман (DE); АХЛЕР, Райнер Эрнст-
Гюнтер (DE)
(73) РСТ-РЭЙЛ СИСТЕМС ЭНД ТЕКНОЛОДЖИС
ГМБХ (DE)
(74) Тагбергенова Модангуль Маруповна;
Тагбергенова Алма Таишевна; Касабекова Найля
Ертисовна
(56) EP1445378 A2 11.08.2004
ЕР 1298252 А2 02.04.2003
WO 2009/108972 A1 11.09.2009
RU 2007129153 A 10.02.2009
(54) БЕТОННАЯ ШПАЛА
(57) Бетонная шпала с расположенной с нижней
стороны пластиковой подошвой снабжена бетонным
телом (12) которое имеет нижнюю сторону (14).
Помимо этого бетонная шпала имеет пластиковую
плиту (18), которая расположена на нижней стороне
(14) бетонного тела (12) при этом однослойная и
многослойная пластиковая плита (18) соединена с
бетонным телом (12) посредством слоя (16) волокон
с неориентированным расположением, который
имеет волокна, которые соединены с пластиковой
плитой (18) и/или утоплены в бетонное тело (12).
Слой (16) волокон с неориентированным
расположением имеет волокна с диаметром от
15 мкм до 50 мкм и плотностью от 20 до 200
волокон па каждый квадратный миллиметр, и
примерно от 20% до 60% волокон выполнены с
утопленными в бетонное тело (12) свободными
концами, а утопленные участки других волокон
выполнены в виде петель, при этом примерно от
10% до 60% утопленных в бетонное тело (12)
свободных концов изогнуты относительно нижней
стороны (14) бетонного тела (12) на от 30° до 90°.
(19)KZ(13)B(11)29670
29670
2
Изобретение относится к бетонной шпале с
нанесенной на нее снизу структурой с
неориентированным расположением волокон и
способу изготовления подобной бетонной шпалы.
В известных композитных системах из структур
текстильных волокон и бетона, таких как, например,
подошвы шпал из предварительно напряженного
бетона или же бетона, известны решения, в которых
волокна соединяются с бетонными конструкциями с
силовым замыканием.
Согласно ЕР-В-1 298 252, например, эластичные
пластиковые слои фиксируются на нижней стороне
шпал посредством слоя волокон с
неориентированным расположением таким образом,
что текстильный слой волокон с
неориентированным расположением как приклеен
или приварен в пластиковый слой или на
пластиковый слой, так и соединяется с бетоном за
счет включения волокон в цементный раствор или
отдельно наносимого композитного материала,
например, клея. В качестве слоев волокон с
неориентированным расположением для соединения
между названными в качестве примера шпалами и
эластичной подошвой шпалы используются,
например, геотекстильные или же нетканые
материалы.
Множество известных нетканых материалов и
также другие соединительные среды, например,
геотекстильные нетканые материалы, имеют только
ограниченные свойства, обеспечивающие силовое
замыкание, неограниченно осуществляющих
функциональность соединения нанесений.
Пластиковые сплетения с жесткими структурами
волокон могут, например, не так интенсивно
смещать минеральные структуры в свежем бетоне,
что все соединительные структуры полностью
включаются в бетон. Между соединительной средой
и бетоном возникают дефекты, которые, например,
ухудшают заданные эластичные характеристики,
при поступлении воды приводят к эффектам
всасывания и нарушают структурное состояние
бетона.
Задачей изобретения является разработка
бетонной шпалы с расположенной с нижней
стороны пластиковой подошвой, которая может
быть просто изготовлена, а ее пластиковая подошва
надежно механически соединена с бетонным телом
бетонной шпалы, а также способ изготовления такой
бетонной шпалы.
Для решения этой задачи изобретение предлагает
бетонную шпалу с расположенной с нижней
стороны пластиковой подошвой, которая снабжена:
бетонным телом, которое имеет нижнюю сторону, и
пластиковой плитой, которая расположена на
нижней стороне бетонного тела, при этом
однослойная или многослойная пластиковая плита
соединена с бетонным слоем посредством слоя
волокон с неориентированным расположением,
который имеет волокна, которые соединены с
пластиковой плитой и/или утоплены в бетонное
тело.
В случае этой бетонной шпалы согласно
изобретению предусмотрено,
- что слой волокон с неориентированным
расположением имеет волокна диаметром 15 мкм -
50 мкм с плотностью 20-200 волокон на квадратный
миллиметр, и
- что примерно от 20% до 60% волокон
выполнены с утопленными в бетонное тело
свободными концами, и утопленные участки других
волокон выполнены в виде петель,
при этом примерно от 10% до 60% утопленных в
бетон свободных концов волокон изогнуты
относительно нижней стороны бетонного тела на от
30°до 90°.
Согласно изобретению волокна имеют по
существу круглое или эллипсоидное поперечное
сечение, при этом соотношение сторон эллипса
составляет не более 1:2.
Согласно еще одному предпочтительному
варианту изобретения волокна являются химически
сродными использованным для бетонного тела при
его изготовлении компонентам.
Было установлено, что известные нетканые
материалы и подобные нетканым материалы из
волокон с неориентированным расположением,
такой как, например, фетр (изготовленный
посредством иглопрокалывания, аппретирования,
прохождения волокон и форм волокон), только
условно подходят для того, чтобы самостоятельно
схватываться свежим бетоном за счет возникающего
в процессе отвердевания бетона подсоса при
гидратации таким образом, что обеспечивается
нанесение согласно требованиям.
В случае изобретения для изготовления бетонной
шпалы с расположенной с нижней стороны
пластиковой подошвой в качестве механического
соединения между двумя этими элементами
используется имеющий специальные волокна слой
волокон с неориентированным расположением,
благодаря чему концы волокон в результате подсоса
при гидратации бетона при его затвердевании
попадают в капиллярные и/или гелевые поры бетона
и в затвердевшем состоянии бетона удерживаются в
нем. При этом слой волокон с неориентированным
расположением с его обращенной от нижней
стороны бетонной шпалы стороны может быть
соединен с однослойной или многослойной
пластиковой плитой, а именно либо до, либо после
соединения слоя волокон с неориентированным
расположением с бетонным телом.
Кроме того, изобретение предлагает бетонную
шпалу, которая изготовлена согласно указанному
выше способу и, предпочтительным образом, имеет
в качестве подошвы с нижней стороны прочно
соединенную механическим способом с
волокнистым слоем пластиковую плиту.
Исходя из знания, что свежий бетон при
определяемых условиях рецептуры и обработки
создает подсос при гидратации, согласно
изобретению слой волокон с неориентированным
расположением и бетон согласованы друг с другом
таким образом, что подсос при гидратации
всасывает соединяющие волокнистые структуры в
свежий бетон.
29670
3
Для технического использования этого подсоса
при гидратации следующие бетоно-
технологические, цементо-химические, текстильно-
технические и специфические для нанесения
критерии в их процессе воздействия определены в
качестве предлагаемого решения.
Гидратация как реакция воды и цемента
вызывает образование цементного камня.
Некоторые из основных составных частей цемента,
которые возникают при сгорании исходных веществ
и в клинкерной фазе претерпевают дальнейшую
модификацию, вызывают различные реакции между
водой затворения и именно этими составными
частями цемента.
Прежде всего, трикальциевый алюминат и
трикальциевый силикат вызывают высокую
скорость реакции и отверждение цементного камня.
Доля сульфата кальция (гипс) влияет или же
замедляет действие трикальциевого алюмината.
Согласно изобретению при проверке на пригодность
рецептуры бетона путем выбора сорта цемента
способ следует модифицировать или же
оптимизировать.
Свежий бетон из-за высокой доли
трикальциевого алюмината и его взаимодействия со
свойствами других составных частей клинкера (по
существу с трикальциевым силикатом,
дикальциевым силикатом и тетракальциевым
ферритом алюмината) еще не находящегося в
стадии схватывания и отвердевания свежего бетона
приобретает свойство образования мелких гидратов
силиката кальция в форме волокон и пленок и
малых кристаллов из гидроксида кальция.
Кроме того, при реакции алюминатов с
сульфатом кальция возникают сульфатгидраты
алюмината кальция в виде игольчатых
трисульфатов, так называемого эттрингита.
Реакция трикальциевого алюмината с
сульфатами кальция связана с увеличением объема,
которое в еще не отвердевшем бетоне не имеет
последствий, так как не происходит вспенивания
эттрингита.
Однако увеличение объема вызывает в
образующемся цементном геле и содержащихся в
нем капиллярных и гелевых порах так называемый
подсос при гидратации.
Этот подсос при гидратации, насколько известно,
не используется ни в одной из известных бетонных
технологий в качестве технологического
преимущества. Использование подобных эффектов
известно исключительно при нанесении средств
дополнительной обработки при строительстве дорог
с бетонным покрытием.
Согласно изобретению для целенаправленного
включения волокон в поверхность свежего бетона
технически и экономически используется бетонно-
технологический подсос при гидратации.
Гелевые поры с долей, предпочтительным
образом, примерно в 25% гелевого объема и
радиусом пор от 10-7
мм до 10-5
мм подходят для
всасывания волокон уложенного на свежий бетон
материала, если эти волокна имеют конклюдентную
структуру и свойства относительно капиллярных и
гелевых пор. Капиллярные и гелевые поры имеют, в
общем, цилиндрическую форму и сужаются при
увеличении глубины пор в так называемые
бутылочные поры. Подходящие для использования
подсоса при гидратации волокна должны быть
конклюдентными в том отношении, что согласно
изобретению они могут проникать как в
цилиндрическую, так и в сужающуюся часть пор.
Капиллярные поры с радиусом пор, прежде всего, от
10-5
мм до 10-1
мм дополняют гелевые поры в
размере пор практически без оказывающего
технически невыгодное воздействие перехода.
В случае использованных на примере подошвы
шпалы геотекстильных материалов используется
структура волокон с неориентированным
расположением из ПЭ или же ПЭТ с диаметрами
волокон, прежде всего, от 20 мкм до 40 мкм. Этот
диаметр волокон и использованная плотность
волокон целесообразным образом от 40 до 130
нитей/мм2
обеспечивают необходимую для
всасывания волокон совместимость подсоса при
гидратации, капиллярных и гелевых пор, диаметра
волокон и плотности волокон.
В качестве дополнительных условий для
эффективности самостоятельного впитывания
волокон с заданной толщиной и плотностью за счет
подсоса при гидратации можно определить
свободную длину волокон, геометрическую форму
волокон и форму их поперечного сечения, а также
их направление и химическое сродство к воде
затворения и цементному гелю. Это касается,
например, таких геотекстильных материалов или
иных структур с неориентированным
расположением волокон или же волокнистых
материалов, которые в процессе изготовления
наделяются гидрофобными свойствами или/и за счет
разбрызгивания имеют несовместимое с геометрией
пор гидратации, например, прямоугольное,
поперечное сечение.
Затем, имеющиеся для включения в бетон
волокна должны иметь свободные концы в заданной
доле, предпочтительным образом, от 20% до 50%.
Только ограниченная доля, предпочтительным
образом, менее 50% волокон должна быть
выполнена в форме петли. Свободные концы
волокон не должны проходить исключительно по
прямой; доля, например, от 10% до 60% должна
быть изогнута таким образом, что угол изгиба
составляет не менее 30°, но не более 90°.
Поперечное сечение волокон должно быть
округлым вплоть до эллиптического, при этом
соотношение сторон эллипса должно быть не
больше 1:2.
Сами волокна следует освободить от остатков
изготовления волокон или трикотажных материалов,
которые могут ухудшить химическое сродство к
цементному клею, гелю или воде затворения. В
качестве материалов для волокон могут
использоваться известные пластиковые
волокнистые материалы (например, термопласты,
такие как ПЭ и ПЭТ), металлы (металлические
волокна) или также возобновляемые или же
растительные сырьевые материалы.
29670
4
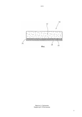
Ниже на основании чертежа, который показывает
поперечное сечение бетонной шпалы с механически
закрепленной снизу посредством слоя волокон с
неориентированным расположением эластичной
пластиковой плитой, пример осуществления
изобретения поясняется более подробно.
На чертеже в качестве примера показана
бетонная шпала 10 с армированным, слабо
армированным или неармированным бетонным
(сплошным) телом 12, которое на его нижней
стороне 14 имеет частично утопленный в нее слой
16 волокон с неориентированным расположением,
который за счет склеивания или приваривания или
иным образом механически соединен с однослойной
или многослойной пластиковой плитой 18. Наличие
показанного на чертеже для более наглядного
представления расстояния между нижней стороной
14 бетонного тела 12 и пластиковой плитой 18
является необязательным.
В случае называемых подошвой шпалы,
расположенной с нижней стороны эластичных
покрытий шпал из бетона или предварительно
напряженного бетона, в материалы эластичного
покрытия вплавляются слои волокон с
неориентированным расположением с заданными
свойствами волокон.
Эти слои волокон с неориентированным
расположением имеют после с одной стороны
примерно половинного включения в эластичные
материалы не включенную, выступающую из
эластичных материалов долю волокон для
присоединения к бетонным шпалам.
Эта свободная доля волокон состоит из концов
волокон и петель волокон. Петли волокон при
прикладывании к свежему бетону, находящиеся в
процессе изготовления бетонной шпалы,
обволакиваются цементным клеем и приводят к
базовой прочности соединения.
С этой базовой прочностью можно достичь
прочности на отрыв между бетоном и эластичным
покрытием примерно от 0,3 Н/мм2
до 0,5 Н/мм2
. Эти
значения находятся в предельном диапазоне
технических требований эксплуатирующих пути
предприятий и их сводов правил.
Техническое использование подсоса при
гидратации для включения с силовым замыканием
свободных концов волокон в свежий бетон
обеспечивает прочность на отрыв более 1,5 Н/мм2
и,
тем самым, позволяет обеспечивать выполнение
высоких требований по качеству путей и
оптимальную избыточность системы.
При диаметре волокон от примерно 25 мкм до
примерно 40 мкм и плотности волокон от 40 до 130
волокон на каждый мм2 и использовании цементов с
низким содержанием сульфатов кальция свободные
концы волокон всасываются в образующийся
эттрингит за счет подсоса при гидратации.
Находящийся в окружении возникающей за счет
этого матрицы из волокон и цементного клея,
имеющий атмосферное давление воздух только
условно выступает в качестве реципиента. Имеется
еще одна техническая взаимосвязь - с энергией
гидратации. За счет этого также существует
возможность в условиях пониженного давления
воздуха (например, вакуум-бетон) наносить по
этому принципу на бетонные шпалы эластичные
пластики.
Выше изобретение было пояснено на примере
бетонной шпалы в качестве случая применения
бетонного конструктивного элемента. Само собой
разумеется, что изобретение тем самым не
ограничивается бетонными шпалами, а применяется
везде, где бетонное тело бетонного конструктивного
элемента необходимо механически соединить с
пластиковой плитой.
ФОРМУЛА ИЗОБРЕТЕНИЯ
1. Бетонная шпала с расположенной с нижней
стороны пластиковой подошвой, с:
- бетонным телом (12), которое имеет нижнюю
сторону (14), и
- пластиковой плитой (18), которая расположена
на нижней стороне (14) бетонного тела (12), при
этом однослойная и многослойная пластиковая
плита (18) соединена с бетонным телом (12)
посредством слоя (16) волокон с
неориентированным расположением, который имеет
волокна, которые соединены с пластиковой плитой
(18) и/или утоплены в бетонное тело (12),
отличающаяся тем, что
- слой (16) волокон с неориентированным
расположением имеет волокна с диаметром от
15 мкм до 50 мкм и плотностью от 20 до 200
волокон на каждый квадратный миллиметр, и
- примерно от 20% до 60% волокон выполнены
утопленными в бетонное тело свободными концами,
а утопленные участки других волокон выполнены в
виде петель,
при этом примерно от 10% до 60% утопленных в
бетонное тело (12) свободных концов изогнуты
относительно нижней стороны (14) бетонного тела
(12) на от 30° до 90°.
2. Бетонная шпала по п.1, отличающаяся тем,
что волокна имеют по существу круглое или
эллиптическое поперечное сечение, при этом
соотношение сторон эллипса составляет не более
1:2.
3. Бетонная шпала по п.1 или п.2,
отличающаяся тем, что волокна являются
химически сродными использованным для
бетонного тела (12) при его изготовлении
компонентам.
29670
5
Верстка А. Сарсекеева
Корректор К. Нгметжанова

29670p

  • 1.
    РЕСПУБЛИКА КАЗАХСТАН (19) KZ(13) B (11) 29670 (51) E01B 3/46 (2006.01) E01B 9/68 (2006.01) E01B 1/00 (2006.01) МИНИСТЕРСТВО ЮСТИЦИИ РЕСПУБЛИКИ КАЗАХСТАН ОПИСАНИЕ ИЗОБРЕТЕНИЯ К ПАТЕНТУ (21) 2012/1634.1 (22) 11.03.2011 (45) 16.03.2015, бюл. №3 (31) 10156347.6; 10156352.6 (32) 12.03.2010; 12.03.2010 (33) EP; EP (85) 11.10.2012 (86) PCT/EP2011/053709, 11.03.2011 (72) ГАРЛИХ, Герман (DE); АХЛЕР, Райнер Эрнст- Гюнтер (DE) (73) РСТ-РЭЙЛ СИСТЕМС ЭНД ТЕКНОЛОДЖИС ГМБХ (DE) (74) Тагбергенова Модангуль Маруповна; Тагбергенова Алма Таишевна; Касабекова Найля Ертисовна (56) EP1445378 A2 11.08.2004 ЕР 1298252 А2 02.04.2003 WO 2009/108972 A1 11.09.2009 RU 2007129153 A 10.02.2009 (54) БЕТОННАЯ ШПАЛА (57) Бетонная шпала с расположенной с нижней стороны пластиковой подошвой снабжена бетонным телом (12) которое имеет нижнюю сторону (14). Помимо этого бетонная шпала имеет пластиковую плиту (18), которая расположена на нижней стороне (14) бетонного тела (12) при этом однослойная и многослойная пластиковая плита (18) соединена с бетонным телом (12) посредством слоя (16) волокон с неориентированным расположением, который имеет волокна, которые соединены с пластиковой плитой (18) и/или утоплены в бетонное тело (12). Слой (16) волокон с неориентированным расположением имеет волокна с диаметром от 15 мкм до 50 мкм и плотностью от 20 до 200 волокон па каждый квадратный миллиметр, и примерно от 20% до 60% волокон выполнены с утопленными в бетонное тело (12) свободными концами, а утопленные участки других волокон выполнены в виде петель, при этом примерно от 10% до 60% утопленных в бетонное тело (12) свободных концов изогнуты относительно нижней стороны (14) бетонного тела (12) на от 30° до 90°. (19)KZ(13)B(11)29670
  • 2.
    29670 2 Изобретение относится кбетонной шпале с нанесенной на нее снизу структурой с неориентированным расположением волокон и способу изготовления подобной бетонной шпалы. В известных композитных системах из структур текстильных волокон и бетона, таких как, например, подошвы шпал из предварительно напряженного бетона или же бетона, известны решения, в которых волокна соединяются с бетонными конструкциями с силовым замыканием. Согласно ЕР-В-1 298 252, например, эластичные пластиковые слои фиксируются на нижней стороне шпал посредством слоя волокон с неориентированным расположением таким образом, что текстильный слой волокон с неориентированным расположением как приклеен или приварен в пластиковый слой или на пластиковый слой, так и соединяется с бетоном за счет включения волокон в цементный раствор или отдельно наносимого композитного материала, например, клея. В качестве слоев волокон с неориентированным расположением для соединения между названными в качестве примера шпалами и эластичной подошвой шпалы используются, например, геотекстильные или же нетканые материалы. Множество известных нетканых материалов и также другие соединительные среды, например, геотекстильные нетканые материалы, имеют только ограниченные свойства, обеспечивающие силовое замыкание, неограниченно осуществляющих функциональность соединения нанесений. Пластиковые сплетения с жесткими структурами волокон могут, например, не так интенсивно смещать минеральные структуры в свежем бетоне, что все соединительные структуры полностью включаются в бетон. Между соединительной средой и бетоном возникают дефекты, которые, например, ухудшают заданные эластичные характеристики, при поступлении воды приводят к эффектам всасывания и нарушают структурное состояние бетона. Задачей изобретения является разработка бетонной шпалы с расположенной с нижней стороны пластиковой подошвой, которая может быть просто изготовлена, а ее пластиковая подошва надежно механически соединена с бетонным телом бетонной шпалы, а также способ изготовления такой бетонной шпалы. Для решения этой задачи изобретение предлагает бетонную шпалу с расположенной с нижней стороны пластиковой подошвой, которая снабжена: бетонным телом, которое имеет нижнюю сторону, и пластиковой плитой, которая расположена на нижней стороне бетонного тела, при этом однослойная или многослойная пластиковая плита соединена с бетонным слоем посредством слоя волокон с неориентированным расположением, который имеет волокна, которые соединены с пластиковой плитой и/или утоплены в бетонное тело. В случае этой бетонной шпалы согласно изобретению предусмотрено, - что слой волокон с неориентированным расположением имеет волокна диаметром 15 мкм - 50 мкм с плотностью 20-200 волокон на квадратный миллиметр, и - что примерно от 20% до 60% волокон выполнены с утопленными в бетонное тело свободными концами, и утопленные участки других волокон выполнены в виде петель, при этом примерно от 10% до 60% утопленных в бетон свободных концов волокон изогнуты относительно нижней стороны бетонного тела на от 30°до 90°. Согласно изобретению волокна имеют по существу круглое или эллипсоидное поперечное сечение, при этом соотношение сторон эллипса составляет не более 1:2. Согласно еще одному предпочтительному варианту изобретения волокна являются химически сродными использованным для бетонного тела при его изготовлении компонентам. Было установлено, что известные нетканые материалы и подобные нетканым материалы из волокон с неориентированным расположением, такой как, например, фетр (изготовленный посредством иглопрокалывания, аппретирования, прохождения волокон и форм волокон), только условно подходят для того, чтобы самостоятельно схватываться свежим бетоном за счет возникающего в процессе отвердевания бетона подсоса при гидратации таким образом, что обеспечивается нанесение согласно требованиям. В случае изобретения для изготовления бетонной шпалы с расположенной с нижней стороны пластиковой подошвой в качестве механического соединения между двумя этими элементами используется имеющий специальные волокна слой волокон с неориентированным расположением, благодаря чему концы волокон в результате подсоса при гидратации бетона при его затвердевании попадают в капиллярные и/или гелевые поры бетона и в затвердевшем состоянии бетона удерживаются в нем. При этом слой волокон с неориентированным расположением с его обращенной от нижней стороны бетонной шпалы стороны может быть соединен с однослойной или многослойной пластиковой плитой, а именно либо до, либо после соединения слоя волокон с неориентированным расположением с бетонным телом. Кроме того, изобретение предлагает бетонную шпалу, которая изготовлена согласно указанному выше способу и, предпочтительным образом, имеет в качестве подошвы с нижней стороны прочно соединенную механическим способом с волокнистым слоем пластиковую плиту. Исходя из знания, что свежий бетон при определяемых условиях рецептуры и обработки создает подсос при гидратации, согласно изобретению слой волокон с неориентированным расположением и бетон согласованы друг с другом таким образом, что подсос при гидратации всасывает соединяющие волокнистые структуры в свежий бетон.
  • 3.
    29670 3 Для технического использованияэтого подсоса при гидратации следующие бетоно- технологические, цементо-химические, текстильно- технические и специфические для нанесения критерии в их процессе воздействия определены в качестве предлагаемого решения. Гидратация как реакция воды и цемента вызывает образование цементного камня. Некоторые из основных составных частей цемента, которые возникают при сгорании исходных веществ и в клинкерной фазе претерпевают дальнейшую модификацию, вызывают различные реакции между водой затворения и именно этими составными частями цемента. Прежде всего, трикальциевый алюминат и трикальциевый силикат вызывают высокую скорость реакции и отверждение цементного камня. Доля сульфата кальция (гипс) влияет или же замедляет действие трикальциевого алюмината. Согласно изобретению при проверке на пригодность рецептуры бетона путем выбора сорта цемента способ следует модифицировать или же оптимизировать. Свежий бетон из-за высокой доли трикальциевого алюмината и его взаимодействия со свойствами других составных частей клинкера (по существу с трикальциевым силикатом, дикальциевым силикатом и тетракальциевым ферритом алюмината) еще не находящегося в стадии схватывания и отвердевания свежего бетона приобретает свойство образования мелких гидратов силиката кальция в форме волокон и пленок и малых кристаллов из гидроксида кальция. Кроме того, при реакции алюминатов с сульфатом кальция возникают сульфатгидраты алюмината кальция в виде игольчатых трисульфатов, так называемого эттрингита. Реакция трикальциевого алюмината с сульфатами кальция связана с увеличением объема, которое в еще не отвердевшем бетоне не имеет последствий, так как не происходит вспенивания эттрингита. Однако увеличение объема вызывает в образующемся цементном геле и содержащихся в нем капиллярных и гелевых порах так называемый подсос при гидратации. Этот подсос при гидратации, насколько известно, не используется ни в одной из известных бетонных технологий в качестве технологического преимущества. Использование подобных эффектов известно исключительно при нанесении средств дополнительной обработки при строительстве дорог с бетонным покрытием. Согласно изобретению для целенаправленного включения волокон в поверхность свежего бетона технически и экономически используется бетонно- технологический подсос при гидратации. Гелевые поры с долей, предпочтительным образом, примерно в 25% гелевого объема и радиусом пор от 10-7 мм до 10-5 мм подходят для всасывания волокон уложенного на свежий бетон материала, если эти волокна имеют конклюдентную структуру и свойства относительно капиллярных и гелевых пор. Капиллярные и гелевые поры имеют, в общем, цилиндрическую форму и сужаются при увеличении глубины пор в так называемые бутылочные поры. Подходящие для использования подсоса при гидратации волокна должны быть конклюдентными в том отношении, что согласно изобретению они могут проникать как в цилиндрическую, так и в сужающуюся часть пор. Капиллярные поры с радиусом пор, прежде всего, от 10-5 мм до 10-1 мм дополняют гелевые поры в размере пор практически без оказывающего технически невыгодное воздействие перехода. В случае использованных на примере подошвы шпалы геотекстильных материалов используется структура волокон с неориентированным расположением из ПЭ или же ПЭТ с диаметрами волокон, прежде всего, от 20 мкм до 40 мкм. Этот диаметр волокон и использованная плотность волокон целесообразным образом от 40 до 130 нитей/мм2 обеспечивают необходимую для всасывания волокон совместимость подсоса при гидратации, капиллярных и гелевых пор, диаметра волокон и плотности волокон. В качестве дополнительных условий для эффективности самостоятельного впитывания волокон с заданной толщиной и плотностью за счет подсоса при гидратации можно определить свободную длину волокон, геометрическую форму волокон и форму их поперечного сечения, а также их направление и химическое сродство к воде затворения и цементному гелю. Это касается, например, таких геотекстильных материалов или иных структур с неориентированным расположением волокон или же волокнистых материалов, которые в процессе изготовления наделяются гидрофобными свойствами или/и за счет разбрызгивания имеют несовместимое с геометрией пор гидратации, например, прямоугольное, поперечное сечение. Затем, имеющиеся для включения в бетон волокна должны иметь свободные концы в заданной доле, предпочтительным образом, от 20% до 50%. Только ограниченная доля, предпочтительным образом, менее 50% волокон должна быть выполнена в форме петли. Свободные концы волокон не должны проходить исключительно по прямой; доля, например, от 10% до 60% должна быть изогнута таким образом, что угол изгиба составляет не менее 30°, но не более 90°. Поперечное сечение волокон должно быть округлым вплоть до эллиптического, при этом соотношение сторон эллипса должно быть не больше 1:2. Сами волокна следует освободить от остатков изготовления волокон или трикотажных материалов, которые могут ухудшить химическое сродство к цементному клею, гелю или воде затворения. В качестве материалов для волокон могут использоваться известные пластиковые волокнистые материалы (например, термопласты, такие как ПЭ и ПЭТ), металлы (металлические волокна) или также возобновляемые или же растительные сырьевые материалы.
  • 4.
    29670 4 Ниже на основаниичертежа, который показывает поперечное сечение бетонной шпалы с механически закрепленной снизу посредством слоя волокон с неориентированным расположением эластичной пластиковой плитой, пример осуществления изобретения поясняется более подробно. На чертеже в качестве примера показана бетонная шпала 10 с армированным, слабо армированным или неармированным бетонным (сплошным) телом 12, которое на его нижней стороне 14 имеет частично утопленный в нее слой 16 волокон с неориентированным расположением, который за счет склеивания или приваривания или иным образом механически соединен с однослойной или многослойной пластиковой плитой 18. Наличие показанного на чертеже для более наглядного представления расстояния между нижней стороной 14 бетонного тела 12 и пластиковой плитой 18 является необязательным. В случае называемых подошвой шпалы, расположенной с нижней стороны эластичных покрытий шпал из бетона или предварительно напряженного бетона, в материалы эластичного покрытия вплавляются слои волокон с неориентированным расположением с заданными свойствами волокон. Эти слои волокон с неориентированным расположением имеют после с одной стороны примерно половинного включения в эластичные материалы не включенную, выступающую из эластичных материалов долю волокон для присоединения к бетонным шпалам. Эта свободная доля волокон состоит из концов волокон и петель волокон. Петли волокон при прикладывании к свежему бетону, находящиеся в процессе изготовления бетонной шпалы, обволакиваются цементным клеем и приводят к базовой прочности соединения. С этой базовой прочностью можно достичь прочности на отрыв между бетоном и эластичным покрытием примерно от 0,3 Н/мм2 до 0,5 Н/мм2 . Эти значения находятся в предельном диапазоне технических требований эксплуатирующих пути предприятий и их сводов правил. Техническое использование подсоса при гидратации для включения с силовым замыканием свободных концов волокон в свежий бетон обеспечивает прочность на отрыв более 1,5 Н/мм2 и, тем самым, позволяет обеспечивать выполнение высоких требований по качеству путей и оптимальную избыточность системы. При диаметре волокон от примерно 25 мкм до примерно 40 мкм и плотности волокон от 40 до 130 волокон на каждый мм2 и использовании цементов с низким содержанием сульфатов кальция свободные концы волокон всасываются в образующийся эттрингит за счет подсоса при гидратации. Находящийся в окружении возникающей за счет этого матрицы из волокон и цементного клея, имеющий атмосферное давление воздух только условно выступает в качестве реципиента. Имеется еще одна техническая взаимосвязь - с энергией гидратации. За счет этого также существует возможность в условиях пониженного давления воздуха (например, вакуум-бетон) наносить по этому принципу на бетонные шпалы эластичные пластики. Выше изобретение было пояснено на примере бетонной шпалы в качестве случая применения бетонного конструктивного элемента. Само собой разумеется, что изобретение тем самым не ограничивается бетонными шпалами, а применяется везде, где бетонное тело бетонного конструктивного элемента необходимо механически соединить с пластиковой плитой. ФОРМУЛА ИЗОБРЕТЕНИЯ 1. Бетонная шпала с расположенной с нижней стороны пластиковой подошвой, с: - бетонным телом (12), которое имеет нижнюю сторону (14), и - пластиковой плитой (18), которая расположена на нижней стороне (14) бетонного тела (12), при этом однослойная и многослойная пластиковая плита (18) соединена с бетонным телом (12) посредством слоя (16) волокон с неориентированным расположением, который имеет волокна, которые соединены с пластиковой плитой (18) и/или утоплены в бетонное тело (12), отличающаяся тем, что - слой (16) волокон с неориентированным расположением имеет волокна с диаметром от 15 мкм до 50 мкм и плотностью от 20 до 200 волокон на каждый квадратный миллиметр, и - примерно от 20% до 60% волокон выполнены утопленными в бетонное тело свободными концами, а утопленные участки других волокон выполнены в виде петель, при этом примерно от 10% до 60% утопленных в бетонное тело (12) свободных концов изогнуты относительно нижней стороны (14) бетонного тела (12) на от 30° до 90°. 2. Бетонная шпала по п.1, отличающаяся тем, что волокна имеют по существу круглое или эллиптическое поперечное сечение, при этом соотношение сторон эллипса составляет не более 1:2. 3. Бетонная шпала по п.1 или п.2, отличающаяся тем, что волокна являются химически сродными использованным для бетонного тела (12) при его изготовлении компонентам.
  • 5.