РЕСПУБЛИКА КАЗАХСТАН
(19) KZ (13) B (11) 29662
(51) A47J 45/07 (2006.01)
МИНИСТЕРСТВО ЮСТИЦИИ РЕСПУБЛИКИ КАЗАХСТАН
ОПИСАНИЕ ИЗОБРЕТЕНИЯ
К ПАТЕНТУ
(21) 2013/1512.1
(22) 27.09.2010
(45) 16.03.2015, бюл. №3
(31) 20 2010 012 194.9
(32) 05.07.2010
(33) DE
(85) 25.01.2013
(86) PCT/EP2010/005888, 27.09.2010
(72) ШУЛЬТЦ, Хорст (DE); ЛАПАВА, Зигфрид
(DE)
(73) СИЛАГ ХАНДЕЛЬ АГ (DE)
(74) Шабалина Галина Ивановна; Шабалин
Владимир Иванович; Кучаева Ирина Гафиятовна;
Тусупова Меруерт Кырыкбаевна
(56) DE 202009015975 U1, 15.04.2010
EP 1342440 A2, 10.09.2003
RU 96120770 A , 27.12.1998
(54) КРЫШКА ДЛЯ СКОРОВАРКИ
(57) Изобретение относится к крышке для
скороварки, у которой верхней модуль, состоящий
из запорного устройства с кнопкой и центральной
пластины, закреплен разъемным соединением на
центральном корпусе клапана входящей в нижний
модуль крышки с закраиной и уплотнением, причем
верхний модуль крышки может сниматься с
нижнего модуля вместе с фиксирующим
механизмом.
(19)KZ(13)B(11)29662
29662
2
Изобретение относится к крышке для
скороварки. В частности, оно относится к крышке
для скороварок с загнутым краем, которые можно
использовать и как обычные кастрюли.
Уровень техники
Принцип действия скороварок основан на том,
что при повышенном давлении повышается
температура кипения. У таких скороварок в крышке
есть клапан, с помощью которого устанавливается
нужное давление. При температуре, составляющей,
как правило, около 120°С, продукты готовятся
значительно быстрее.
Скороварки представляют собой сосуды под
давлением и должны соответствовать строгим
требованиям безопасности. Обычные скороварки
представляют собой кастрюлю с канавками и т.п. по
окружности, в которых фиксируется крышка. Так
как на кастрюле есть замки, такие скороварки, как
правило, плохо подходят для использования в
качестве обычной кастрюли для приготовления
пищи без давления.
В Европейском патенте ЕР 1 416 837 описана
крышка скороварки с U-образными захватами, с
помощью которых крышку можно закрепить на
изогнутом крае кастрюли "обычной" формы. Такая
кастрюля с загнутым краем гораздо лучше подходит
для использования для обычного приготовления
пищи. Недостаток заключается в том, чтобы для
обычного приготовления пищи нужно менять всю
крышку кастрюли. Правда, в соответствии с
вышеназванным описанием крепежные захваты
можно снимать для очистки. Однако это
относительно сложно, так как требуется отвернуть
гайку на нижней стороне крышки. Как правило, для
этого нужен инструмент. Кроме того, крышка с
захватами плохо подходит для использования в
качестве обычной крышки даже в незакрепленном
состоянии. По этой причине для приготовления
пищи без давления нужно хранить вторую крышку.
Кроме того, конструкция крышки относительно
сложная и затратная.
Немецкое описание промышленного образца
DE 20 2009 015 975 описывает сосуд для
приготовления пищи и модульную систему - в
частности, сосуд для приготовления пищи,
рассчитанный на все виды энергии и ее подвода /
виды плит и различные значения температуры и
давления приготовления, как без давления, так и под
давлением, с собственным и сторонним нагревом,
предпочтительно в форме пароварки - с емкостью
для продуктов питания и с устанавливаемой на
емкость и фиксируемой на ней различными
способами функциональной крышкой, а также с
отвечающим соответствующим предписаниям
редукционным клапаном и другими удобными
функциями, причем сосуд состоит из модуля
крышки и модуля кастрюли, модуль крышки
состоит из функциональной крышки с уплотнением
и края кастрюли с ненагревающимися ручками и
образует с модулем кастрюли единую систему с
помощью прочного и герметичного механического
соединения.
Конструкция сосуда состоит из модуля крышки с
функциональной крышкой, которая разъемно
соединяется с крышкой кастрюли крепежной гайкой
или винтом, причем эта комбинация герметично
соединяется с краем кастрюли фиксатором крышки,
представляющим собой соединение с модулем
кастрюли.
В соответствии с европейским описанием
ЕР 1 342 440 описывается пароварка с модулем
крышки, состоящая из емкости и крышки, которая
устанавливается на емкость и фиксируется, образуя
герметичное соединение; одного или нескольких
зажимов для фиксации крышки на емкости и
приспособления для перемещения, по меньшей
мере, одного зажима между положениями
"заблокировано” и "разблокировано", причем
имеется, по меньшей мере, один модуль,
предназначенный для установки и разъемного
крепления на крышке, причем этот модуль имеет, по
меньшей мере, с одной стороны устройство
блокирования и разблокирования на емкости, с
другой стороны, по меньшей мере, один из
следующих элементов: счетчик минут, клапан
регулирования давления, датчик давления, датчик
температуры, предохранительный клапан,
приспособление для надежного закрытия и
открытия и устройство управления с двумя
устойчивыми положениями.
В этом случае между модулем ручки и запорным
устройством/крышкой находится механически-
электромеханический интерфейс; в модуле ручки
находится механическое и сенсорное управление
кастрюлей и, следовательно, большинство контактов
с запорным устройством и с крышкой. Модуль
ручки чувствителен к попаданию воды.
Раскрытие изобретения
Задачей изобретения является создание крышки
скороварки, более удобной в использовании.
В частности, задачей изобретения является то,
что крышку можно без сложностей превратить в
обычную крышку без фиксатора. Кроме того,
требуется упростить конструкцию и процесс
очистки крышки.
Задача изобретения достигается в крышке
скороварки признаками независимого пункта
формулы изобретения. Предпочтительные варианты
дальнейшей разработки изобретения приведены в
соответствующих подпунктах формулы.
Крышка для скороварки, в частности, крышка,
которую можно фиксировать на обычных кастрюлях
с отогнутым краем, состоит из верхнего и нижнего
модулей; верхний модуль крышки состоит из
запорного устройства и фиксирующего устройства и
соединяется с нижним модулем крышки
центральной пластиной. Нижний модуль крышки
состоит из крышки с закраиной, уплотнением и
клапаном. Под крышкой с закраиной понимается
устанавливаемая на кастрюлю нижняя крышка с
буртиком или закраиной по всей окружности, на
которой есть уплотнение. Кроме того, на крышке
есть запорное устройство, обычно с кнопкой,
предназначенное для снятия крышки с кастрюли.
29662
3
Для обеспечения герметичного соединения крышка
фиксируется на кастрюле.
В соответствии с изобретением на запорном
устройстве есть приспособления, предназначенные
для того, чтобы его с, по меньшей мере, частью
фиксирующего устройства можно было снять с
крышки с закраиной. Таким образом, крышка
состоит из двух модулей, а именно из нижнего
модуля, представляющего собой крышку с
закраиной и клапаном, и верхнего модуля с
запорным устройством, фиксирующим устройством
и центральной пластиной. Благодаря тому, что на
запорном устройстве есть приспособления,
позволяющие отсоединить его вместе с
фиксирующим устройством от крышки с закраиной,
верхний и нижний модули можно очень легко
разделить, причем необходимость отворачивать,
например, гайки или винты на нижнем модуле
крышки отсутствует.
На крышке с закраиной есть приспособления для
крепления запорного устройства. После снятия
запорного устройства с фиксирующим устройством
и центральной пластины - то есть верхнего модуля -
эту часть можно заменить обычной ручкой без
фиксирующего механизма. Так из крышки с
закраиной в сочетании с другой ручкой получается
обычная крышка, предназначенная для обычного
приготовления пищи без давления или под низким
давлением. Благодаря простоте замены
пользователю не требуются две разные крышки, а
именно крышка для скороварки и крышка для
обычного приготовления пищи без давления или
под низким давлением.
Кроме того, очистка крышки облегчается
благодаря тому, что механизм для снятия запорного
устройства и фиксирующего устройства в верхнем
модуле расположен на верхней стороне крышки.
Как правило, винт на нижней стороне крышки
затрудняет очистку, так как нижняя сторона после
приготовления может быть загрязнена остатками
продуктов.
Дальнейшим развитием изобретения является
запорное приспособление, которое можно крепить
на клапане, предпочтительно расположенном в
центре крышки с закраиной. В этом
предпочтительно варианте изобретения можно
использовать корпус клапана (предпочтительно в
форме полого цилиндра), чтобы закрепить на нем
запорное устройство. Таким образом, запорное
устройство не нужно крепить отдельным болтом и
т.п., а закрепленный на крышке с закраиной клапан
не мешает при использовании этой крышки для
обычного приготовления пищи без давления или
под низким давлением, так как представляет собой
крепление для другой ручки.
Таким образом, в соответствии с
предпочтительным вариантом изобретения в
крышке с закраиной есть, по меньшей мере, один
клапан, полый цилиндр которого служит для
крепления запорного приспособления или ручки. В
одном из вариантов исполнения этот клапан служит
для установки рабочего давления в кастрюле. Это
значит, что расположенный в крышке с закраиной
клапан открывается при достижении нужного
давления, регулируя температуру внутри кастрюли
на основании температуры кипения воды.
В альтернативном варианте изобретения в
крышке с закраиной вместо клапана для установки
давления - или в дополнение к нему -- может
находиться предохранительный клапан, то есть
второй клапан, открывающийся при повышении
давления в случае отказа первого клапана и (или)
блокирующий фиксирующее приспособление
крышки под давлением, чтобы ее нельзя было
открыть вручную.
В предпочтительном варианте изобретения этот
клапан регулируется. Например, для этого можно
использовать регулировочный винт, настраивающий
предварительное натяжение пружины клапана. С
помощью подобного регулируемого клапана
пользователь может задавать разные уровни
давления при приготовления пищи при разной
температуре.
В предпочтительном варианте изобретения для
разделения верхнего и нижнего модуля крышки
используется механизм с ползунком. Подобный
механизм состоит из ползунка, который в одном из
положений соединяется с геометрическим
замыканием, например, с выступом крепежного
болта корпуса клапана в виде полого цилиндра. При
смещении ползунка он приводится в положение, в
котором соединение с геометрическим замыканием
разблокируется. Таким способом верхний модуль
крышки можно снять и отсоединить от нижнего
модуля простым нажатием на ручку ползунка.
В предпочтительном варианте изобретения для
разделения крышки и кастрюли фиксирующее
устройство задействует кнопкой запорного
устройства. В частности, предусмотрено, что в
качестве фиксирующего устройства используются
U-образные захваты, которые цепляются за
отогнутый край кастрюли и при повороте кнопки
запорного устройства выполняют радиальное
движение, направленное, по меньшей мере, внутрь,
то есть в направлении центральной оси кастрюли.
Предпочтительно, чтобы движение захватов
было одновременно направлено вверх, то есть в
направлении кнопки запорного устройства. Таким
образом, в зафиксированном состоянии при
повышении давления на захваты действует сила,
направленная внутрь. Благодаря этому открыть
фиксатор можно только, приложив большое усилие,
или - особенно при высоком давлении - вообще
невозможно.
Это, в том числе, в сочетании с
предохранительным клапаном, блокирующим
фиксирующее устройство, дополнительно повышает
безопасность. Предпочтительно, чтобы кастрюля
имела два клапана, а именно клапан установки
рабочего давления и предохранительный клапан, к
примеру, блокирующий фиксирующее устройство
под давлением, чтобы кастрюлю нельзя было
открыть. Предохранительный клапан также может
быть выполнен так, чтобы срабатывать под более
высоким давлением, чем второй клапан, на случай
отказа последнего.
29662
4
В предпочтительном варианте изобретения
фиксирующее приспособление крышки блокируется
под давлением, по меньшей мере, одним из этих
клапанов. Для этой цели, к примеру, предусмотрено,
что штифт предохранительного клапана входит в
соответствующую выемку запорного устройства,
блокируя под давлением поворот кнопки запорного
устройства, задействующей фиксирующее
устройство крышки.
Кроме того, по меньшей мере, один из этих
клапанов, может задействовать штифт,
установленный на съемной части крышки, в
частности, на запорном устройстве. Этот штифт
можно, к примеру, использовать для отображения
давления внутри кастрюли.
В одном из вариантов изобретения крышка имеет
центральную пластину, расположенную в качестве
части верхнего модуля крышки между запорным
устройством и крышкой с закраиной и имеющую в
буртике выемки, предназначенные для опирания и
направления соединительных выступов крепежных
захватов при блокировке крышки. Центральная
пластина образует верхний съемный модуль крышки
с фиксирующим и запорным устройствами. В
частности, она служит для установки фиксирующего
устройства. Предпочтительно, чтобы при
установленном верхнем модуле крышки
центральная пластина образовывала не
вращающееся в осевом направлении соединение с
крышкой с закраиной, а запорное устройство,
напротив, образовывало с пластиной вращающееся
соединение, чтобы кнопкой запорного устройства
можно было задействовать крепежные захваты для
фиксации крышки так, чтобы пальцы на
противоположных захватам концах соединительных
выступов входили в канавки центральной пластины
в форме сегмента круга и, находясь в механическом
соединении с запорным устройством с
возможностью вращения, преобразовывали
вращающее движение запорного устройство в
продольное движение соединительных выступов в
радиальном направлении.
Дальнейшее развитие изобретения
подразумевает, что центральная пластина вместе с
запорным и фиксирующим устройствами может
сниматься с нижнего модуля крышки. Между
центральной пластиной верхнего модуля крышки и
крышкой с закраиной нижнего модуля есть канал
для отвода пара, выходящего из, по меньшей мере,
одного клапана. После разделения верхнего и
нижнего модулей этот канал особенно легко
чистить. Кроме того, преимущество заключается в
том, что пар отводится только по каналу между
центральной пластиной и крышкой с закраиной, а не
вдоль механических элементов фиксирующего
устройства. Таким образом, остатки еды,
переносимые паром, могут контактировать только
со стенкой канала, который легко очищается и не
имеет скрытых поверхностей.
Предпочтительно, чтобы крышка состояла из
двух разъединяемых модулей, причем верхний
модуль должен иметь запорное устройство с
кнопкой и фиксирующее устройство для блокировки
крышки на отогнутом крае кастрюли, а также
центральную пластину, а нижний модуль - крышку с
закраиной для закрытия кастрюли и клапан.
Изобретение также касается крышки для
скороварки, в частности, с одним или несколькими
из вышеописанных признаков, включающую
крышку с закраиной, уплотнением и, по меньшей
мере, одним клапаном.
В соответствии с изобретением, фиксирующее
устройство находится на центральной пластине,
которая, в свою очередь, находится между крышкой
с закраиной и запорным устройством и является
частью верхнего модуля. Центральная пластина с
запорным и фиксирующим устройствами снимается
с крышки с закраиной, причем между пластиной и
крышкой с закраиной есть канал, по которому
отводится пар, поступающий из, по меньшей мере,
одного клапана. Благодаря расположенному между
центральной пластиной и крышкой с закраиной
каналу можно с высокой надежностью
предотвратить контакт пара с механическими
частями фиксирующего устройства и загрязнение
механизма фиксации, очищать который
относительно сложно, частицами, переносимыми
паром.
Изобретение также касается крышки для
скороварки, включающей крышку с закраиной,
уплотнением и, по меньшей мере, одним клапаном
для установки рабочего давления. Кроме того, к
крышке с закраиной относится предохранительный
клапан. В соответствии с изобретением, по меньшей
мере корпус одного из клапанов в форме полого
цилиндра - в частности, если он установлен на
крышке с закраиной, - служит опорой, к которой
запорное устройство верхнего модуля крышки
образуется разъемное соединение с геометрическим
замыканием.
Краткое описание чертежей
Ниже изобретение описывается подробнее на
основании чертежей. На чертежах схематически
изображено следующее.
Фиг.1 - схематичное изображение скороварки с
установленной крышкой в сечении
Фиг.2 - фрагмент сечения, показанного на фиг. 1
Фиг.3 - изображение крышки для скороварки в
перспективе
Фиг.4 - изображение верхнего модуля крышки в
перспективе
Фиг.5 - изображение нижнего модуля крышки в
перспективе
Фиг.6 и фиг.7 - пояснения к фрагментам
запорного устройства верхнего модуля
Фиг.8 - перспективное изображение крышки в
сечении вдоль плоскости, лежащей на центральной
оси крышки
Фиг.9 - еще одно изображение крышки в сечении
Фиг.10 - пояснения к фрагментам центральной
пластины верхнего модуля
Фиг.11 и фиг.12 - пояснения к фиксирующему
устройству верхнего модуля.
Осуществление изобретения
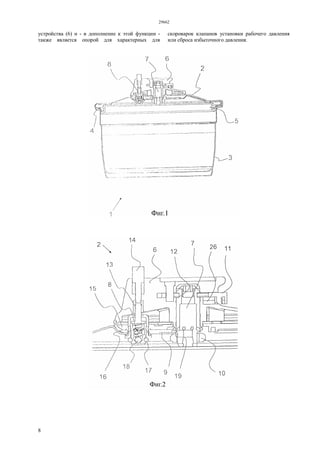
На фиг.1 показано схематичное изображение
скороварки 1 согласно одному из вариантов
29662
5
изобретения в сечении. Скороварка состоит из
кастрюли 3 с загнутым краем 4 и крышки 2.
Скороварка представляет собой напорный сосуд. С
помощью запорного устройства 6 можно
задействовать фиксирующий механизм,
блокирующий крышку на загнутом крае кастрюли.
Кастрюля герметизируется с помощью манжетного
уплотнения 5. Крышка включает клапан 7 для
установки рабочего давления и предохранительный
клапан 8.
На фиг.2 показан фрагмент крышки,
изображенной на фиг. 1, с подробным изображением
отдельных частей, в частности, клапанов. Крышка 2
состоит из крышки с закраиной 9, установленной на
кастрюлю и имеющей уплотнение (5 на фиг. 1). На
крышке с закраиной есть первый клапан 7, с
помощью которого устанавливается рабочее
давление скороварки. Клапан (здесь изображен
только его корпус) закреплен гайкой 10 в центре
крышки с закраиной 9. Крышка с закраиной и
клапан являются частью нижнего модуля крышки.
Кроме того, к крышке относится запорное
устройство 6, установленное на корпусе клапана с
возможностью вращения. Для этого в корпусе
клапана по всей окружности есть канавка 12, в
которой запорное устройство можно закрепить с
помощью ползунка 11. Для этого предпочтительно
предусмотреть канал 26 для пружины (не показана),
выдавливающей ползунок наружу. При нажатии на
ползунок его можно переместить против действия
пружины в положение, в котором соединение с
геометрическим замыканием в канавке корпуса
клапана размыкается. Запорное устройство также
соединено с центральной пластиной 15 с
возможностью вращения. Вращением запорного
устройства крышку можно зафиксировать
захватами, что будет более подробно описано ниже
на основании следующих чертежей. Запорное
устройство и центральная пластина являются
частью верхнего модуля крышки.
Кроме того, крышка с закраиной 9 включает еще
один клапан, расположенный вне центра и в данном
варианте изобретения являющийся
предохранительным клапаном 8.
Предохранительный клапан также закреплен на
крышке с закраиной. Предохранительный клапан
представляет собой шаровой клапан с шариком 18,
который прижимается к поверхности уплотнения
пружиной. Уплотнительное кольцо 17 служит для
герметизации корпуса клапана. Подразумевается,
что этот клапан 7 также может иметь и другие
уплотнения. Верхняя часть предохранительного
клапана состоит из собственно верхней части 13, с
помощью которой задействуется расположенный в
запорном устройстве 6 штифт 14. Этот штифт
показывает, находится ли скороварка под
давлением. Верхняя часть, которая под давлением
входит в выемку в запорном устройстве 6,
предотвращает вращение запорного устройства,
когда кастрюля находится под давлением, и,
следовательно, задействование фиксирующего
устройства. Кроме того, нажатием штифта вниз
можно стравить давление из скороварки, чтобы
открыть ее.
Как корпус клапана 7, так и корпус клапана 8
имеют боковые каналы 19, по которым пар
отводится в образованный между крышкой с
закраиной 9 и центральной пластиной 15 канал 16.
Так как центральная пластина может сниматься
вместе с запорным устройством 6, этот канал
особенно легко очищается. Кроме того, благодаря
такой конструкции пар не контактирует с захватами
фиксирующего механизма.
Па фиг.3 показано изображение крышки в
перспективе. Здесь видны крышка с закраиной 9,
окруженная тремя U-образными крепежными
захватами 20. Крепежные захваты соединяются с
запорным устройством 6 выступами 22. Запорное
устройство имеет кнопку 21, с помощью которой
можно снять всю крышку. Для задействования
фиксирующего механизма запорное устройство
можно повернуть кнопкой. При блокировании
крышки на кастрюле крепежные захваты движутся
внутрь и захватывают загнутый край кастрюли.
Чтобы снять верхний модуль, включающий
запорное устройство и фиксирующий механизм,
можно нажать на ползунок 11 и снять верхний
модуль, включающий фиксирующий механизм.
Части верхнего модуля крышки показаны в
перспективе на фиг.4. Здесь видны три крепежных
захвата 20, которые соединяются с запорным
устройством 6 выступами 22. Снизу запорное
устройство оканчивается центральной пластиной 15.
После снятия верхнего модуля, как показано в
перспективе на фиг. 5, остается нижний модуль с
крышкой с закраиной 9, имеющий уплотнение 5 по
всей окружности. Кроме того, на крышке с
закраиной есть клапан 7, в верхней части корпуса
которого есть канавка 12 для крепления запорного
устройства 6. На этом рисунке хорошо видны
находящиеся на корпусе клапана каналы 19, по
которым отводится пар. Предохранительный клапан
8 также находится на крышке с закраиной и также
имеет каналы 32 для сброса давления; оба канала
соединяются с каналом 16, образованным между
центральной пластиной 15 и крышкой с закраиной.
Нижний модуль может быть оснащен новой
крышкой без фиксирующего механизма (не
показана) для использования для обычного
приготовления пищи без давления или под низким
давлением. Предпочтительно, чтобы эта крышка
закрывала клапан для установки давления и
предохранительный клапан. Из-за использования
верхнего цилиндра клапана в качестве крепления
запорного устройства, а также из-за того, что
предохранительный клапан находится в
непосредственной близости, одной крышкой можно
закрыть оба клапана. В результате крышка 2 внешне
не будет отличаться от обычной крышки для
приготовления пищи без давления или под низким
давлением; хранить для этого другие крышки не
требуется.
На фиг.6 в перспективе показано запорное
устройство 6 верхнего модуля крышки, включающее
ползунок 11 для снятия запорного устройства вместе
29662
6
с фиксирующим механизмом (не показан). Ползунок
со штифтом 23 установлен в кнопке 21 запорного
устройства с возможностью перемещения. Кроме
того, в кнопке есть отверстие под верхнюю часть 13
предохранительного клапана 8, а также его
удлиненной наружной части, представляющей собой
штифт 14.
На фиг.7 в перспективе изображен ползунок 11.
Ползунок имеет выемку 1 24 большего диаметра и
входящую в выемку 1 вторую выемку 2 25 меньшего
диаметра. В исходном положении, то есть когда
ползунок не отжимается штифтом вбок, выемка 2
находится под расположенным на корпусе клапана 7
выступом, обеспечивая разъемное соединение с
геометрическим замыканием. При сдвигании
ползунка вбок он переходит из положения покоя в
положение, в котором выемка 1 большего диаметра
в осевом направлении совпадает с выступом
соответствующего цилиндра клапана. Соединение с
геометрическим замыканием размыкается, и
запорное устройство 6 можно снять. Штифт 23
предотвращает выдавливание ползунка пружиной
(не показана) в канале 26 из корпуса, образованного
кнопкой 21 запорного устройства.
На фиг.8 в перспективе показана крышка 2 с
модулями в разрезе вдоль расположенной по оси
плоскости. Хорошо видны U-образные крепежные
захваты 20, которые могут входить под загнутый
край 4 кастрюли 3 (не показана). Кастрюля с
крышкой герметизируется с помощью манжетного
уплотнения 5.
На фиг.9 показан верхний модуль в сечении,
состоящий в основном из запорного устройства 6,
центральной пластины 15 и крепежных захватов 20.
Для крепления запорного устройства и захватов
предусмотрена центральная пластина, которая в
собранном состоянии представляет собой
механическое соединение между верхним модулем
и крышкой с закраиной 9 нижнего модуля крышки.
Другие детали объясняются на основании фиг.10,
на котором в перспективе показана центральная
пластина 15 снизу, являющаяся частью верхнего
модуля, с соответствующей поверхностью контакта
с крышкой с закраиной 9. В центральной пластине
есть центральная выемка 3 27, которая в собранном
состоянии надвигается на расположенный на
крышке с закраиной клапан (7 на фиг.5). Кроме того,
в центральной пластине есть еще одна выемка 4 28,
которая в собранном состоянии надвигается на
предохранительный клапан (8 на фиг.5). Так как
цилиндрический корпус предохранительного
клапана находится во внецентренной выемке 4,
центральная пластина в собранном виде не может
вращаться вокруг оси относительно крышки с
закраиной. В центральной пластине 15 также есть
канал 16, по которому в собранном виде отводится
пар между пластиной и крышкой с закраиной.
Подразумевается, что по краям канала 16 есть
уплотнения, подробно не описываемые в данном
примере. Для уплотнения по краю можно
предусмотреть канавку 36.
На фиг.11 показаны следующие детали
центральной пластины 15 и фиксирующего
механизма, представляющих часть верхнего модуля.
Центральная пластина имеет по краю выступ 31,
который имеет выемки в области соединительных
выступов 22 и захватов 20. Как было описано выше,
центральная пластина в собранном состоянии
фиксируется в осевом направлении выемкой 4 28 и
цилиндром предохранительного клапана 8.
Соединительные выступы имеют выемки 5 33,
которые, как будет показано ниже, взаимодействуют
с запорным устройством 6. В центральной пластине
есть канавки 29 в форме сегментов круга в качестве
направляющих соединительных выступов.
На фиг.12 в перспективе показана нижняя
сторона запорного устройства 6 верхнего модуля. К
запорному устройству в соответствии с количеством
соединительных выступов 22 относятся штифты 30,
которые в собранном состоянии входят в
показанные на фиг.11 выемки 5 33 соединительных
выступов. При вращении кнопки 21 запорного
устройства относительно центральной пластины 15
штифты 30 входят в канавки 29, и захваты 20 могут
перемещаться в радиальном направлении наружу
или внутрь. Захваты или штифты предпочтительно
имеют грибовидную форму и могут использоваться
для крепления центральной пластины,
соединительных выступов и запорного устройства,
так как они имеют больший диаметр под канавками.
Кроме того, выемка 27 и расположенный на
запорном устройстве участок 34 в форме полого
цилиндра могут образовывать вращательный
шарнир, удерживающий центральную пластину и
запорное устройство. Кроме того, запорное
устройство также имеет выемку 6 35, в которую
может входить верхняя часть 13
предохранительного клапана (8 на фиг.5) со
штифтом 14, предотвращая вращение кнопки
запорного устройства, когда кастрюля находится
под давлением.
Данное изобретение представляет собой
предпочтительное исполнение скороварки с
упрощенным принципом использования.
Перечень позиций
1 Скороварка
2 Крышка
3 Кастрюля
4 Загнутая кромка
5 Уплотнение
6 Запорное устройство
7 Клапан
8 Предохранительный клапан
9 Крышка с закраиной
10 Гайка
11 Ползунок
12 Канавка
13 Верхняя часть предохранительного
клапана
14 Штифт
15 Центральная пластина
16 Канал
17 Уплотнительное кольцо
18 Шарик
19 Канал центрального клапана
20 Крепежный захват
29662
7
21 Кнопка
22 Соединительный выступ
23 Штифт
24 Выемка 1
25 Выемка 2
26 Канал
27 Выемка 3
28 Выемка 4
29 Канавка
30 Захват, штифт
31 Выступ
32 Канал
33 Выемка 5
34 Участок, полый цилиндр
35 Выемка 6
36 Канавка
ФОРМУЛА ИЗОБРЕТЕНИЯ
1. Крышка для скороварки (1) в виде кастрюли
(3) с загнутым краем (4), выполненная в виде
фиксируемой крышки (2) с манжетным
уплотнением (5) для уплотнения относительно
указанного загнутого края, и снабженная верхним
модулем, состоящим из запорного устройства (6),
центральной пластины (15) и крепежных захватов
(20), и нижним модулем, состоящим из крышки с
закраиной (9) с уплотнением (5) и клапанами (7, 8),
отличающаяся тем, что запорное устройство
содержит приспособления для простого отделения
верхнего модуля от нижнего.
2. Крышка для скороварки по п.1,
отличающаяся тем, что запорное устройство (6) с
крепежными захватами (20) выполнено с
возможностью крепления на цилиндрическом
штуцере клапана (7), предпочтительно
расположенном на крышке с закраиной (9).
3. Крышка для скороварки по п.1 или 2,
отличающаяся тем, что запорное устройство (6) с
крепежными захватами (20) имеет установленный
на пружине, направляемый неподвижным штифтом
(23), перемещаемый по горизонтали ползунок (11) с
входящими одна в другую выемками, причем
выемка (24) со штуцером клапана (7) выполнена в
виде направляющей, а выемка (25) в сочетании с
канавкой (12) - в виде фиксатора.
4. Крышка для скороварки по одному из п.п.1-3,
отличающаяся тем, что перемещаемый по
горизонтали, интегрированный в запорное
устройство (6) ползунок (11) имеет выведенное из
запорного устройства приспособление для
управления.
5. Крышка для скороварки по одному из п.п.1-4,
отличающаяся тем, что верхний модуль по
направлению к крышке с закраиной (9)
оканчивается зафиксированной по оси,
направляющей соединительные выступы (22) и
захваты (20) центральной пластиной (15), на стороне
которой, обращенной от крышки с закраиной,
расположено установленное в центре с
возможностью вращения (34) запорное устройство
(6), которое с помощью пальцев (30), направленных
вертикально, входящих в канавки (29) в форме
сегментов круга центральной пластины и
зацепляющихся за соединительные выступы,
преобразует осевое движение запорного устройство
в радиальное движение захватов, причем запорное
устройство на стороне, обращенной от крышки с
закраиной, имеет образованную в виде кнопки или
ручки (21) полость для ползунка (11) и
неподвижного направляющего штифта (23), а также
штифта (14), отображающего давление.
6. Крышка для скороварки по одному из п.п.1-5,
отличающаяся тем, что крышка с закраиной (9),
являющаяся частью нижнего модуля, имеет клапан
установки давления (7) и редукционный или
предохранительный клапан (8) с обращенными к
центральной пластине (15) выходными отверстиями
(16) в форме каналов для обеспечения рабочего
давления (19) и сброса избыточного давления (32).
7. Крышка для скороварки по одному из п.п.1-6,
отличающаяся тем, что зафиксированная
цилиндрическим штуцером клапана (8) центральная
пластина (15) имеет выемки или отверстия (27, 28)
для установки или ввода штуцеров клапанов (7, 8) и
их выходных отверстий (19, 32), через которые
выходящий пар выводится на обращенной от
крышки с закраиной (9) стороне центральной
пластины в образованный двумя - стык (36) под
уплотнение - кромками канал (16) с уплотнением,
причем крышка канала образована обращенным к
крышке с закраиной дном вращаемого запорного
устройства (6), при этом пары выпускаются в
атмосферу через боковое отверстие, не контактируя
с запорным устройством верхнего модуля крышки.
8. Крышка для скороварки по одному из п.п. 1-7,
отличающаяся тем, что, с одной стороны,
относительное движение в осевом направлении
между запорным устройство (6) и центральной
пластиной (15) имеется в связи с продольным
расширением канавок (29) в форме сегментов круга
центральной пластины и двигающимися в них
захватами (30) запорного устройства, с другой
стороны, выдвинутый штифт (14) находящейся под
давлением кастрюли (3) путем фиксации в
отверстии (35) запорного устройства исключает
относительное движение между ним и центральной
пластиной.
9. Крышка для скороварки по одному из п.п.1-8,
отличающаяся тем, что обращенная от кастрюли
(3) поверхность крышки с закраиной (9) при снятии
верхнего модуля образует механическое соединение
с другими функциональными частями - например,
стандартной центральной ручкой или специальной
кнопкой для выпуска испарений, при этом на основе
крышки с закраиной выполнена обычная крышка
кастрюли для приготовления пищи без давления или
под низким давлением.
10. Крышка для скороварки по одному из п.п.1-9,
отличающаяся тем, что центральный штуцер (7,
19), имеющий, например, форму полого цилиндра,
обращенный от крышки с закраиной (9) конец
которого - в виде крепежной канавки (12) - образует
часть запорного устройства между верхним и
нижним модулем с использованием
переставляемого вручную ползунка (11) запорного
29662
8
устройства (6) и - в дополнение к этой функции -
также является опорой для характерных для
скороварок клапанов установки рабочего давления
или сброса избыточного давления.
29662
9
29662
10
29662
11
Верстка А. Сарсекеева
Корректор К. Нгметжанова

29662p

  • 1.
    РЕСПУБЛИКА КАЗАХСТАН (19) KZ(13) B (11) 29662 (51) A47J 45/07 (2006.01) МИНИСТЕРСТВО ЮСТИЦИИ РЕСПУБЛИКИ КАЗАХСТАН ОПИСАНИЕ ИЗОБРЕТЕНИЯ К ПАТЕНТУ (21) 2013/1512.1 (22) 27.09.2010 (45) 16.03.2015, бюл. №3 (31) 20 2010 012 194.9 (32) 05.07.2010 (33) DE (85) 25.01.2013 (86) PCT/EP2010/005888, 27.09.2010 (72) ШУЛЬТЦ, Хорст (DE); ЛАПАВА, Зигфрид (DE) (73) СИЛАГ ХАНДЕЛЬ АГ (DE) (74) Шабалина Галина Ивановна; Шабалин Владимир Иванович; Кучаева Ирина Гафиятовна; Тусупова Меруерт Кырыкбаевна (56) DE 202009015975 U1, 15.04.2010 EP 1342440 A2, 10.09.2003 RU 96120770 A , 27.12.1998 (54) КРЫШКА ДЛЯ СКОРОВАРКИ (57) Изобретение относится к крышке для скороварки, у которой верхней модуль, состоящий из запорного устройства с кнопкой и центральной пластины, закреплен разъемным соединением на центральном корпусе клапана входящей в нижний модуль крышки с закраиной и уплотнением, причем верхний модуль крышки может сниматься с нижнего модуля вместе с фиксирующим механизмом. (19)KZ(13)B(11)29662
  • 2.
    29662 2 Изобретение относится ккрышке для скороварки. В частности, оно относится к крышке для скороварок с загнутым краем, которые можно использовать и как обычные кастрюли. Уровень техники Принцип действия скороварок основан на том, что при повышенном давлении повышается температура кипения. У таких скороварок в крышке есть клапан, с помощью которого устанавливается нужное давление. При температуре, составляющей, как правило, около 120°С, продукты готовятся значительно быстрее. Скороварки представляют собой сосуды под давлением и должны соответствовать строгим требованиям безопасности. Обычные скороварки представляют собой кастрюлю с канавками и т.п. по окружности, в которых фиксируется крышка. Так как на кастрюле есть замки, такие скороварки, как правило, плохо подходят для использования в качестве обычной кастрюли для приготовления пищи без давления. В Европейском патенте ЕР 1 416 837 описана крышка скороварки с U-образными захватами, с помощью которых крышку можно закрепить на изогнутом крае кастрюли "обычной" формы. Такая кастрюля с загнутым краем гораздо лучше подходит для использования для обычного приготовления пищи. Недостаток заключается в том, чтобы для обычного приготовления пищи нужно менять всю крышку кастрюли. Правда, в соответствии с вышеназванным описанием крепежные захваты можно снимать для очистки. Однако это относительно сложно, так как требуется отвернуть гайку на нижней стороне крышки. Как правило, для этого нужен инструмент. Кроме того, крышка с захватами плохо подходит для использования в качестве обычной крышки даже в незакрепленном состоянии. По этой причине для приготовления пищи без давления нужно хранить вторую крышку. Кроме того, конструкция крышки относительно сложная и затратная. Немецкое описание промышленного образца DE 20 2009 015 975 описывает сосуд для приготовления пищи и модульную систему - в частности, сосуд для приготовления пищи, рассчитанный на все виды энергии и ее подвода / виды плит и различные значения температуры и давления приготовления, как без давления, так и под давлением, с собственным и сторонним нагревом, предпочтительно в форме пароварки - с емкостью для продуктов питания и с устанавливаемой на емкость и фиксируемой на ней различными способами функциональной крышкой, а также с отвечающим соответствующим предписаниям редукционным клапаном и другими удобными функциями, причем сосуд состоит из модуля крышки и модуля кастрюли, модуль крышки состоит из функциональной крышки с уплотнением и края кастрюли с ненагревающимися ручками и образует с модулем кастрюли единую систему с помощью прочного и герметичного механического соединения. Конструкция сосуда состоит из модуля крышки с функциональной крышкой, которая разъемно соединяется с крышкой кастрюли крепежной гайкой или винтом, причем эта комбинация герметично соединяется с краем кастрюли фиксатором крышки, представляющим собой соединение с модулем кастрюли. В соответствии с европейским описанием ЕР 1 342 440 описывается пароварка с модулем крышки, состоящая из емкости и крышки, которая устанавливается на емкость и фиксируется, образуя герметичное соединение; одного или нескольких зажимов для фиксации крышки на емкости и приспособления для перемещения, по меньшей мере, одного зажима между положениями "заблокировано” и "разблокировано", причем имеется, по меньшей мере, один модуль, предназначенный для установки и разъемного крепления на крышке, причем этот модуль имеет, по меньшей мере, с одной стороны устройство блокирования и разблокирования на емкости, с другой стороны, по меньшей мере, один из следующих элементов: счетчик минут, клапан регулирования давления, датчик давления, датчик температуры, предохранительный клапан, приспособление для надежного закрытия и открытия и устройство управления с двумя устойчивыми положениями. В этом случае между модулем ручки и запорным устройством/крышкой находится механически- электромеханический интерфейс; в модуле ручки находится механическое и сенсорное управление кастрюлей и, следовательно, большинство контактов с запорным устройством и с крышкой. Модуль ручки чувствителен к попаданию воды. Раскрытие изобретения Задачей изобретения является создание крышки скороварки, более удобной в использовании. В частности, задачей изобретения является то, что крышку можно без сложностей превратить в обычную крышку без фиксатора. Кроме того, требуется упростить конструкцию и процесс очистки крышки. Задача изобретения достигается в крышке скороварки признаками независимого пункта формулы изобретения. Предпочтительные варианты дальнейшей разработки изобретения приведены в соответствующих подпунктах формулы. Крышка для скороварки, в частности, крышка, которую можно фиксировать на обычных кастрюлях с отогнутым краем, состоит из верхнего и нижнего модулей; верхний модуль крышки состоит из запорного устройства и фиксирующего устройства и соединяется с нижним модулем крышки центральной пластиной. Нижний модуль крышки состоит из крышки с закраиной, уплотнением и клапаном. Под крышкой с закраиной понимается устанавливаемая на кастрюлю нижняя крышка с буртиком или закраиной по всей окружности, на которой есть уплотнение. Кроме того, на крышке есть запорное устройство, обычно с кнопкой, предназначенное для снятия крышки с кастрюли.
  • 3.
    29662 3 Для обеспечения герметичногосоединения крышка фиксируется на кастрюле. В соответствии с изобретением на запорном устройстве есть приспособления, предназначенные для того, чтобы его с, по меньшей мере, частью фиксирующего устройства можно было снять с крышки с закраиной. Таким образом, крышка состоит из двух модулей, а именно из нижнего модуля, представляющего собой крышку с закраиной и клапаном, и верхнего модуля с запорным устройством, фиксирующим устройством и центральной пластиной. Благодаря тому, что на запорном устройстве есть приспособления, позволяющие отсоединить его вместе с фиксирующим устройством от крышки с закраиной, верхний и нижний модули можно очень легко разделить, причем необходимость отворачивать, например, гайки или винты на нижнем модуле крышки отсутствует. На крышке с закраиной есть приспособления для крепления запорного устройства. После снятия запорного устройства с фиксирующим устройством и центральной пластины - то есть верхнего модуля - эту часть можно заменить обычной ручкой без фиксирующего механизма. Так из крышки с закраиной в сочетании с другой ручкой получается обычная крышка, предназначенная для обычного приготовления пищи без давления или под низким давлением. Благодаря простоте замены пользователю не требуются две разные крышки, а именно крышка для скороварки и крышка для обычного приготовления пищи без давления или под низким давлением. Кроме того, очистка крышки облегчается благодаря тому, что механизм для снятия запорного устройства и фиксирующего устройства в верхнем модуле расположен на верхней стороне крышки. Как правило, винт на нижней стороне крышки затрудняет очистку, так как нижняя сторона после приготовления может быть загрязнена остатками продуктов. Дальнейшим развитием изобретения является запорное приспособление, которое можно крепить на клапане, предпочтительно расположенном в центре крышки с закраиной. В этом предпочтительно варианте изобретения можно использовать корпус клапана (предпочтительно в форме полого цилиндра), чтобы закрепить на нем запорное устройство. Таким образом, запорное устройство не нужно крепить отдельным болтом и т.п., а закрепленный на крышке с закраиной клапан не мешает при использовании этой крышки для обычного приготовления пищи без давления или под низким давлением, так как представляет собой крепление для другой ручки. Таким образом, в соответствии с предпочтительным вариантом изобретения в крышке с закраиной есть, по меньшей мере, один клапан, полый цилиндр которого служит для крепления запорного приспособления или ручки. В одном из вариантов исполнения этот клапан служит для установки рабочего давления в кастрюле. Это значит, что расположенный в крышке с закраиной клапан открывается при достижении нужного давления, регулируя температуру внутри кастрюли на основании температуры кипения воды. В альтернативном варианте изобретения в крышке с закраиной вместо клапана для установки давления - или в дополнение к нему -- может находиться предохранительный клапан, то есть второй клапан, открывающийся при повышении давления в случае отказа первого клапана и (или) блокирующий фиксирующее приспособление крышки под давлением, чтобы ее нельзя было открыть вручную. В предпочтительном варианте изобретения этот клапан регулируется. Например, для этого можно использовать регулировочный винт, настраивающий предварительное натяжение пружины клапана. С помощью подобного регулируемого клапана пользователь может задавать разные уровни давления при приготовления пищи при разной температуре. В предпочтительном варианте изобретения для разделения верхнего и нижнего модуля крышки используется механизм с ползунком. Подобный механизм состоит из ползунка, который в одном из положений соединяется с геометрическим замыканием, например, с выступом крепежного болта корпуса клапана в виде полого цилиндра. При смещении ползунка он приводится в положение, в котором соединение с геометрическим замыканием разблокируется. Таким способом верхний модуль крышки можно снять и отсоединить от нижнего модуля простым нажатием на ручку ползунка. В предпочтительном варианте изобретения для разделения крышки и кастрюли фиксирующее устройство задействует кнопкой запорного устройства. В частности, предусмотрено, что в качестве фиксирующего устройства используются U-образные захваты, которые цепляются за отогнутый край кастрюли и при повороте кнопки запорного устройства выполняют радиальное движение, направленное, по меньшей мере, внутрь, то есть в направлении центральной оси кастрюли. Предпочтительно, чтобы движение захватов было одновременно направлено вверх, то есть в направлении кнопки запорного устройства. Таким образом, в зафиксированном состоянии при повышении давления на захваты действует сила, направленная внутрь. Благодаря этому открыть фиксатор можно только, приложив большое усилие, или - особенно при высоком давлении - вообще невозможно. Это, в том числе, в сочетании с предохранительным клапаном, блокирующим фиксирующее устройство, дополнительно повышает безопасность. Предпочтительно, чтобы кастрюля имела два клапана, а именно клапан установки рабочего давления и предохранительный клапан, к примеру, блокирующий фиксирующее устройство под давлением, чтобы кастрюлю нельзя было открыть. Предохранительный клапан также может быть выполнен так, чтобы срабатывать под более высоким давлением, чем второй клапан, на случай отказа последнего.
  • 4.
    29662 4 В предпочтительном вариантеизобретения фиксирующее приспособление крышки блокируется под давлением, по меньшей мере, одним из этих клапанов. Для этой цели, к примеру, предусмотрено, что штифт предохранительного клапана входит в соответствующую выемку запорного устройства, блокируя под давлением поворот кнопки запорного устройства, задействующей фиксирующее устройство крышки. Кроме того, по меньшей мере, один из этих клапанов, может задействовать штифт, установленный на съемной части крышки, в частности, на запорном устройстве. Этот штифт можно, к примеру, использовать для отображения давления внутри кастрюли. В одном из вариантов изобретения крышка имеет центральную пластину, расположенную в качестве части верхнего модуля крышки между запорным устройством и крышкой с закраиной и имеющую в буртике выемки, предназначенные для опирания и направления соединительных выступов крепежных захватов при блокировке крышки. Центральная пластина образует верхний съемный модуль крышки с фиксирующим и запорным устройствами. В частности, она служит для установки фиксирующего устройства. Предпочтительно, чтобы при установленном верхнем модуле крышки центральная пластина образовывала не вращающееся в осевом направлении соединение с крышкой с закраиной, а запорное устройство, напротив, образовывало с пластиной вращающееся соединение, чтобы кнопкой запорного устройства можно было задействовать крепежные захваты для фиксации крышки так, чтобы пальцы на противоположных захватам концах соединительных выступов входили в канавки центральной пластины в форме сегмента круга и, находясь в механическом соединении с запорным устройством с возможностью вращения, преобразовывали вращающее движение запорного устройство в продольное движение соединительных выступов в радиальном направлении. Дальнейшее развитие изобретения подразумевает, что центральная пластина вместе с запорным и фиксирующим устройствами может сниматься с нижнего модуля крышки. Между центральной пластиной верхнего модуля крышки и крышкой с закраиной нижнего модуля есть канал для отвода пара, выходящего из, по меньшей мере, одного клапана. После разделения верхнего и нижнего модулей этот канал особенно легко чистить. Кроме того, преимущество заключается в том, что пар отводится только по каналу между центральной пластиной и крышкой с закраиной, а не вдоль механических элементов фиксирующего устройства. Таким образом, остатки еды, переносимые паром, могут контактировать только со стенкой канала, который легко очищается и не имеет скрытых поверхностей. Предпочтительно, чтобы крышка состояла из двух разъединяемых модулей, причем верхний модуль должен иметь запорное устройство с кнопкой и фиксирующее устройство для блокировки крышки на отогнутом крае кастрюли, а также центральную пластину, а нижний модуль - крышку с закраиной для закрытия кастрюли и клапан. Изобретение также касается крышки для скороварки, в частности, с одним или несколькими из вышеописанных признаков, включающую крышку с закраиной, уплотнением и, по меньшей мере, одним клапаном. В соответствии с изобретением, фиксирующее устройство находится на центральной пластине, которая, в свою очередь, находится между крышкой с закраиной и запорным устройством и является частью верхнего модуля. Центральная пластина с запорным и фиксирующим устройствами снимается с крышки с закраиной, причем между пластиной и крышкой с закраиной есть канал, по которому отводится пар, поступающий из, по меньшей мере, одного клапана. Благодаря расположенному между центральной пластиной и крышкой с закраиной каналу можно с высокой надежностью предотвратить контакт пара с механическими частями фиксирующего устройства и загрязнение механизма фиксации, очищать который относительно сложно, частицами, переносимыми паром. Изобретение также касается крышки для скороварки, включающей крышку с закраиной, уплотнением и, по меньшей мере, одним клапаном для установки рабочего давления. Кроме того, к крышке с закраиной относится предохранительный клапан. В соответствии с изобретением, по меньшей мере корпус одного из клапанов в форме полого цилиндра - в частности, если он установлен на крышке с закраиной, - служит опорой, к которой запорное устройство верхнего модуля крышки образуется разъемное соединение с геометрическим замыканием. Краткое описание чертежей Ниже изобретение описывается подробнее на основании чертежей. На чертежах схематически изображено следующее. Фиг.1 - схематичное изображение скороварки с установленной крышкой в сечении Фиг.2 - фрагмент сечения, показанного на фиг. 1 Фиг.3 - изображение крышки для скороварки в перспективе Фиг.4 - изображение верхнего модуля крышки в перспективе Фиг.5 - изображение нижнего модуля крышки в перспективе Фиг.6 и фиг.7 - пояснения к фрагментам запорного устройства верхнего модуля Фиг.8 - перспективное изображение крышки в сечении вдоль плоскости, лежащей на центральной оси крышки Фиг.9 - еще одно изображение крышки в сечении Фиг.10 - пояснения к фрагментам центральной пластины верхнего модуля Фиг.11 и фиг.12 - пояснения к фиксирующему устройству верхнего модуля. Осуществление изобретения На фиг.1 показано схематичное изображение скороварки 1 согласно одному из вариантов
  • 5.
    29662 5 изобретения в сечении.Скороварка состоит из кастрюли 3 с загнутым краем 4 и крышки 2. Скороварка представляет собой напорный сосуд. С помощью запорного устройства 6 можно задействовать фиксирующий механизм, блокирующий крышку на загнутом крае кастрюли. Кастрюля герметизируется с помощью манжетного уплотнения 5. Крышка включает клапан 7 для установки рабочего давления и предохранительный клапан 8. На фиг.2 показан фрагмент крышки, изображенной на фиг. 1, с подробным изображением отдельных частей, в частности, клапанов. Крышка 2 состоит из крышки с закраиной 9, установленной на кастрюлю и имеющей уплотнение (5 на фиг. 1). На крышке с закраиной есть первый клапан 7, с помощью которого устанавливается рабочее давление скороварки. Клапан (здесь изображен только его корпус) закреплен гайкой 10 в центре крышки с закраиной 9. Крышка с закраиной и клапан являются частью нижнего модуля крышки. Кроме того, к крышке относится запорное устройство 6, установленное на корпусе клапана с возможностью вращения. Для этого в корпусе клапана по всей окружности есть канавка 12, в которой запорное устройство можно закрепить с помощью ползунка 11. Для этого предпочтительно предусмотреть канал 26 для пружины (не показана), выдавливающей ползунок наружу. При нажатии на ползунок его можно переместить против действия пружины в положение, в котором соединение с геометрическим замыканием в канавке корпуса клапана размыкается. Запорное устройство также соединено с центральной пластиной 15 с возможностью вращения. Вращением запорного устройства крышку можно зафиксировать захватами, что будет более подробно описано ниже на основании следующих чертежей. Запорное устройство и центральная пластина являются частью верхнего модуля крышки. Кроме того, крышка с закраиной 9 включает еще один клапан, расположенный вне центра и в данном варианте изобретения являющийся предохранительным клапаном 8. Предохранительный клапан также закреплен на крышке с закраиной. Предохранительный клапан представляет собой шаровой клапан с шариком 18, который прижимается к поверхности уплотнения пружиной. Уплотнительное кольцо 17 служит для герметизации корпуса клапана. Подразумевается, что этот клапан 7 также может иметь и другие уплотнения. Верхняя часть предохранительного клапана состоит из собственно верхней части 13, с помощью которой задействуется расположенный в запорном устройстве 6 штифт 14. Этот штифт показывает, находится ли скороварка под давлением. Верхняя часть, которая под давлением входит в выемку в запорном устройстве 6, предотвращает вращение запорного устройства, когда кастрюля находится под давлением, и, следовательно, задействование фиксирующего устройства. Кроме того, нажатием штифта вниз можно стравить давление из скороварки, чтобы открыть ее. Как корпус клапана 7, так и корпус клапана 8 имеют боковые каналы 19, по которым пар отводится в образованный между крышкой с закраиной 9 и центральной пластиной 15 канал 16. Так как центральная пластина может сниматься вместе с запорным устройством 6, этот канал особенно легко очищается. Кроме того, благодаря такой конструкции пар не контактирует с захватами фиксирующего механизма. Па фиг.3 показано изображение крышки в перспективе. Здесь видны крышка с закраиной 9, окруженная тремя U-образными крепежными захватами 20. Крепежные захваты соединяются с запорным устройством 6 выступами 22. Запорное устройство имеет кнопку 21, с помощью которой можно снять всю крышку. Для задействования фиксирующего механизма запорное устройство можно повернуть кнопкой. При блокировании крышки на кастрюле крепежные захваты движутся внутрь и захватывают загнутый край кастрюли. Чтобы снять верхний модуль, включающий запорное устройство и фиксирующий механизм, можно нажать на ползунок 11 и снять верхний модуль, включающий фиксирующий механизм. Части верхнего модуля крышки показаны в перспективе на фиг.4. Здесь видны три крепежных захвата 20, которые соединяются с запорным устройством 6 выступами 22. Снизу запорное устройство оканчивается центральной пластиной 15. После снятия верхнего модуля, как показано в перспективе на фиг. 5, остается нижний модуль с крышкой с закраиной 9, имеющий уплотнение 5 по всей окружности. Кроме того, на крышке с закраиной есть клапан 7, в верхней части корпуса которого есть канавка 12 для крепления запорного устройства 6. На этом рисунке хорошо видны находящиеся на корпусе клапана каналы 19, по которым отводится пар. Предохранительный клапан 8 также находится на крышке с закраиной и также имеет каналы 32 для сброса давления; оба канала соединяются с каналом 16, образованным между центральной пластиной 15 и крышкой с закраиной. Нижний модуль может быть оснащен новой крышкой без фиксирующего механизма (не показана) для использования для обычного приготовления пищи без давления или под низким давлением. Предпочтительно, чтобы эта крышка закрывала клапан для установки давления и предохранительный клапан. Из-за использования верхнего цилиндра клапана в качестве крепления запорного устройства, а также из-за того, что предохранительный клапан находится в непосредственной близости, одной крышкой можно закрыть оба клапана. В результате крышка 2 внешне не будет отличаться от обычной крышки для приготовления пищи без давления или под низким давлением; хранить для этого другие крышки не требуется. На фиг.6 в перспективе показано запорное устройство 6 верхнего модуля крышки, включающее ползунок 11 для снятия запорного устройства вместе
  • 6.
    29662 6 с фиксирующим механизмом(не показан). Ползунок со штифтом 23 установлен в кнопке 21 запорного устройства с возможностью перемещения. Кроме того, в кнопке есть отверстие под верхнюю часть 13 предохранительного клапана 8, а также его удлиненной наружной части, представляющей собой штифт 14. На фиг.7 в перспективе изображен ползунок 11. Ползунок имеет выемку 1 24 большего диаметра и входящую в выемку 1 вторую выемку 2 25 меньшего диаметра. В исходном положении, то есть когда ползунок не отжимается штифтом вбок, выемка 2 находится под расположенным на корпусе клапана 7 выступом, обеспечивая разъемное соединение с геометрическим замыканием. При сдвигании ползунка вбок он переходит из положения покоя в положение, в котором выемка 1 большего диаметра в осевом направлении совпадает с выступом соответствующего цилиндра клапана. Соединение с геометрическим замыканием размыкается, и запорное устройство 6 можно снять. Штифт 23 предотвращает выдавливание ползунка пружиной (не показана) в канале 26 из корпуса, образованного кнопкой 21 запорного устройства. На фиг.8 в перспективе показана крышка 2 с модулями в разрезе вдоль расположенной по оси плоскости. Хорошо видны U-образные крепежные захваты 20, которые могут входить под загнутый край 4 кастрюли 3 (не показана). Кастрюля с крышкой герметизируется с помощью манжетного уплотнения 5. На фиг.9 показан верхний модуль в сечении, состоящий в основном из запорного устройства 6, центральной пластины 15 и крепежных захватов 20. Для крепления запорного устройства и захватов предусмотрена центральная пластина, которая в собранном состоянии представляет собой механическое соединение между верхним модулем и крышкой с закраиной 9 нижнего модуля крышки. Другие детали объясняются на основании фиг.10, на котором в перспективе показана центральная пластина 15 снизу, являющаяся частью верхнего модуля, с соответствующей поверхностью контакта с крышкой с закраиной 9. В центральной пластине есть центральная выемка 3 27, которая в собранном состоянии надвигается на расположенный на крышке с закраиной клапан (7 на фиг.5). Кроме того, в центральной пластине есть еще одна выемка 4 28, которая в собранном состоянии надвигается на предохранительный клапан (8 на фиг.5). Так как цилиндрический корпус предохранительного клапана находится во внецентренной выемке 4, центральная пластина в собранном виде не может вращаться вокруг оси относительно крышки с закраиной. В центральной пластине 15 также есть канал 16, по которому в собранном виде отводится пар между пластиной и крышкой с закраиной. Подразумевается, что по краям канала 16 есть уплотнения, подробно не описываемые в данном примере. Для уплотнения по краю можно предусмотреть канавку 36. На фиг.11 показаны следующие детали центральной пластины 15 и фиксирующего механизма, представляющих часть верхнего модуля. Центральная пластина имеет по краю выступ 31, который имеет выемки в области соединительных выступов 22 и захватов 20. Как было описано выше, центральная пластина в собранном состоянии фиксируется в осевом направлении выемкой 4 28 и цилиндром предохранительного клапана 8. Соединительные выступы имеют выемки 5 33, которые, как будет показано ниже, взаимодействуют с запорным устройством 6. В центральной пластине есть канавки 29 в форме сегментов круга в качестве направляющих соединительных выступов. На фиг.12 в перспективе показана нижняя сторона запорного устройства 6 верхнего модуля. К запорному устройству в соответствии с количеством соединительных выступов 22 относятся штифты 30, которые в собранном состоянии входят в показанные на фиг.11 выемки 5 33 соединительных выступов. При вращении кнопки 21 запорного устройства относительно центральной пластины 15 штифты 30 входят в канавки 29, и захваты 20 могут перемещаться в радиальном направлении наружу или внутрь. Захваты или штифты предпочтительно имеют грибовидную форму и могут использоваться для крепления центральной пластины, соединительных выступов и запорного устройства, так как они имеют больший диаметр под канавками. Кроме того, выемка 27 и расположенный на запорном устройстве участок 34 в форме полого цилиндра могут образовывать вращательный шарнир, удерживающий центральную пластину и запорное устройство. Кроме того, запорное устройство также имеет выемку 6 35, в которую может входить верхняя часть 13 предохранительного клапана (8 на фиг.5) со штифтом 14, предотвращая вращение кнопки запорного устройства, когда кастрюля находится под давлением. Данное изобретение представляет собой предпочтительное исполнение скороварки с упрощенным принципом использования. Перечень позиций 1 Скороварка 2 Крышка 3 Кастрюля 4 Загнутая кромка 5 Уплотнение 6 Запорное устройство 7 Клапан 8 Предохранительный клапан 9 Крышка с закраиной 10 Гайка 11 Ползунок 12 Канавка 13 Верхняя часть предохранительного клапана 14 Штифт 15 Центральная пластина 16 Канал 17 Уплотнительное кольцо 18 Шарик 19 Канал центрального клапана 20 Крепежный захват
  • 7.
    29662 7 21 Кнопка 22 Соединительныйвыступ 23 Штифт 24 Выемка 1 25 Выемка 2 26 Канал 27 Выемка 3 28 Выемка 4 29 Канавка 30 Захват, штифт 31 Выступ 32 Канал 33 Выемка 5 34 Участок, полый цилиндр 35 Выемка 6 36 Канавка ФОРМУЛА ИЗОБРЕТЕНИЯ 1. Крышка для скороварки (1) в виде кастрюли (3) с загнутым краем (4), выполненная в виде фиксируемой крышки (2) с манжетным уплотнением (5) для уплотнения относительно указанного загнутого края, и снабженная верхним модулем, состоящим из запорного устройства (6), центральной пластины (15) и крепежных захватов (20), и нижним модулем, состоящим из крышки с закраиной (9) с уплотнением (5) и клапанами (7, 8), отличающаяся тем, что запорное устройство содержит приспособления для простого отделения верхнего модуля от нижнего. 2. Крышка для скороварки по п.1, отличающаяся тем, что запорное устройство (6) с крепежными захватами (20) выполнено с возможностью крепления на цилиндрическом штуцере клапана (7), предпочтительно расположенном на крышке с закраиной (9). 3. Крышка для скороварки по п.1 или 2, отличающаяся тем, что запорное устройство (6) с крепежными захватами (20) имеет установленный на пружине, направляемый неподвижным штифтом (23), перемещаемый по горизонтали ползунок (11) с входящими одна в другую выемками, причем выемка (24) со штуцером клапана (7) выполнена в виде направляющей, а выемка (25) в сочетании с канавкой (12) - в виде фиксатора. 4. Крышка для скороварки по одному из п.п.1-3, отличающаяся тем, что перемещаемый по горизонтали, интегрированный в запорное устройство (6) ползунок (11) имеет выведенное из запорного устройства приспособление для управления. 5. Крышка для скороварки по одному из п.п.1-4, отличающаяся тем, что верхний модуль по направлению к крышке с закраиной (9) оканчивается зафиксированной по оси, направляющей соединительные выступы (22) и захваты (20) центральной пластиной (15), на стороне которой, обращенной от крышки с закраиной, расположено установленное в центре с возможностью вращения (34) запорное устройство (6), которое с помощью пальцев (30), направленных вертикально, входящих в канавки (29) в форме сегментов круга центральной пластины и зацепляющихся за соединительные выступы, преобразует осевое движение запорного устройство в радиальное движение захватов, причем запорное устройство на стороне, обращенной от крышки с закраиной, имеет образованную в виде кнопки или ручки (21) полость для ползунка (11) и неподвижного направляющего штифта (23), а также штифта (14), отображающего давление. 6. Крышка для скороварки по одному из п.п.1-5, отличающаяся тем, что крышка с закраиной (9), являющаяся частью нижнего модуля, имеет клапан установки давления (7) и редукционный или предохранительный клапан (8) с обращенными к центральной пластине (15) выходными отверстиями (16) в форме каналов для обеспечения рабочего давления (19) и сброса избыточного давления (32). 7. Крышка для скороварки по одному из п.п.1-6, отличающаяся тем, что зафиксированная цилиндрическим штуцером клапана (8) центральная пластина (15) имеет выемки или отверстия (27, 28) для установки или ввода штуцеров клапанов (7, 8) и их выходных отверстий (19, 32), через которые выходящий пар выводится на обращенной от крышки с закраиной (9) стороне центральной пластины в образованный двумя - стык (36) под уплотнение - кромками канал (16) с уплотнением, причем крышка канала образована обращенным к крышке с закраиной дном вращаемого запорного устройства (6), при этом пары выпускаются в атмосферу через боковое отверстие, не контактируя с запорным устройством верхнего модуля крышки. 8. Крышка для скороварки по одному из п.п. 1-7, отличающаяся тем, что, с одной стороны, относительное движение в осевом направлении между запорным устройство (6) и центральной пластиной (15) имеется в связи с продольным расширением канавок (29) в форме сегментов круга центральной пластины и двигающимися в них захватами (30) запорного устройства, с другой стороны, выдвинутый штифт (14) находящейся под давлением кастрюли (3) путем фиксации в отверстии (35) запорного устройства исключает относительное движение между ним и центральной пластиной. 9. Крышка для скороварки по одному из п.п.1-8, отличающаяся тем, что обращенная от кастрюли (3) поверхность крышки с закраиной (9) при снятии верхнего модуля образует механическое соединение с другими функциональными частями - например, стандартной центральной ручкой или специальной кнопкой для выпуска испарений, при этом на основе крышки с закраиной выполнена обычная крышка кастрюли для приготовления пищи без давления или под низким давлением. 10. Крышка для скороварки по одному из п.п.1-9, отличающаяся тем, что центральный штуцер (7, 19), имеющий, например, форму полого цилиндра, обращенный от крышки с закраиной (9) конец которого - в виде крепежной канавки (12) - образует часть запорного устройства между верхним и нижним модулем с использованием переставляемого вручную ползунка (11) запорного
  • 8.
    29662 8 устройства (6) и- в дополнение к этой функции - также является опорой для характерных для скороварок клапанов установки рабочего давления или сброса избыточного давления.
  • 9.
  • 10.
  • 11.