РЕСПУБЛИКА КАЗАХСТАН
(19) KZ (13) A4 (11) 29653
(51) H02H 3/08 (2006.01)
МИНИСТЕРСТВО ЮСТИЦИИ РЕСПУБЛИКИ КАЗАХСТАН
ОПИСАНИЕ ИЗОБРЕТЕНИЯ
К ИННОВАЦИОННОМУ ПАТЕНТУ
(21) 2014/0486.1
(22) 11.04.2014
(45) 16.03.2015, бюл. №3
(72) Нефтисов Александр Витальевич
(73) Республиканское государственное предприятие
на праве хозяйственного ведения "Павлодарский
государственный университет им. С. Торайгырова"
Министерства образования и науки Республики
Казахстан
(56) KZ №16024, 2005
(54) УСТРОЙСТВО ДЛЯ СРАВНЕНИЯ ДВУХ
ЭЛЕКТРИЧЕСКИХ ВЕЛИЧИН ПО ФАЗЕ
(57) Изобретение относится к технике релейной
защиты, а именно к схемам сравнения двух
измеряемых величин по фазе и может быть
использовано для построения реле сопротивления,
реле направления мощности и дифференциально-
фазных защит на герконах без трансформаторов
тока.
Технический результат изобретения -
исключение мертвой зоны при изменении фазы
одной из электрических величин на 180 градусов и
повышение чувствительности путем обеспечения
полярности срабатывания герконов, а также
расширение области применения.
Устройство для сравнения двух электрических
величин по фазе, содержащее два геркона,
логический элемент И и исполнительный орган,
отличающееся тем, что дополнительно введены две
катушки индуктивности, две фазоповоротной
схемы, два усилителя, два диода, две обмотки
управления, два экранирующих
параллелепипеидальных корпуса и микропроцессор,
подключенный выходу элемента И, причем выходы
первой катушки подключены к первой
фазоповоротной схеме через первый усилитель, а
выходы первой фазоповоротной схемы подключены
к выводам первой обмотки управления первого
геркона через последовательно включенный первый
диод, в первом экранирующем
параллелепипеидальном корпусе закреплены
первые фазопоротная схема, усилитель, диод и
обмотка управления с герконом, выходы второй
катушки подключены ко второй фазоповоротной
схеме через второй усилитель, а выходы второй
фазоповоротной схемы подключены к выводам
второй обмотки управления второго геркона через
последовательно включенный второй диод, во
втором экранирующем параллелепипеидальном
корпусе закреплены вторые фазопоротная схема,
усилитель, диод и обмотка управления с герконом, а
контакты герконов подключены к микропроцессору
через элемент И.
Технико-экономическая эффективность
достигается за счет исключения мертвой зоны при
изменении фазы одной из электрических величин на
180 градусов и повышения чувствительности путем
обеспечения полярности срабатывания герконов, а
также расширение области применения. (19)KZ(13)A4(11)29653
29653
2
Изобретение относится к технике релейной
защиты, а именно к схемам сравнения двух
измеряемых величин по фазе и может быть
использовано для построения реле сопротивления,
реле направления мощности и дифференциально-
фазных защит на герконах без трансформаторов
тока.
Известна схема сравнения двух электрических
величин по фазе, содержащая кольцевой
детекторный модулятор и исполнительный орган
(Федосеев А.М. Релейная защита электрических
систем. М.: Энергия, 1976, с.179-180).
Однако эта схема не может использоваться для
построения защит без трансформаторов тока на
герконах.
Наиболее близким к предлагаемому, по
достигаемому эффекту, является устройство для
сравнения двух электрических величин по фазе,
содержащее два геркона, логический элемент И и
исполнительный орган [Предварительный патент
РК №16024, KZ, опубл. 15.07.2005, бюл. №7]
Однако герконы в этом устройстве срабатывают
в обе полуволны электрических величин, поэтому
при изменении фазы одной из электрических
величин на 180 градусов устройство не среагирует,
к тому же устройство срабатывает при сдвиге
синусоид измеряемых величин, относительно друг
друга, на угол больший, чем 36÷54 градуса, что
ограничивает чувствительность и область
применения.
Технический результат изобретения -
исключение мертвой зоны при изменении фазы
одной из электрических величин на 180 градусов и
повышение чувствительности путем обеспечения
полярности срабатывания герконов, а также
расширение области применения.
Технический результат достигается тем, что в
устройстве для сравнения двух электрических
величин по фазе, содержащем два геркона,
логический элемент И и исполнительный орган,
дополнительно введены две катушки
индуктивности, две фазоповоротной схемы, два
усилителя, два диода, две обмотки управления, два
экранирующих параллелепипеидальных корпуса и
микропроцессор, подключенный выходу элемента
И, причем выходы первой катушки подключены к
первой фазоповоротной схеме через первый
усилитель, а выходы первой фазоповоротной схемы
подключены к выводам первой обмотки управления
первого геркона через последовательно включенный
первый диод, в первом экранирующем
параллелепипеидальном корпусе закреплены
первые фазопоротная схема, усилитель, диод и
обмотка управления с герконом, выходы второй
катушки подключены ко второй фазоповоротной
схеме через второй усилитель, а выходы второй
фазоповоротной схемы подключены к выводам
второй обмотки управления второго геркона через
последовательно включенный второй диод, во
втором экранирующем параллелепипеидальном
корпусе закреплены вторые фазопоротная схема,
усилитель, диод и обмотка управления с герконом, а
контакты герконов подключены к микропроцессору
через элемент И.
Устройство для сравнения двух электрических
величин по фазе показано на рисунках (фиг.1,
фиг.2), где приведены: структурная схема
устройства; магнитные потоки, действующие
катушки индуктивности и срабатывания герконов.
Устройство содержит (фиг.1) герконы 1 и 2,
логический элемент И 3, исполнительный орган 4,
катушки индуктивности 5 и 6, фазоповоротные
схемы 7 и 8, усилители 9 и 10, обмотки 11 и 12
управления герконов, диоды 13 и 14, экранирующие
параллелепипеидальные корпуса 15 и 16, и
микропроцессор 17. Выходы первой катушки 5
подключены к первой фазоповоротной схеме 7
через первый усилитель 9, а выходы первой
фазоповоротной схемы 7 подключены к выводам
первой обмотки 11 управления первого геркона
через последовательно включенный первый диод
13. Выходы второй катушки 6 подключены ко
второй фазоповоротной схеме 8 через второй
усилитель 10, а выходы второй фазоповоротной
схемы 8 подключены к выводам второй обмотки 12
управления второго геркона через последовательно
включенный второй диод 14. Фазоповоротные
схемы 7 и 8, усилители 9 и 10, обмотки управления
11 и 12 с герконами 1 и 2, диоды 13 и 14 закреплены
в экранирующих параллелепипеидальных корпусах
15 и 16 соответственно. Герконы 1 и 2 одними
контактами подключены к микропроцессору 17
через элемент И 3, а другими к питанию устройства.
Экранирующие параллелепипеидальные корпуса 15
и 16 показаны с открытыми крышками для
наглядности содержимого.
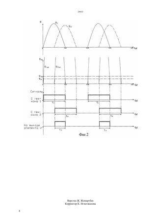
На фиг.2 представлены Ф1 и Ф2 - магнитные
потоки, созданные токами в проводниках,
действующие на катушки индуктивности 5 и 6
соответственно, Ф1ус и Ф2ус - усиленные магнитные
потоки от токов в обмотках 11 и 12 управления
действующие на герконы 1 и 2, соответственно,
Фср - магнитный поток при котором геркон
замыкает свои контакты, Фв - магнитный поток при
котором размыкает свои контакты, сигналы t1 -
время замкнутого состояния первого геркона, t2 -
время замкнутого состояния второго геркона и t3 -
время совпадения замкнутых состояний обоих
герконов на выходе элемента И.
Герконы 1 и 2 служат для преобразования
сравниваемых аналоговых величин Ф1 и Ф2 в
дискретные. Ф1 и Ф2 пропорциональны создающим
их токам, например протекающим в проводниках 18
и 19 соответственно. На фиг.1 показано поперечное
сечение этих проводников.
Устройство работает следующим образом. Токи
в токопроводах электроустановок создают
магнитные потоки Ф1 и Ф2, которые наводят
напряжения
dt
dФ
E
dt
dФ
Е 2
2
1
1 ,  на выходах
катушек 5 и 6 индуктивности, соответственно.
Напряжения E1и Е2 подаются на входы усилителей 9
и 10, где происходит их увеличение. Это увеличение
должно быть таким, чтобы время замкнутого
состояния герконов составляло не менее 90% от
29653
3
длительности полуволны. В фазоповоротных схемах
7 и 8 сдвигается E1 и Е2 по фазе на 90 градусов так,
чтобы магнитные потоки Ф1ус и Ф2ус совпадали по
фазе с Ф1 и Ф2. Полярность подключения обмоток
11 и 12 к выходам фазоповоротных схем 7 и 8 через
последовательно включенные диоды 13 и 14 должна
быть такой, чтобы индукции магнитных потоков
Ф1ус и Ф2ус были сонаправлены индукциям
магнитных потоков Ф1 и Ф2, созданных токами в
токопроводах электроустановок. Диоды 13 и 14
пропускают только положительные полуволны E1 и
Е2 в обмотки 11 и 12. Следовательно, токи Iоб11 и
Iоб12 и потоки Ф1ус и Ф2ус появляются в обмотках
только в эти полуволны. После закрепления вблизи
токопроводов катушек индуктивности 5 и 6,
экранирующих корпусов 15 и 16 с упомянутыми
выше элементами схемы (фиг.1) и включения
устройства в работу, герконы 1 и 2 постоянно
находятся в работе и срабатывают (замыкают
контакты), благодаря диодам 13 и 14, только в
положительные полуволны подаваемых магнитных
потоков Ф1ус и Ф2ус (фиг.2). Контакты герконов
подключены к входам элемента И для определения
времени совпадения сработанных состояний
герконов 1 и 2. Выход элемента И подключен к
микропроцессору, который считает длительность
времени совпадения и сравнивает его с уставкой.
При превышении уставки микропроцессор выдает
сигнал на исполнительный орган. Благодаря
усилителям время замкнутого состояния герконов
составляет не менее 90% от длительности
полуволны, т.е. не менее 9 мс. Отсюда следует, что
погрешность определения фазы между двумя
величинами по времени совпадения будет
составлять не более 10% от длительности
полуволны, т.е. не более 18 градусов в сторону
большего значения, чем есть по факту.
Технико-экономическая эффективность
достигается за счет исключения мертвой зоны при
изменении фазы одной из электрических величин на
180 градусов и повышения чувствительности путем
обеспечения полярности срабатывания герконов, а
также расширение области применения.
ФОРМУЛА ИЗОБРЕТЕНИЯ
Устройство для сравнения двух электрических
величин по фазе, содержащее два геркона,
логический элемент И и исполнительный орган,
отличающееся тем, что дополнительно введены
две катушки индуктивности, две фазоповоротной
схемы, два усилителя, два диода, две обмотки
управления, два экранирующих
параллелепипеидальных корпуса и микропроцессор,
подключенный к выходу элемента И, причем
выходы первой катушки подключены к первой
фазоповоротной схеме через первый усилитель, а
выходы первой фазоповоротной схемы подключены
к выводам первой обмотки управления первого
геркона через последовательно включенный первый
диод, в первом экранирующем
параллелепипеидальном корпусе закреплены
первые: фазоповоротная схема, усилитель, диод и
обмотка управления с герконом, выходы второй
катушки подключены ко второй фазоповоротной
схеме через второй усилитель, а выходы второй
фазоповоротной схемы подключены к выводам
второй обмотки управления второго геркона через
последовательно включенный второй диод, во
втором экранирующем параллелепипеидальном
корпусе закреплены вторые: фазоповоротная схема,
усилитель, диод и обмотка управления с герконом, а
контакты герконов подключены к микропроцессору
через элемент И.
29653
4
Верстка Ж. Жомартбек
Корректор К. Нгметжанова

29653ip

  • 1.
    РЕСПУБЛИКА КАЗАХСТАН (19) KZ(13) A4 (11) 29653 (51) H02H 3/08 (2006.01) МИНИСТЕРСТВО ЮСТИЦИИ РЕСПУБЛИКИ КАЗАХСТАН ОПИСАНИЕ ИЗОБРЕТЕНИЯ К ИННОВАЦИОННОМУ ПАТЕНТУ (21) 2014/0486.1 (22) 11.04.2014 (45) 16.03.2015, бюл. №3 (72) Нефтисов Александр Витальевич (73) Республиканское государственное предприятие на праве хозяйственного ведения "Павлодарский государственный университет им. С. Торайгырова" Министерства образования и науки Республики Казахстан (56) KZ №16024, 2005 (54) УСТРОЙСТВО ДЛЯ СРАВНЕНИЯ ДВУХ ЭЛЕКТРИЧЕСКИХ ВЕЛИЧИН ПО ФАЗЕ (57) Изобретение относится к технике релейной защиты, а именно к схемам сравнения двух измеряемых величин по фазе и может быть использовано для построения реле сопротивления, реле направления мощности и дифференциально- фазных защит на герконах без трансформаторов тока. Технический результат изобретения - исключение мертвой зоны при изменении фазы одной из электрических величин на 180 градусов и повышение чувствительности путем обеспечения полярности срабатывания герконов, а также расширение области применения. Устройство для сравнения двух электрических величин по фазе, содержащее два геркона, логический элемент И и исполнительный орган, отличающееся тем, что дополнительно введены две катушки индуктивности, две фазоповоротной схемы, два усилителя, два диода, две обмотки управления, два экранирующих параллелепипеидальных корпуса и микропроцессор, подключенный выходу элемента И, причем выходы первой катушки подключены к первой фазоповоротной схеме через первый усилитель, а выходы первой фазоповоротной схемы подключены к выводам первой обмотки управления первого геркона через последовательно включенный первый диод, в первом экранирующем параллелепипеидальном корпусе закреплены первые фазопоротная схема, усилитель, диод и обмотка управления с герконом, выходы второй катушки подключены ко второй фазоповоротной схеме через второй усилитель, а выходы второй фазоповоротной схемы подключены к выводам второй обмотки управления второго геркона через последовательно включенный второй диод, во втором экранирующем параллелепипеидальном корпусе закреплены вторые фазопоротная схема, усилитель, диод и обмотка управления с герконом, а контакты герконов подключены к микропроцессору через элемент И. Технико-экономическая эффективность достигается за счет исключения мертвой зоны при изменении фазы одной из электрических величин на 180 градусов и повышения чувствительности путем обеспечения полярности срабатывания герконов, а также расширение области применения. (19)KZ(13)A4(11)29653
  • 2.
    29653 2 Изобретение относится ктехнике релейной защиты, а именно к схемам сравнения двух измеряемых величин по фазе и может быть использовано для построения реле сопротивления, реле направления мощности и дифференциально- фазных защит на герконах без трансформаторов тока. Известна схема сравнения двух электрических величин по фазе, содержащая кольцевой детекторный модулятор и исполнительный орган (Федосеев А.М. Релейная защита электрических систем. М.: Энергия, 1976, с.179-180). Однако эта схема не может использоваться для построения защит без трансформаторов тока на герконах. Наиболее близким к предлагаемому, по достигаемому эффекту, является устройство для сравнения двух электрических величин по фазе, содержащее два геркона, логический элемент И и исполнительный орган [Предварительный патент РК №16024, KZ, опубл. 15.07.2005, бюл. №7] Однако герконы в этом устройстве срабатывают в обе полуволны электрических величин, поэтому при изменении фазы одной из электрических величин на 180 градусов устройство не среагирует, к тому же устройство срабатывает при сдвиге синусоид измеряемых величин, относительно друг друга, на угол больший, чем 36÷54 градуса, что ограничивает чувствительность и область применения. Технический результат изобретения - исключение мертвой зоны при изменении фазы одной из электрических величин на 180 градусов и повышение чувствительности путем обеспечения полярности срабатывания герконов, а также расширение области применения. Технический результат достигается тем, что в устройстве для сравнения двух электрических величин по фазе, содержащем два геркона, логический элемент И и исполнительный орган, дополнительно введены две катушки индуктивности, две фазоповоротной схемы, два усилителя, два диода, две обмотки управления, два экранирующих параллелепипеидальных корпуса и микропроцессор, подключенный выходу элемента И, причем выходы первой катушки подключены к первой фазоповоротной схеме через первый усилитель, а выходы первой фазоповоротной схемы подключены к выводам первой обмотки управления первого геркона через последовательно включенный первый диод, в первом экранирующем параллелепипеидальном корпусе закреплены первые фазопоротная схема, усилитель, диод и обмотка управления с герконом, выходы второй катушки подключены ко второй фазоповоротной схеме через второй усилитель, а выходы второй фазоповоротной схемы подключены к выводам второй обмотки управления второго геркона через последовательно включенный второй диод, во втором экранирующем параллелепипеидальном корпусе закреплены вторые фазопоротная схема, усилитель, диод и обмотка управления с герконом, а контакты герконов подключены к микропроцессору через элемент И. Устройство для сравнения двух электрических величин по фазе показано на рисунках (фиг.1, фиг.2), где приведены: структурная схема устройства; магнитные потоки, действующие катушки индуктивности и срабатывания герконов. Устройство содержит (фиг.1) герконы 1 и 2, логический элемент И 3, исполнительный орган 4, катушки индуктивности 5 и 6, фазоповоротные схемы 7 и 8, усилители 9 и 10, обмотки 11 и 12 управления герконов, диоды 13 и 14, экранирующие параллелепипеидальные корпуса 15 и 16, и микропроцессор 17. Выходы первой катушки 5 подключены к первой фазоповоротной схеме 7 через первый усилитель 9, а выходы первой фазоповоротной схемы 7 подключены к выводам первой обмотки 11 управления первого геркона через последовательно включенный первый диод 13. Выходы второй катушки 6 подключены ко второй фазоповоротной схеме 8 через второй усилитель 10, а выходы второй фазоповоротной схемы 8 подключены к выводам второй обмотки 12 управления второго геркона через последовательно включенный второй диод 14. Фазоповоротные схемы 7 и 8, усилители 9 и 10, обмотки управления 11 и 12 с герконами 1 и 2, диоды 13 и 14 закреплены в экранирующих параллелепипеидальных корпусах 15 и 16 соответственно. Герконы 1 и 2 одними контактами подключены к микропроцессору 17 через элемент И 3, а другими к питанию устройства. Экранирующие параллелепипеидальные корпуса 15 и 16 показаны с открытыми крышками для наглядности содержимого. На фиг.2 представлены Ф1 и Ф2 - магнитные потоки, созданные токами в проводниках, действующие на катушки индуктивности 5 и 6 соответственно, Ф1ус и Ф2ус - усиленные магнитные потоки от токов в обмотках 11 и 12 управления действующие на герконы 1 и 2, соответственно, Фср - магнитный поток при котором геркон замыкает свои контакты, Фв - магнитный поток при котором размыкает свои контакты, сигналы t1 - время замкнутого состояния первого геркона, t2 - время замкнутого состояния второго геркона и t3 - время совпадения замкнутых состояний обоих герконов на выходе элемента И. Герконы 1 и 2 служат для преобразования сравниваемых аналоговых величин Ф1 и Ф2 в дискретные. Ф1 и Ф2 пропорциональны создающим их токам, например протекающим в проводниках 18 и 19 соответственно. На фиг.1 показано поперечное сечение этих проводников. Устройство работает следующим образом. Токи в токопроводах электроустановок создают магнитные потоки Ф1 и Ф2, которые наводят напряжения dt dФ E dt dФ Е 2 2 1 1 ,  на выходах катушек 5 и 6 индуктивности, соответственно. Напряжения E1и Е2 подаются на входы усилителей 9 и 10, где происходит их увеличение. Это увеличение должно быть таким, чтобы время замкнутого состояния герконов составляло не менее 90% от
  • 3.
    29653 3 длительности полуволны. Вфазоповоротных схемах 7 и 8 сдвигается E1 и Е2 по фазе на 90 градусов так, чтобы магнитные потоки Ф1ус и Ф2ус совпадали по фазе с Ф1 и Ф2. Полярность подключения обмоток 11 и 12 к выходам фазоповоротных схем 7 и 8 через последовательно включенные диоды 13 и 14 должна быть такой, чтобы индукции магнитных потоков Ф1ус и Ф2ус были сонаправлены индукциям магнитных потоков Ф1 и Ф2, созданных токами в токопроводах электроустановок. Диоды 13 и 14 пропускают только положительные полуволны E1 и Е2 в обмотки 11 и 12. Следовательно, токи Iоб11 и Iоб12 и потоки Ф1ус и Ф2ус появляются в обмотках только в эти полуволны. После закрепления вблизи токопроводов катушек индуктивности 5 и 6, экранирующих корпусов 15 и 16 с упомянутыми выше элементами схемы (фиг.1) и включения устройства в работу, герконы 1 и 2 постоянно находятся в работе и срабатывают (замыкают контакты), благодаря диодам 13 и 14, только в положительные полуволны подаваемых магнитных потоков Ф1ус и Ф2ус (фиг.2). Контакты герконов подключены к входам элемента И для определения времени совпадения сработанных состояний герконов 1 и 2. Выход элемента И подключен к микропроцессору, который считает длительность времени совпадения и сравнивает его с уставкой. При превышении уставки микропроцессор выдает сигнал на исполнительный орган. Благодаря усилителям время замкнутого состояния герконов составляет не менее 90% от длительности полуволны, т.е. не менее 9 мс. Отсюда следует, что погрешность определения фазы между двумя величинами по времени совпадения будет составлять не более 10% от длительности полуволны, т.е. не более 18 градусов в сторону большего значения, чем есть по факту. Технико-экономическая эффективность достигается за счет исключения мертвой зоны при изменении фазы одной из электрических величин на 180 градусов и повышения чувствительности путем обеспечения полярности срабатывания герконов, а также расширение области применения. ФОРМУЛА ИЗОБРЕТЕНИЯ Устройство для сравнения двух электрических величин по фазе, содержащее два геркона, логический элемент И и исполнительный орган, отличающееся тем, что дополнительно введены две катушки индуктивности, две фазоповоротной схемы, два усилителя, два диода, две обмотки управления, два экранирующих параллелепипеидальных корпуса и микропроцессор, подключенный к выходу элемента И, причем выходы первой катушки подключены к первой фазоповоротной схеме через первый усилитель, а выходы первой фазоповоротной схемы подключены к выводам первой обмотки управления первого геркона через последовательно включенный первый диод, в первом экранирующем параллелепипеидальном корпусе закреплены первые: фазоповоротная схема, усилитель, диод и обмотка управления с герконом, выходы второй катушки подключены ко второй фазоповоротной схеме через второй усилитель, а выходы второй фазоповоротной схемы подключены к выводам второй обмотки управления второго геркона через последовательно включенный второй диод, во втором экранирующем параллелепипеидальном корпусе закреплены вторые: фазоповоротная схема, усилитель, диод и обмотка управления с герконом, а контакты герконов подключены к микропроцессору через элемент И.
  • 4.