РЕСПУБЛИКА КАЗАХСТАН
(19) KZ (13) A4 (11) 29641
(51) F28D 15/00 (2006.01)
F28D 5/00 (2006.01)
МИНИСТЕРСТВО ЮСТИЦИИ РЕСПУБЛИКИ КАЗАХСТАН
ОПИСАНИЕ ИЗОБРЕТЕНИЯ
К ИННОВАЦИОННОМУ ПАТЕНТУ
(21) 2014/0120.1
(22) 03.02.2014
(45) 16.03.2015, бюл. №3
(72) Кайдаш Валерий Григорьевич; Калуженков
Сергей Иванович
(73) Некоммерческое акционерное общество
"Алматинский университет энергетики и связи"
(56) www.alfalaval.ru, Кожухотрубный испаритель,
2014
(54) КОЖУХОТРУБНЫЙ ИСПАРИТЕЛЬ
(57) Изобретение относится к теплообменным
аппаратам и может быть использовано в качестве
испарителей геотермального теплового насоса типа
вода-вода.
Задачей изобретения является создание простой,
надежной и дешевой конструкции кожухотрубного
испарителя с уменьшенным весом и большим
сроком эксплуатации.
Кожухотрубный испаритель, содержит
наружный корпус, сборный трубный коллектор из
медных трубок, уплотнительные элементы, где
наружный корпус выполнен из пластика, сборка его
осуществляется с применением электросварных
фитингов, медные трубки закреплены в трубные
решетки методом пайки тугоплавким припоем,
причем трубная решетка впаяна в переход, в
который в свою очередь впаяны вход и выход
холодильного агента, уплотнительные элементы
расположены в адаптере.
Таким образом, преимуществом предлагаемого
кожухотрубного испарителя является простая,
надежная и дешевая конструкция с уменьшенным
весом и с большим сроком эксплуатации.
(19)KZ(13)A4(11)29641
29641
2
Изобретение относится к теплообменным
аппаратам и может быть использована в качестве
испарителей геотермального теплового насоса типа
вода-вода.
Известны кожухотрубные испарители фирмы
ALFA LAVAL DRYPLUS 3, состоящие из кожухов,
крышки трубной решетки, трубной решетки,
штуцера для подключения воды выполненных из
стали; пучка труб выполненных из меди, которые
укреплены в стальных трубных досках методом
запрессовки. Трубное и межтрубное пространства в
этих аппаратах разобщены, причем каждое из них
может быть разделено перегородками на несколько
ходов. Уплотнитель в виде кольца проложен по
диаметру наружной трубы. (www.alfalaval.com;
www.alfalaval.ru).
Основные недостатки данного кожухотрубного
испарителя: большой вес, коррозия наружного
корпуса, трудности в изготовление и большие
энергозатраты на электросварочные работы, медные
трубки запрессованы в трубные доски, что
недостаточно надежно.
Задачей изобретения является создание простой,
надежной и дешевой конструкции кожухотрубного
испарителя с уменьшенным весом и большим
сроком эксплуатации.
Технический результат от использования
изобретения заключается в упрощении и
удешевлении процесса изготовления
кожухотрубного испарителя, за счет применения
пластиковой трубы для изготовления наружного
корпуса, сборка которого осуществляется с
применением электросварных фитингов, что
позволяет повысить надежность и срок
эксплуатации испарителя, а также в уменьшении
стоимости и эксплуатационных расходов, за счет
уменьшения затрат на циркуляцию охлаждаемой
среды, вследствие, уменьшения гидравлического
сопротивления.
Для достижения технического результата,
кожухотрубный испаритель, содержит наружный
корпус, сборный трубный коллектор из медных
трубок, уплотнительные элементы, в соответствии с
изобретением, наружный корпус выполнен из
пластика, сборка его осуществляется с применением
электросварных фитингов, медные трубки
закреплены в трубные решетки методом пайки
тугоплавким припоем, причем трубная решетка
впаяна в переход, в который в свою очередь впаяны
вход и выход холодильного агента, уплотнитель
проложен в адаптере.
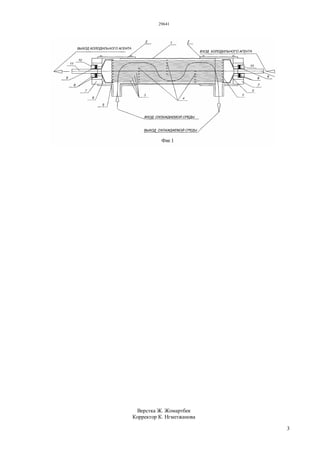
На фиг.1 показан разрез кожухотрубного
испарителя.
Предлагаемый кожухотрубный испаритель
содержит: наружная труба 1, материал выполнения
пластик типа РЕ; фитинг с патрубком
электросварной 2, материал - пластик РЕ; трубки
медные 3; перегородки 4; трубная доска 5, материал
- медь; переход 6, материал- медь; адаптер с
внутренней резьбой 7; шайба 8; резиновый
уплотнитель 9; гайка с наружной резьбой 10;
патрубок 11 - медь.
В конструкции предлагаемого кожухотрубного
испарителя медные трубки, запаяны в трубной
решетке, в свою очередь трубная решетка крепится
в переход из меди так же пайкой тугоплавким
припоем, в переходы впаяны патрубки входа и
выхода холодильного агента, это позволяет
значительно повысить надежность кожухотрубного
испарителя и срок его эксплуатации.
Наружный корпус кожухотрубного испарителя
выполняется из пластика, что позволяет уменьшить
гидравлические потери на трение, что в свою
очередь уменьшает затраты на циркуляцию
охлаждаемой среды.
Сборка осуществляется с применением
электросварных фитингов, что значительно
упрощает и удешевляет процесс сборки
кожухотрубного испарителя.
Уплотнение между патрубками и наружным
корпусом осуществляется за счет резинового
уплотнителя, двух шайб и прижимной гайки с
наружной резьбой, которая вкручивается в адаптер.
Конструкция уплотнения позволяет в случае
необходимости очень быстро поменять резиновый
уплотнитель, который проложен в адаптере, без
разборки кожухотрубного испарителя.
Таким образом, преимуществом предлагаемого
кожухотрубного испарителя является простая,
надежная и дешевая конструкция с уменьшенным
весом и с большим сроком эксплуатации.
ФОРМУЛА ИЗОБРЕТЕНИЯ
Кожухотрубный испаритель, содержит
наружный корпус, сборный трубный коллектор из
медных трубок, уплотнительные элементы,
отличающийся тем, что наружный корпус
выполнен из пластика, сборка его осуществляется с
применением электросварных фитингов, медные
трубки закреплены в трубные решетки методом
пайки тугоплавким припоем, причем трубная
решетка впаяна в переход, в который в свою
очередь впаяны вход и выход холодильного агента,
уплотнитель проложен в адаптере.
29641
3
Верстка Ж. Жомартбек
Корректор К. Нгметжанова

29641ip

  • 1.
    РЕСПУБЛИКА КАЗАХСТАН (19) KZ(13) A4 (11) 29641 (51) F28D 15/00 (2006.01) F28D 5/00 (2006.01) МИНИСТЕРСТВО ЮСТИЦИИ РЕСПУБЛИКИ КАЗАХСТАН ОПИСАНИЕ ИЗОБРЕТЕНИЯ К ИННОВАЦИОННОМУ ПАТЕНТУ (21) 2014/0120.1 (22) 03.02.2014 (45) 16.03.2015, бюл. №3 (72) Кайдаш Валерий Григорьевич; Калуженков Сергей Иванович (73) Некоммерческое акционерное общество "Алматинский университет энергетики и связи" (56) www.alfalaval.ru, Кожухотрубный испаритель, 2014 (54) КОЖУХОТРУБНЫЙ ИСПАРИТЕЛЬ (57) Изобретение относится к теплообменным аппаратам и может быть использовано в качестве испарителей геотермального теплового насоса типа вода-вода. Задачей изобретения является создание простой, надежной и дешевой конструкции кожухотрубного испарителя с уменьшенным весом и большим сроком эксплуатации. Кожухотрубный испаритель, содержит наружный корпус, сборный трубный коллектор из медных трубок, уплотнительные элементы, где наружный корпус выполнен из пластика, сборка его осуществляется с применением электросварных фитингов, медные трубки закреплены в трубные решетки методом пайки тугоплавким припоем, причем трубная решетка впаяна в переход, в который в свою очередь впаяны вход и выход холодильного агента, уплотнительные элементы расположены в адаптере. Таким образом, преимуществом предлагаемого кожухотрубного испарителя является простая, надежная и дешевая конструкция с уменьшенным весом и с большим сроком эксплуатации. (19)KZ(13)A4(11)29641
  • 2.
    29641 2 Изобретение относится ктеплообменным аппаратам и может быть использована в качестве испарителей геотермального теплового насоса типа вода-вода. Известны кожухотрубные испарители фирмы ALFA LAVAL DRYPLUS 3, состоящие из кожухов, крышки трубной решетки, трубной решетки, штуцера для подключения воды выполненных из стали; пучка труб выполненных из меди, которые укреплены в стальных трубных досках методом запрессовки. Трубное и межтрубное пространства в этих аппаратах разобщены, причем каждое из них может быть разделено перегородками на несколько ходов. Уплотнитель в виде кольца проложен по диаметру наружной трубы. (www.alfalaval.com; www.alfalaval.ru). Основные недостатки данного кожухотрубного испарителя: большой вес, коррозия наружного корпуса, трудности в изготовление и большие энергозатраты на электросварочные работы, медные трубки запрессованы в трубные доски, что недостаточно надежно. Задачей изобретения является создание простой, надежной и дешевой конструкции кожухотрубного испарителя с уменьшенным весом и большим сроком эксплуатации. Технический результат от использования изобретения заключается в упрощении и удешевлении процесса изготовления кожухотрубного испарителя, за счет применения пластиковой трубы для изготовления наружного корпуса, сборка которого осуществляется с применением электросварных фитингов, что позволяет повысить надежность и срок эксплуатации испарителя, а также в уменьшении стоимости и эксплуатационных расходов, за счет уменьшения затрат на циркуляцию охлаждаемой среды, вследствие, уменьшения гидравлического сопротивления. Для достижения технического результата, кожухотрубный испаритель, содержит наружный корпус, сборный трубный коллектор из медных трубок, уплотнительные элементы, в соответствии с изобретением, наружный корпус выполнен из пластика, сборка его осуществляется с применением электросварных фитингов, медные трубки закреплены в трубные решетки методом пайки тугоплавким припоем, причем трубная решетка впаяна в переход, в который в свою очередь впаяны вход и выход холодильного агента, уплотнитель проложен в адаптере. На фиг.1 показан разрез кожухотрубного испарителя. Предлагаемый кожухотрубный испаритель содержит: наружная труба 1, материал выполнения пластик типа РЕ; фитинг с патрубком электросварной 2, материал - пластик РЕ; трубки медные 3; перегородки 4; трубная доска 5, материал - медь; переход 6, материал- медь; адаптер с внутренней резьбой 7; шайба 8; резиновый уплотнитель 9; гайка с наружной резьбой 10; патрубок 11 - медь. В конструкции предлагаемого кожухотрубного испарителя медные трубки, запаяны в трубной решетке, в свою очередь трубная решетка крепится в переход из меди так же пайкой тугоплавким припоем, в переходы впаяны патрубки входа и выхода холодильного агента, это позволяет значительно повысить надежность кожухотрубного испарителя и срок его эксплуатации. Наружный корпус кожухотрубного испарителя выполняется из пластика, что позволяет уменьшить гидравлические потери на трение, что в свою очередь уменьшает затраты на циркуляцию охлаждаемой среды. Сборка осуществляется с применением электросварных фитингов, что значительно упрощает и удешевляет процесс сборки кожухотрубного испарителя. Уплотнение между патрубками и наружным корпусом осуществляется за счет резинового уплотнителя, двух шайб и прижимной гайки с наружной резьбой, которая вкручивается в адаптер. Конструкция уплотнения позволяет в случае необходимости очень быстро поменять резиновый уплотнитель, который проложен в адаптере, без разборки кожухотрубного испарителя. Таким образом, преимуществом предлагаемого кожухотрубного испарителя является простая, надежная и дешевая конструкция с уменьшенным весом и с большим сроком эксплуатации. ФОРМУЛА ИЗОБРЕТЕНИЯ Кожухотрубный испаритель, содержит наружный корпус, сборный трубный коллектор из медных трубок, уплотнительные элементы, отличающийся тем, что наружный корпус выполнен из пластика, сборка его осуществляется с применением электросварных фитингов, медные трубки закреплены в трубные решетки методом пайки тугоплавким припоем, причем трубная решетка впаяна в переход, в который в свою очередь впаяны вход и выход холодильного агента, уплотнитель проложен в адаптере.
  • 3.