More Related Content
PDF
PPTX
ترجمة معتمدة لسفارة كينيا بالقاهرة، ترجمة معتمدة لقنصلية كينيا في مصر PDF
Digital Agenda - barn og unge PPTX
PDF
Games people p(l)ay - TIFF 2016 PPT
PDF
PDF
Viewers also liked
PDF
Curso cys 217 relatoria, expresión oral y escrita DOC
Carta Simple Con D E T A L L E A L C A L C E PDF
PDF
DOC
PDF
Belgravia Residence Kitchen PPTX
Regimen accionariado de la sociedad anonima PDF
PPSX
Painel 2011-02 - SN Indo-arábico PPT
12 principles of leadership - Part 3 of 3 More from Yose Rizal
PDF
MEDCO SINGA CPP PROCESSING PDF
Carboxymethyl Cellulose HKS PDF
Syarwan 2009 T E U N G K U C H I K D I T I R O H P S Tobe Sent PDF
PDF
Bhagavatgitasimplified 090728063022 Phpapp02 PDF
PDF
PDF
PDF
PDF
PDF
S I T I R O H A Y A A P040309 D2008 T T P PDF
PDF
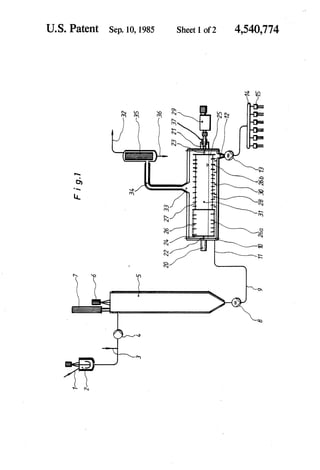
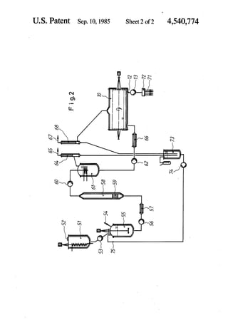
Biodiesel Process Flow Diagr. PDF
PDF
PDF
PDF
PDF
PPT
Diseminasi Pergub 122thn2005 Jan PDF