SERVO VENTILATOR 300 / 300A
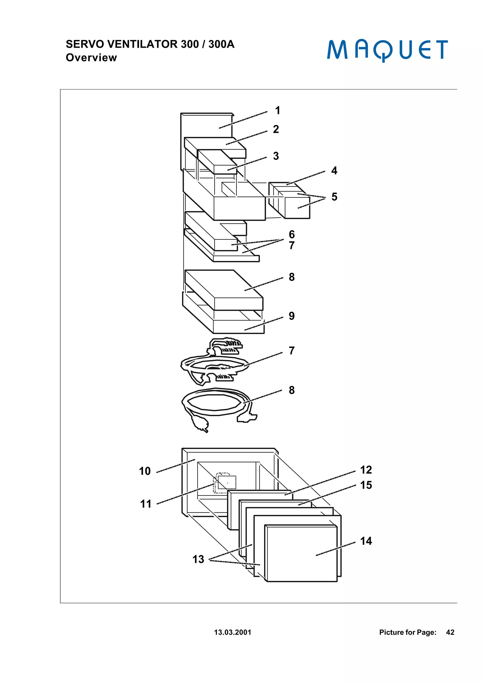
Overview



                                      1
                                      2

                                      3
                                              4

                                              5


                                          6
                                          7

                                          8


                                          9


                                          7


                                          8




           10                                     12
                                                  15
           11


                                                  14
                    13




                         13.03.2001                    Picture for Page:   42
SERVO VENTILATOR 300 / 300A
            Sub Components                 Product
Servo Ventilator 300
SV300,120V,DISS/US EN                     (06079391) English 120V DISS/US
SV300,120V,DISS/ISO EN                    (06150614) English120V DISS/ISO
SV300,220V,AGA/ISO EN                     (06079300) English220V AGA/ISO
SV300,220V, NIST/ISO EN                   (06150119) English220V NIST/ISO
SV300,240V,NIST/ISO EN                    (06079409) English240V NIST/ISO
SV300,220V,NIST DE                        (06079417) German 220V DIN/DIN
SV300,220V,AGA/AU DE                      (06150135) German 220V AGA/Austrian
SV300,220V,AGA/DIN DE                     (06150622) German 220V AGA/DIN
SV300,120V,DISS/ISO FR                    (06079433) French 120V DISS/ISO
SV300,220V,NF/ISO FR                      (06079425) French 220V French/ISO
SV300,220V,AGA/ISO FR                     (06150630) French 220V AGA/ISO
SV300,220V/AGA/DIN FR                     (06150127) French 220V AGA/DIN
SV300,120V,AGA/ISO ES                     (06079441) Spanish 120 V AGA/ISO
SV300,220V,AGA/ISO ES                     (06079458) Spanish 220V AGA/ISO
SV300,220V,NIST/ISO IT                    (06079466) Italian 220V NIST/ISO
SV300,220V,AGA/ISO SE                     (06079474) Swedish 220V AGA/ISO
SV300,100V,AGA/JAP                        (06079383) Japanese 100V AGA/Japan
Servo Ventilator 300A
SV300A,120V,DISS/US EN                    (06424704) English 120V DISS/US
SV300A,120V,DISS/ISO EN                   (06424712) English120V DISS/ISO
SV300A,220V,AGA/ISO EN                    (06372457) English 220V AGA/ISO
SV300A,220V,NIST/ISO EN                   (06424720) English 220V NIST/ISO
SV300A,240V,NIST/ISO                      (06424738) English 240V NIST/ISO
SV300A,220V,NIST DE                       (06424746) German 220V DIN/DIN
SV300A,220V,AGA/AU DE                     (06424753) German 220V AGA/Austria
SV300A,220V,AGA/DIN DE                    (06424761) German 220V AGA/DIN
SV300A,120V,DISS/ISO FR                   (06424779) French 120V DISS/ISO
SV300A,220V,NF/ISO FR                     (06424787) French 220V French/ISO
SV300A,220V,AGA/ISO FR                    (06424795) French 220V AGA/ISO
SV300A,220V,AGA/DIN FR                    (06424803) French 220V AGA/DIN
SV300A,120V,AGA/ISO ES                    (06424811) Spanish 120V AGA/ISO
SV300A,220V,AGA/ISO ES                    (06424829) Spanish 220V AGA/ISO
SV300A,220V,NIST/ISO IT                   (06424837) Italian 220V NIST/ISO
SV300A,220V,AGA/ISO SE                    (06424845) Swedish 220V AGA/ISO
SV300A,100V,AGA/JAP                       (06424852) Japanese 100V AGA/Japan
Pneumatic section - Casing
Pneumatic section - Expiratory section
Pneumatic section - Inspiratory channel
Pneumatic section - Nebulizer module
Pneumatic section - Gas modules


                                                13.03.2001                      Page: 42
SERVO VENTILATOR 300 / 300A
             Sub Components                   Product
Pneumatic section - Electronic parts
Pneumatic section - Lower parts
Power section - Power supply
Power section - Casing
Control unit - Housing
Control unit - Clamp
Control unit - PC boards
Control unit - Front panel
Control unit - Knobs
Control unit - Potentiometers and selectors




                                                  13.03.2001   Page: 42
SERVO VENTILATOR 300 / 300A
Pneumatic section - Casing




                                                      8




     7

     6
     5
                                    7

     5                                   6   9
                                                                10



 4



 3
                                                       2



 1




            11                                       11



                  A                 12



                       15.01.2004                Picture for Page:   43
SERVO VENTILATOR 300 / 300A
Pneumatic section - Casing
ID   Part-No.   Type   Description              Wgt. KG TC
 1 06068279 E380E COVER FOR FAN                        0,21   3
 2 06464114 E380E PNEUMATIC SECTION CASING             1,64   3
 3 06079268 E380E PROTECTIVE COVER                0,031       3
 4 06204544 E380E PLUG                            0,004       3
 5 06168962 E380E GUIDE FRAME, SET OF 3                0,04   3
 6 06056977 E380E PLASTIC HOLDER FOR HINGE             0,03   3
 7 06056951 E380E HINGE                                0,22   3
 8 06079508 E380E LID                                    1    3
 9 06168970 E380E RUBBER PLUG, 10 EACH                 0,02   3
10 06068543 E380E DUST FILTER                          0,04   3
11 06068287 E380E HOLDER FOR FAN                  0,015       3
12 06169424 E380E FAN                                   0,3   2




                                          15.01.2004              Page: 43
SERVO VENTILATOR 300 / 300A
Pneumatic section -Expiratory section




      990

   990                                       31




                          990
                                                  990
   990
                   30                              32A
                                                           32

                         990
                                                          33A




                                        34                33




                           20.11.2002             Picture for Page:   44
SERVO VENTILATOR 300 / 300A
Pneumatic section -Expiratory section
ID    Part-No.   Type   Description                      Comment             Wgt. KG TC
 30   06395420 E037E FLOWTRANSDUCER INCL LABEL FOR                              0,32   1
 31   06068196 E380E EXPIRATORY CONNECTION TUBE                                 0,09   1
 32   06169119 E380E EXPIR. OUTLET WITH NON-             RETURN VALVE           0,04   2
 32A 09344185 E361E NON-RETURN VALVE                                           0,003   3
 33   06079490 E380E PREAMPLIFIER                                              0,094   1
 33A 06169101 E380E RUBBER LID, 5 EACH                                          0,04   3
 34   06350396 E380E HOLDER FOR PC BOARD 1623                                   0,04   3


990                     Accessories or Consumables       Please see the
                                                         Product Catalogue




                                            20.11.2002                                     Page: 44
SERVO VENTILATOR 300 / 300A
Inspiratory channel



                              990

 E

              990

                               62

                               61




                                    63




            990


       60




                       25.09.2002        Picture for Page:   45
SERVO VENTILATOR 300 / 300A
Pneumatic section - Inspiratory channel
ID    Part-No.   Type   Description                Comment             Wgt. KG TC
 60 06169127 E380E PLUG, 10 EACH                                         0,013   3
 61 06072750 E380E INSPIRATORY PIPE WITH           SAFETY VALVE           0,26   1
 62 06068063 E380E FILTER HOLDER                                          0,04   1
 63 06133156 E380E INSPIRATORY MIXING PART                                 0,1   1


990                     Accessories or Consumables Please see the
                                                   Product Catalogue




                                             25.09.2002                              Page: 45
SERVO VENTILATOR 300 / 300A
Nebulizer module



                                    93



                                         92

                                                      93



    91




               90




                       19.11.2002         Picture for Page:   46
SERVO VENTILATOR 300 / 300A
Pneumatic section - Nebulizer module
ID   Part-No.   Type   Description        Wgt. KG TC
90 06302454 E400E PC BOARD 1667             0,166   1
91 06342377 E400E PUSH BUTTON WITH LED       0,28   1
92 06350594 E400E PUSH BUTTON COVER CAP      0,04   3
93 06342385 E400E CONNECTOR                 0,015   2




                                     19.11.2002         Page: 46
SERVO VENTILATOR 300 / 300A
Gas modules



                                                   134



               131                                     132   990
                     130A
 128                 130
 129
       130B



                                                              133
              121

                           127                                 135

122                                  122
                       126                                     136



              121                                 121
                                                 137
                           125
                                                               138
122
                       124
                         122
                                                               141
              121

                           123
                                           121         139
122                                              140
                       120




                             15.01.2004                            Picture for Page:   47
SERVO VENTILATOR 300 / 300A
Pneumatic section - Gas modules
ID    Part-No.   Type   Description                      Comment                     Wgt. KG TC
120   06169242 E380E NIST CONNECTION AIR                                                 0,1   2
121   09131434 E345E O-RING 12.1 X 1.6, 10 EACH                                         0,03   2
122   06169341 E380E COLOUR MARKING RING, BLACK/                                        0,06   3
      06169333 E380E COLOUR MARKING RING, YELLOW,                                       0,02   3
      06169325 E380E COLOUR MARKING RING, GREY,                                        0,012   3
      06169317 E380E COLOUR MARKING RING, WHITE,                                        0,03   3
      06169309 E380E COLOUR MARKING RING, GREEN,                                       0,012   3
      06169291 E380E COLOUR MARKING RING, BLUE,                                         0,21   3
123   06169234 E380E NIST CONNECTION O2                                                 0,08   2
124   06169267 E380E DISS CONNECTION AIR                                                0,05   2
125   06169259 E380E DISS CONNECTION O2                                                 0,08   2
126   06169226 E380E DIN CONNECTION AIR                                                0,045   1
127   06169218 E380E DIN CONNECTION 02                                                  0,06   1
128   06463504 E380E GAS MODULE, AIR, TYPE II                                            1,5   1
129   06463751 E380E GAS MODULE, O2, TYPE II                                            1,78   1
130   06169366 E380E NOZZLE UNIT                         FOR OLD TYPE MODULES            0,1   1
130A 09358425 E347E O-RING 6,1X1,6 10 EACH                                              0,04   1
130B 06039783 E380E DIAPHRAGM. FOR GAS MODULE                                           0,03   1
131   06463496 E380E Nozzle unit type II                 INCL. O-RING + DIAPHRAGMA      0,05   1
132   06039528 E380E RUBBER SEALING FOR BACTERIA                                        0,02   1
133   06169358 E380E NON-RETURN VALVE, 2 EACH                                           0,01   1
134   06168988 E380E SCREW, 10 EACH                                                     0,04   3
135   06169275 E380E MALE QUICK COUPLING O2, AGA                                        0,06   2
136   06169283 E380E MALE QUICK COUPLING AIR AGA                                        0,06   2
137   06169192 E380E FRENCH STANDARD CONNECTION O2                                      0,12   2
138   09341553 E345E 02-NIPPLE, FR STANDARD                                              0,1   2
139   09131442 E345E O-RING 14.1 X 1.6, 10 EACH                                         0,01   2
140   06169200 E380E FRENCH STANDARD CONNECTION AIR                                     0,12   2
141   09341561 E345E AIR-NIPPLE, FR STANDARD                                             0,1   2


990                     Accessories or Consumables       Please see the
                                                         Product Catalogue




                                            15.01.2004                                  Page: 47
SERVO VENTILATOR 300 / 300A
Electronic parts




      154   152                                          155




153
                                                         156




              E

                                                         157
            151                            xxx
                                           xxx




                                           K             158
                                                                       159




                                                               160
 150
                                                 F
152                                                  G


                  154   153
                                                          A




                              22.08.2002                       Picture for Page:   48
SERVO VENTILATOR 300 / 300A
Pneumatic section - Electronic parts
ID   Part-No.   Type   Description                     Wgt. KG TC
150 06079110 E380E PULL MAGNET                            0,48   1
151 06079144 E380E 02 CELL CABLE                          0,05   1
152 06038991 E380E PRESSURE TRANSDUCER UNIT              0,186   1
153 06068071 E380E HOLDER                                 0,04   3
154 06990261 E347E SILICONE RUBBER CONNECTION             0,03   1
155 06038512 E380E PC BOARD 1615                         0,206   1
156 06007012 E380E PC BOARD 1588                         0,166   1
157 06505312 E380E LIN-PROM VERSION 1.04                  0,06   1
158 06150143 E380E PC BOARD 1585 + 1586                  0,166   1
159 06056787 E380E PC BOARD 1622                         0,196   1
160 06037654 E380E PC BOARD 1607                         0,553   1




                                          22.08.2002                 Page: 48
SERVO VENTILATOR 300 / 300A
Lower parts



                                         186     183
                                                       187
                          185
                184

                183                                                   188
                      184

     182              183

 B



                                                                      189
            D
  C


 181




                                I                                     190
                      H
                                                                   191


                                                                      192
                                                                      193

      180

                                           195
                                                         194


                            15.01.2004                  Picture for Page:   49
SERVO VENTILATOR 300 / 300A
Pneumatic section - Lower parts
ID   Part-No.   Type   Description                    Wgt. KG TC
180 06169135 E380E SET OF SIDE RAILS, 10 X 25            1,22   3
181 06195338 E380E INTERNAL CONNECTION CABLE               1    1
182 06195346 E380E CABLE SET, POWER SUPPLY              0,285   1
183 06169036 E380E SILICONE RUBBER PLUG, SET OF 3        0,02   3
184 09058793 E347E HOLDER FOR BACTERIA                   0,04   3
185 06068048 E380E CABLE INLET (RUBBER)                  0,04   3
186 06169028 E380E PROTECTIVE COVER F.OLDER UNITS        0,02   3
187 06169010 E380E COVER PLATE FITS ALL UNITS           0,285   2
188 06068089 E380E SEAL RING                            0,016   3
189 06040005 E380E EXPIRATORY VALVE, COMPL.              0,86   1
190 06039619 E380E GUIDE PLATE                          0,087   2
191 06169002 E380E GROUND SPRING, 3 EACH                 0,05   2
192 06425040 E380E GROUNDING CLIP                        0,02   3
193 06056894 E380E BASE PLATE                             0,8   3
194 06169390 E380E GROUND SPRING, 8 EACH                 0,04   3
195 06169143 E380E LOCKING PIN WITH SPRING              0,003   3




                                         15.01.2004                 Page: 49
SERVO VENTILATOR 300 / 300A
Power supply



                                          215
                 213
                   214


 212
                                                              215


                                                            216
                       214

 220                                      211


                       B
                                         C D                      217
                                                218
211

                                                      219
 210

 220




                                                              220




                               222


                                        221
          990


                           21.08.2003                 Picture for Page:   50
SERVO VENTILATOR 300 / 300A
Pneumatic section - Power supply
ID    Part-No.   Type   Description                       Comment                          Wgt. KG TC
210 06038702 E380E PC BOARD 1618                                                               1,1   1
211 06189786 E380E FUSE 1.6 AF, 5X20 MM, 10 EACH          F2                                 0,009   1
      06488154 E380E FUSE 6.3A FAST BLOW, 10 EACH         F1, F3, F4,                          0,2   1
212 06040435 E380E CAPACITOR HOLDER                                                           0,04   3
213 06055151 B0707 CAPACITOR 22000 MYF                                                       0,447   1
214 06056050 B1001 TRANSFORMER 117 VA                                                          2,8   1
215 06389873 E380E COVER FOR NEWER UNITS SV300                                                0,83   3
      06056019 E380E COVER F.OLDER UNITS                                                      0,05   3
216 06189760 E380E FUSE 1.6 AT, 5X20 MM, 10 EACH          220-240V                            0,03   1
      06189778 E380E FUSE 3.15 AT, 5X20 MM, 10 EACH       110-120V                           0,011   1
217 06189737 E380E MAINS POWER INLET                                                          0,28   1
218 06056043 E380E CONNECTOR, 3-PIN                                                           0,04   2
219 06056035 E380E OPERATING TIME METER                                                       0,07   2
220 06056027 E380E SET OF CABLES                                                              0,04   1
      06437474 E380E ADDITONAL CABLES TO 60 56 027        ORDER THIS POS. ONLY FOR            0,01   1
                                                          UNITS MANUFACTORED
                                                          BEFORE 1997
221 09609546 E361E ACCUMULATOR BATTERY 12 V 1,9 AH                                             1,2   1
222 06268432 E380E BATTERY POLE COVER, 2 EACH                                                0,018   3


990                     Accessories or Consumables        Please see the Product Catalog




                                             21.08.2003                                         Page: 50
SERVO VENTILATOR 300 / 300A
Casing



                   241




                                             241




                                                   242
  244



                                                   243




    240




                         15.10.2002   Picture for Page:   51
SERVO VENTILATOR 300 / 300A
Pneumatic section - Casing
ID   Part-No.   Type   Description                      Wgt. KG TC
240 06169168 E380E     ATTACHMENT KIT                      0,38   3
241 09303686 E353E     POTENTIAL EQUALIZER CONNECTION      0,04   2
242 06999072 W7002-4 CLAMP FOR POWER CABLE                 0,03   3
243 06169150 E380E     POWER SECTION CASING                 1,6   3
244 06505072 E380E     SPILL PROTECTION STRIP              0,01   3




                                        15.10.2002                    Page: 51
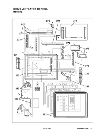
SERVO VENTILATOR 300 / 300A
Housing



                                      276       277          278
        275




  273
                                                      274

                                                                              279

271




                                                                              272

                                                        LOCTITE
                                                          222                 280
 270


                       K
                 xxx   xxx   xxx
                                                                              281
 283             xxx
                 xxx
                 xxx
                       xxx
                       xxx
                       xxx
                             xxx
                             xxx
                             xxx




270




                                   282




                                   07.05.2002                     Picture for Page:   52
SERVO VENTILATOR 300 / 300A
Control unit - Housing
ID   Part-No.   Type   Description                 Wgt. KG TC
270 06194869 E380E HOUSING FOR CONTROL UNIT           1,96   3
271 06102797 E380E COVER FOR CONNECTORS               0,04   3
272 06405778 E380E GROUND SPRING SV300               0,018   3
273 06405794 E380E GROUND SPRING LEFT SV300          0,006   3
274 06405786 E380E GROUND SPRING RIGHT SV300         0,008   3
275 06079177 E380E LID                                0,81   3
276 06194737 E380E CABLE HOLDER, 6 EACH               0,04   3
277 06405521 E380E GROUND SPRING SV300               0,015   3
278 06194885 E380E HOLDER FOR BRIEF OPERATING         0,16   3
279 06194877 E380E CASING FOR CONNECTORS              0,34   3
280 06102961 E380E COVER FOR 3 CONNECTORS            0,035   3
281 06194752 E380E PANEL HOLDER, 4 EACH               0,08   3
282 06194778 E380E FRAME                               0,8   3
283 06194851 E380E LOUDSPEAKER WITH HOLDER            0,01   1




                                      07.05.2002                 Page: 52
SERVO VENTILATOR 300 / 300A
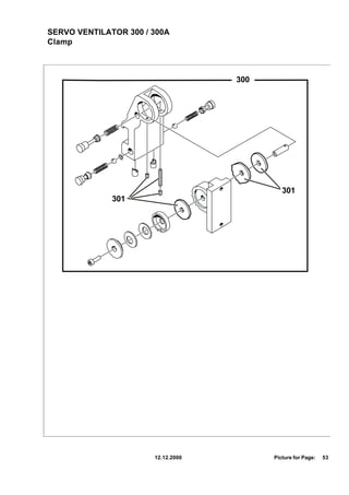
Clamp



                                    300




                                             301
              301




                       12.12.2000         Picture for Page:   53
SERVO VENTILATOR 300 / 300A
Control unit - Clamp
ID   Part-No.   Type   Description            Wgt. KG TC
300 06056324 E380E CLAMP FOR CONTROL UNIT        0,74   3
301 06406669 E380E REPAIR KIT, PANEL HOLDER      0,05   3




                                       12.12.2000           Page: 53
SERVO VENTILATOR 300 / 300A
PC boards




       337


                                                                      338


             xxx
             xxx




             K
335
             xxx
             xxx



                   336                                          339
             K
                                                                      332

      K       334
      xxx
                                                                            K 340
      xxx



                                                                            xxx
                                                                            xxx




333                343
                                      xxx


                                                    341
                                      xxx




                                                                            343
                                      K
332


                                            H                                     342
                                                I
                                                          332
               331




             330



                         11.06.2003                             Picture for Page:   54
SERVO VENTILATOR 300 / 300A
Control unit - PC boards
ID   Part-No.   Type   Description             Comment                  Wgt. KG TC
330 06038678 E380E PC BOARD 1617                                          0,613   1
331 06038546 E380E PC BOARD 1616                                           0,39   1
332 06007012 E380E PC BOARD 1588                                          0,166   1
333 06505296 E380E MIX-PROM VERSION 4.05                                   0,04   1
334 06037928 E380E PC BOARD 1608                                          0,763   1
335 06301944 E380E COM PROM, VERSION 2.01,                                 0,05   1
336 06419399 E403E JUMPER BLOCK                                            0,05   2
337 06405802 E380E DUMMY BOARD, PC 1665                                    0,91   1
338 06194687 E380E BATTERY                                                 0,22   2
339 06223866 E380E PC BOARD 1587, VERSION D,                              1,033   1
340 06350651 E380E MON PROM, VERSION 5.01      ONLY FOR UNIT WITH FAB      0,09   1
     06505270 E380E MON-PROM VERSION 6.03                                  0,04   1
341 06505254 E380E REF-PROM VERSION 2.03                                   0,06   1
342 06037860 E380E PC BOARD 1605                                           0,44   1
343 06505163 E380E PC BOARD LOCK 10 EACH                                   0,03   3




                                       11.06.2003                                     Page: 54
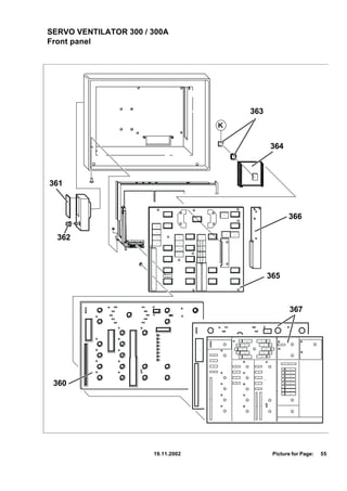
SERVO VENTILATOR 300 / 300A
Front panel




                                          363
                                    K

                                    xxx
                                    xxx

                                                364



361



                                                       366

  362



                                                365



                                                        367




 360




                       19.11.2002                Picture for Page:   55
SERVO VENTILATOR 300 / 300A
Control unit - Front panel
ID   Part-No.   Type   Description                    Wgt. KG TC
360 06195304 E380E BASE PLATE                             1,7   3
361 06350297 E396E PROTECTIVE COVER 28X78MM             0,081   3
362 06350594 E400E PUSH BUTTON COVER CAP                 0,04   3
363 06505239 E380E PAN-PROM VERSION 4.09                 0,06   1
364 06007012 E380E PC BOARD 1588                        0,166   1
365 06037985 E380E PC BOARD 1614                        1,525   1
366 06419654 E398E CIRCUIT BOARD PC1745 SV300A           0,14   1
367 06072008 E380E FRONT PANEL, EN                        1,2   3
     06072016 E380E FRONT PANEL, GERMAN                   0,6   3
     06072024 E380E FRONT PANEL, FR                       1,3   3
     06072032 E380E FRONT PANEL, ES                      0,66   3
     06072040 E380E FRONT PANEL, IT                      0,64   3
     06072057 E380E FRONT PANEL, SV                      0,75   3
     06204866 E380E FRONT PANEL JA                       0,62   3
     06372341 E398E FRONT PANEL ENG. SV300A              1,31   3
     06424522 E398E FRONT PANEL SV 300 A, DE             0,64   3
     06424530 E398E FRONT PANEL SV 300 A, FR            0,772   3
     06424548 E398E FRONT PANEL SV 300 A, ES            0,754   3
     06424555 E398E FRONT PANEL SV 300 A, IT             0,76   3
     06424563 E398E FRONT PANEL SV 300 A, SV             0,77   3
     06424571 E398E FRONT PANEL SV 300 A, JA            0,653   3




                                         19.11.2002                 Page: 55
SERVO VENTILATOR 300 / 300A
Knobs




393                                                         394




392                                                         395




391                                                         396




390                                                         397




            393                           392   393
                        397
                                          390
            395

                     393            396

            391      392

            391      392

            391      392
                                    394   390

            393      393
                                    394   390




                       28.04.2003               Picture for Page:   56
SERVO VENTILATOR 300 / 300A
Control unit - Knobs
ID   Part-No.   Type   Description                     Comment                Wgt. KG TC
390 06195122 E380E KNOB 14 MM DIAM, GREY               with wings               0,007   2
391 06195072 E380E KNOB 14 MM DIAM, GREY WITH RED rubber cap and arrow           0,05   1
392 06195080 E380E KNOB 14 MM DIAM, GREY WITH          rubber cap and arrow      0,12   2
393 06195056 E380E KNOB 14 MM DIAM, GREY               with arrow                0,03   1
394 06195114 E380E KNOB 14 MM DIAM, RED                with arrow                0,22   2
395 06195064 E380E KNOB 14 MM DIAM., RED WITH          rubber cap and arrow     0,007   2
396 06195106 E380E KNOB 14 MM DIAM., GREY                                        0,04   2
397 06195098 E380E KNOB 21 MM DIAM., GREY                                        0,05   2




                                          28.04.2003                                        Page: 56
SERVO VENTILATOR 300 / 300A
Potentiometers and selectors




420                   424                    428




421                   425                    429




422                   426                    430




423                   427                    431




      421                        429   432
               420                           432
                                 430
      422

             424      428

      422    425

      422    422

                      427       431
      422    426
                      427       431
      423    427



                        27.11.2001                 Picture for Page:   57
SERVO VENTILATOR 300 / 300A
Control unit - Potentiometers and selectors
ID   Part-No.   Type   Description        Wgt. KG TC
420 06194968 E380E SELECTOR                  0,24   1
421 06194935 E380E SELECTOR                  0,06   1
422 06194943 E380E POTENTIOMETER             0,06   1
423 06194950 E380E POTENTIOMETER             0,04   1
424 06194976 E380E POTENTIOMETER             0,03   1
425 06194984 E380E POTENTIOMETER             0,04   1
426 06194992 E380E POTENTIOMETER             0,04   1
427 06195007 E380E POTENTIOMETER             0,04   1
428 06195015 E380E POTENTIOMETER             0,06   1
429 06195023 E380E POTENTIOMETER             0,06   1
430 06195031 E380E NON LOCKING SELECTOR      0,04   1
431 06195049 E380E NONLOCKING SELECTOR       0,06   1
432 06372424 E398E SELECTOR                  0,34   1




                                     27.11.2001         Page: 57

Sv 300 spare parts list

  • 1.
    SERVO VENTILATOR 300/ 300A Overview 1 2 3 4 5 6 7 8 9 7 8 10 12 15 11 14 13 13.03.2001 Picture for Page: 42
  • 2.
    SERVO VENTILATOR 300/ 300A Sub Components Product Servo Ventilator 300 SV300,120V,DISS/US EN (06079391) English 120V DISS/US SV300,120V,DISS/ISO EN (06150614) English120V DISS/ISO SV300,220V,AGA/ISO EN (06079300) English220V AGA/ISO SV300,220V, NIST/ISO EN (06150119) English220V NIST/ISO SV300,240V,NIST/ISO EN (06079409) English240V NIST/ISO SV300,220V,NIST DE (06079417) German 220V DIN/DIN SV300,220V,AGA/AU DE (06150135) German 220V AGA/Austrian SV300,220V,AGA/DIN DE (06150622) German 220V AGA/DIN SV300,120V,DISS/ISO FR (06079433) French 120V DISS/ISO SV300,220V,NF/ISO FR (06079425) French 220V French/ISO SV300,220V,AGA/ISO FR (06150630) French 220V AGA/ISO SV300,220V/AGA/DIN FR (06150127) French 220V AGA/DIN SV300,120V,AGA/ISO ES (06079441) Spanish 120 V AGA/ISO SV300,220V,AGA/ISO ES (06079458) Spanish 220V AGA/ISO SV300,220V,NIST/ISO IT (06079466) Italian 220V NIST/ISO SV300,220V,AGA/ISO SE (06079474) Swedish 220V AGA/ISO SV300,100V,AGA/JAP (06079383) Japanese 100V AGA/Japan Servo Ventilator 300A SV300A,120V,DISS/US EN (06424704) English 120V DISS/US SV300A,120V,DISS/ISO EN (06424712) English120V DISS/ISO SV300A,220V,AGA/ISO EN (06372457) English 220V AGA/ISO SV300A,220V,NIST/ISO EN (06424720) English 220V NIST/ISO SV300A,240V,NIST/ISO (06424738) English 240V NIST/ISO SV300A,220V,NIST DE (06424746) German 220V DIN/DIN SV300A,220V,AGA/AU DE (06424753) German 220V AGA/Austria SV300A,220V,AGA/DIN DE (06424761) German 220V AGA/DIN SV300A,120V,DISS/ISO FR (06424779) French 120V DISS/ISO SV300A,220V,NF/ISO FR (06424787) French 220V French/ISO SV300A,220V,AGA/ISO FR (06424795) French 220V AGA/ISO SV300A,220V,AGA/DIN FR (06424803) French 220V AGA/DIN SV300A,120V,AGA/ISO ES (06424811) Spanish 120V AGA/ISO SV300A,220V,AGA/ISO ES (06424829) Spanish 220V AGA/ISO SV300A,220V,NIST/ISO IT (06424837) Italian 220V NIST/ISO SV300A,220V,AGA/ISO SE (06424845) Swedish 220V AGA/ISO SV300A,100V,AGA/JAP (06424852) Japanese 100V AGA/Japan Pneumatic section - Casing Pneumatic section - Expiratory section Pneumatic section - Inspiratory channel Pneumatic section - Nebulizer module Pneumatic section - Gas modules 13.03.2001 Page: 42
  • 3.
    SERVO VENTILATOR 300/ 300A Sub Components Product Pneumatic section - Electronic parts Pneumatic section - Lower parts Power section - Power supply Power section - Casing Control unit - Housing Control unit - Clamp Control unit - PC boards Control unit - Front panel Control unit - Knobs Control unit - Potentiometers and selectors 13.03.2001 Page: 42
  • 4.
    SERVO VENTILATOR 300/ 300A Pneumatic section - Casing 8 7 6 5 7 5 6 9 10 4 3 2 1 11 11 A 12 15.01.2004 Picture for Page: 43
  • 5.
    SERVO VENTILATOR 300/ 300A Pneumatic section - Casing ID Part-No. Type Description Wgt. KG TC 1 06068279 E380E COVER FOR FAN 0,21 3 2 06464114 E380E PNEUMATIC SECTION CASING 1,64 3 3 06079268 E380E PROTECTIVE COVER 0,031 3 4 06204544 E380E PLUG 0,004 3 5 06168962 E380E GUIDE FRAME, SET OF 3 0,04 3 6 06056977 E380E PLASTIC HOLDER FOR HINGE 0,03 3 7 06056951 E380E HINGE 0,22 3 8 06079508 E380E LID 1 3 9 06168970 E380E RUBBER PLUG, 10 EACH 0,02 3 10 06068543 E380E DUST FILTER 0,04 3 11 06068287 E380E HOLDER FOR FAN 0,015 3 12 06169424 E380E FAN 0,3 2 15.01.2004 Page: 43
  • 6.
    SERVO VENTILATOR 300/ 300A Pneumatic section -Expiratory section 990 990 31 990 990 990 30 32A 32 990 33A 34 33 20.11.2002 Picture for Page: 44
  • 7.
    SERVO VENTILATOR 300/ 300A Pneumatic section -Expiratory section ID Part-No. Type Description Comment Wgt. KG TC 30 06395420 E037E FLOWTRANSDUCER INCL LABEL FOR 0,32 1 31 06068196 E380E EXPIRATORY CONNECTION TUBE 0,09 1 32 06169119 E380E EXPIR. OUTLET WITH NON- RETURN VALVE 0,04 2 32A 09344185 E361E NON-RETURN VALVE 0,003 3 33 06079490 E380E PREAMPLIFIER 0,094 1 33A 06169101 E380E RUBBER LID, 5 EACH 0,04 3 34 06350396 E380E HOLDER FOR PC BOARD 1623 0,04 3 990 Accessories or Consumables Please see the Product Catalogue 20.11.2002 Page: 44
  • 8.
    SERVO VENTILATOR 300/ 300A Inspiratory channel 990 E 990 62 61 63 990 60 25.09.2002 Picture for Page: 45
  • 9.
    SERVO VENTILATOR 300/ 300A Pneumatic section - Inspiratory channel ID Part-No. Type Description Comment Wgt. KG TC 60 06169127 E380E PLUG, 10 EACH 0,013 3 61 06072750 E380E INSPIRATORY PIPE WITH SAFETY VALVE 0,26 1 62 06068063 E380E FILTER HOLDER 0,04 1 63 06133156 E380E INSPIRATORY MIXING PART 0,1 1 990 Accessories or Consumables Please see the Product Catalogue 25.09.2002 Page: 45
  • 10.
    SERVO VENTILATOR 300/ 300A Nebulizer module 93 92 93 91 90 19.11.2002 Picture for Page: 46
  • 11.
    SERVO VENTILATOR 300/ 300A Pneumatic section - Nebulizer module ID Part-No. Type Description Wgt. KG TC 90 06302454 E400E PC BOARD 1667 0,166 1 91 06342377 E400E PUSH BUTTON WITH LED 0,28 1 92 06350594 E400E PUSH BUTTON COVER CAP 0,04 3 93 06342385 E400E CONNECTOR 0,015 2 19.11.2002 Page: 46
  • 12.
    SERVO VENTILATOR 300/ 300A Gas modules 134 131 132 990 130A 128 130 129 130B 133 121 127 135 122 122 126 136 121 121 137 125 138 122 124 122 141 121 123 121 139 122 140 120 15.01.2004 Picture for Page: 47
  • 13.
    SERVO VENTILATOR 300/ 300A Pneumatic section - Gas modules ID Part-No. Type Description Comment Wgt. KG TC 120 06169242 E380E NIST CONNECTION AIR 0,1 2 121 09131434 E345E O-RING 12.1 X 1.6, 10 EACH 0,03 2 122 06169341 E380E COLOUR MARKING RING, BLACK/ 0,06 3 06169333 E380E COLOUR MARKING RING, YELLOW, 0,02 3 06169325 E380E COLOUR MARKING RING, GREY, 0,012 3 06169317 E380E COLOUR MARKING RING, WHITE, 0,03 3 06169309 E380E COLOUR MARKING RING, GREEN, 0,012 3 06169291 E380E COLOUR MARKING RING, BLUE, 0,21 3 123 06169234 E380E NIST CONNECTION O2 0,08 2 124 06169267 E380E DISS CONNECTION AIR 0,05 2 125 06169259 E380E DISS CONNECTION O2 0,08 2 126 06169226 E380E DIN CONNECTION AIR 0,045 1 127 06169218 E380E DIN CONNECTION 02 0,06 1 128 06463504 E380E GAS MODULE, AIR, TYPE II 1,5 1 129 06463751 E380E GAS MODULE, O2, TYPE II 1,78 1 130 06169366 E380E NOZZLE UNIT FOR OLD TYPE MODULES 0,1 1 130A 09358425 E347E O-RING 6,1X1,6 10 EACH 0,04 1 130B 06039783 E380E DIAPHRAGM. FOR GAS MODULE 0,03 1 131 06463496 E380E Nozzle unit type II INCL. O-RING + DIAPHRAGMA 0,05 1 132 06039528 E380E RUBBER SEALING FOR BACTERIA 0,02 1 133 06169358 E380E NON-RETURN VALVE, 2 EACH 0,01 1 134 06168988 E380E SCREW, 10 EACH 0,04 3 135 06169275 E380E MALE QUICK COUPLING O2, AGA 0,06 2 136 06169283 E380E MALE QUICK COUPLING AIR AGA 0,06 2 137 06169192 E380E FRENCH STANDARD CONNECTION O2 0,12 2 138 09341553 E345E 02-NIPPLE, FR STANDARD 0,1 2 139 09131442 E345E O-RING 14.1 X 1.6, 10 EACH 0,01 2 140 06169200 E380E FRENCH STANDARD CONNECTION AIR 0,12 2 141 09341561 E345E AIR-NIPPLE, FR STANDARD 0,1 2 990 Accessories or Consumables Please see the Product Catalogue 15.01.2004 Page: 47
  • 14.
    SERVO VENTILATOR 300/ 300A Electronic parts 154 152 155 153 156 E 157 151 xxx xxx K 158 159 160 150 F 152 G 154 153 A 22.08.2002 Picture for Page: 48
  • 15.
    SERVO VENTILATOR 300/ 300A Pneumatic section - Electronic parts ID Part-No. Type Description Wgt. KG TC 150 06079110 E380E PULL MAGNET 0,48 1 151 06079144 E380E 02 CELL CABLE 0,05 1 152 06038991 E380E PRESSURE TRANSDUCER UNIT 0,186 1 153 06068071 E380E HOLDER 0,04 3 154 06990261 E347E SILICONE RUBBER CONNECTION 0,03 1 155 06038512 E380E PC BOARD 1615 0,206 1 156 06007012 E380E PC BOARD 1588 0,166 1 157 06505312 E380E LIN-PROM VERSION 1.04 0,06 1 158 06150143 E380E PC BOARD 1585 + 1586 0,166 1 159 06056787 E380E PC BOARD 1622 0,196 1 160 06037654 E380E PC BOARD 1607 0,553 1 22.08.2002 Page: 48
  • 16.
    SERVO VENTILATOR 300/ 300A Lower parts 186 183 187 185 184 183 188 184 182 183 B 189 D C 181 I 190 H 191 192 193 180 195 194 15.01.2004 Picture for Page: 49
  • 17.
    SERVO VENTILATOR 300/ 300A Pneumatic section - Lower parts ID Part-No. Type Description Wgt. KG TC 180 06169135 E380E SET OF SIDE RAILS, 10 X 25 1,22 3 181 06195338 E380E INTERNAL CONNECTION CABLE 1 1 182 06195346 E380E CABLE SET, POWER SUPPLY 0,285 1 183 06169036 E380E SILICONE RUBBER PLUG, SET OF 3 0,02 3 184 09058793 E347E HOLDER FOR BACTERIA 0,04 3 185 06068048 E380E CABLE INLET (RUBBER) 0,04 3 186 06169028 E380E PROTECTIVE COVER F.OLDER UNITS 0,02 3 187 06169010 E380E COVER PLATE FITS ALL UNITS 0,285 2 188 06068089 E380E SEAL RING 0,016 3 189 06040005 E380E EXPIRATORY VALVE, COMPL. 0,86 1 190 06039619 E380E GUIDE PLATE 0,087 2 191 06169002 E380E GROUND SPRING, 3 EACH 0,05 2 192 06425040 E380E GROUNDING CLIP 0,02 3 193 06056894 E380E BASE PLATE 0,8 3 194 06169390 E380E GROUND SPRING, 8 EACH 0,04 3 195 06169143 E380E LOCKING PIN WITH SPRING 0,003 3 15.01.2004 Page: 49
  • 18.
    SERVO VENTILATOR 300/ 300A Power supply 215 213 214 212 215 216 214 220 211 B C D 217 218 211 219 210 220 220 222 221 990 21.08.2003 Picture for Page: 50
  • 19.
    SERVO VENTILATOR 300/ 300A Pneumatic section - Power supply ID Part-No. Type Description Comment Wgt. KG TC 210 06038702 E380E PC BOARD 1618 1,1 1 211 06189786 E380E FUSE 1.6 AF, 5X20 MM, 10 EACH F2 0,009 1 06488154 E380E FUSE 6.3A FAST BLOW, 10 EACH F1, F3, F4, 0,2 1 212 06040435 E380E CAPACITOR HOLDER 0,04 3 213 06055151 B0707 CAPACITOR 22000 MYF 0,447 1 214 06056050 B1001 TRANSFORMER 117 VA 2,8 1 215 06389873 E380E COVER FOR NEWER UNITS SV300 0,83 3 06056019 E380E COVER F.OLDER UNITS 0,05 3 216 06189760 E380E FUSE 1.6 AT, 5X20 MM, 10 EACH 220-240V 0,03 1 06189778 E380E FUSE 3.15 AT, 5X20 MM, 10 EACH 110-120V 0,011 1 217 06189737 E380E MAINS POWER INLET 0,28 1 218 06056043 E380E CONNECTOR, 3-PIN 0,04 2 219 06056035 E380E OPERATING TIME METER 0,07 2 220 06056027 E380E SET OF CABLES 0,04 1 06437474 E380E ADDITONAL CABLES TO 60 56 027 ORDER THIS POS. ONLY FOR 0,01 1 UNITS MANUFACTORED BEFORE 1997 221 09609546 E361E ACCUMULATOR BATTERY 12 V 1,9 AH 1,2 1 222 06268432 E380E BATTERY POLE COVER, 2 EACH 0,018 3 990 Accessories or Consumables Please see the Product Catalog 21.08.2003 Page: 50
  • 20.
    SERVO VENTILATOR 300/ 300A Casing 241 241 242 244 243 240 15.10.2002 Picture for Page: 51
  • 21.
    SERVO VENTILATOR 300/ 300A Pneumatic section - Casing ID Part-No. Type Description Wgt. KG TC 240 06169168 E380E ATTACHMENT KIT 0,38 3 241 09303686 E353E POTENTIAL EQUALIZER CONNECTION 0,04 2 242 06999072 W7002-4 CLAMP FOR POWER CABLE 0,03 3 243 06169150 E380E POWER SECTION CASING 1,6 3 244 06505072 E380E SPILL PROTECTION STRIP 0,01 3 15.10.2002 Page: 51
  • 22.
    SERVO VENTILATOR 300/ 300A Housing 276 277 278 275 273 274 279 271 272 LOCTITE 222 280 270 K xxx xxx xxx 281 283 xxx xxx xxx xxx xxx xxx xxx xxx xxx 270 282 07.05.2002 Picture for Page: 52
  • 23.
    SERVO VENTILATOR 300/ 300A Control unit - Housing ID Part-No. Type Description Wgt. KG TC 270 06194869 E380E HOUSING FOR CONTROL UNIT 1,96 3 271 06102797 E380E COVER FOR CONNECTORS 0,04 3 272 06405778 E380E GROUND SPRING SV300 0,018 3 273 06405794 E380E GROUND SPRING LEFT SV300 0,006 3 274 06405786 E380E GROUND SPRING RIGHT SV300 0,008 3 275 06079177 E380E LID 0,81 3 276 06194737 E380E CABLE HOLDER, 6 EACH 0,04 3 277 06405521 E380E GROUND SPRING SV300 0,015 3 278 06194885 E380E HOLDER FOR BRIEF OPERATING 0,16 3 279 06194877 E380E CASING FOR CONNECTORS 0,34 3 280 06102961 E380E COVER FOR 3 CONNECTORS 0,035 3 281 06194752 E380E PANEL HOLDER, 4 EACH 0,08 3 282 06194778 E380E FRAME 0,8 3 283 06194851 E380E LOUDSPEAKER WITH HOLDER 0,01 1 07.05.2002 Page: 52
  • 24.
    SERVO VENTILATOR 300/ 300A Clamp 300 301 301 12.12.2000 Picture for Page: 53
  • 25.
    SERVO VENTILATOR 300/ 300A Control unit - Clamp ID Part-No. Type Description Wgt. KG TC 300 06056324 E380E CLAMP FOR CONTROL UNIT 0,74 3 301 06406669 E380E REPAIR KIT, PANEL HOLDER 0,05 3 12.12.2000 Page: 53
  • 26.
    SERVO VENTILATOR 300/ 300A PC boards 337 338 xxx xxx K 335 xxx xxx 336 339 K 332 K 334 xxx K 340 xxx xxx xxx 333 343 xxx 341 xxx 343 K 332 H 342 I 332 331 330 11.06.2003 Picture for Page: 54
  • 27.
    SERVO VENTILATOR 300/ 300A Control unit - PC boards ID Part-No. Type Description Comment Wgt. KG TC 330 06038678 E380E PC BOARD 1617 0,613 1 331 06038546 E380E PC BOARD 1616 0,39 1 332 06007012 E380E PC BOARD 1588 0,166 1 333 06505296 E380E MIX-PROM VERSION 4.05 0,04 1 334 06037928 E380E PC BOARD 1608 0,763 1 335 06301944 E380E COM PROM, VERSION 2.01, 0,05 1 336 06419399 E403E JUMPER BLOCK 0,05 2 337 06405802 E380E DUMMY BOARD, PC 1665 0,91 1 338 06194687 E380E BATTERY 0,22 2 339 06223866 E380E PC BOARD 1587, VERSION D, 1,033 1 340 06350651 E380E MON PROM, VERSION 5.01 ONLY FOR UNIT WITH FAB 0,09 1 06505270 E380E MON-PROM VERSION 6.03 0,04 1 341 06505254 E380E REF-PROM VERSION 2.03 0,06 1 342 06037860 E380E PC BOARD 1605 0,44 1 343 06505163 E380E PC BOARD LOCK 10 EACH 0,03 3 11.06.2003 Page: 54
  • 28.
    SERVO VENTILATOR 300/ 300A Front panel 363 K xxx xxx 364 361 366 362 365 367 360 19.11.2002 Picture for Page: 55
  • 29.
    SERVO VENTILATOR 300/ 300A Control unit - Front panel ID Part-No. Type Description Wgt. KG TC 360 06195304 E380E BASE PLATE 1,7 3 361 06350297 E396E PROTECTIVE COVER 28X78MM 0,081 3 362 06350594 E400E PUSH BUTTON COVER CAP 0,04 3 363 06505239 E380E PAN-PROM VERSION 4.09 0,06 1 364 06007012 E380E PC BOARD 1588 0,166 1 365 06037985 E380E PC BOARD 1614 1,525 1 366 06419654 E398E CIRCUIT BOARD PC1745 SV300A 0,14 1 367 06072008 E380E FRONT PANEL, EN 1,2 3 06072016 E380E FRONT PANEL, GERMAN 0,6 3 06072024 E380E FRONT PANEL, FR 1,3 3 06072032 E380E FRONT PANEL, ES 0,66 3 06072040 E380E FRONT PANEL, IT 0,64 3 06072057 E380E FRONT PANEL, SV 0,75 3 06204866 E380E FRONT PANEL JA 0,62 3 06372341 E398E FRONT PANEL ENG. SV300A 1,31 3 06424522 E398E FRONT PANEL SV 300 A, DE 0,64 3 06424530 E398E FRONT PANEL SV 300 A, FR 0,772 3 06424548 E398E FRONT PANEL SV 300 A, ES 0,754 3 06424555 E398E FRONT PANEL SV 300 A, IT 0,76 3 06424563 E398E FRONT PANEL SV 300 A, SV 0,77 3 06424571 E398E FRONT PANEL SV 300 A, JA 0,653 3 19.11.2002 Page: 55
  • 30.
    SERVO VENTILATOR 300/ 300A Knobs 393 394 392 395 391 396 390 397 393 392 393 397 390 395 393 396 391 392 391 392 391 392 394 390 393 393 394 390 28.04.2003 Picture for Page: 56
  • 31.
    SERVO VENTILATOR 300/ 300A Control unit - Knobs ID Part-No. Type Description Comment Wgt. KG TC 390 06195122 E380E KNOB 14 MM DIAM, GREY with wings 0,007 2 391 06195072 E380E KNOB 14 MM DIAM, GREY WITH RED rubber cap and arrow 0,05 1 392 06195080 E380E KNOB 14 MM DIAM, GREY WITH rubber cap and arrow 0,12 2 393 06195056 E380E KNOB 14 MM DIAM, GREY with arrow 0,03 1 394 06195114 E380E KNOB 14 MM DIAM, RED with arrow 0,22 2 395 06195064 E380E KNOB 14 MM DIAM., RED WITH rubber cap and arrow 0,007 2 396 06195106 E380E KNOB 14 MM DIAM., GREY 0,04 2 397 06195098 E380E KNOB 21 MM DIAM., GREY 0,05 2 28.04.2003 Page: 56
  • 32.
    SERVO VENTILATOR 300/ 300A Potentiometers and selectors 420 424 428 421 425 429 422 426 430 423 427 431 421 429 432 420 432 430 422 424 428 422 425 422 422 427 431 422 426 427 431 423 427 27.11.2001 Picture for Page: 57
  • 33.
    SERVO VENTILATOR 300/ 300A Control unit - Potentiometers and selectors ID Part-No. Type Description Wgt. KG TC 420 06194968 E380E SELECTOR 0,24 1 421 06194935 E380E SELECTOR 0,06 1 422 06194943 E380E POTENTIOMETER 0,06 1 423 06194950 E380E POTENTIOMETER 0,04 1 424 06194976 E380E POTENTIOMETER 0,03 1 425 06194984 E380E POTENTIOMETER 0,04 1 426 06194992 E380E POTENTIOMETER 0,04 1 427 06195007 E380E POTENTIOMETER 0,04 1 428 06195015 E380E POTENTIOMETER 0,06 1 429 06195023 E380E POTENTIOMETER 0,06 1 430 06195031 E380E NON LOCKING SELECTOR 0,04 1 431 06195049 E380E NONLOCKING SELECTOR 0,06 1 432 06372424 E398E SELECTOR 0,34 1 27.11.2001 Page: 57