DEPARTMENT OF MECHANICAL ENGINEERING
MANIT BHOPAL
SUBJECT: AUTOMATION AND MANUFACTURING
GUIDED BY : DR MD.TAUFIK SIR
Topic Cover:
1.Microntroller and Microprocessor
2.Data Acquisition and Signal Condition
3.Electrical Drive
BHAVESH AGRAWAL
222116607
Microprocessor and Microcontroller
 The introduction of a piece of technology called “Microprocessor” has changed
the way in which we view, analyze and control the world surrounding us over
the past two decades. The first commercial microprocessor is 4-bit 4004
developed by Intel and was made available in 1971. Since then, it took a
phenomenal success in its development and usage. Microprocessor is considered
a product of combined developments in the fields of computer architecture and
Integrated Circuit (IC) fabrication. It has made the concept of personal
computing very feasible.
 The Microcontroller is often considered as a byproduct in the development of
microprocessor. The fabrication process and programming technique which are
responsible in the development of microprocessors has also lead to the
development of microcontrollers. Until a decade ago, the microcontrollers are
less popular in both the technical community and general public even though
most of the consumer electronics like televisions, video games, video cassette
recorders, telephones, elevators etc. comprise of them.
Microcontroller
Microprocessor
Microprocessor and Microcontroller
Microprocessor and Microcontroller
difference
Characteristics of a Microprocessor
There are three important characteristics of a microprocessor. They are as
follows:
•Clock Speed
•Word Size
•Instruction Set
Clock Speed
The speed at which a microprocessor can execute the instructions is called
the clock speed. Basically clock speed is the number of cycles that the
processor executes per second. We measure it in MHz(Mega-Hertz)
or GHz (Giga-Hertz). Here, MHz means 1 million cycles per second and
GHz means 1 billion cycles per second. Moreover, a cycle basically
means a single electric cycle. Besides, every microprocessor has an
internal clock that regulates the speed at which it executes the instructions.
Word Size
It is the number of bits that a processor can process in a single instruction.
Furthermore, the word size decides the amount of RAM that the processor
can access at a time. Moreover, it also decides the number of input and
output pins on the microprocessor. These pins in to decide the architecture of
the processor.
The number of input and output pins is always equal. For example, the first
commercial processor Intel 4004 was a 4-bit processor. hence, it has 4
input/output pins. Today, mostly 32-bit or 64-bit are used.
Instruction Set
An instruction is basically a command which tells the computer to operate
on some piece of data. The set of machine-level instructions that a
microprocessor executes is the instruction set. The operations involved in
the instructions can be as follows:
•Arithmetic operations
•Logical operations
•Data transfer
•Input/output operations
•control flow
Characteristics of a Microcontroller
A Microcontroller is a Integrated Circuit (IC) chip that can execute
programs to control other devices. A Microcontroller has RAM, ROM and
Input Output (IO) ports.
1.It is a small computer. It has processor and some other components.
2.Used in automatically controlled devices.
3.Used in Embedded systems.
4.It has less computational capacity than microprocessor. So it is used for
simpler tasks only.
5.Do not have math coprocessors.
6.Perform tasks – fetch, decode and execute.
7.It has memory, both RAM and ROM with some other I/O devices too.
8.Power consumption is less in microcontroller.
9.Optimize interrupt latency.
10.Bit manipulation is powerful.
11.Used to handle real time tasks and they are single programmed, self-
sufficient and task oriented.
Types of Microcontrollers
Based on width-
1. Bus Width
2. 8 bit Microcontroller
3. 16-bit Microcontroller
4. 32-bit Microcontroller
Based on Memory-
1. Embedded Memory Microcontroller:
2. External Memory Microcontroller:
Common for both Microcontroller and Microprocessor:
Based on Instruction Set Architecture-
1. CISC (Complex Instruction Set Computer):
2. RISC (Reduced Instruction Set Computers):
Based on Architecture-
1. Harvard Architecture :
2. Von -Neumann(Princeton) Architecture:
In an 8-bit microcontroller, the point when the internal bus is 8-bit then the ALU performs the
arithmetic and logic operations. The examples of 8-bit microcontrollers are Intel 8031/8051,
PIC1x, and Motorola MC68HC11 families.
The 16-bit microcontroller performs greater precision and performance as compared to the 8-bit.
For example, 8-bit microcontrollers can only use 8 bits, resulting in a final range of 0×00 – 0xFF
(0-255) for every cycle. In contrast, 16-bit microcontrollers with their bit data width have a range
of 0×0000 – 0xFFFF (0-65535) for every cycle.
A longer timer’s most extreme worth can likely prove to be useful in certain applications and
circuits. It can automatically operate on two 16 bit numbers. Some examples of the 16-bit
microcontrollers are 16-bit MCUs are extended 8051XA, PIC2x, Intel 8096, and Motorola
MC68HC12 families.
The 32-bit microcontroller uses the 32-bit instructions to perform the arithmetic and logic
operations. These are used in automatically controlled devices including implantable medical
devices, engine control systems, office machines, appliances, and other types of embedded
systems. Some examples are Intel/Atmel 251 family, PIC3x.
Microcontrollers Types According to Memory Devices
Embedded Memory Microcontroller: When an embedded system has a microcontroller unit
that has all the functional blocks available on a chip is called an embedded microcontroller. For
example, 8051 having program & data memory, I/O ports, serial communication, counters and
timers and interrupts on the chip is an embedded microcontroller.
External Memory Microcontroller: When an embedded system has a microcontroller unit that
has not all the functional blocks available on a chip is called an external memory microcontroller.
For example, 8031 has no program memory on the chip is an external memory microcontroller.
Microcontrollers Types According to Instruction Set
CISC: CISC is a Complex Instruction Set Computer. It allows the programmer to use one instruction in
place of many simpler instructions.
RISC: The RISC stands for Reduced Instruction set Computer, this type of instruction sets reduces the
design of microprocessor for industry standards. It allows each instruction to operate on any register or use
any addressing mode and simultaneous access of program and data.
Microcontrollers Types According to Memory Architecture
The memory architecture of microcontroller are two types, they are namely:
•Harvard memory architecture microcontroller
•Princeton memory architecture microcontroller
Harvard Memory Architecture Microcontroller: The point when a microcontroller unit has a dissimilar
memory address space for the program and data memory, the microcontroller has Harvard memory
architecture in the processor.
Princeton Memory Architecture Microcontroller: The point when a microcontroller has a common
memory address for the program memory and data memory, the microcontroller has Princeton memory
architecture in the processor.
Microcontrollers Types
There are different microcontroller types like 8051, PIC, AVR, ARM,
Microcontroller 8085
It is a 40pin microcontroller with Vcc of 5V connected to pin 40 and Vss at pin 20 which is kept 0V. And
there are input and output ports from P1.0 – P1.7 and which having an open-drain feature. Port3 has got
extra features. Pin36 has the open-drain condition and pin17 has internally pulled up transistor inside the
microcontroller.
When we apply logic 1 at port1 then we get logic 1 at port21 and vice versa. The
programming of the microcontroller is dead complicated. Basically, we write a program in C-
language which is next converted to machine language understood by the microcontroller.
A RESET pin is connected to pin9, connected with a capacitor. When the switch is ON, the
capacitor starts charging and RST is high. Applying a high to the reset pin resets the
microcontroller. If we apply logic zero to this pin, the program starts execution from the
beginning.
Memory Architecture of 8051
The memory of 8051 is divided into two parts. They are Program Memory and Data Memory.
Program Memory stores the program being executed whereas Data Memory temporarily
stores the data and the results. The 8051 has been in use in a wide number of devices, mainly
because it is easy to integrate into a device. Microcontrollers are mainly used in energy
management, touch screen, automobiles, and medical devices.
1. Complex Instruction Set Microprocessors
CISM can take care of orders as well as other low-level activities like downloading, uploading,
etc. to support the system. It can also perform complex mathematical calculations with just a
command.
They make good personal computers that work well with simpler compilers. Their instructions
have more than one clock cycle. Some examples are – Intel 386 & 486, Pentium, etc.
2. Reduced Instruction Set Microprocessor
RISC is to carry out small specific commands at a faster rate and high optimization. The
instruction set is shorter due to simple commands and the same length. They reduce memory
references by adding registers.
RISC follow pipelining which leads to overlapping of instruction fetching and execution. They
take one CPU cycle to execute mostly. Some examples are – AMD K6, and K7, etc.
3. Explicitly Parallel Instruction Computing
EPIC is a mixture of RISC and CISC, with the best features of both processors. They follow
parallel instructions without a fixed width. They enable compilers to communicate with the
hardware using sequential semantics. Some examples are – Intel IA-64, Itanium, etc.
4. Superscalar Microprocessors
The superscalar processor supports performing multiple tasks simultaneously. They are
commonly present in ALUs or multipliers as they are capable of carrying multiple commands.
They use different operational units for transmitting instructions inside the processor.
5. Application Specific Integrated Circuit
ASICs are common for automotive emissions control use or as a personal digital assistant. Their
architecture is very properly specified but at the same time made with off-the-shelf gears.
6. Digital Signal Multiprocessors
The DSPs are famous for encoding and decoding video files or converting analog to digital and
vice versa.
They are excellent for mathematical calculations. RADAR, home theaters, SONAR, etc. use
these chips for the task execution. Companies like Intel, Motorola, DEC, etc. have made many
such microprocessors like this.
7. SIMD Processors
Single Instruction Multiple Data are for computations in vectors using elements in parallel
instead of serially. They have more than one ALUs and each of them has a local memory for data
storage.
8. Symbolic Processors
Symbolic processors are mainly for expert systems, machine/artificial intelligence, and pattern
recognition. They don’t need floating-point operations to function.
9. Bit-Slice Processors
The Bit-Slice processors have specific word lengths and building blocks according to the user
preference. They have 4-bit ALUs, generators, and micro programs sequencers. Some examples
are – AMD-2900, 29300 series, and Texas instrument SN-74AS88XX series.
10. Transputers
Transputer microprocessors are famous for managing internal components like Chip RAM and
serial links, etc. The communication link is one of the elements that connect all transputers. Some
examples are – INMOS T414 and INMOS T800.
11. Graphics Processors
A microprocessor by Intel that is made for high definition games and movies. Some examples are
Intel 82786, Intel i860, and Intel i750.
Microprocessor Architecture
1. Von Neumann
2. Harvard Architecture
BASIC MICROPROCESSOR TERMS
•Instructions Per Cycle – A way to measure CPU’s instruction speed in a single clock.
•Instruction Set – These are the commands that a processor understands to work between
hardware and software.
•Bus – Set of conductors for data transmission, information control, and tasks addressed in
a microprocessor. They are of three types – data bus, address bus, and control bus.
•Word Length – Refers to the number of bits processed at a time.
•Clock Speed / Clock Rate – The ability of microprocessors to perform tasks in a second.
•Bandwidth – Refers to the total bits in a single instruction.
•Data Types – Data type microprocessor supports like binary, ASCII, etc.
•SIMD – Single Instruction Multiple Data
•PGA – Pin Grid Array
•FPU – Floating Point Unit
•ALU – Arithmetic and Logic Unit
•MMX – Multi Media extensions
•MMU – Memory Management Unit
Memory
 Storage Device
 Addresses
 Registers
 Major Categories
 Read/Write Memory
(R/W)
 Read-only-Memory
(ROM)
D7 D0
Microprocessor Year Word Length Memory Pins Clock
4004 1971 4-bit 1 KB 16 750kHz
8085 1976 8-bit 64 KB 40 3-6 MHz
8086 1978 16-bit 1MB 40 5-8 MHz
80286 1982 16-bit
16MB real
4 GB virtual
68 6-12.5 MHz
80386 1985 32-bit
4GB real
64TB virtual
132 14X14 PGA 20-33 MHz
80486 1989 32-bit
4GB real
64TB virtual
168 17X17 PGA 25-100 MHz
Pentium 1993 32-bit
4GB real
32-bit address
64-bit data bus
237 PGA 60-200
Pentium Pro 1995 32-bit
64GB real
36-bit address bus
387 PGA 150-200 MHz
Pentium II 1997 32-bit – – 233-400 MHz
Pentium III 1999 32-bit 64GB 370 PGA 600-1.3 MHz
Pentium 4 2000 32-bit 64GB 423 PGA 600-1.3 GHz
Itanium 2001 64-bit 64 address lines 423 PGA 733 MHz-1.3 GHz
Important Intel Processors
DATA
ACQUISITION
SYSTEM
A data acquisition system is a
collection of software and
hardware that allows one to
measure or control the
physical characteristics of
something in the real world.
OBJECTIVE AND INTRODUCTION
❑ DAS must acquire the necessary data, at correct speed and at correct
time.
❑ It must monitor the complete plant operation to maintain on line and safe
operations.
❑ It must be able to collect, summarise and store data for diagnosis of
operation and record purpose.
❑ It must be flexible and capable of being expanded for future
requirements.
❑ It must be able to compute unit performance indices using on-line,
real time data.
❑ It must be reliable, easy to operate and must be user friendly.
DAS BLOCK DIAGRAM
3
PHYSICAL
SYSTEM/CONDITIONS
Physical condition that can be used as input of DAS or
which can be represented in Digital form are as under…
❑ Displacement
❑ Level
❑ Electric signals
❑ ON/OFF switch
❑ Temperature
❑ Pressure
❑ Light
❑ Force
4
METHODOLOGY
❑ DAS begins with the physical property to be measured. Examples of this
include temperature,light intensity, gas pressure, fluid flow, force etc.
❑ A sensor, which is a type of transducer converts a physical property into a
corresponding electrical signal
❑ Signal conditioning may be necessary if the signal from the
transducer is not suitable for the DAQ hardware being used.
❑ After signal conditioning the analog wave output is converted into digital
form usingA/D converter.
❑ Once digitized, the signal can be encoded to reduce and correct
transmission errors.
❑ This whole process is called as DATA ACQUISITION SYSTEM
DATA ACQUISITION HARDWARE
❑
❑
❑
❑
❑
❑
❑Industrial Ethernet
Industrial USB
LAN eXtensions for Instrumentation
NIM
PowerLab
V ME bus
VXI
➢DAQ hardware interfaces the signal and a PC. It could be in
the form of modules that can be connected to the computer's ports
or cards connected to slots in the motherboard. Following are
some hardware's….
❑ CAMAC - Computer Automated Measurement and Control
DATA ACQUISITION SOFTWARE
➢ DAQ software is needed in order for the DAQ
hardware to work with a PC.
➢Involves the use of a programming language,
such as:
❑C++, visual C++
❑BASIC, Visual Basic + Add-on tools (such as Visual
lab with VTX)
❑Fortran
❑Pascal
❑Ladder logic
❑Lab view
MERITS/ADVANTAGES
❑ Reduced data redundancy
❑ Reduced updating errors and increased
consistency
❑ Greater data integrity and independence from
applications programs
❑ Improved data access to users through use of
host and query languages
❑ Improved data security
❑ Reduced data entry, storage, and retrieval costs
❑ Facilitated development of new applications
program
DEMERITS/DISADVANTAGES
❑ Database systems are complex, difficult, and
time-consuming to design
❑ Substantial hardware and software start-up costs
❑ Damage to database affects virtually all
applications programs
❑ Extensive conversion costs in moving form a file-
based system to a database system
❑ Initial training required for all programmers and
users
CONCLUSION
10
❑ Data acquisition systems typically convert analog
Physical condition into digital values for easy
processing.
❑ DAS is advantageous as we can store a lot of
physical condition data in digitized form
❑ DAS helps in easy processing of data as well as
easy comparison can be done.
❑ Today DAS is used in almost every field,industry
and companies.
Electrical Drives
Definition of Electrical Drives
• Drives – system employed
for motion control
• Motion control requires
prime movers
• Electrical Drives – Drives
that employ Electric
Motors as prime movers Electrical Drives -> Electric
Motor as Prime Mover
Prime Mover
Drives -> Motion Control
Advantages of Electrical Drives
 Flexible control characteristic
 particularly when power electronic converters are
employed
 Wide range of speed, torque and power
 High efficiency – low no load losses
 Low noise
 Low maintenance requirements, cleaner operation
 Electric energy easily transported
 Adaptable to most operating conditions
 Available operation in all four torque-speed quadrants
Conventional Electric Drives
 Ward-Leonard system – introduced in 1890s
 Disadvantage :
 Bulky,
 Expensive,
 Inefficient,
 Complex
Modern Electric Drives
Power Source Power Processing Unit Motor Load
Control
Reference
Control
Unit
feedback
 Small (compact)
 Efficient
 Flexible
 Interdisciplinary
 Power Source
 Motor
 Power Processing Unit (Electronic Converter)
 Control Unit
 Mechanical Load
Basic Components of Electric Drives
Electrical
Energy Motor
Mechanical
Energy
• Obtain power from electrical sources
• DC motors - Permanent Magnet or wound-field (shunt, separately excited,
compound, series)
• AC motors – Induction, Synchronous (wound –rotor, IPMSM, SPMSM), brushless DC
Basic Components of Electric Drives –
Power Source
• Provides energy to electric motors
• Regulated (e.g: utility) or Unregulated (e.g. : renewable
energy)
• Unregulated power sources must be regulated for high
efficiency – use power electronic converters
• DC source
• batteries
• fuel cell
• photovoltaic
• AC source
• single- or three- phase utility
• wind generator
Basic Components of Electric Drives –
Power Processing Unit
• Provides a regulated power supply to motor
• Enables motor operation in reverse, braking and variable
speeds
• Combination of power electronic converters
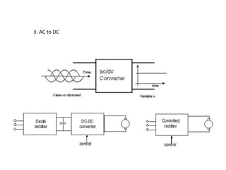
Controlled rectifiers, inverters –treated as ‘black boxes’
with certain transfer function
More efficient – ideally no losses occur
Flexible - voltage and current easily shaped through
switching control
Compact
Several conversions possible: AC-DC , DC-DC, DC-AC, AC-
AC
Basic Components of Electric Drives – Power
Processing Unit
1. DC to AC
2. DC to DC
3. AC to DC
4. AC to AC
Basic Components of Electric Drives –
Control Unit
• Supervise operation
• Enhance overall performance and stability
• Complexity depends on performance requirement
• Analog Control – noisy, inflexible, ideally infinite bandwidth
• Digital Control – immune to noise, configurable, smaller
bandwidth (depends on sampling frequency)
• DSP/microprocessor – flexible, lower bandwidth, real-time
• DSPs perform faster operation than microprocessors
(multiplication in single cycle), complex estimations and
observers easily implemented
Basic Components of Electric Drives –
Component Selection
• Several factors affecting drive selection:
• Steady-state operation requirements
• nature of torque-speed profile, speed regulation, speed range,
efficiency, quadrants of operations, converter ratings
• Transient operation requirements
• values of acceleration and deceleration, starting, braking and
reversing performance
• Power source requirements
• Type, capacity, voltage magnitude, voltage fluctuations, power
factor, harmonics and its effect on loads, ability to accept
regenerated power
• Capital & running costs
• Space and weight restrictions
• Environment and location
• Efficiency and reliability
References :
1. https://www.google.com/search?q=microprocessor+vs+microcontroll
er&rlz=1C1CHWL_enIN1048IN1048&oq=microprocessor+vs+&aqs=ch
rome.0.0i131i433i512j69i57j0i512l8.5714j0j7&sourceid=chrome&ie=
UTF-8
2. https://www.scribbr.com/apa-examples/powerpoint-
slides/#:~:text=To%20reference%20a%20PowerPoint%20presentation
,the%20PowerPoint%20can%20be%20found.
3. https://www.google.com/search?q=torque+speed+characteristics+of
+electric+motor&rlz=1C1CHWL_enIN1048IN1048&oq=&aqs=chrome.
4.35i39i362l8.29700j0j7&sourceid=chrome&ie=UTF-8
4. https://www.bharathuniv.ac.in/colleges1/downloads/courseware_ee
e/Notes/sem7/SEM%20VII%20BEE703%20EDC.pdf
THANK YOU

MergeResult_2023_04_02_05_26_56.pptx

  • 1.
    DEPARTMENT OF MECHANICALENGINEERING MANIT BHOPAL SUBJECT: AUTOMATION AND MANUFACTURING GUIDED BY : DR MD.TAUFIK SIR Topic Cover: 1.Microntroller and Microprocessor 2.Data Acquisition and Signal Condition 3.Electrical Drive BHAVESH AGRAWAL 222116607
  • 2.
    Microprocessor and Microcontroller The introduction of a piece of technology called “Microprocessor” has changed the way in which we view, analyze and control the world surrounding us over the past two decades. The first commercial microprocessor is 4-bit 4004 developed by Intel and was made available in 1971. Since then, it took a phenomenal success in its development and usage. Microprocessor is considered a product of combined developments in the fields of computer architecture and Integrated Circuit (IC) fabrication. It has made the concept of personal computing very feasible.  The Microcontroller is often considered as a byproduct in the development of microprocessor. The fabrication process and programming technique which are responsible in the development of microprocessors has also lead to the development of microcontrollers. Until a decade ago, the microcontrollers are less popular in both the technical community and general public even though most of the consumer electronics like televisions, video games, video cassette recorders, telephones, elevators etc. comprise of them.
  • 3.
  • 4.
  • 5.
    Characteristics of aMicroprocessor There are three important characteristics of a microprocessor. They are as follows: •Clock Speed •Word Size •Instruction Set Clock Speed The speed at which a microprocessor can execute the instructions is called the clock speed. Basically clock speed is the number of cycles that the processor executes per second. We measure it in MHz(Mega-Hertz) or GHz (Giga-Hertz). Here, MHz means 1 million cycles per second and GHz means 1 billion cycles per second. Moreover, a cycle basically means a single electric cycle. Besides, every microprocessor has an internal clock that regulates the speed at which it executes the instructions.
  • 6.
    Word Size It isthe number of bits that a processor can process in a single instruction. Furthermore, the word size decides the amount of RAM that the processor can access at a time. Moreover, it also decides the number of input and output pins on the microprocessor. These pins in to decide the architecture of the processor. The number of input and output pins is always equal. For example, the first commercial processor Intel 4004 was a 4-bit processor. hence, it has 4 input/output pins. Today, mostly 32-bit or 64-bit are used. Instruction Set An instruction is basically a command which tells the computer to operate on some piece of data. The set of machine-level instructions that a microprocessor executes is the instruction set. The operations involved in the instructions can be as follows: •Arithmetic operations •Logical operations •Data transfer •Input/output operations •control flow
  • 7.
    Characteristics of aMicrocontroller A Microcontroller is a Integrated Circuit (IC) chip that can execute programs to control other devices. A Microcontroller has RAM, ROM and Input Output (IO) ports. 1.It is a small computer. It has processor and some other components. 2.Used in automatically controlled devices. 3.Used in Embedded systems. 4.It has less computational capacity than microprocessor. So it is used for simpler tasks only. 5.Do not have math coprocessors. 6.Perform tasks – fetch, decode and execute. 7.It has memory, both RAM and ROM with some other I/O devices too. 8.Power consumption is less in microcontroller. 9.Optimize interrupt latency. 10.Bit manipulation is powerful. 11.Used to handle real time tasks and they are single programmed, self- sufficient and task oriented.
  • 8.
    Types of Microcontrollers Basedon width- 1. Bus Width 2. 8 bit Microcontroller 3. 16-bit Microcontroller 4. 32-bit Microcontroller Based on Memory- 1. Embedded Memory Microcontroller: 2. External Memory Microcontroller: Common for both Microcontroller and Microprocessor: Based on Instruction Set Architecture- 1. CISC (Complex Instruction Set Computer): 2. RISC (Reduced Instruction Set Computers): Based on Architecture- 1. Harvard Architecture : 2. Von -Neumann(Princeton) Architecture:
  • 9.
    In an 8-bitmicrocontroller, the point when the internal bus is 8-bit then the ALU performs the arithmetic and logic operations. The examples of 8-bit microcontrollers are Intel 8031/8051, PIC1x, and Motorola MC68HC11 families. The 16-bit microcontroller performs greater precision and performance as compared to the 8-bit. For example, 8-bit microcontrollers can only use 8 bits, resulting in a final range of 0×00 – 0xFF (0-255) for every cycle. In contrast, 16-bit microcontrollers with their bit data width have a range of 0×0000 – 0xFFFF (0-65535) for every cycle. A longer timer’s most extreme worth can likely prove to be useful in certain applications and circuits. It can automatically operate on two 16 bit numbers. Some examples of the 16-bit microcontrollers are 16-bit MCUs are extended 8051XA, PIC2x, Intel 8096, and Motorola MC68HC12 families. The 32-bit microcontroller uses the 32-bit instructions to perform the arithmetic and logic operations. These are used in automatically controlled devices including implantable medical devices, engine control systems, office machines, appliances, and other types of embedded systems. Some examples are Intel/Atmel 251 family, PIC3x. Microcontrollers Types According to Memory Devices Embedded Memory Microcontroller: When an embedded system has a microcontroller unit that has all the functional blocks available on a chip is called an embedded microcontroller. For example, 8051 having program & data memory, I/O ports, serial communication, counters and timers and interrupts on the chip is an embedded microcontroller. External Memory Microcontroller: When an embedded system has a microcontroller unit that has not all the functional blocks available on a chip is called an external memory microcontroller. For example, 8031 has no program memory on the chip is an external memory microcontroller.
  • 10.
    Microcontrollers Types Accordingto Instruction Set CISC: CISC is a Complex Instruction Set Computer. It allows the programmer to use one instruction in place of many simpler instructions. RISC: The RISC stands for Reduced Instruction set Computer, this type of instruction sets reduces the design of microprocessor for industry standards. It allows each instruction to operate on any register or use any addressing mode and simultaneous access of program and data. Microcontrollers Types According to Memory Architecture The memory architecture of microcontroller are two types, they are namely: •Harvard memory architecture microcontroller •Princeton memory architecture microcontroller Harvard Memory Architecture Microcontroller: The point when a microcontroller unit has a dissimilar memory address space for the program and data memory, the microcontroller has Harvard memory architecture in the processor. Princeton Memory Architecture Microcontroller: The point when a microcontroller has a common memory address for the program memory and data memory, the microcontroller has Princeton memory architecture in the processor. Microcontrollers Types There are different microcontroller types like 8051, PIC, AVR, ARM, Microcontroller 8085 It is a 40pin microcontroller with Vcc of 5V connected to pin 40 and Vss at pin 20 which is kept 0V. And there are input and output ports from P1.0 – P1.7 and which having an open-drain feature. Port3 has got extra features. Pin36 has the open-drain condition and pin17 has internally pulled up transistor inside the microcontroller.
  • 11.
    When we applylogic 1 at port1 then we get logic 1 at port21 and vice versa. The programming of the microcontroller is dead complicated. Basically, we write a program in C- language which is next converted to machine language understood by the microcontroller. A RESET pin is connected to pin9, connected with a capacitor. When the switch is ON, the capacitor starts charging and RST is high. Applying a high to the reset pin resets the microcontroller. If we apply logic zero to this pin, the program starts execution from the beginning. Memory Architecture of 8051 The memory of 8051 is divided into two parts. They are Program Memory and Data Memory. Program Memory stores the program being executed whereas Data Memory temporarily stores the data and the results. The 8051 has been in use in a wide number of devices, mainly because it is easy to integrate into a device. Microcontrollers are mainly used in energy management, touch screen, automobiles, and medical devices.
  • 13.
    1. Complex InstructionSet Microprocessors CISM can take care of orders as well as other low-level activities like downloading, uploading, etc. to support the system. It can also perform complex mathematical calculations with just a command. They make good personal computers that work well with simpler compilers. Their instructions have more than one clock cycle. Some examples are – Intel 386 & 486, Pentium, etc. 2. Reduced Instruction Set Microprocessor RISC is to carry out small specific commands at a faster rate and high optimization. The instruction set is shorter due to simple commands and the same length. They reduce memory references by adding registers. RISC follow pipelining which leads to overlapping of instruction fetching and execution. They take one CPU cycle to execute mostly. Some examples are – AMD K6, and K7, etc. 3. Explicitly Parallel Instruction Computing EPIC is a mixture of RISC and CISC, with the best features of both processors. They follow parallel instructions without a fixed width. They enable compilers to communicate with the hardware using sequential semantics. Some examples are – Intel IA-64, Itanium, etc. 4. Superscalar Microprocessors The superscalar processor supports performing multiple tasks simultaneously. They are commonly present in ALUs or multipliers as they are capable of carrying multiple commands. They use different operational units for transmitting instructions inside the processor. 5. Application Specific Integrated Circuit ASICs are common for automotive emissions control use or as a personal digital assistant. Their architecture is very properly specified but at the same time made with off-the-shelf gears.
  • 14.
    6. Digital SignalMultiprocessors The DSPs are famous for encoding and decoding video files or converting analog to digital and vice versa. They are excellent for mathematical calculations. RADAR, home theaters, SONAR, etc. use these chips for the task execution. Companies like Intel, Motorola, DEC, etc. have made many such microprocessors like this. 7. SIMD Processors Single Instruction Multiple Data are for computations in vectors using elements in parallel instead of serially. They have more than one ALUs and each of them has a local memory for data storage. 8. Symbolic Processors Symbolic processors are mainly for expert systems, machine/artificial intelligence, and pattern recognition. They don’t need floating-point operations to function. 9. Bit-Slice Processors The Bit-Slice processors have specific word lengths and building blocks according to the user preference. They have 4-bit ALUs, generators, and micro programs sequencers. Some examples are – AMD-2900, 29300 series, and Texas instrument SN-74AS88XX series. 10. Transputers Transputer microprocessors are famous for managing internal components like Chip RAM and serial links, etc. The communication link is one of the elements that connect all transputers. Some examples are – INMOS T414 and INMOS T800. 11. Graphics Processors A microprocessor by Intel that is made for high definition games and movies. Some examples are Intel 82786, Intel i860, and Intel i750.
  • 15.
    Microprocessor Architecture 1. VonNeumann 2. Harvard Architecture
  • 17.
    BASIC MICROPROCESSOR TERMS •InstructionsPer Cycle – A way to measure CPU’s instruction speed in a single clock. •Instruction Set – These are the commands that a processor understands to work between hardware and software. •Bus – Set of conductors for data transmission, information control, and tasks addressed in a microprocessor. They are of three types – data bus, address bus, and control bus. •Word Length – Refers to the number of bits processed at a time. •Clock Speed / Clock Rate – The ability of microprocessors to perform tasks in a second. •Bandwidth – Refers to the total bits in a single instruction. •Data Types – Data type microprocessor supports like binary, ASCII, etc. •SIMD – Single Instruction Multiple Data •PGA – Pin Grid Array •FPU – Floating Point Unit •ALU – Arithmetic and Logic Unit •MMX – Multi Media extensions •MMU – Memory Management Unit
  • 18.
    Memory  Storage Device Addresses  Registers  Major Categories  Read/Write Memory (R/W)  Read-only-Memory (ROM) D7 D0
  • 20.
    Microprocessor Year WordLength Memory Pins Clock 4004 1971 4-bit 1 KB 16 750kHz 8085 1976 8-bit 64 KB 40 3-6 MHz 8086 1978 16-bit 1MB 40 5-8 MHz 80286 1982 16-bit 16MB real 4 GB virtual 68 6-12.5 MHz 80386 1985 32-bit 4GB real 64TB virtual 132 14X14 PGA 20-33 MHz 80486 1989 32-bit 4GB real 64TB virtual 168 17X17 PGA 25-100 MHz Pentium 1993 32-bit 4GB real 32-bit address 64-bit data bus 237 PGA 60-200 Pentium Pro 1995 32-bit 64GB real 36-bit address bus 387 PGA 150-200 MHz Pentium II 1997 32-bit – – 233-400 MHz Pentium III 1999 32-bit 64GB 370 PGA 600-1.3 MHz Pentium 4 2000 32-bit 64GB 423 PGA 600-1.3 GHz Itanium 2001 64-bit 64 address lines 423 PGA 733 MHz-1.3 GHz Important Intel Processors
  • 21.
    DATA ACQUISITION SYSTEM A data acquisitionsystem is a collection of software and hardware that allows one to measure or control the physical characteristics of something in the real world.
  • 22.
    OBJECTIVE AND INTRODUCTION ❑DAS must acquire the necessary data, at correct speed and at correct time. ❑ It must monitor the complete plant operation to maintain on line and safe operations. ❑ It must be able to collect, summarise and store data for diagnosis of operation and record purpose. ❑ It must be flexible and capable of being expanded for future requirements. ❑ It must be able to compute unit performance indices using on-line, real time data. ❑ It must be reliable, easy to operate and must be user friendly.
  • 24.
  • 25.
    PHYSICAL SYSTEM/CONDITIONS Physical condition thatcan be used as input of DAS or which can be represented in Digital form are as under… ❑ Displacement ❑ Level ❑ Electric signals ❑ ON/OFF switch ❑ Temperature ❑ Pressure ❑ Light ❑ Force 4
  • 26.
    METHODOLOGY ❑ DAS beginswith the physical property to be measured. Examples of this include temperature,light intensity, gas pressure, fluid flow, force etc. ❑ A sensor, which is a type of transducer converts a physical property into a corresponding electrical signal ❑ Signal conditioning may be necessary if the signal from the transducer is not suitable for the DAQ hardware being used. ❑ After signal conditioning the analog wave output is converted into digital form usingA/D converter. ❑ Once digitized, the signal can be encoded to reduce and correct transmission errors. ❑ This whole process is called as DATA ACQUISITION SYSTEM
  • 27.
    DATA ACQUISITION HARDWARE ❑ ❑ ❑ ❑ ❑ ❑ ❑IndustrialEthernet Industrial USB LAN eXtensions for Instrumentation NIM PowerLab V ME bus VXI ➢DAQ hardware interfaces the signal and a PC. It could be in the form of modules that can be connected to the computer's ports or cards connected to slots in the motherboard. Following are some hardware's…. ❑ CAMAC - Computer Automated Measurement and Control
  • 28.
    DATA ACQUISITION SOFTWARE ➢DAQ software is needed in order for the DAQ hardware to work with a PC. ➢Involves the use of a programming language, such as: ❑C++, visual C++ ❑BASIC, Visual Basic + Add-on tools (such as Visual lab with VTX) ❑Fortran ❑Pascal ❑Ladder logic ❑Lab view
  • 29.
    MERITS/ADVANTAGES ❑ Reduced dataredundancy ❑ Reduced updating errors and increased consistency ❑ Greater data integrity and independence from applications programs ❑ Improved data access to users through use of host and query languages ❑ Improved data security ❑ Reduced data entry, storage, and retrieval costs ❑ Facilitated development of new applications program
  • 30.
    DEMERITS/DISADVANTAGES ❑ Database systemsare complex, difficult, and time-consuming to design ❑ Substantial hardware and software start-up costs ❑ Damage to database affects virtually all applications programs ❑ Extensive conversion costs in moving form a file- based system to a database system ❑ Initial training required for all programmers and users
  • 31.
    CONCLUSION 10 ❑ Data acquisitionsystems typically convert analog Physical condition into digital values for easy processing. ❑ DAS is advantageous as we can store a lot of physical condition data in digitized form ❑ DAS helps in easy processing of data as well as easy comparison can be done. ❑ Today DAS is used in almost every field,industry and companies.
  • 32.
  • 33.
    Definition of ElectricalDrives • Drives – system employed for motion control • Motion control requires prime movers • Electrical Drives – Drives that employ Electric Motors as prime movers Electrical Drives -> Electric Motor as Prime Mover Prime Mover Drives -> Motion Control
  • 34.
    Advantages of ElectricalDrives  Flexible control characteristic  particularly when power electronic converters are employed  Wide range of speed, torque and power  High efficiency – low no load losses  Low noise  Low maintenance requirements, cleaner operation  Electric energy easily transported  Adaptable to most operating conditions  Available operation in all four torque-speed quadrants
  • 35.
    Conventional Electric Drives Ward-Leonard system – introduced in 1890s  Disadvantage :  Bulky,  Expensive,  Inefficient,  Complex
  • 36.
    Modern Electric Drives PowerSource Power Processing Unit Motor Load Control Reference Control Unit feedback  Small (compact)  Efficient  Flexible  Interdisciplinary
  • 37.
     Power Source Motor  Power Processing Unit (Electronic Converter)  Control Unit  Mechanical Load Basic Components of Electric Drives Electrical Energy Motor Mechanical Energy • Obtain power from electrical sources • DC motors - Permanent Magnet or wound-field (shunt, separately excited, compound, series) • AC motors – Induction, Synchronous (wound –rotor, IPMSM, SPMSM), brushless DC
  • 38.
    Basic Components ofElectric Drives – Power Source • Provides energy to electric motors • Regulated (e.g: utility) or Unregulated (e.g. : renewable energy) • Unregulated power sources must be regulated for high efficiency – use power electronic converters • DC source • batteries • fuel cell • photovoltaic • AC source • single- or three- phase utility • wind generator
  • 39.
    Basic Components ofElectric Drives – Power Processing Unit • Provides a regulated power supply to motor • Enables motor operation in reverse, braking and variable speeds • Combination of power electronic converters Controlled rectifiers, inverters –treated as ‘black boxes’ with certain transfer function More efficient – ideally no losses occur Flexible - voltage and current easily shaped through switching control Compact Several conversions possible: AC-DC , DC-DC, DC-AC, AC- AC
  • 40.
    Basic Components ofElectric Drives – Power Processing Unit 1. DC to AC
  • 41.
  • 42.
  • 43.
  • 44.
    Basic Components ofElectric Drives – Control Unit • Supervise operation • Enhance overall performance and stability • Complexity depends on performance requirement • Analog Control – noisy, inflexible, ideally infinite bandwidth • Digital Control – immune to noise, configurable, smaller bandwidth (depends on sampling frequency) • DSP/microprocessor – flexible, lower bandwidth, real-time • DSPs perform faster operation than microprocessors (multiplication in single cycle), complex estimations and observers easily implemented
  • 45.
    Basic Components ofElectric Drives – Component Selection • Several factors affecting drive selection: • Steady-state operation requirements • nature of torque-speed profile, speed regulation, speed range, efficiency, quadrants of operations, converter ratings • Transient operation requirements • values of acceleration and deceleration, starting, braking and reversing performance • Power source requirements • Type, capacity, voltage magnitude, voltage fluctuations, power factor, harmonics and its effect on loads, ability to accept regenerated power • Capital & running costs • Space and weight restrictions • Environment and location • Efficiency and reliability
  • 46.
    References : 1. https://www.google.com/search?q=microprocessor+vs+microcontroll er&rlz=1C1CHWL_enIN1048IN1048&oq=microprocessor+vs+&aqs=ch rome.0.0i131i433i512j69i57j0i512l8.5714j0j7&sourceid=chrome&ie= UTF-8 2.https://www.scribbr.com/apa-examples/powerpoint- slides/#:~:text=To%20reference%20a%20PowerPoint%20presentation ,the%20PowerPoint%20can%20be%20found. 3. https://www.google.com/search?q=torque+speed+characteristics+of +electric+motor&rlz=1C1CHWL_enIN1048IN1048&oq=&aqs=chrome. 4.35i39i362l8.29700j0j7&sourceid=chrome&ie=UTF-8 4. https://www.bharathuniv.ac.in/colleges1/downloads/courseware_ee e/Notes/sem7/SEM%20VII%20BEE703%20EDC.pdf
  • 47.