Embed presentation
Download to read offline
































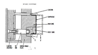
This document discusses different types of injection moulding technologies including two plate moulds, three plate injection moulds, evolution of runnerless moulds, hot manifold moulds, insulated runner systems, advantages of hot runner moulds, limitations, split moulds, and side cores.































