Embed presentation
Download as PDF, PPTX












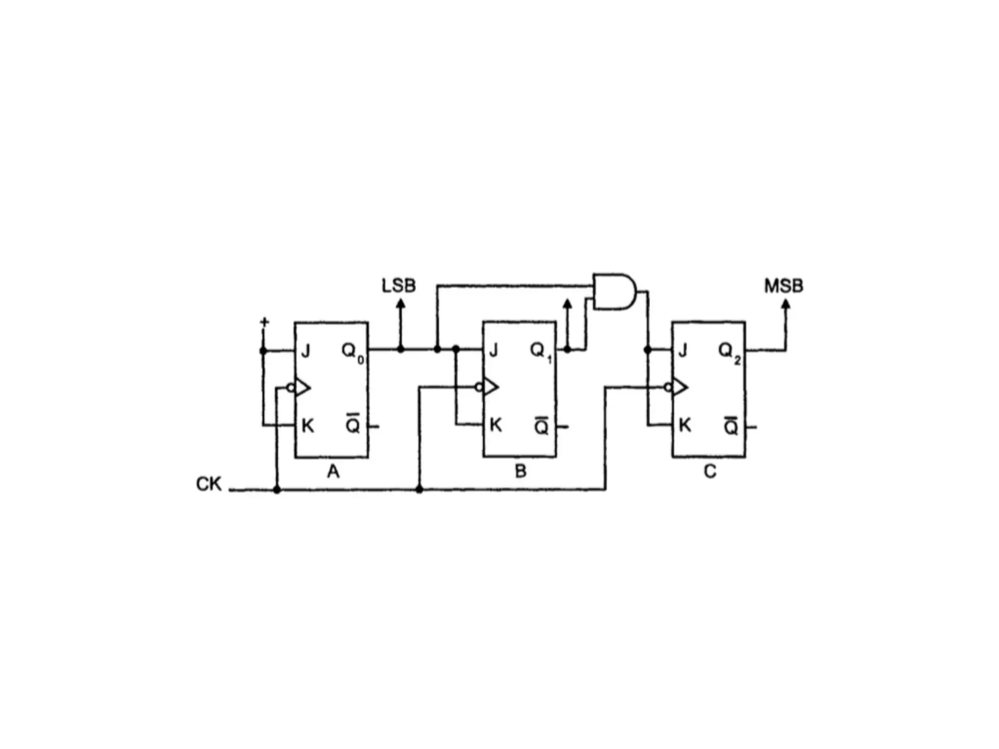
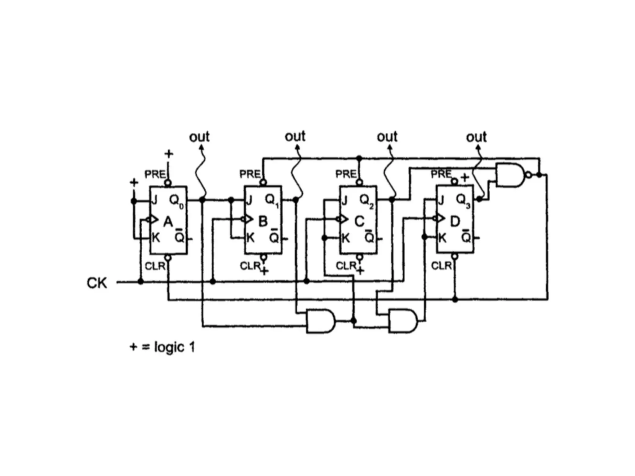
Dokumen ini membahas tentang counter sinkron, yang bekerja dengan menerima clock secara bersamaan untuk meningkatkan kecepatan dan mengurangi kerugian arus. Penjelasan mencakup konsep dasar penggunaan flip-flop yang terhubung, serta penerapan gerbang logika untuk mencapai kinerja modulo-32. Akhirnya, hasil yang diinginkan adalah sistem yang efisien dan dapat beroperasi dengan baik.










