TP. HỒ CHÍ MINH NĂM 2012
TÀI LIỆU HƯỚNG DẪN VẬN HÀNH
DỰ ÁN:
HỆ THỐNG XỬ LÝ NƯỚC THẢI CHUNG CƯ CĂN HỘ
CITY GARDEN
CÔNG SUẤT: 700 m3
/ngày.đêm
ĐƠN VỊ THẦU : CÔNG TY TNHH PHÁT TRIỂN CÔNG NGHỆ &
MÔI TRƯỜNG Á ĐÔNG
TÀI LIỆU HDVH HTXLNT CHUNG CƯ CĂN HỘ CITY GARDEN, CÔNG SUẤT 700 M3
/NGẦY ĐÊM
TỔNG QUAN HỆ THỐNG XỬ LÝ NƯỚC THẢI................................................................3
1.1 Giới thiệu hệ thống............................................................................................................4
1.2 Thông số đầu vào (trước khi xử lý)...................................................................................4
1.3 Thông số đầu ra.................................................................................................................4
1.4 Giới thiệu hệ thống............................................................................................................5
1.5 Thuyết minh công nghệ.....................................................................................................6
1.6 Thuyết minh thiết bị..........................................................................................................7
AN TOÀN VẬN HÀNH............................................................................................................8
2.1. An toàn khi làm việc trên bể............................................................................................9
2.2. An toàn làm việc thiết bị..................................................................................................9
2.3. An toàn hóa chất..............................................................................................................9
2.4. An toàn làm việc trên cao.................................................................................................9
VẬN HÀNH HỆ THỐNG......................................................................................................15
3.1. Giới thiệu.......................................................................................................................16
3.2. Kiểm soát và vận hành Hệ thống...................................................................................16
KIỂM SOÁT QUY TRÌNH....................................................................................................17
4.1 Các vấn đề chung............................................................................................................18
4.2 Những thay đổi trong hệ thống.......................................................................................18
VẬN HÀNH ĐIỆN ĐỘNG LỰC...........................................................................................18
5.1 Những điều cần chú ý khi vận hành................................................................................19
5.2 Cảnh báo lỗi hệ thống và cách khắc phục.......................................................................19
5.3 Quy định tên thiết bị........................................................................................................19
5.4 Quy định màu sắc tín hiệu..............................................................................................20
5.5 Hướng dận vận hành trên tủ điện...................................................................................20
PHA HÓA CHẤT...................................................................................................................23
6.1. Nguyên tắc.....................................................................................................................24
6.2. Liều lượng và hóa chất sử dụng ....................................................................................24
BẢO TRÌ – BẢO DƯỠNG THIẾT BỊ, MÁY MÓC............................................................25
7.1. Mục đích........................................................................................................................26
7.2. Nguyên tắc chung...........................................................................................................26
7.3. Bảo dưỡng thiết bị máy móc..........................................................................................26
2
TÀI LIỆU HDVH HTXLNT CHUNG CƯ CĂN HỘ CITY GARDEN, CÔNG SUẤT 700 M3
/NGẦY ĐÊM
TỔNG QUAN HỆ THỐNG
XỬ LÝ NƯỚC THẢI
3
PHẦN
1
TÀI LIỆU HDVH HTXLNT CHUNG CƯ CĂN HỘ CITY GARDEN, CÔNG SUẤT 700 M3
/NGẦY ĐÊM
1.1 Giới thiệu hệ thống
Hệ thống xử lý nước thải đặt tại Chung cư căn hộ City Garden. Tổng công suất của Hệ thống
xử lý là 700m3
/ngày đêm.
Hệ thống xử lý được vận hành dựa trên các thông số như sau:
1.2 Thông số đầu vào (trước khi xử lý)
TT Thông số Đơn vị Giá trị giới hạn
1 pH - 6.5-8
2 BOD5 mg/l 469-563
3 Chất rắn lơ lửng mg/l 730-1510
4 Amôni (N-NH4) mg/l 25-1210
5 Nitơ tổng mg/l 63-125
6 Dầu mỡ mg/l 104-313
7 Photpho tổng mg/l 8-42
8 Tổng coliform MNP/100ml 0.3-0.5
1.3 Thông số đầu ra
Nước thải sau xử lý đạt quy chuẩn QCVN 14:2008/BTNMT, cột B
TT Thông số Đơn vị Giá trị giới hạn
1 pH - 5-9
2 BOD5 mg/l 50
3 TSS Mg/l 100
4 Tổng chất rắn hòa tan Mg/l 1000
5 Sunfua (tính theo H2S) mg/l 4
6 Amoni (tính theo N) mg/l 10
7 Nitrat NO3
-
(tính theo N) mg/l 50
8 Dầu mỡ ĐTV mg/l 20
9 Tổng các chất hoạt động bề mặt mg/l 10
10 Phosphat PO4
3-
(tính theo P) Mg/l 10
11 Tổng coliform MNP/100ml 5000
4
TÀI LIỆU HDVH HTXLNT CHUNG CƯ CĂN HỘ CITY GARDEN, CÔNG SUẤT 700 M3
/NGẦY ĐÊM
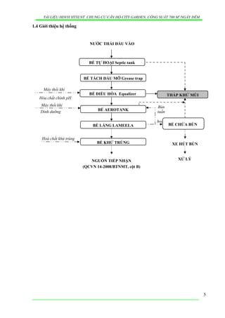
1.4 Giới thiệu hệ thống
5
Máy thổi khí
Dinh dưỡng
Máy thổi khí
Hóa chất chỉnh pH
Hoá chất khử trùng
NGUỒN TIẾP NHẬN
(QCVN 14-2008/BTNMT, cột B)
BỂ TÁCH DẦU MỠ Grease trap
BỂ AEROTANK
BỂ LẮNG LAMEELA
BỂ KHỬ TRÙNG
BỂ TỰ HOẠI Septic tank
BỂ ĐIỀU HÒA Equalizer
XE HÚT BÙN
XỬ LÝ
Bùn
tuần
hoàn
BỂ CHỨA BÙN
THÁP KHỬ MÙI
NƯỚC THẢI ĐẦU VÀO
TÀI LIỆU HDVH HTXLNT CHUNG CƯ CĂN HỘ CITY GARDEN, CÔNG SUẤT 700 M3
/NGẦY ĐÊM
Nước thải chứa nhiều chất ô nhiễm khác nhau, vì vậy để xử lý nước thải hiệu quả cần sử dụng
kết hợp các phương pháp xử lý khác nhau. Các phương pháp xử lý bao gồm: phương pháp xử
lý cơ học và phương pháp xử lý sinh học.
1.5 Thuyết minh công nghệ
Hố thu
Trong bể tự hoại 3 ngăn diễn ra quá trình lắng cặn và lên men, phân huỷ sinh học kỵ khí cặn
lắng. Các chất hữu cơ trong nước thải và bùn cặn đã lắng, chủ yếu là các Hydrocacbon, đạm,
béo, ... được phân hủy bởi các vi khuẩn kỵ khí và các loại nấm men. Nhờ vậy, cặn lên men, bớt
mùi hôi, giảm thể tích. Chất không tan chuyển thành chất tan và chất khí (chủ yếu là CH4, CO2,
H2S, NH3,...). Nước thải sau bể tự hoại chảy vào bể tách dầu mỡ. Bùn sau lên men trong bể tự
hoại sẽ được đơn vị có chức năng hút đi xử lý.
Bể tách dầu mỡ
Bể tách dầu mỡ có nhiệm vụ loại bỏ một phần dầu mỡ, chất béo có trong nước thải. Bể tách mỡ
có thiết kế vách ngăn thông đáy, ( . . . . ) Theo định kỳ, dầu mỡ được giữ lại sẽ được thu gom
và đổ đi. Bùn sau lên men trong bể tự hoại được định kỳ bơm đi xử lý.
Bể điều hòa
Bể điều hòa có nhiệm vụ điều hòa lưu lượng, nồng độ:
(1) quá trình xử lý sinh học được nâng cao do không bị hoặc giảm đến mức thấp nhất “shock”
tải trọng, các chất ảnh hưởng đến quá trình xử lý có thể được pha loãng, pH có thể được trung
hòa và ổn định;
(2) chất lượng nước thải sau xử lý được cải thiện do tải trọng chất thải lên các công trình ổn
định. Để tránh lắng cặn, hệ thống sục khí được lắp đặt trong bể điều hòa.
Dung tích chứa nước càng lớn thì độ an toàn, về nhiều mặt, càng cao. Bể điều hoà được sử
dụng để điều hoà lưu lượng, nồng độ các chất ô nhiễm và trung hoà pH (khi cần).
Để bơm nước lên các công trình tiếp theo, bơm chìm thường được lắp đặt trong bể điều hòa với
số lượng đủ để vận hành luân phiên và dự phòng, lắp đặt 02 bơm làm việc luân phiên.
Bể Aerotank
Đây là công trình đơn vị xử lý các chất ô nhiễm chính của hệ thống, nồng độ bùn hoạt tính
trong bể dao động từ 1.000-3.000 mg MLSS/L. Nồng độ bùn hoạt tính càng cao, tải trọng hữu
cơ áp dụng của bể càng lớn.
Oxy (không khí) được cung cấp bằng các máy thổi khí và hệ thống phân phối dạng đĩa có hiệu
quả cao với kích thước bọt khí nhỏ. Lượng khí cung cấp vào bể với mục đích cung cấp oxy cho
vi sinh vật hiếu khí chuyển hóa chất hữu cơ hòa tan thành nước và carbonic, nitơ hữu cơ và
ammonia thành nitrat NO3-, và xáo trộn đều nước thải và bùn hoạt tính, tạo điều kiện để vi
sinh vật tiếp xúc tốt với các chất cần xử lý. Tải trọng chất hữu cơ của bể thổi khí thường dao
dộng từ 0,32-0,64 kg BOD/m3
.ngđ và thời gian lưu nước dao động từ 4-12h.
Cơ chế quá trình chuyển hóa chất hữu cơ (chất gây ô nhiễm) thành chất vô cơ (chất không gây
ô nhiễm):
Oxy hóa và tổng hợp
COHNS (chất hữu cơ) + O2 + Chất dinh dưỡng + vi khuẩn hiếu khí  CO2 + H2O + NH3 +
C5H7O2N (tế bào vi khuẩn mới) + sản phẩm khác
Hô hấp nội bào
C5H7O2N (tế bào) + 5O2 + vi khuẩn  5CO2 + 2H2O + NH3 + E
113 160
1 1,42
Bể lắng Lamella
Hỗn hợp bùn và nước thải rời khỏi bể sinh học hiếu khí Aeroatnk chảy tràn vào bể lắng
Lamella nhằm tiến hành quá trình tách nước và bùn. Bể lắng Lamella có cấu tạo giống như bể
6
TÀI LIỆU HDVH HTXLNT CHUNG CƯ CĂN HỘ CITY GARDEN, CÔNG SUẤT 700 M3
/NGẦY ĐÊM
lắng ngang thông thường, nhưng khác với bể lắng ngang là trong vùng lắng của bể lắng lớp
mỏng được đặt thêm các bản vách ngăn bằng bằng nhựa. Các bản vách ngăn này nghiêng một
góc 450
÷ 600
so với mặt phẳng nằm ngang và song song với nhau. Do có cấu tạo thêm các bản
vách ngăn nghiêng, nên bể lắng lớp mỏng có hiệu suất cao hơn so với bể lắng ngang. Diện tích
bể lắng lớp mỏng giảm 5,26 lần so với bể lắng ngang thuần túy. Bùn sinh học lắng dưới đáy bể
lắng thứ cấp được dẫn vào hố chứa bùn. Một lượng xác định của bùn sinh học (bùn hoạt tính)
được tuần hoàn lại bể sinh học hiếu khí nhằm duy trì lượng bùn thích hợp trong bể này. Phần
nước trong sau bể lắng chảy vào bể khử trùng.
Bể khử trùng
Phần nước trong sau bể lắng sinh học sẽ tự chảy qua bể khử trùng trước khi xả ra nguồn tiếp
nhận. NaOCl là chất khử trùng được sử dụng phổ biến do hiệu quả diệt khuẩn cao và giá thành
tương đối rẻ.
Quá trình khử trùng nước xảy ra qua 2 giai đoạn: đầu tiên chất khử trùng khuếch tán xuyên qua
vỏ tế bào vi sinh vật sau đó phản ứng với men bên trong tế bào và phá hoại quá trình trao đổi
chất dẫn đến vi sinh vật bị tiêu diệt. Nước sau bể khử trùng sẽ chảy vào mương thoát nước đạt
tiêu chuẩn QCVN 14:2008/BTNMT, cột B.
Bể chứa bùn
Lượng bùn dư từ bể lắng sinh học sẽ được đưa vào bể chứa bùn. Tại đây, bùn sẽ được lắng
dưới tác dụng của trọng lực, bùn từ đáy bể chứa bùn sẽ được định kỳ được xe hút bùn bơm
đem đi chôn lấp theo qui định.
Tháp khử mùi
Mùi sinh ra từ hệ thống xử lý nước thải được thu gom về tháp khử mùi qua hệ thống
quạt hút và đường ống thu gom. Tháp khử mùi được bố trí lớp than hoạt tính có diện tích bề
mặt riêng lớn 500 đến 2500m2
/g có khả năng hấp phụ mùi tốt.
1.6 Thuyết minh thiết bị
Các loại bơm chìm (bơm nước thải + bơm bùn)
Các bơm khác nhau được sử dụng suốt nhà máy để dẫn nước thải hoặc bùn. Các bơm được
điều khiển sử dụng như một hệ thống kết nối gồm cả vận hành thủ công hoặc tự động với Hệ
thống điều khiển trung tâm PLC.
Bơm định lượng hóa chất
Bơm định lượng là các loại bơm công suất nhỏ đặc biệt được thiết kế để chuyển hóa chất đến
hệ thống. Các bơm này được thiết kế để chuyển chính xác các hóa chất và được chế tạo bởi các
vật liệu thích hợp để làm giảm sự ăn mòn.
Hệ thống phân phối khí dạng mịn
Hệ thống phân phối khí dạng mịn được sử dụng trong bể Aerotank. Mục đích là để làm sục khí
đồng đều tại mỗi bể.
Máy thổi khí
Máy thổi khí cung cấp oxy cho quá trình xử lý (bể điều hòa & bể xử lý sinh học hiếu khí). Các
máy thổi khí vận hành tiếp nối nhau, tất cả các máy thổi khí sẽ tự động vận hành luân phiên
nhau theo thời gian cài đặt của PLC.
7
TÀI LIỆU HDVH HTXLNT CHUNG CƯ CĂN HỘ CITY GARDEN, CÔNG SUẤT 700 M3
/NGẦY ĐÊM
AN TOÀN VẬN HÀNH
8
PHẦN
2
TÀI LIỆU HDVH HTXLNT CHUNG CƯ CĂN HỘ CITY GARDEN, CÔNG SUẤT 700 M3
/NGẦY ĐÊM
2.1. An toàn khi làm việc trên bể
Bất cứ khi nào làm việc quanh các bể chứa, các thủ tục về an toàn lao động phải tuyệt đối chấp
hành:
Đi ủng trong suốt thời gian làm việc.
Mặc áo phao khi làm việc xung quanh bể nơi mà không có lan can bảo vệ.
Luôn luôn giữ cho khu vực xung quanh các bể sạch và không có dầu, chất bẩn, hóa chất và
dụng cụ làm việc.
Tránh xa các khu vực tối đặc biệt là ban đêm.
Khu vực bể Aerotank là nơi vô cùng nguy hiểm nhất là khi không có nước. Công nhân vận
hành khi làm việc phía bên ngoài thành lan can phải có dây an toàn, dây đai được gắn với phần
lan can có kết cấu vững chắc có thể giữ được người ở trạng thái treo lơ lửng khi chẳng may bị
ngã.
Làm việc theo nhóm trong trường hợp nguy hiểm.
Phải có các biển báo ở vị trí xung quanh bể.
2.2. An toàn làm việc thiết bị
Khi vệ sinh hoặc làm việc trên thiết bị, phải đảm bảo các điều kiện sau:
Tháo nguồn điện
Đảm bảo nhân viên chuyên môn để bảo dưỡng thiết bị
Đặt biển báo Cấm đóng điện
Treo các bảng kiểm soát để không ai được vận hành máy móc.
Sử dụng phương tiện để di chuyển máy móc nặng. Bao gồm cần trục, tời và xe nâng.
Đảm bảo thiết bị bảo vệ cá nhân phù hợp.
2.3. An toàn hóa chất
Trước khi sử dụng các hóa chất, phải bảo đảm các điều kiện sau:
Các hóa chất còn hạn sử dụng;
Bảng sử dụng an toàn hóa chất (MSDS) đã được xem xét;
Sử dụng các Thiết bị bảo vệ cá nhân bao gồm găng tay, mặt nạ, kính bảo vệ mắt khi làm việc
với hóa chất.
Phải tắm sạch sẽ và rửa mắt trong trường hợp tiếp xúc hóa chất.
Đặt thiết bị chữa cháy gần các thùng chứa hóa chất.
Sử dụng đúng biển báo.
Các thùng chứa hóa chất tránh bị rò rỉ.
Đảm bảo các chất dễ bắt cháy không được phép để gần hóa chất dễ cháy.
Nhằm hạn chế tối thiểu các rủi ro có thể xảy ra trong quá trình thao tác.
2.4. An toàn làm việc trên cao
Khi làm việc ở độ cao trên 2m, phải đảm bảo các điều kiện sau:
Sử dụng thiết bị bảo vệ phù hợp như: dụng cụ lao động và thang.
Sử dụng thang chống đỡ để tránh trượt chân.
Luôn luôn sử dụng thang có 03 điểm kết nối. Nếu không thì sử dụng thang dây hoặc bậc lên
xuống khi làm việc.
9
VẬN HÀNH HỆ THỐNG
PHẦN
3
TÀI LIỆU HDVH HTXLNT CHUNG CƯ CĂN HỘ CITY GARDEN, CÔNG SUẤT 700 M3
/NGẦY ĐÊM
3.1. Giới thiệu
Hệ thống xử lý nước thải sinh hoạt được vận hành công suất 700m3
/ngày.đêm.
3.2. Kiểm soát và vận hành Hệ thống
Để vận hành, người vận hành phải giám sát 03 yếu tố sau:
- Chất luợng của nước thải trước xử lý.
- Điều kiện vận hành.
- Chất lượng của nước thải sau khi xử lý.
3.2.1 Chất lượng và lưu lượng nước thải xử lý
Hiệu suất của hệ thống xử lý cao phụ thuộc vào chất lượng và lưu lượng nước
thải vào. Điều quan trọng là phải giám sát lưu lượng và chất lượng nước thải
hàng ngày. Nồng độ COD của nước thải có thể điều chỉnh cho phù hợp với hệ
thống.
ΣCOD = COD * Qv
ΣCOD: Tổng COD đầu vào mỗi ngày
COD: Giá tri COD (sau khi kiểm tra)
Qv: Tổng lưu lượng vào mỗi ngày.
3.2.2 Chất lượng nước thải sau xử lý
Chất lượng nước thải sau xử lý phải đảm bảo đạt Quy chuẩn nguồn xả QCVN
14:2008/BTNMT, cột B. Quy chuẩn này bao gồm các thông số cần giám sát pH,
TSS, BOD, Dầu mỡ ĐTV….
Nếu nồng độ các thông số của nước thải sau xử lý không đảm bảo Quy chuẩn
Việt Nam thì phải kiểm tra lại quy trình vận hành. Cần phải giám sát lại các
thông số đầu ra và so sánh với các thông số thiết kế. Cần tìm hiểu các vấn đề và
điều chỉnh cho phù hợp.
16
TÀI LIỆU HDVH HTXLNT CHUNG CƯ CĂN HỘ CITY GARDEN, CÔNG SUẤT 700 M3
/NGẦY ĐÊM
KIỂM SOÁT QUY TRÌNH
17
PHẦN
4
TÀI LIỆU HDVH HTXLNT CHUNG CƯ CĂN HỘ CITY GARDEN, CÔNG SUẤT 700 M3
/NGẦY ĐÊM
4.1 Các vấn đề chung
Hệ thống có thể chấp nhận một số cú sốc ở một mức độ nào đó mà không có tác động có hại
đến hệ thống, nhưng nó không thể chịu được một chuỗi sốc một cách liên tục.
Trong quá trình vận hành nhiều yếu tố có thể thay đổi mà người vận hành không thể lường
trước hoặc thậm chí không điều khiển được nhưng ngay sau khi phát hiện ra sự thay đổi bất
thường đó người vận hành có thể bù lại bằng cách điều chỉnh các thông số vận hành.
Ví dụ:
Vấn đề: Giá trị pH của nguồn xả cao hay thấp.
Cách giải quyết: Kiểm tra bơm hóa chất, bể chứa hóa chất, đường ống…bơm hóa chất vào
nước thải.
4.2 Những thay đổi trong hệ thống
Nếu hệ thống trở nên bị đảo lộn, việc làm đầu tiên trước khi thực hiện bất cứ một thay đổi nào
là kiểm tra số liệu vận hành của hệ thống ít nhất 3 tuần trước đó. Sự cố có thể bắt đầu ở tuần
trước đó hoặc sớm hơn. Để tìm nguyên nhân sự cố, tự người vận hành hãy kiểm tra lại theo
những câu hỏi sau:
Có bất kỳ sự thay đổi nào đối với các bước xử lý khác trong hệ thống như các bể điều hòa, bể
Aerotank hay bể lắng Lamella?
Lưu lượng và nồng độ chất thải hàng ngày có tăng hay giảm không?
Phương pháp lấy mẫu có phù hợp chưa?
Hầu hết những lần hệ thống bị xáo trộn là do một vài vấn đề bên trong hệ thống mà không phải
do nước thải vào, trừ khi hệ thống của bạn thường xuyên bị quá tải. Do vậy, cần phải luôn luôn
theo dõi và ghi chép đầy đủ các số liệu thí nghiệm cũng như hiện tượng quan sát được bằng
mắt.
Tình trạng 1 (Sự thay đổi lưu lượng và nồng độ BOD đầu vào)
Luôn luôn phải đề phòng khả năng sốc tải trọng cũng như lưu lượng, sự cố tràn bất ngờ hoặc
các sự cố về đường ống có thể làm thay đổi lưu lượng dòng vào và đặc tính chất thải.
Sự cố lưu lượng tăng lên đột ngột thường từ quá trình rò rỉ nước mưa hoặc các nguồn khác vào
hệ thống đường ống. Lưu lượng tăng sẽ làm giảm thời gian lưu nước trong bể do đó sẽ làm thất
thoát bùn hoạt tính ở bể lắng do quá tải thủy lực, do đó nước thải sau xử lý trở nên đục hơn. Để
bù vào tình trạng này, điều chỉnh tốc độ và thời gian thải bùn và hồi lưu bùn để giữ cho chất
rắn trong bể Aerotank càng nhiều càng tốt.
Tình trạng 2 (Thay đổi trong phương thức lấy mẫu):
Số liệu phân tích của hệ thống có thể bị ảnh hưởng lớn do sự thay đổi phương thức lấy mẫu.
Nếu vị trí lấy mẫu hoặc các thao tác thí nghiệm không thích hợp thì kết quả thí nghiệm có thể
thay đổi đáng kể. Khi mà số liệu trong phòng thí nghiệm thay đổi lớn từ ngày hôm trước cho
đến ngày hôm sau thì kiểm tra lại vị trí, thời gian lấy mẫu và các thủ tục tiến hành thí nghiệm
để tìm sự sai số. Nếu không phát hiện được sự thay đổi nào thì lúc này có thể khẳng định kết
quả thí nghiệm đó là hoàn toàn tin cậy.
18
VẬN HÀNH ĐIỆN ĐỘNG LỰC
PHẦN
5
TÀI LIỆU HDVH HTXLNT CHUNG CƯ CĂN HỘ CITY GARDEN, CÔNG SUẤT 700 M3
/NGẦY ĐÊM
5.1 Những điều cần chú ý khi vận hành
Các thiết bị sử dung nguồn cung cấp 3 pha: Bao gồm các bơm nước thải, bơm định lượng,
máy thổi khí, bơm bùn đều được cấp nguồn bằng các aptomat ở tủ động lưc. Khi vận hành
thiết bị nào, cần đảm bảo thiết bị đó được cấp nguồn.
5.2 Cảnh báo lỗi hệ thống và cách khắc phục
Lỗi của hệ thống được bộ điều khiển PLC giám sát và đưa ra cảnh báo trên còi.
Cảnh báo lỗi và thao tác cần thiết
Khi 1 thiết bị trong hệ thống có lỗi xuất hiện tuỳ theo mức độ mà hệ thống sẽ cảnh báo bằng
chuông, bằng đèn vàng
Khi chuông cảnh báo xuất hiện nhân viên vận hành có thể tắt chuông bằng cách nhấn nút
“STOP ALRM” trên mặt tủ điều khiển để để tắt chuông cảnh báo và tìm cách khắc phục lỗi.
Nếu có lỗi mới xuất hiện thì chuông tiếp tục kêu.
Nếu lỗi là nguy hiểm người vận hành có thể dừng toàn hệ thống bằng cách ấn nút dừng khẩn
cấp “EMERGENCY”.
Các trạng thái lỗi
Các thiết bị sử dụng nguồn 3 pha. Tín hiệu báo lỗi là trạng thái quá tải của động cơ, được bảo
vệ bằng rơle nhiệt ở tủ động lực. Khi động cơ làm việc qua tải thì rơle nhiệt sẽ tác động ngắt
nguồn cung cấp và hệ thống sẽ thông báo lỗi bằng chuông. Khắc phục lỗi
Khi có lỗi xuất hiện bằng chuông cảnh báo. Người vận hành trước hết phải đừng chuông bẳng
nút bấm “STOP ALRM” sau đó xác định lỗi xảy ra ở thiết bị nào bằng cách nhìn trên tủ ứng
với nút vận hành thiết bị bị lỗi hiển thị sáng màu vàng
Nếu bấm nút tắt chuông mà sau một thời gian có lỗi khác thì hệ thống lại cảnh báo bằng chông
tiếp.
Khắc phục lỗi đối với các thiết bị khởi động bằng khởi động từ
Kiểm tra lại thông số đặt của rở le nhiệt, điều chỉnh dòng bảo vệ của rơle nhiệt bằng 1.2 ÷ 1.5
dòng định mức động cơ.
Nếu dòng bảo vệ của rơ le nhiệt bằng đã được đặt đúng mà vẫn cảnh báo, thì kiểm tra tải của
động cơ.
Sau khi đa khắc phục được sự cố nhấn nút Reset trên Rơle nhiệt để cho phép thiết bị tiếp tục
làm việc.
5.3 Quy định tên thiết bị
Các thiết bị thuộc bể điều hoà TK03
Bơm nước thải: WP03.A/B
Máy thổi khí AB03A/B
Thiết bị đo mức liên tục: L03
Thiết bị đo pH: PH
Các thiết bị bể Aeroten TK04
Thiết bị đo Oxy hoà tan: DO
Các thiết bị bể lắng TK05
Bơm bùn SP05.A/B
Các thiết bị bể khử trùng TK06
Bơm nước thải: WP06.A/B
Các thiết bị khu pha chế hoá chất
1. Bơm định lượng dd dinh dưỡng:DP01/2
2. Bơm định lượng dd Kiềm: DP03/4
3. Bơm định lượng dd Clo: DP05/6
19
TÀI LIỆU HDVH HTXLNT CHUNG CƯ CĂN HỘ CITY GARDEN, CÔNG SUẤT 700 M3
/NGẦY ĐÊM
• Motor khuấy dd dinh dưỡng : MI01
• Mortor khuấy dung dịch kiềm MI02
• Motor khuấy dung dịch Clo MI03
5.4 Quy định màu sắc tín hiệu
Trạng thái đèn trên mặt tủ điều khiển
Đèn màu đen thể hiện trạng thái dừng của động cơ.
Đèn màu xanh thể hiện trạng thái thiết bị đang hoạt động (chạy hay mở)
Đèn màu vàng: thiết bị có lỗi, muốn tìm rõ lỗi gì thì xem nút hiển thị thuột thiết bị nào.
Nút dừng hệ thống khẩn cấp (EMERGENCY)
Khi hệ thống có sự cố cần dừng khẩn cấp (Ví dụ xấy ra tai nan, thiết bị đang làm việc trong
tình trạng nguy hiểm).
Nhân viên vận hành dập nhanh nút nhấn này để dừng khẩn cấp hệ thống khi có sử cố nguy
hiểm.
Khi muốn chuyển hệ thống sang chế độ hoạt động bình thường, người vận hành xuay nút nhấn
sang bên phải.
Nút chấp nhận cảnh báo và tắt chuông: (STOP ALARM)
Khi thiết bị có lỗi xuất hiện, hệ thống sẽ cảnh báo bằng chuông, người vận hành sẽ nhấn nút
này để tắt chông và khắc phục lỗi.
5.5 Hướng dận vận hành trên tủ điện
Bước 1: Tất cả các nút SWITCH để trạng thái OFF, kiểm tra nguồn điện 3 pha đã cấp
TK03: BỂ ĐIỀU HÒA
- Bơm nước thải ( 2 cái ) WP03A/B :Có 2 chế độ hoạt động: tự động và bằng tay.
Chế độ tự động : 2 bơm nước thải sẽ tự động hoạt động luân phiên nhau.
Và phụ thuộc vào mực nước trong bể. Và có 2 mực nước khống chế số lượng
hoạt động của các bơm :
+ Nếu mực nước thấp : Các bơm dừng hoạt động.
+ Nếu mực nước cao : Một bơm sẽ hoạt động, hoạt động luân phiên
+ Thời gian luân phiên giữa 2 bơm là 4 tiếng. Nếu bơm WP03A đang hoạt động
mà bị sự cố thì tự động chuyển sang bơm WP03B và ngược lại.
Chế độ hoạt động bằng tay : Khi chọn chế độ hoạt động này các bơm nước thải
sẽ hoạt động phụ thuộc vào sự lựa chọn của người sử dụng.
- Motor thổi khí (2 cái) AB02A/B: Có 2 chế độ hoạt động: tự động và bằng tay.
Chế độ tự động :2 máy thổi khí sẽ tự động hoạt động luân phiên, thời gian luân
phiên giữa 2 máy là 6 tiếng. Nếu bơm AB02A đang hoạt động mà bị sự cố thì tự động
chuyển sang bơm AB02B và ngược lại.
Chế độ hoạt động bằng tay: Khi chọn chế độ hoạt động này các máy thổi khí sẽ
hoạt động phụ thuộc vào sự lựa chọn của người sử dụng .
20
TÀI LIỆU HDVH HTXLNT CHUNG CƯ CĂN HỘ CITY GARDEN, CÔNG SUẤT 700 M3
/NGẦY ĐÊM
- Bơm định lượng DP03A/B: Có 2 chế độ hoạt động: tự động và bằng tay.
Chế độ tự động : 2 bơm hoạt động luân phiên và theo mức PH. Thời gian luân
phiên giữa 2 bơm là 30 phút.
- PH<= 5 bơm hoạt động
- PH>= 8 bơm dừng
Nếu bơm DP03A đang hoạt động mà bị sự cố thì tự động chuyển sang bơm
DP03B và ngược lại.
Chế độ hoạt động bằng tay: Khi chọn chế độ hoạt động này các máy bơm định
lượng sẽ hoạt động phụ thuộc vào sự lựa chọn của người sử dụng .
-Máy khuấy hóa chất MI-03 hoạt động bằng tay.
TK04: BỂ AEROTEN
- Bơm định lượng DP04A/B và đầu dò DO
Có 2 chế độ hoạt động: tự động và bằng tay.
Chế độ tự động : bơm sẽ hoạt động luân phiên và theo bơm nước thải
WP03A/B. Thời gian luân phiên giữa 2 bơm là 30 phút. Nếu bơm DP04A đang hoạt
động mà bị sự cố thì tự động chuyển sang bơm DP04B và ngược lại.
Chế độ hoạt động bằng tay : Khi chọn chế độ hoạt động này bơm nước thải sẽ
hoạt động phụ thuộc vào sự lựa chọn của người sử dụng.
- Máy khuấy hóa chất MI-04 hoạt động bằng tay.
TK05 : BỂ LẮNG LAMELLA
- Bơm bùn SP05A/B: Có 2 chế độ hoạt động: tự động và bằng tay.
Chế độ tự động : 2 bơm nước thải sẽ tự động hoạt động luân phiên và theo chu
kỳ. (ON 30 phút, OFF 60 phút). Nếu bơm SP05A đang hoạt động mà bị sự cố thì tự
động chuyển sang bơm SP05B và ngược lại.
Chế độ hoạt động bằng tay: Khi chọn chế độ hoạt động này các bơm nước thải
sẽ hoạt động phụ thuộc vào sự lựa chọn của người sử dụng.
TK06: BỂ KHỬ TRÙNG
- Bơm nước thải ( 2 cái ) WP06A/B :
Có 2 chế độ hoạt động: tự động và bằng tay.
Chế độ tự động : 2 bơm nước thải sẽ tự động hoạt động luân phiên nhau.
21
TÀI LIỆU HDVH HTXLNT CHUNG CƯ CĂN HỘ CITY GARDEN, CÔNG SUẤT 700 M3
/NGẦY ĐÊM
Và phụ thuộc vào mực nước trong bể. Và có 2 mực nước khống chế số lượng
hoạt động của các bơm :
+ Nếu mực nước thấp : Các bơm dừng hoạt động.
+ Nếu mực nước cao : Một bơm sẽ hoạt động, hoạt động luân phiên
+ Thời gian luân phiên giữa 2 bơm là 4 tiếng. Nếu bơm WP06A đang hoạt động
mà bị sự cố thì tự động chuyển sang bơm WP06B và ngược lại.
Chế độ hoạt động bằng tay : Khi chọn chế độ hoạt động này các bơm nước thải
sẽ hoạt động phụ thuộc vào sự lựa chọn của người sử dụng.
- Bơm định lượng DP06A/B: Có 2 chế độ hoạt động: tự động và bằng tay.
Chế độ tự động : 2 bơm hoạt động luân phiên và theo bơm WP03A/B. Thời
gian luân phiên giữa 2 bơm là 30 phút.
Nếu bơm DP06A đang hoạt động mà bị sự cố thì tự động chuyển sang bơm
DP06B và ngược lại.
Chế độ hoạt động bằng tay: Khi chọn chế độ hoạt động này các máy bơm định
lượng sẽ hoạt động phụ thuộc vào sự lựa chọn của người sử dụng .
-Máy khuấy hóa chất MI-06 hoạt động bằng tay.
TK08 : THÁP KHỬ MÙI
QH08 : Có 2 chế độ hoạt động: tự động và bằng tay.
Chế độ tự động : hoạt động tự động theo chu kỳ(ON 60 phút, OFF 30phút).
Chế độ hoạt động bằng tay: Khi chọn chế độ hoạt động này các máy bơm định
lượng sẽ hoạt động phụ thuộc vào sự lựa chọn của người sử dụng .
22
TÀI LIỆU HDVH HTXLNT CHUNG CƯ CĂN HỘ CITY GARDEN, CÔNG SUẤT 700 M3
/NGẦY ĐÊM
PHA HÓA CHẤT
23
PHẦN
6
TÀI LIỆU HDVH HTXLNT CHUNG CƯ CĂN HỘ CITY GARDEN, CÔNG SUẤT 700 M3
/NGẦY ĐÊM
6.1. Nguyên tắc
Các hóa chất pha trộn được quy đổi ra % khối lượng để tiện cho việc tính toán.
Nồng độ hóa chất khi pha trộn phải thỏa mãn các yếu tố:
- Nồng độ trong bồn phản ứng phải lớn hơn nồng độ cần thiết trong quá trình xử lý.
- Dung dịch tạo thành phải hòa tan hoàn toàn, dễ bảo quản và thao tác.
- Đảm bảo cung cấp đủ lượng yêu cầu.
- Phù hợp thể tích bình chứa
- Phù hợp công suất các bơm lưu lượng.
Các công thức cần biết
Nồng độ % khối lượng
Nồng độ phần trăm khối lượng – thể tích
chât tan
% w/v
dung dich
m
C 100%
v
x=
1 mg 1 mg
ppm
kg lit
= =
Một cách tương đối xem 1ml nước ở 25o
C = 1g, vì vậy % khối lượng-thể tích cũng chính là %
khối lượng khi thực hiện pha hóa chất trong dung môi là nước.
6.2. Liều lượng và hóa chất sử dụng
Ước tính hóa chất cần dùng cho việc vận hành HTXL ở đây đang được tham khảo. Hàm lượng
của liều lượng hóa chất phụ thuộc vào chất lượng nước thải và cần được xem lại và điều chỉnh
để đạt được kết quả xử lý tốt nhất.
1. Chất dinh dưỡng
Chất dinh dưỡng được dùng để nuôi cấy vi sinh trong bể xử lý yếm khí & hiếu khí. Chất dinh
dưỡng chỉ sử dụng trong giai đoạn khởi động ban đầu để nuôi cấy vi sinh và được châm vào bể
xử lý yếm khí & hiếu khí bằng tay.
1.1 Axit Phosphoric
Acid phosphoric 85 % được sử dụng chủ yếu cung cấp phospho cho vi sinh vật ở bể xử lý sinh
học.
Liều lượng axit phosphoric cần dùng: 0,5kg/ngày đêm.
1.2 Ure 10%
Ure được sử dụng chủ yếu cung cấp nito cho vi sinh vật ở bể xử lý sinh học.
Liều lượng Ure cần dùng: 3 kg/ngày đêm.
3. Javel NaOCl 10%
Dung dịch Javel NaOCl được dùng làm tác nhân oxid hóa chất hữu cơ khử trùng nước thải.
Nồng độ Javel thích hợp dùng khử trùng nước thải khoảng 10 ppm.
Liều lượng Javel cần dùng khoảng 7 kg/ ngày đêm.
Nồng độ Javel nên dùng trực tiếp dạng 10 %.
HÓA CHẤT TIÊU THỤ TRONG 1 NGÀY:
STT Hóa chất Đơn vị Khối lượng
01 NaOCl kg/ngày 7
Chú ý: Hàm lượng của liều lượng hóa chất còn phụ thuộc vào chất lượng nước thải.
24
TÀI LIỆU HDVH HTXLNT CHUNG CƯ CĂN HỘ CITY GARDEN, CÔNG SUẤT 700 M3
/NGẦY ĐÊM
BẢO TRÌ – BẢO DƯỠNG
THIẾT BỊ, MÁY MÓC
25
PHẦN
7
TÀI LIỆU HDVH HTXLNT CHUNG CƯ CĂN HỘ CITY GARDEN, CÔNG SUẤT 700 M3
/NGẦY ĐÊM
7.1. Mục đích
Bảo trì thiết bị máy móc được tiến hành theo định kỳ bằng các phương tiện để đảm bảo
sự vận hành các thiết bị máy móc được liên tục.
Việc bảo trì nhằm hạn chế, phòng ngừa những sự cố rủi ro do máy móc thiết bị gây nên
làm ảnh hưởng đến việc vận hành Nhà máy xử lý nước thải.
Thực hiện các công tác kiểm tra bảo dưỡng định kỳ sẽ giúp bảo quản máy tốt và không
làm ảnh hưởng đến quá trình vận hành của máy.
7.2. Nguyên tắc chung
- Kiểm tra thiết bị máy móc trước khi khởi động
- Kiểm tra tình trạng các máy.
7.3. Bảo dưỡng thiết bị máy móc
7.3.1 Các loại bơm
Hình thức bảo trì và bảo dưỡng Chu kỳ
Vệ sinh thân, cánh và các bộ phận khác trên bơm
Kiểm tra mức dầu
Kiểm tra vỏ bơm
Thay dầu và nút vặn
6 tháng
6 tháng
1 tháng
12 tháng
Ghi chú:
Nhân viên vận hành không được tự ý thay đổi loại dầu sử dụng của thiết bị khi chưa có
chỉ định của nhà sản xuất.
7.3.2 Máy thổi khí
Hình thức bảo trì và bảo dưỡng Chu kỳ
Kiểm tra dây đai
Kiểm tra mức dầu
Kiểm tra chất làm ô nhiễm bộ lọc và làm sạch nếu cần
Thay dầu
Thay bộ lọc
Kiểm tra van an toàn
Kiểm tra tiếng ồn và độ rung
Lau chùi vệ sinh
Hàng ngày
1 Tháng
1 Tháng
6 tháng
12 tháng
Hàng ngày
3 tháng
3 tháng
7.3.3 Bơm định lượng hóa chất
Hình thức bảo trì và bảo dưỡng Chu kỳ
Kiểm tra mức dầu
Thay dầu mới (cùng chủng loại)
Bôi dầu mỡ trên trục bơm
Kiểm tra độ rung hay tiếng ồn khi bơm chạy
1 Tuần
6 tháng
3 tháng
Hàng ngày
26

Stp 22 pages

  • 1.
    TP. HỒ CHÍMINH NĂM 2012 TÀI LIỆU HƯỚNG DẪN VẬN HÀNH DỰ ÁN: HỆ THỐNG XỬ LÝ NƯỚC THẢI CHUNG CƯ CĂN HỘ CITY GARDEN CÔNG SUẤT: 700 m3 /ngày.đêm ĐƠN VỊ THẦU : CÔNG TY TNHH PHÁT TRIỂN CÔNG NGHỆ & MÔI TRƯỜNG Á ĐÔNG
  • 2.
    TÀI LIỆU HDVHHTXLNT CHUNG CƯ CĂN HỘ CITY GARDEN, CÔNG SUẤT 700 M3 /NGẦY ĐÊM TỔNG QUAN HỆ THỐNG XỬ LÝ NƯỚC THẢI................................................................3 1.1 Giới thiệu hệ thống............................................................................................................4 1.2 Thông số đầu vào (trước khi xử lý)...................................................................................4 1.3 Thông số đầu ra.................................................................................................................4 1.4 Giới thiệu hệ thống............................................................................................................5 1.5 Thuyết minh công nghệ.....................................................................................................6 1.6 Thuyết minh thiết bị..........................................................................................................7 AN TOÀN VẬN HÀNH............................................................................................................8 2.1. An toàn khi làm việc trên bể............................................................................................9 2.2. An toàn làm việc thiết bị..................................................................................................9 2.3. An toàn hóa chất..............................................................................................................9 2.4. An toàn làm việc trên cao.................................................................................................9 VẬN HÀNH HỆ THỐNG......................................................................................................15 3.1. Giới thiệu.......................................................................................................................16 3.2. Kiểm soát và vận hành Hệ thống...................................................................................16 KIỂM SOÁT QUY TRÌNH....................................................................................................17 4.1 Các vấn đề chung............................................................................................................18 4.2 Những thay đổi trong hệ thống.......................................................................................18 VẬN HÀNH ĐIỆN ĐỘNG LỰC...........................................................................................18 5.1 Những điều cần chú ý khi vận hành................................................................................19 5.2 Cảnh báo lỗi hệ thống và cách khắc phục.......................................................................19 5.3 Quy định tên thiết bị........................................................................................................19 5.4 Quy định màu sắc tín hiệu..............................................................................................20 5.5 Hướng dận vận hành trên tủ điện...................................................................................20 PHA HÓA CHẤT...................................................................................................................23 6.1. Nguyên tắc.....................................................................................................................24 6.2. Liều lượng và hóa chất sử dụng ....................................................................................24 BẢO TRÌ – BẢO DƯỠNG THIẾT BỊ, MÁY MÓC............................................................25 7.1. Mục đích........................................................................................................................26 7.2. Nguyên tắc chung...........................................................................................................26 7.3. Bảo dưỡng thiết bị máy móc..........................................................................................26 2
  • 3.
    TÀI LIỆU HDVHHTXLNT CHUNG CƯ CĂN HỘ CITY GARDEN, CÔNG SUẤT 700 M3 /NGẦY ĐÊM TỔNG QUAN HỆ THỐNG XỬ LÝ NƯỚC THẢI 3 PHẦN 1
  • 4.
    TÀI LIỆU HDVHHTXLNT CHUNG CƯ CĂN HỘ CITY GARDEN, CÔNG SUẤT 700 M3 /NGẦY ĐÊM 1.1 Giới thiệu hệ thống Hệ thống xử lý nước thải đặt tại Chung cư căn hộ City Garden. Tổng công suất của Hệ thống xử lý là 700m3 /ngày đêm. Hệ thống xử lý được vận hành dựa trên các thông số như sau: 1.2 Thông số đầu vào (trước khi xử lý) TT Thông số Đơn vị Giá trị giới hạn 1 pH - 6.5-8 2 BOD5 mg/l 469-563 3 Chất rắn lơ lửng mg/l 730-1510 4 Amôni (N-NH4) mg/l 25-1210 5 Nitơ tổng mg/l 63-125 6 Dầu mỡ mg/l 104-313 7 Photpho tổng mg/l 8-42 8 Tổng coliform MNP/100ml 0.3-0.5 1.3 Thông số đầu ra Nước thải sau xử lý đạt quy chuẩn QCVN 14:2008/BTNMT, cột B TT Thông số Đơn vị Giá trị giới hạn 1 pH - 5-9 2 BOD5 mg/l 50 3 TSS Mg/l 100 4 Tổng chất rắn hòa tan Mg/l 1000 5 Sunfua (tính theo H2S) mg/l 4 6 Amoni (tính theo N) mg/l 10 7 Nitrat NO3 - (tính theo N) mg/l 50 8 Dầu mỡ ĐTV mg/l 20 9 Tổng các chất hoạt động bề mặt mg/l 10 10 Phosphat PO4 3- (tính theo P) Mg/l 10 11 Tổng coliform MNP/100ml 5000 4
  • 5.
    TÀI LIỆU HDVHHTXLNT CHUNG CƯ CĂN HỘ CITY GARDEN, CÔNG SUẤT 700 M3 /NGẦY ĐÊM 1.4 Giới thiệu hệ thống 5 Máy thổi khí Dinh dưỡng Máy thổi khí Hóa chất chỉnh pH Hoá chất khử trùng NGUỒN TIẾP NHẬN (QCVN 14-2008/BTNMT, cột B) BỂ TÁCH DẦU MỠ Grease trap BỂ AEROTANK BỂ LẮNG LAMEELA BỂ KHỬ TRÙNG BỂ TỰ HOẠI Septic tank BỂ ĐIỀU HÒA Equalizer XE HÚT BÙN XỬ LÝ Bùn tuần hoàn BỂ CHỨA BÙN THÁP KHỬ MÙI NƯỚC THẢI ĐẦU VÀO
  • 6.
    TÀI LIỆU HDVHHTXLNT CHUNG CƯ CĂN HỘ CITY GARDEN, CÔNG SUẤT 700 M3 /NGẦY ĐÊM Nước thải chứa nhiều chất ô nhiễm khác nhau, vì vậy để xử lý nước thải hiệu quả cần sử dụng kết hợp các phương pháp xử lý khác nhau. Các phương pháp xử lý bao gồm: phương pháp xử lý cơ học và phương pháp xử lý sinh học. 1.5 Thuyết minh công nghệ Hố thu Trong bể tự hoại 3 ngăn diễn ra quá trình lắng cặn và lên men, phân huỷ sinh học kỵ khí cặn lắng. Các chất hữu cơ trong nước thải và bùn cặn đã lắng, chủ yếu là các Hydrocacbon, đạm, béo, ... được phân hủy bởi các vi khuẩn kỵ khí và các loại nấm men. Nhờ vậy, cặn lên men, bớt mùi hôi, giảm thể tích. Chất không tan chuyển thành chất tan và chất khí (chủ yếu là CH4, CO2, H2S, NH3,...). Nước thải sau bể tự hoại chảy vào bể tách dầu mỡ. Bùn sau lên men trong bể tự hoại sẽ được đơn vị có chức năng hút đi xử lý. Bể tách dầu mỡ Bể tách dầu mỡ có nhiệm vụ loại bỏ một phần dầu mỡ, chất béo có trong nước thải. Bể tách mỡ có thiết kế vách ngăn thông đáy, ( . . . . ) Theo định kỳ, dầu mỡ được giữ lại sẽ được thu gom và đổ đi. Bùn sau lên men trong bể tự hoại được định kỳ bơm đi xử lý. Bể điều hòa Bể điều hòa có nhiệm vụ điều hòa lưu lượng, nồng độ: (1) quá trình xử lý sinh học được nâng cao do không bị hoặc giảm đến mức thấp nhất “shock” tải trọng, các chất ảnh hưởng đến quá trình xử lý có thể được pha loãng, pH có thể được trung hòa và ổn định; (2) chất lượng nước thải sau xử lý được cải thiện do tải trọng chất thải lên các công trình ổn định. Để tránh lắng cặn, hệ thống sục khí được lắp đặt trong bể điều hòa. Dung tích chứa nước càng lớn thì độ an toàn, về nhiều mặt, càng cao. Bể điều hoà được sử dụng để điều hoà lưu lượng, nồng độ các chất ô nhiễm và trung hoà pH (khi cần). Để bơm nước lên các công trình tiếp theo, bơm chìm thường được lắp đặt trong bể điều hòa với số lượng đủ để vận hành luân phiên và dự phòng, lắp đặt 02 bơm làm việc luân phiên. Bể Aerotank Đây là công trình đơn vị xử lý các chất ô nhiễm chính của hệ thống, nồng độ bùn hoạt tính trong bể dao động từ 1.000-3.000 mg MLSS/L. Nồng độ bùn hoạt tính càng cao, tải trọng hữu cơ áp dụng của bể càng lớn. Oxy (không khí) được cung cấp bằng các máy thổi khí và hệ thống phân phối dạng đĩa có hiệu quả cao với kích thước bọt khí nhỏ. Lượng khí cung cấp vào bể với mục đích cung cấp oxy cho vi sinh vật hiếu khí chuyển hóa chất hữu cơ hòa tan thành nước và carbonic, nitơ hữu cơ và ammonia thành nitrat NO3-, và xáo trộn đều nước thải và bùn hoạt tính, tạo điều kiện để vi sinh vật tiếp xúc tốt với các chất cần xử lý. Tải trọng chất hữu cơ của bể thổi khí thường dao dộng từ 0,32-0,64 kg BOD/m3 .ngđ và thời gian lưu nước dao động từ 4-12h. Cơ chế quá trình chuyển hóa chất hữu cơ (chất gây ô nhiễm) thành chất vô cơ (chất không gây ô nhiễm): Oxy hóa và tổng hợp COHNS (chất hữu cơ) + O2 + Chất dinh dưỡng + vi khuẩn hiếu khí  CO2 + H2O + NH3 + C5H7O2N (tế bào vi khuẩn mới) + sản phẩm khác Hô hấp nội bào C5H7O2N (tế bào) + 5O2 + vi khuẩn  5CO2 + 2H2O + NH3 + E 113 160 1 1,42 Bể lắng Lamella Hỗn hợp bùn và nước thải rời khỏi bể sinh học hiếu khí Aeroatnk chảy tràn vào bể lắng Lamella nhằm tiến hành quá trình tách nước và bùn. Bể lắng Lamella có cấu tạo giống như bể 6
  • 7.
    TÀI LIỆU HDVHHTXLNT CHUNG CƯ CĂN HỘ CITY GARDEN, CÔNG SUẤT 700 M3 /NGẦY ĐÊM lắng ngang thông thường, nhưng khác với bể lắng ngang là trong vùng lắng của bể lắng lớp mỏng được đặt thêm các bản vách ngăn bằng bằng nhựa. Các bản vách ngăn này nghiêng một góc 450 ÷ 600 so với mặt phẳng nằm ngang và song song với nhau. Do có cấu tạo thêm các bản vách ngăn nghiêng, nên bể lắng lớp mỏng có hiệu suất cao hơn so với bể lắng ngang. Diện tích bể lắng lớp mỏng giảm 5,26 lần so với bể lắng ngang thuần túy. Bùn sinh học lắng dưới đáy bể lắng thứ cấp được dẫn vào hố chứa bùn. Một lượng xác định của bùn sinh học (bùn hoạt tính) được tuần hoàn lại bể sinh học hiếu khí nhằm duy trì lượng bùn thích hợp trong bể này. Phần nước trong sau bể lắng chảy vào bể khử trùng. Bể khử trùng Phần nước trong sau bể lắng sinh học sẽ tự chảy qua bể khử trùng trước khi xả ra nguồn tiếp nhận. NaOCl là chất khử trùng được sử dụng phổ biến do hiệu quả diệt khuẩn cao và giá thành tương đối rẻ. Quá trình khử trùng nước xảy ra qua 2 giai đoạn: đầu tiên chất khử trùng khuếch tán xuyên qua vỏ tế bào vi sinh vật sau đó phản ứng với men bên trong tế bào và phá hoại quá trình trao đổi chất dẫn đến vi sinh vật bị tiêu diệt. Nước sau bể khử trùng sẽ chảy vào mương thoát nước đạt tiêu chuẩn QCVN 14:2008/BTNMT, cột B. Bể chứa bùn Lượng bùn dư từ bể lắng sinh học sẽ được đưa vào bể chứa bùn. Tại đây, bùn sẽ được lắng dưới tác dụng của trọng lực, bùn từ đáy bể chứa bùn sẽ được định kỳ được xe hút bùn bơm đem đi chôn lấp theo qui định. Tháp khử mùi Mùi sinh ra từ hệ thống xử lý nước thải được thu gom về tháp khử mùi qua hệ thống quạt hút và đường ống thu gom. Tháp khử mùi được bố trí lớp than hoạt tính có diện tích bề mặt riêng lớn 500 đến 2500m2 /g có khả năng hấp phụ mùi tốt. 1.6 Thuyết minh thiết bị Các loại bơm chìm (bơm nước thải + bơm bùn) Các bơm khác nhau được sử dụng suốt nhà máy để dẫn nước thải hoặc bùn. Các bơm được điều khiển sử dụng như một hệ thống kết nối gồm cả vận hành thủ công hoặc tự động với Hệ thống điều khiển trung tâm PLC. Bơm định lượng hóa chất Bơm định lượng là các loại bơm công suất nhỏ đặc biệt được thiết kế để chuyển hóa chất đến hệ thống. Các bơm này được thiết kế để chuyển chính xác các hóa chất và được chế tạo bởi các vật liệu thích hợp để làm giảm sự ăn mòn. Hệ thống phân phối khí dạng mịn Hệ thống phân phối khí dạng mịn được sử dụng trong bể Aerotank. Mục đích là để làm sục khí đồng đều tại mỗi bể. Máy thổi khí Máy thổi khí cung cấp oxy cho quá trình xử lý (bể điều hòa & bể xử lý sinh học hiếu khí). Các máy thổi khí vận hành tiếp nối nhau, tất cả các máy thổi khí sẽ tự động vận hành luân phiên nhau theo thời gian cài đặt của PLC. 7
  • 8.
    TÀI LIỆU HDVHHTXLNT CHUNG CƯ CĂN HỘ CITY GARDEN, CÔNG SUẤT 700 M3 /NGẦY ĐÊM AN TOÀN VẬN HÀNH 8 PHẦN 2
  • 9.
    TÀI LIỆU HDVHHTXLNT CHUNG CƯ CĂN HỘ CITY GARDEN, CÔNG SUẤT 700 M3 /NGẦY ĐÊM 2.1. An toàn khi làm việc trên bể Bất cứ khi nào làm việc quanh các bể chứa, các thủ tục về an toàn lao động phải tuyệt đối chấp hành: Đi ủng trong suốt thời gian làm việc. Mặc áo phao khi làm việc xung quanh bể nơi mà không có lan can bảo vệ. Luôn luôn giữ cho khu vực xung quanh các bể sạch và không có dầu, chất bẩn, hóa chất và dụng cụ làm việc. Tránh xa các khu vực tối đặc biệt là ban đêm. Khu vực bể Aerotank là nơi vô cùng nguy hiểm nhất là khi không có nước. Công nhân vận hành khi làm việc phía bên ngoài thành lan can phải có dây an toàn, dây đai được gắn với phần lan can có kết cấu vững chắc có thể giữ được người ở trạng thái treo lơ lửng khi chẳng may bị ngã. Làm việc theo nhóm trong trường hợp nguy hiểm. Phải có các biển báo ở vị trí xung quanh bể. 2.2. An toàn làm việc thiết bị Khi vệ sinh hoặc làm việc trên thiết bị, phải đảm bảo các điều kiện sau: Tháo nguồn điện Đảm bảo nhân viên chuyên môn để bảo dưỡng thiết bị Đặt biển báo Cấm đóng điện Treo các bảng kiểm soát để không ai được vận hành máy móc. Sử dụng phương tiện để di chuyển máy móc nặng. Bao gồm cần trục, tời và xe nâng. Đảm bảo thiết bị bảo vệ cá nhân phù hợp. 2.3. An toàn hóa chất Trước khi sử dụng các hóa chất, phải bảo đảm các điều kiện sau: Các hóa chất còn hạn sử dụng; Bảng sử dụng an toàn hóa chất (MSDS) đã được xem xét; Sử dụng các Thiết bị bảo vệ cá nhân bao gồm găng tay, mặt nạ, kính bảo vệ mắt khi làm việc với hóa chất. Phải tắm sạch sẽ và rửa mắt trong trường hợp tiếp xúc hóa chất. Đặt thiết bị chữa cháy gần các thùng chứa hóa chất. Sử dụng đúng biển báo. Các thùng chứa hóa chất tránh bị rò rỉ. Đảm bảo các chất dễ bắt cháy không được phép để gần hóa chất dễ cháy. Nhằm hạn chế tối thiểu các rủi ro có thể xảy ra trong quá trình thao tác. 2.4. An toàn làm việc trên cao Khi làm việc ở độ cao trên 2m, phải đảm bảo các điều kiện sau: Sử dụng thiết bị bảo vệ phù hợp như: dụng cụ lao động và thang. Sử dụng thang chống đỡ để tránh trượt chân. Luôn luôn sử dụng thang có 03 điểm kết nối. Nếu không thì sử dụng thang dây hoặc bậc lên xuống khi làm việc. 9
  • 10.
    VẬN HÀNH HỆTHỐNG PHẦN 3
  • 11.
    TÀI LIỆU HDVHHTXLNT CHUNG CƯ CĂN HỘ CITY GARDEN, CÔNG SUẤT 700 M3 /NGẦY ĐÊM 3.1. Giới thiệu Hệ thống xử lý nước thải sinh hoạt được vận hành công suất 700m3 /ngày.đêm. 3.2. Kiểm soát và vận hành Hệ thống Để vận hành, người vận hành phải giám sát 03 yếu tố sau: - Chất luợng của nước thải trước xử lý. - Điều kiện vận hành. - Chất lượng của nước thải sau khi xử lý. 3.2.1 Chất lượng và lưu lượng nước thải xử lý Hiệu suất của hệ thống xử lý cao phụ thuộc vào chất lượng và lưu lượng nước thải vào. Điều quan trọng là phải giám sát lưu lượng và chất lượng nước thải hàng ngày. Nồng độ COD của nước thải có thể điều chỉnh cho phù hợp với hệ thống. ΣCOD = COD * Qv ΣCOD: Tổng COD đầu vào mỗi ngày COD: Giá tri COD (sau khi kiểm tra) Qv: Tổng lưu lượng vào mỗi ngày. 3.2.2 Chất lượng nước thải sau xử lý Chất lượng nước thải sau xử lý phải đảm bảo đạt Quy chuẩn nguồn xả QCVN 14:2008/BTNMT, cột B. Quy chuẩn này bao gồm các thông số cần giám sát pH, TSS, BOD, Dầu mỡ ĐTV…. Nếu nồng độ các thông số của nước thải sau xử lý không đảm bảo Quy chuẩn Việt Nam thì phải kiểm tra lại quy trình vận hành. Cần phải giám sát lại các thông số đầu ra và so sánh với các thông số thiết kế. Cần tìm hiểu các vấn đề và điều chỉnh cho phù hợp. 16
  • 12.
    TÀI LIỆU HDVHHTXLNT CHUNG CƯ CĂN HỘ CITY GARDEN, CÔNG SUẤT 700 M3 /NGẦY ĐÊM KIỂM SOÁT QUY TRÌNH 17 PHẦN 4
  • 13.
    TÀI LIỆU HDVHHTXLNT CHUNG CƯ CĂN HỘ CITY GARDEN, CÔNG SUẤT 700 M3 /NGẦY ĐÊM 4.1 Các vấn đề chung Hệ thống có thể chấp nhận một số cú sốc ở một mức độ nào đó mà không có tác động có hại đến hệ thống, nhưng nó không thể chịu được một chuỗi sốc một cách liên tục. Trong quá trình vận hành nhiều yếu tố có thể thay đổi mà người vận hành không thể lường trước hoặc thậm chí không điều khiển được nhưng ngay sau khi phát hiện ra sự thay đổi bất thường đó người vận hành có thể bù lại bằng cách điều chỉnh các thông số vận hành. Ví dụ: Vấn đề: Giá trị pH của nguồn xả cao hay thấp. Cách giải quyết: Kiểm tra bơm hóa chất, bể chứa hóa chất, đường ống…bơm hóa chất vào nước thải. 4.2 Những thay đổi trong hệ thống Nếu hệ thống trở nên bị đảo lộn, việc làm đầu tiên trước khi thực hiện bất cứ một thay đổi nào là kiểm tra số liệu vận hành của hệ thống ít nhất 3 tuần trước đó. Sự cố có thể bắt đầu ở tuần trước đó hoặc sớm hơn. Để tìm nguyên nhân sự cố, tự người vận hành hãy kiểm tra lại theo những câu hỏi sau: Có bất kỳ sự thay đổi nào đối với các bước xử lý khác trong hệ thống như các bể điều hòa, bể Aerotank hay bể lắng Lamella? Lưu lượng và nồng độ chất thải hàng ngày có tăng hay giảm không? Phương pháp lấy mẫu có phù hợp chưa? Hầu hết những lần hệ thống bị xáo trộn là do một vài vấn đề bên trong hệ thống mà không phải do nước thải vào, trừ khi hệ thống của bạn thường xuyên bị quá tải. Do vậy, cần phải luôn luôn theo dõi và ghi chép đầy đủ các số liệu thí nghiệm cũng như hiện tượng quan sát được bằng mắt. Tình trạng 1 (Sự thay đổi lưu lượng và nồng độ BOD đầu vào) Luôn luôn phải đề phòng khả năng sốc tải trọng cũng như lưu lượng, sự cố tràn bất ngờ hoặc các sự cố về đường ống có thể làm thay đổi lưu lượng dòng vào và đặc tính chất thải. Sự cố lưu lượng tăng lên đột ngột thường từ quá trình rò rỉ nước mưa hoặc các nguồn khác vào hệ thống đường ống. Lưu lượng tăng sẽ làm giảm thời gian lưu nước trong bể do đó sẽ làm thất thoát bùn hoạt tính ở bể lắng do quá tải thủy lực, do đó nước thải sau xử lý trở nên đục hơn. Để bù vào tình trạng này, điều chỉnh tốc độ và thời gian thải bùn và hồi lưu bùn để giữ cho chất rắn trong bể Aerotank càng nhiều càng tốt. Tình trạng 2 (Thay đổi trong phương thức lấy mẫu): Số liệu phân tích của hệ thống có thể bị ảnh hưởng lớn do sự thay đổi phương thức lấy mẫu. Nếu vị trí lấy mẫu hoặc các thao tác thí nghiệm không thích hợp thì kết quả thí nghiệm có thể thay đổi đáng kể. Khi mà số liệu trong phòng thí nghiệm thay đổi lớn từ ngày hôm trước cho đến ngày hôm sau thì kiểm tra lại vị trí, thời gian lấy mẫu và các thủ tục tiến hành thí nghiệm để tìm sự sai số. Nếu không phát hiện được sự thay đổi nào thì lúc này có thể khẳng định kết quả thí nghiệm đó là hoàn toàn tin cậy. 18
  • 14.
    VẬN HÀNH ĐIỆNĐỘNG LỰC PHẦN 5
  • 15.
    TÀI LIỆU HDVHHTXLNT CHUNG CƯ CĂN HỘ CITY GARDEN, CÔNG SUẤT 700 M3 /NGẦY ĐÊM 5.1 Những điều cần chú ý khi vận hành Các thiết bị sử dung nguồn cung cấp 3 pha: Bao gồm các bơm nước thải, bơm định lượng, máy thổi khí, bơm bùn đều được cấp nguồn bằng các aptomat ở tủ động lưc. Khi vận hành thiết bị nào, cần đảm bảo thiết bị đó được cấp nguồn. 5.2 Cảnh báo lỗi hệ thống và cách khắc phục Lỗi của hệ thống được bộ điều khiển PLC giám sát và đưa ra cảnh báo trên còi. Cảnh báo lỗi và thao tác cần thiết Khi 1 thiết bị trong hệ thống có lỗi xuất hiện tuỳ theo mức độ mà hệ thống sẽ cảnh báo bằng chuông, bằng đèn vàng Khi chuông cảnh báo xuất hiện nhân viên vận hành có thể tắt chuông bằng cách nhấn nút “STOP ALRM” trên mặt tủ điều khiển để để tắt chuông cảnh báo và tìm cách khắc phục lỗi. Nếu có lỗi mới xuất hiện thì chuông tiếp tục kêu. Nếu lỗi là nguy hiểm người vận hành có thể dừng toàn hệ thống bằng cách ấn nút dừng khẩn cấp “EMERGENCY”. Các trạng thái lỗi Các thiết bị sử dụng nguồn 3 pha. Tín hiệu báo lỗi là trạng thái quá tải của động cơ, được bảo vệ bằng rơle nhiệt ở tủ động lực. Khi động cơ làm việc qua tải thì rơle nhiệt sẽ tác động ngắt nguồn cung cấp và hệ thống sẽ thông báo lỗi bằng chuông. Khắc phục lỗi Khi có lỗi xuất hiện bằng chuông cảnh báo. Người vận hành trước hết phải đừng chuông bẳng nút bấm “STOP ALRM” sau đó xác định lỗi xảy ra ở thiết bị nào bằng cách nhìn trên tủ ứng với nút vận hành thiết bị bị lỗi hiển thị sáng màu vàng Nếu bấm nút tắt chuông mà sau một thời gian có lỗi khác thì hệ thống lại cảnh báo bằng chông tiếp. Khắc phục lỗi đối với các thiết bị khởi động bằng khởi động từ Kiểm tra lại thông số đặt của rở le nhiệt, điều chỉnh dòng bảo vệ của rơle nhiệt bằng 1.2 ÷ 1.5 dòng định mức động cơ. Nếu dòng bảo vệ của rơ le nhiệt bằng đã được đặt đúng mà vẫn cảnh báo, thì kiểm tra tải của động cơ. Sau khi đa khắc phục được sự cố nhấn nút Reset trên Rơle nhiệt để cho phép thiết bị tiếp tục làm việc. 5.3 Quy định tên thiết bị Các thiết bị thuộc bể điều hoà TK03 Bơm nước thải: WP03.A/B Máy thổi khí AB03A/B Thiết bị đo mức liên tục: L03 Thiết bị đo pH: PH Các thiết bị bể Aeroten TK04 Thiết bị đo Oxy hoà tan: DO Các thiết bị bể lắng TK05 Bơm bùn SP05.A/B Các thiết bị bể khử trùng TK06 Bơm nước thải: WP06.A/B Các thiết bị khu pha chế hoá chất 1. Bơm định lượng dd dinh dưỡng:DP01/2 2. Bơm định lượng dd Kiềm: DP03/4 3. Bơm định lượng dd Clo: DP05/6 19
  • 16.
    TÀI LIỆU HDVHHTXLNT CHUNG CƯ CĂN HỘ CITY GARDEN, CÔNG SUẤT 700 M3 /NGẦY ĐÊM • Motor khuấy dd dinh dưỡng : MI01 • Mortor khuấy dung dịch kiềm MI02 • Motor khuấy dung dịch Clo MI03 5.4 Quy định màu sắc tín hiệu Trạng thái đèn trên mặt tủ điều khiển Đèn màu đen thể hiện trạng thái dừng của động cơ. Đèn màu xanh thể hiện trạng thái thiết bị đang hoạt động (chạy hay mở) Đèn màu vàng: thiết bị có lỗi, muốn tìm rõ lỗi gì thì xem nút hiển thị thuột thiết bị nào. Nút dừng hệ thống khẩn cấp (EMERGENCY) Khi hệ thống có sự cố cần dừng khẩn cấp (Ví dụ xấy ra tai nan, thiết bị đang làm việc trong tình trạng nguy hiểm). Nhân viên vận hành dập nhanh nút nhấn này để dừng khẩn cấp hệ thống khi có sử cố nguy hiểm. Khi muốn chuyển hệ thống sang chế độ hoạt động bình thường, người vận hành xuay nút nhấn sang bên phải. Nút chấp nhận cảnh báo và tắt chuông: (STOP ALARM) Khi thiết bị có lỗi xuất hiện, hệ thống sẽ cảnh báo bằng chuông, người vận hành sẽ nhấn nút này để tắt chông và khắc phục lỗi. 5.5 Hướng dận vận hành trên tủ điện Bước 1: Tất cả các nút SWITCH để trạng thái OFF, kiểm tra nguồn điện 3 pha đã cấp TK03: BỂ ĐIỀU HÒA - Bơm nước thải ( 2 cái ) WP03A/B :Có 2 chế độ hoạt động: tự động và bằng tay. Chế độ tự động : 2 bơm nước thải sẽ tự động hoạt động luân phiên nhau. Và phụ thuộc vào mực nước trong bể. Và có 2 mực nước khống chế số lượng hoạt động của các bơm : + Nếu mực nước thấp : Các bơm dừng hoạt động. + Nếu mực nước cao : Một bơm sẽ hoạt động, hoạt động luân phiên + Thời gian luân phiên giữa 2 bơm là 4 tiếng. Nếu bơm WP03A đang hoạt động mà bị sự cố thì tự động chuyển sang bơm WP03B và ngược lại. Chế độ hoạt động bằng tay : Khi chọn chế độ hoạt động này các bơm nước thải sẽ hoạt động phụ thuộc vào sự lựa chọn của người sử dụng. - Motor thổi khí (2 cái) AB02A/B: Có 2 chế độ hoạt động: tự động và bằng tay. Chế độ tự động :2 máy thổi khí sẽ tự động hoạt động luân phiên, thời gian luân phiên giữa 2 máy là 6 tiếng. Nếu bơm AB02A đang hoạt động mà bị sự cố thì tự động chuyển sang bơm AB02B và ngược lại. Chế độ hoạt động bằng tay: Khi chọn chế độ hoạt động này các máy thổi khí sẽ hoạt động phụ thuộc vào sự lựa chọn của người sử dụng . 20
  • 17.
    TÀI LIỆU HDVHHTXLNT CHUNG CƯ CĂN HỘ CITY GARDEN, CÔNG SUẤT 700 M3 /NGẦY ĐÊM - Bơm định lượng DP03A/B: Có 2 chế độ hoạt động: tự động và bằng tay. Chế độ tự động : 2 bơm hoạt động luân phiên và theo mức PH. Thời gian luân phiên giữa 2 bơm là 30 phút. - PH<= 5 bơm hoạt động - PH>= 8 bơm dừng Nếu bơm DP03A đang hoạt động mà bị sự cố thì tự động chuyển sang bơm DP03B và ngược lại. Chế độ hoạt động bằng tay: Khi chọn chế độ hoạt động này các máy bơm định lượng sẽ hoạt động phụ thuộc vào sự lựa chọn của người sử dụng . -Máy khuấy hóa chất MI-03 hoạt động bằng tay. TK04: BỂ AEROTEN - Bơm định lượng DP04A/B và đầu dò DO Có 2 chế độ hoạt động: tự động và bằng tay. Chế độ tự động : bơm sẽ hoạt động luân phiên và theo bơm nước thải WP03A/B. Thời gian luân phiên giữa 2 bơm là 30 phút. Nếu bơm DP04A đang hoạt động mà bị sự cố thì tự động chuyển sang bơm DP04B và ngược lại. Chế độ hoạt động bằng tay : Khi chọn chế độ hoạt động này bơm nước thải sẽ hoạt động phụ thuộc vào sự lựa chọn của người sử dụng. - Máy khuấy hóa chất MI-04 hoạt động bằng tay. TK05 : BỂ LẮNG LAMELLA - Bơm bùn SP05A/B: Có 2 chế độ hoạt động: tự động và bằng tay. Chế độ tự động : 2 bơm nước thải sẽ tự động hoạt động luân phiên và theo chu kỳ. (ON 30 phút, OFF 60 phút). Nếu bơm SP05A đang hoạt động mà bị sự cố thì tự động chuyển sang bơm SP05B và ngược lại. Chế độ hoạt động bằng tay: Khi chọn chế độ hoạt động này các bơm nước thải sẽ hoạt động phụ thuộc vào sự lựa chọn của người sử dụng. TK06: BỂ KHỬ TRÙNG - Bơm nước thải ( 2 cái ) WP06A/B : Có 2 chế độ hoạt động: tự động và bằng tay. Chế độ tự động : 2 bơm nước thải sẽ tự động hoạt động luân phiên nhau. 21
  • 18.
    TÀI LIỆU HDVHHTXLNT CHUNG CƯ CĂN HỘ CITY GARDEN, CÔNG SUẤT 700 M3 /NGẦY ĐÊM Và phụ thuộc vào mực nước trong bể. Và có 2 mực nước khống chế số lượng hoạt động của các bơm : + Nếu mực nước thấp : Các bơm dừng hoạt động. + Nếu mực nước cao : Một bơm sẽ hoạt động, hoạt động luân phiên + Thời gian luân phiên giữa 2 bơm là 4 tiếng. Nếu bơm WP06A đang hoạt động mà bị sự cố thì tự động chuyển sang bơm WP06B và ngược lại. Chế độ hoạt động bằng tay : Khi chọn chế độ hoạt động này các bơm nước thải sẽ hoạt động phụ thuộc vào sự lựa chọn của người sử dụng. - Bơm định lượng DP06A/B: Có 2 chế độ hoạt động: tự động và bằng tay. Chế độ tự động : 2 bơm hoạt động luân phiên và theo bơm WP03A/B. Thời gian luân phiên giữa 2 bơm là 30 phút. Nếu bơm DP06A đang hoạt động mà bị sự cố thì tự động chuyển sang bơm DP06B và ngược lại. Chế độ hoạt động bằng tay: Khi chọn chế độ hoạt động này các máy bơm định lượng sẽ hoạt động phụ thuộc vào sự lựa chọn của người sử dụng . -Máy khuấy hóa chất MI-06 hoạt động bằng tay. TK08 : THÁP KHỬ MÙI QH08 : Có 2 chế độ hoạt động: tự động và bằng tay. Chế độ tự động : hoạt động tự động theo chu kỳ(ON 60 phút, OFF 30phút). Chế độ hoạt động bằng tay: Khi chọn chế độ hoạt động này các máy bơm định lượng sẽ hoạt động phụ thuộc vào sự lựa chọn của người sử dụng . 22
  • 19.
    TÀI LIỆU HDVHHTXLNT CHUNG CƯ CĂN HỘ CITY GARDEN, CÔNG SUẤT 700 M3 /NGẦY ĐÊM PHA HÓA CHẤT 23 PHẦN 6
  • 20.
    TÀI LIỆU HDVHHTXLNT CHUNG CƯ CĂN HỘ CITY GARDEN, CÔNG SUẤT 700 M3 /NGẦY ĐÊM 6.1. Nguyên tắc Các hóa chất pha trộn được quy đổi ra % khối lượng để tiện cho việc tính toán. Nồng độ hóa chất khi pha trộn phải thỏa mãn các yếu tố: - Nồng độ trong bồn phản ứng phải lớn hơn nồng độ cần thiết trong quá trình xử lý. - Dung dịch tạo thành phải hòa tan hoàn toàn, dễ bảo quản và thao tác. - Đảm bảo cung cấp đủ lượng yêu cầu. - Phù hợp thể tích bình chứa - Phù hợp công suất các bơm lưu lượng. Các công thức cần biết Nồng độ % khối lượng Nồng độ phần trăm khối lượng – thể tích chât tan % w/v dung dich m C 100% v x= 1 mg 1 mg ppm kg lit = = Một cách tương đối xem 1ml nước ở 25o C = 1g, vì vậy % khối lượng-thể tích cũng chính là % khối lượng khi thực hiện pha hóa chất trong dung môi là nước. 6.2. Liều lượng và hóa chất sử dụng Ước tính hóa chất cần dùng cho việc vận hành HTXL ở đây đang được tham khảo. Hàm lượng của liều lượng hóa chất phụ thuộc vào chất lượng nước thải và cần được xem lại và điều chỉnh để đạt được kết quả xử lý tốt nhất. 1. Chất dinh dưỡng Chất dinh dưỡng được dùng để nuôi cấy vi sinh trong bể xử lý yếm khí & hiếu khí. Chất dinh dưỡng chỉ sử dụng trong giai đoạn khởi động ban đầu để nuôi cấy vi sinh và được châm vào bể xử lý yếm khí & hiếu khí bằng tay. 1.1 Axit Phosphoric Acid phosphoric 85 % được sử dụng chủ yếu cung cấp phospho cho vi sinh vật ở bể xử lý sinh học. Liều lượng axit phosphoric cần dùng: 0,5kg/ngày đêm. 1.2 Ure 10% Ure được sử dụng chủ yếu cung cấp nito cho vi sinh vật ở bể xử lý sinh học. Liều lượng Ure cần dùng: 3 kg/ngày đêm. 3. Javel NaOCl 10% Dung dịch Javel NaOCl được dùng làm tác nhân oxid hóa chất hữu cơ khử trùng nước thải. Nồng độ Javel thích hợp dùng khử trùng nước thải khoảng 10 ppm. Liều lượng Javel cần dùng khoảng 7 kg/ ngày đêm. Nồng độ Javel nên dùng trực tiếp dạng 10 %. HÓA CHẤT TIÊU THỤ TRONG 1 NGÀY: STT Hóa chất Đơn vị Khối lượng 01 NaOCl kg/ngày 7 Chú ý: Hàm lượng của liều lượng hóa chất còn phụ thuộc vào chất lượng nước thải. 24
  • 21.
    TÀI LIỆU HDVHHTXLNT CHUNG CƯ CĂN HỘ CITY GARDEN, CÔNG SUẤT 700 M3 /NGẦY ĐÊM BẢO TRÌ – BẢO DƯỠNG THIẾT BỊ, MÁY MÓC 25 PHẦN 7
  • 22.
    TÀI LIỆU HDVHHTXLNT CHUNG CƯ CĂN HỘ CITY GARDEN, CÔNG SUẤT 700 M3 /NGẦY ĐÊM 7.1. Mục đích Bảo trì thiết bị máy móc được tiến hành theo định kỳ bằng các phương tiện để đảm bảo sự vận hành các thiết bị máy móc được liên tục. Việc bảo trì nhằm hạn chế, phòng ngừa những sự cố rủi ro do máy móc thiết bị gây nên làm ảnh hưởng đến việc vận hành Nhà máy xử lý nước thải. Thực hiện các công tác kiểm tra bảo dưỡng định kỳ sẽ giúp bảo quản máy tốt và không làm ảnh hưởng đến quá trình vận hành của máy. 7.2. Nguyên tắc chung - Kiểm tra thiết bị máy móc trước khi khởi động - Kiểm tra tình trạng các máy. 7.3. Bảo dưỡng thiết bị máy móc 7.3.1 Các loại bơm Hình thức bảo trì và bảo dưỡng Chu kỳ Vệ sinh thân, cánh và các bộ phận khác trên bơm Kiểm tra mức dầu Kiểm tra vỏ bơm Thay dầu và nút vặn 6 tháng 6 tháng 1 tháng 12 tháng Ghi chú: Nhân viên vận hành không được tự ý thay đổi loại dầu sử dụng của thiết bị khi chưa có chỉ định của nhà sản xuất. 7.3.2 Máy thổi khí Hình thức bảo trì và bảo dưỡng Chu kỳ Kiểm tra dây đai Kiểm tra mức dầu Kiểm tra chất làm ô nhiễm bộ lọc và làm sạch nếu cần Thay dầu Thay bộ lọc Kiểm tra van an toàn Kiểm tra tiếng ồn và độ rung Lau chùi vệ sinh Hàng ngày 1 Tháng 1 Tháng 6 tháng 12 tháng Hàng ngày 3 tháng 3 tháng 7.3.3 Bơm định lượng hóa chất Hình thức bảo trì và bảo dưỡng Chu kỳ Kiểm tra mức dầu Thay dầu mới (cùng chủng loại) Bôi dầu mỡ trên trục bơm Kiểm tra độ rung hay tiếng ồn khi bơm chạy 1 Tuần 6 tháng 3 tháng Hàng ngày 26