ТЕМА УРОКА «ЛОГИЧЕСКИЕ ОСНОВЫ ПОСТРОЕНИЯ ЭВМ».
Цель урока: знакомство с логическими основами построения ЭВМ.
Задачи урока:
образовательная – сформировать представление о базовых логических элементах, объяснять
работу основных логических элементов, научиться по структурной формуле строить
функциональную схему и по функциональной схеме выписывать структурную формулу,
составлять таблицу истинности для функциональной схеме.
развивающие – развитие логического и комбинационного мышления, памяти, внимательности,
формирование элементов графической культуры;
воспитательные – воспитание познавательного интереса учащихся, умения слушать,
аккуратности в работе, трудолюбия.
Тип урока: комбинированный урок.
Формы работы: фронтальная.
Наглядность и оборудование:
 компьютеры;
 мультимедийный проектор;
 презентация, подготовленная в MS PowerPoint (файл Логические основы ПК.ppt);
 программа INFO;
 опорный конспект;
 учебники Угриновича Н.Д. для 10-11 кл. (У. п.3.7.1), Шауцуковой Л.З. (Ш. п.5.3. – 5.6.).
ПЛАН УРОКА.
1. Актуализация опорных знаний (6 минут).
2. Изучение новой темы (20 минут).
3. Решение задач (15 минут)
3. Подведение итогов урока. Домашнее задание (4 минуты).
ХОД УРОКА.
I. Актуализация опорных знаний.
Беседа.
1. Как представляется информация в ЭВМ?
2. Почему двоичная система является необходимой для ЭВМ?
3. Назовите основные устройства компьютера.
4. Назначение основных устройств ЭВМ.
5. Что такое программный принцип управления ЭВМ?
6. Как работает компьютер? (Рассказ по схеме (файл Логические основы ПК.ppt
слайд №4)).
II. НОВАЯ ТЕМА (использовать программу INFO для объяснения нового материала, файл
Логические основы ПК.ppt)
Вопросы для рассмотрения темы.
1. Логические основы построения ЭВМ.
2. Структурные формулы и функциональные схемы.
ЛОГИЧЕСКИЕ ОСНОВЫ ПОСТРОЕНИЯ ЭВМ.
1
В основе обработки компьютером информации лежит алгебра логики, разработанная Дж.
Булем. Было доказано, что все электронные схемы ЭВМ могут быть реализованы с помощью
логических элементов И, ИЛИ, НЕ.
Элемент НЕ
При подаче на вход схемы сигнала низкого уровня (0) транзистор будет заперт, т.е. ток через
него проходить не будет, и на выходе будет сигнал высокого уровня (1). Если же на вход схемы
подать сигнал высокого уровня (1), то транзистор “откроется”, начнет пропускать
электрический ток. На выходе за счет падения напряжения установится напряжение низкого
уровня. Т.о., схема преобразует сигналы одного уровня в другой, выполняя логическую
функцию.
Элемент ИЛИ
А В С
0 0 0
0 1 1
1 0 1
1 1 1
Функция “ИЛИ” - логическое сложение (дизъюнкция), ее результат равен 1, если хотя бы
1 из аргументов равен 1.
Здесь транзисторы включены параллельно друг другу. Если оба закрыты, то их общее
сопротивление велико и на выходе будет сигнал низкого уровня (логический “0”). Достаточно
подать сигнал высокого уровня (“1”) на один из транзисторов, как схема начнет пропускать ток,
и на сопротивлении нагрузки установится также сигнал высокого уровня (логическая “1”).
A A
0 1
1 0
2
A
1
Вх1
Вых
+ Еn
Rн
Вх2
- -
B
С
Вх
Вых
+ Еn
Rн
A A
1
Элемент И
A B C
0 0 0
0 1 0
1 0 0
1 1 1
Если на входы Вх1 и Вх2 поданы сигналы низкого уровня (логические “0”), то оба
транзистора закрыты, ток через них не проходит, выходное напряжение на Rн близко к нулю.
Пусть на один из входов подано высокое напряжение (“1”). Тогда соответствующий
транзистор откроется, однако другой останется закрытым, и ток через транзисторы и
сопротивление проходить не будет. Следовательно, при подаче напряжения высокого уровня
лишь на один из транзисторов схема не переключается и на выходе остается напряжение
низкого уровня.
И лишь при одновременной подаче на входы сигналов высокого уровня (“1”) на выходе
мы также получим сигнал высокого уровня.
СТРУКТУРНЫЕ ФОРМУЛЫ И ФУНКЦИОНАЛЬНЫЕ СХЕМЫ.
Схемы, изображенные на рис.1 и рис. 2 называются функциональными. Анализируя
функциональную схему, можно понять, как работает логическое устройство, т.е. дать ответ на
вопрос: какую функцию она выполняет.
рис.1.
+ Еn
Вх2
Вых
Rн
Вх1
&
A
B
C
3
С11
1
1
А
В
A B C
0 0 1
0 1 0
1 0 1
1 1 1
рис.2.
A B C
0 0 0
0 1 0
1 0 0
1 1 1
Не менее важной формой описания логических устройств является структурная формула.
Покажем на примере как выписывают формулу по заданной функциональной схеме.
&
1A
C
В
Элемент «НЕ» осуществляет логическое отрицание, следовательно на выходе этого
элемента A . Элемент “И” осуществляет логическое умножение значений A и В. Над
результатом в элементе “НЕ” осуществляется операция отрицания, т.е. вычисляется значение
выражения: À B⋅
Формула C A B= ⋅ и есть структурная формула логического устройства.
Выпишем формулу для схемы, изображенной на рисунке 1.
BAC +=
III. РЕШЕНИЕ ЗАДАЧ.
4
&
1A
C
В
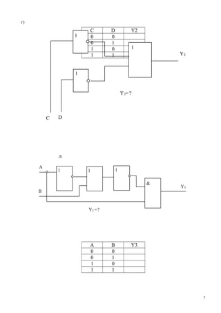
Задание 1. Для функциональной схемы выписать соответствующую структурную формулу
и построить таблицу работы.
5
&
1
1
1
X1
A B C
( )X B C A1= + ⋅
ABCX1000000100100011010011011110
11110
1 1
A B C
X2
X2=?
б)
A B Y1
0 0
0 1
1 0
1 1
6
A B C
0 0 0
0 0 1
0 1 0
0 1 1
1 0 0
1 0 1
1 1 0
1 1 1
г)
C D Y2
0 0
0 1
1 0
1 1
1 1 1

A
B
Y3
Y3 =?
Д)
A B Y3
0 0
0 1
1 0
1 1
1
1
1
Y2
C D
Y2=?
7
Ответы для задания №1.
Б) CBAX +⋅≡2
В)
BBAY +⋅=1
A B C
0 0 1
0 1 1
1 0 1
1 1 1
Г)
DCY +=2
A B C
0 0 1
0 1 1
1 0 1
1 1 0
Д)
BBAY ⋅+=3
A B C
0 0 0
0 1 0
1 0 1
1 1 0
Задание 2. Для каждой cтруктурной формулы построить функциональную схему:
8
A B C X2
0 0 0 1
0 0 1 0
0 1 0 1
0 1 1 0
1 0 0 1
1 0 1 0
1 1 0 0
1 1 1 0
А) CACBAZ ⋅++⋅= )( б) ( ) ( )ACDBX +⋅+=
Д.з.
1) У. п.3.7.1, Ш.5.3-5.6
2) Выучить конспект.
3) Выписать структурную формулу, описывающую состояние логической схемы.
Составить таблицу истинности для функциональной схемы:
4) Упростить логическую функцию ( )( ) ( )( )zyxyyxzyxf ∨∧∨∧∨≡),,( и построить
функциональную схему.
9
Y
A
B
1
Y1
1
1
А) CACBAZ ⋅++⋅= )( б) ( ) ( )ACDBX +⋅+=
Д.з.
1) У. п.3.7.1, Ш.5.3-5.6
2) Выучить конспект.
3) Выписать структурную формулу, описывающую состояние логической схемы.
Составить таблицу истинности для функциональной схемы:
4) Упростить логическую функцию ( )( ) ( )( )zyxyyxzyxf ∨∧∨∧∨≡),,( и построить
функциональную схему.
9
Y
A
B
1
Y1
1
1

Логические основы построения эвм

  • 1.
    ТЕМА УРОКА «ЛОГИЧЕСКИЕОСНОВЫ ПОСТРОЕНИЯ ЭВМ». Цель урока: знакомство с логическими основами построения ЭВМ. Задачи урока: образовательная – сформировать представление о базовых логических элементах, объяснять работу основных логических элементов, научиться по структурной формуле строить функциональную схему и по функциональной схеме выписывать структурную формулу, составлять таблицу истинности для функциональной схеме. развивающие – развитие логического и комбинационного мышления, памяти, внимательности, формирование элементов графической культуры; воспитательные – воспитание познавательного интереса учащихся, умения слушать, аккуратности в работе, трудолюбия. Тип урока: комбинированный урок. Формы работы: фронтальная. Наглядность и оборудование:  компьютеры;  мультимедийный проектор;  презентация, подготовленная в MS PowerPoint (файл Логические основы ПК.ppt);  программа INFO;  опорный конспект;  учебники Угриновича Н.Д. для 10-11 кл. (У. п.3.7.1), Шауцуковой Л.З. (Ш. п.5.3. – 5.6.). ПЛАН УРОКА. 1. Актуализация опорных знаний (6 минут). 2. Изучение новой темы (20 минут). 3. Решение задач (15 минут) 3. Подведение итогов урока. Домашнее задание (4 минуты). ХОД УРОКА. I. Актуализация опорных знаний. Беседа. 1. Как представляется информация в ЭВМ? 2. Почему двоичная система является необходимой для ЭВМ? 3. Назовите основные устройства компьютера. 4. Назначение основных устройств ЭВМ. 5. Что такое программный принцип управления ЭВМ? 6. Как работает компьютер? (Рассказ по схеме (файл Логические основы ПК.ppt слайд №4)). II. НОВАЯ ТЕМА (использовать программу INFO для объяснения нового материала, файл Логические основы ПК.ppt) Вопросы для рассмотрения темы. 1. Логические основы построения ЭВМ. 2. Структурные формулы и функциональные схемы. ЛОГИЧЕСКИЕ ОСНОВЫ ПОСТРОЕНИЯ ЭВМ. 1
  • 2.
    В основе обработкикомпьютером информации лежит алгебра логики, разработанная Дж. Булем. Было доказано, что все электронные схемы ЭВМ могут быть реализованы с помощью логических элементов И, ИЛИ, НЕ. Элемент НЕ При подаче на вход схемы сигнала низкого уровня (0) транзистор будет заперт, т.е. ток через него проходить не будет, и на выходе будет сигнал высокого уровня (1). Если же на вход схемы подать сигнал высокого уровня (1), то транзистор “откроется”, начнет пропускать электрический ток. На выходе за счет падения напряжения установится напряжение низкого уровня. Т.о., схема преобразует сигналы одного уровня в другой, выполняя логическую функцию. Элемент ИЛИ А В С 0 0 0 0 1 1 1 0 1 1 1 1 Функция “ИЛИ” - логическое сложение (дизъюнкция), ее результат равен 1, если хотя бы 1 из аргументов равен 1. Здесь транзисторы включены параллельно друг другу. Если оба закрыты, то их общее сопротивление велико и на выходе будет сигнал низкого уровня (логический “0”). Достаточно подать сигнал высокого уровня (“1”) на один из транзисторов, как схема начнет пропускать ток, и на сопротивлении нагрузки установится также сигнал высокого уровня (логическая “1”). A A 0 1 1 0 2 A 1 Вх1 Вых + Еn Rн Вх2 - - B С Вх Вых + Еn Rн A A 1
  • 3.
    Элемент И A BC 0 0 0 0 1 0 1 0 0 1 1 1 Если на входы Вх1 и Вх2 поданы сигналы низкого уровня (логические “0”), то оба транзистора закрыты, ток через них не проходит, выходное напряжение на Rн близко к нулю. Пусть на один из входов подано высокое напряжение (“1”). Тогда соответствующий транзистор откроется, однако другой останется закрытым, и ток через транзисторы и сопротивление проходить не будет. Следовательно, при подаче напряжения высокого уровня лишь на один из транзисторов схема не переключается и на выходе остается напряжение низкого уровня. И лишь при одновременной подаче на входы сигналов высокого уровня (“1”) на выходе мы также получим сигнал высокого уровня. СТРУКТУРНЫЕ ФОРМУЛЫ И ФУНКЦИОНАЛЬНЫЕ СХЕМЫ. Схемы, изображенные на рис.1 и рис. 2 называются функциональными. Анализируя функциональную схему, можно понять, как работает логическое устройство, т.е. дать ответ на вопрос: какую функцию она выполняет. рис.1. + Еn Вх2 Вых Rн Вх1 & A B C 3 С11 1 1 А В
  • 4.
    A B C 00 1 0 1 0 1 0 1 1 1 1 рис.2. A B C 0 0 0 0 1 0 1 0 0 1 1 1 Не менее важной формой описания логических устройств является структурная формула. Покажем на примере как выписывают формулу по заданной функциональной схеме. & 1A C В Элемент «НЕ» осуществляет логическое отрицание, следовательно на выходе этого элемента A . Элемент “И” осуществляет логическое умножение значений A и В. Над результатом в элементе “НЕ” осуществляется операция отрицания, т.е. вычисляется значение выражения: À B⋅ Формула C A B= ⋅ и есть структурная формула логического устройства. Выпишем формулу для схемы, изображенной на рисунке 1. BAC += III. РЕШЕНИЕ ЗАДАЧ. 4 & 1A C В
  • 5.
    Задание 1. Дляфункциональной схемы выписать соответствующую структурную формулу и построить таблицу работы. 5 & 1 1 1 X1 A B C ( )X B C A1= + ⋅ ABCX1000000100100011010011011110 11110
  • 6.
    1 1 A BC X2 X2=? б) A B Y1 0 0 0 1 1 0 1 1 6 A B C 0 0 0 0 0 1 0 1 0 0 1 1 1 0 0 1 0 1 1 1 0 1 1 1
  • 7.
    г) C D Y2 00 0 1 1 0 1 1 1 1 1 A B Y3 Y3 =? Д) A B Y3 0 0 0 1 1 0 1 1 1 1 1 Y2 C D Y2=? 7
  • 8.
    Ответы для задания№1. Б) CBAX +⋅≡2 В) BBAY +⋅=1 A B C 0 0 1 0 1 1 1 0 1 1 1 1 Г) DCY +=2 A B C 0 0 1 0 1 1 1 0 1 1 1 0 Д) BBAY ⋅+=3 A B C 0 0 0 0 1 0 1 0 1 1 1 0 Задание 2. Для каждой cтруктурной формулы построить функциональную схему: 8 A B C X2 0 0 0 1 0 0 1 0 0 1 0 1 0 1 1 0 1 0 0 1 1 0 1 0 1 1 0 0 1 1 1 0
  • 9.
    А) CACBAZ ⋅++⋅=)( б) ( ) ( )ACDBX +⋅+= Д.з. 1) У. п.3.7.1, Ш.5.3-5.6 2) Выучить конспект. 3) Выписать структурную формулу, описывающую состояние логической схемы. Составить таблицу истинности для функциональной схемы: 4) Упростить логическую функцию ( )( ) ( )( )zyxyyxzyxf ∨∧∨∧∨≡),,( и построить функциональную схему. 9 Y A B 1 Y1 1 1
  • 10.
    А) CACBAZ ⋅++⋅=)( б) ( ) ( )ACDBX +⋅+= Д.з. 1) У. п.3.7.1, Ш.5.3-5.6 2) Выучить конспект. 3) Выписать структурную формулу, описывающую состояние логической схемы. Составить таблицу истинности для функциональной схемы: 4) Упростить логическую функцию ( )( ) ( )( )zyxyyxzyxf ∨∧∨∧∨≡),,( и построить функциональную схему. 9 Y A B 1 Y1 1 1