【요약서】
【요약】
조명 기구를 구성하는 다수의 발광 다이오드에 흐르는 전류에 기초하여 상기
발광 다이오드가 정상 동작하는 지의 여부를 판별하고 고장난 발광 다이오드로 가는
신호를 재분배하여 정상 동작하는 발광 다이오드를 순차적으로 점멸함으로써 전력 소
모를 감소할 수 있는 건축물 조명 순차 점멸 제어 회로 및 이를 구비한 건축물 조명 시
스템이 개시되어 있다. 센서는 건축물용 조명 기구를 구성하는 발광 다이오드들에 흐
르는 전류 및 상기 발광 다이오드들의 전압 중 적어도 하나를 감지한다. 비교기는 상기
센서에 의해 감지된 상기 발광 다이오드들의 전류 및 전압 중의 적어도 하나를 기준값
과 비교하여 비교 결과 신호를 출력한다. 판별부는 상기 비교기로부터의 상기 비교 결
과 신호에 기초하여 발광 다이오드들 각각이 정상 동작하는 지를 판별하여 판별 신호
를 출력한다. 순차 구동부는 상기 판별부로부터의 상기 판별 신호에 기초하여 고장난
발광 다이오드로 가는 신호를 재분배하여 정상 동작하는 발광 다이오드들이 순차적으
로 구동하도록 구동 신호를 순차적으로 제공한다.
【대표도】
도 1
1/16
【색인어】
조명, 순차 점멸
2/16
【명세서】
【발명의 명칭】
건축물 조명 순차 점멸 제어 회로 및 이를 구비한 건축물 조명 시스템{Building
sequential flash control circuit and building lighting system with the same}
【도면의 간단한 설명】
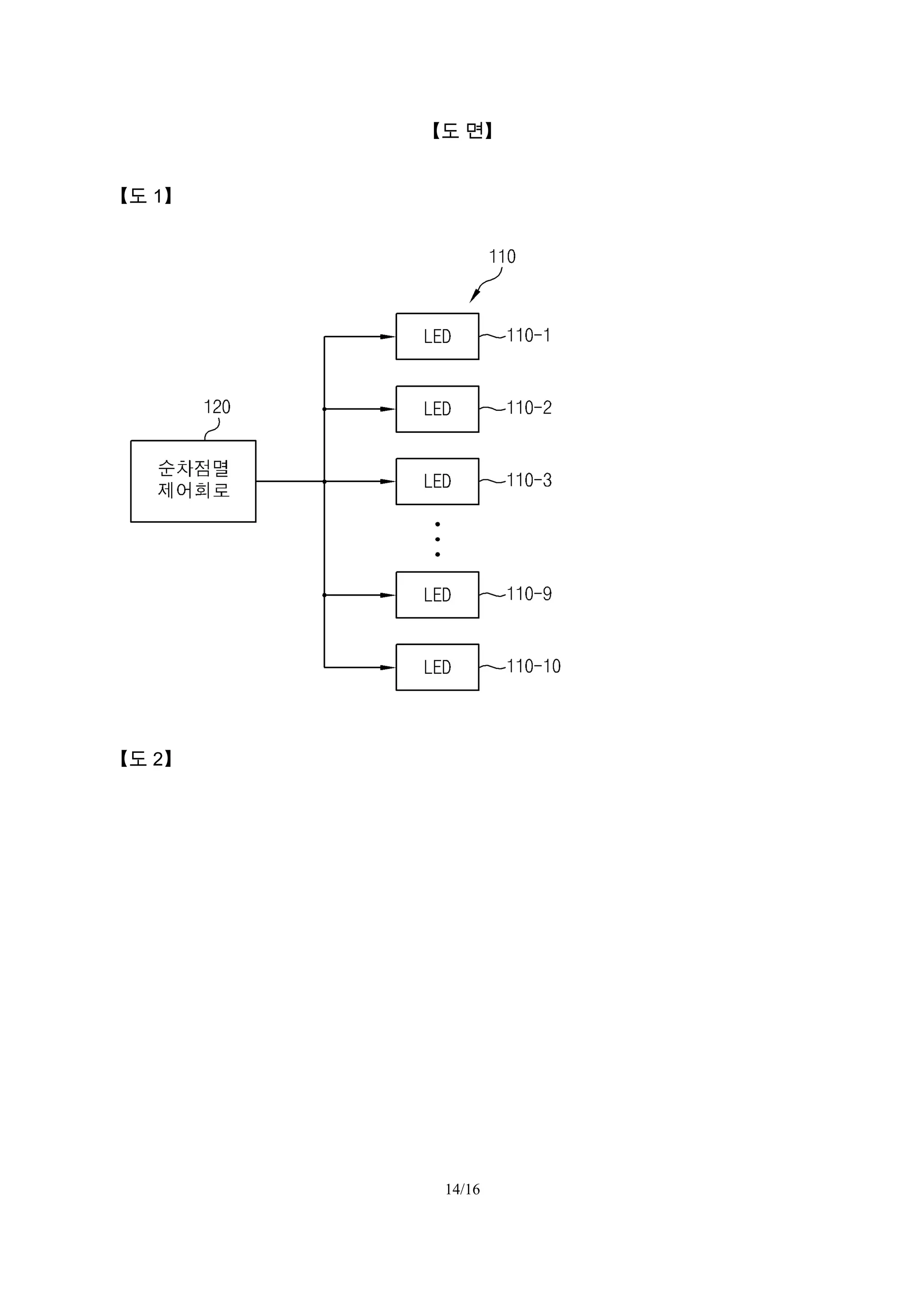
도 1은 본 발명의 실시예에 따른 순차 점멸 제어 회로를 구비한 건축물 조명 시
스템의 구성을 설명하기 위한 블럭도이다.
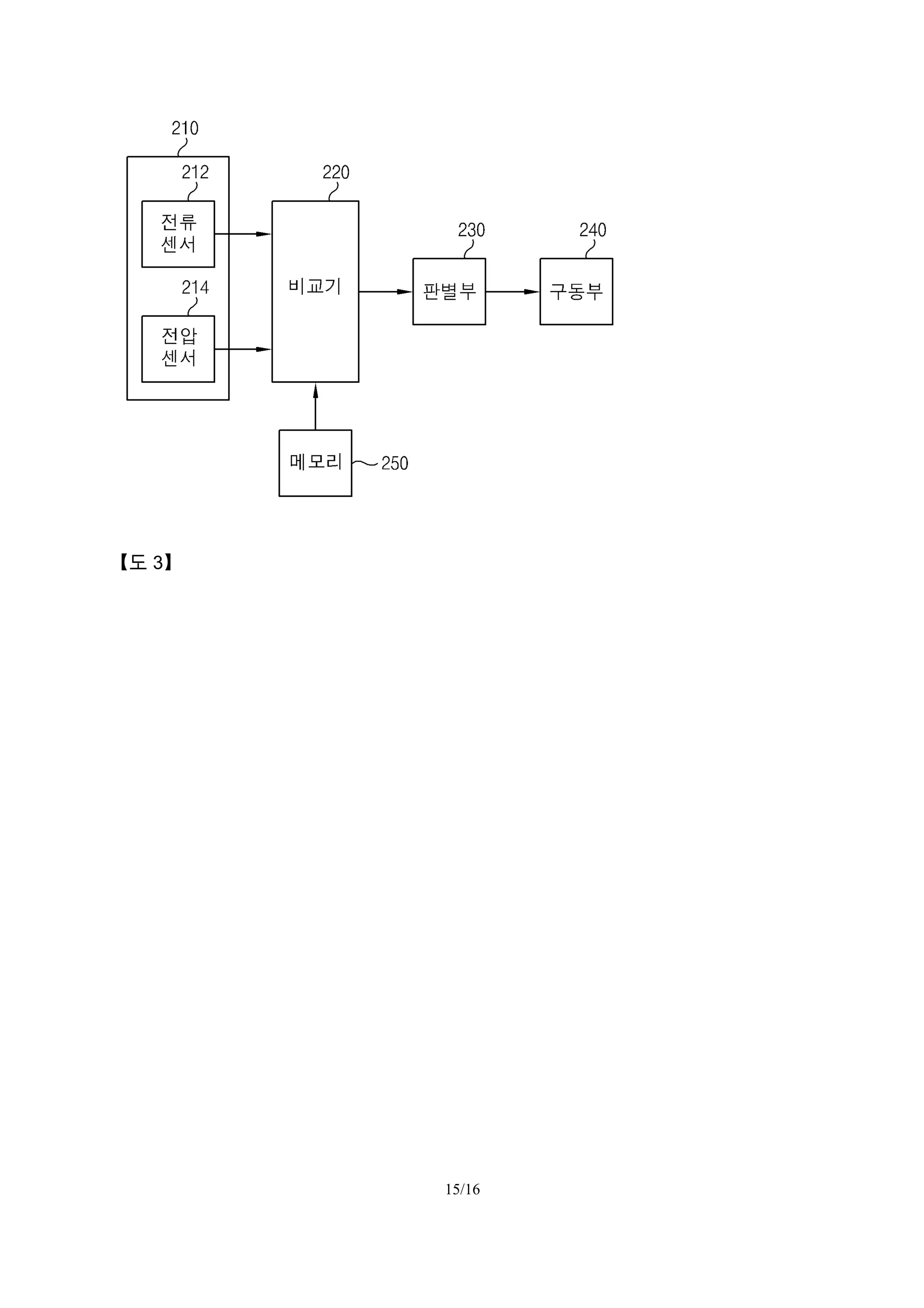
도 2는 도 1에 도시된 순차 점멸 제어 회로의 일예를 나타낸 블록도이다.
도 3은 도 2에 도시된 순차 점멸 제어 회로의 동작 타이밍을 나타낸 타이밍도이
다.
〈도면의 주요 부분에 관한 부호의 설명〉
110: 조명 기구 120: 순차 점멸 제어 회로
210: 센서 212: 전류 센서
214: 전압 센서 220: 비교기
230: 판별부 240: 순차 구동부
250: 메모리
3/16
【발명의 상세한 설명】
【발명의 목적】
【발명이 속하는 기술분야 및 그 분야의 종래기술】
본 발명은 조명 시스템에 관한 것으로서, 보다 상세하게는 조명 기구를 구성하
는 다수의 발광 다이오드에 흐르는 전류에 기초하여 상기 발광 다이오드가 정상 동작
하는 지의 여부를 판별하고 고장난 발광 다이오드로 가는 신호를 재분배하여 정상 동
작하는 발광 다이오드를 순차적으로 점멸하는 순차 점멸 제어 회로 및 이를 구비한 조
명 시스템에 관한 것이다.
주지하다시피, 현재에는 수명이 길고 전기 사용료가 저렴하며 효용 범위가 넓
은 엘이디 조명에 대한 연구가 활발히 진행되고 있다. 즉, 이러한 엘이디 조명은 자체
소비전력이 5W 미만이므로 전기 사용료를 80~90% 절감할 수 있으며, 수명은 반영구
적이기 때문에 처음 구입하고자 할 때는 경제적 부담을 느끼지만 장기적 사용 시에는
이용 가치가 크다.
현재 이러한 엘이디 조명은 에스컬레이터, 엘리베이터, 고층의 현관 로비, 백화
점 내 간접 조명 등과 같이 교체가 어렵거나 장시간 사용해야 하는 특수 장소와, 상점
이나 빌딩 등과 같은 인테리어의 직/간접 조명, 곡각 지점의 직/간접조명, 귀금속, 화장
4/16
품 등의 쇼우 케이스(Show Case) 내부 조명, 각종 무대 장치, 박물관 전시회장의 조명,
건물 또는 교량 경관 조명, 및 간판 조명 등과 같은 구조물 및 빌딩에 적용되어 사용 되
어지고 있다.
하지만, 이러한 종래의 엘이디 조명 시스템은 사용자가 조명을 동작시켜 원하
는 휘도를 얻고자 하는 경우 다수의 발광 다이오드를 동시에 온하여 하므로, 전력 소모
가 큰 문제점이 있다.
【발명이 이루고자 하는 기술적 과제】
따라서, 상기한 종래 기술의 제반 문제점을 해결하기 위하여 안출된 것으로서,
본 발명의 목적은 조명 기구를 구성하는 다수의 발광 다이오드에 흐르는 전류에 기초
하여 상기 발광 다이오드가 정상 동작하는 지의 여부를 판별하고 고장난 발광 다이오
드로 가는 신호를 재분배하여 정상 동작하는 발광 다이오드를 순차적으로 점멸함으로
써 전력 소모를 감소할 수 있는 건축물 조명 순차 점멸 제어 회로 및 이를 구비한 건축
물 조명 시스템을 제공함에 있다.
상기 목적을 달성하기 위하여, 본 발명에 따른 건축물 조명 순차 점멸 제어 회
로는 건축물용 조명 기구를 구성하는 발광 다이오드들에 흐르는 전류 및 상기 발광 다
이오드들의 전압 중 적어도 하나를 감지하는 센서; 상기 센서에 의해 감지된 상기 발광
5/16
다이오드들의 전류 및 전압 중의 적어도 하나를 기준값과 비교하여 비교 결과 신호를
출력하는 비교기; 상기 비교기로부터의 상기 비교 결과 신호에 기초하여 발광 다이오
드들 각각이 정상 동작하는 지를 판별하여 판별 신호를 출력하는 판별부; 및 상기 판별
부로부터의 상기 판별 신호에 기초하여 고장난 발광 다이오드로 가는 신호를 재분배하
여 정상 동작하는 발광 다이오드들이 순차적으로 구동하도록 구동 신호를 순차적으로
제공하는 순차 구동부를 포함하는 것을 특징으로 한다.
바람직하게는, 상기 센서는 상기 발광 다이오드들에 흐르는 전류를 감지하는
전류 센서 및 상기 발광 다이오드들의 전압을 감지하는 전안 센서를 포함한다. 더욱 바
람직하게는, 상기 비교기의 비교 결과, 상기 발광 다이오드들에 흐르는 전류가 기준 전
류 이상인 경우 상기 판별부는 해당 발광 다이오드는 정상 동작하는 것으로 판별하고,
상기 발광 다이오드들에 흐르는 전류가 상기 기준 전류 미만인 경우 해당 발광 다이오
드는 고장난 것으로 판별하고, 상기 발광 다이오드들의 전압이 기준 전압 이상인 경우
상기 판별부는 해당 발광 다이오드는 정상 동작하는 것으로 판별하고, 상기 발광 다이
오드들의 전압이 상기 기준 전압 미만인 경우 해당 발광 다이오드는 고장난 것으로 판
별한다. 가장 바람직하게는 건축물 조명 순차 점멸 제어 회로는 상기 기준값을 저장하
는 메모리를 더 포함하고, 상기 기준값은 기준 전류 및 기준 전압을 포함한다.
6/16
본 발명은 또한 다수의 발광 다이오드들로 이루어진 건축물용 조명 기구; 상기
발광 다이오드들에 흐르는 전류 및 상기 발광 다이오드들의 전압 중 적어도 하나를 감
지하는 센서; 상기 센서에 의해 감지된 상기 발광 다이오드들의 전류 및 전압 중의 적
어도 하나를 기준값과 비교하여 비교 결과 신호를 출력하는 비교기; 상기 비교기로부
터의 상기 비교 결과 신호에 기초하여 발광 다이오드들 각각이 정상 동작하는 지를 판
별하여 판별 신호를 출력하는 판별부; 및 상기 판별부로부터의 상기 판별 신호에 기초
하여 고장난 발광 다이오드로 가는 신호를 재분배하여 정상 동작하는 발광 다이오드들
이 순차적으로 구동하도록 구동 신호를 순차적으로 제공하는 순차 구동부를 포함하는
건축물 조명시스템을 제공한다.
【발명의 구성】
하기 설명 및 첨부 도면에서 구체적인 처리 흐름과 같은 많은 특정 상세 들이
본 발명의 보다 전반적인 이해를 제공하기 위해 나타나 있다. 이들 특정 상세 들 없이
본 발명이 실시될 수 있다는 것은 이 기술분야에서 통상의 지식을 가진 자에게 자명할
것이다. 그리고, 본 발명의 요지를 불필요하게 흐릴 수 있는 공지 기능 및 구성에 대한
상세한 설명은 생략한다.
이하, 첨부된 도 1에 의거하여 본 발명의 바람직한 실시예를 보다 상세하게 설
7/16
명한다.
도 1은 본 발명의 실시예에 따른 순차 점멸 제어 회로를 구비한 건축물 조명 시
스템의 구성을 설명하기 위한 블럭도이다.
상기 건축물 조명 시스템은 다수의 발광 다이오드들(100-1,110-2,110-3,
…,110-9,110-10)로 이루어진 건축물용 조명 기구(110) 및 순차 점멸 제어 회로(120)를
포함하다.
도 2는 도 1에 도시된 순차 점멸 제어 회로의 일예를 나타낸 블록도이다. 상기
순차 점멸 제어 회로는 센서(210), 비교기(220), 판별부(230), 및 순차 구동부(240)를
포함한다.
센서(210)는 상기 순차 점멸 제어 회로(120)는 상기 발광 다이오드들(100-
1,110-2,110-3,…,110-9,110-10)에 흐르는 전류 및 상기 발광 다이오드들의 전압 중 적
어도 하나를 각각 감지한다. 상기 센서(210)는 상기 발광 다이오드들에 흐르는 전류를
감지하는 전류 센서(212) 및 상기 발광 다이오드들의 전압을 감지하는 전안 센서(214)
를 포함한다.
비교기(220)는 상기 센서(210)에 의해 감지된 상기 발광 다이오드들의 전류 및
전압 중의 적어도 하나를 기준값과 비교하여 비교 결과 신호를 출력한다.
8/16
판별부(230)는 상기 비교기(220)로부터의 상기 비교 결과 신호에 기초하여 발
광 다이오드들 각각이 정상 동작하는 지를 판별하여 판별 신호를 출력한다.
순차 구동부(240)는 상기 판별부(230)로부터의 상기 판별 신호에 기초하여 고
장난 발광 다이오드로 가는 신호를 재분배하여 정상 동작하는 발광 다이오드들이 순차
적으로 구동하도록 도 3에 도시된 바와 같은 구동 신호를 순차적으로 제공한다. 이때,
순간적으로 점멸하는 발광 다이오드는 지속으로 발광하는 발광 다이오드에 비해 10배
정도의 휘도를 갖는다.
도 3은 도 2에 도시된 순차 점멸 제어 회로의 동작 타이밍을 나타낸 타이밍도으
로, 순차 구동부(240)의 출력 구동 신호가 도시되어 있다.
예를 들면, 도 2를 참조하면, 제 1, 제 2, 제 4 내지 제 6, 제 8 내지 제 10 발광 다
이오드(110-1, 110-2, 110-4, 110-5, 110-6, 110-8, 110-9, 및 110-10)가 정상 동작하고,
제 3 발광 다이오드(110-3) 및 제 7 발광 다이오드(110-7)가 고장난 것으로 가정한 경
우, 시점 t1에 순차 구동부(204)는 구동 신호 D110-1를 조명 기구(110)를 출력하여 제1
발광 다이오드(110-1)를 턴-온하고 나머지 모든 발광 다이오드(110-2 내지 110-10)를
턴-오프한다. 시점 t2에 순차 구동부(204)는 로우 레벨의 구동 신호 D110-1 및 하이 레
벨의 구동 신호 D110-2를 제1 및 제 2 발광 다이오드(110-1 및 110-2)로 각각 출력하여
9/16
턴-온되어 있던 제1 발광 다이오드(110-1)를 턴-오프하고 제2 발광 다이오드(110-2)를
턴-온한다. 시점 t3에는 제3 발광 다이오드(110-3)가 고장 상태이므로 순차 구동부
(204)는 로우 레벨의 구동 신호 D110-3 및 하이 레벨의 구동 신호 D110-4를 제 3 및 제
4 발광 다이오드(110-3 및 110-4)를 출력하여 제4 발광 다이오드(110-4)를 턴-온하고
나머지 모든 발광 다이오드(110-1, 110-2, 110-5 내지 110-10)를 턴-오프한다. 동일한
방법으로, 고장난 발광 다이오드(110-3 및 110-7)를 제외한 7개의 발광 다이오드들이
순차적으로 점멸하는 동작을 반복한다.
이상에서는 본 발명을 특정의 바람직한 실시예로서 설명하였으나, 본 발명은
상기한 실시예에 한정되지 아니하며, 특허 청구의 범위에서 청구하는 본 발명의 요지
를 벗어남이 없이 당해 발명이 속하는 분야에서 통상의 지식을 가진 자라면 누구든지
다양한 변형이 가능할 것이다.
【발명의 효과】
따라서, 본 발명의 건축물 조명 시스템에 의하면, 발광 다이오드에 흐르는 전류
에 기초하여 발광 다이오드의 정상 동작 여부를 판단하고 고장난 발광 다이오드로 가
는 신호를 재분배하여 정상 동작하는 발광 다이오드들이 순차적으로 점멸하도록 구동
신호를 순차적으로 제공함으로써, 저 전력으로 고 휘도의 조명을 얻을 수 있다.
10/16
【특허청구범위】
【청구항 1】
건축물용 조명 기구를 구성하는 발광 다이오드들에 흐르는 전류 및 상기 발광
다이오드들의 전압 중 적어도 하나를 감지하는 센서;
상기 센서에 의해 감지된 상기 발광 다이오드들의 전류 및 전압 중의 적어도 하
나를 기준값과 비교하여 비교 결과 신호를 출력하는 비교기;
상기 비교기로부터의 상기 비교 결과 신호에 기초하여 발광 다이오드들 각각
이 정상 동작하는 지를 판별하여 판별 신호를 출력하는 판별부; 및
상기 판별부로부터의 상기 판별 신호에 기초하여 고장난 발광 다이오드로 가
는 신호를 재분배하여 정상 동작하는 발광 다이오드들이 순차적으로 구동하도록 구동
신호를 순차적으로 제공하는 순차 구동부를 포함하는 건축물 조명 순차 점멸 제어 회
로.
【청구항 2】
제 1 항에 있어서, 상기 센서는 상기 발광 다이오드들에 흐르는 전류를 감지하
는 전류 센서 및 상기 발광 다이오드들의 전압을 감지하는 전안 센서를 포함하는 건축
물 조명 순차 점멸 제어 회로.
11/16
【청구항 3】
제 2 항에 있어서, 상기 비교기의 비교 결과, 상기 발광 다이오드들에 흐르는 전
류가 기준 전류 이상인 경우 상기 판별부는 해당 발광 다이오드는 정상 동작하는 것으
로 판별하고, 상기 발광 다이오드들에 흐르는 전류가 상기 기준 전류 미만인 경우 해당
발광 다이오드는 고장난 것으로 판별하는 건축물 조명 순차 점멸 제어 회로.
【청구항 4】
제 2 항에 있어서, 상기 비교기의 비교 결과, 상기 발광 다이오드들의 전압이 기
준 전압 이상인 경우 상기 판별부는 해당 발광 다이오드는 정상 동작하는 것으로 판별
하고, 상기 발광 다이오드들의 전압이 상기 기준 전압 미만인 경우 해당 발광 다이오드
는 고장난 것으로 판별하는 건축물 조명 순차 점멸 제어 회로.
【청구항 5】
제1항에 있어서, 상기 기준값을 저장하는 메모리를 더 포함하고, 상기 기준값
은 기준 전류 및 기준 전압을 포함하는 건축물 조명 순차 점멸 제어 회로.
【청구항 6】
다수의 발광 다이오드들로 이루어진 건축물용 조명 기구;
상기 발광 다이오드들에 흐르는 전류 및 상기 발광 다이오드들의 전압 중 적어
12/16
도 하나를 감지하는 센서;
상기 센서에 의해 감지된 상기 발광 다이오드들의 전류 및 전압 중의 적어도 하
나를 기준값과 비교하여 비교 결과 신호를 출력하는 비교기;
상기 비교기로부터의 상기 비교 결과 신호에 기초하여 발광 다이오드들 각각
이 정상 동작하는 지를 판별하여 판별 신호를 출력하는 판별부; 및
상기 판별부로부터의 상기 판별 신호에 기초하여 고장난 발광 다이오드로 가
는 신호를 재분배하여 정상 동작하는 발광 다이오드들이 순차적으로 구동하도록 구동
신호를 순차적으로 제공하는 순차 구동부를 포함하는 건축물 조명시스템.
13/16
【도 면】
【도 1】
【도 2】
14/16
【도 3】
15/16
16/16

M04 5399

  • 1.
    【요약서】 【요약】 조명 기구를 구성하는다수의 발광 다이오드에 흐르는 전류에 기초하여 상기 발광 다이오드가 정상 동작하는 지의 여부를 판별하고 고장난 발광 다이오드로 가는 신호를 재분배하여 정상 동작하는 발광 다이오드를 순차적으로 점멸함으로써 전력 소 모를 감소할 수 있는 건축물 조명 순차 점멸 제어 회로 및 이를 구비한 건축물 조명 시 스템이 개시되어 있다. 센서는 건축물용 조명 기구를 구성하는 발광 다이오드들에 흐 르는 전류 및 상기 발광 다이오드들의 전압 중 적어도 하나를 감지한다. 비교기는 상기 센서에 의해 감지된 상기 발광 다이오드들의 전류 및 전압 중의 적어도 하나를 기준값 과 비교하여 비교 결과 신호를 출력한다. 판별부는 상기 비교기로부터의 상기 비교 결 과 신호에 기초하여 발광 다이오드들 각각이 정상 동작하는 지를 판별하여 판별 신호 를 출력한다. 순차 구동부는 상기 판별부로부터의 상기 판별 신호에 기초하여 고장난 발광 다이오드로 가는 신호를 재분배하여 정상 동작하는 발광 다이오드들이 순차적으 로 구동하도록 구동 신호를 순차적으로 제공한다. 【대표도】 도 1 1/16
  • 2.
  • 3.
    【명세서】 【발명의 명칭】 건축물 조명순차 점멸 제어 회로 및 이를 구비한 건축물 조명 시스템{Building sequential flash control circuit and building lighting system with the same} 【도면의 간단한 설명】 도 1은 본 발명의 실시예에 따른 순차 점멸 제어 회로를 구비한 건축물 조명 시 스템의 구성을 설명하기 위한 블럭도이다. 도 2는 도 1에 도시된 순차 점멸 제어 회로의 일예를 나타낸 블록도이다. 도 3은 도 2에 도시된 순차 점멸 제어 회로의 동작 타이밍을 나타낸 타이밍도이 다. 〈도면의 주요 부분에 관한 부호의 설명〉 110: 조명 기구 120: 순차 점멸 제어 회로 210: 센서 212: 전류 센서 214: 전압 센서 220: 비교기 230: 판별부 240: 순차 구동부 250: 메모리 3/16
  • 4.
    【발명의 상세한 설명】 【발명의목적】 【발명이 속하는 기술분야 및 그 분야의 종래기술】 본 발명은 조명 시스템에 관한 것으로서, 보다 상세하게는 조명 기구를 구성하 는 다수의 발광 다이오드에 흐르는 전류에 기초하여 상기 발광 다이오드가 정상 동작 하는 지의 여부를 판별하고 고장난 발광 다이오드로 가는 신호를 재분배하여 정상 동 작하는 발광 다이오드를 순차적으로 점멸하는 순차 점멸 제어 회로 및 이를 구비한 조 명 시스템에 관한 것이다. 주지하다시피, 현재에는 수명이 길고 전기 사용료가 저렴하며 효용 범위가 넓 은 엘이디 조명에 대한 연구가 활발히 진행되고 있다. 즉, 이러한 엘이디 조명은 자체 소비전력이 5W 미만이므로 전기 사용료를 80~90% 절감할 수 있으며, 수명은 반영구 적이기 때문에 처음 구입하고자 할 때는 경제적 부담을 느끼지만 장기적 사용 시에는 이용 가치가 크다. 현재 이러한 엘이디 조명은 에스컬레이터, 엘리베이터, 고층의 현관 로비, 백화 점 내 간접 조명 등과 같이 교체가 어렵거나 장시간 사용해야 하는 특수 장소와, 상점 이나 빌딩 등과 같은 인테리어의 직/간접 조명, 곡각 지점의 직/간접조명, 귀금속, 화장 4/16
  • 5.
    품 등의 쇼우케이스(Show Case) 내부 조명, 각종 무대 장치, 박물관 전시회장의 조명, 건물 또는 교량 경관 조명, 및 간판 조명 등과 같은 구조물 및 빌딩에 적용되어 사용 되 어지고 있다. 하지만, 이러한 종래의 엘이디 조명 시스템은 사용자가 조명을 동작시켜 원하 는 휘도를 얻고자 하는 경우 다수의 발광 다이오드를 동시에 온하여 하므로, 전력 소모 가 큰 문제점이 있다. 【발명이 이루고자 하는 기술적 과제】 따라서, 상기한 종래 기술의 제반 문제점을 해결하기 위하여 안출된 것으로서, 본 발명의 목적은 조명 기구를 구성하는 다수의 발광 다이오드에 흐르는 전류에 기초 하여 상기 발광 다이오드가 정상 동작하는 지의 여부를 판별하고 고장난 발광 다이오 드로 가는 신호를 재분배하여 정상 동작하는 발광 다이오드를 순차적으로 점멸함으로 써 전력 소모를 감소할 수 있는 건축물 조명 순차 점멸 제어 회로 및 이를 구비한 건축 물 조명 시스템을 제공함에 있다. 상기 목적을 달성하기 위하여, 본 발명에 따른 건축물 조명 순차 점멸 제어 회 로는 건축물용 조명 기구를 구성하는 발광 다이오드들에 흐르는 전류 및 상기 발광 다 이오드들의 전압 중 적어도 하나를 감지하는 센서; 상기 센서에 의해 감지된 상기 발광 5/16
  • 6.
    다이오드들의 전류 및전압 중의 적어도 하나를 기준값과 비교하여 비교 결과 신호를 출력하는 비교기; 상기 비교기로부터의 상기 비교 결과 신호에 기초하여 발광 다이오 드들 각각이 정상 동작하는 지를 판별하여 판별 신호를 출력하는 판별부; 및 상기 판별 부로부터의 상기 판별 신호에 기초하여 고장난 발광 다이오드로 가는 신호를 재분배하 여 정상 동작하는 발광 다이오드들이 순차적으로 구동하도록 구동 신호를 순차적으로 제공하는 순차 구동부를 포함하는 것을 특징으로 한다. 바람직하게는, 상기 센서는 상기 발광 다이오드들에 흐르는 전류를 감지하는 전류 센서 및 상기 발광 다이오드들의 전압을 감지하는 전안 센서를 포함한다. 더욱 바 람직하게는, 상기 비교기의 비교 결과, 상기 발광 다이오드들에 흐르는 전류가 기준 전 류 이상인 경우 상기 판별부는 해당 발광 다이오드는 정상 동작하는 것으로 판별하고, 상기 발광 다이오드들에 흐르는 전류가 상기 기준 전류 미만인 경우 해당 발광 다이오 드는 고장난 것으로 판별하고, 상기 발광 다이오드들의 전압이 기준 전압 이상인 경우 상기 판별부는 해당 발광 다이오드는 정상 동작하는 것으로 판별하고, 상기 발광 다이 오드들의 전압이 상기 기준 전압 미만인 경우 해당 발광 다이오드는 고장난 것으로 판 별한다. 가장 바람직하게는 건축물 조명 순차 점멸 제어 회로는 상기 기준값을 저장하 는 메모리를 더 포함하고, 상기 기준값은 기준 전류 및 기준 전압을 포함한다. 6/16
  • 7.
    본 발명은 또한다수의 발광 다이오드들로 이루어진 건축물용 조명 기구; 상기 발광 다이오드들에 흐르는 전류 및 상기 발광 다이오드들의 전압 중 적어도 하나를 감 지하는 센서; 상기 센서에 의해 감지된 상기 발광 다이오드들의 전류 및 전압 중의 적 어도 하나를 기준값과 비교하여 비교 결과 신호를 출력하는 비교기; 상기 비교기로부 터의 상기 비교 결과 신호에 기초하여 발광 다이오드들 각각이 정상 동작하는 지를 판 별하여 판별 신호를 출력하는 판별부; 및 상기 판별부로부터의 상기 판별 신호에 기초 하여 고장난 발광 다이오드로 가는 신호를 재분배하여 정상 동작하는 발광 다이오드들 이 순차적으로 구동하도록 구동 신호를 순차적으로 제공하는 순차 구동부를 포함하는 건축물 조명시스템을 제공한다. 【발명의 구성】 하기 설명 및 첨부 도면에서 구체적인 처리 흐름과 같은 많은 특정 상세 들이 본 발명의 보다 전반적인 이해를 제공하기 위해 나타나 있다. 이들 특정 상세 들 없이 본 발명이 실시될 수 있다는 것은 이 기술분야에서 통상의 지식을 가진 자에게 자명할 것이다. 그리고, 본 발명의 요지를 불필요하게 흐릴 수 있는 공지 기능 및 구성에 대한 상세한 설명은 생략한다. 이하, 첨부된 도 1에 의거하여 본 발명의 바람직한 실시예를 보다 상세하게 설 7/16
  • 8.
    명한다. 도 1은 본발명의 실시예에 따른 순차 점멸 제어 회로를 구비한 건축물 조명 시 스템의 구성을 설명하기 위한 블럭도이다. 상기 건축물 조명 시스템은 다수의 발광 다이오드들(100-1,110-2,110-3, …,110-9,110-10)로 이루어진 건축물용 조명 기구(110) 및 순차 점멸 제어 회로(120)를 포함하다. 도 2는 도 1에 도시된 순차 점멸 제어 회로의 일예를 나타낸 블록도이다. 상기 순차 점멸 제어 회로는 센서(210), 비교기(220), 판별부(230), 및 순차 구동부(240)를 포함한다. 센서(210)는 상기 순차 점멸 제어 회로(120)는 상기 발광 다이오드들(100- 1,110-2,110-3,…,110-9,110-10)에 흐르는 전류 및 상기 발광 다이오드들의 전압 중 적 어도 하나를 각각 감지한다. 상기 센서(210)는 상기 발광 다이오드들에 흐르는 전류를 감지하는 전류 센서(212) 및 상기 발광 다이오드들의 전압을 감지하는 전안 센서(214) 를 포함한다. 비교기(220)는 상기 센서(210)에 의해 감지된 상기 발광 다이오드들의 전류 및 전압 중의 적어도 하나를 기준값과 비교하여 비교 결과 신호를 출력한다. 8/16
  • 9.
    판별부(230)는 상기 비교기(220)로부터의상기 비교 결과 신호에 기초하여 발 광 다이오드들 각각이 정상 동작하는 지를 판별하여 판별 신호를 출력한다. 순차 구동부(240)는 상기 판별부(230)로부터의 상기 판별 신호에 기초하여 고 장난 발광 다이오드로 가는 신호를 재분배하여 정상 동작하는 발광 다이오드들이 순차 적으로 구동하도록 도 3에 도시된 바와 같은 구동 신호를 순차적으로 제공한다. 이때, 순간적으로 점멸하는 발광 다이오드는 지속으로 발광하는 발광 다이오드에 비해 10배 정도의 휘도를 갖는다. 도 3은 도 2에 도시된 순차 점멸 제어 회로의 동작 타이밍을 나타낸 타이밍도으 로, 순차 구동부(240)의 출력 구동 신호가 도시되어 있다. 예를 들면, 도 2를 참조하면, 제 1, 제 2, 제 4 내지 제 6, 제 8 내지 제 10 발광 다 이오드(110-1, 110-2, 110-4, 110-5, 110-6, 110-8, 110-9, 및 110-10)가 정상 동작하고, 제 3 발광 다이오드(110-3) 및 제 7 발광 다이오드(110-7)가 고장난 것으로 가정한 경 우, 시점 t1에 순차 구동부(204)는 구동 신호 D110-1를 조명 기구(110)를 출력하여 제1 발광 다이오드(110-1)를 턴-온하고 나머지 모든 발광 다이오드(110-2 내지 110-10)를 턴-오프한다. 시점 t2에 순차 구동부(204)는 로우 레벨의 구동 신호 D110-1 및 하이 레 벨의 구동 신호 D110-2를 제1 및 제 2 발광 다이오드(110-1 및 110-2)로 각각 출력하여 9/16
  • 10.
    턴-온되어 있던 제1발광 다이오드(110-1)를 턴-오프하고 제2 발광 다이오드(110-2)를 턴-온한다. 시점 t3에는 제3 발광 다이오드(110-3)가 고장 상태이므로 순차 구동부 (204)는 로우 레벨의 구동 신호 D110-3 및 하이 레벨의 구동 신호 D110-4를 제 3 및 제 4 발광 다이오드(110-3 및 110-4)를 출력하여 제4 발광 다이오드(110-4)를 턴-온하고 나머지 모든 발광 다이오드(110-1, 110-2, 110-5 내지 110-10)를 턴-오프한다. 동일한 방법으로, 고장난 발광 다이오드(110-3 및 110-7)를 제외한 7개의 발광 다이오드들이 순차적으로 점멸하는 동작을 반복한다. 이상에서는 본 발명을 특정의 바람직한 실시예로서 설명하였으나, 본 발명은 상기한 실시예에 한정되지 아니하며, 특허 청구의 범위에서 청구하는 본 발명의 요지 를 벗어남이 없이 당해 발명이 속하는 분야에서 통상의 지식을 가진 자라면 누구든지 다양한 변형이 가능할 것이다. 【발명의 효과】 따라서, 본 발명의 건축물 조명 시스템에 의하면, 발광 다이오드에 흐르는 전류 에 기초하여 발광 다이오드의 정상 동작 여부를 판단하고 고장난 발광 다이오드로 가 는 신호를 재분배하여 정상 동작하는 발광 다이오드들이 순차적으로 점멸하도록 구동 신호를 순차적으로 제공함으로써, 저 전력으로 고 휘도의 조명을 얻을 수 있다. 10/16
  • 11.
    【특허청구범위】 【청구항 1】 건축물용 조명기구를 구성하는 발광 다이오드들에 흐르는 전류 및 상기 발광 다이오드들의 전압 중 적어도 하나를 감지하는 센서; 상기 센서에 의해 감지된 상기 발광 다이오드들의 전류 및 전압 중의 적어도 하 나를 기준값과 비교하여 비교 결과 신호를 출력하는 비교기; 상기 비교기로부터의 상기 비교 결과 신호에 기초하여 발광 다이오드들 각각 이 정상 동작하는 지를 판별하여 판별 신호를 출력하는 판별부; 및 상기 판별부로부터의 상기 판별 신호에 기초하여 고장난 발광 다이오드로 가 는 신호를 재분배하여 정상 동작하는 발광 다이오드들이 순차적으로 구동하도록 구동 신호를 순차적으로 제공하는 순차 구동부를 포함하는 건축물 조명 순차 점멸 제어 회 로. 【청구항 2】 제 1 항에 있어서, 상기 센서는 상기 발광 다이오드들에 흐르는 전류를 감지하 는 전류 센서 및 상기 발광 다이오드들의 전압을 감지하는 전안 센서를 포함하는 건축 물 조명 순차 점멸 제어 회로. 11/16
  • 12.
    【청구항 3】 제 2항에 있어서, 상기 비교기의 비교 결과, 상기 발광 다이오드들에 흐르는 전 류가 기준 전류 이상인 경우 상기 판별부는 해당 발광 다이오드는 정상 동작하는 것으 로 판별하고, 상기 발광 다이오드들에 흐르는 전류가 상기 기준 전류 미만인 경우 해당 발광 다이오드는 고장난 것으로 판별하는 건축물 조명 순차 점멸 제어 회로. 【청구항 4】 제 2 항에 있어서, 상기 비교기의 비교 결과, 상기 발광 다이오드들의 전압이 기 준 전압 이상인 경우 상기 판별부는 해당 발광 다이오드는 정상 동작하는 것으로 판별 하고, 상기 발광 다이오드들의 전압이 상기 기준 전압 미만인 경우 해당 발광 다이오드 는 고장난 것으로 판별하는 건축물 조명 순차 점멸 제어 회로. 【청구항 5】 제1항에 있어서, 상기 기준값을 저장하는 메모리를 더 포함하고, 상기 기준값 은 기준 전류 및 기준 전압을 포함하는 건축물 조명 순차 점멸 제어 회로. 【청구항 6】 다수의 발광 다이오드들로 이루어진 건축물용 조명 기구; 상기 발광 다이오드들에 흐르는 전류 및 상기 발광 다이오드들의 전압 중 적어 12/16
  • 13.
    도 하나를 감지하는센서; 상기 센서에 의해 감지된 상기 발광 다이오드들의 전류 및 전압 중의 적어도 하 나를 기준값과 비교하여 비교 결과 신호를 출력하는 비교기; 상기 비교기로부터의 상기 비교 결과 신호에 기초하여 발광 다이오드들 각각 이 정상 동작하는 지를 판별하여 판별 신호를 출력하는 판별부; 및 상기 판별부로부터의 상기 판별 신호에 기초하여 고장난 발광 다이오드로 가 는 신호를 재분배하여 정상 동작하는 발광 다이오드들이 순차적으로 구동하도록 구동 신호를 순차적으로 제공하는 순차 구동부를 포함하는 건축물 조명시스템. 13/16
  • 14.
  • 15.
  • 16.