‫رشت‬ ‫پسران‬ ‫ای‬ ‫حرفه‬ ‫فنی‬ ‫آموزشکده‬
(‫چمران‬ ‫شهید‬)
‫عنوان‬:‫نوری‬ ‫فیبر‬
‫نویسنده‬:‫مصطفی‬ ‫سامان‬
‫راهنما‬ ‫استاد‬:‫غالمی‬ ‫احمد‬ ‫مهندس‬ ‫جناب‬
1
‫فهرست‬:
5………………………………………………………………………………
8……..……………………………………………………………………………………………
10…………………………………………………………………………..........
11…………………………………………………………………………………….
25…………………………………………………………………………………....
27……………………………………………………………………………..
31………………………………………………………………………..
32……………………………………………………………………………………………
34…………………………………………………………………………………
34……………………………………………………………………………..........
‫اول‬ ‫فصل‬:‫نوری‬ ‫فیبر‬ ‫با‬ ‫آشنای‬
1-1‫تاریخچه‬
1-2‫چیست؟‬ ‫نوری‬ ‫فیبر‬
1-3‫نوری‬ ‫فیبر‬ ‫مزایای‬
1-4‫نوری‬ ‫فیبر‬ ‫معایب‬
1-5‫نوری‬ ‫فیبر‬ ‫های‬ ‫کاربرد‬
‫دوم‬ ‫فصل‬:‫نوری‬ ‫های‬ ‫فیبر‬ ‫فیزیک‬
2-1‫چیست؟‬ ‫نور‬
2-2‫نور‬ ‫قوانین‬ ‫و‬ ‫تعاریف‬
2-2-1‫شکست‬ ‫ضریب‬
2
37…………………………………………………………………………….
39………………………………………………………………………………………….
41……………………………………….………
43…………………………………………………………………..……….
45…………………………………………………………………………….………..
47…………………………………………………………………....…….
48…………………………………………………………………….…………….
51…………………………………………………………………...…..
52………………..………………………………………………………………….…
54…………………………………………...….
60………………….………...………………………………….
63……..…………………………………………….…….
2-2-2‫انکسار‬ ‫و‬ ‫تابش،انعکاس‬
2-2-3‫اسنل‬ ‫قوانین‬
2-3‫مختلف‬ ‫محیط‬ ‫دو‬ ‫در‬ ‫نور‬ ‫تابش‬ ‫مختلف‬ ‫های‬ ‫حالت‬
2-4‫نوری‬ ‫فیبر‬ ‫در‬ ‫نور‬ ‫انتقال‬
2-5‫پزیرش‬ ‫ی‬ ‫زاویه‬
‫سوم‬ ‫فصل‬:‫نوری‬ ‫فیبر‬ ‫ساختمان‬
3-1‫نوری‬ ‫فیبر‬ ‫ساختمان‬
3-2‫گداخته‬ ‫سلیکای‬ ‫خصوصیات‬
3-3‫نوری‬ ‫فیبر‬ ‫انواع‬
3-3-1‫آن‬ ‫از‬ ‫گذرنده‬ ‫ی‬ ‫اشعه‬ ‫نظر‬ ‫از‬ ‫نوری‬ ‫فیبر‬ ‫انواع‬
3-3-2‫نظر‬ ‫از‬ ‫نوری‬ ‫فیبر‬ ‫انواع‬‫حفاظت‬
3-3-3‫نظر‬ ‫از‬ ‫نوری‬ ‫فیبر‬ ‫انواع‬‫استفاده‬ ‫محل‬
3
70…………………………………………………
83…………………………………………………………………….
91………………………………………………………………………..
92…………………………………………………………………………………..
94…………………………………………………………………………………………….
95………………………………………………………………………………………........
98……………………………………………………………………………………...
99……………………………………………………………………....
100……………………………………………………………………………………..
100…………………………………………………………………….
102………………………………………………………………………………………….
3-3-4‫نظر‬ ‫از‬ ‫نوری‬ ‫فیبر‬ ‫انواع‬‫آن‬ ‫ی‬ ‫سازنده‬ ‫ی‬ ‫ماده‬
3-4‫میشود‬ ‫ساخته‬ ‫چگونه‬ ‫نوری‬ ‫فیبر‬
‫چهارم‬ ‫فصل‬:‫پیام‬ ‫انتقال‬ ‫چگونگی‬
4-1‫پیام‬ ‫انتقال‬ ‫چگونگی‬
4-1-1‫پیام‬ ‫منشاء‬
4-1-2‫مدوالتور‬
4-1-3‫حامل‬ ‫نور‬ ‫منبع‬
4-1-4‫کانال‬ ‫کننده‬ ‫تزویج‬(‫ورودی‬)
4-1-5‫ارتباطی‬ ‫کانال‬
4-1-6‫کانال‬ ‫کننده‬ ‫تزویج‬(‫خروجی‬)
4-1-7‫ساز‬ ‫آشکار‬
4
104………………………………………………………………………..………
106………………….……………………………………………………………………
108……………………………………….……………………………
114………………………………………
116……........…….……………………………………………………….
119………………………………....................................................
120………………………………..
126………………………………………………………………...
129………………………………………………………………………….....
131………………………………………………………………….……
132……………………………………………………………………………….…
4-1-8‫سیگنال‬ ‫پردازشگر‬
4-1-9‫خروجی‬ ‫پیام‬
4-2‫نوری‬ ‫فیبر‬ ‫انتقال‬ ‫خط‬ ‫عناصر‬
4-3‫نوری‬ ‫فیبر‬ ‫ی‬ ‫شبکه‬ ‫در‬ ‫داده‬ ‫کننده‬ ‫توزیع‬ ‫رابطه‬((FDDI
4-4‫سنکرون‬ ‫نوری‬ ‫ی‬ ‫شبکه‬
4-5‫نوری‬ ‫های‬ ‫فرستنده‬
4-5-1‫نوری‬ ‫های‬ ‫سیستم‬ ‫در‬ ‫استفاده‬ ‫مورد‬ ‫نور‬ ‫منابع‬ ‫های‬ ‫ویژگی‬
4-5-2‫معمولی‬ ‫نور‬ ‫و‬ ‫لیزر‬ ‫نور‬ ‫تفاوت‬
4-6‫نوری‬ ‫های‬ ‫ساز‬ ‫آشکار‬
‫پنجم‬ ‫فصل‬:‫کابل‬ ‫ی‬ ‫شبکه‬ ‫طراحی‬
5-1‫کابل‬ ‫شبکه‬ ‫طراحی‬
5
132……………………………………………………………………….
138…………………………………………………………………………….…………...
139……………………………………………………………………………...
140……………………………………………………………………………
142………………………………………………………….
145……………………………….
146....................................
148………………………………...………………………………………………………………
157……………………………………………………………………………………………….........
162……………………………………………………………………………………………………......
5-2‫طراحی‬ ‫های‬ ‫جنبه‬‫مکانیکی‬
5-3‫کننده‬ ‫تزویج‬
5-3-1‫عدسی‬ ‫کننده‬ ‫تزویج‬
5-3-2‫سر‬ ‫به‬ ‫سر‬ ‫کننده‬ ‫تزویج‬
5-4‫دائیم‬ ‫صورت‬ ‫به‬ ‫نوری‬ ‫فیبرهای‬ ‫اتصال‬
5-4-1‫صورت‬ ‫به‬ ‫نوری‬ ‫فیبرهای‬ ‫اتصال‬‫جوش‬ ‫هم‬ ‫روش‬ ‫به‬ ‫دائیم‬‫ی‬
5-4-2‫صورت‬ ‫به‬ ‫نوری‬ ‫فیبرهای‬ ‫اتصال‬‫ش‬ ‫قفل‬ ‫روش‬ ‫به‬ ‫دائیم‬‫دن‬
‫گیری‬ ‫نتیجه‬
‫خالصه‬
‫منابع‬
6
‫اول‬ ‫فصل‬
‫نوری‬ ‫فیبر‬ ‫با‬ ‫آشنای‬
7
1-1‫تاریخچه‬:
•‫ا‬ ‫یرا‬ ‫و‬ ‫و‬ ‫آترش‬ ‫مترل‬ ‫هرایل‬ ‫شریوه‬ ‫از‬ ‫ارتبراط‬ ‫برقرراري‬ ‫براي‬ ‫نخستین‬ ‫انسان‬‫نعكراس‬
‫است‬ ‫برده‬ ‫بهره‬ ‫آن‬ ‫نظایر‬ ‫و‬ ‫آیینه‬ ‫توسط‬ ‫خورشید‬ ‫نور‬.
•‫عدسرل‬ ‫از‬ ‫اسرتفاده‬ ‫برا‬ ‫آن‬ ‫داخرل‬ ‫در‬ ‫نرور‬ ‫هردایت‬ ‫برراي‬ ‫كانرال‬ ‫و‬ ‫لولره‬ ‫از‬ ‫استفاده‬‫و‬
‫بود‬ ‫بعدي‬ ‫روش‬ ‫آینه‬.
•‫رررن‬‫ر‬‫ق‬ ‫در‬19‫ررال‬‫ر‬‫س‬ ‫در‬ ‫و‬ ‫آب‬ ‫ي‬ ‫رره‬‫ر‬‫لول‬ ‫ررل‬‫ر‬‫داخ‬ ‫در‬ ‫ررال‬‫ر‬‫انتق‬ ‫ررط‬‫ر‬‫خ‬1930‫رران‬‫ر‬‫آلم‬ ‫در‬
‫شد‬ ‫محقق‬ ‫اي‬ ‫شیشه‬ ‫تار‬ ‫داخل‬ ‫در‬ ‫نور‬ ‫هدایت‬.
•‫سال‬ ‫در‬1958‫و‬ ‫دیگر‬ ‫نوع‬ ‫از‬ ‫اي‬ ‫شیشه‬ ‫با‬ ‫اي‬ ‫شیشه‬ ‫تار‬ ‫اطراف‬ ‫پوشانیدن‬‫در‬
‫سال‬1960‫پیوست‬ ‫حقیقت‬ ‫به‬ ‫ژاپن‬ ‫در‬ ‫نوري‬ ‫تار‬ ‫تولید‬.
8
•‫سال‬ ‫از‬1966‫و‬ ‫ژاپن‬ ‫در‬ ‫نوري‬ ‫مخابرات‬ ‫در‬ ‫هادي‬ ‫نیمه‬ ‫لیزر‬ ‫كاربرد‬ ‫كنون‬ ‫تا‬
‫است‬ ‫گرفته‬ ‫قرار‬ ‫توجه‬ ‫مورد‬ ‫آمریكا‬.
•‫ررال‬‫ر‬‫س‬ ‫در‬1970‫ررل‬‫ر‬‫حاص‬ ‫ررر‬‫ر‬‫بزرگت‬ ‫ررل‬‫ر‬‫آرزوی‬ ‫رره‬‫ر‬‫ب‬ ‫رریدن‬‫ر‬‫رس‬ ‫ررراي‬‫ر‬‫ب‬ ‫ررزر‬‫ر‬‫ب‬ ‫رروفقیتی‬‫ر‬‫م‬
‫شد‬‫؛‬‫عنر‬ ‫بره‬ ‫را‬ ‫شیشه‬ ‫از‬ ‫استفاده‬ ‫بار‬ ‫اولین‬ ‫براي‬ ‫انگلیسل‬ ‫كوكهام‬ ‫كائو‬‫محریط‬ ‫وان‬
‫ساختند‬ ‫مطرح‬ ‫انتشار‬.
•‫ررد‬‫ر‬‫بان‬ ‫رراي‬‫ر‬‫پهن‬ ، ‫رروري‬‫ر‬‫ن‬ ‫رراي‬‫ر‬‫فیبره‬ ‫در‬ ‫ررالر‬‫ر‬‫خ‬ ‫رراي‬‫ر‬‫ه‬ ‫رره‬‫ر‬‫شیش‬ ‫از‬ ‫ررتفاده‬‫ر‬‫اس‬ ‫ررروزه‬‫ر‬‫ام‬
‫مل‬ ‫عرضه‬ ‫را‬ ‫نامحدودي‬‫ساما‬ ‫تمام‬ ‫به‬ ‫نسبت‬ ‫را‬ ‫نظیري‬ ‫بل‬ ‫هاي‬ ‫مزیت‬ ‫و‬ ‫کند‬‫نه‬
‫اند‬ ‫آورده‬ ‫وجود‬ ‫به‬ ، ‫آن‬ ‫از‬ ‫قبل‬ ‫انتقال‬ ‫ي‬ ‫ها‬.
9
1-2‫چیست؟‬ ‫نوری‬ ‫فیبر‬
•‫نروری‬ ‫ترار‬ ‫یرا‬ ‫نروری‬ ‫فیبرر‬(Optical Fiber)‫؛‬‫یرو‬ ‫از‬ ‫بلنردی‬ ‫و‬ ‫باریرو‬ ‫رشرته‬
‫ی‬ ‫از‬ ‫که‬ ‫را‬ ‫نوری‬ ‫تواند‬‫می‬ ‫که‬ ‫است‬ ‫پالستیو‬ ‫یا‬ ‫شیشه‬ ‫متل‬ ‫شفاف‬ ‫ه‬ّ‫د‬‫ما‬‫سررش‬ ‫و‬
‫کند‬ ‫خارج‬ ‫دیگر‬ ‫سر‬ ‫از‬ ،‫شده‬ ‫وارد‬ ‫آن‬ ‫به‬.
•‫با‬‫می‬ ‫معمولی‬ ‫های‬‫کابل‬ ‫از‬ ‫باالتر‬ ‫بسیار‬ ‫باند‬ ‫پهنای‬ ‫داری‬ ‫نوری‬ ‫فیبر‬‫فیبر‬ ‫با‬ ،‫شد‬
‫پهنر‬ ‫با‬ ‫راحتی‬ ‫به‬ ‫را‬ ‫دیگر‬ ‫های‬‫داده‬ ‫و‬ ‫صوت‬ ،‫تصویر‬ ‫های‬‫داده‬ ‫توان‬‫می‬ ‫نوری‬‫ای‬
‫تا‬ ‫باال‬ ‫باند‬۱۰‫داد‬ ‫انتقال‬ ‫باالتر‬ ‫و‬ ‫تانیه‬ ‫بر‬ ‫گیگابیت‬.
•‫دلیررل‬ ‫برره‬ ،‫نرروری‬ ‫فیبررر‬ ‫مخررابرات‬ ‫امررروزه‬‫تر‬ ‫وساای‬ ‫بانااد‬ ‫پهنااای‬‫برر‬ ‫مقایسرره‬ ‫در‬‫ا‬
‫و‬ ،‫مسی‬ ‫های‬‫کابل‬‫کمتر‬ ‫تاخیر‬‫مهمترری‬ ‫از‬ ‫ای‬ ‫مراهواره‬ ‫مخرابرات‬ ‫برا‬ ‫مقایسه‬ ‫در‬‫ن‬
‫شود‬‫می‬ ‫محسوب‬ ‫اطالعات‬ ‫انتقال‬ ‫ابزار‬.
10
1-3‫نوری‬ ‫های‬ ‫تار‬ ‫مزایای‬:
8.‫بودن‬ ‫اشتعال‬ ‫قابل‬ ‫غیر‬
9.‫کوچو‬ ‫قطر‬ ‫و‬ ‫کم‬ ‫وزن‬
10.‫پایین‬ ‫اتالف‬
11.‫تر‬ ‫آسان‬ ‫نگهداری‬ ‫و‬ ‫نصب‬
12.‫کمتر‬ ‫قیمت‬ ‫با‬ ‫هایی‬ ‫فرستنده‬
13.‫پذیری‬ ‫انعطاف‬
1.‫پایین‬ ‫قیمت‬
2.‫استحکام‬‫کششی‬‫مناسب‬
3.‫پهنای‬‫باند‬‫وسیع‬
4.‫محافظت‬‫و‬ ‫تداخل‬ ‫مقابل‬ ‫در‬‫ت‬‫ز‬‫ویج‬
5.‫ایزو‬‫کامل‬ ‫السیون‬‫الکتریکی‬
6.‫ا‬‫منیت‬
7.‫مصونیت‬‫خوردگ‬ ‫مقابل‬ ‫در‬‫ی‬
11
1(‫پایین‬ ‫قیمت‬:
•‫رت‬‫ر‬‫اس‬ ‫ریلیکون‬‫ر‬‫س‬ ‫رید‬‫ر‬‫اکس‬ ‫ای‬ ‫ره‬‫ر‬‫شیش‬ ‫رای‬‫ر‬‫ه‬ ‫رار‬‫ر‬‫ت‬ ‫ررای‬‫ر‬‫ب‬ ‫رلی‬‫ر‬‫اص‬ ‫ی‬ ‫راده‬‫ر‬‫م‬‫و‬‫ر‬‫ر‬‫اص‬ ‫رع‬‫ر‬‫منب‬‫لی‬
‫رت‬‫ر‬‫اس‬ ‫ره‬‫ر‬‫ماس‬ ‫و‬ ‫رن‬‫ر‬‫ش‬ ‫و‬ ‫رنش‬‫ر‬‫س‬ ، ‫ریلیکا‬‫ر‬‫س‬.‫ر‬‫ر‬‫ن‬ ‫رر‬‫ر‬‫فیب‬ ‫راي‬‫ر‬‫ه‬ ‫رل‬‫ر‬‫کاب‬ ‫رت‬‫ر‬‫قیم‬ ‫ره‬‫ر‬‫نتیج‬ ‫در‬‫وري‬
‫شود‬ ‫می‬ ‫تمام‬ ‫مسی‬ ‫هاي‬ ‫کابل‬ ‫از‬ ‫ارزانتر‬ ‫بسیار‬.
•‫بعضی‬‫پالستیو‬ ‫از‬ ‫نوری‬ ‫های‬ ‫تار‬ ‫از‬‫شفاف‬‫شروند‬ ‫مری‬ ‫ساخته‬‫کره‬‫سر‬ ‫بره‬‫هولت‬
‫رترس‬‫ر‬‫دس‬ ‫در‬‫رت‬‫ر‬‫اس‬‫ر‬‫ر‬‫شیش‬ ‫روری‬‫ر‬‫ن‬ ‫رر‬‫ر‬‫فیب‬ ‫از‬ ‫رر‬‫ر‬‫ت‬ ‫ارزان‬ ‫روری‬‫ر‬‫فیبرن‬ ‫از‬ ‫روع‬‫ر‬‫ن‬ ‫رن‬‫ر‬‫،ای‬‫ای‬ ‫ه‬
‫است‬.
12
2(‫مناسب‬ ‫کششی‬ ‫استحکام‬:
‫ترار‬ ‫انتقرال‬ ‫خرط‬ ‫یرو‬ ‫کششری‬ ‫استحکام‬ ، ‫پالستیکی‬ ‫روکش‬ ‫کردن‬ ‫اضافه‬‫زیراد‬ ‫را‬ ‫ی‬
‫میکند‬.‫م‬ ‫توان‬ ‫می‬ ‫استحکام‬ ‫کردن‬ ‫بیشتر‬ ‫هم‬ ‫باز‬ ‫برای‬ ، ‫لزوم‬ ‫صورت‬ ‫در‬‫های‬ ‫یله‬
‫داد‬ ‫ررررار‬‫ر‬‫ق‬ ‫رررتیکی‬‫ر‬‫پالس‬ ‫رررل‬‫ر‬‫کاب‬ ‫رررل‬‫ر‬‫داخ‬ ‫در‬ ‫رررزی‬‫ر‬‫فل‬.‫رررر‬‫ر‬‫دیگ‬ ‫ی‬ ‫رررده‬‫ر‬‫کنن‬ ‫رررم‬‫ر‬‫محک‬ ‫ی‬ ‫ررراده‬‫ر‬‫م‬
‫کوالر‬(Kevlar)‫مری‬ ‫زیراد‬ ‫اسرتحکام‬ ‫برا‬ ، ‫ترکیبری‬ ‫پلیمرری‬ ‫تار‬ ‫یو‬ ‫که‬ ‫است‬‫باشرد‬.
‫ن‬ ‫بسریار‬ ‫نروری‬ ‫ترار‬ ‫هرای‬ ‫کابرل‬ ،‫شیشره‬ ‫شرکنندگی‬ ‫آشکار‬ ‫طبیعت‬ ‫علیرغم‬‫و‬ ‫یرومنرد‬
‫هستند‬ ‫بکارگیری‬ ‫قابل‬.
13
(3‫وسیع‬ ‫باند‬ ‫پهنای‬:
‫یکی‬، ‫زیراد‬ ‫مقردار‬ ‫به‬ ‫اطالعات‬ ‫انتقال‬ ‫در‬ ‫آنها‬ ‫توانایی‬ ، ‫نوری‬ ‫تار‬ ‫مزایای‬ ‫از‬‫چره‬
‫باشرد‬ ‫مری‬ ، ‫آنرالو‬ ‫شرکل‬ ‫بره‬ ‫چره‬ ‫و‬ ‫دیجیترال‬ ‫شکل‬ ‫به‬.‫تر‬ ‫یرو‬ ، ‫مترال‬ ‫عنروان‬ ‫بره‬‫ار‬
‫میرزان‬ ‫برا‬ ‫را‬ ‫هرا‬ ‫داده‬ ‫توانرد‬ ‫مری‬ ‫تلفنری‬ ‫خردمات‬ ‫بررای‬ ‫شرده‬ ‫ساخته‬ ‫نوع‬ ‫از‬ ‫واحد‬T3
‫ری‬‫ر‬‫یعن‬4407‫رد‬‫ر‬‫کن‬ ‫ردایت‬‫ر‬‫ه‬ ، ‫ره‬‫ر‬‫تانی‬ ‫رر‬‫ر‬‫ب‬ ‫رت‬‫ر‬‫بی‬ ‫را‬‫ر‬‫مگ‬.‫رار‬‫ر‬‫ت‬ ‫رن‬‫ر‬‫ای‬672‫را‬ ‫روتی‬‫ر‬‫ص‬ ‫رال‬‫ر‬‫کان‬
‫کند‬ ‫می‬ ‫ارسال‬.‫با‬ ‫می‬ ‫دسترس‬ ‫در‬ ‫هم‬ ‫این‬ ‫از‬ ‫بیش‬ ‫حتی‬ ‫ظرفیت‬ ‫با‬ ‫های‬ ‫تار‬‫شند‬.
14
(4‫محافظت‬‫و‬ ‫تداخل‬ ‫مقابل‬ ‫در‬‫ت‬‫ز‬‫ویج‬:
‫رتند‬‫ر‬‫هس‬ ‫رایق‬‫ر‬‫ع‬ ، ‫رتیو‬‫ر‬‫پالس‬ ‫را‬‫ر‬‫ی‬ ‫ره‬‫ر‬‫شیش‬ ،‫روری‬‫ر‬‫ن‬ ‫رای‬‫ر‬‫ه‬ ‫رار‬‫ر‬‫ت‬.‫د‬ ‫ری‬‫ر‬‫الکتریک‬ ‫ران‬‫ر‬‫جری‬‫رر‬‫ر‬‫ات‬ ‫ر‬
‫ک‬ ‫مری‬ ‫برخرورد‬ ‫ترار‬ ‫به‬ ‫که‬ ‫خارجی‬ ‫تشعشعات‬ ‫اتر‬ ‫در‬ ‫یا‬ ‫و‬ ‫ارسالی‬ ‫سیگنال‬‫از‬ ، ‫ننرد‬
‫گذرد‬ ‫نمی‬ ‫آن‬.‫هری‬ ‫بنرابراین‬ ،‫اسرت‬ ‫محبروس‬ ‫ترار‬ ‫داخرل‬ ‫در‬ ‫نوری‬ ‫موج‬ ،‫عالوه‬ ‫به‬
‫د‬ ‫موجرود‬ ‫هرای‬ ‫سریگنال‬ ‫برا‬ ‫کره‬ ‫کنرد‬ ‫نمری‬ ‫نشرت‬ ‫بیررون‬ ‫بره‬ ‫نروری‬ ‫موج‬ ‫از‬ ‫تعدادی‬‫ر‬
‫رد‬‫ر‬‫نمای‬ ‫رداخل‬‫ر‬‫ت‬ ‫را‬‫ر‬‫ه‬ ‫رار‬‫ر‬‫ت‬ ‫رایر‬‫ر‬‫س‬.‫آن‬ ‫رل‬‫ر‬‫داخ‬ ‫ره‬‫ر‬‫ب‬ ‫رار‬‫ر‬‫ت‬ ‫رار‬‫ر‬‫کن‬ ‫از‬ ‫رد‬‫ر‬‫توان‬ ‫ری‬‫ر‬‫نم‬ ‫رور‬‫ر‬‫عکس،ن‬ ‫رر‬‫ر‬‫ب‬
‫شود‬ ‫تزویج‬.‫ک‬ ‫سرایر‬ ‫برا‬ ‫ترزویج‬ ‫و‬ ‫تداخل‬ ‫از‬ ‫تار‬ ‫یو‬ ‫که‬ ‫گیریم‬ ‫می‬ ‫نتیجه‬‫هرای‬ ‫انرال‬
‫باشد‬ ‫شده‬ ‫محافظت‬ ‫خوبی‬ ‫به‬ ، ‫الکتریکی‬ ‫خواه‬ ‫و‬ ‫نوری‬ ‫خواه‬ ، ‫ارتباطی‬.
15
(5‫الکتریکی‬ ‫کامل‬ ‫السیون‬ ‫ایزو‬:
‫براالخره‬ ‫و‬ ‫کنرد‬ ‫حرکرت‬ ‫سریم‬ ‫طرول‬ ‫در‬ ‫مایرل‬ ‫چنردین‬ ‫تواند‬ ‫می‬ ‫ولتاژ‬ ‫پالس‬(‫بره‬‫دلیرل‬
‫دارد‬ ‫که‬ ‫توانی‬)‫کنرد‬ ‫خرراب‬ ‫را‬ ‫مسریر‬ ‫انتهای‬ ‫در‬ ‫موجود‬ ‫الکتریکی‬ ‫های‬ ‫ابزار‬.‫در‬
‫سریم‬ ‫ارتبراطی‬ ‫خرط‬ ‫یرو‬ ،‫دارند‬ ‫وجود‬ ‫باال‬ ‫ولتاژ‬ ‫خطوط‬ ‫آنها‬ ‫در‬ ‫که‬ ‫هایی‬ ‫محیط‬‫س‬
‫خسر‬ ‫و‬ ‫کنرد‬ ‫کوتراه‬ ‫اتصرال‬ ‫را‬ ‫آنهرا‬ ‫خطوط‬ ‫این‬ ‫روی‬ ‫افتادن‬ ‫با‬ ‫تواند‬ ‫می‬ ‫احتماأل‬‫ارت‬
‫آورد‬ ‫برار‬ ‫بره‬ ‫تروجهی‬ ‫قابل‬ ‫های‬.‫اسرت‬ ‫منتفری‬ ‫هرا‬ ‫ترار‬ ‫وجرود‬ ‫برا‬ ‫مسرئله‬ ‫ایرن‬.‫مزیر‬‫ت‬
‫ی‬ ‫فرستنده‬ ‫بین‬ ‫مشترک‬ ‫زمین‬ ‫به‬ ‫نیاز‬ ‫نوری‬ ‫تزویج‬ ‫که‬ ‫است‬ ‫این‬ ‫دیگر‬‫نروری‬ ‫تار‬
‫رد‬‫ر‬‫کن‬ ‫ری‬‫ر‬‫م‬ ‫ری‬‫ر‬‫منتف‬ ‫را‬ ‫رده‬‫ر‬‫گیرن‬ ‫و‬.‫سی‬ ‫ره‬‫ر‬‫ک‬ ‫رالی‬‫ر‬‫ح‬ ‫در‬ ‫رار‬‫ر‬‫ت‬ ‫رر‬‫ر‬‫تعمی‬ ‫ران‬‫ر‬‫امک‬ ،‫رالوه‬‫ر‬‫ع‬ ‫ره‬‫ر‬‫ب‬‫رتم‬‫ر‬‫س‬
‫فرسر‬ ‫الکتریکری‬ ‫مردار‬ ‫شدن‬ ‫کوتاه‬ ‫اتصال‬ ‫احتمال‬ ‫آنکه‬ ‫بدون‬ ،‫است‬ ‫روشن‬‫یرا‬ ‫و‬ ‫تنده‬
‫دارد‬ ‫وجود‬ ،‫باشد‬ ‫گیرنده‬.‫کابرل‬ ‫یو‬ ‫تعمیر‬ ‫موقع‬ ‫در‬ ‫است‬ ‫ممکن‬ ‫مشکل‬ ‫این‬‫فلرزی‬
‫دهد‬ ‫رخ‬.
16
(6‫امنیت‬:
‫کنند‬ ‫می‬ ‫عرضه‬ ‫را‬ ‫بودن‬ ‫پنهان‬ ‫و‬ ‫امنیت‬ ‫از‬ ‫ای‬ ‫درجه‬ ‫تارها‬.‫انرژی‬ ‫ها‬ ‫تار‬ ‫چون‬
‫مشک‬ ‫ارسالی‬ ‫سیگنال‬ ‫سازی‬ ‫آشکار‬ ، ‫مزاحم‬ ‫یو‬ ‫برای‬ ،‫کنند‬ ‫نمی‬ ‫تشعشع‬‫است‬ ‫ل‬.
‫شکسر‬ ‫فیزیکری‬ ‫طرور‬ ‫به‬ ‫بایستی‬ ‫می‬ ‫تار‬ ، ‫سیگنال‬ ‫به‬ ‫دسترسی‬ ‫برای‬‫شرود‬ ‫ته‬.‫قطرع‬
‫ر‬ ‫پرترو‬ ‫بره‬ ‫دسترسری‬ ، ‫کننرده‬ ‫ارسرال‬ ‫ترار‬ ‫بره‬ ‫جدیرد‬ ‫تار‬ ‫یو‬ ‫اتصال‬ ‫یا‬ ،‫تار‬‫ممکرن‬ ‫ا‬
‫سازد‬ ‫می‬.‫افرت‬ ‫گیرنرده‬ ‫بره‬ ‫رسریده‬ ‫قردرت‬ ، ‫خرط‬ ‫روی‬ ‫اصرالحاتی‬ ‫چنرین‬ ‫خرالل‬ ‫در‬
‫کند‬ ‫می‬.‫و‬ ‫بگیررد‬ ‫انردازه‬ ‫را‬ ‫تضرعیف‬ ‫ایرن‬ ‫توانرد‬ ‫مری‬ ‫حساس‬ ‫ی‬ ‫گیرنده‬ ‫یو‬‫وجرود‬
‫دهررد‬ ‫خبررر‬ ‫را‬ ‫مررزاحم‬.‫مزاحمررت‬ ، ‫سررازی‬ ‫آشررکار‬ ‫در‬ ‫موفقیررت‬ ‫دادن‬ ‫بهبررود‬ ‫برررای‬
‫باشد‬ ‫نظر‬ ‫تحت‬ ‫باید‬ ‫مداوم‬ ‫طور‬ ‫به‬ ‫سیستم‬.
17
(7‫مصونیت‬‫مقابل‬ ‫در‬‫خوردگی‬:
‫مرس‬ ‫جرایگزین‬ ‫کره‬ ‫ای‬ ‫شیشره‬ ‫بررای‬ ، ‫شریمیایی‬ ‫مرواد‬ ‫یا‬ ‫آب‬ ‫دلیل‬ ‫به‬ ‫خوردگی‬‫شرده‬
‫است‬ ‫تر‬ ‫اهمیت‬ ‫بی‬ ‫مراتب‬ ‫به‬ ‫است‬.‫نفر‬ ‫شیشره‬ ‫بره‬ ‫نبایسرتی‬ ‫آب‬ ‫حرال‬ ‫هرر‬ ‫به‬‫کنرد‬ ‫وذ‬.
‫کر‬ ‫گیرنرد‬ ‫مری‬ ‫قررار‬ ‫هرایی‬ ‫کابرل‬ ‫داخرل‬ ‫در‬ ‫تارها‬ ، ‫دریایی‬ ‫زیر‬ ‫های‬ ‫کاربرد‬ ‫برای‬‫ه‬
‫کنند‬ ‫می‬ ‫محافظت‬ ‫آب‬ ‫مقابل‬ ‫در‬ ‫را‬ ‫آنها‬.
18
(8‫غیر‬‫بودن‬ ‫اشتعال‬ ‫قابل‬:
‫ردون‬‫ر‬‫ب‬ ‫را‬ ‫ردیدی‬‫ر‬‫ش‬ ‫هرای‬ ‫ررارت‬‫ر‬‫ح‬ ‫ره‬‫ر‬‫درج‬ ‫تواننرد‬ ‫ری‬‫ر‬‫م‬ ‫ران‬‫ر‬‫خودش‬ ، ‫ای‬ ‫شیشره‬ ‫رای‬‫ر‬‫ه‬ ‫ترار‬
‫نمایند‬ ‫تحمل‬ ، ‫شوند‬ ‫خراب‬ ‫آنکه‬.‫بره‬ ‫نزدیرو‬ ‫هایی‬ ‫حرارت‬ ‫درجه‬800‫ی‬ ‫درجره‬
‫گرذارد‬ ‫نمری‬ ‫ای‬ ‫شیشره‬ ‫تار‬ ‫روی‬ ‫اتری‬ ، ‫گراد‬ ‫سانتی‬.‫الکتری‬ ‫چرون‬ ، ‫همچنرین‬‫سریته‬
‫ر‬‫ر‬‫پ‬ ‫روزی‬‫ر‬‫س‬ ‫رش‬‫ر‬‫آت‬ ‫رروز‬‫ر‬‫ب‬ ‫ران‬‫ر‬‫امک‬ ‫رابراین‬‫ر‬‫بن‬ ، ‫رد‬‫ر‬‫کن‬ ‫ری‬‫ر‬‫نم‬ ‫رور‬‫ر‬‫عب‬ ‫روری‬‫ر‬‫ن‬ ‫رای‬‫ر‬‫ه‬ ‫رر‬‫ر‬‫فیب‬ ‫از‬‫ایین‬
‫است‬.
19
(9‫وزن‬‫کوچک‬ ‫قطر‬ ‫و‬ ‫کم‬:
‫رت‬‫ر‬‫مزی‬‫رود‬‫ر‬‫میش‬ ‫ر‬‫ر‬‫باع‬ ‫ره‬‫ر‬‫ک‬ ‫رت‬‫ر‬‫آنهاس‬ ‫رر‬‫ر‬‫قط‬ ‫رودن‬‫ر‬‫ب‬ ‫رو‬‫ر‬‫کوچ‬ ، ‫روری‬‫ر‬‫ن‬ ‫رای‬‫ر‬‫ه‬ ‫رر‬‫ر‬‫فیب‬ ‫رر‬‫ر‬‫دیگ‬
‫رد‬‫ر‬‫کنن‬ ‫رنال‬‫ر‬‫اش‬ ‫رری‬‫ر‬‫کمت‬ ‫رای‬‫ر‬‫فض‬.‫ر‬‫ر‬‫فض‬ ‫رای‬‫ر‬‫ه‬ ‫رفینه‬‫ر‬‫س‬ ‫و‬ ‫را‬‫ر‬‫ه‬ ‫را‬‫ر‬‫هواپیم‬ ‫در‬ ‫ری‬‫ر‬‫ویژگ‬ ‫رن‬‫ر‬‫ای‬‫ایی‬
‫دارد‬ ‫رزایی‬‫ر‬‫بس‬ ‫رت‬‫ر‬‫اهمیی‬.‫ر‬‫ر‬‫بس‬ ‫وزن‬ ‫دارای‬ ‫رم‬‫ر‬‫ک‬ ‫رر‬‫ر‬‫قط‬ ‫ره‬‫ر‬‫ب‬ ‫ره‬‫ر‬‫توج‬ ‫را‬‫ر‬‫ب‬ ‫روری‬‫ر‬‫ن‬ ‫رای‬‫ر‬‫ه‬ ‫رر‬‫ر‬‫فیب‬‫یار‬
‫از‬ ‫زیادی‬ ‫بسیار‬ ‫طول‬ ‫میگردد‬ ‫باع‬ ‫مسئله‬ ‫دو‬ ‫این‬ ‫که‬ ‫باشند‬ ‫می‬ ‫نیز‬ ‫کمی‬‫هرا‬ ‫فیبر‬
‫شوند‬ ‫حمل‬ ‫سادگی‬ ‫به‬ ‫و‬ ‫شده‬ ‫بسته‬ ‫قرقره‬ ‫یو‬ ‫روی‬.‫فی‬ ‫بین‬ ‫مقایسه‬ ‫یو‬‫و‬ ‫نوری‬ ‫بر‬
‫ره‬‫ر‬‫ک‬ ‫رد‬‫ر‬‫ده‬ ‫ری‬‫ر‬‫م‬ ‫ران‬‫ر‬‫نش‬ ‫ری‬‫ر‬‫مس‬ ‫رل‬‫ر‬‫کاب‬40‫ردود‬‫ر‬‫ح‬ ‫ری‬‫ر‬‫وزن‬ ‫دارای‬ ‫روری‬‫ر‬‫ن‬ ‫رر‬‫ر‬‫فیب‬ ‫رومتر‬‫ر‬‫کیل‬1
‫است‬ ‫کیلوگرم‬.‫که‬ ‫صورتی‬ ‫در‬5/1‫قطرر‬ ‫برا‬ ‫مسی‬ ‫سیم‬ ‫کیلومتر‬32%‫مترر‬ ‫میلری‬
‫وزن‬ ‫دارای‬1‫باشد‬ ‫می‬ ‫گرم‬ ‫کیلو‬.
20
(10‫اتالف‬‫پایین‬:
‫بر‬ ‫و‬ ‫بروده‬ ‫کرم‬ ‫بسریار‬ ‫مسری‬ ‫هرای‬ ‫کابرل‬ ‫به‬ ‫نسبت‬ ‫نوری‬ ‫های‬ ‫فیبر‬ ‫در‬ ‫اتالف‬‫همرین‬ ‫ه‬
‫هر‬ ‫در‬ ، ‫دلیل‬30‫تا‬120‫حرالی‬ ‫در‬ ، ‫داریرم‬ ‫نییراز‬ ‫کننرده‬ ‫تکررار‬ ‫بره‬ ‫مترر‬ ‫کیلو‬‫کره‬
‫هر‬ ‫در‬ ‫مسی‬ ‫های‬ ‫سیم‬ ‫در‬5‫شرود‬ ‫مری‬ ‫اسرتفاده‬ ‫کننرده‬ ‫تکرار‬ ‫یو‬ ‫متر‬ ‫کیلو‬.‫اتر‬‫الف‬
‫در‬ ، ‫گیرند‬ ‫می‬ ‫قرار‬ ‫استفاده‬ ‫مورد‬ ‫معمول‬ ‫طور‬ ‫به‬ ‫اکنون‬ ‫هم‬ ‫که‬ ‫هایی‬ ‫فیبر‬‫حردود‬
0/2 Db/km‫باشد‬ ‫می‬.‫متفراوت‬ ‫مختلرف‬ ‫هرای‬ ‫مروج‬ ‫طرول‬ ‫در‬ ‫اترالف‬ ‫میزان‬ ‫این‬
‫دارد‬ ‫بستگی‬ ‫عامل‬ ‫چندین‬ ‫به‬ ‫و‬ ‫بوده‬.
21
(11‫نصب‬‫تر‬ ‫آسان‬ ‫نگهداری‬ ‫و‬:
‫زیاد‬ ‫طول‬ ‫به‬ ‫توجه‬ ‫با‬(‫کیلومتر‬ ‫چندین‬)‫ف‬ ‫هرای‬ ‫سیسرتم‬ ‫در‬ ‫کم‬ ‫وتضعیف‬‫نروری‬ ‫یبرر‬
‫کا‬ ‫هرای‬ ‫سیسرتم‬ ‫بره‬ ‫نسربت‬ ‫هرا‬ ‫سیسرتم‬ ‫ایرن‬ ‫در‬ ‫هرا‬ ‫کننرده‬ ‫تکرار‬ ‫ی‬ ‫فاصله‬ ،‫مسری‬ ‫برل‬
‫است‬ ‫بیشتر‬.‫کم‬ ‫ی‬ ‫هزینره‬ ‫با‬ ‫و‬ ‫تر‬ ‫ساده‬ ‫ها‬ ‫کابل‬ ‫این‬ ‫تعمیرات‬ ‫نتیجه‬ ‫در‬‫انجرام‬ ‫ترری‬
‫کمترر‬ ‫مسری‬ ‫های‬ ‫کابل‬ ‫به‬ ‫نسبت‬ ‫ها‬ ‫مفصل‬ ‫تعداد‬ ‫که‬ ‫آنجایی‬ ‫از‬ ‫و‬ ‫گیرد‬ ‫می‬‫و‬ ‫اسرت‬
‫ک‬ ‫خرابری‬ ‫نتیجره‬ ‫در‬ ، ‫کنرد‬ ‫مری‬ ‫ایجراد‬ ‫سیسرتم‬ ‫در‬ ‫اترالف‬ ‫کمی‬ ‫مقدار‬ ‫مفصل‬ ‫هر‬‫مترر‬
‫باشد‬ ‫می‬ ‫تر‬ ‫آسان‬ ‫نگهداری‬ ‫و‬ ‫نصب‬ ‫و‬ ‫بوده‬.
22
(12‫فرستنده‬‫کمتر‬ ‫قیمت‬ ‫با‬ ‫هایی‬:
‫فرسر‬ ‫این‬ ‫بر‬ ‫بنا‬ ‫شوند‬ ‫می‬ ‫اتالف‬ ‫دچار‬ ‫کمتر‬ ‫نوری‬ ‫های‬ ‫فیبر‬ ‫در‬ ‫سیگنال‬‫هرایی‬ ‫تنده‬
‫بر‬ ‫ولتراژ‬ ‫برا‬ ‫الکتریکری‬ ‫هرای‬ ‫فرستنده‬ ‫جای‬ ‫به‬ ‫توانند‬ ‫می‬ ‫کمتر‬ ‫قدرت‬ ‫با‬‫بررای‬ ‫کره‬ ‫اال‬
‫د‬ ‫جرویی‬ ‫صررفه‬ ‫باعر‬ ‫ایرن‬ ‫و‬ ‫رونرد‬ ‫کرار‬ ‫بره‬ ، ‫شروند‬ ‫مری‬ ‫اسرتفاده‬ ‫مسری‬ ‫های‬ ‫سیم‬‫ر‬
‫میگردد‬ ‫قیمت‬.
23
(13‫انعطاف‬‫پذیری‬:
‫و‬ ‫ررم‬‫ر‬‫محک‬ ‫آوری‬ ‫ررب‬‫ر‬‫تعج‬ ‫طررور‬ ‫رره‬‫ر‬‫ب‬ ‫رره‬‫ر‬‫ک‬ ‫انررد‬ ‫داده‬ ‫رران‬‫ر‬‫نش‬ ‫رروری‬‫ر‬‫ن‬ ‫هررای‬ ‫ررل‬‫ر‬‫کاب‬ ‫و‬ ‫تارهررا‬
‫هستند‬ ‫پذیر‬ ‫انعطاف‬.‫م‬ ‫دور‬ ‫بره‬ ‫وقتری‬ ‫کره‬ ‫هسرتند‬ ‫نررم‬ ‫آنقدر‬ ‫ها‬ ‫تار‬ ‫بعضی‬‫برا‬ ‫نحنری‬
‫شروند‬ ‫نمری‬ ‫قطع‬ ، ‫شوند‬ ‫پیچیده‬ ‫متر‬ ‫سانتی‬ ‫چند‬ ‫فقط‬ ‫شعاع‬.‫غالبر‬ ‫هرا‬ ‫ترار‬‫موقرع‬ ‫در‬ ‫أ‬
، ‫رد‬‫ر‬‫دارن‬ ‫روچکی‬‫ر‬‫ک‬ ‫رای‬‫ر‬‫انحن‬ ‫رعاع‬‫ر‬‫ش‬ ‫رین‬‫ر‬‫چن‬ ‫ره‬‫ر‬‫ک‬ ‫رایی‬‫ر‬‫ه‬ ‫رره‬‫ر‬‫قرق‬ ‫دور‬ ‫ره‬‫ر‬‫ب‬ ‫رل‬‫ر‬‫حم‬ ‫و‬ ‫رداری‬‫ر‬‫نگه‬
‫شوند‬ ‫می‬ ‫پیچیده‬ ‫محکم‬.‫طر‬ ‫در‬ ‫که‬ ‫نصب‬ ‫از‬ ‫مواردی‬ ‫در‬ ‫ها‬ ‫تار‬ ‫انعطاف‬ ‫قابلیت‬‫ول‬
‫است‬ ‫توجه‬ ‫جالب‬ ، ‫دارد‬ ‫وجود‬ ‫زیادی‬ ‫های‬ ‫پی‬ ‫انتقال‬ ‫مسیر‬.‫بر‬ ‫هرای‬ ‫خمرش‬ ‫برای‬‫ا‬
‫قابل‬ ‫تضعیف‬ ‫با‬ ‫را‬ ‫نور‬ ، ‫ها‬ ‫تار‬ ، ‫زیاد‬ ‫انحنای‬ ‫شعاع‬‫پوشی‬ ‫چشم‬‫هدایت‬‫م‬‫یکنند‬.
24
1-4‫نوری‬ ‫فیبر‬ ‫معایب‬:
.1‫اس‬ ‫هزینه‬ ‫پر‬ ‫بسیار‬ ‫کوچو‬ ‫و‬ ‫معمولی‬ ‫های‬‫شبکه‬ ‫برای‬ ‫رسانه‬ ‫نوع‬ ‫این‬‫ت‬.
.2‫است‬ ‫دشوار‬ ‫کاری‬ ‫نوری‬ ‫های‬‫فیبر‬ ‫نصب‬.
.3‫اسر‬ ‫نیراز‬ ‫متخصرر‬ ‫افرراد‬ ‫بره‬ ‫آن‬ ‫تجهیرزات‬ ‫و‬ ‫نروری‬ ‫فیبرهای‬ ‫نصب‬ ‫برای‬‫ت‬.
‫ای‬ ‫در‬ ‫کمی‬ ‫آشنایی‬ ‫که‬ ‫افرادی‬ ‫اکتر‬ ‫تقریبا‬ ‫مسی‬ ‫های‬‫سیم‬ ‫نصب‬ ‫در‬ ‫اما‬‫زمینره‬ ‫ن‬
‫کنند‬ ‫نصب‬ ‫را‬ ‫آنها‬ ‫توانند‬‫می‬ ‫دارند‬.
.4‫اسرت‬ ‫نیراز‬ ‫مورد‬ ‫زیادی‬ ‫بسیار‬ ‫دقت‬ ‫نوری‬ ‫های‬‫فیبر‬ ‫نصب‬ ‫برای‬.‫حتری‬‫بررای‬
‫رع‬‫ر‬‫قط‬‫آن‬ ‫رردن‬‫ر‬‫ک‬.‫و‬ ‫رد‬‫ر‬‫کن‬ ‫ری‬‫ر‬‫م‬ ‫رر‬‫ر‬‫تنیی‬ ‫رور‬‫ر‬‫ن‬ ‫رت‬‫ر‬‫شکس‬ ‫ره‬‫ر‬‫زاوی‬ ‫رورت‬‫ر‬‫ص‬ ‫رن‬‫ر‬‫ای‬ ‫در‬ ‫ررا‬‫ر‬‫زی‬
‫شود‬ ‫می‬ ‫اختالل‬ ‫دچار‬ ‫ها‬ ‫داده‬ ‫انتقال‬ ‫روند‬.
25
.5‫بودن‬ ‫هادی‬ ‫غیر‬:‫دهرد‬ ‫عبرور‬ ‫خود‬ ‫از‬ ‫نمیتواند‬ ‫را‬ ‫الکتریکی‬ ‫توان‬ ‫فیبر‬‫چره‬ ‫گرر‬
‫گیر‬ ‫که‬ ‫جای‬ ‫در‬ ‫اما‬ ‫خواندیم‬ ‫نوری‬ ‫فیبر‬ ‫های‬ ‫خاصیت‬ ‫از‬ ‫را‬ ‫ویژگی‬ ‫این‬‫ی‬ ‫نده‬
‫ن‬ ‫بره‬ ‫کره‬ ‫اسرت‬ ‫الکتریکری‬ ‫تروان‬ ‫بره‬ ‫نیاز‬ ‫شود‬ ‫تنذیه‬ ‫باید‬ ‫کابل‬ ‫انتهای‬‫کابرل‬ ‫اچرار‬
‫شود‬ ‫کشیده‬ ‫اصلی‬ ‫خط‬ ‫انتهای‬ ‫در‬ ‫باید‬ ‫ای‬ ‫جداگانه‬ ‫هادیه‬ ‫های‬.
.6‫د‬ ‫فیبرر‬ ‫برودن‬ ‫شرکننده‬ ‫نروری‬ ‫هرای‬‫فیبر‬ ‫اشرکاالت‬ ‫ترین‬‫اصلی‬ ‫از‬ ‫یکی‬‫کابرل‬ ‫اخرل‬
‫است‬.‫شکسرت‬ ‫نظرر‬ ‫مرورد‬ ‫فیبرر‬ ،‫سریم‬ ‫انردازه‬ ‫از‬ ‫بیش‬ ‫کردن‬ ‫خم‬ ‫صورت‬ ‫در‬‫و‬ ‫ه‬
‫خورد‬ ‫نمی‬ ‫د‬‫در‬ ‫به‬ ‫کابل‬ ‫آن‬ ‫دیگر‬.‫چق‬ ‫هر‬ ‫را‬ ‫مسی‬ ‫های‬‫سیم‬ ‫که‬ ‫صورتی‬ ‫در‬‫در‬
‫کنید‬ ‫تا‬ ‫توانید‬‫می‬ ‫دارید‬ ‫دوست‬ ‫که‬.
26
1-5‫نوری‬ ‫فیبر‬ ‫کاربردهای‬:
•‫کاااربرد‬‫مخااابرا‬ ‫در‬:‫انتقرر‬ ‫نرروری‬ ‫فیبررر‬ ‫کاربردهررای‬ ‫ترررین‬ ‫مرسرروم‬ ‫از‬ ‫یکرری‬‫ال‬
‫است‬ ‫لیزر‬ ‫نور‬ ‫توسط‬ ‫اطالعات‬.
•‫اگرها‬‫ا‬‫حس‬ ‫در‬ ‫ااربرد‬‫ا‬‫ک‬:‫ر‬‫ر‬‫گی‬ ‫ردازه‬‫ر‬‫ان‬ ‫ررای‬‫ر‬‫ب‬ ‫روری‬‫ر‬‫ن‬ ‫رر‬‫ر‬‫فیب‬ ‫رگرهای‬‫ر‬‫حس‬ ‫از‬ ‫رتفاده‬‫ر‬‫اس‬‫ری‬
،‫فشرار‬ ،‫منناطیسری‬ ‫میردان‬ ،‫الکتریکری‬ ‫جریان‬ ‫مانند‬ ‫فیزیکی‬ ‫های‬‫کمیت‬،‫حررارت‬
‫و‬ ‫را‬‫ر‬‫گام‬ ‫رای‬‫ر‬‫پرتوه‬ ‫رعات‬‫ر‬‫تشعش‬ ،‫رات‬‫ر‬‫مایع‬ ‫رطت‬‫ر‬‫س‬ ،‫را‬‫ر‬‫دری‬ ‫رای‬‫ر‬‫ه‬‫آب‬ ‫رودگی‬‫ر‬‫آل‬ ،‫رایی‬‫ر‬‫جابج‬
‫است‬‫شده‬ ‫شروع‬ ‫اخیر‬ ‫های‬‫سال‬ ‫در‬ ‫ایکس‬.‫نرو‬ ‫فیبر‬ ‫از‬ ،‫حسگرها‬ ‫نوع‬ ‫این‬ ‫در‬‫ری‬
‫وی‬ ‫کره‬ ‫ترتیب‬ ‫بدین‬ ‫شود‬‫می‬ ‫گیری‬ ‫بهره‬ ‫حسگر‬ ‫اصلی‬ ‫عنصر‬ ‫عنوان‬ ‫به‬‫هرای‬‫ژگی‬
‫شر‬ ‫انردازه‬ ‫برا‬ ‫و‬ ‫یافتره‬ ‫تنییرر‬ ‫گیرری‬ ‫اندازه‬ ‫مورد‬ ‫کمیت‬ ‫میدان‬ ‫تحت‬ ‫فیبر‬‫کمیرت‬ ‫دت‬
‫شود‬‫می‬ ‫پذیر‬ ‫تأتیر‬.
27
•‫نظامی‬ ‫کاربردهای‬:‫دا‬ ‫دفراع‬ ‫صنایع‬ ‫در‬ ‫شماری‬‫بی‬ ‫کاربردهای‬ ‫نوری‬ ‫فیبر‬‫کره‬ ‫رد‬
‫هر‬ ‫و‬ ‫کنتررل‬ ،‫رادار‬ ‫آنرتن‬ ‫برا‬ ‫کنتررل‬ ‫و‬ ‫ارتبراط‬ ‫برقراری‬ ‫توان‬‫می‬ ‫جمله‬ ‫آن‬ ‫از‬‫دایت‬
‫زیردریاییها‬ ‫ارتباط‬ ،‫ها‬‫موشو‬(‫هیدروفون‬)‫برد‬ ‫نام‬ ‫را‬.
•‫پزشکی‬ ‫کاربردهای‬:‫گو‬ ‫آزمایشرهای‬ ‫و‬ ‫هرا‬‫بیماری‬ ‫تشرخیر‬ ‫در‬ ‫فیبرنوری‬‫نراگون‬
‫غررردد‬ ‫زیمترررری‬‫د‬ ‫تررروان‬‫می‬ ‫جملررره‬ ‫آن‬ ‫از‬ ‫کررره‬ ‫دارد‬ ‫فرررراوان‬ ‫کررراربرد‬ ‫پزشرررکی‬ ‫در‬
‫در‬ ‫ررتفاده‬‫ر‬‫اس‬ ،‫ررزری‬‫ر‬‫لی‬ ‫رری‬‫ر‬‫جراح‬ ،‫رردن‬‫ر‬‫ب‬ ‫رری‬‫ر‬‫داخل‬ ‫های‬‫ررایی‬‫ر‬‫نارس‬ ‫ررایی‬‫ر‬‫شناس‬ ،‫رررطانی‬‫ر‬‫س‬
‫برد‬ ‫نام‬ ‫خون‬ ‫و‬ ‫مایعات‬ ‫گیری‬ ‫اندازه‬ ‫و‬ ‫دندانپزشکی‬.‫نروری‬ ‫تارهرای‬ ‫همچنین‬‫در‬
‫نام‬ ‫به‬ ‫هایی‬‫دستگاه‬‫بین‬ ‫درون‬‫یرا‬‫آندوساکو‬‫درون‬ ‫بره‬ ‫ترا‬ ‫شرود‬‫می‬ ‫اسرتفاده‬،‫نرای‬
‫ر‬‫ر‬‫قاب‬ ‫رتقیم‬‫ر‬‫مس‬ ‫رور‬‫ر‬‫ط‬ ‫ره‬‫ر‬‫ب‬ ‫ران‬‫ر‬‫انس‬ ‫ردن‬‫ر‬‫ب‬ ‫درون‬ ‫و‬ ‫رود‬‫ر‬‫ش‬ ‫رتاده‬‫ر‬‫فرس‬ ‫ره‬‫ر‬‫متان‬ ‫و‬ ‫روده‬ ،‫رری‬‫ر‬‫م‬‫ل‬
‫باشد‬ ‫مشاهده‬.
28
‫روشنایی‬ ‫در‬ ‫فیبرنوری‬ ‫کاربرد‬:‫چ‬ ‫در‬ ‫که‬ ‫نوری‬ ‫فیبر‬ ‫کاربردهای‬ ‫جمله‬ ‫از‬‫سرال‬ ‫نرد‬
‫رو‬ ‫های‬‫سیسرتم‬ ‫در‬ ‫آن‬ ‫کراربرد‬ ‫اسرت‬‫کرده‬ ‫پیردا‬ ‫فراوانری‬ ‫رشرد‬ ‫و‬ ‫توسرعه‬ ‫اخیر‬‫شرنایی‬
‫است‬.‫نر‬ ‫یرا‬ ‫و‬ ‫مصرنوعی‬ ‫نرور‬ ‫توانرد‬‫می‬ ‫کره‬ ‫نروری‬ ‫منبرع‬ ‫از‬ ‫نرور‬ ‫فناوری‬ ‫این‬ ‫در‬‫ور‬
‫ری‬‫ر‬‫طبیع‬(‫رید‬‫ر‬‫خورش‬ ‫رور‬‫ر‬‫ن‬)‫رل‬‫ر‬‫مح‬ ‫ره‬‫ر‬‫ب‬ ‫رق‬‫ر‬‫طری‬ ‫رن‬‫ر‬‫ای‬ ‫از‬ ‫و‬ ‫رده‬‫ر‬‫ش‬ ‫روری‬‫ر‬‫ن‬ ‫رر‬‫ر‬‫فیب‬ ‫وارد‬ ‫رد‬‫ر‬‫باش‬
‫رود‬‫ر‬‫ش‬‫می‬ ‫رل‬‫ر‬‫منتق‬ ‫ررف‬‫ر‬‫مص‬.‫راب‬‫ر‬‫ت‬ ‫رت‬‫ر‬‫جه‬ ‫در‬ ‫ره‬‫ر‬‫ک‬ ‫ای‬‫ره‬‫ر‬‫نقط‬ ‫رر‬‫ر‬‫ه‬ ‫ره‬‫ر‬‫ب‬ ‫رور‬‫ر‬‫ن‬ ‫رب‬‫ر‬‫ترتی‬ ‫رن‬‫ر‬‫ای‬ ‫ره‬‫ر‬‫ب‬‫ش‬
‫رود‬‫ر‬‫ش‬‫می‬ ‫رل‬‫ر‬‫منتق‬ ‫رد‬‫ر‬‫باش‬‫نمی‬ ‫آن‬ ‫رتقیم‬‫ر‬‫مس‬.‫رر‬‫ر‬‫س‬ ‫رد‬‫ر‬‫رش‬ ‫رات‬‫ر‬‫موجب‬ ‫ره‬‫ر‬‫ک‬ ‫رور‬‫ر‬‫ن‬ ‫رن‬‫ر‬‫ای‬ ‫راز‬‫ر‬‫امتی‬‫ره‬‫ر‬‫ب‬ ‫یع‬
‫الکتر‬ ‫رد‬‫ر‬‫فاق‬ ‫ره‬‫ر‬‫ک‬ ‫رت‬‫ر‬‫اس‬ ‫رن‬‫ر‬‫ای‬ ‫رت‬‫ر‬‫اس‬‫شده‬ ‫راوری‬‫ر‬‫فن‬ ‫رن‬‫ر‬‫ای‬ ‫ره‬‫ر‬‫ب‬ ‫راد‬‫ر‬‫زی‬ ‫ره‬‫ر‬‫توج‬ ‫و‬ ‫رارگیری‬‫ر‬‫ک‬‫ریته‬‫ر‬‫یس‬
‫روده‬‫ر‬‫ب‬ ‫رنفش‬‫ر‬‫ب‬ ‫راورای‬‫ر‬‫م‬ ‫راک‬‫ر‬‫خطرن‬ ‫رعات‬‫ر‬‫تشعش‬ ‫و‬ ‫را‬‫ر‬‫گرم‬(‫رر‬‫ر‬‫خط‬ ‫ری‬‫ر‬‫ب‬ ‫و‬ ‫رالر‬‫ر‬‫خ‬ ‫رور‬‫ر‬‫ن‬)‫و‬
‫روز‬ ‫نرور‬ ‫شرود‬‫می‬ ‫فنراوری‬ ‫ایرن‬ ‫برا‬ ‫اینکره‬ ‫دیگر‬(‫مراورا‬ ‫های‬‫اشرعه‬ ‫و‬ ‫گرمرا‬ ‫بردون‬
‫رنفش‬‫ر‬‫ب‬)‫ر‬‫ر‬‫خورش‬ ‫رور‬‫ر‬‫ن‬ ‫ره‬‫ر‬‫ب‬ ‫ری‬‫ر‬‫دسترس‬ ‫رل‬‫ر‬‫قاب‬ ‫رر‬‫ر‬‫غی‬ ‫راط‬‫ر‬‫نق‬ ‫و‬ ‫راختمانها‬‫ر‬‫س‬ ‫رل‬‫ر‬‫داخ‬ ‫ره‬‫ر‬‫ب‬ ‫رم‬‫ر‬‫ه‬ ‫را‬‫ید‬
‫کرد‬ ‫منتقل‬. 29
‫روشنایی‬ ‫در‬ ‫نوری‬ ‫فیبر‬ ‫کاربرد‬ ‫از‬ ‫نمونه‬ ‫چند‬:
30
‫دوم‬ ‫فصل‬:
‫فیزیک‬‫فیبرهای‬‫نوری‬
31
2-1‫چیست؟‬ ‫نور‬
‫ماهی‬‫الکترومغناطیس‬:
‫رز‬‫ر‬‫جیم‬‫رول‬‫ر‬‫ماکس‬ ‫رالرک‬‫ر‬‫ک‬(۱۸۷۹۱۸۳۱):‫رور‬‫ر‬‫ن‬‫ری‬‫ر‬‫الکترومنناطیس‬ ‫ررژی‬‫ر‬‫ان‬ ‫روعی‬‫ر‬‫ن‬
‫شرود‬ ‫مری‬ ‫توصریف‬ ‫الکترومنناطیسری‬ ‫امرواج‬ ‫عنروان‬ ‫بره‬ ‫معمروال‬ ‫که‬ ‫است‬.‫گسر‬‫ترده‬
‫رامل‬‫ر‬‫ش‬ ‫ری‬‫ر‬‫الکترومنناطیس‬ ‫رواج‬‫ر‬‫ام‬ ‫رل‬‫ر‬‫کام‬:‫رو‬‫ر‬‫ن‬ ، ‫ررخ‬‫ر‬‫س‬ ‫ررو‬‫ر‬‫ف‬ ‫رابش‬‫ر‬‫ت‬ ، ‫رویی‬‫ر‬‫رادی‬ ‫روج‬‫ر‬‫م‬‫ر‬
‫می‬ ‫گاما‬ ‫اشعه‬ ‫و‬ ‫ایکس‬ ‫اشعه‬ ، ‫فرابنفش‬ ‫تابش‬ ، ‫بنفش‬ ‫تا‬ ‫قرمز‬ ‫از‬ ‫مرئی‬‫باشد‬.
‫کوانتومی‬ ‫ماهی‬‫نور‬:
‫ری‬‫ر‬‫بوس‬ ‫رتم‬‫ر‬‫بیس‬ ‫ررن‬‫ر‬‫ق‬ ‫اول‬ ‫ره‬‫ر‬‫ده‬ ‫دو‬ ‫در‬ ‫ره‬‫ر‬‫ک‬ ،‫رور‬‫ر‬‫ن‬ ‫رومی‬‫ر‬‫کوانت‬ ‫رو‬‫ر‬‫مکانی‬ ‫ره‬‫ر‬‫نظری‬ ‫رق‬‫ر‬‫طب‬‫له‬
‫ررررژی‬‫ر‬‫ان‬ ،‫رررد‬‫ر‬‫ش‬ ‫رررنهاد‬‫ر‬‫پیش‬ ‫رررار‬‫ر‬‫ب‬ ‫رررین‬‫ر‬‫اول‬ ‫ررررای‬‫ر‬‫ب‬ ‫رررور‬‫ر‬‫ب‬ ‫و‬ ‫رررتین‬‫ر‬‫انیش‬ ‫ررررت‬‫ر‬‫آلب‬ ‫و‬ ‫رررو‬‫ر‬‫پالن‬
‫رررردان‬‫ر‬‫می‬ ‫رررررژی‬‫ر‬‫ان‬ ‫ررررر‬‫ر‬‫نش‬ ‫ررررا‬‫ر‬‫ی‬ ‫ررررذب‬‫ر‬‫ج‬ ‫رررری‬‫ر‬‫یعن‬ ،‫ررررت‬‫ر‬‫اس‬ ‫ررررده‬‫ر‬‫کوانتی‬ ‫رررری‬‫ر‬‫الکترومنناطیس‬
‫نام‬ ‫به‬ ‫ای‬ ‫گسسته‬ ‫مقادیر‬ ‫به‬ ‫الکترومنناطیسی‬"‫فوتون‬"‫گیرد‬ ‫می‬ ‫انجام‬.
32
•‫مکملی‬ ‫نظریه‬
•‫اسرت‬ ‫هرویگنس‬ ‫و‬ ‫نیوترون‬ ‫تعراریف‬ ‫از‬ ‫اصرولی‬ ‫شامل‬ ‫نور‬ ‫جدید‬ ‫نظریه‬.‫بنر‬‫ابراین‬
‫تر‬ ‫مترل‬ ‫هرا‬ ‫پدیده‬ ‫از‬ ‫برخی‬ ،‫دارد‬ ‫ای‬ ‫گانه‬ ‫دو‬ ‫خاصیت‬ ‫نور‬ ‫که‬ ‫شود‬ ‫می‬ ‫گفته‬‫داخل‬
‫ررده‬‫ر‬‫پدی‬ ‫ررد‬‫ر‬‫مانن‬ ‫ررر‬‫ر‬‫دیگ‬ ‫رری‬‫ر‬‫برخ‬ ‫و‬ ‫ررد‬‫ر‬‫ده‬ ‫رری‬‫ر‬‫م‬ ‫رران‬‫ر‬‫نش‬ ‫رررا‬‫ر‬‫آن‬ ‫رروجی‬‫ر‬‫م‬ ‫رریت‬‫ر‬‫خاص‬ ‫ررراش‬‫ر‬‫پ‬ ‫و‬
‫و‬ ‫ررامپتون‬‫ر‬‫ک‬ ‫ررده‬‫ر‬‫پدی‬ ، ‫ررو‬‫ر‬‫فوتوالکتری‬...‫تو‬ ‫ررل‬‫ر‬‫قاب‬ ‫ررور‬‫ر‬‫ن‬ ‫ای‬ ‫ذره‬ ‫رریت‬‫ر‬‫خاص‬ ‫ررا‬‫ر‬‫ب‬‫رریت‬‫ر‬‫ض‬
‫هستند‬.
33
‫چیست‬ ‫نور‬ ‫واقعی‬ ‫تعریف‬‫؟‬
‫تعریف‬‫شر‬ ‫کره‬ ‫مشرخر‬ ‫مردل‬ ‫یرا‬ ‫شرده‬ ‫شرناخته‬ ‫جسرم‬ ،‫نرداریم‬ ‫نور‬ ‫برای‬ ‫دقیقی‬‫آن‬ ‫بیه‬
‫ندارد‬ ‫وجود‬ ‫باشد‬.‫باشرد‬ ‫مبتنری‬ ‫شرباهت‬ ‫برر‬ ‫چیرز‬ ‫هرر‬ ‫فهرم‬ ‫نیسرت‬ ‫الزم‬ ‫ولی‬.‫ن‬‫ظریره‬
‫و‬ ‫راق‬‫ر‬‫نامتن‬ ‫ره‬‫ر‬‫نظری‬ ‫رو‬‫ر‬‫ی‬ ‫راد‬‫ر‬‫ایج‬ ‫راهم‬‫ر‬‫ب‬ ‫رومی‬‫ر‬‫کوانت‬ ‫ره‬‫ر‬‫نظری‬ ‫و‬ ‫ری‬‫ر‬‫الکترومنناطیس‬‫ردون‬‫ر‬‫ب‬
‫رد‬‫ر‬‫کنن‬ ‫ری‬‫ر‬‫م‬ ‫را‬ ‫روری‬‫ر‬‫ن‬ ‫رای‬‫ر‬‫ه‬ ‫رده‬‫ر‬‫پدی‬ ‫رام‬‫ر‬‫تم‬ ‫ره‬‫ر‬‫ک‬ ‫رد‬‫ر‬‫کنن‬ ‫ری‬‫ر‬‫م‬ ‫رام‬‫ر‬‫ابه‬.‫رار‬‫ر‬‫درب‬ ‫رول‬‫ر‬‫ماکس‬ ‫ره‬‫ر‬‫نظری‬‫ه‬
‫نرور‬ ‫بررهمکنش‬ ‫کوانترومی‬ ‫نظریه‬ ‫که‬ ‫حالی‬ ‫در‬ ‫کند‬ ‫می‬ ‫بح‬ ‫و‬ ‫نور‬ ‫انتشار‬‫مراده‬ ‫و‬
‫کر‬ ‫جرامعی‬ ‫نظریره‬ ، ‫نظریه‬ ‫دو‬ ‫این‬ ‫ازآمیختن‬ ‫دهد‬ ‫می‬ ‫شرح‬ ‫را‬ ‫آن‬ ‫نشر‬ ‫و‬ ‫جذب‬ ‫یا‬‫ه‬
‫گیرررررد‬ ‫مرررری‬ ‫شررررکل‬ ،‫دارد‬ ‫نررررام‬ ‫الکترودینامیررررو‬ ‫کوانترررروم‬.‫هررررای‬ ‫نظریرررره‬ ‫چررررون‬
‫بسر‬ ‫ترابش‬ ‫بره‬ ‫مربروط‬ ‫هرای‬ ‫پدیرده‬ ‫برر‬ ‫عرالوه‬ ‫کوانتومی‬ ‫و‬ ‫الکترومنناطیسی‬‫از‬ ‫یاری‬
‫ر‬‫ر‬‫ک‬ ‫ررد‬‫ر‬‫ک‬ ‫رر‬‫ر‬‫ف‬ ‫روان‬‫ر‬‫ت‬ ‫ری‬‫ر‬‫م‬ ‫رفانه‬‫ر‬‫منص‬ ‫رد‬‫ر‬‫کنن‬ ‫ری‬‫ر‬‫م‬ ‫رریت‬‫ر‬‫تش‬ ‫رز‬‫ر‬‫نی‬ ‫را‬ ‫رر‬‫ر‬‫دیگ‬ ‫رای‬‫ر‬‫ه‬ ‫رده‬‫ر‬‫پدی‬‫ه‬
‫اسرت‬ ‫جوابگرو‬ ‫ریاضری‬ ‫قالرب‬ ‫در‬ ‫الاقرل‬ ‫را‬ ‫امرروز‬ ‫تجربی‬ ‫مشاهدات‬.‫نرو‬ ‫طبیعرت‬‫ر‬
‫چیس‬ ‫نور‬ ‫واقعیت‬ ‫که‬ ‫هست‬ ‫پرسش‬ ‫این‬ ‫هم‬ ‫باز‬ ‫اما‬ ،‫است‬ ‫شده‬ ‫شناخته‬ ‫کامال‬‫ت؟‬
34
2-2‫تعاریف‬‫قوانین‬ ‫و‬‫نور‬:
2-2-1‫شکس‬ ‫ضریب‬:
‫با‬ ‫برابر‬ ‫فضا‬ ‫در‬ ‫نور‬ ‫سیر‬ ‫سرعت‬299792‫تقریبرأ‬ ‫کره‬ ‫باشرد‬ ‫مری‬ ‫تانیره‬ ‫در‬ ‫کیلرومتر‬‫آن‬
‫با‬ ‫برابر‬ ‫را‬3*10^8 m/s‫فرکرانس‬ ‫عامرل‬ ‫دو‬ ‫بره‬ ‫سررعت‬ ‫این‬ ‫که‬ ‫میگیرند‬ ‫نظر‬ ‫در‬(f)
‫موج‬ ‫طول‬ ‫و‬(λ)‫است‬ ‫برقرار‬ ‫زیر‬ ‫روابط‬ ‫آنها‬ ‫بین‬ ‫که‬ ‫دارد‬ ‫بستگی‬.
=c / ƒλ‫یا‬C= f.λ
‫سررعت‬ ‫شرود‬ ‫مری‬ ‫وارد‬ ‫شیشره‬ ‫ماننرد‬ ‫هرادی‬ ‫غیرر‬ ‫و‬ ‫عرایق‬ ‫محیط‬ ‫یو‬ ‫به‬ ‫نور‬ ‫که‬ ‫هنگامی‬
‫مقردار‬ ‫برابرر‬ ‫و‬ ‫کمترر‬ ‫فضرا‬ ‫در‬ ‫نور‬ ‫سرعت‬ ‫از‬ ‫آن‬V‫شرود‬ ‫مری‬.‫در‬ ‫سریر‬ ‫سررعت‬ ‫نسربت‬
‫ر‬‫ر‬‫اگ‬ ‫و‬ ‫رت‬‫ر‬‫اس‬ ‫ریط‬‫ر‬‫مح‬ ‫آن‬ ‫رت‬‫ر‬‫شکس‬ ‫رریب‬‫ر‬‫ض‬ ‫رر‬‫ر‬‫براب‬ ، ‫رد‬‫ر‬‫جدی‬ ‫ریط‬‫ر‬‫مح‬ ‫در‬ ‫رور‬‫ر‬‫ن‬ ‫ررعت‬‫ر‬‫س‬ ‫ره‬‫ر‬‫ب‬ ‫را‬‫ر‬‫فض‬‫ر‬
‫با‬ ‫را‬ ‫شکست‬ ‫ضریب‬n‫داشت‬ ‫خواهیم‬ ، ‫دهیم‬ ‫نشان‬:
n=c / v
35
‫اجسام‬ ‫شکس‬ ‫ضریب‬(n)
‫هوا‬ ‫تقریبأ‬=1
‫آب‬ 1.33
‫اتیلیک‬ ‫الکل‬ 1.36
‫کوارتز‬ 1.46
‫شیشه‬ 1.5
‫الماس‬ 2.42
‫ردار‬‫ر‬‫مق‬n‫ررای‬‫ر‬‫ب‬‫ررق‬‫ر‬‫ف‬ ‫رف‬‫ر‬‫مختل‬ ‫رای‬‫ر‬‫ه‬ ‫ریط‬‫ر‬‫مح‬
‫ره‬‫ر‬‫رابط‬ ‫از‬ ‫را‬ ‫آن‬ ‫روان‬‫ر‬‫ت‬ ‫ری‬‫ر‬‫وم‬ ‫رد‬‫ر‬‫کن‬ ‫ری‬‫ر‬‫م‬
n=√εr‫رره‬‫ر‬‫ک‬ ‫آورد‬ ‫ررت‬‫ر‬‫دس‬ ‫رره‬‫ر‬‫ب‬rε‫ررزان‬‫ر‬‫می‬
‫ر‬‫ر‬‫اس‬ ‫ری‬‫ر‬‫الکتریک‬ ‫ردان‬‫ر‬‫می‬ ‫رور‬‫ر‬‫عب‬ ‫از‬ ‫رت‬‫ر‬‫ممانع‬‫ت‬
‫رر‬‫ر‬‫الکتریک‬ ‫ررذیری‬‫ر‬‫پ‬ ‫رروذ‬‫ر‬‫نف‬ ‫ررریب‬‫ر‬‫ض‬ ‫رره‬‫ر‬‫ب‬ ‫رره‬‫ر‬‫ک‬‫ی‬
‫رروف‬‫ر‬‫مع‬‫رد‬‫ر‬‫باش‬ ‫ری‬‫ر‬‫م‬.‫ردار‬‫ر‬‫مق‬n‫ری‬‫ر‬‫بعض‬ ‫ررای‬‫ر‬‫ب‬
‫جررردول‬ ‫در‬ ، ‫اجسرررام‬ ‫از‬‫نشررران‬ ‫رو‬ ‫بررره‬ ‫رو‬
‫است‬ ‫شده‬ ‫داده‬.
‫رریب‬‫ر‬‫ض‬ ‫ره‬‫ر‬‫ب‬ ‫ری‬‫ر‬‫محیط‬ ‫رر‬‫ر‬‫ه‬ ‫در‬ ‫رور‬‫ر‬‫ن‬ ‫ررعت‬‫ر‬‫س‬
‫ر‬‫ر‬‫چ‬ ‫رر‬‫ر‬‫ه‬ ‫و‬ ‫دارد‬ ‫رتگی‬‫ر‬‫بس‬ ‫ریط‬‫ر‬‫مح‬ ‫آن‬ ‫رت‬‫ر‬‫شکس‬‫ه‬
‫سر‬ ‫باشرد‬ ‫کمتر‬ ‫محیط‬ ‫شکست‬ ‫ضریب‬‫رعت‬
‫ریط‬‫ر‬‫مح‬ ‫آن‬ ‫در‬ ‫روج‬‫ر‬‫م‬ ‫رول‬‫ر‬‫ط‬ ‫رین‬‫ر‬‫همچن‬ ‫و‬ ‫رور‬‫ر‬‫ن‬
‫شود‬ ‫می‬ ‫بیشتر‬.
36
2-2-2‫پدیده‬‫وانکسار‬ ‫انعکاس‬ ، ‫تابش‬ ‫های‬:
‫رانیم‬‫ر‬‫تاب‬ ‫ری‬‫ر‬‫م‬ ‫ریط‬‫ر‬‫مح‬ ‫دو‬ ‫ردایی‬‫ر‬‫ج‬ ‫رطت‬‫ر‬‫س‬ ‫ره‬‫ر‬‫ب‬ ‫را‬ ‫رور‬‫ر‬‫ن‬ ‫رعاع‬‫ر‬‫ش‬ ‫رو‬‫ر‬‫ی‬ ‫ره‬‫ر‬‫ک‬ ‫رانی‬‫ر‬‫زم‬(‫ر‬‫ر‬‫ی‬ ‫رابش‬‫ر‬‫ت‬‫ا‬
incidence)‫ررردد‬‫ر‬‫گ‬ ‫ررازمی‬‫ر‬‫ب‬ ‫اول‬ ‫رریط‬‫ر‬‫مح‬ ‫ررل‬‫ر‬‫داخ‬ ‫رره‬‫ر‬‫ب‬ ‫آن‬ ‫از‬ ‫ررمتی‬‫ر‬‫قس‬ ،(‫ررا‬‫ر‬‫ی‬ ‫رراس‬‫ر‬‫انعک‬
reflection)‫مر‬ ‫وارد‬ ‫دوم‬ ‫محریط‬ ‫بره‬ ‫و‬ ‫شرده‬ ‫شکسته‬ ‫نورانی‬ ‫شعاع‬ ‫این‬ ‫ی‬ ‫بقیه‬ ‫و‬‫ی‬
‫شود‬(‫یرا‬ ‫انکسار‬refrection)‫محریط‬ ‫دو‬ ‫جردایی‬ ‫سرطت‬ ‫در‬ ‫نرور‬ ‫انکسرار‬ ‫میرزان‬ ،
‫دارد‬ ‫محیط‬ ‫دو‬ ‫در‬ ‫نور‬ ‫سرعت‬ ‫اختالف‬ ‫به‬ ‫بستگی‬.
‫پدیده‬‫که‬ ‫این‬ ‫فر‬ ‫با‬ ‫انکسار‬ ‫و‬ ‫انعکاس‬ ، ‫تابش‬ ‫های‬N2>N1‫شرکل‬ ‫در‬ ، ‫باشد‬‫بعرد‬
‫نشان‬‫شده‬ ‫داده‬‫اند‬.
37
38
2-2-3‫قوانین‬‫اسنل‬:
‫ره‬‫ر‬‫رابط‬‫ر‬‫ر‬‫اس‬ ‫روانین‬‫ر‬‫ق‬ ‫روان‬‫ر‬‫عن‬ ‫ره‬‫ر‬‫ب‬ ‫ره‬‫ر‬‫ک‬ ‫رابش‬‫ر‬‫ت‬ ‫و‬ ‫رت‬‫ر‬‫شکس‬ ‫ی‬ ‫ره‬‫ر‬‫زاوی‬ ، ‫رت‬‫ر‬‫شکس‬ ‫رریب‬‫ر‬‫ض‬‫نل‬
‫گردد‬ ‫می‬ ‫بیان‬ ‫زیر‬ ‫صورت‬ ‫به‬ ، ‫شوند‬ ‫می‬ ‫شناخته‬:
1-‫برابرند‬ ‫هم‬ ‫با‬ ‫محیط‬ ‫نوع‬ ‫هر‬ ‫برای‬ ‫تابش‬ ‫ی‬ ‫زاویه‬ ‫و‬ ‫انعکاس‬ ‫ی‬ ‫زاویه‬.
Ɵ1=Ɵr
-2‫شعاع‬‫محر‬ ‫دو‬ ‫مشرترک‬ ‫فصل‬ ‫بر‬ ‫عمود‬ ‫خط‬ ‫و‬ ‫شکست‬ ، ‫منعکس‬ ، ‫تابش‬ ‫های‬‫یط‬
‫ا‬ ‫عمود‬ ‫محیط‬ ‫دو‬ ‫جدایی‬ ‫صفحه‬ ‫بر‬ ‫صفحه‬ ‫این‬ ‫که‬ ‫دارند‬ ‫قرار‬ ‫صفحه‬ ‫یو‬ ‫در‬‫ست‬.
39
3-‫زا‬ ‫سرینوس‬ ‫بره‬ ‫تابش‬ ‫ی‬ ‫زاویه‬ ‫سینوس‬ ‫نسبت‬ ، ‫مشخر‬ ‫محیط‬ ‫دو‬ ‫برای‬‫ی‬ ‫ویره‬
‫ن‬ ‫دوم‬ ‫محریط‬ ‫شکسرت‬ ‫ضرریب‬ ‫را‬ ‫تابرت‬ ‫مقردار‬ ‫اسرتین‬ ‫ترابتی‬ ‫مقدار‬ ‫شکست‬‫بره‬ ‫سربت‬
‫حرف‬ ‫با‬ ‫را‬ ‫آن‬ ‫و‬ ‫نامند‬‫می‬ ‫اول‬ ‫محیط‬n‫نمایش‬‫دهند‬ ‫می‬.
n=Sini/SinR Sini/SinR=n2/n1 => n1.Sini=n2.SinR
‫رو‬‫ر‬‫ن‬ ‫رت‬‫ر‬‫حرک‬ ‫ریر‬‫ر‬‫مس‬ ‫ریم‬‫ر‬‫کن‬ ‫رو‬‫ر‬‫ع‬ ‫را‬ ‫رابش‬‫ر‬‫ت‬ ‫رت‬‫ر‬‫جه‬ ‫رر‬‫ر‬‫اگ‬ ‫رور‬‫ر‬‫ن‬ ‫رت‬‫ر‬‫بازگش‬ ‫رل‬‫ر‬‫اص‬ ‫رق‬‫ر‬‫طب‬‫ر‬
‫را‬ ‫نروری‬ ، ‫شکسرت‬ ‫شرعاع‬ ‫امترداد‬ ‫در‬ ‫اگرر‬ ‫یعنی‬ ‫شود‬ ‫نمی‬ ‫عو‬‫از‬n2‫بره‬‫محرل‬
‫خو‬ ‫منطبرق‬ ‫قبلی‬ ‫تابش‬ ‫شعاع‬ ‫بر‬ ‫جدید‬ ‫شکست‬ ‫شعاع‬ ، ‫بتابانیم‬ ‫قبلی‬‫نرور‬ ‫و‬ ‫برود‬ ‫اهرد‬
‫کند‬ ‫می‬ ‫عبور‬ ‫قبلی‬ ‫مسیر‬ ‫همان‬ ‫از‬.
40
2-3‫حالت‬‫مختلف‬ ‫محیط‬ ‫دو‬ ‫در‬ ‫نور‬ ‫تابش‬ ‫مختلف‬ ‫های‬(n1›n2:)
‫اگر‬‫ی‬ ‫زاویه‬ ‫و‬ ‫نباشد‬ ‫عمودی‬ ‫صورت‬ ‫به‬ ‫تابش‬ ‫شعاع‬‫تابش‬Ɵi‫و‬‫شکست‬ ‫ی‬ ‫زاویه‬ƟR
، ‫باشد‬‫همواره‬Ɵi<ƟR‫بود‬ ‫خواهد‬(.‫شکل‬1)
3-‫ترابش‬ ‫ی‬ ‫زاویره‬ ‫اگرر‬Ɵi‫شکسرت‬ ‫ی‬ ‫زاویره‬ ، ‫کنریم‬ ‫بزرگترر‬ ‫را‬ƟR‫نیرز‬‫مری‬ ‫افرزایش‬
‫مسراوی‬ ‫شکسرت‬ ‫ی‬ ‫زاویره‬ ‫کره‬ ‫کنریم‬ ‫زیاد‬ ‫آنقدر‬ ‫را‬ ‫تابش‬ ‫ی‬ ‫زاویه‬ ‫اگر‬ ، ‫یابد‬90‫درجره‬
‫رود‬‫ر‬‫بش‬(ƟR=90)،‫ری‬‫ر‬‫م‬ ‫رخ‬ ‫ری‬‫ر‬‫کل‬ ‫راس‬‫ر‬‫انعک‬ ‫و‬ ‫ردارد‬‫ر‬‫ن‬ ‫رود‬‫ر‬‫وج‬ ‫رور‬‫ر‬‫ن‬ ‫رار‬‫ر‬‫انکس‬ ‫رت‬‫ر‬‫حال‬ ‫رن‬‫ر‬‫ای‬ ‫در‬
‫برابرر‬ ‫را‬ ‫شکسرت‬ ‫ی‬ ‫زاویره‬ ‫کره‬ ‫تابش‬ ‫ی‬ ‫زاویه‬ ‫این‬ ‫دهد،به‬90‫بحرانری‬ ‫ی‬ ‫زاویره‬ ‫میکنرد‬
‫با‬ ‫را‬ ‫وآن‬ ‫گویند‬Ɵc‫میدهند‬ ‫نشان‬(.‫شکل‬2)
4-‫شرود‬ ‫بیشرتر‬ ‫بحرانری‬ ‫ی‬ ‫زاویره‬ ‫از‬ ‫ترابش‬ ‫ی‬ ‫زاویره‬ ‫اگر‬(Ɵi>Ɵc)‫رخ‬ ‫کلری‬ ‫انعکراس‬
‫ریط‬‫ر‬‫مح‬ ‫دو‬ ‫رترک‬‫ر‬‫مش‬ ‫رطت‬‫ر‬‫س‬ ‫از‬ ‫و‬ ‫رردد‬‫ر‬‫گ‬ ‫ری‬‫ر‬‫م‬ ‫راز‬‫ر‬‫ب‬ ‫اول‬ ‫ریط‬‫ر‬‫مح‬ ‫ره‬‫ر‬‫ب‬ ‫رابش‬‫ر‬‫ت‬ ‫رعاع‬‫ر‬‫ش‬ ‫و‬ ‫رد‬‫ر‬‫ده‬ ‫ری‬‫ر‬‫م‬
‫وضعیت‬ ‫این‬ ‫که‬ ‫شود‬ ‫نمی‬ ‫ساطع‬ ‫خارج‬ ‫به‬ ‫نوری‬‫ایده‬‫آلی‬‫نروری‬ ‫هرای‬ ‫فیبر‬ ‫در‬ ‫که‬ ‫است‬
‫بدان‬ ‫نور‬ ‫انتقال‬ ‫جهت‬‫نیازمندیم‬.(‫شکل‬3)
41
N2
N1
42
2-4‫انتقال‬‫نوری‬ ‫فیبر‬ ‫در‬ ‫نور‬:
‫پوشش‬ ‫و‬ ‫منزی‬ ‫قسمت‬ ‫دو‬ ‫از‬ ‫نوری‬ ‫فیبر‬ ‫کابل‬ ‫در‬ ‫نور‬(‫غالف‬)‫ک‬ ‫می‬ ‫عبور‬‫که‬ ‫ند‬
‫رد‬‫ر‬‫دارن‬ ‫راوتی‬‫ر‬‫متف‬ ‫رای‬‫ر‬‫ه‬ ‫رت‬‫ر‬‫شکس‬ ‫رریب‬‫ر‬‫ض‬ ‫ردام‬‫ر‬‫ک‬ ‫رر‬‫ر‬‫ه‬.‫رت‬‫ر‬‫شکس‬ ‫رریب‬‫ر‬‫ض‬‫رزی‬‫ر‬‫من‬n1‫و‬
‫پوشش‬ ‫شکست‬ ‫ضریب‬n2‫می‬‫باشد،به‬‫که‬ ‫نحوی‬n1‫بزرگتر‬‫از‬n2‫باشد‬ ‫می‬.
‫محریط‬ ‫از‬ ‫نرور‬ ‫کره‬ ‫اسرت‬ ‫حرالتی‬ ‫ماننرد‬ ‫عینرأ‬ ‫شرود‬ ‫می‬ ‫منزی‬ ‫داخل‬ ‫نور‬ ‫که‬ ‫هنگامی‬
‫شرود‬ ‫می‬ ‫تابیده‬ ‫رقیق‬ ‫محیط‬ ‫به‬ ‫غلیظ‬.‫مشرت‬ ‫فصرل‬ ‫بره‬ ‫نرور‬ ‫برخرورد‬ ‫از‬ ‫پرس‬‫دو‬ ‫رک‬
‫ریط‬‫ر‬‫مح‬(‫رش‬‫ر‬‫پوش‬ ‫و‬ ‫رزی‬‫ر‬‫من‬)‫رر‬‫ر‬‫فیب‬ ‫رزی‬‫ر‬‫من‬ ‫ران‬‫ر‬‫هم‬ ‫ره‬‫ر‬‫ک‬ ‫اول‬ ‫ریط‬‫ر‬‫مح‬ ‫ره‬‫ر‬‫ب‬ ‫و‬ ‫رده‬‫ر‬‫ش‬ ‫رنعکس‬‫ر‬‫م‬ ،
‫نوری‬‫طرول‬ ‫در‬ ‫انعکراس‬ ‫هرا‬ ‫برار‬ ‫از‬ ‫پرس‬ ‫ترتیرب‬ ‫همرین‬ ‫بره‬ ‫و‬ ‫گرردد‬ ‫می‬ ‫باز‬ ، ‫است‬
‫رسد‬ ‫می‬ ‫فیبر‬ ‫انتهای‬ ‫به‬ ‫مسیر‬.
43
‫ی‬ ‫زاویه‬ ‫که‬ ‫داشت‬ ‫توجه‬ ‫باید‬Ɵi‫در‬‫ی‬ ‫زاویره‬ ‫از‬ ‫بزرگترر‬ ‫حالرت‬ ‫ایرن‬Ɵc(‫زاویره‬
‫بحرانی‬ ‫ی‬)‫اگر‬ ‫و‬ ‫باشد‬ ‫می‬Ɵi‫از‬Ɵc‫کمتر‬‫بری‬ ‫مررز‬ ‫از‬ ‫شرده‬ ‫تابیرده‬ ‫نور‬ ، ‫باشد‬‫ن‬
‫گردد‬ ‫نمی‬ ‫منتقل‬ ‫فیبر‬ ‫در‬ ‫و‬ ‫کرده‬ ‫عبور‬ ‫وپوشش‬ ‫منزی‬.
‫صورت‬ ‫به‬ ‫توان‬ ‫می‬ ‫را‬ ‫نوری‬ ‫فیبر‬ ‫در‬ ‫نور‬ ‫انتقال‬ ‫شرط‬ ‫بنابراین‬Ɵc‹Ɵi‫نوشت‬.
‫نوشت‬ ‫توان‬ ‫می‬ ‫اسنل‬ ‫قانون‬ ‫به‬ ‫توجه‬ ‫با‬:
n1.sinƟc=N2 <= sinƟc =N2/N1
44
2-5‫زاویه‬‫پذیرش‬ ‫ی‬:
‫وارد‬ ‫محردود‬ ‫آن‬ ‫در‬ ‫نرور‬ ‫اگرر‬ ‫کره‬ ‫دارد‬ ‫وجرود‬ ‫مشخصری‬ ‫ی‬ ‫محدوده‬ ‫فیبر‬ ‫هر‬ ‫برای‬
‫شد‬ ‫خواهد‬ ‫منتقل‬ ‫آن‬ ‫طول‬ ‫در‬ ،‫شود‬ ‫فیبر‬
‫به‬‫بر‬ ‫بایرد‬ ‫فیبرر‬ ‫بره‬ ‫بره‬ ‫شرده‬ ‫تابیرده‬ ‫نرور‬ ‫کره‬ ‫اسرت‬ ‫ای‬ ‫زاویره‬ ، ‫دیگرر‬ ‫عبارت‬‫محرور‬ ‫ا‬
‫رش‬‫ر‬‫پوش‬ ‫و‬ ‫منرزی‬ ‫ررز‬‫ر‬‫م‬ ‫در‬ ‫فیبرر‬ ‫ره‬‫ر‬‫ب‬ ‫ورود‬ ‫از‬ ‫پرس‬ ‫کره‬ ‫روری‬‫ر‬‫ط‬ ‫بره‬ ‫رد‬‫ر‬‫کن‬ ‫ایجراد‬ ‫طرولی‬
‫منعکس‬ ‫فیبر‬ ‫داخل‬ ‫به‬ ‫تمامأ‬ ‫و‬ ‫بشکند‬ ‫خارجی‬‫شود‬.‫ع‬ ‫خط‬ ‫نسبت‬ ‫زاویه‬ ‫این‬‫برر‬ ‫مرود‬
‫نام‬ ‫به‬ ‫مخروطی‬ ‫تشکیل‬ ‫نوری‬ ‫فیبر‬ ‫ورودی‬‫پزیرش‬ ‫مخروط‬‫دهد‬ ‫می‬.
45
46
‫فصل‬‫سوم‬
‫نوری‬ ‫فیبر‬ ‫ساختمان‬
47
3-1‫ساختمان‬‫نوری‬ ‫فیبر‬:
•‫تار‬‫شود‬ ‫می‬ ‫تشکیل‬ ‫اصلی‬ ‫بخش‬ ‫دو‬ ‫از‬ ‫نوری‬:‫پوشش‬ ‫و‬ ‫هسته‬)‫ساخته‬‫از‬ ‫شده‬
‫نوری‬ ‫شفاف‬ ‫ی‬ ‫ماده‬ ‫یو‬‫متال‬‫گداخته‬ ‫سیلیکای‬ ‫شیشه‬)‫روکش‬ ‫و‬ ،.
•‫رود‬ ‫ری‬‫ر‬‫م‬ ‫رار‬‫ر‬‫ک‬ ‫ره‬‫ر‬‫ب‬ ‫رور‬‫ر‬‫ن‬ ‫ردایت‬‫ر‬‫ه‬ ‫ررای‬‫ر‬‫ب‬ ‫و‬ ‫دارد‬ ‫ررار‬‫ر‬‫ق‬ ‫روری‬‫ر‬‫ن‬ ‫رار‬‫ر‬‫ت‬ ‫رز‬‫ر‬‫مرک‬ ‫در‬ ‫رته‬‫ر‬‫هس‬.
‫رت‬‫ر‬‫شکس‬ ‫رریب‬‫ر‬‫ض‬ ‫ررا‬‫ر‬‫زی‬ ، ‫رت‬‫ر‬‫اس‬ ‫رذیر‬‫ر‬‫پ‬ ‫ران‬‫ر‬‫امک‬ ‫رته‬‫ر‬‫هس‬ ‫رل‬‫ر‬‫داخ‬ ‫در‬ ‫رط‬‫ر‬‫فق‬ ‫روج‬‫ر‬‫م‬ ‫ردایت‬‫ر‬‫ه‬
‫هسته‬n1‫از‬‫شکست‬ ‫ضریب‬‫پوشش‬n2‫است‬ ‫تر‬ ‫بزر‬.‫کلری‬ ‫انعکاس‬ ‫با‬ ‫ها‬ ‫مد‬
‫مانند‬ ‫می‬ ‫باقی‬ ‫هسته‬ ‫درون‬ ، ‫پوشش‬ ‫و‬ ‫هسته‬ ‫فاصل‬ ‫حد‬ ‫در‬ ‫مداوم‬.
•‫است‬ ‫ای‬ ‫الیه‬ ‫حقیقت‬ ‫در‬ ‫روکش‬‫که‬‫گ‬ ‫مری‬ ‫برر‬ ‫در‬ ‫مسرتقیما‬ ‫را‬ ‫پوشرش‬ ‫سرطت‬‫یررد‬.
، ‫یکردیگر‬ ‫به‬ ‫ها‬ ‫تار‬ ‫اتصال‬ ‫یا‬ ‫و‬ ‫تار‬ ‫خارج‬ ‫یا‬ ‫داخل‬ ‫به‬ ‫نور‬ ‫تزویج‬ ‫برای‬‫بایسرتی‬
‫کرد‬ ‫جدا‬ ‫آن‬ ‫از‬ ‫را‬ ‫روکش‬ ‫بتوان‬.
48
•‫مر‬ ، ‫شود‬ ‫تشکیل‬ ‫پالستیکی‬ ‫ی‬ ‫الیه‬ ‫چندین‬ ‫از‬ ‫تواند‬ ‫می‬ ‫که‬ ‫این‬ ‫ضمن‬ ‫روکش‬‫بایسرت‬ ‫ی‬
‫رک‬‫ر‬‫ش‬ ‫ره‬‫ر‬‫ب‬ ، ‫آن‬ ‫رخامت‬‫ر‬‫ض‬ ‫در‬ ‫ری‬‫ر‬‫تنییرات‬ ‫را‬‫ر‬‫ی‬ ‫ری‬‫ر‬‫لخت‬ ‫ره‬‫ر‬‫گون‬ ‫ری‬‫ر‬‫ه‬ ‫ردون‬‫ر‬‫ب‬ ‫را‬ ‫رار‬‫ر‬‫ت‬ ‫رول‬‫ر‬‫ط‬ ‫رام‬‫ر‬‫تم‬‫ل‬
‫بپوشاند‬ ‫یکنواخت‬.
•‫باشر‬ ‫حلقوی‬ ‫های‬ ‫نشانه‬ ‫لزوم‬ ‫صورت‬ ‫در‬ ‫و‬ ‫رنگی‬ ‫نمای‬ ‫دارای‬ ‫است‬ ‫ممکن‬ ‫روکش‬‫د‬.
‫بنراب‬ ‫و‬ ، ‫اسرت‬ ‫بیشرتر‬ ‫پوشرش‬ ‫شکسرت‬ ‫ضرریب‬ ‫از‬ ، ‫روکرش‬ ‫شکست‬ ‫ضریب‬‫نرور‬ ‫راین‬
‫پالسرتیو‬ ‫داخرل‬ ‫در‬ ‫مترر‬ ‫چنردین‬ ‫طری‬ ‫از‬ ‫پرس‬ ‫پوشرش‬ ‫داخرل‬ ‫بره‬ ‫ناخواسته‬ ‫شده‬ ‫وارد‬‫آن‬
‫شود‬ ‫می‬ ‫جذب‬.
•‫نروری‬ ‫ترار‬ ‫شکسرت‬ ‫ضررایب‬ ‫از‬ ‫هایی‬ ‫نمونه‬:‫هسرته‬1.48‫پوشرش‬ ،1.46‫روکرش‬ ،
1.52
•‫جر‬ ‫های‬ ‫نیرو‬ ‫و‬ ‫خارجی‬ ‫آتار‬ ‫مقابل‬ ‫در‬ ‫را‬ ‫نوری‬ ‫تار‬ ‫باید‬ ‫مکانیکی‬ ‫نظر‬ ‫از‬ ‫روکش‬‫ذبی‬
‫رعیف‬‫ر‬‫تض‬ ‫ربب‬‫ر‬‫س‬ ‫و‬ ‫ررده‬‫ر‬‫ک‬ ‫رم‬‫ر‬‫خ‬ ‫رری‬‫ر‬‫مت‬ ‫ررو‬‫ر‬‫میک‬ ‫رد‬‫ر‬‫ح‬ ‫در‬ ‫را‬ ‫آن‬ ‫رت‬‫ر‬‫اس‬ ‫رن‬‫ر‬‫ممک‬ ‫ره‬‫ر‬‫ک‬ ‫ریء‬‫ر‬‫ش‬ ‫رر‬‫ر‬‫ب‬
‫کند‬ ‫محافظت‬ ، ‫شوند‬ ‫اضافی‬. 49
50
3-2‫گداخته‬ ‫سلیکای‬ ‫خصوصیات‬:
‫ف‬ ‫خوار‬ ‫که‬ ‫این‬ ‫یعنی‬ ‫است‬ ‫روند‬ ‫یو‬ ‫محیطی‬ ، ‫گداخته‬ ‫سیلیکای‬ ‫شیشه‬‫آن‬ ‫یزیکی‬
‫است‬ ‫برابر‬ ‫جهات‬ ‫تمام‬ ‫در‬.
‫اسرت‬ ‫روشرن‬ ‫کامال‬ ، ‫حرارت‬ ‫درجه‬ ‫سریع‬ ‫تنییر‬ ‫با‬ ‫آن‬ ‫رفتار‬.‫د‬ ‫ی‬ ‫واسرطه‬ ‫بره‬‫ارا‬
‫رت‬‫ر‬‫نهای‬ ‫ری‬‫ر‬‫ب‬ ‫و‬ ‫ری‬‫ر‬‫خط‬ ‫ری‬‫ر‬‫حرارت‬ ‫راط‬‫ر‬‫انبس‬ ‫رریب‬‫ر‬‫ض‬ ‫رودن‬‫ر‬‫ب‬،‫رو‬‫ر‬‫کوچ‬‫ر‬‫ر‬‫تنیی‬ ‫رل‬‫ر‬‫مقاب‬ ‫در‬‫رات‬
‫است‬ ‫مقاوم‬ ‫ای‬ ‫العاده‬ ‫فوق‬ ‫نحو‬ ‫به‬ ، ‫حرارت‬ ‫درجه‬.
‫سلیکای‬ ‫شیشه‬ ‫مشخصات‬
‫مشخصه‬ ‫واحد‬ ‫مقدار‬
‫چگالی‬Y g / cm2
2/2
‫یانگ‬ ‫ضریب‬E N / mm2 72500
‫برشی‬ ‫تنش‬G N / mm2 30000
‫اااااااااط‬‫ا‬‫انبس‬ ‫ااااااااریب‬‫ا‬‫ض‬
‫حرارتی‬
-K 1 -710*5/5
51
3-3‫انواع‬‫نوری‬ ‫فیبر‬:
•‫های‬ ‫سال‬ ‫طی‬ ‫نوری‬ ‫فیبر‬ ‫کابل‬ ‫اولین‬1970‫سرال‬ ‫اواخرر‬ ‫ترا‬1980‫شرد‬ ‫سراخته‬
‫داشت‬ ‫پایینی‬ ‫تقریبا‬ ‫اتالف‬ ‫که‬.‫مر‬ ‫ترو‬ ‫نروری‬ ‫فیبرر‬ ‫کابرل‬ ، ‫بعد‬ ‫سال‬‫اترالف‬ ‫برا‬ ‫دی‬
‫شرد‬ ‫سراخته‬ ‫باال‬ ‫باند‬ ‫پهنای‬ ‫و‬ ‫تر‬ ‫پایین‬.‫نر‬ ‫فیبرر‬ ‫کابرل‬ ، ‫کلری‬ ‫طرور‬ ‫بره‬‫مری‬ ‫را‬ ‫وری‬
‫از‬ ‫عبارتند‬ ‫که‬ ‫نمود‬ ‫بندی‬ ‫دسته‬ ‫جهت‬ ‫چند‬ ‫از‬ ‫توان‬:
.1‫انواع‬‫نظر‬ ‫از‬ ‫نوری‬ ‫فیبر‬ ‫کابل‬‫آن‬ ‫از‬ ‫گذرنده‬ ‫اشعه‬
.2‫انواع‬‫از‬ ‫نوری‬ ‫فیبر‬ ‫کابل‬‫نظرحفاظت‬
.3‫انواع‬‫محل‬ ‫نظر‬ ‫از‬ ‫نوری‬ ‫فیبر‬ ‫کابل‬‫استفاده‬
.4‫نظر‬ ‫از‬ ‫نوری‬ ‫فیبر‬ ‫کابل‬ ‫انواع‬‫سازنده‬ ‫ماده‬
52
‫نوری‬ ‫فیبر‬ ‫انواع‬:
1)‫حالتـه‬ ‫تـو‬
‫آن‬ ‫از‬ ‫گذرنده‬ ‫اشعه‬ ‫نظر‬ ‫از‬:1)‫ای‬ ‫پله‬ ‫شکست‬ ‫ظریب‬ ‫با‬ ‫حالته‬ ‫چند‬
2)‫حالته‬ ‫چند‬
2)‫تدریجی‬ ‫شکست‬ ‫ظریب‬ ‫با‬ ‫حالته‬ ‫چند‬
1)Loss Buffer
‫حفاظت‬ ‫نظر‬ ‫از‬:
2)Tight Buffer
1)In Door
‫استفاده‬ ‫محل‬ ‫نظر‬ ‫از‬:2)Out Door
3)Out Door-In Door
1)‫شیشه‬
‫سازنده‬ ‫ماده‬ ‫نظر‬ ‫از‬:2)‫پالستیو‬
3)‫پلیمرسخت‬ 53
3-3-1‫انواع‬‫نظر‬ ‫از‬ ‫نوری‬ ‫فیبر‬ ‫کابل‬‫آ‬ ‫از‬ ‫گذرنده‬ ‫اشعه‬‫ن‬:
•‫عبارتن‬ ‫که‬ ‫دارد‬ ‫وجود‬ ‫نوری‬ ‫فیبر‬ ‫نوع‬ ‫دو‬ ‫نور‬ ‫انتقال‬ ‫ی‬ ‫شیوه‬ ‫نظر‬ ‫از‬‫از‬ ‫د‬:
‫حالته‬ ‫چند‬ ‫های‬ ‫فیبر‬(Multi Mode Fiber or MMF)‫تو‬ ‫های‬ ‫فیبر‬ ‫و‬ ،
‫حالته‬(Single Mode Fiber)‫های‬ ‫ویژگی‬ ‫و‬ ‫انواع‬ ‫مورد‬ ‫در‬ ‫ادامه‬ ‫در‬ ‫که‬ ،
‫شود‬ ‫می‬ ‫داده‬ ‫توضیت‬ ، ‫کدام‬ ‫هر‬.
54
‫حالته‬ ‫تک‬ ‫فیبر‬:
‫رری‬‫ر‬‫فیب‬‫رر‬‫ر‬‫قط‬ ‫را‬‫ر‬‫ب‬ ‫و‬ ‫ای‬ ‫ره‬‫ر‬‫شیش‬ ‫رزی‬‫ر‬‫من‬ ‫را‬‫ر‬‫ب‬8.3‫را‬‫ر‬‫ت‬10‫رد‬‫ر‬‫باش‬ ‫ری‬‫ر‬‫م‬ ‫ررون‬‫ر‬‫میک‬.‫رو‬‫ر‬‫ت‬ ‫رر‬‫ر‬‫فیب‬
‫انتقرال‬ ‫روش‬ ‫یرو‬ ‫فقرط‬ ‫دارد‬ ‫که‬ ‫کمی‬ ‫قطر‬ ‫دلیل‬ ‫به‬ ‫حالته‬(‫مسرتق‬ ‫صرورت‬ ‫بره‬‫یم‬)‫در‬
‫دارد‬ ‫وجود‬ ‫آن‬.‫یرو‬ ‫به‬ ‫نیاز‬ ‫اما‬ ‫است‬ ‫تر‬ ‫باال‬ ‫مدی‬ ‫چند‬ ‫فیبر‬ ‫از‬ ‫آن‬ ‫باند‬ ‫پهنای‬‫منبرع‬
‫دارد‬ ‫باریو‬ ‫طیفی‬ ‫پهنای‬ ‫با‬ ‫نور‬.
‫و‬ ‫داشرته‬ ‫حالتره‬ ‫چنرد‬ ‫بره‬ ‫نسبت‬ ‫تری‬ ‫باال‬ ‫انتقال‬ ‫سرعت‬ ‫حالته‬ ‫تو‬ ‫فیبر‬‫از‬ ‫بریش‬50
‫دهد‬ ‫می‬ ‫قرار‬ ‫ما‬ ‫اختیار‬ ‫در‬ ‫را‬ ‫حالته‬ ‫چند‬ ‫فیبر‬ ‫فاصله‬ ‫برابر‬.‫دلیر‬ ‫همرین‬ ‫به‬‫هزینره‬ ‫ل‬
‫اسرت‬ ‫بیشرتر‬ ‫نیز‬ ‫اش‬.‫ن‬ ‫تنییرر‬ ‫هرر‬ ‫فیبرر‬ ‫نروع‬ ‫ایرن‬ ‫در‬ ‫منرزی‬ ‫کوچرو‬ ‫قطرر‬‫از‬ ‫اشری‬
‫و‬ ‫ررعیف‬‫ر‬‫تض‬ ‫رررین‬‫ر‬‫کمت‬ ‫و‬ ‫رررده‬‫ر‬‫ب‬ ‫ررین‬‫ر‬‫ب‬ ‫از‬ ‫را‬ ‫ررورانی‬‫ر‬‫ن‬ ‫ررای‬‫ر‬‫ه‬ ‫ررالس‬‫ر‬‫پ‬ ‫ررادگی‬‫ر‬‫افت‬ ‫ررم‬‫ر‬‫ه‬ ‫روی‬
‫آورد‬ ‫می‬ ‫فراهم‬ ‫ای‬ ‫داده‬ ‫انتقال‬ ‫نوع‬ ‫هر‬ ‫برای‬ ‫را‬ ‫انتقال‬ ‫سرعت‬ ‫بیشترین‬.‫ف‬‫تو‬ ‫یبر‬
‫بین‬ ‫های‬ ‫موج‬ ‫طول‬ ‫است‬ ‫قادر‬ ‫حالته‬1300nm‫تا‬1320nm‫را‬‫دهد‬ ‫انتقال‬.
55
‫حالته‬ ‫چند‬ ‫فیبر‬:
•‫نوعی‬‫بری‬ ‫آن‬ ‫مترداول‬ ‫قطرر‬ ‫که‬ ‫است‬ ‫ای‬ ‫شیشه‬ ‫منزی‬ ‫با‬ ‫نوری‬ ‫فیبر‬ ‫کابل‬‫ن‬50‫ترا‬
100‫باشد‬ ‫می‬ ‫میکرون‬( .‫قطرر‬ ‫تررین‬ ‫مترداول‬62.5‫اسرت‬ ‫میکررون‬)‫چنرد‬ ‫فیبرر‬
‫متوسرط‬ ‫فواصرل‬ ‫در‬ ‫و‬ ‫زیاد‬ ‫های‬ ‫سرعت‬ ‫در‬ ‫باالیی‬ ‫باند‬ ‫پهنای‬ ‫حالته‬(‫حرداک‬‫ترا‬ ‫تر‬
‫مسافت‬2‫کیلومتر‬)‫دهد‬ ‫می‬ ‫قرار‬ ‫ما‬ ‫اختیار‬ ‫در‬.
•‫نروع‬ ‫این‬ ‫در‬‫فیبرمروج‬‫برین‬ ‫مروج‬ ‫طرول‬ ‫برا‬ ‫و‬ ‫متعردد‬ ‫هرای‬ ‫مسریر‬ ‫در‬ ‫نرورانی‬ ‫هرای‬
850‫را‬‫ر‬‫ت‬1300‫روند‬‫ر‬‫ش‬ ‫ری‬‫ر‬‫م‬ ‫رده‬‫ر‬‫پراکن‬ ‫رانومتر‬‫ر‬‫ن‬.‫رای‬‫ر‬‫ه‬ ‫ریر‬‫ر‬‫مس‬ ‫ررای‬‫ر‬‫ب‬ ‫رر‬‫ر‬‫فیب‬ ‫روع‬‫ر‬‫ن‬ ‫رن‬‫ر‬‫ای‬
‫در‬ ‫متعدد‬ ‫های‬ ‫مسیر‬ ‫در‬ ‫نور‬ ‫شدن‬ ‫تقسیم‬ ‫زیرا‬ ‫شود‬ ‫نمی‬ ‫استفاده‬ ‫طوالنی‬‫فواصل‬
‫نتی‬ ‫در‬ ‫و‬ ‫شود‬ ‫نهایی‬ ‫دریافت‬ ‫در‬ ‫سیگنال‬ ‫تنییر‬ ‫باع‬ ‫است‬ ‫ممکن‬ ‫دور‬‫ی‬ ‫داده‬ ‫جه‬
‫باشد‬ ‫کامل‬ ‫نا‬ ‫یا‬ ‫و‬ ‫نامعلوم‬ ‫انتقالی‬.
56
‫حالته‬ ‫چند‬ ‫های‬ ‫فیبر‬ ‫انواع‬:
1-‫ای‬ ‫پله‬ ‫شکس‬ ‫ضریب‬ ‫با‬ ‫حالته‬ ‫چند‬ ‫فیبر‬:
•‫از‬ ‫رر‬‫ر‬‫ت‬ ‫راال‬‫ر‬‫ب‬ ‫رر‬‫ر‬‫قط‬ ‫را‬‫ر‬‫ب‬ ‫رزر‬‫ر‬‫ب‬ ‫رزی‬‫ر‬‫من‬ ‫رو‬‫ر‬‫ی‬100‫دارد‬ ‫ررون‬‫ر‬‫میک‬.‫رت‬‫ر‬‫شکس‬ ‫رریب‬‫ر‬‫ض‬
‫اسرت‬ ‫تابرت‬ ‫و‬ ‫یکنواخرت‬ ‫آن‬ ‫جرای‬ ‫همه‬ ‫در‬ ‫منزی‬.‫اشرعه‬ ‫از‬ ‫تعردادی‬ ‫اسرت‬ ‫ممکرن‬
‫انتقر‬ ‫آن‬ ‫در‬ ‫زیگرزا‬ ‫صرورت‬ ‫به‬ ‫بقیه‬ ‫و‬ ‫مستقیم‬ ‫مسیر‬ ‫یو‬ ‫در‬ ‫نوری‬ ‫های‬‫مری‬ ‫ال‬
‫گرداند‬ ‫می‬ ‫بر‬ ‫داخل‬ ‫به‬ ‫را‬ ‫ها‬ ‫آن‬ ‫فیبر‬ ‫پوشش‬ ‫که‬ ، ‫یابند‬.
57
2-‫فیبر‬‫تدریجی‬ ‫شکس‬ ‫ضریب‬ ‫با‬ ‫حالته‬ ‫چند‬:
‫ضر‬ ‫تنییررات‬ ‫کره‬ ‫اسرت‬ ‫شرده‬ ‫ساخته‬ ‫تدریجی‬ ‫شکست‬ ‫ضریب‬ ‫با‬ ‫منزی‬ ‫یو‬ ‫از‬‫ریب‬
‫تر‬ ‫بره‬ ‫آن‬ ‫پوشرش‬ ‫و‬ ‫منرزی‬ ‫مشرترک‬ ‫فصل‬ ‫تا‬ ‫فیبر‬ ‫محور‬ ‫از‬ ‫آن‬ ‫منزی‬ ‫شکست‬‫دریج‬
‫شود‬ ‫می‬ ‫کم‬.‫ت‬ ‫آن‬ ‫شرعاع‬ ‫از‬ ‫ترابعی‬ ‫صرورت‬ ‫بره‬ ‫منرزی‬ ‫شکسرت‬ ‫ضرریب‬ ‫یعنی‬‫نییرر‬
‫تابت‬ ‫مقدار‬ ‫همان‬ ‫غالف‬ ‫شکست‬ ‫ضریب‬ ‫ولی‬ ‫کند‬ ‫می‬n2‫ماند‬ ‫می‬ ‫باقی‬.‫ی‬ ‫نحروه‬
‫شکل‬ ‫در‬ ‫فیبر‬ ‫نوع‬ ‫این‬ ‫در‬ ‫انتشار‬‫بعدی‬‫است‬ ‫شده‬ ‫داده‬ ‫نشان‬.
58
59
3-3-2‫انواع‬‫حفاظت‬ ‫نظر‬ ‫از‬ ‫نوری‬ ‫فیبر‬ ‫کابل‬:
‫از‬‫بر‬ ‫نروری‬ ‫فیبرر‬ ‫هرای‬ ‫کابرل‬ ، ‫خرارجی‬ ‫هرای‬ ‫نیرو‬ ‫از‬ ‫فیبر‬ ‫حفاظت‬ ‫نظر‬ ‫نقطه‬‫دو‬ ‫ه‬
‫نوع‬Loss Buffer‫و‬Tight Buffer‫شوند‬ ‫می‬ ‫تقسیم‬.
Loss Buffer:
‫ساخت‬ ‫در‬Loss Buffer،‫درونری‬ ‫قطرر‬ ‫کره‬ ‫پالسرتیکی‬ ‫ی‬ ‫لولره‬ ‫یرو‬ ‫داخل‬ ‫فیبر‬‫آن‬
‫گیررد‬ ‫مری‬ ‫قررار‬ ، ‫اسرت‬ ‫فیبرر‬ ‫خرود‬ ‫از‬ ‫تر‬ ‫بزر‬ ‫ای‬ ‫مالحظه‬ ‫قابل‬ ‫طور‬ ‫به‬.‫درو‬‫ن‬
‫ک‬ ‫شود‬ ‫می‬ ‫پر‬ ‫ژلی‬ ‫ی‬ ‫ماده‬ ‫یو‬ ‫با‬ ‫معموال‬ ‫فیبر‬ ‫اطراف‬ ‫و‬ ‫پالستیکی‬ ‫ی‬ ‫لوله‬‫فیبرر‬ ‫ه‬
‫اسرت‬ ‫آزاد‬ ‫ژل‬ ‫این‬ ‫داخل‬.Loss Buffer‫هرای‬ ‫نیررو‬ ‫برابرر‬ ‫در‬ ‫را‬ ‫فیبرر‬ ‫حردودی‬ ‫ترا‬
‫ف‬ ‫اطراف‬ ‫در‬ ‫ژل‬ ‫وجود‬ ‫دلیل‬ ‫به‬ ‫همچنین‬ ‫و‬ ‫کند‬ ‫می‬ ‫محافظت‬ ‫خارجی‬ ‫مکانیکی‬‫یبرر‬
‫مالح‬ ‫قابرل‬ ‫طور‬ ‫به‬ ‫انقبا‬ ‫و‬ ‫انبساط‬ ‫نتیجه‬ ‫در‬ ‫و‬ ‫سرما‬ ، ‫گرما‬ ‫برابر‬ ‫در‬ ،‫ای‬ ‫ظره‬
‫است‬ ‫ایمن‬. 60
Loss Buffer‫هروایی‬ ‫هرای‬ ‫کراربرد‬ ، ‫بیرونری‬ ‫های‬ ‫محیط‬ ‫در‬ ‫نصب‬ ‫برای‬ ‫معموال‬
‫شود‬ ‫می‬ ‫استفاده‬ ‫خاک‬ ‫زیر‬ ‫در‬ ‫و‬ ‫کانالی‬ ،.
:Tight Buffer
‫شرکل‬ ‫در‬ ‫کره‬ ‫گونره‬ ‫همان‬ ‫کابل‬ ‫نوع‬ ‫این‬ ‫در‬‫نیرز‬ ‫بعرد‬‫روکر‬ ‫یرو‬ ، ‫شرود‬ ‫مری‬ ‫دیرده‬‫ش‬
‫ر‬‫ر‬‫ش‬ ‫ری‬‫ر‬‫م‬ ‫رر‬‫ر‬‫فیب‬ ‫رودن‬‫ر‬‫ب‬ ‫آزاد‬ ‫از‬ ‫رانع‬‫ر‬‫م‬ ‫و‬ ‫دارد‬ ‫رود‬‫ر‬‫وج‬ ‫رر‬‫ر‬‫فیب‬ ‫ره‬‫ر‬‫ب‬ ‫ربیده‬‫ر‬‫چس‬ ‫رتیکی‬‫ر‬‫پالس‬‫ود‬.‫رن‬‫ر‬‫ای‬
‫ر‬ ‫ایرن‬ ‫زیررا‬ ‫اسرت‬ ‫مناسرب‬ ‫بسریار‬ ‫شربکه‬ ‫اجزای‬ ‫به‬ ‫اتصال‬ ‫برای‬ ‫روکش‬ ‫نوع‬‫وکرش‬
‫کند‬ ‫می‬ ‫جلوگیری‬ ‫فیبر‬ ‫شکستن‬ ‫از‬.‫های‬ ‫فیبر‬Tight Buffer‫اغلب‬‫کراربرد‬ ‫برای‬
‫عمرومی‬ ‫هرای‬ ‫کاربرد‬ ‫و‬ ‫مرکزی‬ ‫های‬ ‫ساختمان‬ ‫تنذیه‬ ‫منابع‬ ، ‫ساختمان‬ ‫داخل‬ ‫های‬
‫شوند‬ ‫می‬ ‫برده‬ ‫کار‬ ‫به‬.
61
62
3-3-3‫انواع‬‫نظر‬ ‫از‬ ‫نوری‬ ‫فیبر‬ ‫کابل‬‫استفاده‬ ‫محل‬:
‫تقسیم‬‫اس‬ ‫شده‬ ‫گرفته‬ ‫نظر‬ ‫در‬ ‫فیبر‬ ‫روکش‬ ‫نظر‬ ‫از‬ ‫نیز‬ ‫دیگری‬ ‫بندی‬‫عبرارت‬ ‫کره‬ ‫ت‬
‫از‬ ‫است‬:In Door،Out Door
In Door:
‫بر‬ ‫انعطراف‬ ‫قابلیت‬ ‫ایجاد‬ ‫سبب‬ ‫این‬ ‫و‬ ‫دارد‬ ‫نازک‬ ‫پالستیکی‬ ‫پوشش‬ ‫یو‬‫مری‬ ‫آن‬ ‫رای‬
‫همین‬ ‫به‬ ‫دارد‬ ‫کمی‬ ‫پایداری‬ ‫و‬ ‫استقامت‬ ‫محیطی‬ ‫های‬ ‫فشار‬ ‫برابر‬ ‫در‬ ‫اما‬ ‫شود‬‫دلیل‬
‫می‬ ‫استفاده‬ ‫آن‬ ‫از‬ ‫ساختمانی‬ ‫داخل‬ ‫های‬ ‫کار‬ ‫برای‬‫و‬ ‫شود‬‫معموال‬‫مالتی‬‫د‬‫م‬‫ه‬‫ستند‬.
‫افررزایش‬ ‫برره‬ ‫نیررازی‬ ‫ونرره‬ ‫کررردن‬ ‫آب‬ ‫ضررد‬ ‫برره‬ ‫نیازچنرردانی‬ ‫نرره‬ ‫کابلهررا‬ ‫نرروع‬ ‫ایررن‬ ‫در‬
‫کردن‬ ‫دار‬ ‫زره‬ ‫و‬ ‫استحکام‬.
63
‫و‬ ‫جونررردگان‬ ‫برابرررر‬ ‫در‬ ‫حفاظرررت‬ ‫درجهرررت‬ ‫اقرررداماتی‬ ‫بایرررد‬ ‫کابلهرررا‬ ‫ایرررن‬ ‫مرررورد‬ ‫در‬
‫صر‬ ‫در‬ ‫کره‬ ‫گردد‬ ‫استفاده‬ ‫موادی‬ ‫از‬ ‫باید‬ ‫اینکه‬ ‫ضمن‬ ‫گیرد‬ ‫صورت‬ ‫تصادمات‬‫ورت‬
‫نکنرد‬ ‫ایجراد‬ ‫ی‬ّ‫م‬‫س‬ ‫بخارات‬ ‫سوزی‬ ‫آتش‬ ‫بروز‬.‫حردود‬ ‫در‬ ‫کابلهرا‬ ‫ایرن‬ ‫طرول‬۳۰۰‫مترر‬
‫رل‬‫ر‬‫کاب‬ ‫رر‬‫ر‬‫ه‬ ‫رای‬‫ر‬‫انته‬ ‫روال‬‫ر‬‫معم‬ ‫رند‬‫ر‬‫باش‬ ‫راف‬‫ر‬‫انعط‬ ‫رل‬‫ر‬‫قاب‬ ‫و‬ ‫ربو‬‫ر‬‫س‬ ‫ره‬‫ر‬‫ک‬ ‫رت‬‫ر‬‫اس‬ ‫الزم‬ ‫و‬ ‫رت‬‫ر‬‫اس‬‫ره‬‫ر‬‫ب‬
‫شود‬ ‫می‬ ‫وصل‬ ‫جداشدن‬ ‫قابل‬ ‫کانکتورهای‬.‫ب‬ ‫کار‬ ‫محیط‬ ‫در‬ ‫که‬ ‫فیبرهایی‬‫عنروان‬ ‫ه‬
‫گیرند‬ ‫می‬ ‫قرار‬ ‫شکستگی‬ ‫معر‬ ‫در‬ ‫معموال‬ ‫شده‬ ‫استفاده‬ ‫جمپر‬.
64
out Door:
‫تغیی‬ ‫آن‬ ‫روکش‬ ‫جنس‬ ، ‫کاربرد‬ ‫نسبت‬ ‫به‬ ‫که‬ ‫است‬ ‫ضخیمی‬ ‫پوشش‬ ‫دارای‬‫کند‬ ‫می‬ ‫ر‬.
‫ک‬ ‫کابخل‬ ‫بخرای‬ ‫و‬ ‫دارد‬ ‫کمخی‬ ‫انافخام‬ ‫کابخل‬ ‫ضخخی‬ ‫پوشش‬ ‫این‬ ‫داشتن‬ ‫دلیل‬ ‫به‬‫در‬ ‫شخی‬
‫شود‬ ‫می‬ ‫استفاده‬ ‫آن‬ ‫از‬ ‫طوالنی‬ ‫های‬ ‫مسیر‬ ‫و‬ ‫بیرونی‬ ‫های‬ ‫محیط‬.
‫ا‬‫ز‬‫کرد‬ ‫اشاره‬ ‫زیر‬ ‫موارد‬ ‫به‬ ‫توان‬ ‫می‬ ‫کابل‬ ‫نوع‬ ‫این‬ ‫ویژگیهای‬:
•‫از‬ ‫محیفی‬ ‫رطوبت‬ ‫تحمل‬۹۰‫تا‬۱۰۰‫درصد‬
•‫بین‬ ‫دمایی‬ ‫محدوده‬ ‫تحمل‬-۴۰‫تا‬+۸۰‫سانتیگراد‬ ‫درجه‬
•‫خورشید‬ ‫نور‬ ‫مقابل‬ ‫در‬ ‫کابل‬ ‫ژاکت‬ ‫استهالک‬ ‫یا‬ ‫تجزیه‬ ‫عدم‬
65
•‫ممکن‬ ‫شعاع‬ ‫کمترین‬ ‫تا‬ ‫خمش‬ ‫مقابل‬ ‫در‬ ‫باال‬ ‫پذیری‬ ‫انعطاف‬
•‫شدن‬ ‫ور‬ ‫شعله‬ ‫مقابل‬ ‫در‬ ‫مقاوم‬ ‫بسیار‬ ‫پوشش‬
•‫باال‬ ‫فشار‬ ‫تحمل‬ ‫قابلیت‬
•‫باشند‬ ‫نداشته‬ ‫عالقه‬ ‫آن‬ ‫به‬ ‫موش‬ ‫متل‬ ‫ها‬ ‫جونده‬ ‫که‬ ‫پوششی‬
‫خود‬ ‫نوری‬ ‫های‬ ‫کابل‬out Door‫اند‬ ‫نوع‬ ‫چند‬:
۱-‫طوالنی‬ ‫زیرخاکی‬ ‫باز‬ ‫فضای‬ ‫کابلهای‬:
‫براالی‬ ‫مردی‬ ‫تو‬ ‫فیبرهای‬ ‫از‬ ‫بسیاری‬ ‫شامل‬ ‫گروه‬ ‫این‬۱۰۰‫ایرن‬ ‫شرود‬ ‫مری‬ ‫کیلرومتر‬
‫دهنده‬ ‫استحکام‬ ‫تجهیزات‬ ‫ودارای‬ ‫ضدآبند‬ ‫کابلها‬‫و‬‫زره‬‫دارند‬.
66
٢-‫کابلهای‬‫زیرخاکی‬ ‫باز‬ ‫فضای‬‫اقامتگاهی‬:
‫شرو‬ ‫مری‬ ‫اسرتفاده‬ ‫قبرل‬ ‫دسرته‬ ‫به‬ ‫نسبت‬ ‫کمتری‬ ‫مسافت‬ ‫در‬ ‫کابلها‬ ‫نوع‬ ‫این‬‫از‬ ‫هرم‬ ‫و‬ ‫ند‬
‫آب‬ ‫ضرد‬ ‫بایرد‬ ‫هرم‬ ‫هرا‬ ‫کابل‬ ‫نوع‬ ‫این‬ ‫باشند‬ ‫می‬ ‫مدی‬ ‫چند‬ ‫نوع‬ ‫از‬ ‫وهم‬ ‫مدی‬ ‫تو‬ ‫نوع‬
‫ر‬‫ر‬‫چ‬ ‫ری‬‫ر‬‫طرف‬ ‫از‬ ‫رت‬‫ر‬‫قبلیس‬ ‫رته‬‫ر‬‫دس‬ ‫از‬ ‫رر‬‫ر‬‫کمت‬ ‫را‬‫ر‬‫آنه‬ ‫رتحکامی‬‫ر‬‫اس‬ ‫رزات‬‫ر‬‫تجهی‬ ‫ری‬‫ر‬‫ول‬ ‫رند‬‫ر‬‫باش‬‫در‬ ‫ون‬
‫ن‬ ‫الزم‬ ‫دیگر‬ ‫شوند‬ ‫می‬ ‫داده‬ ‫عبور‬ ‫کانالها‬ ‫یا‬ ‫فوالدی‬ ‫های‬ ‫لوله‬ ‫درون‬ ‫از‬ ‫معابر‬‫یست‬
‫شوند‬ ‫دار‬ ‫زره‬ ‫شهری‬ ‫بین‬ ‫کابلهای‬ ‫مانند‬.
۳-‫هوایی‬ ‫باز‬ ‫فضای‬ ‫کابلهای‬:
‫را‬‫ر‬‫غالب‬ ‫را‬‫ر‬‫کابله‬ ‫رن‬‫ر‬‫ای‬ ‫رند‬‫ر‬‫باش‬ ‫راوم‬‫ر‬‫مق‬ ‫ریار‬‫ر‬‫بس‬ ‫رش‬‫ر‬‫کش‬ ‫رل‬‫ر‬‫مقاب‬ ‫در‬ ‫رد‬‫ر‬‫بای‬ ‫را‬‫ر‬‫کابله‬ ‫رن‬‫ر‬‫ای‬‫رزات‬‫ر‬‫تجهی‬
‫باشن‬ ‫می‬ ‫فیبر‬ ‫به‬ ‫کشش‬ ‫نیروی‬ ‫شدن‬ ‫وارد‬ ‫از‬ ‫جلوگیری‬ ‫برای‬ ‫ای‬ ‫جداگانه‬‫د‬.
67
۴-‫کابلهای‬‫از‬ ‫استفاده‬ ‫با‬ ‫هوایی‬ ‫باز‬ ‫فضای‬‫کابل‬Earth‫دکلهای‬‫قوی‬ ‫فشار‬:
‫د‬ ‫رای‬‫ر‬‫فض‬ ‫از‬ ‫رتفاده‬‫ر‬‫اس‬ ‫روری‬‫ر‬‫ن‬ ‫رای‬‫ر‬‫فیبره‬ ‫رال‬‫ر‬‫انتق‬ ‫ررای‬‫ر‬‫ب‬ ‫رول‬‫ر‬‫معم‬ ‫رای‬‫ر‬‫مکانه‬ ‫از‬ ‫ری‬‫ر‬‫یک‬‫رون‬
‫رل‬‫ر‬‫کاب‬Earth‫روط‬‫ر‬‫خط‬ ‫روال‬‫ر‬‫معم‬ ‫ره‬‫ر‬‫ک‬ ‫رت‬‫ر‬‫اس‬ ‫روی‬‫ر‬‫ق‬ ‫رار‬‫ر‬‫فش‬ ‫رای‬‫ر‬‫دکله‬۱۳۲‫ری‬‫ر‬‫م‬ ‫رت‬‫ر‬‫ول‬ ‫رو‬‫ر‬‫کیل‬
‫دکر‬ ‫س‬ ‫ر‬ ‫از‬ ‫کره‬ ‫کابرل‬ ‫براالترین‬ ‫خرابکراری‬ ‫از‬ ‫جلروگیری‬ ‫جهرت‬ ‫اغلرب‬ ‫باشند‬‫مری‬ ‫ل‬
‫رل‬‫ر‬‫کاب‬ ‫گرذرد‬Earth‫اسرت‬‫روع‬‫ر‬‫ن‬ ‫رن‬‫ر‬‫ای‬‫کابلهرا‬Optical Ground Wire(OPGW)
‫می‬ ‫نامیده‬‫شوند‬.
68
۵-‫دریایی‬ ‫زیر‬ ‫کابلهای‬:
‫ا‬ ‫نوری‬ ‫فیبر‬ ‫سازی‬ ‫کابل‬ ‫نوع‬ ‫ترین‬ ‫مشکل‬ ‫دریایی‬ ‫زیر‬ ‫کابلهای‬ ‫ساخت‬‫تحمرل‬ ‫سرت‬
‫لرذا‬ ‫شرود‬ ‫مری‬ ‫محسروب‬ ‫کابلهرا‬ ‫نروع‬ ‫این‬ ‫برای‬ ‫زیادی‬ ‫چالش‬ ‫شور‬ ‫آب‬ ‫زیاد‬ ‫فشار‬‫از‬
‫رل‬‫ر‬‫کاب‬ ‫روع‬‫ر‬‫ن‬ ‫رن‬‫ر‬‫ای‬۶‫را‬‫ر‬‫ت‬۲۰‫را‬‫ر‬‫زی‬ ‫ریار‬‫ر‬‫بس‬ ‫روع‬‫ر‬‫تن‬ ‫رالف‬‫ر‬‫خ‬ ‫رر‬‫ر‬‫ب‬ ‫رت‬‫ر‬‫نیس‬ ‫رود‬‫ر‬‫موج‬ ‫رتر‬‫ر‬‫بیش‬ ‫روع‬‫ر‬‫ن‬‫د‬
‫رررر‬‫ر‬‫دیگ‬ ‫رررای‬‫ر‬‫کابله‬.‫ررر‬‫ر‬‫ت‬ ‫رررده‬‫ر‬‫کنن‬ ‫رررأمین‬‫ر‬‫ت‬ ‫ررری‬‫ر‬‫الکتریک‬ ‫رررای‬‫ر‬‫کابله‬ ‫رررداری‬‫ر‬‫نگه‬ ‫رررکالت‬‫ر‬‫مش‬‫وان‬
repeater‫مری‬ ‫موضروع‬ ‫هرای‬ ‫پیچیردگی‬ ‫بره‬ ‫نیرز‬ ‫مسریر‬ ‫طرول‬ ‫فایرهای‬ ‫آمپلی‬ ‫و‬ ‫ها‬
‫افزاید‬.
69
3-3-4‫انواع‬‫سازنده‬ ‫ی‬ ‫ماده‬ ‫نظر‬ ‫از‬ ‫نوری‬ ‫فیبر‬ ‫کابل‬:
‫شبکه‬ ‫در‬‫کابرل‬ ‫نروع‬ ‫سره‬ ‫از‬ ‫بیشتر‬ ، ‫نوری‬ ‫فیبر‬ ‫های‬‫فیبرنروری‬‫اسرتف‬‫شرود‬ ‫مری‬ ‫اده‬
‫رد‬‫ر‬‫عبارتن‬ ‫ره‬‫ر‬‫ک‬‫از‬:‫رتیکی‬‫ر‬‫پالس‬ ‫روری‬‫ر‬‫ن‬ ‫رر‬‫ر‬‫فیب‬ ‫رل‬‫ر‬‫کاب‬،‫روری‬‫ر‬‫ن‬ ‫رر‬‫ر‬‫فیب‬ ‫رل‬‫ر‬‫کاب‬‫شی‬‫ره‬‫ر‬‫ش‬‫ای‬‫رل‬‫ر‬‫وکاب‬
‫فیبرنوری‬‫پلیمر‬ ‫با‬‫سخت‬
‫کابل‬‫شیشه‬ ‫نوری‬ ‫فیبر‬‫ای‬(Glass Optical):
‫ی‬ ‫اسرتوانه‬ ‫یرو‬ ‫شرامل‬ ‫اسرت‬ ‫نرازکی‬ ‫بسریار‬ ‫ی‬ ‫رشته‬ ‫ای‬ ‫شیشه‬ ‫نوری‬ ‫فیبر‬‫و‬ ‫جامرد‬
‫با‬ ‫هسته‬ ‫نام‬ ‫به‬ ‫عایق‬‫شعاع‬a‫و‬‫شکست‬ ‫ضریب‬n1‫که‬‫می‬ ‫نامیده‬ ‫نیز‬ ‫فیبر‬ ‫منزی‬
‫را‬‫ر‬‫ب‬ ‫رش‬‫ر‬‫پوش‬ ‫رام‬‫ر‬‫ن‬ ‫ره‬‫ر‬‫ب‬ ‫رایق‬‫ر‬‫ع‬ ‫و‬ ‫رد‬‫ر‬‫جام‬ ‫رارجی‬‫ر‬‫خ‬ ‫ی‬ ‫ره‬‫ر‬‫الی‬ ‫رو‬‫ر‬‫ی‬ ‫رط‬‫ر‬‫توس‬ ‫و‬ ‫رود‬‫ر‬‫ش‬‫رر‬‫ر‬‫قط‬n2
(n2<n1)‫و‬‫ظریب‬‫شکست‬d‫است‬ ‫شده‬ ‫احاطه‬‫،این‬‫نیرز‬ ‫فیبرر‬ ‫غرالف‬ ‫را‬ ‫پوشرش‬
‫گویند‬ ‫می‬.
70
‫غالف‬‫منرز‬ ‫سرطت‬ ‫هرای‬ ‫ناپیوسرتگی‬ ‫از‬ ‫ناشی‬ ‫پراکندگی‬ ‫اتالف‬ ‫کاهش‬ ‫باع‬‫مری‬ ‫ی‬
‫ور‬ ‫از‬ ‫همچنرین‬ ، ‫دهرد‬ ‫مری‬ ‫افرزایش‬ ‫نیز‬ ‫را‬ ‫فیبر‬ ‫مکانیکی‬ ‫تحمل‬ ‫قدرت‬ ‫و‬ ‫شود‬‫و‬ ‫ود‬
‫رد‬‫ر‬‫کن‬ ‫ری‬‫ر‬‫م‬ ‫روگیری‬‫ر‬‫جل‬ ‫رزی‬‫ر‬‫من‬ ‫رطت‬‫ر‬‫س‬ ‫ره‬‫ر‬‫ب‬ ‫رارجی‬‫ر‬‫خ‬ ‫رل‬‫ر‬‫عوام‬ ‫رذب‬‫ر‬‫ج‬.‫رو‬‫ر‬‫ی‬ ‫در‬ ‫را‬ ‫را‬‫ر‬‫ه‬ ‫رر‬‫ر‬‫فیب‬
‫محافظ‬ ‫روکش‬ ‫نام‬ ‫به‬ ‫پالستیکی‬ ‫ی‬ ‫محفظه‬‫قرار‬‫فیبرر‬ ‫مقاومرت‬ ‫ترا‬ ‫دهنرد‬ ‫مری‬‫نروری‬
‫یابرد‬ ‫افرزایش‬ ‫مکرانیکی‬ ‫های‬ ‫تنش‬ ‫برابر‬ ‫در‬.‫شرک‬ ‫تنییرر‬ ‫مرانع‬ ‫روکرش‬ ‫ایرن‬‫و‬ ‫فیبرر‬ ‫ل‬
‫شود‬ ‫می‬ ‫آن‬ ‫سطت‬ ‫خراشیدگی‬.
71
‫است‬ ‫شیشه‬ ‫از‬ ‫ها‬ ‫فیبر‬ ‫این‬ ‫پوشش‬ ‫و‬ ‫منزی‬ ‫جنس‬.‫فی‬ ‫این‬ ‫در‬ ‫که‬ ‫ای‬ ‫شیشه‬‫به‬ ‫ها‬ ‫بر‬
‫کرو‬ ‫یرا‬ ‫سیلیکون‬ ‫اکسید‬ ‫دی‬ ‫جنس‬ ‫از‬ ‫و‬ ‫شفاف‬ ‫و‬ ‫خالر‬ ‫بسیار‬ ‫رفته‬ ‫کار‬‫اسرت‬ ‫ارتز‬.
‫نر‬ ‫هرای‬ ‫فیبرر‬ ‫برین‬ ‫در‬ ‫را‬ ‫قیمت‬ ‫بیشترین‬ ‫و‬ ‫اتالف‬ ‫کمترین‬ ‫ها‬ ‫فیبر‬ ‫این‬‫و‬ ‫دارنرد‬ ‫وری‬
‫باشرند‬ ‫مری‬ ‫بیشرتر‬ ‫بانرد‬ ‫پهنای‬ ‫دارای‬.‫م‬ ‫هرای‬ ‫شربکه‬ ‫در‬ ‫ای‬ ‫شیشره‬ ‫هرای‬ ‫فیبرر‬، ‫حلری‬
‫هر‬ ‫داده‬ ‫ارسرال‬ ‫بررای‬ ‫مروج‬ ‫طرول‬ ‫بهتررین‬ ‫و‬ ‫شروند‬ ‫می‬ ‫استفاده‬ ‫مخابراتی‬ ‫و‬ ‫شهری‬‫ا‬
‫ها‬ ‫آن‬ ‫در‬1300‫متر‬ ‫نانو‬‫است‬.
72
‫پالستیکی‬ ‫نوری‬ ‫فیبر‬ ‫کابل‬(plastic clad optical):
‫م‬ ‫منرزی‬ ‫پالسرتیو‬ ، ‫اسرت‬ ‫پالسرتیو‬ ‫جنس‬ ‫از‬ ‫ها‬ ‫کابل‬ ‫این‬ ‫پوشش‬ ‫و‬ ‫منزی‬‫عمروال‬
‫جنس‬ ‫از‬PMMA (Poly Methy1 Methacrylate)،‫الیه‬ ‫یو‬ ‫با‬ ‫که‬ ‫باشد‬ ‫می‬
‫است‬ ‫شده‬ ‫پوشیده‬ ‫فلوروپلیمر‬.
‫ر‬‫ر‬‫فیب‬ ‫رر‬‫ر‬‫دیگ‬ ‫ره‬‫ر‬‫ب‬ ‫ربت‬‫ر‬‫نس‬ ‫رتری‬‫ر‬‫بیش‬ ‫ریار‬‫ر‬‫بس‬ ‫رخامت‬‫ر‬‫ض‬ ‫رتیکی‬‫ر‬‫پالس‬ ‫رای‬‫ر‬‫ه‬ ‫رر‬‫ر‬‫فیب‬، ‫رد‬‫ر‬‫دارن‬ ‫را‬‫ر‬‫ه‬ ‫ر‬
‫هرا‬ ‫فیبرر‬ ‫ایرن‬ ‫اغلب‬ ‫ضخامت‬1000‫آنهرا‬ ‫منرزی‬ ‫یرا‬ ‫هسرته‬ ‫ی‬ ‫انردازه‬ ‫و‬ ‫میکرومترر‬
980‫باشد‬ ‫می‬ ‫متر‬ ‫میکرو‬.
73
‫یر‬ ، ‫شرده‬ ‫کتیرف‬ ‫انردکی‬ ‫فیبرر‬ ‫انتهرای‬ ‫اگرر‬ ‫حتی‬ ، ‫زیاد‬ ‫ضخامت‬ ‫این‬ ‫وجود‬ ‫با‬‫آسریب‬ ‫ا‬
‫رال‬‫ر‬‫ارس‬ ‫ران‬‫ر‬‫همچن‬ ، ‫رد‬‫ر‬‫باش‬ ‫رز‬‫ر‬‫مرک‬ ‫از‬ ‫رارج‬‫ر‬‫خ‬ ‫ردکی‬‫ر‬‫ان‬ ‫رور‬‫ر‬‫ن‬ ‫رور‬‫ر‬‫مح‬ ‫رر‬‫ر‬‫اگ‬ ‫را‬‫ر‬‫ی‬ ‫و‬ ‫رد‬‫ر‬‫باش‬ ‫رده‬‫ر‬‫دی‬
‫ه‬ ‫فیبر‬ ‫نوع‬ ‫این‬ ‫نصب‬ ‫کار‬ ‫دلیل‬ ‫همین‬ ‫به‬ ‫و‬ ‫باشد‬ ‫می‬ ‫پذیر‬ ‫امکان‬ ‫اطالعات‬‫بسریار‬ ‫ا‬
‫است‬ ‫آسان‬.‫پالسرت‬ ‫نروری‬ ‫هرای‬ ‫فیبرر‬ ‫ماننرد‬ ، ‫زیراد‬ ‫ضرخامت‬ ‫برا‬ ‫هرای‬ ‫فیبرر‬ ‫در‬‫یکی‬
‫تا‬ ‫را‬ ‫نور‬ ‫ارسال‬96%‫می‬ ‫انجام‬ ‫هسته‬ ‫توسط‬‫شود‬.
‫برای‬‫پالسرتیک‬ ‫نروری‬ ‫های‬ ‫فیبر‬ ‫در‬ ‫گیرنده‬ ‫و‬ ‫فرستنده‬ ‫های‬ ‫ماژول‬ ‫منبع‬‫معمروال‬ ‫ی‬
‫یو‬ ‫از‬LED(‫قرمز‬)650‫کراهش‬ ‫باع‬ ‫امر‬ ‫این‬ ‫که‬ ، ‫شود‬ ‫می‬ ‫استفاده‬ ‫متر‬ ‫نانو‬
‫شود‬ ‫می‬ ‫شبکه‬ ‫در‬ ‫هزینه‬.
74
، ‫ای‬ ‫ره‬‫ر‬‫شیش‬ ‫روری‬‫ر‬‫ن‬ ‫رای‬‫ر‬‫ه‬ ‫رر‬‫ر‬‫فیب‬ ‫را‬‫ر‬‫ب‬ ‫ره‬‫ر‬‫مقایس‬ ‫در‬‫اال‬‫ا‬‫ات‬ ‫ازان‬‫ا‬‫می‬‫رور‬‫ر‬‫ن‬ ‫ی‬ ‫را‬‫ر‬‫ه‬ ‫رر‬‫ر‬‫فیب‬ ‫در‬‫ی‬
‫پالستیکی‬‫اسا‬ ‫بیشاتر‬‫اطال‬ ‫ارسرال‬ ‫بررای‬ ‫هرا‬ ‫فیبرر‬ ‫ایرن‬ ‫دلیرل‬ ‫همرین‬ ‫بره‬ ‫و‬‫در‬ ‫عرات‬
‫از‬ ‫ترر‬ ‫طروالنی‬ ‫های‬ ‫مسافت‬50‫شربکه‬ ‫در‬ ‫هرا‬ ‫آن‬ ‫از‬ ‫اغلرب‬ ‫و‬ ‫نیسرتند‬ ‫مناسرب‬ ‫مترر‬
‫شود‬ ‫می‬ ‫استفاده‬ ‫خانگی‬ ‫های‬.
‫خمیدگ‬ ‫و‬ ‫ارتعاش‬ ‫برابر‬ ‫در‬ ‫پالستیکی‬ ‫نوری‬ ‫فیبر‬ ‫که‬ ‫این‬ ‫به‬ ‫توجه‬ ‫با‬‫اسرت‬ ‫مقاوم‬ ‫ی‬
‫ری‬‫ر‬‫م‬ ‫اسرتفاده‬ ‫رز‬‫ر‬‫نی‬ ‫هرا‬ ‫رل‬‫ر‬‫اتومبی‬ ‫و‬ ‫هرا‬ ‫رار‬‫ر‬‫قط‬ ‫در‬ ، ‫آن‬ ‫معمرول‬ ‫رای‬‫ر‬‫ه‬ ‫کراربرد‬ ‫رر‬‫ر‬‫ب‬ ‫عرالوه‬
‫شود‬.
‫پالسرتیکی‬ ‫های‬ ‫فیبر‬ ‫دیگر‬ ‫مزیت‬‫کام‬ ‫وزن‬ ‫و‬ ‫سابکی‬‫سرای‬ ‫مقابرل‬ ‫در‬ ‫هرا‬ ‫آن‬‫کابرل‬ ‫ر‬
‫است‬ ‫داده‬ ‫انتقال‬ ‫های‬.
75
‫ازی‬‫ا‬‫مغ‬‫ره‬‫ر‬‫س‬ ‫ره‬‫ر‬‫ب‬ ‫را‬‫ر‬‫ه‬ ‫رر‬‫ر‬‫فیب‬ ‫رن‬‫ر‬‫ای‬‫اه‬‫ا‬‫پل‬ ‫ا‬‫ا‬‫شکس‬ ‫اریب‬‫ا‬‫ض‬ ‫اور‬‫ا‬‫ص‬‫ای‬،‫ا‬‫ا‬‫شکس‬ ‫اریب‬‫ا‬‫ض‬
‫تدریجی‬،‫ای‬ ‫پله‬ ‫چند‬ ‫شکس‬ ‫ضریب‬،‫شرود‬ ‫مری‬ ‫سراخته‬.‫در‬‫بیشاتر‬‫فیبرر‬‫برا‬ ‫هرای‬
‫از‬ ‫پالستیکی‬ ‫منزی‬‫ای‬ ‫پله‬ ‫روش‬‫ر‬ ‫امرا‬ ، ‫شرود‬ ‫مری‬ ‫اسرتفاده‬ ‫داده‬ ‫انتقرال‬ ‫برای‬‫وش‬
‫است‬ ‫مناسب‬ ‫باال‬ ‫حجم‬ ‫با‬ ‫اطالعات‬ ‫ارسال‬ ‫و‬ ‫باال‬ ‫های‬ ‫سرعت‬ ‫برای‬ ‫تدریجی‬.
‫پل‬ ‫اصل‬ ‫دو‬ ‫هر‬ ‫از‬ ‫اطالعات‬ ‫ارسال‬ ‫برای‬ ‫ای‬ ‫پله‬ ‫چند‬ ‫ساختار‬ ‫با‬ ‫های‬ ‫فیبر‬ ‫در‬‫ای‬ ‫ه‬
‫شود‬ ‫می‬ ‫استفاده‬ ‫تدریجی‬ ‫و‬.‫کرر‬ ‫پیردا‬ ‫افزایش‬ ‫باند‬ ‫پهنای‬ ‫ساختار‬ ‫این‬ ‫در‬‫تولیرد‬ ‫و‬ ‫ده‬
‫رود‬‫ر‬‫ش‬ ‫ری‬‫ر‬‫م‬ ‫رر‬‫ر‬‫ت‬ ‫ران‬‫ر‬‫آس‬ ‫ریار‬‫ر‬‫بس‬ ‫روه‬‫ر‬‫انب‬.‫رای‬‫ر‬‫ه‬ ‫رر‬‫ر‬‫فیب‬ ‫در‬ ‫داده‬ ‫رال‬‫ر‬‫ارس‬ ‫روج‬‫ر‬‫م‬ ‫رول‬‫ر‬‫ط‬ ‫ررین‬‫ر‬‫بهت‬
‫موج‬ ‫طول‬ ، ‫پالستیکی‬650‫نانومتر‬‫است‬.
76
‫نوری‬ ‫فیبر‬ ‫کابل‬ ‫های‬ ‫کاربرد‬‫پالستیکی‬:
1-‫خانگی‬ ‫های‬ ‫شبکه‬
2-‫تصویری‬ ‫و‬ ‫صوتی‬ ‫تجهیزات‬ ‫رابط‬
3-‫صنعتی‬ ‫تجهیزات‬ ‫کنترل‬(‫اتوماسیون‬)
4-‫ها‬ ‫ماشین‬ ‫و‬ ‫ها‬ ‫قطار‬ ‫های‬ ‫شبکه‬
5-‫دور‬ ‫راه‬ ‫از‬ ‫سنجش‬
6-‫وسایل‬ ‫کنترل‬‫انتقالگ‬‫ر‬
7-‫هنری‬ ‫های‬ ‫جلوه‬ ‫در‬ ‫استفاده‬
8-‫پزشکی‬ ‫های‬ ‫کاربرد‬
77
•‫ا‬ ‫رازی‬‫ر‬‫س‬ ‫رین‬‫ر‬‫ماش‬ ‫رنایع‬‫ر‬‫ص‬ ‫در‬ ‫و‬ ‫رن‬‫ر‬‫ژاپ‬ ‫در‬ ‫ردا‬‫ر‬‫ابت‬ ‫رتیکی‬‫ر‬‫پالس‬ ‫روری‬‫ر‬‫ن‬ ‫رای‬‫ر‬‫ه‬ ‫رر‬‫ر‬‫فیب‬‫رتفاده‬‫ر‬‫س‬
‫گرفتند‬ ‫قرار‬ ‫توجه‬ ‫مورد‬ ‫ارتباطات‬ ‫صنایع‬ ‫در‬ ‫سپس‬ ‫و‬ ‫شدند‬.
‫عالقه‬ ‫دلیل‬‫به‬ ‫زیاد‬‫پالستیکی‬ ‫نوری‬ ‫فیبر‬‫؟‬ ‫چیس‬
1-‫نوری‬ ‫فیبر‬ ‫های‬ ‫شبکه‬ ‫برای‬ ‫پایین‬ ‫قیمت‬ ‫به‬ ‫نیاز‬
2-‫باال‬ ‫دوام‬ ‫و‬ ‫استحکام‬
3-‫استاندارد‬ ‫تصویب‬13994b
4-‫های‬ ‫کاربرد‬‫گوناگون‬
78
5-‫ها‬ ‫کانکتور‬ ‫آسان‬ ‫نصب‬
6-‫ارزان‬ ‫های‬ ‫گیرنده‬ ‫و‬ ‫فرستنده‬
7-‫آسان‬ ‫نگهداری‬ ‫و‬ ‫تعمیر‬
8-‫کوچو‬ ‫ی‬ ‫اندازه‬‫کانکتورهای‬‫به‬ ‫نسبت‬ ‫آن‬‫فیبرنوری‬ ‫کانکتورهای‬‫ش‬‫ای‬ ‫یشه‬
9-‫ارتعاش‬ ‫و‬ ‫نوسان‬ ، ‫ضربه‬ ‫مقابل‬ ‫در‬ ‫پذیری‬ ‫انعطاف‬
10-‫شیشه‬ ‫نوری‬ ‫های‬ ‫فیبر‬ ‫به‬ ‫نسبت‬ ‫کمتر‬ ‫امنیتی‬ ‫مشکالت‬‫ای‬
79
‫پوشش‬ ‫با‬ ‫نوری‬ ‫کابل‬‫پولیمرسخت‬(Hard–PolimerCladFiber):
‫در‬‫از‬ ‫روری‬‫ر‬‫ن‬ ‫رای‬‫ر‬‫ه‬ ‫رل‬‫ر‬‫کاب‬ ‫روع‬‫ر‬‫ن‬ ‫ایرن‬‫اتیک‬‫ا‬‫پالس‬‫روان‬‫ر‬‫عن‬ ‫ره‬‫ر‬‫ب‬‫ار‬‫ا‬‫فیب‬ ‫اش‬‫ا‬‫پوش‬‫از‬ ‫و‬‫ش‬‫اه‬‫ا‬‫یش‬
‫سیلیکا‬‫عنوان‬ ‫به‬‫مغزی‬‫است‬ ‫گردیده‬ ‫استفاده‬.‫فیبر‬ ‫این‬ ‫در‬ ‫اتالف‬ ‫میزان‬‫کمترر‬ ‫هرا‬ ‫ر‬
‫ای‬ ‫ره‬‫ر‬‫شیش‬ ‫روری‬‫ر‬‫ن‬ ‫رای‬‫ر‬‫ه‬ ‫رر‬‫ر‬‫فیب‬ ‫از‬ ‫رتر‬‫ر‬‫بیش‬ ‫و‬ ‫رتیکی‬‫ر‬‫پالس‬ ‫روری‬‫ر‬‫ن‬ ‫رای‬‫ر‬‫ه‬ ‫رر‬‫ر‬‫فیب‬ ‫از‬، ‫رت‬‫ر‬‫اس‬
‫کم‬ ‫و‬ ‫پالسرتیکی‬ ‫هرای‬ ‫فیبرر‬ ‫از‬ ‫بیشرتر‬ ‫آنهرا‬ ‫بانرد‬ ‫پهنرای‬ ‫و‬ ‫قیمرت‬ ‫همچنین‬‫فیبرر‬ ‫از‬ ‫ترر‬
‫باشد‬ ‫می‬ ‫ای‬ ‫شیشه‬ ‫های‬.
‫فی‬ ‫تروان‬ ‫می‬ ‫است‬ ‫بزر‬ ‫ها‬ ‫فیبر‬ ‫نوع‬ ‫این‬ ‫در‬ ، ‫عددی‬ ‫ی‬ ‫روزنه‬ ‫و‬ ‫منزی‬ ‫چون‬‫برر‬
‫فیبر‬ ‫ایرن‬ ‫نتیجره‬ ‫در‬ ‫کره‬ ‫کررد‬ ‫متصرل‬ ‫پایین‬ ‫قیمت‬ ‫با‬ ‫نوری‬ ‫های‬ ‫ماژول‬ ‫به‬ ‫را‬‫را‬ ‫هرا‬ ‫ر‬
‫کنرد‬ ‫مری‬ ‫ای‬ ‫شیشه‬ ‫نوری‬ ‫های‬ ‫فیبر‬ ‫از‬ ‫تر‬ ‫صرفه‬ ‫به‬ ‫مقرون‬.‫پ‬ ‫چرون‬ ‫همچنرین‬‫هنرای‬
‫ارسرال‬ ‫بررای‬ ، ‫اسرت‬ ‫پالسرتیکی‬ ‫هرای‬ ‫فیبر‬ ‫از‬ ‫بیشتر‬ ‫ها‬ ‫فیبر‬ ‫این‬ ‫باند‬‫ترا‬ ‫اطالعرات‬
‫مسافت‬100‫کرد‬ ‫استفاده‬ ‫آنها‬ ‫از‬ ‫توان‬ ‫می‬ ‫متر‬.
80
‫رررررای‬‫ر‬‫کانکتوره‬ ‫از‬ ‫رررررتفاده‬‫ر‬‫اس‬ ‫رررررل‬‫ر‬‫دلی‬ ‫ررررره‬‫ر‬‫ب‬ ‫رررررا‬‫ر‬‫ه‬ ‫رررررر‬‫ر‬‫فیب‬ ‫رررررن‬‫ر‬‫ای‬ ‫رررررردن‬‫ر‬‫ک‬ ‫رررررمبل‬‫ر‬‫س‬ ‫رررررار‬‫ر‬‫ک‬
‫روع‬‫ر‬‫ن‬crimp&cleave،‫راه‬‫ر‬‫کوت‬ ‫ریار‬‫ر‬‫بس‬ ‫ران‬‫ر‬‫زم‬ ‫در‬ ‫و‬ ‫رانی‬‫ر‬‫آس‬ ‫ره‬‫ر‬‫ب‬(‫از‬ ‫رر‬‫ر‬‫کمت‬3‫ره‬‫ر‬‫دقیق‬)‫و‬
‫کانکتور‬ ‫یو‬ ‫برای‬ ‫پالیش‬ ‫زدن‬ ‫چسب‬ ‫عملیات‬ ‫بدون‬‫دوتایی‬‫می‬ ‫انجام‬‫شو‬‫د‬.
‫از‬‫هرا‬ ‫شربکه‬ ‫برای‬ ‫بیشتر‬ ، ‫سخت‬ ‫پولیمر‬ ‫پوشش‬ ‫با‬ ‫نوری‬ ‫فیبر‬ ‫کابل‬‫احتیراج‬ ‫کره‬ ‫یی‬
‫کارخانه‬ ‫و‬ ‫اداری‬ ‫های‬ ‫شبکه‬ ‫مانند‬ ، ‫است‬ ‫کم‬ ‫آنها‬ ‫طول‬ ‫و‬ ‫دارند‬ ‫باال‬ ‫سرعت‬ ‫به‬‫ها‬
‫پزشرکی‬ ‫و‬ ‫صرنعتی‬ ‫تجهیزات‬ ‫در‬ ‫کابل‬ ‫این‬ ‫از‬ ‫همچنین‬ ، ‫شود‬ ‫می‬ ‫استفاده‬‫سیسرتم‬ ،
‫سال‬ ‫در‬ ‫تصویر‬ ‫و‬ ‫صدا‬ ‫انتقال‬ ‫و‬ ‫آهن‬ ‫راه‬ ‫های‬ ‫واگن‬ ، ‫نما‬ ‫طیف‬ ‫و‬ ‫چراغانی‬ ‫های‬‫ن‬
‫شود‬ ‫می‬ ‫استفاده‬ ‫موسیقی‬ ‫های‬.
81
‫سخ‬ ‫پلیمر‬ ‫پوشش‬ ‫با‬ ‫نوری‬ ‫فیبر‬ ‫کابل‬ ‫خصوصیا‬:
•‫اسمبل‬‫آسان‬
•‫اتالف‬‫پایین‬ ‫خمیدگی‬
•‫روزنه‬‫باال‬ ‫عددی‬ ‫ی‬
•‫قیمت‬‫داده‬ ‫انتقال‬ ‫های‬ ‫دستگاه‬ ‫پایین‬
•‫بهترین‬‫داده‬ ‫ارسال‬ ‫موج‬ ‫طول‬(850‫نانومتر‬)
82
3-4‫فیبرنوری‬‫میشود‬ ‫ساخته‬ ‫چگونه‬‫؟‬
‫روری‬‫ر‬‫فیبرن‬‫رود‬‫ر‬‫میش‬ ‫راخته‬‫ر‬‫س‬ ‫رالر‬‫ر‬‫خ‬ ‫ریار‬‫ر‬‫بس‬ ‫رفاف‬‫ر‬‫ش‬ ‫ره‬‫ر‬‫شیش‬ ‫از‬.‫پ‬ ‫ره‬‫ر‬‫شیش‬ ‫رر‬‫ر‬‫اگ‬‫را‬ ‫رره‬‫ر‬‫نج‬
‫رد‬‫ر‬‫ب‬ ،‫رریم‬‫ر‬‫بگی‬ ‫رر‬‫ر‬‫نظ‬ ‫در‬ ‫رد‬‫ر‬‫میده‬ ‫رور‬‫ر‬‫عب‬ ‫رود‬‫ر‬‫خ‬ ‫از‬ ‫را‬ ‫رور‬‫ر‬‫ن‬ ‫ره‬‫ر‬‫ک‬ ‫رفاف‬‫ر‬‫ش‬ ‫ری‬‫ر‬‫محیط‬ ‫روان‬‫ر‬‫بعن‬‫لیل‬
‫رر‬‫ر‬‫نمیکن‬ ‫ررور‬‫ر‬‫عب‬ ‫ررر‬‫ر‬‫تنیی‬ ‫رردون‬‫ر‬‫ب‬ ‫و‬ ‫ررل‬‫ر‬‫کام‬ ‫ررور‬‫ر‬‫بط‬ ‫ررور‬‫ر‬‫ن‬ ،‫رره‬‫ر‬‫شیش‬ ‫در‬ ‫رریها‬‫ر‬‫ناخالص‬ ‫ررود‬‫ر‬‫وج‬‫د‬.
‫شیشر‬ ‫بره‬ ‫نسربت‬ ،‫میررود‬ ‫بکرار‬ ‫فیبرنروری‬ ‫سراخت‬ ‫در‬ ‫کره‬ ‫ای‬ ‫شیشره‬ ‫بهرحال‬‫بکرار‬ ‫ه‬
‫پنجره‬ ‫برای‬ ‫رفته‬‫های‬ ‫ناخالصی‬‫دارد‬ ‫کمتری‬ ‫بسیار‬.‫شررک‬ ‫یرو‬ ‫توصریف‬‫تولیرد‬ ‫ت‬
‫اینص‬ ‫به‬ ‫میرود‬ ‫بکار‬ ‫آن‬ ‫ساخت‬ ‫برای‬ ‫که‬ ‫ای‬ ‫شیشه‬ ‫از‬ ‫فیبرنوری‬ ‫کننده‬‫است‬ ‫ورت‬:
‫با‬ ‫روری‬‫ر‬‫فیبرن‬ ‫راخت‬‫ر‬‫س‬ ‫در‬ ‫ره‬‫ر‬‫رفت‬ ‫رار‬‫ر‬‫بک‬ ‫ره‬‫ر‬‫شیش‬ ‫از‬ ‫ری‬‫ر‬‫اقیانوس‬ ‫رطت‬‫ر‬‫س‬ ‫روی‬ ‫رر‬‫ر‬‫اگ‬،‫رتید‬‫ر‬‫یس‬
‫بوضوح‬ ‫آنرا‬ ‫مایلی‬ ‫چندین‬ ‫عمق‬ ‫میتوانید‬‫ببینید‬!!!
83
‫برای‬‫ساخ‬‫فیبرنوری‬‫بایستی‬‫مراحل‬‫زیر‬‫طی‬‫شود‬:
۱-‫ساخت‬‫یو‬‫استوانه‬‫شیشه‬‫ای‬‫از‬‫پیش‬‫تعین‬‫شده‬
۲-‫کشیدن‬‫فیبر‬‫از‬‫استوانه‬‫آماده‬‫شده‬
۳-‫آزمایش‬‫فیبرهای‬‫تولید‬‫شده‬.
٤-‫ساخت‬‫استوانه‬‫شیشه‬‫ای‬
84
‫ره‬‫ر‬‫شیش‬‫روم‬‫ر‬‫موس‬ ‫ردی‬‫ر‬‫رون‬ ‫ری‬‫ر‬‫ط‬ ‫رتوانه‬‫ر‬‫اس‬ ‫راخت‬‫ر‬‫س‬ ‫ررای‬‫ر‬‫ب‬ ‫رتفاده‬‫ر‬‫اس‬ ‫رورد‬‫ر‬‫م‬‫ره‬‫ر‬‫ب‬MCVD‫را‬‫ر‬‫ی‬
‫میشود‬ ‫تولید‬ ‫بخار‬ ‫با‬ ‫شیمیایی‬ ‫شده‬ ‫تعدیل‬ ‫سازی‬ ‫رسوب‬.
‫روش‬ ‫در‬MCVD‫رریژن‬‫ر‬‫اکس‬‫رریلیکون‬‫ر‬‫س‬ ‫ررد‬‫ر‬‫کلرای‬ ‫ررول‬‫ر‬‫محل‬ ‫رران‬‫ر‬‫می‬ ‫از‬SiCl4))،‫ررد‬‫ر‬‫کلرای‬
‫ژرمانیوم‬((GeCl4‫و‬‫شیمیایی‬ ‫مواد‬ ‫دیگر‬‫میجوشد‬.
‫گ‬ ‫ری‬‫ر‬‫اپتیک‬ ‫و‬ ‫ری‬‫ر‬‫فیزیک‬ ‫رای‬‫ر‬‫ویژگیه‬ ،‫رده‬‫ر‬‫ش‬ ‫راب‬‫ر‬‫حس‬ ‫و‬ ‫رق‬‫ر‬‫دقی‬ ‫ریار‬‫ر‬‫بس‬ ‫روط‬‫ر‬‫مخل‬ ‫رن‬‫ر‬‫ای‬‫راگونی‬‫ر‬‫ون‬
‫دارد‬( .‫و‬ ‫ذوب‬ ‫نقطه‬ ،‫انبساط‬ ‫ضریب‬ ،‫شکست‬ ‫ضریب‬ ‫ازجمله‬…)
85
‫فرآیند‬MCVD‫استوانه‬ ‫ساخت‬ ‫برای‬:
‫رپس‬‫ر‬‫س‬‫رداخ‬‫ر‬‫ب‬ ‫ری‬‫ر‬‫دوران‬ ‫رات‬‫ر‬‫حرک‬ ‫را‬‫ر‬‫ب‬ ‫رور‬‫ر‬‫مخص‬ ‫رین‬‫ر‬‫ماش‬ ‫رو‬‫ر‬‫ی‬ ‫ریکه‬‫ر‬‫بوس‬ ‫راز‬‫ر‬‫گ‬ ‫رای‬‫ر‬‫بخاره‬‫ل‬
‫عمرل‬ ‫ایرن‬ ‫به‬ ‫که‬ ‫میشود‬ ‫هدایت‬ ‫کوارتز‬ ‫لوله‬ ‫یا‬ ‫مصنوعی‬ ‫سیلیس‬ ‫لوله‬ ‫یو‬‫آبکراری‬
‫گویند‬.‫پایی‬ ‫و‬ ‫باال‬ ‫به‬ ‫لوله‬ ‫بیرون‬ ‫در‬ ‫مشعل‬ ‫یو‬ ،‫ماشین‬ ‫چرخش‬ ‫حین‬ ‫در‬‫حرکرت‬ ‫ن‬
‫میکند‬.‫ب‬ ‫اتفاق‬ ‫چیز‬ ‫دو‬ ‫میشود‬ ‫باع‬ ،‫مشعل‬ ‫از‬ ‫ناشی‬ ‫زیاد‬ ‫بسیار‬ ‫حرارت‬‫یفتد‬:
‫اکسرید‬ ‫دی‬ ،‫میدهنرد‬ ‫واکرنش‬ ‫اکسریژن‬ ‫برا‬ ‫ژرمرانیوم‬ ‫و‬ ‫سریلیکون‬‫سریلیکون‬(SiO2)‫و‬
‫اکسید‬ ‫دی‬‫ژرمانیوم‬(GeO2)‫حاصل‬‫میشود‬.
‫رروب‬‫ر‬‫رس‬ ‫رره‬‫ر‬‫لول‬ ‫رری‬‫ر‬‫داخل‬ ‫ررطت‬‫ر‬‫س‬ ‫روی‬ ‫ررانیوم‬‫ر‬‫ژرم‬ ‫ررید‬‫ر‬‫اکس‬ ‫دی‬ ‫و‬ ‫رریلیکون‬‫ر‬‫س‬ ‫ررید‬‫ر‬‫اکس‬ ‫دی‬
‫بگیرد‬ ‫شکل‬ ‫شیشه‬ ‫تا‬ ‫میشوند‬ ‫آمیخته‬ ‫باهم‬ ،‫میکنند‬.
86
‫ماشین‬‫استوانه‬ ‫ساخت‬ ‫برای‬ ‫استفاده‬ ‫مورد‬:
‫رین‬‫ر‬‫ماش‬‫رده‬‫ر‬‫ش‬ ‫ردود‬‫ر‬‫ان‬ ‫و‬ ‫رتوار‬‫ر‬‫اس‬ ‫ای‬ ‫رتوانه‬‫ر‬‫اس‬ ‫را‬‫ر‬‫ت‬ ‫رد‬‫ر‬‫میچرخ‬ ‫رتمر‬‫ر‬‫مس‬ ‫رور‬‫ر‬‫بط‬ ‫رور‬‫ر‬‫مخص‬
‫شود‬ ‫ساخته‬.‫برا‬ ‫در‬ ‫که‬ ‫پالستیکی‬ ‫قطعات‬ ‫از‬ ‫استفاده‬ ‫با‬ ‫شیشه‬ ‫خلور‬‫خروردگی‬ ‫بر‬
‫دقیرق‬ ‫کنتررل‬ ‫برا‬ ‫نیز‬ ‫و‬ ‫رفته‬ ‫بکار‬ ‫گاز‬ ‫تزریق‬ ‫سیستم‬ ‫در‬ ‫و‬ ‫است‬ ‫مقاوم‬‫گراز‬ ‫جریران‬
‫میشود‬ ‫حفظ‬ ‫آن‬ ‫ترکیب‬ ‫و‬.‫چ‬ ‫و‬ ‫اسرت‬ ‫خودکرار‬ ‫کامال‬ ‫استوانه‬ ‫این‬ ‫ساخت‬ ‫روند‬‫نردین‬
‫رد‬‫ر‬‫انجام‬ ‫ری‬‫ر‬‫م‬ ‫رول‬‫ر‬‫بط‬ ‫راعت‬‫ر‬‫س‬.‫رت‬‫ر‬‫تس‬ ،‫رد‬‫ر‬‫ش‬ ‫رو‬‫ر‬‫خن‬ ‫رده‬‫ر‬‫ش‬ ‫راخته‬‫ر‬‫س‬ ‫رتوانه‬‫ر‬‫اس‬ ‫ره‬‫ر‬‫اینک‬ ‫از‬ ‫رد‬‫ر‬‫بع‬
‫میشود‬ ‫انجام‬ ‫آن‬ ‫روی‬ ‫کیفیت‬ ‫کنترل‬.
87
‫شده‬ ‫آماده‬ ‫استوانه‬ ‫از‬ ‫فیبر‬ ‫کشیدن‬:
‫ر‬‫ر‬‫ب‬ ‫رام‬‫ر‬‫بن‬ ‫رتگاهی‬‫ر‬‫دس‬ ‫روی‬ ،‫رد‬‫ر‬‫ش‬ ‫ری‬‫ر‬‫کیف‬ ‫ررل‬‫ر‬‫کنت‬ ‫ای‬ ‫ره‬‫ر‬‫شیش‬ ‫رتوانه‬‫ر‬‫اس‬ ‫ره‬‫ر‬‫ازینک‬ ‫رد‬‫ر‬‫بع‬‫رر‬‫ر‬‫فیب‬ ‫رج‬
‫میشود‬ ‫سوار‬ ‫کشی‬.
‫رود‬‫ر‬‫میش‬ ‫دا‬ ‫ری‬‫ر‬‫گرافیت‬ ‫روره‬‫ر‬‫ک‬ ‫رو‬‫ر‬‫ی‬ ‫در‬ ‫ای‬ ‫ره‬‫ر‬‫شیش‬ ‫رتوانه‬‫ر‬‫اس‬(۳۴۵۲‫را‬‫ر‬‫ت‬۳۹۹۲‫ره‬‫ر‬‫درج‬
‫یا‬ ‫فارنهایت‬۱۹۰۰‫ترا‬۲۲۰۰‫سرانتیگراد‬ ‫درجره‬)‫گداختره‬ ‫گلولره‬ ‫یرو‬ ‫کره‬ ‫حردی‬ ‫ترا‬
‫میکنرد‬ ‫سرقوط‬ ‫جاذبره‬ ‫نیرروی‬ ‫تراتیر‬ ‫تحرت‬ ،‫آن‬ ‫نوک‬ ‫از‬ ‫شده‬.‫ای‬ ‫شیشره‬ ‫گلولره‬‫مرذاب‬
‫آورد‬ ‫می‬ ‫بوجود‬ ‫را‬ ‫ای‬ ‫شیشه‬ ‫رشته‬ ‫یو‬ ‫و‬ ‫میشود‬ ‫خنو‬ ‫سقوط‬ ‫حین‬ ‫در‬.
88
‫رد‬‫ر‬‫میکش‬ ‫رده‬‫ر‬‫ش‬ ‫دا‬ ‫رتوانه‬‫ر‬‫اس‬ ‫از‬ ‫ری‬‫ر‬‫آرام‬ ‫ره‬‫ر‬‫ب‬ ‫را‬ ‫رر‬‫ر‬‫فیب‬ ‫رانیکی‬‫ر‬‫مک‬ ‫رره‬‫ر‬‫قرق‬.‫ریز‬ ‫رو‬‫ر‬‫ی‬‫رنج‬‫ر‬‫س‬
‫میگیر‬ ‫اندازه‬ ‫را‬ ‫فیبر‬ ‫قطر‬ ‫و‬ ‫میکند‬ ‫کنترل‬ ‫را‬ ‫مرحله‬ ‫این‬ ‫بدقت‬ ‫لیزری‬‫د‬.‫اطالعات‬
‫میشرو‬ ‫ارسرال‬ ‫مکرانیکی‬ ‫قرقره‬ ‫خودکار‬ ‫سیستم‬ ‫به‬ ‫ریزسنج‬ ‫از‬ ‫آمده‬ ‫بدست‬‫د‬.‫فیبرهرا‬
‫سرعت‬ ‫با‬۳۳‫ترا‬۶۶‫تانیره‬ ‫برر‬ ‫فروت‬(۱۰‫ترا‬۲۰‫تانیره‬ ‫برر‬ ‫مترر‬)‫دا‬ ‫اسرتوانه‬ ‫از‬
‫رود‬‫ر‬‫میش‬ ‫رده‬‫ر‬‫پیچی‬ ‫رره‬‫ر‬‫قرق‬ ‫روی‬ ‫رایی‬‫ر‬‫نه‬ ‫رول‬‫ر‬‫محص‬ ‫و‬ ‫روند‬‫ر‬‫میش‬ ‫ریده‬‫ر‬‫کش‬.‫نه‬ ‫در‬ ‫روال‬‫ر‬‫معم‬‫رت‬‫ر‬‫ای‬
‫از‬ ‫بیش‬۴/۱‫مایل‬(۲/۲‫کیلومتر‬)‫نمیشود‬ ‫جمع‬ ‫قرقره‬ ‫روی‬ ‫فیبرنوری‬
89
90
‫فصل‬‫چهارم‬:
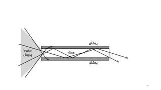
‫چگونگی‬‫پیام‬ ‫انتقال‬
91
4-1‫چگونگی‬‫انتقال‬‫پیام‬:
‫راگرام‬‫ر‬‫دی‬‫در‬ ‫رابراتی‬‫ر‬‫مخ‬ ‫رتم‬‫ر‬‫سیس‬ ‫رو‬‫ر‬‫ی‬ ‫از‬ ‫ری‬‫ر‬‫کل‬ ‫رامال‬‫ر‬‫ک‬ ‫روکی‬‫ر‬‫بل‬‫ردی‬‫ر‬‫بع‬ ‫رکل‬‫ر‬‫ش‬‫د‬ ،‫ری‬‫ر‬‫م‬ ‫رده‬‫ر‬‫ی‬
‫رود‬‫ر‬‫ش‬.‫رو‬‫ر‬‫ی‬ ‫رزای‬‫ر‬‫اج‬ ‫از‬ ‫رنی‬‫ر‬‫روش‬ ‫درک‬ ‫رکل‬‫ر‬‫ش‬ ‫رن‬‫ر‬‫ای‬ ‫روک‬‫ر‬‫بل‬ ‫رر‬‫ر‬‫ه‬ ‫از‬ ‫رری‬‫ر‬‫مختص‬ ‫ریت‬‫ر‬‫توض‬
‫دهرد‬ ‫مری‬ ‫ما‬ ‫به‬ ‫مخابراتی‬ ‫سیستم‬.‫بر‬ ‫بخرش‬ ‫ایرن‬ ‫در‬ ‫کره‬ ‫توضریحاتی‬ ‫از‬ ‫خیلری‬‫طرور‬ ‫ه‬
‫شد‬ ‫خواهند‬ ‫داده‬ ‫شرح‬ ‫بعدی‬ ‫های‬ ‫قسمت‬ ‫در‬ ، ‫است‬ ‫شده‬ ‫داده‬ ‫فشرده‬ ‫و‬ ‫مختصر‬.
92
‫خبر‬ ‫منشه‬ • ‫فرستنده‬
‫مدوالتور‬
‫سیگنال‬ ‫منبع‬
‫حامل‬
‫کننده‬ ‫تزویج‬
‫کانال‬(‫ورودی‬)
‫خروجی‬ ‫پیام‬•‫گیرنده‬
‫گر‬ ‫پردازش‬
‫سیگنال‬
‫ساز‬ ‫آشکار‬
‫کننده‬ ‫تزویج‬
‫کانال‬(‫خروجی‬)
‫ارتباطی‬ ‫کانال‬
(‫نوری‬ ‫فیبر‬) 93
4-1-1‫پیام‬ ‫منشاء‬:
‫منشاء‬‫باشرد‬ ‫داشرته‬ ‫متفراوتی‬ ‫فیزیکری‬ ‫اشرکال‬ ‫میتوانرد‬ ‫پیام‬.‫او‬ ‫اغلرب‬ ‫در‬‫منشراء‬ ‫قرات‬
‫الکتریکر‬ ‫سریگنال‬ ‫بره‬ ‫را‬ ‫الکتریکری‬ ‫غیرر‬ ‫پیرام‬ ‫کره‬ ‫اسرت‬ ‫مبردل‬ ‫یو‬ ‫پیام‬‫مری‬ ‫تبردیل‬ ‫ی‬
‫کند‬.‫جر‬ ‫بره‬ ‫صروتی‬ ‫امرواج‬ ‫تبردیل‬ ‫بررای‬ ‫ها‬ ‫میکروفن‬ ‫شامل‬ ‫متداول‬ ‫های‬ ‫نمونه‬‫یران‬
‫جر‬ ‫ره‬‫ر‬‫ب‬ ‫رویر‬‫ر‬‫تص‬ ‫ردیل‬‫ر‬‫تب‬ ‫ررای‬‫ر‬‫ب‬ ‫رونی‬‫ر‬‫تلویزی‬ ‫رای‬‫ر‬‫ه‬ ‫رین‬‫ر‬‫دورب‬ ‫و‬ ‫ری‬‫ر‬‫الکتریک‬ ‫رای‬‫ر‬‫ه‬‫رای‬‫ر‬‫ه‬ ‫ران‬‫ر‬‫ی‬
‫باشند‬ ‫می‬ ‫الکتریکی‬.
‫اطالعرات‬ ، ‫الکتریکری‬ ‫مخرابرات‬ ‫در‬ ‫چره‬ ‫و‬ ‫نروری‬ ‫مخابرات‬ ‫در‬ ‫چه‬ ، ‫حال‬ ‫هر‬ ‫در‬
‫باشد‬ ‫الکتریکی‬ ‫شکل‬ ‫به‬ ‫باید‬ ، ‫ارسال‬ ‫از‬ ‫قبل‬.
94
4-1-2‫مدوالتور‬:
‫مدوالتور‬‫دهد‬ ‫می‬ ‫انجام‬ ‫اصلی‬ ‫کار‬ ‫دو‬:
‫کند‬ ‫می‬ ‫تبدیل‬ ‫مناسبی‬ ‫شکل‬ ‫به‬ ‫را‬ ‫الکتریکی‬ ‫پیام‬ ، ‫اول‬.‫پیر‬ ‫این‬ ، ‫دوم‬‫الکتریکری‬ ‫ام‬
‫رد‬‫ر‬‫ده‬ ‫ری‬‫ر‬‫م‬ ‫رأتیر‬‫ر‬‫ت‬ ‫رل‬‫ر‬‫حاص‬ ‫رع‬‫ر‬‫منب‬ ‫رط‬‫ر‬‫توس‬ ‫رده‬‫ر‬‫ش‬ ‫رد‬‫ر‬‫تولی‬ ‫روج‬‫ر‬‫م‬ ‫رو‬‫ر‬‫ی‬ ‫روی‬ ‫رر‬‫ر‬‫ب‬ ‫را‬.‫روع‬‫ر‬‫ن‬ ‫دو‬
‫دارد‬ ‫وجود‬ ‫مدوالسیون‬:‫دیجیتال‬ ‫و‬ ‫آنالو‬.
‫بازسر‬ ‫دقیرق‬ ‫طرور‬ ‫بره‬ ‫را‬ ‫اصرلی‬ ‫پیرام‬ ‫فررم‬ ‫و‬ ‫اسرت‬ ‫پیوسرته‬ ‫آنرالو‬ ‫سیگنال‬‫مری‬ ‫ازی‬
‫کند‬.
95
‫ارسر‬ ‫خواهرد‬ ‫مری‬ ‫فرکانسری‬ ‫ترو‬ ‫صروتی‬ ‫مروج‬ ‫یرو‬ ‫کنید‬ ‫فر‬ ، ‫متال‬ ‫عنوان‬ ‫به‬‫ال‬
‫ش‬ ‫وارد‬ ‫الکتریکی‬ ‫جریان‬ ، ‫شود‬ ‫وارد‬ ‫میکروفن‬ ‫یو‬ ‫به‬ ‫موج‬ ‫این‬ ‫اگر‬ ، ‫شود‬‫از‬ ‫ده‬
‫داشرت‬ ‫خواهرد‬ ‫را‬ ‫ورودی‬ ‫صروت‬ ‫موج‬ ‫شکل‬ ‫همان‬ ، ‫آن‬.‫مردوالتور‬ ‫حالرت‬ ‫ایرن‬ ‫در‬
‫نردارد‬ ‫سیگنال‬ ‫دادن‬ ‫شکل‬ ‫تنییر‬ ‫به‬ ‫نیازی‬.‫سریگ‬ ‫باشرد‬ ‫نیراز‬ ‫اسرت‬ ‫ممکرن‬‫تقویرت‬ ‫نال‬
‫ر‬ ‫حامرل‬ ‫منبرع‬ ‫بتوانرد‬ ‫تا‬ ‫باشد‬ ‫داشته‬ ‫قدرت‬ ‫کافی‬ ‫طور‬ ‫به‬ ‫که‬ ‫طوری‬ ‫به‬ ‫شود‬‫مترأتر‬ ‫ا‬
‫کند‬.
‫مدوالسیون‬‫گسست‬ ‫شکل‬ ‫به‬ ‫که‬ ‫است‬ ‫اطالعاتی‬ ‫ارسال‬ ‫به‬ ‫مربوط‬ ‫دیجیتال‬‫هستند‬ ‫ه‬.
96
‫اسرت‬ ‫روشرن‬ ‫یرا‬ ‫و‬ ‫روشرن‬ ‫یا‬ ‫دیجیتال‬ ‫سیگنال‬.‫حالر‬ ‫و‬ ‫یرو‬ ‫معررف‬ ‫روشرن‬ ‫حالرت‬‫ت‬
‫است‬ ‫صفر‬ ‫معرف‬ ‫خاموش‬.‫براینری‬ ‫های‬ ‫رقم‬ ‫ها‬ ‫حالت‬ ‫این‬(‫هرای‬ ‫بیرت‬ ‫یرا‬)‫سیسر‬‫تم‬
‫هستند‬ ‫دیجیتال‬.‫ا‬ ‫تانیه‬ ‫هر‬ ‫در‬ ‫که‬ ‫است‬ ‫بیتی‬ ‫تعداد‬ ‫داده‬ ‫سرعت‬ ‫یا‬ ‫میزان‬‫مری‬ ‫رسرال‬
‫گردد‬(bps.)
‫پیر‬ ‫یرو‬ ‫شرده‬ ‫رمرز‬ ‫فرم‬ ، ‫خاموش‬ ‫و‬ ‫روشن‬ ‫های‬ ‫پالس‬ ‫رشته‬ ‫این‬ ‫که‬ ‫است‬ ‫ممکن‬‫ام‬
‫رد‬‫ر‬‫باش‬ ‫رالو‬‫ر‬‫آن‬.‫رت‬‫ر‬‫رش‬ ‫رو‬‫ر‬‫ی‬ ‫ره‬‫ر‬‫ب‬ ‫را‬ ‫رالو‬‫ر‬‫آن‬ ‫رام‬‫ر‬‫پی‬ ‫رال‬‫ر‬‫دیجیت‬ ‫ره‬‫ر‬‫ب‬ ‫رالو‬‫ر‬‫آن‬ ‫ردل‬‫ر‬‫مب‬ ‫رو‬‫ر‬‫ی‬‫ی‬ ‫ه‬
‫کند‬ ‫می‬ ‫تبدیل‬ ‫دیجیتال‬.‫عکس‬‫کر‬ ‫گرردد‬ ‫مری‬ ‫انجرام‬ ‫گیرنرده‬ ‫در‬ ‫پردازش‬ ‫این‬‫آن‬ ‫در‬ ‫ه‬
‫شود‬ ‫می‬ ‫تبدیل‬ ‫آنالو‬ ‫پیام‬ ‫به‬ ‫دیجیتالی‬ ‫ی‬ ‫رشته‬.
97
4-1-3‫منبع‬‫حامل‬ ‫موج‬:
‫منبع‬‫کنرد‬ ‫مری‬ ‫تولیرد‬ ‫گردد‬ ‫می‬ ‫ارسال‬ ‫آن‬ ‫روی‬ ‫بر‬ ‫اطالعات‬ ‫که‬ ‫را‬ ‫موجی‬ ، ‫حامل‬.
‫شود‬ ‫می‬ ‫نامیده‬ ‫حامل‬ ‫موج‬ ‫این‬.
‫مری‬ ‫تولیرد‬ ‫الکتریکی‬ ‫ساز‬ ‫نوسان‬ ‫یو‬ ‫توسط‬ ‫حامل‬ ، ‫رادیویی‬ ‫مخابرات‬ ‫در‬‫شرود‬.
‫دیرود‬ ، ‫نروری‬ ‫تار‬ ‫های‬ ‫سیستم‬ ‫برای‬‫لیرزری‬LD))‫و‬‫نرور‬ ‫دیرود‬ ‫یرا‬‫گسریل‬LED))‫بره‬
‫رد‬‫ر‬‫رون‬ ‫ری‬‫ر‬‫م‬ ‫رار‬‫ر‬‫ک‬ ‫ره‬‫ر‬‫ب‬ ‫رل‬‫ر‬‫حام‬ ‫رع‬‫ر‬‫منب‬ ‫روان‬‫ر‬‫عن‬.‫رای‬‫ر‬‫ه‬ ‫راز‬‫ر‬‫س‬ ‫ران‬‫ر‬‫نوس‬ ‫روان‬‫ر‬‫ت‬ ‫ری‬‫ر‬‫م‬ ‫را‬ ‫رزار‬‫ر‬‫اب‬ ‫رن‬‫ر‬‫ای‬
‫نامید‬ ‫نوری‬.‫فرکر‬ ‫ترو‬ ، ‫پایردار‬ ‫امرواجی‬ ،‫نروری‬ ‫منابع‬ ‫این‬ ، ‫آل‬ ‫ایده‬ ‫حالت‬ ‫در‬‫انس‬
‫کنند‬ ‫می‬ ‫تولید‬ ، ‫دور‬ ‫های‬ ‫مسافت‬ ‫پیمودن‬ ‫برای‬ ‫کافی‬ ‫توان‬ ‫با‬ ‫و‬.
98
4-1-4‫تزویج‬‫کانال‬ ‫های‬ ‫کننده‬(‫ورودی‬):
‫تزویج‬‫کننرد‬ ‫مری‬ ‫وارد‬ ‫اطالعرات‬ ‫کانرال‬ ‫داخل‬ ‫به‬ ‫را‬ ‫اطالعات‬ ‫ها‬ ‫کننده‬.‫وسری‬ ‫ایرن‬‫له‬
‫رت‬‫ر‬‫اس‬ ‫رتن‬‫ر‬‫آن‬ ، ‫رونی‬‫ر‬‫تلویزی‬ ‫را‬‫ر‬‫ی‬ ‫و‬ ‫رویی‬‫ر‬‫رادی‬ ‫رار‬‫ر‬‫انتش‬ ‫رتم‬‫ر‬‫سیس‬ ‫رو‬‫ر‬‫ی‬ ‫در‬.‫عال‬ ‫رتن‬‫ر‬‫آن‬‫از‬ ‫را‬ ‫رم‬‫ر‬‫ئ‬
‫رد‬‫ر‬‫ده‬ ‫ری‬‫ر‬‫م‬ ‫رال‬‫ر‬‫انتق‬ ، ‫رت‬‫ر‬‫اس‬ ‫رو‬‫ر‬‫ج‬ ‫رت‬‫ر‬‫حال‬ ‫رن‬‫ر‬‫ای‬ ‫در‬ ‫ره‬‫ر‬‫ک‬ ‫رات‬‫ر‬‫اطالع‬ ‫رال‬‫ر‬‫کان‬ ‫ره‬‫ر‬‫ب‬ ‫رتنده‬‫ر‬‫فرس‬.‫در‬
‫تر‬ ، ‫تلفرن‬ ‫خطروط‬ ‫مترل‬ ، ‫برنرد‬ ‫مری‬ ‫کار‬ ‫به‬ ‫سیم‬ ‫که‬ ‫ای‬ ‫شده‬ ‫هدایت‬ ‫های‬ ‫سیستم‬‫زویج‬
‫فرسرتنده‬ ‫کرردن‬ ‫وصل‬ ‫منظور‬ ‫به‬ ‫است‬ ‫ای‬ ‫ساده‬ ‫ی‬ ‫دهنده‬ ‫اتصال‬ ‫فقط‬ ‫کننده‬‫خرط‬ ‫بره‬
‫رود‬ ‫می‬ ‫کار‬ ‫به‬ ‫اطالعات‬ ‫انتقال‬ ‫کانال‬ ‫عنوان‬ ‫به‬ ‫که‬ ‫انتقالی‬.
‫سیستم‬ ‫در‬،‫نوری‬‫همسرو‬ ‫بررای‬ ‫کره‬ ‫است‬ ‫عدسی‬ ‫یو‬ ‫کانال‬ ‫ی‬ ‫کننده‬ ‫تزویج‬‫کرردن‬
‫مر‬ ‫اسرتفاده‬ ‫آن‬ ‫از‬ ‫گیرنرده‬ ‫طررف‬ ‫بره‬ ‫نرور‬ ‫ایرن‬ ‫دادن‬ ‫جهرت‬ ‫و‬ ‫منبرع‬ ‫از‬ ‫منتشرره‬ ‫نور‬‫ی‬
‫شود‬.‫پ‬ ‫تری‬ ‫مر‬ ‫طرور‬ ‫بره‬ ‫بایرد‬ ‫دهنرده‬ ‫ترزویج‬ ، ‫مرا‬ ‫نظر‬ ‫مورد‬ ‫تاری‬ ‫سیستم‬ ‫در‬‫رترو‬
‫کند‬ ‫منتقل‬ ‫نوری‬ ‫تار‬ ‫به‬ ‫منبع‬ ‫از‬ ‫را‬ ‫شده‬ ‫مدوله‬ ‫نور‬.
99
4-1-5‫کانال‬‫ارتباطی‬:
‫کانال‬‫گیرنرده‬ ‫و‬ ‫فرسرتنده‬ ‫برین‬ ‫مسریر‬ ‫از‬ ‫اسرت‬ ‫عبرارت‬ ‫ارتبراطی‬.‫مخرابر‬ ‫در‬‫ترار‬ ‫ات‬
‫رت‬‫ر‬‫اس‬ ‫رتیکی‬‫ر‬‫پالس‬ ‫را‬‫ر‬‫ی‬ ‫ای‬ ‫ره‬‫ر‬‫شیش‬ ‫رار‬‫ر‬‫ت‬ ‫رو‬‫ر‬‫ی‬ ‫رال‬‫ر‬‫کان‬ ، ‫روری‬‫ر‬‫ن‬.‫عال‬ ‫رورد‬‫ر‬‫م‬ ‫رات‬‫ر‬‫مشخص‬‫ره‬‫ر‬‫ق‬
‫نرو‬ ‫پرذیرش‬ ‫مخروطری‬ ‫ی‬ ‫زاویره‬ ‫و‬ ‫کرم‬ ‫تضرعیف‬ ‫شامل‬ ‫اطالعات‬ ‫کانال‬ ‫یو‬ ‫برای‬‫ر‬
‫است‬ ‫بزر‬.‫ال‬ ‫خصوصریات‬ ‫از‬ ‫نرور‬ ‫تر‬ ‫مر‬ ‫و‬ ‫کارآمرد‬ ‫گردآوری‬ ‫و‬ ‫کم‬ ‫تضعیف‬‫زم‬
‫هستند‬ ‫طوالنی‬ ‫های‬ ‫مسیر‬ ‫برای‬ ، ‫انتقال‬ ‫برای‬.
‫اسرت‬ ‫آن‬ ‫در‬ ‫کننرده‬ ‫سریر‬ ‫نور‬ ‫انتشار‬ ‫زمان‬ ‫اطالعات‬ ‫کانال‬ ‫دیگر‬ ‫مهم‬ ‫خاصیت‬.‫در‬
‫ب‬ ، ‫دارد‬ ‫نرور‬ ‫پرترو‬ ‫کره‬ ‫مسریری‬ ‫و‬ ‫نرور‬ ‫فرکرانس‬ ‫بره‬ ‫سیر‬ ‫زمان‬ ، ‫کلی‬ ‫حالت‬‫سرتگی‬
‫دارد‬.
‫آنرا‬ ‫مدوالسریون‬ ‫در‬ ‫چره‬ ، ‫مسریر‬ ‫بره‬ ‫و‬ ‫فرکرانس‬ ‫بره‬ ‫انتشرار‬ ‫سرعت‬ ‫وابستگی‬‫و‬ ‫لو‬
‫گردد‬ ‫می‬ ‫اطالعات‬ ‫میزان‬ ‫شدن‬ ‫محدود‬ ‫به‬ ‫منجر‬ ‫دیجیتال‬ ‫مدوالسیون‬ ‫در‬ ‫چه‬.
100
4-1-6‫تزویج‬‫کانال‬ ‫کننده‬(‫خروجی‬):
‫در‬‫کانرال‬ ‫از‬ ‫را‬ ‫سریگنال‬ ‫یو‬ ، ‫جوی‬ ‫الکترونیکی‬ ‫مخابراتی‬ ‫سیستم‬ ‫یو‬‫گیررد‬ ‫مری‬
‫رد‬‫ر‬‫کن‬ ‫ری‬‫ر‬‫م‬ ‫رل‬‫ر‬‫منتق‬ ‫رده‬‫ر‬‫گیرن‬ ‫رای‬‫ر‬‫ه‬ ‫رمت‬‫ر‬‫قس‬ ‫رایر‬‫ر‬‫س‬ ‫ره‬‫ر‬‫ب‬ ‫را‬ ‫آن‬ ‫و‬.‫روری‬‫ر‬‫ن‬ ‫رتم‬‫ر‬‫سیس‬ ‫رو‬‫ر‬‫ی‬ ‫در‬،
‫هدایت‬ ‫نور‬ ‫ساز‬ ‫آشکار‬ ‫به‬ ‫را‬ ‫تار‬ ‫از‬ ‫شده‬ ‫خارج‬ ‫نور‬ ، ‫خروجی‬ ‫کننده‬ ‫تزویج‬‫مری‬
‫کند‬.
101
4-1-7‫آشکار‬‫ساز‬:
‫در‬‫رردد‬‫ر‬‫گ‬ ‫رتخراج‬‫ر‬‫اس‬ ‫رل‬‫ر‬‫حاص‬ ‫روج‬‫ر‬‫م‬ ‫از‬ ‫رد‬‫ر‬‫بای‬ ‫رالی‬‫ر‬‫ارس‬ ‫رات‬‫ر‬‫اطالع‬ ‫ره‬‫ر‬‫مرحل‬ ‫رن‬‫ر‬‫ای‬.‫رو‬‫ر‬‫ی‬ ‫در‬
‫ت‬ ‫کره‬ ‫باشرد‬ ‫مری‬ ‫دموالسریون‬ ‫فرآینرد‬ ‫ی‬ ‫مرحلره‬ ‫ایرن‬ ، ‫الکترونیکری‬ ‫سیستم‬‫یرو‬ ‫وسرط‬
‫شرود‬ ‫مری‬ ‫انجرام‬ ‫مناسرب‬ ‫الکترونیکی‬ ‫مدار‬.‫تو‬ ‫نروری‬ ‫مروج‬ ، ‫تراری‬ ‫سیسرتم‬ ‫در‬‫سرط‬
‫شود‬ ‫می‬ ‫تبدیل‬ ‫الکتریکی‬ ‫جریان‬ ‫یو‬ ‫به‬ ‫نور‬ ‫ساز‬ ‫آشکار‬ ‫یو‬.
‫مرورد‬ ‫مترداول‬ ‫بسریار‬ ‫طرور‬ ‫بره‬ ‫متنروع‬ ‫های‬ ‫طراحی‬ ‫با‬ ‫هادی‬ ‫نیمه‬ ‫نوری‬ ‫های‬ ‫دیود‬
‫گیرنرد‬ ‫مری‬ ‫قرار‬ ‫استفاده‬.‫متن‬ ‫سرازها‬ ‫آشرکار‬ ‫ایرن‬ ‫توسرط‬ ‫شرده‬ ‫تولیرد‬ ‫جریران‬‫برا‬ ‫اسرب‬
‫آنهاست‬ ‫به‬ ‫شده‬ ‫تابیده‬ ‫نور‬ ‫در‬ ‫موجود‬ ‫توان‬.
102
، ‫راز‬‫ر‬‫س‬ ‫رکار‬‫ر‬‫آش‬ ‫از‬ ‫ری‬‫ر‬‫خروج‬ ‫ران‬‫ر‬‫جری‬ ، ‫دارد‬ ‫را‬‫ر‬‫ج‬ ‫رور‬‫ر‬‫ن‬ ‫ررات‬‫ر‬‫تنیی‬ ‫در‬ ‫رات‬‫ر‬‫اطالع‬ ‫رون‬‫ر‬‫چ‬
‫داشت‬ ‫خواهد‬ ‫بر‬ ‫در‬ ‫را‬ ‫اطالعات‬.
‫د‬ ‫رور‬‫ر‬‫ن‬ ‫رع‬‫ر‬‫منب‬ ‫رردن‬‫ر‬‫ک‬ ‫ره‬‫ر‬‫مدول‬ ‫ررای‬‫ر‬‫ب‬ ‫ره‬‫ر‬‫ک‬ ‫رت‬‫ر‬‫اس‬ ‫رانی‬‫ر‬‫جری‬ ‫رکل‬‫ر‬‫ش‬ ‫ره‬‫ر‬‫ب‬ ‫را‬‫ر‬‫دقیق‬ ‫ران‬‫ر‬‫جری‬ ‫رن‬‫ر‬‫ای‬‫ر‬
‫است‬ ‫شده‬ ‫گرفته‬ ‫کار‬ ‫به‬ ‫فرستنده‬.
، ‫برودن‬ ‫اقتصرادی‬ ، ‫کوچرو‬ ‫ی‬ ‫انردازه‬ ‫شرامل‬ ‫نروری‬ ‫سازهای‬ ‫آشکار‬ ‫مهم‬ ‫خوار‬
‫رای‬‫ر‬‫ه‬ ‫ریگنال‬‫ر‬‫س‬ ‫ره‬‫ر‬‫ب‬ ‫راال‬‫ر‬‫ب‬ ‫ریت‬‫ر‬‫حساس‬ ، ‫ررژی‬‫ر‬‫ان‬ ‫ررف‬‫ر‬‫مص‬ ‫رودن‬‫ر‬‫ب‬ ‫رم‬‫ر‬‫ک‬ ، ‫راد‬‫ر‬‫زی‬ ‫رر‬‫ر‬‫عم‬ ‫رول‬‫ر‬‫ط‬
‫اسرت‬ ‫نروری‬ ‫قردرت‬ ‫در‬ ‫تنرد‬ ‫تنییررات‬ ‫بره‬ ‫سرریع‬ ‫پاسخ‬ ‫و‬ ‫نوری‬.‫خوشربختانه‬‫آشرکار‬
‫مری‬ ‫دسرترس‬ ‫در‬ ‫حاضرر‬ ‫حرال‬ ‫در‬ ‫باشرند‬ ‫مشخصرات‬ ‫این‬ ‫دارای‬ ‫که‬ ‫نوری‬ ‫سازهای‬
‫باشند‬.
103
4-1-8‫پردازشگر‬‫سیگنال‬:
‫برررای‬‫فیلترر‬ ‫و‬ ‫کننرردگی‬ ‫تقویررت‬ ‫شررامل‬ ‫سرریگنال‬ ‫پررردازش‬ ، ‫آنررالو‬ ‫انتقررال‬‫کررردن‬ ‫ر‬
‫است‬ ‫سیگنال‬.‫ج‬ ‫تابرت‬ ‫مقردار‬ ‫حذف‬ ‫برای‬ ‫سیگنال‬ ‫کردن‬ ‫فیلتر‬ ‫بر‬ ‫عالوه‬‫از‬ ، ‫ریران‬
‫جلروگیر‬ ‫بایسرتی‬ ‫هرم‬ ‫دیگرر‬ ‫ناخواسرته‬ ‫فرکرانس‬ ‫گونره‬ ‫هر‬ ‫بیشتر‬ ‫انتقال‬‫کررد‬ ‫ی‬.‫یرو‬
‫عبرور‬ ‫خرود‬ ‫از‬ ‫را‬ ‫ارسرالی‬ ‫اطالعرات‬ ‫در‬ ‫موجرود‬ ‫هرای‬ ‫فرکرانس‬ ‫تمرام‬ ‫آل‬ ‫ایرده‬ ‫فیلتر‬
‫کند‬ ‫می‬ ‫حذف‬ ‫را‬ ‫بقیه‬ ‫و‬ ‫داده‬.‫نظرر‬ ‫مرورد‬ ‫ارسرالی‬ ‫اطالعرات‬ ‫وضروح‬ ‫بره‬ ‫عمل‬ ‫این‬
‫بخشد‬ ‫می‬ ‫بهبود‬ ‫را‬.
‫ناخواست‬ ‫های‬ ‫چیز‬ ‫توان‬ ‫به‬ ‫سیگنال‬ ‫توان‬ ‫نسبت‬ ، ‫مناسب‬ ‫کردن‬ ‫فیلتر‬‫حرداکتر‬ ‫را‬ ‫ه‬
‫کند‬ ‫می‬.‫شوند‬ ‫می‬ ‫نامیده‬ ‫نویز‬ ‫دریافتی‬ ‫سیگنال‬ ‫در‬ ‫تصادفی‬ ‫نوسانات‬.
104
‫ف‬ ‫و‬ ‫را‬‫ر‬‫ه‬ ‫رده‬‫ر‬‫کنن‬ ‫رت‬‫ر‬‫تقوی‬ ‫رر‬‫ر‬‫ب‬ ‫رالوه‬‫ر‬‫ع‬ ‫رگر‬‫ر‬‫پردازش‬ ، ‫رالی‬‫ر‬‫دیجیت‬ ‫رتم‬‫ر‬‫سیس‬ ‫رو‬‫ر‬‫ی‬ ‫ررای‬‫ر‬‫ب‬‫را‬‫ر‬‫ه‬ ‫رر‬‫ر‬‫یلت‬
‫باشد‬ ‫تصمیم‬ ‫های‬ ‫مدار‬ ‫شامل‬ ‫است‬ ‫ممکن‬.‫ب‬ ‫یو‬ ‫به‬ ‫مربوط‬ ‫زمانی‬ ‫بازه‬ ‫هر‬ ‫در‬‫یت‬
‫رفر‬‫ر‬‫ص‬ ‫را‬‫ر‬‫ی‬ ‫و‬ ‫رو‬‫ر‬‫ی‬ ‫ران‬‫ر‬‫زم‬ ‫رن‬‫ر‬‫ای‬ ‫رالل‬‫ر‬‫خ‬ ‫در‬ ‫را‬‫ر‬‫آی‬ ‫ره‬‫ر‬‫ک‬ ‫ررد‬‫ر‬‫گی‬ ‫ری‬‫ر‬‫م‬ ‫رمیم‬‫ر‬‫تص‬ ، ‫رمیم‬‫ر‬‫تص‬ ‫ردار‬‫ر‬‫م‬ ،
‫است‬ ‫شده‬ ‫دریافت‬.
‫ری‬‫ر‬‫س‬ ‫رالی‬‫ر‬‫دیجیت‬ ‫رگر‬‫ر‬‫پردازش‬ ، ‫رت‬‫ر‬‫اس‬ ‫روده‬‫ر‬‫ب‬ ‫رالو‬‫ر‬‫آن‬ ‫رورت‬‫ر‬‫ص‬ ‫ره‬‫ر‬‫ب‬ ‫رلی‬‫ر‬‫اص‬ ‫رام‬‫ر‬‫پی‬ ‫رر‬‫ر‬‫اگ‬‫گنال‬
‫نماید‬ ‫رمز‬ ‫کشف‬ ‫را‬ ‫رسیده‬ ‫های‬ ‫یو‬ ‫و‬ ‫ها‬ ‫صفر‬ ‫رشته‬ ‫باید‬ ‫این‬ ‫بر‬ ‫عالوه‬.‫ای‬‫کار‬ ‫ن‬
‫الکتریکر‬ ‫شرکل‬ ‫که‬ ‫گیرد‬ ‫می‬ ‫انجام‬ ‫آنالو‬ ‫به‬ ‫دیجیتال‬ ‫مبدل‬ ‫یو‬ ‫توسط‬‫اطالعرات‬ ‫ی‬
‫آورد‬ ‫ری‬‫ر‬‫م‬ ‫رود‬‫ر‬‫وج‬ ‫ره‬‫ر‬‫ب‬ ‫راره‬‫ر‬‫دوب‬ ‫را‬ ‫رلی‬‫ر‬‫اص‬.‫رن‬‫ر‬‫ممک‬ ، ‫رد‬‫ر‬‫باش‬ ‫را‬‫ر‬‫ه‬ ‫رین‬‫ر‬‫ماش‬ ‫رین‬‫ر‬‫ب‬ ‫راط‬‫ر‬‫ارتب‬ ‫رر‬‫ر‬‫اگ‬
‫استفاده‬ ‫برای‬ ‫دیجیتالی‬ ‫شکل‬ ، ‫آنالو‬ ‫به‬ ‫دیجیتال‬ ‫تبدیل‬ ‫بدون‬ ‫است‬‫باشد‬ ‫مناسب‬.
105
4-1-9‫پیام‬‫خروجی‬:
‫در‬‫هستیم‬ ‫مواجه‬ ‫حالت‬ ‫دو‬ ‫با‬ ‫جا‬ ‫این‬.‫عرضر‬ ‫شخر‬ ‫یو‬ ‫به‬ ‫پیام‬ ، ‫حالت‬ ‫یو‬ ‫در‬‫ه‬
‫بینرد‬ ‫مری‬ ‫یرا‬ ‫و‬ ‫شرنود‬ ‫مری‬ ‫را‬ ‫اطالعرات‬ ‫کره‬ ‫شرود‬ ‫می‬.‫امرر‬ ‫ایرن‬ ‫بره‬ ‫دسرتیابی‬ ‫بررای‬،
‫تب‬ ‫رویت‬ ‫قابل‬ ‫تصویر‬ ‫یا‬ ‫و‬ ‫صوتی‬ ‫موج‬ ‫به‬ ‫باید‬ ‫الکتریکی‬ ‫سیگنال‬‫گردد‬ ‫دیل‬.‫مردل‬
‫از‬ ‫عبارتند‬ ‫تبدیل‬ ‫این‬ ‫رساندن‬ ‫انجام‬ ‫به‬ ‫برای‬ ‫مناسب‬ ‫های‬:
‫در‬ ‫ره‬‫ر‬‫آنچ‬ ‫ربیه‬‫ر‬‫ش‬ ، ‫ردی‬‫ر‬‫کات‬ ‫ی‬ ‫رعه‬‫ر‬‫اش‬ ‫رای‬‫ر‬‫ه‬ ‫ر‬‫ر‬‫الم‬ ‫و‬ ‫روتی‬‫ر‬‫ص‬ ‫رای‬‫ر‬‫ه‬ ‫رام‬‫ر‬‫پی‬ ‫ررای‬‫ر‬‫ب‬ ‫ردگو‬‫ر‬‫بلن‬
‫تصویری‬ ‫های‬ ‫پیام‬ ‫برای‬ ، ‫رود‬ ‫می‬ ‫کار‬ ‫به‬ ‫تلویزیون‬.
‫مر‬ ‫خرارج‬ ‫سریگنال‬ ‫پردازشرگر‬ ‫از‬ ‫که‬ ‫پیام‬ ‫الکتریکی‬ ‫اشکال‬ ، ‫دوم‬ ‫حالت‬ ‫در‬‫شرود‬ ‫ی‬
‫است‬ ‫استفاده‬ ‫قابل‬ ‫مستقیما‬.
106
‫سا‬ ‫یا‬ ‫و‬ ‫ها‬ ‫کامپیوتر‬ ‫متال‬ ‫عنوان‬ ‫به‬ ‫که‬ ‫آید‬ ‫می‬ ‫پیش‬ ‫موقعی‬ ‫وضعیت‬ ‫این‬‫ماشرین‬ ‫یر‬
‫باشند‬ ‫متصل‬ ‫هم‬ ‫به‬ ‫تاری‬ ‫یکسیستم‬ ‫طریق‬ ‫از‬ ‫ها‬.‫یرو‬ ‫کره‬ ‫مروقعی‬ ‫همچنرین‬‫سیسرتم‬
‫بر‬ ‫تراری‬ ‫خرط‬ ‫یرو‬ ‫مترل‬ ، ‫اسرت‬ ‫برزر‬ ‫ی‬ ‫شربکه‬ ‫یرو‬ ‫از‬ ‫قسرمت‬ ‫یرو‬ ‫فقط‬ ‫تاری‬‫ین‬
‫ایر‬ ، ‫تلویزیرونی‬ ‫ی‬ ‫برنامره‬ ‫چنرد‬ ‫حامل‬ ‫تاری‬ ‫اصلی‬ ‫خط‬ ‫یو‬ ‫یا‬ ‫تلفن‬ ‫مراکز‬‫حالرت‬ ‫ن‬
‫رد‬‫ر‬‫افت‬ ‫ری‬‫ر‬‫م‬ ‫راق‬‫ر‬‫اتف‬.‫ریگنال‬‫ر‬‫س‬ ‫رع‬‫ر‬‫توزی‬ ‫رامل‬‫ر‬‫ش‬ ‫رردازش‬‫ر‬‫پ‬ ، ‫رر‬‫ر‬‫اخی‬ ‫رتم‬‫ر‬‫سیس‬ ‫دو‬ ‫رن‬‫ر‬‫ای‬ ‫در‬‫رای‬‫ر‬‫ه‬
‫باشد‬ ‫می‬ ‫نیز‬ ‫مناسب‬ ‫مقاصد‬ ‫به‬ ‫الکتریکی‬.
‫سر‬ ‫پردازشرگر‬ ‫از‬ ‫الکتریکی‬ ‫رابط‬ ‫یو‬ ‫ساده‬ ‫طور‬ ‫به‬ ‫خبر‬ ‫خروجی‬ ‫ی‬ ‫وسیله‬‫یگنال‬
‫است‬ ‫بعدی‬ ‫سیستم‬ ‫به‬.
107
4-2‫عناصر‬‫نوری‬ ‫فیبر‬ ‫انتقال‬ ‫خط‬:
‫قسمت‬‫از‬ ‫عبارتنرد‬ ‫نروری‬ ‫فیبرر‬ ‫انتقرال‬ ‫خرط‬ ‫کلیدی‬ ‫های‬:‫شر‬ ‫کره‬ ‫فرسرتنده‬‫منبرع‬ ‫امل‬
، ‫ررت‬‫ر‬‫اس‬ ‫آن‬ ‫ررراه‬‫ر‬‫هم‬ ‫رررک‬‫ر‬‫تح‬ ‫رردار‬‫ر‬‫م‬ ‫و‬ ‫رروری‬‫ر‬‫ن‬‫ررل‬‫ر‬‫کاب‬‫و‬ ‫ررانیکی‬‫ر‬‫مک‬ ‫ررت‬‫ر‬‫حفاظ‬ ‫رررای‬‫ر‬‫ب‬ ‫رره‬‫ر‬‫ک‬
‫راز‬‫ر‬‫س‬ ‫رکار‬‫ر‬‫آش‬ ‫رامل‬‫ر‬‫ش‬ ‫ره‬‫ر‬‫ک‬ ‫رده‬‫ر‬‫گیرن‬ ، ‫رود‬ ‫ری‬‫ر‬‫م‬ ‫رار‬‫ر‬‫ک‬ ‫ره‬‫ر‬‫ب‬ ‫آن‬ ‫رل‬‫ر‬‫داخ‬ ‫روری‬‫ر‬‫ن‬ ‫رر‬‫ر‬‫فیب‬ ‫ری‬‫ر‬‫محیط‬
‫کانک‬ ‫همچنین‬ ‫و‬ ‫است‬ ‫سیگنال‬ ‫بهبود‬ ‫و‬ ‫تقویت‬ ‫مدارات‬ ‫ی‬ ‫اضافه‬ ‫به‬ ‫نوری‬‫تورهای‬
‫می‬ ‫استفاده‬ ‫مختلف‬ ‫منابع‬ ‫به‬ ‫کابل‬ ‫اتصال‬ ‫برای‬ ‫که‬ ‫نوری‬ ‫فیبر‬ ‫کابل‬‫گردد‬.
‫می‬ ‫انتقال‬ ‫خط‬ ‫عناصر‬ ‫مهمترین‬ ‫از‬ ‫یکی‬ ‫نوری‬ ‫فیبر‬ ‫کابل‬‫باشد‬.
108
‫نصرب‬ ‫زمران‬ ‫در‬ ‫نروری‬ ‫فیبرر‬ ‫ای‬ ‫شیشره‬ ‫تارهرای‬ ‫محافظرت‬ ‫برر‬ ‫عالوه‬ ، ‫کابل‬ ‫این‬‫و‬
‫م‬ ‫ها‬ ‫کننده‬ ‫تکرار‬ ‫ی‬ ‫تنذیه‬ ‫برای‬ ‫مسی‬ ‫های‬ ‫سیم‬ ‫حاوی‬ ‫است‬ ‫ممکن‬ ، ‫سرویس‬‫ورد‬
‫سریگن‬ ‫متنراوب‬ ‫بازسازی‬ ‫و‬ ‫تقویت‬ ‫برای‬ ‫معین‬ ‫فواصل‬ ‫در‬ ‫که‬ ‫باشد‬ ‫لزوم‬‫کرار‬ ‫بره‬ ‫ال‬
‫روند‬ ‫می‬.
‫نرازک‬ ‫بره‬ ‫ای‬ ‫اسرتوانه‬ ‫ای‬ ‫شیشره‬ ‫ترار‬ ‫چنردین‬ ‫معمروال‬ ‫نوری‬ ‫فیبر‬ ‫کابل‬ ‫درون‬، ‫مرو‬ ‫ی‬
‫است‬ ‫ارتباطی‬ ‫مستقل‬ ‫کانال‬ ‫یو‬ ‫آنها‬ ‫از‬ ‫کدام‬ ‫هر‬ ‫که‬ ‫دارد‬ ‫وجود‬.
‫زیرزمینری‬ ‫هرای‬ ‫کانرال‬ ‫در‬ ، ‫هروا‬ ‫در‬ ، ‫مسری‬ ‫هرای‬ ‫کابرل‬ ‫همانند‬ ‫نوری‬ ‫فیبر‬ ‫کابل‬،
‫است‬ ‫نصب‬ ‫قابل‬ ، ‫زیرزمین‬ ‫در‬ ‫یا‬ ‫و‬ ‫دریا‬ ‫زیر‬.
109
‫صر‬ ‫چنرد‬ ‫طرول‬ ‫بره‬ ‫معمروال‬ ‫تکی‬ ‫های‬ ‫کابل‬ ، ‫نصب‬ ‫یا‬ ‫و‬ ‫ساخت‬ ‫محدودیت‬ ‫دلیل‬ ‫به‬‫د‬
‫روند‬‫ر‬‫ش‬ ‫ری‬‫ر‬‫م‬ ‫راخته‬‫ر‬‫س‬ ‫دور‬ ‫رل‬‫ر‬‫فواص‬ ‫رای‬‫ر‬‫ه‬ ‫راربرد‬‫ر‬‫ک‬ ‫ررای‬‫ر‬‫ب‬ ‫رومتر‬‫ر‬‫کیل‬ ‫رد‬‫ر‬‫چن‬ ‫را‬‫ر‬‫ت‬ ‫رر‬‫ر‬‫مت‬.‫رو‬‫ر‬‫ط‬‫ل‬
‫و‬ ‫پریچش‬ ‫ی‬ ‫انردازه‬ ، ‫قبیرل‬ ‫از‬ ‫مختلرف‬ ‫عملری‬ ‫مالحظات‬ ‫با‬ ، ‫کابل‬ ‫یو‬ ‫حقیقی‬‫وزن‬
‫گردد‬ ‫می‬ ‫تعیین‬ ‫آن‬.
‫شرود‬ ‫مری‬ ‫اسرتفاده‬ ‫زیرزمینری‬ ‫های‬ ‫کانال‬ ‫در‬ ‫معموال‬ ‫تر‬ ‫کوتاه‬ ‫های‬ ‫کابل‬ ‫از‬.‫ک‬‫ابرل‬
‫رار‬‫ر‬‫ک‬ ‫ره‬‫ر‬‫ب‬ ‫رین‬‫ر‬‫زم‬ ‫در‬ ‫رتقیم‬‫ر‬‫مس‬ ‫رن‬‫ر‬‫دف‬ ‫رکل‬‫ر‬‫ش‬ ‫ره‬‫ر‬‫ب‬ ‫را‬‫ر‬‫ی‬ ‫روایی‬‫ر‬‫ه‬ ‫رورت‬‫ر‬‫ص‬ ‫ره‬‫ر‬‫ب‬ ، ‫ردتر‬‫ر‬‫بلن‬ ‫رای‬‫ر‬‫ه‬‫ری‬‫ر‬‫م‬
‫رد‬‫ر‬‫رون‬.‫ری‬‫ر‬‫تک‬ ‫رف‬‫ر‬‫مختل‬ ‫رای‬‫ر‬‫ه‬ ‫رل‬‫ر‬‫کاب‬ ‫رد‬‫ر‬‫پیون‬ ‫را‬‫ر‬‫ب‬ ، ‫دور‬ ‫رل‬‫ر‬‫فواص‬ ‫در‬ ‫رال‬‫ر‬‫انتق‬ ‫رل‬‫ر‬‫کام‬ ‫رط‬‫ر‬‫خ‬‫ره‬‫ر‬‫ب‬
‫گیرد‬ ‫می‬ ‫شکل‬ ‫یکدیگر‬.
110
‫تر‬ ‫عنوان‬ ‫به‬ ‫آن‬ ‫تضعیف‬ ‫میزان‬ ، ‫نوری‬ ‫فیبر‬ ‫اصلی‬ ‫های‬ ‫مشخصه‬ ‫از‬ ‫یکی‬‫از‬ ‫ابعی‬
‫رت‬‫ر‬‫اس‬ ‫روج‬‫ر‬‫م‬ ‫رول‬‫ر‬‫ط‬.‫رول‬‫ر‬‫ط‬ ‫رد‬‫ر‬‫بان‬ ‫از‬ ‫ررا‬‫ر‬‫منحص‬ ، ‫ره‬‫ر‬‫اولی‬ ‫روژی‬‫ر‬‫تکنول‬ ‫در‬‫روج‬‫ر‬‫م‬800-900
nm‫زمران‬ ‫آن‬ ‫در‬ ‫شرده‬ ‫سراخته‬ ‫هرای‬ ‫ترار‬ ، ‫ناحیره‬ ‫ایرن‬ ‫در‬ ‫زیررا‬ ، ‫شرد‬ ‫مری‬ ‫اسرتفاده‬
‫وآشرک‬ ‫منرابع‬ ‫و‬ ‫دادنرد‬ ‫می‬ ‫نشان‬ ‫کلی‬ ‫تضعیف‬ ‫منحنی‬ ‫در‬ ‫را‬ ‫تضعیف‬ ‫حداقل‬‫هرای‬ ‫ار‬
‫رد‬‫ر‬‫بودن‬ ‫رترس‬‫ر‬‫دس‬ ‫در‬ ‫را‬‫ر‬‫ه‬ ‫روج‬‫ر‬‫م‬ ‫رول‬‫ر‬‫ط‬ ‫رن‬‫ر‬‫ای‬ ‫در‬ ‫رار‬‫ر‬‫ک‬ ‫رت‬‫ر‬‫جه‬ ‫رب‬‫ر‬‫مناس‬ ‫روری‬‫ر‬‫ن‬.‫راهش‬‫ر‬‫ک‬ ‫را‬‫ر‬‫ب‬
، ‫رار‬‫ر‬‫ت‬ ‫ی‬ ‫راده‬‫ر‬‫م‬ ‫در‬ ‫رزی‬‫ر‬‫فل‬ ‫رون‬‫ر‬‫ی‬ ‫رای‬‫ر‬‫ه‬ ‫ری‬‫ر‬‫ناخالص‬ ‫و‬ ‫ریل‬‫ر‬‫هیدروکس‬ ‫رای‬‫ر‬‫ه‬ ‫رون‬‫ر‬‫ی‬ ‫رت‬‫ر‬‫غلظ‬
‫پر‬ ‫بسریار‬ ‫تلفرات‬ ‫برا‬ ‫نروری‬ ‫برهرای‬ ‫موج‬ ‫ساخت‬ ‫به‬ ‫موفق‬ ‫باالخره‬ ‫سازندگان‬‫در‬ ‫ایین‬
‫ناحیه‬‫ی‬1100-1600nm‫شدند‬.‫طرو‬ ‫با‬ ‫ی‬ ‫ناحیه‬ ‫معموال‬ ‫را‬ ‫طیف‬ ‫این‬ ‫باند‬ ‫پهنای‬‫ل‬
‫گویند‬ ‫می‬ ‫بلند‬ ‫موج‬.
111
‫طر‬ ‫در‬ ‫سریگنال‬ ‫اعوجراج‬ ‫حرداقل‬ ‫دارای‬ ‫خرالر‬ ‫سیلیکای‬ ‫تارهای‬ ‫که‬ ‫این‬ ‫دلیل‬ ‫به‬‫ول‬
‫روج‬‫ر‬‫م‬1300nm‫رتند‬‫ر‬‫هس‬‫روج‬‫ر‬‫م‬ ‫رول‬‫ر‬‫ط‬ ‫رن‬‫ر‬‫ای‬ ‫از‬ ‫رتفاده‬‫ر‬‫اس‬ ‫ره‬‫ر‬‫ب‬ ‫ره‬‫ر‬‫عالق‬ ‫رزان‬‫ر‬‫می‬ ‫رابراین‬‫ر‬‫بن‬ ،
‫یافت‬ ‫افزایش‬.
‫ممکر‬ ، ‫کنرد‬ ‫مری‬ ‫طری‬ ‫نروری‬ ‫ترار‬ ‫در‬ ‫معینری‬ ‫مسرافت‬ ، ‫نروری‬ ‫سریگنال‬ ‫کره‬ ‫موقعی‬‫ن‬
‫تقویر‬ ‫بررای‬ ‫کره‬ ‫برسرد‬ ‫ای‬ ‫درجره‬ ‫بره‬ ‫سریگنال‬ ‫اعوجراج‬ ‫و‬ ‫تضرعیف‬ ‫میرزان‬ ‫است‬‫و‬ ‫ت‬
‫رد‬‫ر‬‫باش‬ ‫راز‬‫ر‬‫نی‬ ‫رانی‬‫ر‬‫می‬ ‫رای‬‫ر‬‫ه‬ ‫رده‬‫ر‬‫کنن‬ ‫ررار‬‫ر‬‫تک‬ ‫ره‬‫ر‬‫ب‬ ، ‫رال‬‫ر‬‫انتق‬ ‫رط‬‫ر‬‫خ‬ ‫رل‬‫ر‬‫داخ‬ ‫آن‬ ‫رازی‬‫ر‬‫بازس‬.‫ر‬‫ر‬‫تک‬‫رار‬
‫ر‬‫ر‬‫ب‬ ‫رو‬‫ر‬‫پهل‬ ‫ره‬‫ر‬‫ک‬ ‫رت‬‫ر‬‫اس‬ ‫رتنده‬‫ر‬‫فرس‬ ‫رو‬‫ر‬‫ی‬ ‫و‬ ‫رده‬‫ر‬‫گیرن‬ ‫رو‬‫ر‬‫ی‬ ‫از‬ ‫ای‬ ‫ره‬‫ر‬‫مجموع‬ ‫روری‬‫ر‬‫ن‬ ‫ی‬ ‫رده‬‫ر‬‫کنن‬‫ه‬
‫اند‬ ‫گرفته‬ ‫قرار‬ ‫هم‬ ‫پهلوی‬.
112
‫الکتری‬ ‫سریگنال‬ ‫بره‬ ‫تبردیل‬ ‫و‬ ‫آشرکار‬ ‫را‬ ‫نروری‬ ‫سریگنال‬ ، ‫گیرنده‬ ‫قسمت‬‫و‬ ‫کررده‬ ‫کری‬
‫ارس‬ ‫فرستنده‬ ‫قسمت‬ ‫الکتریکی‬ ‫ورودی‬ ‫به‬ ، ‫بازسازی‬ ‫و‬ ‫تقویت‬ ‫از‬ ‫پس‬‫کند‬ ‫می‬ ‫ال‬.
‫قسمت‬‫نرو‬ ‫سریگنال‬ ‫بره‬ ‫تبردیل‬ ‫مجددا‬ ‫را‬ ‫الکتریکی‬ ‫سیگنال‬ ، ‫فرستنده‬‫و‬ ‫کنرد‬ ‫مری‬ ‫ری‬
‫فرستد‬ ‫می‬ ‫نوری‬ ‫فیبر‬ ‫موجبر‬ ‫به‬ ‫سپس‬.
‫ن‬ ‫طروالنی‬ ‫خیلری‬ ‫کرامپیوتری‬ ‫هرای‬ ‫شربکه‬ ‫معمروال‬ ‫کره‬ ‫این‬ ‫به‬ ‫توجه‬ ‫با‬ ‫البته‬‫در‬ ‫یسرتند‬
‫شود‬ ‫می‬ ‫استفاده‬ ‫ها‬ ‫کننده‬ ‫تکرار‬ ‫از‬ ‫کمتر‬ ‫آنها‬.‫ک‬ ‫تکررار‬ ‫کراربرد‬ ‫بیشتر‬‫در‬ ‫هرا‬ ‫ننرده‬
‫استفاده‬ ‫فیبر‬ ‫از‬ ‫طوالنی‬ ‫های‬ ‫مسافت‬ ‫در‬ ‫که‬ ‫است‬ ‫مخابراتی‬ ‫های‬ ‫سیستم‬‫کنند‬ ‫می‬.
113
4-3‫رابطه‬‫توزیع‬ ‫ی‬‫کننده‬‫نوری‬ ‫فیبر‬ ‫ی‬ ‫شبکه‬ ‫در‬ ‫ها‬ ‫داده‬(FDDI: )
‫رتاندارد‬‫ر‬‫اس‬FDDI‫رط‬‫ر‬‫توس‬‫رتاندارد‬‫ر‬‫اس‬ ‫ی‬ ‫ره‬‫ر‬‫کمیت‬ANSI X3T9.5‫رال‬‫ر‬‫س‬ ‫در‬1980
‫رپس‬‫ر‬‫س‬ ‫و‬ ‫رد‬‫ر‬‫ش‬ ‫رع‬‫ر‬‫وض‬‫ره‬‫ر‬‫ب‬ISO‫رد‬‫ر‬‫گردی‬ ‫ره‬‫ر‬‫ارائ‬.‫ی‬ ‫ره‬‫ر‬‫سس‬ ‫م‬ISO‫رارش‬‫ر‬‫نگ‬‫از‬ ‫ردی‬‫ر‬‫جدی‬
‫رتاندارد‬‫ر‬‫اس‬FDDI‫رونی‬‫ر‬‫کن‬ ‫رتاندارد‬‫ر‬‫اس‬ ‫را‬‫ر‬‫ب‬ ‫ره‬‫ر‬‫ک‬ ‫ررد‬‫ر‬‫ک‬ ‫رف‬‫ر‬‫تعری‬ANSI‫رت‬‫ر‬‫اس‬ ‫رازگار‬‫ر‬‫س‬.
FDDI‫یو‬‫با‬ ‫حلقوی‬ ‫توپولوژی‬ ‫از‬ ‫که‬ ‫است‬ ‫باال‬ ‫سرعت‬ ‫با‬ ‫محلی‬ ‫ی‬ ‫شبکه‬‫سرعت‬
Mbps100‫مری‬ ‫اسرتفاده‬ ‫اطالعرات‬ ‫ی‬ ‫مبادلره‬ ‫برای‬‫کنرد‬FDDI‫اسرتفاده‬ ‫حلقره‬ ‫دو‬ ‫از‬
‫دوگانره‬ ‫حلقروی‬ ‫توپولوژی‬ ‫بنابراین‬ ، ‫کند‬ ‫می‬(Dual Ring)‫نامیرده‬‫شرود‬ ‫مری‬.‫ایرن‬
‫روش‬FDDI‫استاندارد‬ ‫با‬ ‫مشابه‬IEEE 802.5‫در‬TOKen Ring‫باشد‬ ‫می‬.
‫خصوصیات‬ ‫مهمترین‬ ‫از‬ ‫یکی‬FDDI‫بر‬ ‫نروری‬ ‫فیبر‬ ‫انتقال‬ ‫ی‬ ‫رسانه‬ ‫از‬ ‫استفاده‬‫رای‬
‫باشد‬ ‫می‬ ‫ها‬ ‫داده‬ ‫ی‬ ‫مبادله‬.
114
‫مزیت‬‫مری‬ ‫آن‬ ‫براالی‬ ‫امنیت‬ ‫و‬ ‫حفاظت‬ ‫مسی‬ ‫سیم‬ ‫به‬ ‫نسبت‬ ‫نوری‬ ‫فیبر‬ ‫مهم‬، ‫باشرد‬
‫رنود‬‫ر‬‫ش‬ ‫را‬ ‫آن‬ ‫روان‬‫ر‬‫بت‬ ‫ره‬‫ر‬‫ک‬ ‫ردارد‬‫ر‬‫ن‬ ‫رود‬‫ر‬‫وج‬ ‫ری‬‫ر‬‫الکتریک‬ ‫ریگنال‬‫ر‬‫س‬ ‫رانه‬‫ر‬‫رس‬ ‫رن‬‫ر‬‫ای‬ ‫در‬ ‫ررا‬‫ر‬‫زی‬‫ررد‬‫ر‬‫ک‬
‫گذارد‬ ‫نمی‬ ‫تأتیر‬ ‫آن‬ ‫بر‬ ‫نویز‬ ‫که‬ ‫آن‬ ‫ضمن‬.
‫شرد‬ ‫گفتره‬ ‫کره‬ ‫طوری‬ ‫همان‬،FDDI‫از‬ ‫عبارتنرد‬ ‫کره‬ ‫کنرد‬ ‫مری‬ ‫اسرتفاده‬ ‫حلقره‬ ‫دو‬ ‫از‬:
‫ی‬ ‫حلقه‬‫اولیه‬((Primary Ring‫و‬‫ی‬ ‫حلقره‬‫تانویره‬.(Secondary Ring)‫هرا‬ ‫داده‬
‫یابند‬ ‫می‬ ‫انتقال‬ ‫مخالف‬ ‫جهت‬ ‫دو‬ ‫در‬ ‫ها‬ ‫حلقه‬ ‫در‬.‫د‬ ‫ارسرال‬ ‫بررای‬ ‫اولیره‬ ‫ی‬ ‫حلقره‬‫اده‬
‫ا‬ ‫ی‬ ‫حلقره‬ ‫کره‬ ‫مرواقعی‬ ‫بررای‬ ‫تانویه‬ ‫ی‬ ‫حلقه‬ ‫و‬ ‫گیرد‬ ‫می‬ ‫قرار‬ ‫استفاده‬ ‫مورد‬ ‫ها‬‫ولیره‬
‫پشتیبان‬ ‫عنوان‬ ‫به‬ ‫بیفتد‬ ‫کار‬ ‫از‬(Backup)‫رود‬ ‫می‬ ‫کار‬ ‫به‬ ‫حلقه‬.FDDI‫ی‬ ‫اجازه‬
‫اتصرال‬1000‫تر‬ ‫حرداکتر‬ ‫توانرد‬ ‫مری‬ ‫کره‬ ‫ایرن‬ ‫ضرمن‬ ‫دهرد‬ ‫مری‬ ‫حلقره‬ ‫بره‬ ‫را‬ ‫ایسرتگاه‬‫ا‬
200‫یابد‬ ‫گسترش‬ ‫کیلومتر‬.
115
4-4‫شبکه‬‫سنکرون‬ ‫نوری‬ ‫ی‬(SONET):
SONET‫عنروان‬ ‫بره‬ ‫نروری‬ ‫فیبرر‬ ‫کابرل‬ ‫از‬ ‫که‬ ‫است‬ ‫باال‬ ‫سرعت‬ ‫با‬ ‫ای‬ ‫شبکه‬‫رسرانه‬
‫رد‬‫ر‬‫کن‬ ‫ری‬‫ر‬‫م‬ ‫رتفاده‬‫ر‬‫اس‬ ‫رال‬‫ر‬‫انتق‬ ‫ی‬.‫ی‬ ‫واژه‬SONET‫رتفاده‬‫ر‬‫اس‬ ‫رورد‬‫ر‬‫م‬ ‫رمالی‬‫ر‬‫ش‬ ‫رای‬‫ر‬‫آمریک‬ ‫در‬
‫ی‬ ‫سسره‬ ‫م‬ ‫توسرط‬ ‫کره‬ ‫استانداردی‬ ‫از‬ ‫است‬ ‫عبارت‬ ‫و‬ ‫گیرد‬ ‫می‬ ‫قرار‬ANSI‫وضرع‬
‫است‬ ‫شده‬.‫ی‬ ‫اتحادیه‬ITN‫برای‬ ‫استانداردی‬SONET‫را‬ ‫آن‬ ‫و‬ ‫نمرود‬ ‫وضرع‬SDH
‫ررد‬‫ر‬‫گی‬ ‫ری‬‫ر‬‫م‬ ‫ررار‬‫ر‬‫ق‬ ‫رتفاده‬‫ر‬‫اس‬ ‫رورد‬‫ر‬‫م‬ ‫را‬‫ر‬‫اروپ‬ ‫در‬ ‫ره‬‫ر‬‫ک‬ ‫رد‬‫ر‬‫نامی‬.‫روری‬‫ر‬‫ن‬ ‫راری‬‫ر‬‫معم‬SONET‫رر‬‫ر‬‫ب‬
‫را‬‫ر‬‫ت‬ ‫رردد‬‫ر‬‫گ‬ ‫ری‬‫ر‬‫م‬ ‫ری‬‫ر‬‫طراح‬ ‫رت‬‫ر‬‫جه‬ ‫دو‬ ‫در‬ ‫ای‬ ‫ره‬‫ر‬‫حلق‬ ‫و‬ ‫روری‬‫ر‬‫ن‬ ‫رر‬‫ر‬‫فیب‬ ‫رته‬‫ر‬‫رش‬ ‫رار‬‫ر‬‫چه‬ ‫راس‬‫ر‬‫اس‬
‫نماید‬ ‫ارائه‬ ‫را‬ ‫اطمینان‬ ‫حداکتر‬ ‫با‬ ‫هایی‬ ‫سرویس‬.‫ج‬ ‫کراربردی‬ ‫هرای‬ ‫افرزار‬ ‫نررم‬‫دیرد‬
‫متل‬CAD CAM‫و‬Media Images‫دیگر‬ ‫بره‬ ‫نسربت‬ ‫ترری‬ ‫وسریع‬ ‫بانرد‬ ‫پهنرای‬ ‫بره‬‫ر‬
‫و‬ ‫دارنررد‬ ‫نیرراز‬ ‫کرراربردی‬ ‫هررای‬ ‫افررزار‬ ‫نرررم‬SONET‫سرررعت‬ ‫و‬ ‫بانررد‬ ‫پهنررای‬ ‫دارای‬
‫باشد‬ ‫می‬ ‫باالیی‬ ‫ارسال‬.
116
‫حلقه‬SONET
SONET
ADM
SONET
ADM
SONET
ADM
SONET
ADM
117
‫مشخصات‬:SONET
‫از‬‫مشخصات‬ ‫ترین‬ ‫برجسته‬SONET‫برد‬ ‫نام‬ ‫را‬ ‫زیر‬ ‫موارد‬ ‫توان‬ ‫می‬:
1-‫کند‬ ‫می‬ ‫استفاده‬ ‫بایت‬ ‫کردن‬ ‫پلکس‬ ‫مالتی‬ ‫روش‬ ‫از‬ ‫سطوح‬ ‫ی‬ ‫کلیه‬ ‫برای‬.
2-‫آوری‬ ‫فن‬ ‫یو‬‫باسرعت‬‫مسیر‬ ‫خودکار‬ ‫اصالح‬ ‫ویژگی‬ ‫دارای‬ ‫و‬ ‫باالست‬‫میب‬‫اشد‬.
3-‫کند‬ ‫می‬ ‫استفاده‬ ‫پلکس‬ ‫مالتی‬ ‫دی‬ ‫و‬ ‫پلکس‬ ‫ملتی‬ ‫های‬ ‫روش‬ ‫از‬.
4-‫بررای‬ ‫پایره‬ ‫الکتریکری‬ ‫سیگنال‬SONET‫سریگنال‬‫یرو‬ ‫سرطت‬ ‫سرنکرون‬ ‫حامرل‬ ‫هرای‬
‫باشد‬ ‫می‬.
5-‫سرعت‬ ‫با‬8000‫تانیه‬ ‫در‬ ‫فریم‬SONET‫کند‬ ‫می‬ ‫ارسال‬ ‫را‬.
6-‫مسرتقی‬ ‫ترر‬ ‫سرریع‬ ‫هرای‬ ‫سریگنال‬ ‫روی‬ ‫برر‬ ‫تواننرد‬ ‫مری‬ ‫ترر‬ ‫کند‬ ‫های‬ ‫سیگنال‬‫مرالتی‬ ‫ما‬
‫شوند‬ ‫پلکس‬. 118
4-5‫فرستنده‬‫نوری‬ ‫های‬:
‫به‬‫سریگنال‬ ‫به‬ ‫الکتریکی‬ ‫سیگنال‬ ‫تبدیل‬ ‫ی‬ ‫وظیفه‬ ‫که‬ ‫هایی‬ ‫دستگاه‬‫انجرام‬ ‫را‬ ‫نروری‬
‫بر‬ ‫کلری‬ ‫طرور‬ ‫بره‬ ‫کره‬ ‫گوینرد‬ ‫مری‬ ‫نروری‬ ‫هرای‬ ‫فرسرتنده‬ ‫یرا‬ ‫نرور‬ ‫منابع‬ ، ‫دهند‬ ‫می‬‫دو‬ ‫ه‬
‫ک‬ ‫شوند‬ ‫می‬ ‫تقسیم‬ ‫لیزری‬ ‫دیودهای‬ ‫و‬ ‫نور‬ ‫ی‬ ‫منتشرکننده‬ ‫دیودهای‬ ‫ی‬ ‫دسته‬‫جهت‬ ‫ه‬
‫اند‬ ‫شده‬ ‫ساخته‬ ‫مختلف‬ ‫انواع‬ ‫در‬ ‫خار‬ ‫مصارف‬.
119
4-5-1‫ویژگی‬‫های‬ ‫سیستم‬ ‫در‬ ‫استفاده‬ ‫مورد‬ ‫نور‬ ‫منابع‬ ‫های‬‫نور‬‫ی‬:
‫منابع‬‫گرفتر‬ ‫کرار‬ ‫به‬ ‫فرستنده‬ ‫عنوان‬ ‫به‬ ‫نوری‬ ‫های‬ ‫سیستم‬ ‫در‬ ‫که‬ ‫نوری‬‫شروند‬ ‫مری‬ ‫ه‬
‫باشند‬ ‫زیر‬ ‫خوار‬ ‫دارای‬ ‫باید‬:
1-‫موج‬ ‫طول‬:
‫کمری‬ ‫بسیار‬ ‫تلفات‬ ‫فیبر‬ ‫که‬ ‫باشد‬ ‫ای‬ ‫اندازه‬ ‫به‬ ‫باید‬ ‫نور‬ ‫منبع‬ ‫موج‬ ‫طول‬‫باشرد‬ ‫داشرته‬
‫باشد‬ ‫حداقل‬ ‫نیز‬ ‫آن‬ ‫پاشندگی‬ ‫حال‬ ‫عین‬ ‫در‬ ‫و‬.‫آلیراژ‬ ‫از‬ ‫اولیره‬ ‫هرای‬ ‫سیسرتم‬GaAs‫و‬
‫حوالی‬ ‫موج‬ ‫طول‬ ‫در‬mµ0.85‫طراحی‬‫بودند‬ ‫شده‬.
‫حوالی‬ ‫در‬ ‫موج‬ ‫طول‬ ‫جدید‬ ‫های‬ ‫سیستم‬ ‫در‬mµ1.3‫یا‬ ‫و‬mµ1.55‫مری‬ ‫طراحری‬
‫مری‬ ‫گرفتره‬ ‫کرار‬ ‫بره‬ ‫مروج‬ ‫طرول‬ ‫از‬ ‫محردوده‬ ‫این‬ ‫در‬ ‫که‬ ‫هادی‬ ‫نیمه‬ ‫بلورهای‬ ‫و‬ ‫شود‬
‫شوند‬‫ترکیب‬InGaAsP‫و‬InGaAs‫و‬InGaAsb‫می‬‫باشند‬.
120
2-‫اطمینان‬ ‫قابلی‬:
‫ر‬‫ر‬‫ه‬ ‫رتم‬‫ر‬‫سیس‬ ‫در‬ ‫رتفاده‬‫ر‬‫اس‬ ‫رورد‬‫ر‬‫م‬ ‫رور‬‫ر‬‫ن‬ ‫رع‬‫ر‬‫منب‬ ‫ررای‬‫ر‬‫ب‬ ‫رو‬‫ر‬‫ش‬ ‫ردون‬‫ر‬‫ب‬ ، ‫روالنی‬‫ر‬‫ط‬ ‫رد‬‫ر‬‫مفی‬ ‫رر‬‫ر‬‫عم‬‫ای‬
‫هسرت‬ ‫آن‬ ‫پری‬ ‫در‬ ‫سرازنده‬ ‫های‬ ‫شرکت‬ ‫دلیل‬ ‫همین‬ ‫به‬ ‫و‬ ‫است‬ ‫ضروریات‬ ‫از‬ ‫نوری‬‫ند‬
‫حدود‬ ‫به‬ ‫منابعی‬ ‫چنین‬ ‫عمر‬ ‫که‬106‫ساعت‬(‫سال‬ ‫صد‬ ‫یو‬ ‫از‬ ‫بیش‬)‫برسد‬.
3-‫خروجی‬ ‫توان‬:
‫رد‬‫ر‬‫ده‬ ‫رل‬‫ر‬‫تحوی‬ ‫روری‬‫ر‬‫ن‬ ‫رتم‬‫ر‬‫سیس‬ ‫ره‬‫ر‬‫ب‬ ‫روان‬‫ر‬‫ت‬ ‫ردازه‬‫ر‬‫ان‬ ‫آن‬ ‫ره‬‫ر‬‫ب‬ ‫رد‬‫ر‬‫باش‬ ‫رادر‬‫ر‬‫ق‬ ‫رد‬‫ر‬‫بای‬ ‫رور‬‫ر‬‫ن‬ ‫رع‬‫ر‬‫منب‬‫ره‬‫ر‬‫ک‬
، ‫برسراند‬ ‫آشکارسراز‬ ‫بره‬ ‫را‬ ‫دریرافتی‬ ‫تروان‬ ‫حداقل‬ ‫و‬ ‫بوده‬ ‫تلفات‬ ‫جوابگوی‬‫غیرر‬ ‫در‬
‫ی‬ ‫مخرابره‬ ‫و‬ ‫شروند‬ ‫مری‬ ‫محرو‬ ‫آن‬ ‫در‬ ‫و‬ ‫شرده‬ ‫نرویز‬ ‫به‬ ‫آغشته‬ ‫اطالعات‬ ‫صورت‬ ‫این‬
‫رردد‬‫ر‬‫گ‬ ‫ری‬‫ر‬‫م‬ ‫رن‬‫ر‬‫ممک‬ ‫رر‬‫ر‬‫غی‬ ‫رت‬‫ر‬‫اطالع‬.‫ردود‬‫ر‬‫ح‬ ‫در‬ ‫روان‬‫ر‬‫ت‬ ‫رر‬‫ر‬‫حاض‬ ‫رال‬‫ر‬‫ح‬ ‫در‬(10-1)‫ری‬‫ر‬‫میل‬
‫است‬ ‫معمول‬ ‫بسیار‬ ‫وات‬. 121
4-‫توان‬ ‫راندمان‬:
‫از‬ ‫بیشتر‬ ‫باید‬ ‫نوری‬ ‫فیبر‬ ‫های‬ ‫شبکه‬ ‫در‬ ‫راندمان‬ ‫یا‬ ‫بهره‬10%‫باشد‬.
5-‫طی‬ ‫پهنای‬:
‫دارد‬ ‫نروری‬ ‫سیسرتم‬ ‫بانرد‬ ‫پهنرای‬ ‫برر‬ ‫شردیدی‬ ‫اترر‬ ‫نرور‬ ‫منبرع‬ ‫طیف‬ ‫پهنای‬.‫در‬‫سیسرتم‬
‫پ‬ ‫کره‬ ‫مقردار‬ ‫هرر‬ ‫بره‬ ، ‫شرود‬ ‫مری‬ ‫استفاده‬ ‫مدی‬ ‫تو‬ ‫فیبر‬ ‫از‬ ‫که‬ ‫ظرفیت‬ ‫پر‬ ‫های‬‫هنرای‬
‫مقر‬ ‫همران‬ ‫بره‬ ‫است‬ ‫الزم‬ ، ‫شود‬ ‫گرفته‬ ‫نظر‬ ‫در‬ ‫سیستم‬ ‫برای‬ ‫بیشتری‬ ‫باند‬‫پهنرای‬ ‫دار‬
‫گردد‬ ‫تر‬ ‫کوچو‬ ‫منبع‬ ‫طیف‬.
122
6-‫همگرایی‬:
‫آن‬ ‫بتروان‬ ‫کره‬ ‫نحروی‬ ‫بره‬ ‫باشرد‬ ‫برخروردار‬ ‫خروبی‬ ‫کیفیرت‬ ‫از‬ ‫باید‬ ‫نور‬ ‫منبع‬‫کرامال‬ ‫را‬
‫کرد‬ ‫متمرکز‬.‫فیبر‬ ‫داخرل‬ ‫بره‬ ‫منبرع‬ ‫طرف‬ ‫از‬ ‫توان‬ ‫تحویل‬ ‫هنگام‬ ‫تمرکز‬ ‫این‬‫نروری‬ ‫ر‬
‫است‬ ‫برخوردار‬ ‫فراوانی‬ ‫اهمیت‬ ‫از‬.
7-‫مدوالسیون‬:
‫حامل‬ ‫عنوان‬ ‫به‬ ‫نور‬ ‫از‬ ‫نوری‬ ‫مخابرات‬ ‫های‬ ‫سیستم‬ ‫در‬(power out)‫استفاده‬ ،
‫تر‬ ‫کره‬ ‫مسرئله‬ ‫ایرن‬ ‫لرذا‬ ، ‫گردند‬ ‫می‬ ‫ارسال‬ ‫و‬ ‫شده‬ ‫آن‬ ‫بر‬ ‫سوار‬ ‫اطالعات‬ ‫و‬ ‫شود‬ ‫می‬‫ا‬
‫مد‬ ‫الکتریکی‬ ‫سیگنال‬ ‫ی‬ ‫وسیله‬ ‫به‬ ‫را‬ ‫نور‬ ‫بتوان‬ ‫بازدهی‬ ‫چه‬ ‫با‬ ‫و‬ ‫حد‬ ‫چه‬‫کررد‬ ‫ولره‬
‫است‬ ‫برخوردار‬ ‫شایانی‬ ‫اهمیت‬ ‫از‬.
123
‫یکی‬ ، ‫است‬ ‫پذیر‬ ‫امکان‬ ‫روش‬ ‫دو‬ ‫به‬ ‫نوری‬ ‫مخابرات‬ ‫در‬ ‫مدوالسیون‬‫مدوالسای‬‫ون‬
‫مستقیم‬‫اسر‬ ‫روشری‬ ‫دیگرری‬ ‫و‬ ‫شرود‬ ‫مری‬ ‫مدولره‬ ‫مسرتقیما‬ ‫خروجری‬ ‫نور‬ ‫آن‬ ‫در‬ ‫که‬‫ت‬
، ‫ردوالتور‬‫ر‬‫م‬ ‫ی‬ ‫ریله‬‫ر‬‫وس‬ ‫ره‬‫ر‬‫ب‬ ‫رور‬‫ر‬‫ن‬ ‫رع‬‫ر‬‫منب‬ ‫از‬ ‫رروج‬‫ر‬‫خ‬ ‫از‬ ‫رس‬‫ر‬‫پ‬ ‫ری‬‫ر‬‫خروج‬ ‫رور‬‫ر‬‫ن‬ ‫آن‬ ‫در‬ ‫ره‬‫ر‬‫ک‬
‫را‬ ‫آن‬ ‫که‬ ‫گردد‬ ‫می‬ ‫مدوله‬‫خارجی‬ ‫مدوالسیون‬‫نامند‬ ‫می‬.
‫ررا‬‫ر‬‫تنیی‬ ‫را‬‫ر‬‫ب‬ ‫ره‬‫ر‬‫ک‬ ‫رت‬‫ر‬‫اس‬ ‫رب‬‫ر‬‫ترتی‬ ‫رن‬‫ر‬‫ای‬ ‫ره‬‫ر‬‫ب‬ ‫رتقیم‬‫ر‬‫مس‬ ‫ریون‬‫ر‬‫مدوالس‬ ‫رام‬‫ر‬‫انج‬ ‫رونگی‬‫ر‬‫چگ‬‫ران‬‫ر‬‫جری‬ ‫ت‬
‫ر‬‫ر‬‫مس‬ ‫را‬ ‫رور‬‫ر‬‫ن‬ ‫روان‬‫ر‬‫ت‬ ‫ری‬‫ر‬‫م‬ ، ‫رزری‬‫ر‬‫لی‬ ‫رود‬‫ر‬‫دی‬ ‫را‬‫ر‬‫ی‬ ‫رور‬‫ر‬‫ن‬ ‫رده‬‫ر‬‫کنن‬ ‫رر‬‫ر‬‫منتش‬ ‫رود‬‫ر‬‫دی‬ ‫ره‬‫ر‬‫ب‬ ‫ری‬‫ر‬‫تزریق‬‫تقیما‬
‫کرد‬ ‫مدوله‬.
124
‫ماننرد‬ ‫محاسرنی‬ ‫دارای‬ ‫مسرتقیم‬ ‫مدوالسیون‬:‫ولتر‬ ‫برودن‬ ‫کرم‬ ، ‫ارزانری‬ ، ‫سرادگی‬‫و‬ ‫اژ‬
‫اسرت‬ ‫توان‬.‫حردود‬ ‫در‬ ‫ای‬ ‫شرده‬ ‫اعمرال‬ ‫ولتراژ‬ ‫برا‬ ‫روش‬ ‫ایرن‬ ‫در‬2‫الری‬3‫برا‬ ‫و‬ ‫ولرت‬
‫داد‬ ‫انجام‬ ‫را‬ ‫مدوالسیون‬ ‫توان‬ ‫می‬ ‫کم‬ ‫توانی‬.
‫از‬‫و‬ ‫پرذیر‬ ‫امکران‬ ‫مدوالسریون‬ ‫مختلرف‬ ‫انرواع‬ ‫خرارجی‬ ‫مدوالسریون‬ ‫در‬ ‫دیگرر‬ ‫سوی‬
‫است‬ ‫دستیابی‬ ‫قابل‬ ‫زیاد‬ ‫بسیار‬ ‫های‬ ‫سرعت‬ ‫با‬ ‫مدوالسیون‬.
8-‫اندازه‬ ‫و‬ ‫وزن‬ ،‫شکل‬:
‫ر‬‫ر‬‫سیس‬ ‫رزاء‬‫ر‬‫اج‬ ‫رایر‬‫ر‬‫س‬ ‫را‬‫ر‬‫ب‬ ‫رب‬‫ر‬‫متناس‬ ، ‫ردازه‬‫ر‬‫ان‬ ‫و‬ ‫وزن‬ ، ‫رکل‬‫ر‬‫ش‬ ‫رر‬‫ر‬‫نظ‬ ‫از‬ ‫رد‬‫ر‬‫بای‬ ‫رور‬‫ر‬‫ن‬ ‫رع‬‫ر‬‫منب‬‫تم‬
‫باشد‬ ‫نوری‬
125
4-5-2‫تفاوت‬‫معمولی‬ ‫نور‬ ‫و‬ ‫لیزر‬ ‫نور‬:
•‫فوتون‬‫نئون‬ ‫الم‬(‫معمولی‬ ‫نور‬)‫بره‬ ‫خرودی‬ ‫بره‬ ‫خرود‬ ‫تشعشع‬ ‫ی‬ ‫وسیله‬ ‫به‬‫وجرود‬
‫تشعشع‬ ‫ی‬ ‫وسیله‬ ‫به‬ ‫لیزر‬ ‫نور‬ ‫های‬ ‫فوتون‬ ‫و‬ ‫آیند‬ ‫می‬‫برانگیخته‬‫ش‬ ‫می‬‫این‬ ‫و‬ ‫وند‬
‫است‬ ‫معمولی‬ ‫نور‬ ‫و‬ ‫لیزر‬ ‫اساسی‬ ‫فرق‬.‫طر‬ ‫بره‬ ‫چون‬ ‫معمولی‬ ‫نور‬ ‫های‬ ‫فوتون‬‫ور‬
‫ت‬ ‫پایین‬ ‫مدار‬ ‫به‬ ‫تر‬ ‫باال‬ ‫مدار‬ ‫از‬ ‫زمانی‬ ‫تأخیر‬ ‫با‬ ‫و‬ ‫خودی‬ ‫به‬ ‫خود‬ ‫و‬ ‫دلخواه‬‫مری‬ ‫ر‬
‫فو‬ ‫ولری‬ ‫نیسرتند‬ ‫فراز‬ ‫هرم‬ ، ‫کنند‬ ‫می‬ ‫پیدا‬ ‫انتشار‬ ‫مختلف‬ ‫جهات‬ ‫در‬ ‫و‬ ‫آیند‬‫هرای‬ ‫ترون‬
‫از‬ ‫کره‬ ‫هسرتند‬ ‫هرایی‬ ‫الکتررون‬ ‫از‬ ‫ناشری‬ ‫زیررا‬ ‫باشند‬ ‫می‬ ‫فاز‬ ‫هم‬ ، ‫لیزر‬ ‫نور‬‫مردار‬
‫یک‬ ‫ها‬ ‫فوتون‬ ‫انرژی‬ ‫لذا‬ ، ‫شوند‬ ‫می‬ ‫روانه‬ ‫دیگر‬ ‫مشخر‬ ‫مدار‬ ‫به‬ ‫مشخصی‬‫سران‬
‫ررار‬‫ر‬‫ق‬ ‫روری‬‫ر‬‫ن‬ ‫رف‬‫ر‬‫طی‬ ‫رخر‬‫ر‬‫مش‬ ‫رط‬‫ر‬‫خ‬ ‫رو‬‫ر‬‫ی‬ ‫در‬ ‫و‬ ‫رخر‬‫ر‬‫مش‬ ‫را‬‫ر‬‫آنه‬ ‫رانس‬‫ر‬‫فرک‬ ‫ره‬‫ر‬‫نتیج‬ ‫در‬ ‫و‬
‫دارد‬.
126
‫فاز‬ ‫هم‬‫و‬‫رنگ‬ ‫یک‬‫بودن‬‫لیزر‬ ‫نور‬‫انررژ‬ ‫دارای‬ ‫نرور‬ ‫ایرن‬ ‫که‬ ‫است‬ ‫شده‬ ‫باع‬‫ی‬
‫باشد‬ ‫ای‬ ‫العاده‬ ‫فوق‬.
‫واگررا‬ ‫آنکره‬ ‫بردون‬ ‫فرستاد‬ ‫دور‬ ‫های‬ ‫فاصله‬ ‫تا‬ ‫توان‬ ‫می‬ ‫را‬ ‫لیزر‬ ‫نور‬(‫براز‬)‫شر‬، ‫ود‬
‫رود‬‫ر‬‫نم‬ ‫متمرکرز‬ ‫روچکی‬‫ر‬‫ک‬ ‫ریار‬‫ر‬‫بس‬ ‫قطرر‬ ‫در‬ ‫را‬ ‫آن‬ ‫روان‬‫ر‬‫ت‬ ‫ری‬‫ر‬‫م‬ ‫همچنرین‬.‫روا‬‫ر‬‫ان‬ ‫در‬ ‫رزر‬‫ر‬‫لی‬‫ع‬
‫و‬ ‫گرازی‬ ‫لیزر‬ ، ‫جامد‬ ‫لیزر‬ ‫مانند‬ ، ‫مختلف‬...‫نر‬ ‫منرابع‬ ‫امرا‬ ، ‫اسرت‬ ‫شرده‬ ‫سراخته‬‫ور‬
‫مری‬ ‫هرا‬ ‫هرادی‬ ‫نیمره‬ ‫جامرد‬ ‫لیرزر‬ ‫نروع‬ ‫از‬ ‫نروری‬ ‫فیبرر‬ ‫هرای‬ ‫شربکه‬ ‫در‬ ‫اسرتفاده‬ ‫مورد‬
‫باشند‬.
127
‫نور‬ ‫ی‬ ‫کننده‬ ‫منتشر‬ ‫دیود‬ ‫خصوصیا‬:
‫ویژ‬ ‫دارای‬ ‫روری‬‫ر‬‫ن‬ ‫رتم‬‫ر‬‫سیس‬ ‫رو‬‫ر‬‫ی‬ ‫در‬ ‫رتفاده‬‫ر‬‫اس‬ ‫رورد‬‫ر‬‫م‬ ‫رور‬‫ر‬‫ن‬ ‫ی‬ ‫رده‬‫ر‬‫کنن‬ ‫رر‬‫ر‬‫منتش‬ ‫رود‬‫ر‬‫دی‬‫ری‬‫ر‬‫گ‬
‫بر‬ ‫اتصرال‬ ‫هنگرام‬ ‫در‬ ‫براال‬ ‫برازدهی‬ ‫و‬ ‫خروجی‬ ‫توان‬ ، ‫زیاد‬ ‫درخشش‬ ‫قبیل‬ ‫از‬ ‫هایی‬‫ه‬
‫باشد‬ ‫می‬ ‫فیبر‬.
‫لیزری‬ ‫دیود‬ ‫خصوصیا‬:
‫از‬ ‫عبارتند‬ ‫لیزر‬ ‫مشخصات‬:‫زیراد‬ ‫کوپلینرش‬ ‫بهرره‬ ، ‫باریو‬ ‫طیف‬ ‫پهنای‬‫پهنرای‬ ،
‫سررعت‬ ، ‫خوب‬ ‫خروجی‬ ‫توان‬ ، ‫کم‬ ‫کوپلینش‬ ‫تلفات‬ ، ‫خوب‬ ‫باند‬‫مدوالسریو‬‫ن‬‫زیراد‬
‫حرارت‬ ‫به‬ ‫نسبت‬ ‫حساس‬ ، ‫ضعیف‬ ‫بودن‬ ‫خطی‬ ،.
128
4-6‫آشکارساز‬‫های‬‫نوری‬:(Optical Detector)
‫در‬‫رو‬‫ر‬‫م‬ ‫رور‬‫ر‬‫ن‬ ‫ی‬ ‫رده‬‫ر‬‫گیرن‬ ‫ررف‬‫ر‬‫ط‬ ‫در‬ ‫روری‬‫ر‬‫ن‬ ‫راز‬‫ر‬‫آشکارس‬ ‫روعی‬‫ر‬‫ن‬ ‫روری‬‫ر‬‫ن‬ ‫رر‬‫ر‬‫فیب‬ ‫رای‬‫ر‬‫ه‬ ‫رتم‬‫ر‬‫سیس‬‫رد‬
‫در‬ ‫که‬ ‫را‬ ‫شده‬ ‫مدوله‬ ‫نور‬ ‫تا‬ ‫است‬ ‫نیاز‬‫طول‬‫کنرد‬ ‫آشرکار‬ ، ‫شرده‬ ‫منتشر‬ ‫فیبر‬.‫بره‬‫عبرارت‬
‫نمایرد‬ ‫تبردیل‬ ‫الکتریکری‬ ‫های‬ ‫سیگنال‬ ‫به‬ ‫را‬ ‫نوری‬ ‫های‬ ‫سیگنال‬ ‫دیگر‬.‫آش‬ ‫ایرن‬‫کارسرازها‬
‫ش‬ ‫می‬ ‫کوپله‬ ‫ها‬ ‫فیبر‬ ‫به‬ ‫راحتی‬ ‫به‬ ‫که‬ ‫هستند‬ ‫هادی‬ ‫نیمه‬ ‫های‬ ‫دیود‬ ‫فتو‬ ‫نوع‬ ‫از‬‫ود‬.
‫باشد‬ ‫زیر‬ ‫های‬ ‫ویژگی‬ ‫دارای‬ ‫باید‬ ‫آل‬ ‫ایده‬ ‫آشکارساز‬ ‫یک‬:
•‫نور‬ ‫به‬ ‫زیاد‬ ‫حساسیت‬(‫نور‬ ‫منبع‬ ‫موج‬ ‫طول‬ ‫در‬)
•‫خوب‬ ‫باند‬ ‫پهنای‬
•‫نور‬ ‫به‬ ‫پاسخ‬ ‫سریع‬ ‫زمان‬
•‫کم‬ ‫نویز‬
129
•‫خارجی‬ ‫شرایط‬ ‫تنییرات‬ ‫صورت‬ ‫در‬ ‫مشخصات‬ ‫پایداری‬
•‫اطمینان‬ ‫قابلیت‬
•‫زیاد‬ ‫های‬ ‫ولتاژ‬ ‫به‬ ‫نیاز‬ ‫عدم‬
•‫کوچو‬ ‫ی‬ ‫اندازه‬
•‫کم‬ ‫قیمت‬
‫هادی‬ ‫نیمه‬ ‫دیود‬ ‫فتو‬ ، ‫اصلی‬ ‫نوع‬ ‫دو‬(pin Diode)‫نوری‬ ‫دیود‬ ‫و‬ ،‫بهمنی‬
(Photo Diode Avalanche)APD‫باشند‬ ‫می‬ ‫فوق‬ ‫شرایط‬ ‫دارای‬.
130
‫پنجم‬ ‫فصل‬
‫طراحی‬‫شبکه‬‫ی‬‫کابل‬
131
5-1‫شبکه‬ ‫طراحی‬‫ی‬‫کابل‬:
‫شبکه‬ ‫یو‬‫کابل‬ ‫از‬ ‫تعدادی‬ ‫شامل‬ ‫نوری‬ ‫کابل‬ ‫ی‬‫متص‬ ‫و‬ ‫شده‬ ‫نصب‬ ‫طولی‬ ‫های‬‫بره‬ ‫ل‬
‫اتصرال‬ ‫اولرین‬ ‫تا‬ ‫که‬ ‫است‬ ‫یکدیگر‬‫رابرط‬ ‫یرا‬ ‫دائرم‬ ‫غیرر‬ ‫هرای‬‫اد‬ ‫سرشران‬ ‫دو‬ ‫در‬ ‫هرا‬‫امره‬
‫دارد‬.
5-2‫جنبه‬‫مکانیکی‬ ‫طراحی‬ ‫های‬:
‫جنبه‬ ‫طراحی‬ ‫در‬ ‫اصلی‬ ‫هدف‬‫مطلر‬ ‫نحرو‬ ‫به‬ ‫نوری‬ ‫کابل‬ ‫ساختن‬ ، ‫مکانیکی‬ ‫های‬‫وب‬
‫رارجی‬‫ر‬‫خ‬ ‫رار‬‫ر‬‫آت‬ ‫از‬ ‫را‬ ‫روری‬‫ر‬‫ن‬ ‫رای‬‫ر‬‫تاره‬ ‫رد‬‫ر‬‫بتوان‬ ‫را‬‫ر‬‫ت‬ ‫رت‬‫ر‬‫اس‬ ‫ری‬‫ر‬‫محیط‬ ‫ررایط‬‫ر‬‫ش‬ ‫را‬‫ر‬‫ب‬ ‫رب‬‫ر‬‫مناس‬ ‫و‬
‫رد‬‫ر‬‫کن‬ ‫رت‬‫ر‬‫محافظ‬ ‫رامال‬‫ر‬‫ک‬.‫ربکه‬‫ر‬‫ش‬ ‫رین‬‫ر‬‫ب‬‫روع‬‫ر‬‫ن‬ ‫رب‬‫ر‬‫حس‬ ‫رر‬‫ر‬‫ب‬ ‫رژه‬‫ر‬‫وی‬ ‫و‬ ‫ری‬‫ر‬‫داخل‬ ، ‫رارجی‬‫ر‬‫خ‬ ‫رای‬‫ر‬‫ه‬
‫دارد‬ ‫وجود‬ ‫تفاوت‬ ‫کاربرد‬.
132
‫عملیرات‬ ‫و‬ ‫مسریر‬ ‫شررایط‬ ‫مرورد‬ ‫در‬ ‫خصرور‬ ‫بره‬ ، ‫پارامتر‬ ‫چندین‬ ‫کنترل‬‫نصر‬‫ب‬
‫طراحی‬ ‫در‬‫است‬ ‫اهمیت‬ ‫دارای‬.‫از‬ ‫عبارتند‬ ‫پارامترها‬ ‫این‬:
1-‫راه‬ ‫مسیر‬:
‫رودخانره‬ ، ‫نشریب‬ ‫و‬ ‫فراز‬ ‫زوایای‬ ‫تعیین‬ ‫برای‬‫جراده‬ ‫و‬ ‫هرا‬‫و‬ ‫براال‬ ‫از‬ ‫عبروری‬ ‫هرای‬
‫منحنی‬ ‫تعداد‬ ‫همچنین‬ ‫و‬ ‫پایین‬‫بحرانری‬ ‫های‬(‫زوایرا‬ ‫بره‬ ‫توجره‬ ‫برا‬)‫بایسر‬ ‫مری‬ ،‫از‬ ‫ت‬
‫نقشه‬‫کنیم‬ ‫استفاده‬ ‫محیط‬ ‫و‬ ‫مسیر‬ ‫های‬.
2-‫ناحیه‬ ‫طبی‬:
‫جلگره‬ ‫کره‬ ‫ایرن‬ ‫نظرر‬ ‫از‬ ‫را‬ ‫ناحیره‬ ‫اسرت‬ ‫الزم‬ ‫منظرور‬ ‫ایرن‬ ‫برای‬‫کوهسرتانی‬ ، ‫ای‬،
‫دریاچه‬ ‫و‬ ‫باتالقی‬ ، ‫جنگلی‬‫و‬ ‫ای‬...‫کنیم‬ ‫مشخر‬ ، ‫است‬.
133
3-‫خاک‬ ‫نوع‬:
‫آلودگی‬ ‫دارای‬ ‫آیا‬ ‫؟‬ ‫است‬ ‫شنی‬ ‫یا‬ ‫رسی‬ ، ‫رطوبتی‬ ‫خاک‬ ‫آیا‬‫ا‬ ‫شیمیایی‬ ‫های‬‫ست؟‬
4-‫نصب‬ ‫ی‬ ‫رویه‬:
‫کابرل‬‫کانرال‬ ‫در‬ ‫ریدن‬‫ر‬‫کش‬ ‫را‬‫ر‬‫ی‬ ‫و‬ ‫زمرین‬ ‫در‬ ‫رن‬‫ر‬‫دف‬ ‫نظرر‬ ‫از‬ ‫را‬‫ر‬‫ه‬‫متف‬ ‫ردیگر‬‫ر‬‫یک‬ ‫برا‬ ، ‫را‬‫ر‬‫ه‬‫رد‬‫ر‬‫اوتن‬.
‫بل‬ ‫کا‬ ‫که‬ ‫عمقی‬ ‫و‬ ‫خاک‬ ‫در‬ ‫حرارت‬ ‫درجه‬‫مری‬ ‫نصب‬ ‫آن‬ ‫در‬ ‫ها‬‫در‬ ‫بایرد‬ ‫را‬ ‫شروند‬
‫نظرگرفت‬.
‫کانال‬ ‫در‬ ‫کابل‬ ‫کشیدن‬ ‫هنگام‬‫کششری‬ ‫نیروهرای‬ ‫حرداکتر‬ ‫و‬ ‫کابرل‬ ‫طرول‬ ، ‫ها‬‫ممکرن‬
‫ررار‬‫ر‬‫ق‬ ‫ره‬‫ر‬‫مالحظ‬ ‫رورد‬‫ر‬‫م‬ ‫رد‬‫ر‬‫بای‬ ‫آن‬ ‫ی‬ ‫رره‬‫ر‬‫گی‬ ‫را‬‫ر‬‫ی‬ ‫رل‬‫ر‬‫ب‬ ‫را‬‫ر‬‫ک‬ ‫روی‬ ‫رش‬‫ر‬‫کش‬ ‫ره‬‫ر‬‫حلق‬ ‫ره‬‫ر‬‫ب‬ ‫رده‬‫ر‬‫ش‬ ‫وارد‬
‫گیرد‬.
134
‫کابل‬‫کابل‬ ‫با‬ ‫مقایسه‬ ‫در‬ ‫نوری‬ ‫های‬‫سرب‬ ‫وزن‬ ‫داشرتن‬ ‫خاطر‬ ‫به‬ ‫هادی‬ ‫فلزی‬ ‫های‬، ‫و‬
‫ر‬‫ر‬‫خ‬ ‫ربی‬‫ر‬‫نص‬ ‫رات‬‫ر‬‫عملی‬ ‫ره‬‫ر‬‫ب‬ ‫رازی‬‫ر‬‫نی‬ ، ‫رو‬‫ر‬‫کوچ‬ ‫ربتا‬‫ر‬‫نس‬ ‫رر‬‫ر‬‫قط‬ ‫و‬ ‫راد‬‫ر‬‫زی‬ ‫راف‬‫ر‬‫انعط‬ ‫رت‬‫ر‬‫قابلی‬‫ار‬
‫ندارند‬.
‫شعاع‬ ، ‫نصب‬ ‫ضمن‬ ‫در‬‫آن‬ ‫فهرسرت‬ ‫در‬ ‫شرده‬ ‫تعیرین‬ ‫مقرادیر‬ ‫از‬ ‫نباید‬ ‫خمش‬ ‫های‬، ‫هرا‬
‫باشررد‬ ‫کمتررر‬.‫روش‬ ‫بهترررین‬ ‫فهرسررت‬ ‫در‬ ‫منرردرج‬ ‫پارامترهررای‬ ‫مالحظررات‬ ‫از‬ ‫پررس‬
‫کرد‬ ‫انتخاب‬ ‫باید‬ ‫را‬ ‫نصب‬.
‫اندازه‬ ‫و‬ ‫صحیت‬ ‫انتخاب‬ ‫نظر‬ ‫از‬ ‫را‬ ‫کابل‬ ‫ساختمان‬‫آن‬ ‫سراختار‬ ‫اجرزای‬ ‫ابعاد‬ ‫ی‬‫بایرد‬
‫صدمه‬ ‫از‬ ‫تا‬ ‫کرد‬ ‫طراحی‬ ‫نحوی‬ ‫به‬‫د‬ ‫کره‬ ‫شریمیایی‬ ‫و‬ ‫حرارتری‬ ، ‫مکانیکی‬ ‫های‬‫ائمرا‬
‫می‬ ‫تاتیر‬ ‫آن‬ ‫مکانیکی‬ ‫مشخصات‬ ‫روی‬‫بماند‬ ‫مصون‬ ، ‫گذارند‬.
135
‫طول‬ ‫حداکتر‬ ‫که‬ ‫است‬ ‫مهم‬ ‫صورت‬ ‫هر‬ ‫در‬‫ایرن‬ ‫گررفتن‬ ‫نظرر‬ ‫در‬ ‫برا‬ ‫را‬ ‫ممکرن‬ ‫هرای‬
‫افزایش‬ ‫که‬‫بر‬ ‫خرود‬ ‫ممکرن‬ ‫حداقل‬ ‫به‬ ‫جوش‬ ‫های‬ ‫اتصال‬ ‫از‬ ‫ناشی‬ ‫تضعیف‬ ‫های‬‫سرند‬
‫برریم‬ ‫کار‬ ‫به‬ ،.‫کابرل‬ ‫نصرب‬ ‫کنرون‬ ‫ترا‬‫طرول‬ ‫بره‬ ‫هرای‬5000، ‫آن‬ ‫از‬ ‫بیشرتر‬ ‫و‬ ‫مترر‬
‫است‬ ‫شده‬ ‫معمول‬.
‫کابل‬‫حالت‬ ‫از‬ ‫بسیاری‬ ‫در‬ ‫را‬ ‫نوری‬ ‫های‬‫عردم‬ ‫از‬ ‫اطمینران‬ ‫مواقرع‬ ‫در‬ ‫مخصوصا‬ ‫ها‬
‫کننرد‬ ‫مری‬ ‫نصرب‬ ‫دسرت‬ ‫برا‬ ، ‫آنهرا‬ ‫کرم‬ ‫وزن‬ ‫سربب‬ ‫بره‬ ، ‫کششری‬ ‫نیروی‬ ‫افزایش‬.‫ولری‬
‫رام‬‫ر‬‫هنگ‬ ‫در‬ ‫رده‬‫ر‬‫ش‬ ‫رال‬‫ر‬‫اعم‬ ‫ری‬‫ر‬‫کشش‬ ‫رروی‬‫ر‬‫نی‬ ‫رردن‬‫ر‬‫ک‬ ‫رت‬‫ر‬‫یادداش‬ ‫ران‬‫ر‬‫امک‬ ‫ررایط‬‫ر‬‫ش‬ ‫رن‬‫ر‬‫ای‬ ‫رت‬‫ر‬‫تح‬
‫ندارد‬ ‫وجود‬ ‫نصب‬.
136
‫کابل‬ ‫نصب‬ ‫برای‬ ‫دیگر‬ ‫روش‬‫تز‬ ‫بررای‬ ‫فشررده‬ ‫هروای‬ ‫از‬ ‫استفاده‬ ، ‫نوری‬ ‫های‬‫ریرق‬
‫کانال‬ ‫داخل‬ ‫به‬ ‫آنها‬‫هاست‬.‫بهینه‬ ‫نسبت‬ ‫با‬ ‫مناسب‬ ‫زمین‬ ‫در‬ ‫روش‬ ‫این‬‫قطر‬ ‫ی‬‫کانرال‬
‫تقریبی‬ ‫طول‬ ‫تا‬ ، ‫نوری‬ ‫تار‬ ‫به‬1000‫امکان‬ ‫متر‬‫است‬ ‫پذیر‬.
‫رول‬‫ر‬‫ط‬ ‫رب‬‫ر‬‫نص‬ ‫رام‬‫ر‬‫هنگ‬‫روری‬‫ر‬‫ن‬ ‫رل‬‫ر‬‫کاب‬ ‫رد‬‫ر‬‫بلن‬ ‫ریار‬‫ر‬‫بس‬ ‫رای‬‫ر‬‫ه‬(‫از‬ ‫رتر‬‫ر‬‫بیش‬ ، ‫رال‬‫ر‬‫مت‬ ‫رور‬‫ر‬‫ط‬ ‫ره‬‫ر‬‫ب‬2
‫رت‬‫ر‬‫جه‬ ‫رو‬‫ر‬‫ی‬ ‫در‬ ‫رومتر‬‫ر‬‫کیل‬)‫رده‬‫ر‬‫کنن‬ ‫رع‬‫ر‬‫جم‬ ‫رد‬‫ر‬‫واح‬ ‫رد‬‫ر‬‫چن‬ ‫را‬‫ر‬‫ی‬ ‫رو‬‫ر‬‫ی‬ ‫از‬ ،‫رروی‬‫ر‬‫نی‬ ‫را‬‫ر‬‫ب‬ ‫رانی‬‫ر‬‫می‬ ‫ی‬
‫کنند‬ ‫می‬ ‫استفاده‬ ‫خودکار‬.
‫کانال‬ ‫از‬ ‫بهتر‬ ‫ی‬ ‫استفاده‬ ‫برای‬‫تر‬ ‫کشریدن‬ ‫امکران‬ ، ‫قبلری‬ ‫ی‬ ‫شرده‬ ‫نصرب‬ ‫هرای‬‫چهرار‬ ‫ا‬
‫دارد‬ ‫وجود‬ ‫آنها‬ ‫داخل‬ ‫در‬ ‫پالستیکی‬ ‫کانال‬.‫کاب‬ ‫چندین‬ ، ‫تقسیمات‬ ‫این‬ ‫با‬‫شرکل‬ ‫بره‬ ‫ل‬
‫هستند‬ ‫نصب‬ ‫قابل‬ ‫هم‬ ‫از‬ ‫مستقل‬.
137
5-3‫تزویج‬‫کننده‬:
‫رابط‬‫ها‬‫می‬ ‫کار‬ ‫به‬ ‫انتقال‬ ‫مسیرهای‬ ‫در‬ ‫نوری‬ ‫تارهای‬ ‫اتصال‬ ‫برای‬ ‫را‬‫برند‬‫بره‬ ،
‫اتصر‬ ‫موقرع‬ ‫در‬ ‫پرایینی‬ ‫تلرف‬ ، ‫تارهرا‬ ‫قطع‬ ‫در‬ ‫تسهیل‬ ‫ایجاد‬ ‫ضمن‬ ‫که‬ ‫طوری‬‫از‬ ‫ال‬
‫ری‬‫ر‬‫م‬ ‫رت‬‫ر‬‫دس‬ ‫ره‬‫ر‬‫ب‬ ‫را‬‫ر‬‫آنه‬ ‫رق‬‫ر‬‫طری‬‫رد‬‫ر‬‫آی‬.‫رزوده‬‫ر‬‫اف‬ ‫رف‬‫ر‬‫تل‬ ‫ره‬‫ر‬‫ب‬ ‫رته‬‫ر‬‫بس‬‫رط‬‫ر‬‫راب‬ ‫ی‬‫رته‬‫ر‬‫هس‬ ‫رر‬‫ر‬‫قط‬ ‫و‬ ‫را‬‫ر‬‫ه‬‫ی‬
‫رراز‬‫ر‬‫مج‬ ‫رررات‬‫ر‬‫تنیی‬ ‫رردود‬‫ر‬‫ح‬ ‫ررراری‬‫ر‬‫برق‬ ‫رررای‬‫ر‬‫ب‬ ‫ررو‬‫ر‬‫تکنی‬ ‫رردین‬‫ر‬‫چن‬ ‫از‬ ، ‫رروری‬‫ر‬‫ن‬ ‫ررای‬‫ر‬‫تاره‬
‫رابط‬ ‫در‬ ‫مکانیکی‬‫می‬ ‫استفاده‬ ‫ها‬‫شود‬.‫تکنیو‬ ‫این‬‫بر‬ ‫ها‬‫ب‬ ‫کارشان‬ ‫اساس‬‫نوع‬ ‫دو‬ ‫ه‬
‫می‬ ‫تقسیم‬‫شوند‬.‫ترزویج‬ ‫مبنرای‬ ‫بر‬ ‫اول‬ ‫نوع‬،‫عدسری‬‫تر‬ ‫براسراس‬ ‫دوم‬ ‫نروع‬ ‫و‬‫زویج‬
‫تارهاست‬ ‫سر‬ ‫سربه‬.
138
5-3-1‫تزویج‬‫عدسی‬:
•‫در‬‫ری‬‫ر‬‫عدس‬ ‫از‬ ، ‫ری‬‫ر‬‫عدس‬ ‫رزویج‬‫ر‬‫ت‬‫رتم‬‫ر‬‫سیس‬ ‫رایر‬‫ر‬‫س‬ ‫را‬‫ر‬‫ی‬ ‫را‬‫ر‬‫ه‬‫رم‬‫ر‬‫ه‬ ‫رای‬‫ر‬‫ه‬‫ررای‬‫ر‬‫ب‬ ‫رویری‬‫ر‬‫تص‬ ‫ارز‬
‫قطر‬ ‫با‬ ‫موازی‬ ‫پرتوی‬ ‫به‬ ‫فرستنده‬ ‫تار‬ ‫انتهای‬ ‫از‬ ‫شده‬ ‫خارج‬ ‫نور‬ ‫تبدیل‬‫و‬ ‫بیشرتر‬
‫دوباره‬ ‫تمرکز‬ ‫سپس‬‫می‬ ‫استفاده‬ ، ‫گیرنده‬ ‫تار‬ ‫سر‬ ‫به‬ ‫آن‬ ‫ی‬‫شود‬.‫ا‬ ‫مزیرت‬‫نروع‬ ‫یرن‬
‫ره‬‫ر‬‫ناحی‬ ‫در‬ ‫رتر‬‫ر‬‫بیش‬ ‫ررات‬‫ر‬‫تنیی‬ ‫راز‬‫ر‬‫مج‬ ‫رد‬‫ر‬‫ح‬ ‫رل‬‫ر‬‫دلی‬ ‫ره‬‫ر‬‫ب‬ ‫ری‬‫ر‬‫بخش‬ ، ‫رزویج‬‫ر‬‫ت‬‫ا‬ ‫ردایی‬‫ر‬‫ج‬ ‫ی‬‫رال‬‫ر‬‫تص‬
‫است‬.
•‫انعکراس‬ ‫از‬ ‫ناشری‬ ‫اضرافی‬ ‫تلرف‬ ‫برین‬ ‫موازنره‬ ‫قبرال‬ ‫در‬ ‫مزیرت‬ ‫این‬ ‫حال‬ ‫هر‬ ‫به‬‫هرا‬
‫سیسرتم‬ ‫مختلف‬ ‫شکست‬ ‫ضرایب‬ ‫با‬ ‫مشترک‬ ‫مرزهای‬ ‫در‬، ‫تصرویری‬ ‫هرای‬‫واحرد‬
‫هرم‬ ‫غیر‬ ‫در‬ ‫کاهشی‬ ‫تنییرات‬ ‫مجاز‬‫زاویره‬ ‫تنییررات‬ ‫محروری‬‫بره‬ ‫ای‬‫مری‬ ‫دسرت‬‫آیر‬‫د‬.
‫نیمره‬ ‫دیودهرای‬ ‫ترزویج‬ ‫بررای‬ ‫متال‬ ‫طور‬ ‫به‬ ، ‫عملی‬ ‫کاربردهای‬ ‫در‬ ‫بناباین‬‫هر‬‫ادی‬
‫رابط‬ ، ‫نوری‬ ‫تارهای‬ ‫به‬‫سربه‬ ‫تزویج‬ ‫با‬ ‫های‬‫می‬ ‫ترجیت‬ ‫را‬ ‫سر‬‫دهند‬.
139
5-3-2‫سربه‬ ‫تزویج‬‫سر‬:
‫تزویج‬‫سربه‬‫صرف‬ ‫که‬ ‫است‬ ‫مشخصه‬ ‫این‬ ‫دارای‬ ‫سر‬‫این‬ ‫از‬ ‫نظر‬‫خروجری‬ ‫سرطوح‬ ‫کره‬‫و‬
‫برره‬ ‫چسرربیده‬ ‫و‬ ‫مرروازی‬ ‫شررکل‬ ‫برره‬ ، ‫باشررند‬ ‫دیودهررا‬ ‫یررا‬ ‫و‬ ‫نرروری‬ ‫تارهررای‬ ، ‫نررور‬ ‫ورودی‬
‫قرار‬ ‫یکدیگر‬‫می‬‫گیرند‬.‫رابط‬‫ها‬‫ت‬ ‫دارای‬ ‫که‬ ‫است‬ ‫قرارگیری‬ ‫شکل‬ ‫این‬ ‫با‬ ‫فقط‬‫پرایینی‬ ‫لرف‬
‫ناحیه‬ ‫در‬‫موجی‬ ‫طول‬ ‫های‬850،1300،1550‫هستند‬ ‫نانومتر‬.
‫ا‬ ‫ره‬‫ر‬‫ک‬ ‫رت‬‫ر‬‫اس‬ ‫الزم‬ ، ‫رط‬‫ر‬‫راب‬ ‫رال‬‫ر‬‫اتص‬ ‫در‬ ‫رال‬‫ر‬‫انتق‬ ‫رو‬‫ر‬‫تکنی‬ ‫رت‬‫ر‬‫کیفی‬ ‫رابی‬‫ر‬‫ارزی‬ ‫رور‬‫ر‬‫منظ‬ ‫ره‬‫ر‬‫ب‬‫ردازه‬‫ر‬‫ن‬‫ی‬
‫قرررار‬ ‫از‬ ‫پررس‬ ‫را‬ ‫تضررعیف‬ ‫افررزایش‬‫کنرریم‬ ‫تعیررین‬ ‫نرروری‬ ‫انتقررال‬ ‫مسرریر‬ ‫در‬ ‫آن‬ ‫دادن‬.‫تلررف‬
‫قسمت‬ ‫در‬ ‫مجاز‬ ‫تنییرات‬ ‫حدود‬ ‫با‬ ‫افزوده‬‫می‬ ‫تعیین‬ ‫نوری‬ ‫تار‬ ‫و‬ ‫رابط‬ ‫های‬‫شود‬.‫ب‬‫ه‬‫طرور‬
‫جابه‬ ‫کلی‬‫جایی‬‫محروری‬(‫شرکل‬1)‫نراهم‬ ،‫زاویره‬ ‫محروری‬‫ای‬(‫شرکل‬2)‫سررهای‬ ‫جردایی‬ ‫و‬
‫تارهرا‬ ‫انتهایی‬(‫شرکل‬3)‫یابرد‬ ‫کراهش‬ ‫ممکرن‬ ‫حرداقل‬ ‫بره‬ ‫بایرد‬.‫کرامال‬ ‫بایرد‬ ‫انتهرایی‬ ‫سررهای‬
‫باشند‬ ‫خشو‬ ‫و‬ ‫تمیز‬.
140
‫راس‬‫ر‬‫انعک‬ ‫را‬‫ر‬‫ب‬ ‫ره‬‫ر‬‫ک‬ ‫ریم‬‫ر‬‫باش‬ ‫رته‬‫ر‬‫داش‬ ‫رر‬‫ر‬‫نظ‬ ‫در‬ ‫رد‬‫ر‬‫بای‬ ‫ری‬‫ر‬‫کل‬ ‫رل‬‫ر‬‫اص‬ ‫رو‬‫ر‬‫ی‬ ‫روان‬‫ر‬‫عن‬ ‫ره‬‫ر‬‫ب‬‫ر‬‫ر‬‫ح‬ ‫در‬ ‫رای‬‫ر‬‫ه‬‫د‬
‫مری‬ ‫رخ‬ ‫تلفاتی‬ ‫فقط‬ ‫نه‬ ، ‫شیشه‬ ‫و‬ ‫هوا‬ ‫فاصل‬‫دهرد‬(‫فرنرل‬ ‫تلفرات‬(Fernel Losses))
‫ره‬‫ر‬‫ب‬ ‫رعیف‬‫ر‬‫تض‬ ‫در‬ ‫رز‬‫ر‬‫نی‬ ‫ری‬‫ر‬‫تنییرات‬ ‫ره‬‫ر‬‫بلک‬ ،‫ری‬‫ر‬‫م‬ ‫رود‬‫ر‬‫وج‬‫رد‬‫ر‬‫آی‬.‫رکال‬‫ر‬‫اش‬ ‫رن‬‫ر‬‫ای‬‫رت‬‫ر‬‫اس‬ ‫را‬‫ر‬‫ب‬ ‫را‬‫ر‬‫ه‬‫از‬ ‫فاده‬
‫تطبیق‬ ‫مایع‬ ‫یا‬ ‫و‬ ‫عایق‬ ‫روکش‬‫دهنده‬‫هستن‬ ‫کاهش‬ ‫قابل‬ ، ‫شکست‬ ‫ضریب‬ ‫ی‬‫د‬.
(1
(2
(3
141
5-4‫اتصال‬‫صورت‬ ‫به‬ ‫فیبر‬ ‫دو‬‫دائمی‬(Splice:)
Splice‫کابل‬ ‫یو‬ ‫دائمی‬ ‫اتصال‬ ‫معنی‬ ‫به‬‫کابرل‬ ‫یرو‬ ‫بره‬ ‫فیبرنوری‬‫فیبر‬‫دیگرر‬ ‫نروری‬
‫ری‬‫ر‬‫م‬‫رد‬‫ر‬‫باش‬.‫از‬‫رن‬‫ر‬‫ای‬‫ر‬‫ر‬‫متف‬ ‫رت‬‫ر‬‫اس‬ ‫رردائم‬‫ر‬‫غی‬ ‫و‬ ‫رت‬‫ر‬‫موق‬ ‫رال‬‫ر‬‫اتص‬ ‫رو‬‫ر‬‫ی‬ ‫ره‬‫ر‬‫ک‬ ‫رانکتور‬‫ر‬‫ک‬ ‫را‬‫ر‬‫ب‬ ‫رو‬‫اوت‬
‫می‬‫باشد‬.
‫ربکه‬‫ر‬‫ش‬ ‫در‬‫ر‬‫ر‬‫نی‬ ‫ردیگر‬‫ر‬‫یک‬ ‫ره‬‫ر‬‫ب‬ ‫رر‬‫ر‬‫فیب‬ ‫دو‬ ‫رم‬‫ر‬‫دائ‬ ‫رال‬‫ر‬‫اتص‬ ‫ره‬‫ر‬‫ب‬ ‫راهی‬‫ر‬‫گ‬ ‫روری‬‫ر‬‫فیبرن‬ ‫رای‬‫ر‬‫ه‬‫رم‬‫ر‬‫داری‬ ‫از‬.
‫مری‬ ‫شکسرته‬ ‫مسریر‬ ‫از‬ ‫نقطره‬ ‫یرو‬ ‫در‬ ‫فیبر‬ ، ‫متال‬ ‫برای‬‫کر‬ ‫تعروی‬ ‫کره‬ ‫شرود‬‫کابرل‬ ‫ل‬
‫یکردیگ‬ ‫بره‬ ‫کابرل‬ ‫دو‬ ‫دائرم‬ ‫اتصرال‬ ‫کرا‬ ‫بهتررین‬ ‫صرورت‬ ‫ایرن‬ ‫در‬ ، ‫نردارد‬ ‫امکان‬‫ر‬‫مری‬
‫ررد‬‫ر‬‫باش‬.‫ررل‬‫ر‬‫کاب‬ ‫ررازندگان‬‫ر‬‫س‬ ‫ررب‬‫ر‬‫اغل‬‫آن‬ ‫رروری‬‫ر‬‫فیبرن‬ ‫ررای‬‫ر‬‫ه‬‫رردازه‬‫ر‬‫ان‬ ‫در‬ ‫را‬ ‫ررا‬‫ر‬‫ه‬‫ررای‬‫ر‬‫ه‬1‫ررا‬‫ر‬‫ت‬6
‫می‬ ‫تولید‬ ‫کیلومتری‬‫کنند‬.
142
‫ارتباط‬ ‫یو‬ ‫اگر‬ ‫متال‬ ‫برای‬100‫کابل‬ ‫باید‬ ، ‫بلشد‬ ‫نیاز‬ ‫کیلومتری‬‫کوچرو‬ ‫هرای‬‫را‬
‫کنیم‬ ‫متصل‬ ‫یکدیگر‬ ‫به‬.
‫مری‬ ‫اسرتفاده‬ ‫دائرم‬ ‫اتصال‬ ‫از‬ ‫که‬ ‫دیگری‬ ‫مورد‬‫ک‬ ‫مختلرف‬ ‫نروع‬ ‫دو‬ ‫اتصرال‬ ، ‫شرود‬‫ابرل‬
‫زره‬ ‫کابل‬ ‫یو‬ ‫مانند‬ ، ‫است‬ ‫فیبرنوری‬‫بین‬ ‫شده‬ ‫دار‬‫کابر‬ ‫یو‬ ‫و‬ ‫ساختمانی‬‫سربو‬ ‫ل‬‫ترر‬
‫داخل‬‫ساختمانی‬.‫و‬ ‫اسرت‬ ‫موقرت‬ ‫اتصرال‬ ‫یو‬ ، ‫کانکتور‬ ‫که‬ ‫داشت‬ ‫توجه‬ ‫باید‬‫نسربت‬
‫دارد‬ ‫باالیی‬ ‫اتالف‬ ، ‫دائم‬ ‫اتصال‬ ‫به‬.‫و‬ ‫زمان‬ ‫مرور‬ ‫اتر‬ ‫در‬ ‫است‬ ‫ممکن‬ ‫همچنین‬‫یا‬
‫نمری‬ ‫دلیرل‬ ‫همین‬ ‫به‬ ، ‫شود‬ ‫ایجاد‬ ‫مشکل‬ ‫آن‬ ‫برای‬ ‫محیطی‬ ‫عوامل‬‫بررا‬ ‫آن‬ ‫از‬ ‫تروان‬‫ی‬
‫نمود‬ ‫استفاده‬ ‫دائم‬ ‫اتصال‬.
143
‫ری‬‫ر‬‫م‬ ‫رم‬‫ر‬‫دائ‬ ‫رال‬‫ر‬‫اتص‬ ‫را‬‫ر‬‫ب‬ ‫ره‬‫ر‬‫ک‬ ‫رالی‬‫ر‬‫ح‬ ‫در‬‫ریط‬‫ر‬‫مح‬ ‫رر‬‫ر‬‫ه‬ ‫در‬ ‫و‬ ‫ران‬‫ر‬‫مک‬ ‫رر‬‫ر‬‫ه‬ ‫در‬ ‫را‬ ‫رر‬‫ر‬‫فیب‬ ‫دو‬ ‫روان‬‫ر‬‫ت‬
‫ر‬‫ر‬‫متص‬ ‫ردیگر‬‫ر‬‫یک‬ ‫ره‬‫ر‬‫ب‬ ‫رال‬‫ر‬‫کان‬ ‫رل‬‫ر‬‫داخ‬ ‫را‬‫ر‬‫ی‬ ‫و‬ ‫روایی‬‫ر‬‫ه‬ ، ‫راک‬‫ر‬‫زیرخ‬ ، ‫را‬‫ر‬‫دری‬ ‫رل‬‫ر‬‫قبی‬ ‫از‬ ، ‫رار‬‫ر‬‫خ‬‫ل‬
‫سال‬ ‫و‬ ‫نمود‬‫کرد‬ ‫استفاده‬ ‫آن‬ ‫از‬ ‫نیز‬ ‫ها‬.
‫اتصال‬‫کابل‬ ‫دائم‬‫امکان‬ ‫زیر‬ ‫روش‬ ‫دو‬ ‫به‬ ‫فیبرنوری‬ ‫های‬‫است‬ ‫پذیر‬:
‫ال‬-‫هم‬ ‫روش‬ ‫به‬ ‫فیبر‬ ‫دو‬ ‫دائمی‬ ‫اتصال‬‫جوشی‬
‫ب‬-‫قفل‬ ‫روش‬ ‫به‬ ‫فیبر‬ ‫دو‬ ‫دائمی‬ ‫اتصال‬‫شدن‬
144
5-4-1‫اتصال‬‫هم‬ ‫روش‬ ‫به‬ ‫فیبر‬ ‫دو‬ ‫دائمی‬‫جوشی‬:
‫ررین‬‫ر‬‫بهت‬‫ری‬‫ر‬‫م‬ ‫رر‬‫ر‬‫فیب‬ ‫دو‬ ‫رال‬‫ر‬‫اتص‬ ‫ررای‬‫ر‬‫ب‬ ‫روش‬‫رد‬‫ر‬‫باش‬.‫از‬ ‫رتفاده‬‫ر‬‫اس‬ ‫را‬‫ر‬‫ب‬ ‫روش‬ ‫رن‬‫ر‬‫ای‬ ‫در‬‫رو‬‫ر‬‫ی‬
‫رام‬‫ر‬‫ن‬ ‫ره‬‫ر‬‫ب‬ ‫رار‬‫ر‬‫خ‬ ‫رتگاه‬‫ر‬‫دس‬Fusion Splicer‫ره‬‫ر‬‫ب‬ ‫ری‬‫ر‬‫الکتریک‬ ‫روس‬‫ر‬‫ق‬ ‫رو‬‫ر‬‫ی‬ ‫را‬‫ر‬‫ب‬ ‫رر‬‫ر‬‫فیب‬ ‫دو‬ ،
‫یرو‬ ‫فیبر‬ ‫یو‬ ‫صورت‬ ‫به‬ ‫و‬ ‫شده‬ ‫ذوب‬ ‫یکدیگر‬ ‫در‬ ، ‫دیده‬ ‫حرارت‬ ‫تابت‬ ‫طور‬‫تکره‬
‫درمی‬‫آید‬.‫دستگاه‬ ‫اما‬ ‫است‬ ‫پایینی‬ ‫بسیار‬ ‫اتالف‬ ‫دارای‬ ‫روش‬ ‫این‬‫تجهیر‬ ‫و‬ ‫ها‬‫آن‬ ‫زات‬
‫هستند‬ ‫گران‬ ‫بسیار‬.‫اسرت‬ ‫دائرم‬ ‫اتصرال‬ ‫برای‬ ‫روش‬ ‫این‬ ‫از‬ ‫بیشتر‬ ‫ایران‬ ‫در‬‫مری‬ ‫فاده‬-
‫شود‬.
145
5-4-2‫اتصال‬‫شدن‬ ‫قفل‬ ‫روش‬ ‫به‬ ‫فیبر‬ ‫دو‬ ‫دائمی‬:
‫در‬‫مری‬ ‫کره‬ ‫قسرمتی‬ ‫از‬ ‫را‬ ‫فیبرر‬ ‫دو‬ ‫روش‬ ‫این‬‫یرو‬ ‫در‬ ، ‫کنریم‬ ‫وصرل‬ ‫هرم‬ ‫بره‬ ‫خرواهیم‬
‫ره‬‫ر‬‫محفظ‬‫ری‬‫ر‬‫م‬ ‫ررار‬‫ر‬‫ق‬ ‫رور‬‫ر‬‫مخص‬ ‫ی‬‫ر‬‫ر‬‫مقاب‬ ‫در‬ ‫رر‬‫ر‬‫فیب‬ ‫دو‬ ‫رای‬‫ر‬‫انته‬ ‫ره‬‫ر‬‫ک‬ ‫رورتی‬‫ر‬‫ص‬ ‫ره‬‫ر‬‫ب‬ ، ‫ریم‬‫ر‬‫ده‬‫ل‬
‫گیرند‬ ‫قرار‬ ‫یکدیگر‬.‫قرر‬ ‫دهنرده‬ ‫تطبیرق‬ ‫نرام‬ ‫بره‬ ‫مرایعی‬ ‫محفظه‬ ‫این‬ ‫داخل‬ ‫در‬‫دارد‬ ‫ار‬
‫مری‬ ‫نرور‬ ‫و‬ ‫است‬ ‫فیبر‬ ‫مانند‬ ‫آن‬ ‫نوری‬ ‫خصوصیات‬ ‫که‬‫ف‬ ‫یرو‬ ‫از‬ ‫آن‬ ‫داخرل‬ ‫توانرد‬‫یبرر‬
‫یابد‬ ‫انتقال‬ ‫دیگر‬ ‫فیبر‬ ‫به‬.‫بر‬ ‫خاصری‬ ‫دسرتگاه‬ ‫از‬ ‫اسرتفاده‬ ‫با‬ ‫محفظه‬ ‫این‬‫نرام‬ ‫ه‬Fiber
Lock‫جعبه‬ ‫در‬ ‫و‬ ‫شده‬ ‫قفل‬ ‫کامال‬Splice closure(‫جعبه‬‫از‬ ‫بعرد‬ ‫کره‬ ‫هسرتند‬ ‫هرایی‬
‫آن‬ ، ‫فیبر‬ ‫دو‬ ‫اتصال‬‫جعبه‬ ‫این‬ ‫در‬ ‫را‬ ‫ها‬‫قرارمی‬ ‫ها‬‫اتررا‬ ‫از‬ ‫اتصرال‬ ‫محرل‬ ‫ترا‬ ‫دهنرد‬‫ت‬
‫کشش‬ ، ‫محیطی‬ ‫مخرب‬‫و‬ ‫احتمالی‬ ‫های‬...‫بماند‬ ‫مصون‬).
146
‫مری‬ ‫برار‬ ‫چنردین‬ ‫کره‬ ‫اسرت‬ ‫ایرن‬ ‫دائم‬ ‫اتصال‬ ‫نوع‬ ‫این‬ ‫مزایای‬ ‫از‬‫بر‬ ‫را‬ ‫اتصرال‬ ‫تروان‬‫از‬
‫نمود‬ ‫متصل‬ ‫هم‬ ‫به‬ ‫را‬ ‫فیبر‬ ‫دو‬ ‫دوباره‬ ‫و‬ ‫نموده‬.‫دستگاه‬‫در‬ ‫اسرتفاده‬ ‫مرورد‬ ‫هرای‬‫ایرن‬
‫هم‬ ‫روش‬ ‫به‬ ‫نسبت‬ ‫روش‬‫ارزان‬ ‫جوشی‬‫هسرتند‬ ‫ترر‬.‫نسرب‬ ‫روش‬ ‫ایرن‬ ‫اترالف‬ ‫میرزان‬‫ت‬
‫است‬ ‫بیشتر‬ ‫قبل‬ ‫روش‬ ‫به‬.
147
‫نتیجه‬‫گیری‬:
‫اولین‬‫کر‬ ‫انتقرالل‬ ‫هاي‬‫محیط‬ ‫تمام‬ ‫از‬ ‫که‬ ‫است‬ ‫این‬ ‫دارد‬ ‫فیبرنوري‬ ‫که‬ ‫مزیتل‬‫وجرود‬ ‫ه‬
‫ررد‬‫ر‬‫بان‬ ‫رراي‬‫ر‬‫پهن‬ ‫ررده‬‫ر‬‫ش‬ ‫رردایت‬‫ر‬‫غیره‬ ‫و‬ ‫ررده‬‫ر‬‫ش‬ ‫رردایت‬‫ر‬‫ه‬ ‫رره‬‫ر‬‫چ‬ ‫و‬ ،‫رریمل‬‫ر‬‫س‬ ‫و‬ ‫رررلس‬‫ر‬‫وای‬ ‫رره‬‫ر‬‫چ‬ ‫دارد‬
‫رال‬‫ر‬‫ارس‬ ‫رتري‬‫ر‬‫بیش‬ ‫رات‬‫ر‬‫اطالع‬ ‫رد‬‫ر‬‫توان‬‫مل‬ ‫رت‬‫ر‬‫حقیق‬ ‫در‬ ‫رل‬‫ر‬‫یعن‬ ‫رد‬‫ر‬‫ده‬‫مل‬ ‫را‬‫ر‬‫م‬ ‫ره‬‫ر‬‫ب‬ ‫رتري‬‫ر‬‫بیش‬‫رد‬‫ر‬‫کن‬.
‫زمین‬ ‫در‬ ‫فیبرنوري‬ ‫با‬ ‫تواند‬‫مل‬ ‫که‬ ‫است‬ ‫فناوري‬ ‫تنها‬ ‫اي‬‫ماهواره‬ ‫ارتباطات‬‫انتقرال‬ ‫ه‬
‫کند‬ ‫رقابت‬ ‫ها‬‫داده‬.‫فرک‬ ‫از‬ ‫شرود‬‫مل‬ ‫استفاده‬ ‫که‬ ‫لیزري‬ ‫فرکانس‬ ‫چون‬ ‫ولل‬‫کره‬ ‫انسرل‬
‫بیشرتر‬ ‫هراي‬‫داده‬ ‫بنرابراین‬ ‫اسرت‬ ‫بیشرتر‬ ‫شرود‬‫مل‬ ‫اسرتفاده‬ ‫اي‬‫مراهواره‬ ‫امرواج‬ ‫در‬‫از‬ ‫ي‬
‫شود‬‫مل‬ ‫داده‬ ‫انتقال‬ ‫فیبرنوري‬ ‫طریق‬.
148
‫زیرر‬ ‫اسرت‬ ‫داده‬ ‫انتقرال‬ ‫براي‬ ‫ایمن‬ ‫نسبتا‬ ‫روش‬ ‫یو‬ ‫فیبرنوري‬ ‫از‬ ‫استفاده‬‫بررعکس‬ ‫ا‬
‫ک‬‫مل‬ ‫رل‬‫ر‬‫حم‬ ‫رل‬‫ر‬‫الکترونیک‬ ‫هاي‬‫ریگنال‬‫ر‬‫س‬ ‫رورت‬‫ر‬‫ص‬ ‫ره‬‫ر‬‫ب‬ ‫را‬ ‫را‬‫ر‬‫دیت‬ ‫ره‬‫ر‬‫ک‬ ‫رل‬‫ر‬‫مس‬ ‫راي‬‫ر‬‫ه‬‫کابل‬‫رد‬‫ر‬‫نن‬
‫نیسرت‬ ‫پذیر‬‫آسریب‬ ‫اطالعات‬ ‫سرقت‬ ‫مقابل‬ ‫در‬ ‫فیبرنوري‬.‫ف‬ ‫کابرل‬ ‫یعنرل‬‫را‬ ‫یبرنروري‬
‫برد‬ ‫سرقت‬ ‫به‬ ‫را‬ ‫اطالعات‬ ‫و‬ ‫کرده‬ ‫قطع‬ ‫توان‬‫نمل‬.
‫ا‬ ‫رات‬‫ر‬‫ارتباط‬ ‫را‬‫ر‬‫ب‬ ‫ره‬‫ر‬‫مقایس‬ ‫در‬ ‫رژه‬‫ر‬‫وی‬ ‫ره‬‫ر‬‫ب‬ ‫رت‬‫ر‬‫اس‬ ‫آن‬ ‫رودن‬‫ر‬‫ب‬ ‫رت‬‫ر‬‫قیم‬ ‫ارزان‬ ‫رر‬‫ر‬‫دیگ‬ ‫رئله‬‫ر‬‫مس‬‫ز‬
‫ماهواره‬ ‫طریق‬.‫سر‬ ‫هراي‬‫کابل‬ ‫با‬ ‫مقایسه‬ ‫در‬ ‫فیبرنوري‬ ‫مزایاي‬ ‫از‬ ‫دیگر‬ ‫یکل‬‫و‬ ‫یمل‬
‫است‬ ‫نقطه‬ ‫دو‬ ‫بین‬ ‫آن‬ ‫تعبیه‬ ‫راحتل‬ ‫و‬ ‫بودن‬ ‫سبو‬ ‫کواکسیان‬.
149
‫تک‬ ‫بره‬ ‫نیراز‬ ‫انتقرال‬ ‫طرول‬ ‫در‬ ‫کرابلل‬ ‫هاي‬‫سیستم‬ ‫که‬ ‫است‬ ‫این‬ ‫بعدي‬ ‫نکته‬‫یرا‬ ‫رارکننرده‬
‫رت‬‫ر‬‫سیس‬ ‫رو‬‫ر‬‫ی‬ ‫رراي‬‫ر‬‫ب‬ ‫ره‬‫ر‬‫ک‬ ‫رالل‬‫ر‬‫درح‬ ‫رد‬‫ر‬‫دارن‬ ‫رواج‬‫ر‬‫ام‬ ‫رت‬‫ر‬‫تقوی‬ ‫رراي‬‫ر‬‫ب‬ ‫رادتري‬‫ر‬‫زی‬ ‫رر‬‫ر‬‫ریپیت‬‫رل‬‫ر‬‫کاب‬ ‫م‬
‫اسرت‬ ‫کمتري‬ ‫تکرارکننده‬ ‫تعداد‬ ‫دارد‬ ‫که‬ ‫کمل‬ ‫بسیار‬ ‫افت‬ ‫علت‬ ‫به‬ ‫نوري‬‫شرود‬‫مل‬ ‫فاده‬
‫پورت‬ ‫باشرد‬ ‫بیشتري‬ ‫موج‬ ‫طول‬ ‫داراي‬ ‫و‬ ‫تر‬‫خالر‬ ‫فیبر‬ ‫هرچه‬ ‫گفت‬ ‫باید‬‫نرور‬ ‫هراي‬
‫تک‬ ‫به‬ ‫نیاز‬ ‫نتیجه‬ ‫در‬ ‫و‬ ‫شود‬‫مل‬ ‫کمتر‬ ‫سیگنال‬ ‫تضعیف‬ ‫و‬ ‫جذب‬ ‫کمتري‬‫که‬ ‫رارکننده‬
‫ر‬ ‫آن‬ ،‫فیبرر‬ ‫بعردي‬ ‫قطعه‬ ‫به‬ ‫ارسال‬ ‫از‬ ‫قبل‬ ‫و‬ ‫کرده‬ ‫دریافت‬ ‫را‬ ‫سیگنال‬ ‫یو‬‫تقویرت‬ ‫ا‬
‫پایین‬ ‫سیستم‬ ‫شده‬ ‫تمام‬ ‫قیمت‬ ‫شود‬‫مل‬ ‫باع‬ ‫همین‬ ‫و‬ ‫یابد‬‫مل‬ ‫کاهش‬ ‫کند‬‫مل‬‫بیاید‬.
150
‫رد‬‫ر‬‫پذیرن‬‫مل‬ ‫راتیر‬‫ر‬‫ت‬ ‫رر‬‫ر‬‫کمت‬ ‫رل‬‫ر‬‫طبیع‬ ‫رل‬‫ر‬‫عوام‬ ‫از‬ ‫روري‬‫ر‬‫ن‬ ‫راي‬‫ر‬‫فیبره‬ ‫رر‬‫ر‬‫دیگ‬ ‫ررف‬‫ر‬‫ط‬ ‫از‬.‫ردین‬‫ر‬‫ب‬
‫رراتیر‬‫ر‬‫ت‬ ‫رری‬‫ر‬‫ه‬ ‫آن‬ ‫ررر‬‫ر‬‫ب‬ ‫رردید‬‫ر‬‫ش‬ ‫ررل‬‫ر‬‫الکتریک‬ ‫ررا‬‫ر‬‫ی‬ ‫و‬ ‫ررل‬‫ر‬‫منناطیس‬ ‫هاي‬‫رردان‬‫ر‬‫می‬ ‫رره‬‫ر‬‫ک‬ ‫ررورت‬‫ر‬‫ص‬‫ي‬
‫را‬ ‫را‬‫ر‬‫آنه‬ ‫روان‬‫ر‬‫ت‬‫مل‬ ‫رل‬‫ر‬‫دلی‬ ‫رین‬‫ر‬‫هم‬ ‫ره‬‫ر‬‫ب‬ ‫رد‬‫ر‬‫آی‬‫نمل‬ ‫ریش‬‫ر‬‫پ‬ ‫رواج‬‫ر‬‫ام‬ ‫رداخل‬‫ر‬‫ت‬ ‫رر‬‫ر‬‫خط‬ ‫و‬ ‫رذارد‬‫ر‬‫گ‬‫نمل‬
‫عبر‬ ‫بررق‬ ‫ژنراتورهراي‬ ‫یا‬ ‫قوي‬ ‫فشار‬ ‫هاي‬‫کابل‬ ‫کنار‬ ‫از‬ ‫مسل‬ ‫کابل‬ ‫برخالف‬‫داد‬ ‫ور‬.
‫بره‬ ‫روز‬ ‫بره‬ ‫روز‬ ،‫آن‬ ‫از‬ ‫ترا‬ ‫شده‬ ‫باع‬ ‫آن‬ ‫بودن‬ ‫آب‬ ‫ضد‬ ‫همچون‬ ‫خواصل‬ ‫همچنین‬
‫شود‬ ‫استفاده‬ ‫تري‬‫گسترده‬ ‫طور‬.
‫نردا‬ ‫رروکار‬‫ر‬‫س‬ ‫الکتریکرل‬ ‫سریگنال‬ ‫را‬‫ر‬‫ب‬ ‫فیبرنروري‬ ‫در‬ ‫دیگرر‬ ‫ره‬‫ر‬‫ک‬ ‫ایرن‬ ‫برراي‬‫از‬ ‫رد‬‫ر‬‫بای‬ ‫ریم‬
‫ر‬‫ر‬‫ح‬ ‫را‬‫ر‬‫ت‬ ‫ره‬‫ر‬‫ک‬ ‫ریم‬‫ر‬‫کن‬ ‫رتفاده‬‫ر‬‫اس‬ ‫روري‬‫ر‬‫ن‬ ‫رازهاي‬‫ر‬‫آشکارس‬ ‫و‬ ‫ها‬‫رده‬‫ر‬‫کنن‬‫تقویت‬ ‫رل‬‫ر‬‫مت‬ ‫رل‬‫ر‬‫ادوات‬‫دودي‬
‫است‬ ‫گران‬.
151
‫رره‬‫ر‬‫ب‬ ‫ررم‬‫ر‬‫ه‬ ‫آن‬ ‫ررات‬‫ر‬‫اطالع‬ ‫ررال‬‫ر‬‫انتق‬ ‫ررراي‬‫ر‬‫ب‬ ‫رروان‬‫ر‬‫ت‬‫مل‬ ‫ررط‬‫ر‬‫فق‬ ‫رروري‬‫ر‬‫فیبرن‬ ‫از‬ ‫ررر‬‫ر‬‫دیگ‬ ‫رروي‬‫ر‬‫س‬ ‫از‬
‫الکتریسری‬ ‫انتقال‬ ‫براي‬ ‫توان‬‫نمل‬ ‫و‬ ‫کرد‬ ‫استفاده‬ ‫نوري‬ ‫هاي‬‫شعاع‬ ‫صورت‬‫اسرتفاده‬ ‫ته‬
‫کرد‬.
‫یرو‬ ‫بره‬ ‫نیراز‬ ‫و‬ ‫گیر‬‫وقرت‬ ‫و‬ ‫مشرکل‬ ‫بسریار‬ ‫یکردیگر‬ ‫به‬ ‫فیبرنوري‬ ‫اتصال‬‫فنرل‬ ‫کرادر‬
‫اسر‬ ‫ایرن‬ ‫شرود‬‫مل‬ ‫وارد‬ ‫فیبرنروري‬ ‫به‬ ‫که‬ ‫مهمل‬ ‫ایرادهاي‬ ‫از‬ ‫یکل‬ ‫دارد‬ ‫باال‬ ‫سطت‬‫ت‬
‫ها‬‫کابل‬ ‫راحتل‬ ‫به‬ ‫که‬‫توان‬‫رانمل‬‫دا‬ ‫در‬ ‫نور‬ ‫تابش‬ ‫زاویه‬ ‫زیرا‬ ‫داد‬ ‫خم‬ ‫و‬ ‫پی‬‫آن‬ ‫خرل‬
‫آنهر‬ ‫دیگرر‬ ‫طررف‬ ‫از‬ ‫و‬ ‫شرود‬ ‫خرارج‬ ‫آن‬ ‫سطت‬ ‫از‬ ‫نور‬ ‫شود‬‫مل‬ ‫باع‬ ‫و‬ ‫کرده‬ ‫تنییر‬‫ا‬
‫اي‬‫ویرژه‬ ‫تخصر‬ ‫به‬ ‫نیاز‬ ‫آنها‬ ‫قطع‬ ‫براي‬ ‫و‬ ‫کرد‬ ‫قطع‬ ‫راحتل‬ ‫به‬ ‫توان‬‫نمل‬ ‫را‬‫اسرت‬
‫شود‬‫مل‬ ‫عو‬ ‫شکست‬ ‫زاویه‬ ‫صورت‬ ‫این‬ ‫غیر‬ ‫در‬ ‫چون‬.
152
‫ررل‬‫ر‬‫فیزیک‬ ‫رراي‬‫ر‬‫ه‬‫کمیت‬ ‫گیري‬‫رردازه‬‫ر‬‫ان‬ ‫ررراي‬‫ر‬‫ب‬ ‫رروري‬‫ر‬‫فیبرن‬ ‫ررگرهاي‬‫ر‬‫حس‬ ‫از‬ ‫ررتفاده‬‫ر‬‫اس‬‫ررد‬‫ر‬‫مانن‬
‫آ‬ ‫آلرودگل‬ ‫جابجرایل‬ ‫و‬ ‫حررارت‬ ،‫فشرار‬ ،‫منناطیسل‬ ‫میدان‬ ،‫الکتریکل‬ ‫جریان‬‫هراي‬‫ب‬
‫شر‬‫مل‬ ‫گرفته‬ ‫بهره‬ ‫ایکس‬ ‫و‬ ‫گاما‬ ‫پرتوهاي‬ ‫تشعشعات‬ ،‫مایعات‬ ‫سطت‬ ،‫دریا‬‫ود‬.‫یکرل‬
‫ج‬ ‫آن‬ ‫از‬ ‫ره‬‫ر‬‫ک‬ ‫رت‬‫ر‬‫اس‬ ‫رامل‬‫ر‬‫نظ‬ ‫و‬ ‫راعل‬‫ر‬‫دف‬ ‫رنایع‬‫ر‬‫ص‬ ‫در‬ ‫روري‬‫ر‬‫فیبرن‬ ‫را‬‫ر‬‫کاربرده‬ ‫از‬ ‫رر‬‫ر‬‫دیگ‬‫ره‬‫ر‬‫مل‬
‫موشر‬ ‫هردایت‬ ‫و‬ ‫کنترل‬ ،‫رادار‬ ‫آنتن‬ ‫با‬ ‫کنترل‬ ‫و‬ ‫ارتباط‬ ‫برقراري‬ ‫به‬ ‫توان‬‫مل‬‫و‬ ‫ها‬‫و‬
‫کرد‬ ‫اشاره‬ ‫ها‬‫زیردریایل‬ ‫ارتباط‬.‫کاربردهراي‬ ‫نیرز‬ ‫پزشکل‬ ‫در‬ ‫فیبرنوري‬‫فراوانرل‬
،‫ردن‬‫ر‬‫ب‬ ‫رل‬‫ر‬‫داخل‬ ‫هاي‬‫رایل‬‫ر‬‫نارس‬ ‫رایل‬‫ر‬‫شناس‬ ،‫ررطانل‬‫ر‬‫س‬ ‫ردد‬‫ر‬‫غ‬ ‫رري‬‫ر‬‫دزیمت‬ ‫در‬ ‫ره‬‫ر‬‫جمل‬ ‫از‬ ‫دارد‬
‫بد‬ ‫مایعات‬ ‫و‬ ‫خون‬ ‫گیري‬‫اندازه‬ ‫و‬ ‫دندانپزشکل‬ ‫در‬ ‫استفاده‬ ،‫لیزري‬ ‫جراحل‬‫ن‬.
153
‫شرربک‬ ‫از‬ ‫اسررتفاده‬ ‫اصررلل‬ ‫دالیررل‬ ‫از‬ ‫اطالعررات‬ ‫ایمنررل‬ ‫و‬ ‫زیرراد‬ ‫سرررعت‬ ‫و‬ ‫ظرفیررت‬‫ه‬
‫فیبرنوري‬‫است‬.
‫و‬ ‫نظرامل‬ ‫و‬ ‫دفاعل‬ ‫صنایع‬ ،‫فیزیکل‬ ‫هاي‬‫کمیت‬ ‫گیري‬‫اندازه‬ ‫در‬ ‫فیبرنوري‬‫پزشرکل‬
‫گرفته‬ ‫کار‬ ‫به‬‫شود‬‫مل‬.
‫مسي‬ ‫كابل‬ ‫با‬ ‫مقایسه‬ ‫در‬ ‫فیبرنوري‬ ‫مزایاي‬:
‫اشرنا‬ ‫را‬ ‫كمترري‬ ‫حجرم‬ ‫و‬ ‫اسرت‬ ‫مسرل‬ ‫كابرل‬ ‫از‬ ‫ارزانترر‬ ‫و‬ ‫تر‬ ‫سبك‬ ‫فیبرنوري‬‫مرل‬ ‫ل‬
‫كند‬.‫بط‬ ،‫اسرت‬ ‫مسرل‬ ‫كابرل‬ ‫برابرر‬ ‫هزار‬ ‫چندین‬ ‫فیبرنوري‬ ‫انتقال‬ ‫ظرفیت‬‫در‬ ‫وریكره‬
‫فیبرنوري‬ ‫تار‬ ‫یك‬ ،‫ژاپن‬ ‫كشور‬9500‫ارتباط‬‫چهرار‬ ‫حردود‬ ‫توانرد‬ ‫مرل‬ ‫درایرران‬ ‫و‬
‫كند‬ ‫برقرار‬ ‫را‬ ‫تلفنل‬ ‫ارتباط‬ ‫هزار‬.
154
،‫اسررت‬ ‫بیشررتر‬ ‫هررم‬ ‫عمرررش‬ ‫طررول‬ ‫و‬ ‫اسررت‬ ‫محیطررل‬ ‫نررویز‬ ‫اترررات‬ ‫فاقررد‬ ‫فیبرنرروري‬
‫دارد‬ ‫كمتري‬ ‫تلفات‬ ‫اطالعات‬ ‫انتقال‬ ‫در‬ ‫همچنین‬.
-‫مخابرا‬ ‫در‬:‫براال‬ ‫ظرفیرت‬ ‫و‬ ‫سررعت‬ ‫برا‬ ‫مخرابراتل‬ ‫هراي‬ ‫پیرام‬ ‫انتقرال‬ ‫براي‬‫در‬
‫ر‬‫ر‬‫همچن‬ ‫و‬ ‫اي‬ ‫ره‬‫ر‬‫رایان‬ ‫ربكه‬‫ر‬‫ش‬ ‫رات‬‫ر‬‫اطالع‬ ‫رال‬‫ر‬‫انتق‬ ‫و‬ ‫رهري‬‫ر‬‫ش‬ ‫رن‬‫ر‬‫تلف‬ ‫رز‬‫ر‬‫مراك‬ ‫رین‬‫ر‬‫ب‬ ‫راط‬‫ر‬‫ارتب‬‫ین‬
‫صورت‬ ‫به‬ ‫تلویزیونل‬ ‫ارتباط‬ ‫برقراي‬ ‫براي‬CABLE-TV
-‫پزشكي‬ ‫در‬:‫لیزري‬ ‫جراحل‬ ‫و‬ ‫اندوسكوپل‬ ‫براي‬
155
-‫درصن‬:‫شربك‬ ،‫فلرزات‬ ‫دقیرق‬ ‫بررش‬ ‫منظرور‬ ‫بره‬ ‫لیرزر‬ ‫نرور‬ ‫انتقرال‬ ‫براي‬‫بنردي‬ ‫ه‬
‫صنعتل‬ ‫هاي‬ ‫رایانه‬
-‫احساسگرها‬ ‫در‬(SENSORS)،‫بررق‬ ‫جریران‬ ‫فشرار‬ ‫گیرري‬ ‫اندازه‬ ‫منظور‬ ‫به‬
‫چرخش‬ ‫و‬ ‫شتاب‬ ،‫پالریزاسیون‬ ،‫حرارت‬
-‫نظامي‬ ‫امور‬ ‫در‬‫و‬ ‫یاب‬ ‫محل‬ ‫موشكهاي‬ ‫هدایت‬ ‫براي‬...
156
‫خالصه‬:
‫مزایای‬‫سریم‬ ‫مقابرل‬ ‫در‬ ‫فیبرنروری‬‫از‬ ‫عبارتنرد‬ ‫مسری‬ ‫هرای‬:‫پرایین‬ ‫قیمرت‬‫ترر‬‫پهنرای‬ ،
‫الکت‬ ‫کامرل‬ ‫ایزوالسریون‬ ، ‫ترزویج‬ ‫و‬ ‫تداخل‬ ‫مقابل‬ ‫در‬ ‫محافظت‬ ، ‫وسیع‬ ‫باند‬، ‫ریکری‬
، ‫کررم‬ ‫وزن‬ ، ‫بررودن‬ ‫اشررتعال‬ ‫قابررل‬ ‫غیررر‬ ، ‫خرروردگی‬ ‫رل‬‫ر‬‫مقاب‬ ‫در‬ ‫مصررونیت‬ ، ‫رت‬‫ر‬‫امنی‬
‫فرستنده‬ ، ‫پایین‬ ‫اتالف‬‫پایین‬ ‫قیمت‬ ‫با‬ ‫های‬‫پذیری‬ ‫انعطاف‬ ‫و‬ ‫تر‬.
‫پدیده‬ ‫توسط‬ ‫فیبرنوری‬ ‫در‬ ‫نور‬ ‫انتقال‬‫مری‬ ‫انجرام‬ ‫نرور‬ ‫انعکراس‬ ‫ی‬‫شرود‬.‫هنگر‬‫کره‬ ‫امی‬
‫مری‬ ‫محریط‬ ‫دو‬ ‫جردایی‬ ‫سرطت‬ ‫بره‬ ‫را‬ ‫نور‬ ‫شعاع‬ ‫یو‬‫دا‬ ‫بره‬ ‫آن‬ ‫از‬ ‫قسرمتی‬ ، ‫تابرانیم‬‫خرل‬
‫بازمیگردد‬ ‫اول‬ ‫محیط‬.‫شرد‬ ‫محبروس‬ ‫فیبرر‬ ‫داخرل‬ ‫در‬ ‫نرور‬ ، ‫عمرل‬ ‫ایرن‬ ‫تکررار‬ ‫برا‬‫و‬ ‫ه‬
‫می‬‫کرد‬ ‫منتقل‬ ‫را‬ ‫آن‬ ‫توان‬.
157
‫از‬ ‫عبارتند‬ ‫انتقال‬ ‫خط‬ ‫یو‬ ‫عناصر‬:‫ح‬ ‫مروج‬ ‫منبرع‬ ، ‫مردوالتور‬ ، ‫پیرام‬ ‫منشراء‬، ‫امرل‬
‫ررزویج‬‫ر‬‫ت‬‫ررده‬‫ر‬‫کنن‬‫ررال‬‫ر‬‫کان‬ ‫ررای‬‫ر‬‫ه‬(‫ورودی‬)‫ررزویج‬‫ر‬‫ت‬ ، ‫رراطی‬‫ر‬‫ارتب‬ ‫ررال‬‫ر‬‫کان‬ ،‫ررده‬‫ر‬‫کنن‬‫ررال‬‫ر‬‫کان‬ ‫ررای‬‫ر‬‫ه‬
(‫خروجی‬)‫خروجی‬ ‫پیام‬ ، ‫سیگنال‬ ‫پردازشگر‬ ، ‫آشکارساز‬ ،.
‫دستگاه‬ ‫به‬‫وظیفره‬ ‫که‬ ‫هایی‬‫نر‬ ‫سریگنال‬ ‫بره‬ ‫الکتریکری‬ ‫سریگنال‬ ‫تبردیل‬ ‫ی‬‫انجرام‬ ‫را‬ ‫وری‬
‫می‬‫فرستنده‬ ، ‫دهند‬‫می‬ ‫نوری‬ ‫های‬‫دسرته‬ ‫دو‬ ‫بره‬ ‫کلری‬ ‫طرور‬ ‫بره‬ ‫کره‬ ‫گوینرد‬‫دیود‬ ‫ی‬‫هرای‬
‫منتشرکننده‬‫مری‬ ‫تقسریم‬ ‫لیرزری‬ ‫دیودهرای‬ ‫و‬ ‫نور‬ ‫ی‬‫شروند‬.‫سیسرتم‬ ‫در‬‫فی‬ ‫هرای‬‫برنروری‬
‫گیرنده‬ ‫طرف‬ ‫در‬ ‫آشکارسازنوری‬ ‫نوعی‬‫شر‬ ‫مدوله‬ ‫نور‬ ‫تا‬ ‫است‬ ‫موردنیاز‬ ‫نور‬ ‫ی‬‫ده‬
‫کند‬ ‫آشکار‬ ، ‫شده‬ ‫منتشر‬ ‫فیبر‬ ‫طول‬ ‫در‬ ‫که‬ ‫را‬.‫سیگنال‬ ‫دیگر‬ ‫عبارت‬ ‫به‬‫نوری‬ ‫های‬
‫سیگنال‬ ‫به‬ ‫را‬‫نماید‬ ‫تبدیل‬ ‫الکتریکی‬ ‫های‬.
158
‫می‬ ‫تشکیل‬ ‫بخش‬ ‫دو‬ ‫از‬ ‫تارنوری‬‫شود‬:‫مر‬ ‫یو‬ ‫از‬ ‫شده‬ ‫ساخته‬ ‫پوشش‬ ‫و‬ ‫هسته‬‫اده‬‫ی‬
‫نوری‬ ‫شفاف‬(‫گداختره‬ ‫سریلیکای‬ ‫شیشه‬ ‫متال‬)‫روکرش‬ ‫و‬ ،.‫مراده‬‫سرا‬ ‫اصرلی‬ ‫ی‬‫زنده‬‫ی‬
‫کوارتز‬ ، ‫نوری‬ ‫فیبرهای‬(‫سیلیسیم‬ ‫اکسید‬SIO2)‫اسرت‬.‫را‬ ‫نروری‬ ‫فیبرر‬ ‫کابرل‬‫مری‬
‫روان‬‫ر‬‫ت‬‫از‬ ‫رد‬‫ر‬‫عبارتن‬ ‫ره‬‫ر‬‫ک‬ ‫رود‬‫ر‬‫نم‬ ‫ردی‬‫ر‬‫بن‬ ‫رته‬‫ر‬‫دس‬ ‫رت‬‫ر‬‫جه‬ ‫رد‬‫ر‬‫چن‬ ‫از‬:‫رور‬‫ر‬‫فیبرن‬ ‫رل‬‫ر‬‫کاب‬ ‫رواع‬‫ر‬‫ان‬‫از‬ ‫ی‬
‫شریوه‬ ‫نظر‬‫انتقرال‬ ‫ی‬(‫ضرری‬ ‫برا‬ ‫چندحالتره‬ ‫فیبرر‬ ‫شرامل‬ ‫چندحالتره‬ ‫فیبرهرای‬‫شکسرت‬ ‫ب‬
‫پله‬‫حالتر‬ ‫ترو‬ ‫فیبرر‬ ، ‫تردریجی‬ ‫شکسرت‬ ‫ضرریب‬ ‫برا‬ ‫چندحالتره‬ ‫فیبر‬ ، ‫ای‬‫ه‬)‫نظرر‬ ‫از‬ ،
‫حفاظرت‬(‫نروع‬LOSS BUFFER‫و‬TIGHT BUFFER)‫روکرش‬ ‫نظرر‬ ‫از‬ ،(IN
DOOR‫و‬OUT DOOR‫و‬IN DOOR – OUT DOOR.)
159
‫ماده‬ ‫نظر‬ ‫از‬‫سرازنده‬ ‫ی‬(‫فیبرنروری‬ ‫کابرل‬ ، ‫پالسرتیکی‬ ‫فیبرنروری‬ ‫کابرل‬‫شیشره‬‫و‬ ‫ای‬
‫سرخت‬ ‫پلیمرر‬ ‫برا‬ ‫نروری‬ ‫فیبرر‬ ‫کابل‬.)‫روش‬‫از‬ ‫عبارتنرد‬ ‫فیبرهرا‬ ‫سراخت‬ ‫هرای‬:‫روش‬
‫ری‬‫ر‬‫بیرون‬ ‫روب‬‫ر‬‫رس‬ ‫رامل‬‫ر‬‫ش‬ ‫رده‬‫ر‬‫ش‬ ‫د‬ ‫ره‬‫ر‬‫یافت‬ ‫روب‬‫ر‬‫رس‬ ‫ریلیس‬‫ر‬‫س‬ ‫روش‬ ، ‫راعف‬‫ر‬‫مض‬ ‫ره‬‫ر‬‫بوت‬،
‫ری‬‫ر‬‫داخل‬ ‫روب‬‫ر‬‫رس‬ ، ‫روری‬‫ر‬‫مح‬ ‫روب‬‫ر‬‫رس‬.‫ر‬‫ر‬‫ب‬ ‫رده‬‫ر‬‫ش‬ ‫رش‬‫ر‬‫پوش‬ ‫ریلیس‬‫ر‬‫س‬ ‫در‬ ‫رار‬‫ر‬‫ت‬ ‫ریدن‬‫ر‬‫کش‬ ‫روش‬‫ا‬
‫پالستیو‬.
‫در‬ ‫خصرور‬ ‫به‬ ، ‫پارامتر‬ ‫چندین‬ ‫کنترل‬ ، ‫نوری‬ ‫فیبرهای‬ ‫نصب‬ ‫هنگام‬ ‫در‬‫مرورد‬
‫اسرت‬ ‫اهمیرت‬ ‫دارای‬ ‫نصرب‬ ‫عملیرات‬ ‫و‬ ‫مسیر‬ ‫شرایط‬.‫ا‬ ‫عبارتنرد‬ ‫پارامترهرا‬ ‫ایرن‬‫ز‬:
‫رویه‬ ، ‫خاک‬ ‫نوع‬ ، ‫ناحیه‬ ‫طبیعت‬ ، ‫راه‬ ‫مسیر‬‫نصب‬ ‫ی‬.
160
‫رابط‬‫مری‬ ‫کرار‬ ‫بره‬ ‫انتقرال‬ ‫مسیرهای‬ ‫در‬ ‫نوری‬ ‫تارهای‬ ‫اتصال‬ ‫برای‬ ‫را‬ ‫ها‬، ‫برنرد‬‫بره‬
‫اتصرا‬ ‫موقرع‬ ‫در‬ ‫پرایینی‬ ‫تلرف‬ ، ‫تارهرا‬ ‫قطرع‬ ‫در‬ ‫تسرهیل‬ ‫ایجراد‬ ‫ضرمن‬ ‫که‬ ‫طوری‬‫از‬ ‫ل‬
‫آن‬ ‫طریق‬‫می‬ ‫دست‬ ‫به‬ ‫ها‬‫آید‬.
‫رط‬‫ر‬‫راب‬ ‫رن‬‫ر‬‫ای‬‫ری‬‫ر‬‫م‬ ‫ریم‬‫ر‬‫تقس‬ ‫روع‬‫ر‬‫ن‬ ‫دو‬ ‫ره‬‫ر‬‫ب‬ ‫ران‬‫ر‬‫کارش‬ ‫راس‬‫ر‬‫براس‬ ‫را‬‫ر‬‫ه‬‫روند‬‫ر‬‫ش‬.‫ر‬‫ر‬‫مبن‬ ‫رر‬‫ر‬‫ب‬ ‫اول‬ ‫روع‬‫ر‬‫ن‬‫ای‬
‫سربه‬ ‫تزویج‬ ‫براساس‬ ‫دوم‬ ‫نوع‬ ‫و‬ ، ‫عدسی‬ ‫تزویج‬‫تارهاست‬ ‫سر‬.‫ا‬ ‫دیگر‬ ‫راه‬‫تصرال‬
‫آن‬ ‫اتصال‬ ، ‫فیبرها‬‫است‬ ‫دائمی‬ ‫صورت‬ ‫به‬ ‫ها‬.‫کابل‬ ‫دائم‬ ‫اتصال‬‫فیبر‬ ‫های‬‫بره‬ ‫نروری‬
‫است‬ ‫پذیر‬ ‫امکان‬ ‫روش‬ ‫دو‬:‫هرم‬ ‫روش‬ ‫بره‬ ‫فیبرر‬ ‫دو‬ ‫دائمی‬ ‫اتصال‬‫اتصر‬ ، ‫جوشری‬‫ال‬
‫شدن‬ ‫قفل‬ ‫روش‬ ‫به‬ ‫فیبر‬ ‫دو‬ ‫دائمی‬.
161
‫منابع‬ ‫فهرست‬:
‫کتاب‬‫ها‬:
‫نوری‬ ‫فیبر‬ ‫مخابرات‬:‫پالی‬ ‫جوزف‬-‫مترجمان‬:‫دکتر‬‫مولوی‬ ‫محمد‬–‫محد‬ ‫مجتبی‬ ‫مهندس‬–
‫نوبت‬‫اول‬–1384
‫ارت‬‫ب‬‫اطات‬‫نوری‬ ‫تار‬:‫گردکارزر‬–‫مترجم‬;‫الملکی‬ ‫شهاب‬ ‫قاسم‬.–‫اول‬ ‫چا‬1375.
‫روری‬‫ر‬‫ن‬ ‫رار‬‫ر‬‫ت‬ ‫راط‬‫ر‬‫ارتب‬ ‫رای‬‫ر‬‫ه‬ ‫رتم‬‫ر‬‫سیس‬ ‫رر‬‫ر‬‫ب‬ ‫ای‬ ‫ره‬‫ر‬‫مقدم‬:‫رام‬‫ر‬‫ویلی‬‫ری‬‫ر‬‫ب‬.‫رونز‬‫ر‬‫ج‬..–‫ررجم‬‫ر‬‫مت‬;‫رهاب‬‫ر‬‫ش‬ ‫رم‬‫ر‬‫قاس‬
‫الملکی‬–‫اول‬ ‫چا‬1375.
.‫نوری‬ ‫مخابرات‬:‫سوئه‬‫ک‬ ‫ماتسو‬.‫ایگا‬-‫مترجم‬;‫جمشید‬‫نیر‬–‫اول‬ ‫چا‬-1366
‫نوری‬ ‫الکترونیو‬:‫واتسون‬–‫جان‬-‫مترجم‬;‫صیفوری‬ ‫محمودی‬ ‫دکتر‬.–، ‫اول‬ ‫چا‬1387
162
‫سای‬‫ها‬:
• WWW .agilent.com
• WWW .amp.com
• WWW .cisco.com
• WWW .corning.com
• WWW .epinion.com
• WWW .fiberopticsonline.com
• WWW .fiber-optic.info
163
‫خود‬ ‫شکیبای‬ ‫و‬ ‫صبر‬ ‫با‬ ‫که‬ ‫این‬ ‫از‬ ‫تشکر‬ ‫با‬
‫نمودید‬ ‫یاری‬ ‫لکچر‬ ‫این‬ ‫ی‬ ‫ارائه‬ ‫در‬ ‫را‬ ‫ما‬.
‫پایان‬
164

Lecture fiber optic

  • 1.
    ‫رشت‬ ‫پسران‬ ‫ای‬‫حرفه‬ ‫فنی‬ ‫آموزشکده‬ (‫چمران‬ ‫شهید‬) ‫عنوان‬:‫نوری‬ ‫فیبر‬ ‫نویسنده‬:‫مصطفی‬ ‫سامان‬ ‫راهنما‬ ‫استاد‬:‫غالمی‬ ‫احمد‬ ‫مهندس‬ ‫جناب‬ 1
  • 2.
    ‫فهرست‬: 5……………………………………………………………………………… 8……..…………………………………………………………………………………………… 10………………………………………………………………………….......... 11……………………………………………………………………………………. 25………………………………………………………………………………….... 27…………………………………………………………………………….. 31……………………………………………………………………….. 32…………………………………………………………………………………………… 34………………………………………………………………………………… 34…………………………………………………………………………….......... ‫اول‬ ‫فصل‬:‫نوری‬ ‫فیبر‬‫با‬ ‫آشنای‬ 1-1‫تاریخچه‬ 1-2‫چیست؟‬ ‫نوری‬ ‫فیبر‬ 1-3‫نوری‬ ‫فیبر‬ ‫مزایای‬ 1-4‫نوری‬ ‫فیبر‬ ‫معایب‬ 1-5‫نوری‬ ‫فیبر‬ ‫های‬ ‫کاربرد‬ ‫دوم‬ ‫فصل‬:‫نوری‬ ‫های‬ ‫فیبر‬ ‫فیزیک‬ 2-1‫چیست؟‬ ‫نور‬ 2-2‫نور‬ ‫قوانین‬ ‫و‬ ‫تعاریف‬ 2-2-1‫شکست‬ ‫ضریب‬ 2
  • 3.
    37……………………………………………………………………………. 39…………………………………………………………………………………………. 41……………………………………….……… 43…………………………………………………………………..………. 45…………………………………………………………………………….……….. 47…………………………………………………………………....……. 48…………………………………………………………………….……………. 51…………………………………………………………………...….. 52………………..………………………………………………………………….… 54…………………………………………...…. 60………………….………...…………………………………. 63……..…………………………………………….……. 2-2-2‫انکسار‬ ‫و‬ ‫تابش،انعکاس‬ 2-2-3‫اسنل‬‫قوانین‬ 2-3‫مختلف‬ ‫محیط‬ ‫دو‬ ‫در‬ ‫نور‬ ‫تابش‬ ‫مختلف‬ ‫های‬ ‫حالت‬ 2-4‫نوری‬ ‫فیبر‬ ‫در‬ ‫نور‬ ‫انتقال‬ 2-5‫پزیرش‬ ‫ی‬ ‫زاویه‬ ‫سوم‬ ‫فصل‬:‫نوری‬ ‫فیبر‬ ‫ساختمان‬ 3-1‫نوری‬ ‫فیبر‬ ‫ساختمان‬ 3-2‫گداخته‬ ‫سلیکای‬ ‫خصوصیات‬ 3-3‫نوری‬ ‫فیبر‬ ‫انواع‬ 3-3-1‫آن‬ ‫از‬ ‫گذرنده‬ ‫ی‬ ‫اشعه‬ ‫نظر‬ ‫از‬ ‫نوری‬ ‫فیبر‬ ‫انواع‬ 3-3-2‫نظر‬ ‫از‬ ‫نوری‬ ‫فیبر‬ ‫انواع‬‫حفاظت‬ 3-3-3‫نظر‬ ‫از‬ ‫نوری‬ ‫فیبر‬ ‫انواع‬‫استفاده‬ ‫محل‬ 3
  • 4.
    70………………………………………………… 83……………………………………………………………………. 91……………………………………………………………………….. 92………………………………………………………………………………….. 94……………………………………………………………………………………………. 95………………………………………………………………………………………........ 98……………………………………………………………………………………... 99…………………………………………………………………….... 100…………………………………………………………………………………….. 100……………………………………………………………………. 102…………………………………………………………………………………………. 3-3-4‫نظر‬ ‫از‬ ‫نوری‬‫فیبر‬ ‫انواع‬‫آن‬ ‫ی‬ ‫سازنده‬ ‫ی‬ ‫ماده‬ 3-4‫میشود‬ ‫ساخته‬ ‫چگونه‬ ‫نوری‬ ‫فیبر‬ ‫چهارم‬ ‫فصل‬:‫پیام‬ ‫انتقال‬ ‫چگونگی‬ 4-1‫پیام‬ ‫انتقال‬ ‫چگونگی‬ 4-1-1‫پیام‬ ‫منشاء‬ 4-1-2‫مدوالتور‬ 4-1-3‫حامل‬ ‫نور‬ ‫منبع‬ 4-1-4‫کانال‬ ‫کننده‬ ‫تزویج‬(‫ورودی‬) 4-1-5‫ارتباطی‬ ‫کانال‬ 4-1-6‫کانال‬ ‫کننده‬ ‫تزویج‬(‫خروجی‬) 4-1-7‫ساز‬ ‫آشکار‬ 4
  • 5.
    104………………………………………………………………………..……… 106………………….…………………………………………………………………… 108……………………………………….…………………………… 114……………………………………… 116……........…….………………………………………………………. 119……………………………….................................................... 120……………………………….. 126………………………………………………………………... 129…………………………………………………………………………..... 131………………………………………………………………….…… 132……………………………………………………………………………….… 4-1-8‫سیگنال‬ ‫پردازشگر‬ 4-1-9‫خروجی‬ ‫پیام‬ 4-2‫نوری‬‫فیبر‬ ‫انتقال‬ ‫خط‬ ‫عناصر‬ 4-3‫نوری‬ ‫فیبر‬ ‫ی‬ ‫شبکه‬ ‫در‬ ‫داده‬ ‫کننده‬ ‫توزیع‬ ‫رابطه‬((FDDI 4-4‫سنکرون‬ ‫نوری‬ ‫ی‬ ‫شبکه‬ 4-5‫نوری‬ ‫های‬ ‫فرستنده‬ 4-5-1‫نوری‬ ‫های‬ ‫سیستم‬ ‫در‬ ‫استفاده‬ ‫مورد‬ ‫نور‬ ‫منابع‬ ‫های‬ ‫ویژگی‬ 4-5-2‫معمولی‬ ‫نور‬ ‫و‬ ‫لیزر‬ ‫نور‬ ‫تفاوت‬ 4-6‫نوری‬ ‫های‬ ‫ساز‬ ‫آشکار‬ ‫پنجم‬ ‫فصل‬:‫کابل‬ ‫ی‬ ‫شبکه‬ ‫طراحی‬ 5-1‫کابل‬ ‫شبکه‬ ‫طراحی‬ 5
  • 6.
    132………………………………………………………………………. 138…………………………………………………………………………….…………... 139……………………………………………………………………………... 140…………………………………………………………………………… 142…………………………………………………………. 145………………………………. 146.................................... 148………………………………...……………………………………………………………… 157………………………………………………………………………………………………......... 162……………………………………………………………………………………………………...... 5-2‫طراحی‬ ‫های‬ ‫جنبه‬‫مکانیکی‬ 5-3‫کننده‬‫تزویج‬ 5-3-1‫عدسی‬ ‫کننده‬ ‫تزویج‬ 5-3-2‫سر‬ ‫به‬ ‫سر‬ ‫کننده‬ ‫تزویج‬ 5-4‫دائیم‬ ‫صورت‬ ‫به‬ ‫نوری‬ ‫فیبرهای‬ ‫اتصال‬ 5-4-1‫صورت‬ ‫به‬ ‫نوری‬ ‫فیبرهای‬ ‫اتصال‬‫جوش‬ ‫هم‬ ‫روش‬ ‫به‬ ‫دائیم‬‫ی‬ 5-4-2‫صورت‬ ‫به‬ ‫نوری‬ ‫فیبرهای‬ ‫اتصال‬‫ش‬ ‫قفل‬ ‫روش‬ ‫به‬ ‫دائیم‬‫دن‬ ‫گیری‬ ‫نتیجه‬ ‫خالصه‬ ‫منابع‬ 6
  • 7.
  • 8.
    1-1‫تاریخچه‬: •‫ا‬ ‫یرا‬ ‫و‬‫و‬ ‫آترش‬ ‫مترل‬ ‫هرایل‬ ‫شریوه‬ ‫از‬ ‫ارتبراط‬ ‫برقرراري‬ ‫براي‬ ‫نخستین‬ ‫انسان‬‫نعكراس‬ ‫است‬ ‫برده‬ ‫بهره‬ ‫آن‬ ‫نظایر‬ ‫و‬ ‫آیینه‬ ‫توسط‬ ‫خورشید‬ ‫نور‬. •‫عدسرل‬ ‫از‬ ‫اسرتفاده‬ ‫برا‬ ‫آن‬ ‫داخرل‬ ‫در‬ ‫نرور‬ ‫هردایت‬ ‫برراي‬ ‫كانرال‬ ‫و‬ ‫لولره‬ ‫از‬ ‫استفاده‬‫و‬ ‫بود‬ ‫بعدي‬ ‫روش‬ ‫آینه‬. •‫رررن‬‫ر‬‫ق‬ ‫در‬19‫ررال‬‫ر‬‫س‬ ‫در‬ ‫و‬ ‫آب‬ ‫ي‬ ‫رره‬‫ر‬‫لول‬ ‫ررل‬‫ر‬‫داخ‬ ‫در‬ ‫ررال‬‫ر‬‫انتق‬ ‫ررط‬‫ر‬‫خ‬1930‫رران‬‫ر‬‫آلم‬ ‫در‬ ‫شد‬ ‫محقق‬ ‫اي‬ ‫شیشه‬ ‫تار‬ ‫داخل‬ ‫در‬ ‫نور‬ ‫هدایت‬. •‫سال‬ ‫در‬1958‫و‬ ‫دیگر‬ ‫نوع‬ ‫از‬ ‫اي‬ ‫شیشه‬ ‫با‬ ‫اي‬ ‫شیشه‬ ‫تار‬ ‫اطراف‬ ‫پوشانیدن‬‫در‬ ‫سال‬1960‫پیوست‬ ‫حقیقت‬ ‫به‬ ‫ژاپن‬ ‫در‬ ‫نوري‬ ‫تار‬ ‫تولید‬. 8
  • 9.
    •‫سال‬ ‫از‬1966‫و‬ ‫ژاپن‬‫در‬ ‫نوري‬ ‫مخابرات‬ ‫در‬ ‫هادي‬ ‫نیمه‬ ‫لیزر‬ ‫كاربرد‬ ‫كنون‬ ‫تا‬ ‫است‬ ‫گرفته‬ ‫قرار‬ ‫توجه‬ ‫مورد‬ ‫آمریكا‬. •‫ررال‬‫ر‬‫س‬ ‫در‬1970‫ررل‬‫ر‬‫حاص‬ ‫ررر‬‫ر‬‫بزرگت‬ ‫ررل‬‫ر‬‫آرزوی‬ ‫رره‬‫ر‬‫ب‬ ‫رریدن‬‫ر‬‫رس‬ ‫ررراي‬‫ر‬‫ب‬ ‫ررزر‬‫ر‬‫ب‬ ‫رروفقیتی‬‫ر‬‫م‬ ‫شد‬‫؛‬‫عنر‬ ‫بره‬ ‫را‬ ‫شیشه‬ ‫از‬ ‫استفاده‬ ‫بار‬ ‫اولین‬ ‫براي‬ ‫انگلیسل‬ ‫كوكهام‬ ‫كائو‬‫محریط‬ ‫وان‬ ‫ساختند‬ ‫مطرح‬ ‫انتشار‬. •‫ررد‬‫ر‬‫بان‬ ‫رراي‬‫ر‬‫پهن‬ ، ‫رروري‬‫ر‬‫ن‬ ‫رراي‬‫ر‬‫فیبره‬ ‫در‬ ‫ررالر‬‫ر‬‫خ‬ ‫رراي‬‫ر‬‫ه‬ ‫رره‬‫ر‬‫شیش‬ ‫از‬ ‫ررتفاده‬‫ر‬‫اس‬ ‫ررروزه‬‫ر‬‫ام‬ ‫مل‬ ‫عرضه‬ ‫را‬ ‫نامحدودي‬‫ساما‬ ‫تمام‬ ‫به‬ ‫نسبت‬ ‫را‬ ‫نظیري‬ ‫بل‬ ‫هاي‬ ‫مزیت‬ ‫و‬ ‫کند‬‫نه‬ ‫اند‬ ‫آورده‬ ‫وجود‬ ‫به‬ ، ‫آن‬ ‫از‬ ‫قبل‬ ‫انتقال‬ ‫ي‬ ‫ها‬. 9
  • 10.
    1-2‫چیست؟‬ ‫نوری‬ ‫فیبر‬ •‫نروری‬‫ترار‬ ‫یرا‬ ‫نروری‬ ‫فیبرر‬(Optical Fiber)‫؛‬‫یرو‬ ‫از‬ ‫بلنردی‬ ‫و‬ ‫باریرو‬ ‫رشرته‬ ‫ی‬ ‫از‬ ‫که‬ ‫را‬ ‫نوری‬ ‫تواند‬‫می‬ ‫که‬ ‫است‬ ‫پالستیو‬ ‫یا‬ ‫شیشه‬ ‫متل‬ ‫شفاف‬ ‫ه‬ّ‫د‬‫ما‬‫سررش‬ ‫و‬ ‫کند‬ ‫خارج‬ ‫دیگر‬ ‫سر‬ ‫از‬ ،‫شده‬ ‫وارد‬ ‫آن‬ ‫به‬. •‫با‬‫می‬ ‫معمولی‬ ‫های‬‫کابل‬ ‫از‬ ‫باالتر‬ ‫بسیار‬ ‫باند‬ ‫پهنای‬ ‫داری‬ ‫نوری‬ ‫فیبر‬‫فیبر‬ ‫با‬ ،‫شد‬ ‫پهنر‬ ‫با‬ ‫راحتی‬ ‫به‬ ‫را‬ ‫دیگر‬ ‫های‬‫داده‬ ‫و‬ ‫صوت‬ ،‫تصویر‬ ‫های‬‫داده‬ ‫توان‬‫می‬ ‫نوری‬‫ای‬ ‫تا‬ ‫باال‬ ‫باند‬۱۰‫داد‬ ‫انتقال‬ ‫باالتر‬ ‫و‬ ‫تانیه‬ ‫بر‬ ‫گیگابیت‬. •‫دلیررل‬ ‫برره‬ ،‫نرروری‬ ‫فیبررر‬ ‫مخررابرات‬ ‫امررروزه‬‫تر‬ ‫وساای‬ ‫بانااد‬ ‫پهنااای‬‫برر‬ ‫مقایسرره‬ ‫در‬‫ا‬ ‫و‬ ،‫مسی‬ ‫های‬‫کابل‬‫کمتر‬ ‫تاخیر‬‫مهمترری‬ ‫از‬ ‫ای‬ ‫مراهواره‬ ‫مخرابرات‬ ‫برا‬ ‫مقایسه‬ ‫در‬‫ن‬ ‫شود‬‫می‬ ‫محسوب‬ ‫اطالعات‬ ‫انتقال‬ ‫ابزار‬. 10
  • 11.
    1-3‫نوری‬ ‫های‬ ‫تار‬‫مزایای‬: 8.‫بودن‬ ‫اشتعال‬ ‫قابل‬ ‫غیر‬ 9.‫کوچو‬ ‫قطر‬ ‫و‬ ‫کم‬ ‫وزن‬ 10.‫پایین‬ ‫اتالف‬ 11.‫تر‬ ‫آسان‬ ‫نگهداری‬ ‫و‬ ‫نصب‬ 12.‫کمتر‬ ‫قیمت‬ ‫با‬ ‫هایی‬ ‫فرستنده‬ 13.‫پذیری‬ ‫انعطاف‬ 1.‫پایین‬ ‫قیمت‬ 2.‫استحکام‬‫کششی‬‫مناسب‬ 3.‫پهنای‬‫باند‬‫وسیع‬ 4.‫محافظت‬‫و‬ ‫تداخل‬ ‫مقابل‬ ‫در‬‫ت‬‫ز‬‫ویج‬ 5.‫ایزو‬‫کامل‬ ‫السیون‬‫الکتریکی‬ 6.‫ا‬‫منیت‬ 7.‫مصونیت‬‫خوردگ‬ ‫مقابل‬ ‫در‬‫ی‬ 11
  • 12.
    1(‫پایین‬ ‫قیمت‬: •‫رت‬‫ر‬‫اس‬ ‫ریلیکون‬‫ر‬‫س‬‫رید‬‫ر‬‫اکس‬ ‫ای‬ ‫ره‬‫ر‬‫شیش‬ ‫رای‬‫ر‬‫ه‬ ‫رار‬‫ر‬‫ت‬ ‫ررای‬‫ر‬‫ب‬ ‫رلی‬‫ر‬‫اص‬ ‫ی‬ ‫راده‬‫ر‬‫م‬‫و‬‫ر‬‫ر‬‫اص‬ ‫رع‬‫ر‬‫منب‬‫لی‬ ‫رت‬‫ر‬‫اس‬ ‫ره‬‫ر‬‫ماس‬ ‫و‬ ‫رن‬‫ر‬‫ش‬ ‫و‬ ‫رنش‬‫ر‬‫س‬ ، ‫ریلیکا‬‫ر‬‫س‬.‫ر‬‫ر‬‫ن‬ ‫رر‬‫ر‬‫فیب‬ ‫راي‬‫ر‬‫ه‬ ‫رل‬‫ر‬‫کاب‬ ‫رت‬‫ر‬‫قیم‬ ‫ره‬‫ر‬‫نتیج‬ ‫در‬‫وري‬ ‫شود‬ ‫می‬ ‫تمام‬ ‫مسی‬ ‫هاي‬ ‫کابل‬ ‫از‬ ‫ارزانتر‬ ‫بسیار‬. •‫بعضی‬‫پالستیو‬ ‫از‬ ‫نوری‬ ‫های‬ ‫تار‬ ‫از‬‫شفاف‬‫شروند‬ ‫مری‬ ‫ساخته‬‫کره‬‫سر‬ ‫بره‬‫هولت‬ ‫رترس‬‫ر‬‫دس‬ ‫در‬‫رت‬‫ر‬‫اس‬‫ر‬‫ر‬‫شیش‬ ‫روری‬‫ر‬‫ن‬ ‫رر‬‫ر‬‫فیب‬ ‫از‬ ‫رر‬‫ر‬‫ت‬ ‫ارزان‬ ‫روری‬‫ر‬‫فیبرن‬ ‫از‬ ‫روع‬‫ر‬‫ن‬ ‫رن‬‫ر‬‫،ای‬‫ای‬ ‫ه‬ ‫است‬. 12
  • 13.
    2(‫مناسب‬ ‫کششی‬ ‫استحکام‬: ‫ترار‬‫انتقرال‬ ‫خرط‬ ‫یرو‬ ‫کششری‬ ‫استحکام‬ ، ‫پالستیکی‬ ‫روکش‬ ‫کردن‬ ‫اضافه‬‫زیراد‬ ‫را‬ ‫ی‬ ‫میکند‬.‫م‬ ‫توان‬ ‫می‬ ‫استحکام‬ ‫کردن‬ ‫بیشتر‬ ‫هم‬ ‫باز‬ ‫برای‬ ، ‫لزوم‬ ‫صورت‬ ‫در‬‫های‬ ‫یله‬ ‫داد‬ ‫ررررار‬‫ر‬‫ق‬ ‫رررتیکی‬‫ر‬‫پالس‬ ‫رررل‬‫ر‬‫کاب‬ ‫رررل‬‫ر‬‫داخ‬ ‫در‬ ‫رررزی‬‫ر‬‫فل‬.‫رررر‬‫ر‬‫دیگ‬ ‫ی‬ ‫رررده‬‫ر‬‫کنن‬ ‫رررم‬‫ر‬‫محک‬ ‫ی‬ ‫ررراده‬‫ر‬‫م‬ ‫کوالر‬(Kevlar)‫مری‬ ‫زیراد‬ ‫اسرتحکام‬ ‫برا‬ ، ‫ترکیبری‬ ‫پلیمرری‬ ‫تار‬ ‫یو‬ ‫که‬ ‫است‬‫باشرد‬. ‫ن‬ ‫بسریار‬ ‫نروری‬ ‫ترار‬ ‫هرای‬ ‫کابرل‬ ،‫شیشره‬ ‫شرکنندگی‬ ‫آشکار‬ ‫طبیعت‬ ‫علیرغم‬‫و‬ ‫یرومنرد‬ ‫هستند‬ ‫بکارگیری‬ ‫قابل‬. 13
  • 14.
    (3‫وسیع‬ ‫باند‬ ‫پهنای‬: ‫یکی‬،‫زیراد‬ ‫مقردار‬ ‫به‬ ‫اطالعات‬ ‫انتقال‬ ‫در‬ ‫آنها‬ ‫توانایی‬ ، ‫نوری‬ ‫تار‬ ‫مزایای‬ ‫از‬‫چره‬ ‫باشرد‬ ‫مری‬ ، ‫آنرالو‬ ‫شرکل‬ ‫بره‬ ‫چره‬ ‫و‬ ‫دیجیترال‬ ‫شکل‬ ‫به‬.‫تر‬ ‫یرو‬ ، ‫مترال‬ ‫عنروان‬ ‫بره‬‫ار‬ ‫میرزان‬ ‫برا‬ ‫را‬ ‫هرا‬ ‫داده‬ ‫توانرد‬ ‫مری‬ ‫تلفنری‬ ‫خردمات‬ ‫بررای‬ ‫شرده‬ ‫ساخته‬ ‫نوع‬ ‫از‬ ‫واحد‬T3 ‫ری‬‫ر‬‫یعن‬4407‫رد‬‫ر‬‫کن‬ ‫ردایت‬‫ر‬‫ه‬ ، ‫ره‬‫ر‬‫تانی‬ ‫رر‬‫ر‬‫ب‬ ‫رت‬‫ر‬‫بی‬ ‫را‬‫ر‬‫مگ‬.‫رار‬‫ر‬‫ت‬ ‫رن‬‫ر‬‫ای‬672‫را‬ ‫روتی‬‫ر‬‫ص‬ ‫رال‬‫ر‬‫کان‬ ‫کند‬ ‫می‬ ‫ارسال‬.‫با‬ ‫می‬ ‫دسترس‬ ‫در‬ ‫هم‬ ‫این‬ ‫از‬ ‫بیش‬ ‫حتی‬ ‫ظرفیت‬ ‫با‬ ‫های‬ ‫تار‬‫شند‬. 14
  • 15.
    (4‫محافظت‬‫و‬ ‫تداخل‬ ‫مقابل‬‫در‬‫ت‬‫ز‬‫ویج‬: ‫رتند‬‫ر‬‫هس‬ ‫رایق‬‫ر‬‫ع‬ ، ‫رتیو‬‫ر‬‫پالس‬ ‫را‬‫ر‬‫ی‬ ‫ره‬‫ر‬‫شیش‬ ،‫روری‬‫ر‬‫ن‬ ‫رای‬‫ر‬‫ه‬ ‫رار‬‫ر‬‫ت‬.‫د‬ ‫ری‬‫ر‬‫الکتریک‬ ‫ران‬‫ر‬‫جری‬‫رر‬‫ر‬‫ات‬ ‫ر‬ ‫ک‬ ‫مری‬ ‫برخرورد‬ ‫ترار‬ ‫به‬ ‫که‬ ‫خارجی‬ ‫تشعشعات‬ ‫اتر‬ ‫در‬ ‫یا‬ ‫و‬ ‫ارسالی‬ ‫سیگنال‬‫از‬ ، ‫ننرد‬ ‫گذرد‬ ‫نمی‬ ‫آن‬.‫هری‬ ‫بنرابراین‬ ،‫اسرت‬ ‫محبروس‬ ‫ترار‬ ‫داخرل‬ ‫در‬ ‫نوری‬ ‫موج‬ ،‫عالوه‬ ‫به‬ ‫د‬ ‫موجرود‬ ‫هرای‬ ‫سریگنال‬ ‫برا‬ ‫کره‬ ‫کنرد‬ ‫نمری‬ ‫نشرت‬ ‫بیررون‬ ‫بره‬ ‫نروری‬ ‫موج‬ ‫از‬ ‫تعدادی‬‫ر‬ ‫رد‬‫ر‬‫نمای‬ ‫رداخل‬‫ر‬‫ت‬ ‫را‬‫ر‬‫ه‬ ‫رار‬‫ر‬‫ت‬ ‫رایر‬‫ر‬‫س‬.‫آن‬ ‫رل‬‫ر‬‫داخ‬ ‫ره‬‫ر‬‫ب‬ ‫رار‬‫ر‬‫ت‬ ‫رار‬‫ر‬‫کن‬ ‫از‬ ‫رد‬‫ر‬‫توان‬ ‫ری‬‫ر‬‫نم‬ ‫رور‬‫ر‬‫عکس،ن‬ ‫رر‬‫ر‬‫ب‬ ‫شود‬ ‫تزویج‬.‫ک‬ ‫سرایر‬ ‫برا‬ ‫ترزویج‬ ‫و‬ ‫تداخل‬ ‫از‬ ‫تار‬ ‫یو‬ ‫که‬ ‫گیریم‬ ‫می‬ ‫نتیجه‬‫هرای‬ ‫انرال‬ ‫باشد‬ ‫شده‬ ‫محافظت‬ ‫خوبی‬ ‫به‬ ، ‫الکتریکی‬ ‫خواه‬ ‫و‬ ‫نوری‬ ‫خواه‬ ، ‫ارتباطی‬. 15
  • 16.
    (5‫الکتریکی‬ ‫کامل‬ ‫السیون‬‫ایزو‬: ‫براالخره‬ ‫و‬ ‫کنرد‬ ‫حرکرت‬ ‫سریم‬ ‫طرول‬ ‫در‬ ‫مایرل‬ ‫چنردین‬ ‫تواند‬ ‫می‬ ‫ولتاژ‬ ‫پالس‬(‫بره‬‫دلیرل‬ ‫دارد‬ ‫که‬ ‫توانی‬)‫کنرد‬ ‫خرراب‬ ‫را‬ ‫مسریر‬ ‫انتهای‬ ‫در‬ ‫موجود‬ ‫الکتریکی‬ ‫های‬ ‫ابزار‬.‫در‬ ‫سریم‬ ‫ارتبراطی‬ ‫خرط‬ ‫یرو‬ ،‫دارند‬ ‫وجود‬ ‫باال‬ ‫ولتاژ‬ ‫خطوط‬ ‫آنها‬ ‫در‬ ‫که‬ ‫هایی‬ ‫محیط‬‫س‬ ‫خسر‬ ‫و‬ ‫کنرد‬ ‫کوتراه‬ ‫اتصرال‬ ‫را‬ ‫آنهرا‬ ‫خطوط‬ ‫این‬ ‫روی‬ ‫افتادن‬ ‫با‬ ‫تواند‬ ‫می‬ ‫احتماأل‬‫ارت‬ ‫آورد‬ ‫برار‬ ‫بره‬ ‫تروجهی‬ ‫قابل‬ ‫های‬.‫اسرت‬ ‫منتفری‬ ‫هرا‬ ‫ترار‬ ‫وجرود‬ ‫برا‬ ‫مسرئله‬ ‫ایرن‬.‫مزیر‬‫ت‬ ‫ی‬ ‫فرستنده‬ ‫بین‬ ‫مشترک‬ ‫زمین‬ ‫به‬ ‫نیاز‬ ‫نوری‬ ‫تزویج‬ ‫که‬ ‫است‬ ‫این‬ ‫دیگر‬‫نروری‬ ‫تار‬ ‫رد‬‫ر‬‫کن‬ ‫ری‬‫ر‬‫م‬ ‫ری‬‫ر‬‫منتف‬ ‫را‬ ‫رده‬‫ر‬‫گیرن‬ ‫و‬.‫سی‬ ‫ره‬‫ر‬‫ک‬ ‫رالی‬‫ر‬‫ح‬ ‫در‬ ‫رار‬‫ر‬‫ت‬ ‫رر‬‫ر‬‫تعمی‬ ‫ران‬‫ر‬‫امک‬ ،‫رالوه‬‫ر‬‫ع‬ ‫ره‬‫ر‬‫ب‬‫رتم‬‫ر‬‫س‬ ‫فرسر‬ ‫الکتریکری‬ ‫مردار‬ ‫شدن‬ ‫کوتاه‬ ‫اتصال‬ ‫احتمال‬ ‫آنکه‬ ‫بدون‬ ،‫است‬ ‫روشن‬‫یرا‬ ‫و‬ ‫تنده‬ ‫دارد‬ ‫وجود‬ ،‫باشد‬ ‫گیرنده‬.‫کابرل‬ ‫یو‬ ‫تعمیر‬ ‫موقع‬ ‫در‬ ‫است‬ ‫ممکن‬ ‫مشکل‬ ‫این‬‫فلرزی‬ ‫دهد‬ ‫رخ‬. 16
  • 17.
    (6‫امنیت‬: ‫کنند‬ ‫می‬ ‫عرضه‬‫را‬ ‫بودن‬ ‫پنهان‬ ‫و‬ ‫امنیت‬ ‫از‬ ‫ای‬ ‫درجه‬ ‫تارها‬.‫انرژی‬ ‫ها‬ ‫تار‬ ‫چون‬ ‫مشک‬ ‫ارسالی‬ ‫سیگنال‬ ‫سازی‬ ‫آشکار‬ ، ‫مزاحم‬ ‫یو‬ ‫برای‬ ،‫کنند‬ ‫نمی‬ ‫تشعشع‬‫است‬ ‫ل‬. ‫شکسر‬ ‫فیزیکری‬ ‫طرور‬ ‫به‬ ‫بایستی‬ ‫می‬ ‫تار‬ ، ‫سیگنال‬ ‫به‬ ‫دسترسی‬ ‫برای‬‫شرود‬ ‫ته‬.‫قطرع‬ ‫ر‬ ‫پرترو‬ ‫بره‬ ‫دسترسری‬ ، ‫کننرده‬ ‫ارسرال‬ ‫ترار‬ ‫بره‬ ‫جدیرد‬ ‫تار‬ ‫یو‬ ‫اتصال‬ ‫یا‬ ،‫تار‬‫ممکرن‬ ‫ا‬ ‫سازد‬ ‫می‬.‫افرت‬ ‫گیرنرده‬ ‫بره‬ ‫رسریده‬ ‫قردرت‬ ، ‫خرط‬ ‫روی‬ ‫اصرالحاتی‬ ‫چنرین‬ ‫خرالل‬ ‫در‬ ‫کند‬ ‫می‬.‫و‬ ‫بگیررد‬ ‫انردازه‬ ‫را‬ ‫تضرعیف‬ ‫ایرن‬ ‫توانرد‬ ‫مری‬ ‫حساس‬ ‫ی‬ ‫گیرنده‬ ‫یو‬‫وجرود‬ ‫دهررد‬ ‫خبررر‬ ‫را‬ ‫مررزاحم‬.‫مزاحمررت‬ ، ‫سررازی‬ ‫آشررکار‬ ‫در‬ ‫موفقیررت‬ ‫دادن‬ ‫بهبررود‬ ‫برررای‬ ‫باشد‬ ‫نظر‬ ‫تحت‬ ‫باید‬ ‫مداوم‬ ‫طور‬ ‫به‬ ‫سیستم‬. 17
  • 18.
    (7‫مصونیت‬‫مقابل‬ ‫در‬‫خوردگی‬: ‫مرس‬ ‫جرایگزین‬‫کره‬ ‫ای‬ ‫شیشره‬ ‫بررای‬ ، ‫شریمیایی‬ ‫مرواد‬ ‫یا‬ ‫آب‬ ‫دلیل‬ ‫به‬ ‫خوردگی‬‫شرده‬ ‫است‬ ‫تر‬ ‫اهمیت‬ ‫بی‬ ‫مراتب‬ ‫به‬ ‫است‬.‫نفر‬ ‫شیشره‬ ‫بره‬ ‫نبایسرتی‬ ‫آب‬ ‫حرال‬ ‫هرر‬ ‫به‬‫کنرد‬ ‫وذ‬. ‫کر‬ ‫گیرنرد‬ ‫مری‬ ‫قررار‬ ‫هرایی‬ ‫کابرل‬ ‫داخرل‬ ‫در‬ ‫تارها‬ ، ‫دریایی‬ ‫زیر‬ ‫های‬ ‫کاربرد‬ ‫برای‬‫ه‬ ‫کنند‬ ‫می‬ ‫محافظت‬ ‫آب‬ ‫مقابل‬ ‫در‬ ‫را‬ ‫آنها‬. 18
  • 19.
    (8‫غیر‬‫بودن‬ ‫اشتعال‬ ‫قابل‬: ‫ردون‬‫ر‬‫ب‬‫را‬ ‫ردیدی‬‫ر‬‫ش‬ ‫هرای‬ ‫ررارت‬‫ر‬‫ح‬ ‫ره‬‫ر‬‫درج‬ ‫تواننرد‬ ‫ری‬‫ر‬‫م‬ ‫ران‬‫ر‬‫خودش‬ ، ‫ای‬ ‫شیشره‬ ‫رای‬‫ر‬‫ه‬ ‫ترار‬ ‫نمایند‬ ‫تحمل‬ ، ‫شوند‬ ‫خراب‬ ‫آنکه‬.‫بره‬ ‫نزدیرو‬ ‫هایی‬ ‫حرارت‬ ‫درجه‬800‫ی‬ ‫درجره‬ ‫گرذارد‬ ‫نمری‬ ‫ای‬ ‫شیشره‬ ‫تار‬ ‫روی‬ ‫اتری‬ ، ‫گراد‬ ‫سانتی‬.‫الکتری‬ ‫چرون‬ ، ‫همچنرین‬‫سریته‬ ‫ر‬‫ر‬‫پ‬ ‫روزی‬‫ر‬‫س‬ ‫رش‬‫ر‬‫آت‬ ‫رروز‬‫ر‬‫ب‬ ‫ران‬‫ر‬‫امک‬ ‫رابراین‬‫ر‬‫بن‬ ، ‫رد‬‫ر‬‫کن‬ ‫ری‬‫ر‬‫نم‬ ‫رور‬‫ر‬‫عب‬ ‫روری‬‫ر‬‫ن‬ ‫رای‬‫ر‬‫ه‬ ‫رر‬‫ر‬‫فیب‬ ‫از‬‫ایین‬ ‫است‬. 19
  • 20.
    (9‫وزن‬‫کوچک‬ ‫قطر‬ ‫و‬‫کم‬: ‫رت‬‫ر‬‫مزی‬‫رود‬‫ر‬‫میش‬ ‫ر‬‫ر‬‫باع‬ ‫ره‬‫ر‬‫ک‬ ‫رت‬‫ر‬‫آنهاس‬ ‫رر‬‫ر‬‫قط‬ ‫رودن‬‫ر‬‫ب‬ ‫رو‬‫ر‬‫کوچ‬ ، ‫روری‬‫ر‬‫ن‬ ‫رای‬‫ر‬‫ه‬ ‫رر‬‫ر‬‫فیب‬ ‫رر‬‫ر‬‫دیگ‬ ‫رد‬‫ر‬‫کنن‬ ‫رنال‬‫ر‬‫اش‬ ‫رری‬‫ر‬‫کمت‬ ‫رای‬‫ر‬‫فض‬.‫ر‬‫ر‬‫فض‬ ‫رای‬‫ر‬‫ه‬ ‫رفینه‬‫ر‬‫س‬ ‫و‬ ‫را‬‫ر‬‫ه‬ ‫را‬‫ر‬‫هواپیم‬ ‫در‬ ‫ری‬‫ر‬‫ویژگ‬ ‫رن‬‫ر‬‫ای‬‫ایی‬ ‫دارد‬ ‫رزایی‬‫ر‬‫بس‬ ‫رت‬‫ر‬‫اهمیی‬.‫ر‬‫ر‬‫بس‬ ‫وزن‬ ‫دارای‬ ‫رم‬‫ر‬‫ک‬ ‫رر‬‫ر‬‫قط‬ ‫ره‬‫ر‬‫ب‬ ‫ره‬‫ر‬‫توج‬ ‫را‬‫ر‬‫ب‬ ‫روری‬‫ر‬‫ن‬ ‫رای‬‫ر‬‫ه‬ ‫رر‬‫ر‬‫فیب‬‫یار‬ ‫از‬ ‫زیادی‬ ‫بسیار‬ ‫طول‬ ‫میگردد‬ ‫باع‬ ‫مسئله‬ ‫دو‬ ‫این‬ ‫که‬ ‫باشند‬ ‫می‬ ‫نیز‬ ‫کمی‬‫هرا‬ ‫فیبر‬ ‫شوند‬ ‫حمل‬ ‫سادگی‬ ‫به‬ ‫و‬ ‫شده‬ ‫بسته‬ ‫قرقره‬ ‫یو‬ ‫روی‬.‫فی‬ ‫بین‬ ‫مقایسه‬ ‫یو‬‫و‬ ‫نوری‬ ‫بر‬ ‫ره‬‫ر‬‫ک‬ ‫رد‬‫ر‬‫ده‬ ‫ری‬‫ر‬‫م‬ ‫ران‬‫ر‬‫نش‬ ‫ری‬‫ر‬‫مس‬ ‫رل‬‫ر‬‫کاب‬40‫ردود‬‫ر‬‫ح‬ ‫ری‬‫ر‬‫وزن‬ ‫دارای‬ ‫روری‬‫ر‬‫ن‬ ‫رر‬‫ر‬‫فیب‬ ‫رومتر‬‫ر‬‫کیل‬1 ‫است‬ ‫کیلوگرم‬.‫که‬ ‫صورتی‬ ‫در‬5/1‫قطرر‬ ‫برا‬ ‫مسی‬ ‫سیم‬ ‫کیلومتر‬32%‫مترر‬ ‫میلری‬ ‫وزن‬ ‫دارای‬1‫باشد‬ ‫می‬ ‫گرم‬ ‫کیلو‬. 20
  • 21.
    (10‫اتالف‬‫پایین‬: ‫بر‬ ‫و‬ ‫بروده‬‫کرم‬ ‫بسریار‬ ‫مسری‬ ‫هرای‬ ‫کابرل‬ ‫به‬ ‫نسبت‬ ‫نوری‬ ‫های‬ ‫فیبر‬ ‫در‬ ‫اتالف‬‫همرین‬ ‫ه‬ ‫هر‬ ‫در‬ ، ‫دلیل‬30‫تا‬120‫حرالی‬ ‫در‬ ، ‫داریرم‬ ‫نییراز‬ ‫کننرده‬ ‫تکررار‬ ‫بره‬ ‫مترر‬ ‫کیلو‬‫کره‬ ‫هر‬ ‫در‬ ‫مسی‬ ‫های‬ ‫سیم‬ ‫در‬5‫شرود‬ ‫مری‬ ‫اسرتفاده‬ ‫کننرده‬ ‫تکرار‬ ‫یو‬ ‫متر‬ ‫کیلو‬.‫اتر‬‫الف‬ ‫در‬ ، ‫گیرند‬ ‫می‬ ‫قرار‬ ‫استفاده‬ ‫مورد‬ ‫معمول‬ ‫طور‬ ‫به‬ ‫اکنون‬ ‫هم‬ ‫که‬ ‫هایی‬ ‫فیبر‬‫حردود‬ 0/2 Db/km‫باشد‬ ‫می‬.‫متفراوت‬ ‫مختلرف‬ ‫هرای‬ ‫مروج‬ ‫طرول‬ ‫در‬ ‫اترالف‬ ‫میزان‬ ‫این‬ ‫دارد‬ ‫بستگی‬ ‫عامل‬ ‫چندین‬ ‫به‬ ‫و‬ ‫بوده‬. 21
  • 22.
    (11‫نصب‬‫تر‬ ‫آسان‬ ‫نگهداری‬‫و‬: ‫زیاد‬ ‫طول‬ ‫به‬ ‫توجه‬ ‫با‬(‫کیلومتر‬ ‫چندین‬)‫ف‬ ‫هرای‬ ‫سیسرتم‬ ‫در‬ ‫کم‬ ‫وتضعیف‬‫نروری‬ ‫یبرر‬ ‫کا‬ ‫هرای‬ ‫سیسرتم‬ ‫بره‬ ‫نسربت‬ ‫هرا‬ ‫سیسرتم‬ ‫ایرن‬ ‫در‬ ‫هرا‬ ‫کننرده‬ ‫تکرار‬ ‫ی‬ ‫فاصله‬ ،‫مسری‬ ‫برل‬ ‫است‬ ‫بیشتر‬.‫کم‬ ‫ی‬ ‫هزینره‬ ‫با‬ ‫و‬ ‫تر‬ ‫ساده‬ ‫ها‬ ‫کابل‬ ‫این‬ ‫تعمیرات‬ ‫نتیجه‬ ‫در‬‫انجرام‬ ‫ترری‬ ‫کمترر‬ ‫مسری‬ ‫های‬ ‫کابل‬ ‫به‬ ‫نسبت‬ ‫ها‬ ‫مفصل‬ ‫تعداد‬ ‫که‬ ‫آنجایی‬ ‫از‬ ‫و‬ ‫گیرد‬ ‫می‬‫و‬ ‫اسرت‬ ‫ک‬ ‫خرابری‬ ‫نتیجره‬ ‫در‬ ، ‫کنرد‬ ‫مری‬ ‫ایجراد‬ ‫سیسرتم‬ ‫در‬ ‫اترالف‬ ‫کمی‬ ‫مقدار‬ ‫مفصل‬ ‫هر‬‫مترر‬ ‫باشد‬ ‫می‬ ‫تر‬ ‫آسان‬ ‫نگهداری‬ ‫و‬ ‫نصب‬ ‫و‬ ‫بوده‬. 22
  • 23.
    (12‫فرستنده‬‫کمتر‬ ‫قیمت‬ ‫با‬‫هایی‬: ‫فرسر‬ ‫این‬ ‫بر‬ ‫بنا‬ ‫شوند‬ ‫می‬ ‫اتالف‬ ‫دچار‬ ‫کمتر‬ ‫نوری‬ ‫های‬ ‫فیبر‬ ‫در‬ ‫سیگنال‬‫هرایی‬ ‫تنده‬ ‫بر‬ ‫ولتراژ‬ ‫برا‬ ‫الکتریکری‬ ‫هرای‬ ‫فرستنده‬ ‫جای‬ ‫به‬ ‫توانند‬ ‫می‬ ‫کمتر‬ ‫قدرت‬ ‫با‬‫بررای‬ ‫کره‬ ‫اال‬ ‫د‬ ‫جرویی‬ ‫صررفه‬ ‫باعر‬ ‫ایرن‬ ‫و‬ ‫رونرد‬ ‫کرار‬ ‫بره‬ ، ‫شروند‬ ‫مری‬ ‫اسرتفاده‬ ‫مسری‬ ‫های‬ ‫سیم‬‫ر‬ ‫میگردد‬ ‫قیمت‬. 23
  • 24.
    (13‫انعطاف‬‫پذیری‬: ‫و‬ ‫ررم‬‫ر‬‫محک‬ ‫آوری‬‫ررب‬‫ر‬‫تعج‬ ‫طررور‬ ‫رره‬‫ر‬‫ب‬ ‫رره‬‫ر‬‫ک‬ ‫انررد‬ ‫داده‬ ‫رران‬‫ر‬‫نش‬ ‫رروری‬‫ر‬‫ن‬ ‫هررای‬ ‫ررل‬‫ر‬‫کاب‬ ‫و‬ ‫تارهررا‬ ‫هستند‬ ‫پذیر‬ ‫انعطاف‬.‫م‬ ‫دور‬ ‫بره‬ ‫وقتری‬ ‫کره‬ ‫هسرتند‬ ‫نررم‬ ‫آنقدر‬ ‫ها‬ ‫تار‬ ‫بعضی‬‫برا‬ ‫نحنری‬ ‫شروند‬ ‫نمری‬ ‫قطع‬ ، ‫شوند‬ ‫پیچیده‬ ‫متر‬ ‫سانتی‬ ‫چند‬ ‫فقط‬ ‫شعاع‬.‫غالبر‬ ‫هرا‬ ‫ترار‬‫موقرع‬ ‫در‬ ‫أ‬ ، ‫رد‬‫ر‬‫دارن‬ ‫روچکی‬‫ر‬‫ک‬ ‫رای‬‫ر‬‫انحن‬ ‫رعاع‬‫ر‬‫ش‬ ‫رین‬‫ر‬‫چن‬ ‫ره‬‫ر‬‫ک‬ ‫رایی‬‫ر‬‫ه‬ ‫رره‬‫ر‬‫قرق‬ ‫دور‬ ‫ره‬‫ر‬‫ب‬ ‫رل‬‫ر‬‫حم‬ ‫و‬ ‫رداری‬‫ر‬‫نگه‬ ‫شوند‬ ‫می‬ ‫پیچیده‬ ‫محکم‬.‫طر‬ ‫در‬ ‫که‬ ‫نصب‬ ‫از‬ ‫مواردی‬ ‫در‬ ‫ها‬ ‫تار‬ ‫انعطاف‬ ‫قابلیت‬‫ول‬ ‫است‬ ‫توجه‬ ‫جالب‬ ، ‫دارد‬ ‫وجود‬ ‫زیادی‬ ‫های‬ ‫پی‬ ‫انتقال‬ ‫مسیر‬.‫بر‬ ‫هرای‬ ‫خمرش‬ ‫برای‬‫ا‬ ‫قابل‬ ‫تضعیف‬ ‫با‬ ‫را‬ ‫نور‬ ، ‫ها‬ ‫تار‬ ، ‫زیاد‬ ‫انحنای‬ ‫شعاع‬‫پوشی‬ ‫چشم‬‫هدایت‬‫م‬‫یکنند‬. 24
  • 25.
    1-4‫نوری‬ ‫فیبر‬ ‫معایب‬: .1‫اس‬‫هزینه‬ ‫پر‬ ‫بسیار‬ ‫کوچو‬ ‫و‬ ‫معمولی‬ ‫های‬‫شبکه‬ ‫برای‬ ‫رسانه‬ ‫نوع‬ ‫این‬‫ت‬. .2‫است‬ ‫دشوار‬ ‫کاری‬ ‫نوری‬ ‫های‬‫فیبر‬ ‫نصب‬. .3‫اسر‬ ‫نیراز‬ ‫متخصرر‬ ‫افرراد‬ ‫بره‬ ‫آن‬ ‫تجهیرزات‬ ‫و‬ ‫نروری‬ ‫فیبرهای‬ ‫نصب‬ ‫برای‬‫ت‬. ‫ای‬ ‫در‬ ‫کمی‬ ‫آشنایی‬ ‫که‬ ‫افرادی‬ ‫اکتر‬ ‫تقریبا‬ ‫مسی‬ ‫های‬‫سیم‬ ‫نصب‬ ‫در‬ ‫اما‬‫زمینره‬ ‫ن‬ ‫کنند‬ ‫نصب‬ ‫را‬ ‫آنها‬ ‫توانند‬‫می‬ ‫دارند‬. .4‫اسرت‬ ‫نیراز‬ ‫مورد‬ ‫زیادی‬ ‫بسیار‬ ‫دقت‬ ‫نوری‬ ‫های‬‫فیبر‬ ‫نصب‬ ‫برای‬.‫حتری‬‫بررای‬ ‫رع‬‫ر‬‫قط‬‫آن‬ ‫رردن‬‫ر‬‫ک‬.‫و‬ ‫رد‬‫ر‬‫کن‬ ‫ری‬‫ر‬‫م‬ ‫رر‬‫ر‬‫تنیی‬ ‫رور‬‫ر‬‫ن‬ ‫رت‬‫ر‬‫شکس‬ ‫ره‬‫ر‬‫زاوی‬ ‫رورت‬‫ر‬‫ص‬ ‫رن‬‫ر‬‫ای‬ ‫در‬ ‫ررا‬‫ر‬‫زی‬ ‫شود‬ ‫می‬ ‫اختالل‬ ‫دچار‬ ‫ها‬ ‫داده‬ ‫انتقال‬ ‫روند‬. 25
  • 26.
    .5‫بودن‬ ‫هادی‬ ‫غیر‬:‫دهرد‬‫عبرور‬ ‫خود‬ ‫از‬ ‫نمیتواند‬ ‫را‬ ‫الکتریکی‬ ‫توان‬ ‫فیبر‬‫چره‬ ‫گرر‬ ‫گیر‬ ‫که‬ ‫جای‬ ‫در‬ ‫اما‬ ‫خواندیم‬ ‫نوری‬ ‫فیبر‬ ‫های‬ ‫خاصیت‬ ‫از‬ ‫را‬ ‫ویژگی‬ ‫این‬‫ی‬ ‫نده‬ ‫ن‬ ‫بره‬ ‫کره‬ ‫اسرت‬ ‫الکتریکری‬ ‫تروان‬ ‫بره‬ ‫نیاز‬ ‫شود‬ ‫تنذیه‬ ‫باید‬ ‫کابل‬ ‫انتهای‬‫کابرل‬ ‫اچرار‬ ‫شود‬ ‫کشیده‬ ‫اصلی‬ ‫خط‬ ‫انتهای‬ ‫در‬ ‫باید‬ ‫ای‬ ‫جداگانه‬ ‫هادیه‬ ‫های‬. .6‫د‬ ‫فیبرر‬ ‫برودن‬ ‫شرکننده‬ ‫نروری‬ ‫هرای‬‫فیبر‬ ‫اشرکاالت‬ ‫ترین‬‫اصلی‬ ‫از‬ ‫یکی‬‫کابرل‬ ‫اخرل‬ ‫است‬.‫شکسرت‬ ‫نظرر‬ ‫مرورد‬ ‫فیبرر‬ ،‫سریم‬ ‫انردازه‬ ‫از‬ ‫بیش‬ ‫کردن‬ ‫خم‬ ‫صورت‬ ‫در‬‫و‬ ‫ه‬ ‫خورد‬ ‫نمی‬ ‫د‬‫در‬ ‫به‬ ‫کابل‬ ‫آن‬ ‫دیگر‬.‫چق‬ ‫هر‬ ‫را‬ ‫مسی‬ ‫های‬‫سیم‬ ‫که‬ ‫صورتی‬ ‫در‬‫در‬ ‫کنید‬ ‫تا‬ ‫توانید‬‫می‬ ‫دارید‬ ‫دوست‬ ‫که‬. 26
  • 27.
    1-5‫نوری‬ ‫فیبر‬ ‫کاربردهای‬: •‫کاااربرد‬‫مخااابرا‬‫در‬:‫انتقرر‬ ‫نرروری‬ ‫فیبررر‬ ‫کاربردهررای‬ ‫ترررین‬ ‫مرسرروم‬ ‫از‬ ‫یکرری‬‫ال‬ ‫است‬ ‫لیزر‬ ‫نور‬ ‫توسط‬ ‫اطالعات‬. •‫اگرها‬‫ا‬‫حس‬ ‫در‬ ‫ااربرد‬‫ا‬‫ک‬:‫ر‬‫ر‬‫گی‬ ‫ردازه‬‫ر‬‫ان‬ ‫ررای‬‫ر‬‫ب‬ ‫روری‬‫ر‬‫ن‬ ‫رر‬‫ر‬‫فیب‬ ‫رگرهای‬‫ر‬‫حس‬ ‫از‬ ‫رتفاده‬‫ر‬‫اس‬‫ری‬ ،‫فشرار‬ ،‫منناطیسری‬ ‫میردان‬ ،‫الکتریکری‬ ‫جریان‬ ‫مانند‬ ‫فیزیکی‬ ‫های‬‫کمیت‬،‫حررارت‬ ‫و‬ ‫را‬‫ر‬‫گام‬ ‫رای‬‫ر‬‫پرتوه‬ ‫رعات‬‫ر‬‫تشعش‬ ،‫رات‬‫ر‬‫مایع‬ ‫رطت‬‫ر‬‫س‬ ،‫را‬‫ر‬‫دری‬ ‫رای‬‫ر‬‫ه‬‫آب‬ ‫رودگی‬‫ر‬‫آل‬ ،‫رایی‬‫ر‬‫جابج‬ ‫است‬‫شده‬ ‫شروع‬ ‫اخیر‬ ‫های‬‫سال‬ ‫در‬ ‫ایکس‬.‫نرو‬ ‫فیبر‬ ‫از‬ ،‫حسگرها‬ ‫نوع‬ ‫این‬ ‫در‬‫ری‬ ‫وی‬ ‫کره‬ ‫ترتیب‬ ‫بدین‬ ‫شود‬‫می‬ ‫گیری‬ ‫بهره‬ ‫حسگر‬ ‫اصلی‬ ‫عنصر‬ ‫عنوان‬ ‫به‬‫هرای‬‫ژگی‬ ‫شر‬ ‫انردازه‬ ‫برا‬ ‫و‬ ‫یافتره‬ ‫تنییرر‬ ‫گیرری‬ ‫اندازه‬ ‫مورد‬ ‫کمیت‬ ‫میدان‬ ‫تحت‬ ‫فیبر‬‫کمیرت‬ ‫دت‬ ‫شود‬‫می‬ ‫پذیر‬ ‫تأتیر‬. 27
  • 28.
    •‫نظامی‬ ‫کاربردهای‬:‫دا‬ ‫دفراع‬‫صنایع‬ ‫در‬ ‫شماری‬‫بی‬ ‫کاربردهای‬ ‫نوری‬ ‫فیبر‬‫کره‬ ‫رد‬ ‫هر‬ ‫و‬ ‫کنتررل‬ ،‫رادار‬ ‫آنرتن‬ ‫برا‬ ‫کنتررل‬ ‫و‬ ‫ارتبراط‬ ‫برقراری‬ ‫توان‬‫می‬ ‫جمله‬ ‫آن‬ ‫از‬‫دایت‬ ‫زیردریاییها‬ ‫ارتباط‬ ،‫ها‬‫موشو‬(‫هیدروفون‬)‫برد‬ ‫نام‬ ‫را‬. •‫پزشکی‬ ‫کاربردهای‬:‫گو‬ ‫آزمایشرهای‬ ‫و‬ ‫هرا‬‫بیماری‬ ‫تشرخیر‬ ‫در‬ ‫فیبرنوری‬‫نراگون‬ ‫غررردد‬ ‫زیمترررری‬‫د‬ ‫تررروان‬‫می‬ ‫جملررره‬ ‫آن‬ ‫از‬ ‫کررره‬ ‫دارد‬ ‫فرررراوان‬ ‫کررراربرد‬ ‫پزشرررکی‬ ‫در‬ ‫در‬ ‫ررتفاده‬‫ر‬‫اس‬ ،‫ررزری‬‫ر‬‫لی‬ ‫رری‬‫ر‬‫جراح‬ ،‫رردن‬‫ر‬‫ب‬ ‫رری‬‫ر‬‫داخل‬ ‫های‬‫ررایی‬‫ر‬‫نارس‬ ‫ررایی‬‫ر‬‫شناس‬ ،‫رررطانی‬‫ر‬‫س‬ ‫برد‬ ‫نام‬ ‫خون‬ ‫و‬ ‫مایعات‬ ‫گیری‬ ‫اندازه‬ ‫و‬ ‫دندانپزشکی‬.‫نروری‬ ‫تارهرای‬ ‫همچنین‬‫در‬ ‫نام‬ ‫به‬ ‫هایی‬‫دستگاه‬‫بین‬ ‫درون‬‫یرا‬‫آندوساکو‬‫درون‬ ‫بره‬ ‫ترا‬ ‫شرود‬‫می‬ ‫اسرتفاده‬،‫نرای‬ ‫ر‬‫ر‬‫قاب‬ ‫رتقیم‬‫ر‬‫مس‬ ‫رور‬‫ر‬‫ط‬ ‫ره‬‫ر‬‫ب‬ ‫ران‬‫ر‬‫انس‬ ‫ردن‬‫ر‬‫ب‬ ‫درون‬ ‫و‬ ‫رود‬‫ر‬‫ش‬ ‫رتاده‬‫ر‬‫فرس‬ ‫ره‬‫ر‬‫متان‬ ‫و‬ ‫روده‬ ،‫رری‬‫ر‬‫م‬‫ل‬ ‫باشد‬ ‫مشاهده‬. 28
  • 29.
    ‫روشنایی‬ ‫در‬ ‫فیبرنوری‬‫کاربرد‬:‫چ‬ ‫در‬ ‫که‬ ‫نوری‬ ‫فیبر‬ ‫کاربردهای‬ ‫جمله‬ ‫از‬‫سرال‬ ‫نرد‬ ‫رو‬ ‫های‬‫سیسرتم‬ ‫در‬ ‫آن‬ ‫کراربرد‬ ‫اسرت‬‫کرده‬ ‫پیردا‬ ‫فراوانری‬ ‫رشرد‬ ‫و‬ ‫توسرعه‬ ‫اخیر‬‫شرنایی‬ ‫است‬.‫نر‬ ‫یرا‬ ‫و‬ ‫مصرنوعی‬ ‫نرور‬ ‫توانرد‬‫می‬ ‫کره‬ ‫نروری‬ ‫منبرع‬ ‫از‬ ‫نرور‬ ‫فناوری‬ ‫این‬ ‫در‬‫ور‬ ‫ری‬‫ر‬‫طبیع‬(‫رید‬‫ر‬‫خورش‬ ‫رور‬‫ر‬‫ن‬)‫رل‬‫ر‬‫مح‬ ‫ره‬‫ر‬‫ب‬ ‫رق‬‫ر‬‫طری‬ ‫رن‬‫ر‬‫ای‬ ‫از‬ ‫و‬ ‫رده‬‫ر‬‫ش‬ ‫روری‬‫ر‬‫ن‬ ‫رر‬‫ر‬‫فیب‬ ‫وارد‬ ‫رد‬‫ر‬‫باش‬ ‫رود‬‫ر‬‫ش‬‫می‬ ‫رل‬‫ر‬‫منتق‬ ‫ررف‬‫ر‬‫مص‬.‫راب‬‫ر‬‫ت‬ ‫رت‬‫ر‬‫جه‬ ‫در‬ ‫ره‬‫ر‬‫ک‬ ‫ای‬‫ره‬‫ر‬‫نقط‬ ‫رر‬‫ر‬‫ه‬ ‫ره‬‫ر‬‫ب‬ ‫رور‬‫ر‬‫ن‬ ‫رب‬‫ر‬‫ترتی‬ ‫رن‬‫ر‬‫ای‬ ‫ره‬‫ر‬‫ب‬‫ش‬ ‫رود‬‫ر‬‫ش‬‫می‬ ‫رل‬‫ر‬‫منتق‬ ‫رد‬‫ر‬‫باش‬‫نمی‬ ‫آن‬ ‫رتقیم‬‫ر‬‫مس‬.‫رر‬‫ر‬‫س‬ ‫رد‬‫ر‬‫رش‬ ‫رات‬‫ر‬‫موجب‬ ‫ره‬‫ر‬‫ک‬ ‫رور‬‫ر‬‫ن‬ ‫رن‬‫ر‬‫ای‬ ‫راز‬‫ر‬‫امتی‬‫ره‬‫ر‬‫ب‬ ‫یع‬ ‫الکتر‬ ‫رد‬‫ر‬‫فاق‬ ‫ره‬‫ر‬‫ک‬ ‫رت‬‫ر‬‫اس‬ ‫رن‬‫ر‬‫ای‬ ‫رت‬‫ر‬‫اس‬‫شده‬ ‫راوری‬‫ر‬‫فن‬ ‫رن‬‫ر‬‫ای‬ ‫ره‬‫ر‬‫ب‬ ‫راد‬‫ر‬‫زی‬ ‫ره‬‫ر‬‫توج‬ ‫و‬ ‫رارگیری‬‫ر‬‫ک‬‫ریته‬‫ر‬‫یس‬ ‫روده‬‫ر‬‫ب‬ ‫رنفش‬‫ر‬‫ب‬ ‫راورای‬‫ر‬‫م‬ ‫راک‬‫ر‬‫خطرن‬ ‫رعات‬‫ر‬‫تشعش‬ ‫و‬ ‫را‬‫ر‬‫گرم‬(‫رر‬‫ر‬‫خط‬ ‫ری‬‫ر‬‫ب‬ ‫و‬ ‫رالر‬‫ر‬‫خ‬ ‫رور‬‫ر‬‫ن‬)‫و‬ ‫روز‬ ‫نرور‬ ‫شرود‬‫می‬ ‫فنراوری‬ ‫ایرن‬ ‫برا‬ ‫اینکره‬ ‫دیگر‬(‫مراورا‬ ‫های‬‫اشرعه‬ ‫و‬ ‫گرمرا‬ ‫بردون‬ ‫رنفش‬‫ر‬‫ب‬)‫ر‬‫ر‬‫خورش‬ ‫رور‬‫ر‬‫ن‬ ‫ره‬‫ر‬‫ب‬ ‫ری‬‫ر‬‫دسترس‬ ‫رل‬‫ر‬‫قاب‬ ‫رر‬‫ر‬‫غی‬ ‫راط‬‫ر‬‫نق‬ ‫و‬ ‫راختمانها‬‫ر‬‫س‬ ‫رل‬‫ر‬‫داخ‬ ‫ره‬‫ر‬‫ب‬ ‫رم‬‫ر‬‫ه‬ ‫را‬‫ید‬ ‫کرد‬ ‫منتقل‬. 29
  • 30.
    ‫روشنایی‬ ‫در‬ ‫نوری‬‫فیبر‬ ‫کاربرد‬ ‫از‬ ‫نمونه‬ ‫چند‬: 30
  • 31.
  • 32.
    2-1‫چیست؟‬ ‫نور‬ ‫ماهی‬‫الکترومغناطیس‬: ‫رز‬‫ر‬‫جیم‬‫رول‬‫ر‬‫ماکس‬ ‫رالرک‬‫ر‬‫ک‬(۱۸۷۹۱۸۳۱):‫رور‬‫ر‬‫ن‬‫ری‬‫ر‬‫الکترومنناطیس‬‫ررژی‬‫ر‬‫ان‬ ‫روعی‬‫ر‬‫ن‬ ‫شرود‬ ‫مری‬ ‫توصریف‬ ‫الکترومنناطیسری‬ ‫امرواج‬ ‫عنروان‬ ‫بره‬ ‫معمروال‬ ‫که‬ ‫است‬.‫گسر‬‫ترده‬ ‫رامل‬‫ر‬‫ش‬ ‫ری‬‫ر‬‫الکترومنناطیس‬ ‫رواج‬‫ر‬‫ام‬ ‫رل‬‫ر‬‫کام‬:‫رو‬‫ر‬‫ن‬ ، ‫ررخ‬‫ر‬‫س‬ ‫ررو‬‫ر‬‫ف‬ ‫رابش‬‫ر‬‫ت‬ ، ‫رویی‬‫ر‬‫رادی‬ ‫روج‬‫ر‬‫م‬‫ر‬ ‫می‬ ‫گاما‬ ‫اشعه‬ ‫و‬ ‫ایکس‬ ‫اشعه‬ ، ‫فرابنفش‬ ‫تابش‬ ، ‫بنفش‬ ‫تا‬ ‫قرمز‬ ‫از‬ ‫مرئی‬‫باشد‬. ‫کوانتومی‬ ‫ماهی‬‫نور‬: ‫ری‬‫ر‬‫بوس‬ ‫رتم‬‫ر‬‫بیس‬ ‫ررن‬‫ر‬‫ق‬ ‫اول‬ ‫ره‬‫ر‬‫ده‬ ‫دو‬ ‫در‬ ‫ره‬‫ر‬‫ک‬ ،‫رور‬‫ر‬‫ن‬ ‫رومی‬‫ر‬‫کوانت‬ ‫رو‬‫ر‬‫مکانی‬ ‫ره‬‫ر‬‫نظری‬ ‫رق‬‫ر‬‫طب‬‫له‬ ‫ررررژی‬‫ر‬‫ان‬ ،‫رررد‬‫ر‬‫ش‬ ‫رررنهاد‬‫ر‬‫پیش‬ ‫رررار‬‫ر‬‫ب‬ ‫رررین‬‫ر‬‫اول‬ ‫ررررای‬‫ر‬‫ب‬ ‫رررور‬‫ر‬‫ب‬ ‫و‬ ‫رررتین‬‫ر‬‫انیش‬ ‫ررررت‬‫ر‬‫آلب‬ ‫و‬ ‫رررو‬‫ر‬‫پالن‬ ‫رررردان‬‫ر‬‫می‬ ‫رررررژی‬‫ر‬‫ان‬ ‫ررررر‬‫ر‬‫نش‬ ‫ررررا‬‫ر‬‫ی‬ ‫ررررذب‬‫ر‬‫ج‬ ‫رررری‬‫ر‬‫یعن‬ ،‫ررررت‬‫ر‬‫اس‬ ‫ررررده‬‫ر‬‫کوانتی‬ ‫رررری‬‫ر‬‫الکترومنناطیس‬ ‫نام‬ ‫به‬ ‫ای‬ ‫گسسته‬ ‫مقادیر‬ ‫به‬ ‫الکترومنناطیسی‬"‫فوتون‬"‫گیرد‬ ‫می‬ ‫انجام‬. 32
  • 33.
    •‫مکملی‬ ‫نظریه‬ •‫اسرت‬ ‫هرویگنس‬‫و‬ ‫نیوترون‬ ‫تعراریف‬ ‫از‬ ‫اصرولی‬ ‫شامل‬ ‫نور‬ ‫جدید‬ ‫نظریه‬.‫بنر‬‫ابراین‬ ‫تر‬ ‫مترل‬ ‫هرا‬ ‫پدیده‬ ‫از‬ ‫برخی‬ ،‫دارد‬ ‫ای‬ ‫گانه‬ ‫دو‬ ‫خاصیت‬ ‫نور‬ ‫که‬ ‫شود‬ ‫می‬ ‫گفته‬‫داخل‬ ‫ررده‬‫ر‬‫پدی‬ ‫ررد‬‫ر‬‫مانن‬ ‫ررر‬‫ر‬‫دیگ‬ ‫رری‬‫ر‬‫برخ‬ ‫و‬ ‫ررد‬‫ر‬‫ده‬ ‫رری‬‫ر‬‫م‬ ‫رران‬‫ر‬‫نش‬ ‫رررا‬‫ر‬‫آن‬ ‫رروجی‬‫ر‬‫م‬ ‫رریت‬‫ر‬‫خاص‬ ‫ررراش‬‫ر‬‫پ‬ ‫و‬ ‫و‬ ‫ررامپتون‬‫ر‬‫ک‬ ‫ررده‬‫ر‬‫پدی‬ ، ‫ررو‬‫ر‬‫فوتوالکتری‬...‫تو‬ ‫ررل‬‫ر‬‫قاب‬ ‫ررور‬‫ر‬‫ن‬ ‫ای‬ ‫ذره‬ ‫رریت‬‫ر‬‫خاص‬ ‫ررا‬‫ر‬‫ب‬‫رریت‬‫ر‬‫ض‬ ‫هستند‬. 33
  • 34.
    ‫چیست‬ ‫نور‬ ‫واقعی‬‫تعریف‬‫؟‬ ‫تعریف‬‫شر‬ ‫کره‬ ‫مشرخر‬ ‫مردل‬ ‫یرا‬ ‫شرده‬ ‫شرناخته‬ ‫جسرم‬ ،‫نرداریم‬ ‫نور‬ ‫برای‬ ‫دقیقی‬‫آن‬ ‫بیه‬ ‫ندارد‬ ‫وجود‬ ‫باشد‬.‫باشرد‬ ‫مبتنری‬ ‫شرباهت‬ ‫برر‬ ‫چیرز‬ ‫هرر‬ ‫فهرم‬ ‫نیسرت‬ ‫الزم‬ ‫ولی‬.‫ن‬‫ظریره‬ ‫و‬ ‫راق‬‫ر‬‫نامتن‬ ‫ره‬‫ر‬‫نظری‬ ‫رو‬‫ر‬‫ی‬ ‫راد‬‫ر‬‫ایج‬ ‫راهم‬‫ر‬‫ب‬ ‫رومی‬‫ر‬‫کوانت‬ ‫ره‬‫ر‬‫نظری‬ ‫و‬ ‫ری‬‫ر‬‫الکترومنناطیس‬‫ردون‬‫ر‬‫ب‬ ‫رد‬‫ر‬‫کنن‬ ‫ری‬‫ر‬‫م‬ ‫را‬ ‫روری‬‫ر‬‫ن‬ ‫رای‬‫ر‬‫ه‬ ‫رده‬‫ر‬‫پدی‬ ‫رام‬‫ر‬‫تم‬ ‫ره‬‫ر‬‫ک‬ ‫رد‬‫ر‬‫کنن‬ ‫ری‬‫ر‬‫م‬ ‫رام‬‫ر‬‫ابه‬.‫رار‬‫ر‬‫درب‬ ‫رول‬‫ر‬‫ماکس‬ ‫ره‬‫ر‬‫نظری‬‫ه‬ ‫نرور‬ ‫بررهمکنش‬ ‫کوانترومی‬ ‫نظریه‬ ‫که‬ ‫حالی‬ ‫در‬ ‫کند‬ ‫می‬ ‫بح‬ ‫و‬ ‫نور‬ ‫انتشار‬‫مراده‬ ‫و‬ ‫کر‬ ‫جرامعی‬ ‫نظریره‬ ، ‫نظریه‬ ‫دو‬ ‫این‬ ‫ازآمیختن‬ ‫دهد‬ ‫می‬ ‫شرح‬ ‫را‬ ‫آن‬ ‫نشر‬ ‫و‬ ‫جذب‬ ‫یا‬‫ه‬ ‫گیرررررد‬ ‫مرررری‬ ‫شررررکل‬ ،‫دارد‬ ‫نررررام‬ ‫الکترودینامیررررو‬ ‫کوانترررروم‬.‫هررررای‬ ‫نظریرررره‬ ‫چررررون‬ ‫بسر‬ ‫ترابش‬ ‫بره‬ ‫مربروط‬ ‫هرای‬ ‫پدیرده‬ ‫برر‬ ‫عرالوه‬ ‫کوانتومی‬ ‫و‬ ‫الکترومنناطیسی‬‫از‬ ‫یاری‬ ‫ر‬‫ر‬‫ک‬ ‫ررد‬‫ر‬‫ک‬ ‫رر‬‫ر‬‫ف‬ ‫روان‬‫ر‬‫ت‬ ‫ری‬‫ر‬‫م‬ ‫رفانه‬‫ر‬‫منص‬ ‫رد‬‫ر‬‫کنن‬ ‫ری‬‫ر‬‫م‬ ‫رریت‬‫ر‬‫تش‬ ‫رز‬‫ر‬‫نی‬ ‫را‬ ‫رر‬‫ر‬‫دیگ‬ ‫رای‬‫ر‬‫ه‬ ‫رده‬‫ر‬‫پدی‬‫ه‬ ‫اسرت‬ ‫جوابگرو‬ ‫ریاضری‬ ‫قالرب‬ ‫در‬ ‫الاقرل‬ ‫را‬ ‫امرروز‬ ‫تجربی‬ ‫مشاهدات‬.‫نرو‬ ‫طبیعرت‬‫ر‬ ‫چیس‬ ‫نور‬ ‫واقعیت‬ ‫که‬ ‫هست‬ ‫پرسش‬ ‫این‬ ‫هم‬ ‫باز‬ ‫اما‬ ،‫است‬ ‫شده‬ ‫شناخته‬ ‫کامال‬‫ت؟‬ 34
  • 35.
    2-2‫تعاریف‬‫قوانین‬ ‫و‬‫نور‬: 2-2-1‫شکس‬ ‫ضریب‬: ‫با‬‫برابر‬ ‫فضا‬ ‫در‬ ‫نور‬ ‫سیر‬ ‫سرعت‬299792‫تقریبرأ‬ ‫کره‬ ‫باشرد‬ ‫مری‬ ‫تانیره‬ ‫در‬ ‫کیلرومتر‬‫آن‬ ‫با‬ ‫برابر‬ ‫را‬3*10^8 m/s‫فرکرانس‬ ‫عامرل‬ ‫دو‬ ‫بره‬ ‫سررعت‬ ‫این‬ ‫که‬ ‫میگیرند‬ ‫نظر‬ ‫در‬(f) ‫موج‬ ‫طول‬ ‫و‬(λ)‫است‬ ‫برقرار‬ ‫زیر‬ ‫روابط‬ ‫آنها‬ ‫بین‬ ‫که‬ ‫دارد‬ ‫بستگی‬. =c / ƒλ‫یا‬C= f.λ ‫سررعت‬ ‫شرود‬ ‫مری‬ ‫وارد‬ ‫شیشره‬ ‫ماننرد‬ ‫هرادی‬ ‫غیرر‬ ‫و‬ ‫عرایق‬ ‫محیط‬ ‫یو‬ ‫به‬ ‫نور‬ ‫که‬ ‫هنگامی‬ ‫مقردار‬ ‫برابرر‬ ‫و‬ ‫کمترر‬ ‫فضرا‬ ‫در‬ ‫نور‬ ‫سرعت‬ ‫از‬ ‫آن‬V‫شرود‬ ‫مری‬.‫در‬ ‫سریر‬ ‫سررعت‬ ‫نسربت‬ ‫ر‬‫ر‬‫اگ‬ ‫و‬ ‫رت‬‫ر‬‫اس‬ ‫ریط‬‫ر‬‫مح‬ ‫آن‬ ‫رت‬‫ر‬‫شکس‬ ‫رریب‬‫ر‬‫ض‬ ‫رر‬‫ر‬‫براب‬ ، ‫رد‬‫ر‬‫جدی‬ ‫ریط‬‫ر‬‫مح‬ ‫در‬ ‫رور‬‫ر‬‫ن‬ ‫ررعت‬‫ر‬‫س‬ ‫ره‬‫ر‬‫ب‬ ‫را‬‫ر‬‫فض‬‫ر‬ ‫با‬ ‫را‬ ‫شکست‬ ‫ضریب‬n‫داشت‬ ‫خواهیم‬ ، ‫دهیم‬ ‫نشان‬: n=c / v 35
  • 36.
    ‫اجسام‬ ‫شکس‬ ‫ضریب‬(n) ‫هوا‬‫تقریبأ‬=1 ‫آب‬ 1.33 ‫اتیلیک‬ ‫الکل‬ 1.36 ‫کوارتز‬ 1.46 ‫شیشه‬ 1.5 ‫الماس‬ 2.42 ‫ردار‬‫ر‬‫مق‬n‫ررای‬‫ر‬‫ب‬‫ررق‬‫ر‬‫ف‬ ‫رف‬‫ر‬‫مختل‬ ‫رای‬‫ر‬‫ه‬ ‫ریط‬‫ر‬‫مح‬ ‫ره‬‫ر‬‫رابط‬ ‫از‬ ‫را‬ ‫آن‬ ‫روان‬‫ر‬‫ت‬ ‫ری‬‫ر‬‫وم‬ ‫رد‬‫ر‬‫کن‬ ‫ری‬‫ر‬‫م‬ n=√εr‫رره‬‫ر‬‫ک‬ ‫آورد‬ ‫ررت‬‫ر‬‫دس‬ ‫رره‬‫ر‬‫ب‬rε‫ررزان‬‫ر‬‫می‬ ‫ر‬‫ر‬‫اس‬ ‫ری‬‫ر‬‫الکتریک‬ ‫ردان‬‫ر‬‫می‬ ‫رور‬‫ر‬‫عب‬ ‫از‬ ‫رت‬‫ر‬‫ممانع‬‫ت‬ ‫رر‬‫ر‬‫الکتریک‬ ‫ررذیری‬‫ر‬‫پ‬ ‫رروذ‬‫ر‬‫نف‬ ‫ررریب‬‫ر‬‫ض‬ ‫رره‬‫ر‬‫ب‬ ‫رره‬‫ر‬‫ک‬‫ی‬ ‫رروف‬‫ر‬‫مع‬‫رد‬‫ر‬‫باش‬ ‫ری‬‫ر‬‫م‬.‫ردار‬‫ر‬‫مق‬n‫ری‬‫ر‬‫بعض‬ ‫ررای‬‫ر‬‫ب‬ ‫جررردول‬ ‫در‬ ، ‫اجسرررام‬ ‫از‬‫نشررران‬ ‫رو‬ ‫بررره‬ ‫رو‬ ‫است‬ ‫شده‬ ‫داده‬. ‫رریب‬‫ر‬‫ض‬ ‫ره‬‫ر‬‫ب‬ ‫ری‬‫ر‬‫محیط‬ ‫رر‬‫ر‬‫ه‬ ‫در‬ ‫رور‬‫ر‬‫ن‬ ‫ررعت‬‫ر‬‫س‬ ‫ر‬‫ر‬‫چ‬ ‫رر‬‫ر‬‫ه‬ ‫و‬ ‫دارد‬ ‫رتگی‬‫ر‬‫بس‬ ‫ریط‬‫ر‬‫مح‬ ‫آن‬ ‫رت‬‫ر‬‫شکس‬‫ه‬ ‫سر‬ ‫باشرد‬ ‫کمتر‬ ‫محیط‬ ‫شکست‬ ‫ضریب‬‫رعت‬ ‫ریط‬‫ر‬‫مح‬ ‫آن‬ ‫در‬ ‫روج‬‫ر‬‫م‬ ‫رول‬‫ر‬‫ط‬ ‫رین‬‫ر‬‫همچن‬ ‫و‬ ‫رور‬‫ر‬‫ن‬ ‫شود‬ ‫می‬ ‫بیشتر‬. 36
  • 37.
    2-2-2‫پدیده‬‫وانکسار‬ ‫انعکاس‬ ،‫تابش‬ ‫های‬: ‫رانیم‬‫ر‬‫تاب‬ ‫ری‬‫ر‬‫م‬ ‫ریط‬‫ر‬‫مح‬ ‫دو‬ ‫ردایی‬‫ر‬‫ج‬ ‫رطت‬‫ر‬‫س‬ ‫ره‬‫ر‬‫ب‬ ‫را‬ ‫رور‬‫ر‬‫ن‬ ‫رعاع‬‫ر‬‫ش‬ ‫رو‬‫ر‬‫ی‬ ‫ره‬‫ر‬‫ک‬ ‫رانی‬‫ر‬‫زم‬(‫ر‬‫ر‬‫ی‬ ‫رابش‬‫ر‬‫ت‬‫ا‬ incidence)‫ررردد‬‫ر‬‫گ‬ ‫ررازمی‬‫ر‬‫ب‬ ‫اول‬ ‫رریط‬‫ر‬‫مح‬ ‫ررل‬‫ر‬‫داخ‬ ‫رره‬‫ر‬‫ب‬ ‫آن‬ ‫از‬ ‫ررمتی‬‫ر‬‫قس‬ ،(‫ررا‬‫ر‬‫ی‬ ‫رراس‬‫ر‬‫انعک‬ reflection)‫مر‬ ‫وارد‬ ‫دوم‬ ‫محریط‬ ‫بره‬ ‫و‬ ‫شرده‬ ‫شکسته‬ ‫نورانی‬ ‫شعاع‬ ‫این‬ ‫ی‬ ‫بقیه‬ ‫و‬‫ی‬ ‫شود‬(‫یرا‬ ‫انکسار‬refrection)‫محریط‬ ‫دو‬ ‫جردایی‬ ‫سرطت‬ ‫در‬ ‫نرور‬ ‫انکسرار‬ ‫میرزان‬ ، ‫دارد‬ ‫محیط‬ ‫دو‬ ‫در‬ ‫نور‬ ‫سرعت‬ ‫اختالف‬ ‫به‬ ‫بستگی‬. ‫پدیده‬‫که‬ ‫این‬ ‫فر‬ ‫با‬ ‫انکسار‬ ‫و‬ ‫انعکاس‬ ، ‫تابش‬ ‫های‬N2>N1‫شرکل‬ ‫در‬ ، ‫باشد‬‫بعرد‬ ‫نشان‬‫شده‬ ‫داده‬‫اند‬. 37
  • 38.
  • 39.
    2-2-3‫قوانین‬‫اسنل‬: ‫ره‬‫ر‬‫رابط‬‫ر‬‫ر‬‫اس‬ ‫روانین‬‫ر‬‫ق‬ ‫روان‬‫ر‬‫عن‬‫ره‬‫ر‬‫ب‬ ‫ره‬‫ر‬‫ک‬ ‫رابش‬‫ر‬‫ت‬ ‫و‬ ‫رت‬‫ر‬‫شکس‬ ‫ی‬ ‫ره‬‫ر‬‫زاوی‬ ، ‫رت‬‫ر‬‫شکس‬ ‫رریب‬‫ر‬‫ض‬‫نل‬ ‫گردد‬ ‫می‬ ‫بیان‬ ‫زیر‬ ‫صورت‬ ‫به‬ ، ‫شوند‬ ‫می‬ ‫شناخته‬: 1-‫برابرند‬ ‫هم‬ ‫با‬ ‫محیط‬ ‫نوع‬ ‫هر‬ ‫برای‬ ‫تابش‬ ‫ی‬ ‫زاویه‬ ‫و‬ ‫انعکاس‬ ‫ی‬ ‫زاویه‬. Ɵ1=Ɵr -2‫شعاع‬‫محر‬ ‫دو‬ ‫مشرترک‬ ‫فصل‬ ‫بر‬ ‫عمود‬ ‫خط‬ ‫و‬ ‫شکست‬ ، ‫منعکس‬ ، ‫تابش‬ ‫های‬‫یط‬ ‫ا‬ ‫عمود‬ ‫محیط‬ ‫دو‬ ‫جدایی‬ ‫صفحه‬ ‫بر‬ ‫صفحه‬ ‫این‬ ‫که‬ ‫دارند‬ ‫قرار‬ ‫صفحه‬ ‫یو‬ ‫در‬‫ست‬. 39
  • 40.
    3-‫زا‬ ‫سرینوس‬ ‫بره‬‫تابش‬ ‫ی‬ ‫زاویه‬ ‫سینوس‬ ‫نسبت‬ ، ‫مشخر‬ ‫محیط‬ ‫دو‬ ‫برای‬‫ی‬ ‫ویره‬ ‫ن‬ ‫دوم‬ ‫محریط‬ ‫شکسرت‬ ‫ضرریب‬ ‫را‬ ‫تابرت‬ ‫مقردار‬ ‫اسرتین‬ ‫ترابتی‬ ‫مقدار‬ ‫شکست‬‫بره‬ ‫سربت‬ ‫حرف‬ ‫با‬ ‫را‬ ‫آن‬ ‫و‬ ‫نامند‬‫می‬ ‫اول‬ ‫محیط‬n‫نمایش‬‫دهند‬ ‫می‬. n=Sini/SinR Sini/SinR=n2/n1 => n1.Sini=n2.SinR ‫رو‬‫ر‬‫ن‬ ‫رت‬‫ر‬‫حرک‬ ‫ریر‬‫ر‬‫مس‬ ‫ریم‬‫ر‬‫کن‬ ‫رو‬‫ر‬‫ع‬ ‫را‬ ‫رابش‬‫ر‬‫ت‬ ‫رت‬‫ر‬‫جه‬ ‫رر‬‫ر‬‫اگ‬ ‫رور‬‫ر‬‫ن‬ ‫رت‬‫ر‬‫بازگش‬ ‫رل‬‫ر‬‫اص‬ ‫رق‬‫ر‬‫طب‬‫ر‬ ‫را‬ ‫نروری‬ ، ‫شکسرت‬ ‫شرعاع‬ ‫امترداد‬ ‫در‬ ‫اگرر‬ ‫یعنی‬ ‫شود‬ ‫نمی‬ ‫عو‬‫از‬n2‫بره‬‫محرل‬ ‫خو‬ ‫منطبرق‬ ‫قبلی‬ ‫تابش‬ ‫شعاع‬ ‫بر‬ ‫جدید‬ ‫شکست‬ ‫شعاع‬ ، ‫بتابانیم‬ ‫قبلی‬‫نرور‬ ‫و‬ ‫برود‬ ‫اهرد‬ ‫کند‬ ‫می‬ ‫عبور‬ ‫قبلی‬ ‫مسیر‬ ‫همان‬ ‫از‬. 40
  • 41.
    2-3‫حالت‬‫مختلف‬ ‫محیط‬ ‫دو‬‫در‬ ‫نور‬ ‫تابش‬ ‫مختلف‬ ‫های‬(n1›n2:) ‫اگر‬‫ی‬ ‫زاویه‬ ‫و‬ ‫نباشد‬ ‫عمودی‬ ‫صورت‬ ‫به‬ ‫تابش‬ ‫شعاع‬‫تابش‬Ɵi‫و‬‫شکست‬ ‫ی‬ ‫زاویه‬ƟR ، ‫باشد‬‫همواره‬Ɵi<ƟR‫بود‬ ‫خواهد‬(.‫شکل‬1) 3-‫ترابش‬ ‫ی‬ ‫زاویره‬ ‫اگرر‬Ɵi‫شکسرت‬ ‫ی‬ ‫زاویره‬ ، ‫کنریم‬ ‫بزرگترر‬ ‫را‬ƟR‫نیرز‬‫مری‬ ‫افرزایش‬ ‫مسراوی‬ ‫شکسرت‬ ‫ی‬ ‫زاویره‬ ‫کره‬ ‫کنریم‬ ‫زیاد‬ ‫آنقدر‬ ‫را‬ ‫تابش‬ ‫ی‬ ‫زاویه‬ ‫اگر‬ ، ‫یابد‬90‫درجره‬ ‫رود‬‫ر‬‫بش‬(ƟR=90)،‫ری‬‫ر‬‫م‬ ‫رخ‬ ‫ری‬‫ر‬‫کل‬ ‫راس‬‫ر‬‫انعک‬ ‫و‬ ‫ردارد‬‫ر‬‫ن‬ ‫رود‬‫ر‬‫وج‬ ‫رور‬‫ر‬‫ن‬ ‫رار‬‫ر‬‫انکس‬ ‫رت‬‫ر‬‫حال‬ ‫رن‬‫ر‬‫ای‬ ‫در‬ ‫برابرر‬ ‫را‬ ‫شکسرت‬ ‫ی‬ ‫زاویره‬ ‫کره‬ ‫تابش‬ ‫ی‬ ‫زاویه‬ ‫این‬ ‫دهد،به‬90‫بحرانری‬ ‫ی‬ ‫زاویره‬ ‫میکنرد‬ ‫با‬ ‫را‬ ‫وآن‬ ‫گویند‬Ɵc‫میدهند‬ ‫نشان‬(.‫شکل‬2) 4-‫شرود‬ ‫بیشرتر‬ ‫بحرانری‬ ‫ی‬ ‫زاویره‬ ‫از‬ ‫ترابش‬ ‫ی‬ ‫زاویره‬ ‫اگر‬(Ɵi>Ɵc)‫رخ‬ ‫کلری‬ ‫انعکراس‬ ‫ریط‬‫ر‬‫مح‬ ‫دو‬ ‫رترک‬‫ر‬‫مش‬ ‫رطت‬‫ر‬‫س‬ ‫از‬ ‫و‬ ‫رردد‬‫ر‬‫گ‬ ‫ری‬‫ر‬‫م‬ ‫راز‬‫ر‬‫ب‬ ‫اول‬ ‫ریط‬‫ر‬‫مح‬ ‫ره‬‫ر‬‫ب‬ ‫رابش‬‫ر‬‫ت‬ ‫رعاع‬‫ر‬‫ش‬ ‫و‬ ‫رد‬‫ر‬‫ده‬ ‫ری‬‫ر‬‫م‬ ‫وضعیت‬ ‫این‬ ‫که‬ ‫شود‬ ‫نمی‬ ‫ساطع‬ ‫خارج‬ ‫به‬ ‫نوری‬‫ایده‬‫آلی‬‫نروری‬ ‫هرای‬ ‫فیبر‬ ‫در‬ ‫که‬ ‫است‬ ‫بدان‬ ‫نور‬ ‫انتقال‬ ‫جهت‬‫نیازمندیم‬.(‫شکل‬3) 41
  • 42.
  • 43.
    2-4‫انتقال‬‫نوری‬ ‫فیبر‬ ‫در‬‫نور‬: ‫پوشش‬ ‫و‬ ‫منزی‬ ‫قسمت‬ ‫دو‬ ‫از‬ ‫نوری‬ ‫فیبر‬ ‫کابل‬ ‫در‬ ‫نور‬(‫غالف‬)‫ک‬ ‫می‬ ‫عبور‬‫که‬ ‫ند‬ ‫رد‬‫ر‬‫دارن‬ ‫راوتی‬‫ر‬‫متف‬ ‫رای‬‫ر‬‫ه‬ ‫رت‬‫ر‬‫شکس‬ ‫رریب‬‫ر‬‫ض‬ ‫ردام‬‫ر‬‫ک‬ ‫رر‬‫ر‬‫ه‬.‫رت‬‫ر‬‫شکس‬ ‫رریب‬‫ر‬‫ض‬‫رزی‬‫ر‬‫من‬n1‫و‬ ‫پوشش‬ ‫شکست‬ ‫ضریب‬n2‫می‬‫باشد،به‬‫که‬ ‫نحوی‬n1‫بزرگتر‬‫از‬n2‫باشد‬ ‫می‬. ‫محریط‬ ‫از‬ ‫نرور‬ ‫کره‬ ‫اسرت‬ ‫حرالتی‬ ‫ماننرد‬ ‫عینرأ‬ ‫شرود‬ ‫می‬ ‫منزی‬ ‫داخل‬ ‫نور‬ ‫که‬ ‫هنگامی‬ ‫شرود‬ ‫می‬ ‫تابیده‬ ‫رقیق‬ ‫محیط‬ ‫به‬ ‫غلیظ‬.‫مشرت‬ ‫فصرل‬ ‫بره‬ ‫نرور‬ ‫برخرورد‬ ‫از‬ ‫پرس‬‫دو‬ ‫رک‬ ‫ریط‬‫ر‬‫مح‬(‫رش‬‫ر‬‫پوش‬ ‫و‬ ‫رزی‬‫ر‬‫من‬)‫رر‬‫ر‬‫فیب‬ ‫رزی‬‫ر‬‫من‬ ‫ران‬‫ر‬‫هم‬ ‫ره‬‫ر‬‫ک‬ ‫اول‬ ‫ریط‬‫ر‬‫مح‬ ‫ره‬‫ر‬‫ب‬ ‫و‬ ‫رده‬‫ر‬‫ش‬ ‫رنعکس‬‫ر‬‫م‬ ، ‫نوری‬‫طرول‬ ‫در‬ ‫انعکراس‬ ‫هرا‬ ‫برار‬ ‫از‬ ‫پرس‬ ‫ترتیرب‬ ‫همرین‬ ‫بره‬ ‫و‬ ‫گرردد‬ ‫می‬ ‫باز‬ ، ‫است‬ ‫رسد‬ ‫می‬ ‫فیبر‬ ‫انتهای‬ ‫به‬ ‫مسیر‬. 43
  • 44.
    ‫ی‬ ‫زاویه‬ ‫که‬‫داشت‬ ‫توجه‬ ‫باید‬Ɵi‫در‬‫ی‬ ‫زاویره‬ ‫از‬ ‫بزرگترر‬ ‫حالرت‬ ‫ایرن‬Ɵc(‫زاویره‬ ‫بحرانی‬ ‫ی‬)‫اگر‬ ‫و‬ ‫باشد‬ ‫می‬Ɵi‫از‬Ɵc‫کمتر‬‫بری‬ ‫مررز‬ ‫از‬ ‫شرده‬ ‫تابیرده‬ ‫نور‬ ، ‫باشد‬‫ن‬ ‫گردد‬ ‫نمی‬ ‫منتقل‬ ‫فیبر‬ ‫در‬ ‫و‬ ‫کرده‬ ‫عبور‬ ‫وپوشش‬ ‫منزی‬. ‫صورت‬ ‫به‬ ‫توان‬ ‫می‬ ‫را‬ ‫نوری‬ ‫فیبر‬ ‫در‬ ‫نور‬ ‫انتقال‬ ‫شرط‬ ‫بنابراین‬Ɵc‹Ɵi‫نوشت‬. ‫نوشت‬ ‫توان‬ ‫می‬ ‫اسنل‬ ‫قانون‬ ‫به‬ ‫توجه‬ ‫با‬: n1.sinƟc=N2 <= sinƟc =N2/N1 44
  • 45.
    2-5‫زاویه‬‫پذیرش‬ ‫ی‬: ‫وارد‬ ‫محردود‬‫آن‬ ‫در‬ ‫نرور‬ ‫اگرر‬ ‫کره‬ ‫دارد‬ ‫وجرود‬ ‫مشخصری‬ ‫ی‬ ‫محدوده‬ ‫فیبر‬ ‫هر‬ ‫برای‬ ‫شد‬ ‫خواهد‬ ‫منتقل‬ ‫آن‬ ‫طول‬ ‫در‬ ،‫شود‬ ‫فیبر‬ ‫به‬‫بر‬ ‫بایرد‬ ‫فیبرر‬ ‫بره‬ ‫بره‬ ‫شرده‬ ‫تابیرده‬ ‫نرور‬ ‫کره‬ ‫اسرت‬ ‫ای‬ ‫زاویره‬ ، ‫دیگرر‬ ‫عبارت‬‫محرور‬ ‫ا‬ ‫رش‬‫ر‬‫پوش‬ ‫و‬ ‫منرزی‬ ‫ررز‬‫ر‬‫م‬ ‫در‬ ‫فیبرر‬ ‫ره‬‫ر‬‫ب‬ ‫ورود‬ ‫از‬ ‫پرس‬ ‫کره‬ ‫روری‬‫ر‬‫ط‬ ‫بره‬ ‫رد‬‫ر‬‫کن‬ ‫ایجراد‬ ‫طرولی‬ ‫منعکس‬ ‫فیبر‬ ‫داخل‬ ‫به‬ ‫تمامأ‬ ‫و‬ ‫بشکند‬ ‫خارجی‬‫شود‬.‫ع‬ ‫خط‬ ‫نسبت‬ ‫زاویه‬ ‫این‬‫برر‬ ‫مرود‬ ‫نام‬ ‫به‬ ‫مخروطی‬ ‫تشکیل‬ ‫نوری‬ ‫فیبر‬ ‫ورودی‬‫پزیرش‬ ‫مخروط‬‫دهد‬ ‫می‬. 45
  • 46.
  • 47.
  • 48.
    3-1‫ساختمان‬‫نوری‬ ‫فیبر‬: •‫تار‬‫شود‬ ‫می‬‫تشکیل‬ ‫اصلی‬ ‫بخش‬ ‫دو‬ ‫از‬ ‫نوری‬:‫پوشش‬ ‫و‬ ‫هسته‬)‫ساخته‬‫از‬ ‫شده‬ ‫نوری‬ ‫شفاف‬ ‫ی‬ ‫ماده‬ ‫یو‬‫متال‬‫گداخته‬ ‫سیلیکای‬ ‫شیشه‬)‫روکش‬ ‫و‬ ،. •‫رود‬ ‫ری‬‫ر‬‫م‬ ‫رار‬‫ر‬‫ک‬ ‫ره‬‫ر‬‫ب‬ ‫رور‬‫ر‬‫ن‬ ‫ردایت‬‫ر‬‫ه‬ ‫ررای‬‫ر‬‫ب‬ ‫و‬ ‫دارد‬ ‫ررار‬‫ر‬‫ق‬ ‫روری‬‫ر‬‫ن‬ ‫رار‬‫ر‬‫ت‬ ‫رز‬‫ر‬‫مرک‬ ‫در‬ ‫رته‬‫ر‬‫هس‬. ‫رت‬‫ر‬‫شکس‬ ‫رریب‬‫ر‬‫ض‬ ‫ررا‬‫ر‬‫زی‬ ، ‫رت‬‫ر‬‫اس‬ ‫رذیر‬‫ر‬‫پ‬ ‫ران‬‫ر‬‫امک‬ ‫رته‬‫ر‬‫هس‬ ‫رل‬‫ر‬‫داخ‬ ‫در‬ ‫رط‬‫ر‬‫فق‬ ‫روج‬‫ر‬‫م‬ ‫ردایت‬‫ر‬‫ه‬ ‫هسته‬n1‫از‬‫شکست‬ ‫ضریب‬‫پوشش‬n2‫است‬ ‫تر‬ ‫بزر‬.‫کلری‬ ‫انعکاس‬ ‫با‬ ‫ها‬ ‫مد‬ ‫مانند‬ ‫می‬ ‫باقی‬ ‫هسته‬ ‫درون‬ ، ‫پوشش‬ ‫و‬ ‫هسته‬ ‫فاصل‬ ‫حد‬ ‫در‬ ‫مداوم‬. •‫است‬ ‫ای‬ ‫الیه‬ ‫حقیقت‬ ‫در‬ ‫روکش‬‫که‬‫گ‬ ‫مری‬ ‫برر‬ ‫در‬ ‫مسرتقیما‬ ‫را‬ ‫پوشرش‬ ‫سرطت‬‫یررد‬. ، ‫یکردیگر‬ ‫به‬ ‫ها‬ ‫تار‬ ‫اتصال‬ ‫یا‬ ‫و‬ ‫تار‬ ‫خارج‬ ‫یا‬ ‫داخل‬ ‫به‬ ‫نور‬ ‫تزویج‬ ‫برای‬‫بایسرتی‬ ‫کرد‬ ‫جدا‬ ‫آن‬ ‫از‬ ‫را‬ ‫روکش‬ ‫بتوان‬. 48
  • 49.
    •‫مر‬ ، ‫شود‬‫تشکیل‬ ‫پالستیکی‬ ‫ی‬ ‫الیه‬ ‫چندین‬ ‫از‬ ‫تواند‬ ‫می‬ ‫که‬ ‫این‬ ‫ضمن‬ ‫روکش‬‫بایسرت‬ ‫ی‬ ‫رک‬‫ر‬‫ش‬ ‫ره‬‫ر‬‫ب‬ ، ‫آن‬ ‫رخامت‬‫ر‬‫ض‬ ‫در‬ ‫ری‬‫ر‬‫تنییرات‬ ‫را‬‫ر‬‫ی‬ ‫ری‬‫ر‬‫لخت‬ ‫ره‬‫ر‬‫گون‬ ‫ری‬‫ر‬‫ه‬ ‫ردون‬‫ر‬‫ب‬ ‫را‬ ‫رار‬‫ر‬‫ت‬ ‫رول‬‫ر‬‫ط‬ ‫رام‬‫ر‬‫تم‬‫ل‬ ‫بپوشاند‬ ‫یکنواخت‬. •‫باشر‬ ‫حلقوی‬ ‫های‬ ‫نشانه‬ ‫لزوم‬ ‫صورت‬ ‫در‬ ‫و‬ ‫رنگی‬ ‫نمای‬ ‫دارای‬ ‫است‬ ‫ممکن‬ ‫روکش‬‫د‬. ‫بنراب‬ ‫و‬ ، ‫اسرت‬ ‫بیشرتر‬ ‫پوشرش‬ ‫شکسرت‬ ‫ضرریب‬ ‫از‬ ، ‫روکرش‬ ‫شکست‬ ‫ضریب‬‫نرور‬ ‫راین‬ ‫پالسرتیو‬ ‫داخرل‬ ‫در‬ ‫مترر‬ ‫چنردین‬ ‫طری‬ ‫از‬ ‫پرس‬ ‫پوشرش‬ ‫داخرل‬ ‫بره‬ ‫ناخواسته‬ ‫شده‬ ‫وارد‬‫آن‬ ‫شود‬ ‫می‬ ‫جذب‬. •‫نروری‬ ‫ترار‬ ‫شکسرت‬ ‫ضررایب‬ ‫از‬ ‫هایی‬ ‫نمونه‬:‫هسرته‬1.48‫پوشرش‬ ،1.46‫روکرش‬ ، 1.52 •‫جر‬ ‫های‬ ‫نیرو‬ ‫و‬ ‫خارجی‬ ‫آتار‬ ‫مقابل‬ ‫در‬ ‫را‬ ‫نوری‬ ‫تار‬ ‫باید‬ ‫مکانیکی‬ ‫نظر‬ ‫از‬ ‫روکش‬‫ذبی‬ ‫رعیف‬‫ر‬‫تض‬ ‫ربب‬‫ر‬‫س‬ ‫و‬ ‫ررده‬‫ر‬‫ک‬ ‫رم‬‫ر‬‫خ‬ ‫رری‬‫ر‬‫مت‬ ‫ررو‬‫ر‬‫میک‬ ‫رد‬‫ر‬‫ح‬ ‫در‬ ‫را‬ ‫آن‬ ‫رت‬‫ر‬‫اس‬ ‫رن‬‫ر‬‫ممک‬ ‫ره‬‫ر‬‫ک‬ ‫ریء‬‫ر‬‫ش‬ ‫رر‬‫ر‬‫ب‬ ‫کند‬ ‫محافظت‬ ، ‫شوند‬ ‫اضافی‬. 49
  • 50.
  • 51.
    3-2‫گداخته‬ ‫سلیکای‬ ‫خصوصیات‬: ‫ف‬‫خوار‬ ‫که‬ ‫این‬ ‫یعنی‬ ‫است‬ ‫روند‬ ‫یو‬ ‫محیطی‬ ، ‫گداخته‬ ‫سیلیکای‬ ‫شیشه‬‫آن‬ ‫یزیکی‬ ‫است‬ ‫برابر‬ ‫جهات‬ ‫تمام‬ ‫در‬. ‫اسرت‬ ‫روشرن‬ ‫کامال‬ ، ‫حرارت‬ ‫درجه‬ ‫سریع‬ ‫تنییر‬ ‫با‬ ‫آن‬ ‫رفتار‬.‫د‬ ‫ی‬ ‫واسرطه‬ ‫بره‬‫ارا‬ ‫رت‬‫ر‬‫نهای‬ ‫ری‬‫ر‬‫ب‬ ‫و‬ ‫ری‬‫ر‬‫خط‬ ‫ری‬‫ر‬‫حرارت‬ ‫راط‬‫ر‬‫انبس‬ ‫رریب‬‫ر‬‫ض‬ ‫رودن‬‫ر‬‫ب‬،‫رو‬‫ر‬‫کوچ‬‫ر‬‫ر‬‫تنیی‬ ‫رل‬‫ر‬‫مقاب‬ ‫در‬‫رات‬ ‫است‬ ‫مقاوم‬ ‫ای‬ ‫العاده‬ ‫فوق‬ ‫نحو‬ ‫به‬ ، ‫حرارت‬ ‫درجه‬. ‫سلیکای‬ ‫شیشه‬ ‫مشخصات‬ ‫مشخصه‬ ‫واحد‬ ‫مقدار‬ ‫چگالی‬Y g / cm2 2/2 ‫یانگ‬ ‫ضریب‬E N / mm2 72500 ‫برشی‬ ‫تنش‬G N / mm2 30000 ‫اااااااااط‬‫ا‬‫انبس‬ ‫ااااااااریب‬‫ا‬‫ض‬ ‫حرارتی‬ -K 1 -710*5/5 51
  • 52.
    3-3‫انواع‬‫نوری‬ ‫فیبر‬: •‫های‬ ‫سال‬‫طی‬ ‫نوری‬ ‫فیبر‬ ‫کابل‬ ‫اولین‬1970‫سرال‬ ‫اواخرر‬ ‫ترا‬1980‫شرد‬ ‫سراخته‬ ‫داشت‬ ‫پایینی‬ ‫تقریبا‬ ‫اتالف‬ ‫که‬.‫مر‬ ‫ترو‬ ‫نروری‬ ‫فیبرر‬ ‫کابرل‬ ، ‫بعد‬ ‫سال‬‫اترالف‬ ‫برا‬ ‫دی‬ ‫شرد‬ ‫سراخته‬ ‫باال‬ ‫باند‬ ‫پهنای‬ ‫و‬ ‫تر‬ ‫پایین‬.‫نر‬ ‫فیبرر‬ ‫کابرل‬ ، ‫کلری‬ ‫طرور‬ ‫بره‬‫مری‬ ‫را‬ ‫وری‬ ‫از‬ ‫عبارتند‬ ‫که‬ ‫نمود‬ ‫بندی‬ ‫دسته‬ ‫جهت‬ ‫چند‬ ‫از‬ ‫توان‬: .1‫انواع‬‫نظر‬ ‫از‬ ‫نوری‬ ‫فیبر‬ ‫کابل‬‫آن‬ ‫از‬ ‫گذرنده‬ ‫اشعه‬ .2‫انواع‬‫از‬ ‫نوری‬ ‫فیبر‬ ‫کابل‬‫نظرحفاظت‬ .3‫انواع‬‫محل‬ ‫نظر‬ ‫از‬ ‫نوری‬ ‫فیبر‬ ‫کابل‬‫استفاده‬ .4‫نظر‬ ‫از‬ ‫نوری‬ ‫فیبر‬ ‫کابل‬ ‫انواع‬‫سازنده‬ ‫ماده‬ 52
  • 53.
    ‫نوری‬ ‫فیبر‬ ‫انواع‬: 1)‫حالتـه‬‫تـو‬ ‫آن‬ ‫از‬ ‫گذرنده‬ ‫اشعه‬ ‫نظر‬ ‫از‬:1)‫ای‬ ‫پله‬ ‫شکست‬ ‫ظریب‬ ‫با‬ ‫حالته‬ ‫چند‬ 2)‫حالته‬ ‫چند‬ 2)‫تدریجی‬ ‫شکست‬ ‫ظریب‬ ‫با‬ ‫حالته‬ ‫چند‬ 1)Loss Buffer ‫حفاظت‬ ‫نظر‬ ‫از‬: 2)Tight Buffer 1)In Door ‫استفاده‬ ‫محل‬ ‫نظر‬ ‫از‬:2)Out Door 3)Out Door-In Door 1)‫شیشه‬ ‫سازنده‬ ‫ماده‬ ‫نظر‬ ‫از‬:2)‫پالستیو‬ 3)‫پلیمرسخت‬ 53
  • 54.
    3-3-1‫انواع‬‫نظر‬ ‫از‬ ‫نوری‬‫فیبر‬ ‫کابل‬‫آ‬ ‫از‬ ‫گذرنده‬ ‫اشعه‬‫ن‬: •‫عبارتن‬ ‫که‬ ‫دارد‬ ‫وجود‬ ‫نوری‬ ‫فیبر‬ ‫نوع‬ ‫دو‬ ‫نور‬ ‫انتقال‬ ‫ی‬ ‫شیوه‬ ‫نظر‬ ‫از‬‫از‬ ‫د‬: ‫حالته‬ ‫چند‬ ‫های‬ ‫فیبر‬(Multi Mode Fiber or MMF)‫تو‬ ‫های‬ ‫فیبر‬ ‫و‬ ، ‫حالته‬(Single Mode Fiber)‫های‬ ‫ویژگی‬ ‫و‬ ‫انواع‬ ‫مورد‬ ‫در‬ ‫ادامه‬ ‫در‬ ‫که‬ ، ‫شود‬ ‫می‬ ‫داده‬ ‫توضیت‬ ، ‫کدام‬ ‫هر‬. 54
  • 55.
    ‫حالته‬ ‫تک‬ ‫فیبر‬: ‫رری‬‫ر‬‫فیب‬‫رر‬‫ر‬‫قط‬‫را‬‫ر‬‫ب‬ ‫و‬ ‫ای‬ ‫ره‬‫ر‬‫شیش‬ ‫رزی‬‫ر‬‫من‬ ‫را‬‫ر‬‫ب‬8.3‫را‬‫ر‬‫ت‬10‫رد‬‫ر‬‫باش‬ ‫ری‬‫ر‬‫م‬ ‫ررون‬‫ر‬‫میک‬.‫رو‬‫ر‬‫ت‬ ‫رر‬‫ر‬‫فیب‬ ‫انتقرال‬ ‫روش‬ ‫یرو‬ ‫فقرط‬ ‫دارد‬ ‫که‬ ‫کمی‬ ‫قطر‬ ‫دلیل‬ ‫به‬ ‫حالته‬(‫مسرتق‬ ‫صرورت‬ ‫بره‬‫یم‬)‫در‬ ‫دارد‬ ‫وجود‬ ‫آن‬.‫یرو‬ ‫به‬ ‫نیاز‬ ‫اما‬ ‫است‬ ‫تر‬ ‫باال‬ ‫مدی‬ ‫چند‬ ‫فیبر‬ ‫از‬ ‫آن‬ ‫باند‬ ‫پهنای‬‫منبرع‬ ‫دارد‬ ‫باریو‬ ‫طیفی‬ ‫پهنای‬ ‫با‬ ‫نور‬. ‫و‬ ‫داشرته‬ ‫حالتره‬ ‫چنرد‬ ‫بره‬ ‫نسبت‬ ‫تری‬ ‫باال‬ ‫انتقال‬ ‫سرعت‬ ‫حالته‬ ‫تو‬ ‫فیبر‬‫از‬ ‫بریش‬50 ‫دهد‬ ‫می‬ ‫قرار‬ ‫ما‬ ‫اختیار‬ ‫در‬ ‫را‬ ‫حالته‬ ‫چند‬ ‫فیبر‬ ‫فاصله‬ ‫برابر‬.‫دلیر‬ ‫همرین‬ ‫به‬‫هزینره‬ ‫ل‬ ‫اسرت‬ ‫بیشرتر‬ ‫نیز‬ ‫اش‬.‫ن‬ ‫تنییرر‬ ‫هرر‬ ‫فیبرر‬ ‫نروع‬ ‫ایرن‬ ‫در‬ ‫منرزی‬ ‫کوچرو‬ ‫قطرر‬‫از‬ ‫اشری‬ ‫و‬ ‫ررعیف‬‫ر‬‫تض‬ ‫رررین‬‫ر‬‫کمت‬ ‫و‬ ‫رررده‬‫ر‬‫ب‬ ‫ررین‬‫ر‬‫ب‬ ‫از‬ ‫را‬ ‫ررورانی‬‫ر‬‫ن‬ ‫ررای‬‫ر‬‫ه‬ ‫ررالس‬‫ر‬‫پ‬ ‫ررادگی‬‫ر‬‫افت‬ ‫ررم‬‫ر‬‫ه‬ ‫روی‬ ‫آورد‬ ‫می‬ ‫فراهم‬ ‫ای‬ ‫داده‬ ‫انتقال‬ ‫نوع‬ ‫هر‬ ‫برای‬ ‫را‬ ‫انتقال‬ ‫سرعت‬ ‫بیشترین‬.‫ف‬‫تو‬ ‫یبر‬ ‫بین‬ ‫های‬ ‫موج‬ ‫طول‬ ‫است‬ ‫قادر‬ ‫حالته‬1300nm‫تا‬1320nm‫را‬‫دهد‬ ‫انتقال‬. 55
  • 56.
    ‫حالته‬ ‫چند‬ ‫فیبر‬: •‫نوعی‬‫بری‬‫آن‬ ‫مترداول‬ ‫قطرر‬ ‫که‬ ‫است‬ ‫ای‬ ‫شیشه‬ ‫منزی‬ ‫با‬ ‫نوری‬ ‫فیبر‬ ‫کابل‬‫ن‬50‫ترا‬ 100‫باشد‬ ‫می‬ ‫میکرون‬( .‫قطرر‬ ‫تررین‬ ‫مترداول‬62.5‫اسرت‬ ‫میکررون‬)‫چنرد‬ ‫فیبرر‬ ‫متوسرط‬ ‫فواصرل‬ ‫در‬ ‫و‬ ‫زیاد‬ ‫های‬ ‫سرعت‬ ‫در‬ ‫باالیی‬ ‫باند‬ ‫پهنای‬ ‫حالته‬(‫حرداک‬‫ترا‬ ‫تر‬ ‫مسافت‬2‫کیلومتر‬)‫دهد‬ ‫می‬ ‫قرار‬ ‫ما‬ ‫اختیار‬ ‫در‬. •‫نروع‬ ‫این‬ ‫در‬‫فیبرمروج‬‫برین‬ ‫مروج‬ ‫طرول‬ ‫برا‬ ‫و‬ ‫متعردد‬ ‫هرای‬ ‫مسریر‬ ‫در‬ ‫نرورانی‬ ‫هرای‬ 850‫را‬‫ر‬‫ت‬1300‫روند‬‫ر‬‫ش‬ ‫ری‬‫ر‬‫م‬ ‫رده‬‫ر‬‫پراکن‬ ‫رانومتر‬‫ر‬‫ن‬.‫رای‬‫ر‬‫ه‬ ‫ریر‬‫ر‬‫مس‬ ‫ررای‬‫ر‬‫ب‬ ‫رر‬‫ر‬‫فیب‬ ‫روع‬‫ر‬‫ن‬ ‫رن‬‫ر‬‫ای‬ ‫در‬ ‫متعدد‬ ‫های‬ ‫مسیر‬ ‫در‬ ‫نور‬ ‫شدن‬ ‫تقسیم‬ ‫زیرا‬ ‫شود‬ ‫نمی‬ ‫استفاده‬ ‫طوالنی‬‫فواصل‬ ‫نتی‬ ‫در‬ ‫و‬ ‫شود‬ ‫نهایی‬ ‫دریافت‬ ‫در‬ ‫سیگنال‬ ‫تنییر‬ ‫باع‬ ‫است‬ ‫ممکن‬ ‫دور‬‫ی‬ ‫داده‬ ‫جه‬ ‫باشد‬ ‫کامل‬ ‫نا‬ ‫یا‬ ‫و‬ ‫نامعلوم‬ ‫انتقالی‬. 56
  • 57.
    ‫حالته‬ ‫چند‬ ‫های‬‫فیبر‬ ‫انواع‬: 1-‫ای‬ ‫پله‬ ‫شکس‬ ‫ضریب‬ ‫با‬ ‫حالته‬ ‫چند‬ ‫فیبر‬: •‫از‬ ‫رر‬‫ر‬‫ت‬ ‫راال‬‫ر‬‫ب‬ ‫رر‬‫ر‬‫قط‬ ‫را‬‫ر‬‫ب‬ ‫رزر‬‫ر‬‫ب‬ ‫رزی‬‫ر‬‫من‬ ‫رو‬‫ر‬‫ی‬100‫دارد‬ ‫ررون‬‫ر‬‫میک‬.‫رت‬‫ر‬‫شکس‬ ‫رریب‬‫ر‬‫ض‬ ‫اسرت‬ ‫تابرت‬ ‫و‬ ‫یکنواخرت‬ ‫آن‬ ‫جرای‬ ‫همه‬ ‫در‬ ‫منزی‬.‫اشرعه‬ ‫از‬ ‫تعردادی‬ ‫اسرت‬ ‫ممکرن‬ ‫انتقر‬ ‫آن‬ ‫در‬ ‫زیگرزا‬ ‫صرورت‬ ‫به‬ ‫بقیه‬ ‫و‬ ‫مستقیم‬ ‫مسیر‬ ‫یو‬ ‫در‬ ‫نوری‬ ‫های‬‫مری‬ ‫ال‬ ‫گرداند‬ ‫می‬ ‫بر‬ ‫داخل‬ ‫به‬ ‫را‬ ‫ها‬ ‫آن‬ ‫فیبر‬ ‫پوشش‬ ‫که‬ ، ‫یابند‬. 57
  • 58.
    2-‫فیبر‬‫تدریجی‬ ‫شکس‬ ‫ضریب‬‫با‬ ‫حالته‬ ‫چند‬: ‫ضر‬ ‫تنییررات‬ ‫کره‬ ‫اسرت‬ ‫شرده‬ ‫ساخته‬ ‫تدریجی‬ ‫شکست‬ ‫ضریب‬ ‫با‬ ‫منزی‬ ‫یو‬ ‫از‬‫ریب‬ ‫تر‬ ‫بره‬ ‫آن‬ ‫پوشرش‬ ‫و‬ ‫منرزی‬ ‫مشرترک‬ ‫فصل‬ ‫تا‬ ‫فیبر‬ ‫محور‬ ‫از‬ ‫آن‬ ‫منزی‬ ‫شکست‬‫دریج‬ ‫شود‬ ‫می‬ ‫کم‬.‫ت‬ ‫آن‬ ‫شرعاع‬ ‫از‬ ‫ترابعی‬ ‫صرورت‬ ‫بره‬ ‫منرزی‬ ‫شکسرت‬ ‫ضرریب‬ ‫یعنی‬‫نییرر‬ ‫تابت‬ ‫مقدار‬ ‫همان‬ ‫غالف‬ ‫شکست‬ ‫ضریب‬ ‫ولی‬ ‫کند‬ ‫می‬n2‫ماند‬ ‫می‬ ‫باقی‬.‫ی‬ ‫نحروه‬ ‫شکل‬ ‫در‬ ‫فیبر‬ ‫نوع‬ ‫این‬ ‫در‬ ‫انتشار‬‫بعدی‬‫است‬ ‫شده‬ ‫داده‬ ‫نشان‬. 58
  • 59.
  • 60.
    3-3-2‫انواع‬‫حفاظت‬ ‫نظر‬ ‫از‬‫نوری‬ ‫فیبر‬ ‫کابل‬: ‫از‬‫بر‬ ‫نروری‬ ‫فیبرر‬ ‫هرای‬ ‫کابرل‬ ، ‫خرارجی‬ ‫هرای‬ ‫نیرو‬ ‫از‬ ‫فیبر‬ ‫حفاظت‬ ‫نظر‬ ‫نقطه‬‫دو‬ ‫ه‬ ‫نوع‬Loss Buffer‫و‬Tight Buffer‫شوند‬ ‫می‬ ‫تقسیم‬. Loss Buffer: ‫ساخت‬ ‫در‬Loss Buffer،‫درونری‬ ‫قطرر‬ ‫کره‬ ‫پالسرتیکی‬ ‫ی‬ ‫لولره‬ ‫یرو‬ ‫داخل‬ ‫فیبر‬‫آن‬ ‫گیررد‬ ‫مری‬ ‫قررار‬ ، ‫اسرت‬ ‫فیبرر‬ ‫خرود‬ ‫از‬ ‫تر‬ ‫بزر‬ ‫ای‬ ‫مالحظه‬ ‫قابل‬ ‫طور‬ ‫به‬.‫درو‬‫ن‬ ‫ک‬ ‫شود‬ ‫می‬ ‫پر‬ ‫ژلی‬ ‫ی‬ ‫ماده‬ ‫یو‬ ‫با‬ ‫معموال‬ ‫فیبر‬ ‫اطراف‬ ‫و‬ ‫پالستیکی‬ ‫ی‬ ‫لوله‬‫فیبرر‬ ‫ه‬ ‫اسرت‬ ‫آزاد‬ ‫ژل‬ ‫این‬ ‫داخل‬.Loss Buffer‫هرای‬ ‫نیررو‬ ‫برابرر‬ ‫در‬ ‫را‬ ‫فیبرر‬ ‫حردودی‬ ‫ترا‬ ‫ف‬ ‫اطراف‬ ‫در‬ ‫ژل‬ ‫وجود‬ ‫دلیل‬ ‫به‬ ‫همچنین‬ ‫و‬ ‫کند‬ ‫می‬ ‫محافظت‬ ‫خارجی‬ ‫مکانیکی‬‫یبرر‬ ‫مالح‬ ‫قابرل‬ ‫طور‬ ‫به‬ ‫انقبا‬ ‫و‬ ‫انبساط‬ ‫نتیجه‬ ‫در‬ ‫و‬ ‫سرما‬ ، ‫گرما‬ ‫برابر‬ ‫در‬ ،‫ای‬ ‫ظره‬ ‫است‬ ‫ایمن‬. 60
  • 61.
    Loss Buffer‫هروایی‬ ‫هرای‬‫کراربرد‬ ، ‫بیرونری‬ ‫های‬ ‫محیط‬ ‫در‬ ‫نصب‬ ‫برای‬ ‫معموال‬ ‫شود‬ ‫می‬ ‫استفاده‬ ‫خاک‬ ‫زیر‬ ‫در‬ ‫و‬ ‫کانالی‬ ،. :Tight Buffer ‫شرکل‬ ‫در‬ ‫کره‬ ‫گونره‬ ‫همان‬ ‫کابل‬ ‫نوع‬ ‫این‬ ‫در‬‫نیرز‬ ‫بعرد‬‫روکر‬ ‫یرو‬ ، ‫شرود‬ ‫مری‬ ‫دیرده‬‫ش‬ ‫ر‬‫ر‬‫ش‬ ‫ری‬‫ر‬‫م‬ ‫رر‬‫ر‬‫فیب‬ ‫رودن‬‫ر‬‫ب‬ ‫آزاد‬ ‫از‬ ‫رانع‬‫ر‬‫م‬ ‫و‬ ‫دارد‬ ‫رود‬‫ر‬‫وج‬ ‫رر‬‫ر‬‫فیب‬ ‫ره‬‫ر‬‫ب‬ ‫ربیده‬‫ر‬‫چس‬ ‫رتیکی‬‫ر‬‫پالس‬‫ود‬.‫رن‬‫ر‬‫ای‬ ‫ر‬ ‫ایرن‬ ‫زیررا‬ ‫اسرت‬ ‫مناسرب‬ ‫بسریار‬ ‫شربکه‬ ‫اجزای‬ ‫به‬ ‫اتصال‬ ‫برای‬ ‫روکش‬ ‫نوع‬‫وکرش‬ ‫کند‬ ‫می‬ ‫جلوگیری‬ ‫فیبر‬ ‫شکستن‬ ‫از‬.‫های‬ ‫فیبر‬Tight Buffer‫اغلب‬‫کراربرد‬ ‫برای‬ ‫عمرومی‬ ‫هرای‬ ‫کاربرد‬ ‫و‬ ‫مرکزی‬ ‫های‬ ‫ساختمان‬ ‫تنذیه‬ ‫منابع‬ ، ‫ساختمان‬ ‫داخل‬ ‫های‬ ‫شوند‬ ‫می‬ ‫برده‬ ‫کار‬ ‫به‬. 61
  • 62.
  • 63.
    3-3-3‫انواع‬‫نظر‬ ‫از‬ ‫نوری‬‫فیبر‬ ‫کابل‬‫استفاده‬ ‫محل‬: ‫تقسیم‬‫اس‬ ‫شده‬ ‫گرفته‬ ‫نظر‬ ‫در‬ ‫فیبر‬ ‫روکش‬ ‫نظر‬ ‫از‬ ‫نیز‬ ‫دیگری‬ ‫بندی‬‫عبرارت‬ ‫کره‬ ‫ت‬ ‫از‬ ‫است‬:In Door،Out Door In Door: ‫بر‬ ‫انعطراف‬ ‫قابلیت‬ ‫ایجاد‬ ‫سبب‬ ‫این‬ ‫و‬ ‫دارد‬ ‫نازک‬ ‫پالستیکی‬ ‫پوشش‬ ‫یو‬‫مری‬ ‫آن‬ ‫رای‬ ‫همین‬ ‫به‬ ‫دارد‬ ‫کمی‬ ‫پایداری‬ ‫و‬ ‫استقامت‬ ‫محیطی‬ ‫های‬ ‫فشار‬ ‫برابر‬ ‫در‬ ‫اما‬ ‫شود‬‫دلیل‬ ‫می‬ ‫استفاده‬ ‫آن‬ ‫از‬ ‫ساختمانی‬ ‫داخل‬ ‫های‬ ‫کار‬ ‫برای‬‫و‬ ‫شود‬‫معموال‬‫مالتی‬‫د‬‫م‬‫ه‬‫ستند‬. ‫افررزایش‬ ‫برره‬ ‫نیررازی‬ ‫ونرره‬ ‫کررردن‬ ‫آب‬ ‫ضررد‬ ‫برره‬ ‫نیازچنرردانی‬ ‫نرره‬ ‫کابلهررا‬ ‫نرروع‬ ‫ایررن‬ ‫در‬ ‫کردن‬ ‫دار‬ ‫زره‬ ‫و‬ ‫استحکام‬. 63
  • 64.
    ‫و‬ ‫جونررردگان‬ ‫برابرررر‬‫در‬ ‫حفاظرررت‬ ‫درجهرررت‬ ‫اقرررداماتی‬ ‫بایرررد‬ ‫کابلهرررا‬ ‫ایرررن‬ ‫مرررورد‬ ‫در‬ ‫صر‬ ‫در‬ ‫کره‬ ‫گردد‬ ‫استفاده‬ ‫موادی‬ ‫از‬ ‫باید‬ ‫اینکه‬ ‫ضمن‬ ‫گیرد‬ ‫صورت‬ ‫تصادمات‬‫ورت‬ ‫نکنرد‬ ‫ایجراد‬ ‫ی‬ّ‫م‬‫س‬ ‫بخارات‬ ‫سوزی‬ ‫آتش‬ ‫بروز‬.‫حردود‬ ‫در‬ ‫کابلهرا‬ ‫ایرن‬ ‫طرول‬۳۰۰‫مترر‬ ‫رل‬‫ر‬‫کاب‬ ‫رر‬‫ر‬‫ه‬ ‫رای‬‫ر‬‫انته‬ ‫روال‬‫ر‬‫معم‬ ‫رند‬‫ر‬‫باش‬ ‫راف‬‫ر‬‫انعط‬ ‫رل‬‫ر‬‫قاب‬ ‫و‬ ‫ربو‬‫ر‬‫س‬ ‫ره‬‫ر‬‫ک‬ ‫رت‬‫ر‬‫اس‬ ‫الزم‬ ‫و‬ ‫رت‬‫ر‬‫اس‬‫ره‬‫ر‬‫ب‬ ‫شود‬ ‫می‬ ‫وصل‬ ‫جداشدن‬ ‫قابل‬ ‫کانکتورهای‬.‫ب‬ ‫کار‬ ‫محیط‬ ‫در‬ ‫که‬ ‫فیبرهایی‬‫عنروان‬ ‫ه‬ ‫گیرند‬ ‫می‬ ‫قرار‬ ‫شکستگی‬ ‫معر‬ ‫در‬ ‫معموال‬ ‫شده‬ ‫استفاده‬ ‫جمپر‬. 64
  • 65.
    out Door: ‫تغیی‬ ‫آن‬‫روکش‬ ‫جنس‬ ، ‫کاربرد‬ ‫نسبت‬ ‫به‬ ‫که‬ ‫است‬ ‫ضخیمی‬ ‫پوشش‬ ‫دارای‬‫کند‬ ‫می‬ ‫ر‬. ‫ک‬ ‫کابخل‬ ‫بخرای‬ ‫و‬ ‫دارد‬ ‫کمخی‬ ‫انافخام‬ ‫کابخل‬ ‫ضخخی‬ ‫پوشش‬ ‫این‬ ‫داشتن‬ ‫دلیل‬ ‫به‬‫در‬ ‫شخی‬ ‫شود‬ ‫می‬ ‫استفاده‬ ‫آن‬ ‫از‬ ‫طوالنی‬ ‫های‬ ‫مسیر‬ ‫و‬ ‫بیرونی‬ ‫های‬ ‫محیط‬. ‫ا‬‫ز‬‫کرد‬ ‫اشاره‬ ‫زیر‬ ‫موارد‬ ‫به‬ ‫توان‬ ‫می‬ ‫کابل‬ ‫نوع‬ ‫این‬ ‫ویژگیهای‬: •‫از‬ ‫محیفی‬ ‫رطوبت‬ ‫تحمل‬۹۰‫تا‬۱۰۰‫درصد‬ •‫بین‬ ‫دمایی‬ ‫محدوده‬ ‫تحمل‬-۴۰‫تا‬+۸۰‫سانتیگراد‬ ‫درجه‬ •‫خورشید‬ ‫نور‬ ‫مقابل‬ ‫در‬ ‫کابل‬ ‫ژاکت‬ ‫استهالک‬ ‫یا‬ ‫تجزیه‬ ‫عدم‬ 65
  • 66.
    •‫ممکن‬ ‫شعاع‬ ‫کمترین‬‫تا‬ ‫خمش‬ ‫مقابل‬ ‫در‬ ‫باال‬ ‫پذیری‬ ‫انعطاف‬ •‫شدن‬ ‫ور‬ ‫شعله‬ ‫مقابل‬ ‫در‬ ‫مقاوم‬ ‫بسیار‬ ‫پوشش‬ •‫باال‬ ‫فشار‬ ‫تحمل‬ ‫قابلیت‬ •‫باشند‬ ‫نداشته‬ ‫عالقه‬ ‫آن‬ ‫به‬ ‫موش‬ ‫متل‬ ‫ها‬ ‫جونده‬ ‫که‬ ‫پوششی‬ ‫خود‬ ‫نوری‬ ‫های‬ ‫کابل‬out Door‫اند‬ ‫نوع‬ ‫چند‬: ۱-‫طوالنی‬ ‫زیرخاکی‬ ‫باز‬ ‫فضای‬ ‫کابلهای‬: ‫براالی‬ ‫مردی‬ ‫تو‬ ‫فیبرهای‬ ‫از‬ ‫بسیاری‬ ‫شامل‬ ‫گروه‬ ‫این‬۱۰۰‫ایرن‬ ‫شرود‬ ‫مری‬ ‫کیلرومتر‬ ‫دهنده‬ ‫استحکام‬ ‫تجهیزات‬ ‫ودارای‬ ‫ضدآبند‬ ‫کابلها‬‫و‬‫زره‬‫دارند‬. 66
  • 67.
    ٢-‫کابلهای‬‫زیرخاکی‬ ‫باز‬ ‫فضای‬‫اقامتگاهی‬: ‫شرو‬‫مری‬ ‫اسرتفاده‬ ‫قبرل‬ ‫دسرته‬ ‫به‬ ‫نسبت‬ ‫کمتری‬ ‫مسافت‬ ‫در‬ ‫کابلها‬ ‫نوع‬ ‫این‬‫از‬ ‫هرم‬ ‫و‬ ‫ند‬ ‫آب‬ ‫ضرد‬ ‫بایرد‬ ‫هرم‬ ‫هرا‬ ‫کابل‬ ‫نوع‬ ‫این‬ ‫باشند‬ ‫می‬ ‫مدی‬ ‫چند‬ ‫نوع‬ ‫از‬ ‫وهم‬ ‫مدی‬ ‫تو‬ ‫نوع‬ ‫ر‬‫ر‬‫چ‬ ‫ری‬‫ر‬‫طرف‬ ‫از‬ ‫رت‬‫ر‬‫قبلیس‬ ‫رته‬‫ر‬‫دس‬ ‫از‬ ‫رر‬‫ر‬‫کمت‬ ‫را‬‫ر‬‫آنه‬ ‫رتحکامی‬‫ر‬‫اس‬ ‫رزات‬‫ر‬‫تجهی‬ ‫ری‬‫ر‬‫ول‬ ‫رند‬‫ر‬‫باش‬‫در‬ ‫ون‬ ‫ن‬ ‫الزم‬ ‫دیگر‬ ‫شوند‬ ‫می‬ ‫داده‬ ‫عبور‬ ‫کانالها‬ ‫یا‬ ‫فوالدی‬ ‫های‬ ‫لوله‬ ‫درون‬ ‫از‬ ‫معابر‬‫یست‬ ‫شوند‬ ‫دار‬ ‫زره‬ ‫شهری‬ ‫بین‬ ‫کابلهای‬ ‫مانند‬. ۳-‫هوایی‬ ‫باز‬ ‫فضای‬ ‫کابلهای‬: ‫را‬‫ر‬‫غالب‬ ‫را‬‫ر‬‫کابله‬ ‫رن‬‫ر‬‫ای‬ ‫رند‬‫ر‬‫باش‬ ‫راوم‬‫ر‬‫مق‬ ‫ریار‬‫ر‬‫بس‬ ‫رش‬‫ر‬‫کش‬ ‫رل‬‫ر‬‫مقاب‬ ‫در‬ ‫رد‬‫ر‬‫بای‬ ‫را‬‫ر‬‫کابله‬ ‫رن‬‫ر‬‫ای‬‫رزات‬‫ر‬‫تجهی‬ ‫باشن‬ ‫می‬ ‫فیبر‬ ‫به‬ ‫کشش‬ ‫نیروی‬ ‫شدن‬ ‫وارد‬ ‫از‬ ‫جلوگیری‬ ‫برای‬ ‫ای‬ ‫جداگانه‬‫د‬. 67
  • 68.
    ۴-‫کابلهای‬‫از‬ ‫استفاده‬ ‫با‬‫هوایی‬ ‫باز‬ ‫فضای‬‫کابل‬Earth‫دکلهای‬‫قوی‬ ‫فشار‬: ‫د‬ ‫رای‬‫ر‬‫فض‬ ‫از‬ ‫رتفاده‬‫ر‬‫اس‬ ‫روری‬‫ر‬‫ن‬ ‫رای‬‫ر‬‫فیبره‬ ‫رال‬‫ر‬‫انتق‬ ‫ررای‬‫ر‬‫ب‬ ‫رول‬‫ر‬‫معم‬ ‫رای‬‫ر‬‫مکانه‬ ‫از‬ ‫ری‬‫ر‬‫یک‬‫رون‬ ‫رل‬‫ر‬‫کاب‬Earth‫روط‬‫ر‬‫خط‬ ‫روال‬‫ر‬‫معم‬ ‫ره‬‫ر‬‫ک‬ ‫رت‬‫ر‬‫اس‬ ‫روی‬‫ر‬‫ق‬ ‫رار‬‫ر‬‫فش‬ ‫رای‬‫ر‬‫دکله‬۱۳۲‫ری‬‫ر‬‫م‬ ‫رت‬‫ر‬‫ول‬ ‫رو‬‫ر‬‫کیل‬ ‫دکر‬ ‫س‬ ‫ر‬ ‫از‬ ‫کره‬ ‫کابرل‬ ‫براالترین‬ ‫خرابکراری‬ ‫از‬ ‫جلروگیری‬ ‫جهرت‬ ‫اغلرب‬ ‫باشند‬‫مری‬ ‫ل‬ ‫رل‬‫ر‬‫کاب‬ ‫گرذرد‬Earth‫اسرت‬‫روع‬‫ر‬‫ن‬ ‫رن‬‫ر‬‫ای‬‫کابلهرا‬Optical Ground Wire(OPGW) ‫می‬ ‫نامیده‬‫شوند‬. 68
  • 69.
    ۵-‫دریایی‬ ‫زیر‬ ‫کابلهای‬: ‫ا‬‫نوری‬ ‫فیبر‬ ‫سازی‬ ‫کابل‬ ‫نوع‬ ‫ترین‬ ‫مشکل‬ ‫دریایی‬ ‫زیر‬ ‫کابلهای‬ ‫ساخت‬‫تحمرل‬ ‫سرت‬ ‫لرذا‬ ‫شرود‬ ‫مری‬ ‫محسروب‬ ‫کابلهرا‬ ‫نروع‬ ‫این‬ ‫برای‬ ‫زیادی‬ ‫چالش‬ ‫شور‬ ‫آب‬ ‫زیاد‬ ‫فشار‬‫از‬ ‫رل‬‫ر‬‫کاب‬ ‫روع‬‫ر‬‫ن‬ ‫رن‬‫ر‬‫ای‬۶‫را‬‫ر‬‫ت‬۲۰‫را‬‫ر‬‫زی‬ ‫ریار‬‫ر‬‫بس‬ ‫روع‬‫ر‬‫تن‬ ‫رالف‬‫ر‬‫خ‬ ‫رر‬‫ر‬‫ب‬ ‫رت‬‫ر‬‫نیس‬ ‫رود‬‫ر‬‫موج‬ ‫رتر‬‫ر‬‫بیش‬ ‫روع‬‫ر‬‫ن‬‫د‬ ‫رررر‬‫ر‬‫دیگ‬ ‫رررای‬‫ر‬‫کابله‬.‫ررر‬‫ر‬‫ت‬ ‫رررده‬‫ر‬‫کنن‬ ‫رررأمین‬‫ر‬‫ت‬ ‫ررری‬‫ر‬‫الکتریک‬ ‫رررای‬‫ر‬‫کابله‬ ‫رررداری‬‫ر‬‫نگه‬ ‫رررکالت‬‫ر‬‫مش‬‫وان‬ repeater‫مری‬ ‫موضروع‬ ‫هرای‬ ‫پیچیردگی‬ ‫بره‬ ‫نیرز‬ ‫مسریر‬ ‫طرول‬ ‫فایرهای‬ ‫آمپلی‬ ‫و‬ ‫ها‬ ‫افزاید‬. 69
  • 70.
    3-3-4‫انواع‬‫سازنده‬ ‫ی‬ ‫ماده‬‫نظر‬ ‫از‬ ‫نوری‬ ‫فیبر‬ ‫کابل‬: ‫شبکه‬ ‫در‬‫کابرل‬ ‫نروع‬ ‫سره‬ ‫از‬ ‫بیشتر‬ ، ‫نوری‬ ‫فیبر‬ ‫های‬‫فیبرنروری‬‫اسرتف‬‫شرود‬ ‫مری‬ ‫اده‬ ‫رد‬‫ر‬‫عبارتن‬ ‫ره‬‫ر‬‫ک‬‫از‬:‫رتیکی‬‫ر‬‫پالس‬ ‫روری‬‫ر‬‫ن‬ ‫رر‬‫ر‬‫فیب‬ ‫رل‬‫ر‬‫کاب‬،‫روری‬‫ر‬‫ن‬ ‫رر‬‫ر‬‫فیب‬ ‫رل‬‫ر‬‫کاب‬‫شی‬‫ره‬‫ر‬‫ش‬‫ای‬‫رل‬‫ر‬‫وکاب‬ ‫فیبرنوری‬‫پلیمر‬ ‫با‬‫سخت‬ ‫کابل‬‫شیشه‬ ‫نوری‬ ‫فیبر‬‫ای‬(Glass Optical): ‫ی‬ ‫اسرتوانه‬ ‫یرو‬ ‫شرامل‬ ‫اسرت‬ ‫نرازکی‬ ‫بسریار‬ ‫ی‬ ‫رشته‬ ‫ای‬ ‫شیشه‬ ‫نوری‬ ‫فیبر‬‫و‬ ‫جامرد‬ ‫با‬ ‫هسته‬ ‫نام‬ ‫به‬ ‫عایق‬‫شعاع‬a‫و‬‫شکست‬ ‫ضریب‬n1‫که‬‫می‬ ‫نامیده‬ ‫نیز‬ ‫فیبر‬ ‫منزی‬ ‫را‬‫ر‬‫ب‬ ‫رش‬‫ر‬‫پوش‬ ‫رام‬‫ر‬‫ن‬ ‫ره‬‫ر‬‫ب‬ ‫رایق‬‫ر‬‫ع‬ ‫و‬ ‫رد‬‫ر‬‫جام‬ ‫رارجی‬‫ر‬‫خ‬ ‫ی‬ ‫ره‬‫ر‬‫الی‬ ‫رو‬‫ر‬‫ی‬ ‫رط‬‫ر‬‫توس‬ ‫و‬ ‫رود‬‫ر‬‫ش‬‫رر‬‫ر‬‫قط‬n2 (n2<n1)‫و‬‫ظریب‬‫شکست‬d‫است‬ ‫شده‬ ‫احاطه‬‫،این‬‫نیرز‬ ‫فیبرر‬ ‫غرالف‬ ‫را‬ ‫پوشرش‬ ‫گویند‬ ‫می‬. 70
  • 71.
    ‫غالف‬‫منرز‬ ‫سرطت‬ ‫هرای‬‫ناپیوسرتگی‬ ‫از‬ ‫ناشی‬ ‫پراکندگی‬ ‫اتالف‬ ‫کاهش‬ ‫باع‬‫مری‬ ‫ی‬ ‫ور‬ ‫از‬ ‫همچنرین‬ ، ‫دهرد‬ ‫مری‬ ‫افرزایش‬ ‫نیز‬ ‫را‬ ‫فیبر‬ ‫مکانیکی‬ ‫تحمل‬ ‫قدرت‬ ‫و‬ ‫شود‬‫و‬ ‫ود‬ ‫رد‬‫ر‬‫کن‬ ‫ری‬‫ر‬‫م‬ ‫روگیری‬‫ر‬‫جل‬ ‫رزی‬‫ر‬‫من‬ ‫رطت‬‫ر‬‫س‬ ‫ره‬‫ر‬‫ب‬ ‫رارجی‬‫ر‬‫خ‬ ‫رل‬‫ر‬‫عوام‬ ‫رذب‬‫ر‬‫ج‬.‫رو‬‫ر‬‫ی‬ ‫در‬ ‫را‬ ‫را‬‫ر‬‫ه‬ ‫رر‬‫ر‬‫فیب‬ ‫محافظ‬ ‫روکش‬ ‫نام‬ ‫به‬ ‫پالستیکی‬ ‫ی‬ ‫محفظه‬‫قرار‬‫فیبرر‬ ‫مقاومرت‬ ‫ترا‬ ‫دهنرد‬ ‫مری‬‫نروری‬ ‫یابرد‬ ‫افرزایش‬ ‫مکرانیکی‬ ‫های‬ ‫تنش‬ ‫برابر‬ ‫در‬.‫شرک‬ ‫تنییرر‬ ‫مرانع‬ ‫روکرش‬ ‫ایرن‬‫و‬ ‫فیبرر‬ ‫ل‬ ‫شود‬ ‫می‬ ‫آن‬ ‫سطت‬ ‫خراشیدگی‬. 71
  • 72.
    ‫است‬ ‫شیشه‬ ‫از‬‫ها‬ ‫فیبر‬ ‫این‬ ‫پوشش‬ ‫و‬ ‫منزی‬ ‫جنس‬.‫فی‬ ‫این‬ ‫در‬ ‫که‬ ‫ای‬ ‫شیشه‬‫به‬ ‫ها‬ ‫بر‬ ‫کرو‬ ‫یرا‬ ‫سیلیکون‬ ‫اکسید‬ ‫دی‬ ‫جنس‬ ‫از‬ ‫و‬ ‫شفاف‬ ‫و‬ ‫خالر‬ ‫بسیار‬ ‫رفته‬ ‫کار‬‫اسرت‬ ‫ارتز‬. ‫نر‬ ‫هرای‬ ‫فیبرر‬ ‫برین‬ ‫در‬ ‫را‬ ‫قیمت‬ ‫بیشترین‬ ‫و‬ ‫اتالف‬ ‫کمترین‬ ‫ها‬ ‫فیبر‬ ‫این‬‫و‬ ‫دارنرد‬ ‫وری‬ ‫باشرند‬ ‫مری‬ ‫بیشرتر‬ ‫بانرد‬ ‫پهنای‬ ‫دارای‬.‫م‬ ‫هرای‬ ‫شربکه‬ ‫در‬ ‫ای‬ ‫شیشره‬ ‫هرای‬ ‫فیبرر‬، ‫حلری‬ ‫هر‬ ‫داده‬ ‫ارسرال‬ ‫بررای‬ ‫مروج‬ ‫طرول‬ ‫بهتررین‬ ‫و‬ ‫شروند‬ ‫می‬ ‫استفاده‬ ‫مخابراتی‬ ‫و‬ ‫شهری‬‫ا‬ ‫ها‬ ‫آن‬ ‫در‬1300‫متر‬ ‫نانو‬‫است‬. 72
  • 73.
    ‫پالستیکی‬ ‫نوری‬ ‫فیبر‬‫کابل‬(plastic clad optical): ‫م‬ ‫منرزی‬ ‫پالسرتیو‬ ، ‫اسرت‬ ‫پالسرتیو‬ ‫جنس‬ ‫از‬ ‫ها‬ ‫کابل‬ ‫این‬ ‫پوشش‬ ‫و‬ ‫منزی‬‫عمروال‬ ‫جنس‬ ‫از‬PMMA (Poly Methy1 Methacrylate)،‫الیه‬ ‫یو‬ ‫با‬ ‫که‬ ‫باشد‬ ‫می‬ ‫است‬ ‫شده‬ ‫پوشیده‬ ‫فلوروپلیمر‬. ‫ر‬‫ر‬‫فیب‬ ‫رر‬‫ر‬‫دیگ‬ ‫ره‬‫ر‬‫ب‬ ‫ربت‬‫ر‬‫نس‬ ‫رتری‬‫ر‬‫بیش‬ ‫ریار‬‫ر‬‫بس‬ ‫رخامت‬‫ر‬‫ض‬ ‫رتیکی‬‫ر‬‫پالس‬ ‫رای‬‫ر‬‫ه‬ ‫رر‬‫ر‬‫فیب‬، ‫رد‬‫ر‬‫دارن‬ ‫را‬‫ر‬‫ه‬ ‫ر‬ ‫هرا‬ ‫فیبرر‬ ‫ایرن‬ ‫اغلب‬ ‫ضخامت‬1000‫آنهرا‬ ‫منرزی‬ ‫یرا‬ ‫هسرته‬ ‫ی‬ ‫انردازه‬ ‫و‬ ‫میکرومترر‬ 980‫باشد‬ ‫می‬ ‫متر‬ ‫میکرو‬. 73
  • 74.
    ‫یر‬ ، ‫شرده‬‫کتیرف‬ ‫انردکی‬ ‫فیبرر‬ ‫انتهرای‬ ‫اگرر‬ ‫حتی‬ ، ‫زیاد‬ ‫ضخامت‬ ‫این‬ ‫وجود‬ ‫با‬‫آسریب‬ ‫ا‬ ‫رال‬‫ر‬‫ارس‬ ‫ران‬‫ر‬‫همچن‬ ، ‫رد‬‫ر‬‫باش‬ ‫رز‬‫ر‬‫مرک‬ ‫از‬ ‫رارج‬‫ر‬‫خ‬ ‫ردکی‬‫ر‬‫ان‬ ‫رور‬‫ر‬‫ن‬ ‫رور‬‫ر‬‫مح‬ ‫رر‬‫ر‬‫اگ‬ ‫را‬‫ر‬‫ی‬ ‫و‬ ‫رد‬‫ر‬‫باش‬ ‫رده‬‫ر‬‫دی‬ ‫ه‬ ‫فیبر‬ ‫نوع‬ ‫این‬ ‫نصب‬ ‫کار‬ ‫دلیل‬ ‫همین‬ ‫به‬ ‫و‬ ‫باشد‬ ‫می‬ ‫پذیر‬ ‫امکان‬ ‫اطالعات‬‫بسریار‬ ‫ا‬ ‫است‬ ‫آسان‬.‫پالسرت‬ ‫نروری‬ ‫هرای‬ ‫فیبرر‬ ‫ماننرد‬ ، ‫زیراد‬ ‫ضرخامت‬ ‫برا‬ ‫هرای‬ ‫فیبرر‬ ‫در‬‫یکی‬ ‫تا‬ ‫را‬ ‫نور‬ ‫ارسال‬96%‫می‬ ‫انجام‬ ‫هسته‬ ‫توسط‬‫شود‬. ‫برای‬‫پالسرتیک‬ ‫نروری‬ ‫های‬ ‫فیبر‬ ‫در‬ ‫گیرنده‬ ‫و‬ ‫فرستنده‬ ‫های‬ ‫ماژول‬ ‫منبع‬‫معمروال‬ ‫ی‬ ‫یو‬ ‫از‬LED(‫قرمز‬)650‫کراهش‬ ‫باع‬ ‫امر‬ ‫این‬ ‫که‬ ، ‫شود‬ ‫می‬ ‫استفاده‬ ‫متر‬ ‫نانو‬ ‫شود‬ ‫می‬ ‫شبکه‬ ‫در‬ ‫هزینه‬. 74
  • 75.
    ، ‫ای‬ ‫ره‬‫ر‬‫شیش‬‫روری‬‫ر‬‫ن‬ ‫رای‬‫ر‬‫ه‬ ‫رر‬‫ر‬‫فیب‬ ‫را‬‫ر‬‫ب‬ ‫ره‬‫ر‬‫مقایس‬ ‫در‬‫اال‬‫ا‬‫ات‬ ‫ازان‬‫ا‬‫می‬‫رور‬‫ر‬‫ن‬ ‫ی‬ ‫را‬‫ر‬‫ه‬ ‫رر‬‫ر‬‫فیب‬ ‫در‬‫ی‬ ‫پالستیکی‬‫اسا‬ ‫بیشاتر‬‫اطال‬ ‫ارسرال‬ ‫بررای‬ ‫هرا‬ ‫فیبرر‬ ‫ایرن‬ ‫دلیرل‬ ‫همرین‬ ‫بره‬ ‫و‬‫در‬ ‫عرات‬ ‫از‬ ‫ترر‬ ‫طروالنی‬ ‫های‬ ‫مسافت‬50‫شربکه‬ ‫در‬ ‫هرا‬ ‫آن‬ ‫از‬ ‫اغلرب‬ ‫و‬ ‫نیسرتند‬ ‫مناسرب‬ ‫مترر‬ ‫شود‬ ‫می‬ ‫استفاده‬ ‫خانگی‬ ‫های‬. ‫خمیدگ‬ ‫و‬ ‫ارتعاش‬ ‫برابر‬ ‫در‬ ‫پالستیکی‬ ‫نوری‬ ‫فیبر‬ ‫که‬ ‫این‬ ‫به‬ ‫توجه‬ ‫با‬‫اسرت‬ ‫مقاوم‬ ‫ی‬ ‫ری‬‫ر‬‫م‬ ‫اسرتفاده‬ ‫رز‬‫ر‬‫نی‬ ‫هرا‬ ‫رل‬‫ر‬‫اتومبی‬ ‫و‬ ‫هرا‬ ‫رار‬‫ر‬‫قط‬ ‫در‬ ، ‫آن‬ ‫معمرول‬ ‫رای‬‫ر‬‫ه‬ ‫کراربرد‬ ‫رر‬‫ر‬‫ب‬ ‫عرالوه‬ ‫شود‬. ‫پالسرتیکی‬ ‫های‬ ‫فیبر‬ ‫دیگر‬ ‫مزیت‬‫کام‬ ‫وزن‬ ‫و‬ ‫سابکی‬‫سرای‬ ‫مقابرل‬ ‫در‬ ‫هرا‬ ‫آن‬‫کابرل‬ ‫ر‬ ‫است‬ ‫داده‬ ‫انتقال‬ ‫های‬. 75
  • 76.
    ‫ازی‬‫ا‬‫مغ‬‫ره‬‫ر‬‫س‬ ‫ره‬‫ر‬‫ب‬ ‫را‬‫ر‬‫ه‬‫رر‬‫ر‬‫فیب‬ ‫رن‬‫ر‬‫ای‬‫اه‬‫ا‬‫پل‬ ‫ا‬‫ا‬‫شکس‬ ‫اریب‬‫ا‬‫ض‬ ‫اور‬‫ا‬‫ص‬‫ای‬،‫ا‬‫ا‬‫شکس‬ ‫اریب‬‫ا‬‫ض‬ ‫تدریجی‬،‫ای‬ ‫پله‬ ‫چند‬ ‫شکس‬ ‫ضریب‬،‫شرود‬ ‫مری‬ ‫سراخته‬.‫در‬‫بیشاتر‬‫فیبرر‬‫برا‬ ‫هرای‬ ‫از‬ ‫پالستیکی‬ ‫منزی‬‫ای‬ ‫پله‬ ‫روش‬‫ر‬ ‫امرا‬ ، ‫شرود‬ ‫مری‬ ‫اسرتفاده‬ ‫داده‬ ‫انتقرال‬ ‫برای‬‫وش‬ ‫است‬ ‫مناسب‬ ‫باال‬ ‫حجم‬ ‫با‬ ‫اطالعات‬ ‫ارسال‬ ‫و‬ ‫باال‬ ‫های‬ ‫سرعت‬ ‫برای‬ ‫تدریجی‬. ‫پل‬ ‫اصل‬ ‫دو‬ ‫هر‬ ‫از‬ ‫اطالعات‬ ‫ارسال‬ ‫برای‬ ‫ای‬ ‫پله‬ ‫چند‬ ‫ساختار‬ ‫با‬ ‫های‬ ‫فیبر‬ ‫در‬‫ای‬ ‫ه‬ ‫شود‬ ‫می‬ ‫استفاده‬ ‫تدریجی‬ ‫و‬.‫کرر‬ ‫پیردا‬ ‫افزایش‬ ‫باند‬ ‫پهنای‬ ‫ساختار‬ ‫این‬ ‫در‬‫تولیرد‬ ‫و‬ ‫ده‬ ‫رود‬‫ر‬‫ش‬ ‫ری‬‫ر‬‫م‬ ‫رر‬‫ر‬‫ت‬ ‫ران‬‫ر‬‫آس‬ ‫ریار‬‫ر‬‫بس‬ ‫روه‬‫ر‬‫انب‬.‫رای‬‫ر‬‫ه‬ ‫رر‬‫ر‬‫فیب‬ ‫در‬ ‫داده‬ ‫رال‬‫ر‬‫ارس‬ ‫روج‬‫ر‬‫م‬ ‫رول‬‫ر‬‫ط‬ ‫ررین‬‫ر‬‫بهت‬ ‫موج‬ ‫طول‬ ، ‫پالستیکی‬650‫نانومتر‬‫است‬. 76
  • 77.
    ‫نوری‬ ‫فیبر‬ ‫کابل‬‫های‬ ‫کاربرد‬‫پالستیکی‬: 1-‫خانگی‬ ‫های‬ ‫شبکه‬ 2-‫تصویری‬ ‫و‬ ‫صوتی‬ ‫تجهیزات‬ ‫رابط‬ 3-‫صنعتی‬ ‫تجهیزات‬ ‫کنترل‬(‫اتوماسیون‬) 4-‫ها‬ ‫ماشین‬ ‫و‬ ‫ها‬ ‫قطار‬ ‫های‬ ‫شبکه‬ 5-‫دور‬ ‫راه‬ ‫از‬ ‫سنجش‬ 6-‫وسایل‬ ‫کنترل‬‫انتقالگ‬‫ر‬ 7-‫هنری‬ ‫های‬ ‫جلوه‬ ‫در‬ ‫استفاده‬ 8-‫پزشکی‬ ‫های‬ ‫کاربرد‬ 77
  • 78.
    •‫ا‬ ‫رازی‬‫ر‬‫س‬ ‫رین‬‫ر‬‫ماش‬‫رنایع‬‫ر‬‫ص‬ ‫در‬ ‫و‬ ‫رن‬‫ر‬‫ژاپ‬ ‫در‬ ‫ردا‬‫ر‬‫ابت‬ ‫رتیکی‬‫ر‬‫پالس‬ ‫روری‬‫ر‬‫ن‬ ‫رای‬‫ر‬‫ه‬ ‫رر‬‫ر‬‫فیب‬‫رتفاده‬‫ر‬‫س‬ ‫گرفتند‬ ‫قرار‬ ‫توجه‬ ‫مورد‬ ‫ارتباطات‬ ‫صنایع‬ ‫در‬ ‫سپس‬ ‫و‬ ‫شدند‬. ‫عالقه‬ ‫دلیل‬‫به‬ ‫زیاد‬‫پالستیکی‬ ‫نوری‬ ‫فیبر‬‫؟‬ ‫چیس‬ 1-‫نوری‬ ‫فیبر‬ ‫های‬ ‫شبکه‬ ‫برای‬ ‫پایین‬ ‫قیمت‬ ‫به‬ ‫نیاز‬ 2-‫باال‬ ‫دوام‬ ‫و‬ ‫استحکام‬ 3-‫استاندارد‬ ‫تصویب‬13994b 4-‫های‬ ‫کاربرد‬‫گوناگون‬ 78
  • 79.
    5-‫ها‬ ‫کانکتور‬ ‫آسان‬‫نصب‬ 6-‫ارزان‬ ‫های‬ ‫گیرنده‬ ‫و‬ ‫فرستنده‬ 7-‫آسان‬ ‫نگهداری‬ ‫و‬ ‫تعمیر‬ 8-‫کوچو‬ ‫ی‬ ‫اندازه‬‫کانکتورهای‬‫به‬ ‫نسبت‬ ‫آن‬‫فیبرنوری‬ ‫کانکتورهای‬‫ش‬‫ای‬ ‫یشه‬ 9-‫ارتعاش‬ ‫و‬ ‫نوسان‬ ، ‫ضربه‬ ‫مقابل‬ ‫در‬ ‫پذیری‬ ‫انعطاف‬ 10-‫شیشه‬ ‫نوری‬ ‫های‬ ‫فیبر‬ ‫به‬ ‫نسبت‬ ‫کمتر‬ ‫امنیتی‬ ‫مشکالت‬‫ای‬ 79
  • 80.
    ‫پوشش‬ ‫با‬ ‫نوری‬‫کابل‬‫پولیمرسخت‬(Hard–PolimerCladFiber): ‫در‬‫از‬ ‫روری‬‫ر‬‫ن‬ ‫رای‬‫ر‬‫ه‬ ‫رل‬‫ر‬‫کاب‬ ‫روع‬‫ر‬‫ن‬ ‫ایرن‬‫اتیک‬‫ا‬‫پالس‬‫روان‬‫ر‬‫عن‬ ‫ره‬‫ر‬‫ب‬‫ار‬‫ا‬‫فیب‬ ‫اش‬‫ا‬‫پوش‬‫از‬ ‫و‬‫ش‬‫اه‬‫ا‬‫یش‬ ‫سیلیکا‬‫عنوان‬ ‫به‬‫مغزی‬‫است‬ ‫گردیده‬ ‫استفاده‬.‫فیبر‬ ‫این‬ ‫در‬ ‫اتالف‬ ‫میزان‬‫کمترر‬ ‫هرا‬ ‫ر‬ ‫ای‬ ‫ره‬‫ر‬‫شیش‬ ‫روری‬‫ر‬‫ن‬ ‫رای‬‫ر‬‫ه‬ ‫رر‬‫ر‬‫فیب‬ ‫از‬ ‫رتر‬‫ر‬‫بیش‬ ‫و‬ ‫رتیکی‬‫ر‬‫پالس‬ ‫روری‬‫ر‬‫ن‬ ‫رای‬‫ر‬‫ه‬ ‫رر‬‫ر‬‫فیب‬ ‫از‬، ‫رت‬‫ر‬‫اس‬ ‫کم‬ ‫و‬ ‫پالسرتیکی‬ ‫هرای‬ ‫فیبرر‬ ‫از‬ ‫بیشرتر‬ ‫آنهرا‬ ‫بانرد‬ ‫پهنرای‬ ‫و‬ ‫قیمرت‬ ‫همچنین‬‫فیبرر‬ ‫از‬ ‫ترر‬ ‫باشد‬ ‫می‬ ‫ای‬ ‫شیشه‬ ‫های‬. ‫فی‬ ‫تروان‬ ‫می‬ ‫است‬ ‫بزر‬ ‫ها‬ ‫فیبر‬ ‫نوع‬ ‫این‬ ‫در‬ ، ‫عددی‬ ‫ی‬ ‫روزنه‬ ‫و‬ ‫منزی‬ ‫چون‬‫برر‬ ‫فیبر‬ ‫ایرن‬ ‫نتیجره‬ ‫در‬ ‫کره‬ ‫کررد‬ ‫متصرل‬ ‫پایین‬ ‫قیمت‬ ‫با‬ ‫نوری‬ ‫های‬ ‫ماژول‬ ‫به‬ ‫را‬‫را‬ ‫هرا‬ ‫ر‬ ‫کنرد‬ ‫مری‬ ‫ای‬ ‫شیشه‬ ‫نوری‬ ‫های‬ ‫فیبر‬ ‫از‬ ‫تر‬ ‫صرفه‬ ‫به‬ ‫مقرون‬.‫پ‬ ‫چرون‬ ‫همچنرین‬‫هنرای‬ ‫ارسرال‬ ‫بررای‬ ، ‫اسرت‬ ‫پالسرتیکی‬ ‫هرای‬ ‫فیبر‬ ‫از‬ ‫بیشتر‬ ‫ها‬ ‫فیبر‬ ‫این‬ ‫باند‬‫ترا‬ ‫اطالعرات‬ ‫مسافت‬100‫کرد‬ ‫استفاده‬ ‫آنها‬ ‫از‬ ‫توان‬ ‫می‬ ‫متر‬. 80
  • 81.
    ‫رررررای‬‫ر‬‫کانکتوره‬ ‫از‬ ‫رررررتفاده‬‫ر‬‫اس‬‫رررررل‬‫ر‬‫دلی‬ ‫ررررره‬‫ر‬‫ب‬ ‫رررررا‬‫ر‬‫ه‬ ‫رررررر‬‫ر‬‫فیب‬ ‫رررررن‬‫ر‬‫ای‬ ‫رررررردن‬‫ر‬‫ک‬ ‫رررررمبل‬‫ر‬‫س‬ ‫رررررار‬‫ر‬‫ک‬ ‫روع‬‫ر‬‫ن‬crimp&cleave،‫راه‬‫ر‬‫کوت‬ ‫ریار‬‫ر‬‫بس‬ ‫ران‬‫ر‬‫زم‬ ‫در‬ ‫و‬ ‫رانی‬‫ر‬‫آس‬ ‫ره‬‫ر‬‫ب‬(‫از‬ ‫رر‬‫ر‬‫کمت‬3‫ره‬‫ر‬‫دقیق‬)‫و‬ ‫کانکتور‬ ‫یو‬ ‫برای‬ ‫پالیش‬ ‫زدن‬ ‫چسب‬ ‫عملیات‬ ‫بدون‬‫دوتایی‬‫می‬ ‫انجام‬‫شو‬‫د‬. ‫از‬‫هرا‬ ‫شربکه‬ ‫برای‬ ‫بیشتر‬ ، ‫سخت‬ ‫پولیمر‬ ‫پوشش‬ ‫با‬ ‫نوری‬ ‫فیبر‬ ‫کابل‬‫احتیراج‬ ‫کره‬ ‫یی‬ ‫کارخانه‬ ‫و‬ ‫اداری‬ ‫های‬ ‫شبکه‬ ‫مانند‬ ، ‫است‬ ‫کم‬ ‫آنها‬ ‫طول‬ ‫و‬ ‫دارند‬ ‫باال‬ ‫سرعت‬ ‫به‬‫ها‬ ‫پزشرکی‬ ‫و‬ ‫صرنعتی‬ ‫تجهیزات‬ ‫در‬ ‫کابل‬ ‫این‬ ‫از‬ ‫همچنین‬ ، ‫شود‬ ‫می‬ ‫استفاده‬‫سیسرتم‬ ، ‫سال‬ ‫در‬ ‫تصویر‬ ‫و‬ ‫صدا‬ ‫انتقال‬ ‫و‬ ‫آهن‬ ‫راه‬ ‫های‬ ‫واگن‬ ، ‫نما‬ ‫طیف‬ ‫و‬ ‫چراغانی‬ ‫های‬‫ن‬ ‫شود‬ ‫می‬ ‫استفاده‬ ‫موسیقی‬ ‫های‬. 81
  • 82.
    ‫سخ‬ ‫پلیمر‬ ‫پوشش‬‫با‬ ‫نوری‬ ‫فیبر‬ ‫کابل‬ ‫خصوصیا‬: •‫اسمبل‬‫آسان‬ •‫اتالف‬‫پایین‬ ‫خمیدگی‬ •‫روزنه‬‫باال‬ ‫عددی‬ ‫ی‬ •‫قیمت‬‫داده‬ ‫انتقال‬ ‫های‬ ‫دستگاه‬ ‫پایین‬ •‫بهترین‬‫داده‬ ‫ارسال‬ ‫موج‬ ‫طول‬(850‫نانومتر‬) 82
  • 83.
    3-4‫فیبرنوری‬‫میشود‬ ‫ساخته‬ ‫چگونه‬‫؟‬ ‫روری‬‫ر‬‫فیبرن‬‫رود‬‫ر‬‫میش‬‫راخته‬‫ر‬‫س‬ ‫رالر‬‫ر‬‫خ‬ ‫ریار‬‫ر‬‫بس‬ ‫رفاف‬‫ر‬‫ش‬ ‫ره‬‫ر‬‫شیش‬ ‫از‬.‫پ‬ ‫ره‬‫ر‬‫شیش‬ ‫رر‬‫ر‬‫اگ‬‫را‬ ‫رره‬‫ر‬‫نج‬ ‫رد‬‫ر‬‫ب‬ ،‫رریم‬‫ر‬‫بگی‬ ‫رر‬‫ر‬‫نظ‬ ‫در‬ ‫رد‬‫ر‬‫میده‬ ‫رور‬‫ر‬‫عب‬ ‫رود‬‫ر‬‫خ‬ ‫از‬ ‫را‬ ‫رور‬‫ر‬‫ن‬ ‫ره‬‫ر‬‫ک‬ ‫رفاف‬‫ر‬‫ش‬ ‫ری‬‫ر‬‫محیط‬ ‫روان‬‫ر‬‫بعن‬‫لیل‬ ‫رر‬‫ر‬‫نمیکن‬ ‫ررور‬‫ر‬‫عب‬ ‫ررر‬‫ر‬‫تنیی‬ ‫رردون‬‫ر‬‫ب‬ ‫و‬ ‫ررل‬‫ر‬‫کام‬ ‫ررور‬‫ر‬‫بط‬ ‫ررور‬‫ر‬‫ن‬ ،‫رره‬‫ر‬‫شیش‬ ‫در‬ ‫رریها‬‫ر‬‫ناخالص‬ ‫ررود‬‫ر‬‫وج‬‫د‬. ‫شیشر‬ ‫بره‬ ‫نسربت‬ ،‫میررود‬ ‫بکرار‬ ‫فیبرنروری‬ ‫سراخت‬ ‫در‬ ‫کره‬ ‫ای‬ ‫شیشره‬ ‫بهرحال‬‫بکرار‬ ‫ه‬ ‫پنجره‬ ‫برای‬ ‫رفته‬‫های‬ ‫ناخالصی‬‫دارد‬ ‫کمتری‬ ‫بسیار‬.‫شررک‬ ‫یرو‬ ‫توصریف‬‫تولیرد‬ ‫ت‬ ‫اینص‬ ‫به‬ ‫میرود‬ ‫بکار‬ ‫آن‬ ‫ساخت‬ ‫برای‬ ‫که‬ ‫ای‬ ‫شیشه‬ ‫از‬ ‫فیبرنوری‬ ‫کننده‬‫است‬ ‫ورت‬: ‫با‬ ‫روری‬‫ر‬‫فیبرن‬ ‫راخت‬‫ر‬‫س‬ ‫در‬ ‫ره‬‫ر‬‫رفت‬ ‫رار‬‫ر‬‫بک‬ ‫ره‬‫ر‬‫شیش‬ ‫از‬ ‫ری‬‫ر‬‫اقیانوس‬ ‫رطت‬‫ر‬‫س‬ ‫روی‬ ‫رر‬‫ر‬‫اگ‬،‫رتید‬‫ر‬‫یس‬ ‫بوضوح‬ ‫آنرا‬ ‫مایلی‬ ‫چندین‬ ‫عمق‬ ‫میتوانید‬‫ببینید‬!!! 83
  • 84.
  • 85.
    ‫ره‬‫ر‬‫شیش‬‫روم‬‫ر‬‫موس‬ ‫ردی‬‫ر‬‫رون‬ ‫ری‬‫ر‬‫ط‬‫رتوانه‬‫ر‬‫اس‬ ‫راخت‬‫ر‬‫س‬ ‫ررای‬‫ر‬‫ب‬ ‫رتفاده‬‫ر‬‫اس‬ ‫رورد‬‫ر‬‫م‬‫ره‬‫ر‬‫ب‬MCVD‫را‬‫ر‬‫ی‬ ‫میشود‬ ‫تولید‬ ‫بخار‬ ‫با‬ ‫شیمیایی‬ ‫شده‬ ‫تعدیل‬ ‫سازی‬ ‫رسوب‬. ‫روش‬ ‫در‬MCVD‫رریژن‬‫ر‬‫اکس‬‫رریلیکون‬‫ر‬‫س‬ ‫ررد‬‫ر‬‫کلرای‬ ‫ررول‬‫ر‬‫محل‬ ‫رران‬‫ر‬‫می‬ ‫از‬SiCl4))،‫ررد‬‫ر‬‫کلرای‬ ‫ژرمانیوم‬((GeCl4‫و‬‫شیمیایی‬ ‫مواد‬ ‫دیگر‬‫میجوشد‬. ‫گ‬ ‫ری‬‫ر‬‫اپتیک‬ ‫و‬ ‫ری‬‫ر‬‫فیزیک‬ ‫رای‬‫ر‬‫ویژگیه‬ ،‫رده‬‫ر‬‫ش‬ ‫راب‬‫ر‬‫حس‬ ‫و‬ ‫رق‬‫ر‬‫دقی‬ ‫ریار‬‫ر‬‫بس‬ ‫روط‬‫ر‬‫مخل‬ ‫رن‬‫ر‬‫ای‬‫راگونی‬‫ر‬‫ون‬ ‫دارد‬( .‫و‬ ‫ذوب‬ ‫نقطه‬ ،‫انبساط‬ ‫ضریب‬ ،‫شکست‬ ‫ضریب‬ ‫ازجمله‬…) 85
  • 86.
    ‫فرآیند‬MCVD‫استوانه‬ ‫ساخت‬ ‫برای‬: ‫رپس‬‫ر‬‫س‬‫رداخ‬‫ر‬‫ب‬‫ری‬‫ر‬‫دوران‬ ‫رات‬‫ر‬‫حرک‬ ‫را‬‫ر‬‫ب‬ ‫رور‬‫ر‬‫مخص‬ ‫رین‬‫ر‬‫ماش‬ ‫رو‬‫ر‬‫ی‬ ‫ریکه‬‫ر‬‫بوس‬ ‫راز‬‫ر‬‫گ‬ ‫رای‬‫ر‬‫بخاره‬‫ل‬ ‫عمرل‬ ‫ایرن‬ ‫به‬ ‫که‬ ‫میشود‬ ‫هدایت‬ ‫کوارتز‬ ‫لوله‬ ‫یا‬ ‫مصنوعی‬ ‫سیلیس‬ ‫لوله‬ ‫یو‬‫آبکراری‬ ‫گویند‬.‫پایی‬ ‫و‬ ‫باال‬ ‫به‬ ‫لوله‬ ‫بیرون‬ ‫در‬ ‫مشعل‬ ‫یو‬ ،‫ماشین‬ ‫چرخش‬ ‫حین‬ ‫در‬‫حرکرت‬ ‫ن‬ ‫میکند‬.‫ب‬ ‫اتفاق‬ ‫چیز‬ ‫دو‬ ‫میشود‬ ‫باع‬ ،‫مشعل‬ ‫از‬ ‫ناشی‬ ‫زیاد‬ ‫بسیار‬ ‫حرارت‬‫یفتد‬: ‫اکسرید‬ ‫دی‬ ،‫میدهنرد‬ ‫واکرنش‬ ‫اکسریژن‬ ‫برا‬ ‫ژرمرانیوم‬ ‫و‬ ‫سریلیکون‬‫سریلیکون‬(SiO2)‫و‬ ‫اکسید‬ ‫دی‬‫ژرمانیوم‬(GeO2)‫حاصل‬‫میشود‬. ‫رروب‬‫ر‬‫رس‬ ‫رره‬‫ر‬‫لول‬ ‫رری‬‫ر‬‫داخل‬ ‫ررطت‬‫ر‬‫س‬ ‫روی‬ ‫ررانیوم‬‫ر‬‫ژرم‬ ‫ررید‬‫ر‬‫اکس‬ ‫دی‬ ‫و‬ ‫رریلیکون‬‫ر‬‫س‬ ‫ررید‬‫ر‬‫اکس‬ ‫دی‬ ‫بگیرد‬ ‫شکل‬ ‫شیشه‬ ‫تا‬ ‫میشوند‬ ‫آمیخته‬ ‫باهم‬ ،‫میکنند‬. 86
  • 87.
    ‫ماشین‬‫استوانه‬ ‫ساخت‬ ‫برای‬‫استفاده‬ ‫مورد‬: ‫رین‬‫ر‬‫ماش‬‫رده‬‫ر‬‫ش‬ ‫ردود‬‫ر‬‫ان‬ ‫و‬ ‫رتوار‬‫ر‬‫اس‬ ‫ای‬ ‫رتوانه‬‫ر‬‫اس‬ ‫را‬‫ر‬‫ت‬ ‫رد‬‫ر‬‫میچرخ‬ ‫رتمر‬‫ر‬‫مس‬ ‫رور‬‫ر‬‫بط‬ ‫رور‬‫ر‬‫مخص‬ ‫شود‬ ‫ساخته‬.‫برا‬ ‫در‬ ‫که‬ ‫پالستیکی‬ ‫قطعات‬ ‫از‬ ‫استفاده‬ ‫با‬ ‫شیشه‬ ‫خلور‬‫خروردگی‬ ‫بر‬ ‫دقیرق‬ ‫کنتررل‬ ‫برا‬ ‫نیز‬ ‫و‬ ‫رفته‬ ‫بکار‬ ‫گاز‬ ‫تزریق‬ ‫سیستم‬ ‫در‬ ‫و‬ ‫است‬ ‫مقاوم‬‫گراز‬ ‫جریران‬ ‫میشود‬ ‫حفظ‬ ‫آن‬ ‫ترکیب‬ ‫و‬.‫چ‬ ‫و‬ ‫اسرت‬ ‫خودکرار‬ ‫کامال‬ ‫استوانه‬ ‫این‬ ‫ساخت‬ ‫روند‬‫نردین‬ ‫رد‬‫ر‬‫انجام‬ ‫ری‬‫ر‬‫م‬ ‫رول‬‫ر‬‫بط‬ ‫راعت‬‫ر‬‫س‬.‫رت‬‫ر‬‫تس‬ ،‫رد‬‫ر‬‫ش‬ ‫رو‬‫ر‬‫خن‬ ‫رده‬‫ر‬‫ش‬ ‫راخته‬‫ر‬‫س‬ ‫رتوانه‬‫ر‬‫اس‬ ‫ره‬‫ر‬‫اینک‬ ‫از‬ ‫رد‬‫ر‬‫بع‬ ‫میشود‬ ‫انجام‬ ‫آن‬ ‫روی‬ ‫کیفیت‬ ‫کنترل‬. 87
  • 88.
    ‫شده‬ ‫آماده‬ ‫استوانه‬‫از‬ ‫فیبر‬ ‫کشیدن‬: ‫ر‬‫ر‬‫ب‬ ‫رام‬‫ر‬‫بن‬ ‫رتگاهی‬‫ر‬‫دس‬ ‫روی‬ ،‫رد‬‫ر‬‫ش‬ ‫ری‬‫ر‬‫کیف‬ ‫ررل‬‫ر‬‫کنت‬ ‫ای‬ ‫ره‬‫ر‬‫شیش‬ ‫رتوانه‬‫ر‬‫اس‬ ‫ره‬‫ر‬‫ازینک‬ ‫رد‬‫ر‬‫بع‬‫رر‬‫ر‬‫فیب‬ ‫رج‬ ‫میشود‬ ‫سوار‬ ‫کشی‬. ‫رود‬‫ر‬‫میش‬ ‫دا‬ ‫ری‬‫ر‬‫گرافیت‬ ‫روره‬‫ر‬‫ک‬ ‫رو‬‫ر‬‫ی‬ ‫در‬ ‫ای‬ ‫ره‬‫ر‬‫شیش‬ ‫رتوانه‬‫ر‬‫اس‬(۳۴۵۲‫را‬‫ر‬‫ت‬۳۹۹۲‫ره‬‫ر‬‫درج‬ ‫یا‬ ‫فارنهایت‬۱۹۰۰‫ترا‬۲۲۰۰‫سرانتیگراد‬ ‫درجره‬)‫گداختره‬ ‫گلولره‬ ‫یرو‬ ‫کره‬ ‫حردی‬ ‫ترا‬ ‫میکنرد‬ ‫سرقوط‬ ‫جاذبره‬ ‫نیرروی‬ ‫تراتیر‬ ‫تحرت‬ ،‫آن‬ ‫نوک‬ ‫از‬ ‫شده‬.‫ای‬ ‫شیشره‬ ‫گلولره‬‫مرذاب‬ ‫آورد‬ ‫می‬ ‫بوجود‬ ‫را‬ ‫ای‬ ‫شیشه‬ ‫رشته‬ ‫یو‬ ‫و‬ ‫میشود‬ ‫خنو‬ ‫سقوط‬ ‫حین‬ ‫در‬. 88
  • 89.
    ‫رد‬‫ر‬‫میکش‬ ‫رده‬‫ر‬‫ش‬ ‫دا‬‫رتوانه‬‫ر‬‫اس‬ ‫از‬ ‫ری‬‫ر‬‫آرام‬ ‫ره‬‫ر‬‫ب‬ ‫را‬ ‫رر‬‫ر‬‫فیب‬ ‫رانیکی‬‫ر‬‫مک‬ ‫رره‬‫ر‬‫قرق‬.‫ریز‬ ‫رو‬‫ر‬‫ی‬‫رنج‬‫ر‬‫س‬ ‫میگیر‬ ‫اندازه‬ ‫را‬ ‫فیبر‬ ‫قطر‬ ‫و‬ ‫میکند‬ ‫کنترل‬ ‫را‬ ‫مرحله‬ ‫این‬ ‫بدقت‬ ‫لیزری‬‫د‬.‫اطالعات‬ ‫میشرو‬ ‫ارسرال‬ ‫مکرانیکی‬ ‫قرقره‬ ‫خودکار‬ ‫سیستم‬ ‫به‬ ‫ریزسنج‬ ‫از‬ ‫آمده‬ ‫بدست‬‫د‬.‫فیبرهرا‬ ‫سرعت‬ ‫با‬۳۳‫ترا‬۶۶‫تانیره‬ ‫برر‬ ‫فروت‬(۱۰‫ترا‬۲۰‫تانیره‬ ‫برر‬ ‫مترر‬)‫دا‬ ‫اسرتوانه‬ ‫از‬ ‫رود‬‫ر‬‫میش‬ ‫رده‬‫ر‬‫پیچی‬ ‫رره‬‫ر‬‫قرق‬ ‫روی‬ ‫رایی‬‫ر‬‫نه‬ ‫رول‬‫ر‬‫محص‬ ‫و‬ ‫روند‬‫ر‬‫میش‬ ‫ریده‬‫ر‬‫کش‬.‫نه‬ ‫در‬ ‫روال‬‫ر‬‫معم‬‫رت‬‫ر‬‫ای‬ ‫از‬ ‫بیش‬۴/۱‫مایل‬(۲/۲‫کیلومتر‬)‫نمیشود‬ ‫جمع‬ ‫قرقره‬ ‫روی‬ ‫فیبرنوری‬ 89
  • 90.
  • 91.
  • 92.
    4-1‫چگونگی‬‫انتقال‬‫پیام‬: ‫راگرام‬‫ر‬‫دی‬‫در‬ ‫رابراتی‬‫ر‬‫مخ‬ ‫رتم‬‫ر‬‫سیس‬‫رو‬‫ر‬‫ی‬ ‫از‬ ‫ری‬‫ر‬‫کل‬ ‫رامال‬‫ر‬‫ک‬ ‫روکی‬‫ر‬‫بل‬‫ردی‬‫ر‬‫بع‬ ‫رکل‬‫ر‬‫ش‬‫د‬ ،‫ری‬‫ر‬‫م‬ ‫رده‬‫ر‬‫ی‬ ‫رود‬‫ر‬‫ش‬.‫رو‬‫ر‬‫ی‬ ‫رزای‬‫ر‬‫اج‬ ‫از‬ ‫رنی‬‫ر‬‫روش‬ ‫درک‬ ‫رکل‬‫ر‬‫ش‬ ‫رن‬‫ر‬‫ای‬ ‫روک‬‫ر‬‫بل‬ ‫رر‬‫ر‬‫ه‬ ‫از‬ ‫رری‬‫ر‬‫مختص‬ ‫ریت‬‫ر‬‫توض‬ ‫دهرد‬ ‫مری‬ ‫ما‬ ‫به‬ ‫مخابراتی‬ ‫سیستم‬.‫بر‬ ‫بخرش‬ ‫ایرن‬ ‫در‬ ‫کره‬ ‫توضریحاتی‬ ‫از‬ ‫خیلری‬‫طرور‬ ‫ه‬ ‫شد‬ ‫خواهند‬ ‫داده‬ ‫شرح‬ ‫بعدی‬ ‫های‬ ‫قسمت‬ ‫در‬ ، ‫است‬ ‫شده‬ ‫داده‬ ‫فشرده‬ ‫و‬ ‫مختصر‬. 92
  • 93.
    ‫خبر‬ ‫منشه‬ •‫فرستنده‬ ‫مدوالتور‬ ‫سیگنال‬ ‫منبع‬ ‫حامل‬ ‫کننده‬ ‫تزویج‬ ‫کانال‬(‫ورودی‬) ‫خروجی‬ ‫پیام‬•‫گیرنده‬ ‫گر‬ ‫پردازش‬ ‫سیگنال‬ ‫ساز‬ ‫آشکار‬ ‫کننده‬ ‫تزویج‬ ‫کانال‬(‫خروجی‬) ‫ارتباطی‬ ‫کانال‬ (‫نوری‬ ‫فیبر‬) 93
  • 94.
    4-1-1‫پیام‬ ‫منشاء‬: ‫منشاء‬‫باشرد‬ ‫داشرته‬‫متفراوتی‬ ‫فیزیکری‬ ‫اشرکال‬ ‫میتوانرد‬ ‫پیام‬.‫او‬ ‫اغلرب‬ ‫در‬‫منشراء‬ ‫قرات‬ ‫الکتریکر‬ ‫سریگنال‬ ‫بره‬ ‫را‬ ‫الکتریکری‬ ‫غیرر‬ ‫پیرام‬ ‫کره‬ ‫اسرت‬ ‫مبردل‬ ‫یو‬ ‫پیام‬‫مری‬ ‫تبردیل‬ ‫ی‬ ‫کند‬.‫جر‬ ‫بره‬ ‫صروتی‬ ‫امرواج‬ ‫تبردیل‬ ‫بررای‬ ‫ها‬ ‫میکروفن‬ ‫شامل‬ ‫متداول‬ ‫های‬ ‫نمونه‬‫یران‬ ‫جر‬ ‫ره‬‫ر‬‫ب‬ ‫رویر‬‫ر‬‫تص‬ ‫ردیل‬‫ر‬‫تب‬ ‫ررای‬‫ر‬‫ب‬ ‫رونی‬‫ر‬‫تلویزی‬ ‫رای‬‫ر‬‫ه‬ ‫رین‬‫ر‬‫دورب‬ ‫و‬ ‫ری‬‫ر‬‫الکتریک‬ ‫رای‬‫ر‬‫ه‬‫رای‬‫ر‬‫ه‬ ‫ران‬‫ر‬‫ی‬ ‫باشند‬ ‫می‬ ‫الکتریکی‬. ‫اطالعرات‬ ، ‫الکتریکری‬ ‫مخرابرات‬ ‫در‬ ‫چره‬ ‫و‬ ‫نروری‬ ‫مخابرات‬ ‫در‬ ‫چه‬ ، ‫حال‬ ‫هر‬ ‫در‬ ‫باشد‬ ‫الکتریکی‬ ‫شکل‬ ‫به‬ ‫باید‬ ، ‫ارسال‬ ‫از‬ ‫قبل‬. 94
  • 95.
    4-1-2‫مدوالتور‬: ‫مدوالتور‬‫دهد‬ ‫می‬ ‫انجام‬‫اصلی‬ ‫کار‬ ‫دو‬: ‫کند‬ ‫می‬ ‫تبدیل‬ ‫مناسبی‬ ‫شکل‬ ‫به‬ ‫را‬ ‫الکتریکی‬ ‫پیام‬ ، ‫اول‬.‫پیر‬ ‫این‬ ، ‫دوم‬‫الکتریکری‬ ‫ام‬ ‫رد‬‫ر‬‫ده‬ ‫ری‬‫ر‬‫م‬ ‫رأتیر‬‫ر‬‫ت‬ ‫رل‬‫ر‬‫حاص‬ ‫رع‬‫ر‬‫منب‬ ‫رط‬‫ر‬‫توس‬ ‫رده‬‫ر‬‫ش‬ ‫رد‬‫ر‬‫تولی‬ ‫روج‬‫ر‬‫م‬ ‫رو‬‫ر‬‫ی‬ ‫روی‬ ‫رر‬‫ر‬‫ب‬ ‫را‬.‫روع‬‫ر‬‫ن‬ ‫دو‬ ‫دارد‬ ‫وجود‬ ‫مدوالسیون‬:‫دیجیتال‬ ‫و‬ ‫آنالو‬. ‫بازسر‬ ‫دقیرق‬ ‫طرور‬ ‫بره‬ ‫را‬ ‫اصرلی‬ ‫پیرام‬ ‫فررم‬ ‫و‬ ‫اسرت‬ ‫پیوسرته‬ ‫آنرالو‬ ‫سیگنال‬‫مری‬ ‫ازی‬ ‫کند‬. 95
  • 96.
    ‫ارسر‬ ‫خواهرد‬ ‫مری‬‫فرکانسری‬ ‫ترو‬ ‫صروتی‬ ‫مروج‬ ‫یرو‬ ‫کنید‬ ‫فر‬ ، ‫متال‬ ‫عنوان‬ ‫به‬‫ال‬ ‫ش‬ ‫وارد‬ ‫الکتریکی‬ ‫جریان‬ ، ‫شود‬ ‫وارد‬ ‫میکروفن‬ ‫یو‬ ‫به‬ ‫موج‬ ‫این‬ ‫اگر‬ ، ‫شود‬‫از‬ ‫ده‬ ‫داشرت‬ ‫خواهرد‬ ‫را‬ ‫ورودی‬ ‫صروت‬ ‫موج‬ ‫شکل‬ ‫همان‬ ، ‫آن‬.‫مردوالتور‬ ‫حالرت‬ ‫ایرن‬ ‫در‬ ‫نردارد‬ ‫سیگنال‬ ‫دادن‬ ‫شکل‬ ‫تنییر‬ ‫به‬ ‫نیازی‬.‫سریگ‬ ‫باشرد‬ ‫نیراز‬ ‫اسرت‬ ‫ممکرن‬‫تقویرت‬ ‫نال‬ ‫ر‬ ‫حامرل‬ ‫منبرع‬ ‫بتوانرد‬ ‫تا‬ ‫باشد‬ ‫داشته‬ ‫قدرت‬ ‫کافی‬ ‫طور‬ ‫به‬ ‫که‬ ‫طوری‬ ‫به‬ ‫شود‬‫مترأتر‬ ‫ا‬ ‫کند‬. ‫مدوالسیون‬‫گسست‬ ‫شکل‬ ‫به‬ ‫که‬ ‫است‬ ‫اطالعاتی‬ ‫ارسال‬ ‫به‬ ‫مربوط‬ ‫دیجیتال‬‫هستند‬ ‫ه‬. 96
  • 97.
    ‫اسرت‬ ‫روشرن‬ ‫یرا‬‫و‬ ‫روشرن‬ ‫یا‬ ‫دیجیتال‬ ‫سیگنال‬.‫حالر‬ ‫و‬ ‫یرو‬ ‫معررف‬ ‫روشرن‬ ‫حالرت‬‫ت‬ ‫است‬ ‫صفر‬ ‫معرف‬ ‫خاموش‬.‫براینری‬ ‫های‬ ‫رقم‬ ‫ها‬ ‫حالت‬ ‫این‬(‫هرای‬ ‫بیرت‬ ‫یرا‬)‫سیسر‬‫تم‬ ‫هستند‬ ‫دیجیتال‬.‫ا‬ ‫تانیه‬ ‫هر‬ ‫در‬ ‫که‬ ‫است‬ ‫بیتی‬ ‫تعداد‬ ‫داده‬ ‫سرعت‬ ‫یا‬ ‫میزان‬‫مری‬ ‫رسرال‬ ‫گردد‬(bps.) ‫پیر‬ ‫یرو‬ ‫شرده‬ ‫رمرز‬ ‫فرم‬ ، ‫خاموش‬ ‫و‬ ‫روشن‬ ‫های‬ ‫پالس‬ ‫رشته‬ ‫این‬ ‫که‬ ‫است‬ ‫ممکن‬‫ام‬ ‫رد‬‫ر‬‫باش‬ ‫رالو‬‫ر‬‫آن‬.‫رت‬‫ر‬‫رش‬ ‫رو‬‫ر‬‫ی‬ ‫ره‬‫ر‬‫ب‬ ‫را‬ ‫رالو‬‫ر‬‫آن‬ ‫رام‬‫ر‬‫پی‬ ‫رال‬‫ر‬‫دیجیت‬ ‫ره‬‫ر‬‫ب‬ ‫رالو‬‫ر‬‫آن‬ ‫ردل‬‫ر‬‫مب‬ ‫رو‬‫ر‬‫ی‬‫ی‬ ‫ه‬ ‫کند‬ ‫می‬ ‫تبدیل‬ ‫دیجیتال‬.‫عکس‬‫کر‬ ‫گرردد‬ ‫مری‬ ‫انجرام‬ ‫گیرنرده‬ ‫در‬ ‫پردازش‬ ‫این‬‫آن‬ ‫در‬ ‫ه‬ ‫شود‬ ‫می‬ ‫تبدیل‬ ‫آنالو‬ ‫پیام‬ ‫به‬ ‫دیجیتالی‬ ‫ی‬ ‫رشته‬. 97
  • 98.
    4-1-3‫منبع‬‫حامل‬ ‫موج‬: ‫منبع‬‫کنرد‬ ‫مری‬‫تولیرد‬ ‫گردد‬ ‫می‬ ‫ارسال‬ ‫آن‬ ‫روی‬ ‫بر‬ ‫اطالعات‬ ‫که‬ ‫را‬ ‫موجی‬ ، ‫حامل‬. ‫شود‬ ‫می‬ ‫نامیده‬ ‫حامل‬ ‫موج‬ ‫این‬. ‫مری‬ ‫تولیرد‬ ‫الکتریکی‬ ‫ساز‬ ‫نوسان‬ ‫یو‬ ‫توسط‬ ‫حامل‬ ، ‫رادیویی‬ ‫مخابرات‬ ‫در‬‫شرود‬. ‫دیرود‬ ، ‫نروری‬ ‫تار‬ ‫های‬ ‫سیستم‬ ‫برای‬‫لیرزری‬LD))‫و‬‫نرور‬ ‫دیرود‬ ‫یرا‬‫گسریل‬LED))‫بره‬ ‫رد‬‫ر‬‫رون‬ ‫ری‬‫ر‬‫م‬ ‫رار‬‫ر‬‫ک‬ ‫ره‬‫ر‬‫ب‬ ‫رل‬‫ر‬‫حام‬ ‫رع‬‫ر‬‫منب‬ ‫روان‬‫ر‬‫عن‬.‫رای‬‫ر‬‫ه‬ ‫راز‬‫ر‬‫س‬ ‫ران‬‫ر‬‫نوس‬ ‫روان‬‫ر‬‫ت‬ ‫ری‬‫ر‬‫م‬ ‫را‬ ‫رزار‬‫ر‬‫اب‬ ‫رن‬‫ر‬‫ای‬ ‫نامید‬ ‫نوری‬.‫فرکر‬ ‫ترو‬ ، ‫پایردار‬ ‫امرواجی‬ ،‫نروری‬ ‫منابع‬ ‫این‬ ، ‫آل‬ ‫ایده‬ ‫حالت‬ ‫در‬‫انس‬ ‫کنند‬ ‫می‬ ‫تولید‬ ، ‫دور‬ ‫های‬ ‫مسافت‬ ‫پیمودن‬ ‫برای‬ ‫کافی‬ ‫توان‬ ‫با‬ ‫و‬. 98
  • 99.
    4-1-4‫تزویج‬‫کانال‬ ‫های‬ ‫کننده‬(‫ورودی‬): ‫تزویج‬‫کننرد‬‫مری‬ ‫وارد‬ ‫اطالعرات‬ ‫کانرال‬ ‫داخل‬ ‫به‬ ‫را‬ ‫اطالعات‬ ‫ها‬ ‫کننده‬.‫وسری‬ ‫ایرن‬‫له‬ ‫رت‬‫ر‬‫اس‬ ‫رتن‬‫ر‬‫آن‬ ، ‫رونی‬‫ر‬‫تلویزی‬ ‫را‬‫ر‬‫ی‬ ‫و‬ ‫رویی‬‫ر‬‫رادی‬ ‫رار‬‫ر‬‫انتش‬ ‫رتم‬‫ر‬‫سیس‬ ‫رو‬‫ر‬‫ی‬ ‫در‬.‫عال‬ ‫رتن‬‫ر‬‫آن‬‫از‬ ‫را‬ ‫رم‬‫ر‬‫ئ‬ ‫رد‬‫ر‬‫ده‬ ‫ری‬‫ر‬‫م‬ ‫رال‬‫ر‬‫انتق‬ ، ‫رت‬‫ر‬‫اس‬ ‫رو‬‫ر‬‫ج‬ ‫رت‬‫ر‬‫حال‬ ‫رن‬‫ر‬‫ای‬ ‫در‬ ‫ره‬‫ر‬‫ک‬ ‫رات‬‫ر‬‫اطالع‬ ‫رال‬‫ر‬‫کان‬ ‫ره‬‫ر‬‫ب‬ ‫رتنده‬‫ر‬‫فرس‬.‫در‬ ‫تر‬ ، ‫تلفرن‬ ‫خطروط‬ ‫مترل‬ ، ‫برنرد‬ ‫مری‬ ‫کار‬ ‫به‬ ‫سیم‬ ‫که‬ ‫ای‬ ‫شده‬ ‫هدایت‬ ‫های‬ ‫سیستم‬‫زویج‬ ‫فرسرتنده‬ ‫کرردن‬ ‫وصل‬ ‫منظور‬ ‫به‬ ‫است‬ ‫ای‬ ‫ساده‬ ‫ی‬ ‫دهنده‬ ‫اتصال‬ ‫فقط‬ ‫کننده‬‫خرط‬ ‫بره‬ ‫رود‬ ‫می‬ ‫کار‬ ‫به‬ ‫اطالعات‬ ‫انتقال‬ ‫کانال‬ ‫عنوان‬ ‫به‬ ‫که‬ ‫انتقالی‬. ‫سیستم‬ ‫در‬،‫نوری‬‫همسرو‬ ‫بررای‬ ‫کره‬ ‫است‬ ‫عدسی‬ ‫یو‬ ‫کانال‬ ‫ی‬ ‫کننده‬ ‫تزویج‬‫کرردن‬ ‫مر‬ ‫اسرتفاده‬ ‫آن‬ ‫از‬ ‫گیرنرده‬ ‫طررف‬ ‫بره‬ ‫نرور‬ ‫ایرن‬ ‫دادن‬ ‫جهرت‬ ‫و‬ ‫منبرع‬ ‫از‬ ‫منتشرره‬ ‫نور‬‫ی‬ ‫شود‬.‫پ‬ ‫تری‬ ‫مر‬ ‫طرور‬ ‫بره‬ ‫بایرد‬ ‫دهنرده‬ ‫ترزویج‬ ، ‫مرا‬ ‫نظر‬ ‫مورد‬ ‫تاری‬ ‫سیستم‬ ‫در‬‫رترو‬ ‫کند‬ ‫منتقل‬ ‫نوری‬ ‫تار‬ ‫به‬ ‫منبع‬ ‫از‬ ‫را‬ ‫شده‬ ‫مدوله‬ ‫نور‬. 99
  • 100.
    4-1-5‫کانال‬‫ارتباطی‬: ‫کانال‬‫گیرنرده‬ ‫و‬ ‫فرسرتنده‬‫برین‬ ‫مسریر‬ ‫از‬ ‫اسرت‬ ‫عبرارت‬ ‫ارتبراطی‬.‫مخرابر‬ ‫در‬‫ترار‬ ‫ات‬ ‫رت‬‫ر‬‫اس‬ ‫رتیکی‬‫ر‬‫پالس‬ ‫را‬‫ر‬‫ی‬ ‫ای‬ ‫ره‬‫ر‬‫شیش‬ ‫رار‬‫ر‬‫ت‬ ‫رو‬‫ر‬‫ی‬ ‫رال‬‫ر‬‫کان‬ ، ‫روری‬‫ر‬‫ن‬.‫عال‬ ‫رورد‬‫ر‬‫م‬ ‫رات‬‫ر‬‫مشخص‬‫ره‬‫ر‬‫ق‬ ‫نرو‬ ‫پرذیرش‬ ‫مخروطری‬ ‫ی‬ ‫زاویره‬ ‫و‬ ‫کرم‬ ‫تضرعیف‬ ‫شامل‬ ‫اطالعات‬ ‫کانال‬ ‫یو‬ ‫برای‬‫ر‬ ‫است‬ ‫بزر‬.‫ال‬ ‫خصوصریات‬ ‫از‬ ‫نرور‬ ‫تر‬ ‫مر‬ ‫و‬ ‫کارآمرد‬ ‫گردآوری‬ ‫و‬ ‫کم‬ ‫تضعیف‬‫زم‬ ‫هستند‬ ‫طوالنی‬ ‫های‬ ‫مسیر‬ ‫برای‬ ، ‫انتقال‬ ‫برای‬. ‫اسرت‬ ‫آن‬ ‫در‬ ‫کننرده‬ ‫سریر‬ ‫نور‬ ‫انتشار‬ ‫زمان‬ ‫اطالعات‬ ‫کانال‬ ‫دیگر‬ ‫مهم‬ ‫خاصیت‬.‫در‬ ‫ب‬ ، ‫دارد‬ ‫نرور‬ ‫پرترو‬ ‫کره‬ ‫مسریری‬ ‫و‬ ‫نرور‬ ‫فرکرانس‬ ‫بره‬ ‫سیر‬ ‫زمان‬ ، ‫کلی‬ ‫حالت‬‫سرتگی‬ ‫دارد‬. ‫آنرا‬ ‫مدوالسریون‬ ‫در‬ ‫چره‬ ، ‫مسریر‬ ‫بره‬ ‫و‬ ‫فرکرانس‬ ‫بره‬ ‫انتشرار‬ ‫سرعت‬ ‫وابستگی‬‫و‬ ‫لو‬ ‫گردد‬ ‫می‬ ‫اطالعات‬ ‫میزان‬ ‫شدن‬ ‫محدود‬ ‫به‬ ‫منجر‬ ‫دیجیتال‬ ‫مدوالسیون‬ ‫در‬ ‫چه‬. 100
  • 101.
    4-1-6‫تزویج‬‫کانال‬ ‫کننده‬(‫خروجی‬): ‫در‬‫کانرال‬ ‫از‬‫را‬ ‫سریگنال‬ ‫یو‬ ، ‫جوی‬ ‫الکترونیکی‬ ‫مخابراتی‬ ‫سیستم‬ ‫یو‬‫گیررد‬ ‫مری‬ ‫رد‬‫ر‬‫کن‬ ‫ری‬‫ر‬‫م‬ ‫رل‬‫ر‬‫منتق‬ ‫رده‬‫ر‬‫گیرن‬ ‫رای‬‫ر‬‫ه‬ ‫رمت‬‫ر‬‫قس‬ ‫رایر‬‫ر‬‫س‬ ‫ره‬‫ر‬‫ب‬ ‫را‬ ‫آن‬ ‫و‬.‫روری‬‫ر‬‫ن‬ ‫رتم‬‫ر‬‫سیس‬ ‫رو‬‫ر‬‫ی‬ ‫در‬، ‫هدایت‬ ‫نور‬ ‫ساز‬ ‫آشکار‬ ‫به‬ ‫را‬ ‫تار‬ ‫از‬ ‫شده‬ ‫خارج‬ ‫نور‬ ، ‫خروجی‬ ‫کننده‬ ‫تزویج‬‫مری‬ ‫کند‬. 101
  • 102.
    4-1-7‫آشکار‬‫ساز‬: ‫در‬‫رردد‬‫ر‬‫گ‬ ‫رتخراج‬‫ر‬‫اس‬ ‫رل‬‫ر‬‫حاص‬‫روج‬‫ر‬‫م‬ ‫از‬ ‫رد‬‫ر‬‫بای‬ ‫رالی‬‫ر‬‫ارس‬ ‫رات‬‫ر‬‫اطالع‬ ‫ره‬‫ر‬‫مرحل‬ ‫رن‬‫ر‬‫ای‬.‫رو‬‫ر‬‫ی‬ ‫در‬ ‫ت‬ ‫کره‬ ‫باشرد‬ ‫مری‬ ‫دموالسریون‬ ‫فرآینرد‬ ‫ی‬ ‫مرحلره‬ ‫ایرن‬ ، ‫الکترونیکری‬ ‫سیستم‬‫یرو‬ ‫وسرط‬ ‫شرود‬ ‫مری‬ ‫انجرام‬ ‫مناسرب‬ ‫الکترونیکی‬ ‫مدار‬.‫تو‬ ‫نروری‬ ‫مروج‬ ، ‫تراری‬ ‫سیسرتم‬ ‫در‬‫سرط‬ ‫شود‬ ‫می‬ ‫تبدیل‬ ‫الکتریکی‬ ‫جریان‬ ‫یو‬ ‫به‬ ‫نور‬ ‫ساز‬ ‫آشکار‬ ‫یو‬. ‫مرورد‬ ‫مترداول‬ ‫بسریار‬ ‫طرور‬ ‫بره‬ ‫متنروع‬ ‫های‬ ‫طراحی‬ ‫با‬ ‫هادی‬ ‫نیمه‬ ‫نوری‬ ‫های‬ ‫دیود‬ ‫گیرنرد‬ ‫مری‬ ‫قرار‬ ‫استفاده‬.‫متن‬ ‫سرازها‬ ‫آشرکار‬ ‫ایرن‬ ‫توسرط‬ ‫شرده‬ ‫تولیرد‬ ‫جریران‬‫برا‬ ‫اسرب‬ ‫آنهاست‬ ‫به‬ ‫شده‬ ‫تابیده‬ ‫نور‬ ‫در‬ ‫موجود‬ ‫توان‬. 102
  • 103.
    ، ‫راز‬‫ر‬‫س‬ ‫رکار‬‫ر‬‫آش‬‫از‬ ‫ری‬‫ر‬‫خروج‬ ‫ران‬‫ر‬‫جری‬ ، ‫دارد‬ ‫را‬‫ر‬‫ج‬ ‫رور‬‫ر‬‫ن‬ ‫ررات‬‫ر‬‫تنیی‬ ‫در‬ ‫رات‬‫ر‬‫اطالع‬ ‫رون‬‫ر‬‫چ‬ ‫داشت‬ ‫خواهد‬ ‫بر‬ ‫در‬ ‫را‬ ‫اطالعات‬. ‫د‬ ‫رور‬‫ر‬‫ن‬ ‫رع‬‫ر‬‫منب‬ ‫رردن‬‫ر‬‫ک‬ ‫ره‬‫ر‬‫مدول‬ ‫ررای‬‫ر‬‫ب‬ ‫ره‬‫ر‬‫ک‬ ‫رت‬‫ر‬‫اس‬ ‫رانی‬‫ر‬‫جری‬ ‫رکل‬‫ر‬‫ش‬ ‫ره‬‫ر‬‫ب‬ ‫را‬‫ر‬‫دقیق‬ ‫ران‬‫ر‬‫جری‬ ‫رن‬‫ر‬‫ای‬‫ر‬ ‫است‬ ‫شده‬ ‫گرفته‬ ‫کار‬ ‫به‬ ‫فرستنده‬. ، ‫برودن‬ ‫اقتصرادی‬ ، ‫کوچرو‬ ‫ی‬ ‫انردازه‬ ‫شرامل‬ ‫نروری‬ ‫سازهای‬ ‫آشکار‬ ‫مهم‬ ‫خوار‬ ‫رای‬‫ر‬‫ه‬ ‫ریگنال‬‫ر‬‫س‬ ‫ره‬‫ر‬‫ب‬ ‫راال‬‫ر‬‫ب‬ ‫ریت‬‫ر‬‫حساس‬ ، ‫ررژی‬‫ر‬‫ان‬ ‫ررف‬‫ر‬‫مص‬ ‫رودن‬‫ر‬‫ب‬ ‫رم‬‫ر‬‫ک‬ ، ‫راد‬‫ر‬‫زی‬ ‫رر‬‫ر‬‫عم‬ ‫رول‬‫ر‬‫ط‬ ‫اسرت‬ ‫نروری‬ ‫قردرت‬ ‫در‬ ‫تنرد‬ ‫تنییررات‬ ‫بره‬ ‫سرریع‬ ‫پاسخ‬ ‫و‬ ‫نوری‬.‫خوشربختانه‬‫آشرکار‬ ‫مری‬ ‫دسرترس‬ ‫در‬ ‫حاضرر‬ ‫حرال‬ ‫در‬ ‫باشرند‬ ‫مشخصرات‬ ‫این‬ ‫دارای‬ ‫که‬ ‫نوری‬ ‫سازهای‬ ‫باشند‬. 103
  • 104.
    4-1-8‫پردازشگر‬‫سیگنال‬: ‫برررای‬‫فیلترر‬ ‫و‬ ‫کننرردگی‬‫تقویررت‬ ‫شررامل‬ ‫سرریگنال‬ ‫پررردازش‬ ، ‫آنررالو‬ ‫انتقررال‬‫کررردن‬ ‫ر‬ ‫است‬ ‫سیگنال‬.‫ج‬ ‫تابرت‬ ‫مقردار‬ ‫حذف‬ ‫برای‬ ‫سیگنال‬ ‫کردن‬ ‫فیلتر‬ ‫بر‬ ‫عالوه‬‫از‬ ، ‫ریران‬ ‫جلروگیر‬ ‫بایسرتی‬ ‫هرم‬ ‫دیگرر‬ ‫ناخواسرته‬ ‫فرکرانس‬ ‫گونره‬ ‫هر‬ ‫بیشتر‬ ‫انتقال‬‫کررد‬ ‫ی‬.‫یرو‬ ‫عبرور‬ ‫خرود‬ ‫از‬ ‫را‬ ‫ارسرالی‬ ‫اطالعرات‬ ‫در‬ ‫موجرود‬ ‫هرای‬ ‫فرکرانس‬ ‫تمرام‬ ‫آل‬ ‫ایرده‬ ‫فیلتر‬ ‫کند‬ ‫می‬ ‫حذف‬ ‫را‬ ‫بقیه‬ ‫و‬ ‫داده‬.‫نظرر‬ ‫مرورد‬ ‫ارسرالی‬ ‫اطالعرات‬ ‫وضروح‬ ‫بره‬ ‫عمل‬ ‫این‬ ‫بخشد‬ ‫می‬ ‫بهبود‬ ‫را‬. ‫ناخواست‬ ‫های‬ ‫چیز‬ ‫توان‬ ‫به‬ ‫سیگنال‬ ‫توان‬ ‫نسبت‬ ، ‫مناسب‬ ‫کردن‬ ‫فیلتر‬‫حرداکتر‬ ‫را‬ ‫ه‬ ‫کند‬ ‫می‬.‫شوند‬ ‫می‬ ‫نامیده‬ ‫نویز‬ ‫دریافتی‬ ‫سیگنال‬ ‫در‬ ‫تصادفی‬ ‫نوسانات‬. 104
  • 105.
    ‫ف‬ ‫و‬ ‫را‬‫ر‬‫ه‬‫رده‬‫ر‬‫کنن‬ ‫رت‬‫ر‬‫تقوی‬ ‫رر‬‫ر‬‫ب‬ ‫رالوه‬‫ر‬‫ع‬ ‫رگر‬‫ر‬‫پردازش‬ ، ‫رالی‬‫ر‬‫دیجیت‬ ‫رتم‬‫ر‬‫سیس‬ ‫رو‬‫ر‬‫ی‬ ‫ررای‬‫ر‬‫ب‬‫را‬‫ر‬‫ه‬ ‫رر‬‫ر‬‫یلت‬ ‫باشد‬ ‫تصمیم‬ ‫های‬ ‫مدار‬ ‫شامل‬ ‫است‬ ‫ممکن‬.‫ب‬ ‫یو‬ ‫به‬ ‫مربوط‬ ‫زمانی‬ ‫بازه‬ ‫هر‬ ‫در‬‫یت‬ ‫رفر‬‫ر‬‫ص‬ ‫را‬‫ر‬‫ی‬ ‫و‬ ‫رو‬‫ر‬‫ی‬ ‫ران‬‫ر‬‫زم‬ ‫رن‬‫ر‬‫ای‬ ‫رالل‬‫ر‬‫خ‬ ‫در‬ ‫را‬‫ر‬‫آی‬ ‫ره‬‫ر‬‫ک‬ ‫ررد‬‫ر‬‫گی‬ ‫ری‬‫ر‬‫م‬ ‫رمیم‬‫ر‬‫تص‬ ، ‫رمیم‬‫ر‬‫تص‬ ‫ردار‬‫ر‬‫م‬ ، ‫است‬ ‫شده‬ ‫دریافت‬. ‫ری‬‫ر‬‫س‬ ‫رالی‬‫ر‬‫دیجیت‬ ‫رگر‬‫ر‬‫پردازش‬ ، ‫رت‬‫ر‬‫اس‬ ‫روده‬‫ر‬‫ب‬ ‫رالو‬‫ر‬‫آن‬ ‫رورت‬‫ر‬‫ص‬ ‫ره‬‫ر‬‫ب‬ ‫رلی‬‫ر‬‫اص‬ ‫رام‬‫ر‬‫پی‬ ‫رر‬‫ر‬‫اگ‬‫گنال‬ ‫نماید‬ ‫رمز‬ ‫کشف‬ ‫را‬ ‫رسیده‬ ‫های‬ ‫یو‬ ‫و‬ ‫ها‬ ‫صفر‬ ‫رشته‬ ‫باید‬ ‫این‬ ‫بر‬ ‫عالوه‬.‫ای‬‫کار‬ ‫ن‬ ‫الکتریکر‬ ‫شرکل‬ ‫که‬ ‫گیرد‬ ‫می‬ ‫انجام‬ ‫آنالو‬ ‫به‬ ‫دیجیتال‬ ‫مبدل‬ ‫یو‬ ‫توسط‬‫اطالعرات‬ ‫ی‬ ‫آورد‬ ‫ری‬‫ر‬‫م‬ ‫رود‬‫ر‬‫وج‬ ‫ره‬‫ر‬‫ب‬ ‫راره‬‫ر‬‫دوب‬ ‫را‬ ‫رلی‬‫ر‬‫اص‬.‫رن‬‫ر‬‫ممک‬ ، ‫رد‬‫ر‬‫باش‬ ‫را‬‫ر‬‫ه‬ ‫رین‬‫ر‬‫ماش‬ ‫رین‬‫ر‬‫ب‬ ‫راط‬‫ر‬‫ارتب‬ ‫رر‬‫ر‬‫اگ‬ ‫استفاده‬ ‫برای‬ ‫دیجیتالی‬ ‫شکل‬ ، ‫آنالو‬ ‫به‬ ‫دیجیتال‬ ‫تبدیل‬ ‫بدون‬ ‫است‬‫باشد‬ ‫مناسب‬. 105
  • 106.
    4-1-9‫پیام‬‫خروجی‬: ‫در‬‫هستیم‬ ‫مواجه‬ ‫حالت‬‫دو‬ ‫با‬ ‫جا‬ ‫این‬.‫عرضر‬ ‫شخر‬ ‫یو‬ ‫به‬ ‫پیام‬ ، ‫حالت‬ ‫یو‬ ‫در‬‫ه‬ ‫بینرد‬ ‫مری‬ ‫یرا‬ ‫و‬ ‫شرنود‬ ‫مری‬ ‫را‬ ‫اطالعرات‬ ‫کره‬ ‫شرود‬ ‫می‬.‫امرر‬ ‫ایرن‬ ‫بره‬ ‫دسرتیابی‬ ‫بررای‬، ‫تب‬ ‫رویت‬ ‫قابل‬ ‫تصویر‬ ‫یا‬ ‫و‬ ‫صوتی‬ ‫موج‬ ‫به‬ ‫باید‬ ‫الکتریکی‬ ‫سیگنال‬‫گردد‬ ‫دیل‬.‫مردل‬ ‫از‬ ‫عبارتند‬ ‫تبدیل‬ ‫این‬ ‫رساندن‬ ‫انجام‬ ‫به‬ ‫برای‬ ‫مناسب‬ ‫های‬: ‫در‬ ‫ره‬‫ر‬‫آنچ‬ ‫ربیه‬‫ر‬‫ش‬ ، ‫ردی‬‫ر‬‫کات‬ ‫ی‬ ‫رعه‬‫ر‬‫اش‬ ‫رای‬‫ر‬‫ه‬ ‫ر‬‫ر‬‫الم‬ ‫و‬ ‫روتی‬‫ر‬‫ص‬ ‫رای‬‫ر‬‫ه‬ ‫رام‬‫ر‬‫پی‬ ‫ررای‬‫ر‬‫ب‬ ‫ردگو‬‫ر‬‫بلن‬ ‫تصویری‬ ‫های‬ ‫پیام‬ ‫برای‬ ، ‫رود‬ ‫می‬ ‫کار‬ ‫به‬ ‫تلویزیون‬. ‫مر‬ ‫خرارج‬ ‫سریگنال‬ ‫پردازشرگر‬ ‫از‬ ‫که‬ ‫پیام‬ ‫الکتریکی‬ ‫اشکال‬ ، ‫دوم‬ ‫حالت‬ ‫در‬‫شرود‬ ‫ی‬ ‫است‬ ‫استفاده‬ ‫قابل‬ ‫مستقیما‬. 106
  • 107.
    ‫سا‬ ‫یا‬ ‫و‬‫ها‬ ‫کامپیوتر‬ ‫متال‬ ‫عنوان‬ ‫به‬ ‫که‬ ‫آید‬ ‫می‬ ‫پیش‬ ‫موقعی‬ ‫وضعیت‬ ‫این‬‫ماشرین‬ ‫یر‬ ‫باشند‬ ‫متصل‬ ‫هم‬ ‫به‬ ‫تاری‬ ‫یکسیستم‬ ‫طریق‬ ‫از‬ ‫ها‬.‫یرو‬ ‫کره‬ ‫مروقعی‬ ‫همچنرین‬‫سیسرتم‬ ‫بر‬ ‫تراری‬ ‫خرط‬ ‫یرو‬ ‫مترل‬ ، ‫اسرت‬ ‫برزر‬ ‫ی‬ ‫شربکه‬ ‫یرو‬ ‫از‬ ‫قسرمت‬ ‫یرو‬ ‫فقط‬ ‫تاری‬‫ین‬ ‫ایر‬ ، ‫تلویزیرونی‬ ‫ی‬ ‫برنامره‬ ‫چنرد‬ ‫حامل‬ ‫تاری‬ ‫اصلی‬ ‫خط‬ ‫یو‬ ‫یا‬ ‫تلفن‬ ‫مراکز‬‫حالرت‬ ‫ن‬ ‫رد‬‫ر‬‫افت‬ ‫ری‬‫ر‬‫م‬ ‫راق‬‫ر‬‫اتف‬.‫ریگنال‬‫ر‬‫س‬ ‫رع‬‫ر‬‫توزی‬ ‫رامل‬‫ر‬‫ش‬ ‫رردازش‬‫ر‬‫پ‬ ، ‫رر‬‫ر‬‫اخی‬ ‫رتم‬‫ر‬‫سیس‬ ‫دو‬ ‫رن‬‫ر‬‫ای‬ ‫در‬‫رای‬‫ر‬‫ه‬ ‫باشد‬ ‫می‬ ‫نیز‬ ‫مناسب‬ ‫مقاصد‬ ‫به‬ ‫الکتریکی‬. ‫سر‬ ‫پردازشرگر‬ ‫از‬ ‫الکتریکی‬ ‫رابط‬ ‫یو‬ ‫ساده‬ ‫طور‬ ‫به‬ ‫خبر‬ ‫خروجی‬ ‫ی‬ ‫وسیله‬‫یگنال‬ ‫است‬ ‫بعدی‬ ‫سیستم‬ ‫به‬. 107
  • 108.
    4-2‫عناصر‬‫نوری‬ ‫فیبر‬ ‫انتقال‬‫خط‬: ‫قسمت‬‫از‬ ‫عبارتنرد‬ ‫نروری‬ ‫فیبرر‬ ‫انتقرال‬ ‫خرط‬ ‫کلیدی‬ ‫های‬:‫شر‬ ‫کره‬ ‫فرسرتنده‬‫منبرع‬ ‫امل‬ ، ‫ررت‬‫ر‬‫اس‬ ‫آن‬ ‫ررراه‬‫ر‬‫هم‬ ‫رررک‬‫ر‬‫تح‬ ‫رردار‬‫ر‬‫م‬ ‫و‬ ‫رروری‬‫ر‬‫ن‬‫ررل‬‫ر‬‫کاب‬‫و‬ ‫ررانیکی‬‫ر‬‫مک‬ ‫ررت‬‫ر‬‫حفاظ‬ ‫رررای‬‫ر‬‫ب‬ ‫رره‬‫ر‬‫ک‬ ‫راز‬‫ر‬‫س‬ ‫رکار‬‫ر‬‫آش‬ ‫رامل‬‫ر‬‫ش‬ ‫ره‬‫ر‬‫ک‬ ‫رده‬‫ر‬‫گیرن‬ ، ‫رود‬ ‫ری‬‫ر‬‫م‬ ‫رار‬‫ر‬‫ک‬ ‫ره‬‫ر‬‫ب‬ ‫آن‬ ‫رل‬‫ر‬‫داخ‬ ‫روری‬‫ر‬‫ن‬ ‫رر‬‫ر‬‫فیب‬ ‫ری‬‫ر‬‫محیط‬ ‫کانک‬ ‫همچنین‬ ‫و‬ ‫است‬ ‫سیگنال‬ ‫بهبود‬ ‫و‬ ‫تقویت‬ ‫مدارات‬ ‫ی‬ ‫اضافه‬ ‫به‬ ‫نوری‬‫تورهای‬ ‫می‬ ‫استفاده‬ ‫مختلف‬ ‫منابع‬ ‫به‬ ‫کابل‬ ‫اتصال‬ ‫برای‬ ‫که‬ ‫نوری‬ ‫فیبر‬ ‫کابل‬‫گردد‬. ‫می‬ ‫انتقال‬ ‫خط‬ ‫عناصر‬ ‫مهمترین‬ ‫از‬ ‫یکی‬ ‫نوری‬ ‫فیبر‬ ‫کابل‬‫باشد‬. 108
  • 109.
    ‫نصرب‬ ‫زمران‬ ‫در‬‫نروری‬ ‫فیبرر‬ ‫ای‬ ‫شیشره‬ ‫تارهرای‬ ‫محافظرت‬ ‫برر‬ ‫عالوه‬ ، ‫کابل‬ ‫این‬‫و‬ ‫م‬ ‫ها‬ ‫کننده‬ ‫تکرار‬ ‫ی‬ ‫تنذیه‬ ‫برای‬ ‫مسی‬ ‫های‬ ‫سیم‬ ‫حاوی‬ ‫است‬ ‫ممکن‬ ، ‫سرویس‬‫ورد‬ ‫سریگن‬ ‫متنراوب‬ ‫بازسازی‬ ‫و‬ ‫تقویت‬ ‫برای‬ ‫معین‬ ‫فواصل‬ ‫در‬ ‫که‬ ‫باشد‬ ‫لزوم‬‫کرار‬ ‫بره‬ ‫ال‬ ‫روند‬ ‫می‬. ‫نرازک‬ ‫بره‬ ‫ای‬ ‫اسرتوانه‬ ‫ای‬ ‫شیشره‬ ‫ترار‬ ‫چنردین‬ ‫معمروال‬ ‫نوری‬ ‫فیبر‬ ‫کابل‬ ‫درون‬، ‫مرو‬ ‫ی‬ ‫است‬ ‫ارتباطی‬ ‫مستقل‬ ‫کانال‬ ‫یو‬ ‫آنها‬ ‫از‬ ‫کدام‬ ‫هر‬ ‫که‬ ‫دارد‬ ‫وجود‬. ‫زیرزمینری‬ ‫هرای‬ ‫کانرال‬ ‫در‬ ، ‫هروا‬ ‫در‬ ، ‫مسری‬ ‫هرای‬ ‫کابرل‬ ‫همانند‬ ‫نوری‬ ‫فیبر‬ ‫کابل‬، ‫است‬ ‫نصب‬ ‫قابل‬ ، ‫زیرزمین‬ ‫در‬ ‫یا‬ ‫و‬ ‫دریا‬ ‫زیر‬. 109
  • 110.
    ‫صر‬ ‫چنرد‬ ‫طرول‬‫بره‬ ‫معمروال‬ ‫تکی‬ ‫های‬ ‫کابل‬ ، ‫نصب‬ ‫یا‬ ‫و‬ ‫ساخت‬ ‫محدودیت‬ ‫دلیل‬ ‫به‬‫د‬ ‫روند‬‫ر‬‫ش‬ ‫ری‬‫ر‬‫م‬ ‫راخته‬‫ر‬‫س‬ ‫دور‬ ‫رل‬‫ر‬‫فواص‬ ‫رای‬‫ر‬‫ه‬ ‫راربرد‬‫ر‬‫ک‬ ‫ررای‬‫ر‬‫ب‬ ‫رومتر‬‫ر‬‫کیل‬ ‫رد‬‫ر‬‫چن‬ ‫را‬‫ر‬‫ت‬ ‫رر‬‫ر‬‫مت‬.‫رو‬‫ر‬‫ط‬‫ل‬ ‫و‬ ‫پریچش‬ ‫ی‬ ‫انردازه‬ ، ‫قبیرل‬ ‫از‬ ‫مختلرف‬ ‫عملری‬ ‫مالحظات‬ ‫با‬ ، ‫کابل‬ ‫یو‬ ‫حقیقی‬‫وزن‬ ‫گردد‬ ‫می‬ ‫تعیین‬ ‫آن‬. ‫شرود‬ ‫مری‬ ‫اسرتفاده‬ ‫زیرزمینری‬ ‫های‬ ‫کانال‬ ‫در‬ ‫معموال‬ ‫تر‬ ‫کوتاه‬ ‫های‬ ‫کابل‬ ‫از‬.‫ک‬‫ابرل‬ ‫رار‬‫ر‬‫ک‬ ‫ره‬‫ر‬‫ب‬ ‫رین‬‫ر‬‫زم‬ ‫در‬ ‫رتقیم‬‫ر‬‫مس‬ ‫رن‬‫ر‬‫دف‬ ‫رکل‬‫ر‬‫ش‬ ‫ره‬‫ر‬‫ب‬ ‫را‬‫ر‬‫ی‬ ‫روایی‬‫ر‬‫ه‬ ‫رورت‬‫ر‬‫ص‬ ‫ره‬‫ر‬‫ب‬ ، ‫ردتر‬‫ر‬‫بلن‬ ‫رای‬‫ر‬‫ه‬‫ری‬‫ر‬‫م‬ ‫رد‬‫ر‬‫رون‬.‫ری‬‫ر‬‫تک‬ ‫رف‬‫ر‬‫مختل‬ ‫رای‬‫ر‬‫ه‬ ‫رل‬‫ر‬‫کاب‬ ‫رد‬‫ر‬‫پیون‬ ‫را‬‫ر‬‫ب‬ ، ‫دور‬ ‫رل‬‫ر‬‫فواص‬ ‫در‬ ‫رال‬‫ر‬‫انتق‬ ‫رل‬‫ر‬‫کام‬ ‫رط‬‫ر‬‫خ‬‫ره‬‫ر‬‫ب‬ ‫گیرد‬ ‫می‬ ‫شکل‬ ‫یکدیگر‬. 110
  • 111.
    ‫تر‬ ‫عنوان‬ ‫به‬‫آن‬ ‫تضعیف‬ ‫میزان‬ ، ‫نوری‬ ‫فیبر‬ ‫اصلی‬ ‫های‬ ‫مشخصه‬ ‫از‬ ‫یکی‬‫از‬ ‫ابعی‬ ‫رت‬‫ر‬‫اس‬ ‫روج‬‫ر‬‫م‬ ‫رول‬‫ر‬‫ط‬.‫رول‬‫ر‬‫ط‬ ‫رد‬‫ر‬‫بان‬ ‫از‬ ‫ررا‬‫ر‬‫منحص‬ ، ‫ره‬‫ر‬‫اولی‬ ‫روژی‬‫ر‬‫تکنول‬ ‫در‬‫روج‬‫ر‬‫م‬800-900 nm‫زمران‬ ‫آن‬ ‫در‬ ‫شرده‬ ‫سراخته‬ ‫هرای‬ ‫ترار‬ ، ‫ناحیره‬ ‫ایرن‬ ‫در‬ ‫زیررا‬ ، ‫شرد‬ ‫مری‬ ‫اسرتفاده‬ ‫وآشرک‬ ‫منرابع‬ ‫و‬ ‫دادنرد‬ ‫می‬ ‫نشان‬ ‫کلی‬ ‫تضعیف‬ ‫منحنی‬ ‫در‬ ‫را‬ ‫تضعیف‬ ‫حداقل‬‫هرای‬ ‫ار‬ ‫رد‬‫ر‬‫بودن‬ ‫رترس‬‫ر‬‫دس‬ ‫در‬ ‫را‬‫ر‬‫ه‬ ‫روج‬‫ر‬‫م‬ ‫رول‬‫ر‬‫ط‬ ‫رن‬‫ر‬‫ای‬ ‫در‬ ‫رار‬‫ر‬‫ک‬ ‫رت‬‫ر‬‫جه‬ ‫رب‬‫ر‬‫مناس‬ ‫روری‬‫ر‬‫ن‬.‫راهش‬‫ر‬‫ک‬ ‫را‬‫ر‬‫ب‬ ، ‫رار‬‫ر‬‫ت‬ ‫ی‬ ‫راده‬‫ر‬‫م‬ ‫در‬ ‫رزی‬‫ر‬‫فل‬ ‫رون‬‫ر‬‫ی‬ ‫رای‬‫ر‬‫ه‬ ‫ری‬‫ر‬‫ناخالص‬ ‫و‬ ‫ریل‬‫ر‬‫هیدروکس‬ ‫رای‬‫ر‬‫ه‬ ‫رون‬‫ر‬‫ی‬ ‫رت‬‫ر‬‫غلظ‬ ‫پر‬ ‫بسریار‬ ‫تلفرات‬ ‫برا‬ ‫نروری‬ ‫برهرای‬ ‫موج‬ ‫ساخت‬ ‫به‬ ‫موفق‬ ‫باالخره‬ ‫سازندگان‬‫در‬ ‫ایین‬ ‫ناحیه‬‫ی‬1100-1600nm‫شدند‬.‫طرو‬ ‫با‬ ‫ی‬ ‫ناحیه‬ ‫معموال‬ ‫را‬ ‫طیف‬ ‫این‬ ‫باند‬ ‫پهنای‬‫ل‬ ‫گویند‬ ‫می‬ ‫بلند‬ ‫موج‬. 111
  • 112.
    ‫طر‬ ‫در‬ ‫سریگنال‬‫اعوجراج‬ ‫حرداقل‬ ‫دارای‬ ‫خرالر‬ ‫سیلیکای‬ ‫تارهای‬ ‫که‬ ‫این‬ ‫دلیل‬ ‫به‬‫ول‬ ‫روج‬‫ر‬‫م‬1300nm‫رتند‬‫ر‬‫هس‬‫روج‬‫ر‬‫م‬ ‫رول‬‫ر‬‫ط‬ ‫رن‬‫ر‬‫ای‬ ‫از‬ ‫رتفاده‬‫ر‬‫اس‬ ‫ره‬‫ر‬‫ب‬ ‫ره‬‫ر‬‫عالق‬ ‫رزان‬‫ر‬‫می‬ ‫رابراین‬‫ر‬‫بن‬ ، ‫یافت‬ ‫افزایش‬. ‫ممکر‬ ، ‫کنرد‬ ‫مری‬ ‫طری‬ ‫نروری‬ ‫ترار‬ ‫در‬ ‫معینری‬ ‫مسرافت‬ ، ‫نروری‬ ‫سریگنال‬ ‫کره‬ ‫موقعی‬‫ن‬ ‫تقویر‬ ‫بررای‬ ‫کره‬ ‫برسرد‬ ‫ای‬ ‫درجره‬ ‫بره‬ ‫سریگنال‬ ‫اعوجراج‬ ‫و‬ ‫تضرعیف‬ ‫میرزان‬ ‫است‬‫و‬ ‫ت‬ ‫رد‬‫ر‬‫باش‬ ‫راز‬‫ر‬‫نی‬ ‫رانی‬‫ر‬‫می‬ ‫رای‬‫ر‬‫ه‬ ‫رده‬‫ر‬‫کنن‬ ‫ررار‬‫ر‬‫تک‬ ‫ره‬‫ر‬‫ب‬ ، ‫رال‬‫ر‬‫انتق‬ ‫رط‬‫ر‬‫خ‬ ‫رل‬‫ر‬‫داخ‬ ‫آن‬ ‫رازی‬‫ر‬‫بازس‬.‫ر‬‫ر‬‫تک‬‫رار‬ ‫ر‬‫ر‬‫ب‬ ‫رو‬‫ر‬‫پهل‬ ‫ره‬‫ر‬‫ک‬ ‫رت‬‫ر‬‫اس‬ ‫رتنده‬‫ر‬‫فرس‬ ‫رو‬‫ر‬‫ی‬ ‫و‬ ‫رده‬‫ر‬‫گیرن‬ ‫رو‬‫ر‬‫ی‬ ‫از‬ ‫ای‬ ‫ره‬‫ر‬‫مجموع‬ ‫روری‬‫ر‬‫ن‬ ‫ی‬ ‫رده‬‫ر‬‫کنن‬‫ه‬ ‫اند‬ ‫گرفته‬ ‫قرار‬ ‫هم‬ ‫پهلوی‬. 112
  • 113.
    ‫الکتری‬ ‫سریگنال‬ ‫بره‬‫تبردیل‬ ‫و‬ ‫آشرکار‬ ‫را‬ ‫نروری‬ ‫سریگنال‬ ، ‫گیرنده‬ ‫قسمت‬‫و‬ ‫کررده‬ ‫کری‬ ‫ارس‬ ‫فرستنده‬ ‫قسمت‬ ‫الکتریکی‬ ‫ورودی‬ ‫به‬ ، ‫بازسازی‬ ‫و‬ ‫تقویت‬ ‫از‬ ‫پس‬‫کند‬ ‫می‬ ‫ال‬. ‫قسمت‬‫نرو‬ ‫سریگنال‬ ‫بره‬ ‫تبردیل‬ ‫مجددا‬ ‫را‬ ‫الکتریکی‬ ‫سیگنال‬ ، ‫فرستنده‬‫و‬ ‫کنرد‬ ‫مری‬ ‫ری‬ ‫فرستد‬ ‫می‬ ‫نوری‬ ‫فیبر‬ ‫موجبر‬ ‫به‬ ‫سپس‬. ‫ن‬ ‫طروالنی‬ ‫خیلری‬ ‫کرامپیوتری‬ ‫هرای‬ ‫شربکه‬ ‫معمروال‬ ‫کره‬ ‫این‬ ‫به‬ ‫توجه‬ ‫با‬ ‫البته‬‫در‬ ‫یسرتند‬ ‫شود‬ ‫می‬ ‫استفاده‬ ‫ها‬ ‫کننده‬ ‫تکرار‬ ‫از‬ ‫کمتر‬ ‫آنها‬.‫ک‬ ‫تکررار‬ ‫کراربرد‬ ‫بیشتر‬‫در‬ ‫هرا‬ ‫ننرده‬ ‫استفاده‬ ‫فیبر‬ ‫از‬ ‫طوالنی‬ ‫های‬ ‫مسافت‬ ‫در‬ ‫که‬ ‫است‬ ‫مخابراتی‬ ‫های‬ ‫سیستم‬‫کنند‬ ‫می‬. 113
  • 114.
    4-3‫رابطه‬‫توزیع‬ ‫ی‬‫کننده‬‫نوری‬ ‫فیبر‬‫ی‬ ‫شبکه‬ ‫در‬ ‫ها‬ ‫داده‬(FDDI: ) ‫رتاندارد‬‫ر‬‫اس‬FDDI‫رط‬‫ر‬‫توس‬‫رتاندارد‬‫ر‬‫اس‬ ‫ی‬ ‫ره‬‫ر‬‫کمیت‬ANSI X3T9.5‫رال‬‫ر‬‫س‬ ‫در‬1980 ‫رپس‬‫ر‬‫س‬ ‫و‬ ‫رد‬‫ر‬‫ش‬ ‫رع‬‫ر‬‫وض‬‫ره‬‫ر‬‫ب‬ISO‫رد‬‫ر‬‫گردی‬ ‫ره‬‫ر‬‫ارائ‬.‫ی‬ ‫ره‬‫ر‬‫سس‬ ‫م‬ISO‫رارش‬‫ر‬‫نگ‬‫از‬ ‫ردی‬‫ر‬‫جدی‬ ‫رتاندارد‬‫ر‬‫اس‬FDDI‫رونی‬‫ر‬‫کن‬ ‫رتاندارد‬‫ر‬‫اس‬ ‫را‬‫ر‬‫ب‬ ‫ره‬‫ر‬‫ک‬ ‫ررد‬‫ر‬‫ک‬ ‫رف‬‫ر‬‫تعری‬ANSI‫رت‬‫ر‬‫اس‬ ‫رازگار‬‫ر‬‫س‬. FDDI‫یو‬‫با‬ ‫حلقوی‬ ‫توپولوژی‬ ‫از‬ ‫که‬ ‫است‬ ‫باال‬ ‫سرعت‬ ‫با‬ ‫محلی‬ ‫ی‬ ‫شبکه‬‫سرعت‬ Mbps100‫مری‬ ‫اسرتفاده‬ ‫اطالعرات‬ ‫ی‬ ‫مبادلره‬ ‫برای‬‫کنرد‬FDDI‫اسرتفاده‬ ‫حلقره‬ ‫دو‬ ‫از‬ ‫دوگانره‬ ‫حلقروی‬ ‫توپولوژی‬ ‫بنابراین‬ ، ‫کند‬ ‫می‬(Dual Ring)‫نامیرده‬‫شرود‬ ‫مری‬.‫ایرن‬ ‫روش‬FDDI‫استاندارد‬ ‫با‬ ‫مشابه‬IEEE 802.5‫در‬TOKen Ring‫باشد‬ ‫می‬. ‫خصوصیات‬ ‫مهمترین‬ ‫از‬ ‫یکی‬FDDI‫بر‬ ‫نروری‬ ‫فیبر‬ ‫انتقال‬ ‫ی‬ ‫رسانه‬ ‫از‬ ‫استفاده‬‫رای‬ ‫باشد‬ ‫می‬ ‫ها‬ ‫داده‬ ‫ی‬ ‫مبادله‬. 114
  • 115.
    ‫مزیت‬‫مری‬ ‫آن‬ ‫براالی‬‫امنیت‬ ‫و‬ ‫حفاظت‬ ‫مسی‬ ‫سیم‬ ‫به‬ ‫نسبت‬ ‫نوری‬ ‫فیبر‬ ‫مهم‬، ‫باشرد‬ ‫رنود‬‫ر‬‫ش‬ ‫را‬ ‫آن‬ ‫روان‬‫ر‬‫بت‬ ‫ره‬‫ر‬‫ک‬ ‫ردارد‬‫ر‬‫ن‬ ‫رود‬‫ر‬‫وج‬ ‫ری‬‫ر‬‫الکتریک‬ ‫ریگنال‬‫ر‬‫س‬ ‫رانه‬‫ر‬‫رس‬ ‫رن‬‫ر‬‫ای‬ ‫در‬ ‫ررا‬‫ر‬‫زی‬‫ررد‬‫ر‬‫ک‬ ‫گذارد‬ ‫نمی‬ ‫تأتیر‬ ‫آن‬ ‫بر‬ ‫نویز‬ ‫که‬ ‫آن‬ ‫ضمن‬. ‫شرد‬ ‫گفتره‬ ‫کره‬ ‫طوری‬ ‫همان‬،FDDI‫از‬ ‫عبارتنرد‬ ‫کره‬ ‫کنرد‬ ‫مری‬ ‫اسرتفاده‬ ‫حلقره‬ ‫دو‬ ‫از‬: ‫ی‬ ‫حلقه‬‫اولیه‬((Primary Ring‫و‬‫ی‬ ‫حلقره‬‫تانویره‬.(Secondary Ring)‫هرا‬ ‫داده‬ ‫یابند‬ ‫می‬ ‫انتقال‬ ‫مخالف‬ ‫جهت‬ ‫دو‬ ‫در‬ ‫ها‬ ‫حلقه‬ ‫در‬.‫د‬ ‫ارسرال‬ ‫بررای‬ ‫اولیره‬ ‫ی‬ ‫حلقره‬‫اده‬ ‫ا‬ ‫ی‬ ‫حلقره‬ ‫کره‬ ‫مرواقعی‬ ‫بررای‬ ‫تانویه‬ ‫ی‬ ‫حلقه‬ ‫و‬ ‫گیرد‬ ‫می‬ ‫قرار‬ ‫استفاده‬ ‫مورد‬ ‫ها‬‫ولیره‬ ‫پشتیبان‬ ‫عنوان‬ ‫به‬ ‫بیفتد‬ ‫کار‬ ‫از‬(Backup)‫رود‬ ‫می‬ ‫کار‬ ‫به‬ ‫حلقه‬.FDDI‫ی‬ ‫اجازه‬ ‫اتصرال‬1000‫تر‬ ‫حرداکتر‬ ‫توانرد‬ ‫مری‬ ‫کره‬ ‫ایرن‬ ‫ضرمن‬ ‫دهرد‬ ‫مری‬ ‫حلقره‬ ‫بره‬ ‫را‬ ‫ایسرتگاه‬‫ا‬ 200‫یابد‬ ‫گسترش‬ ‫کیلومتر‬. 115
  • 116.
    4-4‫شبکه‬‫سنکرون‬ ‫نوری‬ ‫ی‬(SONET): SONET‫عنروان‬‫بره‬ ‫نروری‬ ‫فیبرر‬ ‫کابرل‬ ‫از‬ ‫که‬ ‫است‬ ‫باال‬ ‫سرعت‬ ‫با‬ ‫ای‬ ‫شبکه‬‫رسرانه‬ ‫رد‬‫ر‬‫کن‬ ‫ری‬‫ر‬‫م‬ ‫رتفاده‬‫ر‬‫اس‬ ‫رال‬‫ر‬‫انتق‬ ‫ی‬.‫ی‬ ‫واژه‬SONET‫رتفاده‬‫ر‬‫اس‬ ‫رورد‬‫ر‬‫م‬ ‫رمالی‬‫ر‬‫ش‬ ‫رای‬‫ر‬‫آمریک‬ ‫در‬ ‫ی‬ ‫سسره‬ ‫م‬ ‫توسرط‬ ‫کره‬ ‫استانداردی‬ ‫از‬ ‫است‬ ‫عبارت‬ ‫و‬ ‫گیرد‬ ‫می‬ ‫قرار‬ANSI‫وضرع‬ ‫است‬ ‫شده‬.‫ی‬ ‫اتحادیه‬ITN‫برای‬ ‫استانداردی‬SONET‫را‬ ‫آن‬ ‫و‬ ‫نمرود‬ ‫وضرع‬SDH ‫ررد‬‫ر‬‫گی‬ ‫ری‬‫ر‬‫م‬ ‫ررار‬‫ر‬‫ق‬ ‫رتفاده‬‫ر‬‫اس‬ ‫رورد‬‫ر‬‫م‬ ‫را‬‫ر‬‫اروپ‬ ‫در‬ ‫ره‬‫ر‬‫ک‬ ‫رد‬‫ر‬‫نامی‬.‫روری‬‫ر‬‫ن‬ ‫راری‬‫ر‬‫معم‬SONET‫رر‬‫ر‬‫ب‬ ‫را‬‫ر‬‫ت‬ ‫رردد‬‫ر‬‫گ‬ ‫ری‬‫ر‬‫م‬ ‫ری‬‫ر‬‫طراح‬ ‫رت‬‫ر‬‫جه‬ ‫دو‬ ‫در‬ ‫ای‬ ‫ره‬‫ر‬‫حلق‬ ‫و‬ ‫روری‬‫ر‬‫ن‬ ‫رر‬‫ر‬‫فیب‬ ‫رته‬‫ر‬‫رش‬ ‫رار‬‫ر‬‫چه‬ ‫راس‬‫ر‬‫اس‬ ‫نماید‬ ‫ارائه‬ ‫را‬ ‫اطمینان‬ ‫حداکتر‬ ‫با‬ ‫هایی‬ ‫سرویس‬.‫ج‬ ‫کراربردی‬ ‫هرای‬ ‫افرزار‬ ‫نررم‬‫دیرد‬ ‫متل‬CAD CAM‫و‬Media Images‫دیگر‬ ‫بره‬ ‫نسربت‬ ‫ترری‬ ‫وسریع‬ ‫بانرد‬ ‫پهنرای‬ ‫بره‬‫ر‬ ‫و‬ ‫دارنررد‬ ‫نیرراز‬ ‫کرراربردی‬ ‫هررای‬ ‫افررزار‬ ‫نرررم‬SONET‫سرررعت‬ ‫و‬ ‫بانررد‬ ‫پهنررای‬ ‫دارای‬ ‫باشد‬ ‫می‬ ‫باالیی‬ ‫ارسال‬. 116
  • 117.
  • 118.
    ‫مشخصات‬:SONET ‫از‬‫مشخصات‬ ‫ترین‬ ‫برجسته‬SONET‫برد‬‫نام‬ ‫را‬ ‫زیر‬ ‫موارد‬ ‫توان‬ ‫می‬: 1-‫کند‬ ‫می‬ ‫استفاده‬ ‫بایت‬ ‫کردن‬ ‫پلکس‬ ‫مالتی‬ ‫روش‬ ‫از‬ ‫سطوح‬ ‫ی‬ ‫کلیه‬ ‫برای‬. 2-‫آوری‬ ‫فن‬ ‫یو‬‫باسرعت‬‫مسیر‬ ‫خودکار‬ ‫اصالح‬ ‫ویژگی‬ ‫دارای‬ ‫و‬ ‫باالست‬‫میب‬‫اشد‬. 3-‫کند‬ ‫می‬ ‫استفاده‬ ‫پلکس‬ ‫مالتی‬ ‫دی‬ ‫و‬ ‫پلکس‬ ‫ملتی‬ ‫های‬ ‫روش‬ ‫از‬. 4-‫بررای‬ ‫پایره‬ ‫الکتریکری‬ ‫سیگنال‬SONET‫سریگنال‬‫یرو‬ ‫سرطت‬ ‫سرنکرون‬ ‫حامرل‬ ‫هرای‬ ‫باشد‬ ‫می‬. 5-‫سرعت‬ ‫با‬8000‫تانیه‬ ‫در‬ ‫فریم‬SONET‫کند‬ ‫می‬ ‫ارسال‬ ‫را‬. 6-‫مسرتقی‬ ‫ترر‬ ‫سرریع‬ ‫هرای‬ ‫سریگنال‬ ‫روی‬ ‫برر‬ ‫تواننرد‬ ‫مری‬ ‫ترر‬ ‫کند‬ ‫های‬ ‫سیگنال‬‫مرالتی‬ ‫ما‬ ‫شوند‬ ‫پلکس‬. 118
  • 119.
    4-5‫فرستنده‬‫نوری‬ ‫های‬: ‫به‬‫سریگنال‬ ‫به‬‫الکتریکی‬ ‫سیگنال‬ ‫تبدیل‬ ‫ی‬ ‫وظیفه‬ ‫که‬ ‫هایی‬ ‫دستگاه‬‫انجرام‬ ‫را‬ ‫نروری‬ ‫بر‬ ‫کلری‬ ‫طرور‬ ‫بره‬ ‫کره‬ ‫گوینرد‬ ‫مری‬ ‫نروری‬ ‫هرای‬ ‫فرسرتنده‬ ‫یرا‬ ‫نرور‬ ‫منابع‬ ، ‫دهند‬ ‫می‬‫دو‬ ‫ه‬ ‫ک‬ ‫شوند‬ ‫می‬ ‫تقسیم‬ ‫لیزری‬ ‫دیودهای‬ ‫و‬ ‫نور‬ ‫ی‬ ‫منتشرکننده‬ ‫دیودهای‬ ‫ی‬ ‫دسته‬‫جهت‬ ‫ه‬ ‫اند‬ ‫شده‬ ‫ساخته‬ ‫مختلف‬ ‫انواع‬ ‫در‬ ‫خار‬ ‫مصارف‬. 119
  • 120.
    4-5-1‫ویژگی‬‫های‬ ‫سیستم‬ ‫در‬‫استفاده‬ ‫مورد‬ ‫نور‬ ‫منابع‬ ‫های‬‫نور‬‫ی‬: ‫منابع‬‫گرفتر‬ ‫کرار‬ ‫به‬ ‫فرستنده‬ ‫عنوان‬ ‫به‬ ‫نوری‬ ‫های‬ ‫سیستم‬ ‫در‬ ‫که‬ ‫نوری‬‫شروند‬ ‫مری‬ ‫ه‬ ‫باشند‬ ‫زیر‬ ‫خوار‬ ‫دارای‬ ‫باید‬: 1-‫موج‬ ‫طول‬: ‫کمری‬ ‫بسیار‬ ‫تلفات‬ ‫فیبر‬ ‫که‬ ‫باشد‬ ‫ای‬ ‫اندازه‬ ‫به‬ ‫باید‬ ‫نور‬ ‫منبع‬ ‫موج‬ ‫طول‬‫باشرد‬ ‫داشرته‬ ‫باشد‬ ‫حداقل‬ ‫نیز‬ ‫آن‬ ‫پاشندگی‬ ‫حال‬ ‫عین‬ ‫در‬ ‫و‬.‫آلیراژ‬ ‫از‬ ‫اولیره‬ ‫هرای‬ ‫سیسرتم‬GaAs‫و‬ ‫حوالی‬ ‫موج‬ ‫طول‬ ‫در‬mµ0.85‫طراحی‬‫بودند‬ ‫شده‬. ‫حوالی‬ ‫در‬ ‫موج‬ ‫طول‬ ‫جدید‬ ‫های‬ ‫سیستم‬ ‫در‬mµ1.3‫یا‬ ‫و‬mµ1.55‫مری‬ ‫طراحری‬ ‫مری‬ ‫گرفتره‬ ‫کرار‬ ‫بره‬ ‫مروج‬ ‫طرول‬ ‫از‬ ‫محردوده‬ ‫این‬ ‫در‬ ‫که‬ ‫هادی‬ ‫نیمه‬ ‫بلورهای‬ ‫و‬ ‫شود‬ ‫شوند‬‫ترکیب‬InGaAsP‫و‬InGaAs‫و‬InGaAsb‫می‬‫باشند‬. 120
  • 121.
    2-‫اطمینان‬ ‫قابلی‬: ‫ر‬‫ر‬‫ه‬ ‫رتم‬‫ر‬‫سیس‬‫در‬ ‫رتفاده‬‫ر‬‫اس‬ ‫رورد‬‫ر‬‫م‬ ‫رور‬‫ر‬‫ن‬ ‫رع‬‫ر‬‫منب‬ ‫ررای‬‫ر‬‫ب‬ ‫رو‬‫ر‬‫ش‬ ‫ردون‬‫ر‬‫ب‬ ، ‫روالنی‬‫ر‬‫ط‬ ‫رد‬‫ر‬‫مفی‬ ‫رر‬‫ر‬‫عم‬‫ای‬ ‫هسرت‬ ‫آن‬ ‫پری‬ ‫در‬ ‫سرازنده‬ ‫های‬ ‫شرکت‬ ‫دلیل‬ ‫همین‬ ‫به‬ ‫و‬ ‫است‬ ‫ضروریات‬ ‫از‬ ‫نوری‬‫ند‬ ‫حدود‬ ‫به‬ ‫منابعی‬ ‫چنین‬ ‫عمر‬ ‫که‬106‫ساعت‬(‫سال‬ ‫صد‬ ‫یو‬ ‫از‬ ‫بیش‬)‫برسد‬. 3-‫خروجی‬ ‫توان‬: ‫رد‬‫ر‬‫ده‬ ‫رل‬‫ر‬‫تحوی‬ ‫روری‬‫ر‬‫ن‬ ‫رتم‬‫ر‬‫سیس‬ ‫ره‬‫ر‬‫ب‬ ‫روان‬‫ر‬‫ت‬ ‫ردازه‬‫ر‬‫ان‬ ‫آن‬ ‫ره‬‫ر‬‫ب‬ ‫رد‬‫ر‬‫باش‬ ‫رادر‬‫ر‬‫ق‬ ‫رد‬‫ر‬‫بای‬ ‫رور‬‫ر‬‫ن‬ ‫رع‬‫ر‬‫منب‬‫ره‬‫ر‬‫ک‬ ، ‫برسراند‬ ‫آشکارسراز‬ ‫بره‬ ‫را‬ ‫دریرافتی‬ ‫تروان‬ ‫حداقل‬ ‫و‬ ‫بوده‬ ‫تلفات‬ ‫جوابگوی‬‫غیرر‬ ‫در‬ ‫ی‬ ‫مخرابره‬ ‫و‬ ‫شروند‬ ‫مری‬ ‫محرو‬ ‫آن‬ ‫در‬ ‫و‬ ‫شرده‬ ‫نرویز‬ ‫به‬ ‫آغشته‬ ‫اطالعات‬ ‫صورت‬ ‫این‬ ‫رردد‬‫ر‬‫گ‬ ‫ری‬‫ر‬‫م‬ ‫رن‬‫ر‬‫ممک‬ ‫رر‬‫ر‬‫غی‬ ‫رت‬‫ر‬‫اطالع‬.‫ردود‬‫ر‬‫ح‬ ‫در‬ ‫روان‬‫ر‬‫ت‬ ‫رر‬‫ر‬‫حاض‬ ‫رال‬‫ر‬‫ح‬ ‫در‬(10-1)‫ری‬‫ر‬‫میل‬ ‫است‬ ‫معمول‬ ‫بسیار‬ ‫وات‬. 121
  • 122.
    4-‫توان‬ ‫راندمان‬: ‫از‬ ‫بیشتر‬‫باید‬ ‫نوری‬ ‫فیبر‬ ‫های‬ ‫شبکه‬ ‫در‬ ‫راندمان‬ ‫یا‬ ‫بهره‬10%‫باشد‬. 5-‫طی‬ ‫پهنای‬: ‫دارد‬ ‫نروری‬ ‫سیسرتم‬ ‫بانرد‬ ‫پهنرای‬ ‫برر‬ ‫شردیدی‬ ‫اترر‬ ‫نرور‬ ‫منبرع‬ ‫طیف‬ ‫پهنای‬.‫در‬‫سیسرتم‬ ‫پ‬ ‫کره‬ ‫مقردار‬ ‫هرر‬ ‫بره‬ ، ‫شرود‬ ‫مری‬ ‫استفاده‬ ‫مدی‬ ‫تو‬ ‫فیبر‬ ‫از‬ ‫که‬ ‫ظرفیت‬ ‫پر‬ ‫های‬‫هنرای‬ ‫مقر‬ ‫همران‬ ‫بره‬ ‫است‬ ‫الزم‬ ، ‫شود‬ ‫گرفته‬ ‫نظر‬ ‫در‬ ‫سیستم‬ ‫برای‬ ‫بیشتری‬ ‫باند‬‫پهنرای‬ ‫دار‬ ‫گردد‬ ‫تر‬ ‫کوچو‬ ‫منبع‬ ‫طیف‬. 122
  • 123.
    6-‫همگرایی‬: ‫آن‬ ‫بتروان‬ ‫کره‬‫نحروی‬ ‫بره‬ ‫باشرد‬ ‫برخروردار‬ ‫خروبی‬ ‫کیفیرت‬ ‫از‬ ‫باید‬ ‫نور‬ ‫منبع‬‫کرامال‬ ‫را‬ ‫کرد‬ ‫متمرکز‬.‫فیبر‬ ‫داخرل‬ ‫بره‬ ‫منبرع‬ ‫طرف‬ ‫از‬ ‫توان‬ ‫تحویل‬ ‫هنگام‬ ‫تمرکز‬ ‫این‬‫نروری‬ ‫ر‬ ‫است‬ ‫برخوردار‬ ‫فراوانی‬ ‫اهمیت‬ ‫از‬. 7-‫مدوالسیون‬: ‫حامل‬ ‫عنوان‬ ‫به‬ ‫نور‬ ‫از‬ ‫نوری‬ ‫مخابرات‬ ‫های‬ ‫سیستم‬ ‫در‬(power out)‫استفاده‬ ، ‫تر‬ ‫کره‬ ‫مسرئله‬ ‫ایرن‬ ‫لرذا‬ ، ‫گردند‬ ‫می‬ ‫ارسال‬ ‫و‬ ‫شده‬ ‫آن‬ ‫بر‬ ‫سوار‬ ‫اطالعات‬ ‫و‬ ‫شود‬ ‫می‬‫ا‬ ‫مد‬ ‫الکتریکی‬ ‫سیگنال‬ ‫ی‬ ‫وسیله‬ ‫به‬ ‫را‬ ‫نور‬ ‫بتوان‬ ‫بازدهی‬ ‫چه‬ ‫با‬ ‫و‬ ‫حد‬ ‫چه‬‫کررد‬ ‫ولره‬ ‫است‬ ‫برخوردار‬ ‫شایانی‬ ‫اهمیت‬ ‫از‬. 123
  • 124.
    ‫یکی‬ ، ‫است‬‫پذیر‬ ‫امکان‬ ‫روش‬ ‫دو‬ ‫به‬ ‫نوری‬ ‫مخابرات‬ ‫در‬ ‫مدوالسیون‬‫مدوالسای‬‫ون‬ ‫مستقیم‬‫اسر‬ ‫روشری‬ ‫دیگرری‬ ‫و‬ ‫شرود‬ ‫مری‬ ‫مدولره‬ ‫مسرتقیما‬ ‫خروجری‬ ‫نور‬ ‫آن‬ ‫در‬ ‫که‬‫ت‬ ، ‫ردوالتور‬‫ر‬‫م‬ ‫ی‬ ‫ریله‬‫ر‬‫وس‬ ‫ره‬‫ر‬‫ب‬ ‫رور‬‫ر‬‫ن‬ ‫رع‬‫ر‬‫منب‬ ‫از‬ ‫رروج‬‫ر‬‫خ‬ ‫از‬ ‫رس‬‫ر‬‫پ‬ ‫ری‬‫ر‬‫خروج‬ ‫رور‬‫ر‬‫ن‬ ‫آن‬ ‫در‬ ‫ره‬‫ر‬‫ک‬ ‫را‬ ‫آن‬ ‫که‬ ‫گردد‬ ‫می‬ ‫مدوله‬‫خارجی‬ ‫مدوالسیون‬‫نامند‬ ‫می‬. ‫ررا‬‫ر‬‫تنیی‬ ‫را‬‫ر‬‫ب‬ ‫ره‬‫ر‬‫ک‬ ‫رت‬‫ر‬‫اس‬ ‫رب‬‫ر‬‫ترتی‬ ‫رن‬‫ر‬‫ای‬ ‫ره‬‫ر‬‫ب‬ ‫رتقیم‬‫ر‬‫مس‬ ‫ریون‬‫ر‬‫مدوالس‬ ‫رام‬‫ر‬‫انج‬ ‫رونگی‬‫ر‬‫چگ‬‫ران‬‫ر‬‫جری‬ ‫ت‬ ‫ر‬‫ر‬‫مس‬ ‫را‬ ‫رور‬‫ر‬‫ن‬ ‫روان‬‫ر‬‫ت‬ ‫ری‬‫ر‬‫م‬ ، ‫رزری‬‫ر‬‫لی‬ ‫رود‬‫ر‬‫دی‬ ‫را‬‫ر‬‫ی‬ ‫رور‬‫ر‬‫ن‬ ‫رده‬‫ر‬‫کنن‬ ‫رر‬‫ر‬‫منتش‬ ‫رود‬‫ر‬‫دی‬ ‫ره‬‫ر‬‫ب‬ ‫ری‬‫ر‬‫تزریق‬‫تقیما‬ ‫کرد‬ ‫مدوله‬. 124
  • 125.
    ‫ماننرد‬ ‫محاسرنی‬ ‫دارای‬‫مسرتقیم‬ ‫مدوالسیون‬:‫ولتر‬ ‫برودن‬ ‫کرم‬ ، ‫ارزانری‬ ، ‫سرادگی‬‫و‬ ‫اژ‬ ‫اسرت‬ ‫توان‬.‫حردود‬ ‫در‬ ‫ای‬ ‫شرده‬ ‫اعمرال‬ ‫ولتراژ‬ ‫برا‬ ‫روش‬ ‫ایرن‬ ‫در‬2‫الری‬3‫برا‬ ‫و‬ ‫ولرت‬ ‫داد‬ ‫انجام‬ ‫را‬ ‫مدوالسیون‬ ‫توان‬ ‫می‬ ‫کم‬ ‫توانی‬. ‫از‬‫و‬ ‫پرذیر‬ ‫امکران‬ ‫مدوالسریون‬ ‫مختلرف‬ ‫انرواع‬ ‫خرارجی‬ ‫مدوالسریون‬ ‫در‬ ‫دیگرر‬ ‫سوی‬ ‫است‬ ‫دستیابی‬ ‫قابل‬ ‫زیاد‬ ‫بسیار‬ ‫های‬ ‫سرعت‬ ‫با‬ ‫مدوالسیون‬. 8-‫اندازه‬ ‫و‬ ‫وزن‬ ،‫شکل‬: ‫ر‬‫ر‬‫سیس‬ ‫رزاء‬‫ر‬‫اج‬ ‫رایر‬‫ر‬‫س‬ ‫را‬‫ر‬‫ب‬ ‫رب‬‫ر‬‫متناس‬ ، ‫ردازه‬‫ر‬‫ان‬ ‫و‬ ‫وزن‬ ، ‫رکل‬‫ر‬‫ش‬ ‫رر‬‫ر‬‫نظ‬ ‫از‬ ‫رد‬‫ر‬‫بای‬ ‫رور‬‫ر‬‫ن‬ ‫رع‬‫ر‬‫منب‬‫تم‬ ‫باشد‬ ‫نوری‬ 125
  • 126.
    4-5-2‫تفاوت‬‫معمولی‬ ‫نور‬ ‫و‬‫لیزر‬ ‫نور‬: •‫فوتون‬‫نئون‬ ‫الم‬(‫معمولی‬ ‫نور‬)‫بره‬ ‫خرودی‬ ‫بره‬ ‫خرود‬ ‫تشعشع‬ ‫ی‬ ‫وسیله‬ ‫به‬‫وجرود‬ ‫تشعشع‬ ‫ی‬ ‫وسیله‬ ‫به‬ ‫لیزر‬ ‫نور‬ ‫های‬ ‫فوتون‬ ‫و‬ ‫آیند‬ ‫می‬‫برانگیخته‬‫ش‬ ‫می‬‫این‬ ‫و‬ ‫وند‬ ‫است‬ ‫معمولی‬ ‫نور‬ ‫و‬ ‫لیزر‬ ‫اساسی‬ ‫فرق‬.‫طر‬ ‫بره‬ ‫چون‬ ‫معمولی‬ ‫نور‬ ‫های‬ ‫فوتون‬‫ور‬ ‫ت‬ ‫پایین‬ ‫مدار‬ ‫به‬ ‫تر‬ ‫باال‬ ‫مدار‬ ‫از‬ ‫زمانی‬ ‫تأخیر‬ ‫با‬ ‫و‬ ‫خودی‬ ‫به‬ ‫خود‬ ‫و‬ ‫دلخواه‬‫مری‬ ‫ر‬ ‫فو‬ ‫ولری‬ ‫نیسرتند‬ ‫فراز‬ ‫هرم‬ ، ‫کنند‬ ‫می‬ ‫پیدا‬ ‫انتشار‬ ‫مختلف‬ ‫جهات‬ ‫در‬ ‫و‬ ‫آیند‬‫هرای‬ ‫ترون‬ ‫از‬ ‫کره‬ ‫هسرتند‬ ‫هرایی‬ ‫الکتررون‬ ‫از‬ ‫ناشری‬ ‫زیررا‬ ‫باشند‬ ‫می‬ ‫فاز‬ ‫هم‬ ، ‫لیزر‬ ‫نور‬‫مردار‬ ‫یک‬ ‫ها‬ ‫فوتون‬ ‫انرژی‬ ‫لذا‬ ، ‫شوند‬ ‫می‬ ‫روانه‬ ‫دیگر‬ ‫مشخر‬ ‫مدار‬ ‫به‬ ‫مشخصی‬‫سران‬ ‫ررار‬‫ر‬‫ق‬ ‫روری‬‫ر‬‫ن‬ ‫رف‬‫ر‬‫طی‬ ‫رخر‬‫ر‬‫مش‬ ‫رط‬‫ر‬‫خ‬ ‫رو‬‫ر‬‫ی‬ ‫در‬ ‫و‬ ‫رخر‬‫ر‬‫مش‬ ‫را‬‫ر‬‫آنه‬ ‫رانس‬‫ر‬‫فرک‬ ‫ره‬‫ر‬‫نتیج‬ ‫در‬ ‫و‬ ‫دارد‬. 126
  • 127.
    ‫فاز‬ ‫هم‬‫و‬‫رنگ‬ ‫یک‬‫بودن‬‫لیزر‬‫نور‬‫انررژ‬ ‫دارای‬ ‫نرور‬ ‫ایرن‬ ‫که‬ ‫است‬ ‫شده‬ ‫باع‬‫ی‬ ‫باشد‬ ‫ای‬ ‫العاده‬ ‫فوق‬. ‫واگررا‬ ‫آنکره‬ ‫بردون‬ ‫فرستاد‬ ‫دور‬ ‫های‬ ‫فاصله‬ ‫تا‬ ‫توان‬ ‫می‬ ‫را‬ ‫لیزر‬ ‫نور‬(‫براز‬)‫شر‬، ‫ود‬ ‫رود‬‫ر‬‫نم‬ ‫متمرکرز‬ ‫روچکی‬‫ر‬‫ک‬ ‫ریار‬‫ر‬‫بس‬ ‫قطرر‬ ‫در‬ ‫را‬ ‫آن‬ ‫روان‬‫ر‬‫ت‬ ‫ری‬‫ر‬‫م‬ ‫همچنرین‬.‫روا‬‫ر‬‫ان‬ ‫در‬ ‫رزر‬‫ر‬‫لی‬‫ع‬ ‫و‬ ‫گرازی‬ ‫لیزر‬ ، ‫جامد‬ ‫لیزر‬ ‫مانند‬ ، ‫مختلف‬...‫نر‬ ‫منرابع‬ ‫امرا‬ ، ‫اسرت‬ ‫شرده‬ ‫سراخته‬‫ور‬ ‫مری‬ ‫هرا‬ ‫هرادی‬ ‫نیمره‬ ‫جامرد‬ ‫لیرزر‬ ‫نروع‬ ‫از‬ ‫نروری‬ ‫فیبرر‬ ‫هرای‬ ‫شربکه‬ ‫در‬ ‫اسرتفاده‬ ‫مورد‬ ‫باشند‬. 127
  • 128.
    ‫نور‬ ‫ی‬ ‫کننده‬‫منتشر‬ ‫دیود‬ ‫خصوصیا‬: ‫ویژ‬ ‫دارای‬ ‫روری‬‫ر‬‫ن‬ ‫رتم‬‫ر‬‫سیس‬ ‫رو‬‫ر‬‫ی‬ ‫در‬ ‫رتفاده‬‫ر‬‫اس‬ ‫رورد‬‫ر‬‫م‬ ‫رور‬‫ر‬‫ن‬ ‫ی‬ ‫رده‬‫ر‬‫کنن‬ ‫رر‬‫ر‬‫منتش‬ ‫رود‬‫ر‬‫دی‬‫ری‬‫ر‬‫گ‬ ‫بر‬ ‫اتصرال‬ ‫هنگرام‬ ‫در‬ ‫براال‬ ‫برازدهی‬ ‫و‬ ‫خروجی‬ ‫توان‬ ، ‫زیاد‬ ‫درخشش‬ ‫قبیل‬ ‫از‬ ‫هایی‬‫ه‬ ‫باشد‬ ‫می‬ ‫فیبر‬. ‫لیزری‬ ‫دیود‬ ‫خصوصیا‬: ‫از‬ ‫عبارتند‬ ‫لیزر‬ ‫مشخصات‬:‫زیراد‬ ‫کوپلینرش‬ ‫بهرره‬ ، ‫باریو‬ ‫طیف‬ ‫پهنای‬‫پهنرای‬ ، ‫سررعت‬ ، ‫خوب‬ ‫خروجی‬ ‫توان‬ ، ‫کم‬ ‫کوپلینش‬ ‫تلفات‬ ، ‫خوب‬ ‫باند‬‫مدوالسریو‬‫ن‬‫زیراد‬ ‫حرارت‬ ‫به‬ ‫نسبت‬ ‫حساس‬ ، ‫ضعیف‬ ‫بودن‬ ‫خطی‬ ،. 128
  • 129.
    4-6‫آشکارساز‬‫های‬‫نوری‬:(Optical Detector) ‫در‬‫رو‬‫ر‬‫م‬ ‫رور‬‫ر‬‫ن‬‫ی‬ ‫رده‬‫ر‬‫گیرن‬ ‫ررف‬‫ر‬‫ط‬ ‫در‬ ‫روری‬‫ر‬‫ن‬ ‫راز‬‫ر‬‫آشکارس‬ ‫روعی‬‫ر‬‫ن‬ ‫روری‬‫ر‬‫ن‬ ‫رر‬‫ر‬‫فیب‬ ‫رای‬‫ر‬‫ه‬ ‫رتم‬‫ر‬‫سیس‬‫رد‬ ‫در‬ ‫که‬ ‫را‬ ‫شده‬ ‫مدوله‬ ‫نور‬ ‫تا‬ ‫است‬ ‫نیاز‬‫طول‬‫کنرد‬ ‫آشرکار‬ ، ‫شرده‬ ‫منتشر‬ ‫فیبر‬.‫بره‬‫عبرارت‬ ‫نمایرد‬ ‫تبردیل‬ ‫الکتریکری‬ ‫های‬ ‫سیگنال‬ ‫به‬ ‫را‬ ‫نوری‬ ‫های‬ ‫سیگنال‬ ‫دیگر‬.‫آش‬ ‫ایرن‬‫کارسرازها‬ ‫ش‬ ‫می‬ ‫کوپله‬ ‫ها‬ ‫فیبر‬ ‫به‬ ‫راحتی‬ ‫به‬ ‫که‬ ‫هستند‬ ‫هادی‬ ‫نیمه‬ ‫های‬ ‫دیود‬ ‫فتو‬ ‫نوع‬ ‫از‬‫ود‬. ‫باشد‬ ‫زیر‬ ‫های‬ ‫ویژگی‬ ‫دارای‬ ‫باید‬ ‫آل‬ ‫ایده‬ ‫آشکارساز‬ ‫یک‬: •‫نور‬ ‫به‬ ‫زیاد‬ ‫حساسیت‬(‫نور‬ ‫منبع‬ ‫موج‬ ‫طول‬ ‫در‬) •‫خوب‬ ‫باند‬ ‫پهنای‬ •‫نور‬ ‫به‬ ‫پاسخ‬ ‫سریع‬ ‫زمان‬ •‫کم‬ ‫نویز‬ 129
  • 130.
    •‫خارجی‬ ‫شرایط‬ ‫تنییرات‬‫صورت‬ ‫در‬ ‫مشخصات‬ ‫پایداری‬ •‫اطمینان‬ ‫قابلیت‬ •‫زیاد‬ ‫های‬ ‫ولتاژ‬ ‫به‬ ‫نیاز‬ ‫عدم‬ •‫کوچو‬ ‫ی‬ ‫اندازه‬ •‫کم‬ ‫قیمت‬ ‫هادی‬ ‫نیمه‬ ‫دیود‬ ‫فتو‬ ، ‫اصلی‬ ‫نوع‬ ‫دو‬(pin Diode)‫نوری‬ ‫دیود‬ ‫و‬ ،‫بهمنی‬ (Photo Diode Avalanche)APD‫باشند‬ ‫می‬ ‫فوق‬ ‫شرایط‬ ‫دارای‬. 130
  • 131.
  • 132.
    5-1‫شبکه‬ ‫طراحی‬‫ی‬‫کابل‬: ‫شبکه‬ ‫یو‬‫کابل‬‫از‬ ‫تعدادی‬ ‫شامل‬ ‫نوری‬ ‫کابل‬ ‫ی‬‫متص‬ ‫و‬ ‫شده‬ ‫نصب‬ ‫طولی‬ ‫های‬‫بره‬ ‫ل‬ ‫اتصرال‬ ‫اولرین‬ ‫تا‬ ‫که‬ ‫است‬ ‫یکدیگر‬‫رابرط‬ ‫یرا‬ ‫دائرم‬ ‫غیرر‬ ‫هرای‬‫اد‬ ‫سرشران‬ ‫دو‬ ‫در‬ ‫هرا‬‫امره‬ ‫دارد‬. 5-2‫جنبه‬‫مکانیکی‬ ‫طراحی‬ ‫های‬: ‫جنبه‬ ‫طراحی‬ ‫در‬ ‫اصلی‬ ‫هدف‬‫مطلر‬ ‫نحرو‬ ‫به‬ ‫نوری‬ ‫کابل‬ ‫ساختن‬ ، ‫مکانیکی‬ ‫های‬‫وب‬ ‫رارجی‬‫ر‬‫خ‬ ‫رار‬‫ر‬‫آت‬ ‫از‬ ‫را‬ ‫روری‬‫ر‬‫ن‬ ‫رای‬‫ر‬‫تاره‬ ‫رد‬‫ر‬‫بتوان‬ ‫را‬‫ر‬‫ت‬ ‫رت‬‫ر‬‫اس‬ ‫ری‬‫ر‬‫محیط‬ ‫ررایط‬‫ر‬‫ش‬ ‫را‬‫ر‬‫ب‬ ‫رب‬‫ر‬‫مناس‬ ‫و‬ ‫رد‬‫ر‬‫کن‬ ‫رت‬‫ر‬‫محافظ‬ ‫رامال‬‫ر‬‫ک‬.‫ربکه‬‫ر‬‫ش‬ ‫رین‬‫ر‬‫ب‬‫روع‬‫ر‬‫ن‬ ‫رب‬‫ر‬‫حس‬ ‫رر‬‫ر‬‫ب‬ ‫رژه‬‫ر‬‫وی‬ ‫و‬ ‫ری‬‫ر‬‫داخل‬ ، ‫رارجی‬‫ر‬‫خ‬ ‫رای‬‫ر‬‫ه‬ ‫دارد‬ ‫وجود‬ ‫تفاوت‬ ‫کاربرد‬. 132
  • 133.
    ‫عملیرات‬ ‫و‬ ‫مسریر‬‫شررایط‬ ‫مرورد‬ ‫در‬ ‫خصرور‬ ‫بره‬ ، ‫پارامتر‬ ‫چندین‬ ‫کنترل‬‫نصر‬‫ب‬ ‫طراحی‬ ‫در‬‫است‬ ‫اهمیت‬ ‫دارای‬.‫از‬ ‫عبارتند‬ ‫پارامترها‬ ‫این‬: 1-‫راه‬ ‫مسیر‬: ‫رودخانره‬ ، ‫نشریب‬ ‫و‬ ‫فراز‬ ‫زوایای‬ ‫تعیین‬ ‫برای‬‫جراده‬ ‫و‬ ‫هرا‬‫و‬ ‫براال‬ ‫از‬ ‫عبروری‬ ‫هرای‬ ‫منحنی‬ ‫تعداد‬ ‫همچنین‬ ‫و‬ ‫پایین‬‫بحرانری‬ ‫های‬(‫زوایرا‬ ‫بره‬ ‫توجره‬ ‫برا‬)‫بایسر‬ ‫مری‬ ،‫از‬ ‫ت‬ ‫نقشه‬‫کنیم‬ ‫استفاده‬ ‫محیط‬ ‫و‬ ‫مسیر‬ ‫های‬. 2-‫ناحیه‬ ‫طبی‬: ‫جلگره‬ ‫کره‬ ‫ایرن‬ ‫نظرر‬ ‫از‬ ‫را‬ ‫ناحیره‬ ‫اسرت‬ ‫الزم‬ ‫منظرور‬ ‫ایرن‬ ‫برای‬‫کوهسرتانی‬ ، ‫ای‬، ‫دریاچه‬ ‫و‬ ‫باتالقی‬ ، ‫جنگلی‬‫و‬ ‫ای‬...‫کنیم‬ ‫مشخر‬ ، ‫است‬. 133
  • 134.
    3-‫خاک‬ ‫نوع‬: ‫آلودگی‬ ‫دارای‬‫آیا‬ ‫؟‬ ‫است‬ ‫شنی‬ ‫یا‬ ‫رسی‬ ، ‫رطوبتی‬ ‫خاک‬ ‫آیا‬‫ا‬ ‫شیمیایی‬ ‫های‬‫ست؟‬ 4-‫نصب‬ ‫ی‬ ‫رویه‬: ‫کابرل‬‫کانرال‬ ‫در‬ ‫ریدن‬‫ر‬‫کش‬ ‫را‬‫ر‬‫ی‬ ‫و‬ ‫زمرین‬ ‫در‬ ‫رن‬‫ر‬‫دف‬ ‫نظرر‬ ‫از‬ ‫را‬‫ر‬‫ه‬‫متف‬ ‫ردیگر‬‫ر‬‫یک‬ ‫برا‬ ، ‫را‬‫ر‬‫ه‬‫رد‬‫ر‬‫اوتن‬. ‫بل‬ ‫کا‬ ‫که‬ ‫عمقی‬ ‫و‬ ‫خاک‬ ‫در‬ ‫حرارت‬ ‫درجه‬‫مری‬ ‫نصب‬ ‫آن‬ ‫در‬ ‫ها‬‫در‬ ‫بایرد‬ ‫را‬ ‫شروند‬ ‫نظرگرفت‬. ‫کانال‬ ‫در‬ ‫کابل‬ ‫کشیدن‬ ‫هنگام‬‫کششری‬ ‫نیروهرای‬ ‫حرداکتر‬ ‫و‬ ‫کابرل‬ ‫طرول‬ ، ‫ها‬‫ممکرن‬ ‫ررار‬‫ر‬‫ق‬ ‫ره‬‫ر‬‫مالحظ‬ ‫رورد‬‫ر‬‫م‬ ‫رد‬‫ر‬‫بای‬ ‫آن‬ ‫ی‬ ‫رره‬‫ر‬‫گی‬ ‫را‬‫ر‬‫ی‬ ‫رل‬‫ر‬‫ب‬ ‫را‬‫ر‬‫ک‬ ‫روی‬ ‫رش‬‫ر‬‫کش‬ ‫ره‬‫ر‬‫حلق‬ ‫ره‬‫ر‬‫ب‬ ‫رده‬‫ر‬‫ش‬ ‫وارد‬ ‫گیرد‬. 134
  • 135.
    ‫کابل‬‫کابل‬ ‫با‬ ‫مقایسه‬‫در‬ ‫نوری‬ ‫های‬‫سرب‬ ‫وزن‬ ‫داشرتن‬ ‫خاطر‬ ‫به‬ ‫هادی‬ ‫فلزی‬ ‫های‬، ‫و‬ ‫ر‬‫ر‬‫خ‬ ‫ربی‬‫ر‬‫نص‬ ‫رات‬‫ر‬‫عملی‬ ‫ره‬‫ر‬‫ب‬ ‫رازی‬‫ر‬‫نی‬ ، ‫رو‬‫ر‬‫کوچ‬ ‫ربتا‬‫ر‬‫نس‬ ‫رر‬‫ر‬‫قط‬ ‫و‬ ‫راد‬‫ر‬‫زی‬ ‫راف‬‫ر‬‫انعط‬ ‫رت‬‫ر‬‫قابلی‬‫ار‬ ‫ندارند‬. ‫شعاع‬ ، ‫نصب‬ ‫ضمن‬ ‫در‬‫آن‬ ‫فهرسرت‬ ‫در‬ ‫شرده‬ ‫تعیرین‬ ‫مقرادیر‬ ‫از‬ ‫نباید‬ ‫خمش‬ ‫های‬، ‫هرا‬ ‫باشررد‬ ‫کمتررر‬.‫روش‬ ‫بهترررین‬ ‫فهرسررت‬ ‫در‬ ‫منرردرج‬ ‫پارامترهررای‬ ‫مالحظررات‬ ‫از‬ ‫پررس‬ ‫کرد‬ ‫انتخاب‬ ‫باید‬ ‫را‬ ‫نصب‬. ‫اندازه‬ ‫و‬ ‫صحیت‬ ‫انتخاب‬ ‫نظر‬ ‫از‬ ‫را‬ ‫کابل‬ ‫ساختمان‬‫آن‬ ‫سراختار‬ ‫اجرزای‬ ‫ابعاد‬ ‫ی‬‫بایرد‬ ‫صدمه‬ ‫از‬ ‫تا‬ ‫کرد‬ ‫طراحی‬ ‫نحوی‬ ‫به‬‫د‬ ‫کره‬ ‫شریمیایی‬ ‫و‬ ‫حرارتری‬ ، ‫مکانیکی‬ ‫های‬‫ائمرا‬ ‫می‬ ‫تاتیر‬ ‫آن‬ ‫مکانیکی‬ ‫مشخصات‬ ‫روی‬‫بماند‬ ‫مصون‬ ، ‫گذارند‬. 135
  • 136.
    ‫طول‬ ‫حداکتر‬ ‫که‬‫است‬ ‫مهم‬ ‫صورت‬ ‫هر‬ ‫در‬‫ایرن‬ ‫گررفتن‬ ‫نظرر‬ ‫در‬ ‫برا‬ ‫را‬ ‫ممکرن‬ ‫هرای‬ ‫افزایش‬ ‫که‬‫بر‬ ‫خرود‬ ‫ممکرن‬ ‫حداقل‬ ‫به‬ ‫جوش‬ ‫های‬ ‫اتصال‬ ‫از‬ ‫ناشی‬ ‫تضعیف‬ ‫های‬‫سرند‬ ‫برریم‬ ‫کار‬ ‫به‬ ،.‫کابرل‬ ‫نصرب‬ ‫کنرون‬ ‫ترا‬‫طرول‬ ‫بره‬ ‫هرای‬5000، ‫آن‬ ‫از‬ ‫بیشرتر‬ ‫و‬ ‫مترر‬ ‫است‬ ‫شده‬ ‫معمول‬. ‫کابل‬‫حالت‬ ‫از‬ ‫بسیاری‬ ‫در‬ ‫را‬ ‫نوری‬ ‫های‬‫عردم‬ ‫از‬ ‫اطمینران‬ ‫مواقرع‬ ‫در‬ ‫مخصوصا‬ ‫ها‬ ‫کننرد‬ ‫مری‬ ‫نصرب‬ ‫دسرت‬ ‫برا‬ ، ‫آنهرا‬ ‫کرم‬ ‫وزن‬ ‫سربب‬ ‫بره‬ ، ‫کششری‬ ‫نیروی‬ ‫افزایش‬.‫ولری‬ ‫رام‬‫ر‬‫هنگ‬ ‫در‬ ‫رده‬‫ر‬‫ش‬ ‫رال‬‫ر‬‫اعم‬ ‫ری‬‫ر‬‫کشش‬ ‫رروی‬‫ر‬‫نی‬ ‫رردن‬‫ر‬‫ک‬ ‫رت‬‫ر‬‫یادداش‬ ‫ران‬‫ر‬‫امک‬ ‫ررایط‬‫ر‬‫ش‬ ‫رن‬‫ر‬‫ای‬ ‫رت‬‫ر‬‫تح‬ ‫ندارد‬ ‫وجود‬ ‫نصب‬. 136
  • 137.
    ‫کابل‬ ‫نصب‬ ‫برای‬‫دیگر‬ ‫روش‬‫تز‬ ‫بررای‬ ‫فشررده‬ ‫هروای‬ ‫از‬ ‫استفاده‬ ، ‫نوری‬ ‫های‬‫ریرق‬ ‫کانال‬ ‫داخل‬ ‫به‬ ‫آنها‬‫هاست‬.‫بهینه‬ ‫نسبت‬ ‫با‬ ‫مناسب‬ ‫زمین‬ ‫در‬ ‫روش‬ ‫این‬‫قطر‬ ‫ی‬‫کانرال‬ ‫تقریبی‬ ‫طول‬ ‫تا‬ ، ‫نوری‬ ‫تار‬ ‫به‬1000‫امکان‬ ‫متر‬‫است‬ ‫پذیر‬. ‫رول‬‫ر‬‫ط‬ ‫رب‬‫ر‬‫نص‬ ‫رام‬‫ر‬‫هنگ‬‫روری‬‫ر‬‫ن‬ ‫رل‬‫ر‬‫کاب‬ ‫رد‬‫ر‬‫بلن‬ ‫ریار‬‫ر‬‫بس‬ ‫رای‬‫ر‬‫ه‬(‫از‬ ‫رتر‬‫ر‬‫بیش‬ ، ‫رال‬‫ر‬‫مت‬ ‫رور‬‫ر‬‫ط‬ ‫ره‬‫ر‬‫ب‬2 ‫رت‬‫ر‬‫جه‬ ‫رو‬‫ر‬‫ی‬ ‫در‬ ‫رومتر‬‫ر‬‫کیل‬)‫رده‬‫ر‬‫کنن‬ ‫رع‬‫ر‬‫جم‬ ‫رد‬‫ر‬‫واح‬ ‫رد‬‫ر‬‫چن‬ ‫را‬‫ر‬‫ی‬ ‫رو‬‫ر‬‫ی‬ ‫از‬ ،‫رروی‬‫ر‬‫نی‬ ‫را‬‫ر‬‫ب‬ ‫رانی‬‫ر‬‫می‬ ‫ی‬ ‫کنند‬ ‫می‬ ‫استفاده‬ ‫خودکار‬. ‫کانال‬ ‫از‬ ‫بهتر‬ ‫ی‬ ‫استفاده‬ ‫برای‬‫تر‬ ‫کشریدن‬ ‫امکران‬ ، ‫قبلری‬ ‫ی‬ ‫شرده‬ ‫نصرب‬ ‫هرای‬‫چهرار‬ ‫ا‬ ‫دارد‬ ‫وجود‬ ‫آنها‬ ‫داخل‬ ‫در‬ ‫پالستیکی‬ ‫کانال‬.‫کاب‬ ‫چندین‬ ، ‫تقسیمات‬ ‫این‬ ‫با‬‫شرکل‬ ‫بره‬ ‫ل‬ ‫هستند‬ ‫نصب‬ ‫قابل‬ ‫هم‬ ‫از‬ ‫مستقل‬. 137
  • 138.
    5-3‫تزویج‬‫کننده‬: ‫رابط‬‫ها‬‫می‬ ‫کار‬ ‫به‬‫انتقال‬ ‫مسیرهای‬ ‫در‬ ‫نوری‬ ‫تارهای‬ ‫اتصال‬ ‫برای‬ ‫را‬‫برند‬‫بره‬ ، ‫اتصر‬ ‫موقرع‬ ‫در‬ ‫پرایینی‬ ‫تلرف‬ ، ‫تارهرا‬ ‫قطع‬ ‫در‬ ‫تسهیل‬ ‫ایجاد‬ ‫ضمن‬ ‫که‬ ‫طوری‬‫از‬ ‫ال‬ ‫ری‬‫ر‬‫م‬ ‫رت‬‫ر‬‫دس‬ ‫ره‬‫ر‬‫ب‬ ‫را‬‫ر‬‫آنه‬ ‫رق‬‫ر‬‫طری‬‫رد‬‫ر‬‫آی‬.‫رزوده‬‫ر‬‫اف‬ ‫رف‬‫ر‬‫تل‬ ‫ره‬‫ر‬‫ب‬ ‫رته‬‫ر‬‫بس‬‫رط‬‫ر‬‫راب‬ ‫ی‬‫رته‬‫ر‬‫هس‬ ‫رر‬‫ر‬‫قط‬ ‫و‬ ‫را‬‫ر‬‫ه‬‫ی‬ ‫رراز‬‫ر‬‫مج‬ ‫رررات‬‫ر‬‫تنیی‬ ‫رردود‬‫ر‬‫ح‬ ‫ررراری‬‫ر‬‫برق‬ ‫رررای‬‫ر‬‫ب‬ ‫ررو‬‫ر‬‫تکنی‬ ‫رردین‬‫ر‬‫چن‬ ‫از‬ ، ‫رروری‬‫ر‬‫ن‬ ‫ررای‬‫ر‬‫تاره‬ ‫رابط‬ ‫در‬ ‫مکانیکی‬‫می‬ ‫استفاده‬ ‫ها‬‫شود‬.‫تکنیو‬ ‫این‬‫بر‬ ‫ها‬‫ب‬ ‫کارشان‬ ‫اساس‬‫نوع‬ ‫دو‬ ‫ه‬ ‫می‬ ‫تقسیم‬‫شوند‬.‫ترزویج‬ ‫مبنرای‬ ‫بر‬ ‫اول‬ ‫نوع‬،‫عدسری‬‫تر‬ ‫براسراس‬ ‫دوم‬ ‫نروع‬ ‫و‬‫زویج‬ ‫تارهاست‬ ‫سر‬ ‫سربه‬. 138
  • 139.
    5-3-1‫تزویج‬‫عدسی‬: •‫در‬‫ری‬‫ر‬‫عدس‬ ‫از‬ ،‫ری‬‫ر‬‫عدس‬ ‫رزویج‬‫ر‬‫ت‬‫رتم‬‫ر‬‫سیس‬ ‫رایر‬‫ر‬‫س‬ ‫را‬‫ر‬‫ی‬ ‫را‬‫ر‬‫ه‬‫رم‬‫ر‬‫ه‬ ‫رای‬‫ر‬‫ه‬‫ررای‬‫ر‬‫ب‬ ‫رویری‬‫ر‬‫تص‬ ‫ارز‬ ‫قطر‬ ‫با‬ ‫موازی‬ ‫پرتوی‬ ‫به‬ ‫فرستنده‬ ‫تار‬ ‫انتهای‬ ‫از‬ ‫شده‬ ‫خارج‬ ‫نور‬ ‫تبدیل‬‫و‬ ‫بیشرتر‬ ‫دوباره‬ ‫تمرکز‬ ‫سپس‬‫می‬ ‫استفاده‬ ، ‫گیرنده‬ ‫تار‬ ‫سر‬ ‫به‬ ‫آن‬ ‫ی‬‫شود‬.‫ا‬ ‫مزیرت‬‫نروع‬ ‫یرن‬ ‫ره‬‫ر‬‫ناحی‬ ‫در‬ ‫رتر‬‫ر‬‫بیش‬ ‫ررات‬‫ر‬‫تنیی‬ ‫راز‬‫ر‬‫مج‬ ‫رد‬‫ر‬‫ح‬ ‫رل‬‫ر‬‫دلی‬ ‫ره‬‫ر‬‫ب‬ ‫ری‬‫ر‬‫بخش‬ ، ‫رزویج‬‫ر‬‫ت‬‫ا‬ ‫ردایی‬‫ر‬‫ج‬ ‫ی‬‫رال‬‫ر‬‫تص‬ ‫است‬. •‫انعکراس‬ ‫از‬ ‫ناشری‬ ‫اضرافی‬ ‫تلرف‬ ‫برین‬ ‫موازنره‬ ‫قبرال‬ ‫در‬ ‫مزیرت‬ ‫این‬ ‫حال‬ ‫هر‬ ‫به‬‫هرا‬ ‫سیسرتم‬ ‫مختلف‬ ‫شکست‬ ‫ضرایب‬ ‫با‬ ‫مشترک‬ ‫مرزهای‬ ‫در‬، ‫تصرویری‬ ‫هرای‬‫واحرد‬ ‫هرم‬ ‫غیر‬ ‫در‬ ‫کاهشی‬ ‫تنییرات‬ ‫مجاز‬‫زاویره‬ ‫تنییررات‬ ‫محروری‬‫بره‬ ‫ای‬‫مری‬ ‫دسرت‬‫آیر‬‫د‬. ‫نیمره‬ ‫دیودهرای‬ ‫ترزویج‬ ‫بررای‬ ‫متال‬ ‫طور‬ ‫به‬ ، ‫عملی‬ ‫کاربردهای‬ ‫در‬ ‫بناباین‬‫هر‬‫ادی‬ ‫رابط‬ ، ‫نوری‬ ‫تارهای‬ ‫به‬‫سربه‬ ‫تزویج‬ ‫با‬ ‫های‬‫می‬ ‫ترجیت‬ ‫را‬ ‫سر‬‫دهند‬. 139
  • 140.
    5-3-2‫سربه‬ ‫تزویج‬‫سر‬: ‫تزویج‬‫سربه‬‫صرف‬ ‫که‬‫است‬ ‫مشخصه‬ ‫این‬ ‫دارای‬ ‫سر‬‫این‬ ‫از‬ ‫نظر‬‫خروجری‬ ‫سرطوح‬ ‫کره‬‫و‬ ‫برره‬ ‫چسرربیده‬ ‫و‬ ‫مرروازی‬ ‫شررکل‬ ‫برره‬ ، ‫باشررند‬ ‫دیودهررا‬ ‫یررا‬ ‫و‬ ‫نرروری‬ ‫تارهررای‬ ، ‫نررور‬ ‫ورودی‬ ‫قرار‬ ‫یکدیگر‬‫می‬‫گیرند‬.‫رابط‬‫ها‬‫ت‬ ‫دارای‬ ‫که‬ ‫است‬ ‫قرارگیری‬ ‫شکل‬ ‫این‬ ‫با‬ ‫فقط‬‫پرایینی‬ ‫لرف‬ ‫ناحیه‬ ‫در‬‫موجی‬ ‫طول‬ ‫های‬850،1300،1550‫هستند‬ ‫نانومتر‬. ‫ا‬ ‫ره‬‫ر‬‫ک‬ ‫رت‬‫ر‬‫اس‬ ‫الزم‬ ، ‫رط‬‫ر‬‫راب‬ ‫رال‬‫ر‬‫اتص‬ ‫در‬ ‫رال‬‫ر‬‫انتق‬ ‫رو‬‫ر‬‫تکنی‬ ‫رت‬‫ر‬‫کیفی‬ ‫رابی‬‫ر‬‫ارزی‬ ‫رور‬‫ر‬‫منظ‬ ‫ره‬‫ر‬‫ب‬‫ردازه‬‫ر‬‫ن‬‫ی‬ ‫قرررار‬ ‫از‬ ‫پررس‬ ‫را‬ ‫تضررعیف‬ ‫افررزایش‬‫کنرریم‬ ‫تعیررین‬ ‫نرروری‬ ‫انتقررال‬ ‫مسرریر‬ ‫در‬ ‫آن‬ ‫دادن‬.‫تلررف‬ ‫قسمت‬ ‫در‬ ‫مجاز‬ ‫تنییرات‬ ‫حدود‬ ‫با‬ ‫افزوده‬‫می‬ ‫تعیین‬ ‫نوری‬ ‫تار‬ ‫و‬ ‫رابط‬ ‫های‬‫شود‬.‫ب‬‫ه‬‫طرور‬ ‫جابه‬ ‫کلی‬‫جایی‬‫محروری‬(‫شرکل‬1)‫نراهم‬ ،‫زاویره‬ ‫محروری‬‫ای‬(‫شرکل‬2)‫سررهای‬ ‫جردایی‬ ‫و‬ ‫تارهرا‬ ‫انتهایی‬(‫شرکل‬3)‫یابرد‬ ‫کراهش‬ ‫ممکرن‬ ‫حرداقل‬ ‫بره‬ ‫بایرد‬.‫کرامال‬ ‫بایرد‬ ‫انتهرایی‬ ‫سررهای‬ ‫باشند‬ ‫خشو‬ ‫و‬ ‫تمیز‬. 140
  • 141.
    ‫راس‬‫ر‬‫انعک‬ ‫را‬‫ر‬‫ب‬ ‫ره‬‫ر‬‫ک‬‫ریم‬‫ر‬‫باش‬ ‫رته‬‫ر‬‫داش‬ ‫رر‬‫ر‬‫نظ‬ ‫در‬ ‫رد‬‫ر‬‫بای‬ ‫ری‬‫ر‬‫کل‬ ‫رل‬‫ر‬‫اص‬ ‫رو‬‫ر‬‫ی‬ ‫روان‬‫ر‬‫عن‬ ‫ره‬‫ر‬‫ب‬‫ر‬‫ر‬‫ح‬ ‫در‬ ‫رای‬‫ر‬‫ه‬‫د‬ ‫مری‬ ‫رخ‬ ‫تلفاتی‬ ‫فقط‬ ‫نه‬ ، ‫شیشه‬ ‫و‬ ‫هوا‬ ‫فاصل‬‫دهرد‬(‫فرنرل‬ ‫تلفرات‬(Fernel Losses)) ‫ره‬‫ر‬‫ب‬ ‫رعیف‬‫ر‬‫تض‬ ‫در‬ ‫رز‬‫ر‬‫نی‬ ‫ری‬‫ر‬‫تنییرات‬ ‫ره‬‫ر‬‫بلک‬ ،‫ری‬‫ر‬‫م‬ ‫رود‬‫ر‬‫وج‬‫رد‬‫ر‬‫آی‬.‫رکال‬‫ر‬‫اش‬ ‫رن‬‫ر‬‫ای‬‫رت‬‫ر‬‫اس‬ ‫را‬‫ر‬‫ب‬ ‫را‬‫ر‬‫ه‬‫از‬ ‫فاده‬ ‫تطبیق‬ ‫مایع‬ ‫یا‬ ‫و‬ ‫عایق‬ ‫روکش‬‫دهنده‬‫هستن‬ ‫کاهش‬ ‫قابل‬ ، ‫شکست‬ ‫ضریب‬ ‫ی‬‫د‬. (1 (2 (3 141
  • 142.
    5-4‫اتصال‬‫صورت‬ ‫به‬ ‫فیبر‬‫دو‬‫دائمی‬(Splice:) Splice‫کابل‬ ‫یو‬ ‫دائمی‬ ‫اتصال‬ ‫معنی‬ ‫به‬‫کابرل‬ ‫یرو‬ ‫بره‬ ‫فیبرنوری‬‫فیبر‬‫دیگرر‬ ‫نروری‬ ‫ری‬‫ر‬‫م‬‫رد‬‫ر‬‫باش‬.‫از‬‫رن‬‫ر‬‫ای‬‫ر‬‫ر‬‫متف‬ ‫رت‬‫ر‬‫اس‬ ‫رردائم‬‫ر‬‫غی‬ ‫و‬ ‫رت‬‫ر‬‫موق‬ ‫رال‬‫ر‬‫اتص‬ ‫رو‬‫ر‬‫ی‬ ‫ره‬‫ر‬‫ک‬ ‫رانکتور‬‫ر‬‫ک‬ ‫را‬‫ر‬‫ب‬ ‫رو‬‫اوت‬ ‫می‬‫باشد‬. ‫ربکه‬‫ر‬‫ش‬ ‫در‬‫ر‬‫ر‬‫نی‬ ‫ردیگر‬‫ر‬‫یک‬ ‫ره‬‫ر‬‫ب‬ ‫رر‬‫ر‬‫فیب‬ ‫دو‬ ‫رم‬‫ر‬‫دائ‬ ‫رال‬‫ر‬‫اتص‬ ‫ره‬‫ر‬‫ب‬ ‫راهی‬‫ر‬‫گ‬ ‫روری‬‫ر‬‫فیبرن‬ ‫رای‬‫ر‬‫ه‬‫رم‬‫ر‬‫داری‬ ‫از‬. ‫مری‬ ‫شکسرته‬ ‫مسریر‬ ‫از‬ ‫نقطره‬ ‫یرو‬ ‫در‬ ‫فیبر‬ ، ‫متال‬ ‫برای‬‫کر‬ ‫تعروی‬ ‫کره‬ ‫شرود‬‫کابرل‬ ‫ل‬ ‫یکردیگ‬ ‫بره‬ ‫کابرل‬ ‫دو‬ ‫دائرم‬ ‫اتصرال‬ ‫کرا‬ ‫بهتررین‬ ‫صرورت‬ ‫ایرن‬ ‫در‬ ، ‫نردارد‬ ‫امکان‬‫ر‬‫مری‬ ‫ررد‬‫ر‬‫باش‬.‫ررل‬‫ر‬‫کاب‬ ‫ررازندگان‬‫ر‬‫س‬ ‫ررب‬‫ر‬‫اغل‬‫آن‬ ‫رروری‬‫ر‬‫فیبرن‬ ‫ررای‬‫ر‬‫ه‬‫رردازه‬‫ر‬‫ان‬ ‫در‬ ‫را‬ ‫ررا‬‫ر‬‫ه‬‫ررای‬‫ر‬‫ه‬1‫ررا‬‫ر‬‫ت‬6 ‫می‬ ‫تولید‬ ‫کیلومتری‬‫کنند‬. 142
  • 143.
    ‫ارتباط‬ ‫یو‬ ‫اگر‬‫متال‬ ‫برای‬100‫کابل‬ ‫باید‬ ، ‫بلشد‬ ‫نیاز‬ ‫کیلومتری‬‫کوچرو‬ ‫هرای‬‫را‬ ‫کنیم‬ ‫متصل‬ ‫یکدیگر‬ ‫به‬. ‫مری‬ ‫اسرتفاده‬ ‫دائرم‬ ‫اتصال‬ ‫از‬ ‫که‬ ‫دیگری‬ ‫مورد‬‫ک‬ ‫مختلرف‬ ‫نروع‬ ‫دو‬ ‫اتصرال‬ ، ‫شرود‬‫ابرل‬ ‫زره‬ ‫کابل‬ ‫یو‬ ‫مانند‬ ، ‫است‬ ‫فیبرنوری‬‫بین‬ ‫شده‬ ‫دار‬‫کابر‬ ‫یو‬ ‫و‬ ‫ساختمانی‬‫سربو‬ ‫ل‬‫ترر‬ ‫داخل‬‫ساختمانی‬.‫و‬ ‫اسرت‬ ‫موقرت‬ ‫اتصرال‬ ‫یو‬ ، ‫کانکتور‬ ‫که‬ ‫داشت‬ ‫توجه‬ ‫باید‬‫نسربت‬ ‫دارد‬ ‫باالیی‬ ‫اتالف‬ ، ‫دائم‬ ‫اتصال‬ ‫به‬.‫و‬ ‫زمان‬ ‫مرور‬ ‫اتر‬ ‫در‬ ‫است‬ ‫ممکن‬ ‫همچنین‬‫یا‬ ‫نمری‬ ‫دلیرل‬ ‫همین‬ ‫به‬ ، ‫شود‬ ‫ایجاد‬ ‫مشکل‬ ‫آن‬ ‫برای‬ ‫محیطی‬ ‫عوامل‬‫بررا‬ ‫آن‬ ‫از‬ ‫تروان‬‫ی‬ ‫نمود‬ ‫استفاده‬ ‫دائم‬ ‫اتصال‬. 143
  • 144.
    ‫ری‬‫ر‬‫م‬ ‫رم‬‫ر‬‫دائ‬ ‫رال‬‫ر‬‫اتص‬‫را‬‫ر‬‫ب‬ ‫ره‬‫ر‬‫ک‬ ‫رالی‬‫ر‬‫ح‬ ‫در‬‫ریط‬‫ر‬‫مح‬ ‫رر‬‫ر‬‫ه‬ ‫در‬ ‫و‬ ‫ران‬‫ر‬‫مک‬ ‫رر‬‫ر‬‫ه‬ ‫در‬ ‫را‬ ‫رر‬‫ر‬‫فیب‬ ‫دو‬ ‫روان‬‫ر‬‫ت‬ ‫ر‬‫ر‬‫متص‬ ‫ردیگر‬‫ر‬‫یک‬ ‫ره‬‫ر‬‫ب‬ ‫رال‬‫ر‬‫کان‬ ‫رل‬‫ر‬‫داخ‬ ‫را‬‫ر‬‫ی‬ ‫و‬ ‫روایی‬‫ر‬‫ه‬ ، ‫راک‬‫ر‬‫زیرخ‬ ، ‫را‬‫ر‬‫دری‬ ‫رل‬‫ر‬‫قبی‬ ‫از‬ ، ‫رار‬‫ر‬‫خ‬‫ل‬ ‫سال‬ ‫و‬ ‫نمود‬‫کرد‬ ‫استفاده‬ ‫آن‬ ‫از‬ ‫نیز‬ ‫ها‬. ‫اتصال‬‫کابل‬ ‫دائم‬‫امکان‬ ‫زیر‬ ‫روش‬ ‫دو‬ ‫به‬ ‫فیبرنوری‬ ‫های‬‫است‬ ‫پذیر‬: ‫ال‬-‫هم‬ ‫روش‬ ‫به‬ ‫فیبر‬ ‫دو‬ ‫دائمی‬ ‫اتصال‬‫جوشی‬ ‫ب‬-‫قفل‬ ‫روش‬ ‫به‬ ‫فیبر‬ ‫دو‬ ‫دائمی‬ ‫اتصال‬‫شدن‬ 144
  • 145.
    5-4-1‫اتصال‬‫هم‬ ‫روش‬ ‫به‬‫فیبر‬ ‫دو‬ ‫دائمی‬‫جوشی‬: ‫ررین‬‫ر‬‫بهت‬‫ری‬‫ر‬‫م‬ ‫رر‬‫ر‬‫فیب‬ ‫دو‬ ‫رال‬‫ر‬‫اتص‬ ‫ررای‬‫ر‬‫ب‬ ‫روش‬‫رد‬‫ر‬‫باش‬.‫از‬ ‫رتفاده‬‫ر‬‫اس‬ ‫را‬‫ر‬‫ب‬ ‫روش‬ ‫رن‬‫ر‬‫ای‬ ‫در‬‫رو‬‫ر‬‫ی‬ ‫رام‬‫ر‬‫ن‬ ‫ره‬‫ر‬‫ب‬ ‫رار‬‫ر‬‫خ‬ ‫رتگاه‬‫ر‬‫دس‬Fusion Splicer‫ره‬‫ر‬‫ب‬ ‫ری‬‫ر‬‫الکتریک‬ ‫روس‬‫ر‬‫ق‬ ‫رو‬‫ر‬‫ی‬ ‫را‬‫ر‬‫ب‬ ‫رر‬‫ر‬‫فیب‬ ‫دو‬ ، ‫یرو‬ ‫فیبر‬ ‫یو‬ ‫صورت‬ ‫به‬ ‫و‬ ‫شده‬ ‫ذوب‬ ‫یکدیگر‬ ‫در‬ ، ‫دیده‬ ‫حرارت‬ ‫تابت‬ ‫طور‬‫تکره‬ ‫درمی‬‫آید‬.‫دستگاه‬ ‫اما‬ ‫است‬ ‫پایینی‬ ‫بسیار‬ ‫اتالف‬ ‫دارای‬ ‫روش‬ ‫این‬‫تجهیر‬ ‫و‬ ‫ها‬‫آن‬ ‫زات‬ ‫هستند‬ ‫گران‬ ‫بسیار‬.‫اسرت‬ ‫دائرم‬ ‫اتصرال‬ ‫برای‬ ‫روش‬ ‫این‬ ‫از‬ ‫بیشتر‬ ‫ایران‬ ‫در‬‫مری‬ ‫فاده‬- ‫شود‬. 145
  • 146.
    5-4-2‫اتصال‬‫شدن‬ ‫قفل‬ ‫روش‬‫به‬ ‫فیبر‬ ‫دو‬ ‫دائمی‬: ‫در‬‫مری‬ ‫کره‬ ‫قسرمتی‬ ‫از‬ ‫را‬ ‫فیبرر‬ ‫دو‬ ‫روش‬ ‫این‬‫یرو‬ ‫در‬ ، ‫کنریم‬ ‫وصرل‬ ‫هرم‬ ‫بره‬ ‫خرواهیم‬ ‫ره‬‫ر‬‫محفظ‬‫ری‬‫ر‬‫م‬ ‫ررار‬‫ر‬‫ق‬ ‫رور‬‫ر‬‫مخص‬ ‫ی‬‫ر‬‫ر‬‫مقاب‬ ‫در‬ ‫رر‬‫ر‬‫فیب‬ ‫دو‬ ‫رای‬‫ر‬‫انته‬ ‫ره‬‫ر‬‫ک‬ ‫رورتی‬‫ر‬‫ص‬ ‫ره‬‫ر‬‫ب‬ ، ‫ریم‬‫ر‬‫ده‬‫ل‬ ‫گیرند‬ ‫قرار‬ ‫یکدیگر‬.‫قرر‬ ‫دهنرده‬ ‫تطبیرق‬ ‫نرام‬ ‫بره‬ ‫مرایعی‬ ‫محفظه‬ ‫این‬ ‫داخل‬ ‫در‬‫دارد‬ ‫ار‬ ‫مری‬ ‫نرور‬ ‫و‬ ‫است‬ ‫فیبر‬ ‫مانند‬ ‫آن‬ ‫نوری‬ ‫خصوصیات‬ ‫که‬‫ف‬ ‫یرو‬ ‫از‬ ‫آن‬ ‫داخرل‬ ‫توانرد‬‫یبرر‬ ‫یابد‬ ‫انتقال‬ ‫دیگر‬ ‫فیبر‬ ‫به‬.‫بر‬ ‫خاصری‬ ‫دسرتگاه‬ ‫از‬ ‫اسرتفاده‬ ‫با‬ ‫محفظه‬ ‫این‬‫نرام‬ ‫ه‬Fiber Lock‫جعبه‬ ‫در‬ ‫و‬ ‫شده‬ ‫قفل‬ ‫کامال‬Splice closure(‫جعبه‬‫از‬ ‫بعرد‬ ‫کره‬ ‫هسرتند‬ ‫هرایی‬ ‫آن‬ ، ‫فیبر‬ ‫دو‬ ‫اتصال‬‫جعبه‬ ‫این‬ ‫در‬ ‫را‬ ‫ها‬‫قرارمی‬ ‫ها‬‫اتررا‬ ‫از‬ ‫اتصرال‬ ‫محرل‬ ‫ترا‬ ‫دهنرد‬‫ت‬ ‫کشش‬ ، ‫محیطی‬ ‫مخرب‬‫و‬ ‫احتمالی‬ ‫های‬...‫بماند‬ ‫مصون‬). 146
  • 147.
    ‫مری‬ ‫برار‬ ‫چنردین‬‫کره‬ ‫اسرت‬ ‫ایرن‬ ‫دائم‬ ‫اتصال‬ ‫نوع‬ ‫این‬ ‫مزایای‬ ‫از‬‫بر‬ ‫را‬ ‫اتصرال‬ ‫تروان‬‫از‬ ‫نمود‬ ‫متصل‬ ‫هم‬ ‫به‬ ‫را‬ ‫فیبر‬ ‫دو‬ ‫دوباره‬ ‫و‬ ‫نموده‬.‫دستگاه‬‫در‬ ‫اسرتفاده‬ ‫مرورد‬ ‫هرای‬‫ایرن‬ ‫هم‬ ‫روش‬ ‫به‬ ‫نسبت‬ ‫روش‬‫ارزان‬ ‫جوشی‬‫هسرتند‬ ‫ترر‬.‫نسرب‬ ‫روش‬ ‫ایرن‬ ‫اترالف‬ ‫میرزان‬‫ت‬ ‫است‬ ‫بیشتر‬ ‫قبل‬ ‫روش‬ ‫به‬. 147
  • 148.
    ‫نتیجه‬‫گیری‬: ‫اولین‬‫کر‬ ‫انتقرالل‬ ‫هاي‬‫محیط‬‫تمام‬ ‫از‬ ‫که‬ ‫است‬ ‫این‬ ‫دارد‬ ‫فیبرنوري‬ ‫که‬ ‫مزیتل‬‫وجرود‬ ‫ه‬ ‫ررد‬‫ر‬‫بان‬ ‫رراي‬‫ر‬‫پهن‬ ‫ررده‬‫ر‬‫ش‬ ‫رردایت‬‫ر‬‫غیره‬ ‫و‬ ‫ررده‬‫ر‬‫ش‬ ‫رردایت‬‫ر‬‫ه‬ ‫رره‬‫ر‬‫چ‬ ‫و‬ ،‫رریمل‬‫ر‬‫س‬ ‫و‬ ‫رررلس‬‫ر‬‫وای‬ ‫رره‬‫ر‬‫چ‬ ‫دارد‬ ‫رال‬‫ر‬‫ارس‬ ‫رتري‬‫ر‬‫بیش‬ ‫رات‬‫ر‬‫اطالع‬ ‫رد‬‫ر‬‫توان‬‫مل‬ ‫رت‬‫ر‬‫حقیق‬ ‫در‬ ‫رل‬‫ر‬‫یعن‬ ‫رد‬‫ر‬‫ده‬‫مل‬ ‫را‬‫ر‬‫م‬ ‫ره‬‫ر‬‫ب‬ ‫رتري‬‫ر‬‫بیش‬‫رد‬‫ر‬‫کن‬. ‫زمین‬ ‫در‬ ‫فیبرنوري‬ ‫با‬ ‫تواند‬‫مل‬ ‫که‬ ‫است‬ ‫فناوري‬ ‫تنها‬ ‫اي‬‫ماهواره‬ ‫ارتباطات‬‫انتقرال‬ ‫ه‬ ‫کند‬ ‫رقابت‬ ‫ها‬‫داده‬.‫فرک‬ ‫از‬ ‫شرود‬‫مل‬ ‫استفاده‬ ‫که‬ ‫لیزري‬ ‫فرکانس‬ ‫چون‬ ‫ولل‬‫کره‬ ‫انسرل‬ ‫بیشرتر‬ ‫هراي‬‫داده‬ ‫بنرابراین‬ ‫اسرت‬ ‫بیشرتر‬ ‫شرود‬‫مل‬ ‫اسرتفاده‬ ‫اي‬‫مراهواره‬ ‫امرواج‬ ‫در‬‫از‬ ‫ي‬ ‫شود‬‫مل‬ ‫داده‬ ‫انتقال‬ ‫فیبرنوري‬ ‫طریق‬. 148
  • 149.
    ‫زیرر‬ ‫اسرت‬ ‫داده‬‫انتقرال‬ ‫براي‬ ‫ایمن‬ ‫نسبتا‬ ‫روش‬ ‫یو‬ ‫فیبرنوري‬ ‫از‬ ‫استفاده‬‫بررعکس‬ ‫ا‬ ‫ک‬‫مل‬ ‫رل‬‫ر‬‫حم‬ ‫رل‬‫ر‬‫الکترونیک‬ ‫هاي‬‫ریگنال‬‫ر‬‫س‬ ‫رورت‬‫ر‬‫ص‬ ‫ره‬‫ر‬‫ب‬ ‫را‬ ‫را‬‫ر‬‫دیت‬ ‫ره‬‫ر‬‫ک‬ ‫رل‬‫ر‬‫مس‬ ‫راي‬‫ر‬‫ه‬‫کابل‬‫رد‬‫ر‬‫نن‬ ‫نیسرت‬ ‫پذیر‬‫آسریب‬ ‫اطالعات‬ ‫سرقت‬ ‫مقابل‬ ‫در‬ ‫فیبرنوري‬.‫ف‬ ‫کابرل‬ ‫یعنرل‬‫را‬ ‫یبرنروري‬ ‫برد‬ ‫سرقت‬ ‫به‬ ‫را‬ ‫اطالعات‬ ‫و‬ ‫کرده‬ ‫قطع‬ ‫توان‬‫نمل‬. ‫ا‬ ‫رات‬‫ر‬‫ارتباط‬ ‫را‬‫ر‬‫ب‬ ‫ره‬‫ر‬‫مقایس‬ ‫در‬ ‫رژه‬‫ر‬‫وی‬ ‫ره‬‫ر‬‫ب‬ ‫رت‬‫ر‬‫اس‬ ‫آن‬ ‫رودن‬‫ر‬‫ب‬ ‫رت‬‫ر‬‫قیم‬ ‫ارزان‬ ‫رر‬‫ر‬‫دیگ‬ ‫رئله‬‫ر‬‫مس‬‫ز‬ ‫ماهواره‬ ‫طریق‬.‫سر‬ ‫هراي‬‫کابل‬ ‫با‬ ‫مقایسه‬ ‫در‬ ‫فیبرنوري‬ ‫مزایاي‬ ‫از‬ ‫دیگر‬ ‫یکل‬‫و‬ ‫یمل‬ ‫است‬ ‫نقطه‬ ‫دو‬ ‫بین‬ ‫آن‬ ‫تعبیه‬ ‫راحتل‬ ‫و‬ ‫بودن‬ ‫سبو‬ ‫کواکسیان‬. 149
  • 150.
    ‫تک‬ ‫بره‬ ‫نیراز‬‫انتقرال‬ ‫طرول‬ ‫در‬ ‫کرابلل‬ ‫هاي‬‫سیستم‬ ‫که‬ ‫است‬ ‫این‬ ‫بعدي‬ ‫نکته‬‫یرا‬ ‫رارکننرده‬ ‫رت‬‫ر‬‫سیس‬ ‫رو‬‫ر‬‫ی‬ ‫رراي‬‫ر‬‫ب‬ ‫ره‬‫ر‬‫ک‬ ‫رالل‬‫ر‬‫درح‬ ‫رد‬‫ر‬‫دارن‬ ‫رواج‬‫ر‬‫ام‬ ‫رت‬‫ر‬‫تقوی‬ ‫رراي‬‫ر‬‫ب‬ ‫رادتري‬‫ر‬‫زی‬ ‫رر‬‫ر‬‫ریپیت‬‫رل‬‫ر‬‫کاب‬ ‫م‬ ‫اسرت‬ ‫کمتري‬ ‫تکرارکننده‬ ‫تعداد‬ ‫دارد‬ ‫که‬ ‫کمل‬ ‫بسیار‬ ‫افت‬ ‫علت‬ ‫به‬ ‫نوري‬‫شرود‬‫مل‬ ‫فاده‬ ‫پورت‬ ‫باشرد‬ ‫بیشتري‬ ‫موج‬ ‫طول‬ ‫داراي‬ ‫و‬ ‫تر‬‫خالر‬ ‫فیبر‬ ‫هرچه‬ ‫گفت‬ ‫باید‬‫نرور‬ ‫هراي‬ ‫تک‬ ‫به‬ ‫نیاز‬ ‫نتیجه‬ ‫در‬ ‫و‬ ‫شود‬‫مل‬ ‫کمتر‬ ‫سیگنال‬ ‫تضعیف‬ ‫و‬ ‫جذب‬ ‫کمتري‬‫که‬ ‫رارکننده‬ ‫ر‬ ‫آن‬ ،‫فیبرر‬ ‫بعردي‬ ‫قطعه‬ ‫به‬ ‫ارسال‬ ‫از‬ ‫قبل‬ ‫و‬ ‫کرده‬ ‫دریافت‬ ‫را‬ ‫سیگنال‬ ‫یو‬‫تقویرت‬ ‫ا‬ ‫پایین‬ ‫سیستم‬ ‫شده‬ ‫تمام‬ ‫قیمت‬ ‫شود‬‫مل‬ ‫باع‬ ‫همین‬ ‫و‬ ‫یابد‬‫مل‬ ‫کاهش‬ ‫کند‬‫مل‬‫بیاید‬. 150
  • 151.
    ‫رد‬‫ر‬‫پذیرن‬‫مل‬ ‫راتیر‬‫ر‬‫ت‬ ‫رر‬‫ر‬‫کمت‬‫رل‬‫ر‬‫طبیع‬ ‫رل‬‫ر‬‫عوام‬ ‫از‬ ‫روري‬‫ر‬‫ن‬ ‫راي‬‫ر‬‫فیبره‬ ‫رر‬‫ر‬‫دیگ‬ ‫ررف‬‫ر‬‫ط‬ ‫از‬.‫ردین‬‫ر‬‫ب‬ ‫رراتیر‬‫ر‬‫ت‬ ‫رری‬‫ر‬‫ه‬ ‫آن‬ ‫ررر‬‫ر‬‫ب‬ ‫رردید‬‫ر‬‫ش‬ ‫ررل‬‫ر‬‫الکتریک‬ ‫ررا‬‫ر‬‫ی‬ ‫و‬ ‫ررل‬‫ر‬‫منناطیس‬ ‫هاي‬‫رردان‬‫ر‬‫می‬ ‫رره‬‫ر‬‫ک‬ ‫ررورت‬‫ر‬‫ص‬‫ي‬ ‫را‬ ‫را‬‫ر‬‫آنه‬ ‫روان‬‫ر‬‫ت‬‫مل‬ ‫رل‬‫ر‬‫دلی‬ ‫رین‬‫ر‬‫هم‬ ‫ره‬‫ر‬‫ب‬ ‫رد‬‫ر‬‫آی‬‫نمل‬ ‫ریش‬‫ر‬‫پ‬ ‫رواج‬‫ر‬‫ام‬ ‫رداخل‬‫ر‬‫ت‬ ‫رر‬‫ر‬‫خط‬ ‫و‬ ‫رذارد‬‫ر‬‫گ‬‫نمل‬ ‫عبر‬ ‫بررق‬ ‫ژنراتورهراي‬ ‫یا‬ ‫قوي‬ ‫فشار‬ ‫هاي‬‫کابل‬ ‫کنار‬ ‫از‬ ‫مسل‬ ‫کابل‬ ‫برخالف‬‫داد‬ ‫ور‬. ‫بره‬ ‫روز‬ ‫بره‬ ‫روز‬ ،‫آن‬ ‫از‬ ‫ترا‬ ‫شده‬ ‫باع‬ ‫آن‬ ‫بودن‬ ‫آب‬ ‫ضد‬ ‫همچون‬ ‫خواصل‬ ‫همچنین‬ ‫شود‬ ‫استفاده‬ ‫تري‬‫گسترده‬ ‫طور‬. ‫نردا‬ ‫رروکار‬‫ر‬‫س‬ ‫الکتریکرل‬ ‫سریگنال‬ ‫را‬‫ر‬‫ب‬ ‫فیبرنروري‬ ‫در‬ ‫دیگرر‬ ‫ره‬‫ر‬‫ک‬ ‫ایرن‬ ‫برراي‬‫از‬ ‫رد‬‫ر‬‫بای‬ ‫ریم‬ ‫ر‬‫ر‬‫ح‬ ‫را‬‫ر‬‫ت‬ ‫ره‬‫ر‬‫ک‬ ‫ریم‬‫ر‬‫کن‬ ‫رتفاده‬‫ر‬‫اس‬ ‫روري‬‫ر‬‫ن‬ ‫رازهاي‬‫ر‬‫آشکارس‬ ‫و‬ ‫ها‬‫رده‬‫ر‬‫کنن‬‫تقویت‬ ‫رل‬‫ر‬‫مت‬ ‫رل‬‫ر‬‫ادوات‬‫دودي‬ ‫است‬ ‫گران‬. 151
  • 152.
    ‫رره‬‫ر‬‫ب‬ ‫ررم‬‫ر‬‫ه‬ ‫آن‬‫ررات‬‫ر‬‫اطالع‬ ‫ررال‬‫ر‬‫انتق‬ ‫ررراي‬‫ر‬‫ب‬ ‫رروان‬‫ر‬‫ت‬‫مل‬ ‫ررط‬‫ر‬‫فق‬ ‫رروري‬‫ر‬‫فیبرن‬ ‫از‬ ‫ررر‬‫ر‬‫دیگ‬ ‫رروي‬‫ر‬‫س‬ ‫از‬ ‫الکتریسری‬ ‫انتقال‬ ‫براي‬ ‫توان‬‫نمل‬ ‫و‬ ‫کرد‬ ‫استفاده‬ ‫نوري‬ ‫هاي‬‫شعاع‬ ‫صورت‬‫اسرتفاده‬ ‫ته‬ ‫کرد‬. ‫یرو‬ ‫بره‬ ‫نیراز‬ ‫و‬ ‫گیر‬‫وقرت‬ ‫و‬ ‫مشرکل‬ ‫بسریار‬ ‫یکردیگر‬ ‫به‬ ‫فیبرنوري‬ ‫اتصال‬‫فنرل‬ ‫کرادر‬ ‫اسر‬ ‫ایرن‬ ‫شرود‬‫مل‬ ‫وارد‬ ‫فیبرنروري‬ ‫به‬ ‫که‬ ‫مهمل‬ ‫ایرادهاي‬ ‫از‬ ‫یکل‬ ‫دارد‬ ‫باال‬ ‫سطت‬‫ت‬ ‫ها‬‫کابل‬ ‫راحتل‬ ‫به‬ ‫که‬‫توان‬‫رانمل‬‫دا‬ ‫در‬ ‫نور‬ ‫تابش‬ ‫زاویه‬ ‫زیرا‬ ‫داد‬ ‫خم‬ ‫و‬ ‫پی‬‫آن‬ ‫خرل‬ ‫آنهر‬ ‫دیگرر‬ ‫طررف‬ ‫از‬ ‫و‬ ‫شرود‬ ‫خرارج‬ ‫آن‬ ‫سطت‬ ‫از‬ ‫نور‬ ‫شود‬‫مل‬ ‫باع‬ ‫و‬ ‫کرده‬ ‫تنییر‬‫ا‬ ‫اي‬‫ویرژه‬ ‫تخصر‬ ‫به‬ ‫نیاز‬ ‫آنها‬ ‫قطع‬ ‫براي‬ ‫و‬ ‫کرد‬ ‫قطع‬ ‫راحتل‬ ‫به‬ ‫توان‬‫نمل‬ ‫را‬‫اسرت‬ ‫شود‬‫مل‬ ‫عو‬ ‫شکست‬ ‫زاویه‬ ‫صورت‬ ‫این‬ ‫غیر‬ ‫در‬ ‫چون‬. 152
  • 153.
    ‫ررل‬‫ر‬‫فیزیک‬ ‫رراي‬‫ر‬‫ه‬‫کمیت‬ ‫گیري‬‫رردازه‬‫ر‬‫ان‬‫ررراي‬‫ر‬‫ب‬ ‫رروري‬‫ر‬‫فیبرن‬ ‫ررگرهاي‬‫ر‬‫حس‬ ‫از‬ ‫ررتفاده‬‫ر‬‫اس‬‫ررد‬‫ر‬‫مانن‬ ‫آ‬ ‫آلرودگل‬ ‫جابجرایل‬ ‫و‬ ‫حررارت‬ ،‫فشرار‬ ،‫منناطیسل‬ ‫میدان‬ ،‫الکتریکل‬ ‫جریان‬‫هراي‬‫ب‬ ‫شر‬‫مل‬ ‫گرفته‬ ‫بهره‬ ‫ایکس‬ ‫و‬ ‫گاما‬ ‫پرتوهاي‬ ‫تشعشعات‬ ،‫مایعات‬ ‫سطت‬ ،‫دریا‬‫ود‬.‫یکرل‬ ‫ج‬ ‫آن‬ ‫از‬ ‫ره‬‫ر‬‫ک‬ ‫رت‬‫ر‬‫اس‬ ‫رامل‬‫ر‬‫نظ‬ ‫و‬ ‫راعل‬‫ر‬‫دف‬ ‫رنایع‬‫ر‬‫ص‬ ‫در‬ ‫روري‬‫ر‬‫فیبرن‬ ‫را‬‫ر‬‫کاربرده‬ ‫از‬ ‫رر‬‫ر‬‫دیگ‬‫ره‬‫ر‬‫مل‬ ‫موشر‬ ‫هردایت‬ ‫و‬ ‫کنترل‬ ،‫رادار‬ ‫آنتن‬ ‫با‬ ‫کنترل‬ ‫و‬ ‫ارتباط‬ ‫برقراري‬ ‫به‬ ‫توان‬‫مل‬‫و‬ ‫ها‬‫و‬ ‫کرد‬ ‫اشاره‬ ‫ها‬‫زیردریایل‬ ‫ارتباط‬.‫کاربردهراي‬ ‫نیرز‬ ‫پزشکل‬ ‫در‬ ‫فیبرنوري‬‫فراوانرل‬ ،‫ردن‬‫ر‬‫ب‬ ‫رل‬‫ر‬‫داخل‬ ‫هاي‬‫رایل‬‫ر‬‫نارس‬ ‫رایل‬‫ر‬‫شناس‬ ،‫ررطانل‬‫ر‬‫س‬ ‫ردد‬‫ر‬‫غ‬ ‫رري‬‫ر‬‫دزیمت‬ ‫در‬ ‫ره‬‫ر‬‫جمل‬ ‫از‬ ‫دارد‬ ‫بد‬ ‫مایعات‬ ‫و‬ ‫خون‬ ‫گیري‬‫اندازه‬ ‫و‬ ‫دندانپزشکل‬ ‫در‬ ‫استفاده‬ ،‫لیزري‬ ‫جراحل‬‫ن‬. 153
  • 154.
    ‫شرربک‬ ‫از‬ ‫اسررتفاده‬‫اصررلل‬ ‫دالیررل‬ ‫از‬ ‫اطالعررات‬ ‫ایمنررل‬ ‫و‬ ‫زیرراد‬ ‫سرررعت‬ ‫و‬ ‫ظرفیررت‬‫ه‬ ‫فیبرنوري‬‫است‬. ‫و‬ ‫نظرامل‬ ‫و‬ ‫دفاعل‬ ‫صنایع‬ ،‫فیزیکل‬ ‫هاي‬‫کمیت‬ ‫گیري‬‫اندازه‬ ‫در‬ ‫فیبرنوري‬‫پزشرکل‬ ‫گرفته‬ ‫کار‬ ‫به‬‫شود‬‫مل‬. ‫مسي‬ ‫كابل‬ ‫با‬ ‫مقایسه‬ ‫در‬ ‫فیبرنوري‬ ‫مزایاي‬: ‫اشرنا‬ ‫را‬ ‫كمترري‬ ‫حجرم‬ ‫و‬ ‫اسرت‬ ‫مسرل‬ ‫كابرل‬ ‫از‬ ‫ارزانترر‬ ‫و‬ ‫تر‬ ‫سبك‬ ‫فیبرنوري‬‫مرل‬ ‫ل‬ ‫كند‬.‫بط‬ ،‫اسرت‬ ‫مسرل‬ ‫كابرل‬ ‫برابرر‬ ‫هزار‬ ‫چندین‬ ‫فیبرنوري‬ ‫انتقال‬ ‫ظرفیت‬‫در‬ ‫وریكره‬ ‫فیبرنوري‬ ‫تار‬ ‫یك‬ ،‫ژاپن‬ ‫كشور‬9500‫ارتباط‬‫چهرار‬ ‫حردود‬ ‫توانرد‬ ‫مرل‬ ‫درایرران‬ ‫و‬ ‫كند‬ ‫برقرار‬ ‫را‬ ‫تلفنل‬ ‫ارتباط‬ ‫هزار‬. 154
  • 155.
    ،‫اسررت‬ ‫بیشررتر‬ ‫هررم‬‫عمرررش‬ ‫طررول‬ ‫و‬ ‫اسررت‬ ‫محیطررل‬ ‫نررویز‬ ‫اترررات‬ ‫فاقررد‬ ‫فیبرنرروري‬ ‫دارد‬ ‫كمتري‬ ‫تلفات‬ ‫اطالعات‬ ‫انتقال‬ ‫در‬ ‫همچنین‬. -‫مخابرا‬ ‫در‬:‫براال‬ ‫ظرفیرت‬ ‫و‬ ‫سررعت‬ ‫برا‬ ‫مخرابراتل‬ ‫هراي‬ ‫پیرام‬ ‫انتقرال‬ ‫براي‬‫در‬ ‫ر‬‫ر‬‫همچن‬ ‫و‬ ‫اي‬ ‫ره‬‫ر‬‫رایان‬ ‫ربكه‬‫ر‬‫ش‬ ‫رات‬‫ر‬‫اطالع‬ ‫رال‬‫ر‬‫انتق‬ ‫و‬ ‫رهري‬‫ر‬‫ش‬ ‫رن‬‫ر‬‫تلف‬ ‫رز‬‫ر‬‫مراك‬ ‫رین‬‫ر‬‫ب‬ ‫راط‬‫ر‬‫ارتب‬‫ین‬ ‫صورت‬ ‫به‬ ‫تلویزیونل‬ ‫ارتباط‬ ‫برقراي‬ ‫براي‬CABLE-TV -‫پزشكي‬ ‫در‬:‫لیزري‬ ‫جراحل‬ ‫و‬ ‫اندوسكوپل‬ ‫براي‬ 155
  • 156.
    -‫درصن‬:‫شربك‬ ،‫فلرزات‬ ‫دقیرق‬‫بررش‬ ‫منظرور‬ ‫بره‬ ‫لیرزر‬ ‫نرور‬ ‫انتقرال‬ ‫براي‬‫بنردي‬ ‫ه‬ ‫صنعتل‬ ‫هاي‬ ‫رایانه‬ -‫احساسگرها‬ ‫در‬(SENSORS)،‫بررق‬ ‫جریران‬ ‫فشرار‬ ‫گیرري‬ ‫اندازه‬ ‫منظور‬ ‫به‬ ‫چرخش‬ ‫و‬ ‫شتاب‬ ،‫پالریزاسیون‬ ،‫حرارت‬ -‫نظامي‬ ‫امور‬ ‫در‬‫و‬ ‫یاب‬ ‫محل‬ ‫موشكهاي‬ ‫هدایت‬ ‫براي‬... 156
  • 157.
    ‫خالصه‬: ‫مزایای‬‫سریم‬ ‫مقابرل‬ ‫در‬‫فیبرنروری‬‫از‬ ‫عبارتنرد‬ ‫مسری‬ ‫هرای‬:‫پرایین‬ ‫قیمرت‬‫ترر‬‫پهنرای‬ ، ‫الکت‬ ‫کامرل‬ ‫ایزوالسریون‬ ، ‫ترزویج‬ ‫و‬ ‫تداخل‬ ‫مقابل‬ ‫در‬ ‫محافظت‬ ، ‫وسیع‬ ‫باند‬، ‫ریکری‬ ، ‫کررم‬ ‫وزن‬ ، ‫بررودن‬ ‫اشررتعال‬ ‫قابررل‬ ‫غیررر‬ ، ‫خرروردگی‬ ‫رل‬‫ر‬‫مقاب‬ ‫در‬ ‫مصررونیت‬ ، ‫رت‬‫ر‬‫امنی‬ ‫فرستنده‬ ، ‫پایین‬ ‫اتالف‬‫پایین‬ ‫قیمت‬ ‫با‬ ‫های‬‫پذیری‬ ‫انعطاف‬ ‫و‬ ‫تر‬. ‫پدیده‬ ‫توسط‬ ‫فیبرنوری‬ ‫در‬ ‫نور‬ ‫انتقال‬‫مری‬ ‫انجرام‬ ‫نرور‬ ‫انعکراس‬ ‫ی‬‫شرود‬.‫هنگر‬‫کره‬ ‫امی‬ ‫مری‬ ‫محریط‬ ‫دو‬ ‫جردایی‬ ‫سرطت‬ ‫بره‬ ‫را‬ ‫نور‬ ‫شعاع‬ ‫یو‬‫دا‬ ‫بره‬ ‫آن‬ ‫از‬ ‫قسرمتی‬ ، ‫تابرانیم‬‫خرل‬ ‫بازمیگردد‬ ‫اول‬ ‫محیط‬.‫شرد‬ ‫محبروس‬ ‫فیبرر‬ ‫داخرل‬ ‫در‬ ‫نرور‬ ، ‫عمرل‬ ‫ایرن‬ ‫تکررار‬ ‫برا‬‫و‬ ‫ه‬ ‫می‬‫کرد‬ ‫منتقل‬ ‫را‬ ‫آن‬ ‫توان‬. 157
  • 158.
    ‫از‬ ‫عبارتند‬ ‫انتقال‬‫خط‬ ‫یو‬ ‫عناصر‬:‫ح‬ ‫مروج‬ ‫منبرع‬ ، ‫مردوالتور‬ ، ‫پیرام‬ ‫منشراء‬، ‫امرل‬ ‫ررزویج‬‫ر‬‫ت‬‫ررده‬‫ر‬‫کنن‬‫ررال‬‫ر‬‫کان‬ ‫ررای‬‫ر‬‫ه‬(‫ورودی‬)‫ررزویج‬‫ر‬‫ت‬ ، ‫رراطی‬‫ر‬‫ارتب‬ ‫ررال‬‫ر‬‫کان‬ ،‫ررده‬‫ر‬‫کنن‬‫ررال‬‫ر‬‫کان‬ ‫ررای‬‫ر‬‫ه‬ (‫خروجی‬)‫خروجی‬ ‫پیام‬ ، ‫سیگنال‬ ‫پردازشگر‬ ، ‫آشکارساز‬ ،. ‫دستگاه‬ ‫به‬‫وظیفره‬ ‫که‬ ‫هایی‬‫نر‬ ‫سریگنال‬ ‫بره‬ ‫الکتریکری‬ ‫سریگنال‬ ‫تبردیل‬ ‫ی‬‫انجرام‬ ‫را‬ ‫وری‬ ‫می‬‫فرستنده‬ ، ‫دهند‬‫می‬ ‫نوری‬ ‫های‬‫دسرته‬ ‫دو‬ ‫بره‬ ‫کلری‬ ‫طرور‬ ‫بره‬ ‫کره‬ ‫گوینرد‬‫دیود‬ ‫ی‬‫هرای‬ ‫منتشرکننده‬‫مری‬ ‫تقسریم‬ ‫لیرزری‬ ‫دیودهرای‬ ‫و‬ ‫نور‬ ‫ی‬‫شروند‬.‫سیسرتم‬ ‫در‬‫فی‬ ‫هرای‬‫برنروری‬ ‫گیرنده‬ ‫طرف‬ ‫در‬ ‫آشکارسازنوری‬ ‫نوعی‬‫شر‬ ‫مدوله‬ ‫نور‬ ‫تا‬ ‫است‬ ‫موردنیاز‬ ‫نور‬ ‫ی‬‫ده‬ ‫کند‬ ‫آشکار‬ ، ‫شده‬ ‫منتشر‬ ‫فیبر‬ ‫طول‬ ‫در‬ ‫که‬ ‫را‬.‫سیگنال‬ ‫دیگر‬ ‫عبارت‬ ‫به‬‫نوری‬ ‫های‬ ‫سیگنال‬ ‫به‬ ‫را‬‫نماید‬ ‫تبدیل‬ ‫الکتریکی‬ ‫های‬. 158
  • 159.
    ‫می‬ ‫تشکیل‬ ‫بخش‬‫دو‬ ‫از‬ ‫تارنوری‬‫شود‬:‫مر‬ ‫یو‬ ‫از‬ ‫شده‬ ‫ساخته‬ ‫پوشش‬ ‫و‬ ‫هسته‬‫اده‬‫ی‬ ‫نوری‬ ‫شفاف‬(‫گداختره‬ ‫سریلیکای‬ ‫شیشه‬ ‫متال‬)‫روکرش‬ ‫و‬ ،.‫مراده‬‫سرا‬ ‫اصرلی‬ ‫ی‬‫زنده‬‫ی‬ ‫کوارتز‬ ، ‫نوری‬ ‫فیبرهای‬(‫سیلیسیم‬ ‫اکسید‬SIO2)‫اسرت‬.‫را‬ ‫نروری‬ ‫فیبرر‬ ‫کابرل‬‫مری‬ ‫روان‬‫ر‬‫ت‬‫از‬ ‫رد‬‫ر‬‫عبارتن‬ ‫ره‬‫ر‬‫ک‬ ‫رود‬‫ر‬‫نم‬ ‫ردی‬‫ر‬‫بن‬ ‫رته‬‫ر‬‫دس‬ ‫رت‬‫ر‬‫جه‬ ‫رد‬‫ر‬‫چن‬ ‫از‬:‫رور‬‫ر‬‫فیبرن‬ ‫رل‬‫ر‬‫کاب‬ ‫رواع‬‫ر‬‫ان‬‫از‬ ‫ی‬ ‫شریوه‬ ‫نظر‬‫انتقرال‬ ‫ی‬(‫ضرری‬ ‫برا‬ ‫چندحالتره‬ ‫فیبرر‬ ‫شرامل‬ ‫چندحالتره‬ ‫فیبرهرای‬‫شکسرت‬ ‫ب‬ ‫پله‬‫حالتر‬ ‫ترو‬ ‫فیبرر‬ ، ‫تردریجی‬ ‫شکسرت‬ ‫ضرریب‬ ‫برا‬ ‫چندحالتره‬ ‫فیبر‬ ، ‫ای‬‫ه‬)‫نظرر‬ ‫از‬ ، ‫حفاظرت‬(‫نروع‬LOSS BUFFER‫و‬TIGHT BUFFER)‫روکرش‬ ‫نظرر‬ ‫از‬ ،(IN DOOR‫و‬OUT DOOR‫و‬IN DOOR – OUT DOOR.) 159
  • 160.
    ‫ماده‬ ‫نظر‬ ‫از‬‫سرازنده‬‫ی‬(‫فیبرنروری‬ ‫کابرل‬ ، ‫پالسرتیکی‬ ‫فیبرنروری‬ ‫کابرل‬‫شیشره‬‫و‬ ‫ای‬ ‫سرخت‬ ‫پلیمرر‬ ‫برا‬ ‫نروری‬ ‫فیبرر‬ ‫کابل‬.)‫روش‬‫از‬ ‫عبارتنرد‬ ‫فیبرهرا‬ ‫سراخت‬ ‫هرای‬:‫روش‬ ‫ری‬‫ر‬‫بیرون‬ ‫روب‬‫ر‬‫رس‬ ‫رامل‬‫ر‬‫ش‬ ‫رده‬‫ر‬‫ش‬ ‫د‬ ‫ره‬‫ر‬‫یافت‬ ‫روب‬‫ر‬‫رس‬ ‫ریلیس‬‫ر‬‫س‬ ‫روش‬ ، ‫راعف‬‫ر‬‫مض‬ ‫ره‬‫ر‬‫بوت‬، ‫ری‬‫ر‬‫داخل‬ ‫روب‬‫ر‬‫رس‬ ، ‫روری‬‫ر‬‫مح‬ ‫روب‬‫ر‬‫رس‬.‫ر‬‫ر‬‫ب‬ ‫رده‬‫ر‬‫ش‬ ‫رش‬‫ر‬‫پوش‬ ‫ریلیس‬‫ر‬‫س‬ ‫در‬ ‫رار‬‫ر‬‫ت‬ ‫ریدن‬‫ر‬‫کش‬ ‫روش‬‫ا‬ ‫پالستیو‬. ‫در‬ ‫خصرور‬ ‫به‬ ، ‫پارامتر‬ ‫چندین‬ ‫کنترل‬ ، ‫نوری‬ ‫فیبرهای‬ ‫نصب‬ ‫هنگام‬ ‫در‬‫مرورد‬ ‫اسرت‬ ‫اهمیرت‬ ‫دارای‬ ‫نصرب‬ ‫عملیرات‬ ‫و‬ ‫مسیر‬ ‫شرایط‬.‫ا‬ ‫عبارتنرد‬ ‫پارامترهرا‬ ‫ایرن‬‫ز‬: ‫رویه‬ ، ‫خاک‬ ‫نوع‬ ، ‫ناحیه‬ ‫طبیعت‬ ، ‫راه‬ ‫مسیر‬‫نصب‬ ‫ی‬. 160
  • 161.
    ‫رابط‬‫مری‬ ‫کرار‬ ‫بره‬‫انتقرال‬ ‫مسیرهای‬ ‫در‬ ‫نوری‬ ‫تارهای‬ ‫اتصال‬ ‫برای‬ ‫را‬ ‫ها‬، ‫برنرد‬‫بره‬ ‫اتصرا‬ ‫موقرع‬ ‫در‬ ‫پرایینی‬ ‫تلرف‬ ، ‫تارهرا‬ ‫قطرع‬ ‫در‬ ‫تسرهیل‬ ‫ایجراد‬ ‫ضرمن‬ ‫که‬ ‫طوری‬‫از‬ ‫ل‬ ‫آن‬ ‫طریق‬‫می‬ ‫دست‬ ‫به‬ ‫ها‬‫آید‬. ‫رط‬‫ر‬‫راب‬ ‫رن‬‫ر‬‫ای‬‫ری‬‫ر‬‫م‬ ‫ریم‬‫ر‬‫تقس‬ ‫روع‬‫ر‬‫ن‬ ‫دو‬ ‫ره‬‫ر‬‫ب‬ ‫ران‬‫ر‬‫کارش‬ ‫راس‬‫ر‬‫براس‬ ‫را‬‫ر‬‫ه‬‫روند‬‫ر‬‫ش‬.‫ر‬‫ر‬‫مبن‬ ‫رر‬‫ر‬‫ب‬ ‫اول‬ ‫روع‬‫ر‬‫ن‬‫ای‬ ‫سربه‬ ‫تزویج‬ ‫براساس‬ ‫دوم‬ ‫نوع‬ ‫و‬ ، ‫عدسی‬ ‫تزویج‬‫تارهاست‬ ‫سر‬.‫ا‬ ‫دیگر‬ ‫راه‬‫تصرال‬ ‫آن‬ ‫اتصال‬ ، ‫فیبرها‬‫است‬ ‫دائمی‬ ‫صورت‬ ‫به‬ ‫ها‬.‫کابل‬ ‫دائم‬ ‫اتصال‬‫فیبر‬ ‫های‬‫بره‬ ‫نروری‬ ‫است‬ ‫پذیر‬ ‫امکان‬ ‫روش‬ ‫دو‬:‫هرم‬ ‫روش‬ ‫بره‬ ‫فیبرر‬ ‫دو‬ ‫دائمی‬ ‫اتصال‬‫اتصر‬ ، ‫جوشری‬‫ال‬ ‫شدن‬ ‫قفل‬ ‫روش‬ ‫به‬ ‫فیبر‬ ‫دو‬ ‫دائمی‬. 161
  • 162.
    ‫منابع‬ ‫فهرست‬: ‫کتاب‬‫ها‬: ‫نوری‬ ‫فیبر‬‫مخابرات‬:‫پالی‬ ‫جوزف‬-‫مترجمان‬:‫دکتر‬‫مولوی‬ ‫محمد‬–‫محد‬ ‫مجتبی‬ ‫مهندس‬– ‫نوبت‬‫اول‬–1384 ‫ارت‬‫ب‬‫اطات‬‫نوری‬ ‫تار‬:‫گردکارزر‬–‫مترجم‬;‫الملکی‬ ‫شهاب‬ ‫قاسم‬.–‫اول‬ ‫چا‬1375. ‫روری‬‫ر‬‫ن‬ ‫رار‬‫ر‬‫ت‬ ‫راط‬‫ر‬‫ارتب‬ ‫رای‬‫ر‬‫ه‬ ‫رتم‬‫ر‬‫سیس‬ ‫رر‬‫ر‬‫ب‬ ‫ای‬ ‫ره‬‫ر‬‫مقدم‬:‫رام‬‫ر‬‫ویلی‬‫ری‬‫ر‬‫ب‬.‫رونز‬‫ر‬‫ج‬..–‫ررجم‬‫ر‬‫مت‬;‫رهاب‬‫ر‬‫ش‬ ‫رم‬‫ر‬‫قاس‬ ‫الملکی‬–‫اول‬ ‫چا‬1375. .‫نوری‬ ‫مخابرات‬:‫سوئه‬‫ک‬ ‫ماتسو‬.‫ایگا‬-‫مترجم‬;‫جمشید‬‫نیر‬–‫اول‬ ‫چا‬-1366 ‫نوری‬ ‫الکترونیو‬:‫واتسون‬–‫جان‬-‫مترجم‬;‫صیفوری‬ ‫محمودی‬ ‫دکتر‬.–، ‫اول‬ ‫چا‬1387 162
  • 163.
    ‫سای‬‫ها‬: • WWW .agilent.com •WWW .amp.com • WWW .cisco.com • WWW .corning.com • WWW .epinion.com • WWW .fiberopticsonline.com • WWW .fiber-optic.info 163
  • 164.
    ‫خود‬ ‫شکیبای‬ ‫و‬‫صبر‬ ‫با‬ ‫که‬ ‫این‬ ‫از‬ ‫تشکر‬ ‫با‬ ‫نمودید‬ ‫یاری‬ ‫لکچر‬ ‫این‬ ‫ی‬ ‫ارائه‬ ‫در‬ ‫را‬ ‫ما‬. ‫پایان‬ 164