1/7




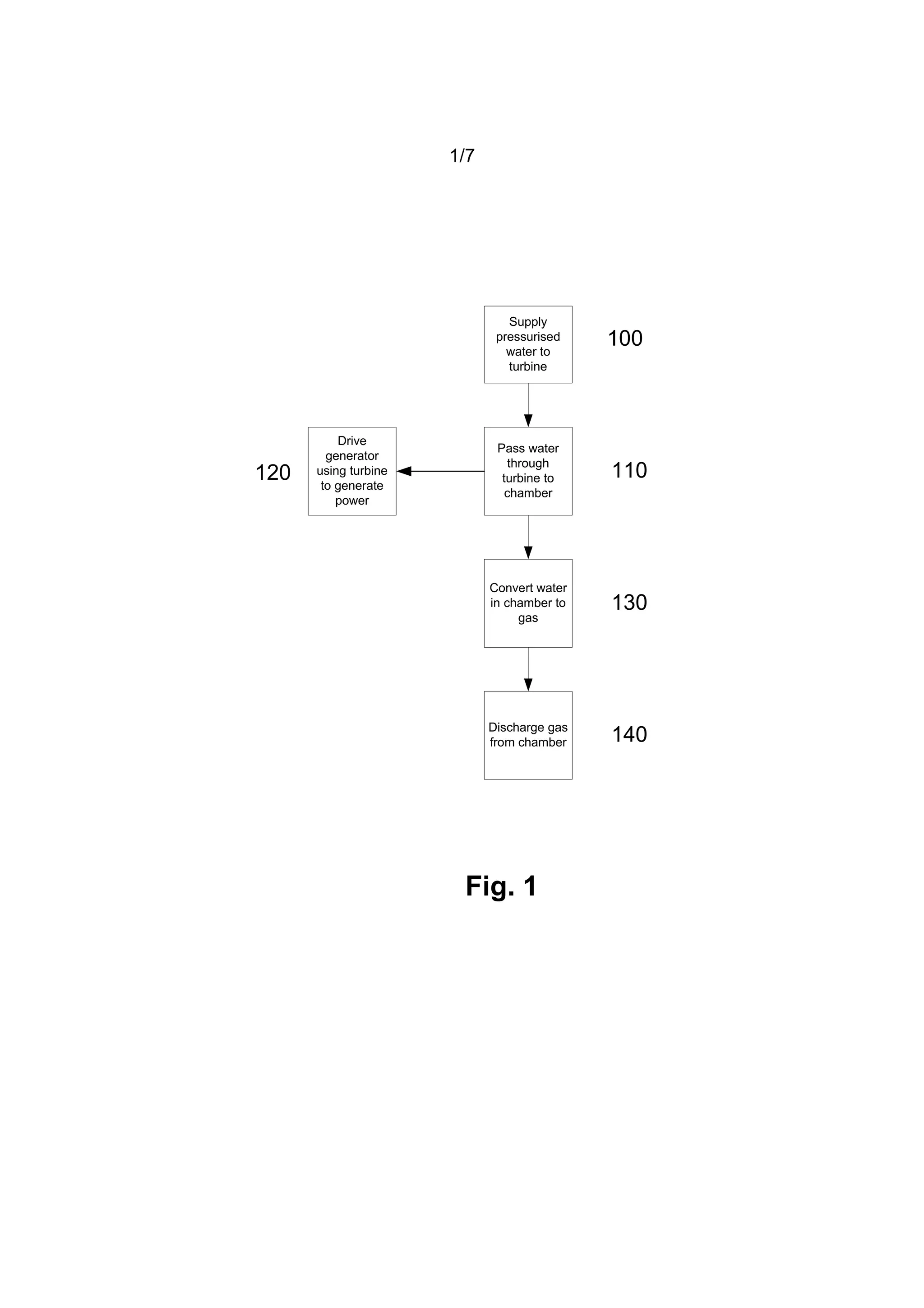
                               Supply
                             pressurised
                               water to
                                            100
                               turbine




          Drive
                             Pass water
        generator
                               through
120   using turbine
                              turbine to    110
       to generate
                               chamber
          power




                            Convert water
                            in chamber to   130
                                 gas




                            Discharge gas
                            from chamber    140




                       Fig. 1
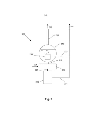
2/7




                         203                      202



200
                               260



                                      240



                                            232
      250


                                     212

            201

            221                        210




             220
                                            231




                   Fig. 2
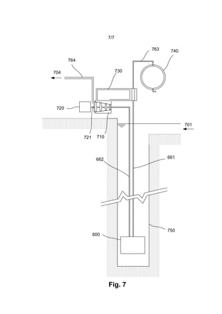
3/7




                          304         303
                                                                302


300          362                            361



                                                  341
                                                          340

      350
                                                          332

      352

       351
      301                                               301


  313                                                    311
              321                                 310


             342

                                                        331
                    320




                                Fig. 3
4/7




                   442
400
                                                403       404
              420

                                        461                     462

                                  421
                   410                  413

             401

       441




 450



                                                    443

                                              412
440

                                        470




                                        480




                         Fig. 4
5/7




500
            562
                           561




                            541
      540




                                  550




                                    510
                            580




                  Fig. 5
6/7




      600




400                         400
            500




                   Fig. 6
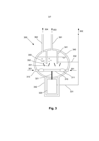
7/7

                                      763    740

       764

704                             730




 720


                                                   701

             721    710




                    662                     661




                                            750
                   600




                          Fig. 7

2 power and hydrogen generation figures

  • 1.
    1/7 Supply pressurised water to 100 turbine Drive Pass water generator through 120 using turbine turbine to 110 to generate chamber power Convert water in chamber to 130 gas Discharge gas from chamber 140 Fig. 1
  • 2.
    2/7 203 202 200 260 240 232 250 212 201 221 210 220 231 Fig. 2
  • 3.
    3/7 304 303 302 300 362 361 341 340 350 332 352 351 301 301 313 311 321 310 342 331 320 Fig. 3
  • 4.
    4/7 442 400 403 404 420 461 462 421 410 413 401 441 450 443 412 440 470 480 Fig. 4
  • 5.
    5/7 500 562 561 541 540 550 510 580 Fig. 5
  • 6.
    6/7 600 400 400 500 Fig. 6
  • 7.
    7/7 763 740 764 704 730 720 701 721 710 662 661 750 600 Fig. 7