Embed presentation
Download to read offline

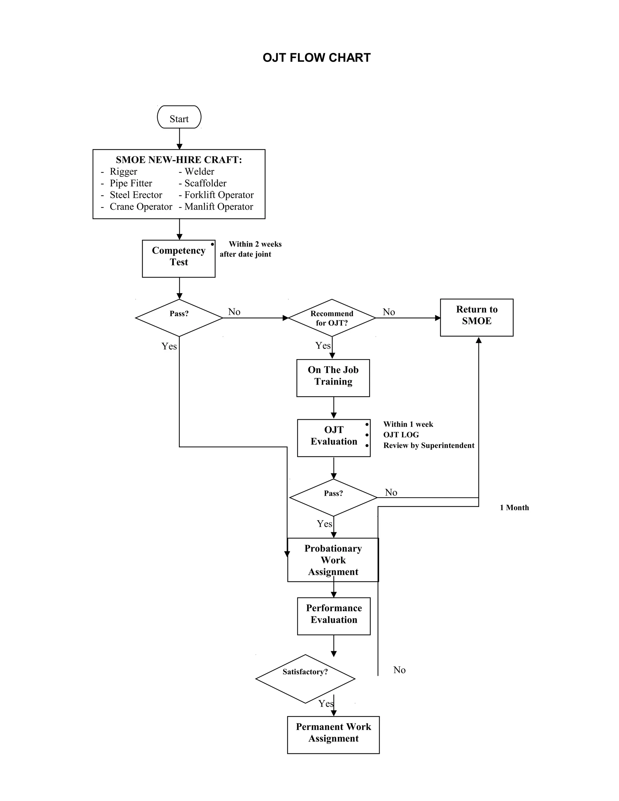
The document outlines an OJT (On The Job Training) flow chart for new craft hires at SMOE. It shows that new hires first take a competency test - if passed, they are recommended for OJT, if not they return to SMOE. For those in OJT, their performance is evaluated within 1 week and their OJT log is reviewed by the Superintendent. If passed, they move to a 1 month probationary work assignment, then a performance evaluation determines if they receive a permanent work assignment.
