US 20110166903A1
(19) United States
(12) Patent Application Publication (10) Pub. No.: US 2011/0166903 A1
Jolly (43) Pub. Date: Jul. 7, 2011
(54) WEB BASED OFFSHORABILITY (52) U.S. Cl. ..................................................... .. 705/7.22
PROBABILITY CALCULATOR - JOB
ANALYSIS TOOL FOR INDIVIDUALS MADE (57) ABSTRACT
AVAILABLE ON INTERNET The “Web based Offshorability Probability Calculator” is a
_ - system and method that alloWs an individual to determine the
(76) Inventor‘ eet smgh Jolly’ San Jose’ CA Probability of theirjob (OR any other job), or role Within an
organization getting sourced from an inexpensive offshore
(21) APPL NO. 12/983,892 location. An internet based and a Microsoft EXCEL based
embodiments of the tool have been detailed in this Patent
(22) Filed; Jam 4, 2011 application. Users access the Tool via lntemet using their Web
broWser (Internet Explorer or equivalent) to go to WWW.Off
Related US, Application Data shoreProofcom or another Website providing access to the
_ _ _ _ tool. The user ansWers a set of questions related to their job
(60) Prov1s1onal applicatlon No. 61/292,245, ?led on Jan. using a Simple Drop down Menu Based on User Inputs and
5’ 2010' the pre-programmed decision matrix and Weight assignment
_ _ _ _ s stem, the calculator ives an out ut on the “Offshorabili
Pubhcatlon Classl?catlon Plrobability” of the jolig along Witli) a score and an analysis
(51) Int, Cl, Whether any technical or regulatory barrier could prevent
G06Q 10/00 (2006.01) OffShOring
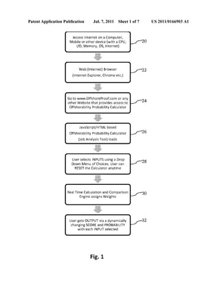
Access Internet on a Computer,
Mobile or other device (with a CPU,
I/O, Memory, 05, Internet)
Web (Internet) Browser
(Internet Explorer, Chrome etc.)
fZZ
Go to www.OffshoreProof.com or any 24
other Website that provides access to f
Offshorability Probability Calculator
JavaScript/HTML based
Offshorability Probability Calculator
(Job Analysis Tool) loads
f26
User selects INPUTS using a Drop
Down Menu of Choices. User can
RESET the Calculator anytime
f28
Real Time Calculation and Comparison 0
Engine assigns Weights f3
User gets OUTPUT via a dynamically
changing SCORE and PROBABILITY
with each INPUT selected
faz
Patent Application Publication Jul. 7, 2011 Sheet 1 0f 7 US 2011/0166903 A1
Access Internet on a Computer,
Mobile or other device (with a CPU, fZO
I/O, Memory, 05, Internet)
Web (Internet) Browser fzz
(Internet Explorer, Chrome etc.)
Go to www.OffshoreProof.com or any 24
other Website that provides access to f
Offshorability Probability Calculator
JavaScript/HTML based
Offshorability Probability Calculator fzs
(Job Analysis Tool) loads
User selects INPUTS using a Drop
Down Menu of Choices. User can f28
RESET the Calculator anytime
Real Time Calculation and Comparison 0
Engine assigns Weights f3
User gets OUTPUT via a dynamically f32
changing SCORE and PROBABILITY
with each INPUT selected
Fig. 1
Patent Application Publication Jul. 7, 2011 Sheet 2 0f 7 US 2011/0166903 A1
Define Key criteria influencing the "Offshorability" of any Job, Career or Profession.
34
Break these into Option ranges based on how each of these option influences the
"Offshoring" decision. 36
Build a Decision Matrix - Assign Weights & Distribute those Weights among Options
chosen. (Higher Weights for Higher Probability). 38
V
Build a Microsoft EXCEL based Calculator using 3 Worksheets.
i7
EXCEL SHEET-1 - Build an EXCEL based FORM to intake User INPUTS and Calculate,
Compare and Display OUTPUT in form of a SCORE and PROBABILITY. 42
i7
EXCEL SHEET-2 - Build the Decision Matrix that lists all Options with their Weights and
Distribution to be used in calculating OUTPUT. 44
i7
EXCEL SHEET-3 - Build the Calculation Block using EXCEL's Logical Functions, Comparison
and Calculation features to obtain the Final SCORE (Displayed on SHEET-1). 46
Convert the MS EXCEL based Calculator into a JavaScript/HTML based Calculator using
commercially available Spreadsheet Conversion Tools. 48
V
Load the HTML/JavaScript based Calculator on any Website by simply integrating the
HTML, JavaScript code. 50
Present Embodiment of this calculator (available on www.OffshoreProof.com) uses
Commercially available Web Development Tools and Web Hosting services. 52
40
Fig. 2
Patent Application Publication Jul. 7, 2011 Sheet 3 0f 7 US 2011/0166903 A1
=|F(Sheet1!D17="More than 80%“, 12,0)
I54
=|F(Sheet1!D17=“Less than 50%“, 1,0)
Fig. 3
[58
Fig. 4
Fig. 5
f64
V
" " ")=|F(G6<0, "Technical/Regulatory Barriers can prevent Offshoring ,
Fig. 6  66
Patent Application Publication Jul. 7, 2011 Sheet 4 0f 7 US 2011/0166903 A1
Please Salem
Education iequiremems 10: me job.’ Wish Echo->1
Rama up 1 Emmy: llown (Willie-ll
iSeas-cnal 0r ilrojcu ins-i5}?
?ariu'vn Lewis in this Malawi/2n.v
Howmuch i351 dudes can be Eerionned
Ming €ompu<einelealwbeilmeme?
was mg m, Hamlin; Heqhan! have!
[Teal Bade
68Fig. 7A
my may ‘,cols' @w
:>r the job?
ob function?
uemw. ‘
ess
0 5
Score Range Negative to 42
than 20
0
50
Fig. 7B
Patent Application Publication Jul. 7, 2011 Sheet 5 0f 7 US 2011/0166903 A1
?ffshamwanfmnm ?xcel Swat - 1
.i- '
1 Education requiremema fer the job? High 33mm;
2 USS :“a‘alary hand (per annum}? 59K . 'maK
3 Bepanmem s'me é‘m' tins Jot: bastion’! 2:3 . 5Q
Rams; up / Ramp down required
4 (Seasanal or F‘z'og'a? basis}? s50
A?rition Levels in this pmfas-siom Highin
.»-~' Maw much gab duties can be performed
‘76 »~” 5;; using Compuier?eiegxhoneliniemet? L955 the“; 59%
Doe-:- the fab require Frequent Travel {:0
meat clients‘ vendors; trade shows)? 350
Face to Face Meetings Required with
Executive Management {VP and aha-v23 in
cmnpany a! with Clients for z'eiaiionship
:3 management. More than 5% ‘:Eme
Training Requimments - Can the fab be
9 team! in_ 3 ‘ 6 msmths
Bees the fob White buiiaiing or
mfiqxpimng’imeliectual Property of
88 —“" 3T ?ampany? N0
Boas tha fab require dealing with
1.2 Sensitive and Highiy Canfider-tizi Dam? N“
No
Daes the fab need to he (kme in
sa?wareihardwareiindusi'riai environment
which is vary expenswe or impussibte to
15 replicate in a rsmo?a k‘catkm? ?e
Patent Application Publication Jul. 7, 2011 Sheet 6 0f 7 US 2011/0166903 A1
‘31> S ry band (per znrumi 8 :osx man 15:; 1(- 1
25K » 50K 2
50K - 139K 4
‘iDOK+ 2
3 Gspao‘zneni ska far this Job final/Son {2 ms‘: than 2 K- 2
'40 ‘ 36 t
5H ~ $80 7
1 G8 >- 5:99 3
568+ 3
4 Ramp up I Ramp down raquiraé (Emma: or Prqieai basis; :- YQQ 5 i
.‘x'o 4
,6 .‘iow much jaw 611362 was be performed GSREQ Computerffeéaphone?msrnst F M ‘a man 38% ____>____
7/’ am ‘
'1‘ 5" Less man so";-   i
“M ea
7 Does job :aquim Trsva? R9 meal aFlenlsw mndors, trade skews‘; G Yea 5 5
No I.
8 Face to he: f?zet'mgz‘l quimd wi?: Exaculive Management (VP and above; r: karts {hem S‘E- time a
In comgsny or viih Cl, 7 .s for rem: nsniu managsmem Ma": ihar. 67.; 4 me i
[1 YminFng Requkem?te - Cam thejob be loam: in. l Less than 1 mm?! {C- 4
2 - 3 manila", 3
3 a 6 months 2
561m: than (2 morkhs 1
'39 my us Licvrnslng, mwizmmms m gzeyfmm mas mew J
11 9025 {ha ;ub wqu'oe b?idiug or mainminiog kzballectuzd Pmuedy of Gumpany'? K we; 1(- 3
Pm 7
‘$2 Does the job requlrs dealing with Sensitive am!’ Highly Con?deniiai Bah” L Yea 5O 3
No 7
‘ a Fadem: m‘ State Govemmem 303'.’ M ‘fat, 4'!
NO
:4 Does the job reauire Security Clearsme or has U5 citizenship requirements? N Yes 0
N1:
' "02a 8w ;ab word {0 he done :0 sum:re?ux-iwamfindusuial anviranmanl which 0 ves S 1
is very expensive a: impassibla to repticate I‘! a remote locaiisq’? ?n 4
Fig, Q
Patent Application Publication Jul. 7, 2011 Sheet 7 0f 7 US 2011/0166903 A1
US 2011/0166903 A1
WEB BASED OFFSHORABILITY
PROBABILITY CALCULATOR - JOB
ANALYSIS TOOL FOR INDIVIDUALS MADE
AVAILABLE ON INTERNET
CROSS-REFERENCE TO RELATED
APPLICATIONS
[0001] This application claims the bene?t of Provisional
Patent Application Ser. No. 61/292,245 ?led Jan. 5, 2010 by
the present inventor, Which is incorporated by reference.
BACKGROUND
Prior Art
[0002] The following is a tabulation of some prior art that
presently appears relevant:
U.S. Patent Application Publications
Publication No. Pub. Date Applicant
US 2008/0086354 A1 Apr. 10, 2008 Nagar
US 2008/00593 87 A1 Mar. 6, 2008 Vaidhyanathan et al.
US 2007/0162321A1 Jul. 12, 2007 Behrrnann et al.
US 2007/0033060 A1 Feb. 8, 2007 Gopalan et al.
US 2006/0004596 A1 Jan. 5, 2006 Caniglia et al.
[0003] Unless technical or regulatory barriers prevent
doing so, in a truly global World, products and services are
sourced from cheapest location in the World. Multinational
corporations have been consistently doWnsiZing staff from
High Cost Geographies like USA, UK, Japan and moving
Jobs to LoW cost offshore locations like India, China, and
Philippines thereby alloWing them to create emerging mar
kets for their Products and increase Pro?ts for their corpora
tions.
[0004] Companies have traditionally used expensive Con
sultants or Business Process Specialists charging anyWhere
from a feW thousand to a feW million dollars to carry out
“Operational Analysis” to determine Which Operations or
Jobs they could move Offshore, and to Which inexpensive
geographies they could move them to.
[0005] “Offshorability” ofa Job, Career, Profession, Busi
ness Process or Operation could be de?ned as the Probability
that it could be sourced from an inexpensive “Offshore” loca
tion.
[0006] In the last decade, While Working With several Off
shore Outsourcing Firms and numerous Fortune 1000 Cor
porations, l’ve come across a lot ofliterature, tools and meth
odologies, dos and don’ts of outsourcing. Most Outsourcing
Firms have proprietary methodologies to gather Client busi
ness process information and suggest Business Process Re
engineering to reduce costs by moving Work offshore. Most
of them end up sending their specialists to client sites for
months to gather “AS-IS” Business Processes and then ana
lyZe and recommend “TO-BE” Processes With cost reduction
achieved by Offshoring and Process Optimization.
[0007] There is hardly any standardiZation in this kind of
analysis and methods & tools deployed vary from client to
client and from one business process to another, and With
consulting ?rms. A lot of Trial and Error goes into this With
months of knoWledge transfer and parallel run betWeen the
Jul. 7, 2011
old (onsite) teams andneW (offshore) teams, including the sad
side of outsourcingitraining your replacement.
[0008] Most of the Prior art referenced above focuses on
Business Process Outsourcing, i.e. trying to document and
claim a method and system for optimiZing operational costs.
They attempt to complement, supplement or claim something
Which has been going on for over tWo decades (offshore
outsourcing) in one form or another and most large corpora
tions have had ?rst-hand experience in, Whether it Was getting
a tWenty people team in India Work on a softWare project or a
large thousand agent call center outsourced to Philippines.
None of these Patents seem to have been granted yet.
[0009] Additionally, most Prior art tends to analyZe any
business operation as a Whole focusing on “Tasks”, grouping
certain tasks together to ship to loW cost locations, eliminat
ing jobs in high cost geographies to achieve loWer total cost
for organiZation and moving certain “tasks” to the team that
remains Onsite and still employed With the organiZation.
[0010] While cost reduction for corporation remains the
goal, most prior art ignores the “People” element. Employees
often get a huge surprise When their companies announce a
“layoff” or “doWnsiZing” and move entire departments or
portions ofjobs to offshore locations to save money.
[0011] The “Web Based Offshorability Probability Calcu
lator” (also referred to as “Job analysis tool” is designed to
help remove a lot of Anxiety in Employees and empoWer
them With the knoWledge and decision making that company
managements apply. The tool can also help in Career Plan
ning for current and future career aspirants . . . they can decide
to pick a profession or job that is “Offshore Proof’ than to
regret later.
[0012] Currently, No similar “Calculator” is available on
internet that can help the individuals assess Whethertheir Jobs
can be done remotely from an inexpensive offshore location
OR iftheir profession can have Wage stagnation due to com
petition from offshore employees. Simple access to this “Off
shorability Probability Calculator” (also referred to as “Job
Analysis Tool”) can help users in “self assessment” of their
jobs and can help them make “informed” career choices.
[0013] Another embodiment of this calculator could be
used in Career Websites to help Job search using an additional
parameter of “Offshorability” (besides job location, salary,
title, employer, duties etc). No commercial Job search Web
site has enabled job search based on this (Offshorability)
parameter and have not yet considered including this sensi
tive but important subject in their Career Advice sections.
[0014] Additionally, most Prior art focuses on claiming a
process or method, but there is no precise attempt to build or
claim a “Software Tool” or “Calculation Engine” that cantake
simple inputs, process them and giveresults in form ofsimple
outputs. The present embodiment of “Job Analysis Tool”
addresses this by making available this tool (calculator) on
the internet, to the Whole World (On Website OffshoreProof.
com). Detailed steps on building this tool in Microsoft
EXCEL and HTML/JavaScript embodiments have been
explained in this Patent application.
[0015] While most prior art focuses on Business Process
level optimization and Cost reduction, some routinely ignore
the “Technical or Regulatory Barriers to Offshore Outsourc
ing”. What if a Procurement Process passes all the tests of
“Offshorability” but it is housed in a Federal Government
department (Withrestrictions to shippingjobs offshore) orhas
Security Clearance requirements or Special Licensing
requirements? The present embodiment of this Calculator
US 2011/0166903 A1
takes into account Technical/Regulatory barriers while pro
cessing and displaying results on “Offshorability”.
[0016] Most prior art tends to focus on “Job Duties” or
“Tasks” or “Geographic cost differentials” and “Computer/
Telephony requirements” which are only a few ofelements in
deciding ajob’s “Offshorability”. PriorArt ignores additional
key elements like “Education requirements for a Job”,
“Annual Salary Levels”, “Department Size”, “Attrition levels
in the profession”, “Training Requirements”, “Intellectual
Property issues”, “Con?dentiality”, “Ramp up or down
requirements”, “Hardware/Industrial environment issues”
and “Seasonal or Project Oriented nature of the job” all of
which come into play in an Offshore Outsourcing decision
and have been addressed and carry relevant weight in the
present embodiment of “Web based Offshorability Probabil
ity Calculator”.
[0017] Although the primary motive ofthese embodiments
ofthe tool is to help “individuals” or “employees” in assess
ing theirjobs, this calculator can also be used as an inexpen
sive alternative by Corporations to decide on what jobs they
could potentially source from an offshore location. In most
cases, they end up spending thousands or millions of dollars
in expensive consulting time to perform such an analysis at
Business Operations level. The tool can also be used to
supplement those ?ndings or help in “preliminary assess
ment” to decide if a detailed operations analysis is necessary.
DRAWINGS
Figures
[0018] FIG. 1 is a ?owchart illustrating User’s access and
high level operation of one embodiment of the calculator.
[0019] FIG. 2 is a ?owchart illustrating steps used in build
ing one embodiment of the calculator using Microsoft
EXCEL and Web enabling it by converting it into another
embodiment of calculator (HTML/JavaScript based).
[0020] FIG. 3 is an illustration ofhow User Input is selected
and Decision weight assignment accomplished using
EXCEL’s Logical and Mathematical functions.
[0021] FIG. 4 is yet another illustration ofinterpreting User
Input and assigning decision weight using EXCEL’s Logical
function.
[0022] FIG. 5 is an illustration of EXCEL Formula with
appropriate EXCEL Sheet and Cell references used to calcu
late SCORE to be Output to users.
[0023] FIG. 6 is an illustration of EXCEL’s Formulas used
to convert SCORE into Offshorability Probability ranges
using EXCEL’s Logical functions.
[0024] FIGS. 7A and 7B depict screens ofone embodiment
ofWeb based Offshorability Calculator available on the inter
net as fully functional working model that can be accessed on
www.OffshoreProof.com.
[0025] FIG. 8 depicts Sheet-l of the Microsoft EXCEL
based embodiment ofCalculator, which is used to intake User
inputs and display results.
[0026] FIG. 9 depicts Sheet-2 of the Microsoft EXCEL
based embodiment ofCalculator, which is used to list all User
Input Parameters, Possible Choices of User Selections and
Distribution and Assignment of Decision weights to each of
these Choices.
Jul. 7, 2011
[0027] FIG. 10 depicts Sheet-3 of the Microsoft EXCEL
based embodiment of Calculator, which houses the Calcula
tion Block.
DETAILED DESCRIPTION OF THE
EMBODIMENTS
[0028] The following description is intended to convey a
thorough understanding of the “Job Analysis Tool” by pro
viding a number of speci?c embodiments and details involv
ing a system andmethod forproviding “Offshorability analy
sis” of an “individual job” in a high-cost geography. It is
understood, however that the invention is not limited to these
speci?c embodiments and details, which are exemplary only.
It is further understood that one possessing ordinary skill in
the art, in light ofknown systems and methods, would appre
ciate the use ofthe tool for its intended purposes and bene?ts
in any number of alternative embodiments, depending upon
speci?c design and other needs.
[0029] FIG. 1 is a ?owchart illustrating User’s access to and
high level operation ofone embodiment ofthe calculator. The
Web enabled embodiment of the tool can be accessed using
any Internet enabled Hardware device 20 such as a Personal
Computer, Laptop, Cellular Phone, Video gaming system
attached to a Television, Wi-Fi enabled Video Game, Tablet
PC etc. The key components ofsuch a system include an Input
device (Keyboard, Mouse, Touch-screen, Game Controllers,
Keypad etc.), an Output Display (Monitor, LCD Panel, Cell
phone display, Television etc.), a Central Processing Unit
(CPU), different types of Memory units (RAM, ROM, Hard
Disc, Removable Media), Controllers and Interface devices,
System Power and Clock Unit and an Operating System
(Windows, Unix, Blackberry OS, iOS etc.).
[0030] In addition to hardware and operating software, the
Web enabled embodiment of “Job Analysis Tool” requires a
Web (Internet) Browser 22 and an intemet connection (wire
less or wired). The usage of HTML/JavaScript based calcu
lator 26 on Internet Browser (Internet Explorer, Chrome etc.)
requires that JavaScript or Active Scripting be “Enabled” in
the Internet Browser. Web enabled embodiment of calculator
may be accessed by visiting www.OffshoreProof.com 24 on
the internet and clicking appropriate links on website to load
the HTML/JavaScript based calculator 26. The tool may also
be made available on other websites in present or different
embodiments.
[0031] User is provided a Drop Down menu of choices to
select their Inputs in step 28 and also provided a RESET
button on top and bottom to RESET all selected inputs to
default values. In step 30, as User selects their answers to each
question, a real time Calculation and Comparison engine
assigns Weights and in step 32 User can see the SCORE and
its Offshorability Probability analysis dynamically change
with each user Input.
[0032] FIG. 2 is a ?owchart illustrating steps used in build
ing one embodiment of the calculator using Microsoft
EXCEL and Web enabling it by converting it into another
embodiment of calculator (HTML/JavaScript based). The
?rst important step 34 in building the tool is selecting the Key
parameters by narrowing down on all available Criteria in?u
encing the “Offshorability” ofany individual’s Job, Career or
Profession. This requires extensive experience in the Off
shore Outsourcing domain and was brought about using
inventor’s decade long work in this ?eld (Fifteen such param
eters have been chosen as User Inputs in present embodi
ments).Yet another domain speci?c step 36 is to break up the
US 2011/0166903 A1
Chosen parameters into Option ranges based on hoW each of
these options in?uence the “Offshoring” decision (Forty One
such User selections have been included in the present
embodiments as User Inputs to Fifteen questions). Yet
another domain speci?c step 38 is to build a “Decision
Matrix” by assigning Weights and Distributing those Weights
among Options chosen. In present embodiments, Higher
Weights have been assigned to Higher Offshorability Prob
ability. FIG. 9 provides a comprehensive listing ofall ?fteen
key parameters, all forty one user selection options, their
Weightage and distribution used in calculating ?nal SCORE.
Step 44 shoWs the inclusion of Decision Matrix in EXCEL
SHEET-2.
[0033] Once the Domain speci?c model has been con
structed (FIG. 9), the next step is to build the calculation
engine. It is presently preferred that the Job analysis tool be
programmed on Microsoft EXCEL Software, Which is Well
knoWn and commercially available, and couldbe doWnloaded
into a PC, Laptop etc., but the embodiments are not limited to
that combination of softWare and hardWare. The Microsoft
EXCEL based embodiment uses three Worksheets as pro
vided in step 40. In this embodiment, Step 42 requires build
ing EXCEL SHEET-1 (FIG. 8) that serves the purpose of a
User Intake FORM and is used to Calculate, Compare and
Display Output (Results) to Users. Step 44 requires inclusion
ofthe Decision Matrix in EXCEL SHEET-2 (FIG. 9). Step 46
requires building a Calculation Block in EXCEL SHEET-3
(FIG. 10) using EXCEL’s Logical and Mathematical Func
tions to process the Output.
[0034] To better understand the detailed programming and
functioning of EXCEL based embodiment ofthis calculator,
an illustration of EXCEL’s Logical and Mathematical Func
tions and Formulae used in the calculator are provided in FIG.
3, FIG. 4, FIG. 5 and FIG. 6.
[0035] FIG. 8 illustrates the EXCEL SHEET-1 that is pro
vided for Users to select their Inputs using a Drop DoWn
menu. Results change dynamically and are Displayed on the
top right hand box in form of SCORE 70 and Offshorability
Probability analysis output box 74 and Whether (or not)
“Technical/Regulatory Barriers can prevent Offshoring” 72
applies.
[0036] In FIG. 8, in question no. six, user is askedi“HoW
much job duties can be performed using Computer/Tele
phone/Internet?” 76 and is presented With folloWing choices
in the Drop DoWn menu 68i“More than 80%”, “SO-80%” or
“Less than 50%”. The Decision Matrix in FIG. 9 carries a
Total Weight 82 of“20” points and a Distribution 84 of“12”,
“7” and “1” corresponding to each user input. As User makes
a selection, Formulae 54 and 56 (illustrated in FIG. 3)
dynamically change values in corresponding cell blocks 86
and provide a total points assignment 88 corresponding to
user selection (Calculation Block (FIG. 10)). These Formulae
use EXCEL’s Logical Function “IF” and Mathematical Func
tion “SUM” to accomplish user selection and points assign
ment.
[0037] In FIG. 8, in another instance, in question no. ten,
user is asked-“Any US Licensing requirements to perform
this Work?” 78 and is presented With folloWing choices in the
Drop DoWn menu 80i“Yes” or “No”. This important ques
tion is designed to check on Whether any Technical/Regula
tory Barrier to Offshoring exists, hence no Weights are
assigned by Decision Matrix (FIG. 9) but by using Formulae
58 and 60 (illustrated in FIG. 4), corresponding cell values 90
and 92 (equal to “1” or “0”) are obtained (Calculation Block
Jul. 7, 2011
(FIG. 10)). Ifuser selection is a “Yes”, the Calculation engine
assigns “0” and gives a negative or Zero output based on
Formula detailed in next step (used to calculate SCORE 70).
[0038] In FIG. 8, the SCORE 70 is calculated using the
Formula 62 (illustrated in FIG. 5). This uses multiple EXCEL
Sheet and Cell References and Mathematical functions to
obtain SCORE 70. Qualitative results are provided to user in
form ofOffshorability ProbabilityAnalysis 74 andTechnical/
Regulatory Barrier Analysis 72 Which are obtained using
Formulae 64 and 66 (illustrated in FIG. 6). So in the present
EXCEL based embodiment ofthis “Job analysis tool”, Users
can select multiple inputs and obtain a SCORE 70 that ranges
betWeen “—1 6 to 42”. Users also get an Offshorability Prob
ability analysis 74 of “LOW”, “HIGH” or “VERY HIGH”.
Users also get results ofthe “Technical/Regulatory Barriers to
Offshoring” test 72.
[0039] Afterbuilding a fully operational Microsoft EXCEL
based embodiment of the Offshorability Calculator, the next
step is to Web enable it so it could be concurrently accessed
and used by multiple users around the World on World Wide
Web (Internet).
[0040] As illustrated in step 48 (in FIG. 2), the EXCEL
based calculator is converted into HTML/JavaScript based
calculatorusing commercially available Spreadsheet Conver
sion Tool (SpreadsheetConverter from Framtidsforum I&M
AB, SWeden). This provides us With a HTML/JavaScript
page With fully functional calculator loaded on it. The next
step 50 is to integrate the HTML/JavaScript code in a Website
Which is accomplished as provided in step 52 by loading the
calculator on WWW.OffshoreProof.com using commercially
available Web development tools and Web hosting services
(provided by GoDaddy.com, Inc.).
[0041] FIGS. 7A and 7B depict actual screens of the Web
enabled embodiment of“Web based Offshorability Probabil
ity Calculator” available on internet as fully functional Work
ing model that can be accessed on WWW.OffshoreProof.com.
It provides the same functionality, look and feel as created in
the Microsoft EXCEL based embodiment ofthe Job analysis
tool With the additional convenience of accessing it from
anyWhere in the World With any number of concurrent users
Wherever the internet is available and With a Wide variety of
hardWare devices 20. User selects Input 68 via a drop doWn
menu of choices and gets Output in form of SCORE 70,
Offshorability Probability analysis 74 and Technical/Regula
tory Barrier analysis 72 as each Input is selected.
[0042] While the above description contains many speci
?cities, these should not be construed as limitations on the
scope of any embodiment, but as exempli?cations ofvarious
embodiments thereof. Many other rami?cations and varia
tions are possible Within the teachings ofthe various embodi
ments. For example:
[0043] Additional Embodiments of this tool can be pro
grammedusing Object Oriented Programming languages like
JAVA, C++ etc. and constructed in a Client-Server model.
Additionally, Client side Scripting could be programmed
usingAJAX, PHP orVBScript as Well.Any other Spreadsheet
softWare may be used in lieu of Microsoft EXCEL.
[0044] Additional Embodiment ofthis tool could be used in
Career Websites to help people make informed career choices
based on Offshorability of a Job/Profession.
[0045] Additional Embodiment of the calculation engine
could be integrated With Job search menu in the leading
US 2011/0166903 A1
Career Websites to enable Job search based on an additional
“Offshorability” Parameter besides Job Location, Experi
ence, Salary, Title etc.
[0046] Additional Embodiment ofthis tool can be incorpo
rated into Corporate Intranets of large Corporations to help
Employees make informed career choices or timely career
moves Within the multi-national corporation, rather than be
surprised by a layoffor doWnsiZing. Corporations could take
additional responsibility to train their employees into roles
that are likely to remain Onshore. Proactive planning can help
reduce a lot of anxiety and stress among employees and lead
to higher Job satisfaction.
[0047] Additional Embodiments of the “calculator” could
be programmed and integrated With an organiZation’s HRMS
or Cost rationaliZation softWare that helps manage resources
globally.
What is claimed:
1. A Web based offshorability probability calculation sys
tem to analyZe an individual’s job comprising of:
a) a calculator that can be accessed on a Web broWser using
an internet enabled hardWare device capable of taking
user inputs, processing, storing and displaying output;
b) a user interface alloWing users to select a plurality of
options depending upon nature of their jobs, as de?ned
in the key criteria;
c) a decision matrix that assigns non linear Weights to each
option the user selects;
d) a calculation engine that is programmed to dynamically
process and display the offshorability results and their
analysis in real time in form of a score, probability and
analysis of any barriers to offshoring.
2. The system of claim 1, Wherein some of key criterion
carrying a Weightage in offshoring decision comprise ofedu
cation requirements for the job, department siZe and salary
range.
3. The system of claim 1, Wherein seasonal nature ofjob
and attrition levels in a profession carry a Weightage in ?nal
score.
4. The system of claim 1, Wherein job duties related crite
rion comprise ofpercentage oftime spent on computer, tele
phone or internet, face to face meeting requirements With
clients or management, and travel requirements ofthe job.
5. The system ofclaim 1, Wherein training requirements to
learn job duties, con?dential data handling, environment
complexity and intellectual property issues carry relevant
Weightage in the ?nal offshorability analysis.
6. The system of claim 1, Wherein calculator is pro
grammed to overrule offshore outsourcing of any job oWing
to technical or regulatory barriers, comprising of security
clearance requirements, federal or state governmentjobs With
offshoring restrictions or any special licensing requirements.
7. The system of claim 1, Wherein a large number of con
current users can simultaneously access the job analysis tool
via internet access on their Web broWsers.
8. The system of claim 1, Wherein HTML and JavaScript
based calculation engine uses active scripting on client side to
dynamically change the offshorability results output With
each user input selection.
9. A spreadsheet basedjob analysis system comprising of:
a) a Microsoft EXCEL based calculator that can be doWn
loaded and accessed on a personal computer or laptop
capable of taking user inputs, processing, storing and
displaying output;
Jul. 7, 2011
b) a user interface alloWing users to select a plurality of
options depending upon nature of their jobs, as de?ned
in the key criteria;
c) a decision matrix that assigns non linear Weights to each
option the user selects;
d) a calculation engine that is programmed to dynamically
process and display the offshorability results and their
analysis in real time in form of a score, probability and
analysis of any barriers to offshoring.
10. The system of claim 9, Wherein some of key criterion
carrying a Weightage in offshoring decision comprise ofedu
cation requirements for the job, department siZe and salary
range.
11. The system of claim 9, Wherein seasonal nature ofjob
and attrition levels in a profession carry a Weightage in ?nal
score.
12. The system of claim 9, Wherein job duties related
criterion comprise of percentage of time spent on computer,
telephone or internet, face to face meeting requirements With
clients or management, and travel requirements of the job.
13. The system of claim 9, Wherein training requirements
to learn job duties, con?dential data handling, environment
complexity and intellectual property issues carry relevant
Weightage in the ?nal offshorability analysis.
14. The system of claim 9, Wherein calculator is pro
grammed to overrule offshore outsourcing of any job oWing
to technical or regulatory barriers, comprising of security
clearance requirements, federal or state governmentjobs With
offshoring restrictions or any special licensing requirements.
15. The system of claim 9, Wherein Users can customiZe
the Microsoft EXCEL based calculator by altering the Deci
sionWeights or adding additional criteria based their needs or
to create additional embodiments of the tool.
16. The system of claim 9, Wherein EXCEL based calcu
lation engine dynamically changes the offshorability results
output With each user input selection.
17. A method for analyZing individual jobs for offshorabil
ity comprising of:
a) selecting key criteria that determine a jobs offshorabil
ity;
b) determining sub-criterion, a plurality ofoptions depend
ing upon nature ofjobs, as de?ned by key criteria;
c) building a decision matrix that assigns non linear
Weights to each option de?ned in the key criteria;
d) scoring and analyZing the scores for offshorability and
existence of any technical or regulatory barrier to off
shoring.
18. The method ofclaim 17, Wherein some ofkey criterion
carrying a Weightage in offshoring decision comprise ofedu
cationrequirements forthejob, department siZe, salary range,
seasonal nature ofjob and attrition levels in a profession
19. The method of claim 17, Wherein job duties related
criterion comprise of percentage of time spent on computer,
telephone or internet, face to face meeting requirements With
clients or management, and travel requirements of the job.
20. The method ofclaim 17, Whereintraining requirements
to learn job duties, con?dential data handling, environment
complexity and intellectual property issues carry relevant
Weightage in the ?nal offshorability analysis.
* * * * *

Us20110166903

  • 1.
    US 20110166903A1 (19) UnitedStates (12) Patent Application Publication (10) Pub. No.: US 2011/0166903 A1 Jolly (43) Pub. Date: Jul. 7, 2011 (54) WEB BASED OFFSHORABILITY (52) U.S. Cl. ..................................................... .. 705/7.22 PROBABILITY CALCULATOR - JOB ANALYSIS TOOL FOR INDIVIDUALS MADE (57) ABSTRACT AVAILABLE ON INTERNET The “Web based Offshorability Probability Calculator” is a _ - system and method that alloWs an individual to determine the (76) Inventor‘ eet smgh Jolly’ San Jose’ CA Probability of theirjob (OR any other job), or role Within an organization getting sourced from an inexpensive offshore (21) APPL NO. 12/983,892 location. An internet based and a Microsoft EXCEL based embodiments of the tool have been detailed in this Patent (22) Filed; Jam 4, 2011 application. Users access the Tool via lntemet using their Web broWser (Internet Explorer or equivalent) to go to WWW.Off Related US, Application Data shoreProofcom or another Website providing access to the _ _ _ _ tool. The user ansWers a set of questions related to their job (60) Prov1s1onal applicatlon No. 61/292,245, ?led on Jan. using a Simple Drop down Menu Based on User Inputs and 5’ 2010' the pre-programmed decision matrix and Weight assignment _ _ _ _ s stem, the calculator ives an out ut on the “Offshorabili Pubhcatlon Classl?catlon Plrobability” of the jolig along Witli) a score and an analysis (51) Int, Cl, Whether any technical or regulatory barrier could prevent G06Q 10/00 (2006.01) OffShOring Access Internet on a Computer, Mobile or other device (with a CPU, I/O, Memory, 05, Internet) Web (Internet) Browser (Internet Explorer, Chrome etc.) fZZ Go to www.OffshoreProof.com or any 24 other Website that provides access to f Offshorability Probability Calculator JavaScript/HTML based Offshorability Probability Calculator (Job Analysis Tool) loads f26 User selects INPUTS using a Drop Down Menu of Choices. User can RESET the Calculator anytime f28 Real Time Calculation and Comparison 0 Engine assigns Weights f3 User gets OUTPUT via a dynamically changing SCORE and PROBABILITY with each INPUT selected faz
  • 2.
    Patent Application PublicationJul. 7, 2011 Sheet 1 0f 7 US 2011/0166903 A1 Access Internet on a Computer, Mobile or other device (with a CPU, fZO I/O, Memory, 05, Internet) Web (Internet) Browser fzz (Internet Explorer, Chrome etc.) Go to www.OffshoreProof.com or any 24 other Website that provides access to f Offshorability Probability Calculator JavaScript/HTML based Offshorability Probability Calculator fzs (Job Analysis Tool) loads User selects INPUTS using a Drop Down Menu of Choices. User can f28 RESET the Calculator anytime Real Time Calculation and Comparison 0 Engine assigns Weights f3 User gets OUTPUT via a dynamically f32 changing SCORE and PROBABILITY with each INPUT selected Fig. 1
  • 3.
    Patent Application PublicationJul. 7, 2011 Sheet 2 0f 7 US 2011/0166903 A1 Define Key criteria influencing the "Offshorability" of any Job, Career or Profession. 34 Break these into Option ranges based on how each of these option influences the "Offshoring" decision. 36 Build a Decision Matrix - Assign Weights & Distribute those Weights among Options chosen. (Higher Weights for Higher Probability). 38 V Build a Microsoft EXCEL based Calculator using 3 Worksheets. i7 EXCEL SHEET-1 - Build an EXCEL based FORM to intake User INPUTS and Calculate, Compare and Display OUTPUT in form of a SCORE and PROBABILITY. 42 i7 EXCEL SHEET-2 - Build the Decision Matrix that lists all Options with their Weights and Distribution to be used in calculating OUTPUT. 44 i7 EXCEL SHEET-3 - Build the Calculation Block using EXCEL's Logical Functions, Comparison and Calculation features to obtain the Final SCORE (Displayed on SHEET-1). 46 Convert the MS EXCEL based Calculator into a JavaScript/HTML based Calculator using commercially available Spreadsheet Conversion Tools. 48 V Load the HTML/JavaScript based Calculator on any Website by simply integrating the HTML, JavaScript code. 50 Present Embodiment of this calculator (available on www.OffshoreProof.com) uses Commercially available Web Development Tools and Web Hosting services. 52 40 Fig. 2
  • 4.
    Patent Application PublicationJul. 7, 2011 Sheet 3 0f 7 US 2011/0166903 A1 =|F(Sheet1!D17="More than 80%“, 12,0) I54 =|F(Sheet1!D17=“Less than 50%“, 1,0) Fig. 3 [58 Fig. 4 Fig. 5 f64 V " " ")=|F(G6<0, "Technical/Regulatory Barriers can prevent Offshoring , Fig. 6 66
  • 5.
    Patent Application PublicationJul. 7, 2011 Sheet 4 0f 7 US 2011/0166903 A1 Please Salem Education iequiremems 10: me job.’ Wish Echo->1 Rama up 1 Emmy: llown (Willie-ll iSeas-cnal 0r ilrojcu ins-i5}? ?ariu'vn Lewis in this Malawi/2n.v Howmuch i351 dudes can be Eerionned Ming €ompu<einelealwbeilmeme? was mg m, Hamlin; Heqhan! have! [Teal Bade 68Fig. 7A my may ‘,cols' @w :>r the job? ob function? uemw. ‘ ess 0 5 Score Range Negative to 42 than 20 0 50 Fig. 7B
  • 6.
    Patent Application PublicationJul. 7, 2011 Sheet 5 0f 7 US 2011/0166903 A1 ?ffshamwanfmnm ?xcel Swat - 1 .i- ' 1 Education requiremema fer the job? High 33mm; 2 USS :“a‘alary hand (per annum}? 59K . 'maK 3 Bepanmem s'me é‘m' tins Jot: bastion’! 2:3 . 5Q Rams; up / Ramp down required 4 (Seasanal or F‘z'og'a? basis}? s50 A?rition Levels in this pmfas-siom Highin .»-~' Maw much gab duties can be performed ‘76 »~” 5;; using Compuier?eiegxhoneliniemet? L955 the“; 59% Doe-:- the fab require Frequent Travel {:0 meat clients‘ vendors; trade shows)? 350 Face to Face Meetings Required with Executive Management {VP and aha-v23 in cmnpany a! with Clients for z'eiaiionship :3 management. More than 5% ‘:Eme Training Requimments - Can the fab be 9 team! in_ 3 ‘ 6 msmths Bees the fob White buiiaiing or mfiqxpimng’imeliectual Property of 88 —“" 3T ?ampany? N0 Boas tha fab require dealing with 1.2 Sensitive and Highiy Canfider-tizi Dam? N“ No Daes the fab need to he (kme in sa?wareihardwareiindusi'riai environment which is vary expenswe or impussibte to 15 replicate in a rsmo?a k‘catkm? ?e
  • 7.
    Patent Application PublicationJul. 7, 2011 Sheet 6 0f 7 US 2011/0166903 A1 ‘31> S ry band (per znrumi 8 :osx man 15:; 1(- 1 25K » 50K 2 50K - 139K 4 ‘iDOK+ 2 3 Gspao‘zneni ska far this Job final/Son {2 ms‘: than 2 K- 2 '40 ‘ 36 t 5H ~ $80 7 1 G8 >- 5:99 3 568+ 3 4 Ramp up I Ramp down raquiraé (Emma: or Prqieai basis; :- YQQ 5 i .‘x'o 4 ,6 .‘iow much jaw 611362 was be performed GSREQ Computerffeéaphone?msrnst F M ‘a man 38% ____>____ 7/’ am ‘ '1‘ 5" Less man so";- i “M ea 7 Does job :aquim Trsva? R9 meal aFlenlsw mndors, trade skews‘; G Yea 5 5 No I. 8 Face to he: f?zet'mgz‘l quimd wi?: Exaculive Management (VP and above; r: karts {hem S‘E- time a In comgsny or viih Cl, 7 .s for rem: nsniu managsmem Ma": ihar. 67.; 4 me i [1 YminFng Requkem?te - Cam thejob be loam: in. l Less than 1 mm?! {C- 4 2 - 3 manila", 3 3 a 6 months 2 561m: than (2 morkhs 1 '39 my us Licvrnslng, mwizmmms m gzeyfmm mas mew J 11 9025 {ha ;ub wqu'oe b?idiug or mainminiog kzballectuzd Pmuedy of Gumpany'? K we; 1(- 3 Pm 7 ‘$2 Does the job requlrs dealing with Sensitive am!’ Highly Con?deniiai Bah” L Yea 5O 3 No 7 ‘ a Fadem: m‘ State Govemmem 303'.’ M ‘fat, 4'! NO :4 Does the job reauire Security Clearsme or has U5 citizenship requirements? N Yes 0 N1: ' "02a 8w ;ab word {0 he done :0 sum:re?ux-iwamfindusuial anviranmanl which 0 ves S 1 is very expensive a: impassibla to repticate I‘! a remote locaiisq’? ?n 4 Fig, Q
  • 8.
    Patent Application PublicationJul. 7, 2011 Sheet 7 0f 7 US 2011/0166903 A1
  • 9.
    US 2011/0166903 A1 WEBBASED OFFSHORABILITY PROBABILITY CALCULATOR - JOB ANALYSIS TOOL FOR INDIVIDUALS MADE AVAILABLE ON INTERNET CROSS-REFERENCE TO RELATED APPLICATIONS [0001] This application claims the bene?t of Provisional Patent Application Ser. No. 61/292,245 ?led Jan. 5, 2010 by the present inventor, Which is incorporated by reference. BACKGROUND Prior Art [0002] The following is a tabulation of some prior art that presently appears relevant: U.S. Patent Application Publications Publication No. Pub. Date Applicant US 2008/0086354 A1 Apr. 10, 2008 Nagar US 2008/00593 87 A1 Mar. 6, 2008 Vaidhyanathan et al. US 2007/0162321A1 Jul. 12, 2007 Behrrnann et al. US 2007/0033060 A1 Feb. 8, 2007 Gopalan et al. US 2006/0004596 A1 Jan. 5, 2006 Caniglia et al. [0003] Unless technical or regulatory barriers prevent doing so, in a truly global World, products and services are sourced from cheapest location in the World. Multinational corporations have been consistently doWnsiZing staff from High Cost Geographies like USA, UK, Japan and moving Jobs to LoW cost offshore locations like India, China, and Philippines thereby alloWing them to create emerging mar kets for their Products and increase Pro?ts for their corpora tions. [0004] Companies have traditionally used expensive Con sultants or Business Process Specialists charging anyWhere from a feW thousand to a feW million dollars to carry out “Operational Analysis” to determine Which Operations or Jobs they could move Offshore, and to Which inexpensive geographies they could move them to. [0005] “Offshorability” ofa Job, Career, Profession, Busi ness Process or Operation could be de?ned as the Probability that it could be sourced from an inexpensive “Offshore” loca tion. [0006] In the last decade, While Working With several Off shore Outsourcing Firms and numerous Fortune 1000 Cor porations, l’ve come across a lot ofliterature, tools and meth odologies, dos and don’ts of outsourcing. Most Outsourcing Firms have proprietary methodologies to gather Client busi ness process information and suggest Business Process Re engineering to reduce costs by moving Work offshore. Most of them end up sending their specialists to client sites for months to gather “AS-IS” Business Processes and then ana lyZe and recommend “TO-BE” Processes With cost reduction achieved by Offshoring and Process Optimization. [0007] There is hardly any standardiZation in this kind of analysis and methods & tools deployed vary from client to client and from one business process to another, and With consulting ?rms. A lot of Trial and Error goes into this With months of knoWledge transfer and parallel run betWeen the Jul. 7, 2011 old (onsite) teams andneW (offshore) teams, including the sad side of outsourcingitraining your replacement. [0008] Most of the Prior art referenced above focuses on Business Process Outsourcing, i.e. trying to document and claim a method and system for optimiZing operational costs. They attempt to complement, supplement or claim something Which has been going on for over tWo decades (offshore outsourcing) in one form or another and most large corpora tions have had ?rst-hand experience in, Whether it Was getting a tWenty people team in India Work on a softWare project or a large thousand agent call center outsourced to Philippines. None of these Patents seem to have been granted yet. [0009] Additionally, most Prior art tends to analyZe any business operation as a Whole focusing on “Tasks”, grouping certain tasks together to ship to loW cost locations, eliminat ing jobs in high cost geographies to achieve loWer total cost for organiZation and moving certain “tasks” to the team that remains Onsite and still employed With the organiZation. [0010] While cost reduction for corporation remains the goal, most prior art ignores the “People” element. Employees often get a huge surprise When their companies announce a “layoff” or “doWnsiZing” and move entire departments or portions ofjobs to offshore locations to save money. [0011] The “Web Based Offshorability Probability Calcu lator” (also referred to as “Job analysis tool” is designed to help remove a lot of Anxiety in Employees and empoWer them With the knoWledge and decision making that company managements apply. The tool can also help in Career Plan ning for current and future career aspirants . . . they can decide to pick a profession or job that is “Offshore Proof’ than to regret later. [0012] Currently, No similar “Calculator” is available on internet that can help the individuals assess Whethertheir Jobs can be done remotely from an inexpensive offshore location OR iftheir profession can have Wage stagnation due to com petition from offshore employees. Simple access to this “Off shorability Probability Calculator” (also referred to as “Job Analysis Tool”) can help users in “self assessment” of their jobs and can help them make “informed” career choices. [0013] Another embodiment of this calculator could be used in Career Websites to help Job search using an additional parameter of “Offshorability” (besides job location, salary, title, employer, duties etc). No commercial Job search Web site has enabled job search based on this (Offshorability) parameter and have not yet considered including this sensi tive but important subject in their Career Advice sections. [0014] Additionally, most Prior art focuses on claiming a process or method, but there is no precise attempt to build or claim a “Software Tool” or “Calculation Engine” that cantake simple inputs, process them and giveresults in form ofsimple outputs. The present embodiment of “Job Analysis Tool” addresses this by making available this tool (calculator) on the internet, to the Whole World (On Website OffshoreProof. com). Detailed steps on building this tool in Microsoft EXCEL and HTML/JavaScript embodiments have been explained in this Patent application. [0015] While most prior art focuses on Business Process level optimization and Cost reduction, some routinely ignore the “Technical or Regulatory Barriers to Offshore Outsourc ing”. What if a Procurement Process passes all the tests of “Offshorability” but it is housed in a Federal Government department (Withrestrictions to shippingjobs offshore) orhas Security Clearance requirements or Special Licensing requirements? The present embodiment of this Calculator
  • 10.
    US 2011/0166903 A1 takesinto account Technical/Regulatory barriers while pro cessing and displaying results on “Offshorability”. [0016] Most prior art tends to focus on “Job Duties” or “Tasks” or “Geographic cost differentials” and “Computer/ Telephony requirements” which are only a few ofelements in deciding ajob’s “Offshorability”. PriorArt ignores additional key elements like “Education requirements for a Job”, “Annual Salary Levels”, “Department Size”, “Attrition levels in the profession”, “Training Requirements”, “Intellectual Property issues”, “Con?dentiality”, “Ramp up or down requirements”, “Hardware/Industrial environment issues” and “Seasonal or Project Oriented nature of the job” all of which come into play in an Offshore Outsourcing decision and have been addressed and carry relevant weight in the present embodiment of “Web based Offshorability Probabil ity Calculator”. [0017] Although the primary motive ofthese embodiments ofthe tool is to help “individuals” or “employees” in assess ing theirjobs, this calculator can also be used as an inexpen sive alternative by Corporations to decide on what jobs they could potentially source from an offshore location. In most cases, they end up spending thousands or millions of dollars in expensive consulting time to perform such an analysis at Business Operations level. The tool can also be used to supplement those ?ndings or help in “preliminary assess ment” to decide if a detailed operations analysis is necessary. DRAWINGS Figures [0018] FIG. 1 is a ?owchart illustrating User’s access and high level operation of one embodiment of the calculator. [0019] FIG. 2 is a ?owchart illustrating steps used in build ing one embodiment of the calculator using Microsoft EXCEL and Web enabling it by converting it into another embodiment of calculator (HTML/JavaScript based). [0020] FIG. 3 is an illustration ofhow User Input is selected and Decision weight assignment accomplished using EXCEL’s Logical and Mathematical functions. [0021] FIG. 4 is yet another illustration ofinterpreting User Input and assigning decision weight using EXCEL’s Logical function. [0022] FIG. 5 is an illustration of EXCEL Formula with appropriate EXCEL Sheet and Cell references used to calcu late SCORE to be Output to users. [0023] FIG. 6 is an illustration of EXCEL’s Formulas used to convert SCORE into Offshorability Probability ranges using EXCEL’s Logical functions. [0024] FIGS. 7A and 7B depict screens ofone embodiment ofWeb based Offshorability Calculator available on the inter net as fully functional working model that can be accessed on www.OffshoreProof.com. [0025] FIG. 8 depicts Sheet-l of the Microsoft EXCEL based embodiment ofCalculator, which is used to intake User inputs and display results. [0026] FIG. 9 depicts Sheet-2 of the Microsoft EXCEL based embodiment ofCalculator, which is used to list all User Input Parameters, Possible Choices of User Selections and Distribution and Assignment of Decision weights to each of these Choices. Jul. 7, 2011 [0027] FIG. 10 depicts Sheet-3 of the Microsoft EXCEL based embodiment of Calculator, which houses the Calcula tion Block. DETAILED DESCRIPTION OF THE EMBODIMENTS [0028] The following description is intended to convey a thorough understanding of the “Job Analysis Tool” by pro viding a number of speci?c embodiments and details involv ing a system andmethod forproviding “Offshorability analy sis” of an “individual job” in a high-cost geography. It is understood, however that the invention is not limited to these speci?c embodiments and details, which are exemplary only. It is further understood that one possessing ordinary skill in the art, in light ofknown systems and methods, would appre ciate the use ofthe tool for its intended purposes and bene?ts in any number of alternative embodiments, depending upon speci?c design and other needs. [0029] FIG. 1 is a ?owchart illustrating User’s access to and high level operation ofone embodiment ofthe calculator. The Web enabled embodiment of the tool can be accessed using any Internet enabled Hardware device 20 such as a Personal Computer, Laptop, Cellular Phone, Video gaming system attached to a Television, Wi-Fi enabled Video Game, Tablet PC etc. The key components ofsuch a system include an Input device (Keyboard, Mouse, Touch-screen, Game Controllers, Keypad etc.), an Output Display (Monitor, LCD Panel, Cell phone display, Television etc.), a Central Processing Unit (CPU), different types of Memory units (RAM, ROM, Hard Disc, Removable Media), Controllers and Interface devices, System Power and Clock Unit and an Operating System (Windows, Unix, Blackberry OS, iOS etc.). [0030] In addition to hardware and operating software, the Web enabled embodiment of “Job Analysis Tool” requires a Web (Internet) Browser 22 and an intemet connection (wire less or wired). The usage of HTML/JavaScript based calcu lator 26 on Internet Browser (Internet Explorer, Chrome etc.) requires that JavaScript or Active Scripting be “Enabled” in the Internet Browser. Web enabled embodiment of calculator may be accessed by visiting www.OffshoreProof.com 24 on the internet and clicking appropriate links on website to load the HTML/JavaScript based calculator 26. The tool may also be made available on other websites in present or different embodiments. [0031] User is provided a Drop Down menu of choices to select their Inputs in step 28 and also provided a RESET button on top and bottom to RESET all selected inputs to default values. In step 30, as User selects their answers to each question, a real time Calculation and Comparison engine assigns Weights and in step 32 User can see the SCORE and its Offshorability Probability analysis dynamically change with each user Input. [0032] FIG. 2 is a ?owchart illustrating steps used in build ing one embodiment of the calculator using Microsoft EXCEL and Web enabling it by converting it into another embodiment of calculator (HTML/JavaScript based). The ?rst important step 34 in building the tool is selecting the Key parameters by narrowing down on all available Criteria in?u encing the “Offshorability” ofany individual’s Job, Career or Profession. This requires extensive experience in the Off shore Outsourcing domain and was brought about using inventor’s decade long work in this ?eld (Fifteen such param eters have been chosen as User Inputs in present embodi ments).Yet another domain speci?c step 36 is to break up the
  • 11.
    US 2011/0166903 A1 Chosenparameters into Option ranges based on hoW each of these options in?uence the “Offshoring” decision (Forty One such User selections have been included in the present embodiments as User Inputs to Fifteen questions). Yet another domain speci?c step 38 is to build a “Decision Matrix” by assigning Weights and Distributing those Weights among Options chosen. In present embodiments, Higher Weights have been assigned to Higher Offshorability Prob ability. FIG. 9 provides a comprehensive listing ofall ?fteen key parameters, all forty one user selection options, their Weightage and distribution used in calculating ?nal SCORE. Step 44 shoWs the inclusion of Decision Matrix in EXCEL SHEET-2. [0033] Once the Domain speci?c model has been con structed (FIG. 9), the next step is to build the calculation engine. It is presently preferred that the Job analysis tool be programmed on Microsoft EXCEL Software, Which is Well knoWn and commercially available, and couldbe doWnloaded into a PC, Laptop etc., but the embodiments are not limited to that combination of softWare and hardWare. The Microsoft EXCEL based embodiment uses three Worksheets as pro vided in step 40. In this embodiment, Step 42 requires build ing EXCEL SHEET-1 (FIG. 8) that serves the purpose of a User Intake FORM and is used to Calculate, Compare and Display Output (Results) to Users. Step 44 requires inclusion ofthe Decision Matrix in EXCEL SHEET-2 (FIG. 9). Step 46 requires building a Calculation Block in EXCEL SHEET-3 (FIG. 10) using EXCEL’s Logical and Mathematical Func tions to process the Output. [0034] To better understand the detailed programming and functioning of EXCEL based embodiment ofthis calculator, an illustration of EXCEL’s Logical and Mathematical Func tions and Formulae used in the calculator are provided in FIG. 3, FIG. 4, FIG. 5 and FIG. 6. [0035] FIG. 8 illustrates the EXCEL SHEET-1 that is pro vided for Users to select their Inputs using a Drop DoWn menu. Results change dynamically and are Displayed on the top right hand box in form of SCORE 70 and Offshorability Probability analysis output box 74 and Whether (or not) “Technical/Regulatory Barriers can prevent Offshoring” 72 applies. [0036] In FIG. 8, in question no. six, user is askedi“HoW much job duties can be performed using Computer/Tele phone/Internet?” 76 and is presented With folloWing choices in the Drop DoWn menu 68i“More than 80%”, “SO-80%” or “Less than 50%”. The Decision Matrix in FIG. 9 carries a Total Weight 82 of“20” points and a Distribution 84 of“12”, “7” and “1” corresponding to each user input. As User makes a selection, Formulae 54 and 56 (illustrated in FIG. 3) dynamically change values in corresponding cell blocks 86 and provide a total points assignment 88 corresponding to user selection (Calculation Block (FIG. 10)). These Formulae use EXCEL’s Logical Function “IF” and Mathematical Func tion “SUM” to accomplish user selection and points assign ment. [0037] In FIG. 8, in another instance, in question no. ten, user is asked-“Any US Licensing requirements to perform this Work?” 78 and is presented With folloWing choices in the Drop DoWn menu 80i“Yes” or “No”. This important ques tion is designed to check on Whether any Technical/Regula tory Barrier to Offshoring exists, hence no Weights are assigned by Decision Matrix (FIG. 9) but by using Formulae 58 and 60 (illustrated in FIG. 4), corresponding cell values 90 and 92 (equal to “1” or “0”) are obtained (Calculation Block Jul. 7, 2011 (FIG. 10)). Ifuser selection is a “Yes”, the Calculation engine assigns “0” and gives a negative or Zero output based on Formula detailed in next step (used to calculate SCORE 70). [0038] In FIG. 8, the SCORE 70 is calculated using the Formula 62 (illustrated in FIG. 5). This uses multiple EXCEL Sheet and Cell References and Mathematical functions to obtain SCORE 70. Qualitative results are provided to user in form ofOffshorability ProbabilityAnalysis 74 andTechnical/ Regulatory Barrier Analysis 72 Which are obtained using Formulae 64 and 66 (illustrated in FIG. 6). So in the present EXCEL based embodiment ofthis “Job analysis tool”, Users can select multiple inputs and obtain a SCORE 70 that ranges betWeen “—1 6 to 42”. Users also get an Offshorability Prob ability analysis 74 of “LOW”, “HIGH” or “VERY HIGH”. Users also get results ofthe “Technical/Regulatory Barriers to Offshoring” test 72. [0039] Afterbuilding a fully operational Microsoft EXCEL based embodiment of the Offshorability Calculator, the next step is to Web enable it so it could be concurrently accessed and used by multiple users around the World on World Wide Web (Internet). [0040] As illustrated in step 48 (in FIG. 2), the EXCEL based calculator is converted into HTML/JavaScript based calculatorusing commercially available Spreadsheet Conver sion Tool (SpreadsheetConverter from Framtidsforum I&M AB, SWeden). This provides us With a HTML/JavaScript page With fully functional calculator loaded on it. The next step 50 is to integrate the HTML/JavaScript code in a Website Which is accomplished as provided in step 52 by loading the calculator on WWW.OffshoreProof.com using commercially available Web development tools and Web hosting services (provided by GoDaddy.com, Inc.). [0041] FIGS. 7A and 7B depict actual screens of the Web enabled embodiment of“Web based Offshorability Probabil ity Calculator” available on internet as fully functional Work ing model that can be accessed on WWW.OffshoreProof.com. It provides the same functionality, look and feel as created in the Microsoft EXCEL based embodiment ofthe Job analysis tool With the additional convenience of accessing it from anyWhere in the World With any number of concurrent users Wherever the internet is available and With a Wide variety of hardWare devices 20. User selects Input 68 via a drop doWn menu of choices and gets Output in form of SCORE 70, Offshorability Probability analysis 74 and Technical/Regula tory Barrier analysis 72 as each Input is selected. [0042] While the above description contains many speci ?cities, these should not be construed as limitations on the scope of any embodiment, but as exempli?cations ofvarious embodiments thereof. Many other rami?cations and varia tions are possible Within the teachings ofthe various embodi ments. For example: [0043] Additional Embodiments of this tool can be pro grammedusing Object Oriented Programming languages like JAVA, C++ etc. and constructed in a Client-Server model. Additionally, Client side Scripting could be programmed usingAJAX, PHP orVBScript as Well.Any other Spreadsheet softWare may be used in lieu of Microsoft EXCEL. [0044] Additional Embodiment ofthis tool could be used in Career Websites to help people make informed career choices based on Offshorability of a Job/Profession. [0045] Additional Embodiment of the calculation engine could be integrated With Job search menu in the leading
  • 12.
    US 2011/0166903 A1 CareerWebsites to enable Job search based on an additional “Offshorability” Parameter besides Job Location, Experi ence, Salary, Title etc. [0046] Additional Embodiment ofthis tool can be incorpo rated into Corporate Intranets of large Corporations to help Employees make informed career choices or timely career moves Within the multi-national corporation, rather than be surprised by a layoffor doWnsiZing. Corporations could take additional responsibility to train their employees into roles that are likely to remain Onshore. Proactive planning can help reduce a lot of anxiety and stress among employees and lead to higher Job satisfaction. [0047] Additional Embodiments of the “calculator” could be programmed and integrated With an organiZation’s HRMS or Cost rationaliZation softWare that helps manage resources globally. What is claimed: 1. A Web based offshorability probability calculation sys tem to analyZe an individual’s job comprising of: a) a calculator that can be accessed on a Web broWser using an internet enabled hardWare device capable of taking user inputs, processing, storing and displaying output; b) a user interface alloWing users to select a plurality of options depending upon nature of their jobs, as de?ned in the key criteria; c) a decision matrix that assigns non linear Weights to each option the user selects; d) a calculation engine that is programmed to dynamically process and display the offshorability results and their analysis in real time in form of a score, probability and analysis of any barriers to offshoring. 2. The system of claim 1, Wherein some of key criterion carrying a Weightage in offshoring decision comprise ofedu cation requirements for the job, department siZe and salary range. 3. The system of claim 1, Wherein seasonal nature ofjob and attrition levels in a profession carry a Weightage in ?nal score. 4. The system of claim 1, Wherein job duties related crite rion comprise ofpercentage oftime spent on computer, tele phone or internet, face to face meeting requirements With clients or management, and travel requirements ofthe job. 5. The system ofclaim 1, Wherein training requirements to learn job duties, con?dential data handling, environment complexity and intellectual property issues carry relevant Weightage in the ?nal offshorability analysis. 6. The system of claim 1, Wherein calculator is pro grammed to overrule offshore outsourcing of any job oWing to technical or regulatory barriers, comprising of security clearance requirements, federal or state governmentjobs With offshoring restrictions or any special licensing requirements. 7. The system of claim 1, Wherein a large number of con current users can simultaneously access the job analysis tool via internet access on their Web broWsers. 8. The system of claim 1, Wherein HTML and JavaScript based calculation engine uses active scripting on client side to dynamically change the offshorability results output With each user input selection. 9. A spreadsheet basedjob analysis system comprising of: a) a Microsoft EXCEL based calculator that can be doWn loaded and accessed on a personal computer or laptop capable of taking user inputs, processing, storing and displaying output; Jul. 7, 2011 b) a user interface alloWing users to select a plurality of options depending upon nature of their jobs, as de?ned in the key criteria; c) a decision matrix that assigns non linear Weights to each option the user selects; d) a calculation engine that is programmed to dynamically process and display the offshorability results and their analysis in real time in form of a score, probability and analysis of any barriers to offshoring. 10. The system of claim 9, Wherein some of key criterion carrying a Weightage in offshoring decision comprise ofedu cation requirements for the job, department siZe and salary range. 11. The system of claim 9, Wherein seasonal nature ofjob and attrition levels in a profession carry a Weightage in ?nal score. 12. The system of claim 9, Wherein job duties related criterion comprise of percentage of time spent on computer, telephone or internet, face to face meeting requirements With clients or management, and travel requirements of the job. 13. The system of claim 9, Wherein training requirements to learn job duties, con?dential data handling, environment complexity and intellectual property issues carry relevant Weightage in the ?nal offshorability analysis. 14. The system of claim 9, Wherein calculator is pro grammed to overrule offshore outsourcing of any job oWing to technical or regulatory barriers, comprising of security clearance requirements, federal or state governmentjobs With offshoring restrictions or any special licensing requirements. 15. The system of claim 9, Wherein Users can customiZe the Microsoft EXCEL based calculator by altering the Deci sionWeights or adding additional criteria based their needs or to create additional embodiments of the tool. 16. The system of claim 9, Wherein EXCEL based calcu lation engine dynamically changes the offshorability results output With each user input selection. 17. A method for analyZing individual jobs for offshorabil ity comprising of: a) selecting key criteria that determine a jobs offshorabil ity; b) determining sub-criterion, a plurality ofoptions depend ing upon nature ofjobs, as de?ned by key criteria; c) building a decision matrix that assigns non linear Weights to each option de?ned in the key criteria; d) scoring and analyZing the scores for offshorability and existence of any technical or regulatory barrier to off shoring. 18. The method ofclaim 17, Wherein some ofkey criterion carrying a Weightage in offshoring decision comprise ofedu cationrequirements forthejob, department siZe, salary range, seasonal nature ofjob and attrition levels in a profession 19. The method of claim 17, Wherein job duties related criterion comprise of percentage of time spent on computer, telephone or internet, face to face meeting requirements With clients or management, and travel requirements of the job. 20. The method ofclaim 17, Whereintraining requirements to learn job duties, con?dential data handling, environment complexity and intellectual property issues carry relevant Weightage in the ?nal offshorability analysis. * * * * *