Embed presentation
Download to read offline

















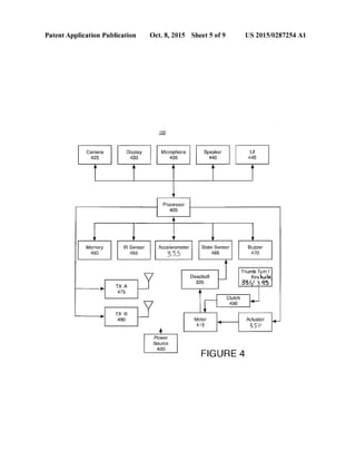
Electronic locking devices, systems, and methods may employ an accelerometer to detect an acceleration associated with displacement of a portion of an electronic locking device, for example, displacement of a housing that includes a display of the electronic locking device. Responsive to such an acceleration being detected, a message is transmitted to a device remote from the locking device. The message may include a photograph and or audio signal. Concurrently with the transmission of the message, a greeting may be played and/or displayed.
















