!
" #
" " " "
!
" #
"$ "
%& !
" ' ( " ) (*"*"* +
!
" # $
$
" , -" ." ) /
% $ &
$ $ &
" $ ! &
' &
( ! )
" 0 ( ("$ " " ) 1
" $ *
" + , *
" " $ + ! -
" ! $ ! -
" + - ( ) ( ( ( '2
$ !
.
/01 203 4 /5
564 20 7 / /080 09 203 : 60 5
" +
" 3 " ." ) ( ( ',
( $ + ! % ! $
( $
( 60 203 5/ ;<0/0 5/ 205 5/ 25 / =0205>
( =0/03 5/ ;<0/0 5/ 205 5/ 25 / =0205>
( " 56< 02 203 25 5/ 2 0 /> "
( " # "
( $ "
( $ 52 /5 2564 / "
( ?5 6 203 2564 / "
( " 0?02 203 4 5 <2 5/ 2564 5/
( ( $ $ !
( ( 5 5 / 54 205 /
( ( 0 203 5/ 4 52 /5/ (
( ( " 0?02 203 : 9 80 0 (
( ( 0 / 2 0 (
( & , $ (
! "
" #
"$ "
%& !
" / ) 4 " ( ( 5 6 " '7
& )
& ! )
& 0/? 2203 2 0 )
& < 0 5 0 0 )
& " 0203 : / 1<060 5 5/ 4 52 /5/ *
& 0203 : / 1<060 5 / =0205 *
& " $ + -
& @ -
& (
& ( A5 25 0 <
& ( 2205 / 25 2 0= / : 4 = 0= /
& ( " $ 54< / / 6 A5
" 7 ( " " " ) ,'
) !
)
) "
)
" 8 9 2' ,0
" 8 9 2, ,+
!
" #
" '
( " ) (*"*"*
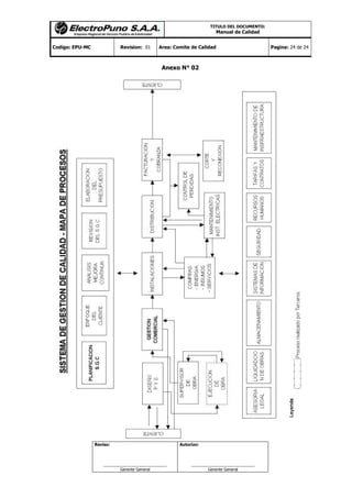
'*' $6 : 5 " "
4 / 6 < / 8 2 5/ ;<0/0 5/ 0/ 6 / 03 0
2 5 $< 5
/ / < 52<6 5 0/ 6 0 7 ;< 4 545 205 5/ 0 60 5/
;< / 8 / 1<0 4 064 6 ? 2 0= 6 $5 B 02 0
2 5 $< 5 7 /<60 0/ 5 / =0205 1B C2 02 ;< / 1<
2564 / 0/? 2203 < / 5/ 2 0 /
/ 6 < D /0 5 85 5 4 0 204 6 4 </5 0 5 4 /5
2 5 $< 5 /0 68 15 2< 5 20 5 60 7 45 E
/ < 0 09 5 4 ?0 / F 5/ 2565 4< / 2 0 / : 2 / 4 /7
80 5 C/ 5/ 2 4 / 25 0205 / 2D5 < 5
0203 : 25 5 4 / < 0 / /45 / 80 0
20 2 5 $< 5
'*, " " ( ( " - ( ) " "
0/ 6 / 03 0 2 5 $< 5 8 2 5/ 4 52 /5/
/520 5/ 0/ 08<203 : 256 20 09 203 1B C2 02 /
20< / $< 5 : < 0 2
'*0 ( ;" " ("
2 5 $< 5 7 / < 64 / 5 2 /05 0 0/ 08<203 1B
C2 02 4 6 5 $< 57 2 45 /20/03 8 5;< 4 065 0
2 5 < / G 20 <8 105 $< 57 4 58 6 0 2< 5
54 5 < 2205 0/ / / H 06 64 / ? 2D -
A< 05 ---7 0 /2 0 ?020 10/ 105 5/C 5/ 0E 1<0 I
?020 $< 57 B * 52 <8 --- 565 J ) 7 /0 5 J ) :
+02D J &)7 0 020 5 /</ 54 205 / 5=0 68 ---
! (
" #
'*+ " " "
$5 B 02 0 2 5 $< 5 / 2 203 /2 0
2564 560/5 0 2 5 05 : 20 ;< / 256< 02 5
5 1 09 203 ;< / 0 20/03 6 /?< 95 4 2 9
/ 0/? 2203 2 0 : 2<64 060 5 5/ ;<0/0 5/7 ;< /5 4 05 0
/ 5 5 / 2 0=0 / 54 0= / : 60 0/ 0= / 45 B 02 2 0
/ E 256< 02 6 ;< / 1< /< 060 5 5 5/ 5/ 0= /
5 1 09 203 7 25 ?0 ;< / 2 0=0 / / 02 / 6 25
? 20
< 4 (" ( $ " 5
" ." " -=" > " " - )
4 ( " -" " ." " ( (
( ( ( -=" > "
" " 4 ? "$ " 5 " @ 6 "
" ( ( : A
! &
" #
" ,
-" ." )
,*'* ( " -" ." " (*"*"*
5 1 09 203 2 5 $< 5 / / 8 2 ?5 6 1 E?02
5 1 01 6 65/ 5 F5 5 1 01 6 / 4 / /
?< 205 /7 0 205 / :K5 B / 45 5/ 0? / 4< / 5/
4 /5
0 2 5 05 2 5 $< 5 / /45 / 8 4 58 57 /B 2565
=0/ : 4 58 / 65 0?02 205 / C
,*,* ( ("$ " 5 " " ( "
2 5 $< 5 D ?0 0 5 / /45 / 80 0 / : < 5 0 4 /5
5 5 1 09 203 : / D 52<6 5 $ G$ G (G <
1 09 203 : +< 205 / : 5/ 52<6 5/ 0/ 6 / 03 0
5/ / : ? / @ /5 /45 / 8 / 6 0 ?5 6 5/ /58
/ / /45 / 80 0 / : < 5 0 / 4 /5 /< 2 15
,*0* ( " ( ( " - ( ) " "
20 D /01 5 /45 / 8 ?020 $ 60 5 :
/ 5 5 2565 4 / 0 2203 ;<0 4 / 0 2203
0 5 /45 / 80 0 : < 5 0 4 >
/ 1< ;< / / 8 92 7 064 : 6 1 5/ 4 52 /5/ 2 / 05/
4 0/ 6 / 03 0
?5 6 0 2203 ?< 205 60 5 0/ 6 / 03
0 7 0 2 <: 5 / 2 /0 / 4 6 A5
$ 565= 56 25 20 20 5/ ;<0/0 5/ 5/ 2 0 / 5 5/ 5/
0= / 5 1 09 203
! )
" #
,*+* > " "
2560 C 2 0 / E ?5 6 5 45 7 4 /
0 2203 : / 2 5 $< 5
2560 C 2 0 / H 06 / 6 4 6 / ? 0 5/
064 6 203 : 6 060 5 /0/ 6 2 0 7 5 58/ ;<
2 0 05 25 =52 560 C 0 < 05 /
F 5 0 0 /7 2< 5 45 1 = /0 < 203 5 45 5 / 2 </ / /B 5
2 25 = 0
/ ?< 205 / 4 0 204 / 560 C 0 4 /0/ 6 1 / 03
2 0 /5 / /01<0 / >
=0/03 / 2 /0 / : F4 2 0= / 5/ 2 0 /
09 =0/03 0/ 6 0
5 52060 5 : / 1<060 5 / 2205 / 5 2 0= /K$ = 0= /
/ 8 2060 5 : 1<060 5 5/ 8A 0=5/ 0
,*3* " ) "
20 / /45 / 8 256< 02 / 20 / : 4 20 /
8 A5 /< 2 15 6 06 / /< 5 2<64 060 5 5/ 8A 0=5/
0
/ 20 / : /45 / 8 / / 4 20 / 256< 02 /< 4 /5
/< 5 2<64 060 5 58A 0=5/ ?5 6 06 /
4 / 0 2203 / /45 / 8 256< 02 5/ /< 5/
/ < 0 5 B / 0 /7 : / 2205 / 56 / / /<1 20 / 09 /
5 5 4 /5 5 5 1 09 203
/ /45 / 80 0 5/ ? / E 0?</03 5/ 8A 0=5/ 0 :
/< 5 E 0/0/ 5/ 0 02 5 / ? 2 0=0 2 4 52 /5
4 /5 /< 2 15
! *
" #
" 0
( ("$ " " )
0*' ( - "
20 2 5 $< 5 =0 20 /< 2564 560/5 4
/ 5 5 064 203 0/ 6 / 03 0 : 6 A5
25 0 < 6 0 >
L 256< 02 203 5 5 4 /5 5 1 09 203 0645 20
/ 0/? 2 5/ ;<0/0 5/ 4 5 <2 5 : 5/ 2 0 /7 6 0 / / /05 /
0?</03
8L / 8 2060 5 45 B 02 2 0 : 5/ 58A 0=5/ 2 0 0?< 0 5/
5 5 4 /5 64 /
2L / =0/05 / / 8 20 / /0/ 6 / 03 0 45 560 C
0
L 0/45 080 0 5/ 2< /5/ 4 ?< 205 60 5 ? 2 0=5 /0/ 6
/ 03 2 0
20 / 1< ;< 5/ ;<0/0 5/ 2 0 / 60 :
2<64 25 4 543/0 5 51 /< / 0/? 2203
0*, ? B "
560 C 0 = H 4 6 / 2 /0 / : F4 2 0= / /</
2 0 / 2 5 $< 5 25 /0 2565 2 0 / / 4 /5 / < / 5
A< B 02 / ;<0 / / / /<60 0/ 1B C2 02 2<64 060 5 25 5
/</2 0 5 <60 0/ 5 1B C2 02 / 1H : 5 2 /05 / C2 02 /
: /< 1 6 5
</ 2 /0 / : F4 2 0= / /5 4 52 / / 2< 5 4< 5 ( /
6 <
560 C 0 25 =0 / 5/ ;< 060 5/ /</ 2 0 /
4 52 060 5/7 5/ ;< / / 8 2 /< 45 B 02 7 58A 0=5/ 2 0 : 5/
6E/ 52<6 5/ /0/ 6 2 0 25 ?0 0 51 / 0/? 2203
5/ 2 0 / / / 0/? 2203 / = < / 6 / 6 2< 5 /
0/45/0205 / / 8 20 / 2 4B < 5 &7 / 2203 & / 6 <
! -
" #
0*0* " ? " )
2 5 $< 5 D 4 0?02 5 /< 0/ 6 / 03 0 8 / /
0/45/0205 / / 8 20 / /< / <2 < 52<6 0 7 25 ?0 0 ;<
/ 2<64 5/ ;<0/0 5/ /</ 4 52 /5/ : 5 6 - >
$ 51 < 064 6 203 ? 2 0= / D / 8 20 5 /45 / 8 /
/ 5 5 064 203 5/ 6 < /7 4 52 060 5/ 0 / <2 0=5/
8 A5
20 ?0 5/ 58A 0=5/ 0 < 6 7 / 8 20 5
6 2 0/65/ 4 /< 0?</03 7 064 203 : 6 060 5M : ?0 0 5 5/
/45 / 8 / 85 4 2203 4 2 9 5/ : 52<6 5 /
2205 / $ G$ $ 0?02 203 5/ 8A 0=5/ 0
/ 5/ 58A 0=5/ /5 25 /0/ / 25 $5 B 02 0 7 0 2 <: 6E/
2564 560/5 64 / 25 6 A5 60 5 25 0 <5 20
D 2 < / 1<060 5 06 / /4 2 5 = 2 5/ 58A 0=5/
560 C 0 / 1< ;< / 6 1 0 1 0 /0/ 6
1 / 03 2 0 2< 5 / 4 064 6 2 6805/ 7
6 0 < E 0/0/ /58 5/ 064 2 5/ 0/ 6 : 56 2205 /
2 / 0 / 4 =0 ;< / 5/ ? 2 1 0= 6 C
0*+* : ( ) " )
20 =0/ / 6 / 6 ? 2 0=0 /0/ 6 2 0
/ =0/03 /0/ 6 4 60 = < / 5 064 203 :
6 060 5 0/ 6 / 03 0 4 / 1< / ;< /
/<?020 7 2< 5 : ? 2 0=5 6 2 0/65 64 5 / /2 08 $ G
$ G G =0/03 0/ 6 / 03 0 6 0 5/ 10/ 5/
/ =0/05 / ? 2 < /
!
" #
" = +
- ( ) ( ( (
+*'* : ( ) ( (
20 2 5 $< 5 4 545 205 5/ 2< /5/ 2 / 05/
4 064 : 6 A5 ?02 20 5/ 4 52 /5/ 0/ 6 / 03
0 : <6 25 5/ / 0/? 2203 5/ ;<0/0 5/ 5/ 2 0 /7
25 64 5/ 4 /<4< / 5 <
0205 6 560 C 0 09 < 05 / 06 / / : < < 03
=0/03 0 2203 < 5/ ;< 680C / 2 2 /0 /
6 0 2< /5/ / 2< / /5 45/ 05 6 1 / 05 / 45
+*,* ( ( C " (
+*,*'* "( - " ) ( "
20 60 0/ 203 : 5 / /01 4 /5 2564 /
0? / 2 0=0 / 2 5 $< 5 8 / /< <2 203 7 ?5 6 203 7
F4 0 20 85 : D 80 0 / ?0 0 / $ G$ G (G <
1 09 203 : +< 205 /
+*,*,* "4 ( ( $ ." ) 5 "
5 ?0 0 6 2564 20 4 /5 7 5/ ? /
0 0?02 : 256< 02 < 6 / 2 /0 / 2 4 20 203 /<
4 /5 ?020 60 0/ 203 $ /5 7 85 E 5/ < 15 $
4 20 203 2< 5 4 52 060 5 $ G$ G "G 4 20 203 2< /
4 58 5 45 20
?020 60 0/ 203 $ /5 / /45 / 8 D 2 2<64 0 4
2 4 20 203 : 6 5/ 10/ 5/ 2564 20 7 5/ ;< 0 2 <:
= < 203 ? 2 0=0 2 4 20 203 7 2< 5 4 52 060 5 $ G$ G
"G 4 20 203
4 /5 2 5 $< 5 0 4 5 25 52060 5 0645 20
/</ 2 0=0 / 2 0 5/ 4 5 <2 5/ : / =0205/7 6 0
25 52060 57 4 02 203 : 2564 560/5 25 45 B 02 7 5/ 58A 0=5/7 6 < :
!
" #
5/ 6E/ 52<6 5/ ;< 25 ?5 6 /0/ 6 1 / 03 2 0 7 : / :K5
2 5/ 25 /45 0 /7 /B 2565 6 0 25 52060 5 /</
/2 04205 / ?< 205 /
+*0* ? " ( "
20 2 5 $< 5 4 545 205 5/ 2< /5/ 2 / 05/
4 6 060 5 0 ? / <2 <
4 205 / / /45 / 8 85 7 D 2 2<64 0 5/
4 51 6 6 060 5 0 / 205 / C2 02 /7 2< 5
4 52 060 5 $ G$ G G 060 5 4 = 0=5 0 / 205 /
C2 02 /
60 0/ 203 : 5 / / /45 / 8 D 2 2<64 0 5/
/01<0 / 4 52 060 5/ : 4 51 6 / 6 060 5>
$ G$ G G G $ 51 6 060 5 $ = 0=5 : 5 2 0=5
5? N : . N
$ G$ G G G $ 52 060 5 4 6 8 / 5/ 1 E?02 :
C2 02 /0/ 6 C2 025 0/ 08<203 2 5 $< 5
$ G$ G G $ 51 6 060 5 0?0205/
$ G$ G G G $ 51 6 060 5 0 / 3=0 /
? 51B/ 02 0 0?02 / 2 /0 / 6 060 5 5/ /4 205/
8 A5 O 0?0205/L
? 0/ 6 / ?5 6 203 ?5 6< 4 51 6 6 060 5
4 = 0=5 : 25 2 0=5 5? N : . N
<4 =0/5 1< 0 : 05 680 ?5 6< 4 51 6
6 060 5 / < 0 / 63=0 /
+*+* "$"6
2 5 $< 5 60 : 1 / 05 680 8 A5 4 51
25 ?5 60 25 5/ ;<0/0 5/ : 5 2 /05 / C2 02 / : /<
1 6 5
/060/65 ?0 2565 ? 2 5 / ;< 45 B ? 2 / =0205 </5 ;<045/
4 5 2203 4 /5 : 56 / 6 0 / 4 540 / 4 60 0609 K 060 5/
? 2 5/ 1 0=5/ / 5/ ? 2 5 /7 2< 5 0 / <2203 $ G G G G
5 5 ;<045/ 4 5 2203 4 /5
!
" #
" = 3
" ." ) ( (
3*'* " ? " ) " " ." ) ( (
2 5 $< 5 D 0 0?02 5 5/ 4 52 /5/ 2 / 05/ 4 09 203
/ =02057 /2 080C 5 5/ 2565 4 52 060 5/7 ?0 0 5 2 6 /
2 0=0 / : 5/ 2< /5/ 2 / 05/ 4 /?5 6 /</ / / 0 /
/ 2< 20 0 2203 / 5/ 4 52 /5/ / 4 / F5 /
6 <
5 1 09 203 D ?0 0 5 5/ ;<0/0 5/ / =0205 5/ 25 5/7
4 52 060 5 $ G$ G G ?0 0203 ;<0/0 5/ 0 : /< =0/03 M :
6 0 85 203 0 ?5 6 203 4 2 0 M /B 60/65 D ?0 0 5 5/
6C 5 5/ : 2 0 05/ 2 4 203 2 / 05/ 4 = 0?02 203 7 / 1<060 57
0 /4 2203 / =0205 : 5/ 10/ 5/ 2 / 05/ 4 8 0 =0 20 ;< 5/
4 52 /5/ : / =0205 2<64 5/ ;<0/0 5/
3*,* ( ( " " ( ( (
3*,*'* D E D D D
2 5 $< 5 60 5/ ;<0/0 5/ 205 5/ 25 /<60 0/ 5
1B C2 02 0 2 <: 5 5/ ;<0/0 5/ 1 / : ?0 /< 4 52 / 60 5
4 52 060 5 $ G$ G G ?0 0203 ;<0/0 5/ 0 : /< =0/03
3*,*,* E D D D
2 5 $< 5 D ?0 0 5 4 52 060 5 $ G$ G G ?0 0203
;<0/0 5/ 0 : /< =0/03 4 =0/03 5/ ;<0/0 5/ 205 5/
25 /< / =0205 / =0/03 / ? 2 H / ;< 5 1 09 203 /
2564 56 4 545 205 /< / =0205 2 0
/ =0/03 / 1< ;< >
5/ ;<0/0 5/ / C 2 6 ?0 0 5/
8 < ;<0 0? 20 5/ ;< 060 5/ 5? 20 5/ : 5/ ;<0/0 5/
F4 / 5/ 4 =0 6 / /< 5/
2 5 1 09 203 0 2 4 20 4 2<64 0 25 5/ ;<0/0 5/ ?0 0 5/
! "
" #
20 P 0 1 6 0 10/ 5/ / / =0/05 / : /</
65 0?02 205 / / 1H / 2 /5
2 /5 /5 020 / 2 6805/ 5/ ;<0/0 5/ /< / =02057 / 5/ /5 =0/ 5/
: / 2 4 5/ /5 4 58 5/7 / 1< 5 ;< 4 /5 0 =5 <2 5 / E
256< 02 5 2 2 5/ ;<0/0 5/ 2 680 5/
3*,*0* D D D D
2 5 $< 5 D 064 5 2565 0/45/0205 / 4 256< 02 203
? 2 0= 25 /</ 2 0 />
?5 6 /4 2 5 5/ 4 52 060 5/ 5 6 0=0 =01 7
A< 5 / 0 ?5 6 203 5/ 2085/ 1B C2 02
<B / 4 52 060 5/ 4 2 0 /
01 51 ?0 25 0 ?5 6 203 / =0205
0205 6 1 / 05 5/ 2 65/ 5/ 2 0 / 6 0
4 52 060 5 $ G$ G "G 203 2 65/
09 256< 02 205 / 45 6 05 =0/03 :K5 05 /4 2 5
0 /15 C2 025
3*0* ( ; 5 ("
2 5 $< 5 2< 25 < 4 52 060 5 $ G$ G G G$ 0/ Q5 :
/ 5 5 / / 0/ 08<203 C2 02 7 60/65 ;< 4 60 09 /<
0/ Q57 25 5 : / 5 5
3*+* "(
3*+*'* D D %
2 5 $< 5 / 1< ;< 5/ 4 5 <2 5/ : / =0205/ ;<0 0 5/ 2<64 25
5/ ;<0/0 5/ /4 20?02 5/ : ;< = H 5/ 4 5= 5 / 2<:5/ 4 5 <2 5/ 5
/ =0205/ 0 < 064 2 5 2 0 4 5 <2 5 ?0 7 2< 5 :
5 205 / : ;<0/0205 / / 5 : 5/ /01<0 / 4 52 060 5/>
$ G$ G G ;<0/0203 0 / : =0205/
$ G$ G (G 564 1B C2 02
!
" #
3*+*,* F D D %
? 51B/ 02 1 / 05 / 2564 / 52 / 2< 5 4 52 060 5 $ G
$ G G ;<0/0203 0 / : =0205/7 / 1< E 5/ ;< 0 ?5 6 203
0 2 <0 / 3 / 2564 / 2<
/4 20 0/ 0? / : 5 5/ 1 / 05 / 2564 / 1B 2< 5
4 52 060 5 $ G$ G (G 564 1B
3*+*0* : F D D % D D %
64 / D / 8 20 5 064 5 0 /4 2205 / 2 / 0 / 4 / 1<
;< 5/ 6 0 / 2564 5/ 2<64 25 5/ ;<0/0 5/ 2564 /4 20?02 5/7
5 / /2 08 5/ 4 52 060 5/ $ G$ G G ;<0/0203 0 / :
=0205/ : $ G$ G (G 564 1B
3*3* " ( )
3*3*'* % D
4 0?02 203 25 5 / 54 205 / / 09 =C/ ?0 0203
5/ 4 52 060 5/ 52<6 5/ 5 5/ 5/ 4 52 /5/ 256 20 09 203 :
0/ 08<203 /5 25 5 5/7 6 ;< / / 1< 25 ?5 60
/ =0205 1 5
/ 5/ 4 52 060 5/ /5 >
$ G$ G G E 2< 5 0? / C2 02 /7 $ /<4< / 5/ 5 F03 7 5/ 5/
060 5 : 45/0203 7 645 / 5 : 25 F03 7
: B2<5 / <68 5 $<8 025
$ G$ G (G 2 < 0 5 /
$ G$ G &G + 2 < 203
$ G$ G )G 4 5 2085/
$ G$ G *G 58 9
$ G$ G -G 5 / <60 0/ 5 1B C2 02
$ G$ G G 25 F05 / <60 0/ 5 1B C2 02
$ G$ G G + 2205 60 5 $ 15
$ G$ G G = 203 25 F05 / 0 1< / : 25 20 0 203 45 1B
A ? 2 <
$ G$ G "G 60 203 $C 0 / C2 02 / $ 06 0
$ G$ G G 0/ 08<203
$ G$ G G 060 5 / / 205 / C2 02 /
$ G$ G "G <4 =0/03 8 /
! (
" #
/ 25 0205 / 25 5 / 0 2 <: >
L 0 ?5 6 203 / 2 2 B/ 02 / / =0205 / 2< 0/45 08
5 6 C2 02 0 5/ =0205/ C2 025/7 $ 52 060 5/
+0/2 09 203 : 5 5/ ;<0/0 5/ 1 /
8L / 0 / <2205 / 8 A5 ?0 0 / 4 5/ 0? / 4 52 /5/ :
? 20 / 5/ 4 52 060 5/ 6 205 5/ 2< 5 4 0;<
2L 25 0 <0 /<60 0/ 5 C2 0257 6 0 4 52 060 5 $ G$ G G
060 5 / 0 / 205 / C2 02 /
L / 2 0=0 / 6 0203 : / 1<060 5 / /45 / 80 0 20
4 205 / : 20 P 0 1 : / 09 2< 5 2 4B < 5
& " : & / 6 <
3*3*,* : D % D
$ = 0 203 5/ 4 52 /5/ / D / 8 20 5 5/ /01<0 / 52<6 5/>
$ G$ G )G 5 5 51B = 0 203 0 <4205 /
$ G$ G &G 5 5 51B = 0 203 4 52 /5 258 9
3*3*0* F D D G # H
5 1 09 203 2< 25 6 05/ 4 0 0?02 203 / =02057 5/ 2< /
25 /0/ 23 015 /<60 0/ 57 5 2< 4 60 25 / <0 D0/ 5 0
/ =0205 < 5 / /</ 4 / / 5 / 4 /6 5 5/ 5/ 10/ 5/
54 203
3*3*+* $ D
2 5 $< 5 2<0 5/ 80 / ;< /5 4 540 2 0 2< 5 / C
8 A5 /< 25 5 2 5 $< 5 D / 8 20 5 0 / <2203 8 A5 $
G G $ 540 0 25 ?0 0 / 8 2 / 4 < / 4
0 0?02 203 7 = 0?02 203 7 4 5 2203 : =0 / 4C 0 /
< 5 < 80 / 4 540 2 0 7 / 40 7 05 5 / 25 /0
0 4 540 5 4 /< </57 / 256< 02 2 0 : / 10/ = 5
?5 6 5 2205 / 25 2 0= /
3*/* E % G
2 5 $< 5 D / 8 20 5 $ G$ G G $ 08 203
;<045/ 0203 7 ;< ?0 ? 2< 20 2 08 203 4 2 < 5
5/ ;<045/ 0 0?02 5/
! &
" #
2 5 $< 5 1 09 ;< / 2 0=0 / 6 0203 : / 1<060 5 /
09 6 25D 25 5/ ;<0/0 5/ 6 0203 : / 1<060 5
< 5 45 < 9 ;<045 5 0 / <6 5 / ;<0 / =0205/
2 08 203 :K5 6 060 57 / /3 5 / D E 25 4 5= 5 / 5 ? 8 02 /
:K5 4 / / / 6 2 / 5/ ;<045/ 5/ 4 5 / < 0 09 5/ 8 E
25 25 9 80 0 ;< 0 O 205 7 F A 5 10/ 5 8 /
< 0 09 4 2 08 203 5 = 0?02 203 L
5/ ;<045/ /5 0 0?02 5/ 25 6 2 / 4 540 / : 10/ 5/ ;< 0 02 /<
/ 5 2 08 203 5/ 10/ 5/ / 2 08 205 /7 = 0?02 205 / /5
6 0 5/7 2 < 09 5/ : 2D0= 5/ 2< 6 7 45 <4 =0/5
5 6 C2 02 0 5/ =0205/ C2 025/ : <4 =0/5 203
0
2 5 $< 5 D = 0?02 5 25 ?5 60 5/ 4 51 6 / 0 ?5 6E 025/
;< / < 0 09 4 6 0 2 2 B/ 02 / / =0205/ / /< </5 : 2< 5 /
09 < 2 6805 4 52 /5 :K5 ;<045
! )
" #
" = /
) 4 " ( ( 5 6 "
/*'*- " " (
2 5 $< 5 D 4 5 064 6 5 4 52 /5/ / 1<060 57
6 0203 7 E 0/0/ : 6 A5 2 / 05/ 4 >
L 65/ 25 ?5 60 / =0205 256 20 09 203 : 0/ 08<203
8L / 1< 25 ?5 60 /< /0/ 6 2 0
2L A5 25 0 < 6 ?02 20 /< /0/ 6 1 / 03 2 0
5/ 6C 5 5/ / 5/ 4 52 /5/ 6 0203 7 E 0/0/ : 6 A5 / ?0
0= /5/ 4 52 060 5/ /0/ 6 7 / Q 5/ / / 2205 / 25 0 < 203
/*,* ( - 5 )
/*,*'* (" (?" )
2 5 $< 5 09 / 1<060 5 < 1 5 / 0/? 2203 /</
2 0 /7 6 0 2< / / 5 1 09 / 45 20 P 0 17
064 6 5 2205 / 25 2 0= / 2< 5 5/ /< 5/ 5 / 5/ /4 5/
4 52 060 5 ? 20 / $ G$ G G 0/? 2203 0
/*,*,*" " "
5 / / E / ;< 0 1 0/ 6 / 03 0 5 1 09 203
/5 = < / 0 = 5/ ?0 0 5/ 4 60 7 /0 /0/ 6 1 / 03
2 0 />
5 ?5 6 25 5/ ;<0/0 5/ 5 6 - > : 5/ ;<0/0 5/
/ 8 20 5/ 45 5 1 09 203
< 064 6 203 : 6 060 5 ?02 9
5 / 4 543/0 5 / D 064 6 5 $ G$ G G < 0 5 0 / /7
52<6 5 ;< ?0 / /45 / 80 0 / : ;<0/0 5/ 4 4 0?02 203
/ < 0 5 0 / 0 /7 /< 09 203 : 4 / 203 /< 5/7 /B 2565
6 A5 5/ 10/ 5/ 25 /45 0 /
5/ 2 0 05/ < 0 5 0 : 2 2 60/6 / ?0 4 51 6
< 0 5 0 : / 1 / < 0 5 B ;< 85 5/ < 0 5 /
! *
" #
/45 / 8 0 2203 4 0?02 / < 0 5 0 / 0 /7 25 /0 5
4 51 6 203 / 5 : 0645 20 5/ 4 52 /5/ : E / < 0 7 /B
2565 /< 5/ < 0 5 0 / 4 =0 / ? 2< 20 = < 203 / / 8 2
4 < < 0 5 0 7 2< 4< 2564 6 / 25 < 0 5 0 /
F 5 0 0 / < 5 09 / 45 5 5/ 5/ ;<0/0 5/
/0/ 6 1 / 03 2 0 8 / < 0 5/ 45 5 6 5/ < = 9 Q5
4 / 0 2203 0 0?02 4 /5 2< 5 : 2 0?02 5 2565
< 0 5 / 0 5/7 ;< 5 / /45 / 8 5 / C 0 2 6 0 =5 <2 5
E < 0 7 1 09 5 / 6 58A 0=0 064 20 0 /
4 52 /5
? < 5 20 ;< / /0 5 < 0 8 / 1< 064 6 203
2205 / 25 2 0= / /0 65 0 A</ 0?02 4 060 / 5
25 ?5 60 / : /</ 2 </ / ;< 4< 0 25 / < < 0 5 B
/ 1<060 5 : ? 2 0=0 / 2205 / 25 2 0= / 5 4 = 0= / ;< /
1 4 52 /5 < 0 5 0 0 / 09 2< 5 5 / 8 20 5
$ 52 060 5 $ G$ G "G 2205 / 5 2 0= / : 4 = 0= /
/*,*0* ) 5 ( - ( ( (
5/ 4 52 /5/ /0/ 6 1 / 03 2 0 /5 = < 5/ 6 0
0 02 5 / ?0 0 5/ 5/ /4 2 0=5/ 4 52 060 5/ 5 4 0?02 203 5/
58A 0=5/ 2 0 7 5/ ;< / ?0 /45 / 8 / : ? 2< 20
/ 1<060 57 /B 2565 5/ 10/ 5/ / / = < 205 /
5 5/ 5/ 4 52 /5/ /2 0 5/ 5/ 4 52 060 5/7 /2 08 4 E6 5/
25 5 ;< /5 = 0?02 5/ 45 /45 / 8 /7 ;<0 / 0 < 5 0 :
/45 / 80 0 064 6 25 2205 / :K5 2205 / 25 2 0= /7 / 1H
/ 06 25 = 0 7 4 / 1< 25 ?5 60 5/ 4 52 /5/
/*,*+* ) 5 ( - ( : *
2 5 $< 5 60 : D 2 / 1<060 5 / 2 2 B/ 02 / / =0205 4
= 0?02 ;< /5 25 ?5 6 / / 2 2 B/ 02 / C2 02 / :K5 / 0/45/0205 /
1 / /5 020 /7 5 / / 8 2 5/ 2 0 05/ 2 4 203 5/ / =0205/M
4 5 2< / D ?5 6< 5 5/ /01<0 / 4 52 060 5>
$ G$ G G 09 1<060 5 : 0203 =0205 : 60 5
4 5 <2 5 5 25 ?5 6 20 P 0 1
! -
" #
$ G$ G &G 09 1<060 5 : 0203 =0205 : 60 5
4 5 <2 5 5 25 ?5 6 20 4 205 /
/45 / 80 0 4 58 203 5/ / =0205/7 / 0? / 4 /
0 /4 2203 7 25 /45 20 4 205 / : P 0 17 6 0 5
5/ 10/ 5/ ;< =0 20 25 ?5 60 5/ 4 5 <2 5/ 25 5/ 2 0 05/
25 ?5 60 5/ 10/ 5/ 25 /45 0 /
/*0* ?
5/ / =0205/ 5 25 ?5 6 / 2 5/ < 54 203 /5 5/
2< 5 5/ 4 52 060 5/>
$ G$ G G 09 1<060 5 : 0203 =0205 : 60 5
4 5 <2 5 5 25 ?5 6 20 P 0 1
$ G$ G &G 09 1<060 5 : 0203 =0205 : 60 5
4 5 <2 5 5 25 ?5 6 20 4 205 /
20 4 205 / : P 0 1 6 0 10/ 5/ #
D F : 2< ;<0 DD 45/ 05 6 7 0 2 <: 5
25 2 /05 / ;< / D : 58 0 5>
/*+* " ( ( " (
2 5 $< 5 D 60 5 / 4 < / 4 60 7 2540 :
09 5/ 4 540 5/ ;< 6< / 25 ?5 60 /0/ 6 1 / 03
2 0 7 = < 5 45/080 0 064 6 6 A5 / 25 0 < /
E 0/0/ / 5/ 5/ 0 2 <: >
L 0/? 2203 2 0 7 ;< / = < 25 ?5 6 $ G$ G G
0203 : / 1<060 5 / 0/? 2203 2 0 7 5/ 09 5 45
560 C 0
8L 5 ?5 60 25 5/ ;<0/0 5/ / =0205 2< 5 09 $ G$ G G
09 1<060 5 : 0203 =0205 : 60 5 / =0205 5
25 ?5 6 20 P 0 1 : $ G$ G &G 09 1<060 5
: 0203 =0205 : 60 5 / =0205 5 25 ?5 6 20
4 205 /
2L 2 B/ 02 / 5 20 / 5/ 4 52 /5/7 = < 5 25 ?5 6 / 2203
& " / 6 < <:5/ 6C 5 5/ 25 2203 : E 0/0/ /
!
" #
/ 8 2 0= /5/ 4 52 060 5/7 / 1H 25 /45 5/ 0 02 5 /
1 / 03
L $ 5= 5 / < 60 5 / 2< 25 ?5 6 : 5 205 / :
;<0/0205 / / 5
/*3* 6 "
/*3*'* I D
2 5 $< 5 ?56 /</ 8 A 5 / 25 / 8H/;<
6 A5 25 0 < ?02 20 /< /0/ 6 1 / 03 2 0 7 6 0
/ 5 5 6C 5 5/ / 8 20 5/ 25 0 < 203
$ / 6 A5 < 0 09 45 B 02 2 0 7 5/ 58A 0=5/7 0 02 5 /
4 52 /5/7 /< 5/ < 0 5 B /7 E 0/0/ 5/7 2205 / 25 2 0= / :
4 = 0= /7 =0/03 /0/ 6 45 20 : 2< ;<0 5 0 020 0=
4 /5 /60 0 =C/ < 05 / 560 C 20
/*3*,* "DD D G %
/ 2 </ / 5 25 ?5 60 / 5 /=0 205 / /0/ 6 1 / 03 2 0
8 / 0 = / 01 / 25 58A 5 064 6 / 2205 / 25 2 0= / :K5
4 = 0= / 25 /45 0 / 4 = 0 / 6 /< 2< 20
5 / 58A 0=57 / D ?0 0 5 4 52 060 5 $ G$ G "G 2205 /
25 2 0= / : 4 = 0= /7 ;< 4 60 064 6 203 : / 1<060 5 /
2205 / 25 2 0= / :K5 4 = 0= / 2 60 / 51 5/ 58A 0=5/ /01<0 />
L =0/ 5 25 ?5 60 / 5/ ;<0/0 5/ /0/ 6 2 0 7 0 2 <: 5
;< A / 5/ 2 0 /
8L 60 / 2 </ / 5 25 ?5 60
2L = < 2 /0 54 2205 / 4 =0 /< 2< 20
L 60 064 2205 / 25 2 0= /
L 10/ 5/ /< 5/ / 2205 / 56 /
?L =0/03 064 6 203 : ? 2 0=0 2203 56
< 5 0 : /45 / 80 0 4 0 020 < 2203 25 2 0= 4
< 9 5 25 ?5 60 5 / / E / 5 1 09 203 / E
0 =5 <2 / / 2564 560/5
!
" #
" = 7
( " " " )
7*' ( ( " - ( ) " " "
2 5 $< 5 D / 8 20 57 064 5 : 6 0 < /0/ 6 2 0
8 / 5 5/ ;<0/0 5/ 5 6 - >
0/ 6 2 0 / D 52<6 5 $5 B 02 0 7 <
0 7 $ 52 060 5/ / <2205 / : 10/ 5/ /B 2565 5 5/ 52<6 5/
25 /0 5/ 680C /0/ 6 1 / 03 2 0
7*, " " " "
20 255 0 203 25 560 C 0 / /45 / 8
=0/ : 4 58 6 < 2 0
7*0 ( (
2 5 $< 5 D / 8 20 5 4 52 060 5 $ G$ G G 5 5 5/
52<6 5/ : 10/ 5/7 4 25 5 / <2 < 52<6 0 /0/ 6
1 / 03 2 0 / 25 5 ? 20 0 22 /5 / 2540 / =01 / : =0
</5 52<6 5/ 58/5 5/ 0 E 5 5/ 5/ 4< 5/ < 0 09 203
25 5 52<6 5/ 680C 0 2 <: 25 5 : 10/ 5 5/ 52<6 5/
4 52 20 F 7 ;< / 1H 1< 205 / 205 / /5 58 01 5 05
2<64 060 5
4 / 0 2203 / /45 / 8 25 5 5/ 2 6805/
/ 5/ 52<6 5/7 5/ ;< / E 65 0?02 5/ 4 =0 4 58 203 560 C
0 0/ 08<203 / 09 2< 5 0/ 0/ 08<203 / 5/
52<6 5/ 4 / 0 2203 2D0= < A 64 2 <
/ = /05 /7 4 ? 2 5 25 / = 203 0 ?5 6 203 7 6 0 5 45
5 6 5/ H 06 = /03 5 010 5/ 52<6 5/ 5 =01 /
!
" #
7*+ ( - ( ( " "
2 5 $< 5 25 5 5 5/ 5/ 10/ 5/ 25 /45 0 / /</ 4 52 /5/7
25 ?0 0 65/ /< 2<64 060 5 25 5/ ;<0/0 5/ /</ 2 0 / :
2<64 06 5 ? 2 0=5 /< /0/ 6 2 0 $ / 1< / 25 5
064 6 : 6 0 25 5 5/ 10/ 5/ 2 0 2< 5
4 52 060 5> $ G$ G G 5 5 52<6 5/ : 10/ 5/M : $ G+G "G
0/ 10/ 5/ 7 5 / / 8 2 0 0?02 203 7
6 2 60 57 2<4 203 7 4 5 2203 7 0 645 25 / = 203 : 0/45/0203
5/ 10/ 5/ 2 0 / 64 /
! "
" #
" J 9 2'
!
" #
" J 9 2,

manual01 manualprocesos

  • 1.
  • 2.
    ! " # "$ " %&! " ' ( " ) (*"*"* + ! " # $ $ " , -" ." ) / % $ & $ $ & " $ ! & ' & ( ! ) " 0 ( ("$ " " ) 1 " $ * " + , * " " $ + ! - " ! $ ! - " + - ( ) ( ( ( '2 $ ! . /01 203 4 /5 564 20 7 / /080 09 203 : 60 5 " + " 3 " ." ) ( ( ', ( $ + ! % ! $ ( $ ( 60 203 5/ ;<0/0 5/ 205 5/ 25 / =0205> ( =0/03 5/ ;<0/0 5/ 205 5/ 25 / =0205> ( " 56< 02 203 25 5/ 2 0 /> " ( " # " ( $ " ( $ 52 /5 2564 / " ( ?5 6 203 2564 / " ( " 0?02 203 4 5 <2 5/ 2564 5/ ( ( $ $ ! ( ( 5 5 / 54 205 / ( ( 0 203 5/ 4 52 /5/ ( ( ( " 0?02 203 : 9 80 0 ( ( ( 0 / 2 0 ( ( & , $ (
  • 3.
    ! " " # "$" %& ! " / ) 4 " ( ( 5 6 " '7 & ) & ! ) & 0/? 2203 2 0 ) & < 0 5 0 0 ) & " 0203 : / 1<060 5 5/ 4 52 /5/ * & 0203 : / 1<060 5 / =0205 * & " $ + - & @ - & ( & ( A5 25 0 < & ( 2205 / 25 2 0= / : 4 = 0= / & ( " $ 54< / / 6 A5 " 7 ( " " " ) ,' ) ! ) ) " ) " 8 9 2' ,0 " 8 9 2, ,+
  • 4.
    ! " # " ' (" ) (*"*"* '*' $6 : 5 " " 4 / 6 < / 8 2 5/ ;<0/0 5/ 0/ 6 / 03 0 2 5 $< 5 / / < 52<6 5 0/ 6 0 7 ;< 4 545 205 5/ 0 60 5/ ;< / 8 / 1<0 4 064 6 ? 2 0= 6 $5 B 02 0 2 5 $< 5 7 /<60 0/ 5 / =0205 1B C2 02 ;< / 1< 2564 / 0/? 2203 < / 5/ 2 0 / / 6 < D /0 5 85 5 4 0 204 6 4 </5 0 5 4 /5 2 5 $< 5 /0 68 15 2< 5 20 5 60 7 45 E / < 0 09 5 4 ?0 / F 5/ 2565 4< / 2 0 / : 2 / 4 /7 80 5 C/ 5/ 2 4 / 25 0205 / 2D5 < 5 0203 : 25 5 4 / < 0 / /45 / 80 0 20 2 5 $< 5 '*, " " ( ( " - ( ) " " 0/ 6 / 03 0 2 5 $< 5 8 2 5/ 4 52 /5/ /520 5/ 0/ 08<203 : 256 20 09 203 1B C2 02 / 20< / $< 5 : < 0 2 '*0 ( ;" " (" 2 5 $< 5 7 / < 64 / 5 2 /05 0 0/ 08<203 1B C2 02 4 6 5 $< 57 2 45 /20/03 8 5;< 4 065 0 2 5 < / G 20 <8 105 $< 57 4 58 6 0 2< 5 54 5 < 2205 0/ / / H 06 64 / ? 2D - A< 05 ---7 0 /2 0 ?020 10/ 105 5/C 5/ 0E 1<0 I ?020 $< 57 B * 52 <8 --- 565 J ) 7 /0 5 J ) : +02D J &)7 0 020 5 /</ 54 205 / 5=0 68 ---
  • 5.
    ! ( " # '*+" " " $5 B 02 0 2 5 $< 5 / 2 203 /2 0 2564 560/5 0 2 5 05 : 20 ;< / 256< 02 5 5 1 09 203 ;< / 0 20/03 6 /?< 95 4 2 9 / 0/? 2203 2 0 : 2<64 060 5 5/ ;<0/0 5/7 ;< /5 4 05 0 / 5 5 / 2 0=0 / 54 0= / : 60 0/ 0= / 45 B 02 2 0 / E 256< 02 6 ;< / 1< /< 060 5 5 5/ 5/ 0= / 5 1 09 203 7 25 ?0 ;< / 2 0=0 / / 02 / 6 25 ? 20 < 4 (" ( $ " 5 " ." " -=" > " " - ) 4 ( " -" " ." " ( ( ( ( ( -=" > " " " 4 ? "$ " 5 " @ 6 " " ( ( : A
  • 6.
    ! & " # ", -" ." ) ,*'* ( " -" ." " (*"*"* 5 1 09 203 2 5 $< 5 / / 8 2 ?5 6 1 E?02 5 1 01 6 65/ 5 F5 5 1 01 6 / 4 / / ?< 205 /7 0 205 / :K5 B / 45 5/ 0? / 4< / 5/ 4 /5 0 2 5 05 2 5 $< 5 / /45 / 8 4 58 57 /B 2565 =0/ : 4 58 / 65 0?02 205 / C ,*,* ( ("$ " 5 " " ( " 2 5 $< 5 D ?0 0 5 / /45 / 80 0 / : < 5 0 4 /5 5 5 1 09 203 : / D 52<6 5 $ G$ G (G < 1 09 203 : +< 205 / : 5/ 52<6 5/ 0/ 6 / 03 0 5/ / : ? / @ /5 /45 / 8 / 6 0 ?5 6 5/ /58 / / /45 / 80 0 / : < 5 0 / 4 /5 /< 2 15 ,*0* ( " ( ( " - ( ) " " 20 D /01 5 /45 / 8 ?020 $ 60 5 : / 5 5 2565 4 / 0 2203 ;<0 4 / 0 2203 0 5 /45 / 80 0 : < 5 0 4 > / 1< ;< / / 8 92 7 064 : 6 1 5/ 4 52 /5/ 2 / 05/ 4 0/ 6 / 03 0 ?5 6 0 2203 ?< 205 60 5 0/ 6 / 03 0 7 0 2 <: 5 / 2 /0 / 4 6 A5 $ 565= 56 25 20 20 5/ ;<0/0 5/ 5/ 2 0 / 5 5/ 5/ 0= / 5 1 09 203
  • 7.
    ! ) " # ,*+*> " " 2560 C 2 0 / E ?5 6 5 45 7 4 / 0 2203 : / 2 5 $< 5 2560 C 2 0 / H 06 / 6 4 6 / ? 0 5/ 064 6 203 : 6 060 5 /0/ 6 2 0 7 5 58/ ;< 2 0 05 25 =52 560 C 0 < 05 / F 5 0 0 /7 2< 5 45 1 = /0 < 203 5 45 5 / 2 </ / /B 5 2 25 = 0 / ?< 205 / 4 0 204 / 560 C 0 4 /0/ 6 1 / 03 2 0 /5 / /01<0 / > =0/03 / 2 /0 / : F4 2 0= / 5/ 2 0 / 09 =0/03 0/ 6 0 5 52060 5 : / 1<060 5 / 2205 / 5 2 0= /K$ = 0= / / 8 2060 5 : 1<060 5 5/ 8A 0=5/ 0 ,*3* " ) " 20 / /45 / 8 256< 02 / 20 / : 4 20 / 8 A5 /< 2 15 6 06 / /< 5 2<64 060 5 5/ 8A 0=5/ 0 / 20 / : /45 / 8 / / 4 20 / 256< 02 /< 4 /5 /< 5 2<64 060 5 58A 0=5/ ?5 6 06 / 4 / 0 2203 / /45 / 8 256< 02 5/ /< 5/ / < 0 5 B / 0 /7 : / 2205 / 56 / / /<1 20 / 09 / 5 5 4 /5 5 5 1 09 203 / /45 / 80 0 5/ ? / E 0?</03 5/ 8A 0=5/ 0 : /< 5 E 0/0/ 5/ 0 02 5 / ? 2 0=0 2 4 52 /5 4 /5 /< 2 15
  • 8.
    ! * " # "0 ( ("$ " " ) 0*' ( - " 20 2 5 $< 5 =0 20 /< 2564 560/5 4 / 5 5 064 203 0/ 6 / 03 0 : 6 A5 25 0 < 6 0 > L 256< 02 203 5 5 4 /5 5 1 09 203 0645 20 / 0/? 2 5/ ;<0/0 5/ 4 5 <2 5 : 5/ 2 0 /7 6 0 / / /05 / 0?</03 8L / 8 2060 5 45 B 02 2 0 : 5/ 58A 0=5/ 2 0 0?< 0 5/ 5 5 4 /5 64 / 2L / =0/05 / / 8 20 / /0/ 6 / 03 0 45 560 C 0 L 0/45 080 0 5/ 2< /5/ 4 ?< 205 60 5 ? 2 0=5 /0/ 6 / 03 2 0 20 / 1< ;< 5/ ;<0/0 5/ 2 0 / 60 : 2<64 25 4 543/0 5 51 /< / 0/? 2203 0*, ? B " 560 C 0 = H 4 6 / 2 /0 / : F4 2 0= / /</ 2 0 / 2 5 $< 5 25 /0 2565 2 0 / / 4 /5 / < / 5 A< B 02 / ;<0 / / / /<60 0/ 1B C2 02 2<64 060 5 25 5 /</2 0 5 <60 0/ 5 1B C2 02 / 1H : 5 2 /05 / C2 02 / : /< 1 6 5 </ 2 /0 / : F4 2 0= / /5 4 52 / / 2< 5 4< 5 ( / 6 < 560 C 0 25 =0 / 5/ ;< 060 5/ /</ 2 0 / 4 52 060 5/7 5/ ;< / / 8 2 /< 45 B 02 7 58A 0=5/ 2 0 : 5/ 6E/ 52<6 5/ /0/ 6 2 0 25 ?0 0 51 / 0/? 2203 5/ 2 0 / / / 0/? 2203 / = < / 6 / 6 2< 5 / 0/45/0205 / / 8 20 / 2 4B < 5 &7 / 2203 & / 6 <
  • 9.
    ! - " # 0*0*" ? " ) 2 5 $< 5 D 4 0?02 5 /< 0/ 6 / 03 0 8 / / 0/45/0205 / / 8 20 / /< / <2 < 52<6 0 7 25 ?0 0 ;< / 2<64 5/ ;<0/0 5/ /</ 4 52 /5/ : 5 6 - > $ 51 < 064 6 203 ? 2 0= / D / 8 20 5 /45 / 8 / / 5 5 064 203 5/ 6 < /7 4 52 060 5/ 0 / <2 0=5/ 8 A5 20 ?0 5/ 58A 0=5/ 0 < 6 7 / 8 20 5 6 2 0/65/ 4 /< 0?</03 7 064 203 : 6 060 5M : ?0 0 5 5/ /45 / 8 / 85 4 2203 4 2 9 5/ : 52<6 5 / 2205 / $ G$ $ 0?02 203 5/ 8A 0=5/ 0 / 5/ 58A 0=5/ /5 25 /0/ / 25 $5 B 02 0 7 0 2 <: 6E/ 2564 560/5 64 / 25 6 A5 60 5 25 0 <5 20 D 2 < / 1<060 5 06 / /4 2 5 = 2 5/ 58A 0=5/ 560 C 0 / 1< ;< / 6 1 0 1 0 /0/ 6 1 / 03 2 0 2< 5 / 4 064 6 2 6805/ 7 6 0 < E 0/0/ /58 5/ 064 2 5/ 0/ 6 : 56 2205 / 2 / 0 / 4 =0 ;< / 5/ ? 2 1 0= 6 C 0*+* : ( ) " ) 20 =0/ / 6 / 6 ? 2 0=0 /0/ 6 2 0 / =0/03 /0/ 6 4 60 = < / 5 064 203 : 6 060 5 0/ 6 / 03 0 4 / 1< / ;< / /<?020 7 2< 5 : ? 2 0=5 6 2 0/65 64 5 / /2 08 $ G $ G G =0/03 0/ 6 / 03 0 6 0 5/ 10/ 5/ / =0/05 / ? 2 < /
  • 10.
    ! " # " =+ - ( ) ( ( ( +*'* : ( ) ( ( 20 2 5 $< 5 4 545 205 5/ 2< /5/ 2 / 05/ 4 064 : 6 A5 ?02 20 5/ 4 52 /5/ 0/ 6 / 03 0 : <6 25 5/ / 0/? 2203 5/ ;<0/0 5/ 5/ 2 0 /7 25 64 5/ 4 /<4< / 5 < 0205 6 560 C 0 09 < 05 / 06 / / : < < 03 =0/03 0 2203 < 5/ ;< 680C / 2 2 /0 / 6 0 2< /5/ / 2< / /5 45/ 05 6 1 / 05 / 45 +*,* ( ( C " ( +*,*'* "( - " ) ( " 20 60 0/ 203 : 5 / /01 4 /5 2564 / 0? / 2 0=0 / 2 5 $< 5 8 / /< <2 203 7 ?5 6 203 7 F4 0 20 85 : D 80 0 / ?0 0 / $ G$ G (G < 1 09 203 : +< 205 / +*,*,* "4 ( ( $ ." ) 5 " 5 ?0 0 6 2564 20 4 /5 7 5/ ? / 0 0?02 : 256< 02 < 6 / 2 /0 / 2 4 20 203 /< 4 /5 ?020 60 0/ 203 $ /5 7 85 E 5/ < 15 $ 4 20 203 2< 5 4 52 060 5 $ G$ G "G 4 20 203 2< / 4 58 5 45 20 ?020 60 0/ 203 $ /5 / /45 / 8 D 2 2<64 0 4 2 4 20 203 : 6 5/ 10/ 5/ 2564 20 7 5/ ;< 0 2 <: = < 203 ? 2 0=0 2 4 20 203 7 2< 5 4 52 060 5 $ G$ G "G 4 20 203 4 /5 2 5 $< 5 0 4 5 25 52060 5 0645 20 /</ 2 0=0 / 2 0 5/ 4 5 <2 5/ : / =0205/7 6 0 25 52060 57 4 02 203 : 2564 560/5 25 45 B 02 7 5/ 58A 0=5/7 6 < :
  • 11.
    ! " # 5/ 6E/52<6 5/ ;< 25 ?5 6 /0/ 6 1 / 03 2 0 7 : / :K5 2 5/ 25 /45 0 /7 /B 2565 6 0 25 52060 5 /</ /2 04205 / ?< 205 / +*0* ? " ( " 20 2 5 $< 5 4 545 205 5/ 2< /5/ 2 / 05/ 4 6 060 5 0 ? / <2 < 4 205 / / /45 / 8 85 7 D 2 2<64 0 5/ 4 51 6 6 060 5 0 / 205 / C2 02 /7 2< 5 4 52 060 5 $ G$ G G 060 5 4 = 0=5 0 / 205 / C2 02 / 60 0/ 203 : 5 / / /45 / 8 D 2 2<64 0 5/ /01<0 / 4 52 060 5/ : 4 51 6 / 6 060 5> $ G$ G G G $ 51 6 060 5 $ = 0=5 : 5 2 0=5 5? N : . N $ G$ G G G $ 52 060 5 4 6 8 / 5/ 1 E?02 : C2 02 /0/ 6 C2 025 0/ 08<203 2 5 $< 5 $ G$ G G $ 51 6 060 5 0?0205/ $ G$ G G G $ 51 6 060 5 0 / 3=0 / ? 51B/ 02 0 0?02 / 2 /0 / 6 060 5 5/ /4 205/ 8 A5 O 0?0205/L ? 0/ 6 / ?5 6 203 ?5 6< 4 51 6 6 060 5 4 = 0=5 : 25 2 0=5 5? N : . N <4 =0/5 1< 0 : 05 680 ?5 6< 4 51 6 6 060 5 / < 0 / 63=0 / +*+* "$"6 2 5 $< 5 60 : 1 / 05 680 8 A5 4 51 25 ?5 60 25 5/ ;<0/0 5/ : 5 2 /05 / C2 02 / : /< 1 6 5 /060/65 ?0 2565 ? 2 5 / ;< 45 B ? 2 / =0205 </5 ;<045/ 4 5 2203 4 /5 : 56 / 6 0 / 4 540 / 4 60 0609 K 060 5/ ? 2 5/ 1 0=5/ / 5/ ? 2 5 /7 2< 5 0 / <2203 $ G G G G 5 5 ;<045/ 4 5 2203 4 /5
  • 12.
    ! " # " =3 " ." ) ( ( 3*'* " ? " ) " " ." ) ( ( 2 5 $< 5 D 0 0?02 5 5/ 4 52 /5/ 2 / 05/ 4 09 203 / =02057 /2 080C 5 5/ 2565 4 52 060 5/7 ?0 0 5 2 6 / 2 0=0 / : 5/ 2< /5/ 2 / 05/ 4 /?5 6 /</ / / 0 / / 2< 20 0 2203 / 5/ 4 52 /5/ / 4 / F5 / 6 < 5 1 09 203 D ?0 0 5 5/ ;<0/0 5/ / =0205 5/ 25 5/7 4 52 060 5 $ G$ G G ?0 0203 ;<0/0 5/ 0 : /< =0/03 M : 6 0 85 203 0 ?5 6 203 4 2 0 M /B 60/65 D ?0 0 5 5/ 6C 5 5/ : 2 0 05/ 2 4 203 2 / 05/ 4 = 0?02 203 7 / 1<060 57 0 /4 2203 / =0205 : 5/ 10/ 5/ 2 / 05/ 4 8 0 =0 20 ;< 5/ 4 52 /5/ : / =0205 2<64 5/ ;<0/0 5/ 3*,* ( ( " " ( ( ( 3*,*'* D E D D D 2 5 $< 5 60 5/ ;<0/0 5/ 205 5/ 25 /<60 0/ 5 1B C2 02 0 2 <: 5 5/ ;<0/0 5/ 1 / : ?0 /< 4 52 / 60 5 4 52 060 5 $ G$ G G ?0 0203 ;<0/0 5/ 0 : /< =0/03 3*,*,* E D D D 2 5 $< 5 D ?0 0 5 4 52 060 5 $ G$ G G ?0 0203 ;<0/0 5/ 0 : /< =0/03 4 =0/03 5/ ;<0/0 5/ 205 5/ 25 /< / =0205 / =0/03 / ? 2 H / ;< 5 1 09 203 / 2564 56 4 545 205 /< / =0205 2 0 / =0/03 / 1< ;< > 5/ ;<0/0 5/ / C 2 6 ?0 0 5/ 8 < ;<0 0? 20 5/ ;< 060 5/ 5? 20 5/ : 5/ ;<0/0 5/ F4 / 5/ 4 =0 6 / /< 5/ 2 5 1 09 203 0 2 4 20 4 2<64 0 25 5/ ;<0/0 5/ ?0 0 5/
  • 13.
    ! " " # 20P 0 1 6 0 10/ 5/ / / =0/05 / : /</ 65 0?02 205 / / 1H / 2 /5 2 /5 /5 020 / 2 6805/ 5/ ;<0/0 5/ /< / =02057 / 5/ /5 =0/ 5/ : / 2 4 5/ /5 4 58 5/7 / 1< 5 ;< 4 /5 0 =5 <2 5 / E 256< 02 5 2 2 5/ ;<0/0 5/ 2 680 5/ 3*,*0* D D D D 2 5 $< 5 D 064 5 2565 0/45/0205 / 4 256< 02 203 ? 2 0= 25 /</ 2 0 /> ?5 6 /4 2 5 5/ 4 52 060 5/ 5 6 0=0 =01 7 A< 5 / 0 ?5 6 203 5/ 2085/ 1B C2 02 <B / 4 52 060 5/ 4 2 0 / 01 51 ?0 25 0 ?5 6 203 / =0205 0205 6 1 / 05 5/ 2 65/ 5/ 2 0 / 6 0 4 52 060 5 $ G$ G "G 203 2 65/ 09 256< 02 205 / 45 6 05 =0/03 :K5 05 /4 2 5 0 /15 C2 025 3*0* ( ; 5 (" 2 5 $< 5 2< 25 < 4 52 060 5 $ G$ G G G$ 0/ Q5 : / 5 5 / / 0/ 08<203 C2 02 7 60/65 ;< 4 60 09 /< 0/ Q57 25 5 : / 5 5 3*+* "( 3*+*'* D D % 2 5 $< 5 / 1< ;< 5/ 4 5 <2 5/ : / =0205/ ;<0 0 5/ 2<64 25 5/ ;<0/0 5/ /4 20?02 5/ : ;< = H 5/ 4 5= 5 / 2<:5/ 4 5 <2 5/ 5 / =0205/ 0 < 064 2 5 2 0 4 5 <2 5 ?0 7 2< 5 : 5 205 / : ;<0/0205 / / 5 : 5/ /01<0 / 4 52 060 5/> $ G$ G G ;<0/0203 0 / : =0205/ $ G$ G (G 564 1B C2 02
  • 14.
    ! " # 3*+*,* FD D % ? 51B/ 02 1 / 05 / 2564 / 52 / 2< 5 4 52 060 5 $ G $ G G ;<0/0203 0 / : =0205/7 / 1< E 5/ ;< 0 ?5 6 203 0 2 <0 / 3 / 2564 / 2< /4 20 0/ 0? / : 5 5/ 1 / 05 / 2564 / 1B 2< 5 4 52 060 5 $ G$ G (G 564 1B 3*+*0* : F D D % D D % 64 / D / 8 20 5 064 5 0 /4 2205 / 2 / 0 / 4 / 1< ;< 5/ 6 0 / 2564 5/ 2<64 25 5/ ;<0/0 5/ 2564 /4 20?02 5/7 5 / /2 08 5/ 4 52 060 5/ $ G$ G G ;<0/0203 0 / : =0205/ : $ G$ G (G 564 1B 3*3* " ( ) 3*3*'* % D 4 0?02 203 25 5 / 54 205 / / 09 =C/ ?0 0203 5/ 4 52 060 5/ 52<6 5/ 5 5/ 5/ 4 52 /5/ 256 20 09 203 : 0/ 08<203 /5 25 5 5/7 6 ;< / / 1< 25 ?5 60 / =0205 1 5 / 5/ 4 52 060 5/ /5 > $ G$ G G E 2< 5 0? / C2 02 /7 $ /<4< / 5/ 5 F03 7 5/ 5/ 060 5 : 45/0203 7 645 / 5 : 25 F03 7 : B2<5 / <68 5 $<8 025 $ G$ G (G 2 < 0 5 / $ G$ G &G + 2 < 203 $ G$ G )G 4 5 2085/ $ G$ G *G 58 9 $ G$ G -G 5 / <60 0/ 5 1B C2 02 $ G$ G G 25 F05 / <60 0/ 5 1B C2 02 $ G$ G G + 2205 60 5 $ 15 $ G$ G G = 203 25 F05 / 0 1< / : 25 20 0 203 45 1B A ? 2 < $ G$ G "G 60 203 $C 0 / C2 02 / $ 06 0 $ G$ G G 0/ 08<203 $ G$ G G 060 5 / / 205 / C2 02 / $ G$ G "G <4 =0/03 8 /
  • 15.
    ! ( " # /25 0205 / 25 5 / 0 2 <: > L 0 ?5 6 203 / 2 2 B/ 02 / / =0205 / 2< 0/45 08 5 6 C2 02 0 5/ =0205/ C2 025/7 $ 52 060 5/ +0/2 09 203 : 5 5/ ;<0/0 5/ 1 / 8L / 0 / <2205 / 8 A5 ?0 0 / 4 5/ 0? / 4 52 /5/ : ? 20 / 5/ 4 52 060 5/ 6 205 5/ 2< 5 4 0;< 2L 25 0 <0 /<60 0/ 5 C2 0257 6 0 4 52 060 5 $ G$ G G 060 5 / 0 / 205 / C2 02 / L / 2 0=0 / 6 0203 : / 1<060 5 / /45 / 80 0 20 4 205 / : 20 P 0 1 : / 09 2< 5 2 4B < 5 & " : & / 6 < 3*3*,* : D % D $ = 0 203 5/ 4 52 /5/ / D / 8 20 5 5/ /01<0 / 52<6 5/> $ G$ G )G 5 5 51B = 0 203 0 <4205 / $ G$ G &G 5 5 51B = 0 203 4 52 /5 258 9 3*3*0* F D D G # H 5 1 09 203 2< 25 6 05/ 4 0 0?02 203 / =02057 5/ 2< / 25 /0/ 23 015 /<60 0/ 57 5 2< 4 60 25 / <0 D0/ 5 0 / =0205 < 5 / /</ 4 / / 5 / 4 /6 5 5/ 5/ 10/ 5/ 54 203 3*3*+* $ D 2 5 $< 5 2<0 5/ 80 / ;< /5 4 540 2 0 2< 5 / C 8 A5 /< 25 5 2 5 $< 5 D / 8 20 5 0 / <2203 8 A5 $ G G $ 540 0 25 ?0 0 / 8 2 / 4 < / 4 0 0?02 203 7 = 0?02 203 7 4 5 2203 : =0 / 4C 0 / < 5 < 80 / 4 540 2 0 7 / 40 7 05 5 / 25 /0 0 4 540 5 4 /< </57 / 256< 02 2 0 : / 10/ = 5 ?5 6 5 2205 / 25 2 0= / 3*/* E % G 2 5 $< 5 D / 8 20 5 $ G$ G G $ 08 203 ;<045/ 0203 7 ;< ?0 ? 2< 20 2 08 203 4 2 < 5 5/ ;<045/ 0 0?02 5/
  • 16.
    ! & " # 25 $< 5 1 09 ;< / 2 0=0 / 6 0203 : / 1<060 5 / 09 6 25D 25 5/ ;<0/0 5/ 6 0203 : / 1<060 5 < 5 45 < 9 ;<045 5 0 / <6 5 / ;<0 / =0205/ 2 08 203 :K5 6 060 57 / /3 5 / D E 25 4 5= 5 / 5 ? 8 02 / :K5 4 / / / 6 2 / 5/ ;<045/ 5/ 4 5 / < 0 09 5/ 8 E 25 25 9 80 0 ;< 0 O 205 7 F A 5 10/ 5 8 / < 0 09 4 2 08 203 5 = 0?02 203 L 5/ ;<045/ /5 0 0?02 5/ 25 6 2 / 4 540 / : 10/ 5/ ;< 0 02 /< / 5 2 08 203 5/ 10/ 5/ / 2 08 205 /7 = 0?02 205 / /5 6 0 5/7 2 < 09 5/ : 2D0= 5/ 2< 6 7 45 <4 =0/5 5 6 C2 02 0 5/ =0205/ C2 025/ : <4 =0/5 203 0 2 5 $< 5 D = 0?02 5 25 ?5 60 5/ 4 51 6 / 0 ?5 6E 025/ ;< / < 0 09 4 6 0 2 2 B/ 02 / / =0205/ / /< </5 : 2< 5 / 09 < 2 6805 4 52 /5 :K5 ;<045
  • 17.
    ! ) " # "= / ) 4 " ( ( 5 6 " /*'*- " " ( 2 5 $< 5 D 4 5 064 6 5 4 52 /5/ / 1<060 57 6 0203 7 E 0/0/ : 6 A5 2 / 05/ 4 > L 65/ 25 ?5 60 / =0205 256 20 09 203 : 0/ 08<203 8L / 1< 25 ?5 60 /< /0/ 6 2 0 2L A5 25 0 < 6 ?02 20 /< /0/ 6 1 / 03 2 0 5/ 6C 5 5/ / 5/ 4 52 /5/ 6 0203 7 E 0/0/ : 6 A5 / ?0 0= /5/ 4 52 060 5/ /0/ 6 7 / Q 5/ / / 2205 / 25 0 < 203 /*,* ( - 5 ) /*,*'* (" (?" ) 2 5 $< 5 09 / 1<060 5 < 1 5 / 0/? 2203 /</ 2 0 /7 6 0 2< / / 5 1 09 / 45 20 P 0 17 064 6 5 2205 / 25 2 0= / 2< 5 5/ /< 5/ 5 / 5/ /4 5/ 4 52 060 5 ? 20 / $ G$ G G 0/? 2203 0 /*,*,*" " " 5 / / E / ;< 0 1 0/ 6 / 03 0 5 1 09 203 /5 = < / 0 = 5/ ?0 0 5/ 4 60 7 /0 /0/ 6 1 / 03 2 0 /> 5 ?5 6 25 5/ ;<0/0 5/ 5 6 - > : 5/ ;<0/0 5/ / 8 20 5/ 45 5 1 09 203 < 064 6 203 : 6 060 5 ?02 9 5 / 4 543/0 5 / D 064 6 5 $ G$ G G < 0 5 0 / /7 52<6 5 ;< ?0 / /45 / 80 0 / : ;<0/0 5/ 4 4 0?02 203 / < 0 5 0 / 0 /7 /< 09 203 : 4 / 203 /< 5/7 /B 2565 6 A5 5/ 10/ 5/ 25 /45 0 / 5/ 2 0 05/ < 0 5 0 : 2 2 60/6 / ?0 4 51 6 < 0 5 0 : / 1 / < 0 5 B ;< 85 5/ < 0 5 /
  • 18.
    ! * " # /45/ 8 0 2203 4 0?02 / < 0 5 0 / 0 /7 25 /0 5 4 51 6 203 / 5 : 0645 20 5/ 4 52 /5/ : E / < 0 7 /B 2565 /< 5/ < 0 5 0 / 4 =0 / ? 2< 20 = < 203 / / 8 2 4 < < 0 5 0 7 2< 4< 2564 6 / 25 < 0 5 0 / F 5 0 0 / < 5 09 / 45 5 5/ 5/ ;<0/0 5/ /0/ 6 1 / 03 2 0 8 / < 0 5/ 45 5 6 5/ < = 9 Q5 4 / 0 2203 0 0?02 4 /5 2< 5 : 2 0?02 5 2565 < 0 5 / 0 5/7 ;< 5 / /45 / 8 5 / C 0 2 6 0 =5 <2 5 E < 0 7 1 09 5 / 6 58A 0=0 064 20 0 / 4 52 /5 ? < 5 20 ;< / /0 5 < 0 8 / 1< 064 6 203 2205 / 25 2 0= / /0 65 0 A</ 0?02 4 060 / 5 25 ?5 60 / : /</ 2 </ / ;< 4< 0 25 / < < 0 5 B / 1<060 5 : ? 2 0=0 / 2205 / 25 2 0= / 5 4 = 0= / ;< / 1 4 52 /5 < 0 5 0 0 / 09 2< 5 5 / 8 20 5 $ 52 060 5 $ G$ G "G 2205 / 5 2 0= / : 4 = 0= / /*,*0* ) 5 ( - ( ( ( 5/ 4 52 /5/ /0/ 6 1 / 03 2 0 /5 = < 5/ 6 0 0 02 5 / ?0 0 5/ 5/ /4 2 0=5/ 4 52 060 5/ 5 4 0?02 203 5/ 58A 0=5/ 2 0 7 5/ ;< / ?0 /45 / 8 / : ? 2< 20 / 1<060 57 /B 2565 5/ 10/ 5/ / / = < 205 / 5 5/ 5/ 4 52 /5/ /2 0 5/ 5/ 4 52 060 5/7 /2 08 4 E6 5/ 25 5 ;< /5 = 0?02 5/ 45 /45 / 8 /7 ;<0 / 0 < 5 0 : /45 / 80 0 064 6 25 2205 / :K5 2205 / 25 2 0= /7 / 1H / 06 25 = 0 7 4 / 1< 25 ?5 60 5/ 4 52 /5/ /*,*+* ) 5 ( - ( : * 2 5 $< 5 60 : D 2 / 1<060 5 / 2 2 B/ 02 / / =0205 4 = 0?02 ;< /5 25 ?5 6 / / 2 2 B/ 02 / C2 02 / :K5 / 0/45/0205 / 1 / /5 020 /7 5 / / 8 2 5/ 2 0 05/ 2 4 203 5/ / =0205/M 4 5 2< / D ?5 6< 5 5/ /01<0 / 4 52 060 5> $ G$ G G 09 1<060 5 : 0203 =0205 : 60 5 4 5 <2 5 5 25 ?5 6 20 P 0 1
  • 19.
    ! - " # $G$ G &G 09 1<060 5 : 0203 =0205 : 60 5 4 5 <2 5 5 25 ?5 6 20 4 205 / /45 / 80 0 4 58 203 5/ / =0205/7 / 0? / 4 / 0 /4 2203 7 25 /45 20 4 205 / : P 0 17 6 0 5 5/ 10/ 5/ ;< =0 20 25 ?5 60 5/ 4 5 <2 5/ 25 5/ 2 0 05/ 25 ?5 60 5/ 10/ 5/ 25 /45 0 / /*0* ? 5/ / =0205/ 5 25 ?5 6 / 2 5/ < 54 203 /5 5/ 2< 5 5/ 4 52 060 5/> $ G$ G G 09 1<060 5 : 0203 =0205 : 60 5 4 5 <2 5 5 25 ?5 6 20 P 0 1 $ G$ G &G 09 1<060 5 : 0203 =0205 : 60 5 4 5 <2 5 5 25 ?5 6 20 4 205 / 20 4 205 / : P 0 1 6 0 10/ 5/ # D F : 2< ;<0 DD 45/ 05 6 7 0 2 <: 5 25 2 /05 / ;< / D : 58 0 5> /*+* " ( ( " ( 2 5 $< 5 D 60 5 / 4 < / 4 60 7 2540 : 09 5/ 4 540 5/ ;< 6< / 25 ?5 60 /0/ 6 1 / 03 2 0 7 = < 5 45/080 0 064 6 6 A5 / 25 0 < / E 0/0/ / 5/ 5/ 0 2 <: > L 0/? 2203 2 0 7 ;< / = < 25 ?5 6 $ G$ G G 0203 : / 1<060 5 / 0/? 2203 2 0 7 5/ 09 5 45 560 C 0 8L 5 ?5 60 25 5/ ;<0/0 5/ / =0205 2< 5 09 $ G$ G G 09 1<060 5 : 0203 =0205 : 60 5 / =0205 5 25 ?5 6 20 P 0 1 : $ G$ G &G 09 1<060 5 : 0203 =0205 : 60 5 / =0205 5 25 ?5 6 20 4 205 / 2L 2 B/ 02 / 5 20 / 5/ 4 52 /5/7 = < 5 25 ?5 6 / 2203 & " / 6 < <:5/ 6C 5 5/ 25 2203 : E 0/0/ /
  • 20.
    ! " # / 82 0= /5/ 4 52 060 5/7 / 1H 25 /45 5/ 0 02 5 / 1 / 03 L $ 5= 5 / < 60 5 / 2< 25 ?5 6 : 5 205 / : ;<0/0205 / / 5 /*3* 6 " /*3*'* I D 2 5 $< 5 ?56 /</ 8 A 5 / 25 / 8H/;< 6 A5 25 0 < ?02 20 /< /0/ 6 1 / 03 2 0 7 6 0 / 5 5 6C 5 5/ / 8 20 5/ 25 0 < 203 $ / 6 A5 < 0 09 45 B 02 2 0 7 5/ 58A 0=5/7 0 02 5 / 4 52 /5/7 /< 5/ < 0 5 B /7 E 0/0/ 5/7 2205 / 25 2 0= / : 4 = 0= /7 =0/03 /0/ 6 45 20 : 2< ;<0 5 0 020 0= 4 /5 /60 0 =C/ < 05 / 560 C 20 /*3*,* "DD D G % / 2 </ / 5 25 ?5 60 / 5 /=0 205 / /0/ 6 1 / 03 2 0 8 / 0 = / 01 / 25 58A 5 064 6 / 2205 / 25 2 0= / :K5 4 = 0= / 25 /45 0 / 4 = 0 / 6 /< 2< 20 5 / 58A 0=57 / D ?0 0 5 4 52 060 5 $ G$ G "G 2205 / 25 2 0= / : 4 = 0= /7 ;< 4 60 064 6 203 : / 1<060 5 / 2205 / 25 2 0= / :K5 4 = 0= / 2 60 / 51 5/ 58A 0=5/ /01<0 /> L =0/ 5 25 ?5 60 / 5/ ;<0/0 5/ /0/ 6 2 0 7 0 2 <: 5 ;< A / 5/ 2 0 / 8L 60 / 2 </ / 5 25 ?5 60 2L = < 2 /0 54 2205 / 4 =0 /< 2< 20 L 60 064 2205 / 25 2 0= / L 10/ 5/ /< 5/ / 2205 / 56 / ?L =0/03 064 6 203 : ? 2 0=0 2203 56 < 5 0 : /45 / 80 0 4 0 020 < 2203 25 2 0= 4 < 9 5 25 ?5 60 5 / / E / 5 1 09 203 / E 0 =5 <2 / / 2564 560/5
  • 21.
    ! " # " =7 ( " " " ) 7*' ( ( " - ( ) " " " 2 5 $< 5 D / 8 20 57 064 5 : 6 0 < /0/ 6 2 0 8 / 5 5/ ;<0/0 5/ 5 6 - > 0/ 6 2 0 / D 52<6 5 $5 B 02 0 7 < 0 7 $ 52 060 5/ / <2205 / : 10/ 5/ /B 2565 5 5/ 52<6 5/ 25 /0 5/ 680C /0/ 6 1 / 03 2 0 7*, " " " " 20 255 0 203 25 560 C 0 / /45 / 8 =0/ : 4 58 6 < 2 0 7*0 ( ( 2 5 $< 5 D / 8 20 5 4 52 060 5 $ G$ G G 5 5 5/ 52<6 5/ : 10/ 5/7 4 25 5 / <2 < 52<6 0 /0/ 6 1 / 03 2 0 / 25 5 ? 20 0 22 /5 / 2540 / =01 / : =0 </5 52<6 5/ 58/5 5/ 0 E 5 5/ 5/ 4< 5/ < 0 09 203 25 5 52<6 5/ 680C 0 2 <: 25 5 : 10/ 5 5/ 52<6 5/ 4 52 20 F 7 ;< / 1H 1< 205 / 205 / /5 58 01 5 05 2<64 060 5 4 / 0 2203 / /45 / 8 25 5 5/ 2 6805/ / 5/ 52<6 5/7 5/ ;< / E 65 0?02 5/ 4 =0 4 58 203 560 C 0 0/ 08<203 / 09 2< 5 0/ 0/ 08<203 / 5/ 52<6 5/ 4 / 0 2203 2D0= < A 64 2 < / = /05 /7 4 ? 2 5 25 / = 203 0 ?5 6 203 7 6 0 5 45 5 6 5/ H 06 = /03 5 010 5/ 52<6 5/ 5 =01 /
  • 22.
    ! " # 7*+ (- ( ( " " 2 5 $< 5 25 5 5 5/ 5/ 10/ 5/ 25 /45 0 / /</ 4 52 /5/7 25 ?0 0 65/ /< 2<64 060 5 25 5/ ;<0/0 5/ /</ 2 0 / : 2<64 06 5 ? 2 0=5 /< /0/ 6 2 0 $ / 1< / 25 5 064 6 : 6 0 25 5 5/ 10/ 5/ 2 0 2< 5 4 52 060 5> $ G$ G G 5 5 52<6 5/ : 10/ 5/M : $ G+G "G 0/ 10/ 5/ 7 5 / / 8 2 0 0?02 203 7 6 2 60 57 2<4 203 7 4 5 2203 7 0 645 25 / = 203 : 0/45/0203 5/ 10/ 5/ 2 0 / 64 /
  • 23.
    ! " " # "J 9 2'
  • 24.