Download free for 30 days
Sign in
Upload
Language (EN)
Support
Business
Mobile
Social Media
Marketing
Technology
Art & Photos
Career
Design
Education
Presentations & Public Speaking
Government & Nonprofit
Healthcare
Internet
Law
Leadership & Management
Automotive
Engineering
Software
Recruiting & HR
Retail
Sales
Services
Science
Small Business & Entrepreneurship
Food
Environment
Economy & Finance
Data & Analytics
Investor Relations
Sports
Spiritual
News & Politics
Travel
Self Improvement
Real Estate
Entertainment & Humor
Health & Medicine
Devices & Hardware
Lifestyle
Change Language
Language
English
Español
Português
Français
Deutsche
Cancel
Save
Submit search
EN
Uploaded by
Peio Gil
2,540 views
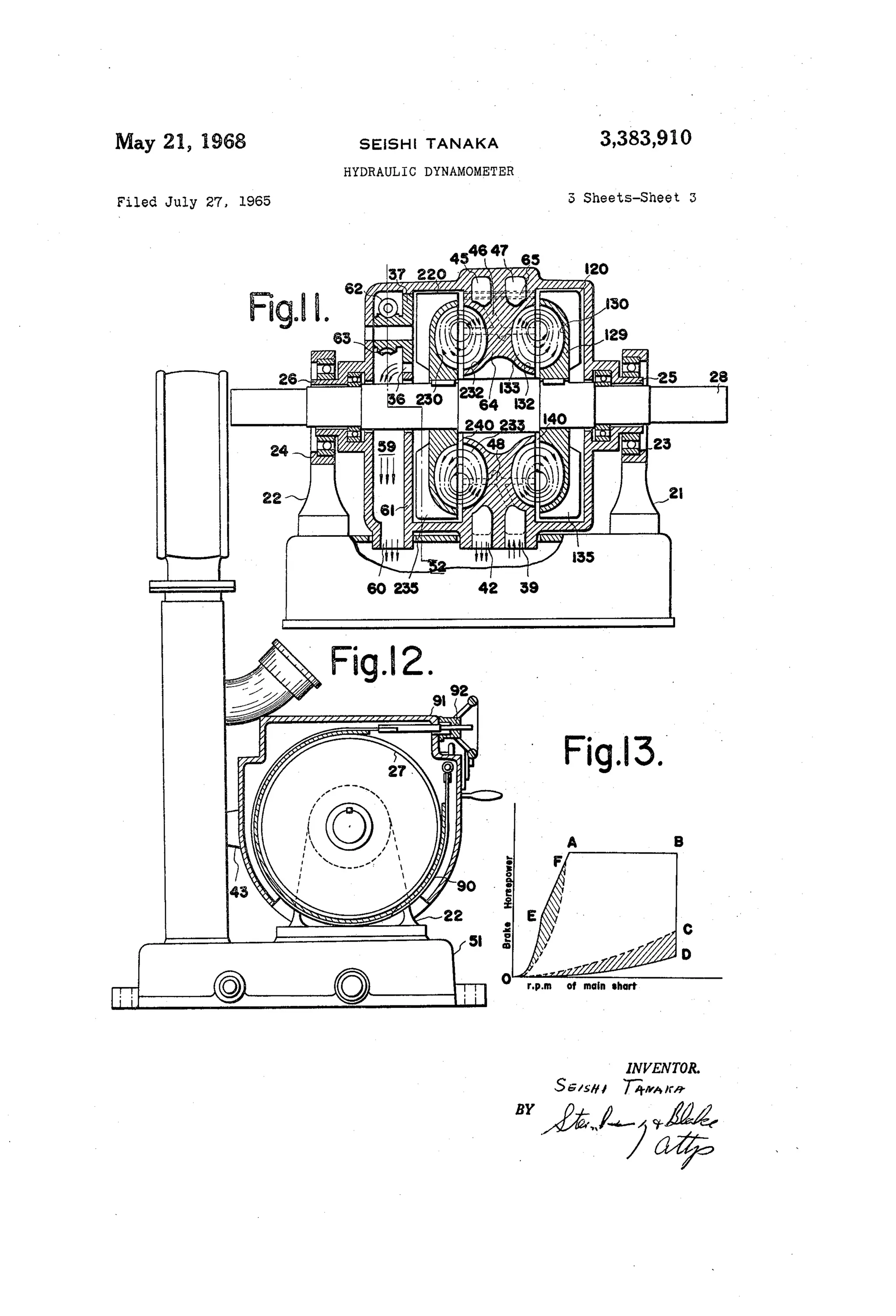
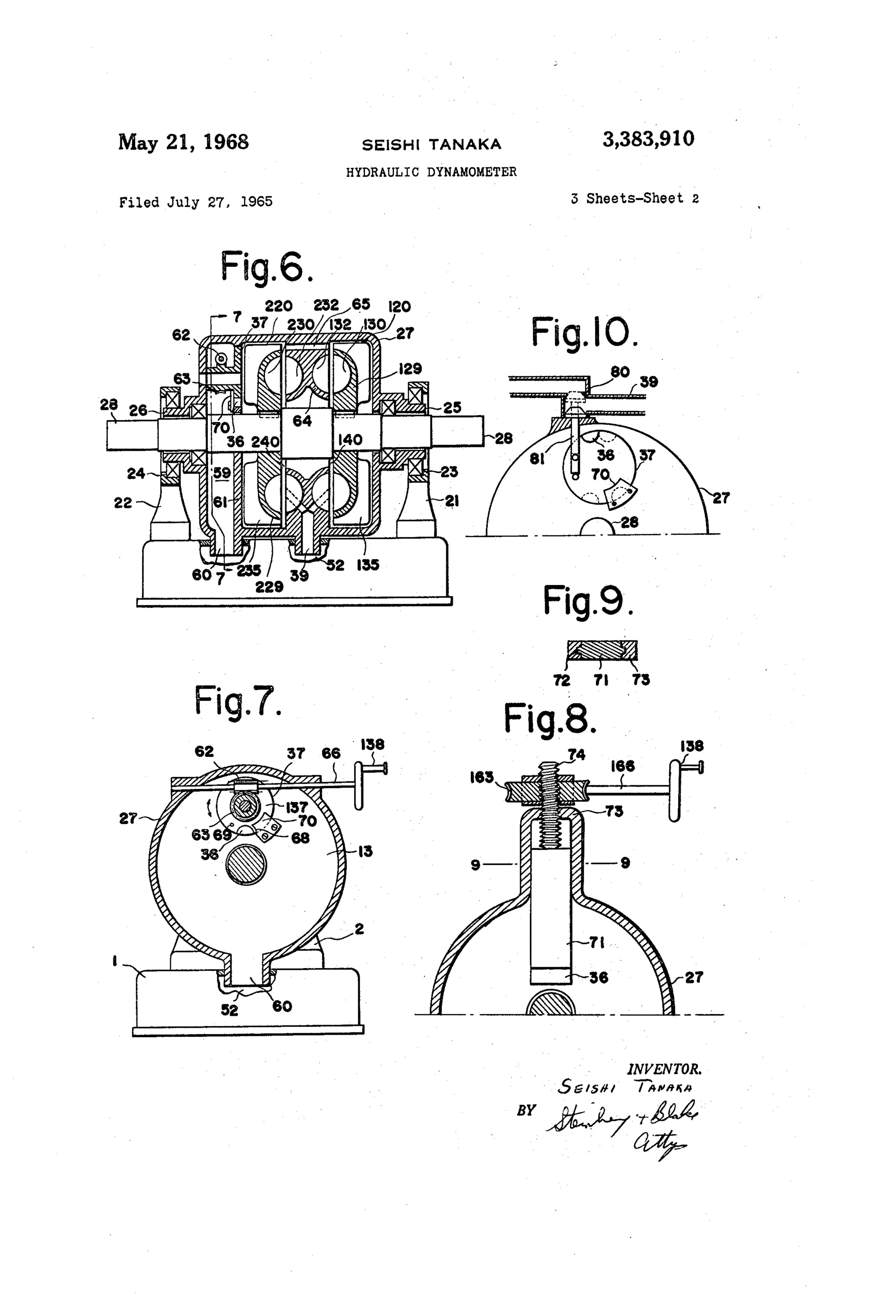
Hydraulic dynamometer
Read more
3
Save
Share
Embed
Embed presentation
Download
Downloaded 27 times
1
/ 8
2
/ 8
3
/ 8
4
/ 8
5
/ 8
6
/ 8
7
/ 8
8
/ 8
More Related Content
PPTX
Dynamometers
by
Yash Chauhan
PPT
Meeting w13 chapter 4 part 3
by
Hattori Sidek
PPT
Dynamometers by abhil ash
by
abhilash k
PPTX
Introduction to Gears & Dynamometers (Theory of Machines)
by
Ishan Parekh
PPT
Electrical machines
by
Prabhu R
DOCX
Chapter 1
by
softech01
DOCX
Vacuum Gauges Explained
by
Anshuman Punj
PDF
11.2.2 App DC Shunt Motor
by
Talia Carbis
Dynamometers
by
Yash Chauhan
Meeting w13 chapter 4 part 3
by
Hattori Sidek
Dynamometers by abhil ash
by
abhilash k
Introduction to Gears & Dynamometers (Theory of Machines)
by
Ishan Parekh
Electrical machines
by
Prabhu R
Chapter 1
by
softech01
Vacuum Gauges Explained
by
Anshuman Punj
11.2.2 App DC Shunt Motor
by
Talia Carbis
Viewers also liked
PPTX
Hydraulic and pneumatic load cells
by
maqarrabellahi
PPTX
Battery Ignition System
by
Nikhil Londhe
PDF
Parkinson’s gear tester
by
Nirav Golani
PPTX
Ignition system
by
sauravsaxena3
PPTX
Presentation on “pressure, manometers,bourdon gauges and load cells
by
Shaik Afzal
PPTX
Thermocouple gauge & pirani gauge
by
Naveen Choudhary
PPTX
Gear tooth terminology
by
somesh123patani
PPTX
brakes and dynamometer
by
Gulfaraz alam
PPTX
Bourdon tube and manometer
by
buttex
PPTX
pressure measurement devices
by
Naveen Choudhary
PPTX
Dynamometers
by
BABARIA INSTITUTE OF TECHNOLOGY,VARNAMA,VADODARA 005
PDF
Rope brake dynamometer
by
purvansh_v
PPT
Pressure Measurement
by
Living Online
Hydraulic and pneumatic load cells
by
maqarrabellahi
Battery Ignition System
by
Nikhil Londhe
Parkinson’s gear tester
by
Nirav Golani
Ignition system
by
sauravsaxena3
Presentation on “pressure, manometers,bourdon gauges and load cells
by
Shaik Afzal
Thermocouple gauge & pirani gauge
by
Naveen Choudhary
Gear tooth terminology
by
somesh123patani
brakes and dynamometer
by
Gulfaraz alam
Bourdon tube and manometer
by
buttex
pressure measurement devices
by
Naveen Choudhary
Dynamometers
by
BABARIA INSTITUTE OF TECHNOLOGY,VARNAMA,VADODARA 005
Rope brake dynamometer
by
purvansh_v
Pressure Measurement
by
Living Online
Download