Embed presentation
Download to read offline


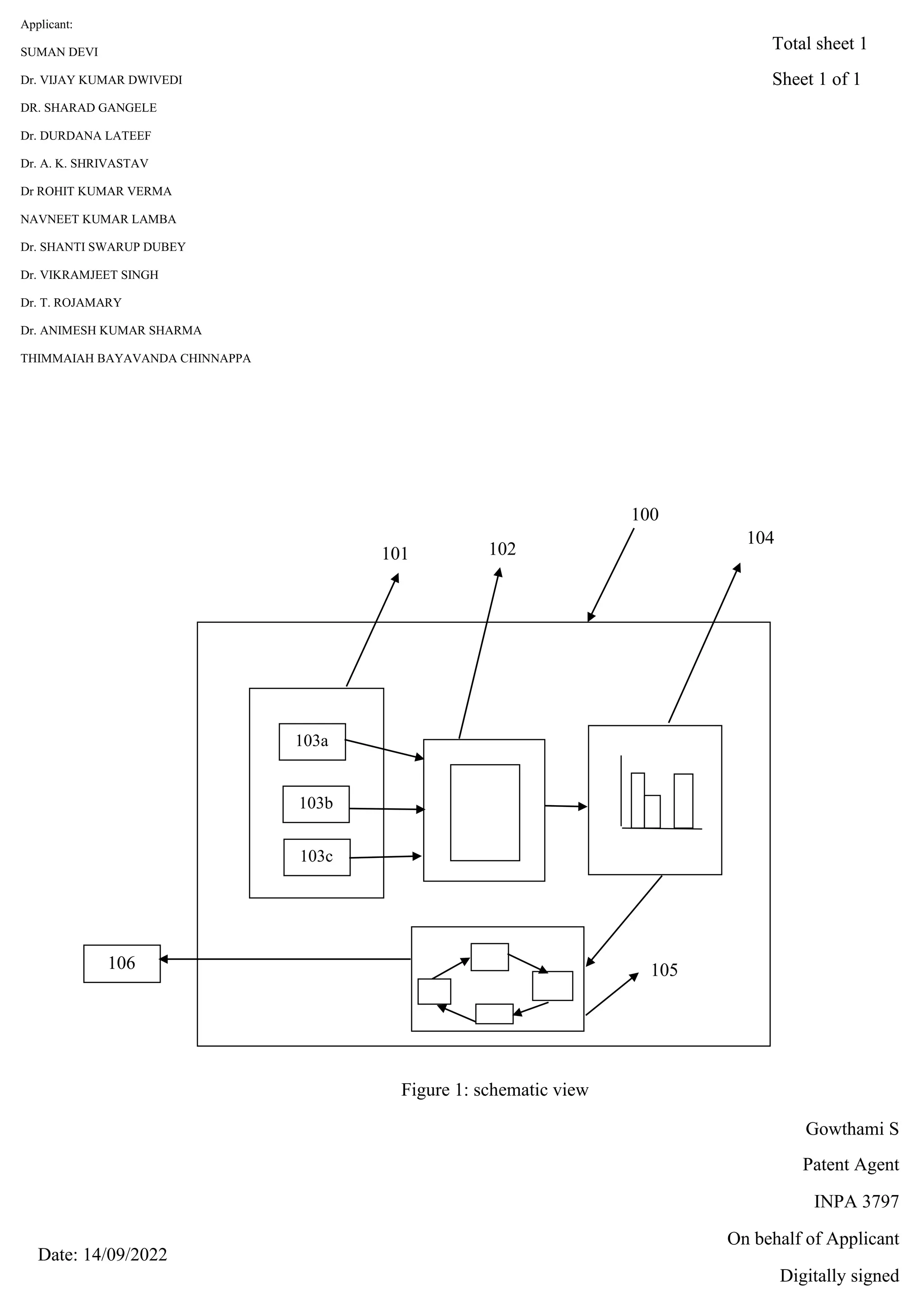
The document is a patent application submitted by Suman Devi, Dr. Vijay Kumar Dwivedi, Dr. Sharad Gangele, Dr. Durdana Lateef, Dr. A. K. Shrivastav, Dr Rohit Kumar Verma, Navneet Kumar Lamba, Dr. Shanti Swarup Dubey, Dr. Vikramjeet Singh, Dr. T. Rojamary, Dr. Animesh Kumar Sharma, and Thimmaiah Bayavanda Chinnappa. It includes a single figure, Figure 1, which provides a schematic view of the patent application.
