Dead load of structure (constant)
Concrete slab =Slab ThicknessxDensityof concrete
=0.15m x 0.24kN/m3
=3.6 kN/m2
BrickWall=WallHeight xThicknessxDensityof brick
=3.5m x0.15m x19 kN/m3
=9.975kN/m2
Dead-load factor= 1.4
Live load of rooms (constant)
Living Room =1.5 kN/m2
Dining Room =1.5 kN/m2
Dry Kitchen =1.5 kN/m2
Wet Kitchen =1.5 kN/m2
Terrace =1.5 kN/m2
WC =1.5 kN/m2
Store =1.5 kN/m2
Guest Room =1.5 kN/m2
Bedroom =1.5 kN/m2
Balcony =1.5 kN/m2
Live-loadfactor =1.6
Analysis of Beams
Ly =Longerside of slab
Lx =Shorter side of slab
Ly /Lx = 2or >2 , One way slab
Ly /Lx <2 , Two wayslab
GroundFloor LevelPlan
`
Slab 6-4,D-A =4000/3525
=1.134 (<2)
=Two way slab
Slab 4-2,D-A =4000/1500
=2.667(>2)
=One way slab
Slab 4-1,E-D =4255/2050
=2.075(>2)
=One way slab
First Floor LevelPlan
Slab 7,G-F =3000/2287
=1.311
=Two way slab
Slab 6, G-F =3000/2287
=1.311
=Two way slab
Slab 7-6,F-E =4575/3000
=1.525
=Two way slab
Slab 6-5,G-F =3000/1500
=2
=One way slab
Slab 5-4,G-F =3000/2025
=1.481
=Two way slab
Slab 6-4,F-C =6950/3525
=1.971
=Two way slab
Slab 4-2,F-D =6000/1500
=4
=One way slab
GroundFloor BeamA, 6-4
Dead load:
Slab 6-4,D-A
Brickwall
BeamSelf-weight
Live load:
Slab 6-4,D-A
TotalDead load
Dead load on slab6-4, D-A
=Dead load on slab xLx/2
`=3.6 kN/m2
x(3.525m)/2
=6.345 kN/m
Dead load on brickwallA6-A4
=9.975kN/m
BeamSelfweight
=Beamsize xconcrete density
=0.23m x0.5m x24kN/m3
=2.76kN/m
TotalDead load
=6.345 +9.975+2.76
=19.08 kN/m
TotalLive load
Live load on slab6-4, D-A
=Live load on slab xLx/2
=1.5 kN/m2
x(3.525m)/2
=5.287 kN/m
TotalUltimate load
TotalUltimate dead load
=Total deadload x 1.4
=19.08 kN/mx1.4
=26.71 kN/m
TotalUltimate live load
=Total live loadx1.4
=5.287 kN/mx 1.4
=7.4 kN/m
TotalUltimate load
=26.71 +7.4
=34.11 kN/m
ΣFy = 0
RA6y =RA4y
=(34.11 x3.525) /2
=60.12 kN
SheerForce Diagram
At point A6 there isa 60.12kN force acting
upwards (+ve)
At the middle of the beam,there isno point
load, thus UDL was convertedtoPLonly for
calculationof reactionforces.
34.11 kN/mx 1.7625m= 60.12 kN
60.12 kN– 60.12 kN=0
At point B there isa 60.12 kNforce acting
downwards (-ve)
0kN– 60.12 kN= - 60.12kN
Bending Moment Diagram
At point A6, there isonly a line so no area =
0kNm
At middle point,
A1 =A2
= ½x1.7625 x60.12kN
= 52.98 kNm
At point A4,
Area of triangle (+ve) +areaof triangle (-ve)
=52.98 – 52.98
=0 kNm
GroundFloor BeamD-B, 4
Dead load:
Slab 6-4,D-A
Slab 4-2,D-A
Brickwall
BeamSelf-weight
Live load:
Slab 6-4,D-A
Slab 4-2,D-A
TotalDead load
Dead load on slab6-4, D-B
=Dead load on slab xLx/2
=3.6 kN/m2
x(2.630m)/2
=9.468 kN/m
Dead load on slab4-2, D-B
=Dead load on slab xLx/2
=3.6 kN/m2
x(2.630m)/2
=9.468 kN/m
Dead load on brickwallD4-B4
=9.975kN/m
BeamSelfweight
=Beamsize x concrete density
=0.15m x 0.5m x24kN/m3
=1.8 kN/m
TotalDead load
=9.468 +9.468 + 9.975+ 1.8
=30.71 kN/m
TotalLive load
Live load on slab6-4, D-A
=Live load on slab xLx/2
=1.5 kN/m2
x(2.63m)/2
=1.9725 kN/m
Live load on slab4-2, D-A
=Live load on slab xLx/2
=1.5 kN/m2
x(2.63m)/2
=1.9725 kN/m
Totallive load
=1.9725 +1.9725
=3.945 kN/m
TotalUltimate load
TotalUltimate dead load
=Total deadload x 1.4
=30.71 kN/mx1.4
=42.994kN/m
TotalUltimate live load
=Total live loadx1.4
=3.945 kN/mx1.4
=5.523 kN/m
TotalUltimate load
=42.994+5.523
=48.517 kN/m
ΣFy = 0
RAy =RBy
=(48.517 kN/mx 2.63m) /2
=63.79kN
SheerForce Diagram
At point Dthere is a63.79 kNforce acting
upwards (+ve)
At the middle of the beam,there isno point
load, thus UDL was convertedtoPLonly
for calculationof reactionforces.
48.517 kN/mx 1.315 m = 63.79kN
63.79kN– 63.79kN=0
At point B there isa 63.79kNforce acting
downwards (-ve)
0kN– 63.79kN= - 63.79kN
Bending Moment Diagram
At point D, there isonly a line so no area =
0kN
At middle point,
A1 =A2
= ½x1.315 x63.79N
= 41.941 kNm
At point B,
Area of triangle (+ve) +areaof triangle (-ve)
=41.941 – 41.941
=0 kNm
GroundFloor BeamD, 4-1
Dead load:
Slab 4-1,E-D
Brick wallD, 4-2
BeamSelf-weight
BeamD-A, 2
Live load:
Slab 4-1,E-D
Slab 4-2,D-A
Calculationfor BeamD-A, 2
Dead load:
Slab 4-2,D-A
Beamself-weight
Live load:
Slab 4-2,D-A
TotalDead load
Dead load on slab4-2, D-A
=Dead load on slab xLx/2
=3.6 kN/m2
x(1.5m)/2
=2.7 kN/m
BeamSelfweight
=Beamsize xconcrete density
=0.15m x 0.5m x24kN/m3
=1.8 kN/m
TotalDead load
=2.7 +1.8
=4.5 kN/m
TotalLive load
Live load on slab4-2, D-A
= Live load on slab xLx/2
=1.5 kN/m2
x(1.5m)/2
=1.125 kN/m
TotalUltimate load
TotalUltimate dead load
=Total deadload x 1.4
= 4.5 kN/mx1.4
= 6.3 kN/m
TotalUltimate live load
=Total live loadx1.4
= 1.125 kN/mx1.6
= 1.8 kN/m
TotalUltimate load
= 6.3 +1.8
= 8.1 kN/m
ΣFy = 0
RDy =RAy
=(8.1 kN/mx4.0m) / 2
=16.2 kN
BeamD, 4-1
TotalDead load
Dead load on slab4-1, E-D
=Dead load on slab xLx/2
=3.6 kN/m2
x(2.050m)/2
=3.69 kN/m
BrickwallD,4-2
=9.975kN/m
BeamSelfweight
=Beamsize xconcrete density
=0.15m x 0.5m x24kN/m3
=1.8 kN/m
TotalDead load from D4toD2
=3.69 +9.975+1.8
=15.465 kN/m
TotalDead load from D2toD1
=3.69 +1.8
=5.49 kN/m
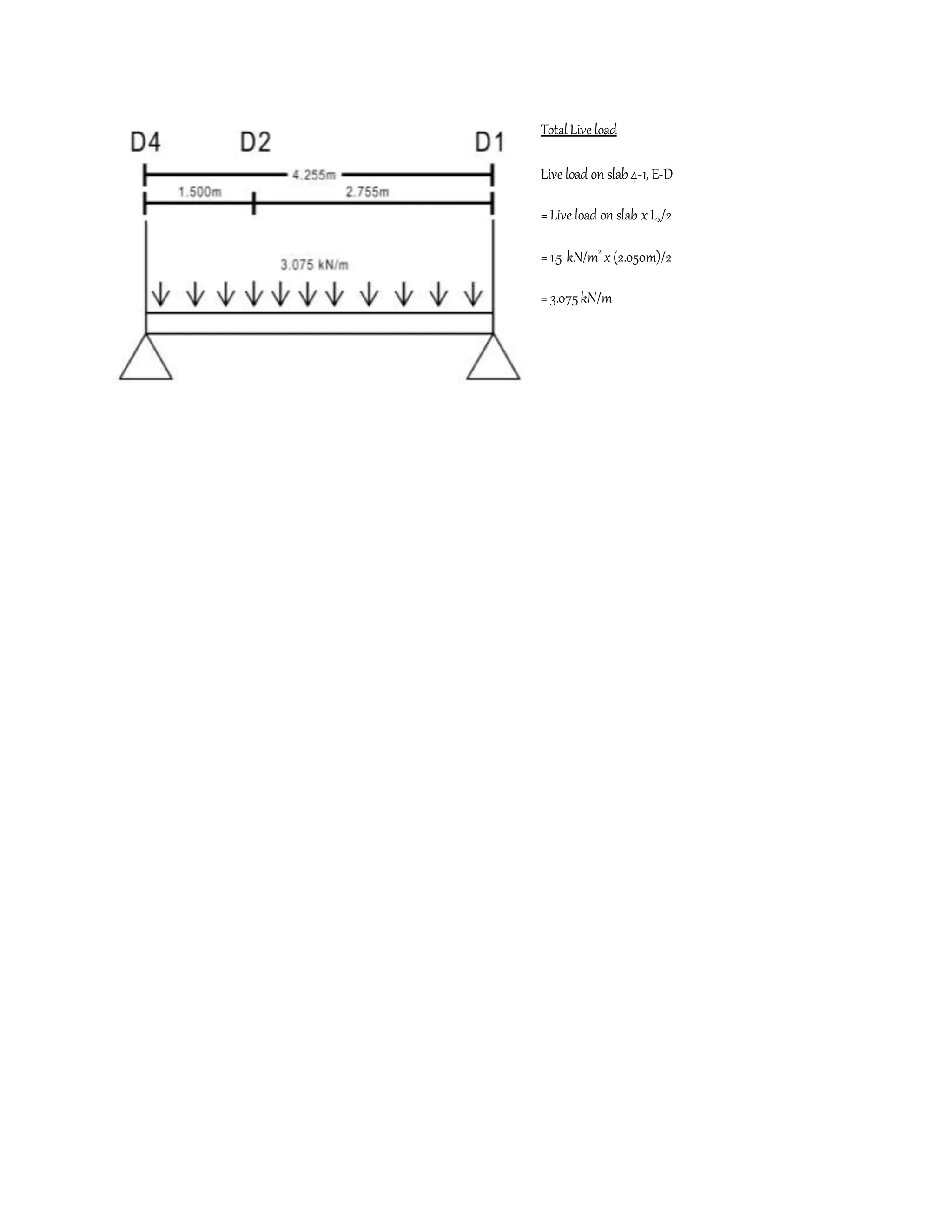
TotalLive load
Live load on slab4-1, E-D
=Live load on slab xLx/2
=1.5 kN/m2
x(2.050m)/2
=3.075kN/m
TotalUltimate load
TotalUltimate dead load D4-D2
=Total deadload x 1.4
=15.465 kN/mx 1.4
=21.651 kN/m
TotalUltimate dead load D2-D1
=Total deadload x 1.4
=5.49 kN/mx1.4
=7.686kN/m
TotalUltimate live loadD4-D2
=Total live loadx1.6
=4.2 kN/mx1.6
=6.72kN/m
TotalUltimate live loadD4-D1
=Total live loadx1.6
=3.075kN/m x1.6
=4.92 kN/m
TotalUltimate load D4-D2
=21.651 +6.72
=28.371kN/m
TotalUltimate load D2-D1
=7.686+4.92
=12.606 kN/m
ΣMD4 =0
0= -4.255(RD1y) +[28.371x1.5 x (1.5/2)]+
(16.2 x1.5) +[12.606 x2.755x (2.755/2)]
RD1y = 104.057/4.255
RD1y = 24.455 kN
ΣFy = 0
0= RD4y +RD1y – 16.2– (1.5 x28.371) –
(12.606x 2.755)
RD4y =69.031kN
SheerForce Diagram
At point D4there isa 69.031 kNforce
acting upwards (+ve)
UDL was convertedtoPLonly for
calculationof reactionforces.
28.371kN/mx 1.5 m= 42.5565kN
69.031 kN– 42.5565kN=26.4745kN
At point D2there isa 16.2 kNforce acting
downwards (-ve)
26.4745kN– 16.2 kN= 10.2745kN
At point D1 there isa 12.606 kNforce
acting downwards (-ve)
12.606 kN/mx2.755m
=34.729kN
10.2745kN– 34.729kN
=-24.455kN
Bending Moment Diagram
At point D4, there isonly aline so no area= 0kN
At point D2,
½ x(69.031+26.475) x1.5m =71.63 kNm
At point D2to midpoint,
½ x(10.275) x2.755m= 14.15 kNm
At point D1, force isacting downwards. (-ve)
-½x24.455 x2.1275 = -26.014kNm
First Floor Beam F-D, 4
Dead load:
Slab 4-2,F-D
Slab 6-4,F-C
Brickwall
BeamSelf-weight
Live load:
Slab 4-2,F-D
Slab 6-4,F-C
TotalDead load
Dead load on slab4-2, F-D
=Dead load on slab xLx/2
=3.6 kN/m2
x(1.500)/2
=2.7 kN/m
Dead load on slab6-4, F-C
=Dead load on slab xLx/2
=3.6 kN/m2
x(3.525)/2
=6.345 kN/m
Dead load on brickwallD4-B4
=9.975kN/m
BeamSelfweight
=Beamsize xconcrete density
=0.15m x 0.6mx 24kN/m3
=2.16 kN/m
TotalDead load
=2.7 +6.345+ 9.975+ 2.16
=21.18 kN/m
Live load on slab4-2, F-D
=Live load on slab xLx/2
=1.5 kN/m2
x(1.5m)/2
=1.125 kN/m
Live load on slab6-4, F-C
=Live load on slab xLx/2
=1.5 kN/m2
x(3.525m)/2
=5.2875kN/m
Totallive load
=1.125 +5.2875
=6.4125 kN/m
TotalUltimate load
TotalUltimate dead load
=Total deadload x 1.4
=21.18 kN/mx 1.4
=29.652 kN/m
TotalUltimate live load
=Total live loadx1.6
=1.125 kN/mx1.6
=1.575 kN/m
TotalUltimate load
=6.3 +1.575
=7.875kN/m
ΣFy = 0
RFy = RDy
=(7.875kN/mx6.0m) / 2
=23.625 kN
SheerForce Diagram
At point Dthere is a23.625 kNforce
acting upwards (+ve)
At the middle of the beam,there isno
point load, thus UDLwas convertedto
PL onlyfor calculationof reactionforces.
7.875kN/mx3 m= 23.625 kN
23.625kN– 23.625 kN=0
At point B there isa 23.625kNforce
acting downwards (-ve)
0kN– 23.625 kN= - 23.625kN
Bending Moment Diagram
At point D, there isonly a line so no area
=0 kN
At middle point,
A1 =A2
= ½x3.0 x23.625 N
= 35.4375kNm
At point B,
Area of triangle (+ve) +areaof triangle (-ve)
=23.625 – 23.625
=0 kNm
First Floor Beam F, 6-4
Dead load:
Slab G-F,5-4
Slab F-C,6-4
BeamSelf-weight
Calculationfor secondary beam,BeamG-F,5
Dead load:
Slab G-F,6-5
Slab G-F,5-4
BeamSelf-weight
Totaldead load
Dead load on slabG-F,6-5
=Dead load on slab xLx/2
=3.6 kN/m2
x(1.5)/2
=2.7 kN/m
Dead load on slabG-F,5-4
=Dead load on slab xLx/2
=3.6 kN/m2
x(2.025)/2
=3.645 kN/m
BeamSelf-weight
=Beamsize xconcrete density
=0.15m x 0.7mx24kN/m3
=2.52 kN/m
TotalDead load
=2.7 +3.645+ 2.52
=8.865kN/m
TotalUltimate load
TotalUltimate dead load
=Total deadload x 1.4
=8.865kN/mx 1.4
=12.411 kN/m
ΣFy = 0
RGy = RFy
=(12.411 kN/mx3.0m) / 2
=18.6165 kN
BeamF, 6-4
TotalDead load
Dead load on slab5-4, G-F
=Dead load on slab xLx/2 x2/3
=3.6 kN/m2
x(2.025)/2x2/3
= 4.86kN/m
Dead load on slab6-4, F-C
=Dead load on slab xLx/2 x2/3
=3.6 kN/m2
x(3.525)/2x2/3
= 4.23 kN/m
BeamSelfweight
=Beamsize xconcrete density
=0.15m x 0.6mx 24kN/m3
=2.16 kN/m
TotalDead load F6-F5
=4.23 +2.16
=6.39 kN/m
TotalDead load F5-F4
= 4.86+ 4.23+2.16
= 11.25 kN/m
TotalUltimate load
TotalUltimate dead load F6-F5
=Total deadload x 1.4
=6.39 kN/mx1.4
=8.946kN/m
TotalUltimate dead load F5-F4
=Total deadload x 1.4
=11.25 kN/mx1.4
=15.75 kN/m
Load diagram
ΣMF6 =0
0= -3.525(RF4y) +(18.6165x1.5) +[15.75 x2.025x
(2.025/2)]+[8.946x1.5 x(1.5/2)]
RF4y =70.281/3.525
RF4y =19.938 kN
ΣFy = 0
0= RF6y +RF4y – 18.6165– (8.946x1.5) – (15.75 x
2.025)
RF6y =43.99kN
SheerForce Diagram
At point F6there isa 43.99kNforce acting upwards
(+ve)
UDL was convertedtoPLonly for calculationof
reactionforces.
8.946kN/mx1.5 m= 13.419 kN
43.99kN– 13.419 kN= 30.571kN
At point F5there isa 18.6165 kNforce acting downwards (-ve)
30.571 kN– 18.6165 kN= 11.9545 kN
At point F4there isa (15.75 x2.025) kNforce acting downwards (-ve)
15.75 x2.025=31.894 kN
11.9545 – 31.894 kN
=-19.9395 kN
Bending Moment Diagram
At point F6,there is onlya line so no area =0 kN
At point F5,
½ x(43.99+30.571) x1.5m = 55.92 kNm
At point F5to midpoint,
½ x(11.9545) x 0.2625m=1.569 kNm
At point F4,force is acting downwards. (-ve)
-½x19.938 x1.7625 =-26.014kNm
First Floor Beam F, 7-6
Dead load:
Slab G-F,7-6
Slab F-E,7-6
BeamSelf-weight
Calculationforsecondary Beam G-F, 6.5
Dead load:
Slab G-F,7-6
Beamself-weight
Totaldead load
Dead load on slabG-F,7-6
=Dead load on slab xLx/2
=2 [3.6kN/m2
x(2.2875)/2]
=8.235kN/m
BeamSelf-weight
=Beamsize xconcrete density
=0.15m x 0.7mx24kN/m3
=2.52 kN/m
TotalDead load
=8.235+ 2.52
=10.755 kN/m
TotalUltimate load
TotalUltimate dead load
=Total deadload x 1.4
=10.755 kN/mx1.4
=15.057 kN/m
ΣFy = 0
RGy = RFy
=(15.057 kN/mx3.0m) / 2
=22.585kN
BeamF, 7-6
TotalDead load
Dead load on slab7-6.5, G-F
=Dead load on slab xLx/2 x2/3
=3.6 kN/m2
x(2.2875)/2x2/3
=2.745kN/m
Dead load on slab6.5-6, G-F
=Dead load on slab xLx/2 x2/3
=3.6 kN/m2
x(2.2875)/2x2/3
=2.745kN/m
Dead load on slab7-6,F-E
=Dead load on slab xLx/2
=3.6 kN/m2
x(3.000)/2
=5.4 kN/m
BeamSelfweight
=Beamsize xconcrete density
=0.15m x 0.6mx 24kN/m3
=2.16 kN/m
TotalDead load F7-F6.5
= 2.745+ 5.4
=8.145 kN/m
TotalDead load F6.5-F5
=2.745+ 5.4
=8.145 kN/m
TotalUltimate load
TotalUltimate dead load F7-F6.5/F6.5-F6
=Total deadload x 1.4
= 8.145 kN/mx1.4
= 11.403 kN/m
Load diagram
ΣMF7 =0
0= -3.525(RF6y) +(22.59x1.762) +
2[11.403 x1.762 x(1.762/2)]
RF6y =75.206/3.525
RF6y =21.335kN
ΣFy = 0
0= RF7 y +RF6y – 22.59– 2(11.403x
1.762)
RF7 y =41.439kN
SheerForce Diagram
At point F7 there isa 41.439kN force
acting upwards (+ve)
UDL was convertedtoPLonly for
calculationof reactionforces.
11.403 kN/mx 1.762m =20.092kN
41.439 kN– 20.092kN=21.347 kN
At point F6.5there is a22.59 kNforce acting downwards (-ve)
21.347 kN– 22.59kN= -1.243kN
At point F6there isa (11.403 x1.762) kNforce acting downwards (-ve)
11.403 x1.762 =20.092kN
-1.243– 20.092kN
=-21.335 kN
Bending Moment Diagram
At point F6,there is onlya line so no area =0 kN
At point F7,
½ x(41.439) x1.762m = 36.507 kNm
At point F6,force is acting downwards. (-ve)
-½x(1.243+21.335)x1.7625 = -19.897kNm
Columns
ColumnG7
Area of load acting on the columnG7
=1.5m x(4.575/2)m
=2.2875x1.5
=3.431 m2
Groundfloor
Dead load
Beam =(0.15 x0.6 x 24kN/m3
) x(1.5+2.2875)
=8.181 kN
Slab =3.6 kN/m2
x3.431 m2
=12.351 kN
Live load
Terrace =1.5 kN/m2
x3.431 m2
=5.1465 kN
First floor
Dead load
Beam =(0.15 x0.6 x24kN/m3
) x(1.5+2.2875)
=8.181 kN
Slab =3.6 kN/m2
x3.431 m2
=12.351 kN
Wall =9.975kN/m x(1.5+2.2875)
=37.78 kN
Live load
Balcony =1.5 kN/m2
x3.431 m2
=5.1465 kN
Totalload acting oncolumn =8.181+12.351+5.1465+8.181+12.351+37.78+5.1465
=89.137 kN
ColumnF6
Area of load acting on the columnF6
=[1.5m x 2.2875m]+[3.475x2.2875m]+[1.975 x1.7625]+ [1.7625x1.5]
=17.505 m2
Groundfloor
Dead load
Beam =(0.15 x0.6 x24kN/m3
) x(1.5+1.14375+3.0+0.75)
=13.8105 kN
Slab =3.6 kN/m2
x17.505 m2
=63.018 kN
Wall =9.975kN/m x(1.7625+2.2875)
=40.398 kN
Live load
Terrace =1.5 kN/m2
x(2.2875x1.5)
=5.15 kN
Terrace =1. 5kN/m2
x (1.7625x1.5)
=3.965 kN
Dry kitchen =1. 5kN/m2
x (2.2875x3.475)
=11.923 kN
Dining =1. 5kN/m2
x (1.975x1.7625)
=5.221 kN
First floor
Dead load
Beam =(0.15 x0.6 x24kN/m3
) x(1.5+1.14375+3.0+0.75)
=13.8105 kN
Slab =3.6 kN/m2
x17.505 m2
=63.018 kN
Wall =9.975kN/m x(1.7625+2.2875+1.5+1.975)
=75.061 kN
Live load
Balcony =1.5 kN/m2
x(2.2875x1.5)
=5.15 kN
Balcony =1.5 kN/m2
x(1.7625x1.5)
=3.965 kN
Bedroom =1.5 kN/m2
x(2.2875x1.975)
=6.776kN
Masterroom =1.5 kN/m2
x(1.7625x1.975)
=5.221 kN
Totalload acting oncolumn =13.8105 +63.018 +40.398 +5.15 +3.965+11.923 +5.221 +13.8105 +63.018 +75.061+5.15 +3.965+
6.776+5.221
=316.487 kN
ColumnF2
Area of load acting on the columnF2
=[0.75m x1.975m] +[0.75mx1.975m]
=2.9625 m2
Groundfloor
Dead load
Beam =(0.15 x0.6 x24kN/m3
) x(0.75+1.3775)
=4.5954 kN
Slab =3.6 kN/m2
x2.9625 m2
=10.665 kN
Wall =9.975kN/m x(0.75+1.3775)
=21.222 kN
First floor
Dead load
Beam =(0.15 x0.6 x24kN/m3
) x(0.75+3.0)
=8.1 kN
Slab =3.6 kN/m2
x2.9625 m2
=10.665 kN
Wall =9.975kN/m x(0.75+3.0)
=37.406kN
Live load
Balcony =1.5 kN/m2
x(0.75x3.0)
=3.375kN
Totalload acting oncolumn =4.5954 +10.665 +21.222 +8.1 +10.665 +37.406+3.375
=96.0284kN
ColumnB4
Area of load acting on the columnB4
=[1.37 x1.7625] +[0.75mx2.475m]
=4.2708 m2
Groundfloor
Dead load
Beam =(0.15 x0.6 x24kN/m3
) x(0.685+0.685)
=2.9592kN
Slab =3.6 kN/m2
x4.2708 m2
=15.375 kN
Wall =9.975kN/m x(0.685+0.685)
=13.665 kN
Live load
Guestroom =1.5 kN/m2
x(1.37x1.7625)
=3.622 kN
First floor
Dead load
Beam =(0.15 x0.6 x24kN/m3
) x(0.685+0.685+1.0125)
=5.1462 kN
Slab =3.6 kN/m2
x4.2708 m2
=15.375 kN
Wall =9.975kN/m x(0.685+0.685+1.0125)
=23.765kN
Live load
Masterbedroom =1.5 kN/m2
x(1.315x1.7625)
=3.476kN
Masterbath =1.5 kN/m2
x(0.685x1.0125)
=1.040 kN
Totalload acting oncolumn =2.9595 +15.375 +13.665 +3.622+ 5.1462+ 15.375+ 23.765+3.476+1.040
=84.4237 kN

Dead load of structure

  • 1.
    Dead load ofstructure (constant) Concrete slab =Slab ThicknessxDensityof concrete =0.15m x 0.24kN/m3 =3.6 kN/m2 BrickWall=WallHeight xThicknessxDensityof brick =3.5m x0.15m x19 kN/m3 =9.975kN/m2 Dead-load factor= 1.4 Live load of rooms (constant) Living Room =1.5 kN/m2 Dining Room =1.5 kN/m2 Dry Kitchen =1.5 kN/m2 Wet Kitchen =1.5 kN/m2 Terrace =1.5 kN/m2 WC =1.5 kN/m2 Store =1.5 kN/m2 Guest Room =1.5 kN/m2 Bedroom =1.5 kN/m2 Balcony =1.5 kN/m2
  • 2.
  • 3.
    Analysis of Beams Ly=Longerside of slab Lx =Shorter side of slab Ly /Lx = 2or >2 , One way slab Ly /Lx <2 , Two wayslab GroundFloor LevelPlan ` Slab 6-4,D-A =4000/3525 =1.134 (<2) =Two way slab
  • 5.
    Slab 4-2,D-A =4000/1500 =2.667(>2) =Oneway slab Slab 4-1,E-D =4255/2050 =2.075(>2) =One way slab First Floor LevelPlan
  • 6.
    Slab 7,G-F =3000/2287 =1.311 =Twoway slab Slab 6, G-F =3000/2287 =1.311 =Two way slab Slab 7-6,F-E =4575/3000 =1.525 =Two way slab Slab 6-5,G-F =3000/1500 =2 =One way slab Slab 5-4,G-F =3000/2025 =1.481 =Two way slab Slab 6-4,F-C =6950/3525 =1.971 =Two way slab
  • 7.
  • 8.
    GroundFloor BeamA, 6-4 Deadload: Slab 6-4,D-A Brickwall BeamSelf-weight Live load: Slab 6-4,D-A
  • 9.
    TotalDead load Dead loadon slab6-4, D-A =Dead load on slab xLx/2 `=3.6 kN/m2 x(3.525m)/2 =6.345 kN/m Dead load on brickwallA6-A4 =9.975kN/m BeamSelfweight =Beamsize xconcrete density =0.23m x0.5m x24kN/m3 =2.76kN/m TotalDead load =6.345 +9.975+2.76 =19.08 kN/m
  • 10.
    TotalLive load Live loadon slab6-4, D-A =Live load on slab xLx/2 =1.5 kN/m2 x(3.525m)/2 =5.287 kN/m TotalUltimate load TotalUltimate dead load =Total deadload x 1.4 =19.08 kN/mx1.4 =26.71 kN/m TotalUltimate live load =Total live loadx1.4 =5.287 kN/mx 1.4 =7.4 kN/m TotalUltimate load =26.71 +7.4 =34.11 kN/m
  • 12.
    ΣFy = 0 RA6y=RA4y =(34.11 x3.525) /2 =60.12 kN SheerForce Diagram At point A6 there isa 60.12kN force acting upwards (+ve) At the middle of the beam,there isno point load, thus UDL was convertedtoPLonly for calculationof reactionforces. 34.11 kN/mx 1.7625m= 60.12 kN 60.12 kN– 60.12 kN=0 At point B there isa 60.12 kNforce acting downwards (-ve) 0kN– 60.12 kN= - 60.12kN Bending Moment Diagram At point A6, there isonly a line so no area = 0kNm At middle point, A1 =A2 = ½x1.7625 x60.12kN = 52.98 kNm
  • 13.
    At point A4, Areaof triangle (+ve) +areaof triangle (-ve) =52.98 – 52.98 =0 kNm GroundFloor BeamD-B, 4 Dead load: Slab 6-4,D-A Slab 4-2,D-A Brickwall BeamSelf-weight
  • 14.
  • 15.
    TotalDead load Dead loadon slab6-4, D-B =Dead load on slab xLx/2 =3.6 kN/m2 x(2.630m)/2 =9.468 kN/m Dead load on slab4-2, D-B =Dead load on slab xLx/2 =3.6 kN/m2 x(2.630m)/2 =9.468 kN/m Dead load on brickwallD4-B4 =9.975kN/m BeamSelfweight =Beamsize x concrete density =0.15m x 0.5m x24kN/m3 =1.8 kN/m TotalDead load =9.468 +9.468 + 9.975+ 1.8 =30.71 kN/m
  • 16.
    TotalLive load Live loadon slab6-4, D-A =Live load on slab xLx/2 =1.5 kN/m2 x(2.63m)/2 =1.9725 kN/m Live load on slab4-2, D-A =Live load on slab xLx/2 =1.5 kN/m2 x(2.63m)/2 =1.9725 kN/m Totallive load =1.9725 +1.9725 =3.945 kN/m TotalUltimate load TotalUltimate dead load =Total deadload x 1.4 =30.71 kN/mx1.4 =42.994kN/m TotalUltimate live load =Total live loadx1.4 =3.945 kN/mx1.4
  • 17.
  • 18.
    ΣFy = 0 RAy=RBy =(48.517 kN/mx 2.63m) /2 =63.79kN SheerForce Diagram At point Dthere is a63.79 kNforce acting upwards (+ve) At the middle of the beam,there isno point load, thus UDL was convertedtoPLonly for calculationof reactionforces. 48.517 kN/mx 1.315 m = 63.79kN 63.79kN– 63.79kN=0 At point B there isa 63.79kNforce acting downwards (-ve) 0kN– 63.79kN= - 63.79kN Bending Moment Diagram At point D, there isonly a line so no area = 0kN At middle point, A1 =A2 = ½x1.315 x63.79N = 41.941 kNm
  • 19.
    At point B, Areaof triangle (+ve) +areaof triangle (-ve) =41.941 – 41.941 =0 kNm GroundFloor BeamD, 4-1 Dead load: Slab 4-1,E-D Brick wallD, 4-2 BeamSelf-weight BeamD-A, 2
  • 20.
  • 21.
    Calculationfor BeamD-A, 2 Deadload: Slab 4-2,D-A Beamself-weight Live load: Slab 4-2,D-A TotalDead load Dead load on slab4-2, D-A =Dead load on slab xLx/2 =3.6 kN/m2 x(1.5m)/2 =2.7 kN/m BeamSelfweight =Beamsize xconcrete density =0.15m x 0.5m x24kN/m3 =1.8 kN/m TotalDead load =2.7 +1.8 =4.5 kN/m
  • 22.
    TotalLive load Live loadon slab4-2, D-A = Live load on slab xLx/2 =1.5 kN/m2 x(1.5m)/2 =1.125 kN/m TotalUltimate load TotalUltimate dead load =Total deadload x 1.4 = 4.5 kN/mx1.4 = 6.3 kN/m TotalUltimate live load =Total live loadx1.4 = 1.125 kN/mx1.6 = 1.8 kN/m TotalUltimate load = 6.3 +1.8 = 8.1 kN/m ΣFy = 0 RDy =RAy =(8.1 kN/mx4.0m) / 2
  • 23.
  • 24.
    BeamD, 4-1 TotalDead load Deadload on slab4-1, E-D =Dead load on slab xLx/2 =3.6 kN/m2 x(2.050m)/2 =3.69 kN/m BrickwallD,4-2 =9.975kN/m BeamSelfweight =Beamsize xconcrete density =0.15m x 0.5m x24kN/m3 =1.8 kN/m TotalDead load from D4toD2 =3.69 +9.975+1.8 =15.465 kN/m TotalDead load from D2toD1 =3.69 +1.8 =5.49 kN/m
  • 25.
    TotalLive load Live loadon slab4-1, E-D =Live load on slab xLx/2 =1.5 kN/m2 x(2.050m)/2 =3.075kN/m
  • 26.
    TotalUltimate load TotalUltimate deadload D4-D2 =Total deadload x 1.4 =15.465 kN/mx 1.4 =21.651 kN/m TotalUltimate dead load D2-D1 =Total deadload x 1.4 =5.49 kN/mx1.4 =7.686kN/m TotalUltimate live loadD4-D2 =Total live loadx1.6 =4.2 kN/mx1.6 =6.72kN/m TotalUltimate live loadD4-D1 =Total live loadx1.6 =3.075kN/m x1.6 =4.92 kN/m TotalUltimate load D4-D2 =21.651 +6.72 =28.371kN/m
  • 27.
  • 28.
    ΣMD4 =0 0= -4.255(RD1y)+[28.371x1.5 x (1.5/2)]+ (16.2 x1.5) +[12.606 x2.755x (2.755/2)] RD1y = 104.057/4.255 RD1y = 24.455 kN ΣFy = 0 0= RD4y +RD1y – 16.2– (1.5 x28.371) – (12.606x 2.755) RD4y =69.031kN SheerForce Diagram At point D4there isa 69.031 kNforce acting upwards (+ve) UDL was convertedtoPLonly for calculationof reactionforces. 28.371kN/mx 1.5 m= 42.5565kN 69.031 kN– 42.5565kN=26.4745kN At point D2there isa 16.2 kNforce acting downwards (-ve) 26.4745kN– 16.2 kN= 10.2745kN At point D1 there isa 12.606 kNforce acting downwards (-ve) 12.606 kN/mx2.755m
  • 29.
    =34.729kN 10.2745kN– 34.729kN =-24.455kN Bending MomentDiagram At point D4, there isonly aline so no area= 0kN At point D2, ½ x(69.031+26.475) x1.5m =71.63 kNm At point D2to midpoint, ½ x(10.275) x2.755m= 14.15 kNm At point D1, force isacting downwards. (-ve) -½x24.455 x2.1275 = -26.014kNm
  • 30.
    First Floor BeamF-D, 4 Dead load: Slab 4-2,F-D Slab 6-4,F-C Brickwall BeamSelf-weight Live load: Slab 4-2,F-D
  • 31.
  • 32.
    TotalDead load Dead loadon slab4-2, F-D =Dead load on slab xLx/2 =3.6 kN/m2 x(1.500)/2 =2.7 kN/m Dead load on slab6-4, F-C =Dead load on slab xLx/2 =3.6 kN/m2 x(3.525)/2 =6.345 kN/m Dead load on brickwallD4-B4 =9.975kN/m BeamSelfweight =Beamsize xconcrete density =0.15m x 0.6mx 24kN/m3 =2.16 kN/m TotalDead load =2.7 +6.345+ 9.975+ 2.16 =21.18 kN/m
  • 33.
    Live load onslab4-2, F-D =Live load on slab xLx/2 =1.5 kN/m2 x(1.5m)/2 =1.125 kN/m Live load on slab6-4, F-C =Live load on slab xLx/2 =1.5 kN/m2 x(3.525m)/2 =5.2875kN/m Totallive load =1.125 +5.2875 =6.4125 kN/m TotalUltimate load TotalUltimate dead load =Total deadload x 1.4 =21.18 kN/mx 1.4 =29.652 kN/m TotalUltimate live load =Total live loadx1.6 =1.125 kN/mx1.6 =1.575 kN/m
  • 34.
  • 35.
    ΣFy = 0 RFy= RDy =(7.875kN/mx6.0m) / 2 =23.625 kN SheerForce Diagram At point Dthere is a23.625 kNforce acting upwards (+ve) At the middle of the beam,there isno point load, thus UDLwas convertedto PL onlyfor calculationof reactionforces. 7.875kN/mx3 m= 23.625 kN 23.625kN– 23.625 kN=0 At point B there isa 23.625kNforce acting downwards (-ve) 0kN– 23.625 kN= - 23.625kN Bending Moment Diagram At point D, there isonly a line so no area =0 kN At middle point, A1 =A2 = ½x3.0 x23.625 N = 35.4375kNm
  • 36.
    At point B, Areaof triangle (+ve) +areaof triangle (-ve) =23.625 – 23.625 =0 kNm First Floor Beam F, 6-4 Dead load: Slab G-F,5-4 Slab F-C,6-4 BeamSelf-weight
  • 38.
    Calculationfor secondary beam,BeamG-F,5 Deadload: Slab G-F,6-5 Slab G-F,5-4 BeamSelf-weight Totaldead load Dead load on slabG-F,6-5 =Dead load on slab xLx/2 =3.6 kN/m2 x(1.5)/2 =2.7 kN/m Dead load on slabG-F,5-4 =Dead load on slab xLx/2 =3.6 kN/m2 x(2.025)/2 =3.645 kN/m BeamSelf-weight =Beamsize xconcrete density =0.15m x 0.7mx24kN/m3 =2.52 kN/m TotalDead load =2.7 +3.645+ 2.52
  • 39.
    =8.865kN/m TotalUltimate load TotalUltimate deadload =Total deadload x 1.4 =8.865kN/mx 1.4 =12.411 kN/m
  • 40.
    ΣFy = 0 RGy= RFy =(12.411 kN/mx3.0m) / 2 =18.6165 kN
  • 41.
    BeamF, 6-4 TotalDead load Deadload on slab5-4, G-F =Dead load on slab xLx/2 x2/3 =3.6 kN/m2 x(2.025)/2x2/3 = 4.86kN/m Dead load on slab6-4, F-C =Dead load on slab xLx/2 x2/3 =3.6 kN/m2 x(3.525)/2x2/3 = 4.23 kN/m BeamSelfweight =Beamsize xconcrete density =0.15m x 0.6mx 24kN/m3 =2.16 kN/m TotalDead load F6-F5 =4.23 +2.16 =6.39 kN/m TotalDead load F5-F4 = 4.86+ 4.23+2.16 = 11.25 kN/m
  • 42.
    TotalUltimate load TotalUltimate deadload F6-F5 =Total deadload x 1.4 =6.39 kN/mx1.4 =8.946kN/m
  • 43.
    TotalUltimate dead loadF5-F4 =Total deadload x 1.4 =11.25 kN/mx1.4 =15.75 kN/m Load diagram ΣMF6 =0 0= -3.525(RF4y) +(18.6165x1.5) +[15.75 x2.025x (2.025/2)]+[8.946x1.5 x(1.5/2)] RF4y =70.281/3.525 RF4y =19.938 kN ΣFy = 0 0= RF6y +RF4y – 18.6165– (8.946x1.5) – (15.75 x 2.025) RF6y =43.99kN SheerForce Diagram At point F6there isa 43.99kNforce acting upwards (+ve) UDL was convertedtoPLonly for calculationof reactionforces. 8.946kN/mx1.5 m= 13.419 kN 43.99kN– 13.419 kN= 30.571kN
  • 44.
    At point F5thereisa 18.6165 kNforce acting downwards (-ve) 30.571 kN– 18.6165 kN= 11.9545 kN At point F4there isa (15.75 x2.025) kNforce acting downwards (-ve) 15.75 x2.025=31.894 kN 11.9545 – 31.894 kN =-19.9395 kN Bending Moment Diagram At point F6,there is onlya line so no area =0 kN At point F5, ½ x(43.99+30.571) x1.5m = 55.92 kNm At point F5to midpoint, ½ x(11.9545) x 0.2625m=1.569 kNm At point F4,force is acting downwards. (-ve) -½x19.938 x1.7625 =-26.014kNm
  • 45.
    First Floor BeamF, 7-6 Dead load: Slab G-F,7-6 Slab F-E,7-6 BeamSelf-weight
  • 46.
    Calculationforsecondary Beam G-F,6.5 Dead load: Slab G-F,7-6 Beamself-weight Totaldead load Dead load on slabG-F,7-6 =Dead load on slab xLx/2 =2 [3.6kN/m2 x(2.2875)/2] =8.235kN/m BeamSelf-weight =Beamsize xconcrete density =0.15m x 0.7mx24kN/m3 =2.52 kN/m TotalDead load =8.235+ 2.52 =10.755 kN/m TotalUltimate load TotalUltimate dead load =Total deadload x 1.4 =10.755 kN/mx1.4
  • 47.
  • 48.
    ΣFy = 0 RGy= RFy =(15.057 kN/mx3.0m) / 2 =22.585kN
  • 49.
    BeamF, 7-6 TotalDead load Deadload on slab7-6.5, G-F =Dead load on slab xLx/2 x2/3 =3.6 kN/m2 x(2.2875)/2x2/3 =2.745kN/m Dead load on slab6.5-6, G-F =Dead load on slab xLx/2 x2/3 =3.6 kN/m2 x(2.2875)/2x2/3 =2.745kN/m Dead load on slab7-6,F-E =Dead load on slab xLx/2 =3.6 kN/m2 x(3.000)/2 =5.4 kN/m BeamSelfweight =Beamsize xconcrete density =0.15m x 0.6mx 24kN/m3 =2.16 kN/m TotalDead load F7-F6.5 = 2.745+ 5.4
  • 50.
    =8.145 kN/m TotalDead loadF6.5-F5 =2.745+ 5.4 =8.145 kN/m
  • 51.
    TotalUltimate load TotalUltimate deadload F7-F6.5/F6.5-F6 =Total deadload x 1.4 = 8.145 kN/mx1.4 = 11.403 kN/m Load diagram ΣMF7 =0 0= -3.525(RF6y) +(22.59x1.762) + 2[11.403 x1.762 x(1.762/2)] RF6y =75.206/3.525 RF6y =21.335kN ΣFy = 0 0= RF7 y +RF6y – 22.59– 2(11.403x 1.762) RF7 y =41.439kN SheerForce Diagram At point F7 there isa 41.439kN force acting upwards (+ve) UDL was convertedtoPLonly for calculationof reactionforces. 11.403 kN/mx 1.762m =20.092kN 41.439 kN– 20.092kN=21.347 kN
  • 52.
    At point F6.5thereis a22.59 kNforce acting downwards (-ve) 21.347 kN– 22.59kN= -1.243kN At point F6there isa (11.403 x1.762) kNforce acting downwards (-ve) 11.403 x1.762 =20.092kN -1.243– 20.092kN =-21.335 kN Bending Moment Diagram At point F6,there is onlya line so no area =0 kN At point F7, ½ x(41.439) x1.762m = 36.507 kNm At point F6,force is acting downwards. (-ve) -½x(1.243+21.335)x1.7625 = -19.897kNm
  • 53.
  • 54.
    ColumnG7 Area of loadacting on the columnG7 =1.5m x(4.575/2)m =2.2875x1.5 =3.431 m2
  • 55.
    Groundfloor Dead load Beam =(0.15x0.6 x 24kN/m3 ) x(1.5+2.2875) =8.181 kN Slab =3.6 kN/m2 x3.431 m2 =12.351 kN Live load Terrace =1.5 kN/m2 x3.431 m2 =5.1465 kN First floor Dead load Beam =(0.15 x0.6 x24kN/m3 ) x(1.5+2.2875) =8.181 kN Slab =3.6 kN/m2 x3.431 m2 =12.351 kN Wall =9.975kN/m x(1.5+2.2875) =37.78 kN Live load
  • 56.
    Balcony =1.5 kN/m2 x3.431m2 =5.1465 kN Totalload acting oncolumn =8.181+12.351+5.1465+8.181+12.351+37.78+5.1465 =89.137 kN
  • 57.
    ColumnF6 Area of loadacting on the columnF6 =[1.5m x 2.2875m]+[3.475x2.2875m]+[1.975 x1.7625]+ [1.7625x1.5] =17.505 m2 Groundfloor Dead load Beam =(0.15 x0.6 x24kN/m3 ) x(1.5+1.14375+3.0+0.75) =13.8105 kN Slab =3.6 kN/m2 x17.505 m2 =63.018 kN Wall =9.975kN/m x(1.7625+2.2875) =40.398 kN Live load Terrace =1.5 kN/m2 x(2.2875x1.5) =5.15 kN Terrace =1. 5kN/m2 x (1.7625x1.5) =3.965 kN Dry kitchen =1. 5kN/m2 x (2.2875x3.475) =11.923 kN Dining =1. 5kN/m2 x (1.975x1.7625)
  • 58.
    =5.221 kN First floor Deadload Beam =(0.15 x0.6 x24kN/m3 ) x(1.5+1.14375+3.0+0.75) =13.8105 kN Slab =3.6 kN/m2 x17.505 m2 =63.018 kN Wall =9.975kN/m x(1.7625+2.2875+1.5+1.975) =75.061 kN Live load Balcony =1.5 kN/m2 x(2.2875x1.5) =5.15 kN Balcony =1.5 kN/m2 x(1.7625x1.5) =3.965 kN Bedroom =1.5 kN/m2 x(2.2875x1.975) =6.776kN Masterroom =1.5 kN/m2 x(1.7625x1.975) =5.221 kN
  • 59.
    Totalload acting oncolumn=13.8105 +63.018 +40.398 +5.15 +3.965+11.923 +5.221 +13.8105 +63.018 +75.061+5.15 +3.965+ 6.776+5.221 =316.487 kN
  • 60.
    ColumnF2 Area of loadacting on the columnF2 =[0.75m x1.975m] +[0.75mx1.975m] =2.9625 m2 Groundfloor Dead load Beam =(0.15 x0.6 x24kN/m3 ) x(0.75+1.3775) =4.5954 kN Slab =3.6 kN/m2 x2.9625 m2 =10.665 kN Wall =9.975kN/m x(0.75+1.3775) =21.222 kN First floor Dead load Beam =(0.15 x0.6 x24kN/m3 ) x(0.75+3.0) =8.1 kN Slab =3.6 kN/m2 x2.9625 m2 =10.665 kN
  • 61.
    Wall =9.975kN/m x(0.75+3.0) =37.406kN Liveload Balcony =1.5 kN/m2 x(0.75x3.0) =3.375kN Totalload acting oncolumn =4.5954 +10.665 +21.222 +8.1 +10.665 +37.406+3.375 =96.0284kN ColumnB4 Area of load acting on the columnB4 =[1.37 x1.7625] +[0.75mx2.475m] =4.2708 m2 Groundfloor Dead load Beam =(0.15 x0.6 x24kN/m3 ) x(0.685+0.685) =2.9592kN Slab =3.6 kN/m2 x4.2708 m2 =15.375 kN Wall =9.975kN/m x(0.685+0.685)
  • 62.
    =13.665 kN Live load Guestroom=1.5 kN/m2 x(1.37x1.7625) =3.622 kN First floor Dead load Beam =(0.15 x0.6 x24kN/m3 ) x(0.685+0.685+1.0125) =5.1462 kN Slab =3.6 kN/m2 x4.2708 m2 =15.375 kN Wall =9.975kN/m x(0.685+0.685+1.0125) =23.765kN Live load Masterbedroom =1.5 kN/m2 x(1.315x1.7625) =3.476kN Masterbath =1.5 kN/m2 x(0.685x1.0125) =1.040 kN Totalload acting oncolumn =2.9595 +15.375 +13.665 +3.622+ 5.1462+ 15.375+ 23.765+3.476+1.040
  • 63.